Скачать СП 335.1325800.2017 Крупнопанельные конструктивные системы. Правила проектированияДата актуализации: 01.01.2021
|
| Обозначение: | СП 335.1325800.2017 |
| Обозначение англ: | SP 335.1325800.2017 |
| Статус: | введен впервые |
| Название рус.: | Крупнопанельные конструктивные системы. Правила проектирования |
| Название англ.: | Large-panel construction system. Design rules |
| Дата добавления в базу: | 01.01.2019 |
| Дата актуализации: | 01.01.2021 |
| Дата введения: | 08.06.2018 |
| Область применения: | Свод правил устанавливает общие требования к расчету и проектированию конструктивных систем крупнопанельных жилых зданий. Cвод правил распространяется на крупнопанельные здания из сборных железобетонных элементов высотой не более 75 м. Требования настоящего свода правил не распространяются на проектирование крупнопанельных зданий в районах с сейсмической активностью более 6 баллов. |
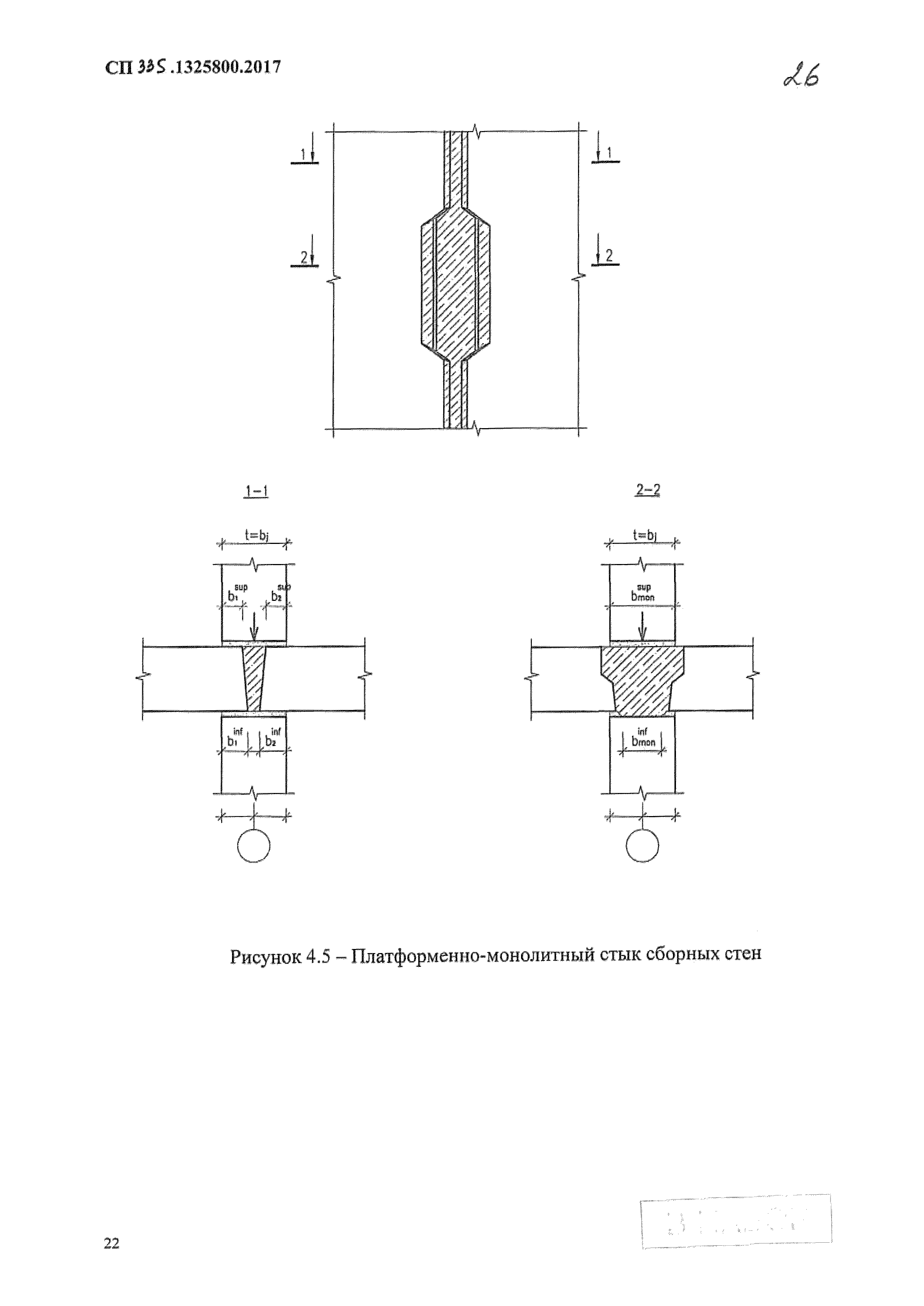
| Оглавление: | Введение 1 Область применения 2 Нормативные ссылки 3 Термины и определения 4 Конструктивные решения крупнопанельных зданий 4.1 Общие положения 4.2 Конструктивные системы 4.3 Конструктивные элементы 4.4 Конструкции нижних этажей зданий многоцелевого назначения 5 Расчет конструктивных систем крупнопанельных зданий 5.1 Основные принципы расчета конструктивных систем 5.2 Требования к расчету конструктивных систем 5.3 Расчетные модели конструктивных систем крупнопанельных зданий 6 Расчеты элементов и стыков 6.1 Расчет фундаментов 6.2 Расчет стен 6.3 Расчет плит 6.4 Расчет узлов сопряжений и связей 7 Конструктивные требования 7.1 Основные положения 7.2 Плиты перекрытий 7.3 Стеновые панели 7.4 Фундаменты 7.5 Узлы сопряжений и связи Приложение А. Определение податливости соединений элементов несущих конструкций Приложение Б. Расчет горизонтальных стыков по прочности Приложение В. Расчет вертикальных стыков по прочности Приложение Г. Расчет шпоночного соединения плит перекрытия Приложение Д. Рекомендации по расчету конструкций, расположенных в зоне контакта типовых этажей с нижними (нежилыми) этажами и при наличии нерегулярности конструкций по высоте Приложение Е. Учет частичного защемления опорных участков плит перекрытий Приложение Ж. Общие требования к монтажу конструкций и качеству бетонирования стыковых соединений мелкозернистым бетоном Приложение И. Общие указания к расчетным моделям крупнопанельных зданий Библиография |
| Разработан: | ЦНИИСК им. В.А. Кучеренко АО ЦНИИЭП жилища АО НИЦ Строительство НИИЖБ им. А.А. Гвоздева АО МНИИТЭП ООО Техрекон |
| Утверждён: | 07.12.2017 Министерство строительства и жилищно-коммунального хозяйства Российской Федерации (1630/пр) |
| Издан: | С сайта: (2018 г. ) |
| Нормативные ссылки: |
|
























































































