Скачать ГОСТ Р 50.05.12-2018 Система оценки соответствия в области использования атомной энергии. Оценка соответствия в форме контроля. Контроль радиационного охрупчивания корпуса реактора атомной станцииДата актуализации: 01.01.2021
|
| Обозначение: | ГОСТ Р 50.05.12-2018 |
| Обозначение англ: | GOST R 50.05.12-2018 |
| Статус: | введен впервые |
| Название рус.: | Система оценки соответствия в области использования атомной энергии. Оценка соответствия в форме контроля. Контроль радиационного охрупчивания корпуса реактора атомной станции |
| Название англ.: | Conformity assessment system for the use of nuclear energy. Conformity assessment in the form of control. Control of reactor pressure vessels radiation embrittlement |
| Дата добавления в базу: | 01.02.2020 |
| Дата актуализации: | 01.01.2021 |
| Дата введения: | 01.03.2019 |
| Область применения: | Стандарт устанавливает требования к выполнению контроля радиационного охрупчивания корпусов реакторов атомных станций, включая определение свойств материалов облучаемых элементов корпусов реакторов в процессе эксплуатации и соответствующего им значения флюенса быстрых нейтронов. Стандарт устанавливает порядок выполнения контроля радиационного охрупчивания корпусов реакторов атомных станций, включая определение свойств материалов облучаемых элементов корпусов реакторов в процессе эксплуатации и соответствующего им значения флюенса быстрых нейтронов. Стандарт распространяется на корпуса реакторов проектируемых, строящихся и эксплуатируемых в рамках назначенного срока службы атомных станций с реакторными установками типа ВВЭР. |
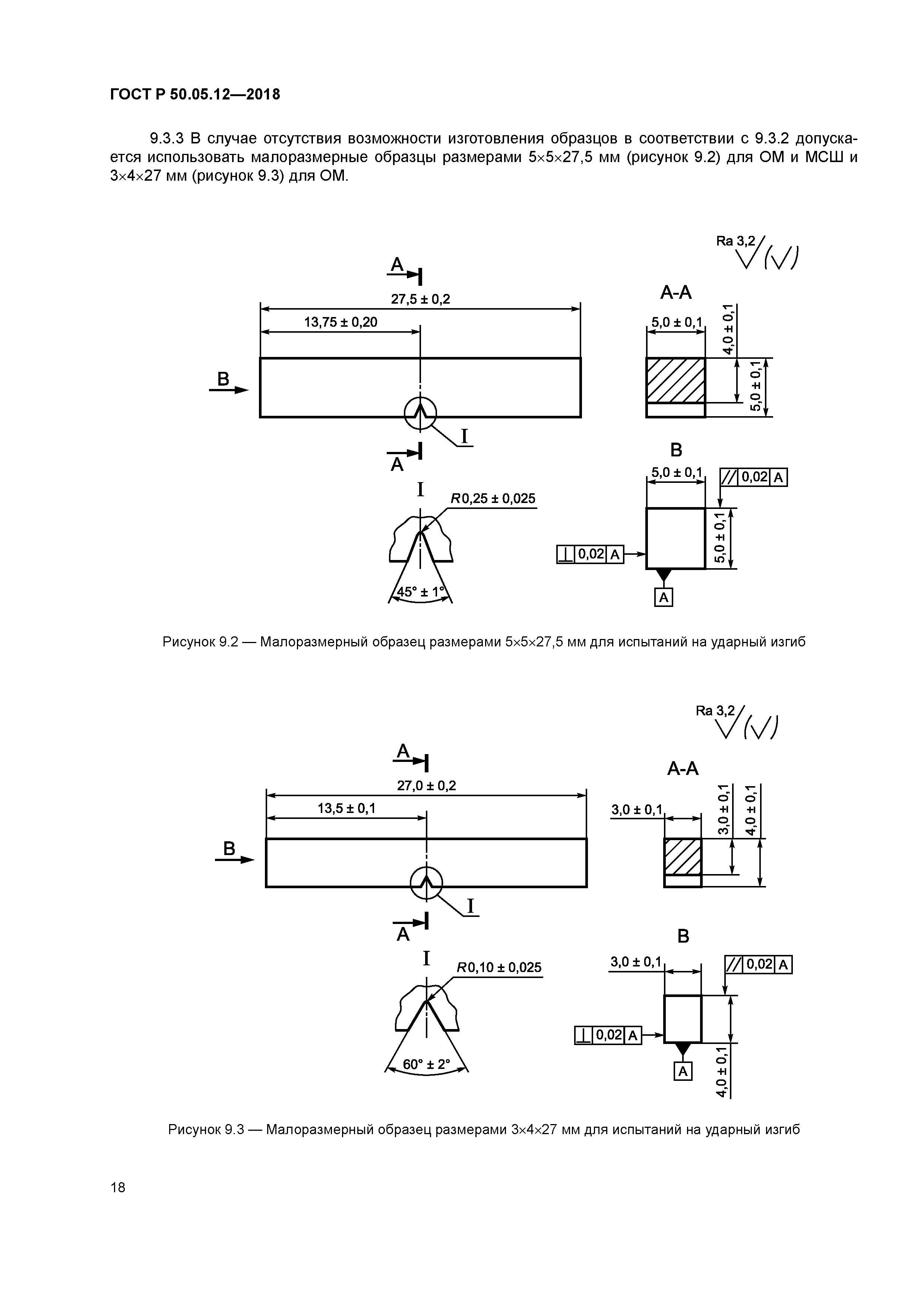
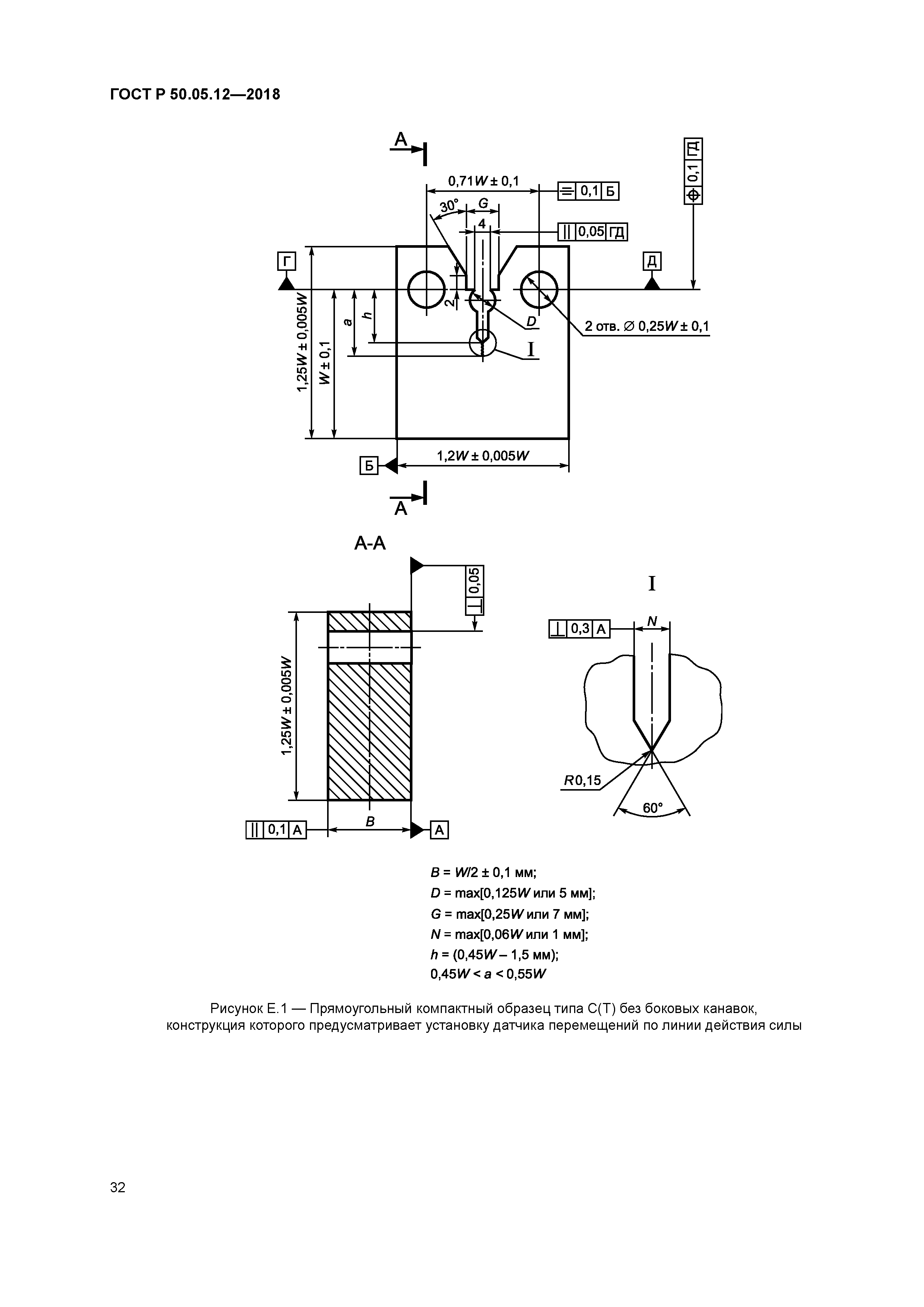
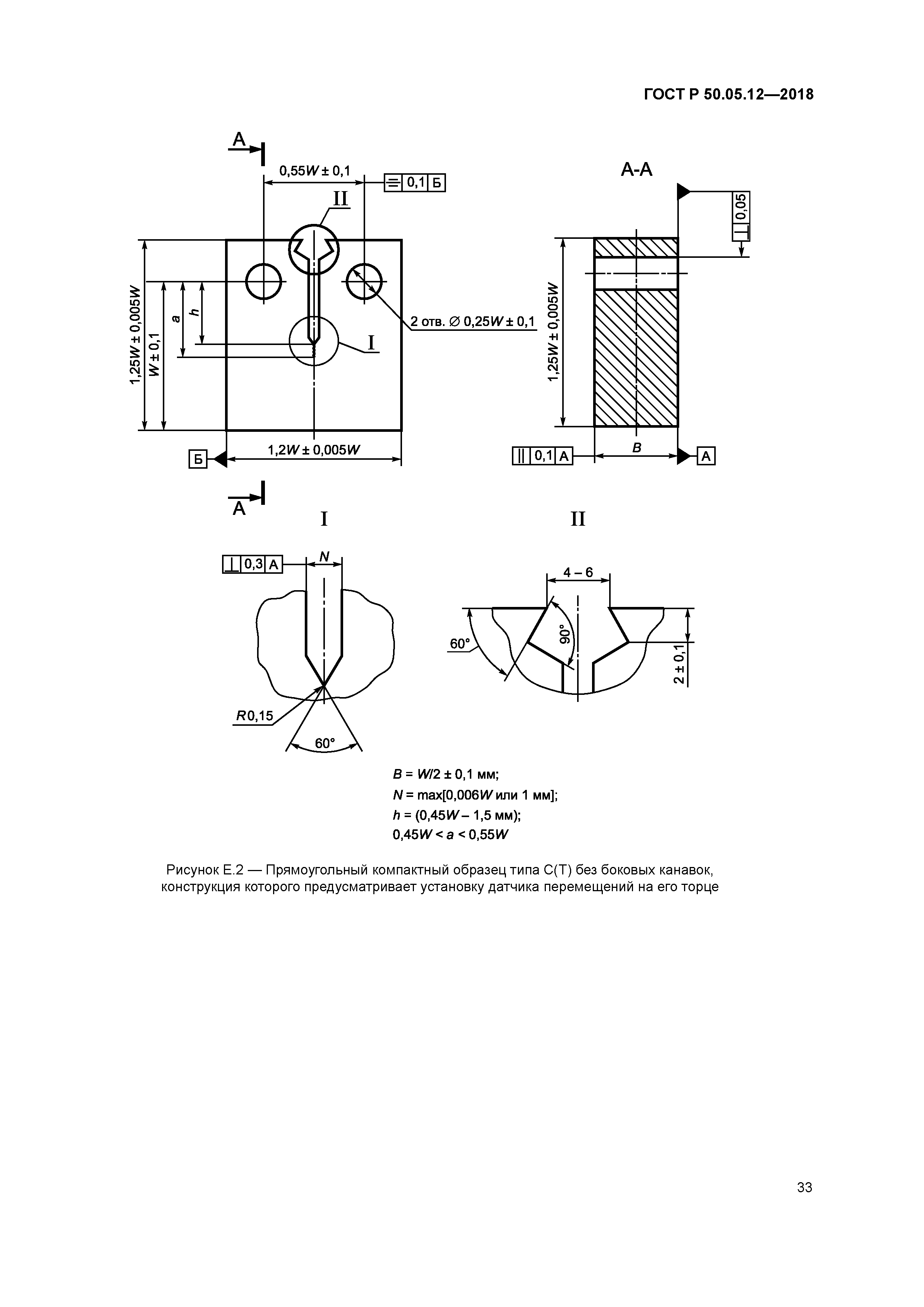
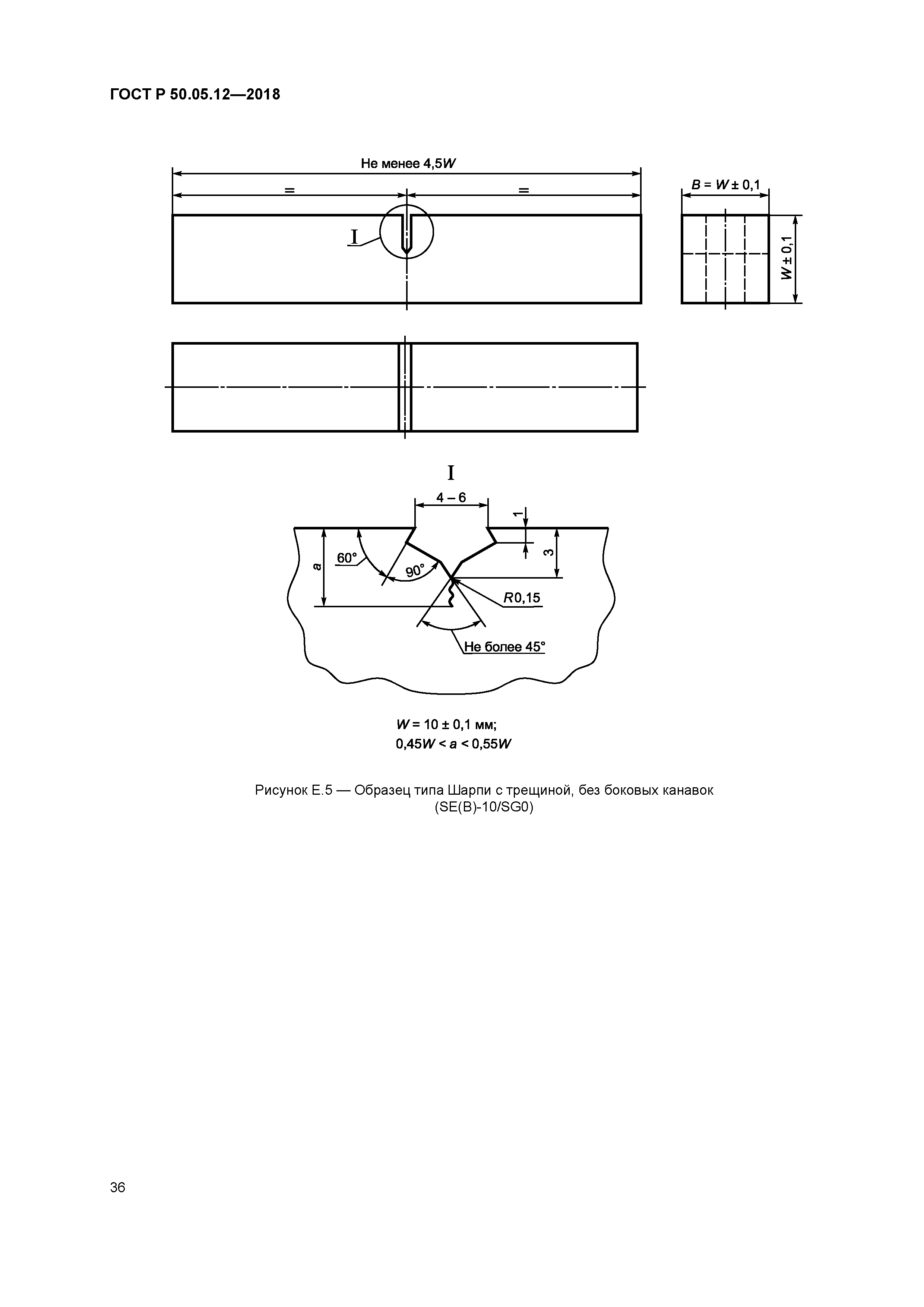
| Оглавление: | 1 Область применения 2 Нормативные ссылки 3 Термины и определения 4 Обозначения и сокращения 5 Общие положения 6 Требования безопасности 7 Требования к контролю 7.1 Материалы 7.2 Комплекты образцов-свидетелей 7.3 Процедура контроля 7.4 Требования к условиям облучения 7.5 Нейтронно-дозиметрическое сопровождение облучения комплектов образцов-свидетелей 7.6 Контроль температуры образцов 8 Исследование образцов-свидетелей 8.1 Определяемые характеристики 8.2 Требования к входному контролю образцов-свидетелей в организации, которая занимается исследованиями образцов-свидетелей 8.3 Определение флюенса нейтронов 9 Процедуры для определения характеристик материалов корпусов реакторов 9.1 Формирование испытательных групп образцов 9.2 Испытания на статическое растяжение 9.3 Испытания на ударный изгиб 9.4 Испытания на вязкость разрушения 10 Учетная и отчетная документация 10.1 Требования к учетной документации 10.2 Требования к отчетной документации 11 Требования к метрологическому обеспечению 12 Процедура проверки консерватизма расчетных зависимостей, использованных при обосновании назначенного срока службы корпуса реактора Приложение А (обязательное) Изготовление облучаемых образцов-свидетелей Приложение Б (обязательное) Определение значения критической температуры хрупкости материалов корпусов реакторов ВВЭР в исходном состоянии индивидуально для любой обечайки и сварного шва и учета пространственной неоднородности свойств обечаек и сварных швов при построении температурной зависимости вязкости разрушения Приложение В (обязательное) Ориентация образцов Приложение Г (обязательное) Определение температурной зависимости предела текучести Приложение Д (обязательное) Методика проведения испытаний на ударный изгиб Приложение Е (обязательное) Испытания на вязкость разрушения Приложение Ж (обязательное) Технология реконструкции образцов Библиография |
| Разработан: | АО Концерн Росэнергоатом |
| Утверждён: | 28.12.2018 Федеральное агентство по техническому регулированию и метрологии (1174-ст) |
| Издан: | Стандартинформ (2018 г. ) |
| Нормативные ссылки: |
|




















































