Скачать Инструкция по проектированию электроустановок угольных шахт, разрезов, обогатительных и брикетных фабрикДата актуализации: 01.01.2021 |
| Статус: | справочные материалы, мп, тпр |
| Название рус.: | Инструкция по проектированию электроустановок угольных шахт, разрезов, обогатительных и брикетных фабрик |
| Дата добавления в базу: | 01.02.2020 |
| Дата актуализации: | 01.01.2021 |
| Область применения: | Инструкция распространяется на проектирование электроустановок напряжением 220 кВ, предназначенных для приема, преобразования, распределения и потребления электроэнергии на вновь строящихся и реконструируемых объектах угольных и сланцевых шахт, разрезов, обогатительных и брикетных фабрик, именуемых в дальнейшем - угольные предприятия. |
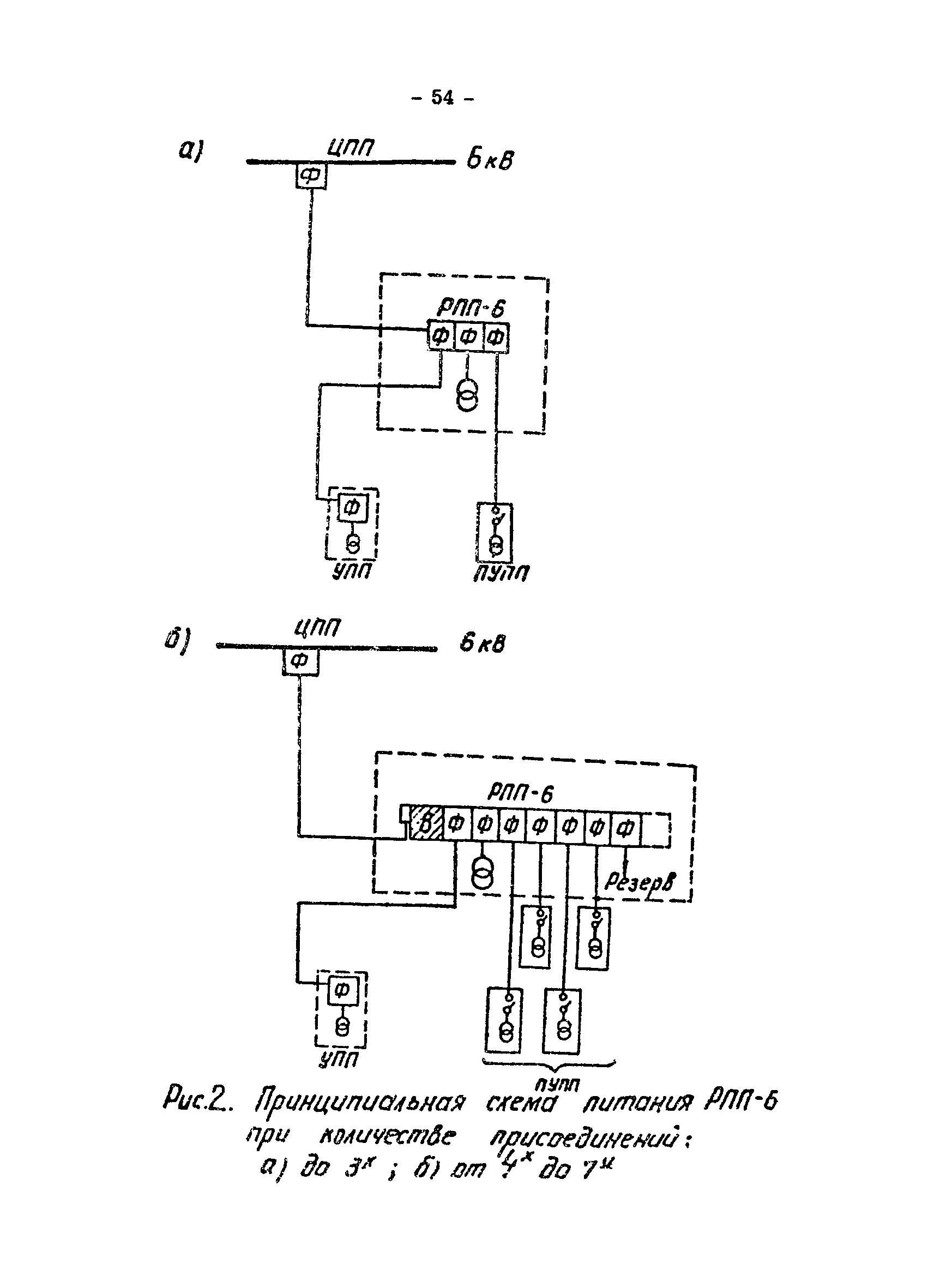
| Оглавление: | 1. Общие положения 2. Организация проектирования 3. Общие требования Внешнее электроснабжение Надежность электроснабжения Категории производств и классы зон помещений по взрывоопасности Главные понизительные подстанции Распределительные пункты и стационарные подстанции на промплощадках Воздушные и кабельные линии электропередачи Силовые сети на поверхности Выбор аппаратов и проводников по условиям короткого замыкания 4. Выбор напряжения 5. Расчет электрических нагрузок и расхода электроэнергии Расчет электрических нагрузок А. По шахте Б. По разрезу В. По обогатительным и брикетным фабрикам Электроосвещение Расчет расхода электроэнергии 6. Компенсация реактивной мощности 7. Выбор подстанций и трансформаторов 8. Защита, управление, противоаварийная автоматика и учет расхода электроэнергии Защита от атмосферных перенаправлений, блуждающих токов и коррозии Измерение и учет расхода электроэнергии 9. Электроустановки угольных шахт 9.1. Подземное электроснабжение Стволовые кабели Центральные подземные подстанции Распределительные подземные пункты высокого напряжения Подземные участковые передвижные подстанции Распределительные подземные пункты низкого напряжения Подземные силовые и осветительные сети Подземное освещение Заземление Защитные средства и противопожарный инвентарь Электроснабжение шахт через скважины 9.2. Электроснабжение поверхности шахты Электроснабжение главных и вспомогательных вентиляторных установок шахт Электроснабжение подъемных и компрессорных установок шахт 10. Электроустановки угольных разрезов Электроснабжение открытых горных разработок Подстанции и распределительные устройства Воздушные и кабельные линии электропередачи Релейная защита Защита от атмосферных перенапряжений Электрическое освещение Заземление 11. Электроустановки обогатительных и брикетных фабрик 12. Заземление и молниезащита объектов промплощадки угольных предприятий Приложение 1 Исходные данные для проектирования Приложение 2 Перечень сокращенных обозначений электроустановок, допущенных к применению в проектах угольных предприятий Приложение 3 Условные графические обозначения электроустановок для схем электроснабжения и кабельной сети угольных предприятий Приложение 4 Расчет электрических нагрузок подземных участков шахт Приложение 5 Допустимые отклонения напряжения на зажимах электроприемников Приложение 6 Перечень нормативно-методических документов, используемых при проектировании электроустановок угольных предприятий |
| Разработан: | Центрогипрошахт Днепрогипрошахт Южгипрошахт |
| Утверждён: | 30.11.1992 Комитет угольной промышленности Министерства топлива и энергетики РФ |
| Принят: | 13.05.1992 Госгортехнадзор РФ (Russian Federation Gosgortekhnadzor 06-9/78) 23.07.1992 Госэнергонадзор РФ (25-58/242) |
| Нормативные ссылки: |
|




















































































































