Скачать РД 34.20.511-83 Методические указания по плавке гололеда переменным током. Часть I. Постоянным токомДата актуализации: 01.01.2021
|
| Обозначение: | РД 34.20.511-83 |
| Обозначение англ: | RD 34.20.511-83 |
| Статус: | действует |
| Название рус.: | Методические указания по плавке гололеда переменным током. Часть I. Постоянным током |
| Название англ.: | Procedural Guidelines for AC Melting of Ice |
| Дата добавления в базу: | 01.09.2013 |
| Дата актуализации: | 01.01.2021 |
| Дата введения: | 01.01.1983 |
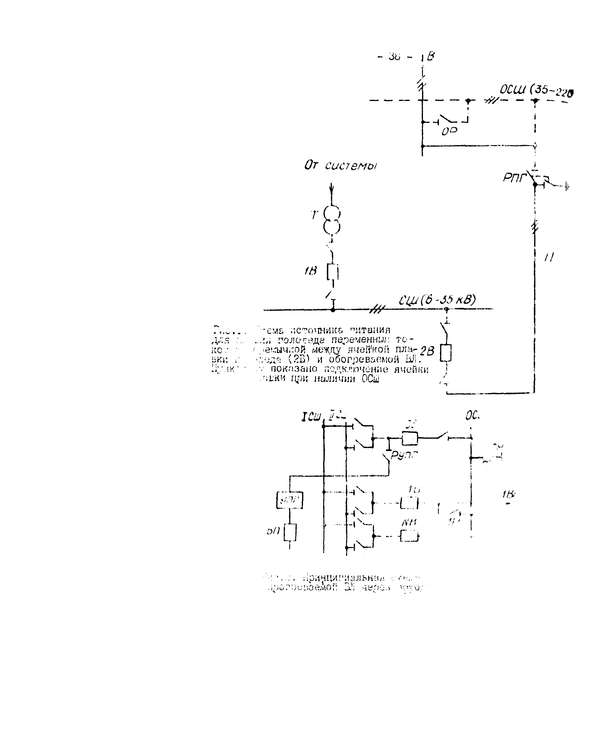
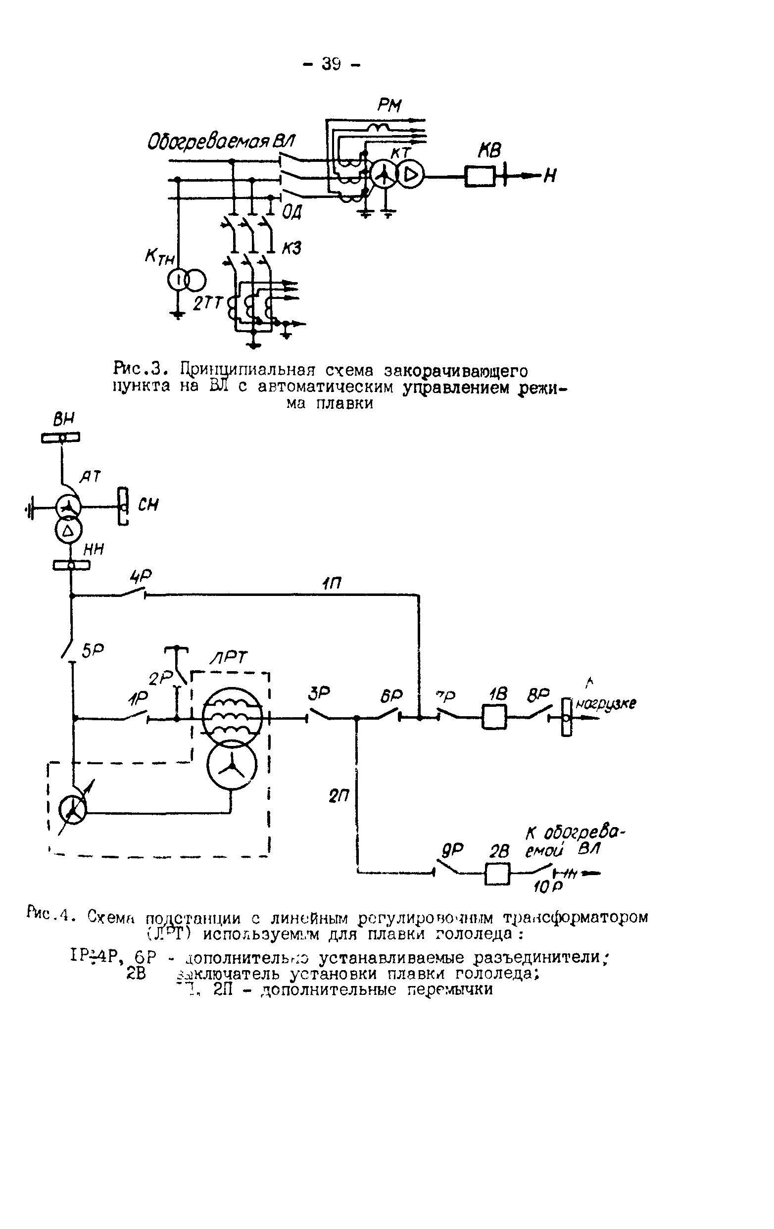
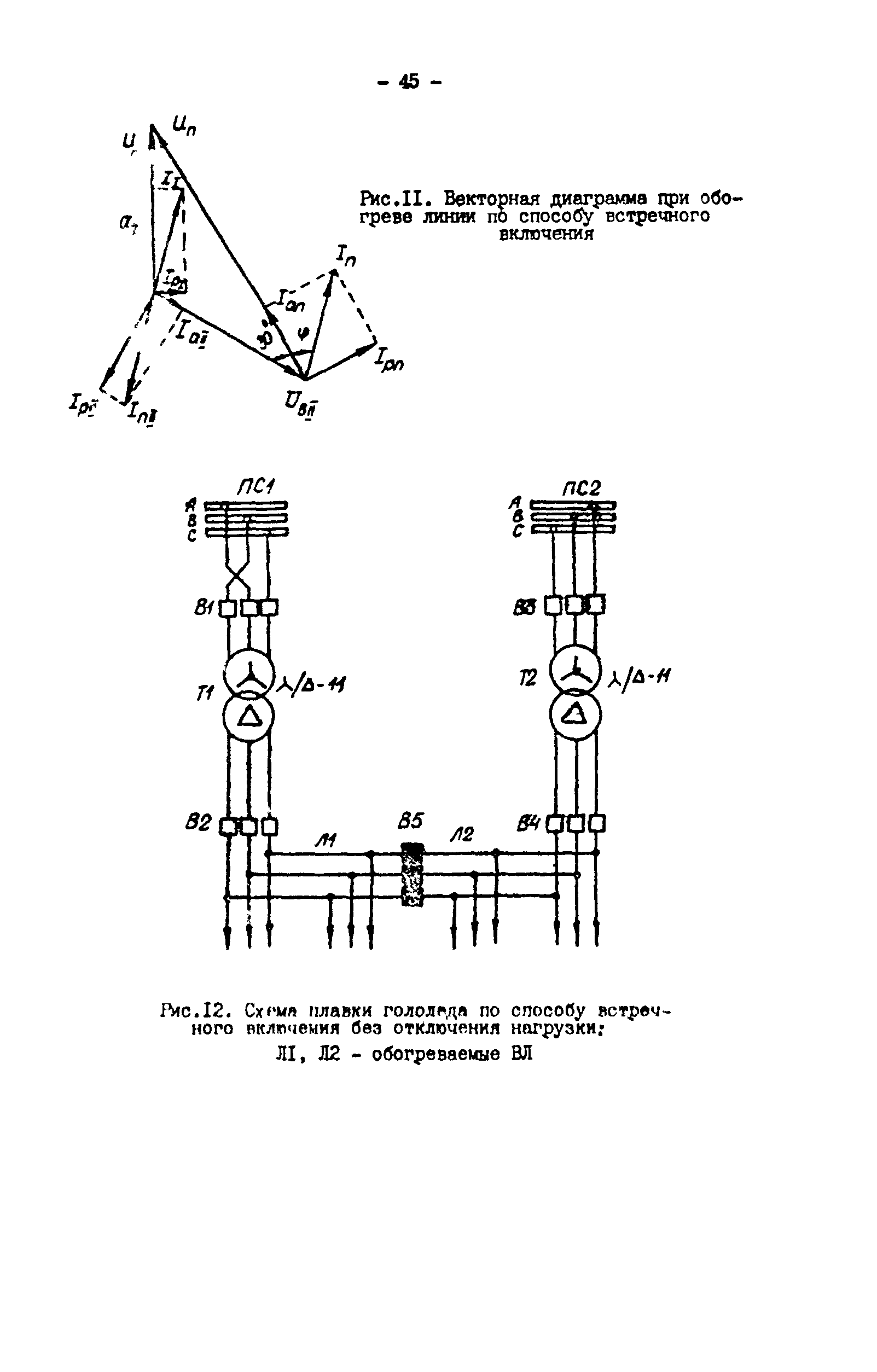
| Оглавление: | 1 Общие положения 2 Расчетный ток и время плавки гололеда на проводах и тросах линий электропередачи 3 Источники питания при плавке гололеда переменным током 4 Схемы, расчет режимов работы и зоны применения плавки гололеда переменным током на проводах 5 Источники питания схем плавки гололеда постоянным током 6 Схемы, расчет режимов и зоны применения плавки гололеда постоянным током 7 Схемы, расчеты режимов и области применения плавки гололеда на тросах 8 Работа оборудования электрической сети Приложение 1 Сопротивления проводов и допустимые токи плавки гололеда Приложение 2 Зависимость времени плавки гололеда и изморози от значения тока для различных марок проводов Приложение 3 Методика расчета режимов плавки в повторно-кратковременном режиме КЗ Приложение 4 Зависимость тока и времени плавки одностороннего гололеда Приложение 5 Зависимость тока в проводах различных марок, препятствующие образованию гололеда Приложение 6 Схемы автоматического управления плавкой гололеда переменным током Приложение 7 Схемы релейной защиты кольцевой сети при плавке гололеда переменным током |
| Разработан: | ЛПИ им. М.И. Калинина Минвуза РСФСР ВНИИЭ |
| Утверждён: | Минэнерго СССР (USSR Minenergo ) |
| Издан: | СПО Союзтехэнерго (1983 г. ) |
| Нормативные ссылки: |


















































































































