Скачать Временное руководство по монтажу и эксплуатации контактных сетей подземного транспорта

Дата актуализации: 01.01.2021

Временное руководство по монтажу и эксплуатации контактных сетей подземного транспорта

Статус:справочные материалы, мп, тпр
Название рус.:Временное руководство по монтажу и эксплуатации контактных сетей подземного транспорта
Дата добавления в базу:01.02.2017
Дата актуализации:01.01.2021
Область применения:В руководстве изложены основные правила монтажа и эксплуатации контактной сети, а также мероприятия, направленные на улучшение ее состояния, повышение уровня сопротивления изоляции контактного провода, снижение электрического сопротивления рельсовых путей и сроков профилактических испытаний отдельных элементов сети. Руководство предназначено для работников проектных, монтажных и эксплуатирующих контактные сети организаций угольной и сланцевой промышленности.
Оглавление:1. Общие положения
2. Общие требования к схемам электроснабжения
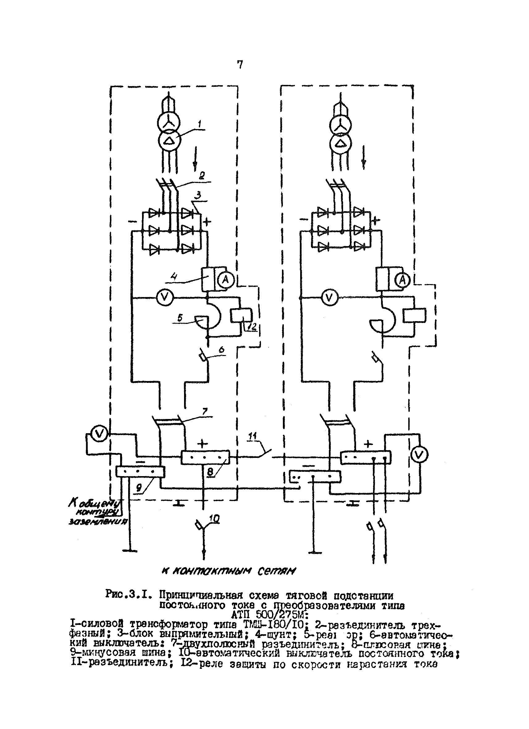
3. Тяговые подстанции (общие сведения)
4. Правила устройств
   4.1. Основные элементы сети
   4.2. Подвеска контактного провода
   4.3. Узлы секционирования
   4.4. Питающие и отсасывающие пункты
   4.5. Рельсовые линии
   4.6. Правила монтажа сигнальных устройств
   4.7. Заземление электроустановок
5. Защита от токов короткого замыкания
6. Контроль электрических параметров контактных сетей
7. Содержание и эксплуатация контактной сети
8. Правила безопасности
Приложение 1. Основные технические данные элементов контактной сети
Приложение 2. Расчет тока короткого замыкания
Приложение 3. Упрощенные метод расчета токов короткого замыкания
Разработан: Министерство угольной промышленности СССР
ВостНИИ (Восточный научно-исследовательский институт по безопасности работ в горной промышленности)
Утверждён:02.12.1987 Начальник Главного Управления охраны труда, техники безопасности и горноспасательных частей Минуглепрома СССР
Принят:01.12.1987 Госгортехнадзор СССР (USSR Gosgortekhnadzor )
Нормативные ссылки: