Скачать ГОСТ Р 58387-2019 Анкеры клеевые для крепления в бетон. Методы испытанийДата актуализации: 01.01.2021
|
| Обозначение: | ГОСТ Р 58387-2019 |
| Обозначение англ: | GOST R 58387-2019 |
| Статус: | введен впервые |
| Название рус.: | Анкеры клеевые для крепления в бетон. Методы испытаний |
| Название англ.: | Bonded anchors for use in concrete. Test methods |
| Дата добавления в базу: | 01.02.2020 |
| Дата актуализации: | 01.01.2021 |
| Дата введения: | 01.09.2019 |
| Область применения: | Стандарт устанавливает методы испытания клеевых анкеров, установленных в готовое основание из тяжелого бетона, и определяет требования к методам испытаний анкеров. Стандарт не распространяется на клеевые анкеры, компоненты которых дозируются вручную на строительном объекте, механические, пластиковые и распорно-клеевые анкеры и не содержит требований к оценке их несущей способности. Виды испытаний, требования к количеству анкеров в серии, значению постоянной нагрузки Nsust, требования к обработке результатов испытаний должны быть указаны в программе испытаний, разрабатываемой перед испытаниями. |
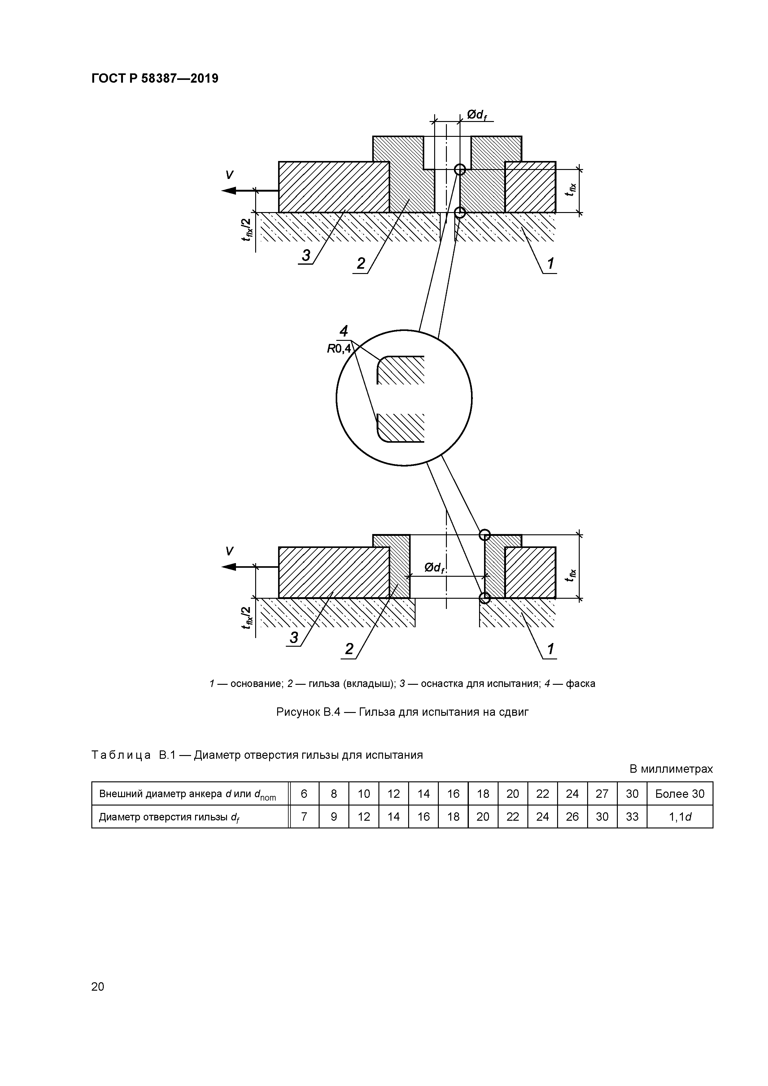
| Оглавление: | 1 Область применения 2 Нормативные ссылки 3 Термины, определения и обозначения 4 Общие положения 5 Требования к бетону и основанию 6 Требования к установке анкеров 7 Требования к оборудованию для испытания и средствам измерений 8 Правила проведения испытаний 9 Правила оформления результатов испытаний Приложение А (справочное) Допустимый диапазон изменения температуры эксплуатации и выполнения испытаний Приложение Б (справочное) Принципиальная схема оснастки для испытания при длительном действии нагрузки Приложение В (справочное) Принципиальные схемы испытательных стендов Приложение Г (справочное) Механизмы разрушения анкеров при вырыве и сдвиге Приложение Д (справочное) Принципиальная схема оснастки для испытания на вырыв при цикличном раскрытии трещины Приложение Е (справочное) Требования к сверлам для выполнения установочных отверстий под анкеры |
| Разработан: | АО НИЦ Строительство НИИЖБ им. А.А. Гвоздева |
| Утверждён: | 22.03.2019 Федеральное агентство по техническому регулированию и метрологии (97-ст) |
| Издан: | Стандартинформ (2019 г. ) |
| Нормативные ссылки: |
|





























