Скачать Инструкция по проектированию железобетонных конструкций

Дата актуализации: 01.01.2021

Инструкция по проектированию железобетонных конструкций

Статус:справочные материалы, мп, тпр
Название рус.:Инструкция по проектированию железобетонных конструкций
Дата добавления в базу:01.02.2020
Дата актуализации:01.01.2021
Область применения:Инструкция рекомендована для пользования при проектировании железобетонных конструкций всеми проектными организациями независимо от их ведомственной подчиненности
Оглавление:Предисловие
Введение
1. Основные положения по проектированию железобетонных конструкций
2. Материалы для железобетонных конструкций и их характеристики
3. Определение напряжений в железобетонных элементах
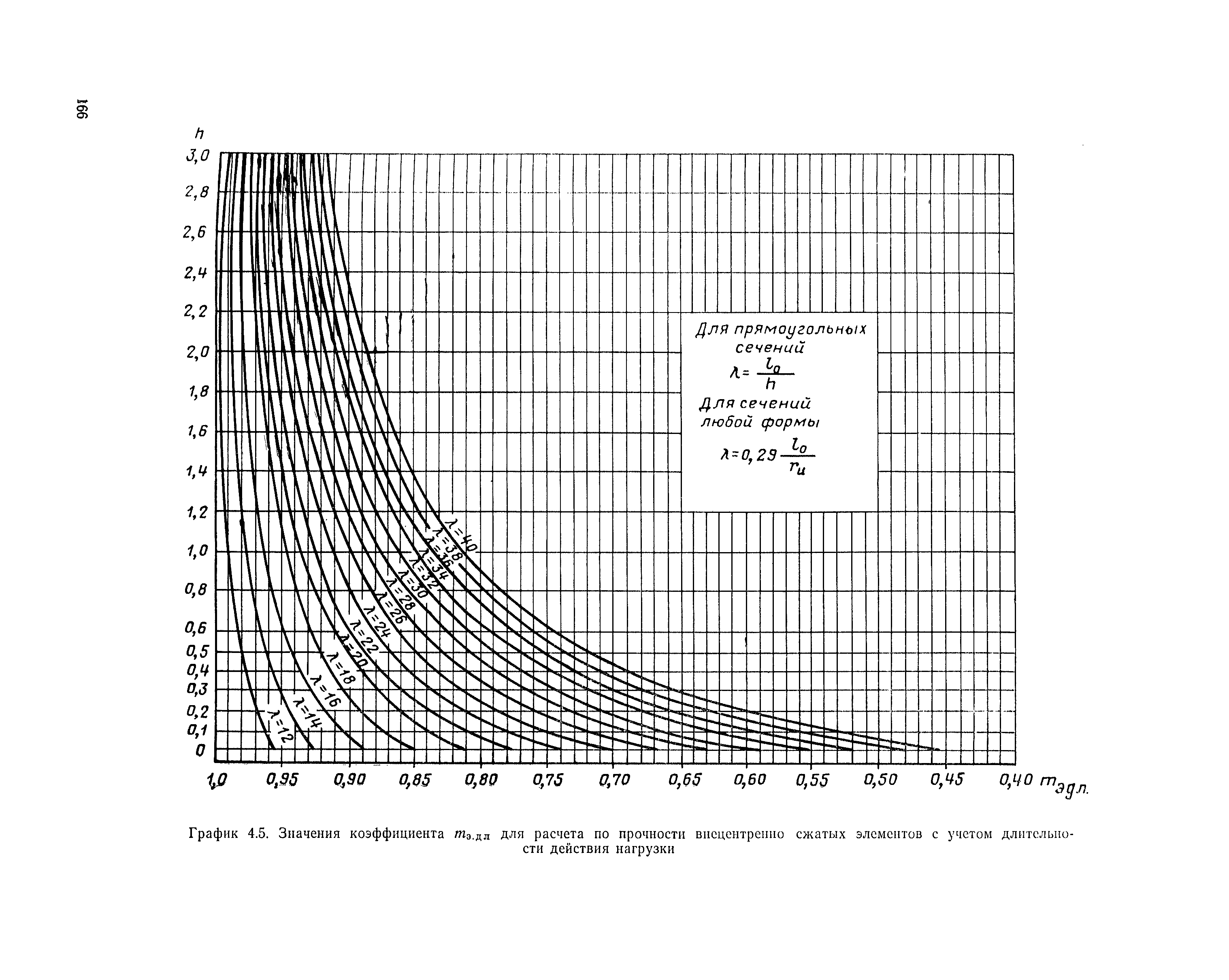
4. Расчет элементов железобетонных конструкций по прочности
5. Расчет предварительно напряженных элементов по образованию трещин
6. Расчет элементов железобетонных конструкций по деформациям
7. Расчет элементов железобетонных конструкций по раскрытию трещин
8. Расчет элементов железобетонных конструкций, подвергающихся многократно повторяющимся нагрузкам
9. Указания по конструированию железобетонных конструкций
Принятые буквенные обозначения
Разработан: ЦНИИпромзданий
НИИЖБ
Утверждён: Госстрой СССР
Издан: Издательство литературы по строительству (1968 г. )
Нормативные ссылки: