Скачать МУ 9001.00.001 Методика диагностирования фонтанной арматуры румынского производства, отработавшей нормативный срок службыДата актуализации: 01.01.2021 МУ 9001.00.001
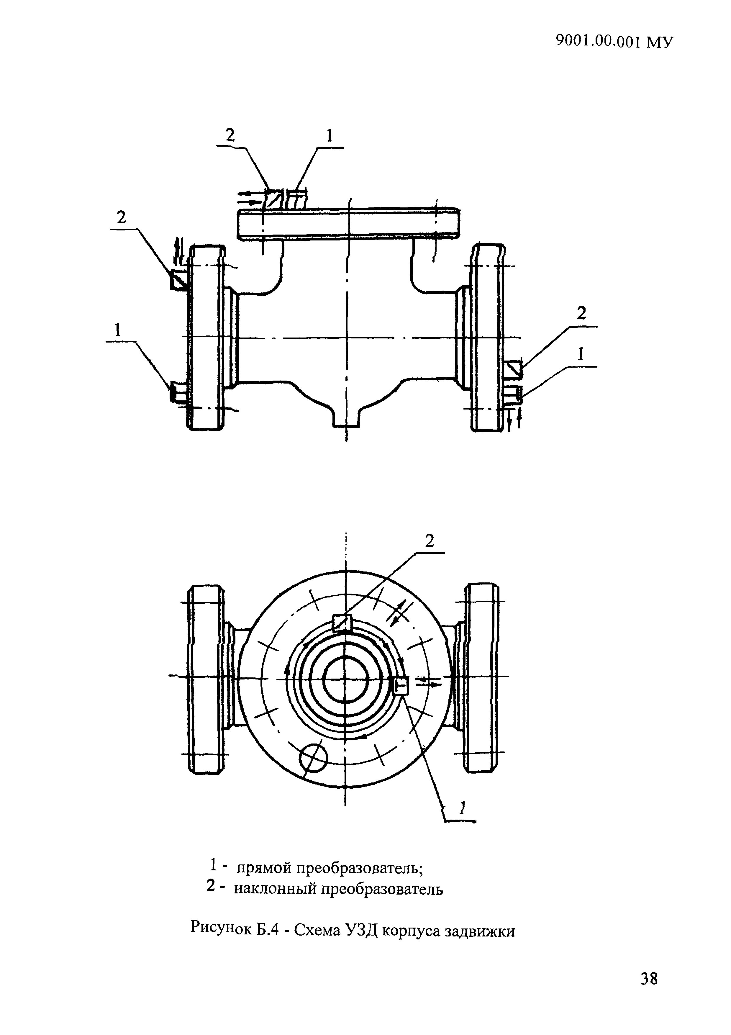
Методика диагностирования фонтанной арматуры румынского производства, отработавшей нормативный срок службы| Обозначение: | МУ 9001.00.001 | | Обозначение англ: | MU 9001.00.001 | | Статус: | организационно-ограниченного применения | | Название рус.: | Методика диагностирования фонтанной арматуры румынского производства, отработавшей нормативный срок службы | | Дата добавления в базу: | 01.02.2020 | | Дата актуализации: | 01.01.2021 | | Область применения: | Методика является руководящим документом при проведении технического диагностирования, оценке остаточного ресурса и испытания фонтанной арматуры румынского производства (арматуры), отработавшей нормативный срок службы с целью определения возможности ее дальнейшей эксплуатации, а также установления необходимости проведения ремонта или списания. Документ распространяется на фонтанную арматуру, отработавшую нормативный срок службы и эксплуатирующуюся на предприятиях ОАО "Сургутнефтегаз" | | Оглавление: | 1 Общие положения 1.1 Назначение "Методики диагностирования фонтанной арматуры румынского производства, отработавшей нормативный срок службы" 1.2 Область применения "Методики" 1.3 Сроки проведения диагностирования арматуры 1.4 Организация диагностирования арматуры 1.5 Основные термины и определения 2 Анализ технической документации 2.1 Цель анализа технической документации 2.2 Анализ технической документации 2.3 План диагностирования арматуры 3 Диагностирование арматуры 3.1 Диагностирование арматуры на стационарных участках контроля 3.2 Диагностирование арматуры на месте эксплуатации 4 Критерии вывода арматуры из эксплуатации 5 Проверка прочности арматуры расчетом 6 Контрольные испытания арматуры 6.1 Подготовка арматуры к испытанию 6.2 Порядок проведения испытания арматуры 7 Оценка остаточного ресурса арматуры 8 Оформление результатов диагностирования и оценки остаточного ресурса арматуры Нормативно-техническая документация, используемая при разработке "Методики" Приложение А Форма карты (схемы) детали или сборочной единицы арматуры Приложение Б Схемы УЗД поверхностей и сварных швов деталей и сборочных единиц арматуры Приложение В Схемы ультразвуковой толщинометрии деталей и сборочных единиц арматуры Приложение Г Форма карты результатов цветного метода контроля Приложение Д Эскизы испытательных образцов для настройки чувствительности аппаратуры УЗД Приложение Е Форма карты результатов УЗД Приложение Ж Форма карты результатов ультразвуковой толщинометрии Приложение И Схемы контроля методом магнитной памяти металла элементов арматуры Приложение К Отбраковочная толщина стенки деталей арматуры Приложение Л Примеры подготовки арматуры к испытанию Приложение М Форма заключения | | Утверждён: | ОАО Сургутнефтегаз
| | Принят: | Госгортехнадзор России (Russian Federation Gosgortekhnadzor ) 28.01.2001 СПКТБ Нефтегазмаш (1719)
| | Нормативные ссылки: |  «Правила эксплуатации электроустановок потребителей»  ПБ 10-115-96 «Правила устройства и безопасной эксплуатации сосудов, работающих под давлением» РД 09-102-95 «Методические указания по определению остаточного ресурса потенциально опасных объектов, поднадзорных Госгортехнадзору России»  ГОСТ 1497-84 «Металлы. Методы испытаний на растяжение»  ГОСТ 3242-79 «Соединения сварные. Методы контроля качества»  ГОСТ 6996-66 «Сварные соединения. Методы определения механических свойств»  ГОСТ 7512-82 «Контроль неразрушающий. Соединения сварные. Радиографический метод»  ГОСТ 9651-84 «Металлы. Методы испытаний на растяжение при повышенных температурах»  ГОСТ 10145-81 «Металлы. Метод испытания на длительную прочность»  ГОСТ 14019-80 «Металлы. Методы испытания на изгиб»  ГОСТ 14782-86 «Контроль неразрушающий. Соединения сварные. Методы ультразвуковые»  ГОСТ 2.105-95 «Единая система конструкторской документации. Общие требования к текстовым документам»  ГОСТ 2.601-95 «Единая система конструкторской документации. Эксплуатационные документы»  ГОСТ 27.002-89 «Надежность в технике. Основные понятия. Термины и определения»  ГОСТ 18442-80 «Контроль неразрушающий. Капиллярные методы. Общие требования»  «Правила техники безопасности при эксплуатации электроустановок потребителей»  ГОСТ 12503-75 «Сталь. Методы ультразвукового контроля. Общие требования» РД 08-200-98 «Правила безопасности в нефтяной и газовой промышленности» РД 03-131-97 «Правила организации и проведения акустико-эмиссионного контроля сосудов, аппаратов, котлов и технологических трубопроводов»  ГОСТ 166-89 «Штангенциркули. Технические условия»  ГОСТ 3749-77 «Угольники поверочные 90°. Технические условия»  ГОСТ 427-75 «Линейки измерительные металлические. Технические условия»  ГОСТ 9454-78 «Металлы. Метод испытания на ударный изгиб при пониженных, комнатной и повышенных температурах»  ГОСТ 21105-87 «Контроль неразрушающий. Магнитопорошковый метод»  ГОСТ 13846-89 «Арматура фонтанная и нагнетательная. Типовые схемы, основные параметры и технические требования к конструкции» ОСТ 102-51-85 «Контроль неразрушающий. Сварные соединения трубопроводов. Радиографический метод»  ГОСТ 164-90 «Штангенрейсмасы. Технические условия» РД 34.10.130-96 «Инструкция по визуальному и измерительному контролю» ГОСТ 10-88 «Нутромеры микрометрические. Технические условия» ГОСТ 10905-86 «Плиты поверочные и разметочные. Технические условия»  ГОСТ 11358-89 «Толщиномеры и стенкомеры индикаторные с ценой деления 0,01 и 0,1 мм. Технические условия» ГОСТ 12069-90 «Меры длины штриховые брусковые. Технические условия»  ГОСТ 1763-68 «Сталь. Методы определения глубины обезуглероженного слоя» ГОСТ 1778-70 «Сталь. Металлографические методы определения неметаллических включений»  ГОСТ 18661-73 «Сталь. Измерение твердости методом ударного отпечатка»  ГОСТ 20415-82 «Контроль неразрушающий. Методы акустические. Общие положения»  ГОСТ 20911-89 «Техническая диагностика. Термины и определения»  ГОСТ 22761-77 «Металлы и сплавы. Метод измерения твердости по Бринеллю переносными твердомерами статического действия»  ГОСТ 22762-77 «Металлы и сплавы. Метод измерения твердости на пределе текучести вдавливанием шара» ГОСТ 25706-83 «Лупы. Типы, основные параметры. Общие технические требования» ГОСТ 4119-76 «Наборы принадлежностей к плоскопараллельным концевым мерам длины. Технические условия»  ГОСТ 5378-88 «Угломеры с нониусом. Технические условия» ГОСТ 5639-82 «Стали и сплавы. Методы выявления и определения величины зерна» ГОСТ 5640-68 «Сталь. Металлографический метод оценки микроструктуры листов и ленты» ГОСТ 6032-89 «Стали и сплавы коррозионно-стойкие. Методы испытания на стойкость против межкристаллитной коррозии»  ГОСТ 7122-81 «Швы сварные и металл наплавленный. Методы отбора проб для определения химического состава»  ГОСТ 7268-82 «Сталь. Метод определения склонности к механическому старению по испытанию на ударный изгиб»  ГОСТ 7565-81 «Чугун, сталь и сплавы. Метод отбора проб для определения химического состава» ГОСТ 7584-89 «Бумага лабораторная фильтровальная. Методы определения фильтрующей и разделительной способности»  ГОСТ 868-82 «Нутромеры индикаторные с ценой деления 0,01 мм. Технические условия»  ГОСТ 9038-90 «Меры длины концевые плоскопараллельные. Технические условия» ОСТ 26-2044-83 «Швы стыковых и угловых сварных соединений сосудов и аппаратов, работающих под давлением. Методика ультразвукового контроля»
|
                                                       
|