Скачать ГОСТ IEC 60900-2019 Работа под напряжением. Ручные инструменты для работ под напряжением до 1000 В переменного и 1500 В постоянного тока. Общие требования и методы испытанийДата актуализации: 01.01.2021
|
| Обозначение: | ГОСТ IEC 60900-2019 |
| Обозначение англ: | 60900-2019 |
| Статус: | взамен |
| Название рус.: | Работа под напряжением. Ручные инструменты для работ под напряжением до 1000 В переменного и 1500 В постоянного тока. Общие требования и методы испытаний |
| Название англ.: | Working live. Hand tools used for working live up to 1000 V AC and 1500 V DC. General requirements and test method |
| Дата добавления в базу: | 01.02.2020 |
| Дата актуализации: | 01.01.2021 |
| Дата введения: | 01.07.2020 |
| Область применения: | Стандарт распространяется на изолированные, изолирующие ручные инструменты, применяемые для работ под напряжением или вблизи токоведущих частей при номинальном напряжении не более 1000 В переменного тока и 1500 В постоянного тока (далее — инструменты). Инструменты, изготовленные в соответствии с стандартом, способствуют повышению безопасности пользователей в случае их применения квалифицированными специалистами в соответствии с безопасными методами работы и инструкциями по эксплуатации (при необходимости). |
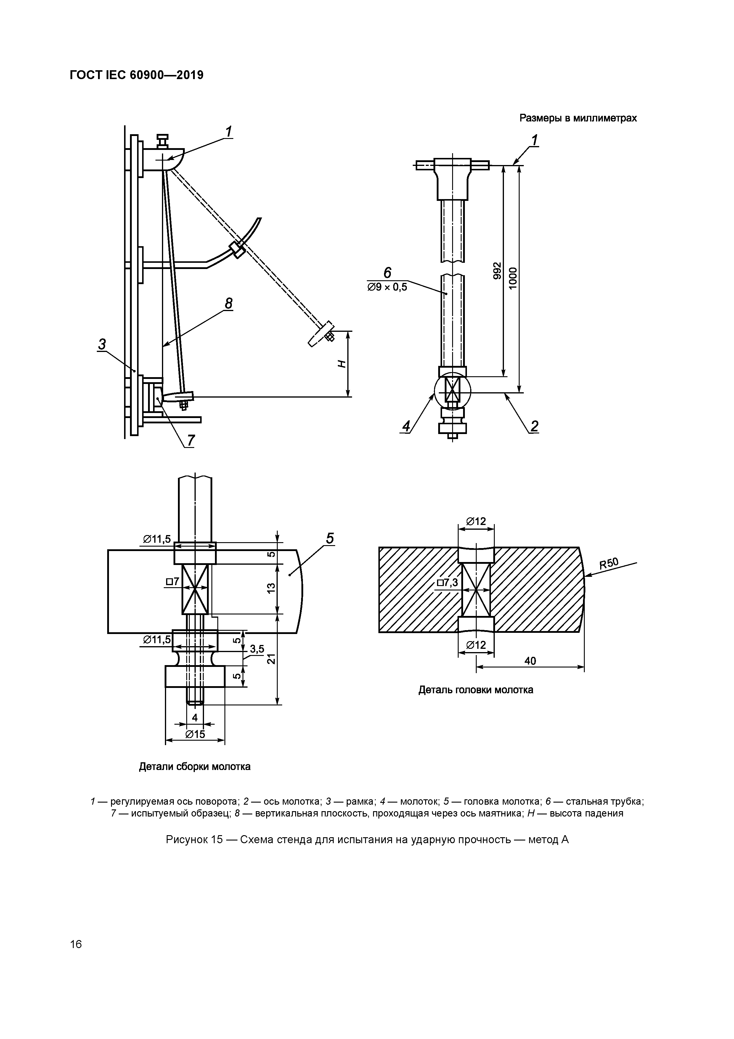
| Оглавление: | 1 Область применения 2 Нормативные ссылки 3 Термины и определения 4 Требования 4.1 Общие требования 4.2 Требования к электроизоляционным материалам 4.3 Требования к открытым токоведущим частям гибридных инструментов 4.4 Дополнительные требования 5 Испытания 5.1 Общие сведения 5.2 Визуальная проверка 5.3 Проверка размеров 5.4 Испытания на ударную прочность 5.5 Испытание электрической прочности изоляции 5.6 Механическое испытание изоляции (для изолированных инструментов) 5.7 Испытание на адгезию покрытия из изоляционного материала (для изолированных инструментов) 5.8 Испытание на адгезию открытых токоведущих частей на рабочей головке гибридных инструментов 5.9 Механические испытания 5.10 Долговечность маркировки 5.11 Испытание на огнестойкость 6 Оценка соответствия инструментов, завершивших этап производства 7 Модификации Приложение A (справочное) Описание и примеры изолированных, гибридных и изолирующих инструментов Приложение B (справочное) Механическая прочность изолирующих и гибридных инструментов Приложение C (обязательное) Символ «двойной треугольник» (IЕС 60417-5216:2002-10) (подходит для работы под напряжением) Приложение D (справочное) Рекомендации по использованию и обслуживанию Приложение E (обязательное) Общая процедура испытания типа Приложение F (обязательное) Примеры расчета размотанной длины покрытия и допустимого тока утечки (5.5.3.1.1) Приложение G (обязательное) Классификация несоответствий и назначаемые испытания Приложение H (справочное) Обоснование классификации дефектов Приложение ДА (справочное) Сведения о соответствии ссылочных международных стандартов межгосударственным стандартам Библиография |
| Разработан: | АО ИНТЕРСКОЛ |
| Утверждён: | 30.10.2019 Межгосударственный Совет по стандартизации, метрологии и сертификации (Inter-Governmental Council on Standardization, Metrology, and Certification 123-П) 30.10.2019 Федеральное агентство по техническому регулированию и метрологии (1116-ст) |
| Издан: | Стандартинформ (2019 г. ) |
| Заменяет собой: | |
| Нормативные ссылки: |
|

















































