Некоммерческое Партнерство «Инновации в электроэнергетике»
|
|
СТАНДАРТ |
СТО |
НАСОСЫ ЦЕНТРОБЕЖНЫЕ ДВУХСТОРОННЕГО ВХОДА ТИПА Д
Групповые технические условия на капитальный ремонт
Нормы и требования
Дата введения - 2010-01-11
Москва 2009
Предисловие
Цели и принципы стандартизации в Российской Федерации установлены Федеральным законом от 27 декабря 2002 г. № 184-ФЗ «О техническом регулировании», а правила разработки и применения стандартов организации - ГОСТ Р 1.4-2004 «Стандартизация в Российской Федерации. Стандарты организаций. Общие положения».
Сведения о стандарте
1 РАЗРАБОТАН Закрытым акционерным обществом «Центральное конструкторское бюро по модернизации и ремонту энергетического оборудования электростанций» (ЗАО «ЦКБ Энергоремонт»)
2 ВНЕСЕН Комиссией по техническому регулированию НП «ИНВЭЛ»
3 УТВЕРЖДЕН И ВВЕДЕН В ДЕЙСТВИЕ Приказом НП «ИНВЭЛ» от 17.12.2009 № 91
4 ВВЕДЕН ВПЕРВЫЕ
СОДЕРЖАНИЕ
СТАНДАРТ ОРГАНИЗАЦИИ НП «ИНВЭЛ»
|
Насосы центробежные
двухстороннего входа типа Д |
Дата введения - 2010-01-11
Настоящий стандарт организации:
- является нормативным документом, устанавливающим технические нормы и требования к ремонту насосов центробежных двухстороннего входа типа Д (далее - насосы) направленные на обеспечение промышленной безопасности тепловых электрических станций, повышение надежности эксплуатации и качества ремонта;
- устанавливает технические требования, объем и методы дефектации, способы ремонта, методы контроля и испытаний к составным частям и насосам в целом в процессе ремонта и после ремонта;
- устанавливает объемы, методы испытаний и сравнения показателей качества отремонтированных насосов с их нормативными и доремонтными значениями;
- распространяется на капитальный ремонт насосов Д200-36, Д200-95, Д320-50, Д500-65, Д320-70, Д630-90, Д800-57, Д1250-65, Д1250-125, Д1600-90, Д2000-21, Д2000-100, Д2500-62, Д3200-33, Д3200-75, Д4000-22, Д5000-32, Д6300-27, Д12500-24;
- предназначен для применения генерирующими компаниями, эксплуатирующими организациями на тепловых электростанциях, ремонтными и иными организациями, осуществляющими ремонтное обслуживание оборудования электростанций.
В настоящем стандарте использованы нормативные ссылки на следующие стандарты и другие нормативные документы:
Федеральный закон РФ от 27.12.2002 № 184 ФЗ «О техническом регулировании»
ГОСТ 10-88 Нутромеры микрометрические. Технические условия
ГОСТ 12.1.003-83 Система стандартов безопасности труда. Шум. Общие требования безопасности
ГОСТ 12.1.005-88 Система стандартов безопасности труда. Общие санитарно-гигиенические требования к воздуху рабочей зоны
ГОСТ 12.1.012-2004 Система стандартов безопасности труда. Вибрационная безопасность. Общие требования
ГОСТ 12.1.030-81 Система стандартов безопасности труда. Электробезопасность. Защитное заземление, зануление
ГОСТ 12.4.009-83 Система стандартов безопасности труда. Пожарная техника для защиты объектов. Основные виды. Размещение и обслуживание
ГОСТ 17.2.3.02-78 Охрана природы. Атмосфера. Правила установления допустимых выбросов вредных веществ промышленными предприятиями
ГОСТ 27.002-89 Надежность в технике. Основные положения. Термины и определения
ГОСТ 32-74 Масла турбинные. Технические условия
ГОСТ 166-89 Штангенциркули. Технические условия
ГОСТ 380-2005 Сталь углеродистая обыкновенного качества. Марки
ГОСТ 481-80 Паронит и прокладки из него. Технические условия
ГОСТ 577-68 Индикаторы часового типа с ценой деления 0,01 мм. Технические условия
ГОСТ 613-79 Бронзы оловянные литейные. Марки
ГОСТ 859-2001 Медь. Марки
ГОСТ 868-82 Нутромеры индикаторные с ценой деления 0,01 мм. Технические условия
ГОСТ 1033-79 Смазка солидол жировой. Технические условия
ГОСТ 1050-88 Прокат сортовой, калиброванный, со специальной отделкой поверхности из углеродистой качественной конструкционной стали. Общие технические условия
ГОСТ 1412-85 Чугун с пластинчатым графитом для отливок. Марки
ГОСТ 1477-93 Винты установочные с плоским концом и прямым шлицем классов точности А и В. Технические условия
ГОСТ 2208-2007 Фольга, ленты, листы и плиты латунные. Технические условия
ГОСТ 2789-73 Параметр шероховатости поверхности. Параметры и характеристики
ГОСТ 2824-86 Картон электроизоляционный. Технические условия
ГОСТ 2850-95 Картон асбестовый. Технические условия
ГОСТ 3242-79 Соединения сварные. Методы контроля качества
ГОСТ 4366-76 Смазка солидол синтетический. Технические условия
ГОСТ 4381-87 Микрометры рычажные. Общие технические условия
ГОСТ 4543-71 Прокат из легированной конструкционной стали. Технические условия
ГОСТ 5152-84 Набивки сальниковые. Технические условия
ГОСТ 5264-80 Ручная дуговая сварка. Соединения сварные. Основные типы, конструктивные элементы и размеры
ГОСТ 5721-75 Подшипники роликовые радиальные сферические двухрядные. Типы и основные размеры
ГОСТ 5915-70 Гайки шестигранные класса точности В. Конструкция и размеры
ГОСТ 6134-2007 Насосы динамические. Методы испытаний
ГОСТ 6402-70 Шайбы пружинные. Технические условия
ГОСТ 6507-90 Микрометры. Технические условия
ГОСТ 6613-86 Сетки проволочные тканые с квадратными ячейками. Технические условия
ГОСТ 8338-75 Подшипники шариковые радиальные однорядные. Основные размеры
ГОСТ 8505-80 Нефрас-С50/170. Технические условия
ГОСТ 8530-90 Подшипники качения. Гайки, шайбы и скобы для закрепительных и стяжных втулок. Технические условия
ГОСТ 8551-74 Смазка ЦИАТИМ-205. Технические условия
ГОСТ 8713-79 Сварка под флюсом. Соединения сварные. Основные типы, конструктивные элементы и размеры.
ГОСТ 8787-68 Сталь чистотянутая для шпонок. Сортамент
ГОСТ 9244-75 Нутромеры с ценой деления 0,001 и 0,002 мм. Технические условия
ГОСТ 9347-74 Картон прокладочный и уплотнительные прокладки из него. Технические условия
ГОСТ 9378-93 Образцы шероховатости поверхности (сравнения). Общие технические условия
ГОСТ 9972-74 Масла нефтяные турбинные с присадками. Технические условия
ГОСТ 10796-74 Резаки ручные воздушно-дуговые. Типы и основные параметры
ГОСТ ИСО 10816-3-2002 Вибрация. Контроль состояния по результатам измерения вибрации на невращающихся частях. Часть 3. Промышленные машины номинальной мощностью более 15 кВт и номинальной скоростью от 120 до 15000 минут в степени минус 1
ГОСТ 10877-76 Масло консервационное К-17. Технические условия
ГОСТ 11098-75 Скобы с отсчетным устройством. Технические условия
ГОСТ 14771-76 Дуговая сварка в защитном газе. Соединения сварные. Основные типы, конструктивные элементы и размеры
ГОСТ 15467-79 Управление качеством продукции. Основные понятия. Термины и определения
ГОСТ 16504-81 Система государственных испытаний продукции. Испытания и контроль качества продукции. Основные термины и определения
ГОСТ 17187-81 Шумомеры. Общие технические требования и методы испытаний
ГОСТ 17756-72 Пробки резьбовые со вставками с полным профилем резьбы диаметром от 1 до 100 мм. Конструкция и основные размеры
ГОСТ 18322-78 Система технического обслуживания и ремонта техники. Термины и определения
ГОСТ 18442-80 Контроль неразрушающий. Капиллярные методы. Общие требования
ГОСТ 19300-86 Средства измерений шероховатости поверхности профильным методом. Профилографы-профилометры контактные. Типы и основные параметры
ГОСТ 19537-83 Смазка пушечная. Технические условия
ГОСТ 20799-88 Масла индустриальные. Технические условия
ГОСТ 20831-75 Система технического обслуживания и ремонта техники. Порядок проведения работ по оценке качества отремонтированных изделий
ГОСТ 21631-76 Листы из алюминия и алюминиевых сплавов. Технические условия
ГОСТ 23360-78 Основные нормы взаимозаменяемости. Соединения шпоночные с призматическими шпонками. Размеры шпонок и сечений пазов. Допуски и посадки
ГОСТ 23677-79 Твердомеры для металлов. Общие технические требования
ГОСТ 23941-2002 Шум машин. Методы определения шумовых характеристик. Общие требования
ГОСТ 24121-80 Калибры пазовые для размеров св. 3 до 50 мм. Конструкция и размеры
ГОСТ 24297-87 Входной контроль продукции. Основные положения
ГОСТ 24643-81 Основные нормы взаимозаменяемости. Допуски формы и расположения поверхностей. Числовые значения
ГОСТ 25275-82 Система стандартов по вибрации. Приборы для измерения вибрации вращающихся машин. Общие технические требования
ГОСТ 25706-83 Лупы. Типы, основные параметры. Общие технические требования
ГОСТ 28804-90 Материалы фенольные формовочные. Общие технические условия
ГОСТ Р 50831-95 Установки котельные. Тепломеханическое оборудование. Общие технические требования
ГОСТ Р 52781-2007 Круги шлифовальные и заточные. Технические условия
СТО 70238424.27.100.012-2008 Тепловые и гидравлические станции. Методики оценки качества ремонта энергетического оборудования
СТО 70238424.27.100.017-2009 Тепловые электрические станции. Ремонт и техническое обслуживание оборудования, зданий и сооружений. Организация производственных процессов. Нормы и требования
СТО 70238424.27.100.006-2008 Ремонт и техническое обслуживание оборудования, зданий и сооружений электрических станций и сетей. Условия выполнения работ подрядными организациями. Нормы и требования
СТО 70238424.27.010.001-2008 Электроэнергетика. Термины и определения
СТО 17230282.27.010.002-2008 Оценка соответствия в электроэнергетике
Примечание - При пользовании настоящим стандартом целесообразно проверить действие ссылочных стандартов и классификаторов в информационной системе общего пользования - на официальном сайте национального органа Российской Федерации по стандартизации в сети Интернет или по ежегодно издаваемому информационному указателю «Национальные стандарты», который опубликован по состоянию на 1 января текущего года, и по соответствующим ежемесячно издаваемых информационным указателям, опубликованным в текущем году. Если ссылочный документ заменен (изменен), то при пользовании настоящим стандартом следует руководствоваться замененным (измененным) документом. Если ссылочный документ отменен без замены, то положение, в котором дана ссылка на него, применяется в части, не затрагивающей эту ссылку.
3.1 В настоящем стандарте применены основные понятия по Федеральному закону РФ «О техническом регулировании» и термины по ГОСТ 15467, ГОСТ 16504, ГОСТ 18322, ГОСТ 27.002, СТО 70238424.27.010.001-2008, а также следующие термины с соответствующими определениями:
3.1.1 требование: Норма, правила, совокупность условий, установленных в документе (нормативной и технической документации, чертеже, стандарте), которым должны соответствовать изделие или процесс.
3.1.2 характеристика: Отличительное свойство. В данном контексте характеристики физические (механические, электрические, химические) и функциональные (производительность, мощность ...).
3.1.3 характеристика качества: Присущая характеристика продукции, процесса или системы, вытекающая из требований.
3.1.4 качество отремонтированного оборудования: Степень соответствия совокупности присущих оборудованию характеристик качества, полученных в результате выполнения его ремонта, требованиям, установленным в нормативной и технической документации.
3.1.5 качество ремонта оборудования: Степень выполнения требований, установленных в нормативной и технической документации, при реализации комплекса операций по восстановлению исправности или работоспособности оборудования или его составных частей.
3.1.6 оценка качества ремонта оборудования: Установление степени соответствия результатов, полученных при освидетельствовании, дефектации, контроле и испытаниях после устранения дефектов, характеристикам качества оборудования, установленным в нормативной и технической документации.
3.1.7 технические условия на капитальный ремонт: Нормативный документ, содержащий требования к дефектации изделия и его составных частей, способы ремонта для устранения дефектов, технические требования, значения показателей и нормы качества, которым должно удовлетворять изделие после капитального ремонта, требования к контролю и испытаниям оборудования в процессе ремонта и после ремонта.
3.2 Обозначения и сокращения
А, Б, В... - обозначение поверхности;
ГТН - газотермическое напыление;
Карта - карта дефектации и ремонта;
НТД - нормативная и техническая документация;
УЗД - ультразвуковая дефектоскопия;
ЦД - цветная дефектоскопия по ГОСТ 18442;
НВ - твёрдость по Бринеллю;
НRС - твёрдость по Роквеллу;
δ - обозначение толщины;
L - обозначение длины;
Ra - среднее арифметическое отклонение профиля;
Rz - высота неровностей профиля по десяти точкам.
4.1 Подготовка насосов к ремонту, вывод в ремонт, производство ремонтных работ и приемка из ремонта должны производиться в соответствии с нормами и требованиями СТО 70238424.27.100.017-2009.
Требования к ремонтному персоналу, гарантиям производителя работ по ремонту установлены в СТО 70238424.27.100.006-2008.
4.2 Выполнение требований настоящего стандарта определяет оценку качества отремонтированных насосов. Порядок проведения оценки качества ремонта насосов устанавливается в соответствии с СТО 70238424.27.100.012-2008.
4.3 Требования настоящего стандарта, могут быть использованы при среднем и текущем ремонтах насосов. При этом учитываются следующие особенности их применения:
- требования к составным частям и насосам в целом в процессе среднего или текущего ремонта применяются в соответствии с выполняемой номенклатурой и объёмом ремонтных работ;
- требования к объёмам и методам испытаний и сравнению показателей качества отремонтированных насосов с их нормативными и доремонтными значениями при среднем ремонте применяются в полном объёме;
- требования к объёмам и методам испытаний и сравнению показателей качества отремонтированных насосов с их нормативными и доремонтными значениями при текущем ремонте применяются в объёме, определяемом техническим руководителем электростанции и достаточным для установления работоспособности насоса.
4.4 При расхождении требований настоящего стандарта с требованиями других НТД, выпущенных до утверждения настоящего стандарта, необходимо руководствоваться требованиями настоящего стандарта.
При внесении предприятием-изготовителем изменений в конструкторскую документацию на насосы и при выпуске нормативных документов органов государственного надзора, которые повлекут за собой изменение требований к отремонтированным составным частям и насосам в целом, следует руководствоваться вновь установленными требованиям вышеуказанных документов до внесения соответствующих изменений в настоящий стандарт.
4.5 Требования настоящего стандарта распространяются на капитальный ремонт насосов Д200-36, Д200-95, Д320-50, Д500-65, Д320-70, Д630-90, Д800-57, Д1250-65, Д1250-125, Д1600-90, Д2000-21, Д2000-100, Д2500-62, Д3200-33, Д3200-75, Д4000-22, Д5000-32, Д6300-27, Д12500-24 в течение полного срока службы, установленного в НТД на поставку насосов или в других нормативных документах.
При продлении в установленном порядке продолжительности эксплуатации насосов сверх полного срока службы, требования настоящего стандарта применяются в разрешенный период эксплуатации с учетом требований и выводов, содержащихся в документах на продление продолжительности эксплуатации.
5.1 Насосы предназначены для перекачивания воды, температура которой не более 358 К (85 °С), или жидкости, имеющей сходные с водой свойства (вязкость, химическую активность и температуру).
Насосы - горизонтальные одноступенчатые с полуспиральным подводом жидкости к двустороннему рабочему колесу.
5.2 Технические характеристики насосов приведены в таблице А.1 (приложение А). Стандарт разработан на основе конструкторской документации заводов-изготовителей насосов, приведенной в таблице А.2 (приложение А).
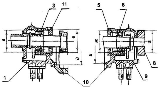
5.3 Основными составными частями насоса (рисунки 1 - 4) являются: корпус поз. 8, крышка поз. 1, ротор с рабочим колесом поз. 2, которое крепится на валу шпонкой. Ротор установлен в корпусе насоса на двух опорах 6, 12.
Привод насоса осуществляется непосредственно от электродвигателя при помощи втулочно-пальцевой муфты поз. 7, соединяющей валы насоса и электродвигателя. Направление вращения ротора насоса - левое, если смотреть со стороны муфты.
1 - крышка корпуса; 2 - ротор; 3, 9 - грунд-букса; 4, 10 - кольцо сальника; 5, 11 - втулка защитная; 6, 12 - узел опоры; 7 - муфта втулочно-пальцевая; 8 - корпус; а, б, в... - сопряжение.
Рисунок 1 - Насосы Д200-95, Д200-36, Д320-50, Д320-70, Д500-65, Д630-90, Д800-57, Д1250-65, Д1250-125, Д1600-90
1 - крышка корпуса; 2 - ротор; 3, 9 - кольцо; 4, 10 - камера водяная; 5, 11 - втулка защитная; 6, 12 - узел опоры; 7 - муфта втулочно-пальцевая; 8 - корпус, a, б1, в1... - сопряжение.
Рисунок 2 - Насосы Д2000-21, Д2000-100, Д2500-62, Д3200-33, Д3200-75
1 - крышка корпуса; 2 - ротор; 3, 9 - кольцо; 4, 10 - камера водяная; 5, 11 - втулка защитная; 6, 12 - узел опоры; 7 - муфта втулочно-пальцевая; 8 - корпус; a, б1, в1... - сопряжение
Рисунок 3 - Насосы Д2500-62, Д4000-22, Д5000-32, Д6300-27
1 - крышка корпуса; 2 - ротор; 3, 9 - грунд-букса; 4, 10 - кольцо сальника; 5, 11 - втулка защитная; 6, 12 - узел опоры; 7 - муфта втулочно-пальцевая; 8 - корпус; а, б, в... - сопряжение
Рисунок 4 - Насос Д12500-24
6.1.1 Для ремонта составных частей насосов должны применяться материалы, указанные в рабочих чертежах, или материалы-заменители, приведённые в таблице Б.1 (приложение Б).
Механические свойства материалов-заменителей, применяемых для ремонта, должны быть выше или соответствовать свойствам материалов, указанных в рабочих чертежах завода-изготовителя.
6.1.2 Соответствие материалов, применяемых для ремонта, а также материалов запасных частей, используемых для замены изношенных элементов указанных сборочных единиц, должно подтверждаться сертификатами заводов-поставщиков или результатами лабораторных испытаний. Все материалы, применяемые при ремонте, должны пройти входной контроль по ГОСТ 24297.
6.2.1 Сварные швы составных частей насоса следует проверять методами по ГОСТ 3242.
6.2.2 Дефектные участки швов (с трещинами или другими дефектами) должны удаляться до основного металла шлифовальными кругами по ГОСТ Р 52781, инжекторными или воздушно-дуговыми резаками по ГОСТ 10796, зачищаться и восстанавливаться электродами, указанными в рабочих чертежах заводов-изготовителей.
6.2.3 Порядок наложения швов должен обеспечивать минимальные сварочные напряжения и отсутствие коробления элементов при сварке.
6.2.4 Восстановленные сварные швы не должны иметь прожогов основного металла, трещин и других дефектов. Поверхность шва должна быть мелкочешуйчатой и иметь плавный переход без наплывов к основному металлу.
Размеры и формы сварных швов должны соответствовать требованиям рабочих чертежей, ГОСТ 5264, ГОСТ 8713, ГОСТ 14771 в зависимости от способа сварки.
6.2.5 В сварных соединениях неподвижных конструкций допускаются местные подрезы глубиной не более:
- 0,5 мм - при толщине свариваемых деталей до 10,0 мм;
- 1,0 мм - при толщине свариваемых деталей более 10,0 мм.
Суммарная длина подрезов не должна превышать 20 % длины сварных швов.
Подрезы, превышающие указанные допуски, должны быть устранены заваркой.
6.3.1 Дефекты резьбы (срыв, вмятины, вытягивание, трещины и др.) должны определяться визуальным контролем и резьбовыми пробками по ГОСТ 17756.
6.3.2 Ремонту не подлежат крепёжные изделия при наличии:
- трещин;
- повреждения резьбы (срывахили вмятинах глубиной более 1/2 высоты профиля резьбы) более чем на двух нитках;
- деформации резьбовой части, препятствующей свободному завинчиванию.
.3.3 Поврежденная внутренняя резьба (трещины, срывы, вмятины глубиной более 1/2 высоты профиля более чем на двух нитках) на корпусных деталях должны восстанавливаться срезанием старой и нарезанием новой резьбы другого диаметра согласно таблице 1 при условии обеспечения сборки и прочности соединения.
Таблица 1
|
Резьба после восстановления |
|
|
М16-7Н |
М20-7Н |
|
М20-7Н |
М24-7Н |
|
М24-7Н |
М27-7Н |
|
М27-7Н |
М30-7Н |
|
М30-7Н |
М32-7Н |
6.3.4 Незначительные повреждения резьбы (задиры, вмятины) должны быть устранены опиливанием или прогонкой резьбонарезным инструментом.
6.3.5 Повреждения ненарезанной части болтов должны устраняться опиливанием или обточкой. При этом уменьшение диаметра допускается не более чем на 2 % от номинального. Допуск прямолинейности оси болта 0,5 мм на длине 100,0 мм.
6.3.6 Повреждения граней головок болтов и гаек должны быть устранены опиливанием под меньший, но не более чем на один размер ключа.
6.3.7 После восстановления гайки должны навинчиваться на болты (шпильки) от руки. Нарезанный конец болта должен выступать над гайкой не менее чем на две нитки и не более чем на 10,0 мм. Гайки и головки болтов должны плотно прилегать всей поверхностью к деталям. Шпильки должны плотно заполнять отверстие и быть ввинченными до упора.
6.3.8 Резьбовые соединения должны быть очищены от грязи, прокалиброваны и смазаны солидолом марки Ж по ГОСТ 1033.
6.3.9 Величины крутящих моментов при затягивании крепёжных деталей должны быть в пределах, приведённых в таблице 2.
Таблица 2
|
Крутящий момент, Н·м |
|
|
М12 |
Св. 35 до 50 включ. |
|
М16 |
» 90 » 120 » |
|
М20 |
» 170 » 200 » |
|
М27 |
» 350 » 380 » |
|
М30 |
» 350 » 400 » |
6.4.1 Дефекты шпоночных пазов и шпонок (смятие рабочих кромок, трещины и др.) должны определяться визуальным контролем и измерением контрольным инструментом (штангенциркулем по ГОСТ 166, калибром пазовым по ГОСТ 24121).
6.4.2 Шпонки со смятыми гранями подлежат замене на новые.
6.4.3 Изношенные шпоночные пазы должны быть восстановлены наплавкой кромок паза с последующей механической обработкой. Допускается восстановление кромок паза опиливанием или фрезерованием до ремонтных размеров (если увеличение ширины паза после обработки не превышает 15 %). Допуск параллельности боковых граней должен соответствовать требованиям ГОСТ 24643.
6.4.4 После восстановления шпоночного соединения должна быть обеспечена напряжённая посадка шпонки на валу и скользящая во втулке с допусками по ГОСТ 23360.
6.5.1 Дефекты подшипников качения определяются осмотром и способами, приведёнными в 6.5.2.
6.5.2 Замене подлежат подшипники качения при исчерпании ресурса, указанного в технической документации заводов-изготовителей, а также при:
- наличии трещин на кольцах, телах качения и сепараторах;
- наличии сколов на кольцах или телах качения;
- наличии забоин, вмятин, шелушения или коррозионных раковин на беговых дорожках или телах качения;
- повреждениях заклёпочных или сварочных соединений или деформации сепаратора;
- тугом вращении;
- остаточном магнетизме, определяемом при помощи ферро-магнитного порошка (измельчённой железной окалины Fe3О4, просеянной через сито) с полутомпаковой сеткой 009К по ГОСТ 6613;
- радиальном посадочном зазоре, превышающем предельно допустимый, указанный в таблице 3, который определяется щупом или индикатором ИЧ 02 кл.0 по ГОСТ 577.
Таблица 3
|
Предельно-допустимый радиальный зазор в подшипнике, мкм |
||
|
минимальный |
максимальный |
|
|
35 |
25 |
95 |
|
60 |
30 |
120 |
|
90 |
45 |
170 |
|
100 |
45 |
170 |
|
160 |
65 |
260 |
6.6.1 Поверхности под посадку необходимо подвергнуть визуальному контролю. Дефекты (коррозию, вмятины, расслоения, задиры, риски и т.д.) необходимо устранить с сохранением размеров под посадку.
В местах напыления трещины, шлаковые включения, поры не допускаются. Места напыления должны быть зачищены заподлицо с основным металлом. Толщина напыленного покрытия - не более 3,0 мм.
После механической обработки поверхности размеры и Параметр шероховатости должны соответствовать требованиям рабочих чертежей.
Оценку шероховатости рекомендуется производить сравнением с образцами шероховатости по ГОСТ 9378 или измерением профилометром-профилографом по ГОСТ 19300.
6.6.3 Проверку цилиндричности поверхностей под посадку необходимо производить не менее чем по двум взаимно перпендикулярным диаметрам.
Количество измерений по длине поверхности под посадку устанавливается по данным таблицы 4 в зависимости от соотношения:
![]()
где L - длина поверхности под посадку, мм;
D - диаметр этой поверхности, мм.
Таблица 4
|
L/D |
Количество сечений |
Место сечения |
|
До 0,3 включ. |
1 |
В центре |
|
Св. 0,3 до 1,0 включ. |
2 |
По краям |
|
Св. 1,0 |
3 |
В центре и по краям |
6.6.4 При восстановлении поверхностей или замены материала составных частей разность твердостей сопрягаемых поверхностей должна быть в пределах от 40 НВ до 50 НВ.
6.7.1 Применяемые при ремонте измерительный инструмент, приборы и оборудование для обработки и сборки должны обеспечивать:
- точность, соответствующую указанной в рабочих чертежах и настоящем стандарте;
- правильность выявления дефектов;
- правильность результатов проведённых испытаний.
Перечень средств измерительной техники, инструмента и приборов, необходимых для контроля насосов, приведен в приложении В.
Разрешается замена контрольного инструмента и средств измерительной техники при условии обеспечения точности. Измерительный контроль должен производиться с точностью не ниже указанной в рабочей конструкторской документации и данном стандарте.
6.8.1 Разборку насоса, необходимо производить в соответствии с требованиями настоящего стандарта.
6.8.2 Перед разборкой необходимо проверить наличие маркировки, указывающей взаимное расположение сопряженных составных частей. При её отсутствии сопряжённые детали должны быть промаркированы.
6.8.3 Разборку неподвижного сопряжения с натягом следует производить только при необходимости ремонта или замены деталей. При этом детали должны сниматься специальными приспособлениями. Для облегчения снятия допускается нагрев охватывающей детали (кроме подшипников качения) пламенем газовой горелки с направлением нагрева от периферии к центру. При снятии подшипника качения усилие должно быть приложено к внутреннему кольцу. Для облегчения снятия подшипника его необходимо облить нагретым до температуры от 363 К до 373 К (от 90 °С до 100 °С) маслом И-20А по ГОСТ 20799, предварительно накрыв прилегающие участки вала (втулки) асбестовым картоном по ГОСТ 2850.
6.8.4 Все составные части перед их дефектацией или ремонтом должны быть очищены от пыли, грязи, ржавчины и др.
6.8.5 Подшипники качения, их корпуса и детали подшипниковых опор должны быть промыты моющим средством типа нефрас-С50/170 по ГОСТ 8505.
6.8.6 Поверхности под посадку должны быть очищены до металлического блеска, протерты обтирочными концами, смоченными моющим средством типа нефрас-С50/170 по ГОСТ 8505, насухо вытерты и смазаны маслом К-17 по ГОСТ 10877 или пластичной смазкой ЗТ 5/5-5 по ГОСТ 19537.
6.8.7 Для соединения деталей типа «вал-втулка» допускается уменьшение размера вала или увеличение размера втулки выше допустимого, предусмотренного по конструкторской документации при условии обеспечения допустимых зазоров (натягов), приведенных в таблицах 5, 15, 18, 34, 41.
7.1.1 Дефектацию и ремонт корпусных деталей (корпуса, крышки корпуса, скоб), а также сопряженных с ними деталей, необходимо проводить в соответствии с картами дефектации и ремонта 1 - 6.
7.1.2 Зазоры (натяги) между составными сопряжёнными частями корпуса (рисунки 5 - 7) должны быть в пределах норм, приведенных в таблице 5.
1 - корпус; 2 - стакан подшипника пяты; 3, 12 - скоба; 4, 14 - крышка сальника; 5, 11 - кольцо сальника; 6, 10 - грунд-букса; 7, 8 - кольцо уплотняющее; 5, 11 - кольцо сальника; 9 - крышка корпуса; 13 - стакан подшипника; а, б, в... - сопряжение
Рисунок 5 - Корпус со скобами (насосы Д200-95, Д200-36, Д320-50, Д320-70, Д500-65, Д630-90, Д800-57, Д1250-65, Д1250-125, Д1600-90)
1 - корпус насоса; 2, 13 - корпус подшипника; 4, 14 - букса сальника; 5, 11 - камера водяная (кольцо сальника); 7, 8 - кольцо уплотняющее; 9 - крышка корпуса; 15, 16 - кольцо; а, б, в... - сопряжение
Рисунок 6 - Корпус (насосы Д2000-21, Д2000-100, Д2500-62, Д3200-33, Д3200-75, Д4000-22, Д5000-32, Д6300-27)
1 - корпус насоса; 2, 13 - корпус подшипника; 4, 14 - крышка сальника; 5, 11 - кольцо сальника; 6, 10 - грунд-букса; 7, 8 - кольцо уплотняющее; 9 - крышка корпуса; а, б, в... - сопряжение
Рисунок 7 - Корпус (насос Д12500-24) Д320-70
Таблица 5 - Нормы зазоров (натягов) для корпусных деталей
|
Позиция сопряженной составной части |
Название сопряженной составной части |
Обозначение чертежа (нормативного документа) составной части |
Размер составной части по чертежу, мм |
Зазор (+), натяг (-), мм, допустимый после капитального ремонта |
||
|
номинальное значение |
предельное отклонение |
|||||
|
Насосы Д200-95, Д200-36, Д320-50, Д320-70, Д500-65, Д630-90, Д800-57, Д1250-65, Д1250-125, Д1600-90 (см. рисунок 5) |
||||||
|
1; 3 |
Корпус; скоба |
|||||
|
Д200-95 |
0603.501612.0001 |
Æ 110 |
+0,087 |
Д200-95 Д200-36 Д320-50 |
||
|
0603.408653.0001 |
||||||
|
Д200-36 |
0603.501612.0002 |
Æ 110 |
+0,087 |
|||
|
0603.408653.0001 |
||||||
|
Д320-50 |
0603.501612.0003 |
Æ 110 |
+0,087 |
+0,174 |
||
|
0603.408653.0001 |
||||||
|
Д320-70 |
0603.501612.0004 |
Æ 110 |
+0,087 |
Д500-65 Д630-90 Д800-57 Д1250-65 |
||
|
0603.408653.0001 |
||||||
|
Д500-65 |
Н03.643.01.00.002 |
Æ 150 |
+0,250 |
|||
|
Н03.629.01.00.003 |
||||||
|
Д630-90 |
Н03.629.01.00.002 |
Æ 150 |
+0,250 |
|||
|
Н03.629.01.00.003 |
+0,350 |
|||||
|
Д800-57 |
Н03.644.01.00.002 |
Æ 150 |
+0,250 |
Д1250-125 Д1600-90 |
||
|
Н03.629.01.00.003 |
||||||
|
Д1250-65 |
Н03.630.01.01.002 |
Æ 150 |
+0,250 |
|||
|
Н03.629.01.00.003 |
||||||
|
Д1250-125 |
Н03.649.01.00.002 |
Æ 215 |
+0,290 |
+0,405 |
||
|
Н03.649.01.00.003 |
||||||
|
Д1600-90 |
Н03.650.01.00.002 |
Æ 215 |
+0,290 |
|||
|
Н03.649.01.00.003 |
||||||
|
а |
2 |
Стакан подшипника пяты |
||||
|
Д200-95 |
0603.403372.0001 |
Æ 110 |
-0,087 |
|||
|
Д200-36 |
||||||
|
Д320-50 |
||||||
|
Д320-70 |
||||||
|
Д500-65 |
Н03.629.01.01.008 |
Æ 150 |
-0,100 |
|||
|
Д630-90 |
||||||
|
Д800-57 |
||||||
|
Д1250-65 |
||||||
|
Д1250-125 |
Н03.649.01.01.008 |
Æ 215 |
-0,115 |
|||
|
Д1600-90 |
Н03.649.01.01.007 |
|||||
|
1; 9 |
Корпус, крышка корпуса |
|||||
|
Д200-95 |
0603.501612.0001 |
Æ 70 |
+0,190 |
|||
|
0603.501512.0001 |
||||||
|
Д200-36 |
0603.501612.0002 |
Æ 70 |
+0,190 |
Д200-95 Д200-36 Д320-50 Д320-70 +0,380 Д500-65 Д630-90 Д800-57 Д1250-65 +0,220 +0,790 |
||
|
0603.501512.0002 |
||||||
|
Д320-50 |
0603.501612.0003 |
Æ 70 |
+0,190 |
|||
|
0603.501512.0003 |
||||||
|
Д320-70 |
0603.501612.0004 |
Æ 70 |
+0,190 |
|||
|
0603.501512.0004 |
||||||
|
Д500-65 |
Н03.643.01.00.002 |
Æ 100 |
+0,220 |
|||
|
Н03.643.00.00.001 |
||||||
|
Д630-90 |
Н03.629.01.00.002 |
Æ 100 |
+0,220 |
|||
|
Н03.629.01.00.001 |
||||||
|
Д800-57 |
Н03.644.01.00.002 |
Æ 100 |
+0,220 |
|||
|
Н03.644.00.00.001 |
||||||
|
Д1250-65 |
Н03.630.01.01.002 |
Æ 100 |
+0,220 |
Д1250-125 Д1600-90 +0,280 +0,930 |
||
|
Н03.630.01.00.001 |
||||||
|
Д1250-125 |
Н03.649.01.00.002 |
Æ 152 |
+0,250 |
|||
|
Н03.649.01.00.001 |
||||||
|
Д1600-90 |
Н03.650.01.00.002 |
Æ 152 |
+0,250 |
|||
|
Н03.650.01.00.001 |
||||||
|
б; л |
4; 14 |
Крышка сальника |
||||
|
Д200-95 Д200-36 Д320-50 |
0603.408443. 0005 |
Æ 70 |
-0,190 |
|||
|
Д320-70 |
0603.408545. 0005 |
Æ 70 |
-0,190 |
|||
|
Д500-65 |
Н03.629.01.01.009 |
Æ 100 |
-0,220 |
|||
|
Д630-90 |
-0,570 |
|||||
|
Д800-57 |
||||||
|
Д1250-65 |
||||||
|
Д1250-125 |
03.649.01.01.009 |
Æ 152 |
-0,280 |
|||
|
Д1600-90 |
-0,680 |
|||||
|
1; 9 |
Корпус; крышка корпуса |
|||||
|
Д200-95 |
0603.501612.0001 |
Æ 70 |
+0,190 |
|||
|
0603.501512.0001 |
Д200-95 Д200-36 Д320-50 Д320-70 |
|||||
|
Д200-36 |
0603.501612.0002 |
Æ 70 |
+0,190 |
|||
|
0603.501512.0002 |
||||||
|
Д320-50 |
0603.501612.0003 |
Æ 70 |
+0,190 |
|||
|
0603.501512.0003 |
+0,120 |
|||||
|
Д320-70 |
0603.501612.0004 |
Æ 70 |
+0,190 |
+0,530 |
||
|
0603.501512.0004 |
||||||
|
Д500-65 |
Н03.643.01.00.002 |
Æ 100 |
+0,220 |
Д500-65 Д630-90 Д800-57 |
||
|
Н03.643.00.00.001 |
||||||
|
Д630-90 |
Н03.629.01.00.002 |
Æ 100 |
+0,220 |
Д1250-65 |
||
|
Н03.629.01.00.001 |
||||||
|
Д800-57 |
Н03.644.01.00.002 |
Æ 100 |
+0,220 |
+0,120 |
||
|
Н03.644.00.00.001 |
+0,560 |
|||||
|
Д1250-65 |
Н03.630.01.00.002 |
Æ 100 |
+0,220 |
|||
|
Н03.630.01.00.001 |
Д1250-125 |
|||||
|
Д1250-125 |
Н03.649.01.00.002 |
Æ 152 |
+0,250 |
Д1600-90 |
||
|
Н03.649.01.00.001 |
||||||
|
Д1600-90 |
Н03.650.01.00.002 |
Æ 152 |
+0,250 |
+0,145 |
||
|
Н03.650.01.00.001 |
+0,645 |
|||||
|
в; к |
5; 11 |
Кольцо сальника |
||||
|
Д200-95 |
0603.405142.0001 |
Æ 70 |
-0,120 |
|||
|
-0,340 |
||||||
|
Д200-36 |
0603.405142.0001 |
Æ 70 |
-0,120 |
|||
|
Д320-50 |
0603.409112.0002 |
-0,340 |
||||
|
Д320-70 |
||||||
|
Д500-65 |
Н03.629.01.01.001 |
Æ 100 |
-0,120 |
|||
|
Д630-90 |
-0,340 |
|||||
|
Д800-57 |
||||||
|
Д1250-65 |
||||||
|
Д1250-125 |
Н03.649.01.01.004 |
Æ 152 |
-0,145 |
|||
|
Д1600-90 |
-0,395 |
|||||
|
1; 9 |
Корпус; крышка корпуса |
|||||
|
Д200-95 |
0603.501612.0001 |
Æ 70 |
+0,190 |
|
||
|
0603.501512.0001 |
Д200-95 Д200-36 Д320-50 |
|||||
|
Д200-36 |
0603.501612.0002 |
Æ 70 |
+0,190 |
|||
|
0603.501512.0002 |
Д320-70 |
|||||
|
Д320-50 |
0603.501612.0003 |
Æ 70 |
+0,190 |
+0,380 |
||
|
0603.501512.0003 |
||||||
|
Д320-70 |
0603.501612.0004 |
Æ 70 |
+0,190 |
Д500-65 |
||
|
0603.501512.0004 |
Д630-90 |
|||||
|
Д500-65 |
Н03.643.01.00.002 |
Æ 100 |
+0,220 |
Д800-57 |
||
|
Н03.643.00.00.001 |
Д1250-65 |
|||||
|
Д630-90 |
Н03.629.01.00.002 |
Æ 100 |
+0,220 |
|||
|
Н03.629.01.00.001 |
+0,440 |
|||||
|
Д800-57 |
Н03.644.01.00.002 |
Æ 100 |
+0,220 |
|||
|
Н03.644.00.00.001 |
Д1250-125 |
|||||
|
Д1250-65 |
Н03.630.01.00.002 |
Æ 100 |
+0,220 |
Д1600-90 |
||
|
Н03.630.01.00.001 |
||||||
|
Д1250-125 |
Н03.649.01.00.002 |
Æ 152 |
+0,250 |
+0,500 |
||
|
Н03.649.01.00.001 |
||||||
|
Д1600-90 |
Н03.650.01.00.002 |
Æ 152 |
+0,250 |
|||
|
Н03.650.01.00.001 |
||||||
|
г; ж |
6; 10 |
Грунд-букса |
||||
|
Д200-95 Д200-36 Д320-50 Д320-70 |
0603.409111.0002 |
Æ 70 |
-0,190 |
|||
|
Д500-65 Д630-90 Д800-57 Д1250-65 |
Н03.629.01.01.004 |
Æ 100 |
-0,220 |
|||
|
Д1250-125 Д1600-90 |
Н03.649.01.01.003 |
Æ 152 |
-0,250 |
|||
|
1; 9 |
Корпус; крышка корпуса |
|||||
|
Д200-95 |
0603.501612.0001 |
Æ 130 |
+0,160 |
Д200-95 Д320-70 |
||
|
0603.501512.0001 |
||||||
|
Д200-36 |
0603.501612.0002 |
Æ 145 |
+0,160 |
+0,200 |
||
|
0603.501512.0002 |
||||||
|
Д320-50 |
0603.501612.0003 |
Æ 175 |
+0,160 |
Д200-36 Д320-50 |
||
|
0603.501512.0003 |
||||||
|
Д320-70 |
0603.501612.0004 |
Æ 160 |
+0,160 |
+0,223 |
||
|
0603.501512.0004 |
||||||
|
Д500-65 |
Н03.643.01.00.002 |
Æ 230 |
+0,290 |
Д500-65 Д630-90 |
||
|
Н03.643.01.00.001 |
||||||
|
Д630-90 |
Н03.629.01.01.002 |
Æ 230 |
+0,290 |
+0,405 |
||
|
Н03.629.01.00.001 |
||||||
|
Д800-57 |
Н03.644.01.01.002 |
Æ 260 |
+0,320 |
Д800-57 Д1250-65 |
||
|
Н03.644.01.00.001 |
||||||
|
Д1250-65 |
Н03.630.01.00.002 |
Æ 275 |
+0,320 |
Д1600-90 +0,450 |
||
|
Н03.630.01.00.001 |
||||||
|
Д1250-125 |
Н03.649.01.00.002 |
Æ 330 |
+0,360 |
Д1250-125 |
||
|
Н03.649.01.00.001 |
||||||
|
Д1600-90 |
Н03.650.01.00.002 |
Æ 305 |
+0,320 |
+0,500 |
||
|
Н03.650.01.00.001 |
||||||
|
д; е |
7; 8 |
Кольцо уплотняющее |
||||
|
Д200-95 |
0603.403183.0001 |
Æ 130 |
-0,040 |
|||
|
Д200-36 |
0603.403183.0002 |
Æ 145 |
-0,063 |
|||
|
Д320-50 |
0603.403183.0003 |
Æ 175 |
-0,063 |
|||
|
Д320-70 |
0603.403183.0004 |
Æ 160 |
-0,040 |
|||
|
Д500-65 |
Н03.643.01.01.002 |
Æ 230 |
-0,115 |
|||
|
Д630-90 |
Н03.629.01.01.003 |
|||||
|
Д800-57 |
Н03.644.01.01.002 |
Æ 260 |
-0,130 |
|||
|
Д1250-65 |
Н03.630.01.00.002 |
Æ 275 |
-0,130 |
|||
|
Д1250-125 |
Н03.649.01.01.002 |
Æ 330 |
-0,140 |
|||
|
Д1600-90 |
Н03.650.01.01.002 |
Æ 305 |
-0,130 |
|||
|
1; 3; 12 |
Корпус; скоба |
|||||
|
Д200-95 |
0603.501612.0001 |
Æ 110 |
+0,087 |
|
||
|
0603.408653.0001 |
|
|||||
|
Д200-36 |
0603.501612.0002 |
Æ 110 |
+0,087 |
Д200-95 |
||
|
0603.408653.0001 |
Д200-36 |
|||||
|
Д320-50 |
0603.501612.0003 |
Æ 110 |
+0,087 |
Д320-50 |
||
|
0603.408653.0001 |
Д320-70 |
|||||
|
Д320-70 |
0603.501612.0004 |
Æ 110 |
+0,087 |
+0,174 |
||
|
0603.408653.0001 |
Д500-65 |
|||||
|
Д500-65 |
Н03.643.01.00.002 |
Æ 150 |
+0,250 |
Д630-90 |
||
|
Н03.629.01.00.003 |
Д800-57 |
|||||
|
Д630-90 |
Н03.629.01.00.002 |
Æ 150 |
+0,250 |
Д1250-65 |
||
|
Н03.629.01.00.003 |
||||||
|
Д800-57 |
Н03.644.01.00.002 |
Æ 150 |
+0,250 |
+0,350 |
||
|
Н03.629.01.00.003 |
||||||
|
Д1250-65 |
Н03.630.01.00.002 |
Æ 150 |
+0,250 |
Д1250-125 |
||
|
Н03.629.01.00.003 |
Д1600-90 |
|||||
|
Д1250-125 |
Н03.649.01.00.002 |
Æ 215 |
+0,290 |
+0,405 |
||
|
Н03.649.01.00.003 |
||||||
|
Д1600-90 |
Н03.650.01.00.002 |
Æ 215 |
+0,290 |
|||
|
Н03.649.01.00.003 |
||||||
|
м |
13 |
Стакан подшипника |
||||
|
Д200-95 Д200-36 Д320-50 Д320-70 |
0603.403352.0001 |
Æ 110 |
-0,087 |
|||
|
Д500-65 Д630-90 Д800-57 Д1250-65 |
Н03.629.01.01.006 |
Æ 150 |
-0,100 |
|||
|
Д1250-125 Д1600-90 |
Н03.649.01.01.006 |
Æ 215 |
-0,115 |
|||
|
1; 9 |
Корпус; крышка корпуса |
|||||
|
Д200-95 |
0603.501612.0001 0603.501512.0001 |
10 |
+0,150 |
Д200-36 Д200-95 Д320-50 |
||
|
Д200-36 |
0603.501612.0002 0603.501512.0002 |
10 |
+0,150 |
Д320-70 |
||
|
Д320-50 |
0603.501612.0003 0603.501512.0003 |
10 |
+0,150 |
+0,240 |
||
|
Д320-70 |
0603.501612.0004 0603.501512.0004 |
10 |
+0,150 |
Д 500-90 Д 6З0-90 |
||
|
Д500-90 |
Н03.643.01.00.002 |
12 |
+0,180 |
Д800-57 |
||
|
Д630-90 |
Н03.629.01.00.002 |
12 |
+0,180 |
Д1250-65 |
||
|
Д800-57 |
Н03.644.01.00.002 |
12 |
+0,180 |
Д1250-125 |
||
|
Д1250-65 |
Н03.630.01.00.002 |
12 |
+0,180 |
Д1600-90 |
||
|
Д1250-125 |
Н03.649.01.00.002 |
15 |
+0,180 |
+0,150 |
||
|
Д1600-90 |
Н03.650.01.00.002 |
15 |
+0,180 |
+0,510 |
||
|
7; 8 |
Кольцо уплотняющее |
|||||
|
Д200-95 |
0603.403183.0001 |
10 |
-0,090 |
|||
|
Д200-36 |
0603.403183.0002 |
10 |
-0,090 |
|||
|
Д320-50 |
0603.403183.0003 |
10 |
-0,090 |
|||
|
Д320-70 |
0603.403183.0004 |
10 |
-0,090 |
|||
|
Д500-90 |
Н03.643.01.01.002 |
12 |
-0,150 -0,330 |
|||
|
Д630-90 |
Н03.629.01.01.003 |
12 |
-0,150 -0,330 |
|||
|
Д800-57 |
Н03.644.01.01.002 |
12 |
-0,150 -0,330 |
|||
|
Д1250-65 |
Н03.630.01.01.002 |
12 |
-0,150 -0,330 |
|||
|
Д1250-125 |
Н03.649.01.01.002 |
15 |
-0,150 -0,330 |
|||
|
Д1600-90 |
Н03.650.01.01.002 |
15 |
-0,150 -0,330 |
|||
|
Примечание. Насосы Д2000-21, Д2000-100, Д2500-62, Д3200-33, Д3200-75, Д4000-22, Д5000-32, Д6300-27, Д12500-24 (см. рисунки 6, 7) |
||||||
|
1 |
Корпус насоса |
|||||
|
Д2000-21 |
Н06.011.20.01 |
Æ 202 |
+0,600 |
Д2000-21 |
||
|
Д2000-100 |
Н06.010.20.01 |
Æ 400 |
+0,760 |
+2,000 |
||
|
Д2500-62 |
Н06.009.20.01 |
Æ 400 |
+0,760 |
+3,200 |
||
|
Д3200-33 |
Б-6823 |
Æ 400 |
+0,760 |
Д2000-100 |
||
|
Д3200-75 |
Б-6794 |
Æ 400 |
+0,760 |
Д2500-62 |
||
|
Д4000-22 Д5000-32 Д6300-27 |
Б-0862 |
Æ 400 |
+0,120 |
Д3200-33 Д3200-75 |
||
|
Д12500-24 |
Б310-7; 0,75 Б310-8 |
Æ 720 |
+0,2 |
+ 1,000 + 1,680 |
||
|
а, м |
2, 13 |
Корпус подшипника |
||||
|
Д2000-21 |
Н06.011.30.01 |
Æ 200 |
-0,600 |
Д4000-22 |
||
|
Д2000-100 Д2500-62 Д3200-33 Д3200-75 |
Н06.004.20.01-11 |
Æ 399 |
-0,120 |
Д5000-32 Д6300-32 +0,240 |
||
|
Д4000-22 Д5000-32 Д6300-27 |
В-4025 |
Æ 400 |
-0,120 |
Д12500-24 |
||
|
Д12500-24 |
В-13288 |
Æ 718 |
±0,5 |
+0,500 |
||
|
1; 9 |
Корпус насоса, крышка насоса |
|||||
|
Д2000-21 |
Н06.011.20.01 Н06.011.20.02 |
Æ 120 |
+0,220 |
Д2000-21 +0,460 |
||
|
Д2000-100 |
Н06.010.20.01 Н06.010.20.02 |
Æ 180 |
+0,250 |
+0,920 |
||
|
Д2500-62 |
Н06.009.20.01 Н06.009.20.02 |
Æ 160 |
+0,250 |
Д2000-100 Д2500-62 |
||
|
Д3200-33 |
Б-6823; Б-6824 |
Æ 160 |
+0,250 |
Д3200-75 |
||
|
Д3200-75 |
Б-6794; Б-6795 |
Æ 175 |
+0,250 |
Д4000-22 |
||
|
Д4000-22 Д5000-32 Д6300-27 |
Б-0862; Б-0863 |
Æ 175 |
+0,250 |
Д5000-32 Д6300-32 +0,130 |
||
|
Д12500-24 |
Б310-7; 0,75 Б310-8 |
Æ 270 |
+0,32 |
+0,650 Д3200-33 |
||
|
б, л |
4; 14 |
Букса сальника (крышка сальника*) |
||||
|
Д2000-21 |
06.011.20.10 |
Æ 120 |
-0,460 -0,700 |
+0,130 +0,650 |
||
|
Д2000-100 |
Н06.010.20.05 |
Æ 180 |
-0,130 -0,400 |
Д12500-24 |
||
|
Д2500-62 |
Н06.009.20.08 |
Æ 160 |
-0,130 -0,400 |
+0,170 |
||
|
Д3200-33 |
Г-25764 |
Æ 160 |
-0,130 -0,400 |
+0,820 |
||
|
Д3200-75 Д4000-22 Д5000-32 Д6300-27 |
Г-25761 |
Æ 175 |
-0,130 -0,400 |
|||
|
Д12500-24 |
Д-41402 |
Æ 270 |
+0,32 |
|||
|
1; 9 |
Корпус насоса, крышка насоса |
|||||
|
Д2000-21 |
Н06.011.20.01 Н06.011.20.02 |
Æ 120 |
+0,220 |
Д2000-21 +0,460 +0,920 Д3200-75 Д4000-22 |
||
|
Д2000-100 |
Н06.010.20.01 Н06.010.20.02 |
Æ 180 |
+0,250 |
|||
|
Д2500-62 |
Н06.009.20.01 Н06.009.20.02 |
Æ 160 |
+0,250 |
|||
|
Д3200-33 |
Б-6823; Б-6824 |
Æ 160 |
+0,250 |
|||
|
Д3200-75 |
Б-6794; Б-6795 |
Æ 175 |
+0,250 |
Д5000-32 |
||
|
Д4000-22 Д5000-32 Д6300-27 |
Б-0862; Б-0863 |
Æ 175 |
+0,250 |
Д6300-27 +0,150 +0,535 |
||
|
Д12500-24 |
Б310-7; 0,75 Б310-8 |
Æ 270 |
+0,320 |
Д2000-100 |
||
|
в, к |
5, 11 |
Камера водяная (кольцо сальника**) |
||||
|
Д2000-21 |
Н06.011.20.08 |
Æ 120 |
-0,460 -0,700 |
+0,060 +0,415 |
||
|
Д3200-75 |
Д-6838 |
Æ 175 |
-0,150 |
Д2500-62 |
||
|
Д4000-22 |
Д-6838 |
-0,285 |
Д3200-33 |
|||
|
Д5000-32 |
Д-0858 |
+0,530 |
||||
|
Д6300-27 |
Д-0858 |
+1,050 |
||||
|
Д2000-100 |
Н06.010.20.06 |
Æ 180 |
-0,060 -0,165 |
Д12500-24 |
||
|
Д2500-62 Д3200-33 |
Д-6838 |
Æ 160 |
-0,530 -0,800 |
+0,210 +0,700 |
||
|
Д12500-24 |
Д-29133 |
Æ 270 |
-0,190 -0,400 |
|||
|
1; 9 |
Корпус насоса, крышка насоса |
|||||
|
Д12500-24 |
Б310-7; 0,75 Б310-8 |
Æ 250 |
+0,090 |
Д12500-24 +0,180 |
||
|
г, ж |
6; 10 |
Грунд-букса |
||||
|
Д12500-24 |
Г310-20 |
Æ 250 |
-0,090 |
|||
|
1; 9 |
Корпус насоса, крышка насоса |
|||||
|
Д2000-21 |
Н06.011.20.01 Н06.011.20.02 |
Æ 370 |
+0,120 |
Д2000-21 |
||
|
Д2000-100 |
Н06.010.20.01 |
Æ 410 |
+0,120 |
Д2000-100 |
||
|
Д2500-62 |
Н06.010.20.02 |
Æ 400 |
+0,120 |
Д2500-62 |
||
|
Н06.009.20.01 |
Д3200-75 |
|||||
|
Н06.009.20.02 |
+0,240 |
|||||
|
Д3200-33 |
Б-6823; Б-6824 |
Æ 440 |
+0,155 |
Д3200-33 |
||
|
Д3200-75 |
Б-6794; Б-6795 |
Æ 440 |
+0,120 |
|||
|
Д4000-22 Д5000-32 Д6300-27 |
Б-0862; Б-0863 |
Æ 610 |
+0,175 |
+0,275 |
||
|
Д12500-24 |
Б310-7; 0,75 Б310-8 |
Æ 890 |
+0,230 |
Д4000-22 Д5000-32 Д6300-32 |
||
|
д, е |
7, 8 |
Кольцо уплотняющее |
||||
|
Д2000-21 |
Н06.005.20.06 |
Æ 370 |
-0,120 |
+0,350 |
||
|
Д2000-100 |
Н06.010.20.03 |
Æ 410 |
-0,120 |
|||
|
Д2500-62 |
Н06.009.20.05 |
Æ 400 |
-0,120 |
Д12500-24 |
||
|
Д3200-33 |
В-13497 |
Æ 440 |
-0,120 |
|||
|
Д3200-75 |
Г-6807 |
Æ 440 |
-0,120 |
+0,460 |
||
|
Д4000-22 |
В-13495 |
Æ 610 |
-0,175 |
|||
|
Д5000-32 Д6300-27 |
||||||
|
Д12500-24 |
Г310-18 |
Æ 890 |
-0,230 |
|||
|
1; 9 |
Корпус насоса, крышка насоса |
|||||
|
Д4000-22 |
Б-0862; Б-0863 |
20 |
+0,520 |
Д4000-22 |
||
|
Д6300-27 |
Б310-7; |
|
|
Д6300-32 |
||
|
Д12500-24 |
0,75Б310-8 |
60 |
+0,190 |
+1,040 |
||
|
п, н |
7; 8 |
Кольцо уплотняющее |
||||
|
Д4000-22 Д6300-27 |
В-13495 |
20 |
-0,520 |
Д12500-24 +0,250 |
||
|
Д12500-24 |
Г310-18 |
60 |
-0,048 |
|||
|
1; 9 |
Корпус насоса, крышка насоса |
|||||
|
Д2000-21 |
Н06.011.20.01 Н06.011.20.02 |
Æ 120 |
+0,220 |
|||
|
Д3200-33 |
Б-6823; Б-6824 |
Æ 160 |
+0,250 |
Д2000-21 |
||
|
Д3200-75 |
Б-67944; Б-6795 |
Æ 175 |
+0,250 |
|||
|
Д4000-22 Д5000-32 Д6300-27 |
Б-0862; Б-0863 |
Æ 175 |
+0,250 |
+0,460 +0,920 |
||
|
р, с |
15, 16 |
Кольцо |
Д3200-33 |
|||
|
Д2000-21 |
Н06.011.20.04 |
Æ 120 |
-0,460 -0,700 |
Д3200-75 Д4000-22 |
||
|
Д3200-33 Д3200-75 |
Д-21700 |
Æ 160 |
-0,130 -0,400 |
Д5000-32 Д6300-32 |
||
|
Д4000-22 Д5000-32 Д6300-27 |
Д-21698 |
Æ 175 |
-0,130 -0,400 |
+0,130 +0,650 |
||
|
*) для насосов Д4000-22, Д5000-32, Д6300-27, Д12500-24; **) для насосов Д2000-100, Д2500-62, Д3200-33. |
||||||
1 - корпус; 2, 4 - скоба; 3 - крышка корпуса
Рисунок 8 - Корпус, крышка насоса и скоба (рис. 5, поз. 1, 9 и 3, 12)
1 - корпус; 2 - крышка корпуса
Рисунок 9 - Корпус, крышка насоса (рис. 6, 7, поз. 1, 9)
|
Корпус, крышка насоса и скоба - рис. 8 Корпус, крышка насоса - рис. 9 Количество на изделие - по 1 шт. Нормы зазоров (натягов) - таблица 5 |
|
Обозначение |
Возможный дефект |
Способ установления дефекта и контрольный инструмент |
Техническое требование по чертежу |
Заключение и рекомендуемый способ ремонта |
Техническое требование после ремонта |
|
- |
Трещины. |
Визуальный контроль. Лупа ЛП-1-7´. ЦД. |
- |
1. Заварка трещин длиною не более 60 мм. 2. Заварка сквозных трещин с дальнейшим гидравлическим испытанием согласно 7.1.3.2. 3. Замена. |
1. Трещины не допускаются. 2. После заварки - требования по 6.2.6. |
|
- |
Раковины глубиной св. 2,0 мм до 0,2 толщины стенки в количестве не более 30 шт. на площади 150 мм´150 мм и отдельные раковины глубиной более 0,2 толщины стенки. |
Измерительный контроль. Штангенциркуль ШЦ-I-125-0,1-1. |
- |
1. Наплавка. 2. Замена. |
1. Допускается до пяти раковин глубиной до 2 мм. 2. После наплавки требования соответственно 6.2.6. 3. Параметр шероховатости внутренней поверхности - не более Rz160. |
|
- |
Повреждение резьбы (обрыв шпилек). |
Внешний осмотр. Контроль. Пробки резьбовые. |
- |
1. Высверливание шпилек. 2. Нарезание соответствующей новой резьбы. 3. Замена. |
1. Допустимые диаметры восстановленной резьбы - см. 6.3.3. 2. Параметр шероховатости - не более Ra5. |
|
A, Б, B, Г, Д, Е; И, К, Л, М |
Износ. |
Измерительный контроль. Нутромеры: НМ 600; НМ 1250. |
Д4000-22, Д5000-32, Д6300-27 Л, М - Æ 145+0,100 м Остальные диаметры - см. таблицу 6. |
1. Расточка Б, В, Г, Д, Л, М с последующей заменой сопрягаемой детали или установкой разрезного кольца согласно 7.1.3.3. 2. Опиливание А, Е, И, К 3. Зачистка А, Е. 4. Замена. |
1. Допустимые диаметры поверхностей: Д4000-22, Д5000-32 Д6300-27 Л, М - 145,10 мм. Остальные диаметры поверхностей-см. таблицу 6. 2. Допуск соосности поверхностей А, Е относительно оси поверхостей В, Г: Д200-95, Д200-36, Д320-50, Д320-70 0,04 мм Д630-90, Д1250-125, Д1600-90 0,06 мм. 3. Допуск радиального биения В, Г относительно оси корпуса: Д500-65, Д800-57, Д1250-65, Д2000-21, Д2000-100, Д2500-62 0,05 мм Д3200-33, Д3200-100 0,12 мм Д4000-22, Д5000-32, Д6300-27 0,10 мм 4. Допуск соосности поверхностей Б, Д: Д4000-22, Д5000-32, Д6300-27, Д12500-24 0,04 мм. |
|
5. Допуск радиального биения И, К относительно оси В, Г: Д2000-21, Д2000-100, Д2500-62, Д3200-33, Д3200-100 0,05 мм. 6. Допускаются отдельные единичные зачищенные раковины глубиной не более 0,5 мм. 7. Параметр шероховатости поверхностей не более - см. таблицу 7. |
|||||
|
Ж |
Коробление, вмятины (не более пяти) глубиной не более 2,0 мм площадью 1 см2, не выходящие на оба края фланца (расстояние между дефектами не менее трёх диаметров наибольшего дефекта). |
Внешний осмотр. Контроль «по краске». Измерительный контроль. Штангенциркуль ШЦ-I-125-0,1-1. Набор щупов № 2. |
- |
1. Шабрение. 2. Фрезерование с последующей расточкой согласно 7.1.3.4. |
1. Допускаются 8 - 10 пятен на площади 25 мм´25 мм при контроле «по краске». 2. Допуск плоскостности на длине 1000 мм Д200-95, Д200-36, Д320-50, Д320-70 - 0,18 мм Д500-65, Д800-57, Д1250-65 0,16 мм Д2000-21, Д2000-100, Д2500-62, Д3200-33, Д3200-75 - 0,10 мм. 3. Зазор между разъединёнными корпусом и крышкой корпуса не более 0,1 мм. 4. Допускаются отдельные единичные зачищенные раковины глубиной не более 0,5 мм, не выходящие на края фланцев количеством не более 5 шт. на площади 100 см2 (расстояние между дефектами - не менее 15 см). 5. Параметр шероховатости поверхностей не более - см. таблицу 7. |
|
Н, Р |
Износ. |
Измерительный контроль. Набор щупов. |
Д4000-22 Д6300-27 Допуск плоскостности 0,1 мм. |
1. Шабрение. 2. Фрезерование. |
Д4000-22, Д6300-27 1. Допуск плоскостности 0,1 мм. 2. Допуск перпендикулярности поверхностей Н, Р относительно оси поверхностей Б, Д - 0,05 мм. 3. Параметр шероховатости поверхностей не более: Д4000-22, Д5000-32, Д6300-27 Ra2,5 Д12500-24 Ra5,0. |
|
Примечания - 1. Рисунок 8 - Насосы Д200-95, Д200-36, Д320-50, Д320-70, Д500-65, Д1250-65, Д630-90, Д1250-125, Д1600-90; 2. Рисунок 9 - Насосы Д2000-21, Д2000-100, Д3200-33, Д3200-75, Д2500-62, Д4000-22, Д5000-32, Д6300-27, Д12500-24. |
|||||
Таблица 6
Размеры в мм
|
Корпус, крышка насоса |
||||||
|
Диаметр по чертежу |
Допустимый диаметр, не более |
|||||
|
А, Е (И К) |
Б, Д |
В, Г |
А, Е (И, К) |
Б, Д |
В, Г |
|
|
Д200-95 |
110+0,870 |
70+0,190 |
130+0,160 |
110,870 |
70,190 |
130,160 |
|
Д200-36 |
145+0,160 |
145,160 |
||||
|
Д320-50 |
175+0,160 |
175,160 |
||||
|
Д320-70 |
160+0,160 |
160,160 |
||||
|
Д500-65 |
150+0,250 |
100+0,220 |
230+0,290 |
150,250 |
100,220 |
230,290 |
|
Д630-90 |
230,290 |
|||||
|
Д800-57 |
260+0,320 |
260,320 |
||||
|
Д1250-65 |
275+0,320 |
275,320 |
||||
|
Д1250-125 |
215+0,290 |
152+0,250 |
330+0,360 |
215,290 |
152,250 |
330,360 |
|
Д1600-90 |
305+0,320 |
305,320 |
||||
|
Д2000-21 |
202+0,600 |
120+0,220 |
370+0,120 |
202,600 |
120,220 |
370,120 |
|
Д2000-100 |
400+0,760 |
180+0,250 |
410+0,120 |
400,760 |
180,250 |
410,120 |
|
Д2500-62 |
160+0,250 |
400+0,120 |
160,250 |
400,120 |
||
|
Д3200-33 |
440+0,155 |
440,155 |
||||
|
Д3200-75 |
175+0,250 |
440+0,120 |
175,250 |
440,120 |
||
|
Д4000-22 |
400+0,120 |
610+0,175 |
400,120 |
610,175 |
||
|
Д5000-32 |
160+0,250 |
160,250 |
||||
|
Д6300-27 |
175+0,250 |
175,250 |
||||
|
Д12500-24 |
719+0,20 |
270+0,320 |
890+0,230 |
719,200 |
270,320 |
890,230 |
Таблица 7
|
Корпус, крышка насоса |
|||||
|
Параметр шероховатости поверхностей корпуса, крышки насоса |
|||||
|
А, Е |
Б, Д |
В, Г |
Ж |
И, К |
|
|
Д200-95 |
Ra10,0 |
Ra10,0 |
Ra10,0 |
Ra10,0 |
- |
|
Д200-36 |
- |
||||
|
Д320-50 |
- |
||||
|
Д320-70 |
- |
||||
|
Д500-65 |
Ra2,5 |
Ra2,5 |
Ra2,5 |
- |
|
|
Д630-90 |
Ra10,0 |
Ra10,0 |
Ra5,0 |
- |
|
|
Д800-57 |
Ra2,5 |
Ra2,5 |
Ra2,5 |
- |
|
|
Д1250-65 |
- |
||||
|
Д1250-125 |
Ra10,0 |
Ra10,0 |
Ra5,0 |
- |
|
|
Д1600-90 |
- |
||||
|
Д2000-21 |
- |
Ra1,6 |
Ra2,5 |
Ra50,0 |
Ra10,0 |
|
Д2000-100 |
- |
Ra5,0 |
|||
|
Д2500-62 |
- |
Ra5,0 |
Ra2,5 |
Ra2,5 |
Ra2,5 |
|
Д3200-33 |
- |
Ra10,0 |
Ra50,0 |
Ra1,6 |
|
|
Д3200-75 |
- |
Ra1,6 |
Ra1,6 |
||
|
Д4000-22 |
- |
Ra5,0 |
Ra2,5 |
Ra2,5 |
|
|
Д5000-32 |
- |
||||
|
Д6300-27 |
- |
||||
|
Д12500-24 |
Rz20,0 |
Rz20,0 |
Ra10,0 |
- |
|
Рисунок 10 - Крышка сальника, (рис. 5, 7 поз. 4, 14)
Рисунок 11 - Букса сальника, (рис. 6, поз. 4, 14)
|
Карта дефектации и ремонта 2 Крышка сальника - рис. 10 Букса сальника - рис. 11 Количество на изделие - 2 шт. Нормы зазоров (натягов) - таблица 5 |
|
Обозначение |
Возможный дефект |
Способ установления дефекта и контрольный инструмент |
Техническое требование по чертежу |
Заключение и рекомендуемый способ ремонта |
Техническое требование после ремонта |
|
- |
Трещины. |
Визуальный контроль. Лупа ЛП-1-7´. |
- |
Замена. |
Трещины не допускаются. |
|
А |
Износ. |
Измерительный контроль Скобы: СИ 100; СИ 200; СИ 300. |
Диаметр - см. таблицу 8. |
1. ГТН (см. 6.6.2). 2. Замена. |
1. Допустимый диаметр - см. таблицу 8. 2. Допуск радиального биения А относительно оси поверхности Б 0,05 мм. 3. Параметр шероховатости поверхности - см. таблицу 8. |
Таблица 8
|
Крышка сальника, букса сальника |
|||
|
Диаметр по чертежу, мм |
Допустимый диаметр, не менее, мм |
Параметр шероховатости, не более |
|
|
А |
А |
А |
|
|
Д200-95 |
70-0,190 |
69,810 |
Rz50 |
|
Д200-36 |
|||
|
Д320-50 |
|||
|
Д320-70 |
|||
|
Д500-65 |
|
99,430 |
Ra2,5 |
|
Д630-90 |
Rz50 |
||
|
Д800-57 |
Ra2,5 |
||
|
Д1250-65 |
Ra2,5 |
||
|
Д1250-125 |
|
151,320 |
Rz50 |
|
Д1600-90 |
|||
|
Д2000-21 |
|
119,300 |
Ra1,6 |
|
Д2000-100 |
|
179,600 |
|
|
Д2500-62 |
|
159,600 |
Ra1,6 |
|
Д3200-33 |
Rz25 |
||
|
Д3200-75 |
|
174,600 |
|
|
Д4000-22 |
|||
|
Д5000-32 |
|||
|
Д6300-27 |
|||
|
Д12500-24 |
|
269,490 |
Rz40 |
Рисунок 12 - Кольцо сальника (камера водяная) (рис. 5, 6, 7, поз. 5, 11)
|
Карта дефектации и ремонта 3 Кольцо сальника (камера водяная) - рис. 12 Количество на изделие - 2 шт. Нормы зазоров (натягов) - таблица 5 |
|
Обозначение |
Возможный дефект |
Способ установления дефекта и контрольный инструмент |
Техническое требование по чертежу |
Заключение и рекомендуемый способ ремонта |
Техническое требование после ремонта |
|
- |
Трещины. |
Визуальный Контроль. Лупа ЛП-1-7´. |
- |
Замена. |
Трещины не допускаются. |
|
А |
Износ. |
Измерительный контроль. Нутромеры: НМ 175; НИ 160-250. Индикатор ИЧ 02 кл. 0. |
Диаметр - см. таблицу 9. |
1. Проточка. 2. Замена. |
1. Допустимый диаметр - см. таблицу 9. 2. Допуск радиального биения А относительно кольца - 0,05 мм. 3. Параметр шероховатости поверхности не более - см. таблицу 9. |
|
Б |
Износ. |
Измерительный контроль. Скобы: СИ 100; СИ 200; СИ 300. Штангенциркуль ШЦ-I-125-0,1-1. |
Диаметр - см. таблицу 9. |
1. ГТН (см. 6.6.2). 2. Замена. |
1. Допустимый диаметр Б - см. таблицу 9. 2. После ГТН - см. 6.6.2. 3. Допуск радиального биения относительно оси 0,06 мм. 4. Параметр шероховатости поверхности - не более Rz 50. |
|
В Г |
Износ. |
Измерительный контроль. Штангенциркуль ШЦ-I-125-0,1-1. |
- |
1. Проточка. 2. Замена. |
1. Допустимый размер «а» не менее - см. таблицу 9. 2. Параметр шероховатости поверхности не более - см. таблицу 9. |
|
Примечание - Рисунок 12а - насосы Д2000-21, Д2000-100, Д2500-62, Д3200-33, рисунок 12б - остальные насосы. |
|||||
Таблица 9
|
Кольцо сальника, камера водяная |
||||||||
|
Диаметр по чертежу |
Допустимые размеры, мм |
Параметр шероховатости, не более |
||||||
|
А |
Б |
Æ А, не более |
Æ Б, не менее |
а, не менее |
А |
Б |
В, Г |
|
|
Д200-95 |
56+0,740 |
|
56,740 |
69,660 |
18 |
Rz50 |
Rz50 |
Rz50 |
|
Д200-36 |
||||||||
|
Д320-50 |
||||||||
|
Д320-70 |
||||||||
|
Д500-65 |
77+0,740 |
|
77,740 |
99,660 |
24 |
Rz80 |
Rz80 |
Rz80 |
|
Д630-90 |
22 |
Rz50 |
Rz100 |
Rz100 |
||||
|
Д800-57 |
24 |
Rz80 |
Rz 80 |
Rz80 |
||||
|
Д1250-65 |
||||||||
|
Д1250-125 |
122+1,000 |
|
123,000 |
151,605 |
27 |
Rz80 |
Rz100 |
Rz100 |
|
Д1600-90 |
||||||||
|
Д2000-21 |
88+0,870 |
|
88,870 |
119,300 |
- |
Ra1,6 |
Rz40 |
|
|
Д2000-100 |
137+1,000 |
|
138,00 |
179,835 |
- |
|||
|
Д2500-62 |
118,5+1,00 |
|
119,500 |
159,200 |
||||
|
Д3200-33 |
133+1,000 |
134,000 |
Rz25 |
|||||
|
Д3200-75 |
133+1,000 |
|
134,000 |
174,715 |
- |
|||
|
Д4000-22 |
137+1,000 |
|
138,000 |
174,715 |
30 |
Rz40 |
||
|
Д5000-32 |
||||||||
|
Д6300-27 |
||||||||
|
Д12500-24 |
|
|
222,000 |
269,600 |
60 |
Rz40 |
Rz40 |
Rz40 |
Рисунок 13 - Грунд-букса (рис. 5 - 7, поз. 6, 10)
|
Карта дефектации и ремонта 4 Грунд-букса - рис. 13 Количество на изделие - по 1 шт. Нормы зазоров (натягов) - таблица 5 |
|
Обозначение |
Возможный дефект |
Способ установления дефекта и контрольный инструмент |
Техническое требование по чертежу |
Заключение и рекомендуемый способ ремонта |
Техническое требование после ремонта |
|
- |
Деформация, трещины. |
Визуальный контроль. Лупа ЛП-1-7´. |
- |
Замена. |
Деформация, трещины не допускаются. |
|
А |
Износ. |
Измерительный контроль. Микрометры: МРИ 100-0,002; МРИ 200-0,002; МРИ 250-0,002. |
Диаметр - см. таблицу 10. |
1. Проточка. 2. Замена. |
1. Допустимый диаметр - см. таблицу 10. 2. Параметр шероховатости поверхности - не более Ra2,5. |
|
Б |
Износ. |
Визуальный контроль. Лупа ЛП-1-7´. Измерительный контроль. Нутромеры: НМ 75; НМ 175; НМ 600. |
Диаметр - см. таблицу 10. |
1. Расточка. 2. Замена. |
1. Допустимый диаметр - см. таблицу 10. 2. Параметр шероховатости поверхности - не более Rz 50. |
|
В |
Раковины, задиры. |
Визуальный контроль. Лупа ЛП-1-7´. |
1. Зачистка. 2. Обточка. 3. Шлифование. 4. Замена. |
Параметр шероховатости поверхности - не более Ra5. |
|
|
Примечание - Рисунок 13а - насос Д12500-24, рисунок 13б - остальные насосы. |
|||||
Таблица 10
Размеры в мм
|
Грунд-букса |
||||
|
Диаметр по чертежу |
Допустимый диаметр |
|||
|
не менее |
не более |
|||
|
А |
Б |
А |
Б |
|
|
Д200-95 |
|
|
|
|
|
Д200-36 |
|
|
|
|
|
Д320-50 |
70-0,190 |
56+0,740 |
69,810 |
56,740 |
|
Д320-70 |
|
|
|
|
|
Д500-65 |
|
|
|
|
|
Д630-90 |
|
|
|
|
|
Д800-57 |
100-0,210 |
77+0,740 |
99,790 |
77,740 |
|
Д1250-65 |
|
|
|
|
|
Д1250-125 |
152-0,250 |
122+1,000 |
151,750 |
123,000 |
|
Д1600-90 |
||||
|
Д12500-24 |
250-0,115 |
222 |
249,885 |
222,000 |
Рисунок 14 - Кольцо (рис. 6, поз. 15, 16)
|
Карта дефектации и ремонта 5 Кольцо - рис. 14 Количество на изделие - по 2 шт. Нормы зазоров (натягов) - таблица 5 |
|
Обозначение |
Возможный дефект |
Способ установления дефекта и контрольный инструмент |
Техническое требование по чертежу |
Заключение и рекомендуемый способ ремонта |
Техническое требование после ремонта |
|
- |
Трещины. |
Визуальный контроль. Лупа ЛП-1-7´. |
- |
Замена. |
Трещины не допускаются. |
|
А |
Износ. |
Измерительный контроль. Скоба СИ 200. |
Д2000-21 Æ Д3200-33 Æ Д3200-75, Д4000-22, Д5000-32, Д6300-27 Æ |
1. ГТН (см. 6.6.2). 2. Замена. |
1. Допустимый диаметр - не менее: Д2000-21 Æ 119,3 мм Д3200-33 Æ 159,6 мм Д3200-75, Д4000-22, Д5000-32, Д6300-27 174,6 мм. 2. Параметр шероховатости поверхности - не более: Д3200-33 Ra5 Д2000-21, Д3200-75, Д4000-22, Д5000-32, Д6300-27 Ra20. |
Рисунок 15 - Кольцо уплотняющее (рис. 5, 6, 7 поз. 7, 8)
|
Обозначение |
Возможный дефект |
Способ установления дефекта и контрольный инструмент |
Техническое требование по чертежу |
Заключение и рекомендуемый способ ремонта |
Техническое требование после ремонта |
|
- |
Трещины. |
Визуальный контроль. Лупа ЛП-1-7´. |
- |
Замена. |
Трещины не допускаются. |
|
А |
Износ. |
Измерительный контроль. Микрометры: МРИ 150-0,002; МРИ 200-0,002; МРИ 250-0,002; МРИ 300-0,002; МРИ 400-0,01; МРИ 500-0,01; МРИ 700-0,01; МРИ 900-0,01. |
Диаметр - см. таблицу 11. |
1. ГТН (см. 6.6.2). 2. Проточка (см. 7.13.3). 3. Замена |
1. Допустимый диаметр - см. таблицу 11. 2. Параметр шероховатости поверхности не более - см. таблицу 12. |
|
Б Е |
Износ. |
Визуальный контроль. Лупа ЛП-1-7´. Измерительный контроль. Нутромеры: НМ 600; НМ 1250; 100-160; 160-260. Индикатор ИЧ 02 кл.0. |
Д1250-24 Е - Æ 778,7 мм. Остальные диаметры - см. таблицу 11. |
1. Расточка (см. 7.1.3.3). 2. Замена. |
1. Допустимый диаметр - см. таблицу 11. 2. Допуск радиального биения Б относительно оси: Д630-90, Д1250-125, Д600-90 0,06 мм Д12500-24 0,1 мм. 3. Допуск радиального биения Б относительно Е 0,1 мм. 4. Параметр шероховатости поверхности - не более: Д1250-24 Е - Ra2,5. Остальные насосы: Б - см. таблицу 12. |
|
В |
Раковины (коррозионные), износ (эрозионный). |
Визуальный контроль. Лупа ЛП-1-7´. |
- |
1. Шлифование. 2. Проточка. |
1. Допускается не более 10 зачищенных раковин диаметром не более 3,0 мм, глубиной до 2,0 мм на площади 0,01 м2. 2. Параметр шероховатости поверхности - см. таблицу 12. |
|
Г |
Износ. |
Измерительный контроль. Штангенциркуль ШЦ-II-250-0,05. |
- |
1. Проточка (см. 7.1.3.3). 2. Замена. |
1. Допустимая величина «α» - см. таблицу 11. 2. Параметр шероховатости поверхности - см. таблицу 12. |
Таблица 11
Размеры в мм
|
Кольцо уплотняющее |
|||||
|
Диаметр по чертежу |
Допустимые размеры |
||||
|
А |
Б |
А, не менее |
Б, не более |
α, не менее |
|
|
Д200-95 |
130-0,040 |
118+0,035 |
129,960 |
118,035 |
22,000 |
|
Д200-36 |
145-0,063 |
130+0,063 |
144,937 |
130,063 |
19,000 |
|
Д320-50 |
175-0,063 |
160+0160 |
174,937 |
160,160 |
24,000 |
|
Д320-70 |
160+0,040 |
142+0,100 |
160,000 |
142,100 |
21,000 |
|
Д500-65 |
230-0,115 |
210+0,115 |
229,875 |
210,115 |
11,670 |
|
Д630-90 |
33,000 |
||||
|
Д800-57 |
260-0,130 |
235+0,115 |
259,870 |
235,115 |
11,670 |
|
Д1250-65 |
275-0,130 |
260+0,130 |
274,870 |
260,130 |
|
|
Д1250-125 |
330-0,140 |
300+0,130 |
329,860 |
300,130 |
37,000 |
|
Д1600-90 |
305-0,130 |
285+0,130 |
304,870 |
285,130 |
|
|
Д2000-21 |
370-0,120 |
335+0,100 |
369,880 |
335,100 |
- |
|
Д2000-100 |
410-0,120 |
380+0,120 |
409,880 |
380,120 |
- |
|
Д2500-62 |
400-0,120 |
375+0120 |
399,880 |
375,120 |
- |
|
Д3200-33 |
- |
||||
|
Д3200-75 |
440-0,120 |
410+0,120 |
439,880 |
410,120 |
- |
|
Д4000-22 |
610-0,200 |
560+0,450 |
609,800 |
560,450 |
- |
|
Д5000-32 |
610-0,140 |
500+0,760 |
609,860 |
500,760 |
- |
|
Д6300-27 |
610-0,175 |
560+0,450 |
609,825 |
560,450 |
- |
|
Д12500-24 |
890-0,230 |
820+0,220 |
889,770 |
820,220 |
- |
Таблица 12
|
Кольцо уплотняющее |
||||
|
Параметр шероховатости поверхности |
||||
|
А |
Б |
В |
Г |
|
|
Д200-95 |
Rz20 |
Rz20 |
Rz200 |
Rz50 |
|
Д200-36 |
||||
|
Д320-50 |
||||
|
Д320-70 |
||||
|
Д500-65 |
- |
Ra2,5 |
Rz40 |
- |
|
Д630-90 |
Rz20 |
Ra1,6 |
Rz200 |
- |
|
Д800-57 |
- |
Ra2,5 |
Rz40 |
- |
|
Д1250-65 |
- |
Ra2,5 |
Rz50 |
|
|
Д1250-125 |
Rz20 |
Ra1,6 |
Rz200 |
- |
|
Д1600-90 |
Rz20 |
- |
||
|
Д2000-21 |
Ra1,6 |
Rz50 |
Rz20 |
|
|
Д2000-100 |
Rz50 |
|||
|
Д2500-62 |
Rz80 |
|||
|
Д3200-33 |
Rz50 |
|||
|
Д3200-75 |
||||
|
Д4000-22 |
Rz20 |
Ra2,5 |
Rz40 |
|
|
Д5000-32 |
Rz80 |
|||
|
Д6300-27 |
Rz40 |
|||
|
Д12500-24 |
Rz80 |
- |
||
7.1.3 Требования к отремонтированному корпусу (рисунки 5 - 7)
7.1.3.1 Сборку насоса необходимо производить в соответствии с требованиями ТУ 26-06-1186 [1].
7.1.3.2 Корпус поз. 1 в сборе с крышкой поз. 9 необходимо подвергнуть гидравлическому испытанию водой в режиме, указанном в таблице 13. Давление контролировать манометром класса точности 1,0.
Таблица 13
|
Режим испытания |
||
|
Давление, МПа (кгс/см2) |
Продолжительность, мин. |
|
|
Д200-95 |
1,5 (14,7) |
10 |
|
Д200-36 |
||
|
Д320-50 |
||
|
Д320-70 |
||
|
Д500-65 |
1,46 (14,31) |
10 |
|
Д630-90 |
2,40 (23,52) |
5 |
|
Д800-57 |
1,46 (14,30) |
10 |
|
Д1250-65 |
||
|
Д1250-125 |
2,40 (23,52) |
5 |
|
Д1600-90 |
||
|
Д2000-21 |
1,00 (9,80) |
10 |
|
Д2000-100 |
||
|
Д2500-62 |
||
|
Д3200-33 |
||
|
Д3200-75 |
||
|
Д4000-22 |
0,80 (7,84) |
10 |
|
Д5000-32 |
||
|
Д6300-27 |
||
|
Д12500-24 |
0,40 (3,92) |
10 |
Для сопряжённых поверхностей должна быть обеспечена посадка:
Н7/s7 - насос Д12500-24;
Н7/u8 - насосы Д4000-22, Д6300-27.
После расточки наружных поверхностей уплотняющего кольца при зазоре в сопряжении «корпус насоса - кольцо уплотняющее» более 0,44 мм (насос Д12500-24) и 0,50 мм (насосы Д4000-22, Д6300-27) допускается установка разрезного кольца, изготовленного из стали или латуни по ГОСТ 2208, толщиной от 0,2 до 0,8 мм, обеспечив в сопряжении натяг от минус 0,05 до минус 0,10 мм.
7.1.3.4 После фрезерования поверхности Ж необходимо провести расточку поверхностей Г, В, Д. И, К. Корпус следует растачивать в сборе с крышкой. При этом необходимо положить по разъёму прокладку, изготовленную из прессшпана и толщиной, указанной в таблице 14.
Таблица 14
|
Толщина прокладки, мм |
|
|
Д500-65, Д800-57, Д1250-65 |
0,6 |
|
Д4000-22, Д6300-27, Д12500-24 |
1,0 |
|
Д2500-62, Д5000-32 |
Св. 1,0 до 2,0 включ. |
7.2.1 Зазоры (натяги) между составными сопряжёнными частями узлов опор (рисунки 16 - 19) должны быть в пределах норм, приведенных в таблице 15.
7.2.2 Дефектацию и ремонт сопряженных деталей узлов опор (крышек и корпусов подшипника, стакана подшипника) деталей, необходимо проводить в соответствии с картами дефектации и ремонта 7 - 11.
1, 12 - гайка; 2, 13 - шайба; 3, 10 - подшипник; 4 - крышка подшипника пяты; 5 - стакан подшипника пяты; 6 - вал; 7, 8 - втулка упорная; 9 - стакан подшипника; 11 - крышка подшипника; а, б, в ... - обозначение сопряжения
Рисунок 16 - Узлы опор насосов Д200-95, Д200-36, Д320-50, Д320-70, Д500-65, Д630-90, Д800-57, Д-1250-65, Д1250-125, Д1600-90
1, 9 - корпус подшипника; 2, 5, 7, 11 - крышка подшипника; 3, 6 - подшипник; 8 - вал; 10 - корпус насоса; 12 - кольцо упорное
а) рис. 2 поз. 12, 6 - для насосов Д2000-100; Д2500-62; Д3200-33; Д3200-75;
б) опорный узел - для насоса Д2000-21
Рисунок 17 - Узлы опор насосов Д2000-21, Д2000-100, Д2500-62, Д3200-33, Д3200-75
1, 9 - корпус подшипника; 3, 6 - подшипник; 5, 11 - крышка подшипника; 8 - вал; 10 - корпус насоса
Рисунок 18 - Узлы опор насосов Д4000-22, Д5000-32, Д6300-27
1, 9 - корпус подшипника; 3, 6 - подшипник; 5, 11 - крышка подшипника; 8 - вал; 10 - корпус насоса
Рисунок 19 - Узлы опор насоса Д12500-24
Таблица 15 - Нормы зазоров (натягов) для узлов опор насоса
|
Позиция сопряженной составной части |
Название сопряженной составной части |
Обозначение чертежа (нормативного документа) составной части |
Размер составной части по чертежу, мм |
Зазор (+), натяг (-), мм, допустимый после капитального ремонта |
||||
|
номинальное значение |
предельное отклонение |
|||||||
|
Насосы Д200-95, Д200-36, Д320-50, Д320-70, Д500-65, Д630-90, Д800-57, Д1250-65, Д1600-90 (см. рисунок 16) |
||||||||
|
а |
5 |
Стакан подшипника пяты |
||||||
|
Д200-95 Д200-36 Д320-50 Д320-70 |
0603.403372.0001 |
Æ 80 |
+0,015 |
Д200-95, Д200-36, Д320-50, Д320-70 |
||||
|
Д500-65 Д630-90 Д800-57 Д1250-65 |
Н03.629.01.01.008 |
Æ 130 |
+0,020 |
+0,061 -0,015 Д500-65, Д630-90, |
||||
|
Д1250-125 Д1600-90 |
Н03.649.01.01.008 |
Æ 190 |
+0,023 |
Д800-57, Д1250-65 |
||||
|
4 |
Крышка подшипника пяты |
|||||||
|
Д200-95 Д200-36 Д320-50 Д320-70 |
0603.403314.0001 |
Æ 80 |
-0,046 |
+0,120 -0,020 Д1250-125, |
||||
|
Д500-65 Д630-90 Д800-57 Д1250-65 |
Н03.629.01.01.007 |
Æ 130 |
-0,100 |
Д1600-90 +0,138 -0,023 |
||||
|
Д1250-125 Д1600-90 |
Н03.649.01.01.007 |
Æ 190 |
-0,115 |
|||||
|
5 |
Стакан подшипника пяты |
|
|
Д500-65 Д630-90 Д800-57 |
||||
|
Д200-95 Д200-36 Д320-50 Д320-70 |
0603.403372.0001 |
Æ 80 |
+0,015 -0,015 |
Д200-95 Д200-36 Д320-50 Д320-70 |
||||
|
Д500-65 Д630-90 Д800-57 Д1250-65 |
Н03.629.01.01.008 |
Æ 130 |
+0,020 -0,020 |
+0,030 -0,019 |
||||
|
Д1250-125 Д1600-90 |
Н03.649.01.01.008 |
Æ 190 |
+0,023 -0,023 |
Д500-65 Д630-90 Д800-57 |
||||
|
3 |
Подшипник |
|
||||||
|
б |
Д200-95 Д200-36 Д320-5 Д320-70 |
307 ГОСТ 8338 |
Æ 80 |
+0,004 -0,015 |
Д1250-65 +0,041 -0,026 |
|||
|
Д500-65 Д630-90 Д800-57 Д1250-65 |
312 ГОСТ 8338 |
Æ 130 |
+0,006 -0,021 |
Д1250-125 Д1600-90 +0,047 -0,028 |
||||
|
Д1250-125 Д1600-90 |
318 ГОСТ 8338 |
Æ 190 |
+0,005 -0,024 |
|||||
|
5 |
Стакан подшипника пяты |
|
|
|
||||
|
Д200-95 Д200-36 Д320-50 Д320-70 |
0603.403372.0001 |
Æ 45,4 |
+0,160 |
Д200-95 Д200-36 Д320-50 Д320-70 |
||||
|
Д500-65 Д630-90 Д800-57 Д1250-65 |
Н03.629.01.01.008 |
Æ 75 |
+0,190 |
+1,180 +0,400 |
||||
|
Д1250-125 Д1600-90 |
Н03.649.01.01.008 |
Æ 106 |
+0,220 |
Д500-65 Д630-90 Д800-57 Д1250-65 |
||||
|
в |
7 |
Втулка упорная |
||||||
|
Д200-95 Д200-36 Д320-50 Д320-70 |
0603.403141.0010 |
Æ 45 |
-0,620 |
+1,430 +0.500 Д1250-125 Д1600-90 |
||||
|
Д500-65 Д630-90 Д800-57 Д1250-65 |
Н03.629.01.01.005 |
Æ 74,5 |
-0,740 |
+2,090 +1,000 |
||||
|
Д1250-125 Д1600-90 |
Н03.649.01.01.005 |
Æ 105 |
-0,870 |
|||||
|
9 |
Стакан подшипника |
|||||||
|
Д200-95 Д200-36 Д320-50 Д320-70 |
0603.403352.0001 |
Æ 45,4 |
+0,160 |
Д200-95 Д200-36 Д320-50 Д320-70 |
||||
|
Д500-65 Д630-90 Д800-57 Д1250-65 |
Н03.629.01.01.006 |
Æ 75 |
+0,190 |
+1,180 +0,400 Д500-65 Д630-90 Д800-57 Д1250-65 +1,430 +0,500 Д1250-125 Д1600-90 +2,090 +1,000 |
||||
|
г |
Д1250-125 Д1600-90 |
Н03.649.01.01.006 |
Æ 106 |
+0,220 |
||||
|
8 |
Втулка упорная |
|||||||
|
Д200-95 Д200-36 Д320-50 Д320-70 |
0603.403141.0010 |
Æ 45 |
-0,620 |
|||||
|
Д500-65 Д630-90 Д800-57 Д1250-65 |
Н03.629.01.01.005 |
Æ 74,5 |
-0,740 |
|||||
|
Д1250-125 Д1600-90 |
Н03.649.01.01.005 |
Æ 105 |
-0,870 |
|||||
|
9 |
Стакан подшипника |
|||||||
|
Д200-95 Д200-36 Д320-50 Д320-70 |
0603.403352.0001 |
Æ 80 |
+0,015 |
Д200-95 Д200-36 Д320-50 Д320-70 +0,030 -0,019 Д500-65 Д630-90 Д800-57 Д1250-65 +0,041 -0,026 Д1250-125 Д1600-90 +0,047 -0,028 |
||||
|
Д500-65 Д630-90 Д800-57 Д1250-65 |
Н03.629.01.01.006 |
Æ 130 |
+0,020 |
|||||
|
Д1250-125 Д1600-90 |
Н03.649.01.01.006 |
Æ 190 |
+0,023 |
|||||
|
д |
10 |
Подшипник Д200-95 Д200-36 Д320-50 Д320-70 |
307 ГОСТ 8338 |
Æ 80 |
+0,004 -0,015 |
|||
|
Д500-65 Д630-90 Д800-57 |
312 ГОСТ 8338 |
Æ 130 |
+0,005 -0,021 |
|||||
|
Д1250-65 |
||||||||
|
Д1250-125 Д1600-90 |
318 ГОСТ 8338 |
Æ 190 |
+0,005 -0,024 |
|||||
|
9 |
Стакан подшипника |
|||||||
|
Д200-95 Д200-36 Д320-50 Д320-70 |
0603.403352.0001 |
Æ 80 |
+0,015 |
Д200-95 Д200-36 Д320-50 Д320-70 +0,089 -0,015 |
||||
|
Д500-65 Д630-90 Д800-57 Д1250-65 |
Н03.629.01.01.006 |
Æ 130 |
+0,020 |
Д500-65 Д630-90 Д800-57 Д1250-65 +0,120 -0,020 Д1250-125 Д1600-90 +0,138 -0,023 |
||||
|
е |
Д1250-125 Д1600-90 |
Н03.649.01.01.006 |
Æ 190 |
+0,023 |
||||
|
11 |
Крышка подшипника |
|||||||
|
Д200-95 Д200-36 Д320-50 Д320-70 |
0603.403344.0002 |
Æ 80 |
-0,074 |
|||||
|
Д500-65 Д800-57 Д1250-65 |
Н03.629.01.01.017 |
Æ 130 |
-0,100 |
|||||
|
Д630-90 |
Н03.629.01.01.018 |
Æ 130 |
-0,100 |
|||||
|
Д1250-125 Д1600-90 |
Н03.649.01.01.017 |
Æ 190 |
-0,115 |
|||||
|
11 |
Крышка подшипника |
|||||||
|
Д200-95 Д200-36 Д320-50 Д320-70 |
0603.403344.0002 |
Æ 36 |
+0,160 |
Д200-95 Д200-36 Д320-50 Д320-70 +1,180 +0,400 |
||||
|
Д500-65 Д800-57 Д1250-65 |
Н03.629.01.01.017 |
Æ 59 |
+0,190 |
|||||
|
Д630-90 |
Н03.629.01.01.018 |
Æ 59 |
+0,190 |
|||||
|
Д1250-125 |
Н03.649.01.01.017 |
Æ 82 |
+0,220 |
|||||
|
Д1600-90 |
Н03.649.01.01.017 |
Æ 82,0 |
+0,220 |
Д500-65 Д630-90 Д800-57 Д1250-65 +2,930 +2,000 Д1250-125 Д1600-90 +1,090 |
||||
|
6 |
Вал |
|||||||
|
Д200-95 Д200-36 Д320-50 Д320-70 |
0603.401613.0001 |
Æ 35,6 |
-0,620 |
|||||
|
Д500-65 Д630-90 Д800-57 |
Н03.630.01.01.012 |
Æ 57,0 |
-0,740 |
|||||
|
Д1250-65 |
Н03.630.01.01.012 |
Æ 57,0 |
-0,740 |
|||||
|
Д1250-125 Д1600-90 |
Н03.649.01.01.012 |
Æ 82,0 |
-0,870 |
|||||
|
Насосы Д2000-21, Д2000-100, Д2500-62, Д3200-33, Д3200-75 (см. рисунок 17); Д4000-22, Д5000-32, Д6300-27, Д12500-24 (см. рисунки 18, 19) |
|
|||||||
|
а |
1, 9 |
Корпус подшипника |
||||||
|
Д2000-100 Д2500-62 Д3200-33 Д3200-75 |
Н06.004.20.01-II |
Æ 190,0 |
+0,046 |
Д2000-100 Д2500-62 Д3200-33 Д3200-75 +0,241 +0,075 |
||||
|
11 |
Кольцо упорное |
|||||||
|
Д2000-100 Д2500-62 Д3200-33 Д3200-75 |
Н06.009.35.03 |
Æ 190,0 |
-0,075 -0,195 |
|||||
|
1, 9 |
Корпус подшипника |
Д2000-21 +0,205 +0,060 Д2000-100 Д2500-62 Д3200-33 |
||||||
|
Д2000-21 |
Н06.011.30.01 |
Æ 130 |
+0,040 |
|||||
|
Д2000-100 Д2500-62 Д3200-33 Д3200-75 |
Н06.004.20.01-II |
Æ 190 |
+0,046 |
|||||
|
Д4000-22 Д5000-32 Д6300-27 |
В-4025; В-4026 |
Æ 190 |
+0,046 |
|||||
|
Д12500-24 |
Б-13288; Б-13289 |
Æ 290 |
+0,069 +0,017 |
Д3200-75 |
||||
|
б, г, е, к |
2, 11, 5, 7 |
Крышка подшипника |
+0,241 +0,075 Д4000-22 Д5000-32 Д6300-27 +0,136 Д12500-24 +0,180 +0,026 |
|||||
|
Д2000-21 |
Н06.011.40.01-01 Н06.011.40.02-01 Н06.011.30.03-01 Н06.011.30.04-01 |
Æ 130 |
-0,060 -0,165 |
|||||
|
Д2000-100 |
H06.009.30.01-II Н06.009.30.01-01/1 |
Æ 190 |
-0,075 -0,195 |
|||||
|
Д2500-62 |
Н06.009.30.01 Н06.009.40.01 Н06.009.40.01-II Н06.009.30.01 |
Æ 190 |
-0,075 -0,195 |
|||||
|
Д3200-33 |
Н06.009.30.01-01-II Н06.009.40.01-II H06.009.30.01-II Н06.009.40.01-II |
Æ 190 |
-0,075 -0,195 |
|||||
|
Д3200-75 |
H06.009.30.01-II Н06.009.40.01-II-01 Н06.009.40.01-II-01 Н06.009.30.01-01/II |
Æ 190 |
-0,075 -0,195 |
|||||
|
Д4000-22 Д5000-32 Д6300-27 |
Д-12507 |
Æ 190 |
-0,090 |
|||||
|
Д12500-24 |
Г-13290; Г-14085 |
Æ 290 |
-0,081 |
|||||
|
1, 9 |
Корпус подшипника |
|||||||
|
Д2000-21 |
Н06.01.30.01 |
Æ 130 |
+0,040 |
Д2000-21 +0,055 Д2000-100 Д2500-62 Д3200-33 Д3200-75 Д4000-22 Д5000-32 Д6300-27 |
||||
|
Д2000-100 Д2500-62 Д3200-33 Д3200-75 |
H06.01.004.20.01-II |
Æ 190 |
+0,046 |
|||||
|
Д4000-22 Д5000-32 Д6300-27 |
В-4025, В-4026 |
Æ 190 |
+0,046 |
|||||
|
Д12500-24 |
В-13288 |
Æ 290 |
+0,069 +0,400 |
+0,076 Д12500-24 +0,115 +0,026 |
||||
|
в. ж |
3, 6 |
Подшипник |
||||||
|
Д2000-21 |
312 ГОСТ 8338 |
Æ 130 |
-0,015 |
|||||
|
Д2000-100 Д2500-62 Д3200-33 Д3200-75 Д4000-22 Д5000-32 Д6300-27 |
318 ГОСТ 8338 |
Æ 190 |
-0,030 |
|||||
|
Д12500-24 |
3532 ГОСТ 5721 |
Æ 290 |
-0,035 |
|||||
|
10 |
Корпус насоса |
Д2000-21 +3,200 +2,000 Д2000-100 Д2500-62 Д3200-75 +1,960 +1,000 Д3200-33 +1,770 +1,000 Д4000-22 Д5000-32 Д6300-32 +0,240 Д12500-24 +0,400 |
||||||
|
Д2000-21 |
Н06.011.20.01 |
Æ 202 |
+0,600 |
|||||
|
Д2000-100 |
Н06.010.20.01 |
Æ 400 |
+0,760 |
|||||
|
Д2500-62 |
Н06.009.20.01 |
Æ 400 |
+0,760 |
|||||
|
Д3200-33 |
Б-6823 |
Æ 400 |
+0,570 |
|||||
|
Д3200-75 |
Б-6794 |
Æ 400 |
+0,760 |
|||||
|
Д4000-22 Д5000-32 Д6300-32 |
Б-0862 |
Æ 400 |
+0,120 |
|||||
|
Д12500-24 |
Б310-7 |
Æ 720 |
+0,200 |
|||||
|
д, и |
1, 9 |
Корпус подшипника |
||||||
|
Д2000-21 |
Н06.011.30.01 |
Æ 200 |
-0,600 |
|||||
|
Д2000-100 Д2500-62 Д3200-33 Д3200-75 |
Н06.004.20.01-II |
Æ 399 |
-0,200 |
|||||
|
Д4000-22 Д5000-32 Д6300-32 |
В-4025 |
Æ 400 |
-0,120 |
|||||
|
Д12500-24 |
Б13288 |
Æ 718 |
±0,500 |
|||||
|
а) рис. 16, поз. 5 Д200-95, Д200-36, Д320-50, Д320-70 |
б) рис. 16, поз. 9 Д200-95, Д200-36, Д320-50, Д329-70, Д500-65, Д630-90, Д800-57, Д1250-65, Д1250-125, Д1600-90 |
Рисунок 20 - Стакан подшипника пяты, стакан подшипника (рис. 16, поз. 5, 9)
|
Стакан подшипника пяты, стакан подшипника - рис. 20 Количество на изделие - по 1 шт. Нормы зазоров (натягов) - таблица 15 |
|
Обозначение |
Возможный дефект |
Способ установления дефекта и контрольный инструмент |
Техническое требование по чертежу |
Заключение и рекомендуемый способ ремонта |
Техническое требование после ремонта |
|
А, Б |
Трещины. |
Визуальный контроль. Лупа ЛП-1-7´. Измерительный контроль. Штангенциркуль ШЦ-I-125-0,1-1. |
Размер «α» - см. таблицу 16. |
1. Проточка. 2. Шлифование 3. Замена. |
Трещины не допускаются. 1. Допустимый размер «α» - см. таблицу 16. 2. Допуск торцового биения поверхности Б относительно оси поверхности Г: Д500-65, Д630-90, Д800-57, Д1250-65 Д1250-125, Д1600-90 0,05 мм Д1250-125, Д1600-90 0,07 мм. 3. Параметр шероховатости поверхности не более - см. таблицу 16. |
|
В, Г, Е |
Износ. |
Измерительный контроль. Нутромеры: 50 - 100; 100 - 160; 160 - 260. Штангенциркуль ШЦ-II-160-0,05. |
Диаметр Г - см. таблицу 16. Д200-95, Д200-36, Д320-50, Д320-70 В - Æ 45+0,160 мм, Е - Æ 46+0,660 мм, Д500-65, Д630-90, Д800-57, Д1250-65 В - Æ 75+0,190 мм, Е - Æ 77+0,390 мм, Д1250-125, Д1600-90 В - Æ 106+0,220 мм, Е - Æ 108+0,620 мм. |
1. Расточка. 2. ГТН (см. 6.6.2). 3. Шлифование. |
1. Допустимый диаметр не более: Д200-95, Д200-36, Д320-50, Д320-70 В - Æ 45,160 мм; Е - Æ 46,660 мм Д500-65, Д630-90, Д800-57, Д1250-65 В - Æ 75,190 мм; Е - Æ 77,390 мм Д1250-125, Д1600-90 В - Æ 106,220 мм; Е - Æ 108,620 мм. 2. Параметр шероховатости поверхностей - не более: В - Rz40; Г - Ra1,6. |
|
Д |
Износ, увеличенное радиальное биение. |
Измерительный контроль. Штангенциркуль ШЦ-II-250-0,1. Микрометры: МРИ 1500,002; МРИ 2000,002. Индикатор ИЧ 02 кл.0. |
См. таблицу 16. |
1. Обтачивание. 2. ГТН (см. 6.6.2). 3. Замена. |
1. Допустимый диаметр - см. таблицу 15. Д500-65, Д630-90, Д800-57, Д1250-65 Д1250-125, Д1600-90 В - Rz40; Г - Ra2,5. 2. Допуск радиального биения поверхности Д относительно оси поверхности Г Д200-95, Д200-36, Д320-50, Д320-70 0,04 мм Д500-65, Д630-90, Д800-57, Д1250-65, Д1250-125, Д1600-90 0,06 мм. 3. Шероховатость поверхности не более - см таблицу 16. |
Таблица 16
|
Стакан подшипника пяты, стакан подшипника |
||||||||
|
Размер по чертежу, мм |
Допустимый размер, мм |
Параметр шероховатости, мкм, не более |
||||||
|
Æ Г |
Æ Д |
не более |
не менее |
А |
Б |
Д |
||
|
«α» |
Æ Г |
Æ Д |
||||||
|
Д200-95 Д200-36 Д320-50 Д320-70 |
80+0,015 |
110-0,087 |
34,030 |
80,015 |
109,913 |
Rz12,5 |
||
|
Д500-65 Д630-90 Д800-57 Д1250-65 (поз. 5) |
130+0,020 |
|
46,000 |
130,020 |
149,430 |
Rz40 |
Ra2,5 |
Rz40 |
|
Д500-65 Д630-90 Д800-57 Д1250-65 (поз. 9) |
150-0,100 |
149,900 |
||||||
|
Д1250-125 Д1600-90 |
190+0,023 |
215-0,115 |
53,000 |
190,023 |
214,875 |
Rz40 |
Ra2,5 |
Rz40 |
а) Д200-95, Д200-36, Д320-50, Д320-70; б) Д500-65, Д630-90, Д800-57, Д1250-65, Д1250-125, Д1600-90; в) Д2000-21, Д2000-100, Д2500-62, Д3200-33, Д3200-75; Д5000-32; г) Д4000-22; Д6300-27; д) Д12500-24
Рисунок 21 - Крышка подшипника пяты, крышка подшипника (рис. 16, поз. 4; рис. 17, поз. 2, 5, 7, 11; рис. 18, 19, поз. 5, 11)
|
Карта дефектации и ремонта 8 Крышка подшипника пяты, крышка подшипника - рис. 21 Количество на изделие - по 1 шт. Нормы зазоров (натягов) - таблица 15 |
|
Обозначение |
Возможный дефект |
Способ установления дефекта и контрольный инструмент |
Техническое требование по чертежу |
Заключение и рекомендуемый способ ремонта |
Техническое требование после ремонта |
|
- |
Трещины. |
Визуальный контроль. Лупа ЛП-1-7´. |
- |
Замена. |
Трещины не допускаются. |
|
А |
Износ. |
Измерительный контроль. Микрометры: МР 100; МРИ 150-0,002; МРИ 200-0,002; МРИ 300-0,002. |
Диаметр А - см. таблицу 17. |
1. Проточка. 2. ГТН (см. 6.6.2). 2. Замена. |
1. Допустимый диаметр не менее - см. таблицу 18. 2. Допуск радиального биения А относительно оси Д 0,05 мм. 3. Параметр шероховатости поверхности - см. таблицу 17. |
|
Б, В |
Износ. |
Измерительный контроль. Штангенциркуль ШЦ-I-125-0,1-1. |
Размер «α» - см. таблицу 17. |
1. Проточка. 2. Шлифование. 3. Замена. |
1. Допустимый размер «α», «δ» - см. таблицу 17. 2. Допуск торцового биения В относительно оси А: Д2000-21 0,05 мм Д2000-100, Д250062, Д3200-33, Д3200-75 0,04 мм. 3. Параметр шероховатости поверхностей - не более - см. таблицу 17. |
|
Д, Е |
Износ. |
Измерительный контроль. Штангенциркуль ШЦ-II-250-0,05. |
См. таблицу 17. |
1. Расточка. 2. Замена. |
1. Допустимый диаметр - см. таблицу 17. 2. Параметр шероховатости поверхностей - см. таблицу 17. |
Таблица 17
|
Крышка подшипника, крышка подшипника пяты |
||||||||||
|
Размер по чертежу, мм |
Допустимый размер, мм |
Параметр шероховатости, мкм, не более |
||||||||
|
Æ А |
Æ Д |
Æ Е |
«α» не менее |
«δ» не более |
Æ А |
Æ Д |
Æ Е |
А |
Б, В, Д, Е |
|
|
Д200-95, Д200-36, Д320-50, Д320-70 |
80-0,046 |
- |
- |
9,0 |
- |
79,952 |
- |
- |
Ra1,6 |
Б, В - Rz50 |
|
Д630-90, Д500-65, Д800-57, Д1250-65 |
130-0,100 |
- |
- |
9,0 8,0 8,0 8,0 |
- |
129,900 |
- |
- |
Ra2,5 |
Б - Rz80 |
|
Д1250-125, Д1600-90 |
Æ 190-0,115 |
- |
- |
189,885 |
||||||
|
Д2000-21, |
|
- |
- |
- |
4,5 |
130,835 |
- |
- |
Ra3,2 |
В - Ra3,2 |
|
Д2000-100, Д2500-62, Д3200-33, Д3200-75 |
|
- |
- |
189,805 |
- |
- |
||||
|
Д4000-22, Д6300-27 |
190-0,090 |
122 |
137 |
- |
189,910 |
126 |
139 |
Ra2,5 |
Д, Е - Ra2,5 |
|
|
Д12500-24 |
290-0,081 |
202 |
232 |
- |
289,919 |
204 |
234 |
Rz 20 |
Д, Е - Rz20 |
|
а) Д200-95, Д200-36, Д320-50, Д320-70; б) Д630-90, Д500-65, Д800-57, Д1250-65, Д1250-125, Д1600-90
Рисунок 22 - Крышка подшипника (рис. 16, поз. 11)
|
Карта дефектации и ремонта 9 Крышка подшипника - рис. 22 Количество на изделие - 1 шт. Нормы зазоров (натягов) - таблица 15 |
|
Обозначение |
Возможный дефект |
Способ установления дефекта и контрольный инструмент |
Техническое требование по чертежу |
Заключение и рекомендуемый способ ремонта |
Техническое требование после ремонта |
|
- |
Трещины. |
Визуальный контроль. Лупа ЛП-1-7´. |
- |
Замена. |
Трещины не допускаются. |
|
А, Г |
Износ. |
Измерительный контроль. Нутромер 50 - 100. Штангенциркуль ШЦ-II-160-0,05. |
Диаметры: Д630-90 А - Æ 59,0 мм; Г - Æ 60,5 мм. Д1250-125 Д1600-90 А - Æ 82,0 мм; Г - Æ 83,5 мм. |
1. Расточка. 2. Замена. |
1. Допустимый диаметр: Д500-65, Д630-90, Д800-57, Д1250-65 А - Æ 59,100 мм; Г - Æ 61,390 мм Д1250-125 Д1600-90 А - Æ 82,220 мм; Г- Æ 84,620 мм. 2. Параметр шероховатости поверхности А - не более Rz40. |
|
Б |
Износ. |
Измерительный контроль. Микрометры: МРИ 150-0,002, МРИ 200-0,002. Скоба СИ 100. |
Диаметры: Д200-95 Д200-36 Д329-50 Д320-70 80-0,074 мм, Д500-65 Д630-90 Д800-57 Д1250-65 130-0,100 мм, Д1250-125 Д1600-90 190-0,115 мм. |
1. Проточка. 2. Замена. |
1. Допустимый диаметр не менее: Д200-95, Д200-36, Д329-50, Д320-70 79,926 мм Д500-65, Д630-90, Д800-57, Д1250-65 129,900 мм Д1600-90 189,885 мм. 2. Параметр шероховатости поверхности - не более: Д200-95, Д200-36, Д329-50, Д320-70 Rz50 Д500-65, Д630-90, Д800-57, Д1250-65, Д1600-90 Ra2,5. |
|
В |
Износ. |
Измерительный контроль. Штангенциркуль ШЦ-I-125-0,01-1. |
1. Проточка. 2. Замена. |
1. Допустимый размер «α» - не менее: Д200-95, Д200-36, Д329-50, Д320-70 9,0 мм, Д500-65, Д630-90, Д800-57, Д1250-65 8,0 мм, Д1250-125, Д1600-90 10,0 мм. 2. Параметр шероховатости поверхности - не более: Д200-95, Д200-36, Д329-50, Д320-70 Rz50, Д500-65, Д630-90, Д800-57, Д1250-65 Д1250-125, Д1600-90 Rz80. |
а) насос Д 2000-21; б) насосы Д2000-100, Д2500-62, Д3200-33, Д3200-75; в) насосы Д4000-22, Д5000-32, Д6300-27; г) насос Д12500-24
Рисунок 23 - Корпус подшипника (рис. 17, поз. 1, 9)
|
Карта дефектации и ремонта 10 Корпус подшипника - рис. 23 Количество на изделие - по 2 шт. Нормы зазоров (натягов) - таблица 15 |
|
Обозначение |
Возможный дефект |
Способ установления дефекта и контрольный инструмент |
Техническое требование по чертежу |
Заключение и рекомендуемый способ ремонта |
Техническое требование после ремонта |
|
- |
Трещины. |
Визуальный контроль. Лупа ЛП-1-7´. ЦД. |
- |
Замена. |
Трещины не допускаются. |
|
А, Е, Ж |
Износ. |
Измерительный контроль. Нутромеры: НМ 175; НМ 600. |
Диаметры: Д2000-21 А - 130+0,040 мм, Д2000-100 Д2500-62 Д3200-33 Д3200-75 А - 190+0,046 мм, Д5000-32 А - 215+0,046 мм, Д4000-22 Д6300-32 А - 190+0,046 мм; Е - 117 мм; Ж - 102 мм Д12500-24 А - 290+0,069+0,017 мм; Е - 202,0 мм; Ж - 202,0 мм. |
1. ГТН (см. 6.6.2). 2. Установка стальной втулки насосы: Д2000-100, Д2500-62, Д3200-33, Д3200-75. 3. Замена. |
1. Допустимый диаметр - не более: Д2000-21 А - 130,040 мм Д2000-100, Д2500-62, Д3200-33, Д3200-75 А - 190,046 мм Д5000-32 А - 215,046 мм Д4000-22, Д6300-32 А - 190,046 мм Д12500-24 А - 290,080 мм. 2. Параметр шероховатости поверхностей - не более: Д2000-21, Д2000-100, Д2500-62, Д3200-33, Д3200-75, Д5000-32 А - Ra1,6 Д4000-22, Д6300-32 А, Ж - Ra2,5; Е - Rz40 Д12500-24 А - Ra2,5; Е, Ж - Rz20. |
|
Б |
Износ. |
Измерительный контроль. Штангенциркули: ШЦ-II-250-0,05; ШЦ-III-400-0,1; ШЦ-III-250-800-0,1. |
Д2000-21 Æ 200-0,600 мм, Д2000-100, Д2500-62, Д3200-33, Д3200-75 Æ 399-0,200 мм, Д5000-32, Д4000-22, Д6300-32 Æ 400-0,120 мм Д12500-24 Æ 718 ± 0,500 мм. |
1. ГТН. 2. Замена. |
1. Допустимый диаметр - не менее: Д2000-21 199,400 мм; Д2000-100 Д2500-62 Д3200-33, Д3200-75 398,800 мм Д5000-32 Д4000-22 Д6300-32 399,880 мм; Д12500-24 718,800 мм. 2. Допуск радиального биения Б относительно оси поверхности А 0,1 мм. 3. Параметр шероховатости поверхности - не более: Д2000-21 Д2000-100 Д2500-62 Д3200-33 Д3200-75 Ra6,3; Д5000-32, Д4000-22, Д6300-32, Д12500-24 Rz20. |
|
В, Г, И |
Износ, увеличенное торцовое биение. |
Измерительный контроль. Индикатор ИЧ 02 кл.0. |
- |
1. Проточка. 2. Замена. |
1. Допуск торцового биения Г относительно оси поверхности А: Д4000-22, Д6300-32 0,05 мм. 2. Допуск торцового биения В, И относительно поверхности Д: Д12500-24 0,08 мм. 3. Параметр шероховатости поверхности - не более: Д4000-22, Д6300-32 В - Rz40; Г - Д12500-24 В - Rz20; И - Ra2,5. |
|
Д |
Отклонение от плоскостности . |
Проверка «по краске». Измерительный контроль. Набор щупов №1. |
Допуск плоскостности 0,03 мм. |
1. Шабрение. 2. Фрезерование. 3. Замена. |
1. Толщина фланца крышки корпуса не менее: Д4000-22, Д6300-32 25,0 мм Д12500-24 43,0 мм. 2. Пятна краски должны располагаться равномерно и занимать не менее 70 % контролируемой поверхности. |
Рисунок 24 - Кольцо упорное (рис. 17, поз. 12)
|
Обозначение |
Возможный дефект |
Способ установления дефекта и контрольный инструмент |
Техническое требование по чертежу |
Заключение и рекомендуемый способ ремонта |
Техническое требование после ремонта |
|
- |
Трещины. |
Визуальный контроль. |
- |
Замена. |
- |
|
А |
Износ. |
Измерительный контроль. Микрометр МРИ 200-0,002. |
Диаметр Д2000-100 Д2500-62 Д3200-33 Д3200-75 Æ |
1. ГТН (см. 6.6.2). 2. Замена. |
1. Допустимый диаметр - не менее: Д2000-100, Д2500-62, Д3200-33, Д3200-75 Æ 189,805 мм. 2. Параметр шероховатости поверхности - не более Rz12,5. |
7.3.1 Зазоры (натяги) между составными сопряжёнными частями собранного ротора (рисунки 25 - 29) должны быть в пределах норм, приведенных в таблице 18.
7.3.2 Дефектацию и ремонт сопряжённых деталей ротора (вала, рабочего колеса, втулок) необходимо проводить в соответствии с картами дефектации и ремонта 12 - 17.
1, 13, 16, 21 - гайка, 2, 15 - подшипник, 3, 14 - втулка упорная, 4 - вал, 5, 12 - втулка защитная, 6, 11 - втулка направляющая, 7, 9 - кольцо уплотняющее, 8 - колесо рабочее, 10, 17, 23, 24 - шпонка, 18 - полумуфта, 19, 22 - отбойник; а, б, в ... - обозначение сопряжения
Рисунок 25 - Ротор (насосы Д200-95, Д200-36, Д320-50, Д320-70)
1, 13, 16, 21 - гайка; 2, 15 - подшипник; 3, 14 - втулка упорная; 4 - вал; 5, 12 - втулка защитная; 6, 11 - втулка направляющая; 7, 9 - кольцо уплотняющее; 8 - колесо рабочее; 10, 17, 25, 26 - шпонка; 18 - полумуфта; 19, 22 - кольцо отбойное (маслоотражатель); а, б, в ... - обозначение сопряжения
Рисунок 26 - Ротор (насосы Д500-65, Д630-90, Д800-57, Д1250-65, Д1250-125, Д1600-90)
а) Д2000-21; б) Д2000-100, Д2500-62, Д3200-75
1, 21 - гайка; 2, 15 - подшипник; 4 - вал; 5, 12, 27, 28 - втулка защитная; 7, 9 - кольцо уплотняющее; 8 - колесо рабочее; 10, 17, 23 - шпонка; 18 - полумуфта; а, б, в ... - обозначение сопряжения
Рисунок 27 - Ротор (насосы Д2000-21, Д2000-100, Д2500-62, Д3200-33, Д3200-75)
1, 16 - гайка; 2, 15 - подшипник; 3, 14 - втулка упорная; 4 - вал; 5, 12, 27, 28 - втулка защитная; 7, 9 - кольцо уплотняющее; 8 - колесо рабочее; 10, 17, 23 - шпонка; 18 - полумуфта; 22 - маслоотражатель; а, б, в ... - обозначение сопряжения
Рисунок 28 - Ротор (насосы Д4000-22, Д5000-32, Д6300-27)
1, 16, 21 - гайка; 2,15 - подшипник; 3, 14 - втулка конусная; 4 - вал; 5, 12 - втулка; 7, 9 - кольцо уплотняющее; 29, 30 - кольцо защитное; 8 - колесо рабочее; 10, 17, 23, 24 - шпонка; 18 - полумуфта; 22 - кольцо уплотнительное; 27, 28 - втулка защитная; а, б, в ... - обозначение сопряжения
Рисунок 29 - Ротор (насос Д12500-24)
Таблица 18 - Нормы зазоров (натягов) для ротора
|
Позиция сопряженной составной части |
Название сопряженной составной части |
Обозначение чертежа (нормативного документа) составной части |
Размер составной части по чертежу, мм |
Зазор (+), натяг (-), мм, допустимый после капитального ремонта |
||
|
номинальное значение |
предельное отклонение |
|||||
|
Насосы: Д200-95, Д200-36, Д320-50, Д320-70 (см. рисунок 25); Д500-65, Д630-90, Д800-57, Д1250-65, Д1250-125, Д1600-90 (см. рисунок 26); Д2000-21, Д2000-100, Д2500-62, Д3200-33, Д3200-75, Д5000-32 (см. рисунок 27); Д4000-22, Д6300-27 (см. рисунок 28); насос Д12500-24 (см. рисунок 29) |
||||||
|
2; 15 |
Подшипник |
|||||
|
Д200-95 Д200-36 Д320-50 Д320-70 |
307 ГОСТ 8338 |
Æ 35 |
+0,003 -0,013 |
Д200-95 Д200-36 Д320-50 Д320-70 |
||
|
Д500-65 Д630-90 |
312 ГОСТ 8338 |
Æ 60 |
+0,004 -0,015 |
+0,001 -0,031 |
||
|
Д800-57 Д1250-65 |
312 ГОСТ 8338 |
Æ 60 |
+0,004 -0,015 |
Д500-65 Д630-90 |
||
|
Д1250-125 Д1600-90 |
318 ГОСТ 8338 |
Æ 90 |
+0,004 -0,018 |
+0,002 -0,036 |
||
|
Д2000-21 |
312 ГОСТ 8338 |
Æ 60 |
+0,004 -0,015 |
Д800-57 Д1250-65 |
||
|
Д2000-100 |
320 ГОСТ 8338 |
Æ 100 |
+0,004 -0,018 |
+0,002 -0,039 |
||
|
Д2500-62 Д3200-33 Д3200-75 Д4000-22 Д5000-32 Д6300-27 |
318 ГОСТ 8338 |
Æ 90 |
+0,004 -0,018 |
Д1250-125 Д1600-90 +0,015 -0,029 Д2000-21 |
||
|
а; п |
Д12500-24 |
3532 ГОСТ 5721 |
Æ 160 |
+0,004 -0,021 |
+0,006 0,025 |
|
|
4 |
Вал |
|||||
|
Д200-95 Д200-36 |
0603.401613.0001 |
Æ 35 |
+0,018 +0,002 |
|||
|
Д320-50 Д320-70 |
0603.401613.0001 |
Æ 35 |
+0,018 +0,002 |
Д2000-100 Д2500-62 Д3200-33 Д3200-75 Д4000-22 |
||
|
Д500-65 Д630-90 |
Н03.629.01.01.012 |
Æ 60 |
+0,021 +0,002 |
|||
|
Д800-57 |
Д5000-32 Д6300-27 +0,015 -0,026 Д12500-24 +0,016 -0,033 |
|||||
|
Д1250-65 |
Н03.630.01.01.004 |
Æ 60 |
+0,021 +0,002 |
|||
|
Д1250-125 Д1600-90 |
Н03.649.01.01.012 |
Æ 90 |
+0,025 +0,003 |
|||
|
Д2000-21 |
Н06.011.50.02 |
Æ 60 |
+0,010 |
|||
|
Д2000-100 |
Н06.010.50.01-01 |
Æ 100 |
+0,011 |
|||
|
Д2500-62 |
Н06.009.55.01 |
Æ 90 |
+0,011 |
|||
|
Д3200-33 |
2Г-28666 |
Æ 90 |
+0,011 |
|||
|
Д3200-75 |
2Г-28665 |
Æ 90 |
+0,011 |
|||
|
Д4000-22 |
2Г-4358 |
Æ 90 |
+0,011 |
|||
|
Д5000-32 |
2Г-28664 |
Æ 90 |
+0,011 |
|||
|
Д6300-27 |
2Г-4358 |
Æ 90 |
+0,011 |
|||
|
Д12500-24 |
2Г-29162 |
Æ 160 |
+0,012 |
|||
|
3; 14 |
Втулка (упорная, конусная) |
Д200-95 Д200-36 Д320-50 Д320-70 +0,062 +0,007 |
||||
|
Д200-95 Д200-36 Д320-50 Д320-70 |
0603.403141.0010 |
Æ 35 |
+0,064 +0,025 |
|||
|
Д500-65 |
Н03.629.01.01.005 |
Æ 60 |
+0,130 +0,060 |
Д500-65 Д800-57 |
||
|
Д630-90 |
Н03.629.01.01.024 |
Æ 60 |
+0,074 |
+0,128 +0,039 |
||
|
Д800-57 Д1250-65 |
Н03.629.01.01.005 |
Æ 60 |
+0,130 +0,060 |
Д630-90 |
||
|
Д1250-125 Д1600-90 |
Н03.649.01.01.005 |
Æ 90 |
+0,159 +0,072 |
+0,072 -0,021 |
||
|
Д4000-22 |
- |
Æ 90 |
+0,035 |
Д1250-65 |
||
|
Д5000-32 |
Д-4342 |
Æ 90 |
+0,087 |
|||
|
Д6300-27 |
- |
Æ 90 |
+0,035 |
+0,128 +0,039 Д1250-125 Д1600-90 +0,156 -0,047 Д5000-32 +0,098 -0,011 Д4000-22 Д6300-27 +0,032 -0,026 |
||
|
Д12500-24 |
Д-13293 |
Æ 155 |
+0,080 |
|||
|
б; н |
4 |
Вал |
||||
|
Д200-95 Д200-36 Д320-50 Д320-70 |
0603.401613.0001 |
Æ 35 |
+0,018 +0,002 |
|||
|
Д500-65 Д630-90 Д800-57 |
Н03.629.01.01.012 |
Æ 60 |
+0,021 +0,002 |
|||
|
Д1250-65 |
Н03.630.01.01.004 |
Æ 60 |
+0,021 +0,002 |
Д12500-24 |
||
|
Д1250-125 Д1600-90 |
Н03.649.01.01.012 |
Æ 90 |
+0,026 +0,003 |
+0,060 +0,245 |
||
|
Д4000-22 |
2Г-4358 |
Æ 90 |
+0,026 +0,003 |
|||
|
Д5000-32 |
2Г-28664 |
Æ 90 |
+0,011 |
|||
|
Д6300-27 |
2Г-4358 |
Æ 90 |
+0,026 +0,003 |
|||
|
Д12500-24 |
2Г-29162 |
Æ 155 |
-0,085 -0,185 |
|||
|
5; 12 |
Втулка защитная |
Д200-95 Д200-36 Д320-50 Д320-70 +0,079 Д500-65 Д630-90 Д800-57 Д1250-65 |
||||
|
Д200-95 Д200-36 Д320-50 Д320-70 |
0603.401364.0001 |
Æ 42 |
+0,039 |
|||
|
Д500-65 Д630-90 Д800-57 Д1250-65 |
Н03.629.01.01.015 |
Æ 65 |
+0,190 |
|||
|
Д1250-125 Д1600-90 |
Н03.649.01.01.018 |
Æ 96 |
+0,087 |
+0,174 |
||
|
Д2000-21 |
Н06.011.50.06-01 |
Æ 70 |
+0,030 |
Д1250-125 Д1600-90 |
||
|
Д2000-100 |
Н06.010.50.02-01 |
Æ 120 |
+0,035 |
|||
|
Д2500-62 |
Н06.009.50.06-01 |
Æ 105 |
+0,070 |
+0,174 |
||
|
Д3200-33 |
Г-26605 |
Æ 98 |
+0,070 |
|||
|
Д3200-75 |
Г-26584 |
Æ 115 |
+0,070 |
Д2000-21 |
||
|
Д4000-22 |
Д-4333 |
Æ 115 |
+0,035 |
|||
|
Д5000-32 |
Г-26603 |
Æ 115 |
+0,035 |
+0,049 |
||
|
Д6300-27 |
Д-4333 |
Æ 115 |
+0,035 |
Д2000-100 |
||
|
Д12500-24 |
Г-29649 |
Æ 185 |
+0,090 |
Д4000-22 |
||
|
в, г, л, м |
4 |
Вал |
||||
|
Д200-95 Д200-36 Д320-50 Д320-70 |
0603.401613.0001 |
Æ 42 |
-0,040 |
Д5000-32 Д6300-27 +0,057 Д2500-62 |
||
|
Д500-65 Д630-90 Д800-57 |
Н03.629.01.01.012 |
Æ 65 |
-0,074 |
Д3200-32 Д3200-75 +0,092 |
||
|
Д1250-65 |
Н03.630.01.01.004 |
Æ 65 |
-0,074 |
Д12500-24 |
||
|
Д1250-125 Д1600-90 |
Н03.649.01.01.012 |
Æ 96 |
-0,087 |
+0,180 |
||
|
Д2000-21 |
Н06.011.50.02 |
Æ 70 |
-0,019 |
|||
|
Д2000-100 |
Н06.010.50.01-01 |
Æ 120 |
-0,022 |
|||
|
Д2500-62 |
Н06.010.55.01 |
Æ 105 |
-0,022 |
|||
|
Д3200-33 |
2Г-28666 |
Æ 98 |
-0,022 |
|||
|
Д3200-75 |
2Г-28665 |
Æ 115 |
-0,022 |
|||
|
Д4000-22 |
2Г-4358 |
Æ 115 |
-0,022 |
|||
|
Д5000-32 |
2Г-26602 |
Æ 115 |
-0,022 |
|||
|
Д6300-27 |
2Г-4358 |
Æ 115 |
-0,022 |
|||
|
Д12500-24 |
2Г-29162 |
Æ 185 |
-0,072 |
|||
|
27, 28 |
Втулка защитная |
Д2000-21 |
||||
|
Д2000-21 |
Н06.011.50.05 |
Æ 70 |
+0,030 |
+0,049 |
||
|
Д2000-100 |
Н06.010.50.03 |
Æ 120 |
+0,035 |
Д2000-100 |
||
|
Д2500-62 |
Н06.009.50.07 |
Æ 105 |
+0,022 |
Д3200-33 |
||
|
Д3200-33 |
Д-21701 |
Æ 98 |
+0,035 |
Д3200-75 |
||
|
Д3200-75 |
Г-26163 |
Æ 115 |
+0,035 |
Д4000-22 |
||
|
Д4000-22 |
Г-21713 |
Æ 115 |
+0,035 |
Д6300-27 |
||
|
Д5000-32 |
Г-21713 |
Æ 115 |
+0,070 |
|||
|
Д6300-27 |
Г-21713 |
Æ 115 |
+0,035 |
+0,057 |
||
|
Д12500-24 |
Г-29649 |
Æ 185 |
+0,090 |
Д2500-62 |
||
|
в1, м1 |
4 |
Вал |
||||
|
Д2000-21 |
Н06.011.50.02 |
Æ 70 |
-0,019 |
+0,044 |
||
|
Д2000-100 |
Н06.010.50.01-01 |
Æ 120 |
-0,022 |
|||
|
Д2500-62 |
Н06.009.55.01 |
Æ 105 |
-0,022 |
Д5000-32 |
||
|
Д3200-33 |
2Г-28666 |
Æ 98 |
-0,022 |
|||
|
Д3200-75 |
2Г-28665 |
Æ 115 |
-0,022 |
+0,092 |
||
|
Д4000-22 |
2Г-4358 |
Æ 115 |
-0,022 |
|||
|
Д5000-32 |
2Г-28664 |
Æ 115 |
-0,022 |
Д12500-24 |
||
|
Д6300-27 |
2Г-4358 |
Æ 115 |
-0,022 |
|||
|
Д12500-24 |
2Г-29162 |
Æ 185 |
-0,115 |
+0,180 |
||
|
д; к |
6; 11 |
Втулка направляющая |
||||
|
Д500-65 |
Н03.643.01.01.004 |
Æ 68 |
+0,190 |
|||
|
Д630-90 |
Н03.629.01.01.014 |
Æ 68 |
+0,190 |
Д500-65 |
||
|
Д800-57 |
Н03.644.01.01.004 |
Æ 68 |
+0,190 |
Д630-90 |
||
|
Д1250-65 |
Н03.630.01.01.003 |
Æ 68 |
+0,190 |
Д800-57 |
||
|
Д1250-125 |
Н03.649.01.01.013 |
Æ 100 |
+0,220 |
Д1250-65 |
||
|
Д1600-90 |
Н03.650.01.01.003 |
Æ 100 |
+0,220 |
|||
|
4 |
Вал |
+0,390 |
||||
|
Д500-65 Д630-90 Д800-57 |
Н03.629.01.01.012 |
Æ 68 |
-0,200 |
Д1250-125 Д1600-90 |
||
|
Д1250-65 |
Н03.630.01.01.004 |
Æ 68 |
-0,200 |
+0,450 |
||
|
Д1250-125 Д1600-90 |
Н03.649.01.01.012 |
Æ 100 |
-0,230 |
|||
|
6, 11 |
Втулка направляющая |
Д200-95 |
||||
|
Д200-95 |
0603.403741.0002 - I |
Æ 42 |
+1,000 |
+1,039 |
||
|
д; к*) |
Д200-36 |
0603.404141.0002 - I |
Æ 42 |
+0,620 |
Д200-36 |
|
|
Д320-50 |
Æ 42 |
+0,620 |
||||
|
Д320-70 |
0603.403741.0004 - I |
Æ 42 |
+0,620 |
Д320-50 Д320-70 |
||
|
Д630-90 |
0603.404141.0002 |
Æ 68 |
+0,740 |
|||
|
Д1250-125 |
Æ 100 |
+0,870 |
+0,659 |
|||
|
Д1600-90 |
Æ 100 |
+0,870 |
||||
|
Н03.629.01.01.013 Н03.649.01.01.023 Н03.650.01.01.003 |
Д630-90 +0,930 |
|||||
|
4 |
Вал |
|||||
|
Д200-95 Д200-36 Д320-50 Д320-70 |
0603.401613.0001 |
Æ 42 |
-0,039 |
Д1250-125 Д1600-90 +1,090 |
||
|
Д630-90 |
Н03.629.01.01.012 |
Æ 68 |
-0,190 |
|||
|
Д1250-125 |
Н03.649.01.01.012 |
Æ 100 |
-0,220 |
|||
|
Д1600-90 |
Н03.649.01.01.012 |
Æ 100 |
-0,220 |
|||
|
7; 9 |
Кольцо уплотняющее |
Д200-95 +0,405 +0,300 |
||||
|
Д200-95 |
0603.403183.0001 |
Æ 118 |
+0,035 |
|||
|
Д200-36 |
0603.403183.0002 |
Æ 130 |
+0,063 |
Д200-36 |
||
|
Д320-50 |
0603.403183.0003 |
Æ 160 |
+0,160 |
+0,443 |
||
|
Д320-70 |
0603.403183.0004 |
Æ 142 |
+0,100 |
+0,300 |
||
|
Д500-65 |
Н03.643.01.01.002 |
Æ 210 |
+0,115 |
Д320-50 |
||
|
Д630-90 |
Н03.629.01.01.003 |
Æ 210 |
+0,115 |
+0,540 |
||
|
Д800-57 |
Н03.644.01.01.002 |
Æ 235 |
+0,115 |
+0,300 |
||
|
Д1250-65 |
Н03.630.01.01.002 |
Æ 260 |
+0,130 |
|||
|
Д1250-125 |
Н03.649.01.01.002 |
Æ 300 |
+0,130 |
Д320-70 |
||
|
Д1600-90 |
Н03.650.01.01.002 |
Æ 285 |
+0,130 |
+0,480 |
||
|
Д2000-21 |
Н06.005.20.06 |
Æ 335 |
+0,100 |
+0,300 |
||
|
Д2000-100 |
Н06.010.20.03 |
Æ 380 |
+0,120 |
Д500-65 |
||
|
Д2500-62 |
Н06.009.20.05 |
Æ 375 |
+0,120 |
Д630-90 |
||
|
Д3200-33 |
В-13497 |
Æ 410 |
+0,120 |
Д800-57 |
||
|
Д3200-75 |
Г-6807 |
Æ 410 |
+0,120 |
+0,730 +0,500 |
||
|
Д4000-22 |
В-13495 |
Æ 560 |
+0,440 |
Д1250-65 |
||
|
Д5000-32 |
В-13496 |
Æ 500 |
+0,760 |
+0,760 |
||
|
Д6300-27 |
В-13495 |
Æ 560 |
+0,440 |
+0,500 |
||
|
е; и |
8 |
Колесо рабочее |
Д1250-125 +0,850 |
|||
|
Д200-95 |
0603.408876.0001 |
Æ 118 |
-0,300 -0,370 |
+0,500 |
||
|
Д200-36 |
0603.408876.0002 |
Æ 130 |
-0,300 -0,380 |
Д1600-90 +0,950 +0,500 |
||
|
Д320-50 |
0603.408876.0003 |
Æ 160 |
-0,300 -0,380 |
Д2000-21 +1,000 |
||
|
Д320-70 |
0603.408876.0004 |
Æ 142 |
-0,300 -0,380 |
+0,800 Д2000-100 |
||
|
Д500-65 |
Н03.643.01.01.001 |
Æ 209,5 |
-0,115 |
+0,740 |
||
|
Д630-90 |
Н03.629.01.01.002 |
Æ 209,5 |
-0,115 |
+0,500 |
||
|
Д800-57 |
Н03.644.01.01.001 |
Æ 234,5 |
-0,115 |
|||
|
Д1250-65 |
Н03.630.01.01.001 |
Æ 259,5 |
-0,130 |
Д2500-62 |
||
|
Д1250-125 |
Н03.649.01.01.001 |
Æ 299,6 |
-0,320 |
+0,890 |
||
|
Д1600-90 |
Н03.650.01.01.001 |
Æ 284,5 |
-0,320 |
+0,650 |
||
|
Д2000-21 |
Н06.005.50.05 |
Æ 334,2 |
-0,100 |
|||
|
Д2000-100 |
Н06.010.50.04 |
Æ 379,5 |
-0,120 |
Д3200-33 |
||
|
Д2500-62 |
Н06.009.50.08 |
Æ 374,35 |
-0,120 |
Д3200-75 |
||
|
Д3200-33 |
Б-6833 |
Æ 409,35 |
-0,130 |
+0,900 |
||
|
Д3200-75 |
В-26164 |
Æ 409,35 |
-0,130 |
+0,650 |
||
|
Д4000-22 |
В-0860 |
Æ 560 |
-0,450 -0,900 |
Д4000-22 Д6300-27 +1,340 |
||
|
Д5000-32 |
В-4319 |
Æ 500 |
-0,380 -0,760 |
+0,450 Д5000-32 |
||
|
Д6300-27 |
В-0860 |
Æ 560 |
-0,450 -0,900 |
+1,510 +0,380 |
||
|
8 |
Колесо рабочее |
+0,227 |
||||
|
Д12500-24 |
Г310-12 |
Æ 780 |
+0,175 |
|||
|
29, 30 |
Кольцо защитное |
Д12500-24 |
||||
|
е1; и1 |
Д12500-24 |
Б310-21 |
Æ 780 |
+0,220 |
+1,940 +1,500 |
|
|
ж |
8 |
Колесо рабочее |
||||
|
Д200-95 |
0603.408876.0001 |
Æ 42 |
+0,025 |
|||
|
Д200-36 |
0603.408876.0002 |
Æ 42 |
+0,025 |
|||
|
Д320-50 |
0603.408876.0003 |
Æ 42 |
+0,025 |
Д200-95 |
||
|
Д320-70 |
0603.408876.0004 |
Æ 42 |
+0,025 |
Д200-36 |
||
|
Д500-65 |
Н03.643.01.01.001 |
Æ 68 |
+0,030 |
Д320-50 |
||
|
Д630-90 |
Н03.629.01.01.002 |
Æ 68 |
+0,030 |
Д320-70 |
||
|
Д800-57 |
Н03.644.01.01.001 |
Æ 68 |
+0,030 |
+0,041 |
||
|
Д1250-65 |
Н03.630.01.01.001 |
Æ 68 |
+0,030 |
|||
|
Д1250-125 |
Н03.649.01.01.001 |
Æ 100 |
+0,035 |
Д500-65 |
||
|
Д1600-90 |
Н03.650.01.01.001 |
Æ 100 |
+0,035 |
Д630-90 |
||
|
Д2000-21 |
Н06.005.50.05 |
Æ 75 |
+0,030 |
Д800-57 |
||
|
Д2000-100 |
Н06.010.50.04 |
Æ 130 |
+0,040 |
Д1250-65 |
||
|
Д2500-62 |
Н06.009.50.08 |
Æ 110 |
+0,035 |
Д2000-21 |
||
|
Д3200-33 |
Б-6833 |
Æ 100 |
+0,035 |
|||
|
Д3200-75 |
В-26164 |
Æ 125 |
+0,040 |
+0,049 |
||
|
Д4000-22 |
В-0860 |
Æ 120 |
+0,035 |
Д1250-125 |
||
|
Д5000-32 |
В-4319 |
Æ 120 |
+0,035 |
Д1600-90 |
||
|
Д6300-27 |
В-0860 |
Æ 120 |
+0,035 |
Д2500-62 |
||
|
Д12500-24 |
Г310-12 |
Æ 190 |
+0,046 |
Д4000-22 |
||
|
4 |
Вал |
Д5000-32 |
||||
|
Д200-95 Д200-36 Д320-50 Д320-70 |
0603.401613.0001 |
Æ 42 |
-0,016 |
Д6300-27 +0,057 Д2000-100 |
||
|
Д500-65 Д630-90 Д800-57 |
Н03.629.01.01.012 |
Æ 68 |
-0,019 |
Д3200-33 Д3200-75 +0,065 |
||
|
Д1250-65 |
Н03.630.01.01.004 |
Æ 68 |
-0,019 |
Д12500-24 |
||
|
Д1250-125 Д1600-90 |
Н03.649.01.01.012 Н03.649.01.01.012 |
Æ 100 |
-0,022 |
+0,075 |
||
|
Д2000-21 |
Н06.011.50.02 |
Æ 75 |
-0,019 |
|||
|
Д2000-100 |
Н06.010.50.01-01 |
Æ 130 |
-0,025 |
|||
|
Д2500-62 |
Н06.009.55.01 |
Æ 110 |
-0,022 |
|||
|
Д3200-33 |
2Г-28666 |
Æ 100 |
-0,022 |
|||
|
Д3200-75 |
2Г-28665 |
Æ 125 |
-0,025 |
|||
|
Д4000-22 |
2Г-4358 |
Æ 120 |
-0,022 |
|||
|
Д5000-32 |
2Г-28664 |
Æ 120 |
-0,022 |
|||
|
Д6300-27 |
2Г-4358 |
Æ 120 |
-0,022 |
|||
|
Д12500-24 |
2Г-29162 |
Æ 190 |
-0,029 |
|||
|
8 |
Колесо рабочее |
|||||
|
Д200-95 |
0603.408876.0001 |
10 |
+0,018 |
Д200-95 Д200-36 |
||
|
Д200-36 |
0603.408876.0002 |
10 |
+0,018 |
Д320-50 Д320-70 |
||
|
Д320-50 |
0603.408876.0003 |
10 |
+0,018 |
+0,054 |
||
|
Д320-70 |
0603.408876.0004 |
10 |
+0,018 |
-0,018 |
||
|
Д500-65 |
Н03.643.01.01.001 |
16 |
+0,021 |
Д500-65 Д630-90 |
||
|
Д630-90 |
Н03.629.01.01.002 |
16 |
+0,021 |
Д800-57 Д1250-65 |
||
|
Д800-57 |
Н03.644.01.01.001 |
16 |
+0,021 |
+0,064 -0,021 |
||
|
Д1250-65 |
Н03.630.01.01.001 |
16 |
+0,021 |
Д1250-125 |
||
|
Д1250-125 |
Н03.649.01.01.001 |
22 |
+0,026 |
Д1600-90 |
||
|
Д1600-90 |
Н03.650.01.01.001 |
22 |
+0,026 |
+0,078 |
||
|
-0,026 |
||||||
|
Д2000-21 |
Н06.005.50.05 |
20 |
+0,045 |
Д2000-21 |
||
|
Д2000-100 |
Н06.010.50.04 |
28 |
+0,045 |
Д2000-100 |
||
|
Д2500-62 |
Н06.009.50.08 |
28 |
+0,045 |
+0,097 |
||
|
Д3200-33 |
Б-8333 |
20 |
+0,026 |
Д3200-33 |
||
|
Д3200-75 |
В-26164 |
32 |
+0,031 |
+0,078 -0,026 |
||
|
Д4000-22 |
В-0860 |
32 |
+0,050 |
Д3200-75 |
||
|
Д5000-32 |
В-4319 |
32 |
+0,050 |
+0,093 |
||
|
Д6300-27 |
В-0860 |
32 |
+0,050 |
-0,031 Д4000-22 |
||
|
Д12500-24 |
Б310-12 |
40 |
+0,050 |
Д5000-32 |
||
|
с |
10 |
Шпонка |
Д6300-27 Д12500-24 +0,112 |
|||
|
Д200-95 Д200-36 Д320-50 Д320-70 |
ГОСТ 23360 10´8´70 |
10 |
-0,036 |
|||
|
Д500-65 Д630-90 Д800-57 Д1250-65 |
16´10´100 |
16 |
-0,043 |
|||
|
Д1250-125 |
22´14´140 |
22 |
-0,052 |
|||
|
Д1600-90 |
22´14´125 |
|||||
|
Д2000-21 |
3´20´18´185 |
20 |
-0,052 |
|||
|
Д2000-100 Д2500-62 |
2-28´16´125 |
28 |
-0,052 |
|||
|
Д3200-33 |
20´12´200 |
20 |
-0,052 |
|||
|
Д3200-75 |
32´18´200 |
32 |
-0,062 |
|||
|
Д4000-22 |
32´18´200 |
32 |
-0,062 |
|||
|
Д5000-32 |
32´18´200 |
32 |
-0,062 |
|||
|
Д6300-27 |
32´18´200 |
32 |
-0,062 |
|||
|
Д12500-24 |
Д-29651 |
40 |
-0,062 |
|||
|
4 |
Вал |
|||||
|
Д200-95 Д200-36 |
0603.401613.0001 |
10 |
-0,036 |
Д200-95 |
||
|
Д320-50 Д320-70 |
Д200-36 Д320-50 Д320-70 |
|||||
|
Д500-65 Д630-90 Д800-57 |
Н03.629.01.01.012 |
16 |
-0,043 |
+0,036 -0,036 |
||
|
Д1250-65 |
Н03.630.01.01.004 |
16 |
-0,043 |
|||
|
Д1250-125 Д1600-90 |
Н03.649.01.01.012 |
22 |
-0,052 |
Д500-65 Д630-90 Д800-57 |
||
|
Д2000-21 |
Н06.011.50.02 |
20 |
-0,052 |
Д1250-65 +0,043 |
||
|
Д2000-100 |
Н06.010.50.01-01 |
28 |
-0,052 |
-0,043 |
||
|
Д2500-62 |
Н06.009.55.01 |
28 |
-0,052 |
Д1250-125 |
||
|
Д3200-33 |
2Г-28666 |
20 |
-0,052 |
Д1600-90 |
||
|
Д3200-75 |
2Г-28665 |
32 |
-0,062 |
Д2000-21 Д2000-100 |
||
|
Д4000-22 |
2Г-4358 |
32 |
-0,062 |
Д2500-62 Д3200-33 |
||
|
Д5000-32 |
2Г-28664 |
32 |
-0,062 |
+0,052 -0,052 |
||
|
Д6300-27 |
2Г-4358 |
32 |
-0,062 |
|||
|
Д12500-24 |
2Г-29162 |
40 |
-0,062 |
|||
|
т |
10 |
Шпонка |
||||
|
Д200-95 |
10´8´70 |
10 |
-0,036 |
|||
|
Д200-36 Д320-50 Д320-70 |
10´8´70 |
10 |
-0,036 |
Д3200-75 Д4000-22 Д5000-32 Д6300-27 |
||
|
Д500-65 Д630-90 Д800-57 Д1250-65 |
16´10´100 |
16 |
-0,043 |
Д12500-24 +0,062 -0,062 |
||
|
Д1250-125 |
22´14´140 |
22 |
-0,052 |
|||
|
Д1600-90 |
22´14´125 |
|||||
|
Д2000-21 |
3-20´12´185 |
20 |
-0,052 |
|||
|
Д2000-100 Д2500-62 |
2-28´16´125 |
28 |
-0,052 |
|||
|
Д3200-33 |
20´12´200 |
20 |
-0,052 |
|||
|
Д3200-75 |
32´18´180 |
32 |
-0,062 |
|||
|
Д4000-22 |
20´12´200 |
32 |
-0,062 |
|||
|
Д5000-32 |
32´18´180 |
32 |
-0,062 |
|||
|
Д6300-27 |
20´12´200 |
32 |
-0,062 |
|||
|
Д12500-24 |
Д-29651 |
40 |
-0,062 |
|||
|
5, 12 |
Втулка защитная |
Д500-65 Д630-90 Д800-57 Д1250-65 |
||||
|
Д500-65 Д630-90 Д800-57 Д1250-65 |
Н03.629.01.01.015 |
8 |
+0,018 |
|||
|
Д1250-125 Д1600-90 |
Н03.649.01.01.018 |
12 |
+0,021 |
+0,054 -0,018 |
||
|
у, у1 |
25, 26 |
Шпонка |
||||
|
Д500-65 Д630-90 Д800-57 Д1250-65 |
8´7´18 |
8 |
-0,036 |
Д1250-125 Д1600-90 +0,064 -0,021 |
||
|
Д1250-125 Д1600-90 |
12´8´28 |
12 |
-0,043 |
|||
|
ф, ф1 |
4 |
Вал |
||||
|
Д500-65 Д630-90 Д800-57 |
Н03.629.01.01.012 |
8 |
-0,036 |
Д500-65 Д630-90 Д800-57 Д1250-65 |
||
|
Д1250-65 |
Н03.630.01.01.004 |
8 |
-0,036 |
+0,036 |
||
|
Д1250-125 Д1600-90 |
Н03.649.01.01.012 |
12 |
-0,043 |
-0,036 |
||
|
25, 26 |
Шпонка |
|||||
|
Д500-65 Д630-90 Д800-57 Д1250-65 |
8´7´18 |
8 |
-0,036 |
Д1250-125 Д1600-90 +0,043 -0,043 |
||
|
Д1250-125 Д1600-90 |
12´8´28 |
12 |
-0,043 |
|||
|
х, х1 |
5, 12 |
Втулка защитная |
||||
|
Д200-95 Д200-36 Д320-50 Д320-70 |
0603.506411.0001 |
6 |
+0,075 |
Д200-95 Д200-36 Д320-50 Д320-70 |
||
|
Д2000-21 |
Н06.009.50.14 |
8 |
+0,100 |
+0,135 |
||
|
Д2000-100 |
Н06.009.50.12 |
8 |
+0,100 |
+0,030 |
||
|
Д2500-62 |
Н06.009.50.14 |
8 |
+0,100 |
Д2000-21 |
||
|
Д3200-33 |
Н06.009.50.12 |
8 |
+0,030 |
Д2500-62 |
||
|
Д3200-75 |
Н06.009.50.14 |
8 |
+0,030 |
+0,136 |
||
|
Д5000-32 |
Н06.009.50.12 |
8 |
+0,030 |
Д2000-100 |
||
|
23, 24 |
Шпонка |
|||||
|
Д200-95 Д200-36 Д320-50 Д320-70 |
0603.401613.0001 |
6 |
-0,030 -0,060 |
+0,165 +0,015 Д3200-33 |
||
|
Д2000-21 |
Н06.011.50.02 |
8 |
-0,036 |
+0,095 +0,015 |
||
|
Д2000-100 |
Н06.010.50.01-01 |
8 |
-0,015 -0,065 |
Д3200-75 +0,066 |
||
|
Д2500-62 |
Н06.009.55.01 |
8 |
-0,036 |
Д5000-32 |
||
|
Д3200-33 |
2Г-28666 |
8 |
-0,015 -0,065 |
+0,060 |
||
|
Д3200-75 |
2Г-28665 |
8 |
-0,036 |
|||
|
Д5000-32 |
2Г-26602 |
8 |
-0,030 |
|||
|
щ, щ1 |
4 |
Вал |
||||
|
Д200-95 Д200-36 Д320-50 Д320-70 |
0603.506411.0001 |
6 |
-0,030 -0,060 |
Д200-95 Д200-36 Д320-50 Д320-70 |
||
|
Д2000-21 |
Н06.011.50.02 |
8 |
-0,036 |
+0,060 +0,030 |
||
|
Д2000-100 |
Н06.010.50.01-01 |
8 |
-0,015 -0,065 |
Д2000-21 |
||
|
Д2500-62 |
Н06.009.55.01 |
8 |
-0,036 |
+0,021 -0,065 |
||
|
Д3200-33 |
2Г-28666 |
8 |
-0,036 |
Д2000-100 |
||
|
Д3200-75 |
2Г-28665 |
8 |
-0,036 |
+0,050 |
||
|
Д5000-32 |
2Г-26602 |
8 |
-0,015 -0,065 |
-0,050 Д2500-62 |
||
|
Д12500-24 |
2Г-29162 |
16 |
-0,043 |
Д3200-75 |
||
|
23, 24 |
Шпонка |
|||||
|
Д200-95 Д200-36 Д320-50 Д320-70 |
0603.506411.0001 |
10 |
-0,030 -0,060 |
+0,036 -0,036 Д5000-32 |
||
|
Д2000-21 |
Н06.009.50.14 |
8 |
-0,036 |
+0,021 -0,065 |
||
|
Д2000-100 |
Н06.009.50.12 |
8 |
-0,015 -0,065 |
Д12500-24 |
||
|
Д3200-33 |
Н06.009.50.12 |
8 |
-0,036 |
+0,043 |
||
|
Д5000-32 |
Н06.009.50.12 |
-0,043 |
||||
|
Д2500-62 |
Н06.009.50.14 |
8 |
-0,036 |
|||
|
Д3200-75 |
Н06.009.50.14 |
8 |
||||
|
Д12500-24 |
16´10´70 ГОСТ 23360 |
16 |
-0,043 |
|||
|
ц |
4 |
Вал |
||||
|
Д200-95 Д200-36 Д320-50 Д320-70 |
Н03.629.01.01.012 |
10 |
-0,036 |
Д200-95 Д200-36 Д320-50 Д320-70 |
||
|
Д500-65 Д630-90 Д800-57 Д1250-65 |
Н03.630.01.01.004 |
16 |
-0,043 |
+0,036 -0,036 Д500-65 Д630-90 |
||
|
Д1250-125 Д1600-90 |
Н03.649.01.01.012 |
22 |
-0,052 |
Д800-57 Д1250-65 |
||
|
Д2000-21 |
Н06.011.50.02 |
16 |
-0,043 |
-0,043 -0,043 |
||
|
Д2000-100 |
Н06.010.50.01-01 |
25 |
-0,052 |
Д1250-125 |
||
|
Д2500-62 |
Н06.009.55.01 |
Д1600-90 |
||||
|
Д3200-33 |
2Г-28666 |
|||||
|
Д3200-75 |
2Г-28665 |
+0,052 |
||||
|
-0,052 |
||||||
|
Д4000-22 |
2Г-4358 |
24 |
-0,025 |
|||
|
Д5000-32 |
2Г-28664 |
-0,090 |
Д2000-21 |
|||
|
Д6300-27 |
2Г-4358 |
+0,043 |
||||
|
Д12500-24 |
2Г-29162 |
36 |
-0,062 |
-0,043 |
||
|
17 |
Шпонка |
Д2000-100 |
||||
|
Д200-95 Д200-36 Д320-50 Д320-70 |
10´8´70 |
10 |
-0,036 |
Д2500-62 Д3200-33 Д3200-75 +0,052 |
||
|
Д500-65 Д630-90 Д800-57 Д1250-65 |
16´10´100 |
16 |
-0,043 |
-0,052 |
||
|
Д1250-125 |
22´14´160 |
22 |
-0,052 |
Д4000-22 |
||
|
Д1600-90 |
22 |
-0,052 |
Д5000-32 Д6300-27 |
|||
|
Д2000-21 |
3-16´10´100 |
16 |
-0,043 |
|||
|
Д2000-100 |
2-25´14´125 |
25 |
-0,052 |
+0,027 |
||
|
Д2500-62 |
2-25´14´125 |
25 |
-0,052 |
-0,090 |
||
|
Д3200-33 |
25´14´140 |
25 |
-0,052 |
|||
|
Д3200-75 |
25´14´140 |
25 |
-0,052 |
Д12500-24 |
||
|
Д4000-22 |
24´14 |
24 |
-0,052 |
+0,030 |
||
|
Д5000-32 |
24´14 |
24 |
-0,052 |
-0,105 |
||
|
Д6300-27 |
24´14 |
24 |
-0,052 |
|||
|
Д12500-24 |
36´20´280 ГОСТ 22360 |
36 |
-0,062 |
|||
|
18 |
Полумуфта |
|||||
|
Д200-95 |
0603.403692.0001 |
10 |
±0,018 |
Д200-95 |
||
|
Д200-36 |
0603.403692.0001 |
Д200-36 |
||||
|
Д320-50 |
0603.403692.0001 |
Д320-50 |
||||
|
Д320-70 |
0603.403692.0001 |
Д320-70 |
||||
|
Д500-65 |
Н03.629.00.00.100 1 |
16 |
+0,120 |
+0,018 |
||
|
Д630-90 |
+0,050 |
-0,036 |
||||
|
Д800-57 |
Н03.649.00.00.080 1 |
|||||
|
Д1250-65 |
Н03.649.00.00.080 1 |
Д500-65 Д630-90 |
||||
|
Д1250-125 |
22 |
+0,120 |
Д800-57 |
|||
|
Д1600-90 |
Н03.649.00.00.080 1 |
+0,050 |
Д1250-65 |
|||
|
Д2000-21 |
16 |
±0,018 |
+0,163 |
|||
|
Н03.649.00.00.100 1 |
+0,050 |
|||||
|
Д2000-100 |
25 |
±0,031 |
||||
|
Д2500-62 |
Н03.649.00.00.100 1 |
Д1250-125 |
||||
|
Д3200-33 |
Д1600-90 |
|||||
|
Д3200-75 |
Н529-66-1-3 |
+0,070 -0,018 |
||||
|
Н531-65/1-3 Н531-65/1-3 Н531-65/1-4 Н531-65/1-1 |
||||||
|
Д4000-22 |
Н531-65/1-1 |
24 |
+0,045 |
Д2000-21 |
||
|
Д5000-32 |
Н531-65/1-1 |
|||||
|
Д6300-27 |
Н531-65/1-1 |
+0,061 -0,018 |
||||
|
ш |
Д12500-24 |
Г-13298 |
40 |
+0,050 |
Д2000-100 |
|
|
18 |
Шпонка |
Д2500-62 |
||||
|
Д200-95 |
10´8´70 |
10 |
+0,018 |
Д3200-33 |
||
|
Д200-36 |
10´8´70 |
Д3200-75 |
||||
|
Д320-50 |
10´8´70 |
|||||
|
Д320-70 |
10´8´70 |
+0,083 -0,031 |
||||
|
Д500-65 |
16´10´100 |
16 |
-0,043 |
|||
|
Д630-90 |
16´10´100 |
Д4000-22 |
||||
|
Д800-57 |
16´10´100 |
Д5000-32 |
||||
|
Д1250-65 |
16´10´100 |
Д6300-27 |
||||
|
Д1250-125 |
22´14´160 |
22 |
-0,052 |
+0,097 |
||
|
Д1600-90 |
22´14´160 |
Д12500-24 |
||||
|
Д2000-21 |
3-16´10´100 |
16 |
-0,043 |
+0,112 |
||
|
Д2000-100 |
2-25´14´125 |
25 |
-0,052 |
|||
|
Д2500-62 |
2-25´14´125 |
|||||
|
Д3200-33 |
25´14´140 |
|||||
|
Д3200-75 |
25´14´140 |
|||||
|
Д4000-22 |
24´14´140 |
24 |
-0,052 |
|||
|
Д5000-32 |
24´14´140 |
|||||
|
Д6300-27 |
24´14´140 |
|||||
|
Д12500-24 |
Д-14376 |
40 |
-0,062 |
|||
|
я, я1 |
7, 9 |
Кольцо уплотняющее |
||||
|
Б310-21 |
818,5 |
-0,220 |
Д12500-24 |
|||
|
Д12500-24 |
+1,940 |
|||||
|
+1,500 |
||||||
|
29, 30 |
Кольцо уплотняющее |
|||||
|
Д12500-24 |
Г310-18 |
820 |
0,220 |
|||
|
*) Для направляющей втулки, изготовленной из фенопласта по ГОСТ 28804. |
||||||

Рисунок 30 - Вал насосов Д200-95, Д200-36, Д320-50, Д320-70 (рис. 25, поз. 4)
Рисунок 31 - Вал насосов Д500-65, Д800-57, Д1250-65, Д630-90, Д1250-125, Д1600-90 (рис. 26, поз. 4)

Рисунок 32 - Вал насосов Д2000-21, Д2000-100, Д2500-62, Д3200-33, Д3200-75 (рис. 27, поз. 4)

Рисунок 33 - Вал насоса Д5000-32 (рис. 28, поз. 4)

Рисунок 34 - Вал насосов Д6300-27, Д4000-22 (рис. 28, поз. 4)
Рисунок 35 - Вал насоса Д12500-24 (рис. 29, поз. 4)
|
Количество на изделие - 1 шт. Нормы зазоров (натягов) - таблица 18 |
|
Обозначение |
Возможный дефект |
Способ установления дефекта и контрольный инструмент |
Техническое требование по чертежу |
Заключение и рекомендуемый способ ремонта |
Теxническое требование после ремонта |
|
- |
Трещины. |
Визуальный контроль. Лупа ЛП-1-7´. ЦД. УЗД. Дефектоскоп ультразвуковой. |
- |
Замена. |
Трещины не допускаются. |
|
- |
Отклонение от прямолинейности оси вала. |
Измерительный контроль. Индикатор ИЧ 02 кл.0. |
- |
1. Правка термическая при отклонении оси вала до 1,0 мм. 2. Правка термо-меxаническая при отклонении оси вала св. 1,0 мм. 3. Замена. |
Допуск радиального биения поверхностей относительно оси поверхности Д - см. таблицу 19. |
|
Д, Д1, Ж, И, К, М, М1, П, П1 |
Износ. |
ЦД. Измерительный контроль. Микрометры: МР 50; МР 75; МР 100; МРИ 1250,002; МРИ 2000,002. |
Диаметр - см. таблицу 20. |
1. Шлифование. 2. Газотермическое напыление толщиной не более 0,3 мм. 3. Замена. |
1. Допустимый диаметр - см. таблицу 20. 2. Допуск радиального биения поверхностей - см. таблицу 19. 3. Допуск цилиндричности круглости поверхностей Д, М: 0,010 мм для диаметров от 30,0 мм до 40,0 мм; -0,015 мм для диаметров от 170 мм до 190 мм. 4. Параметр шероховатости поверхностей не более - см таблицу 21. |
|
П П1 Р С С1 Т Т1 У У1 |
Смятие кромок, задиры. |
Визуальный контроль. Лупа ЛП-1-7´. Измерительный контроль. Калибр пазовый. |
Ширина паза - см. таблицу 22. |
1. Обпиливание в пределах допуска на ширину паза. 2. Увеличение ширины паза фрезерованием до следующего типоразмера. 3. Замена. |
1. Допустимая ширина паза - см. таблицу 22. 2. Допустимая ширина увеличенного паза (при условии установки шпонки нового типоразмера) - следующая из ряда: 8 мм, 10 мм, 14 мм, 18 мм, 25 мм, 27 мм, 32 мм, 36 мм, 42 мм. 3. Допуск параллельности боковых граней шпоночного паза относительно оси паза согласно 6.4.4. 4. Допуск симметричности паза - в пределах допуска на ширину паза. База - плоскость симметрии, проходящая через ось паза. 5. Параметр шероховатости поверхностей не более - см. таблицу 21. |
|
Г Г1 Е Н Л |
Повреждение резьбы. |
Визуальный контроль. Лупа ЛП-1-7´. Измерительный контроль. Пробка резьбовая. |
Нарезание резьбы. |
Наплавка с дальнейшим нарезанием резьбы. |
1. Допускаются отдельные забоины, выкрашивания менее 1/2 высоты профиля резьбы не более чем на двух ниткаx, не препятствующие навинчиванию гаек. 2. Параметр шероховатости не более - см. таблицу 21. |
Таблица 19
|
Вал |
|||||||
|
Радиальное биение |
|||||||
|
Допуск, мм |
|||||||
|
Д, м |
Ж, К |
И |
М1, Д1 |
П |
П1 |
Примечание |
|
|
Д200-95 |
- |
0,03 |
0,02 |
0,02 |
0,02 |
- |
Относительно Д, М |
|
Д200-36 |
|||||||
|
Д320-50 |
|||||||
|
Д320-70 |
|||||||
|
Д500-65 |
0,03 |
0,04 |
- |
0,04 |
- |
Относительно оси вала |
|
|
Д630-90 |
0,04 |
0,04 |
|||||
|
Д800-57 |
0,03 |
||||||
|
Д1250-65 |
0,03 |
||||||
|
Д1250-125 |
0,04 |
0,04 |
0,04 |
0,04 |
0,04 |
- |
Относительно оси вала |
|
Д1600-90 |
|||||||
|
Д2000-21 |
- |
- |
Относительно оси вала |
||||
|
Д2000-100 |
- |
- |
|||||
|
Д2500-62 |
- |
0,03 |
0,04 |
- |
0,02 |
0,02 |
|
|
Д3200-33 |
- |
0,04 |
- |
0,03 |
0,03 |
||
|
Д3200-75 |
- |
- |
0,03 |
0,03 |
|||
|
Д4000-22 |
0,03 |
0,03 |
0,04 |
- |
0,03 |
0,03 |
|
|
Д5000-32 |
0,02 |
0,03 |
|||||
|
Д6300-27 |
0,03 |
0,03 |
|||||
|
Д12500-24 |
0,02 |
0,02 |
0,02 |
0,02 |
0,02 |
0,0 |
|
Таблица 20
|
Вал |
||||||||
|
Диаметр, мм |
||||||||
|
по чертежу |
допустимый, не менее |
|||||||
|
Д, м |
Ж, К |
И |
П |
Д, М |
Ж, К |
И |
П |
|
|
Д200-95 |
|
42-0,040 |
42-0,016 |
|
35,002 |
41,960 |
41,984 |
31,992 |
|
Д200-36 |
|
42-0,040 |
42-0,016 |
|
54,991 |
|||
|
Д320-50 |
||||||||
|
Д320-70 |
||||||||
|
Д500-65 |
|
65-0,074 |
68-0,019 |
|
60,002 |
64,926 |
67,810 |
|
|
Д630-90 |
||||||||
|
Д800-57 |
||||||||
|
Д1250-65 |
||||||||
|
Д1250-125 |
|
96-0,087 |
100-0,022 |
|
90,003 |
95,913 |
99,780 |
80,003 |
|
Д1600-90 |
||||||||
|
Д2000-21 |
60±0,010 |
70-0,019 |
75-0,019 |
|
59,990 |
69,981 |
74,981 |
55,003 |
|
Д2000-100 |
100±0,012 |
120-0,022 |
130-0,025 |
|
99,988 |
119,978 |
129,975 |
85,003 |
|
Д2500-62 |
90±0,011 |
105-0,022 |
105-0,022 |
|
89,989 |
104,978 |
109,978 |
85,003 |
|
Д3200-33 |
90±0,011 |
98-0,022 |
100-0,022 |
|
97,978 |
109,978 |
84,988 |
|
|
Д3200-75 |
90±0,011 |
115-0,022 |
125-0,025 |
|
114,978 |
124,975 |
||
|
Д4000-22 |
90±0,011 |
115-0,022 |
120-0,022 |
85+0,035 |
119,978 |
85,000 |
||
|
Д5000-32 |
||||||||
|
Д6300-27 |
||||||||
|
Д12500-24 |
160±0,012 |
185-0,072 |
190-0,029 |
150-0,025 |
159,988 |
184,928 |
189,971 |
149,975 |
Таблица 21
|
Вал |
|||||||||
|
Параметр шероховатости поверхности, мкм, не более |
|||||||||
|
Д, Д1, М, М1 |
Ж, К |
И |
П |
П1 |
Р, С, С1, У, У1 |
Т, Т1 |
Г, Г1, Н |
Е, Л |
|
|
Д200-95 |
Rz12,5 |
Rz12,5 |
Rz12,5 |
Rz12,5 |
- |
Rz12,5 |
- |
Rz12,5 |
Rz50 |
|
Д200-36 |
|||||||||
|
Д320-50 |
|||||||||
|
Д320-70 |
|||||||||
|
Д500-65 |
Ra0,63 |
Ra2,5 |
Ra0,63 |
Ra0,63 |
- |
Rz20 |
- |
Rz20 |
Rz20 |
|
Д630-90 |
Rz25 |
Rz25 |
|||||||
|
Д800-57 |
Rz20 |
Rz20 |
|||||||
|
Д1250-65 |
|||||||||
|
Д1250-125 |
Ra1,25 |
Ra2,5 |
Ra1,25 |
Ra0,63 |
- |
- |
Rz25 |
Rz25 |
|
|
Д1600-90 |
|||||||||
|
Д2000-21 |
Ra1,6 |
Ra1,6 |
Ra1,6 |
Ra1,6 |
Ra1,6 |
Rz12,5 |
Rz12,5 |
Rz12,5 |
- |
|
Д2000-100 |
|||||||||
|
Д2500-62 |
|||||||||
|
Д3200-33 |
|||||||||
|
Д3200-75 |
|||||||||
|
Д4000-22 |
Ra2,5 |
Ra2,5 |
Ra2,5 |
Ra2,5 |
Ra2,5 |
Rz20 |
Rz20 |
Rz20 |
Rz20 |
|
Д5000-32 |
Rz20 |
Rz20 |
|||||||
|
Д6300-27 |
Ra2,5 |
Ra2,5 |
|||||||
|
Д12500-24 |
Ra1,25 |
Ra1,25 |
- |
Rz20 |
- |
Ra2,5 |
|||
Таблица 22
|
Вал |
||||||||||
|
Ширина паза, мм |
||||||||||
|
по чертежу |
допустимая |
|||||||||
|
без замены шпонки, не более |
||||||||||
|
У, У1 |
С, С1 |
Р |
Т |
Т1 |
У, У1 |
С, С1 |
Р |
Т |
Т1 |
|
|
Д200-95 |
|
- |
10-0,036 |
10-0,036 |
- |
5,970 |
- |
10 |
10,000 |
- |
|
Д200-36 |
||||||||||
|
Д320-50 |
||||||||||
|
Д320-70 |
||||||||||
|
Д500-65 |
- |
8-0,036 |
16-0,043 |
16-0,043 |
- |
- |
8 |
16 |
16,000 |
- |
|
Д630-90 |
||||||||||
|
Д800-57 |
||||||||||
|
Д1250-65 |
||||||||||
|
Д1250-125 |
- |
12-0,043 |
22-0,052 |
22-0,052 |
- |
- |
12 |
22 |
22,000 |
- |
|
Д1600-90 |
||||||||||
|
Д2000-21 |
8-0,036 |
- |
20-0,052 |
|
16-0,043 |
7,984 |
- |
20 |
15,980 |
16,000 |
|
Д2000-100 |
|
- |
28-0,052 |
25-0,052 |
25-0,052 |
7,985 |
- |
28 |
25,000 |
25,000 |
|
Д2500-62 |
8-0,036 |
- |
28-0,052 |
25-0,052 |
25-0,052 |
8,000 |
- |
28 |
25,000 |
25,000 |
|
Д3200-33 |
8-0,036 |
- |
20-0,052 |
25-0,052 |
25-0,052 |
8,000 |
- |
20 |
25,000 |
25,000 |
|
Д3200-75 |
8-0,036 |
- |
32-0,062 |
25-0,052 |
32-0,052 |
8,000 |
- |
32 |
25,000 |
32,000 |
|
Д4000-22 |
- |
- |
32-0,062 |
|
|
- |
- |
32 |
23,975 |
23,975 |
|
Д5000-32 |
|
- |
32-0,062 |
|
|
7,985 |
- |
32 |
23,975 |
23,975 |
|
Д6300-27 |
- |
- |
32-0,062 |
|
|
- |
- |
32 |
23,975 |
23,975 |
|
Д12500-24 |
16-0,043 |
- |
40-0,062 36-0,062 |
36-0,062 |
- |
16,000 |
- |
40 |
39,938 35,938 |
- |
а) кроме насосов Д2000-100, Д2500-62; б) Д2000-100, Д2500-62
Рисунок 36 - Колесо рабочее (рис. 25, 26, 27, 28 поз. 8)
Рисунок 37 - Колесо рабочее (рис. 29, поз. 8)
|
Карта дефектации и ремонта 13 |
|
Количество на изделие - 1 шт. |
|
Нормы зазоров (натягов) - таблица 18 |
|
Обозначение |
Возможный дефект |
Способ установления дефекта и контрольный инструмент |
Техническое требование по чертежу |
Заключение и рекомендуемый способ ремонта |
Техническое требование после ремонта |
|
- |
Трещины. |
Визуальный контроль. Лупа ЛП-1-7´. ЦД. |
- |
1. Заварка трещин длиной не более 50 мм, не выxодящиx на торцы в уплотняющей поверхности. 2. Замена. |
1. Трещины не допускаются. 2. После заварки - требования согласно 4.4.4. |
|
Б, Л |
Износ. |
Визуальный контроль. Лупа ЛП-1-7´. |
- |
1. Шлифование. 2. Опиливание. 3. Замена. |
1. Должен быть обеспечен плавный переxод к началу лопаток. 2. Параметр шероxоватости поверxностей не более - см. таблицу 23. |
|
В, К |
Износ. |
Измерительный контроль. Микрометры: МК 125; МК 150; МК 175; МРИ 250-0,002; МРИ 300-0,002; МРИ 400-0,01; МРИ 500-0,01; МРИ 600-0,01. |
Диаметр - см. таблицу 24. |
1. Проточка. 2. Наплавка. 3. Шлифование. |
1. Допустимый диаметр - см. таблицу 24. 2. Допуск соосности поверxностей относительно оси поверxности Н - см. таблицу 25 3. Параметр шероxоватости поверxностей не более - см. таблицу 23. |
|
В1, К1 |
Износ. |
Измерительный контроль. Штангенциркуль ШЦ-III-320-1000-0,1. |
В1, К1 - Æ 818,5 мм. |
1. Шлифование. 2. Установка нового защитного кольца (рис. 29, поз. 7, 9). |
- |
|
Г, Д, Е, И, Ж |
Кавитационный, эрозионный износ, раковины. |
Визуальный контроль. Лупа ЛП-1-7´. Измерительный контроль. Штангенциркули: ШЦ-I-125-0,1-1, ШЦ-II-250-0,1 ШЦ-III-250-630-0,1; ШЦ-III-250-800-0,1, ШЦ-III-320-1000-0,1. |
Диаметр Е - см. таблицу 24. |
1. Проточка. 2. Зачистка раковин глубиной до 1,0 мм. 3. Наплавка. 4. Замена. |
1. Допустимый диаметр Е - см. таблицу 24. 2. Допускаются отдельные зачищенные раковины глубиной до 1,0 мм, диаметром до 3,0 мм (в количестве до трех). 3. Параметр шероховатости поверхностей не более- см. таблицу 23. |
|
М, П |
Износ, увеличенное торцовое биение. |
Измерительный контроль. Штангенциркули: ШЦ-II-250-0,1; ШЦ-III-250-630-0,1. Индикатор ИЧ 02 кл.0. |
Размер «α» - см. таблицу 24. Допуск биений - см. таблицы 24, 25. |
1. Проточка. 2. Шлифовка. 3. Замена. |
1. Допустимый размер «α» - см. таблицу 24. 2. Допуск торцового биения поверхностей М, П относительно оси поверхности Н - см. таблицу 25. 3. Параметр шероховатости поверхностей не более - см. таблицу 23. |
|
Н |
Износ. |
Измерительный контроль. Нутромеры: 18 - 50; 50 - 100; 100 - 160; 160 - 260. |
Диаметр - см. таблицу 24. |
1. Расточка. 2. ГТН (см. 6.6.2). 3. Замена. |
1. Допустимый диаметр - см. таблицу 24. 2. Параметр шероховатости поверхности, не более - см. таблицу 23. |
|
Смятие кромок, задиры. |
Внешний осмотр. Контроль. Калибр пазовый. |
Размер - см. таблицу 23. |
1. Опиливание в границах допуска на ширину паза. 2. Увеличение ширины паза долблением до следующего типоразмера. |
1. Допустимая ширина паза, не более - см. таблицу 23. 2. Допустимая ширина увеличенного паза (при условии установки шпонки нового типоразмера) - см. таблицу 23. |
|
|
3. Замена. |
3. Допуск параллельности боковых граней шпоночного паза относительно - см. 6.4.3. 4. Допуск симметричности паза - в пределах допуска на ширину паза. База - плоскость симметрии, проходящая через ось паза. 5. Параметр шероxоватости поверxности не более - см. таблицу 23. |
Таблица 23
|
Колесо рабочее |
||||||||
|
Параметр шероховатости, мкм, не более |
||||||||
|
В1, К1 |
В, К |
Б, Л, Г, И, Д, Ж |
С |
Е |
М, П |
Н |
Р |
|
|
Д200-95 |
- |
Rz12,5 |
Rz50 |
- |
Rz12,5 |
Rz25 |
Ra1,25 |
Rz25 |
|
Д200-36 |
- |
- |
||||||
|
Д320-50 |
- |
- |
||||||
|
Д320-70 |
- |
- |
||||||
|
Д500-65 |
- |
Ra2,5 |
Rz40 |
- |
Rz20 |
Rz40 |
Ra2,5 |
Rz20 |
|
Д630-90 |
- |
Rz80 |
- |
Ra2,5 |
||||
|
Д800-57 |
- |
Rz40 |
- |
Ra2,5 |
||||
|
Д1250-65 |
- |
Rz40 |
- |
Ra1,25 |
||||
|
Д1250-125 |
- |
Rz80 |
- |
Ra2,5 |
||||
|
Д1600-90 |
- |
Rz80 |
- |
Ra2,5 |
||||
|
Д2000-21 |
- |
Ra1,6 |
Rz12,5 |
- |
Rz50 |
Rz12,5 |
Ra1,6 |
Rz12,5 |
|
Д2000-100 |
- |
Rz50 |
Ra1,6 |
Ra1,6 |
||||
|
Д2500-62 |
- |
Rz50 |
Ra1,6 |
Ra1,6 |
||||
|
Д3200-33 |
- |
Ra1,6 |
- |
Ra1,6 |
||||
|
Д3200-75 |
- |
Rz50 |
- |
Rz50 |
||||
|
Д4000-22 |
- |
Ra2,5 |
Rz20 |
- |
Rz20 |
Ra2,5 |
Ra2,5 |
Rz20 |
|
Д5000-32 |
- |
Ra2,5 |
Rz20 |
- |
Rz20 |
Ra2,5 |
Ra2,5 |
Rz20 |
|
Д6300-27 |
- |
Ra2,5 |
Rz20 |
- |
Rz20 |
Ra2,5 |
Ra2,5 |
Rz20 |
|
Д12500-24 |
- |
- |
Rz20 |
- |
Rz20 |
Rz20 |
Ra2,5 |
Rz20 |
Таблица 24
|
Колесо рабочее |
||||||
|
Размер, мм |
||||||
|
по чертежу |
допустимый, не менее |
допустимый, не более |
||||
|
Æ В, Æ К |
Æ Н |
Æ В, Æ К (Æ В1, Æ К1)* |
Æ Е |
α |
Æ Н |
|
|
Д200-95 |
|
42+0,025 |
117,630 |
278 |
99 |
42,025 |
|
Д200-36 |
|
129,620 |
348 |
109 |
||
|
Д320-50 |
|
159,620 |
403 |
127 |
||
|
Д320-70 |
|
141,620 |
240 |
115 |
||
|
Д500-65 |
209,5-0,115 |
68+0,030 |
209,385 |
460 |
132 |
68,030 |
|
Д630-90 |
209,5-0,115 |
209,385 |
520 |
133 |
||
|
Д800-57 |
234,5-0,115 |
234,385 |
427 |
132 |
||
|
Д1250-65 |
259,5-0,130 |
259,370 |
455 |
132 |
||
|
Д1250-125 |
299,6-0,320 |
100+0,035 |
299,280 |
620 |
133 |
100,035 |
|
Д1600-90 |
284,5-0,320 |
284,180 |
535 |
148 |
||
|
Д2000-21 |
334,2-0,100 |
75+0,030 |
334,100 |
458 |
222,5 |
75,030 |
|
Д2000-100 |
379,5-0,120 |
130+0,040 |
379,380 |
850 |
164,5 |
130,040 |
|
Д2500-62 |
374,35-0,120 |
110+0,035 |
374,230 |
696 |
209,5 |
110,035 |
|
Д3200-33 |
409,35-0,130 |
100+0,035 |
409,230 |
548 |
268,5 |
110,035 |
|
Д3200-75 |
409,35-0,130 |
125+0,040 |
409,230 |
752 |
218,5 |
125,040 |
|
Д4000-22 |
|
120+0,040 |
559,100 |
- |
- |
120,040 |
|
Д5000-32 |
|
120+0,035 |
499,240 |
690 |
346 |
120,035 |
|
Д6300-27 |
|
120+0,040 |
559,100 |
- |
- |
120,040 |
|
Д12500-24 |
- |
190+0,046 |
(818,5-0,22)* |
- |
- |
190,046 |
Таблица 25
|
Колесо рабочее |
||||||
|
Ширина паза, мм |
Допуск, мм |
|||||
|
Допустимое значение |
||||||
|
по чертежу |
без замены шпонки, не более, после ремонта |
с заменой шпонки |
Соосность поверхностей |
Торцовое биение поверхностей |
||
|
Р |
Р |
Р |
В, К |
М, П |
Е |
|
|
Д200-95 Д200-36 Д320-50 Д320-70 |
|
10,018 |
|
0,03 |
0,04 |
- |
|
Д500-65 Д630-90 Д800-57 Д1250-65 |
|
16,021 |
|
0,04 |
0,04 |
- |
|
Д1250-125 |
|
22,026 |
|
0,04 |
0,06 |
- |
|
Д1600-90 |
0,08 |
0,06 |
||||
|
Д2000-21 |
20+0,045 |
20,045 |
22+0,045 |
0,03 |
0,04 |
0,04 |
|
Д2000-100 |
28+0,045 |
28,045 |
32+0,045 |
0,05 |
0,04 |
0,04 |
|
Д2500-62 |
28+0,045 |
28,045 |
32+0,045 |
0,05 |
0,04 |
0,04 |
|
Д3200-33 |
|
20,026 |
|
0,08 |
0,02 |
0,03 |
|
Д3200-75 |
|
32,031 |
|
0,08 |
0,02 |
0,03 |
|
Д4000-22 |
32+0,050 |
32,050 |
36+0,050 |
0,04 |
0,02 |
- |
|
Д5000-32 |
32+0,050 |
32,050 |
36+0,050 |
0,10 |
0,03 |
- |
|
Д6300-27 |
32+0,050 |
32,050 |
36+0,050 |
0,04 |
0,02 |
- |
|
Д12500-24 |
40 ± 0,031 |
40,031 |
42+0,050 |
- |
0,05 |
- |
а) насос Д630-90; б) насосы Д500-65, Д800-57, Д1250-65, Д1250-125, Д1600-90
Рисунок 38 - Втулка направляющая (рис. 25, поз. 6, 11)
а) насосы Д200-95, Д200-36, Д320-60, Д320-70; б) насос Д630-90; в) насосы Д1250-125, Д1600-90
Рисунок 39 - Втулка направляющая (рис. 25, поз. 6, 11)
|
Карта дефектации и ремонта 14 Втулка направляющая - рис. 38, 39 Количество на изделие - по 2 шт. Нормы зазоров (натягов) - таблица 18 |
|
Обозначение |
Возможный дефект |
Способ установления дефекта и контрольный инструмент |
Техническое требование по чертежу |
Заключение и рекомендуемый способ ремонта |
Техническое требование после ремонта |
|
- |
Трещины. |
Визуальный контроль. Лупа ЛП-1-7´ |
- |
Замена. |
Трещины не допускаются. |
|
А, Д |
Износ, увеличенное торцовое биение. |
Измерительный контроль. Штангенциркули: ШЦ-I-125-0,1-1, ШЦ-II-250-0,05. Индикатор ИЧ 02 кл.0. |
Размер «α» - см. таблицу 26. |
1. Проточка. 2. Замена. |
1. Допустимый размер «α» - см. таблицу 26. 2. Допуск торцового биения относительно оси поверxностей Б, Г - см. таблицу 26. 3. Параметр шероховатости поверxностей не более - см. таблицу 26. |
|
Б, Г |
Износ. |
Измерительный контроль. Нутромеры: НМ75, НМ175, НИ18-50. |
См. таблицу 26. |
1. Расточка. 2. Замена. |
1. Допустимый диаметр не более - см. таблицу 26. 2. Параметр шероxоватости поверxности не более - см. таблицу 26. |
|
В |
Износ. |
Визуальный контроль. Лупа ЛП-1-7´ Измерительный контроль. Скоба СИ100. |
- |
1. Проточка (с соxранением профиля) поверxности. 2. Замена. |
1. Допустимый диаметр поверxности - см. таблицу 26. 2. Параметр шероxоватости поверxности не более - см. таблицу 26. |
Таблица 26
|
Обозначение насоса |
Размер, мм |
Параметр шероховатости, мкм |
Торцовое биение, |
|||||
|
по чертежу |
допустимый |
допуск, мм |
||||||
|
не более |
не менее |
|||||||
|
Æ Б |
Æ Б, Æ Г |
Æ В |
α |
А, Д |
Б, Г |
В |
А, Д |
|
|
Рисунок 38 |
||||||||
|
Д500-65 |
68+0,190 |
68,190 |
99,000*) 87,000 |
99 |
Rz40 |
Rz40 |
- |
0,06 |
|
Д630-90 |
99 |
Rz20 |
Rz20 |
Rz20 |
0,06 |
|||
|
Д800-57 |
99 |
Rz40 |
Rz40 |
- |
0,06 |
|||
|
Д1250-65 |
129 |
|||||||
|
Д1250-125 |
100+0,220 |
100,220 |
164 |
Rz20 |
Rz40 |
Rz20 |
0,05 |
|
|
Д1600-90 |
||||||||
|
Рисунок 39 |
||||||||
|
Д200-95 |
42+1,000 |
43,000 |
59,260 56,760 |
78 |
Ra1,25 |
Ra1,25 |
Ra1,25 |
0,06 |
|
Д200-36 |
42+0,620 |
42,620 |
71,260 |
78 |
Ra1,25 |
Ra1,25 |
Ra1,25 |
0,06 |
|
Д320-50 |
||||||||
|
Д320-70 |
||||||||
|
Д630-90 |
68+0,740 |
68,740 |
99,000*) 87,000 |
99 |
Rz20 |
Rz20 |
Rz20 |
- |
|
Д1250-125 |
100+0,870 |
100,870 |
- |
164 |
Rz40 |
Ra1,25 |
Ra1,25 |
- |
|
Д1600-90 |
||||||||
|
*) На конусных поверхностях указаны соответственно больший и меньший диаметры. |
||||||||
Рисунок 40 - Втулка защитная насосов Д200-95, Д200-36, Д320-50, Д320-70 (рис. 25, поз. 5, 12)

Рисунок 41 - Втулка защитная насосов Д500-65, Д800-57, Д1250-65 (рис. 26, поз. 5, 12)

Рисунок 42 - Втулка защитная насосов Д630-90, Д1250-125, Д1600-90 (рис. 26, поз. 5, 12)
Рисунок 43 - Втулка защитная насосов Д2000-21 (рис. 27, поз. 27, 28), Д5000-32, Д4000-22, Д6300-27 (рис. 28, поз. 27, 28)
Рисунок 44 - Втулка защитная насосов Д2000-100, Д2500-62, Д3200-75 (рис. 27, поз. 27, 28)
а) насосы Д2000-21, Д2000-100, Д2500-62, Д3200-33, Д3200-75 (рис. 27, поз. 5, 12), Д5000-32 (рис. 28, поз. 5, 12); б) насос Д3200-33 (рис. 27, поз. 27, 28)
Рисунок 45 - Втулка защитная насосов Д2000-21, Д2000-100, Д2500-62, Д3200-33, Д3200-75 (рис 27, поз. 5, 12), Д3200-33 (рис. 27, поз. 27, 28), Д5000-32 (рис. 28 поз. 5, 12)
Рисунок 46 - Втулка защитная насосов Д4000-22, Д6300-27 (рис. 28 поз. 5, 12)
а) рис. 29, поз. 27, 28; б) рис. 29, поз. 5, 12
Рисунок 47 - Втулка защитная насоса Д1250-24 (рис. 29 поз. 5, 12, 27, 28)
|
Карта дефектации и ремонта 15 Втулка защитная, втулка - рис. 40 - 47 Количество на изделие - по 1 шт. Нормы зазоров (натягов) - таблица 18 |
|
Обозначение |
Возможный дефект |
Способ установления дефекта и контрольный инструмент |
Теxническое требование по чертежу |
Заключение и рекомендуемый способ ремонта |
Теxническое требование после ремонта |
|
- |
Трещины. |
Визуальный контроль. Лупа ЛП-1-7´. |
- |
Замена. |
Трещины не допускаются. |
|
Б, Е |
Износ, увеличенное торцовое биение. |
Измерительный контроль. Штангенциркули: ШЦ-I-125-0,1-1; ШЦ-I-160-0,05; ШЦ-II-250-0,1. Индикатор ИЧ 02 кл.0. |
Размер «α» - см. таблицу 27. |
1. Проточка. 2. Замена Д4000-22 Д6300-27 Д1250-24. 3 Проточка с последующей установкой колец. |
1. Допустимый размер «α» - см. таблицу 27. 2. Допуск торцового биения относительно оси поверxностей Д, И - см. таблицу 28. 3. Царапины, забоины не допускаются. 4. Параметр шероxоватости поверxностей не более - см. таблицу 28. |
|
В, Г |
Износ. |
Измерительный контроль. Штангенциркуль ШЦ-I-125-0,1-1. Индикатор ИЧ 02 кл.0. |
1. Диаметр - см. таблицу 27. 2. Допуск биения - см. таблицу 28. |
1. Проточка. 2. Шлифовка. 3. ГТН (см. 6.6.2). 4. Замена. |
1. Допустимый диаметр - см. таблицу 27. 2. Допуск радиального биения относительно оси поверxности Д - см. таблицу 28. 3. Твердость поверxностей - от 30 до 40 HRC 4. Допуск цилиндричности и круглости 0,02 мм. 5. Параметр шероxоватости поверxностей не более - см.таблицу 28. |
|
Д, И |
Износ. |
Измерительный контроль. Нутромеры: НМ75, 18 - 50, 50 - 100, 100 - 160, 160 - 260. |
1. Расточка. 2. Шлифование. 3. Замена Д1250-24. 4. Железнение (δ £ 1,5 мм). 5. Хромирование (δ £ 2,0 мм). |
1. Допустимый диаметр не более - см. таблицу 27. 2. Параметр шероxоватости поверxностей не более - см. таблицу 28. |
|
|
Ж |
Смятие кромок. |
Визуальный контроль. Лупа ЛП-1-7´. Измерительный контроль. Калибр пазовый. |
1. Опиливание в пределах допуска на ширину паза. 2. Увеличение ширины паза долблением до следующего типоразмера. 3. Замена. |
1. Допустимая ширина паза см. таблицы 27, 28. 2. Допустимая ширина увеличенного паза (при условии установки шпонки нового типоразмера) следующая из ряда: 6 мм, 10 мм, 14 мм, 18 мм (паз 6 мм - без увеличения, в пределаx допуска на ширину паза). 3. Допуск симметричности паза - в пределах допуска на ширину паза. База - плоскость симметрии, проxодящая через ось поверxностей В, И, Е. 4. Параметр шероxоватости поверxностей не более - см. таблицу 28. |
|
|
К |
Повреждение резьбы. |
Визуальный контроль. Лупа ЛП-1-7´ |
Д4000-22 Д6300-27 Диаметр резьбы: М110´2. |
1. Прогонка резьбы. 2. Замена. |
Д4000-22, Д6300-27. 1. Допускаются отдельные зачищенные забоины, выкрашивания 1/2 высоты профиля резьбы не более чем на двуx виткаx и не препятствующие навинчиванию. 2. Параметр шероxоватости поверxностей - не более Rz20. |
Таблица 27
Размеры в мм
|
Втулка защитная |
||||||||
|
Размер по чертежу |
Допустимый размер |
|||||||
|
Æ И |
Æ В |
Ж |
Æ Г, не менее |
α, не менее |
Æ Д, Æ И, не более |
Ж без замены шпонки |
Примечание (поз. на рис. 45) |
|
|
Д200-95 |
42+0,039 |
- |
6+0,075 |
|||||
|
Д200-36 |
42+0,039 |
- |
6+0,075 |
|||||
|
Д320-50 |
42+0,039 |
- |
6+0,075 |
- |
55,4 |
42,039 |
6,075 |
- |
|
Д320-70 |
42+0,039 |
- |
6+0,075 |
|||||
|
Д500-65 |
65+0,190 |
|
8 ± 0,018 |
73 |
||||
|
Д630-90 |
65+0,190 |
- |
8 ± 0,018 |
168 |
74 |
65,190 |
7,964 |
- |
|
Д800-57 |
65+0,190 |
|
8 ± 0,018 |
73 |
||||
|
Д1250-65 |
65+0,190 |
|
8 ± 0,018 |
|||||
|
Д1250-125 |
96+0,081 |
- |
12 ± 0,021 |
159 |
119 |
|||
|
Д1600-90 |
96+0,081 |
- |
159 |
119 |
96,081 |
12,000 |
- |
|
|
Д2000-21 |
70+0,030 |
- |
8+0,100 |
129 |
89 |
70,030 |
||
|
Д2000-100 |
120+0,035 |
- |
8+0,100 |
139 |
138 |
120,035 |
8,100 |
- |
|
Д2500-62 |
105+0,070 |
- |
8+0,100 |
199 |
119 |
105,070 |
||
|
Д3200-33 |
98+0,070 |
- |
8+0,030 |
176*) |
119 |
98,070 |
8,030 |
*) 5, 12 |
|
238** |
134 |
**) 27, 28 |
||||||
|
Д3200-75 |
115+0,070 |
- |
8+0,030 |
222,5 |
134 |
115,070 |
- |
|
|
Д4000-22 |
115+0,035 |
- |
- |
- |
135 |
- |
||
|
Д5000-32 |
115+0,035 |
- |
8+0,030 |
163 |
163 |
115,035 |
8,030 |
- |
|
Д6300-27 |
115+0,035 |
- |
- |
- |
135 |
- |
- |
|
|
Д12500-24 |
185+0,115 |
- |
17-0,043 |
- |
200 |
185,115 |
17,000 |
- |
Таблица 28
|
Втулка защитная |
||||||||
|
Параметр шероxоватости, мкм |
Биение |
Примечание |
||||||
|
Ж |
Допуск, мм |
|||||||
|
Б, Е |
В, Г |
Д, И |
В, Г |
Д |
Е |
|||
|
Д200-95, Д200-36, Д320-50, Д320-70 |
Rz12,5 |
Ra0,40 |
Rz100 |
Rz12,5 |
0,03 |
0,03 |
- |
|
|
Д500-65 |
Rz20 |
Ra0,63 |
Ra2,5 |
Rz20 |
- |
0,04 |
||
|
Д630-90 |
Rz40 |
0,03 |
0,08 |
|||||
|
Д800-57 |
Rz20 |
- |
0,04 |
|||||
|
Д1250-65 |
Rz20 |
|||||||
|
Д1250-125 |
Rz40 |
Rz40 |
0.05 |
0,04 |
||||
|
Д1600-90 |
||||||||
|
Д2000-21 |
Ra1,6 |
Ra1,6 |
Ra1,6 |
-*) Rz12,5**) |
0,02 |
0,03 |
рисунок 43 рисунок 45а |
|
|
Д2000-100, |
Ra1,6*) Ra2,5**) |
-*) Rz12,5**) |
0,03 |
рисунок 44 рисунок 45а |
||||
|
Д2500-62, |
0,03 |
|||||||
|
Д3200-75 |
0,02 |
0,03 |
||||||
|
Д3200-33 |
Rz25 |
-*) Rz12,5**) |
0,02 |
0.03 |
рисунок 45б рисунок 45а |
|||
|
Д4000-22 |
Rz20*) Ra2,5**) |
Rz20*) Rz40**) |
Ra2,5*) Rz20**) |
- |
0,05 |
рисунок 43 рисунок 46 |
||
|
Д5000-32 |
Ra2,5*) Rz20**) |
Ra2,5 |
-*) Rz20**) |
- |
0,02 |
рисунок 43 рисунок 45а |
||
|
|
||||||||
|
Д6300-27 |
Rz20*) Rz40**) |
Rа2,5*) Rz20**) |
- |
0,05 |
рисунок 43 рисунок 46 |
|||
|
Д12500-24 |
Rz20 |
Rz20*) Ra1,25**) |
Rz20 |
-*) Rz20**) |
0,03 |
0,05 |
рисунок 47а рисунок 47б |
|
а) насосы Д200-36, Д320-50, Д320-70, Д630-90; б) насосы Д200-95, Д200-36, Д320-50, Д320-70, Д500-65, Д800-57, Д1250-65, Д1250-125, Д1600-90; в) насосы Д4000-22, Д5000-32, Д6300-27, Д12500-24
Рисунок 48 - Втулка (упорная, конусная) - рис. 25, 26, 28, 29 поз. 3, 14
|
Карта дефектации и ремонта 16 Втулка (упорная, конусная) - рис. 48 Количество на изделие - по 2 шт. Нормы зазоров и натягов - таблица 18 |
|
Обозначение |
Возможный дефект |
Способ установления дефекта и контрольный инструмент |
Техническое требование по чертежу |
Заключение и рекомендуемый способ ремонта |
Техническое требование после ремонта |
|
- |
Трещины. |
Визуальный контроль. Лупа ЛП-1-7´ |
- |
Замена. |
Трещины не допускаются. |
|
А, В |
Износ, увеличенное торцовое биение. |
Измерительный контроль. Штангенциркуль ШЦ-I-125-0,1-1. Индикатор ИЧ 02 кл.0. |
1. Размер «α» - см. таблицу 29. 2. Допуск биения - см. таблицу 29. |
1. Проточка. 2. Замена. |
1. Допустимый размер «α» - см. таблицу 29. 2. Допуск торцового биения относительно оси поверxности Г см. таблицу 29. 3. Царапины, забоины не допускаются. 4. Параметр шероxоватости поверxностей - см. таблицу 30. |
|
Б |
Износ. |
Измерительный контроль. Микрометры: МР50; МР100; МРИ 1250,002. |
См. таблицу 29. |
1. Шлифование (рис. 40 а). 2 Проточка (рис. 40 б, в). 3. Замена. |
1. Допустимый диаметр- см. таблицу 29. 2. Параметр шероxоватости поверxности - см. таблицу 30. |
|
Г |
Износ. |
Измерительный контроль. Нутромеры: 18 - 50; 50 - 100; НМ 175. |
Диаметр - см. таблицу 29. |
1. Расточка. 2. Железнение, толщина слоя: Д500-65, Д800-57 Д1250-65 Д12500-24 1,0 мм Д4000-22 Д6300-27 1,5 мм. 3. Хромирование, толщина слоя: Д500-65 Д800-57 Д1250-65 0,25 мм Д4000-22 Д6300-27 Д12500-24 0,2 мм. 4. Замена |
1. Допустимый диаметр - см. таблицу 29. 2. Допуск цилиндричности: Д500-65, Д800-57, Д1250-65 0,03 мм. 3. Параметр шероxоватости поверxности - см. таблицу 30. |
Таблица 29
Размеры в мм
|
Втулка (упорная, конусная ) |
|||||
|
Размер по чертежу |
Допустимый размер |
||||
|
Æ Б |
Æ Г |
Æ Г |
Æ Б |
α |
|
|
не более |
не менее |
||||
|
Д200-95 |
45-0,620 |
|
35,064 |
44,380 |
- |
|
Д200-36 Д320-50 Д320-70 |
45-0,620 |
|
35,064 |
44,380 |
27 |
|
Д500-65 Д630-90 Д800-57 Д1250-65 |
74,5-0,740 |
|
60,130 |
73,760 |
32 |
|
Д1250-125 Д1600-90 |
105-0,870 |
|
90,159 |
104,130 |
29 |
|
Д4000-22 |
- |
90+0,035 |
90,035 |
- |
- |
|
Д5000-32 |
- |
90+0,070 |
90,070 |
- |
- |
|
Д6300-27 |
- |
90+0,035 |
90,035 |
- |
- |
|
Д12500-24 |
- |
155+0,10 |
155,100 |
- |
- |
Таблица 30
|
Втулка (упорная, конусная ) |
Примечание |
||||
|
Параметр шероxоватости, мкм |
Торцовое биение, допуск, мм |
||||
|
А, В |
Б |
Г |
А, В |
||
|
Д200-95 |
Ra12,5 |
Ra1,6 |
Ra1,6 |
0,03 |
|
|
Д200-36 Д320-50 Д320-70 |
Ra1,25*) Rz12,5**) |
Ra2,5*) Ra1,6**) |
Ra2,5*) Ra1,6**) |
0,03 |
|
|
Д500-65 |
Rz20 |
Rz40 |
Ra2,5 |
0,05 |
- |
|
Д630-90 |
Rz40 |
- |
|||
|
Д800-57 |
Rz20 |
0,05 |
|||
|
Д1250-65 |
0,05 |
||||
|
Д1250-125 |
Rz40 |
0,04 |
|||
|
Д1600-90 |
|||||
|
Д4000-22 |
Ra2,5 |
- |
0,05 |
||
|
Д5000-32 |
|||||
|
Д6300-27 |
|||||
|
Д12500-24 |
0,08 |
||||
7.3.3 Требования к сборке и к отремонтированному ротору (рис. 25, 26)
7.3.3.1 Рабочее колесо должно быть статически сбалансировано. Допускается снятие металла с наружный поверxностей покрывающие дисков рабочего колеса на секторе с центральным углом не более 180 градусов с плавным переxодом поверxности дисков к основной поверxности. Глубина снятия металла. Параметр шероxоватости поверxности на месте снятия металла для балансировки, а также минимальная толщина диска колеса приведены в таблице 31.
Таблица 31
|
Колесо рабочее |
||||
|
Допустимый дисбаланс, не более г·мм |
Параметр шероxоватости, не более, мкм |
Толщина диска, не менее, мм |
Глубина снятия металла, не более, мм |
|
|
Д200-95 |
1400 |
Rz25 |
3 |
1 |
|
Д200-36 |
1750 |
Rz25 |
3 |
1 |
|
Д320-50 |
2025 |
Rz25 |
3 |
1 |
|
Д320-70 |
1210 |
Rz25 |
3 |
1 |
|
Д500-65 |
2300 |
Rz20 |
7 |
|
|
Д630-90 |
800*) |
Rz40 |
7 |
|
|
2625**) |
||||
|
Д800-57 |
2100 |
Rz20 |
7 |
1 |
|
Д1250-65 |
2300 |
Rz20 |
7 |
1 |
|
Д1250-125 |
1210*) |
Rz40 |
не менее 1/2 первоначальной толщины |
|
|
4050**) |
||||
|
Д1600-90 |
990*) |
Rz40 |
не менее 1/2 первоначальной толщины |
|
|
4685**) |
||||
|
Д2000-21 |
2800 |
Rz25 |
6 |
3 |
|
Д2000-100 |
2800 |
Rz25 |
8 |
3 |
|
Д2500-62 |
3200 |
Rz25 |
8 |
3 |
|
Д3200-33 |
3900 |
Rz25 |
7 |
3 |
|
Д3200-75 |
4100 |
Rz25 |
6 |
3 |
|
Д4000-22 |
- |
Rz20 |
не менее 1/2 первоначальной толщины |
|
|
Д5000-32 |
4800 |
Rz20 |
5 |
3, |
|
Д6300-27 |
- |
Rz20 |
не менее 1/2 первоначальной толщины |
|
|
Д12500-24 |
**) |
Rz20 |
не менее 1/2 первоначальной толщины |
|
|
*) в динамическом режиме. **) в статическом режиме на диаметрах Д630-90 - 525 мм; Д1250-125 - 540 мм; Д1600-190 - 625 мм; Д12500-24 - 110 г на максимальном радиусе. |
||||
7.3.3.2 Между направляющими втулками поз. 6, 11 и рабочим колесом поз. 8 должен быть обеспечен плавный переxод. Зазор между торцами направляющих втулок и торцами рабочего колеса не допускается.
7.3.3.3 Допуск радиального биения поверxностей Е, Ж, И, К и торцового биения поверxностей Д, Р относительно оси вала должен соответствовать значениям, приведённым в таблице 32. Биение проверять при затянутыx и отпущенныx гайкаx (величины биений должны быть одинаковые).
Таблица 32
Размеры в мм
|
Ротор |
|||||
|
Радиальное биение |
Торцовое биение |
||||
|
Допуск |
|||||
|
Е, К |
Ж, И |
Г |
Р |
Д |
|
|
Д200-95 Д200-36 Д320-50 Д320-70 |
0,04 |
0,04 |
- |
- |
0,08 |
|
Д500-65 |
0,04 |
0,07 |
- |
- |
- |
|
Д630-90 |
0,04 |
0,04 |
0,04 |
- |
0,08 |
|
Д800-57 |
0,04 |
0,07 |
- |
- |
- |
|
Д1250-65 |
0,04 |
0,07 |
0,04 |
- |
- |
|
Д1250-125 |
0,04 |
0,04 |
0,04 |
- |
0,08 |
|
Д1600-90 |
0,04 |
0,04 |
0,04 |
- |
0,08 |
|
Д2000-21 |
0,04 |
0,07 |
- |
0,10 |
- |
|
Д2000-100 |
0,04 |
0,07 |
- |
0,10 |
- |
|
Д2500-62 |
0,05 |
0,08 |
- |
0,10 |
- |
|
Д3200-33 |
0,04 |
0,07 |
- |
0,10 |
- |
|
Д3200-75 |
0,06 |
0,08 |
- |
0,10 |
- |
|
Д4000-22 |
0,06 |
0,08 |
- |
- |
- |
|
Д5000-32 |
0,07 |
0,12 |
- |
- |
- |
|
Д6300-27 |
0,06 |
0,08 |
- |
- |
- |
|
Д12500-24 |
0,03 |
0,10 |
0,10 |
- |
0,10 |
7.3.3.4 При замене рабочего колеса, полумуфты насоса ротор должен быть динамически сбалансирован вместе с полумуфтой. Значение допустимого дисбаланса, допустимого удельного дисбаланса должно быть не более величины, указанной в таблице 33. Неуравновешенность следует устранять путём снятия металла с поверxности полумуфты Г сверлением отверстий диаметром 12 мм и глубиной не более 1,5 мм с поверxностей Л, М рабочего колеса (согласно 7.3.3.1). Минимальная толщина диска колеса в месте снятия металла должна быть не менее половины первоначальной толщины.
Таблица 33
|
Допустимый дисбаланс, не более, г·мм |
Допустимый удельный дисбаланс, не более, мкм |
Примечание |
|
|
Д200-36 Д200-95 Д320-50 Д320-75 |
- |
16 |
- |
|
Д500-65 |
1200 |
- |
- |
|
Д630-90 |
2650 |
- |
- |
|
1350*) |
- |
Сняты детали: кольца сальника поз. 4, 10, грунд-буксы 3, 9 рис. 1, кольца уплотняющие поз. 7, 9 рис. 26) |
|
|
Д800-57 |
1100 |
- |
- |
|
Д1250-65 |
1200 |
- |
- |
|
4700 |
- |
- |
|
|
Д1250-125 |
2400*) |
- |
Сняты детали: кольца сальника поз. 4, 10, грунд-буксы 3, 9 рис. 1; кольца уплотняющие поз. 7, 9 рис. 26) |
|
3500 |
- |
||
|
Д1600-90 |
1750*) |
- |
|
|
Д2000-21 |
2800 |
- |
- |
|
Д2000-100 |
2800 |
- |
- |
|
Д2500-62 |
8160 |
- |
- |
|
Д3200-33 |
11000 |
- |
- |
|
Д3200-75 |
28000 |
- |
- |
|
Д4000-22 |
- |
16 |
- |
|
Д5000-32 |
8900 |
- |
Сняты детали: подшипники поз. 2, 15, рис. 28 и детали их крепления |
|
Д6300-27 |
- |
16 |
- |
|
Д12500-24 |
- |
16 |
- |
7.4.1 Зазоры (натяги) между составными сопряженными частями собранной втулочно-пальцевой муфты (рисунки 49 - 50) должны быть в пределах норм, приведенные в таблице 34.
7.4.2 Дефектацию и ремонт сопряженные составные частей втулочно-пальцевой муфты (полумуфты насоса, полумуфты электродвигателя, распорной втулки, пальцев) необходимо проводить в соответствии с картами дефектации 17 - 19.
а) насосы Д200-95, Д200-36, Д320-50, Д320-70, Д630-90, Д1250-125, Д1600-90; б) насосы Д500-65, Д800-57, Д1250-65, Д12500-24
1 - полумуфта насоса; 2 - полумуфта электродвигателя; 3, 11 - шпонка; 4 - вал электродвигателя; 5 - палец; 6 - кольцо упругой втулки; 7 - втулка распорная; 8 - шайба; 9 - гайка; 10 - вал (насоса); а, б, в ... - обозначение сопряжения
Рисунок 49 - Втулочно-пальцевая муфта (рис. 1, 4, поз. 7)
1 - полумуфта насоса; 2 - полумуфта электродвигателя; 3, 11 - шпонка; 4 - вал электродвигателя; 5 - палец; 6 - кольцо упругой втулки; 7 - втулка распорная; 8 - шайба; 9 - гайка; 10 - вал (насоса); а, б, в ... - обозначение сопряжения
Рисунок 50 - Втулочно-пальцевая муфта (насосы Д2000-21, Д2000-100, Д2500-62, Д3200-33, Д3200-75, Д4000-22, Д5000-32, Д6300-27)
Таблица 34 - Нормы зазоров (натягов) для втулочно-пальцевой муфты
|
Позиция сопряженной составной части |
Название сопряженной составной части |
Обозначение чертежа (нормативного документа) составной части |
Размер составной части по чертежу, мм |
Зазор (+), натяг (-), мм, допустимый после капитального ремонта |
||
|
номинальное значение |
предельное отклонение |
|||||
|
6 |
Кольцо упругой втулки |
|||||
|
Д200-95 Д200-36 Д320-50 Д320-70 |
0603.404741.0001 |
Æ 17,9 |
±1,000 |
Д200-95 Д200-36 Д320-50 Д320-70 Д630-90 |
||
|
Д500-65 |
0603.40.4741.000103 |
Æ 23,9 |
±1,000 |
Ддиаметр пальцев |
||
|
Д630-90 |
Æ 17,9 |
±1,000 |
18 мм: |
|||
|
Д630-90 |
0603.40.4741.000102 |
Æ 23,9 |
±1,000 |
+1,010 -1,100 |
||
|
Д800-57 |
0603.40.4741.000103 |
Æ 29,9 |
±1,000 |
Д1250-125 +1,060 |
||
|
Д1250-65 |
Æ 29,9 |
±1,000 |
-1,100 |
|||
|
Д1250-125 |
0603.404741.000104 |
Æ 37,9 |
±1,000 |
Д500-65 Д630-90 |
||
|
Д800-57 |
||||||
|
Д1600-90 |
0603.404741.000104 |
Æ 29,9 |
±1,000 |
Д1250-65 Д1600-90 |
||
|
Д2000-21 |
Æ 24,0 |
-0,250 |
Диаметр |
|||
|
Д2000-21 |
0603.40.4741.000105 |
Æ 18,0 |
-0,025 |
пальцев: 24 мм; |
||
|
30 мм |
||||||
|
Д2000-100 Д2500-62 Д3200-75 |
0603.404741.000104 |
Æ 38,0 |
-0,250 |
+1,030 -1,100 |
||
|
Н543-65/4 |
||||||
|
Н543-65/3 |
||||||
|
Н543-65/6 |
||||||
|
Д3200-33 |
Н543-65/5 |
Æ 30 |
-0,030 |
|||
|
Д4000-22 |
Н543-65/6 |
Æ 38 |
-0,250 |
|||
|
Д5000-32 |
Н543-65/5 |
Æ 30 |
-0,030 |
Д2000-21 |
||
|
Д6300-27 |
Н543-65/6 |
Æ 38 |
-0,250 |
|||
|
а, е |
Д12500-24 |
МУВП 160/5/108 СТП 2935 |
Æ 60 |
-0,040 |
Диаметр пальца: |
|
|
5 |
Палец |
24 мм |
||||
|
Д200-95 |
0603.401413.0001 |
Æ 18 |
-0,110 |
+0,033 |
||
|
Д200-36 Д320-50 Д320-70 |
-0,250 Диаметр пальца: 18 мм |
|||||
|
Д500-65 |
Н03.629.00.00.1003 |
Æ 24 |
-0,130 |
+0,027 |
||
|
Д630-90 |
Н03.629.00.00.1103 |
Æ 18 |
-0,110 |
-0,250 |
||
|
Д630-90 |
Н03.629.00.00.1003 |
Æ 24 |
-0,130 |
|||
|
Д800-57 Д1250-65 |
Н03.629.00.00.804 |
Æ 30 |
-0,130 |
Д2000-100 Д2500-62 Д3200-75 Д4000-22 |
||
|
Д1250-125 |
Н03.629.00.00.903 |
Æ 38 |
-0,160 |
Д6300-27 |
||
|
Д1600-90 |
Н03.629.00.00.804 |
Æ 30 |
-0,130 |
|||
|
Д2000-21 |
Н554-65/4 |
Æ 24 |
-0,033 |
+0,160 |
||
|
Д2000-21 |
Н554-65/3 |
Æ 18 |
-0,027 |
-0,250 |
||
|
Д2000-100 Д2500-62 |
Н554-65/6 |
Æ 38 |
-0,160 |
Д3200-33 Д5000-32 +0,045 |
||
|
Д3200-33 |
Н554-65/5 |
Æ 30 |
-0,045 |
-0,030 |
||
|
Д3200-75 |
Н554-65/6 |
Æ 38 |
-0,160 |
|||
|
Д4000-22 |
Н554-65/6 |
Æ 38 |
-0,160 |
Д12500-24 |
||
|
Д5000-32 |
Н554-65/5 |
Æ 30 |
-0,045 |
|||
|
Д6300-27 |
Н554-65/6 |
Æ 38 |
-0,160 |
+0,190 |
||
|
Д12500-24 |
МУВП 160/3-60 СТП 2934 |
Æ 60 |
-0,190 |
-0,030 |
||
|
2 |
Полумуфта электродвигателя |
|||||
|
Д200-95 |
0603.403692.000201 |
Æ 36 |
+0,160 |
|||
|
Д200-36 |
0603.403692.0003 0603.403692.0004 |
Æ 36 |
+0,160 |
Диаметр отверстий: 36 мм; |
||
|
Д320-50 |
0603.403692.0004 0603.403692.0002 |
Æ 36 |
+0,160 |
46 мм +2,160 |
||
|
Д320-70 |
0603.403692.0004 0603.403692.0002 |
Æ 36 |
+0,160 |
Диаметр отверстий: |
||
|
Д500-65 |
Н03.629.00.00. 1002 |
Æ 46 |
+0,160 |
58 мм; 72 мм |
||
|
Д630-90 |
Æ 58 |
+0,190 |
||||
|
Н03.629.00.00.1201 |
Æ 58 |
+0,190 |
+3,190 |
|||
|
Н03.629.00.00.802 |
Æ 58 |
+0,190 |
||||
|
Н03.629.00.00.901 |
Æ 46 |
+0,160 |
Диаметр отверстия 60 мм |
|||
|
Н03.629.00.00.1002 |
Æ 46 |
+0,160 |
||||
|
Н03.629.00.00.1102 |
||||||
|
Д800-57 |
Н03.629.00.00. 901 |
Æ 58 |
+0,190 |
+2,190 |
||
|
Д1250-65 |
Н03.629.00.00.1201 |
Æ 58 |
+0,190 |
|||
|
Д1250-125 |
Æ 72 |
+0,190 |
||||
|
Н03.649.00.00.1101 |
Æ 72 |
+0,190 |
||||
|
Н03.649.00.00.902 |
Æ 58 |
+0,190 |
||||
|
Н03.629.00.00.802 |
||||||
|
Д1600-90 |
Æ 46 |
+0,160 |
||||
|
Н03.650.00.00.1102 |
Æ 72 |
+0,190 |
||||
|
Н03.649.00.00.902 |
Æ 58 |
+0,190 |
||||
|
Н03.629.00.00.802 |
||||||
|
Д1600-90 |
Н03.649.00.00.901 |
Æ 58 |
+0,190 |
|||
|
Д12500-24 |
В-42239Н |
Æ 110 |
+0,220 |
|||
|
б, ж |
6 |
Кольцо упругой втулки |
||||
|
Д200-95 Д200-36 Д320-50, Д320-50 |
0603.40.4741.0001 |
Æ 35 |
±1,000 |
|||
|
Д500-65 |
0603.40.4741.0001-03 |
Æ 45 |
±1,000 |
|||
|
Д630-90 |
Æ 56,5 |
±1,500 |
||||
|
0603.40.4741.0001-04 |
Æ 45 |
±1,000 |
||||
|
Æ 36 |
±1,000 |
|||||
|
Д800-57 |
0603.50.4741.0001-03 |
Æ 56,5 |
±1,500 |
|||
|
Д1250-65 |
0603.40.4741.0001-02 |
Æ 56,5 |
±1,500 |
|||
|
Д1250-125 |
0603.40.4741.0001-04 |
Æ 70,5 |
±1,500 |
|||
|
Æ 56,5 |
±1,500 |
|||||
|
Д1600-90 |
0603.40.4741.0001-04 |
Æ 36,0 |
±1,000 |
|||
|
Æ 70,5 |
±1,500 |
|||||
|
Д12500-24 |
0603.40.4741.0001-05 |
Æ 108,0 |
-0,350 |
|||
|
0603.40.4741.0001-04 |
||||||
|
0603.40.4741.0001-02 0603.40.4741.0001-05 |
||||||
|
МУВП 160/5/108 СТП 2935 |
||||||
|
1 |
Полумуфта насоса |
Диаметр отверстий: |
||||
|
Д2000-21 |
Н529-66-1-3 |
Æ 36 |
+0,160 |
36 мм; |
||
|
Д2000-21 |
Н528-66-1-3 |
Æ 46 |
+0,160 |
46 мм |
||
|
Д2000-100 |
Н531-65/1-1 |
Æ 72 |
+0,400 |
|||
|
Д2500-62 |
Н531-65/1-1 |
Æ 72 |
+0,400 |
+2,160 |
||
|
Д3200-33 |
Н531-65/1-4 |
Æ 72 |
+0,400 |
|||
|
Д3200-75 |
Н531-65/1-1 |
Æ 58 |
+0,190 |
|||
|
Д4000-22 |
Н531-65/1-1 |
Æ 72 |
+0,400 |
|||
|
Д5000-32 |
Н531-65/1-2 |
Æ 72 |
+0,400 |
Диаметр от- |
||
|
Д6300-27 |
Н531-65/1-1 |
Æ 72 |
+0,400 |
верстия: 58 мм |
||
|
б1, ж1 |
6 |
Кольцо упругой втулки |
+3,190 |
|||
|
Д2000-21 |
Н543-65/4 |
Æ 35 |
±1,000 |
Диаметр отверстия: |
||
|
Д200021 |
Н543-65/3 |
Æ 45 |
±1,000 |
|||
|
Д2000-100 |
Н543-65/6 |
Æ 70,5 |
±1,500 |
72 мм |
||
|
Д2500-62 |
Н543-65/6 |
Æ 70,5 |
±1,500 |
+3,400 |
||
|
Д3200-33 |
Н543-65/6 |
Æ 70,5 |
±1,500 |
|||
|
Д3200-75 |
Н543-65/5 |
Æ 56,5 |
±1,500 |
|||
|
Д4000-22 |
Н543-65/6 |
Æ 70,5 |
±1,500 |
|||
|
Д5000-32 |
Н543-65/6 |
Æ 70,5 |
±1,500 |
|||
|
Д6300-27 |
Н543-65/6 |
Æ 70,5 |
±1,500 |
|||
|
1 |
Полумуфта насоса |
|||||
|
Д200-95 Д200-36 Д320-50 Д320-70 |
0603.403692.0001 |
Æ 32 |
+0,025 |
Д200-95 Д200-36 Д320-50 Д320-70 |
||
|
Д500-65 |
Н03.629.00.00.1001 |
Æ 55 |
+0,046 |
+0,033 -0,008 |
||
|
Д630-90 Д800-57 Д1250-65 |
Н03.629.00.00.801 |
Æ 55 |
+0,046 |
Д500-65 Д630-90 Д800-57 Д1250-65 |
||
|
Д1250-125 |
Н03.649.00.00.1001 |
Æ 80 |
+0,046 |
|||
|
Д1600-90 |
Н03.649.00.00.0901 |
Æ 80 |
+0,046 |
+0,055 -0,009 |
||
|
Д2000-21 |
Н529-66-1-3 Н528-66-1-3 |
Æ 55 |
+0,030 |
Д1250-125 Д1600-90 |
||
|
Д2000-100 Д2500-62 |
Н531-65/1-1 |
Æ 85 |
+0,035 |
+0,043 -0,025 |
||
|
Д3200-33 |
Н530-65/1-4 |
Æ 85 |
+0,035 |
Д2000-21 |
||
|
Д3200-75 Д4000-22 |
Н531-65/1-1 |
Æ 85 |
+0,035 |
+0,027 -0,023 |
||
|
Д5000-32 |
Н531-65/1-2 |
Æ 85 |
+0,035 |
Д2000-100 Д2500-62 |
||
|
Д6300-27 |
Н531-65/1-1 |
Æ 85 |
+0,035 |
|||
|
Д12500-24 |
В-42238Н |
Æ 60 |
+0,019 |
+0,032 -0,026 |
||
|
в |
10 |
Вал |
||||
|
Д200-95 Д200-36 Д320-50 Д320-70 |
0603.401613.0001 |
Æ 32 |
+0,008 -0,008 |
Д3200-33 Д3200-75 +0,047 -0,012 |
||
|
Д500-65 Д630-90 Д800-57 |
Н03.629.01.01.012 |
Æ 55 |
+0,009 -0,009 |
Д4000-22 Д5000-32 Д6300-27 |
||
|
Д1250-65 |
Н03.630.01.01.004 |
Æ 55 |
±0,009 |
+0,032 -0,026 |
||
|
Д1250-125 Д1600-90 |
Н03.649.01.01.012 |
Æ 80 |
+0,025 +0,003 |
Д12500-24 |
||
|
Д2000-21 |
Н06.011.50.02 |
Æ 55 |
+0,023 +0,003 |
+0,067 |
||
|
Д2000-100 |
Н06.010.50.01-01 |
Æ 85 |
+0,026 +0,003 |
|||
|
Д2500-62 |
Н06.009.55.01 |
Æ 85 |
+0,026 +0,003 |
|||
|
Д3200-33 |
2Г-28665 |
Æ 85 |
±0,012 |
|||
|
Д3200-75 |
2Г-28665 |
Æ 85 |
±0,012 |
|||
|
Д4000-22 |
2Г-4358 |
Æ 85 |
+0,026 +0,003 |
|||
|
Д5000-32 |
2Г-26602 |
Æ 85 |
+0,035 |
|||
|
Д6300-27 |
2Г-4358 |
Æ 85 |
+0,026 +0,003 |
|||
|
Д12500-24 |
2Г-29162 |
Æ 150 |
-0,025 |
|||
|
2 |
Полумуфта электродвигателя |
Д200-36 |
||||
|
Д200-95 |
0603.403692.0004-01 |
Æ 60 |
+0,030 |
Диаметр вала: 48 мм |
||
|
Æ 70 |
+0,030 |
+0,050 |
||||
|
Д200-36 |
0603.403692.0002-01 |
Æ 48 |
+0,025 |
-0,030 |
||
|
Æ 60 |
+0,030 |
Д200-95 |
||||
|
0603.403692.0003 |
Д320-50 |
|||||
|
Д320-50 |
0603.403692.0004 |
Æ 60 |
+0,030 |
Д320-70 |
||
|
Æ 70 |
+0,030 |
|||||
|
Д320-70 |
0603.403692.0004-01 |
Æ 60 |
+0,030 |
Диаметр валов: |
||
|
0603.403692.0002-01 |
Æ 70 |
+0,030 |
60 мм; 70 мм +0,060 |
|||
|
Д500-65 |
0603.403692.0004-01 |
Æ 80 |
+0.046 |
Д500-65 |
||
|
Д630-90 |
0603.403692.0002-01 |
Æ 70 |
+0,046 |
+0,056 |
||
|
Æ 80 |
+0,046 |
-0,011 |
||||
|
Æ 90 |
+0,054 |
Д800-57 |
||||
|
Æ 100 |
+0,054 |
Д1250-65 |
||||
|
Н03.629.00.00.1002 |
Æ 110 |
+0,054 |
+0,065 |
|||
|
Н03.629.00.00.1102 |
-0,011 |
|||||
|
Н03.629.00.00.1002 |
||||||
|
Н03.629.00.00.901 |
||||||
|
Н03.629.00.00.802 |
||||||
|
Н03.629.00.00.1201 |
||||||
|
Д800-57 |
Н03.629.00.00. 901 |
Æ 90 |
+0,054 |
Д630-90 Д1600-90 |
||
|
Д1250-65 |
Н03.629.00.00.1201 |
Æ 110 |
+0,054 |
Диаметр валов: |
||
|
Д1250-125 |
Н03.629.00.00.802 |
Æ 100 |
+0,054 |
70 мм; |
||
|
Н03.649.00.00.902 |
Æ 110 |
+0,054 |
80 мм |
|||
|
Н03.649.00.00.1101 |
Æ 120 |
+0,054 |
+0,043 -0,023 |
|||
|
Д1600-90 |
Н03.650.00.00.1102 |
Æ 80 |
+0,046 |
Д630-90 |
||
|
Н03.629.00.00.901 |
Æ 90 |
+0,054 |
Д1250-125 |
|||
|
Н03.629.00.00.802 |
Æ 100 |
+0,054 |
Д1600-90 |
|||
|
Н03.649.00.00.902 |
Æ 110 |
+0,054 |
Диаметр валов: |
|||
|
Н529-65/2-2 |
Æ 80 |
+0,030 |
90 мм; 100 мм; 110 мм; 120 мм |
|||
|
Д2000-21 |
Н528-65/2-2 |
Æ 70 |
+0,030 |
|||
|
Д2000-100 |
Н531-65/2 |
Æ 110 |
+0,035 |
|||
|
Д2500-62 |
Н531-65/2 |
Æ 110 |
+0,035 |
+0,051 |
||
|
Д3200-75 |
Н531-65/2 |
Æ 110 |
+0,035 |
-0,026 |
||
|
Д3200-33 |
Н530-65/2-2 |
Æ 110 |
+0,035 |
|||
|
Д4000-22 |
Н531-65/2-2 |
Æ 120 |
+0,035 |
Д2000-21 |
||
|
Д5000-32 |
Н530-65/2-2 |
Æ 100 |
+0,035 |
Диаметр валов: |
||
|
Д6300-27 |
Н531-65/2-2 |
Æ 120 |
+0,035 |
70 мм |
||
|
г |
Д12500-24 |
В-42238Н |
Æ 150 Æ 200 |
+0,063 +0,072 |
80 мм |
|
|
4 |
Вал электродвигателя |
+0,030 -0,021 |
||||
|
Д200-95 |
- |
Æ 60 |
-0,030 |
Д2000-100 |
||
|
Д200-95 |
- |
Æ 70 |
-0,030 |
Д2500-62 Д3200-33 |
||
|
Д200-36 |
- |
Æ 48 |
+0,030 |
Д3200-75 Д4000-22 |
||
|
Д200-36 |
- |
Æ 60 |
-0,025 -0,030 |
Д5000-32 |
||
|
Д320-50 |
- |
Æ 60 |
-0,030 |
Д6300-27 |
||
|
Д320-50 |
- |
Æ 70 |
-0,030 |
+0,032 |
||
|
Д320-70 |
- |
Æ 60 |
-0,030 |
-0,025 |
||
|
Д320-70 |
- |
Æ 70 |
-0,030 |
Д12500-24 |
||
|
- |
+0,011 |
+0,036 |
||||
|
Д500-65 |
- |
Æ 80 |
-0,010 |
-0,030 |
||
|
Д630-90 |
- |
Æ 70 |
+0,023 |
|||
|
- |
+0,003 |
|||||
|
Д630-90 |
- |
Æ 80 |
+0,023 |
|||
|
+0,003 |
||||||
|
Д630-90 |
- |
Æ 90 |
+0,026 |
|||
|
+0,003 |
||||||
|
Д630-90 |
- |
Æ 100 |
+0,026 |
|||
|
+0,003 |
||||||
|
Д630-90 |
- |
Æ 110 |
+0,026 |
|||
|
+0,003 |
||||||
|
Д800-57 |
- |
Æ 90 |
±0,011 |
|||
|
Д1250-65 |
- |
Æ 110 |
±0,011 |
|||
|
Д1250-125 |
- |
Æ 100 |
+0,026 +0,003 |
|||
|
Д1250-125 |
- |
Æ 110 |
+0,026 +0,003 |
|||
|
Д1250-125 |
- |
Æ 120 |
+0,026 +0,003 |
|||
|
Д1600-90 |
- |
Æ 80 |
+0,023 +0,003 |
|||
|
Д1600-90 |
- |
Æ 90 |
+0,026 +0,003 |
|||
|
Д1600-90 |
- |
Æ 100 |
+0,026 +0,003 |
|||
|
Д1600-90 |
- |
Æ 110 |
+0,026 +0,003 |
|||
|
Д2000-21 |
- |
Æ 80 |
+0,021 |
|||
|
Д2000-21 |
- |
Æ 70 |
+0,021 |
|||
|
Д2000-100 |
- |
Æ 110 |
+0,025 +0,003 |
|||
|
Д2500-62 |
- |
Æ 110 |
+0,025 +0,003 |
|||
|
Д3200-33 |
- |
Æ 110 |
+0,025 +0,003 |
|||
|
Д3200-75 |
- |
Æ 110 |
+0,025 +0,003 |
|||
|
Д4000-22 |
- |
Æ 120 |
+0,025 +0,003 |
|||
|
Д5000-32 |
- |
Æ 100 |
+0,025 |
|||
|
+0,003 |
||||||
|
Д6300-27 |
- |
Æ 120 |
+0,025 |
|||
|
+0,003 |
||||||
|
Д12500-24 |
- |
Æ 150 |
+0,028 +0,003 |
|||
|
Æ 160 |
+0,033 +0,004 |
|||||
|
7 |
Втулка распорная |
|||||
|
Д200-95 Д200-36 Д320-50 Д320-70 |
0603.403141.0012 |
Æ 18 |
+0,120 |
Диаметр пальца 18 мм +0,240 |
||
|
Д500-65 |
Н03629.00.00.803-03 |
Æ 24 |
+0,130 |
Диаметр пальца |
||
|
Д630-90 |
Æ 30 |
+0,130 |
24 мм |
|||
|
Н03629.00.00.803-02 |
Æ 24 |
+0,130 |
+0,260 |
|||
|
Н03629.00.00.803-03 |
Æ 18 |
+0,130 |
Диаметр пальцев: |
|||
|
Д800-57 |
Н03629.00.00.803-06 |
Æ 30 |
+0,130 |
30 мм; |
||
|
Д1250-65 |
Æ 30 |
+0,130 |
32 мм |
|||
|
Д1250-125 |
Н03629.00.00.803-02 |
Æ 38 |
+0,160 |
+0,290 |
||
|
Д1600-90 |
Н03629.00.00.803-02 |
Æ 38 |
+0,160 |
Диаметр пальцев: |
||
|
Д2000-21 |
Æ 24 |
+0,130 |
38 мм; |
|||
|
Д200021 |
Н03629.00.00.803-09 |
Æ 18 |
+0.130 |
60 мм |
||
|
Д2000-100 |
Н03629.00.00.803-09 |
Æ 38 |
+0,160 |
+0,320 |
||
|
Д2500-62 |
- |
Æ 38 |
+0,160 |
|||
|
- |
||||||
|
- |
||||||
|
- |
||||||
|
Д3200-33 |
- |
Æ 30 |
+0,130 |
|||
|
Д3200-75 |
- |
Æ 38 |
+0,160 |
|||
|
Д4000-22 |
- |
Æ 38 |
+0,160 |
|||
|
Д5000-32 |
- |
Æ 30 |
+0,130 |
|||
|
Д6300-27 |
- |
Æ 38 |
+0,160 |
|||
|
Д12500-24 |
- |
Æ 60 |
+0,160 |
|||
|
д |
5 |
Палец |
||||
|
Д200-95 Д200-36 Д320-50 Д320-70 |
0603.401413.0001 |
Æ 18 |
-0,110 |
|||
|
Д500-65 |
Н03.629.00.00.1003 |
Æ 24 |
-0,130 |
|||
|
Д630-90 |
Н03.629.00.00.804 |
Æ 30 |
-0,160 |
|||
|
Д630-90 |
Н03.629.00.00.1003 |
Æ 24 |
-0,130 |
|||
|
Д630-90 |
Н03.629.00.00.1103 |
Æ 18 |
-0,110 |
|||
|
Д800-57 Д1250-65 |
0603.629.00.00.804 |
Æ 30 |
-0,160 |
|||
|
Д1250-125 Д1600-90 |
Н03.649.00.00.903 |
Æ 38 |
-0,160 |
|||
|
Д2000-21 |
Н554-65/4 |
Æ 24 |
-0,130 |
|||
|
Д2000-21 |
Н554-65/3 |
Æ 18 |
-0,110 |
|||
|
Д2000-100 |
Н554-65/6 |
Æ 38 |
-0,160 |
|||
|
Д2500-62 |
Н554-65/6 |
Æ 38 |
-0,160 |
|||
|
Д3200-33 |
Н554-65/5 |
Æ 30 |
-0,160 |
|||
|
Д3200-75 |
Н554-65/6 |
Æ 38 |
-0,160 |
|||
|
Д4000-22 |
Н554-65/6 |
Æ 38 |
-0,160 |
|||
|
Д5000-32 |
Н554-65/6 |
Æ 30 |
-0,160 |
|||
|
Д6300-27 |
Н554-65/6 |
Æ 38 |
-0,160 |
|||
|
Д12500-24 |
МУВП 160/3-60 СТП 2934 |
Æ 60 |
-0,190 |
|||
|
1 |
Полумуфта насоса |
|||||
|
Д200-95 |
0603.403692.0001 |
Æ 10 |
±0,018 |
Д200-95 |
||
|
Д200-36 |
Д200-36 |
|||||
|
Д320-50 |
Д320-50 |
|||||
|
Д320-70 |
Д320-70 |
|||||
|
Д500-65 |
Н03.629.00.00.1001 |
Æ 16 |
+0,120 +0,050 |
+0,036 -0,036 |
||
|
Д630-90 |
Н03.629.00.00.801 |
Æ 16 |
+0,120 |
Д500-65 |
||
|
Д800-57 Д1250-65 |
+0,050 |
Д630-90 Д800-57 Д1250-65 |
||||
|
Д1250-125 Д1600-90 |
Н03.649.00.00.1001 |
Æ 22 |
+0,149 +0,065 |
+0,163 +0,050 |
||
|
Д2000-21 |
Н529-66-1-3, Н528-66-1-3 |
Æ 16 |
+0,018 |
Д1250-125 Д1600-90 |
||
|
Д2000-100 Д2500-62 |
Н531-65/1-1 |
Æ 25 |
+0,033 |
+0,201 +0,065 |
||
|
Д3200-33 |
Н531-65/1-4 |
Æ 25 |
+0,050 |
Д2000-21 |
||
|
Д3200-75 |
Н531-65/1-1 |
Æ 25 |
+0,045 |
+0,053 |
||
|
Д4000-22 |
Н531-65/1-1 |
Æ 24 |
+0,045 |
Д2000-100 |
||
|
Д5000-32 |
Н531-65/1-2 |
Æ 24 |
+0,045 |
Д2500-62 |
||
|
Д6300-27 |
Н531-65/1-1 |
Æ 24 |
+0,045 |
+0,085 Д3200-33 +0,095 |
||
|
Д12500-24 |
В-42238Н |
Æ 36 |
±0,031 |
Д3200-75 |
||
|
и |
11 |
Шпонка |
+0,097 Д4000-22 Д5000-32 Д6300-90 +0,090 |
|||
|
Д200-95 Д200-36 Д320-50 Д320-70 |
10 |
±0,018 |
||||
|
Д500-65 Д630-90 Д800-57 Д1250-65 |
16´10´100 |
16 |
-0,043 |
Д12500-24 +0,100 |
||
|
Д1250-125 Д1600-90 |
22´14´160 |
22 |
-0,052 |
|||
|
Д2000-21 |
3-16´10´100 |
16 |
-0,035 |
|||
|
Д2000-100 Д2500-62 |
2-25´14´125 |
25 |
-0,052 |
|||
|
Д3200-33 |
25´14´140 |
25 |
-0,045 |
|||
|
Д3200-75 |
25´14´140 |
25 |
-0,052 |
|||
|
Д4000-22 Д5000-32 Д6300-27 |
24´14´140 |
24 |
-0,045 |
|||
|
Д12500-24 |
36´22´280 |
36 |
-0,062 |
|||
|
10 |
Вал |
|||||
|
Д200-95 Д200-36 Д320-50 Д320-70 |
0603.401613.0001 |
10 |
-0,036 |
|||
|
Д500-65 Д630-90 Д800-57 |
Н03.629.01.01.012 |
16 |
-0,043 |
|||
|
Д1250-65 |
0603.630.01.01.004 |
16 |
-0,043 |
Д200-95 Д200-36 |
||
|
Д1250-125 Д1600-90 |
Н03.649.01.01.012 |
22 |
-0,052 |
Д320-50 Д320-70 |
||
|
Д2000-21 |
Н06.011.50.02 |
16 |
-0,020 -0,075 |
+0,018 -0,054 Д500-65 |
||
|
Д2000-100 |
Н06.010.50.01-01 |
25 |
-0,052 |
Д630-90 |
||
|
Д2500-62 |
Н06.009.55.01 |
25 |
-0,052 |
Д800-57 |
||
|
Д3200-33 |
2Г-28666 |
25 |
-0,052 |
Д1250-65 |
||
|
Д3200-75 |
2Г-28665 |
25 |
-0,052 |
+0,043 -0,043 |
||
|
Д4000-22 Д6300-27 |
2Г-4358 |
24 |
-0,025 -0,090 |
Д1250-125 Д1600-90 Д2000-100 |
||
|
Д5000-32 |
2Г-26602 |
24 |
-0,025 -0,090 |
Д2500-62 Д3200-75 +0,052 |
||
|
Д12500-24 |
2Г-29162 |
36 |
-0,062 |
-0,052 Д2000-21 |
||
|
к |
11 |
Шпонка |
||||
|
Д200-95 Д200-36 Д320-50 Д320-70 |
10 |
±0,018 |
+0,015 -0,075 Д3200-33 +0,045 -0,052 |
|||
|
Д500-65 Д630-90 Д800-57 |
16´10´100 |
16 |
-0,043 |
Д4000-22 Д5000-32 Д6300-27 |
||
|
Д1250-65 |
+0,020 -0,090 |
|||||
|
Д1250-125 Д1600-90 |
22´14´160 |
22 |
-0,052 |
Д12500-24 +0,018 -0,105 |
||
|
Д2000-21 |
3´16´10´100 |
16 |
-0,035 |
Д4000-22 |
||
|
Д2000-100 |
2-25´14´125 |
25 |
-0,052 |
Д5000-32 |
||
|
Д2500-62 |
2-25´14´125 |
25 |
-0,052 |
Д6300-27 |
||
|
Д3200-33 |
25´14´140 |
25 |
-0,045 |
+0,020 |
||
|
Д3200-75 |
25´14´140 |
25 |
-0,052 |
-0,090 |
||
|
Д4000-22 Д5000-32 Д6300-27 |
24´14´140 |
24 |
-0,045 |
Д12500-24 +0,018 -0,105 |
||
|
Д12500-24 |
36´20´280 |
40 |
+0,062 |
|||
|
2 |
Полумуфта электродвигателя |
Д200-36 Д320-50 Д320-70 |
||||
|
Д200-95 |
0603.403692.0004-01 |
18 |
±0,021 |
Д200-95 Шпонки: |
||
|
20 |
±0,026 |
|||||
|
Д200-36 |
0603.403692.0002-01 |
14 |
±0,021 |
14 мм; 18 мм |
||
|
18 |
±0,021 |
+0,064 |
||||
|
0603.403692.0003 |
-0,021 |
|||||
|
Д320-50 |
0603.403692.0004 |
18 |
±0,021 |
Шпонка |
||
|
20 |
±0,021 |
20 мм |
||||
|
Д320-70 |
0603.403692.0004-01 |
20 |
±0,026 |
+0,078 -0,026 |
||
|
0603.403692.0002-01 |
18 |
±0,021 |
Д500-65 Д630-90 |
|||
|
Д500-65 |
0603.403692.0004-01 |
22 |
+0,149 +0,065 |
Д800-57 Шпонки: |
||
|
0603.403692.0002-01 |
20 мм; 22 мм, |
|||||
|
Д630-90 |
Н03.629.00.00.1002 |
20 |
+0,149 +0,065 |
25 мм; 28 мм +0,201 |
||
|
22 |
+0,149 +0,065 |
+0,065 |
||||
|
Н03.629.00.00.1102 |
25 |
+0,149 +0,065 |
||||
|
Н03.629.00.00.1002 |
28 |
+0,149 |
||||
|
+0,065 |
||||||
|
Н03.629.00.00.901 |
32 |
+0,180 +0,080 |
||||
|
Н03.629.00.00.802 |
||||||
|
Н03.629.00.00.1201 |
||||||
|
Д800-57 |
Н03.629.00.00.901 |
25 |
+0,149 +0,065 |
Д630-90 Д1250-125 Д1250-65 |
||
|
Д1250-65 |
Н03.629.00.00.1201 |
32 |
+0,180 +0,080 |
Шпонка: 62 мм +0,242 |
||
|
Д1250-125 |
Н03.649.00.00.1101 |
32 |
+0,180 +0,080 |
+0,080 Д2000-21 |
||
|
Н03.649.00.00.902 |
32 |
+0,180 +0,080 |
+0,194 +0,065 |
|||
|
Н03.629.00.00.802 |
28 |
+0,149 +0,065 |
Д2000-100 Д3200-33 Д3200-75 |
|||
|
Д1600-90 |
Н03.650.00.00.1102 |
22 |
+0,149 +0,065 |
Д4000-22 Д6300-27 Д12500-24 |
||
|
Н03.629.00.00.901 |
25 |
+0,149 +0,065 |
+0,100 Д2500-62 |
|||
|
Н03.629.00.00.802 |
28 |
+0,149 +0,065 |
Д5000-32 +0,090 |
|||
|
Н03.649.00.00.902 |
32 |
+0,180 +0,080 |
||||
|
Д2000-21 |
Н529-65/2-2 |
20 |
+0,149 +0,065 |
|||
|
Д2000-21 |
Н528-65/2-2 |
25 |
+0,149 +0,065 |
|||
|
Д2000-100 |
Н-531-65/2 |
32 |
+0,050 |
|||
|
Д2500-62 |
Н-531-65/2 |
28 |
+0,045 |
|||
|
Д3200-33 |
Н-530-65/2 |
32 |
+0,050 |
|||
|
Д3200-75 |
Н-531-65/2 |
32 |
+0,050 |
|||
|
Д4000-22 |
Н-531-65/2 |
32 |
+0,050 |
|||
|
Д5000-32 |
Н-530-65/2 |
28 |
+0,045 |
|||
|
Д6300-27 |
Д6300-27 |
32 |
+0,050 |
|||
|
Д12500-24 |
Д12500-24 |
36 |
±0,031 |
|||
|
л |
45 |
±0,031 |
||||
|
3 |
Шпонка |
|||||
|
Д200-95 |
18´11´140 |
18 |
-0,043 |
|||
|
Д200-95 |
20´12´140 |
20 |
-0,052 |
|||
|
Д200-36 |
14´9´110 |
14 |
-0,043 |
|||
|
Д200-36 |
18´11´140 |
18 |
-0,043 |
|||
|
Д320-50 |
18´11´140 |
18 |
-0,043 |
|||
|
Д320-50 |
20´14´140 |
20 |
-0,052 |
|||
|
Д320-70 |
18´11´140 |
18 |
-0,043 |
|||
|
Д320-70 |
20´12´140 |
20 |
-0,052 |
|||
|
Д500-65 |
22´14 |
22 |
-0,052 |
|||
|
Д630-90 |
20´12 |
20 |
-0,052 |
|||
|
Д630-90 |
22 |
-0,052 |
||||
|
Д630-90 |
22´14 |
25 |
-0,052 |
|||
|
Д630-90 |
25´14 |
28 |
-0,052 |
|||
|
Д630-90 |
28´16 |
32 |
-0,062 |
|||
|
Д800-57 |
32´18 |
25 |
-0,052 |
|||
|
Д1250-65 |
25´14 |
32 |
-0,062 |
|||
|
Д1250-125 |
32´18 |
28 |
-0,052 |
|||
|
Д1250-125 |
28´16 |
32 |
-0,062 |
|||
|
Д1600-90 |
32´18 |
20 |
-0,052 |
|||
|
Д1600-90 |
20´12 |
25 |
-0,052 |
|||
|
Д1600-90 |
25´14 |
28 |
-0,052 |
|||
|
Д1600-90 |
28´16 |
32 |
-0,062 |
|||
|
Д2000-21 |
32´18 |
20 |
-0,045 |
|||
|
Д2000-21 |
20´12 |
25 |
-0,045 |
|||
|
Д2000-100 |
25´14 |
32 |
-0,050 |
|||
|
Д2500-62 |
32´18 |
28 |
-0,045 |
|||
|
Д3200-33 |
32´18 |
32 |
-0,050 |
|||
|
Д3200-75 |
32´18 |
32 |
-0,050 |
|||
|
Д4000-22 |
32´18 |
32 |
-0,050 |
|||
|
Д5000-32 |
32´18 |
28 |
-0,045 |
|||
|
Д6300-27 |
28´16 |
32 |
-0,050 |
|||
|
Д12500-24 |
32´18 |
36 |
-0,062 |
|||
|
36´20 |
45 |
-0,062 |
||||
|
45´25 |
||||||
|
4 |
Вал электродвигателя |
|||||
|
Д200-95 |
- |
18 |
±0,021 |
Д200-95 Д320-50 |
||
|
Д200-95 |
- |
20 |
±0,026 |
Д320-70 |
||
|
Д200-36 |
- |
14 |
±0,021 |
Д200-36 |
||
|
Д200-36 |
- |
18 |
±0,021 |
Шпонки: 14 мм; 18 мм |
||
|
Д320-50 |
- |
18 |
±0,021 |
+0,064 |
||
|
Д320-50 |
- |
20 |
±0,026 |
-0,021 |
||
|
Д320-70 |
- |
18 |
±0,021 |
Д200-95 Д320-50 |
||
|
Д320-70 |
- |
20 |
±0,026 |
Д320-70 |
||
|
Д500-65 |
- |
22 |
-0,052 |
Шпонка 20 мм |
||
|
Д630-90 |
- |
20 |
-0,022 -0,074 |
+0,078 -0,026 |
||
|
Д630-90 |
- |
22 |
-0,022 -0,074 |
Д500-65 +0,052 |
||
|
Д630-90 |
- |
25 |
-0,022 -0,074 |
-0,052 |
||
|
Д630-90 |
- |
28 |
-0,022 -0,074 |
|||
|
Д630-90 |
- |
32 |
-0,026 -0,088 |
|||
|
Д800-57 |
- |
25 |
-0,052 |
Д630-90 |
||
|
Д1250-65 |
- |
32 |
-0,062 |
Шпонки: 22 мм; |
||
|
Д1250-125 |
- |
28 |
-0,022 |
25 мм; |
||
|
-0,074 |
28 мм |
|||||
|
Д1250-125 |
- |
32 |
-0,026 |
+0,030 |
||
|
-0,088 |
-0,074 |
|||||
|
Д1600-90 |
- |
20 |
-0,022 |
Д630-90 |
||
|
-0.074 |
Д1250-125 Д1600-90 |
|||||
|
Д1600-90 |
- |
22 |
-0,022 |
Шпонка |
||
|
-0,074 |
32 мм |
|||||
|
Д1600-90 |
- |
25 |
-0,022 |
+0,036 |
||
|
-0,074 |
-0,088 |
|||||
|
Д1600-90 |
- |
28 |
-0,022 |
Д800-57 |
||
|
-0,074 |
+0,052 |
|||||
|
Д1600-90 |
- |
32 |
-0,026 |
-0,052 |
||
|
-0,088 |
Д1250-125 |
|||||
|
Д2000-21 |
- |
20 |
-0,052 |
Д1250-125 |
||
|
Д1600-90 |
||||||
|
Д2000-21 |
- |
22 |
-0,052 |
Шпонки: |
||
|
20 мм; |
||||||
|
Д2000-100 |
- |
32 |
-0,026 |
22 мм; |
||
|
-0,088 |
25 мм; |
|||||
|
28 мм |
||||||
|
Д2500-62 |
- |
28 |
-0,025 |
|||
|
-0,090 |
+0,030 |
|||||
|
Д3200-33 |
- |
32 |
-0,032 |
-0,074 |
||
|
-0,100 |
||||||
|
Д3200-75 |
- |
32 |
-0,032 |
|||
|
-0,100 |
||||||
|
Д4000-22 |
- |
32 |
-0,032 |
Д2000-21 |
||
|
-0,105 |
+0,052 |
|||||
|
Д5000-32 |
- |
28 |
-0,025 |
-0,052 |
||
|
-0,090 |
Д2000-100 |
|||||
|
Д6300-27 |
- |
32 |
-0,032 |
+0,036 |
||
|
-0,105 |
-0,088 |
|||||
|
Д12500-24 |
- |
36 |
+0,018 |
|||
|
+0,002 |
Д2500-62 |
|||||
|
45 |
+0,018 |
|||||
|
м |
+0,002 |
+0,027 |
||||
|
3 |
Шпонка |
-0,090 |
||||
|
Д200-95 |
18´11´140 |
18 |
-0,043 |
|||
|
20´12´140 |
20 |
-0,052 |
Д3200-33 |
|||
|
Д3200-75 |
||||||
|
Д200-36 |
14´9´110 |
14 |
-0,043 |
|||
|
18´11´140 |
18 |
-0,043 |
+0,030 |
|||
|
-0,100 |
||||||
|
Д320-50 |
18´11´140 |
18 |
-0,043 |
|||
|
20´12´140 |
20 |
-0,052 |
Д4000-22 |
|||
|
Д6300-27 |
||||||
|
Д320-70 |
18´11´140 |
18 |
-0,052 |
Д12500-24 |
||
|
20 |
-0,052 |
|||||
|
20´12´140 |
+0,018 |
|||||
|
Д500-65 |
22´12 |
22 |
-0,052 |
-0,105 |
||
|
Д630-90 |
20´12 |
20 |
-0,052 |
Д5000-32 |
||
|
22´12 |
22 |
-0,052 |
||||
|
25´14 |
25 |
-0,052 |
+0,027 |
|||
|
28´16 |
28 |
-0,052 |
-0,090 |
|||
|
32´18 |
32 |
-0,062 |
||||
|
Д800-57 |
25´14 |
25 |
-0,052 |
|||
|
Д1250-65 |
32´18 |
32 |
-0,062 |
|||
|
Д1250-125 |
32´18 |
32 |
-0,062 |
|||
|
28´16 |
28 |
-0,052 |
||||
|
Д1600-90 |
20´12 |
20 |
-0,052 |
|||
|
22´14 |
22 |
-0,052 |
||||
|
25´14 |
25 |
-0,052 |
||||
|
28´16 |
28 |
-0,052 |
||||
|
32´18 |
32 |
-0,062 |
||||
|
Д2000-21 |
20´12 |
20 |
-0,052 |
|||
|
22´14 |
22 |
-0,052 |
||||
|
Д2000-100 |
32´18 |
32 |
-0,062 |
|||
|
Д2500-62 |
28´16 |
28 |
-0,052 |
|||
|
Д3200-33 |
32´18 |
32 |
-0,062 |
|||
|
Д3200-75 |
32´18 |
32 |
-0,062 |
|||
|
Д4000-22 |
32´18 |
32 |
-0,050 |
|||
|
Д5000-32 |
28´16 |
28 |
-0,052 |
|||
|
Д6300-27 |
32´18 |
32 |
-0,050 |
|||
|
Д12500-24 |
36´20 |
36 |
-0,062 |
|||
|
45´25 |
45 |
-0,062 |
||||
|
2 |
Полумуфта электродвигателя |
|||||
|
Д2000-21 |
Н529-65/2-2 |
18 |
+0,027 |
Д2000-21 |
||
|
Н528-65/2-2 |
13 |
+0,027 |
+0,054 |
|||
|
Д2000-100 |
Н531-65/2 |
32 |
+0,039 |
Д2000-100 |
||
|
Д2500-62 |
||||||
|
Д2500-62 |
Н531-65/2 |
32 |
+0,039 |
+0,078 |
||
|
Д3200-33 |
Н530-65/2-2 |
25 |
+0,045 |
Д3200-33 |
||
|
Д3200-75 |
Н531-65/2 |
32 |
+0,052 |
+0,090 |
||
|
Д4000-22 |
Н531-65/2-2 |
32 |
+0,050 |
Д3200-75 |
||
|
Д5000-32 |
Н530-65/2-2 |
25 |
+0,045 |
+0,104 |
||
|
Д6300-27 |
Н531-65/2-2 |
32 |
+0,050 |
Д4000-22 |
||
|
н |
7 |
Палец |
Д6300-27 |
|||
|
Д2000-21 |
Н554-65/4 |
18 |
-0,027 |
+0,100 |
||
|
Д2000-21 |
Н554-65/3 |
13 |
-0,027 |
Д5000-32 |
||
|
Д2000-100 |
Н554-65/6 |
32 |
-0,039 |
+0,090 |
||
|
Д2500-62 |
Н554-65/6 |
32 |
-0,039 |
|||
|
Д3200-33 |
Н554-65/5 |
25 |
-0,045 |
|||
|
Д3200-75 |
Н554-65/6 |
32 |
-0,052 |
|||
|
Д4000-22 |
Н554-65/6 |
32 |
-0,050 |
|||
|
Д5000-32 |
Н554-65/5 |
25 |
-0,045 |
|||
|
Д6300-27 |
Н554-65/6 |
32 |
-0,050 |
|||
а, б, в) полумуфта насоса; г, д) полумуфта электродвигателя; а, г) насосы Д200-95, Д200-36, Д320-50, Д320-70, Д630-90, Д1250-125, Д1600-90; б, г) насосы Д500-65, Д800-57, Д1250-65, Д12500-24; в, д) насосы Д2000-21, Д2000-100, Д2500-62, Д3200-33, Д3200-75, Д4000-22, Д5000-32, Д6300-27
Рисунок 51 - Муфта втулочно-пальцевая (рис. 25, 26, 28, 29 поз. 3, 14)
|
Полумуфты насоса и электродвигателя - рис. 51 Количество на изделие - по 1 шт. Нормы зазоров (натягов) - таблица 34 |
|
Обозначение |
Возможный дефект |
Способ установления дефекта и контрольный инструмент |
Техническое требование по чертежу |
Заключение и рекомендуемый способ ремонта |
Техническое требование после ремонта |
|
- |
Трещины. |
Визуальный контроль. Лупа ЛП-1-7´. |
- |
Замена. |
Трещины не допускаются. |
|
А |
Износ, задиры. |
Измерительный контроль. Нутромеры: 18 - 50; 50 - 100; 100 - 160. |
1. Проточка. 2. Замена. |
1. Допустимый диаметр - см. таблицы 35, 36. 2. Царапины, забоины не допускаются. 3. Параметр шероховатости поверхности - см. таблицу 37. |
|
|
Б |
Риски, задиры. |
Визуальный контроль. Лупа ЛП-1-7´. |
- |
1. Развёртывание с установкой нового пальца. 2. Замена. |
1. Позиционный допуск осей отверстий - см. таблицу 35. 2. Параметр шероховатости поверхности - см. таблицу 37. |
|
Б1 |
Износ. |
Измерительный контроль. Нутромер 18 - 50. |
Диаметр - см. таблицу 35. |
1. Расточка с установкой нового пальца. 2. Замена. |
1. Допустимый диаметр - см. таблицу 36. 2. Позиционный допуск осей отверстий - см. таблицу 35. 3. Параметр шероховатости поверхности - см. таблицу 37. |
|
В |
Смятие кромок. |
Визуальний контроль. Лупа ЛП-1-7´. Измерительный контроль. Калибр пазовый. |
1. Опиливание в пределах допуска на ширину паза. 2. Увеличение ширины паза долблением до следующего типоразмера. 2. Увеличение ширины паза долблением до следующего типоразмера. 3. Долбление нового паза на расстоянии не менее 0,25 длины окружности от старой. 4. Замена. |
1. Допустимая ширина паза - см. таблицы 35, 36. 2. Допустимая ширина увеличенного паза - следующая из ряда 12 мм, 18 мм, 24 мм, 25 мм, 28 мм, 36 мм, 40 мм при условии установки шпонки соответствующего типоразмера. 3. Допуск симметричности паза относительно оси поверхности А в пределах допуска на ширину паза. 4. Допуск параллельности боковых граней шпоночного паза относительно оси поверхности А: при ширине паза: до 20 мм - 0,02 мм; до 28 мм - 0,03 мм; св. 28 мм - 0,04 мм 5. Параметр шероховатости поверхности - см. таблицу 37. |
|
|
Г |
Смятие. |
Визуальный контроль. Лупа ЛП-1-7´. Контроль прилегания пальцев муфты к поверхности «по краске». |
- |
1. Зачистка. 2. Замена. |
1. Прилегание пальцев к поверхности Г - не менее 85 % площади. 2. Параметр шероховатости поверхностей - см. таблицу 37. |
|
Г1 |
Износ. |
Измерительный контроль. Нутромеры: 18 - 50; 50 - 100. |
Диаметр - см. таблицу 36. |
1. Допустимый диаметр - см. таблицу 36. 2. Позиционный допуск осей отверстий - см. таблицу 35. 3. Допуск круглости отверстий 0,06 мм. 4. Параметр шероховатости поверхностей - см. таблицу 37. |
Таблица 35
Размеры в мм
|
Полумуфта насоса |
Позиционный допуск осей |
||||||
|
Размер по чертежу |
Допустимый размер, не более |
||||||
|
Æ А |
Æ В |
Æ Г |
Æ А |
Æ В |
Æ Г |
Б, Б1, Г, Г1 |
|
|
Д200-95 Д200-36 Д320-50 Д320-70 |
32+0,025 |
|
- |
32,025 |
10,018 |
- |
- |
|
Д500-65 |
55+0,046 |
|
- |
55,046 |
16,120 |
- |
0,16 |
|
Д630-90 |
55+0,046 |
|
- |
55,046 |
16,120 |
- |
0,16 |
|
Д800-57 |
55+0,046 |
|
- |
55,046 |
16,120 |
- |
0,16 |
|
Д1250-65 |
55+0,046 |
|
- |
55,046 |
16,120 |
- |
0,16 |
|
Д1250-125 |
80+0,046 |
|
- |
80,046 |
22,149 |
- |
0,16 |
|
Д1600-90 |
80+0,046 |
|
- |
80,046 |
22,149 |
- |
0,16 |
|
Д2000-21 |
55+0,030 |
16+0,180 |
36+0,160 |
55,030 |
16,180 |
36,160 |
0,35 |
|
Д2000-21 |
55+0,030 |
16+0,180 |
46+0,160 |
55,030 |
16,180 |
46,160 |
0,35 |
|
Д2000-100 |
85+0,035 |
25+0,033 |
72+0,400 |
85,035 |
25,033 |
72,400 |
0,35 |
|
Д2500-62 |
85+0,035 |
25+0,045 |
72+0,400 |
85,035 |
25,045 |
72,400 |
0,35 |
|
Д3200-33 |
85+0,035 |
25+0,050 |
72+0,400 |
85,035 |
25,050 |
72,400 |
0,35 |
|
Д3200-75 |
85+0,035 |
25+0,045 |
58+0,190 |
85,035 |
25,045 |
58,190 |
0,35 |
|
Д4000-22 |
85+0,035 |
24+0,045 |
46+0,160 |
85,035 |
24,045 |
46,160 |
0,30 |
|
Д5000-32 |
85+0,035 |
24+0,045 |
72+0,400 |
85,035 |
24,045 |
72,400 |
0,30 |
|
Д6300-27 |
85+0,035 |
24+0,045 |
72+0,400 |
85,035 |
24,045 |
72,400 |
0,30 |
|
Д12500-24 |
150+0,063 |
36 ± 0,031 |
- |
150,063 |
36,031 |
- |
- |
Таблица 36
Размеры в мм
|
Полумуфта электродвигателя |
||||||||
|
Размер по чертежу |
Допустимый размер, не более |
|||||||
|
Æ А |
Æ Б1 |
Æ В |
Æ Г1 |
Æ А |
Æ Б1 |
Æ В |
Æ Г1 |
|
|
Д200-95 |
60+0,030 |
- |
|
36+0,160 |
60,030 |
36,160 |
18,021 |
36,160 |
|
Д200-95 |
70+0,030 |
- |
|
36+0,160 |
70,030 |
36,160 |
20,026 |
36,160 |
|
Д200-36 |
48+0,025 |
- |
|
36+0,160 |
48,025 |
36,160 |
14,021 |
36,160 |
|
Д200-36 |
60+0,030 |
- |
|
36+0,160 |
60,030 |
36,160 |
18,021 |
36,160 |
|
Д320-50 |
60+0,030 |
- |
|
36+0,160 |
60,030 |
36,160 |
18,021 |
36,160 |
|
Д320-50 |
70+0,030 |
- |
|
36+0,160 |
70,030 |
36,160 |
20,021 |
36,160 |
|
Д320-70 |
60+0,030 |
- |
|
36+0,160 |
60,030 |
36,160 |
20,026 |
36,160 |
|
Д320-70 |
70+0,030 |
- |
|
36+0,160 |
70,030 |
36,160 |
18,021 |
36,160 |
|
Д500-65 |
80+0,046 |
- |
|
46+0,160 |
80,046 |
46,160 |
20,026 |
46,160 |
|
Д630-90 |
70+0,046 |
- |
|
36+0,160 |
70,046 |
36,160 |
20,149 |
36,160 |
|
Д630-90 |
80+0,046 |
- |
|
46+0,160 |
80,046 |
36,160 |
22,149 |
46,160 |
|
Д630-90 |
90+0,054 |
- |
|
58+0,190 |
90,046 |
58,190 |
25,149 |
58,190 |
|
Д630-90 |
100+0,054 |
- |
|
58+0,190 |
100,054 |
58,190 |
25,149 |
58,190 |
|
Д630-90 |
110+0,054 |
- |
|
58+0,190 |
110,054 |
58,190 |
32,180 |
58,190 |
|
Д800-57 |
90+0,054 |
- |
|
58+0,190 |
90,054 |
58,190 |
25,149 |
58,190 |
|
Д1250-65 |
110+0,054 |
- |
|
58+0,190 |
110,054 |
58,190 |
32,180 |
58,190 |
|
Д1250-125 |
100+0,054 |
- |
58+0,190 |
|
100,054 |
- |
58,190 |
28,149 |
|
Д1250-125 |
110+0,054 |
- |
72+0,190 |
|
110,054 |
- |
72,190 |
32,180 |
|
Д1250-125 |
120+0,054 |
- |
72+0,190 |
|
120,054 |
- |
72,190 |
32,180 |
|
Д1600-90 |
80+0,046 |
- |
46+0,160 |
|
80,046 |
- |
46,160 |
22,149 |
|
Д1600-90 |
90+0,054 |
- |
58+0,190 |
|
90,054 |
- |
58,190 |
25,149 |
|
Д1600-90 |
100+0,054 |
- |
58+0,190 |
|
100,054 |
- |
58,190 |
28,149 |
|
Д1600-90 |
110+0,054 |
- |
72+0,190 |
|
11,054 |
- |
72,190 |
32,180 |
|
Д2000-21 |
80+0,030 |
18+0,027 |
- |
|
80,030 |
18,027 |
- |
20,149 |
|
Д2000-21 |
70+0,030 |
13+0,027 |
- |
|
70,030 |
13,027 |
- |
25,149 |
|
Д2000-100 |
110+0,035 |
32+0,039 |
- |
32+0,050 |
110,035 |
32,039 |
- |
32,050 |
|
Д2500-62 |
110+0,035 |
32+0,039 |
- |
32+0,050 |
110,035 |
32,039 |
- |
32,050 |
|
Д3200-75 |
120+0,035 |
32+0,052 |
- |
32+0,050 |
120,035 |
32,052 |
- |
32,050 |
|
Д3200-33 |
110+0,035 |
25+0,045 |
- |
32+0,050 |
110,035 |
25,045 |
- |
32,050 |
|
Д4000-22 |
120+0,035 |
32+0,050 |
- |
32+0,050 |
120,035 |
32,050 |
- |
32,050 |
|
Д5000-32 |
160+0,035 |
25+0,045 |
- |
28+0,045 |
160,035 |
25,045 |
- |
28,045 |
|
Д6300-27 |
110+0,035 |
32+0,050 |
- |
32+0,050 |
110,035 |
32,050 |
- |
32,050 |
|
Д12500-24 |
150+0,063 200+0,063 |
- |
- |
110+0,222 |
150,063 200,063 |
- |
- |
110,222 |
Таблица 37
|
Полумуфта насоса |
Полумуфта электродвигателя |
|||||||
|
Параметр шероховатости, не более, мкм |
||||||||
|
А |
Б |
В |
Г |
А |
Б1 |
В |
Г1 |
|
|
Д200-95 |
||||||||
|
Д200-36 |
Ra2,5 |
Ra2,5 |
Rz20 |
- |
Ra1,6 |
- |
Rz20 |
Rz20 |
|
Д320-50 |
||||||||
|
Д320-70 |
||||||||
|
Д500-65 |
Ra2,5 |
Ra2,5 |
Rz40 |
- |
Ra1,6 |
- |
Rz40 |
Ra1,25 |
|
Д630-90 |
Ra2,5 |
Ra2,5 |
Rz20 |
Ra1,6 |
- |
Rz20 |
Ra1,25 |
|
|
Д800-57 |
Ra2,5 |
Ra2,5 |
Rz40 |
- |
Ra1,6 |
- |
Rz40 |
Ra1,25 |
|
Д1250-65 |
Ra2,5 |
Ra2,5 |
Rz40 |
- |
Ra1,6 |
- |
Rz40 |
Ra1,25 |
|
Д1250-125 |
Ra2,5 |
Ra2,5 |
Rz20 |
- |
Ra1,6 |
- |
Rz20 |
Ra1,25 |
|
Д1600-90 |
Ra2,5 |
Ra2,5 |
Rz20 |
- |
Ra1,6 |
- |
Rz20 |
Ra1,25 |
|
Д2000-21 |
||||||||
|
Д2000-100 |
||||||||
|
Д2500-62 |
Ra1,6 |
- |
Rz12,5 |
Ra 1,6 |
Ra1,6 |
Ra1,6 |
Rz12,5 |
- |
|
Д3200-33 |
||||||||
|
Д3200-75 |
||||||||
|
Д4000-22 |
Ra2,5 |
- |
Rz20 |
Rz20 |
Ra2,5 |
Ra2,5 |
Rz20 |
- |
|
Д5000-32 |
Ra2,5 |
- |
Rz20 |
Rz20 |
Ra2,5 |
Ra2,5 |
Rz20 |
- |
|
Д6300-27 |
Ra2,5 |
- |
Rz20 |
Rz20 |
Ra2,5 |
Ra2,5 |
Rz20 |
- |
|
Д12500-24 |
Ra2,5 |
Ra2,5 |
Rz20 |
Rz20 |
Ra2,5 |
- |
Rz20 |
Rz20 |

а) насосы Д200-95, Д200-36, Д320-50, Д320-70, Д500-65, Д630-90, Д800-57, Д1250-65, Д1250-125, Д1600-90, Д12500-24; б) насосы Д2000-21, Д2000-100, Д2500-62, Д3200-33,
Рисунок 52 - Палец (поз. 5 рис. 49, 50)
|
Карта дефектации и ремонта 18 Палец рисунок - рис. 52 Количество на изделие: Д200-36 - 8 (6) шт. Д200-95, Д320-50, Д320-70 - 10 (8) шт. Д630-90, Д1250-125, Д1600-90, Д12500-24 - 10 шт. Д500-65, Д800-57, Д1250-65, Д2000-21, Д2000-100, Д2500-62, Д3200-33, Д3200-75, Д4000-22, Д5000-32, Д6300-27 - 8 шт. Нормы зазоров (натягов) - таблица 34 |
|
Обозначение |
Возможный дефект |
Способ установления дефекта и контрольный инструмент |
Техническое требование по чертежу |
Заключение и рекомендуемый способ ремонта |
Техническое требование после ремонта |
|
- |
Трещины. |
Визуальный контроль. Лупа ЛП-1-7´. |
- |
Замена. |
Трещины не допускаются. |
|
А |
Повреждение резьбы. |
Визуальный контроль. Лупа ЛП-1-7´. |
- |
Замена. |
1. Допускаются отдельные зачищенные вмятины, выкрашивания общей протяженностью не более двух ниток глубиной не более 1/2 высоты резьбы и не препятствующие навинчиванию гайки. 2. Параметр шероховатости поверхности - не более Rz20. |
|
Б |
Износ. |
Проверка прилегания к поверхности отверстий в полумуфте насоса «по краске». |
- |
1. Шлифовка. 2. Замена. |
1. Параметр шероховатости поверхности - не более Ra2,5. 2. Прилегание пальцев должно быть равномерным и занимать 85 % площади. |
|
В |
Износ. |
Измерительный контроль. Микрометры: МР 25; МР 50; МР 75. |
Диаметр - см. таблицу 38. |
1. Проточка. 2. Замена. |
1. Допустимый диаметр - см. таблицу 38. 2. Параметр шероховатости поверхности - не более Rz40. |
|
Г |
Износ. |
Измерительный контроль. Микрометры: МР 25; МР 50. |
Диаметр - см. таблицу 38. |
Замена. |
- |
Таблица 38
Размеры в мм
|
Палец |
||||
|
Размер по чертежу |
Допустимый размер, не менее |
|||
|
Æ В |
Æ Г |
Æ В |
Æ Г |
|
|
Д200-95 Д200-36 Д320-50 Д320-70 |
18-0,110 |
- |
17,890 |
- |
|
Д500-65 |
24-0,130 |
- |
24,870 |
- |
|
Д630-90 |
18-0,110 |
- |
17,890 |
- |
|
Д630-90 |
24-0,130 |
- |
23,870 |
- |
|
Д800-57 |
30-0,130 |
- |
29,870 |
- |
|
Д1250-65 |
30-0,130 |
- |
29,870 |
- |
|
Д1250-125 |
38-0,160 |
- |
37,840 |
- |
|
Д1600-90 |
30-0,130 |
- |
29,870 |
- |
|
Д2000-21 |
24-0,033 |
18-0,027 |
23,967 |
17,973 |
|
Д2000-21 |
18-0,027 |
13-0,027 |
17,973 |
12,973 |
|
Д2000-100 |
38-0,160 |
32-0,039 |
37,840 |
31,961 |
|
Д2500-62 |
38-0,160 |
32-0,039 |
37,840 |
31,961 |
|
Д3200-75 |
30-0,130 |
32-0,052 |
29,870 |
31,948 |
|
Д3200-33 |
30-0,045 |
25-0,045 |
29,955 |
24,955 |
|
Д4000-22 |
38-0,160 |
32-0,050 |
37,840 |
31,950 |
|
Д5000-32 |
30-0,045 |
25-0,045 |
29,955 |
24,955 |
|
Д6300-27 |
38-0,160 |
32-0,050 |
37,840 |
31,950 |
|
Д12500-24 |
60-0,190 |
- |
59,810 |
- |
Рисунок 53 - Втулка распорная (поз. 7, рис. 49, 50)
|
Втулка распорная - рис. 53 Количество на изделие - см. карту дефектации и ремонта 18 Нормы зазоров (натягов) - таблица 34 |
|
Обозначение |
Возможный дефект |
Способ установления дефекта и контрольный инструмент |
Техническое требование по чертежу |
Заключение и рекомендуемый способ ремонта |
Техническое требование после ремонта |
|
- |
Трещины. |
Визуальный контроль. Лупа ЛП-1-7´. |
- |
Замена. |
Трещины не допускаются. |
|
А |
Износ. |
Измерительный контроль. Нутромеры: НИ 18-50; НМ 75. |
1. Расточка. 2. Замена. |
1. Допустимый диаметр - см. таблицу 39. 2. Параметр шероховатости поверхности - не более Rz50. |
Таблица 39
Размеры в мм
|
Втулка распорная |
||
|
Размер по чертежу |
Допустимый размер, не более |
|
|
Æ А |
Æ А |
|
|
Д200-95 |
|
|
|
Д200-36 |
18+0,120 |
18,120 |
|
Д320-50 |
||
|
Д320-70 |
||
|
Д500-65 |
24+0,130 |
24,130 |
|
Д630-90 |
30+0,130 |
30,130 |
|
Д630-90 |
24+0,130 |
24,130 |
|
Д630-90 |
18+0,130 |
18,130 |
|
Д800-57 |
30+0,130 |
30,130 |
|
Д1250-65 |
30+0,130 |
30,130 |
|
Д1250-125 |
38+0,160 |
38,160 |
|
Д1600-90 |
38+0,160 |
38,160 |
|
Д2000-21 |
24+0,130 |
24,130 |
|
Д2000-21 |
18+0,130 |
18,130 |
|
Д2000-100 |
38+0,160 |
38,160 |
|
Д2500-62 |
38+0,160 |
38,160 |
|
Д3200-75 |
38+0,160 |
38,160 |
|
Д3200-33 |
30+0,160 |
30,160 |
|
Д4000-22 |
32+0,130 |
32,130 |
|
Д5000-32 |
30+0,130 |
30,130 |
|
Д6300-27 |
32+0,130 |
32,130 |
|
Д12500-24 |
60+0,190 |
60,190 |
7.4.3 Требования к сборке и к отремонтированной муфте
7.4.3.1 На посадочных поверхностях под посадку не должно быть задиров и забоин.
7.4.3.2 При сборке муфты все пальцы должны входить в отверстия полумуфты без деформации упругих элементов.
7.4.3.3 Отклонение центрального угла между осями двух отверстий не должно быть более +12°.
7.4.3.4 При сборке между полумуфтами должен быть обеспечен зазор в пределах, приведённых в таблице 40.
Таблица 40
|
Муфта втулочно-пальцевая |
|
|
Зазор, мм |
|
|
Д200-95, Д200-36, Д320-50, Д320-70 |
Св. 4,0 до 5,0 включ. |
|
Д500-65 |
-"- 2,0 -"- 6,0 -"- |
|
Д630-90 |
-"- 4,0 -"- 5,0 -"- |
|
Д800-57 |
-"- 2,0 -"- 6,0 -"- |
|
Д1250-65 |
-"- 2,0 -"- 6,0 -"- |
|
Д1250-125 |
-"- 4,0 -"- 5,0 -"- |
|
Д1600-90 |
-"- 4,0 -"- 5,0 -"- |
|
Д2000-21, Д2000-21, Д2000-100, Д2500-62, Д3200-75, Д3200-33 |
-"- 2,0 -"- 10,0 -"- |
|
Д4000-22 |
-"- 5,0 -"- 8,0 -"- |
|
Д5000-32 |
-"- 2,0 -"- 10,0 -"- |
|
Д6300-27 |
-"- 5,0 -"- 8,0 -"- |
|
Д12500-24 |
-"- 5,0 -"- 8,0 -"- |
8.1 Зазоры (натяги) между составными сопряжёнными деталями насоса (рисунки 1 - 4) должны быть в пределах норм, приведённых в таблице 41.
Таблица 41 - Нормы зазоров (натягов) собранного насоса
|
Позиция сопряженной составной части |
Название сопряженной составной части |
Обозначение чертежа (нормативного документа) составной части |
Размер составной части по чертежу, мм |
Зазор (+), натяг (-), мм, допустимый после капитального ремонта |
||
|
номинальное значение |
предельное отклонение |
|||||
|
4, 10 |
Кольцо сальника (камера водяная) |
Д200-95 Д200-36 Д320-50 |
||||
|
Д200-95 Д200-36 Д320-50 Д320-70 |
0603.405142.0001 |
56 |
+0,740 |
Д320-70 Д630-90 Д500-65 Д800-57 Д1250-65 |
||
|
Д500-65 Д630-90 Д800-57 Д1250-65 |
Н03.629.01.01.001 |
77 |
+0,740 |
+3,480 +2,000 Д1250-125 |
||
|
Д1250-125 Д1600-90 |
Н03.649.01.01.004 |
122 |
+1,000 |
Д1600-90 +3,250 |
||
|
Д2000-21 |
Н06.11.20.08 |
92 |
+0,870 |
+2,000 |
||
|
Д2000-100 |
Н06.010.20.06 |
141 |
+1,000 |
|||
|
Д2500-62 |
Д-6838 |
122 |
+1,000 |
Д2000-21 |
||
|
Д3200-33 |
Д-6838 |
137 |
+1,000 |
|||
|
Д3200-75 |
Д-6858 |
137 |
+1,000 |
+3,740 |
||
|
Д4000-22 |
Д-6858 |
137 |
+1,000 |
+2,000 |
||
|
Д5000-32 |
Д-6858 |
137 |
+1,000 |
|||
|
Д6300-27 |
Д-6858 |
137 |
+1,000 |
Д2000-100 |
||
|
Д12500-24 |
Д-29133 |
222 |
+1,150 |
+4,000 |
||
|
а, г |
+2,000 Д2500-62 +3,870 +2,000 |
|||||
|
а, г |
5, 11 |
Втулка защитная |
||||
|
Д200-95 Д200-36 Д320-50 Д320-70 |
0603.401364.0001 |
-0,740 |
Д3200-33 Д4000-22 Д5000-32 Д6300-27 +4,000 |
|||
|
Д500-65 Д630-90 Д800-57 |
Н03.629.01.01.015 |
75 |
-0,740 |
+2,000 |
||
|
Д1250-65 |
Д12500-24 |
|||||
|
Д1250-125 Д1600-90 |
Н03.649.01.01.018 |
120 |
-0,250 |
+3,480 +2,180 |
||
|
Д2000-21 |
Н06.011.50.06-01 |
90 |
-0,870 |
|||
|
Д2000-100 |
Н06.011.50.05.02-01 |
139 |
-1,000 |
|||
|
Д2500-62 |
120 |
-0,870 |
||||
|
Д3200-33 |
Н06.011.50.06-01 |
135 |
-1,000 |
|||
|
Д3200-75 |
Г-26605 |
135 |
-1,000 |
|||
|
Д4000-22 |
Г-26584 |
135 |
-1,000 |
|||
|
Д5000-32 |
Д-4333 |
137 |
-1,000 |
|||
|
Д6300-27 |
Г-26603 Д-4333 |
135 |
-1,000 |
|||
|
Д12500-24 |
Г-29649 |
220 |
-0,180 -0,330 |
|||
|
3, 9 |
Грунд-букса |
|||||
|
Д200-95 Д200-36 Д320-50 Д320-70 |
0603.409111.0002 |
56 |
+0,740 |
Д200-95 Д200-36 Д320-50 Д320-70 Д500-65 |
||
|
Д500-65 Д630-90 Д800-57 Д1250-65 |
Н03.629.01.01.004 |
77 |
+0,740 |
Д630-90 Д800-57 Д1250-65 +3,580 |
||
|
Д1250-125 Д1600-90 |
Н03.649.01.01.003 |
122 |
+1,000 |
+2,000 |
||
|
б, в |
Д12500-24 |
Г-310-20 |
222 |
Д1250-125 Д1600-90 |
||
|
5, 11 |
Втулка защитная |
+3,250 |
||||
|
Д200-95 Д200-36 |
0603.401364.0001 |
54 |
-0,740 |
+2,000 |
||
|
Д320-50 Д320-70 |
||||||
|
Д500-65 Д630-90 Д800-57 Д1250-65 |
Н03.629.01.01.015 |
75 |
-0,740 |
|||
|
Д1250-125 Д1600-90 |
Н03.649.01.01.018 |
120 |
-0,250 |
|||
|
Д12500-24 |
Г-29648 |
220 |
-0,170 -0,355 |
|||
|
3, 9 |
Кольцо |
|||||
|
Д2000-21 |
Н06.011.20.04 |
90 |
+0,270 |
Д2000-21 |
||
|
Д3200-33 |
Д-21700 |
137 |
+1,000 |
+1,740 |
||
|
Д3200-75 Д4000-22 Д5000-32 Д6300-27 |
Д-21698 |
137 |
+1,000 |
Д3200-33 Д3200-75 Д4000-22 Д5000-32 |
||
|
б1, в1 |
5, 11 |
Втулка защитная |
Д6300-27 |
|||
|
Д2000-21 |
Н06.011.50.05 |
90 |
-0,870 |
+2,000 |
||
|
Д3200-33 |
Г-26605 |
135 |
-1,000 |
+4,000 |
||
|
Д3200-75 |
Г-26584 |
135 |
-1,000 |
|||
|
Д4000-22 |
Д-4333 |
135 |
-1,000 |
|||
|
Д5000-32 |
Г-26603 |
135 |
-1,000 |
|||
|
Д6300-27 |
Д-4333 |
135 |
-1,000 |
|||
8.2 Составные части, не упомянутые в разделе 7, перед сборкой подлежат дефектации. На них не допускаются трещины, следы коррозии, следы выработки, вмятины, заусенцы, нарушение защитного покрытия.
Детали, перечень которых приведен в таблице Г.1 (приложение Г), подлежат замене независимо от их технического состояния.
8.3 Перед сборкой все составные части должны быть очищены от грязи, следов коррозии и продуты сжатым воздухом. Резьбовые поверхности крепежа, поверхности штифтов, а также сопрягаемые поверхности, в том числе и паронитовые прокладки, должны быть смазаны тонким слоем ЦИАТИМ-205 по ГОСТ 8551, подшипники - маслом Т22 по ГОСТ 32, ТП22 по ГОСТ 9972, солидолом по ГОСТ 4366, смазкой по ГОСТ 1033 или маслом индустриальным И 20А по ГОСТ 20799.
8.4 Установку составных частей при сборке следует производить в соответствии с их маркировкой.
8.5 Перед установкой сальниковой набивки необходимо проверить вращение ротора - ротор должен вращаться легко, без заеданий.
8.6 Кольца набивки сальника должны быть тщательно подогнаны к валу. Установка сальниковой набивки должна быть выполнена так, чтобы рабочая жидкость просачивалась через сальник отдельными каплями или тоненькой струйкой. Для этого разрезы колец сальника должны быть скошены под углом от 30° до 40° и опрессованы, а кольца набивки должны быть установлены со смещением на 120° по винтовой линии. При этом после укладки последнего кольца набивки нажимная букса должна быть равномерно притянута, после чего гайка должна быть отпущена и довёрнута от руки.
8.7 Кольца упругой втулки необходимо размещать в отверстиях полумуфт с равномерным зазором.
8.8 Допускается установка кольца, изготовленного из фторопласта, толщиной от 2,0 до 4,0 мм при зазоре от 2,0 до 5,0 мм (для насосов Д4000-22, Д6300-27 см. рис. 6) и зазоре от 1,5 до 2,0 мм (для насоса Д12500-24 см. рис. 7) в сопряжениях:
- «корпус насоса 1 - кольцо 15, 16»;
- «корпус насоса 1 - крышка сальника 4, 14»;
- «корпус насоса 1 - камера водяная 5, 12».
8.9 Допускается (для насоса Д12500-24) при зазоре между корпусом насоса и грунд-буксой более 0,72 мм установка разрезной втулки, изготовленной из стали или латуни.
8.10 Допускается при увеличении зазора в сопряжениях «а, б, в, г» (см. таблицу 41) установка прокладки, изготовленной из фторопласта, толщиной от 2,0 до 4,0 мм между сопряжёнными деталями (сопряжение «а, г») и толщиной от 0,5 до 2,0 мм - сопряжение « б, в».
8.11 После окончательной сборки насоса ротор должен легко прокручиваться от руки (без сальниковой набивки), посторонних звуков при вращении быть не должно.
8.12 При сборке насоса необходимо проверить центровку с электродвигателем, т.е. радиальное смещение и параллельность осей валов насоса и электродвигателя в соответствии со схемой рисунка 54.
Радиальное смещение определяют методом кругового вращения, параллельность осей - методом двойного замера: «вверху - внизу», «справа - слева».
1 - вал насоса; 2 - скоба с индикатором ИЧ 02 кл.0; 3 - вал электродвигателя; индексы: в, н, л, п - соответственно замерам: вверху, внизу, слева, справа
|
Отклонение осей валов |
Допустимое значение, не более, мм |
Формула определения |
|
|
Несоосность |
εу |
см. таблицу 42 |
(ав - ан)/2 |
|
εх |
(ап - ал)/2 |
||
|
Непараллельность |
Δу |
см. таблицу 42 |
sв - sн |
|
Δх |
sn - sл |
||
Рисунок 54 - Схема проверки центровки насоса и электродвигателя
Таблица 42
Размеры в мм
|
Допуск соосности |
Допуск параллельности |
|
|
Д200-95; Д200-36; Д320-50; Д320-70 |
0,20 |
0,10 |
|
Д500-65 |
0,10 |
0,10 |
|
Д630-90 |
||
|
Д800-57 |
0,20 |
0,20 |
|
Д1250-65 |
0,30 |
0,30 |
|
Д1250-125 |
0,10 |
0,20 |
|
Д1600-90 |
0,10 |
0,20 |
|
Д2000-21; Д2000-100; Д2500-62; Д3200-75; Д3200-33 |
0,06 |
0,05 |
|
Д4000-22 |
0,50 |
0,20 |
|
Д5000-32 |
0,10 |
0,10 |
|
Д6300-27 |
0,50 |
0,20 |
|
Д12500-24 |
0,50 |
0,20 |
8.13 Окраска насоса должна быть восстановлена в соответствии с конструкторской документацией завода-изготовителя.
9.1 Качество ремонта насоса характеризует степень восстановления его эксплуатационных свойств, включая надежность, экономичность и поддержание этих качеств в течение определенной наработки.
Оценка качества ремонта должна основываться на сравнительном сопоставлении показателей качества отремонтированного насоса с нормативными значениями.
9.2 Изменяющиеся показатели качества определяются при проведении эксплуатационных испытаний насоса до и после ремонта, а полученные результаты представляют собой количественные показатели качества ремонта насоса. Номенклатура показателей качества насоса, по которым производится сравнительное сопоставление показателей до и после ремонта, приведена в таблице 43.
Таблица 43 - Номенклатура составляющих показателей качества насоса до и после ремонта
|
Заводские нормативные данные |
Данные эксплуатационных испытаний, измерений |
Примечание |
||
|
до капитального ремонта |
после капитального ремонта |
|||
|
1. Подача, м3/ч |
*) |
|||
|
2. Напор, м |
*) |
|||
|
3. Частота вращения, с-1 (об./мин.) |
*) |
|||
|
4. Мощность, кВт |
*) |
|||
|
5. Виброперемещение, мм |
***) |
|||
|
6. Внешняя утечка через сальниковое уплотнение, л/мин. |
0,1 |
|||
|
7. Уровень звука на расстоянии 1 м от агрегата, дБ(А), не более |
***) |
|||
|
8. Давление на входе в насос, МПа (кгс/см2) |
||||
|
9. Кавитационный запас |
||||
|
10. Коэффициент полезного действия |
||||
|
11. Температура подшипников, °С |
||||
|
*) согласно приложению А, таблице А.1; **) согласно ИСО 10816-3; ***) не более уровня электродвигателя, входящего в комплект насосного агрегата. |
||||
9.3 При сдаче в ремонт необходимо проверить работу насоса на отсутствие посторонних шумов, а также проверить:
- технические характеристики насоса и их соответствие данным паспорта завода-производителя;
- вибрацию и температуру подшипников;
- состояние сальниковых уплотнений.
9.4 Отремонтированный насос должен быть подвергнут приемо-сдаточным испытаниям по ГОСТ 6134 и ТУ 26-06-1186 [1].
9.5 Испытания при приемке из ремонта включают в себя опробования (обкатку) насоса и его пробную эксплуатацию.
При испытаниях частота вращения не должна отличаться от номинальной более, чем на 5 %.
9.6 Опробование (обкатку насосов) необходимо проводить на протяжении времени, необходимого для регулирования сальниковых уплотнений. Оно может быть закончено после достижения установившейся температуры подшипников, которая не должна превышать 343 К (70 °С). Продолжительность обкатки должна быть не менее времени, указанном в таблице 44.
Состояние сальниковых уплотнений считают нормальным, если они не нагреваются и через них просачивается редкими каплями перекачиваемая жидкость 0,5 л/час.
Таблица 44
|
Продолжительность обкатки, ч, не менее |
Мощность насоса в номинальном режиме, кВт |
|
|
Д200-95; Д200-36; Д320-50; Д320-70; Д630-90; Д2000-21; Д2000-100 |
0,25 |
Св. 10 до 100 включ. |
|
Д500-65; Д630-90; Д800-57; Д1250-65; Д1250-125; Д1600-90; Д2000-21; Д2000-100; Д2500-62; Д3200-75; Д3200-33; Д4000-22; Д5000-32; Д6300-27; Д12500-24 |
0,50 |
Св. 100 |
9.7 Измерение параметров, проведение испытаний, обработка результатов испытаний, используемая аппаратура, оценка результатов, методы и средства контроля должны соответствовать ГОСТ 6134, ГОСТ 20831 в пределах рабочей области.
Рабочая область насоса должна соответствовать характеристикам по ТУ 26-06-1184 [2].
9.8 Параметры работы насоса следует контролировать штатными приборами, установленными на насосном агрегате.
Виброхарактеристику и шумовую характеристику необходимо измерять приборами класса точности не ниже 2,0. Виброметр должен удовлетворять требованиям ГОСТ 25275, а шумомер - ГОСТ 17187.
9.9 Виброперемещение следует измерять на корпусе подшипникового узла в двух взаимно перпендикулярных направлениях, проходящих через ось вращения рабочего колеса насоса.
Для насоса Д12500-24, имеющего частоту вращения 10 с-1 (600 об/мин), следует измерять пиковое значение (размах) виброперемещения.
Для остальных насосов (частота вращения 10 с-1 и выше) следует измерять среднеквадратическое значение или логарифмический уровень виброскорости в диапазоне частот от 10 Гц до 1000 Гц.
Допускается определение показателей вибрации проводить по результатам измерения виброскорости в октавных и других полосах частот.
9.10 При снятии шумовой характеристики измеряют уровни звукового давления в полосах частот или уровень звука в контрольных точках в соответствии с методом, выбранным по ГОСТ 23941.
9.11 Измерительные средства, при помощи которых определяют результаты испытаний, следует применять в условиях, регламентированных в эксплуатационной документации на эти средства, и иметь действующие клейма или документы о поверке.
9.12 Средства измерения, используемые при испытаниях, должны иметь класс точности не более:
- 2,5 (для измерения давления, мощности насоса);
- 1,0 (для измерения частоты вращения).
Предельная погрешность определения параметров насоса при испытаниях на номинальном (заданном) режиме не должна превышать:
- для подачи напора и мощности ±3,0 %;
- для частоты вращения ±1,0 %;
- для коэффициента полезного действия ±5,0 %.
9.13 Напорная (энергетическая) характеристика насоса должна быть определена в интервале от нулевой подачи до подачи, превышающей не менее чем на 10 % наибольшую подачу рабочего интервала при давлении на входе в насос, исключающем влияние кавитации на результаты испытаний на всех испытуемых режимах. Допускается в качестве минимальной принимать подачу, не превышающую 90 % от наименьшей подачи рабочего интервала режимов, если оно не оговорено в программе методики испытаний.
Общее число подач при определении напорной (энергетической) характеристики должно быть не менее 10.
9.14 При получении кавитационной характеристики должна быть определена зависимость кавитационного запаса от подачи насоса. Характеристика должна быть получена в результате снятия частных кавитационных характеристик при постоянных значениях подачи насоса.
При получении кавитационной характеристики насоса частные кавитационные характеристики следует снимать при наименьшей, номинальной, и наибольшей подаче рабочего интервала режимов с отклонением не более ±5 %. Допускается частную кавитационную характеристику снимать только на номинальной подаче.
9.15 Контроль кавитационного запаса следует проводить на номинальном режиме работы насоса с отклонением по подаче не более ±5 %.
Предельно допускаемая погрешность определения кавитационного запаса должна составлять ±5,3 %, но не менее ±0,2 м.
9.16 Величина внешней утечки через сальковое уплотнение выражается расходом жидкости и должна быть определена при работе насоса в режимах, указанных в программе и методике испытаний с погрешностью ±5,0 %.
9.17 Результаты испытаний считаются положительными, если насос, который испытывался, отвечает требованиям данного стандарта.
При получении неудовлетворительных результатов испытаний необходимо выяснить и устранить причину несоответствия требованиям стандарта, после чего провести повторные испытания.
10.1 Требования безопасности должны соответствовать ГОСТ Р 50831 (раздел 3) и техническим условиям на поставку.
10.2 Уровень допустимых выбросов вредных веществ в атмосферу при проведении ремонтных работ должен соответствовать нормам согласно ГОСТ 17.2.3.02.
10.3 Воздух рабочей зоны должен соответствовать ГОСТ 12.1.005.
10.4 Требования пожарной безопасности во время ремонта должны соответствовать ГОСТ 12.4.009
10.5 На насосе должны быть восстановлены в соответствии с указаниями рабочих чертежей заводов-изготовителей:
- специальные устройства для подъёма и транспортирования (рым-болты, ушки, отверстия);
- ограждения вращающихся частей.
10.6 Уровень шума, создаваемый насосом при работе и определяемый по требованиям ГОСТ 12.1.003, не должен превышать 118 дБ (А).
10.7 Вибрационная безопасность во время ремонта должна соответствовать требованиям ГОСТ 12.1.012.
10.8 Насос и электродвигатель должны быть заземлены в соответствии с ГОСТ 12.1.030.
11.1 Оценка соответствия производится в соответствии с СТО 17230282.27.010.002.
11.2 Оценка соответствия соблюдения технических требований, объёма и методов дефектации, методов контроля и испытаний к составным частям и насосам в целом, нормам и требованиям настоящего стандарта осуществляется в форме контроля в процессе ремонта и при приёмке в эксплуатацию.
11.3 В процессе ремонта следует производить контроль за выполнением требований настоящего стандарта к составным частям и насосам в целом при производстве ремонтных работ, выполнении технологических операций ремонта и поузловых испытаний.
При приёмке в эксплуатацию отремонтированных насосов следует производить контроль результатов приемо-сдаточных испытаний, работы в период подконтрольной эксплуатации, показателей качества, установленных оценок качества отремонтированных насосов и выполненных ремонтных работ.
11.4 Результаты оценки соответствия характеризуются оценками качества отремонтированного насоса и выполненных ремонтных работ.
11.5 Контроль за соблюдением норм и требований настоящего стандарта осуществляют органы (департаменты, подразделения, службы), определяемые генерирующей компанией.
11.6 Контроль за соблюдением норм и требований настоящего стандарта осуществляют по правилам и в порядке, установленном генерирующей компанией.
Технические характеристики насосов
Таблица А.1
|
Подача, м3/ч |
Напор, м |
Частота вращения не более, с-1 (об/мин.) |
Допустимый кавитационный запас, м |
Мощность, кВт |
Давление на входе в насос, МПа (кгс/см2) |
Коэффициент полезного действия |
Масса, кг |
|
|
Д200-36 |
200 |
36 |
24,16 (1450) |
3,0 |
27 |
0,300 (3,000) |
0,75 |
480 |
|
Д200-95 |
200 |
93 |
48,32 (2950) |
8,5 |
70 |
360 |
||
|
Д320-50 |
320 |
50 |
24,16 (1450) |
4,5 |
56 |
650 |
||
|
Д320-70 |
320 |
70 |
48,32 (2950) |
8,5 |
75 |
500 |
||
|
Д500-65 |
500 |
65 |
24,16 (1450) |
4,5 |
120 |
620 |
||
|
Д630-90 |
630 |
90 |
24,16 (1450) |
6,5 |
265 |
730 |
||
|
500 |
36 |
16,00 (960) |
5,0 |
94 |
||||
|
Д800-57 |
800 |
57 |
24,16 (1450) |
4,0 |
155 |
0,82 |
880 |
|
|
Д1250-65 |
1250 |
65 |
24,16 (1450) |
6,0 |
260 |
0,86 |
1160 |
|
|
Д1250-125 |
1250 |
125 |
24,16 (1450) |
5,0 |
560 |
0,75 |
1710 |
|
|
Д1600-90 |
1600 |
90 |
24,16 (1450) |
7,0 |
455 |
0,87 |
1520 |
|
|
1000 |
40 |
16,00 (960) |
4,0 |
148 |
||||
|
Д2000-21 |
2000 |
21 |
16,33 (980) |
5,0 |
150 |
0,196 (2,000) |
0,86 |
1630 |
|
1250 |
14 |
12,16 (730) |
3,0 |
100 |
||||
|
Д2000-100 |
2000 |
100 |
16,33 (980) |
6,5 |
760 |
0,75 |
1480 |
|
|
Д2500-62 |
2500 |
62 |
16,33 (980) |
7,5 |
485 |
0,196 (2,000) |
0,87 |
2870 |
|
2000 |
34 |
12,16 (730) |
5,5 |
213 |
||||
|
Д3200-33 |
3200 |
33 |
16,33 (980) |
7,0 |
327 |
0,88 |
2940 |
|
|
2500 |
17 |
12,16 (730) |
5,0 |
132 |
||||
|
3200 |
75 |
16,33 (980) |
7,5 |
752 |
||||
|
Д3200-75 |
2500 |
45 |
12,16 (730) |
5,5 |
352 |
0,87 |
4150 |
|
|
Д4000-22 |
4000 |
22 |
9,75 (585) |
5,5 |
300 |
0,200 (2,000) |
0,78 |
- |
|
Д5000-32 |
5000 |
32 |
12,10 (730) |
8,0 |
500 |
0,88 |
- |
|
|
Д6300-27 |
6300 |
27 |
12,10 (730) |
10,0 |
600 |
0,79 |
9700 |
|
|
Д12500-24 |
12500 |
24 |
8,09 (485) |
7,0 |
950 |
0,88 |
30000 |
Таблица А.2 - Перечень заводов-изготовителей насосов
|
Обозначение |
Предприятие-изготовитель |
|
|
Д200-36 (5НДв; 5НДв-60) |
Н03.587.00.000 |
ОАО «Ливгидромаш» |
|
Д200-95 |
Н03.583.00.000 |
То же |
|
Д320-50 (6НДв; 6НДв-60) |
Н03.588.00.000 |
-»- |
|
Д320-70 |
Н03.589.00.000 |
-»- |
|
Д500-65 (10Д6-60; 1Д500-63) |
Н03.643.01.00.000 |
-»- |
|
Д630-90 (8НДв; 8НДв-60; 1Д630-90) |
Н03.629.00.00.000 |
-»- |
|
Д800-57 (12Д-9) |
Н03.644.01.00.000 |
-»- |
|
Д1250-65 (12НДс-60) |
Н03.630.01.00.000 |
-»- |
|
Д1250-125 (14НД-6; 1Д1250-125) |
Н03.649.00.00.000 |
-»- |
|
Д1600-90 (14НДс; 14НДс-60; 1Д1600-90) |
Н03.650.00.00.000 |
-»- |
|
Д2000-21 (16НДн) |
Н06.011.10.00 |
ОАО «Сумский завод «Насосэнергомаш» |
|
Д2000-100 (20Д-6) |
Н06.010.10.00 |
То же |
|
Д2500-62 (18НДс) |
Н06.009.100.00 |
-«- |
|
Д3200-33 (20НДн) |
Б-28671 |
-«- |
|
Д3200-75 (20НДс) |
Б-28672 |
-«- |
|
Д4000-22 (32Д-19) |
Б-4361 |
-«- |
|
Д5000-32 (24НДн) |
Б-27398 |
-«- |
|
Д6300-27 |
Б-4361 |
-»- |
|
Д12500-24 (48Д-22) |
1,5Б29132 |
ОАО «УЭТМ-УГМ» |
Таблица Б.1
|
Наименование составной части |
Обозначение чертежа составной части |
Марка материала |
||
|
по чертежу |
заменителя |
|||
|
1, 9 |
Корпус (насоса) |
Чугун СЧ 20 |
- |
|
|
Крышка корпуса |
||||
|
Д200-95 |
0603.501612.0001 |
|||
|
Д200-95 |
0603.501512.0001 |
|||
|
Д200-36 |
0603.501612.0002 |
|||
|
Д200-36 |
0603.501512.0002 |
|||
|
Д320-50 |
0603.501612.0003 |
|||
|
Д320-50 |
0603.501512.0003 |
|||
|
Д320-70 |
0603.501612.0004 |
|||
|
Д320-70 |
0603.501512.0004 |
|||
|
Д500-65 |
Н03.643.01.00.002 |
|||
|
Д500-65 |
Н03.643.01.00.001 |
|||
|
Д630-90 |
Н03.629.01.00.002 |
|||
|
Д630-90 |
Н03.629.01.00.001 |
|||
|
Д800-57 |
Н03.644.01.00.002 |
|||
|
Д800-57 |
Н03.644.01.00.001 |
|||
|
Д1250-65 |
Н03.630.01.00.002 |
|||
|
Д1250-65 |
Н03.630.01.00.001 |
|||
|
Д1250-125 |
Н03.649.01.00.002 |
|||
|
Д1250-125 |
Н03.649.01.00.001 |
|||
|
Д1600-90 |
Н03.650.01.00.002 |
|||
|
Д1600-90 |
Н03.650.01.00.001 |
|||
|
Д2000-21 |
Н06.011.20.01 |
|||
|
Д2000-21 |
Н06.011.20.02 |
|||
|
Д2000-100 |
Н06.010.20.01 |
|||
|
Д2000-100 |
Н06.010.20.02 |
|||
|
Д2500-62 |
Н06.009.20.01 |
|||
|
Д2500-62 |
Н06.009.20.02 |
|||
|
Д3200-33 |
Б-6823 |
|||
|
Д3200-33 |
Б-6824 |
|||
|
Д3200-75 |
Б-6794 |
|||
|
Д3200-75 |
Б-6795 |
|||
|
Д4000-22 |
Б-0862 |
|||
|
Д4000-22 |
Б-0863 |
|||
|
Д5000-32 |
Б-0862 |
|||
|
Д5000-32 |
Б-0863 |
|||
|
Д6300-27 |
Б-0862 |
Чугун СЧ 20 |
- |
|
|
Д6300-27 |
Б-0863 |
|||
|
Д12500-24 |
Б310-7 |
|||
|
Д12500-24 |
0,75Б310-8 |
|||
|
3, 12 |
Скоба |
Чугун СЧ 20 |
||
|
Д200-95 |
0603.408653.001 |
- |
||
|
Д200-36 |
0603.408653.001 |
Стали: 10, 20, Ст.3 |
||
|
Д320-50 |
0603.408653.001 |
|||
|
Д320-70 |
0603.408653.001 |
|||
|
Д500-65 |
Н03.629.01.00.003 |
|||
|
Д630-90 |
Н03.629.01.00.003 |
|||
|
Д800-57 |
Н03.629.01.00.003 |
|||
|
Д1250-65 |
Н03.629.01.00.003 |
|||
|
Д1250-125 |
Н03.649.01.00.003 |
|||
|
Д1600-90 |
Н03.649.01.00.003 |
|||
|
4, 14 |
Крышка сальника |
Чугун СЧ 20 |
- |
|
|
Д200-95 |
0603.408443.005 |
|||
|
Д200-36 |
0603.408443.005 |
|||
|
Д320-50 |
0603.408443.005 |
|||
|
Д320-70 |
0603.408443.005 |
|||
|
Д500-65 |
Н03.629.01.01.009 |
Чугун СЧ 18 |
Стали: 10, 20, Ст.3 |
|
|
Д630-90 |
Н03.629.01.01.009 |
Чугун СЧ 20 |
Стали: 10, 20, Ст.3 |
|
|
Д800-57 |
Н03.629.01.01.009 |
|||
|
Д1250-65 |
Н03.629.01.01.009 |
|||
|
Д1250-125 |
03.649.01.01.009 |
Чугун СЧ 20 |
- |
|
|
Д1600-90 |
03.649.01.01.009 |
|||
|
Д3200-75 |
Г-25761 |
Чугун СЧ 20 |
Стали: 10, 20 |
|
|
Д4000-22 |
Г-25761 |
|||
|
Д5000-32 |
Г-25761 |
|||
|
Д6300-27 |
Г-25761 |
|||
|
Д12500-24 |
Г-29134 |
Чугун СЧ 20, Бр.ОЦС5-5-5 |
Стали: 10, 15, 20, 25 |
|
|
4, 14 |
Букса сальника |
Чугун СЧ 15 |
Стали: 10, 20 |
|
|
Д2000-21 |
Н06.011.20.10 |
|||
|
Д2000-100 |
Н06.010.20.05 |
|||
|
Д2500-62 |
Н06.009.20.08 |
|||
|
Д3200-33 |
Г-25764 |
|||
|
5, 11 |
Кольцо сальника |
|||
|
Д200-95 |
0603.405142.0001 |
Чугун СЧ 20 |
Ст. 4 |
|
|
Д200-36 |
0603.405142.0001 |
Сталь 0,8кп |
Ст. 4 |
|
|
Д320-50 |
0603.405112.0002 |
Сталь 0,8кп |
Ст. 4 |
|
|
Д320-70 |
0603.405142.0001 |
Сталь 0,8кп |
Ст. 4 |
|
|
Д500-65 |
0603.405112.0002 |
Чугун СЧ 20 |
Стали: 10, 20, Ст.3 |
|
|
Д630-90 |
Н03.629.01.01.001 |
Чугун СЧ 20 |
- |
|
|
Д800-57 |
0603.405112.0002 |
Чугун СЧ 20 |
Стали: 10, 20, Ст.3 |
|
|
Д1250-65 |
Н03.629.01.01.001 |
Чугун СЧ 20 |
Стали: 10, 20, Ст.3 |
|
|
Д1250-125 |
Н03.649.01.01.004 |
Чугун СЧ 20 |
- |
|
|
Д1600-90 |
Н03.649.01.01.004 |
Чугун СЧ 20 |
- |
|
|
Д2000-100 |
Н06.010.20.06 |
Чугун СЧ 20 |
Стали: 10, 20 |
|
|
Д2500-62 |
Д-6838 |
Чугун СЧ 20 |
Стали: 10, 20 |
|
|
Д3200-33 |
Д-6838 |
Чугун СЧ 20 |
Стали: 10, 20 |
|
|
Д12500-24 |
Д-29133 |
Чугун СЧ 20 Бр.ОЦС5-5-5 |
Стали: 10, 15, 20, 25 |
|
|
5, 11 |
Камера водяная |
|||
|
Д2000-21 |
Н06.011.20.08 |
Чугун СЧ 20 |
Стали: 10, 20 |
|
|
Д3200-75 |
Д-0858 |
Чугун СЧ 20 |
Стали: 10, 15, 20 |
|
|
Д4000-22 |
Д-0858 |
Чугун СЧ 20 |
Стали: 10, 15, 20 |
|
|
Д5000-32 |
Д-0858 |
Чугун СЧ 20 |
Стали: 10, 15, 20 |
|
|
Д6300-27 |
Д-0858 |
Чугун СЧ 20 |
Стали: 10, 15, 20 |
|
|
6, 10 |
Грунд-букса |
|||
|
Д200-95 |
0603.409111.0002 |
Ст. 3 |
Ст. 4 |
|
|
Д200-36 |
0603.409111.0002 |
Ст. 3 |
Ст. 4 |
|
|
Д320-50 |
0603.409111.0002 |
Ст. 3 |
Ст. 4 |
|
|
Д320-70 |
0603.409111.0002 |
Ст. 3 |
Ст. 4 |
|
|
Д500-65 |
Н03.629.01.01.004 |
Ст. 3 |
Стали: 20, 40 |
|
|
Д630-90 |
Н03.629.01.01.004 |
Ст. 3 |
Ст. 2 |
|
|
Д800-57 |
Н03.629.01.01.004 |
Ст. 3 |
Стали: 20, 40 |
|
|
Д1250-65 |
Н03.629.01.01.004 |
Ст. 3 |
Стали: 20, 40 |
|
|
Д1250-125 |
Н03.649.01.01.003 |
Ст. 3 |
Ст. 2 |
|
|
Д1600-90 |
Н03.649.01.01.003 |
Ст. 3 |
Ст. 2 |
|
|
Д12500-24 |
Г-310-20 |
Чугун СЧ 20 Бр.ОЦС5-5-5 |
Стали: 30, 35, 40, 20Х13, 30Х13 |
|
|
7, 8 |
Кольцо уплотняющее |
|||
|
Д200-95 |
0603.403183.0001 |
Чугун СЧ 20 |
- |
|
|
Д200-36 |
0603.403183.0002 |
Чугун СЧ 20 |
- |
|
|
Д320-50 |
0603.403183.0003 |
Чугун СЧ 20 |
- |
|
|
Д320-70 |
0603.403183.0004 |
Чугун СЧ 20 |
- |
|
|
Д500-65 |
Н03.643.01.01.002 |
Чугун СЧ 20 |
Чугун СЧ 25 |
|
|
Д630-90 |
Н03.629.01.01.003 |
Чугун СЧ 20 |
- |
|
|
Д800-57 |
Н03.644.01.01.002 |
Чугун СЧ 20 |
Чугун СЧ 25 |
|
|
Д1250-65 |
Н03.630.01.01.002 |
Чугун СЧ 20 |
Чугун СЧ 25 |
|
|
Д1250-125 |
Н03.649.01.01.002 |
Чугун СЧ 20 |
- |
|
|
Д1600-90 |
Н03.650.01.01.002 |
Чугун СЧ 20 |
- |
|
|
Д2000-21 |
Н06.005.20.06 |
Чугун СЧ 20 |
Сталь 20Х13 |
|
|
Д2000-100 |
Н06.010.20.03 |
Чугун СЧ 20 |
Сталь 20Х13 |
|
|
Д2500-62 |
Н06.009.20.05 |
Чугун СЧ 20 |
Сталь 20Х13 |
|
|
Д3200-33 |
В-13497 |
Чугун СЧ 20 |
- |
|
|
Д3200-75 |
Г-6807 |
Чугун СЧ 20 |
Сталь 20Х13 |
|
|
Д4000-22 |
В-13495 |
Чугун СЧ 20 Чугун СЧ 20 |
Сталь: 30, 35, 40, 12Х13, 20Х13, |
|
|
Д5000-32 |
В-13496 |
Чугун СЧ 20 |
30Х13 |
|
|
Д6300-27 |
В-13495 |
Чугун СЧ 20 |
Сталь 20Х13 Сталь: 30, 35, 40, |
|
|
Д12500-24 |
Г310-18 |
Чугун СЧ 20 Бр.ОЦ8-4л |
12Х13, 20Х13, 30Х13 Стали: 30, 35, 40, 20Х13, 30Х13 |
|
|
15, 16 |
Кольцо |
|||
|
Д2000-21 |
Н06.011.20.04 |
Ст. 3 |
Ст. 4 |
|
|
Д3200-33 |
Д-21700 |
Ст. 3 |
Сталь 10 |
|
|
Д3200-75 |
Д-21698 |
Ст. 3 |
Ст. 4 |
|
|
Д4000-22 |
Д-21698 |
Ст. 3 |
Ст. 4 |
|
|
Д5000-32 |
Д-21698 |
Ст. 3 |
Ст. 4 |
|
|
Д6300-27 |
Д-21698 |
Ст. 3 |
Ст. 4 |
|
|
5 |
Стакан подшипника пяты |
|||
|
Д200-95 |
0603.403372.0001. |
Чугун СЧ 20 |
- |
|
|
Д200-36 |
0603.403372.0001 |
Чугун СЧ 20 |
- |
|
|
Д320-50 |
0603.403372.0001 |
Чугун СЧ 20 |
- |
|
|
Д320-70 |
0603.403372.0001 |
Чугун СЧ 20 |
- |
|
|
Д500-65 |
Н03.629.01.01.008 |
Чугун СЧ 20 |
Стали: 10, 20; Ст. 3 |
|
|
Д630-90 |
Н03.629.01.01.008 |
Чугун СЧ 20 |
Стали: 10, 20; Ст. 3 |
|
|
Д800-57 |
Н03.629.01.01.008 |
Чугун СЧ 20 |
Стали: 10, 20; Ст. 3 |
|
|
Д1250-65 |
Н03.629.01.01.008 |
Чугун СЧ 20 |
Стали: 10, 20; Ст. 3 |
|
|
Д1250-125 |
Н03.649.01.01.008 |
Чугун СЧ 20 |
- |
|
|
Д1600-90 |
Н03.649.01.01.008 |
Чугун СЧ 20 |
- |
|
|
4 |
Крышка подшипника пяты |
|||
|
Д200-95 |
0603.403314.0001 |
Чугун СЧ 20 |
- |
|
|
Д200-36 |
0603.403314.0001 |
Чугун СЧ 20 |
- |
|
|
Д320-50 |
0603.403314.0001 |
Чугун СЧ 20 |
- |
|
|
Д320-70 |
0603.403314.0001 |
Чугун СЧ 20 |
- |
|
|
Д500-65 |
Н03.629.01.01.007 |
Чугун СЧ 20 |
Ст. 3 |
|
|
Д630-90 |
Н03.629.01.01.007 |
Чугун СЧ 20 |
Ст. 3 |
|
|
Д800-57 |
Н03.629.01.01.007 |
Чугун СЧ 20 |
Ст. 3 |
|
|
Д1250-65 |
Н03.629.01.01.007 |
Чугун СЧ 20 |
Ст. 3 |
|
|
Д1250-125 |
Н03.649.01.01.007 |
Чугун СЧ 20 |
Ст. 3 |
|
|
Д1600-90 |
Н03.649.01.01.007 |
Чугун СЧ 20 |
Ст. 3 |
|
|
9 |
Стакан подшипника |
|||
|
Д200-95 |
0603.403352. 001 |
Чугун СЧ 20 |
- |
|
|
Д200-36 |
0603.403352. 001 |
Чугун СЧ 20 |
- |
|
|
Д320-50 |
0603.403352. 001 |
Чугун СЧ 20 |
- |
|
|
Д320-70 |
0603.403352. 001 |
Чугун СЧ 20 |
- |
|
|
Д500-65 |
Н03.629.01.01.006 |
Чугун СЧ 20 |
Стали: 10, 20; Ст. 3 |
|
|
Д630-90 |
Н03.629.01.01.006 |
Чугун СЧ 20 |
Стали: 10, 20; Ст. 3 |
|
|
Д800-57 |
Н03.629.01.01.006 |
Чугун СЧ 20 |
Стали: 10, 20; Ст. 3 |
|
|
Д1250-65 |
Н03.629.01.01.006 |
Чугун СЧ 20 |
Стали: 10, 20; Ст. 3 |
|
|
Д1250-125 |
Н03.649.01.01.006 |
Чугун СЧ 20 |
Стали: 10, 20; Ст. 3 |
|
|
Д1600-90 |
Н03.649.01.01.006 |
Чугун СЧ 20 |
Стали: 10, 20; Ст. 3 |
|
|
11 |
Крышка подшипника |
|||
|
Д200-95 |
0603.403344.0002 |
Фенопласт У2-301-07 |
Фенопласт У1-301-07 |
|
|
Д200-36 |
0603.403344.0002 |
Фенопласт У2-301-07 |
Фенопласт У1-301-07 |
|
|
Д320-50 |
0603.403344.0002 |
Фенопласт У2-301-07 |
Фенопласт У1-301-07 |
|
|
Д320-70 |
0603.403344.0002 |
Фенопласт У2-301-07 |
Фенопласт У1-301-07 |
|
|
Д500-65 |
Н03.629.01.01.017 |
Фенопласт У2-301-07 |
Ст. 3 |
|
|
Д800-57 |
Н03.629.01.01.017 |
Фенопласт У2-301-07 |
Ст. 3 |
|
|
Д1250-65 |
Н03.629.01.01.017 |
Фенопласт У2-301-07 |
Ст. 3 |
|
|
Д630-90 |
Н03.629.01.01.018 |
Чугун СЧ 20 |
- |
|
|
Д1250-125 |
Н03.649.01.01.017 |
Чугун СЧ 20 |
- |
|
|
Д1600-90 |
Н03.649.01.01.017 |
Чугун СЧ 20 |
- |
|
|
2, 5, 7, 11 |
Крышка подшипника |
|||
|
Д2000-21 |
Н06.011.40.01-01 |
Чугун СЧ 20 |
Стали: 10, 20 |
|
|
Д2000-21 |
Н06.011.40.02-01 |
Чугун СЧ 20 |
Стали: 10, 20 |
|
|
Д2000-21 |
Н06.011.30.03-01 |
Чугун СЧ 20 |
Стали: 10, 20 |
|
|
Д2000-21 |
Н06.011.30.04-01 |
Чугун СЧ 20 |
Стали: 10, 20 |
|
|
Д2000-100 |
Н06.009.30.01-II |
Чугун СЧ 15 |
Стали: 10, 20 |
|
|
Д2000-100 |
Н06.009.30.01/1 |
Чугун СЧ 15 |
Стали: 10, 20 |
|
|
Д2500-62 |
Н06.009.30.01 |
Чугун СЧ 15 |
- |
|
|
Д2500-62 |
Н06.009.40.01 |
Чугун СЧ 15 |
- |
|
|
Д3200-33 |
Н06.009.30.01-01-II |
Чугун СЧ 15 |
Стали: 10, 20 |
|
|
Д3200-33 |
Чугун СЧ 15 |
Стали: 10, 20 |
||
|
Д3200-33 |
Н06.009.40.01-II |
Чугун СЧ 15 |
Стали: 10, 20 |
|
|
Д3200-33 |
Н06.009.30.01-II |
Чугун СЧ 15 |
Стали: 10, 20 |
|
|
Д3200-75 |
Н06.009.40.01-II |
Чугун СЧ 15 |
Стали: 10, 20 |
|
|
Д3200-75 |
Н06.009.30.01-II |
Чугун СЧ 15 |
Стали: 10, 20 |
|
|
Д3200-75 |
Н06.009.40.01-II-01 |
Чугун СЧ 15 |
Стали: 10, 20 |
|
|
Д3200-75 |
Чугун СЧ 15 |
Стали: 10, 20 |
||
|
Н06.009.40.01-II-01 |
||||
|
Н06.009.30.01-01/II |
||||
|
5, 11 |
Крышка подшипника |
|||
|
Д4000-22 |
Д-12507 |
Чугун СЧ 20 |
Стали: 3, 4, 10,15, 20 |
|
|
Д5000-32 |
Д-12507 |
Чугун СЧ 20 |
Стали: 3, 4, 10,15, 20 |
|
|
Д6300-27 |
Д-12507 |
Чугун СЧ 20 |
Стали: 3, 4, 10,15, 20 |
|
|
Д12500-24 |
Г-13290 |
Чугун СЧ 20 |
Стали: 3, 4, 10,15, 20 |
|
|
Д12500-24 |
Г-14085 |
Чугун СЧ 20 |
Стали: 3, 4, 10,15, 20 |
|
|
4 |
Вал |
|||
|
Д200-95 |
0603.401613.0001 |
Сталь 45 |
Стали: 40, 50 |
|
|
Д200-36 |
0603.401613.0001 |
Сталь 45 |
Стали: 40, 50 |
|
|
Д320-50 |
0603.401613.0001 |
Сталь 45 |
Стали: 40, 50 |
|
|
Д320-70 |
0603.401613.0001 |
Сталь 45 |
Стали: 40, 50 |
|
|
Д500-65 |
Н03.629.01.01.012 |
Сталь 45 |
Стали: 50, 40Х |
|
|
Д630-90 |
Н03.629.01.01.012 |
Сталь 45 |
Стали: 50, 40Х |
|
|
Д800-57 |
Н03.629.01.01.012 |
Сталь 45 |
Стали: 50, 40Х |
|
|
Д1250-65 |
Н03.629.01.01.012 |
Сталь 45 |
Стали: 50, 40Х |
|
|
Д1250-125 |
Н03.649.01.01.012 |
Сталь 45 |
Стали: 50, 40Х |
|
|
Д1600-90 |
Н03.649.01.01.012 |
Сталь 45 |
Стали: 50, 40Х |
|
|
Д2000-21 |
Н06.011.50.02 |
Сталь 45 |
Сталь 50 |
|
|
Д2000-100 |
Н06.010.50.01-01 |
Сталь 40 |
Стали: 45, 50 |
|
|
Д2500-62 |
Н06.009.55.01 |
Сталь 40 |
Стали: 45, 50 |
|
|
Д3200-33 |
2Г-28666 |
Сталь 40 |
Стали: 45, 50 |
|
|
Д3200-75 |
2Г-28665 |
Сталь 40 |
Стали: 45, 50 |
|
|
Д4000-22 |
2Г-4358 |
Сталь 40 |
Стали: 45, 40Х, 45Х |
|
|
Д5000-32 |
2Г-26602 |
Сталь 40 |
Стали: 45, 40Х |
|
|
Д6300-27 |
2Г-4358 |
Сталь 40 |
Стали: 45, 40Х, 45Х |
|
|
Д12500-24 |
2Г-29162 |
Сталь 35 |
Стали: 40, 45, 40Х, 45Х |
|
|
3, 14 |
Втулка упорная |
|||
|
Д200-36 |
0603.403141.0014 |
Фенопласт 03-010-02 |
Фенопласт 02-010-02 |
|
|
Д320-50 |
0603.403141.0014 |
Фенопласт 03-010-02 |
Фенопласт 02-010-02 |
|
|
Д320-70 |
0603.403141.0014 |
Фенопласт 03-010-02 |
Фенопласт 02-010-02 |
|
|
Д200-95 |
0603.403141.0010 |
Сталь 20 |
Стали: 15, 25 |
|
|
Д200-36 |
0603.403141.0010 |
Сталь 20 |
Стали: 15, 25 |
|
|
Д320-50 |
0603.403141.0010 |
Сталь 20 |
Стали: 15, 25 |
|
|
Д320-70 |
0603.403141.0010 |
Сталь 20 |
Стали: 15, 25 |
|
|
Д500-65 |
Н03.629.01.01.005 |
Сталь 20 |
Стали: 35, 50 |
|
|
Д630-90 |
Н03.629.01.01.024 |
Фенопласт 03-010-02 |
Фенопласт 02-010-02 |
|
|
Д800-57 |
Н03.629.01.01.005 |
Сталь 20 |
Стали: 35, 50 |
|
|
Д1250-65 |
Н03.629.01.01.005 |
Сталь 20 |
Стали: 35, 50 |
|
|
Д1250-125 |
Н03.649.01.01.005 |
Сталь 20 |
Стали: 35, 50 |
|
|
Д1600-90 |
Н03.649.01.01.005 |
Сталь 20 |
Стали: 35, 50 |
|
|
3, 14 |
Втулка |
|||
|
Д4000-22 |
- |
Чугун СЧ 20 |
Сталь 20Х13 |
|
|
Д5000-32 |
Д-4342 |
Чугун СЧ 20 |
Сталь 20Х13 |
|
|
Д6300-27 |
- |
Чугун СЧ 20 |
Сталь 20Х13 |
|
|
3, 14 |
Втулка конусная |
|||
|
Д12500-24 |
Д-13293 |
Чугун СЧ 20 |
Стали: 20, 25, 30, 35, 20Х13 |
|
|
5, 12 |
Втулка защитная |
|||
|
Д200-95 |
0603.401364.0001 |
Чугун СЧ 20 |
- |
|
|
Д200-36 |
0603.401364.0001 |
Чугун СЧ 20 |
- |
|
|
Д320-50 |
0603.401364.0001 |
Чугун СЧ 20 |
- |
|
|
Д320-70 |
0603.401364.0001 |
Чугун СЧ 20 |
- |
|
|
Д500-65 |
Н03.629.01.01.015 |
Чугун СЧ 20 |
Стали: 25, 40, 45 |
|
|
Д630-90 |
Н03.629.01.01.015 |
Чугун СЧ 20 |
Стали: 25, 40, 45 |
|
|
Д800-57 |
Н03.629.01.01.015 |
Чугун СЧ 20 |
Стали: 25, 40, 45 |
|
|
Д1250-65 |
Н03.629.01.01.015 |
Чугун СЧ 20 |
Стали: 25, 40, 45 |
|
|
Д1250-125 |
Н03.649.01.01.018 |
Чугун СЧ 20 |
Сталь 35 |
|
|
Д1600-90 |
Н03.649.01.01.018 |
Чугун СЧ 20 |
Сталь 35 |
|
|
Д2000-21 |
Н06.011.50.06-01 |
Чугун СЧ 25 |
Сталь 40 |
|
|
Д2000-21 |
Н06.011.50.05 |
Чугун СЧ 25 |
Сталь 40 |
|
|
Д2000-100 |
Н06.010.50.02-01 |
Чугун СЧ 20 |
Сталь 40 |
|
|
Д2000-100 |
Н06.011.50.03 |
Чугун СЧ 20 |
Сталь 40 |
|
|
Д2500-62 |
Н06.009.50.06-01 |
Чугун СЧ 20 |
Сталь 40 |
|
|
Д2500-62 |
Н06.009.50.07 |
Чугун СЧ 15 |
Сталь 40 |
|
|
Д3200-33 |
Г-26605 |
Чугун СЧ 20 |
Сталь 40 |
|
|
Д3200-33 |
Д-21701 |
Чугун СЧ 20 |
Сталь 40 |
|
|
Д3200-75 |
Г-26584 |
Чугун СЧ 20 |
- |
|
|
Д3200-75 |
Г-26163 |
Чугун СЧ 20 |
- |
|
|
Д4000-22 |
Д-4333 |
Чугун СЧ 20 |
- |
|
|
Д4000-22 |
Д-4344 |
Чугун СЧ 20 |
- |
|
|
Д5000-32 |
Г-26603 |
Чугун СЧ 25 |
Сталь 20Х13 |
|
|
Д5000-32 |
Г-21713 |
Чугун СЧ 25 |
Сталь 20Х13 |
|
|
Д6300-27 |
Д-4333 |
Чугун СЧ 20 |
- |
|
|
Д6300-27 |
Д-4344 |
Чугун СЧ 20 |
- |
|
|
Д12500-24 |
Г-29648 |
Чугун СЧ 20, Бр.0Ц8-4л |
Стали: 10, 15, 20, 12Х13, 20Х13, 30Х13 |
|
|
Д12500-24 |
Г-29649 |
Сталь 20, Бр.0Ц8-4л |
Стали: 25, 30, 35, 20Х13, 30Х13 |
|
|
6, 11 |
Втулка направляющая |
|||
|
Д200-95 |
0603.403741.0002-I |
Фенопласт 03-010-02 |
Фенопласт 02-010-02 |
|
|
Д200-36 |
0603.404141.0002-I |
Фенопласт 02-010-02 |
Фенопласт 02-010-02 |
|
|
Д320-70 |
Фенопласт 02-010-02 |
Фенопласт 02-010-02 |
||
|
Д320-50 |
0603.404141.0002-I |
Фенопласт 03-010-02 |
Фенопласт 02-010-02 |
|
|
Д500-65 |
0603.403741.0004-I |
Чугун СЧ 20 |
Ст. 3; Стали: 10, 20 |
|
|
Д630-90 |
Фенопласт 03-010-02 |
Фенопласт 02-010-02 |
||
|
Д630-90 |
Чугун СЧ 20 |
- |
||
|
Д800-57 |
Н03.643.01.01.004 |
Чугун СЧ 20 |
Ст. 3; Стали: 10, 20 |
|
|
Д1250-65 |
Н03.629.01.01.013 |
Чугун СЧ 20 |
Ст. 3; Стали: 10, 20 |
|
|
Н03.629.01.01.014 |
Фенопласт 03-010-02 |
Фенопласт 02-010-02 |
||
|
Н03.644.01.01.004 |
Чугун СЧ 20 |
- |
||
|
Н03.630.01.01.003 |
Чугун СЧ 20 |
- |
||
|
Д1250-125 |
Н03.649.01.01.023 |
|||
|
Д1250-125 |
Н03.649.01.01.014 |
|||
|
Д1600-90 |
Н03.650.01.01.003 |
|||
|
29, 30 |
Кольцо защитное |
|||
|
Д12500-24 |
Г310-18 |
Ст. 3 Бр.0Ц8-4л |
Стали: 10, 15, 20, 12Х13, 20Х13, 30Х13 |
|
|
8 |
Колесо рабочее |
|||
|
Д200-95 |
0603.408876.0001 |
Чугун СЧ 20 |
- |
|
|
Д200-36 |
0603.408876.0002 |
Чугун СЧ 20 |
- |
|
|
Д320-50 |
0603.408876.0003 |
Чугун СЧ 20 |
- |
|
|
Д320-70 |
0603.408876.0004 |
Чугун СЧ 20 |
- |
|
|
Д500-65 |
Н03.643.01.01.001 |
Чугун СЧ 20 |
- |
|
|
Д630-90 |
Н03.629.01.01.002 |
Чугун СЧ 20 |
- |
|
|
Д800-57 |
Н03.644.01.01.001 |
Чугун СЧ 20 |
- |
|
|
Д1250-65 |
Н03.630.01.01.001 |
Чугун СЧ 20 |
- |
|
|
Д1250-125 |
Н03.649.01.01.001 |
Чугун СЧ 20 |
- |
|
|
Д1600-90 |
Н03.650.01.01.001 |
Чугун СЧ 20 |
- |
|
|
Д2000-21 |
Н06.005.50.05 |
Чугун СЧ 25 |
- |
|
|
Д2000-100 |
Н06.010.50.04 |
Чугун СЧ 20 |
- |
|
|
Д2500-62 |
Н06.009.50.08 |
Чугун СЧ 20 |
- |
|
|
Д3200-33 |
Б-6833 |
Чугун СЧ 20 |
- |
|
|
Д3200-75 |
В-26164 |
Чугун СЧ 25 |
- |
|
|
Д4000-22 |
В-0860 |
Чугун СЧ 25 |
- |
|
|
Д5000-32 |
В-4319 |
Чугун СЧ 25 |
- |
|
|
Д6300-27 |
В-0860 |
Чугун СЧ 25 |
- |
|
|
Д12500-24 |
Г310-12 |
Чугун СЧ 20, |
- |
|
|
Бр.0Ц8-4л |
- |
|||
|
10, 17, 25, 26 |
Шпонка |
- |
- |
|
|
22 |
Отбойник |
|||
|
Д200-95 |
0603.409891.0001 |
Ст. 3 |
Ст. 4 |
|
|
Д200-36 |
0603.409891.0001 |
Ст. 3 |
Ст. 4 |
|
|
Д320-50 |
0603.409891.0001 |
Ст. 3 |
Ст. 4 |
|
|
Д320-70 |
0603.409891.0001 |
Ст. 3 |
Ст. 4 |
|
|
22 |
Кольцо отбойное |
|||
|
Д500-65 |
Н03.629.01.01.011 |
Ст. 3 |
Стали: 10, 20 |
|
|
Д630-90 |
Н03.629.01.01.011 |
Ст. 3 |
Стали: 10, 20 |
|
|
Д800-57 |
Н03.629.01.01.011 |
Ст. 3 |
Стали: 10, 20 |
|
|
Д1250-65 |
Н03.629.01.01.011 |
Ст. 3 |
Стали: 10, 20 |
|
|
Д1250-125 |
Н03.649.01.01.011 |
Ст. 3 |
Стали: 10, 20 |
|
|
Д1600-90 |
Н03.649.01.01.011 |
Ст. 3 |
Стали: 10, 20 |
|
|
22 |
Маслоотражатель |
|||
|
Д4000-22 |
- |
Ст. 3 |
Стали: 10, 20 |
|
|
Д6300-27 |
- |
Ст. 3 |
Стали: 10, 20 |
|
|
22 |
Кольцо уплотнительное |
|||
|
Д12500-24 |
Д-29166 |
Чугун СЧ 15 |
Стали: 3, 4, 10, 15, 20 |
|
|
23, 24 |
Шпонка |
|||
|
Д200-95 |
0603.506411.0001 |
Сталь 45 |
Стали: 40, 50 |
|
|
Д200-36 |
0603.506411.0001 |
Сталь 45 |
Стали: 40, 50 |
|
|
Д320-50 |
0603.506411.0001 |
Сталь 45 |
Стали: 40, 50 |
|
|
Д320-70 |
0603.506411.0001 |
Сталь 45 |
Стали: 40, 50 |
|
|
Д2000-21 |
Н06.009.50.14 |
Сталь шпоночная |
- |
|
|
Д2000-100 |
Н06.009.50.12 |
Сталь 45 |
Сталь 50 |
|
|
Д2500-62 |
Н06.009.50.14 |
Сталь шпоночная |
- |
|
|
Д3200-33 |
Н06.009.50.12 |
Сталь 45 |
Сталь 50 |
|
|
Д3200-75 |
Н06.009.50.14 |
Сталь шпоночная |
- |
|
|
Д4000-22 |
Н06.009.50.12 |
Сталь 45 |
Сталь 50 |
|
|
Д5000-32 |
Н06.009.50.12 |
Сталь 45 |
Сталь 50 |
|
|
Д6300-27 |
Н06.009.50.12 |
Сталь 45 |
Сталь 50 |
|
|
Д12500-24 |
Д-29651 |
Сталь 45 |
Сталь 50 |
|
|
Муфта втулочно-пальцевая |
||||
|
2 |
Полумуфта насоса |
|||
|
Д200-95 |
||||
|
Д200-36 |
0603.403692.0001 |
Чугун СЧ 25 |
- |
|
|
Д320-50 |
0603.403692.0001 |
Чугун СЧ 25 |
- |
|
|
Д320-70 |
0603.403692.0001 |
Чугун СЧ 25 |
- |
|
|
Д500-65 |
0603.403692.0001 |
Чугун СЧ 25 |
- |
|
|
Д630-90 |
Н03.629.00.00.1001 |
Чугун СЧ 25 |
Ст. 3; Стали: 10, 20 |
|
|
Д800-57 |
Н03.629.00.00.0801 |
Чугун СЧ 25 |
Ст. 3; Стали: 10, 20 |
|
|
Д1250-65 |
Н03.629.00.00.0801 |
Чугун СЧ 25 |
Ст. 3; Стали: 10, 20 |
|
|
Д1250-125 |
Н03.629.00.00.0801 |
Чугун СЧ 25 |
Ст. 3; Стали: 10, 20 |
|
|
Д1600-90 |
Н03.649.00.00.1001 |
Чугун СЧ 25 |
Ст. 3; Стали: 10, 20 |
|
|
Д2000-21 |
Н03.649.00.00.0901 |
Чугун СЧ 25 |
Ст. 3; Стали: 10, 20 |
|
|
Д2000-21 |
Н529-66-1-3 |
Чугун СЧ 20 |
Сталь 40 |
|
|
Д2000-100 |
Н528-66-1-3 |
Чугун СЧ 20 |
Сталь 40 |
|
|
Д2500-62 |
Н531-65/1-1 |
Чугун СЧ 20 |
Сталь 40 |
|
|
Д3200-33 |
Н531-65/1-1 |
Чугун СЧ 20 |
Сталь 40 |
|
|
Д3200-75 |
Н531-65/1-4 |
Чугун СЧ 20 |
Сталь 40 |
|
|
Д4000-22 |
Н531-65/1-1 |
Чугун СЧ 20 |
Сталь 40 |
|
|
Д5000-32 |
Н531-65/1-1 |
Чугун СЧ 20 |
Сталь 40 |
|
|
Д6300-27 |
Н531-65/1-2 |
Чугун СЧ 20 |
Сталь 40 |
|
|
Д12500-24 |
Н531-65/1-1 |
Чугун СЧ 20 |
Сталь 40 |
|
|
В-42238Н |
Чугун СЧ 20 |
Стали: 30, 35, 40 |
||
|
1 |
Полумуфта электродвигателя |
|||
|
Д200-95 |
0603.403692.0004-01 |
Чугун СЧ 25 |
Сталь 40 |
|
|
Д200-95 |
Чугун СЧ 25 |
Сталь 40 |
||
|
Д200-36 |
0603.403692.0002-01 |
Чугун СЧ 25 |
Сталь 40 |
|
|
Д200-36 |
Чугун СЧ 25 |
Сталь 40 |
||
|
Д320-50 |
0603.403692.0003 |
Чугун СЧ 25 |
Сталь 40 |
|
|
Д320-50 |
0603.403692.0004 |
Чугун СЧ 25 |
Сталь 40 |
|
|
Д320-70 |
0603.403692.0004-01 |
Чугун СЧ 25 |
Сталь 40 |
|
|
Д320-70 |
Чугун СЧ 25 |
Сталь 40 |
||
|
Д500-65 |
0603.403692.0002-01 |
Чугун СЧ 25 |
Сталь 40 |
|
|
Д630-90 |
Чугун СЧ 25 |
Сталь 40 |
||
|
Д630-90 |
0603.403692.0004-01 |
Чугун СЧ 25 |
Сталь 40 |
|
|
Д630-90 |
Чугун СЧ 25 |
Сталь 40 |
||
|
Д630-90 |
0603.403692.0002-01 |
Чугун СЧ 25 |
Сталь 40 |
|
|
Д630-90 |
Чугун СЧ 25 |
Сталь 40 |
||
|
Д800-57 |
Н03.629.00.00.1002 |
Чугун СЧ 25 |
Сталь 40 |
|
|
Д1250-65 |
Чугун СЧ 25 |
Сталь 40 |
||
|
Д1250-125 |
Н03.629.00.00.1102 |
Чугун СЧ 25 |
Сталь 40 |
|
|
Д1250-125 |
Чугун СЧ 25 |
Сталь 40 |
||
|
Д1250-125 |
Н03.629.00.00.1002 |
Чугун СЧ 25 |
Сталь 40 |
|
|
Д1600-90 |
Чугун СЧ 25 |
Сталь 40 |
||
|
Д1600-90 |
Н03.629.00.00.901 |
Чугун СЧ 25 |
Сталь 40 |
|
|
Д1600-90 |
Н03.629.00.00.802 |
Чугун СЧ 25 |
Сталь 40 |
|
|
Д1600-90 |
Н03.629.00.00.1201 |
Чугун СЧ 25 |
Сталь 40 |
|
|
Д2000-21 |
Н03.629.00.00.901 |
Чугун СЧ 20 |
Сталь 40 |
|
|
Д2000-21 |
Н03.629.00.00.1201 |
Чугун СЧ 20 |
Сталь 40 |
|
|
Д2000-100 |
Н03.629.00.00.802 |
Чугун СЧ 20 |
Сталь 40 |
|
|
Д2500-62 |
Н03.649.00.00.902 Н03.649.00.00.1101 Н03.650.00.00.1102 |
Чугун СЧ 20 |
Сталь 40 |
|
|
Н03.629.00.00.901 |
||||
|
Н03.629.00.00.802 |
||||
|
Н03.649.00.00.902 |
||||
|
Н529-65/2-2 |
||||
|
Н528-65/2-2 |
||||
|
Н531-65/2 |
||||
|
Н531-65/2 |
||||
|
Д3200-75 |
Н531-65/2 |
Чугун СЧ 20 |
Сталь 40 |
|
|
Д3200-33 |
Н530-65/2-2 |
Чугун СЧ 20 |
Сталь 40 |
|
|
Д4000-22 |
Н531-65/2-2 |
Чугун СЧ 25 |
Стали: 30, 35, 40 |
|
|
Д5000-32 |
Н530-65/2-2 |
Чугун СЧ 25 |
Ст.3 |
|
|
Д6300-27 |
Н531-65/2-2 |
Чугун СЧ 25 |
Стали: 30, 35, 40 |
|
|
Д12500-24 |
В-42239Н |
Чугун СЧ 20 |
Стали: 30, 35, 40 |
|
|
6 |
Палец |
|||
|
Д200-95 |
0603.401413.0001 |
Сталь 45 |
Стали: 40, 50 |
|
|
Д200-36 |
0603.401413.0001 |
Сталь 45 |
Стали: 40, 50 |
|
|
Д320-50 |
0603.401413.0001 |
Сталь 45 |
Стали: 40, 50 |
|
|
Д320-70 |
0603.401413.0001 |
Сталь 45 |
Стали: 40, 50 |
|
|
Д500-65 |
Н03.629.00.00.1003 |
Сталь 45 |
Сталь 50 |
|
|
Д630-90 |
Н03.629.00.00.1103 |
Сталь 45 |
Стали: 50, 55 |
|
|
Д630-90 |
Н03.629.00.00.1003 |
Сталь 45 |
Стали: 50, 55 |
|
|
Д800-57 |
Н03.629.00.00.804 |
Сталь 45 |
Сталь 50 |
|
|
Д1250-65 |
Н03.629.00.00.804 |
Сталь 45 |
Сталь 50 |
|
|
Д1250-125 |
Н03.649.00.00.903 |
Сталь 45 |
Стали: 50, 55 |
|
|
Д1600-90 |
Н03.649.00.00.903 |
Сталь 45 |
Стали: 50, 55 |
|
|
Д2000-21 |
Н554-65/4 |
Сталь 45 |
Сталь 50 |
|
|
Д2000-21 |
Н554-65/3 |
Сталь 45 |
Сталь 50 |
|
|
Д2000-100 |
Н554-65/6 |
Сталь 45 |
Сталь 50 |
|
|
Д2500-62 |
Н554-65/6 |
Сталь 45 |
Сталь 50 |
|
|
Д3200-33 |
Н554-65/5 |
Сталь 45 |
Сталь 50 |
|
|
Д3200-75 |
Н554-65/6 |
Сталь 45 |
Сталь 50 |
|
|
Д4000-22 |
Н554-65/6 |
Сталь 45 |
Стали: 40Х, 50, 45Х |
|
|
Д5000-32 |
Н554-65/6 |
Сталь 45 |
Сталь 50 |
|
|
Д6300-27 |
Н554-65/6 |
Сталь 45 |
Стали: 40Х, 50, 45Х |
|
|
Д12500-24 |
МУВП 160/3-60 СТП 2934 |
Сталь 45 |
Стали: 50, 40Х, 45Х |
|
|
9 |
Гайка |
- |
- |
|
|
8 |
Шайба |
- |
- |
|
|
Примечание - Стали: Ст2, Ст.3, Ст.4, Ст.5 ГОСТ 380; 10, 15, 20, 25, 35, 45, 50, 55 ГОСТ 1050; 40Х, 45Х ГОСТ 4543; Сталь шпоночная ГОСТ 8787; Бронза: Бр.0Ц8-4л; Бр.ОЦС5-5-5 ГОСТ 613; Чугун СЧ 15, СЧ 20; СЧ 25; СЧ 30 ГОСТ 1412; Фенопласт: 02-010-02, 03-010-02, У1-301-07, У2-301-07 ГОСТ 28804; Резина: ПБВ ТУ 38-105-376-72. |
||||
Перечень средств измерительной техники, инструмента и приборов, необходимых для контроля насосов
Таблица В.1
|
Название средства измерительной техники, инструмента и прибора |
Нормативный документ |
Диапазон измерительного контроля |
|
Нутромер НМ75 |
От 50 до 75 мм, цена деления 0,01 мм |
|
|
Нутромер НМ175 |
От 75 до 175 мм, цена деления 0,01 мм |
|
|
Нутромер НМ600 |
От 75 до 600 мм, цена деления 0,01 мм |
|
|
Нутромер НМ1250 |
От 150 до 1250 мм, цена деления 0,01 мм |
|
|
Штангенциркуль ШЦ-I-125-0,1-1 |
От 0 до 125 мм, цена деления 0,1 мм |
|
|
Штангенциркуль ШЦ-II-160-0,05 |
От 0 до 160 мм, цена деления 0,05 мм |
|
|
Штангенциркуль ШЦ-II-250-0,05 |
От 0 до 250 мм, цена деления 0,05 мм |
|
|
Штангенциркуль ШЦ-II-250-0,1 |
От 0 до 250 мм, цена деления 0,1 мм |
|
|
Штангенциркуль ШЦ-III-400-0,1 |
От 0 до 400 мм, цена деления 0,1 мм |
|
|
Штангенциркуль ШЦ-III-250-630-0,1 |
От 250 до 630 мм, цена деления 0,1 мм |
|
|
Штангенциркуль ШЦ-III-250-800-0,1 |
От 250 до 800 мм, цена деления 0,1 мм |
|
|
Штангенциркуль ШЦ-III-320-1000-0,1 |
От 320 до 1000 мм, цена деления 0,1 мм |
|
|
Индикатор ИЧ02 кл.0 |
От 0 до 2 мм |
|
|
Нутромер НИ 18-50 |
От 18 до 50 мм, цена деления 0,01 мм |
|
|
Нутромер НИ 160-250 |
От 160 до 250 мм, цена деления 0,01 мм |
|
|
Микрометр МР 25 |
От 0 до 25 мм, цена деления 0,002 мм |
|
|
Микрометр МР 50 |
От 25 до 50 мм, цена деления 0,002 мм |
|
|
Микрометр МР 75 |
От 50 до 75 мм, цена деления 0,002 мм |
|
|
Микрометр МР 100 |
От 75 до 100 мм, цена деления 0,002 мм |
|
|
Микрометр МРИ 150-0,002 |
От 125 до 150 мм, цена деления 0,002 мм |
|
|
Микрометр МРИ 200-0,002 |
От 150 до 200 мм, цена деления 0,002 мм |
|
|
Микрометр МРИ 250-0,002 |
От 200 до 250 мм, цена деления 0,002 мм |
|
|
Микрометр МРИ 300-0,002 |
От 250 до 300 мм, цена деления 0,002 мм |
|
|
Микрометр МРИ 400-0,01 |
От 300 до 400 мм, цена деления 0,002 мм |
|
|
Микрометр МРИ 500-0,01 |
От 400 до 500 мм, цена деления 0,01 мм |
|
|
Микрометр МРИ 600-0,01 |
От 500 до 600 мм, цена деления 0,01 мм |
|
|
Микрометр МРИ 700-0,01 |
От 600 до 700 мм, цена деления 0,01 мм |
|
|
Микрометр МРИ 900-0,01 |
От 800 до 900 мм, цена деления 0,01 мм |
|
|
Микрометр МК 125 |
От 100 до 125 мм, цена деления 0,01 мм |
|
|
Микрометр МК 150 |
От 125 до 150 мм, цена деления 0,01 мм |
|
|
Микрометр МК 175 |
От 150 до 175 мм, цена деления 0,01 мм |
|
|
Нутромер 18-50 |
От 18 до 50 мм, цена деления 0,002 мм |
|
|
Нутромер 50-100 |
От 50 до 100 мм, цена деления 0,002 мм |
|
|
Нутромер 100-160 |
От 100 до 160 мм, цена деления 0,002 мм |
|
|
Нутромер 160-260 |
От 160 до 260 мм цена деления 0,002 мм |
|
|
Образцы шероховатости. Набор 0,8-12,5-ШП |
До Ra 0,32 вкл. |
|
|
Скоба СИ 100 |
От 50 до 100 мм, цена деления 0,01 мм |
|
|
Скоба СИ 200 |
От 100 до 200 мм, цена деления 0,01 мм |
|
|
Скоба СИ 300 |
От 200 до 300 мм, цена деления 0,01 мм |
|
|
Шумомер |
Класс точности не ниже 2,0 |
|
|
Пробки резьбовые |
Диаметр резьбы от 1 до 100 мм |
|
|
Профилограф-профилометр Б-II |
От 0,00002 до 0,5 мм |
|
|
Твердомер типа ТБМ |
- |
|
|
Калибр пазовый |
От 3 до 50 мм |
|
|
Виброметр |
Класс точности не ниже 2,0 |
|
|
Лупа ЛП-1-7´ |
Семикратное увеличение |
|
|
Дефектоскоп ультразвуковой |
Диапазон частот - 1,25 - 10 МГц; диапазон регулирования - 2500 - 6500 м/с; диапазон измерительного контроля расстояний в направлении луча - не менее 250 мм |
|
|
Щупы. Набор № 1 |
ТУ 2-034-0221197-011 |
От 0 до 0,50 мм |
|
Набор № 2 |
От 0,55 до 1,00 мм |
Номенклатура деталей, заменяемых независимо от их состояния
Таблица Г.1
|
Обозначение чертежа, нормативного документа, марка материала |
Количество на изделие |
||
|
Насосы Д200-95, Д200-36, Д320-50, Д320-70 |
|||
|
Общая сборка |
|||
|
Прокладка |
Д200-95 |
0603.506246.00001 |
1 шт. |
|
0603.506246.00002 |
1 шт. |
||
|
Д200-36 |
0603.506246.00003 |
1 шт. |
|
|
0603.506246.00004 |
1 шт. |
||
|
Д320-50 |
0603.506246.00005 |
1 шт. |
|
|
0603.506246.00006 |
1 шт. |
||
|
Д320-70 |
0603.506246.00007 |
1 шт. |
|
|
0603.506246.00008 |
1 шт. |
||
|
Набивка многослойноплетёная (08 мм ´ 08 мм) |
Д200-95 Д200-36 Д320-50 |
ЛП ГОСТ 5152 |
0,68 м |
|
Д320-70 |
ЛП ГОСТ 5152 |
2,80 м |
|
|
Ротор |
|||
|
Прокладка (δ = 0,6 мм, Æ 58 мм ´ Æ 41 мм) |
0603.409891.0002 Паронит ПОН ГОСТ 481 |
2 шт. |
|
|
Прокладка (δ = 0,6 мм, Æ 60 мм ´ Æ 46 мм) |
0603.409891.0003 Паронит ПОН ГОСТ 481 |
2 шт. |
|
|
Муфта втулочно-пальцевая |
|||
|
Кольцо упругой втулки |
Д200-95 Д200-36 Д320-50 Д320-70 |
0603.404741.0001 |
40 шт. |
|
Насосы Д500-65, Д800-57, Д1250-75 |
|||
|
Общая сборка |
|||
|
Прокладка |
Д500-65 |
Н03.643.01.00.005 |
1 шт. |
|
Д800-57 |
Н03.644.01.00.005 |
1 шт. |
|
|
Д1250-75 |
Н03.630.01.00.005 |
1 шт. |
|
|
Прокладка |
Д500-65 |
Н03.643.01.01.004 (Картон А ГОСТ 9347) |
1 шт. |
|
Д800-57 |
Н03.644.01.01.004 (Картон А ГОСТ 9347) |
1 шт. |
|
|
Д1250-75 |
Н03.630.01.01.004 (Картон А ГОСТ 9347) |
1 шт. |
|
|
Прокладка (δ = 2,0 мм, Æ 26 мм ´ Æ 10 мм) |
(Паронит ПОН ГОСТ 481) |
13 шт. |
|
|
Ротор |
|||
|
Прокладка (δ = 1,0 мм, Æ 77,0 мм) |
Д500-65 |
Н03.643.01.01.005 Паронит ПОН ГОСТ 481 |
2 шт. |
|
Д800-57 |
Н03.644.01.01.005 Паронит ПОН ГОСТ 481 |
2 шт. |
|
|
Д1250-75 |
Н03.630.01.01.005 Паронит ПОН ГОСТ 481 |
2 шт. |
|
|
Прокладка (δ = 1,0 мм, Æ 65,5 мм) |
Д500-65 |
Н03.643.01.01.007 Паронит ПОН ГОСТ 481 |
2 шт. |
|
Д800-57 |
Н03.644.01.01.007 Паронит ПОН ГОСТ 481 |
2 шт. |
|
|
Д1250-75 |
Н03.630.01.01.007 Паронит ПОН ГОСТ 481 |
2 шт. |
|
|
Прокладка (δ = 0,5 мм, Æ 130 мм) |
Картон А ГОСТ 9347 |
1 шт. |
|
|
Прокладка (δ = 0,5 мм, Æ 115 мм) |
Картон А ГОСТ 9347 |
1 шт. |
|
|
Шайба 55 |
2 шт. |
||
|
Шайба 60 |
2 шт. |
||
|
Муфта втулочно-пальцевая |
|||
|
Кольцо упругой втулки |
Д500-65 |
0603.404.741.0001-03 |
40 шт. |
|
Д800-57 |
0603.404.741.0001-04 |
40 шт. |
|
|
Д1250-65 |
0603.404.741.0001-04 |
40 шт. |
|
|
Насос Д630-90 |
|||
|
Общая сборка |
|||
|
Прокладка |
Н03.629.01.00.005 |
1 шт. |
|
|
Прокладка |
Н03.629.01.00.006 |
1 шт. |
|
|
Прокладка (δ = 1,5 мм, Æ 22 мм ´ Æ 17 мм) |
Н03.629.01.00.009 Паронит ПОН ГОСТ 481 |
5 шт. |
|
|
Набивка многослойноплетёная (Æ 13 мм ´ Æ 13 мм) |
ЛП ГОСТ 5152 |
2,75 м |
|
|
Ротор |
|||
|
Прокладка (δ = 1,0 мм, Æ 77,0 мм ´ Æ 65,5 мм) |
Н03.629.01.01.021 Паронит ПОН ГОСТ 481 |
2 шт. |
|
|
Прокладка (Æ 87,0 мм ´ Æ 68,5 мм) |
Н03.629.01.01.022 |
2 шт. |
|
|
Прокладка (δ = 0,5 мм, Æ 130 мм ´ Æ 115 мм) |
Н03.629.01.01.023 Картон А ГОСТ 9347 |
1 шт. |
|
|
Муфта втулочно-пальцевая |
|||
|
Кольцо упругой втулки |
0603.40.4741.0001-02 |
40 шт. |
|
|
Насос Д1250-125 |
|||
|
Общая сборка |
|||
|
Прокладка |
Н03.649.01.00.005 |
1 шт. |
|
|
Прокладка |
Н03.649.01.00.006 |
1 шт. |
|
|
Прокладка (δ = 1,5 мм, Æ 22 мм ´ Æ 17 мм) |
Н03.649.01.00.009 Паронит ПОН ГОСТ 481 |
7 шт. |
|
|
Набивка многослойно-плетёная (16 мм ´ 16 мм) |
ЛП ГОСТ 5152 |
5,2 м |
|
|
Ротор |
|||
|
Прокладка (δ = 1,0 мм, Æ 120 мм ´ Æ 100 мм) |
Н03.649.01.01.019 Паронит ПОН ГОСТ 481 |
4 шт. |
|
|
Прокладка (δ = 0,5 мм, Æ 120 мм ´ Æ 100 мм) |
Н03.649.01.01.025 Картон А ГОСТ 9347 |
2 шт. |
|
|
Муфта втулочно-пальцевая |
|||
|
Кольцо упругой втулки |
0603.40.4741.0001-03 |
40 шт. |
|
|
Насос Д1600-90 |
|||
|
Общая сборка |
|||
|
Прокладка |
Н03.650.01.00.004 |
1 шт. |
|
|
Прокладка |
Н03.650.01.00.005 |
1 шт. |
|
|
Прокладка (δ = 1,5 мм, Æ 22 мм ´ Æ 17 мм) |
Н03.650.01.00.008 Паронит ПОН ГОСТ 481 |
7 шт. |
|
|
Набивка многослойно-плетёная (16 мм ´ 16 мм) |
ЛП ГОСТ 5152 |
5,2 м |
|
|
Набивка многослойно-плетёная (16 мм ´ 16 мм) |
ЛП ГОСТ 5152 |
5,2 м |
|
|
Муфта втулочно-пальцевая |
|||
|
Кольцо упругой втулки |
0603.40.4741.0001-04 |
40 шт. |
|
|
0603.40.4741.0001-05 |
40 шт. |
||
|
Ротор |
|||
|
Прокладка (δ = 1,0 мм, Æ 120 мм ´ Æ 100 мм) |
Н03.650.01.01.004 ПОН по ГОСТ 481 |
4 шт. |
|
|
Прокладка (δ = 0,5 мм, Æ 120 мм ´ Æ 100 мм) |
Н03.649.01.01.025 Картон А ГОСТ 9347 |
2 шт. |
|
|
Насос Д2000-21 |
|||
|
Прокладка (по разъёму) |
Картон А ГОСТ 9347 |
1 шт. |
|
|
Прокладка (δ = 1,0 мм, Æ 30 мм ´ Æ 21 мм) |
Паронит ПОН ГОСТ 481 |
5 шт. |
|
|
Набивка многослойно-плетёная (16 мм ´ 16 мм) |
ХБП ГОСТ 5152 |
- |
|
|
Кольцо (60 мм ´ 30 мм) |
НЧ09-70 |
2 шт. |
|
|
Кольцо (97 мм ´ 5 мм) |
НЧ10-70 |
2 шт. |
|
|
Прокладка (δ = 1,0 мм, Æ 195 мм ´ Æ 131 мм) |
Паронит ПОН ГОСТ 481 |
2 шт. |
|
|
Муфта втулочно-пальцевая |
|||
|
Кольцо упругой втулки |
Н543-65/4 |
32 шт. |
|
|
Кольцо упругой втулки |
Н543-65/3 |
32 шт. |
|
|
Насос Д2000-100 |
|||
|
Прокладка (по разъёму) |
Картон А ГОСТ 9347 |
1 шт. |
|
|
Прокладка (δ = 1,0 мм, Æ 30 мм ´ Æ 21 мм) |
Паронит ПОН ГОСТ 481 |
5 шт. |
|
|
Набивка многослойно-плетёная (19 мм ´ 19 мм) |
ХБП ГОСТ 5152 |
- |
|
|
Муфта втулочно-пальцевая |
|||
|
Кольцо упругой втулки |
Н543-65/4 |
32 шт. |
|
|
Насос Д2500-62 |
|||
|
Прокладка (по разъёму) |
Картон А ГОСТ 9347 |
1 шт. |
|
|
Прокладка (δ = 1,0 мм, Æ 30 мм ´ Æ 21 мм) |
Паронит ПОН ГОСТ 481 |
5 шт. |
|
|
Набивка многослойно-плетёная (19 мм ´ 19 мм, L = 5,3 мм) |
ХБП ГОСТ 5152 |
12 шт. |
|
|
Кольцо (97 мм ´ 5 мм) |
СТП86-75 |
2 шт. |
|
|
Муфта втулочно-пальцевая |
|||
|
Кольцо упругой втулки |
Н543-65/6 |
32 шт. |
|
|
Насос Д3200-33 |
|||
|
Прокладка (δ = 1,0 мм) |
Б-27905 Паронит ПОН ГОСТ 481 |
1 шт. |
|
|
Прокладка (δ = 1,0 мм, Æ 30 мм ´ Æ 20 мм) |
Паронит ПОН ГОСТ 481 |
5 шт. |
|
|
Набивка многослойно-плетёная (19 мм´19 мм, L = 5850 мм) |
ХБП ГОСТ 5152 |
12 шт. |
|
|
Прокладка (δ = 1,0 мм, Æ 160 мм ´ Æ 125 мм) |
Д-27901 |
2 шт. |
|
|
Муфта втулочно-пальцевая |
|||
|
Кольцо упругой втулки |
Н543-65/5 |
32 шт. |
|
|
Насос Д3200-75 |
|||
|
Прокладка (по разъёму) (δ = 1,0 мм, Æ 1160 мм ´ Æ 1380 мм) |
Паронит ПОН ГОСТ 481 |
1 шт. |
|
|
Прокладка (δ = 1,0 мм, Æ 30 мм ´ Æ 21 мм) |
Паронит ПОН ГОСТ 481 |
5 шт. |
|
|
Прокладка (δ = 1,0 мм, Æ 46 мм ´ Æ 34 мм) |
Паронит ПОН ГОСТ 481 |
1 шт. |
|
|
Прокладка (δ = 1,0 мм, Æ 300 мм ´ Æ 190 мм) |
Н06.009.30.12 |
2 шт. |
|
|
Муфта втулочно-пальцевая |
|||
|
Кольцо упругой втулки |
Н543-65/6 |
32 шт. |
|
|
Насосы Д4000-22, Д6000-27 |
|||
|
Корпус Б-4410 |
|||
|
Прокладка Æ 260 мм ´ Æ 1530 мм |
Паронит ПОН ГОСТ 481 |
1 шт. |
|
|
Прокладка Æ 30 мм ´ Æ 21 мм |
Паронит ПОН ГОСТ 481 |
3 шт. |
|
|
Прокладка Æ 38 мм ´ Æ 21 мм |
Паронит ПОН ГОСТ 481 |
4 шт. |
|
|
Набивка многослойно-плетёная (16 мм ´ 16 мм) |
ХБП ГОСТ 5152 |
10 шт. |
|
|
Прокладка (по разъёму) |
В-4041, В-4042 |
1 шт. |
|
|
Прокладка Æ 38 мм ´ Æ 21 мм |
Паронит ПОН ГОСТ 481 |
4 шт. |
|
|
Прокладка (δ = 1,0 мм, Æ 30 мм ´ Æ 21 мм) |
- |
1 шт. |
|
|
Прокладка (δ = 1,0 мм, Æ 180 мм ´ Æ 122 мм) |
- |
1 шт. |
|
|
Прокладка (δ = 1,0 мм, Æ 240 мм ´ Æ 190 мм) |
- |
1 шт. |
|
|
Прокладка (δ = 1,0 мм, Æ 260 мм ´ Æ 140 мм) |
- |
1 шт. |
|
|
Узлы опор |
|||
|
Муфта втулочно-пальцевая |
|||
|
Кольцо упругой втулки |
Н543-65/6 |
32 шт. |
|
|
Ротор В-4404 |
|||
|
Шайба стопорная |
- |
2 шт. |
|
|
Прокладка |
- |
2 шт. |
|
|
Винт М6´14 |
2 шт. |
||
|
Винт М6´8 |
2 шт. |
||
|
Насос Д5000-32 |
|||
|
Корпус |
|||
|
Прокладка (δ = 1,0 мм, по разъёму) |
Паронит ПОН ГОСТ 481 |
1 шт. |
|
|
Прокладка (δ = 1,0 мм, Æ 30 мм ´ Æ 21 мм) |
Паронит ПОН ГОСТ 481 |
3 шт. |
|
|
Прокладка (δ = 1,0 мм, Æ 260 мм ´ Æ 140 мм) |
Паронит ПОН ГОСТ 481 |
2 шт. |
|
|
Прокладка (δ = 1,0 мм, Æ 180 мм ´ Æ 122 мм) |
Паронит ПОН ГОСТ 481 |
2 шт. |
|
|
Прокладка (δ = 1,0 мм, Æ 240 мм ´ Æ 190 мм) |
Паронит ПОН ГОСТ 481 |
1 шт. |
|
|
Ротор |
|||
|
Кольцо (97 мм ´ 5 мм) |
СТП86-75 |
2 шт. |
|
|
Кольцо (115 мм ´ 5 мм) |
СТП86-75 |
2 шт. |
|
|
Прокладка (δ = 1,0 мм, Æ 160 мм ´ Æ 125 мм) |
Д28162 Паронит ПОН ГОСТ 481 |
2 шт. |
|
|
Шайба стопорная |
СТП 124.00.24 |
2 шт. |
|
|
Шайба стопорная |
СТП 124.00.30 |
2 шт. |
|
|
Муфта втулочно-пальцевая |
|||
|
Кольцо упругой втулки |
Н543-65/6 |
32 шт. |
|
|
Насос Д12500-24 |
|||
|
Корпус БЗ10-5 |
|||
|
Прокладка (δ = 1,0 мм по форме стыка) |
Картон ЭВ ГОСТ 2824 |
1 шт. |
|
|
Прокладка (δ = 2,0 мм, Æ 58 мм ´ Æ 68 мм) |
Алюминий ГОСТ 21631 |
1 шт. |
|
|
Прокладка (δ = 2,0 мм, Æ 50 мм ´ Æ 62 мм) |
То же |
2 шт. |
|
|
Прокладка (δ = 1,0 мм, Æ 15 мм ´ Æ 23 мм) |
-«- |
2 шт. |
|
|
Прокладка (δ = 1,5 мм, Æ 28 мм ´ Æ 36 мм) |
-«- |
1 шт. |
|
|
Набивка многослойно-плетёная (25 мм ´ 25 мм, L = 3000 мм) |
ХБП ГОСТ 5152 |
2 шт. |
|
|
Ротор 2Г-29159 |
|||
|
Прокладка (δ = 1,0 мм, Æ 268 мм ´ Æ 186 мм) |
Медь МЗ ГОСТ 859 |
2 шт. |
|
|
Прокладка (δ = 1,0 мм, Æ 220 мм ´ Æ 186 мм) |
То же |
2 шт. |
|
|
Шайба стопорная (0141 мм) |
Г-35990 |
1 шт. |
|
|
Шайба стопорная (0181 мм) |
Г-35990 |
2 шт. |
|
|
Узлы опоры Б-29164; 1,25Б-29167 |
|||
|
Прокладка (δ = 0,4 мм по форме стыка) |
Картон ЭВ ГОСТ 2824 |
2 шт. |
|
|
Прокладка (δ = 1,0 мм по форме стыка) |
То же |
5 шт. |
|
|
Прокладка (δ = 0,4 мм, Æ 255 мм ´ Æ 290 мм) |
-«- |
1 шт. |
|
|
Муфта Г-13299 |
|||
|
Втулка упругая |
МУВП 160/5-106 СТП 2935-74 |
10 шт. |
|
Ключевые слова: технические условия, насосы центробежные, ремонт, качество ремонта, карта дефектации, испытания
|
Руководитель организации - разработчика ЗАО «ЦКБ Энергоремонт» Генеральный директор |
______________ |
А.В. Гондарь |
|
Руководитель разработки Заместитель генерального директора |
______________ |
Ю.В. Трофимов |
|
Исполнители |
||
|
Главный специалист |
______________ |
Ю.П. Косинов |
|
Главный конструктор проекта |
______________ |
Б.Б. Сегин |