|
МИНИСТЕРСТВО
СТРОИТЕЛЬСТВА |
|
|
СВОД ПРАВИЛ |
СП 262.1325800.2016 |
КОНТЕЙНЕРНЫЕ ПЛОЩАДКИ
И ТЕРМИНАЛЬНЫЕ УСТРОЙСТВА
НА ПРЕДПРИЯТИЯХ ПРОМЫШЛЕННОСТИ
И ТРАНСПОРТА
Правила проектирования и строительства
|
|
Москва
|
Предисловие
Сведения о своде правил
1 ИСПОЛНИТЕЛЬ - Закрытое акционерное общество «Проектно-изыскательский и научно-исследовательский институт промышленного транспорта» (ЗАО «ПРОМТРАНСНИИПРОЕКТ»)
2 ВНЕСЕН Техническим комитетом по стандартизации ТК 465 «Строительство»
3 ПОДГОТОВЛЕН к утверждению Департаментом градостроительной деятельности и архитектуры Министерства строительства и жилищно-коммунального хозяйства Российской Федерации (Минстрой России)
4 УТВЕРЖДЕН Приказом Министерства строительства и жилищно-коммунального хозяйства Российской Федерации от 3 декабря 2016 г. № 886/пр и введен в действие с 4 июня 2017 г.
5 ЗАРЕГИСТРИРОВАН Федеральным агентством по техническому регулированию и метрологии (Росстандарт)
6 ВВЕДЕН ВПЕРВЫЕ
В случае пересмотра (замены) или отмены настоящего свода правил соответствующее уведомление будет опубликовано в установленном порядке. Соответствующая информация, уведомление и тексты размещаются также в информационной системе общего пользования - на официальном сайте разработчика (Минстрой России) в сети Интернет
СОДЕРЖАНИЕ
Введение
Настоящий свод правил содержит правила по проектированию и строительству контейнерных площадок и терминальных устройств на предприятиях промышленности и транспорта.
Свод правил разработан в развитие требований СП 37.13330.2012 «СНиП 2.05.07-91* Промышленный транспорт».
Свод правил разработан авторским коллективом ЗАО «ПРОМТРАНСНИИПРОЕКТ» (руководитель темы - канд. техн. наук В.А. Сидяков, д-р техн. наук Л.A. Андреева, д-р техн. наук М.И. Шмулевич, инж. И.П. Потапов, инж. В.В. Синайский, инж. А.В. Багинов).
|
СВОД ПРАВИЛ |
|
КОНТЕЙНЕРНЫЕ
ПЛОЩАДКИ И ТЕРМИНАЛЬНЫЕ УСТРОЙСТВА Правила проектирования и строительства |
|
Container yard and terminal devices in industrial and transport
manufacture. |
Дата введения 2017-06-04
Настоящий свод правил устанавливает правила проектирования и строительства новых и реконструкции существующих контейнерных площадок на территории Российской Федерации.
Настоящий свод правил не распространяется на контейнерные площадки морских и речных портов.
В настоящем своде правил использованы нормативные ссылки на следующие документы:
ГОСТ 24.104-85 Единая система стандартов автоматизированных систем управления. Автоматизированные системы управления. Общие требования
ГОСТ 9128-2009 Смеси асфальтобетонные дорожные, аэродромные и асфальтобетон. Технические условия
ГОСТ 9238-2013 Габариты железнодорожного подвижного состава и приближения строений
ГОСТ 18477-79 Контейнеры универсальные. Типы, основные параметры и размеры
ГОСТ 20231-83 Контейнеры грузовые. Термины и определения
ГОСТ 24390-99 Краны козловые электрические контейнерные. Основные параметры и размеры
ГОСТ 25912.0-91 Плиты железобетонные предварительно напряженные ПАГ для аэродромных покрытий. Технические условия
ГОСТ 27555-87 Краны грузоподъемные. Термины и определения
ГОСТ 30302-95. Контейнеры специализированные. Типы, основные параметры и размеры
ГОСТ Р 50776-95 (МЭК 839-1-4-89) Системы тревожной сигнализации. Часть 1. Общие требования. Раздел 4. Руководство по проектированию, монтажу и техническому обслуживанию
ГОСТ Р 52202-2004 Контейнеры грузовые. Термины и определения
ГОСТ Р 53350-2009 Контейнеры грузовые серии 1. Классификация, размеры и масса
ГОСТ Р ИСО 17363-2010 Применение радиочастотной идентификации (RFID) в цепи поставок. Контейнеры грузовые
СП 1.13130.2009 Системы противопожарной защиты. Эвакуационные пути и выходы (с изменением № 1)
СП 3.13130.2009 Системы противопожарной защиты. Система оповещения и управления эвакуацией людей при пожаре. Требования пожарной безопасности
СП 4.13130.2013 Системы противопожарной защиты. Ограничение распространения пожара на объектах защиты. Требования к объемно-планировочным и конструктивным решениям
СП 5.13130.2009 Системы противопожарной защиты. Установки пожарной сигнализации и пожаротушения автоматические. Нормы и правила проектирования (с изменением № 1)
СП 12.13130.2009 Определение категорий помещений, зданий и наружных установок по взрывопожарной и пожарной опасности (с изменением № 1)
СП 14.13330.2014 «СНиП II-7-81* Строительство в сейсмических районах» (с изменением № 1)
СП 18.13330.2011 «СНиП II-89-80* Генеральные планы промышленных предприятий»
СП 28.13330.2012 «СНиП 2.03.11-85 Защита строительных конструкций от коррозии» (с изменением № 1)
СП 32.13330.2012 «СНиП 2.04.03-85 Канализация. Наружные сети и сооружения» (с изменением № 1)
СП 37.13330.2012 «СНиП 2.05.07-91* Промышленный транспорт»
СП 43.13330.2012 «СНиП 2.09.03-85 Сооружения промышленных предприятий»
СП 95.13330.2011 Бетонные и железобетонные конструкции из плотного силикатного бетона
СП 131.13330.2012 «СНиП 23-01-99* Строительная климатология» (с изменением № 2)
Примечание - При пользовании настоящим сводом правил целесообразно проверить действие ссылочных документов в информационной системе общего пользования - на официальном сайте федерального органа исполнительной власти в сфере стандартизации в сети Интернет или по ежегодному информационному указателю «Национальные стандарты», который опубликован по состоянию на 1 января текущего года, и по выпускам ежемесячного информационного указателя «Национальные стандарты» за текущий год. Если заменен ссылочный документ, на который дана недатированная ссылка, то рекомендуется использовать действующую версию этого документа с учетом всех внесенных в данную версию изменений. Если заменен ссылочный документ, на который дана датированная ссылка, то рекомендуется использовать версию этого документа с указанным выше годом утверждения (принятия). Если после утверждения настоящего свода правил в ссылочный документ, на который дана датированная ссылка, внесено изменение, затрагивающее положение, на которое дана ссылка, то это положение рекомендуется применять без учета данного изменения. Если ссылочный документ отменен без замены, то положение, в котором дана ссылка на него, рекомендуется применять в части, не затрагивающей эту ссылку. Сведения о действии сводов правил целесообразно проверить в Федеральном информационном фонде стандартов.
В настоящем своде правил применены термины по ГОСТ 20231, ГОСТ 27555, ГОСТ Р 52202, а также следующие термины с соответствующими определениями:
3.1 автоконтейнеровоз: Автомобиль-тягач в сцепе с прицепом или полуприцепом, предназначенный для перевозки контейнеров.
3.2 вилочный погрузчик: Малогабаритная машина для загрузки и разгрузки контейнеров.
3.3 грузовые вагоны: Вагоны, предназначенные для перевозки грузов, такие как крытые вагоны, полувагоны, платформы, вагоны-цистерны, вагоны бункерного типа, изотермические вагоны, зерновозы, транспортеры, контейнеровозы, специальные вагоны грузового типа.
3.4 грузовая контейнерная перевозка: Грузоперевозка с использованием контейнеров.
3.5 грузообработка: Операции по приемке, отгрузке, идентификации товара, фасовке, маркировке, сортировке, переупаковке, пакетированию, паллетированию товаров, комплектации заказов, погрузо-разгрузочные работы, контроль количества и качества доставленных грузов.
3.6 20-футовый эквивалент; ДФЭ, TEU: Единица измерения емкости контейнерной площадки.
3.7 емкость контейнерной площадки: Единовременный запас хранения контейнеров, который измеряется в TEU (ДФЭ).
3.8 железнодорожный (автомобильный) грузовой фронт; ЖГФ, АГФ: Участок грузового района или часть склада с оптимально рассчитанными длиной фронта и высотой штабеля груза, подлежащего хранению, и некоторого пространства для безопасной работы людей и средств механизации, на которых производится грузовая обработка транспортных средств, с прилегающим участком погрузочно-разгрузочного железнодорожного и/или внутрипортового железнодорожного пути и/или автомобильной дороги,
3.9 контейнерная площадка; КП: Территория, на которой расположен комплекс технических средств и сооружений для выполнения операций, связанных с погрузкой и выгрузкой контейнеров на подвижной состав автомобильного и железнодорожного транспорта, погрузкой (разгрузкой), сортировкой и хранением контейнеров, а также с их завозом (вывозом), выполнением коммерческих операций и их техническим обслуживанием.
3.10 контейнерный терминал; КТ: Специальный комплекс сооружений, персонал, технические и технологические устройства, организационно взаимоувязанные и предназначенные для выполнения логистических операций, связанных с приемом, погрузкой-разгрузкой, хранением, сортировкой контейнеров, а также коммерческо-информационным обслуживанием грузополучателей, перевозчиков и других логистических посредников в интер-, мультимодальных и прочих перевозках.
3.11 контейнерный транспортер: Прицепное устройство, обеспечивающее возможность самостоятельного подъема контейнеров.
3.12 наземный рельсовый крановый путь: Рельсовый крановый путь, опирающийся на подрельсовые опоры, балластный слой и/или другие элементы, передающие крановые нагрузки на грунтовое основание и обеспечивающие безопасную работу крана на всем пути его передвижения.
3.13 перевалка: Обработка входящих (импортных) и исходящих (экспортных) грузов через контейнерную площадку или контейнерный терминал.
3.14 перегружатели на пневмоходу: Грузоподъемное оборудование, передвигающееся на износостойких шинах.
3.15 перегружатели на рельсовом ходу: Грузоподъемное оборудование, передвигающееся по собственным рельсам.
3.16 погрузчик (контейнерный погрузчик): Машина для транспортирования контейнеров и штабелирования внутри контейнерной площадки.
3.17 портальный погрузчик-автоконтейнеровоз; АКВ: Погрузчик, осуществляющий штабелирование контейнеров на складе и их перевозку между грузовыми фронтами и складом.
3.18 рельсовый крановый путь: Устройство (сооружение), состоящее из направляющих (рельсов), соединений и креплений направляющих, а также путевого оборудования, предназначенное для передвижения по нему грузоподъемных машин на рельсовом ходу.
3.19 ричстакер: Разновидность автопогрузчиков с телескопической стрелой, которые имеют лучшие технологические возможности, чем традиционный фронтальный автопогрузчик.
3.20 терминал сбора данных; ТСД: Специализированное устройство, предназначенное для оперативного управления товародвижением и инвентаризации.
3.21 терминальные устройства: Устройства оснащения контейнерной площадки, необходимые для работы с контейнерами.
3.22 тяжелые автопогрузчики: Фронтальные и мачтовые погрузчики, которые используют не только для складирования, но и для перевозки контейнеров.
3.23 универсальный контейнер: Контейнер, имеющий жесткие боковые, торцевые стенки, пол и двери, минимум в одной торцевой стенке, предназначенный для перевозки и временного хранения грузов, не требующих регулирования температуры, кроме жидкостей, газов, сухих сыпучих грузов, легковых автомобилей и скота.
3.24 фронтальный погрузчик: Машина для штабелирования и транспортирования контейнеров.
3.25 штабелер: Передвижная машина, оборудованная устройством для штабелирования одного или двух контейнеров.
4.1 Контейнерные площадки на предприятиях транспорта и промышленности предназначены для сортировки и хранения груженых и порожних средне- и крупнотоннажных контейнеров жесткой конструкции.
Контейнерные площадки сооружают для приема и выдачи грузов, следующих в контейнерах, сортировки контейнеров, если по пути следования требуется перегрузка контейнеров из одного подвижного состава в другой либо перегрузка с одного вида транспорта на другой.
4.1.1 Контейнерные площадки по оснащению подразделяют:
- на КП, оснащенные подъездными путями железнодорожного транспорта;
- КП, оснащенные подъездными автомобильными дорогами;
- КП, оснащенные подъездными путями для двух и более видов транспорта.
4.1.2 Функциональные характеристики контейнерных площадок:
- общая площадь КП не более 23 000 м2;
- мощность (контейнеропоток) не более 50 тыс. ДФЭ контейнерных грузов в год;
- емкость контейнерной площадки не более 1000 ДФЭ;
- число ярусов складирования контейнеров не более четырех ярусов;
- обслуживание козловыми кранами и/или автоконтейнеровозами-погрузчиками и/или ричстакерами, оснащенными специализированными грузозахватными устройствами;
- длина погрузочно-разгрузочных путей не более 500 м.
4.2 Контейнерная площадка промышленного предприятия включает в себя комплекс устройств и оборудования, к которым относятся:
- открытая складская площадка для размещения и хранения контейнеров;
- автомобильные и/или железнодорожные грузовые фронты. Железнодорожные и/или автомобильные подъездные и внутриплощадочные пути для подачи подвижного состава под погрузку и выгрузку;
- проезды для автотранспорта и средств механизации;
- площадка для ремонта контейнеров с крытым помещением, оснащенным необходимым оборудованием и средствами механизации;
- эстакада для технического осмотра контейнеров;
- ливневая канализация;
- устройства пожарной и охранной сигнализации;
- устройства пожаротушения;
- устройства освещения (прожекторы, фонари) для работы в ночное время;
- устройства внешней, внутренней и диспетчерской громкоговорящей связи.
4.2.1 На контейнерных площадках осуществляют следующие операции: погрузка и выгрузка контейнеров на подвижной состав автомобильного и/или железнодорожного транспорта; кратковременное хранение контейнеров; сортировка транзитных контейнеров; подбор комплектов контейнеров (подгруппировка) по типу подвижного состава; техническое обслуживание и ремонт контейнеров.
4.2.2 Контейнерные площадки делят на грузовые, грузосортировочные и сортировочные, на территории которых осуществляют следующие операции:
- на грузовых КП производят операции с местными контейнерами: прием и выдача порожних и груженых контейнеров, хранение контейнеров, внутрискладские операции;
- грузосортировочных КП дополнительно выполняют сортировку транзитных контейнеров, включающую их перегрузку и промежуточное хранение на площадках;
- сортировочных КП производят только сортировку контейнеров.
4.3 Контейнерные площадки оборудуют одной или несколькими площадками открытого хранения контейнеров, которые допускается специализировать по типам перерабатываемых контейнеров (средне- и крупнотоннажные) и по видам работ (сортировка, погрузка, выгрузка), а также грузоподъемными машинами, железнодорожными путями, устройствами для осмотра и ремонта контейнеров и др.
Контейнерные площадки промышленных предприятий разделяют на две укрупненные группы:
- специализированные - для работы только с крупнотоннажными контейнерами (класс I и II);
- объединенные - для работы с крупно- и среднетоннажными контейнерами (класс III).
4.4 Классификация КП для переработки контейнеров на предприятиях промышленной принадлежности и торговли приведена в таблице 1.
Таблица 1 - Классификация контейнерных площадок для работы с контейнерами на предприятиях промышленности и транспорта
|
Тип контейнерной площадки |
Класс/категория |
Среднесуточный грузооборот, ДФЭ |
Складская площадь, тыс. м2 |
Площадь для стоянок автопоездов и полуприцепов контейнеровозов, включая автомобильные проезды, тыс. м2 |
Железнодорожный подъездной путь, км |
Механизация |
|
Специализированные |
I/1 |
120 и более |
До 13,0 |
До 10,0 |
0,5 |
КК*-30,5 - 2 шт. |
|
КК-32,0 - 2 шт. |
||||||
|
на захвате 40 т |
||||||
|
I/2 |
100 - 120 |
До 9,0 |
До 7,0 |
0,5 |
КК-30,5 - 1 шт. |
|
|
КК-32,0 - 2 шт. |
||||||
|
на захвате 40 т |
||||||
|
I/3 |
60 - 100 |
До 6,5 |
До 5,0 |
0,3 |
КК-30,5 - 1 шт. |
|
|
КК-32,0 - 1 шт. |
||||||
|
на захвате 40 т |
||||||
|
II/1 |
40 - 60 |
Свыше 4,0 |
До 3,0 |
0,3 |
КК-30,5 - 1 шт. |
|
|
КК-32,0 - 1 шт. |
||||||
|
II/2 |
20 - 40 |
До 4,0 |
До 2,5 |
0,3 |
КК-32,0 - 1 шт. |
|
|
или погрузчики |
||||||
|
Объединенные |
III/1 |
10 - 20 |
До 1,5 |
До 1,0 |
0,3 |
КК-32,0 - 1 шт. |
|
КК-20 (25) - 1 шт. |
||||||
|
или погрузчики |
||||||
|
III/2 |
До 10 |
До 1,0 |
До 0,7 |
0,3 |
КК-32,0 - 1 шт. |
|
|
КК-20 (25) - 1 шт. |
||||||
|
или погрузчики |
||||||
|
* КК - козловой кран. |
||||||
4.5 На контейнерных площадках промышленных предприятий в качестве погрузо-разгрузочного оборудования используют контейнерные перегружатели на пневмоколесном и рельсовом ходу (козловые краны), и/или автоконтейнеровозы-погрузчики, и/или стреловые контейнерные погрузчики (ричстакеры).
4.6 Контейнерные площадки могут входить в состав контейнерного терминала. В состав КТ входят: крытые складские корпуса, открытые складские площадки для контейнеров, железнодорожные и автомобильные подъездные и внутренние пути, служебно-технические и административно-бытовые здания, охраняемые стоянки для автомобилей, гаражи и ремонтные мастерские для транспортных средств, тары, контейнеров, подъемно-транспортных машин, топливозаправочные и экипировочные устройства для транспортных средств, таможенный пост, внешние и внутриплощадочные инженерные сети, устройства освещения, пожарной и охранной сигнализации и связи, ограждение территории и контрольно-пропускные пункты, комнаты отдыха для водителей автомобилей и машинистов локомотивов, объекты общественного питания, торговли и т.д.
5.1 Контейнерные площадки имеют бетонное покрытие жесткого типа или асфальтобетонное покрытие, которое выдерживает расчетную нагрузку 10,6 МПа при штабелировании груженых контейнеров до четырех ярусов по высоте.
Нормативные нагрузки на 1 м2 площади складирования специализированных контейнеров в один ярус по высоте приведены в [9].
5.2 Контейнерные площадки обязаны быть очищены от посторонних предметов, а в зимнее время - от снега и льда и посыпаны песком.
5.3 Продольный уклон КП допускается не менее 0,4 ‰ и не более 0,6 ‰. По ее бокам устраивают дренажные канавы для отвода дождевых и талых вод и предают ей уклон 2 ‰.
5.4 Планировка и размеры КП, число железнодорожных путей, автомобильных подъездов определяют из объема работ, типа контейнеров, применяемых средств механизации с учетом необходимых проходов и проездов.
Терминалы для среднетоннажных контейнеров с козловыми кранами представлены на рисунке 1.
Планировка КП для работы с крутнотоннажными контейнерами (см. рисунок 2) может быть аналогична плану терминала для среднетоннажных контейнеров, приведенному на рисунке 1. Кроме этих вариантов на КП применяют портальные мостовые краны на пневмоходу.
5.5 Ширину пешеходных тротуаров вдоль ограждения КП и других объектов благоустройства территории КП принимают 2 - 3 м.
5.6 КП разделяют на секции, ряды и места, пронумерованные для быстрого нахождения контейнеров. Контейнеры на площадке устанавливают штабелями (блоками). В штабеле контейнеры устанавливают дверями друг к другу.
5.7 Зазоры между боковыми стенками среднетоннажных контейнеров в штабеле (комплекте) - 0,1 - 0,15 м, а между штабелями 0,6 - 0,7 м - проходы для приемо-сдатчиков.
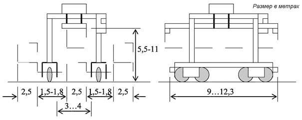
1 -
ограждение терминала; 2 - автомобильные дороги; 3 -
железнодорожный погрузочно-разгрузочный
путь; 4 - козловой кран грузоподъемностью 6 т; 5 - штабели
контейнеров; 6 - пешеходные тротуары;
7 - подкрановые пути; 8 - покрытие КП; 9 - ворота с
контрольно-пропускным пунктом; 10 - ремонтная
зона и автомобильная стоянка; х - количество контейнеров, расположенных
на площадке; у - количество
штабелей; а - длина контейнера; b - ширина контейнера (размеры,
м)
Рисунок 1 - Объединенная КП для среднетоннажных контейнеров с
козловым краном: поперечный разрез (а) и план (б)
5.7.1 В случае применения портальных контейнерных погрузчиков следует принимать:
- размер штабеля вдоль длинной стороны контейнеров равным 8 или 12 контейнеров 1C, в отдельных случаях допускается увеличение его длины до 16 контейнеров 1C;
- торцевые зазоры для обычных контейнеров 1C 0,2 - 0,3 м, а для рефрижераторных - через каждую пару контейнеров 1C равным 2,5 м в целях установки устройств для токоподвода;
- боковой зазор между штабелями контейнеров 1,5 - 1,8 м (см. рисунок 3);
- зазор более 1,6 м в тех случаях, когда необходимо использовать средства механизации для очистки проездов от снега;
- ширину проездов, параллельных линии длины КП, между штабелями не менее 25 м; параллельные линии ширины КП - 25 - 30 м при расположении осветительной мачты вне штабеля в зоне проезда и 20 - 25 м при расположении осветительной мачты в пределах штабеля.
5.8 Для крупнотоннажных контейнеров расстояние между контейнерами в штабеле равно 0,2 м, а между штабелями 0,8 м - проходы для приемосдатчиков.
1 -
ограждение КП; 2 - ЖГФ; 3 - ричстакер; 4 - автопроезды; 5
- штабели контейнеров; 6 - покрытие
контейнерной площадки; 7 - пешеходные тротуары; 8 - портальный
автопогрузчик; 9 - козловой кран
грузоподъемностью 32 т; 10 - подкрановые пути; х - количество
контейнеров; b - ширина контейнера;
Вш - ширина КП (размеры, м)
Рисунок 2 - Варианты КП для крупнотоннажных контейнеров с
автопогрузчиками
с ричстакерами (а) и портальными (б) и с козловым краном (в)
5.9 При проектировании КП необходимо предусматривать противопожарные проезды шириной 5 м через каждые 100 м.
5.10 При проектировании КП с козловыми кранами через 21 - 25 м устанавливают поперечные заезды для автомобилей 4 - 5 м (см. рисунок 4).
5.10.1 В случае применения мостовых и козловых контейнерных (пневмоколесных) кранов и козловых контейнерных перегружателей с тягачами и полуприцепами следует:
- контейнеры размещать длинной стороной параллельно линии длины КП;
- торцевые зазоры для обычных контейнеров 1C принимать 0,3 - 0,6 м, а для рефрижераторных контейнеров через каждую пару контейнеров 1C - 2,5 м;
- боковые зазоры между контейнерами в штабеле принимать 0,4 - 0,6 м;
- ширину проездов, перпендикулярных линии длины КП, принимать между штабелями 28,5 м (см. рисунок 5).
Рисунок 3 - Портальный автопогрузчик
Рисунок 4 - Схема поперечного заезда автомобилей
Рисунок 5 - Мостовой портальный контейнерный кран на пневмоходу
5.11 При проектировании КП для специализированных контейнеров необходимо наносить планы площадок с нанесением технологических перемещений подъемно-транспортных машин и оборудования, схем расположения штабелей контейнеров, железнодорожных путей, автопроездов и разрывов между размещенными штабелями контейнеров.
5.12 Автомобильные проезды на КП устанавливают без пересечения с железнодорожными и подкрановыми путями.
5.13 В конце КП, противоположной въезду транспорта, делают для автомобилей полукольцевой поворот радиусом 30 - 40 м (место для разворота).
5.14 Ширина каждой полосы движения автомобилей на контейнерной площадке - 4 м.
5.14.1 Ширину поперечного прохода между контейнерами в штабеле принимают 8 - 10 м при обслуживании штабеля автопогрузчиками.
5.15 Безопасный зазор между контейнерным рядом (штабелем) и проезжей частью - не менее 0,6 м,
5.16 При расположении проезжей части с внешней стороны опор крана необходимо предусмотреть зазор не менее 0,7 м между выступающими частями опоры крана и проходящим автотранспортом.
Для безопасности проезда автомобилей с габаритной высотой более 4 м размер зазора следует увеличить еще на 0,6 м.
6.1 Классификация, типы и размеры грузовых контейнеров соответствуют ГОСТ Р 53350. Типы, основные параметры и размеры специализированных контейнеров принимают по ГОСТ 30302. Типы, основные параметры и размеры среднетоннажных контейнеров принимают по ГОСТ 18477. Основные типы, размеры и параметры грузовых контейнеров приведены в таблице 2.
Таблица 2 - Основные типы, размеры и параметры грузовых контейнеров
|
Типоразмер |
Масса брутто, т |
Тара, т |
Наружные размеры, мм |
Внутренние размеры, мм |
Внутренний объем, м3 |
|||||
|
Номинальная |
Максимальная |
длина |
ширина |
высота |
длина |
ширина |
высота |
|||
|
Крупнотоннажные контейнеры |
||||||||||
|
1ААА |
30 |
30,48 |
4,25 |
12192 |
2438 |
2896 |
- |
- |
74,5 |
|
|
1AA |
30 |
30,48 |
4,05 |
12192 |
2438 |
2591 |
- |
- |
- |
65,5 |
|
1A |
30 |
30,48 |
4,00 |
12192 |
2438 |
2438 |
11998 |
2299 |
2197 |
61,3 |
|
1AX |
30 |
30,48 |
|
12192 |
2438 |
2438 |
11998 |
2299 |
2197 |
* |
|
1BB |
25 |
25,4 |
|
9125 |
2438 |
2591 |
- |
- |
- |
48,8 |
|
1B |
25 |
25,4 |
|
9125 |
2438 |
2438 |
- |
|
- |
45,7 |
|
1BX |
25 |
25,4 |
|
9125 |
2438 |
2438 |
|
|
- |
* |
|
1CC |
24 |
24 |
2,18 |
6058 |
2438 |
2591 |
5867 |
2299 |
2350 |
32,3 |
|
1C |
20 |
24 |
2,115 |
6058 |
2438 |
2438 |
5867 |
2299 |
2197 |
30,6 |
|
1СХ |
20 |
24 |
|
6058 |
2438 |
2438 |
5867 |
2299 |
2197 |
* |
|
1Д |
10 |
10,16 |
|
2991 |
2438 |
2438 |
2802 |
2299 |
2197 |
14,8 |
|
1ДХ |
10 |
10,16 |
|
2991 |
2438 |
2438 |
2802 |
2299 |
2197 |
* |
|
Среднетоннажные контейнеры |
||||||||||
|
УУКП-5 (6) |
5 |
6,00 |
0,93 |
2100 |
2650 |
2591 |
- |
- |
- |
11,3 |
|
УУКП-5 |
5 |
5 |
0,96 |
2100 |
2650 |
2591 |
|
- |
|
11,3 |
|
УУК-5 |
5 |
5,00 |
0,96 |
2100 |
2650 |
2400 |
|
- |
|
10,3 |
|
УУК-5У |
5 |
5,00 |
0,96 |
2100 |
2650 |
2400 |
- |
- |
- |
10,5 |
|
УУКП-3 (5) |
3 |
5,00 |
0,53 |
2100 |
1325 |
2591 |
|
- |
|
5,7 |
|
УУК-3 (5) |
3 |
5,00 |
0,55 |
2100 |
1325 |
2400 |
1980 |
1225 |
2090 |
5,1 |
|
УУК-3 |
3 |
3,00 |
0,55 |
2100 |
1325 |
2400 |
1980 |
1225 |
2090 |
5,16 |
|
УУКП-6 (8) |
6 |
8,00 |
1,00 |
2190 |
2650 |
2743 |
|
|
|
12,34 |
|
____________ * Определяется расчетом и зависимости от принятой наружной высоты контейнера. Примечание - Классификации типов и размеров контейнеров могут меняться с появлением новых модификаций. |
||||||||||
7.1 Транспортным средством доставки грузовых контейнеров серии I по железной дороге являются железнодорожные фитинговые платформы.
7.2 Транспортным средством доставки среднетоннажных грузовых контейнеров по железной дороге являются фитинговые платформы и полувагоны.
7.3 Транспортным средством доставки грузовых контейнеров серии I автомобильным транспортом является тягач с полуприцепом, оборудованный контейнерными стопорами с поворотной головкой.
7.4 Транспортным средством доставки среднетоннажных контейнеров автомобильным транспортом являются бортовые автомобили соответствующей грузоподъемности.
8.1 Контейнерные краны (козловой, мостовой или портальный перегружатель) являются одним из основных типов машин и механизмов для перегрузки различных типов контейнеров разной массы (брутто) на КП промышленных предприятий. Для перегрузки крупнотоннажных контейнеров массой (брутто) 10, 24 и 30,5 т используют контейнерные перегружатели на пневмоколесном и рельсовом ходу грузоподъемностью на захвате 20, 32 и 40 т.
Козловые краны изготавливают бесконсольными, одно- и двухконсольными по ГОСТ 24390.
8.2 Контейнерные козловые краны используют для перегрузки и складирования типов контейнеров 1ААА, 1АА, 1А, 1АХ, 1ВВВ, 1BB, 1В, 1ВХ, 1CC, 1C, 1СХ на КП.
8.3 Контейнерные погрузчики (автоконтейнеровозы-погрузчики и ричстакеры) для обработки контейнеров выбирают, исходя из параметров контейнеров.
От типоразмеров контейнерных погрузчиков зависят размеры штабелей, ширина сквозных проездов и проездов с разворотом.
Главные характеристики погрузчиков:
- высота штабелирования максимум в четыре контейнера (1 над 3);
- число ярусов контейнеров в штабеле - 1 - 4 для ричстакеров.
8.4 Технология работы КП обусловлена типом применяемого оборудования, которое можно разделить на три основные группы:
- Группа А. Специализированное контейнерное мобильное оборудование для подъема-переноса-опускания контейнеров, сочетающее в себе функции складской грузоподъемной машины (крана) и транспортирующей машины, обеспечивающей как перемещение контейнеров между грузовыми фронтами и складом, так и складирование контейнеров в нужной точке площадки (то есть оборудование, выполняющее все операции перегрузки и транспортирования контейнеров на площадке).
- Группа В. Специализированное контейнерное крановое оборудование с ограниченной мобильностью, предназначенное для подъема-переноса-опускания контейнеров только в пределах зоны передвижения крана. Для перемещения контейнеров между грузовыми фронтами и зонами склада требуется дополнительное оборудование группы С - контейнерные транспортирующие машины.
- Группа С. Специализированные контейнерные транспортирующие машины, в основном циклического действия, предназначенные только для горизонтального перемещения контейнеров между грузовыми фронтами.
8.5 Складское оборудование группы А
Большегрузные вилочные погрузчики. При значительной дистанции перевозки целесообразно сочетание автопогрузчиков с оборудованием группы С.
Ричстакеры. Используют для складирования, а также для перевозки контейнеров на небольшие расстояния. Имеются модификации для погрузки-выгрузки железнодорожных платформ на первом и втором железнодорожном путях (рейлстакеры). При значительной дистанции перевозки целесообразно сочетание автопогрузчиков с оборудованием группы С.
Портальные погрузчики - АКВ. Высота штабелирования - от 1 + 1 до 3 + 1.
Штабелеры для груженых и порожних контейнеров.
8.6 Складское оборудование группы В
Перегружатели на пневмоходу, оборудованные поворотными на 90 градусов тележками, которые передвигаются не только вдоль штабеля контейнеров, но и двигаются по кривой, переезжая от штабеля к штабелю. Для транспортирования по горизонтали их используют в сочетании с другими видами оборудования группы С.
Перегружатели на рельсовом ходу. Предоставляют возможность полной автоматизации операций, при которой крановщик становится лишь вспомогательным звеном компьютерной системы управления.
8.7 Складское оборудование группы С
Оборудование группы С представлено специализированными контейнерными транспортирующими машинами, предназначенными только для горизонтального перемещения контейнеров. Оборудование группы С работает только совместно с оборудованием группы Б и иногда группы А.
Для транспортирования контейнеров между грузовыми фронтами применяют дизельные тягачи с полуприцепами:
- полуприцепы с усиленной рамой и направляющими для установки контейнеров, буксируемые терминальными или серийными магистральными тягачами;
- автопоезд из тягача и контейнерных тележек.
9.1 Проектирование КП осуществляют на основе исходных данных, представляемых застройщиком (техническим заказчиком).
9.2 Проектированию КП должен предшествовать анализ контейнеропотоков и экологической обстановки для определения совместимых видов грузов на одной КП. При этом необходимо стремиться к созданию многоцелевой (многофункциональной) КП, обладающей максимальной универсализацией, в отношении номенклатуры перевозимых грузов.
9.2.1 Все грузовые контейнеры, перегружаемые на КП, делятся на средне-, крупнотоннажные и специализированные.
Основные параметры средне- и крупнотоннажных контейнеров приведены в таблице 2.
К специализированным контейнерам относят контейнеры, заполненные грузом, требующим специального обслуживания. Условия их перевозки на автомобильном и железнодорожном транспорте регламентированы согласно [10].
Рефрижераторные контейнеры выделяют в самостоятельную группу.
9.3 Генеральные планы КП разрабатывают с учетом зонирования территорий, зданий и сооружений по СП 18.13330.
9.4 При размещении зданий и сооружений на территории КП необходимо выполнить группирование по функциональному, технологическому назначению и размещение их в самостоятельных зонах, с учетом необходимых минимально допустимых расстояний между ними, в соответствии с ГОСТ 9238, СП 43.13330, СП 37.13330.
9.5 Территория площадок может иметь продуваемое ограждение, выполненное из негорючих материалов.
9.6 Расстояние от ограждения до штабелей контейнеров, сооружений и зданий должно обеспечивать свободный проезд пожарных автомобилей и создавать противопожарную зону шириной не менее 10 м.
9.7 Требования по разработке объемно-планировочных и конструктивных решений зданий и сооружений на площадке по хранению и перегрузке контейнеров устанавливают на основе требований действующей нормативно-технической документации с учетом функционального назначения помещений и наружных установок.
9.8 Категории зданий, помещений и наружных установок, расположенных на площадке, следует определять в соответствии с СП 12.13130.
9.9 В зданиях и сооружениях на площадках по хранению и перегрузке контейнеров следует предусмотреть конструктивные, объемно-планировочные и инженерно-технические решения, обеспечивающие в случае возникновения пожара возможность эвакуации людей.
9.10 Эвакуационные и аварийные выходы, пути эвакуации должны удовлетворять требованиям СП 1.13130.
9.11 Объемно-планировочные и конструктивные решения производственных и складских зданий и сооружений должны удовлетворять требованиям СП 4.13130.
9.12 Железнодорожный грузовой фронт предназначен для погрузки-выгрузки контейнеров на платформы, а также приема/отправления железнодорожных платформ (подач).
9.12.1 В состав ЖГФ входят площадка погрузки или разгрузки контейнеров на платформы, железнодорожные пути, участок комплектации, весы.
9.12.2 За расчетную единицу ЖГФ принимают железнодорожную грузовую оперативную площадку, предназначенную для приема под обработку одной подачи железнодорожных платформ. Железнодорожная грузовая оперативная площадка включает: грузовые пути для размещения железнодорожных платформ; проходной (маневровый) путь; проезды; инженерные коммуникации и другие обустройства, необходимые для приема и обработки железнодорожных платформ.
9.12.3 Количество путей тылового ЖГФ следует определять, исходя из возможной максимальной длины путей, которая выбирается для конкретных конфигураций и размеров тыловой части КП, а количество подач (исходя из необходимости недопущения резкого снижения валовой интенсивности грузовых работ) принимается, как правило, не более трех.
9.12.4 Количество путей тылового ЖГФ (для установки одной подачи) следует принимать равным двум или трем.
9.12.4.1 Помимо погрузочно-выгрузочных путей на тыловом железнодорожном фронте следует предусмотреть подъездной путь, расположение которого допускается вне зоны, обслуживаемой краном.
9.12.5 Колею тыловых крановых путей для козловых контейнерных кранов, предназначенных для перегрузки крупнотоннажных контейнеров, следует выбирать в зависимости от принятой в проекте технологии грузовых работ и количества обслуживаемых этими кранами железнодорожных путей.
9.12.5.1 Длину тылового ЖГФ определяют количеством железнодорожных платформ, устанавливаемых на одном пути, с учетом коэффициента использования полезной длины грузовых путей, равного 0,95.
9.12.5.2 Ширину тылового ЖГФ следует определять в зависимости от выбранной схемы механизации, применяемых типов машин, ширины площадок для грузовых работ, временного размещения контейнеров и ширины проездов.
9.12.5.3 Количество технологических линий следует принимать в зависимости от грузооборота тылового ЖГФ по таблице 3 и должно быть проверено по фактической суточной интенсивности грузовых работ железнодорожного фронта с учетом перспективы развития КП. При этом зона работы козлового крана должна перекрывать не менее 80 - 100 м.
Таблица 3 - Суточный грузооборот, мес.
|
Параметры |
Суточный грузооборот, мес., наибольшей работы, конт/сут |
||||||||
|
Не более 100 |
101 - 200 |
201 - 300 |
301 - 400 |
401 - 500 |
500 и более |
||||
|
Количество технологических линий |
1 |
2 |
2 |
3 |
3 |
4 |
4 |
5 |
5 и более |
9.12.5.4 Количество контейнерных погрузчиков или ричстакеров в технологической линии «железнодорожный фронт - сортировочная площадка» определяют при проектировании, исходя из необходимости обеспечения бесперебойной погрузки/выгрузки железнодорожных платформ и складских работ на сортировочной площадке, с учетом коэффициента, учитывающего затраты времени на ремонт.
9.13 АГФ предназначен для приема, погрузки или разгрузки контейнеров с автомобилей.
9.13.1 В состав АГФ входят площадка загрузки/разгрузки автомобильного транспорта, площадка для стоянки автомобильного транспорта в ожидании погрузочно-разгрузочных работ, контрольно-пропускной пункт, оснащенный весовыми устройствами.
9.13.2 За расчетную единицу АГФ принимают грузовую площадку, предназначенную для приема под обработку одного автотранспортного средства.
9.13.3 Погрузку/разгрузку автомобилей-контейнеровозов производят подъемно-транспортными машинами из числа используемых для складских работ на сортировочной площадке.
9.13.4 При использовании козловых контейнерных (пневмоколесных) кранов и козловых контейнерных перегружателей обработку автомобилей-контейнеровозов допускается производить на сортировочной площадке.
9.13.5 В случае применения портальных контейнерных погрузчиков при погрузке/разгрузке автомобилей-контейнеровозов необходимо предусмотреть площадку при въезде на КП.
9.13.6 Прием, осмотр и взвешивание контейнеров, прибывающих автомобильным транспортом, производят на контрольно-пропускном пункте, оборудованном весами, при въезде на КП.
9.13.7 При расчете эксплуатационной производительности линии необходимо учитывать снижение производительности порядка на 10 % вследствие выполнения операции взвешивания.
9.13.8 Длину грузовой площадки для обработки одного автомобиля-контейнеровоза принимают равной 16 м.
9.13.9 Погрузку/разгрузку автомобилей-контейнеровозов производят подъемно-транспортными машинами из числа используемых для складских работ на сортировочной площадке. При использовании козловых контейнерных (пневмоколесных) кранов и козловых контейнерных перегружателей обработку автомобилей-контейнеровозов допускается производить на любых оперативных сортировочных площадках. В случае применения портальных контейнерных погрузчиков, при погрузке/разгрузке автомобилей-контейнеровозов необходимо предусмотреть площадку при въезде на КП.
9.14 Склады хранения контейнеров предназначены для накопления партий контейнеров при отправлении автомобильным транспортом и/или по железной дороге и для краткосрочного хранения груза. На складах следует обеспечить прием контейнеров, доставляемых с грузовых фронтов, их хранение и накопление, подготовку к отправке, хранение порожних контейнеров.
9.14.1 Основными параметрами склада являются площадь, вместимость и допустимая технологическая нагрузка от контейнеров (груза) на покрытие склада.
9.14.2 В зависимости от объема контейнеризации опасных химических грузов на КП следует предусмотреть специальные площадки с обеспечением очистки, промывки контейнеров, утилизации россыпи, фумигации грузов в контейнерах. Площадки для мойки контейнеров оборудуют средствами водоснабжения и канализации. Устройство водоснабжения и канализации на территории комплекса следует производить в соответствии с требованиями СП 32.13330.
10.1 При строительстве и реконструкции КП запрещено использование бывшей в употреблении металлопродукции.
10.2 Требования к покрытию контейнерных площадок
Вид и конструкцию покрытий и искусственного основания следует выбирать с учетом:
- эксплуатационно-технологического назначения;
- климатических, гидрогеологических и грунтовых условий строительства;
- величины, характера и интенсивности воздействия нагрузок (высоты штабеля складируемых грузов, частоты проходов автомобильного транспорта и погрузчиков, режима работы кранов повышенной грузоподъемности);
- наличия местных дорожно-строительных материалов и минимальной стоимости строительства.
10.2.1 Нормативные нагрузки на 1 м2 площадки приведены в [9] и [11].
Рекомендуемые виды покрытий в зависимости от их назначения приведены в таблице 4.
10.2.2 Качество покрытий на КП должно быть обеспечено на весь заданный (проектный) срок службы.
10.2.3 Проектный срок службы покрытий КП назначают в зависимости от вида покрытия, опыта их эксплуатации и принимают в соответствии с таблицей 5.
10.2.4 Качество покрытий КП, их долговечность, противостояние неравномерным просадкам в значительной (а для жестких покрытий - в решающей) степени зависят от качества грунтового и искусственного оснований, при проектировании и строительстве покрытий КП следует особое внимание уделять:
- изучению геологии и гидрогеологии участка, наличию слабых грунтов и необходимости их замены или укрепления;
- контролю плотности грунта в пределах сжимаемого слоя;
- выполнению правил производства земляных работ (землечерпания, регулирования, отсыпки и планировки).
Таблица 4 - Виды покрытий КП в зависимости от их назначения
|
Назначение КП |
Рекомендуемый вид покрытия |
|
Площадки и проезды с использованием мобильных (безрельсовых) кранов и погрузчиков повышенной грузоподъемности (с нагрузкой на ось св. 70 тс или на опору св. 100 тс) |
Блочные, монолитные бетонные, армобетонные и железобетонные |
|
Открытые складские площадки: |
Блочные, монолитные бетонные, армобетонные и асфальтобетонные |
|
- для крупнотоннажных контейнеров, блок-пакетов и других тяжеловесных грузов; |
|
|
- металла и оборудования; |
|
|
- навалочных грузов, насыпных строительных материалов открытого хранения и минеральных удобрений; |
|
|
- генеральных грузов; |
|
|
- лесных грузов |
|
|
Внутри площадочные дороги и подъезды для автомобильного и перегрузочного транспорта |
Монолитные бетонные, армобетонные, сборные железобетонные, асфальтобетонные |
Таблица 5 - Проектный срок службы покрытий КП
|
Вид покрытия |
Проектный срок службы, лет |
Трудоемкость и материалоемкость капитального ремонта, %, от начальной стоимости |
|
|
общий |
до капитального ремонта |
||
|
Блочные |
25 |
10 |
20 |
|
Монолитные бетонные |
15 |
10 |
75 |
|
Монолитные железобетонные |
15 |
10 |
75 |
|
Сборные железобетонные |
20 |
10 |
30 |
|
Сборные, предварительно напряженные асфальтобетонные: |
20 |
10 |
30 |
|
- на цементно-бетонном основании |
15 |
7 |
50 |
|
- щебеночном основании |
10 |
5 |
75 |
|
Из материалов и грунта, скрепленных битумом, цементом и другими вяжущими |
5 |
3 |
90 |
10.2.5 При проектировании жестких покрытий КП на вновь образуемой территории следует учитывать возможность значительных осадок территорий в первый период их эксплуатации, особенно при наличии слабых грунтов в основании. В начальный период эксплуатации рекомендуется использовать временное покрытие из штучных блоков или сборных плит, которое по окончании осадок следует разобрать, произвести необходимую подсыпку щебнем и выполнить работу по устройству постоянного покрытия. Продолжительность временной эксплуатации и порядок производства работ по устройству постоянного покрытия должны быть уточнены расчетом и отражены в проектно-сметной документации.
Примечание - Образование насыпной территории и устройство в течение одного календарного года постоянных покрытий допускается при насыпях на естественные непросадочные грунты, состоящие из прочных и малосжимаемых грунтов (скальных, крупнообломочных, щебенистых и песчаных) и при замене просадочных грунтов в естественном залегании.
10.2.6 В зависимости от конкретных условий возможны различные варианты проектных решений по устройству нового покрытия:
- существующее покрытие из сборных железобетонных плит или штучных блоков разбирают и после создания дополнительных слоев искусственного основания используют при устройстве нового покрытия;
- существующее монолитное бетонное, армобетонное, железобетонное или асфальтобетонное покрытие не разбирают, а новое - наращивают за счет дополнительных слоев искусственного основания и устройства нового покрытия;
- если результаты поверочных расчетов (для монолитных существующих покрытий) указывают на необходимость замены слабых слоев грунтового основания, то старое покрытие следует разобрать, а при необходимости укрепления слабых слоев грунтового основания и возможности выполнения таких работ через пробуренные скважины старое покрытие целесообразно не разбирать;
- при различной конструкции существующих покрытий по площади новых (проектируемых) покрытий КП возможны различные проектные решения для разных участков новых покрытий.
Выбор проектного решения нового (при наличии старого) покрытия рекомендуется производить на основе технико-экономического сравнения различных вариантов инженерных решений.
10.2.7 Для устройства покрытий КП применяют тяжелые бетоны и асфальтобетоны в соответствии с ГОСТ 9128.
Покрытия КП работают в условиях атмосферного воздействия, переменной температуры и влажности, солнечной радиации, истирающего и переменного действия нагрузок от используемых транспортно-перегрузочных средств; бетон покрытий должен удовлетворять требованиям прочности, водонепроницаемости, морозостойкости.
10.2.7.1 Основным контролируемым показателем качества бетона жестких покрытий является прочность на сжатие. Для КП следует применять бетон не ниже класса В30 в соответствии с СП 95.13330.
Для покрытий следует применять тяжелые бетоны на плотных заполнителях следующих классов и марок:
- классы по прочности на сжатие, не ниже: для изготовления штучных блоков, сборных железобетонных плит из обычного или предварительно напряженного бетона - В35; для монолитных покрытий - В30;
- классы прочности на осевое растяжение, не ниже: для сборных железобетонных плит из обычного и предварительно напряженного бетона - Bt 2,0; для монолитных покрытий - Bt 1,6;
- марки по морозостойкости и водонепроницаемости - в соответствии с расчетным количеством циклов замораживания и оттаивания для районов строительства, указанных в таблицах 6 и 7 соответственно.
В качестве крупного заполнителя используют щебень (гравий) из пород прочностью в полтора-два раза выше прочности бетона и морозостойкостью не ниже марки бетона по морозостойкости.
Щебень (гравий) должен быть фракционированным с содержанием фракций, обеспечивающих наименьшую пустотность заполнителя. Максимальная крупность щебня (гравия) следует принимать не более 1/4 толщины плиты в бетонных покрытиях и не более минимального расстояния в свету между арматурными стержнями в железобетонных покрытиях.
Таблица 6 - Минимальные проектные марки бетонов по морозостойкости
|
Наименование параметра |
Среднемесячная температура самого холодного месяца, °С |
|||
|
От 0 до -5 |
От -5 до -15 |
От -15 до -25 |
Ниже -25 |
|
|
Минимальная проектная марка бетона по морозостойкости F |
100 |
150 |
200 |
300 |
Таблица 7 - Минимальные проектные марки бетонов по водонепроницаемости
|
Наименование параметра |
Обозначение марки бетона по морозостойкости F |
||||||
|
F50 F75 |
F100 |
F150 |
F200 |
F300 |
F400 |
F500 |
|
|
Минимальная проектная марка бетона по водонепроницаемости W |
Не нормируется |
W2 |
W4 |
W6 |
W8 |
W10 |
W12 |
Для бетона участков покрытий с интенсивным движением (оперативных площадок и проездов с использованием мобильных кранов и погрузчиков повышенной грузоподъемности, внутриплощадочных дорог и подъездов автомобильного и перегрузочного транспорта, междупутья железнодорожных, крановых путей и переездов) используют щебень (гравий) из плотных каменных пород, имеющих марку:
- по износу - из изверженных пород - И-I, из осадочных пород - И-II, из гравия и щебня из гравия - И-III*;
- морозостойкости - при среднемесячной зимней температуре, °С (см. таблицу 8);
Таблица 8 - Морозостойкость покрытий в зависимости от температуры
|
Наименование параметра |
Среднемесячная зимняя температура, °С |
|
F100 |
От 0 до минус 10 |
|
F200 |
От минус 10 до минус 20 |
|
F300 |
От минус 20 до минус 30 |
|
F400 |
От минус 30 до минус 40 |
|
F500 |
От минус 40 до минус 50 |
- по дробимости - марку щебня следует принимать не менее: из изверженных пород - 1200, из метаморфических и осадочных пород - 800.
Водопоглощение щебня - не более 0,5 % по массе.
Содержание частиц менее 0,14 мм следует принимать в пределах от 0 % до 10 %; модуль крупности песка - в пределах от 2,0 до 3,5. При несоответствии зернового состава следует добавлять недостающие фракции.
10.2.7.2 Для устройства покрытий КП применяют асфальтобетоны.
В покрытиях КП допускается применение асфальтобетонных смесей (смеси) и асфальтобетонов:
- по виду минеральной составляющей - щебеночные, гравийные и песчаные;
- вязкости используемого битума и температуре укладки - горячие, приготовляемые с использованием вязких и жидких нефтяных битумов и укладываемые с температурой не ниже 120 °С, и холодные, приготовляемые с использованием жидких нефтяных дорожных битумов и укладываемые с температурой не ниже 5 °С;
- наибольшему размеру минеральных зерен:
- горячие смеси - крупнозернистые (не более 40 мм), мелкозернистые (не более 20 мм), песчаные (не более 5 мм),
- холодные смеси - мелкозернистые и песчаные;
- величине остаточной пористости:
- асфальтобетоны на горячих смесях: высокоплотные - св. 1,0 до 2,5 %, плотные - св. 2,5 до 5,0 %, пористые - св. 5,0 до 10,0 %, высокопористые - св. 10,0 до 18,0 %,
- асфальтобетоны на холодных смесях должны иметь остаточную пористость от 6,0 до 10,0 %;
- содержанию щебня (гравия) щебеночные и гравийные горячие смеси и плотные асфальтобетоны типов:
- А - с содержанием щебня св. 50 до 60 %,
- Б - с содержанием щебня св. 40 до 50 %,
- В - с содержанием щебня св. 30 до 40 %.
Щебеночные и гравийные холодные смеси и соответствующие им асфальтобетоны в зависимости от содержания в них щебня (гравия) подразделяют на типы Бх и Вх.
10.2.7.3 Полимерные материалы для покрытий КП (геотекстиль, георешетки, теплоизоляционные, водонепроницаемые, волокнистые добавки в бетоны).
Геотекстильные и георешетчатые материалы представляют полотнища, получаемые с использованием полимерной продукции и применяемые в дорожном строительстве в качестве грунтонепроницаемых, грунтоукрепляющих и дренирующих слоев искусственного основания покрытий. Имеется большая разновидность этих материалов как отечественного, так и зарубежного производства.
К группе грунтонепроницаемых относятся геотекстильные материалы, получаемые иглопробиванием или термоскреплением экструдированных волокон расплавленных полимеров полиакрила, полиамида, полиэфира, полиэтилена, полипропилена и др. Благодаря высокой прочности, химической стойкости волокон и пористости полотна эти материалы выполняют три функции:
- не допускать суффозии (проникновения) мелких фракций одного слоя в крупные поры смежного слоя грунта;
- свободно пропускать через себя воду;
- частично упрочнять пограничные слои грунта от поперечных деформаций, что положительно влияет на устойчивость основания.
10.2.7.4 Блочные покрытия
Конструкция покрытия представлена на рисунке 6. Штучные блоки укладывают на основание из щебня (гравия), песка и других минеральных материалов, толщина слоев которых определена расчетом.
Покрытие КП из монолитного бетона на цементном вяжущем, как правило, однослойное из бетона класса по прочности на сжатие не ниже В 35 и толщиной не менее 0,22 и не более 0,3 м. Класс бетона по прочности и толщина покрытия устанавливают расчетом. Марка бетона по морозостойкости установлена проектом в соответствии с климатическими условиями строительства по указаниям 4.1.1.
Бетонирование производят на качественно подготовленном искусственном основании, верхний слой которого толщиной 20 - 25 мм тщательно уплотнен и выровнен мелким щебнем.
Бетонное покрытие под воздействием нагрузок подвергается изгибу. Для обеспечения прочности бетона на растяжение в нижней зоне (от чего зависит прочность самого покрытия) укладку бетонной смеси следует производить на основание, не допускающее обезвоживания или переувлажнения нижнего слоя бетона. Первая цель достигается устройством перед укладкой бетона подготовки из тощего цементно-песчаного раствора состава 1:4 - 1:6 толщиной 20 - 25 мм или настилкой пергамина или толь-кожи с перекрытием на 10 см; вторая цель - производством бетонных работ в сухую погоду. Укладка бетона на переувлажненное основание не допускается.
Бетонирование покрытий производят картами шириной В не более 7 м, длиной L не более 25 м и не более 60 м с устройством швов сжатия и швов расширения. В свою очередь, карта бетонируется захватками длиной 5 - 7 м с устройством поперечных швов сжатия между захватками.
10.3 Расчет оснований и верхних покрытий площадок для крупнотоннажных контейнеров производят с учетом максимальных нагрузок и воздействий, которые возникают при хранении контейнеров типа 1А в четыре яруса (10,6 МПа) и переработке их фронтальными автопогрузчиками.
Нормативные нагрузки на 1 м2 покрытия площадок многоярусного (более двух) складирования контейнеров определяют в зависимости от количества устанавливаемых в ярусы (блоки) контейнеров (см. таблицу 9).
Рисунок 6 - Блочные покрытия
Таблица 9 - Нормативные нагрузки на фитинг контейнера
|
Количество ярусов контейнеров |
Типы контейнеров |
Нагрузка на фитинг контейнера, кН |
Расчетное давление на покрытие, МПа |
|
|
нормативная |
расчетная |
|||
|
3 |
1А |
225 |
203 |
8,9 |
|
1C |
150 |
135 |
5,9 |
|
|
4 |
1А |
300 |
240 |
10,6 |
|
1C |
200 |
160 |
7,0 |
|
|
Примечания 1 Значения нагрузок, передаваемые на фитинг контейнера, приняты согласно ГОСТ 20259. 2 Расчетное давление - результат давления расчетной нагрузки на площадь круга, равновеликого площади фитинга. 3 Диаметр площади круга, равновеликого площади фитинга (0,0225 м2), равен 0,17 м. |
||||
10.4 Компоновку контейнерной площадки определяют с учетом следующих требований:
- через каждые 100 м длины площадки следует предусматривать «пожарные проезды» шириной 10 м;
- в конце площадки предусматривают зоны, предназначенные для ремонта кранов и мелкого ремонта контейнеров;
- вдоль зон хранения контейнеров предусматривают автомобильные проезды;
- расстановку контейнеров, с учетом необходимых проходов и проездов производить в соответствии с требованиями СП 37.13330.
10.5 Проектирование, строительство и эксплуатация рельсовых путей козловых кранов определены в [1], [7], [8].
10.6 Требования к дренажным системам - согласно СП 32.13330.
10.6.1 Планировка и оснащение площадок по хранению и перегрузке контейнеров должны предотвращать возможность скопления дождевых вод и обеспечивать их отвод в приемные стоки соответствующих дренажных систем.
10.6.2 Пропускная способность сети дренажной системы должна быть рассчитана на прием стоков от зданий и сооружений наибольшего из расчетных сбросов с открытых площадок и при работе систем противопожарной защиты.
11.1 При проектировании КП следует предусматривать применение информационных систем, обеспечивающих обработку данных о контейнерах, учет их работы и слежение за их продвижением, включая применение радиочастотной идентификации в цепи поставок по ГОСТ Р ИСО 17363.
11.2 Информационная система на КП выполняет следующие функции:
- сбор информации;
- анализ информации;
- аккумулирование и хранение информации;
- фильтрация потока информации (отбор необходимых для того или иного уровня управления данных и документов);
- объединение и разъединение информационных потоков;
- выполнение элементарных информационных преобразований;
- управление информационным потоком;
- оповещение о чрезвычайных ситуациях.
11.3 Системы управления КП должны полностью работать в режиме «реального времени», а обработка всех операций на площадке производиться с использованием радиотерминалов сбора данных (ТСД).
11.3.1 Задачи информационной логистической системы
11.3.1.1 Система управления КП предназначена для решения ряда задач, в которые входят:
- управление адресным пространством КП и ее зонирование;
- ведение справочников системы: справочника контейнеров, справочника грузов, справочника владельцев контейнеров, справочника контрагентов, справочника погрузочной техники;
- учет всей актуальной информации о контейнере;
- управление стратегиями перемещения контейнера на КП;
- управление группировкой контейнеров в стеки по различным критериям;
- управление операциями с контейнерами: приемкой, отгрузкой, перетаркой, досмотром, взвешиванием, ремонтом и прочим;
- управление работой перегрузочной техники;
- управление обработкой транспорта: автомобильного, железнодорожного, речного и морского, а также авиационного;
- формирование производственной отчетности;
- печать пакета документов (актов, накладных и сопроводительных документов);
- сбор аналитической информации для передачи в корпоративную информационную систему или формирования аналитических отчетов;
- формирование счетов клиентам за предоставленные услуги по обработке контейнеров на КП;
- интеграция CMS-системы с корпоративной информационной системой и ГЛОНАСС для мониторинга местоположения погрузочно-разгрузочного оборудования в пределах КП.
11.4 Требования к системе автоматизации инженерных систем и диспетчеризации
11.4.1 При проектировании новых и реконструкции существующих КП необходимо создание системы автоматизации инженерных систем и диспетчеризации, предназначенной для создания единой инфраструктуры контроля и управления системами защиты окружающей среды и противопожарной безопасности [2], в целях организации взаимодействия между системами, осуществления функций контроля состояния систем и оборудования инженерного обеспечения, автоматического и автоматизированного (диспетчерского) управления.
11.4.2 Систему проектируют как единый программно-аппаратный комплекс, включающий в себя автоматизацию и диспетчеризацию всех инженерных систем, входящих в систему:
- устройства пожарной и охранной сигнализации проектируют в соответствии с ГОСТ Р 50776, СП 3.13130, СП 5.13130.
12.1.1 Требования настоящего раздела должны соблюдать при проектировании и строительстве КП на предприятиях промышленности и транспорта согласно [3], [4], [5], [6].
12.1.2 Предусматриваемые в проектах КП решения должны удовлетворять требованиям действующих основ законодательства об охране земель, недр, водных ресурсов, атмосферного воздуха, растительного и животного мира, а также действующих государственных стандартов, сводов правил, постановлений, положений, правил и актов, инструкций и методических указаний, регулирующих природоохранную деятельность.
12.1.3 На всех стадиях проектирования следует производить оценку его воздействия на окружающую среду с определением характера и степени опасности потенциального влияния проектируемых транспортных объектов на природную среду как в условиях стабильной эксплуатации при расчетных параметрах и показателях, так и в экстремальных условиях (значительное превышение расчетной интенсивности движения) или в случае аварии (разрыв трубопровода, разрушение в результате стихийного бедствия и т.д.). Порядок выполнения и состав материалов по оценке воздействия на окружающую среду в проектах должны отвечать требованиям соответствующих нормативных документов органа исполнительной власти по охране окружающей среды.
12.1.4 При проектировании следует предусматривать мероприятия, обеспечивающие минимальное негативное воздействие на окружающую природную среду при их строительстве и эксплуатации.
12.1.5 Предусматриваемые в проектах природоохранные мероприятия должны обеспечивать: сохранение природных ландшафтов, заповедников, санитарно-курортных зон, памятников природы и культуры; максимальную экономию земельных ресурсов, отводимых для размещения проектируемых объектов; предотвращение загрязнения водных бассейнов и подземных вод жидкими и твердыми отходами, а также попадания в поверхностные и подземные воды загрязненных стоков; устранение вредного влияния на окружающую среду пыления грузов при транспортировании, погрузке и выгрузке; рекультивацию земель после завершения строительства; максимальное уменьшение загрязнения почвы; условия безопасного обращения с отходами; максимально возможную защиту атмосферного воздуха от выбросов загрязняющих веществ; защиту от шума и вибрации жилых районов, животноводческих хозяйств и мест обитания диких животных, создаваемых объектами промышленного транспорта. Для объектов промышленного транспорта, располагаемых на территории предприятия, необходимые данные передают генпроектировщику для учета при разработке раздела по охране окружающей среды по предприятию в целом.
12.1.6 При проектировании объектов промышленного транспорта в сложных климатических и геологических условиях северных и восточных районов, в сейсмических районах, в условиях тайги, тундры и лесотундры по вопросам максимального сохранения природного комплекса необходимо руководствоваться требованиями СП 14.13330, СП 28.13330, СП 131.13330.
Расчет пропускной способности железнодорожного грузового фронта
Пропускную способность ЖГФ определяют для контейнерооборота в максимальный месяц, исходя из часовой эксплуатационной производительности и количества технологических линий, суточной валовой интенсивности обработки железнодорожной подачи на ЖГФ, сезонной неравномерности перевозок, годового бюджета рабочего времени.
Пропускную способность ЖГФ, тыс. конт/г, определяют по формуле
|
|
(1) |
где Nж - количество обработанных железнодорожных подач в сутки:
|
|
(2) |
где Мж - валовая часовая интенсивность обработки одной железнодорожной подачи, конт/ч;
tpaб - годовой бюджет рабочего времени, сут.;
Kм.н. - коэффициент месячной неравномерности контейнеропотока.
Валовую интенсивность обработки одной железнодорожной подачи, конт/ч определяют по формуле
|
|
(3) |
где Дж.и. - количество выгружаемых контейнеров на платформах в подаче, конт;
Дж.э. - количество погружаемых контейнеров на платформы в подаче, конт;
tвс.ж. - время на подачу и уборку платформ на ЖГФ, на прочие вспомогательные операции, не совмещаемые с грузовыми работами, ч (исходные данные).
Время грузовой обработки железнодорожной подачи определяют по формуле
|
|
(4) |
где Рэкс - эксплуатационная производительность одной технологической линии, конт/ч;
tсм - продолжительность смены, ч;
t0 - продолжительность обеденного перерыва, ч;
N - количество технологических линий на ЖГФ,
Эксплуатационную производительность технологических линий на ЖГФ, состоящих из машин циклического действия, определяют по формуле
|
Pэкс = Pтех∙Kс, |
(5) |
где Pтех - техническая производительность лимитирующей машины в технологической линии, конт/ч;
Kс - коэффициент перехода от технической к эксплуатационной производительности технологической линии, численные значения которого принимаются в зависимости от способа производства погрузочно-разгрузочных работ равными:
- при механизированном способе производства Kс = 0,75,
- автоматизированном Kс = 0,9.
Пересчет пропускной способности ЖГФ, тыс. TEU/г, определяют по формуле
|
PTEUЖГФ = Pконт.ЖГФ∙KTEU, |
(6) |
где KTEU - TEU-фактор - отношение числа TEU к числу физических контейнеров.
Количество платформ в одной подаче принимается, исходя из вместимости грузового пути.
Длину и ширину железнодорожной грузовой оперативной площадки определяют в зависимости от длины грузовых путей, схемы механизации грузовых работ, необходимости размещения подкрановых путей, буферных площадок, проездов и пр.
Изменение расчетной пропускной способности ЖГФ для конкретного контейнеропотока производят с учетом существующих ограничений и возможностей за счет увеличения количества технологических линий, их производительности или изменения количества ЖГФ.
Расчет пропускной способности автомобильного контрольно-пропускного пункта
Поток заявок характеризуется величиной плотности потока заявок λ, определяемой как количество заявок в единицу времени. В рассматриваемом случае плотностью потока заявок является отношение числа прибывающих автомобилей Naвт к рассматриваемому периоду времени. Если в течение года КП обрабатывает Naвт, а рабочее время составляет 365 дней, включающих две смены по 8 ч, то рабочее время составит Tраб = 365∙2∙8 = 5840 ч. Среднее время между визитами автомобиля составляет
|
|
(7) |
то есть плотность потока заявок есть величина, обратная периоду визитов автомобилей:
|
|
(8) |
Работа каналов системы массового
обслуживания характеризуется длительностью обслуживания заявки Tобcл,
считающейся распределенной по показательному закону. Для расчетов в теории
массового обслуживания используют величину, обратную длительности обслуживания
, называемую плотностью потока
освобождения каналов.
Отношение
называется приведенной плотностью
потока заявок. В рассматриваемом случае приведенная плотность потока заявок
есть
|
|
(9) |
Таким образом, приведенная плотность
потока заявок показывает, сколько автомобилей в среднем прибывает на КП за
время обслуживания одного из них. В теории массового обслуживания доказывается,
что стационарный режим, когда количество заявок в очереди на обслуживание не
возрастает неограниченно, возможен лишь при выполнении соотношения α
< n, где n -
число каналов обслуживания. Следовательно, минимальное число каналов для
обслуживания заявок (то есть количество одновременно обслуживаемых на пункте
пропуска автомобилей) в рассматриваемой системе следует принимать больше
.
Предельный случай α = n характеризуется 100-процентной занятостью каждого канала обслуживания, то есть после окончания обслуживания одного автомобиля на его место немедленно встает следующий. Как при α = n, так и при реальном соотношении α < n может возникать очередь на обслуживание. Теория массового обслуживания позволяет в зависимости от различных соотношений величин α и n оценить время ожидания заявки в очереди и длину очереди, то есть среднее время ожидания автомобильного транспорта в очереди на обслуживание и их среднее количество единиц в ней - требуемый размер парковки.
Слишком малое число полос для пропуска автомобилей приведет к появлению очереди (то есть потерям от простоя и затратам на образование стоянки), слишком большое - к неэффективному использованию пунктов пропуска, то есть тоже к потерям. Для оценки потерь, связанных с простоями, теория массового обслуживания предлагает формулы для определения средней длины очереди и среднего времени ожидания в ней. Задавшись относительными удельными весами (удельной стоимостью) и оценив суммарную величину этих потерь, можно их сравнить с затратами на строительство дополнительных полос и пунктов пропуска, что позволяет определить их оптимальное в этом смысле количество m.
Соотношение
позволяет получить оценку пропускной
способности Nавт для различного
времени обслуживания Tобсл и число
полос nполос (см. рисунок Б.1).
Каждая кривая показывает тот предельный объем потока транспортных средств,
который автомобильный въездной комплекс (АВК), имеющий в своем составе то или
иное число полос, может пропустить в течение года.

Рисунок Б.1 - Пропускная способность АВК
В зависимости от характера неравномерности, работа АВК будет сопровождаться отсутствием очереди или ее наличием, при том что весь поток транспортных средств будет гарантированно обслужен. В случае возможности организации прибытия транспортных средств по строгому расписанию пропускная способность АВК будет использована полностью, а очереди будут отсутствовать. Следовательно, получаемые значения технологических параметров являются минимальными. Уточненные значения могут быть получены методами, описываемыми в пособии для проектирования.
Вместимость склада определена сочетанием значений размеров транспортных партий контейнеров V, направляемых через грузовые фронты на склад (отправляемых со склада), интервалами между этими партиями Т и сроком хранения контейнерных партий на складе tx для месяца наибольшей загрузки. Ниже представлена методика определения вместимости склада.
Вместимость склада Еж.и. для контейнеров, ДФЭ, для прибывающих по железной дороге контейнеров определяют по формуле
|
|
(10) |
где Vж.и. - количество контейнеров, ДФЭ, в железнодорожной подаче;
tх.ж.и. - средний срок хранения контейнеров на складе, сут;
Тж.и. - интервалы между поступлениями в железнодорожной подаче, сут.
В том случае, если
, вместимость склада принимают равной Vи.
Вместимость склада Еж.э.
для контейнеров, TEU, для отправки железнодорожным транспортом, при условии
, определяют по формуле
|
|
(11) |
В том случае, если
, вместимость склада принимают равной Vж.э..
Общую вместимость склада, TEU, для потока контейнеров с (на) железной дороги определяют по формуле
|
Еж. = Еж.э. + Еж.и.. |
(12) |
Вместимость склада Еа.и. для контейнеров,
TEU, прибывающих на КП внешним и внутренним автомобильным транспортом, для
, определяют по формуле
|
|
(13) |
где Vа.и. - количество контейнеров, ДФЭ, прибывающих автомобильным транспортом на склад в течение суток;
tх.а.и. - средний срок хранения контейнеров на складе, сут;
Tа.и. - интервал времени, равный 1 сут.
В том случае, если
, вместимость склада принимают равной Vа.и.. Аналогично для контейнеров, убывающих автотранспортом:
|
|
(14) |
В том случае, если
, вместимость склада принимают равной Va.э..
Общая вместимость склада, ДФЭ, для потока контейнеров с (на) автомобильного
транспорта:
|
Еа. = Еа.э. + Еа.и.. |
(15) |
Высота штабелирования контейнеров и площадь склада
Эволюция складских машин привела к созданию нескольких технологических направлений (систем складирования) с применением:
- фронтальных автопогрузчиков;
- ричстакеров;
- портальных автопогрузчиков;
- козловых кранов на пневмо-RTG и рельсовом ходу RMG.
Основные технологические отличия этих систем заключаются в различной высоте и плотности складирования контейнеров (см. таблицу Г.1).
Таблица Г.1 - Плотность складирования для различных схем складирования
|
Система складирования |
Автопогрузчик |
Ричстакер |
Портальный автопогрузчик |
|
Высота складирования техническая, конт. |
3,0 |
4,0 |
2 + 1 |
|
Количество ДФЭ на гектар, конт. |
260 |
400 |
675 |
Увеличение высоты складирования груженых контейнеров приводит к улучшению использования площади, но увеличивает трудоемкость перевалки контейнеров, простои смежного транспорта и ухудшает качество сервиса для клиентов. Складирование неисправных (выбракованных) контейнеров необходимо производить на специально выделенных площадках.
Максимальная высота укладки контейнеров в штабель не более четырех ярусов по высоте. Штабелирование порожних контейнеров на специально выделенной складской площадке рекомендуется производить автопогрузчиком - штабелером порожних контейнеров.
Порожние контейнеры следует складировать на специально отведенных площадках с учетом воздействия ветровых нагрузок и соблюдения следующих требований:
- без дополнительных креплений разрешено складирование контейнеров только в три яруса по высоте;
- при складировании на высоту в четыре яруса и более контейнеры соединяют крепежными средствами между собой;
- угловые контейнеры верхнего яруса штабеля во избежание сдвигов при значительных ветровых нагрузках надежно крепят. Крепление производят путем установки закладных штыков в фитинги нижележащего углового контейнера и установкой на него контейнера верхнего яруса, а также установкой тросов - растяжек.
[1] Федеральный закон от 21 июля 1997 г. № 116-ФЗ «О промышленной безопасности опасных производственных объектов»
[2] Федеральный закон от 22 июля 2008 г. № 123-ФЗ «Технический регламент о требованиях пожарной безопасности»
[3] Федеральный закон от 10 января 2002 г. № 7-ФЗ «Об охране окружающей среды»
[4] Федеральный закон от 9 февраля 2007 г. № 16-ФЗ «О транспортной безопасности»
[5] Федеральный закон от 23 ноября 2009 г. № 261-ФЗ «Об энергосбережении и о повышении энергетической эффективности и о внесении изменений в отдельные законодательные акты Российской Федерации»
[6] Федеральный закон от 30 декабря 2009 г. № 384-ФЗ «Технический регламент о безопасности зданий и сооружений»
[7] Приказ Минэнерго России от 8 июля 2002 г. № 204 «Об утверждении глав Правил устройства электроустановок»
[8] СП 12-103-2002 Пути наземные рельсовые крановые. Проектирование, устройство и эксплуатация
[9] ОНТП 01-91/Росавтотранс Общесоюзные нормы технологического проектирования предприятий автомобильного транспорта
[10] Европейское соглашение о международной дорожной перевозке опасных грузов (ДОПОГ/ADR). ООН, 2015
[11] ОНТП 01-86. Общесоюзные нормы технологического проектирования складов тарно-штучных и длинномерных грузов
|
Ключевые слова: контейнерные площадки, устройства терминальные, контейнер универсальный, контейнер специализированный, контейнер, контейнерный пункт, предприятия промышленности, транспорт, контейнеровоз |