Mining. Mining flexible cables. Test methods of possibility emergency switching-off in crushing

ФЕДЕРАЛЬНОЕ АГЕНТСТВО
ПО ТЕХНИЧЕСКОМУ РЕГУЛИРОВАНИЮ И МЕТРОЛОГИИ

НАЦИОНАЛЬНЫЙ
СТАНДАРТ
РОССИЙСКОЙ
ФЕДЕРАЦИИ

ГОСТ Р
58718
-
2019

Горное дело

КАБЕЛИ ГИБКИЕ ШАХТНЫЕ

Методы проверки обеспечения опережающего
отключения при раздавливании

Москва

Стандартинформ

2019

Предисловие

1 РАЗРАБОТАН Акционерным обществом «Научный центр ВостНИИ по промышленной и экологической безопасности в горной отрасли» (АО «НЦ ВостНИИ»), Акционерным обществом «Научно-исследовательский, проектно-конструкторский и технологический кабельный институт (НИКИ) г. Томск с опытным производством» (АО «НИКИ г. Томск»), Обществом с ограниченной ответственностью «Томский кабельный завод» (ООО «Томсккабель»)

2 ВНЕСЕН Техническим комитетом по стандартизации ТК 269 «Горное дело»

3 УТВЕРЖДЕН И ВВЕДЕН В ДЕЙСТВИЕ Приказом Федерального агентства по техническому регулированию и метрологии от 3 декабря 2019 г. № 1336-ст

4 ВВЕДЕН ВПЕРВЫЕ

Правила применения настоящего стандарта установлены в статье 26 Федерального закона от 29 июня 2015 г. № 162-ФЗ «О стандартизации в Российской Федерации». Информация об изменениях к настоящему стандарту публикуется в ежегодном (по состоянию на 1 января текущего года) информационном указателе «Национальные стандарты», а официальный текст изменений и поправок - в ежемесячном информационном указателе «Национальные стандарты». В случае пересмотра (замены) или отмены настоящего стандарта соответствующее уведомление будет опубликовано в ближайшем выпуске ежемесячного информационного указателя «Национальные стандарты». Соответствующая информация, уведомление и тексты размещаются также в информационной системе общего пользования - на официальном сайте Федерального агентства по техническому регулированию и метрологии в сети Интернет (www.gost.ru)

Содержание

1 Область применения. 2

2 Нормативные ссылки. 3

3 Термины и определения. 3

4 Сущность методов проверки опережающего отключения гибкого кабеля при раздавливании. 4

4.1 Общие положения. 4

4.2 Метод проверки опережающего отключения с использованием в конструкции кабеля гибкой брони. 4

4.3 Метод проверки опережающего отключения без открытого искрообразования. 5

5 Оборудование. 5

6 Отбор и подготовка образцов к испытаниям.. 7

7 Проведение испытаний. 7

8 Требования безопасности. 8

Библиография. 8

Введение

В системе шахтного электроснабжения гибкий кабель является наименее защищенным элементом, причем наиболее часто по причине механического повреждения. В связи с этим гибкие кабели для присоединения передвижных машин и механизмов в условиях подземных горных выработок, опасных по слоевым скоплениям метана, должны быть разработаны и изготовлены таким образом, чтобы в случае превышения допустимого механического воздействия при раздавливании обеспечить опережающее отключение кабеля под действием электрических защит до разрыва оболочки кабеля и возможного возникновения опасного открытого искрения.

Следует также отметить, что в требованиях ГОСТ 31439-2011 (EN 1710:2005) к оборудованию для применения во взрывоопасных средах подземных выработок шахт и рудников указано, что кабели должны учитываться при анализе опасностей возможных источников воспламенения.

Метод проверки обеспечения опережающего отключения при раздавливании гибкого шахтного кабеля разработан с учетом требований к конструкции кабеля, изложенных в [1] (пункт 417).

ГОСТ P 58718-2019

НАЦИОНАЛЬНЫЙ СТАНДАРТ РОССИЙСКОЙ ФЕДЕРАЦИИ

Горное дело

КАБЕЛИ ГИБКИЕ ШАХТНЫЕ

Методы проверки обеспечения опережающего
отключения при раздавливании

Mining. Mining flexible cables.
Test methods of possibility of emergency switching-off in crushing

Дата введения - 2020-07-01

1 Область применения

Настоящий стандарт устанавливает методы проверки обеспечения опережающего отключения шахтного гибкого кабеля при его раздавливании с целью предотвращения опасного искрения во взрывоопасной среде подземных выработок шахт и рудников.

Настоящий стандарт распространяется на силовые гибкие шахтные кабели напряжением до 10000 В, применяемые для присоединения передвижных машин, механизмов.

2 Нормативные ссылки

В настоящем стандарте использованы нормативные ссылки на следующие стандарты:

ГОСТ 12.2.003 Система стандартов безопасности труда (ССБТ). Оборудование производственное. Общие требования безопасности

ГОСТ 12.2.007.0 Система стандартов безопасности труда (ССБТ). Изделия электротехнические. Общие требования безопасности

ГОСТ 12182.0 Кабели, провода и шнуры. Методы проверки стойкости к механическим воздействиям. Общие требования

ГОСТ 15150 Машины, приборы и другие технические изделия. Исполнения для различных климатических районов. Категории, условия эксплуатации, хранения и транспортирования в части воздействия климатических факторов внешней среды

ГОСТ 15845-80 Изделия кабельные. Термины и определения

ГОСТ 31439 (EN 1710:2005) Оборудование и компоненты, предназначенные для применения в потенциально взрывоопасных средах подземных выработок шахт и рудников

ГОСТ 31733 (EN 693:2001) Прессы гидравлические. Требования безопасности

ГОСТ 31945 Кабели гибкие и шнуры для подземных и открытых горных работ. Общие технические условия

ГОСТ 33968-2016 Защита от сверхтоков и контроль изоляции рудничного электрооборудования

ГОСТ IEC 61010-1 Безопасность электрических контрольно-измерительных приборов и лабораторного оборудования. Часть 1. Общие требования

Примечание - При пользовании настоящим стандартом целесообразно проверить действие ссылочных стандартов в информационной системе общего пользования - на официальном сайте Федерального агентства по техническому регулированию и метрологии в сети Интернет или по ежегодному информационному указателю «Национальные стандарты», который опубликован по состоянию на 1 января текущего года, и по выпускам ежемесячного информационного указателя «Национальные стандарты» за текущий год. Если заменен ссылочный стандарт, на который дана недатированная ссылка, то рекомендуется использовать действующую версию этого стандарта с учетом всех внесенных в данную версию изменений. Если заменен ссылочный стандарт, на который дана датированная ссылка, то рекомендуется использовать версию этого стандарта с указанным выше годом утверждения (принятия). Если после утверждения настоящего стандарта в ссылочный стандарт, на который дана датированная ссылка, внесено изменение, затрагивающее положение, на которое дана ссылка, то это положение рекомендуется применять без учета данного изменения. Если ссылочный стандарт отменен без замены, то положение, в котором дана ссылка на него, рекомендуется применять в части, не затрагивающей эту ссылку.

3 Термины и определения

В настоящем стандарте применены следующие термины с соответствующими определениями:

3.1 кабель гибкий: Кабель, от которого требуется гибкость в процессе эксплуатации, а конструкция и материалы которого отвечают этому требованию.

Примечание - см. [ [3], статья 461-06-14].

3.2 кабель гибкий шахтный: Кабель, предназначенный для питания передвижных машин и механизмов в подземных горных выработках шахт и рудников.

3.3

экранированный кабель: Кабель, в котором все или часть основных жил - экранированные или имеется общий экран.

[ГОСТ 15845-80, статья 136]

3.4

кабель с отдельно экранированными жилами: Силовой многожильный кабель, каждая жила которого поверх изоляции имеет экран.

[ГОСТ 15845-80, статья 147]

3.5 гибкая броня: Размещенная между слоями оболочки кабеля концентрическая гибкая обмотка или оплетка из стальных и медных проволок (стренг).

Примечание - Применяется для усиления прочности оболочки кабеля. Дополнительно в качестве изолированногго проводника может использоваться для опережающего отключения.

3.6 устройство контроля изоляции: Устройство, предназначенное для автоматического отключения кабеля при снижении сопротивления изоляции ниже заданного значения.

3.7

сопротивление срабатывания Rср, кОм: Наибольшее значение сопротивления изоляции кабеля, вызывающее срабатывание устройства контроля изоляции.

[ГОСТ 33968-2016, пункт 3.10]

3.8 опережающее отключение: Быстродействующая защита, обеспечивающая автоматическое снятие напряжения в начале процесса повреждения кабеля до возникновения опасности появления открытого искрения.

3.9 допустимая раздавливающая нагрузка Р: Раздавливающая нагрузка, которую выдерживает кабель до срабатывания защиты опережающего отключения.

3.10 опережающее отключение до повреждения изоляции кабеля: Быстродействующая защита, обеспечивающая отключение кабеля при раздавливающей нагрузке более допустимой до повреждения изоляции основных жил и возникновения короткого замыкания [[1], пункт 417].

Опережающее отключение обеспечивается срабатыванием защиты при замыкании изолированной гибкой брони на заземленные элементы кабеля до повреждения изоляции.

3.11 опережающее отключение до открытого искрообразования: Быстродействующая защита, обеспечивающая при раздавливающей нагрузке более допустимой отключение кабеля до возникновения опасности открытого искрения.

Примечание - При опережающем отключении до открытого искрообразования конструкция кабеля обеспечивает срабатывание устройства контроля изоляции (реле утечки) при токе замыкания внутри кабеля до опасного повреждения оболочки.

4 Сущность методов проверки опережающего отключения гибкого кабеля при раздавливании

4.1 Общие положения

4.1.1 Гибкий шахтный кабель, находящийся под номинальным напряжением, должен обладать стойкостью к раздавливанию и сохранять целостность оболочки при воздействии не менее допустимой раздавливающей нагрузки.

4.1.2 При раздавливающем воздействии, превышающем допустимую нагрузку, конструкция кабеля должна обеспечить опережающее отключение, исключая тем самым возникновение источника открытого искрения во взрывоопасной среде горных выработок шахт и рудников.

В зависимости от конструкции кабеля и наличия электрических защит могут быть применены следующие методы испытаний.

4.2 Метод проверки опережающего отключения с использованием в конструкции кабеля гибкой брони

4.2.1 Для применения данного метода необходимо наличие изолированной гибкой брони в конструкции кабеля и дополнительного блока защиты, срабатывающего при замыкании гибкой брони на заземленные части кабеля.

4.2.2 Образец кабеля подвергается воздействию раздавливающей нагрузки через матрицу в виде клина. Одновременно на жилы кабеля подается напряжение, соответствующее номинальному напряжению кабеля.

В процессе раздавливания контролируется:

- замыкание гибкой брони на заземленные элементы кабеля;

- замыкание между металлическим клином и гибкой броней при повреждении наружной оболочки кабеля;

- контроль изоляции основных жил кабеля.

Кабель считается выдержавшим испытание при выполнении двух следующих условий испытаний:

1) замыкание гибкой брони на заземленные элементы кабеля и срабатывание дополнительного блока защиты произошло при раздавливающей нагрузке, превышающей допустимую;

2) замыкание гибкой брони на заземленные элементы кабеля произошло до повреждения изоляции жил кабеля.

4.3 Метод проверки опережающего отключения без открытого искрообразования

4.3.1 Данный метод позволяет оценить способность конструкции экранированного кабеля в случае раздавливания (обрушения породы, передвижка секций и пр.) обеспечить опережающее отключение кабеля до его разрыва и возникновения открытого искрения.

4.3.2 Образец кабеля подвергается воздействию раздавливающей нагрузки через матрицу в виде клина. Одновременно на жилы кабеля подается напряжение, соответствующее номинальному напряжению кабеля, и осуществляется контроль электрического сопротивления изоляции. Раздавливание происходит до повреждения изоляции и срабатывания защиты, отключающей кабель. Вместе с этим производится контроль целостности оболочки кабеля путем фиксации контакта металлического клина с заземленными элементами внутри кабеля.

4.3.3 Кабель считается выдержавшим испытание при выполнении двух следующих условий испытаний:

1) защитное отключение кабеля произошло при раздавливающей нагрузке, превышающей допустимую;

2) при увеличении раздавливающей нагрузки выше допустимой срабатывание защиты контроля изоляции жил произошло раньше повреждения оболочки кабеля.

Примечание - Метод проверки опережающего отключения без открытого искрообразования (см. 4.3) является факультативным, так как не полностью учитывает требования к конструкции гибких шахтных кабелей в [[1], пункт 417] и его рекомендуется применять после введения изменения № 1 в регламент [2].

5 Оборудование

5.1 Общие сведения

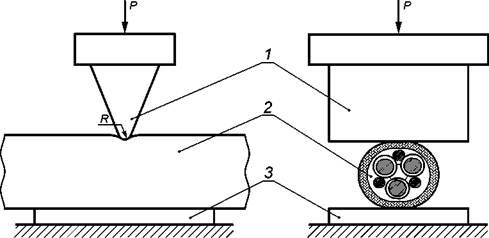
Схема стенда для проверки возможности опережающего отключения гибкого шахтного кабеля при его раздавливании приведена на рисунках 1 и 2.

ИН - источник напряжения; QF - автоматический выключатель;
УКИ - устройство контроля изоляции; БК - блок контроля; Р - раздавливающая нагрузка

Рисунок 1 - Схема стенда на раздавливание гибкого шахтного кабеля

1 - верхняя матрица в виде клина; 2 - образец кабеля; 3 - нижняя матрица (плоскость)

Рисунок 2 - Схема раздавливания кабеля

5.2 Гидравлический пресс или другое устройство должны обеспечивать раздавливающее усилие не менее 294 кН (30 тс) и скорость перемещения клина 0,5 - 1,5 м/мин с возможностью регулировки скорости перемещения верхней матрицы с шагом 0,1 м/мин.

5.3 Регистрация раздавливающего усилия должна производиться с погрешностью не более 5 %. Рекомендуется электронный тип устройства с возможностью сохранять значения и выводить в протокол.

5.4 Матрицы

5.4.1 Верхняя матрица должна быть выполнена в виде клина радиусом R и длиной не менее 140 мм (рисунок 2).

5.4.2 Нижняя матрица должна быть выполнена из металла и иметь размеры не менее 140×140×10 мм.

5.4.3 Раздавливание образца кабеля должно осуществляться верхней матрицей в виде клина. Рабочий ход верхней матрицы должен составлять не менее 400 мм.

5.5 Источник напряжения (ИН)

5.5.1 Испытание кабелей на раздавливание должно осуществляться под электрическим напряжением на основных жилах кабеля.

5.5.2 Напряжение трехфазной сети 1140, 3300 и 6000 (10000) В должно соответствовать номинальному напряжению для испытываемого кабеля.

Примечание - Допускается использование однофазного напряжения соответственно 660,1900 и 3500 В, подаваемого на соединенные вместе основные жилы кабеля.

5.5.3 Источник напряжения должен иметь автоматический выключатель с независимым расцепителем.

5.6 Устройство контроля изоляции (УКИ)

5.6.1 При испытании на раздавливание должен осуществляться контроль изоляции основных жил кабеля.

5.6.2 Уставка электрического сопротивления срабатывания Rcp устройства УКИ в соответствии с ГОСТ 33968 должна быть равна:

- для кабелей на напряжение 1140 В - 30 кОм;

- для кабелей на напряжение 3300 В - 80 кОм;

- для кабелей на напряжение 6000 (10000) В - 180 кОм.

5.6.3 При пробое изоляции основных жил кабеля или снижения электрического сопротивления ниже значений п. 5.6.2 устройство УКИ должно воздействовать на автоматический выключатель и снимать напряжение с кабеля.

5.7 Блок контроля (БК)

5.7.1 При испытаниях по методу 4.2 блок контроля БК обеспечивает фиксацию замыкания гибкой брони с заземленными элементами кабеля (экраны, жилы заземления).

Примечание - При испытаниях по методу 4.2 блок контроля БК обеспечивает также фиксацию замыкания верхней матрицы (клина) с гибкой броней.

5.7.2 При испытаниях по методу 4.3 блок контроля БК обеспечивает фиксацию замыкания верхней матрицы (клина) с заземленными частями кабеля (экраны, жилы заземления).

6 Отбор и подготовка образцов к испытаниям

6.1 Отбор образцов кабеля для испытаний должен производиться методом случайного выбора в соответствии с ГОСТ 12182.0. Длина не менее 1,0 м. Число образцов должно быть не менее трех одного маркоразмера.

6.2 Концы образцов кабеля должны быть разделаны на длине не менее 100 мм, полупроводящие экраны должны быть сняты с изоляции основных жил на длине не менее 10 мм.

6.3 Испытания образцов кабеля проводятся при нормальных климатических условиях согласно ГОСТ 15150.

7 Проведение испытаний

7.1 Для проверки обеспечения опережающего отключения гибкого шахтного кабеля при его раздавливании рекомендуется принимать следующие основные параметры испытаний:

- радиус раздавливающего клина (верхней матрицы) R = 5 мм;

- допустимая раздавливающая нагрузка Р не менее 2,0 тс.

7.2 Перед пуском пресса изоляция основных жил должна быть проверена блоком УКИ при подаче от источника питания ИП напряжения, соответствующего номинальному напряжению кабеля.

7.3 Испытание заключается в нарастании раздавливающей нагрузки на образец кабеля, находящимся под номинальным напряжением. В процессе раздавливания блок БК должен фиксировать раздавливающие усилия в моменты замыкания гибкой брони на заземленные части кабеля, срабатывания защиты по изоляции УКИ и касания верхней матрицей (клином) заземленных частей испытываемого кабеля.

7.4 Результаты проверки опережающего отключения с использованием гибкой брони считаются положительными, если при раздавливающей нагрузке более допустимой отключение от замыкания гибкой брони на заземленные части кабеля произошло раньше повреждения изоляции жил и срабатывания блока УКИ.

7.5 Результаты проверки опережающего отключения без открытого искрообразования считаются положительными, если при раздавливающей нагрузке более допустимой защитное отключение кабеля блоком УКИ произошло раньше повреждения клином оболочки кабеля.

8 Требования безопасности

8.1 К работе по выполнению испытаний допускаются лица, проинструктированные по технике безопасности и знающие методику испытаний.

8.2 Испытания кабелей на раздавливание под напряжением должны производиться в соответствии с Правилами по охране труда при эксплуатации электроустановок [4], ГОСТ 12.2.003, ГОСТ 12.2.007.0, ГОСТ 31733, ГОСТ IEC 61010-1 и [5].

8.3 Части стенда, находящиеся под напряжением, должны иметь ограждение. Верхние и нижние матрицы должны быть изолированы диэлектрическими вставками толщиной не менее 5 мм.

Библиография

[1]

Федеральные нормы и правила в области промышленной безопасности. Правила безопасности в угольных шахтах. Утверждены приказом Ростехнадзора от 19 ноября 2013 г. № 550

[2]

ТР ТС 012/2011 Технический регламент Таможенного союза «О безопасности оборудования для работы во взрывоопасных средах». Утвержден решением комиссии таможенного союза от 18 октября 2011 г. № 825

[3]

IEC 60050-461-2008 International Electrotechnical Vocabulary - Part 461 : Electric cables - Edition 2.0 (Международный электротехнический словарь. Часть 461. Электрические кабели)

[4]

ПОТ Р М-003-97 Правила по охране труда при выполнении кузнечно-прессовых работ. Утверждены постановлением Минтруда России от 09.07.1997 г. № 37, пункт 6.7

[5]

Правила по охране труда при эксплуатации электроустановок. Утверждены приказом Минтруда России от 24.07.2013 г. № 328н (с изменениями на 19 февраля 2016 г.), глава XXXIX

 

Ключевые слова: кабели гибкие шахтные, раздавливающая нагрузка, опережающее отключение