Rolling scaffold with movable working place. Specifications

ФЕДЕРАЛЬНОЕ АГЕНТСТВО
ПО ТЕХНИЧЕСКОМУ РЕГУЛИРОВАНИЮ И МЕТРОЛОГИИ

НАЦИОНАЛЬНЫЙ
СТАНДАРТ
РОССИЙСКОЙ
ФЕДЕРАЦИИ

ГОСТ Р
58754-
2019

ПОДМОСТИ ПЕРЕДВИЖНЫЕ
С ПЕРЕМЕЩАЕМЫМ РАБОЧИМ МЕСТОМ

Технические условия

Москва
Стандартинформ
2020

Предисловие

1 РАЗРАБОТАН Федеральным государственным бюджетным общеобразовательным учреждением высшего образования «Национальный исследовательский Московский государственный строительный университет» (НИУ МГСУ)

2 ВНЕСЕН Техническим комитетом по стандартизации ТК 465 «Строительство»

3 УТВЕРЖДЕН И ВВЕДЕН В ДЕЙСТВИЕ Приказом Федерального агентства по техническому регулированию и метрологии от 12 декабря 2019 г. № 1384-ст

4 ВВЕДЕН ВПЕРВЫЕ

Правила применения настоящего стандарта установлены в статье 26 Федерального закона от 29 июня 2015 г. № 162-ФЗ «О стандартизации в Российской Федерации». Информация об изменениях к настоящему стандарту публикуется в ежегодном (по состоянию на 1 января текущего года) информационном указателе «Национальные стандарты», а официальный текст изменений и поправок - в ежемесячном информационном указателе «Национальные стандарты». В случае пересмотра (замены) или отмены настоящего стандарта соответствующее уведомление будет опубликовано в ближайшем выпуске ежемесячного информационного указателя «Национальные стандарты». Соответствующая информация, уведомление и тексты размещаются также в информационной системе общего пользования - на официальном сайте Федерального агентства по техническому регулированию и метрологии в сети Интернет (www.gost.ru)

Содержание

1 Область применения. 2

2 Нормативные ссылки. 3

3 Термины и определения. 4

4 Классификация. 4

5 Технические требования. 4

5.1 Общие требования к конструкции. 4

5.2 Базовое шасси. 6

5.3 Выносные опоры.. 7

5.4 Подъемное оборудование. 8

5.5 Рабочая платформа. 11

5.6 Органы управления. 14

5.7 Электрооборудование. 16

5.8 Гидравлическая система. 17

5.9 Приводные механизмы с двигателем внутреннего сгорания. 18

5.10 Требования к устройствам безопасности. 19

6 Правила приемки. 21

6.1 Общие положения. 21

6.2 Экспертиза технической документации. 21

6.3 Контроль изготовления. 21

6.4 Испытания. 22

7 Методы испытания. 22

7.1 Функциональные испытания. 22

7.2 Испытания на устойчивость. 22

7.3 Испытания на прочность. 26

8 Маркировка. 27

8.1 Общие положения. 27

8.2 Табличка с основной информацией. 27

8.3 Табличка рабочей платформы.. 28

8.4 Требования к маркировке рабочего оборудования. 28

9 Упаковка. 29

10 Транспортирование и хранение. 29

11 Указания по эксплуатации. 29

11.1 Общие положения. 29

11.2 Эксплуатационные документы.. 29

12 Гарантии изготовителя. 31

Приложение А (обязательное) Требования к дистанционным системам управления. 31

Библиография. 33

ГОСТ Р 58754-2019

НАЦИОНАЛЬНЫЙ СТАНДАРТ РОССИЙСКОЙ ФЕДЕРАЦИИ

ПОДМОСТИ ПЕРЕДВИЖНЫЕ С ПЕРЕМЕЩАЕМЫМ РАБОЧИМ МЕСТОМ

Технические условия

Rolling scaffold with movable working place. Specifications

Дата введения - 2020-09-01

1 Область применения

Настоящий стандарт распространяется на передвижные подмости с перемещаемым по высоте рабочим местом (далее - подъемники), применяемые для организации рабочих мест на высоте при производстве строительно-монтажных, ремонтных, инспекционных и других работ в различных отраслях экономики (строительстве, жилищно-коммунальном хозяйстве и т.п.). При этом перемещение (подъем, опускание) рабочего места с работником, инструментом и материалами на заданную высоту выполнения работ осуществляется приводом.

Настоящий стандарт не распространяется:

- на стационарно установленные подъемные устройства;

- пожарные и спасательные подъемники;

- рабочие клети без направляющих, подвешиваемые к подъемным устройствам;

- строительные подъемники, в том числе мачтовые;

- подъемные приспособления, смонтированные у заднего борта кузова автомобиля;

- выставочное оборудование;

- наземное аэродромное оборудование;

- подъемные столы;

- специальные подъемники, спроектированные для работы на электрических установках под напряжением;

- подъемники для инвалидов.

2 Нормативные ссылки

В настоящем стандарте использованы нормативные ссылки на следующие стандарты:

ГОСТ 2.601 Единая система конструкторской документации. Эксплуатационные документы

ГОСТ 9.014 Единая система защиты от коррозии и старения. Временная противокоррозионная защита изделий. Общие требования

ГОСТ 12.1.003 Система стандартов безопасности труда. Шум. Общие требования безопасности

ГОСТ 12.2.003 Система стандартов безопасности труда. Оборудование производственное. Общие требования безопасности

ГОСТ 12.3.033-84 Система стандартов безопасности труда. Строительные машины. Общие требования безопасности при эксплуатации

ГОСТ 12.4.026 Система стандартов безопасности труда. Цвета сигнальные, знаки безопасности и разметка сигнальная. Назначение и правила применения. Общие технические требования и характеристики. Методы испытаний

ГОСТ 2697 Пергамин кровельный. Технические условия

ГОСТ 12302 Пакеты из полимерных пленок и комбинированных материалов. Общие технические условия

ГОСТ 14254 (IEC 60529:2013) Степени защиты, обеспечиваемые оболочками (Код IP)

ГОСТ 15150 Машины, приборы и другие технические изделия. Исполнения для различных климатических районов. Категории, условия эксплуатации, хранения и транспортирования в части воздействия климатических факторов внешней среды

ГОСТ 25646-95 Эксплуатация строительных машин. Общие требования

ГОСТ 30630.1.2 Методы испытаний на стойкость к механическим внешним воздействующим факторам машин, приборов и других технических изделий. Испытания на воздействие вибрации

ГОСТ 32681 (ISO 20381:2009) Мобильные подъемники с рабочими платформами. Символы органов управления

ГОСТ 33649 Подъемники с рабочими платформами. Классификация

ГОСТ 33650 Подъемники с рабочими платформами. Термины и определения

ГОСТ 34017 Краны грузоподъемные. Классификация режимов работы

ГОСТ EN 795 Система стандартов безопасности труда. Средства индивидуальной защиты от падения с высоты. Устройства анкерные. Общие технические требования. Методы испытаний

ГОСТ EN/TS 16415 Система стандартов безопасности труда. Средства индивидуальной защиты от падения с высоты. Анкерные устройства для использования более чем одним человеком одновременно. Общие технические требования. Методы испытаний

ГОСТ IEC 60947-5-1 Аппаратура распределения и управления низковольтная. Часть 5-1. Аппараты и коммутационные элементы цепей управления. Электромеханические устройства цепей управления

ГОСТ Р 51334 Безопасность машин. Безопасные расстояния для предохранения верхних конечностей от попадания в опасную зону

ГОСТ Р 51335 Безопасность машин. Минимальные расстояния для предотвращения защемления частей человеческого тела

ГОСТ Р 51336 Безопасность машин. Установки аварийного выключения. Функции. Принципы проектирования

ГОСТ Р 51342 Безопасность машин. Съемные защитные устройства. Общие требования по конструированию и изготовлению неподвижных и перемещаемых съемных защитных устройств

ГОСТ Р 52543 (ЕН 982:1996) Гидроприводы объемные. Требования безопасности

ГОСТ Р МЭК 60204-1-2007 Безопасность машин. Электрооборудование машин и механизмов. Часть 1. Общие требования

Примечание - При пользовании настоящим стандартом целесообразно проверить действие ссылочных стандартов в информационной системе общего пользования - на официальном сайте Федерального агентства по техническому регулированию и метрологии в сети Интернет или по ежегодному информационному указателю «Национальные стандарты», который опубликован по состоянию на 1 января текущего года, и по выпускам ежемесячного информационного указателя «Национальные стандарты» за текущий год. Если заменен ссылочный стандарт, на который дана недатированная ссылка, то рекомендуется использовать действующую версию этого стандарта с учетом всех внесенных в данную версию изменений. Если заменен ссылочный стандарт, на который дана датированная ссылка, то рекомендуется использовать версию этого стандарта с указанным выше годом утверждения (принятия). Если после утверждения настоящего стандарта в ссылочный стандарт, на который дана датированная ссылка, внесено изменение, затрагивающее положение, на которое дана ссылка, то это положение рекомендуется применять без учета данного изменения. Если ссылочный стандарт отменен без замены, то положение, в котором дана ссылка на него, рекомендуется применять в части, не затрагивающей эту ссылку.

3 Термины и определения

В настоящем стандарте применены термины по ГОСТ 33650, а также следующие термины с соответствующими определениями:

3.1 передвижные подмости с перемещаемым по высоте рабочим местом: Грузопассажирская машина, на колесном или гусеничном ходу, самоходная или прицепная, предназначенная для перемещения рабочего персонала с инструментом и материалами, размещенными на рабочей платформе, при проведении работ в пределах рабочей зоны и состоящая из базового шасси, подъемного оборудования и рабочей платформы.

Примечание - Допускается вместо термина «передвижные подмости с перемещаемым по высоте рабочим местом» применять термин-синоним «подъемник».

3.2 свободно стоящий подъемник: Подъемник, не предназначенный для фиксации какой-либо своей части с помощью жестких или гибких связей за вспомогательные элементы, строения или конструкции.

4 Классификация

В настоящем стандарте использована классификация по ГОСТ 33649.

5 Технические требования

5.1 Общие требования к конструкции

5.1.1 Подъемники следует изготовлять в соответствии с требованиями настоящего стандарта, а также ГОСТ 12.2.003 и федеральных норм и правил в области промышленной безопасности [1].

5.1.2 Подъемники, кроме предназначенных для эксплуатации в отапливаемых помещениях, следует изготовлять в климатическом исполнении У для категории размещения 1 по ГОСТ 15150 для работы при температуре окружающего воздуха от плюс 40 °С до минус 40 °С и скорости ветра не более 10 м/с на высоте до 10 м. Передвижные подъемники, предназначенные для работы при температуре окружающего воздуха ниже минус 40 °С, следует изготовлять в климатическом исполнении УХЛ (ХЛ) по ГОСТ 15150.

Свободно стоящие подъемники, используемые в районах с сейсмичностью более 6 баллов в соответствии с [1], должны быть выполнены в сейсмостойком исполнении с указанием в паспорте допустимого района установки.

5.1.3 При транспортировании подъемников по автомобильным дорогам габаритные размеры и другие характеристики в транспортном положении должны соответствовать требованиям правил дорожного движения, а при транспортировании подъемников железнодорожным транспортом - вписываться в габариты железных дорог, в том числе при поставках за рубеж.

5.1.4 Подъемник должен быть оборудован стационарным пультом управления, установленным на рабочей платформе, предназначенным для выключения рабочей платформы и защиты ее от несанкционированного использования в нерабочем состоянии.

Устройства с аналогичным функциональным назначением должны быть постоянно установлены на шасси самоходного подъемника. Они должны обеспечивать блокировку любых перемещений подъемника.

Такие устройства необходимо запирать навесным замком или подобным приспособлением.

5.1.5 Во избежание столкновения людей с подвижными частями шасси и рабочей платформой необходимо выдержать безопасные расстояния или установить защитные ограждения в соответствии с требованиями ГОСТ Р 51335 и ГОСТ Р 51342.

Если невозможно обеспечить безопасные расстояния или установить защитные ограждения, необходимо установить на рабочей платформе устройство звуковой сигнализации, которое должно выдавать непрерывный звуковой сигнал при сближении рабочей платформы с шасси не менее чем на 2,5 м.

Точки столкновения или защемления определяются только в пределах зоны досягаемости людей, находящихся на рабочей платформе или на земле поблизости от подъемника, либо в других местах, доступных для людей.

5.1.6 Конструкция шплинтов и других фиксаторов должна обеспечивать их надежное механическое крепление во избежание самопроизвольного отсоединения и выпадения. С этой целью используется шплинт при установке стопорной гайки. Кроме того, в нерабочем состоянии шплинт необходимо дополнительно зафиксировать во избежание самопроизвольного выпадения, например с помощью замковой цепи.

Если в качестве фиксаторов используют нажимные пружины, их концы должны быть надежно закреплены таким образом, чтобы обеспечить направленное движение пружины. Конструкция нажимной пружины не должна допускать сцепления ее частей при разрыве.

5.1.7 Все части и узлы, используемые в процессе монтажа, например секции мачты, элементы рабочей платформы, монтажное грузоподъемное оборудование и т.д., необходимо оценить на предмет возможности перемещения вручную. При превышении допустимой массы для перемещения вручную изготовитель должен включить в руководство рекомендации относительно соответствующего грузоподъемного оборудования.

Если монтаж компонентов выполняют с применением грузоподъемного оборудования, необходимо обеспечить надежное соединение грузоподъемного оборудования с поднимаемым грузом. Это требование, в том числе, подразумевает возможность надежного крепления и безопасного подъема составных частей подъемника на предусмотренную для монтажа высоту.

Специальное грузоподъемное оборудование должно быть разработано в соответствии с требованиями ГОСТ 34017 и не должно создавать нагрузки на конструкцию подъемника, не предусмотренные изготовителем.

5.1.8 Коэффициент запаса прочности элементов конструкции и приводных элементов должен составлять не менее 2,5, если не указано иное значение.

5.1.9 Подъемник по уровню внешнего шума должен удовлетворять требованиям ГОСТ 12.1.003.

5.1.10 Несущее основание и опорная рама должны быть оборудованы приспособлениями для безопасного и надежного крепления других частей конструкции, например поворотной платформы и выносных опор.

Если имеются проходы на несущем основании или опорной раме, то они должны иметь нескользкое покрытие.

Каждый подъемник должен иметь устройство для индикации наклона опорной рамы для определения и выравнивания наклона в разрешенных пределах. Устройство определения должно быть автоматическим, оно должно быть защищено от повреждения и случайного изменения его установки. Регулировка устройства должна осуществляться только с использованием инструмента, и должна быть обеспечена возможность ограничения доступа путем опломбирования. Данное устройство должно предотвращать подъем из опущенного положения или между разными положениями, когда наклон рамы выходит за пределы угла, заданного производителем для определенного положения.

Применение отвесных (стрелочных) указателей наклона категорически запрещается.

5.1.11 При транспортировании подъемника рабочее оборудование должно быть закреплено для снижения воздействий от вибрации.

5.2 Базовое шасси

5.2.1 Если в приводных механизмах применяются цепи или ремни, необходимо предусмотреть автоматические средства блокирования непредвиденных перемещений шасси при повреждении приводной цепи или ремня.

Если применяются системы, оборудованные и машинным, и ручным приводом, необходимо предусмотреть устройства блокирования одновременной работы двух приводных механизмов.

При сбое энергоснабжения не должно происходить самопроизвольного движения частей.

5.2.2 Шасси должно быть оборудовано приспособлениями для безопасного и надежного крепления других частей конструкции, например несущего основания.

Необходимо также предусмотреть системы обеспечения или системы индикации правильного положения подъемника при расположении на неровной поверхности.

Если для перемещения или транспортирования рабочая платформа должна быть зафиксирована на шасси в определенном положении, необходимо предусмотреть соответствующие замковые устройства и приспособления.

5.2.3 Для колесного шасси должны быть предусмотрены средства предотвращения потери устойчивости подъемника в случае спуска любой шины шасси, например установка шин, заполненных пеной, или включение инструкций в руководство по эксплуатации относительно использования выносных опор в соответствующих ситуациях.

Параметры разгона и замедления должны соответствовать критериям устойчивости, указанным изготовителем.

Для подъемника мачтового типа необходимо предусмотреть возможность отсоединения трансмиссии от колес шасси перед буксированием.

Для рельсового шасси необходимо предусмотреть средства безопасной остановки в пределах хода перемещения установки.

Шасси со съемными осями должно быть оборудовано всеми необходимыми устройствами и приспособлениями, обеспечивающими безопасное и надежное крепление осей в процессе эксплуатации.

5.2.4 Для подъемников, монтируемых на транспортных средствах, тип и технические данные базового шасси должны соответствовать техническим требованиям предприятия - изготовителя подъемников. Условия установки оборудования подъемников должны соответствовать требованиям предприятия - изготовителя базового шасси.

Ходовые колеса передвижных подъемников, предназначенные для транспортирования по автомобильным дорогам, должны иметь стандартные пневмошины.

Подъемники, монтируемые на рельсовом ходу, должны быть оборудованы устройствами, воздействующими на рельсы для предотвращения схода с них, и устройствами для удаления препятствий, находящихся на рельсах.

5.2.5 Если для перемещения прицепного подъемника применяется жесткая буксирная тяга, то такая тяга должна быть соединена с рулевым механизмом. Неиспользуемая жесткая буксирная тяга устанавливается в поднятом положении, необходимо предусмотреть специальное блокирующее устройство для удерживания буксирной тяги и рулевого механизма в заданном положении. При этом необходимо исключить возможность непреднамеренного разблокирования тяги.

Конструкция жесткой буксирной тяги и рулевого механизма должна исключать возможность возникновения рисков для пользователя.

5.2.6 Передвижные подъемники должны быть оборудованы тормозными механизмами минимально на двух колесах одной и той же оси, которые останавливают и удерживают в неподвижном положении на любой поверхности с учетом наиболее неблагоприятного сочетания скорости движения и предельного уклона, указанного изготовителем, и включаются в работу автоматически при отключении подачи энергии или выходе из строя.

Если инструкция предприятия - изготовителя прицепных подъемников допускает движение рабочей платформы без использования выносных опор, то шасси должно останавливаться с помощью тормозных механизмов, установленных минимально на двух колесах одной и той же оси, и надежно удерживаться в неподвижном положении на любой поверхности с учетом наиболее неблагоприятного сочетания скорости движения и предельного уклона, указанного предприятием-изготовителем. Конструкция тормозного механизма не должна допускать непреднамеренного разблокирования колес. Тормозной механизм должен автоматически срабатывать в любых условиях.

Подъемники, монтируемые на транспортных средствах, должны быть оборудованы стояночным тормозом и отвечать требованиям правил дорожного движения.

Подъемники, установленные на железнодорожном подвижном составе, должны быть оборудованы тормозами на механизме передвижения и отвечать требованиям правил, установленных для железнодорожного транспорта.

При торможении и удержании работа тормозных устройств не должна зависеть только от гидравлических, пневматических или электрических энергоисточников.

5.3 Выносные опоры

5.3.1 Выносные опоры должны выдерживать все нагрузки, предусмотренные предприятием-изготовителем. Также необходимо учитывать максимально допустимый угол наклона и условия работы на максимальном уклоне, предусмотренном предприятием-изготовителем.

Выносные опоры, балки выносных опор и другие части опорной рамы или шасси, выступающие за пределы контура рабочей платформы, должны быть окрашены в предупреждающие цвета по ГОСТ 12.4.026.

5.3.2 Конструкция подошв выносных опор должна обеспечивать возможность наклона подошвы в любом направлении на угол, равный предельному уклону рабочей поверхности, указанному предприятием-изготовителем, плюсне менее 10°.

5.3.3 На выносных опорах необходимо нанести маркировку для пользователя со ссылкой на руководство по эксплуатации, в котором приведена информация относительно значений давления подошв выносных опор на грунт.

5.3.4 Значения хода балок выносных опор должно быть ограничено механическими остановами. Необходимо предусмотреть возможность фиксации балок выносных опор, как минимум, в крайних положениях.

Выносные опоры должны быть разработаны и изготовлены таким образом, чтобы их самопроизвольное перемещение было исключено.

5.3.5 Усилие выдвижения опор или их частей вручную не должно превышать 200 Н. При большем усилии опоры должны иметь гидравлический или иной привод.

5.3.6 Все гидравлические выносные опоры должны быть разработаны и изготовлены таким образом, чтобы их самопроизвольное перемещение было исключено даже в случае разрыва трубки или шланга магистрали.

5.3.7 Выносные опоры с механическим приводом должны быть оборудованы устройством, не допускающим перемещения выносных опор с помощью привода, до тех пор, пока рабочая платформа не будет установлена в заданное положение.

5.3.8 Не допускается применение пневматических выносных опор, удерживаемых в заданном положении под нагрузкой постоянным давлением сжатого воздуха.

Центральные опоры, устанавливаемые непосредственно под мачтами, также должны соответствовать всем требованиям, перечисленным в настоящем подразделе.

5.4 Подъемное оборудование

5.4.1 Для безопасного выполнения работ подъемники должны быть оборудованы устройствами безопасности, соответствующими 5.10.

5.4.2 Система, чувствительная к нагрузке, является устройством безопасности, предотвращающим перегрузку рабочей платформы и отключающим механизмы вылета и высоты подъема.

Система должна выполнять следующие действия:

а) Срабатывание после достижения номинальной нагрузки и до превышения 110 % номинальной нагрузки.

б) При превышении номинальной нагрузки включить звуковой и световой сигналы. Звуковой сигнал должен быть отчетливо слышен на каждом месте расположения органов управления и на рабочей платформе. Световой сигнал должен мигать все время, пока перегрузка не будет устранена, а звуковой сигнал - повторяться через 1 мин и звучать в течение 5 с.

в) Если система считывания нагрузки сработала во время перемещения рабочей платформы, то должна сохраняться возможность спуска рабочей платформы для эвакуации людей.

г) Если система считывания нагрузки зафиксировала превышение 110 % номинальной нагрузки, то механизмы вылета и высоты подъема рабочей платформы должны быть отключены, и должна сохраняться только возможность спуска рабочей платформы.

д) Возобновление движения рабочей платформы вверх возможно только после снижения нагрузки до номинальной.

5.4.3 Система, чувствительная к положению подъемного оборудования, является устройством безопасности, предотвращающим опрокидывание подъемника или превышение допускаемых напряжений в металлоконструкции подъемника.

Допустимые положения подъемного оборудования должны быть ограничены механическими ограничивающими устройствами, немеханическими ограничивающими устройствами или электрическими устройствами безопасности.

5.4.4 Система, чувствительная к опрокидывающему моменту, должна предотвращать опрокидывание подъемника.

При достижении критического значения опрокидывающего момента должны подаваться предупреждающие звуковой и световой сигналы и не должны допускаться дальнейшие движения, кроме движений, уменьшающих опрокидывающий момент.

5.4.5 При необходимости определенной последовательности выдвижения или втягивания элементов подъемного оборудования для избегания перегрузки эта последовательность должна осуществляться автоматически.

5.4.6 Защемление между подвижными частями подъемника, находящимися в пределах досягаемости людей на рабочей платформе или стоящих рядом с подъемником на уровне земли, должно быть исключено путем обеспечения безопасных расстояний по ГОСТ Р 51335 или с помощью ограждений, предотвращающих попадание в места возможного защемления в соответствии с ГОСТ Р 51334.

5.4.7 Если ускорение или замедление подъемного оборудования меньше или равны 0,25g, где g - ускорение свободного падения (g = 9,8 м/с2), то скорость движения, м/с, не должна превышать следующих значений:

а) 0,8 - для подъема и опускания рабочей платформы;

б) 0,8 - для выдвижения/втягивания телескопической стрелы;

в) 1,4 - для поворота или вращения (горизонтальная скорость внешнего края рабочей платформы, измеренная на максимальном размахе).

Если ускорение или замедление подъемного оборудования больше 0,25g, то скорость движения, м/с, не должна превышать следующих значений:

г) 0,4 - для подъема и опускания рабочей платформы;

д) 0,4 - для выдвижения/втягивания телескопической стрелы;

е) 0,7 - для поворота или вращения (горизонтальная скорость на внешней кромке рабочей платформы, измеренная на максимальном вылете).

5.4.8 Системы привода подъемного оборудования подъемника должны быть спроектированы и изготовлены таким образом, чтобы предотвращать любые самопроизвольные движения подъемного оборудования. Допускается применять следующие системы привода:

- стальным канатом;

- цепью;

- ходовым винтом;

- зубчатой рейкой.

5.4.9 Во всех системах привода должна быть предусмотрена ее защита от перегрузки избыточной энергией, если источник энергии может вырабатывать мощность более, чем требуется для привода подъемного оборудования и/или системы привода рабочей платформы (например, в виде устройства, ограничивающего давление). Применение соединений фрикционного типа не обеспечивает выполнение этого требования.

Если для одного и того же движения предусмотрены системы привода как вручную, так и с подводом энергии (например, в системе ручного аварийного управления), и если существует риск получения повреждений при включении обеих систем одновременно, это должно быть предотвращено с помощью устройств безопасности.

5.4.10 В составе всех приводов должна быть предусмотрена тормозная система. Для движений подъема эта система должна представлять собой автоматический замок или самоблокирующееся устройство. Тормозная система должна автоматически включаться при прекращении подачи энергии к приводу. Тормозная система должна обеспечивать возможность того, чтобы рабочая платформа, нагрузка в которой составляет 110 % номинальной нагрузки, могла быть остановлена и удержана в любом положении при всех видах работ. Тормозная система должна быть защищена от самопроизвольного размыкания. Коэффициент запаса всех тормозных систем должен быть не менее 2,0.

5.4.11 Приводные цепи и стальной канат допускается использовать в системах привода только в том случае, когда при выходе из строя цепи или каната автоматически предотвращаются самопроизвольные движения подъемного оборудования. Это может быть достигнуто при применении самоблокирующейся коробки передач или контролем над состоянием цепи (каната) с помощью устройства безопасности в соответствии с 5.13, при этом должна сохраняться возможность спуска людей. Коэффициент запаса для одной ветви приводной цепи или каната не менее 9, для двух - не менее 4,5. Не допускается применение круглозвенных цепей.

5.4.12 Каждый ходовой винт должен иметь гайку, воспринимающую нагрузку, и ненагруженную предохранительную гайку. Предохранительная гайка должна нести нагрузку только в том случае, если гайка, воспринимающая нагрузку, вышла из строя. Не допускается подъем рабочей платформы при нагружении предохранительной гайки. Должна быть предусмотрена возможность контроля износа гаек, воспринимающих нагрузку, и проведения их замены без демонтажа привода.

5.4.13 Зубчато-реечные приводы должны иметь устройство безопасности, включение которого в работу должно проводиться регулятором скорости. Это устройство безопасности должно плавно затормозить рабочую платформу с номинальной нагрузкой и удерживать ее в случае выхода из строя подъемного механизма. Среднее замедление не должно превышать 1,0g. Стыки между смежными секциями рейки должны быть точно совмещены во избежание нарушения зацепления, повреждения зубьев или других частей. В дополнение к обычным направляющим роликам рабочей платформы должны быть предусмотрены принудительные и постоянно действующие устройства для предотвращения выхода из зацепления с зубчатой рейкой шестерни любого приводного устройства или устройства безопасности. Эти устройства должны обеспечивать ограничение осевого перемещения шестерни таким образом, чтобы, как минимум, 2/3 ширины зуба всегда находились в зацеплении с рейкой, и ограничивать радиальное перемещение шестерни из ее нормального положения зацепления в пределах не более 1/3 глубины зуба.

Элементы конструкции мачты для подъемников мачтового типа, взаимодействующие с элементами механизма подъема рабочей платформы с использованием приводного механизма (например, зубчатая рейка, направляющие), должны быть доступны для полного визуального осмотра без демонтажа.

5.4.14 Конструкция мачты должна обеспечивать эффективную передачу нагрузки между смежными секциями мачты без нарушения совмещения секций.

Конструкцию составной мачты необходимо выполнять максимально возможно из взаимозаменяемых секций.

Вертикальные элементы конструкции секций мачты, используемые в качестве линейных направляющих для направляющих роликов рамы привода, должны образовывать непрерывную линию соединения смежных секций.

Для свободно стоящих подъемников мачтового типа необходимо ограничить высоту подъема секций мачты в инструкции предприятия-изготовителя.

Для подъема мачты выше максимально допустимой высоты для свободно стоящего подъемника, указанной предприятием-изготовителем, необходимо предусмотреть крепление к отдельной опорной конструкции настенными опорами мачты, устанавливаемыми между мачтой и опорной конструкцией.

Для настенных опор мачты необходимо предусмотреть диапазон регулировки зазора между мачтой и опорной конструкцией для компенсации монтажных допусков. Настенные опоры должны обеспечивать достаточную жесткость мачты при кручении.

5.5 Рабочая платформа

5.5.1 Рабочая платформа должна быть сделана из негорючих материалов, т.е. материалов, которые не поддерживают пламя после удаления источника открытого огня.

5.5.2 Пол рабочей платформы должен иметь нескользкое покрытие. Материал пола должен прочно крепиться к рабочей платформе.

5.5.3 Ширина пола основной рабочей платформы должна быть не менее 0,6 м, а диаметр круглого пола - не менее 0,8 м. Минимальная полезная площадь основной рабочей платформы на одного человека должна составлять 0,5 м2.

5.5.4 Не допускаются в полу рабочей платформы любые выпирающие элементы выше уровня основного пола. Исключение составляют только расширители, установленные выше уровня основной рабочей платформы.

Любое отверстие или зазор в полу или между полом и нижней непрерывной обшивкой ограждения или дверями для доступа должно иметь размеры, не позволяющие пройти через них сфере или стержню диаметром 15 мм.

5.5.5 Конструкция пола рабочей платформы и любой люк должны выдерживать без остаточных деформаций статическую нагрузку не менее 2 кН в наиболее неблагоприятной зоне воздействия размерами 0,1×0,1 м (рисунок 1).

Рисунок 1 - Пример статического нагружения в наиболее неблагоприятной зоне воздействия
двух разных конструкций люков

5.5.6 Уровень пола рабочей платформы должен оставаться в горизонтальном положении с максимально допустимым отклонением ± 2° во время нормального перемещения платформы и под воздействием номинальной нагрузки и других сил, возникающих в процессе эксплуатации в нормальном режиме. Во время срабатывания устройств безопасности в случае возникновения отказа и устройств аварийного спуска максимально допустимое отклонение в горизонтальной плоскости не должно превышать ± 5°. Ручная регулировка угла наклона платформы допускается во всех положениях рабочей платформы.

5.5.7 Материал пола расширителя рабочей платформы должен быть аналогичным материалу пола основной рабочей платформы.

5.5.8 Конструкция крепления любых расширителей должна исключать любое непреднамеренное их перемещение.

Конструкция раздвижного расширителя должна иметь несъемные ограничители, исключающие его выдвижение больше допустимого предприятием-изготовителем. Допустимое значение выдвижения дополнительно должно быть прописано в инструкции предприятия-изготовителя.

Расширители, которые необходимо монтировать отдельно, должны соединяться с основной рабочей платформой посредством не менее четырех запорных элементов. Запорные элементы должны быть такой конструкции, чтобы для снятия каждого необходимо было провести минимум два осознанных последовательных движения. Допустимые положения для монтажа такого расширителя должны быть понятно и ясно обозначены на основной рабочей платформе в местах установки и прописаны в инструкции предприятия-изготовителя.

Любое отверстие в полу расширителя или зазор между полом расширителя и конструкцией основной рабочей платформы должно удовлетворять требование к отверстиям или зазорам 5.5.4.

5.5.9 Не допускается установка расширителей на расстоянии более 0,5 м выше или ниже уровня основной рабочей платформы.

5.5.10 Конструкция пола расширителя рабочей платформы должна позволять выдерживать без остаточных деформаций статическую нагрузку не менее 2 кН в наиболее неблагоприятной зоне воздействия размерами 100×100 мм (см. рисунок 1).

5.5.11 Уровень пола расширителя рабочей платформы должен оставаться в горизонтальном положении с максимально допустимым отклонением ± 5° во время нормального перемещения платформы и под воздействием номинальной нагрузки и других сил, возникающих в процессе эксплуатации в нормальном режиме.

5.5.12 Высота от поверхности земли или с посадочной площадки до входа в рабочую платформу и на поворотную платформу подъемника должна быть не более 0,4 м.

Когда высота от уровня поверхности, с которой осуществляется доступ, до уровня пола рабочей платформы превышает 0,4 м, подъемник должен быть оборудован лестницей для доступа. В качестве лестницы допускается применять ступени или перекладины.

Нижняя ступень или перекладина должна находиться не более чем на 0,4 м выше уровня поверхности, с которой осуществляется доступ, а каждая последующая - на расстоянии не более 0,3 м и должны быть расположены равномерно на всем промежутке между нижней ступенью или перекладиной и полом рабочей платформы. Ширина каждой ступени или перекладины должны быть не менее 0,3 м, а глубина - не менее 25 мм. Ступени или перекладины должны быть нескользкими. Передняя плоскость ступеней или перекладин должна располагаться по горизонтали на расстоянии не менее 0,15 м от опорной конструкции или любого другого элемента подъемника.

Лестница для доступа должна располагаться ровно под проемом для входа на рабочую платформу.

5.5.13 Каждая рабочая платформа должна иметь защитные ограждения для предотвращения падения рабочего персонала, материалов, инструмента и оборудования.

Защитное ограждение должно быть надежно закреплено на рабочей платформе и состоять из следующих частей:

- поручни высотой не менее 1,1 м;

- нижняя непрерывная обшивка высотой не менее 0,15 м;

- промежуточные элементы ограждения на расстоянии не более 0,5 м как от поручней, так и от непрерывной обшивки.

5.5.14 В местах для доступа в рабочую платформу высота непрерывной обшивки может быть уменьшена до 0,1 м.

5.5.15 Верхняя поверхность перил должна быть удобной для обхвата рукой и не иметь острых граней или заусенцев.

Использование цепей или канатов вместо жестких поручней не допускается.

5.5.16 Если через рабочую платформу проходит подъемное оборудование, например мачта, и в процессе подъема их взаимные скорости не равны, то на платформе вокруг подъемного оборудования должно быть надежно закрепленное защитное ограждение высотой 2,0 м, установленное на безопасном расстоянии по ГОСТ Р 51334.

5.5.17 Каждый поручень, включая промежуточный элемент, должен выдерживать сосредоточенную нагрузку не менее 500 Н, приложенную в горизонтальном направлении в наиболее неблагоприятном месте (рисунок 2), если рабочая платформа предназначена для нахождения на ней одного работника. Если рабочая платформа предназначена для нахождения на ней более одного работника, то поручни и промежуточные элементы должны выдерживать сосредоточенную нагрузку, кратную 500 Н от каждого из допустимого количества работников на рабочей платформе, приложенную в горизонтальном направлении в наиболее неблагоприятном месте.

п - количество людей, допустимых для одновременного нахождения на рабочей платформе

Рисунок 2 - Пример статического нагружения поручней в наиболее неблагоприятном месте

Каждый поручень, включая промежуточный элемент, также должен выдерживать сосредоточенную нагрузку не менее 1000 Н, приложенную вертикально в наиболее неблагоприятном месте (см. рисунок 2), если рабочая платформа предназначена для нахождения на ней одного человека. Если рабочая платформа предназначена для нахождения на ней более одного человека, то поручни и промежуточные элементы должны выдерживать сосредоточенную нагрузку, кратную 1000 Н, от каждого из допустимого количества людей на рабочей платформе, приложенную вертикально в наиболее неблагоприятном месте.

5.5.18 Проем для входа в рабочую платформу должен быть защищен съемным ограждением или запирающейся дверью. Ширина входа в рабочую платформу должна быть не менее 0,5 м.

Съемные ограждения или запирающиеся двери должны соответствовать 5.5.13 и не должны открываться или складываться наружу. Они должны быть оснащены стопорными штифтами, требующими минимум два осознанных движения для разъединения.

5.5.19 Устройства безопасности должны блокировать работу подъемника, пока вход в рабочую платформу не будет закрыт и зафиксирован.

5.5.20 Рабочие платформы специального назначения с площадью пола 0,5 м2 или менее, рассчитанные на одного работника, могут быть оснащены дверью, открывающейся наружу, при условии, что они имеют самозакрывающийся верхний поручень в соответствии с 5.5.13, оснащенный стопорным штифтом.

Все стопорные штифты должны быть защищены от потери.

Если расширитель рабочей платформы установлен не на одном уровне с основной платформой, то в открытом проеме между двумя уровнями конструкция ограждения должна иметь дополнительную дверь высотой не менее 0,7 м с вертикальными петлями, автоматически возвращающимися в закрытое положение. Дополнительные двери должны открываться или складываться внутрь основной платформы и не требуют запирания или блокировки устройствами безопасности.

Использование цепей или канатов в качестве дверей в проемах для входа не допускается.

5.5.21 Люки в рабочей платформе должны соответствовать 5.5.5 и быть надежно заперты по отношению к рабочей платформе так, чтобы исключить их самопроизвольное открывание. Не допускается открывание люков вниз или в сторону.

5.5.22 Стреловые подъемники должны быть оборудованы местами для монтажа анкерных устройств по ГОСТ EN 795 или по ГОСТ EN/TS 16415. Тип анкерного устройства, предназначенного для монтажа, должен быть обозначен возле места крепления (см. 8.4.6), а место крепления окрашено яркой краской, отличной от основного цвета рабочей платформы (см. 8.4.7). Также тип анкерного устройства и место монтажа должны быть указаны в инструкции предприятия-изготовителя.

5.6 Органы управления

5.6.1 Подъемники должны быть оборудованы таким управлением, чтобы все движения подъемника могли осуществляться только при воздействии на органы управления.

5.6.2 Органы управления при прекращении воздействия на них должны автоматически возвращаться в нейтральное или выключенное положение. Для органов управления передвижением, расположенных в кабинах подъемника, установленных на транспортных средствах, данное требование не является обязательным.

Все органы управления должны быть спроектированы с условием предотвращения самопроизвольного срабатывания (включая дублирующие системы).

Ножные органы управления должны иметь нескользкие поверхности и легко очищаться.

Органы управления должны быть расположены таким образом, чтобы машинист не подвергался опасности со стороны подвижных частей подъемника и имел хороший обзор.

5.6.3 Подъемники с высотой подъема рабочей платформы более 12 м должны быть оборудованы двумя пультами управления: один на рабочей платформе, другой внизу, в удобном для управления и обзора месте, или иметь дистанционное управление (выносной пульт). Для подъемников с двумя пультами управления должна быть предусмотрена блокировка, исключающая возможность одновременного управления с двух пультов.

5.6.4 Направление всех перемещений подъемника должно быть точно указано на органах управления или около них с помощью слов или символов в соответствии с требованиями ГОСТ 32681 и ГОСТ 12.4.026.

5.6.5 Для подъемников с высотой подъема более 12 м органы управления должны быть расположены на рабочей платформе и иметь приоритет над дублирующими органами управления подъемным оборудованием на уровне основания или земли.

Устройства управления должны быть легкодоступными.

Для тех пультов управления, которые не закреплены постоянно, нормальное положение и ориентация должны быть четко обозначены.

Если перемещением можно управлять из дополнительных постов управления, то должен быть предусмотрен блокирующий механизм, допускающий перемещение только из одного предварительно выбранного поста управления. Средства управления на уровне основания или земли должны преобладать над всеми дополнительными средствами управления, включая управление аварийным остановом рабочей платформы.

Если используются беспроводные системы управления, то они должны соответствовать требованиям приложения А. Работа рабочего оборудования и функции привода подъема должны быть возможными только в случае, если устройства беспроводного управления размещаются на рабочей платформе в позиции, специально предназначенной предприятием-изготовителем.

На подъемниках с непроводящими (изолирующими) компонентами средства управления на уровне земли должны быть расположены таким образом, чтобы оператор не находился на электрическом тракте между воздушным устройством и заземлением.

Все устройства управления должны быть защищены от несанкционированного включения, кроме включения, осуществляемого оператором.

5.6.6 Подъемники должны быть оборудованы органами управления для аварийного останова в соответствии с ГОСТ Р 51336 на каждой позиции управления.

Органы управления аварийного останова не требуются на подъемниках с полнопоточными управляющими клапанами, рукоятки управления которыми соединены механически с золотниками управляющих клапанов (дополнительное ручное управление автоматически управляемой системой).

5.6.7 Электрические выключатели, отвечающие за безопасное функционирование, должны соответствовать 5.10.3.

5.6.8 Клапан управления, в т.ч. клапан с электромагнитным управлением, должен быть спроектирован и установлен таким образом, чтобы он останавливал соответствующее движение в случае отключения энергии.

5.6.9 При включении или возобновлении подачи энергии после ее отключения не должно происходить никаких движений до тех пор, пока машинист не включит рабочее движение.

5.6.10 Подъемники должны быть оборудованы дополнительной аварийной системой (например, ручным насосом, вспомогательным силовым агрегатом, гравитационными клапанами для опускания) в легкодоступном месте, для того чтобы в случае выхода основного источника энергии из строя рабочая платформа сохраняла возможность возвращения в положение, из которого возможна безопасная эвакуация людей.

Средства управления аварийной системы должны быть легкодоступными с земли в соответствии с 5.6.3.

5.6.11 В конструкции подъемника должно быть предусмотрено устройство ограничения скорости, чтобы даже в аварийной ситуации скорость перемещения рабочей платформы не превышала скорости, установленной в эксплуатационной документации, более чем в 1,4 раза.

5.6.12 Автоматическое или программируемое управление с помощью джойстика, рычага или переключателя допускается, если используются соответствующие меры безопасности.

5.6.13 Автомобильный подъемник, оснащенный лебедкой, должен иметь верхние и нижние органы управления лебедкой. Нижние органы управления должны быть расположены в непосредственной близости от нижнего поста управления.

На автомобильном подъемнике с непроводящими (изолирующими) компонентами нижние органы управления лебедкой должны быть расположены таким образом, чтобы оператор не находился на токопроводящих частях подъемника между рабочей платформой и заземлением.

5.7 Электрооборудование

5.7.1 Электрическое оборудование подъемника должно соответствовать требованиям настоящего стандарта и ГОСТ Р МЭК 60204-1.

Если подъемник предназначен для эксплуатации вне диапазонов действия ГОСТ Р МЭК 60204-1, то необходимо обосновать и изложить все отклонения от стандарта и эксплуатационные ограничения в инструкции изготовителя.

Напряжение питания подъемника должно быть не более 400 В переменного тока и 220 В постоянного тока.

Подъемник может получать питание от стационарных или передвижных источников электроэнергии с глухозаземленной или изолированной нейтралью с соблюдением соответствующих требований по электромагнитной совместимости.

5.7.2 Главный выключатель должен быть установлен в легкодоступном месте с возможностью его запирания в выключенном положении для предотвращения несанкционированного включения.

5.7.3 Кабели и провода должны быть многожильными для обеспечения гибкости и, при необходимости, маслостойкими.

Сечение жил проводов и кабелей цепей управления должно быть не менее 1,5 мм.

Для цепей управления напряжение должно быть не выше 42 В. В них разрешается применение проводов и кабелей с медными многопроволочными жилами сечением не менее 0,5 мм, если присоединение жил выполнено пайкой и провода не несут механическую нагрузку.

Эти требования не распространяются на кабели и провода, применяемые в приборах и устройствах безопасности.

В местах, где изоляция и оболочка проводов и кабелей могут подвергаться воздействию масла, следует применять маслостойкие провода и кабели. Допускается применение немаслостойких проводов и кабелей при условии их прокладки в трубах с герметичными вводами их в аппараты.

В местах возможных механических повреждений проводки необходимо предусмотреть ее защиту.

Все провода и кабели должны иметь маркировку.

5.7.4 Аккумуляторные батареи должны быть защищены от короткого замыкания и механического воздействия.

Если аккумуляторные батареи являются основным источником энергии подъемника, то отсоединение батареи, т.е. прекращение подачи электрической энергии (например, при зарядке) должно осуществляться без использования инструмента.

5.7.5 Корпуса приборов должны иметь соответствующую степень защиты от влаги в соответствии с ГОСТ 14254.

Изготовитель должен учитывать любые прогнозируемые условия использования (например, пар вместо воды) и обеспечить более высокую степень защиты.

5.7.6 На подъемниках, имеющих напряжение свыше 42 В переменного тока и 110 В постоянного тока, для защиты рабочего персонала от поражения электрическим током при повреждении изоляции необходимо выполнить заземление или зануление электрооборудования.

Корпус выносного пульта должен быть выполнен из изоляционного материала или заземлен (занулен) не менее чем двумя проводниками.

Защитное заземление электроприемников допускается не выполнять, если электроприемники имеют надежный контакт с заземленной или зануленной металлоконструкцией подъемника.

5.8 Гидравлическая система

5.8.1 Гидравлическая система должна соответствовать требованиям настоящего стандарта и ГОСТ Р 52543.

5.8.2 Все устройства системы должны выдерживать механические воздействия в виде вибраций, линейных ускорений и ударов, которые могут возникать при работе подъемников.

5.8.3 Гидравлическая система и комплектующее ее гидравлическое оборудование (гидрораспределители, предохранительные клапаны, гидроаккумуляторы, гидравлические цилиндры, гидравлические моторы и насосы), а также рабочая жидкость, трубы и рукава должны иметь документы, подтверждающие их технические характеристики и качество.

Конструкция гидравлической системы должна быть спроектирована таким образом, чтобы исключать возможность повреждения гидравлического оборудования, трубопроводов, рукавов высокого давления и элементов их соединения.

5.8.4 Каждый гидравлический контур гидравлической системы должен включать в себя устройство ограничения давления (например, предохранительный клапан) перед первым управляющим распределителем.

Рабочая жидкость через предохранительный клапан должна сливаться в гидробак.

Не допускается установка запорной арматуры между насосом и предохранительным клапаном.

Отрегулированные предохранительные клапаны должны быть опломбированы специалистом, ответственным за безопасную эксплуатацию подъемников.

5.8.5 Трубопроводы и их соединения, которые могут подвергаться воздействию максимального давления, должны выдерживать по меньшей мере вдвое большее рабочее давление без возникновения остаточной деформации.

Давление разрыва шлангов (включая соединения), которые могут подвергаться воздействию максимального давления в соответствии с настройкой предохранительного клапана, должно по меньшей мере в четыре раза превышать максимальное давление.

Все шланги и соединения, которые постоянно удерживают нагрузку и поддерживают или стабилизируют рабочую платформу, должны иметь сопротивление разрыву в четыре раза больше рабочего давления, на которое проектируется система.

Все остальные шланги и соединения, не являющиеся ответственными, должны иметь сопротивление разрыву в три раза больше рабочего давления, на которое проектируется система.

5.8.6 Гидроцилиндры, выполняющие роль механических упоров, должны быть спроектированы таким образом, чтобы они выдерживали по меньшей мере двойную нагрузку.

В условиях выхода из строя гидроцилиндров рассчитанное максимальное напряжение в любом его элементе не должно превышать предела текучести материала.

Гидроцилиндры, воспринимающие нагрузку, должны быть оборудованы устройством для предотвращения самопроизвольного перемещения частей цилиндра относительно друг друга, вызванного выходом из строя наружного трубопровода (исключая трубопроводы, монтируемые на фланцах).

Должно быть учтено влияние теплового расширения в цилиндрах, воспринимающих нагрузку.

5.8.7 Если в качестве устройства используются запорные клапаны, то они должны закрываться автоматически для предотвращения утечки рабочей жидкости из цилиндров до тех пор, пока они не откроются принудительно.

Запорные клапаны должны быть изготовлены заодно с цилиндром или жестко монтироваться непосредственно на фланце, либо быть расположены рядом с гидроцилиндром и соединены с ним с помощью коротких жестких трубопроводов, имеющих сварные или фланцевые соединения.

Иные типы фитингов для соединения между цилиндром и стопорным клапаном, например прессуемая арматура или трубные фитинги с развальцовкой, не допускаются.

5.8.8 Другие компоненты гидравлической системы, не отмеченные выше, должны быть рассчитаны по меньшей мере на номинальное максимальное давление, под которым они будут работать, включая временное увеличение в регулировании давления, необходимое для проведения испытания на прочность по 7.3.5.

5.8.9 В каждом гидравлическом контуре гидравлической системы должны быть предусмотрены места для установки приборов, контролирующих давление, и отвода воздуха, попавшего в систему. Также должно быть установлено необходимое число измерительных устройств для проверки и контроля правильности работы системы.

Используемые измерительные устройства должны соответствовать требованиям настоящего стандарта и ГОСТ Р 52543:

- быть защищены от инерционных нагрузок, гидравлических ударов, вибраций и механических воздействий;

- соответствовать схемам соединений и измерений;

- быть правильно смонтированы;

- соответствовать диапазону измеряемых давлений.

5.8.10 Каждый резервуар для рабочей жидкости, открытый в атмосферу, должен быть оборудован впускным воздушным фильтром.

5.8.11 Каждый бак для рабочей жидкости должен быть оборудован указателем уровня рабочей жидкости, на котором должны быть указаны максимальный и минимальный уровни в баке.

Уровень рабочей жидкости должен контролироваться в зависимости от конструкции подъемника с помощью масломерного стекла или масломерных щупов, когда визуальный контроль за уровнем жидкости затруднен по конструктивным условиям или условиям безопасности. Контроль уровня жидкости следует проводить в транспортном положении подъемника.

При использовании на подъемнике нескольких баков они должны иметь разную маркировку.

5.8.12 Каждая гидравлическая система должна иметь фильтр рабочей жидкости для обеспечения уровня ее чистоты, необходимого для безопасной работы этой системы и ее элементов.

Процесс фильтрования рабочей жидкости должен быть непрерывным, за исключением случаев срабатывания предохранительного клапана.

Фильтр, установленный на линии слива, должен иметь перепускной клапан, отрегулированный на давление открывания не более 0,4 МПа.

Конструкция гидросистемы должна быть обеспечена устройством, позволяющим контролировать загрязненность фильтра.

5.9 Приводные механизмы с двигателем внутреннего сгорания

5.9.1 Необходимо предусмотреть устройства безопасности людей, которые находятся в зоне управления или на земле поблизости от подъемника либо в других местах, открытых для воздействия опасных тепловых или механических факторов путем обеспечения безопасных зазоров или ограждений согласно 5.4.6.

Выхлопные газы двигателей внутреннего сгорания должны отводиться в сторону от зоны управления.

При использовании огнеопасного топлива должны быть установлены огнетушители.

Аккумуляторы и ящики аккумуляторов должны быть зафиксированы во избежание их опасного смещения.

В ящиках, кожухах отсеков или крышках аккумуляторов должны быть предусмотрены вентиляционные отверстия для отвода накапливающихся газов.

5.9.2 Заправочные горловины баков газового и жидкого топлива (за исключением резервуаров для огнестойких жидкостей) должны быть расположены таким образом, чтобы исключить воспламенение в результате попадания топлива на поверхность частей, нагревающихся до высокой температуры (например, частей системы выпуска).

5.10 Требования к устройствам безопасности

5.10.1 В случае возникновения опасных ситуаций устройства безопасности должны полностью прекращать соответствующие движения элементов подъемника в опасном направлении, если не установлен другой порядок действий.

Для безопасного производства работ подъемник должны быть оборудован следующими устройствами безопасности:

- системой, чувствительной к нагрузке для ограничения предельного веса груза;

- системой, чувствительной к опрокидывающему моменту для ограничения зоны обслуживания;

- системой, чувствительной к положению подъемного оборудования для ограничения превышения допускаемых напряжений;

- устройством ориентации пола рабочей платформы в горизонтальном положении;

- устройством блокировки подъема и поворота подъемного оборудования при не установленном на опорах подъемнике, кроме винтовых опор, устанавливаемых вручную;

- устройством блокировки подъема опор при поднятом рабочем оборудовании, кроме винтовых опор, устанавливаемых вручную;

- устройством аварийного опускания рабочей платформы при отказе основных систем привода;

- устройством, предохраняющим выносные опоры от самопроизвольного выдвижения или поворота при работе подъемника;

- устройством, указывающим угол наклона подъемника;

- системой аварийной остановки привода перемещения при управлении из рабочей платформы и с нижнего пульта, которая должна быть оснащена кнопкой «Стоп»;

- переговорным устройством (для подъемников с высотой подъема рабочей платформы более 22 м);

- анемометром (для подъемников с высотой подъема рабочей платформы более 22 м).

Примечание - Устройства безопасности, как правило, состоят из следующих элементов:

- отслеживающих информацию о работе системы и предоставляющих информацию, например выключатели, клапаны и т.п.;

- передающих информацию, например кабели и провода, трубопроводы, тяги, рычаги и т.п.;

- воспринимающих информацию, например звуковой сигнал, контакты, реле, клапаны и т.п.

5.10.2 Устройства безопасности должны быть легкодоступными для проведения регулировки, но в защищенных от повреждения местах. Их регулировка должна быть возможна только с использованием инструмента. Для исключения несанкционированного вмешательства устройства безопасности, подлежащие регулировке, должны быть опломбированы.

5.10.3 Электрические устройства безопасности должны действовать в качестве элементов, предоставляющих информацию, и быть спроектированы таким образом, чтобы их отказ не влиял на безопасность.

Если используются нормально замкнутые выключатели, они должны соответствовать требованиям ГОСТ IEC 60947-5-1.

Датчики или выключатели допускается применять при следующих условиях:

- при необходимости они могут быть дублированы;

- есть возможность постоянного наблюдения за правильностью их функционирования.

5.10.4 Проводка, используемая в качестве элемента, передающего сигнал, должна быть установлена и защищена от повреждения из-за внешнего воздействия.

5.10.5 Элементы, воспринимающие информацию (например, контакты и реле), должны иметь срок службы, как минимум вдвое превышающий число рабочих циклов, для которых предназначен подъемник.

5.10.6 Гидравлические (пневматические) устройства безопасности и части этих устройств, которые непосредственно действуют на полнопоточные клапаны гидравлических (пневматических) систем, должны быть дублированы, если отказ одного элемента может вызвать отказ всей системы.

Управляющие клапаны со вспомогательным управлением в этих устройствах должны быть спроектированы и установлены таким образом, чтобы отказ в работе в случае отключения энергии приводил к переходу в безопасное состояние (т.е. остановке соответствующего движения).

Это требование выполняется с помощью конструктивного решения по перечислению а) или перечислению б):

а) полнопоточного клапана, действующего непосредственно на соответствующий контур гидравлической (пневматической) системы;

б) клапана с полностью механическим управлением, установленного в контуре пилотного управления управляющим клапаном, в соответствии с 5.6.8.

5.10.7 Элементы механических устройств безопасности, такие как тяги и рычаги, должны быть спроектированы с учетом коэффициента запаса по 5.1.8. Такие механические элементы, как стальные канаты или цепи, должны быть спроектированы в соответствии с 5.4.11.

5.10.8 Ограничительные выключатели с контактами должны быть установлены и расположены таким образом, чтобы обеспечить автоматический останов рабочей платформы в крайней верхней или нижней точке в процессе движения с номинальной скоростью. Останов в нижней точке должен происходить до контакта с амортизирующим устройством и концевым выключателем. Останов в верхней точке должен происходить до контакта с концевым выключателем.

5.10.9 Необходимо предусмотреть верхний концевой выключатель. Выключатель устанавливают в таком положении, чтобы рабочая платформа была полностью остановлена до достижения вершины мачты. После срабатывания верхнего концевого выключателя допускается перемещение рабочей платформы только вниз. Движение рабочей платформы вверх должно быть полностью заблокировано до устранения причин неполадки квалифицированным персоналом.

Необходимо предусмотреть нижний концевой выключатель. Выключатель устанавливается в таком положении, в котором рабочая платформа не может столкнуться с амортизирующим устройством при работающем приводе. После срабатывания нижнего концевого выключателя любое перемещение рабочей платформы должно быть полностью заблокировано до устранения причин неполадки квалифицированным персоналом.

5.10.10 Для ограничительных и концевых выключателей необходимо предусмотреть отдельные устройства активации и управления.

Допускается применение одного концевого выключателя для совмещения функций верхнего и нижнего выключателей.

5.10.11 При обычном режиме работы или аварийном опускании блокирование устройств безопасности должно быть запрещено, за исключением процедур безопасной блокировки согласно предписаниям предприятия-изготовителя. Блокирование устройств безопасности во время проведения испытаний, ремонта или технического обслуживания подъемника должно выполняться в соответствии с рекомендациями инструкции предприятия-изготовителя. Оборудование для блокировки устройств безопасности должно быть спроектировано с условием сведения к минимуму возможности возникновения опасных условий для обслуживающего персонала.

6 Правила приемки

6.1 Общие положения

Каждый подъемник должен соответствовать требованиям безопасности настоящего стандарта.

Контроль качества, гарантирующий, что подъемник соответствует настоящему стандарту, должны включать в себя следующее:

а) экспертизу технической документации;

б) контроль изготовления;

в) испытания.

Серийная продукция должна проходить приемо-сдаточные и периодические испытания.

Образцы подъемников, прошедшие доработку или модернизацию, должны пройти типовые испытания.

Результаты проверок и испытаний, имена и адреса проводивших их лиц должны быть включены в подписанный акт (протокол) или отчет.

6.2 Экспертиза технической документации

Экспертизе технической документации подвергается каждый подъемник на стадии приемо-сдаточных испытаний.

Экспертиза должна подтвердить, что подъемник спроектирован согласно требованиям настоящего стандарта, технического задания и соответствует необходимому уровню безопасности.

Экспертиза должна состоять из проверки следующих документов:

а) чертежи, содержащие основные размеры и требования на изготовление узлов и деталей, электрической, гидравлической и/или пневматической схем;

б) сборник эксплуатационных и ремонтных документов и инструкций, определенных изготовителем (заказчиком);

в) информация об использованных материалах;

г) электрические, гидравлические и пневматические схемы;

д) нормативные документы и техническая документация;

е) расчеты;

ж) программы и методики испытаний.

В этих документах должна содержаться вся необходимая информация, обеспечивающая возможность проверки расчетов.

6.3 Контроль изготовления

Каждый подъемник при приемо-сдаточных испытаниях проходит контроль изготовления: визуальный и измерительный. Контроль изготовления должен подтвердить, что:

а) подъемник изготовлен согласно прошедшим экспертизу документам;

б) элементы подъемника соответствуют чертежам, а детали и узлы имеют соответствующие клейма и прошли приемку ОТК предприятия-изготовителя;

в) имеются сертификаты соответствия на материалы, примененные в подъемнике, и/или акты испытаний на каждый тип канатов, цепей и гидравлических или пневматических шлангов;

г) качество сварных швов, особенно в компонентах, несущих нагрузку, гарантируется использованием соответствующих нормативных документов;

д) узлы и устройства безопасности соответствуют настоящему стандарту;

е) на подъемниках имеются:

- табличка с данными изготовителя;

- маркировка рабочей платформы, съемных частей и мест присоединения анкерных устройств;

- информация о работе рычагов и кнопок пультов управления, электрической, гидравлической и/или пневматической схем;

- информация об аварийных системах.

6.4 Испытания

6.4.1 Испытаниям подвергается продукция, прошедшая экспертизу технической документации и контроль изготовления, при периодических и типовых испытаниях, включающих в себя:

а) функциональные испытания;

б) испытания на устойчивость;

в) испытания на прочность.

6.4.2 Испытания должны подтвердить:

а) правильность и безопасность выполнения всех функций;

б) устойчивость;

в) надежность металлоконструкций и соответствие значений напряжений (под воздействием внешних сил) расчетным и/или допустимым.

Чтобы сделать возможным безопасное проведение испытаний подъемника без дублирующих органов управления согласно 5.9.5, могут потребоваться особые условия их проведения.

7 Методы испытания

7.1 Функциональные испытания

Функциональные испытания проводят в целях подтверждения:

- бесперебойной и плавной работы подъемника при выполнении всех перемещений с нагрузкой 110 % номинальной и номинальной скоростью;

- правильного функционирования всех устройств безопасности;

- выдерживания максимально допустимых скоростей движения в пределах установленных допусков.

7.2 Испытания на устойчивость

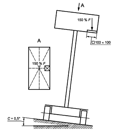
7.2.1 Статические испытания подъемников

Для проведения статических испытаний на устойчивость подъемник должен быть установлен на поверхности с уклоном, равным максимально допустимому (по определению предприятия-изготовителя) плюс 0,5°. Если подъемник поддерживается в рабочем положении на пневматических шинах и не оснащен системой предупреждения оператора о низком давлении в шинах, он должен быть установлен с наклоном, учитывающим спущенную шину.

Статические испытания проводят с использованием груза, равного 150 % номинальной грузоподъемности подъемника. Место приложения нагрузки выбирается таким образом, чтобы зона воздействия размерами 0,1×0,1 м располагалась по центру стороны рабочей платформы и была вплотную к краю ограждения (см. рисунок 3). Время воздействия нагрузки не менее 10 мин.

Примечание - Допускается предусматривать две зоны приложения нагрузки размерами 0,1×0,1 м, расположенные равномерно от центра стороны рабочей платформы и вплотную к краю ограждения.

F - номинальная грузоподъемность подъемника; С - максимально допустимый предприятием-изготовителем уклон

Рисунок 3 - Пример статического испытания подъемников на устойчивость для одной стороны

Для подъемников, которые имеют расширитель рабочей платформы с номинальной нагрузкой, отличающейся от номинальной нагрузки основной рабочей платформы, дополнительно проводят статическое испытание с грузом, равным 150 % номинальной грузоподъемности расширителя.

Испытания должны быть проведены для всех сторон рабочей платформы и во всех наиболее неблагоприятных рабочих и транспортных положениях.

Если конструкцией подъемника предусмотрены выносные опоры, следует использовать их согласно указаниям предприятия-изготовителя.

Испытания допускается проводить на ровной поверхности, если испытательные нагрузки будут пересчитаны с учетом значения максимально допустимого уклона поверхности, определяемого предприятием-изготовителем, плюс 0,5°.

Подъемник является устойчивым, если он может находиться в неподвижном состоянии, воспринимая испытательную нагрузку (нагрузки), и не имеет остаточной деформации металлоконструкций.

Примечание - Отрыв шин или выносных опор от поверхности во время испытания на устойчивость не указывает на состояние неустойчивости, если подъемник восстанавливает свое устойчивое состояние без опрокидывания при воздействии испытательной нагрузки.

7.2.2 Динамические испытания подъемников

7.2.2.1 Динамическим испытаниям на устойчивость подвергаются подъемники, передвижение которых в рабочем положении допускается предприятием-изготовителем. Исключение составляют подъемники, монтируемые на рельсовом ходу.

Подъемники должны подвергаться испытаниям на бордюрном камне и тормозным испытаниям с нагрузкой 110 % номинальной грузоподъемности, распределенной равномерно по половине площади рабочей платформы стой стороны, где создается наибольший опрокидывающий момент.

Для подъемников, которые имеют расширители рабочей платформы с номинальными нагрузками, отличающимися от номинальных нагрузок на основной рабочей платформе, дополнительно должны быть проведены испытания с нагрузкой 110 % номинальной для расширителя. Нагрузка должна быть равномерно распределена по половине площади расширителя стой стороны, где создается наибольший опрокидывающий момент.

7.2.2.2 Испытания при наезде на бордюрный камень (см. рисунок 4) или углубление должны быть выполнены как при движении вперед, так и при движении назад, в каждом из соответствующих положений подъемника и, если на разных высотах рабочей платформы движение может происходить с разными скоростями, испытания следует повторять для каждой из этих высот с максимально допустимой скоростью. Во всех случаях колеса должны быть установлены параллельно корпусу машины.

Испытания проводят на горизонтальной поверхности.

Нп - высота рабочей платформы; Vmaxп - максимальная скорость движения подъемника
для п высоты рабочей платформы;
F - номинальная грузоподъемность рабочей платформы

Рисунок 4 - Испытания при наезде на бордюрный камень

а) Испытания при наезде на бордюрный камень необходимо проводить таким образом, чтобы:

- наезд на бордюрный камень высотой 0,1 м происходил под углом 30° поочередно каждым из ведущих колес до тех пор, пока подъемник не остановится или оба колеса не заедут на бордюрный камень;

- наезд на бордюрный камень одновременно обоими ведущими колесами происходил до тех пор, пока подъемник не остановится или оба колеса не заедут на бордюрный камень.

б) Испытания при наезде на углубление для подъемников, предназначенных для перемещения по неподготовленным поверхностям, необходимо проводить таким образом, чтобы:

- наезд на впадину глубиной 0,1 м происходил под углом 30° поочередно каждым из ведущих колес до тех пор, пока колесо не съедет в эту впадину или не переедет ее;

- наезд на впадину одновременно обоими ведущими колесами происходил до тех пор, пока оба колеса не съедут в нее.

в) Испытания при наезде на углубление для подъемников, предназначенных только для использования на мощеных (специально подготовленных) поверхностях, необходимо проводить таким образом, чтобы поочередно под углом 90° ведущее колесо съезжало в квадратную впадину со стороной 0,6 м и глубиной 0,1 м. При этом испытании в углубление должно съезжать лишь одно колесо.

Во время наезда на бордюрный камень или углубление опрокидывание подъемника недопустимо.

7.2.2.3 При испытании на торможение подъемник должен быть остановлен настолько быстро, насколько позволяют органы управления, как при движении вперед, так и при движении назад. Испытания выполняют для каждого положения подъемника и комбинации уклона, нагрузок и сил, создающих совместно условия минимальной устойчивости, и, если допускается движение на разных высотах с различными скоростями, испытания следует проводить на каждой из этих высот с максимально допустимой скоростью.

Во время проведения этих испытаний опрокидывание подъемника недопустимо, а тормозной путь должен соответствовать заявленному предприятием-изготовителем.

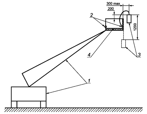
7.2.3 Динамические испытания мест крепления анкерных устройств

На стреловой подъемник в соответствии с 5.5.22 и инструкцией предприятия-изготовителя подъемника и анкерного устройства проводят монтаж анкерного устройства. Место крепления совместно с анкерным устройством, а также подъемник должны выдерживать падение испытательного груза массой 120 кг, соединенного с анкерным устройством стропом из стального троса (см. рисунок 5). Испытание происходит таким образом, что:

- подъемник устанавливается на горизонтальную поверхность в положение с наименьшей устойчивостью;

- падение испытательного груза происходит за пределами рабочей площадки со стороны наименьшей устойчивости подъемника на расстоянии не более 300 мм по горизонтали от центра груза и внешнего края ограждения и не менее 200 мм по вертикали, точка закрепления стропа на грузе выше верхней поверхности перил;

- при падении испытательного груза строп проходит над верхним поручнем ограждения таким образом, чтобы опрокидывающая сила была приложена к поручню;

- для испытания используется ближайшее место крепления анкерного устройства к стороне с наименьшей устойчивостью;

- длину стального троса подбирают таким образом, чтобы расстояние свободного падения испытательного груза по вертикали было не менее 1,2 м без помех или препятствий и удара об пол или землю;

- если наличие дополнительного груза на рабочей платформе во время испытания является положением с наименьшей устойчивостью, то на рабочей платформе на время испытания необходимо равномерно распределить дополнительный груз, масса которого вместе с массой испытательного груза составляла бы номинальную грузоподъемность.

1 - стреловой подъемник в положении с наименьшей устойчивостью; 2 - анкерное устройство; 3 - испытательный груз;
4 - равномерно распределенный на рабочей платформе дополнительный груз (при необходимости)

Рисунок 5 - Динамические испытания мест крепления анкерных устройств

Если к месту монтажа анкерных устройств допускается крепление устройств по ГОСТ EN/TS 16415, то испытания проводят аналогичным образом с последовательным падением грузов массой 100 кг. Количество грузов соответствует количеству пользователей, с которыми данное устройство допускается применять, но не более допустимого количества для рабочей платформы. Во время испытания грузы снимать не допускается. Время между падениями грузов не более 5 мин.

Испытанию подвергается каждое место крепления анкерных устройств и каждый тип анкерных устройств, если механизмы их присоединения к местам крепления отличаются.

В процессе испытания подъемник не должен опрокидываться, а груз не должен упасть. Допускается прогиб любой из частей подъемника, не затрудняющий спуск подъемника и эвакуацию людей.

7.3 Испытания на прочность

7.3.1 Во время проведения испытаний на прочность подъемник должен находиться на ровной поверхности. Любая поворотная или выдвижная часть переводится в положение с максимальной устойчивостью для восприятия максимальных нагрузок.

7.3.2 Статические испытания пола рабочей платформы

При испытании в соответствии с 5.5.5 и 5.5.10 нагрузка выдерживается не менее 3 мин.

Прогибы под нагрузкой являются допустимыми. Остаточная деформация на конструкции пола после снятия нагрузки не допускается.

7.3.3 Статические испытания защитных ограждений

При проведении статических испытаний в соответствии с 5.5.17 нагрузка выдерживается не менее 3 мин.

Прогибы под нагрузкой являются допустимыми. После снятия нагрузки остаточная деформация на любых элементах защитных ограждений не допускается.

7.3.4 Статические испытания мест крепления анкерных устройств

На стреловой подъемник в соответствии с 5.5.22 и инструкцией предприятия-изготовителя подъемника и анкерного устройства проводят монтаж анкерного устройства. Место крепления совместно с анкерным устройством должно выдерживать статическую нагрузку 15,0+0,5 кН не менее 3 мин в сторону нагружения пользователем.

Если к месту монтажа анкерных устройств допускается крепление анкерных устройств по ГОСТ EN/TS 16415, то испытания проводят аналогичным образом с приложением статической нагрузки (15,0+0,5 + 1,0+0,5) кН для каждого дополнительного пользователя.

Испытанию подвергают каждое место крепления анкерных устройств и каждый тип анкерных устройств, если механизмы их присоединения к местам крепления отличаются. Все места крепления должны выдержать заданную нагрузку указанное время без высвобождения.

Для этого испытания допускается фиксировать рабочую платформу либо снимать ее для закрепления в испытательной машине.

7.3.5 Статическое испытание подъемника

Во время проведения этого испытания должна быть возможность включения тормозной системы и удержания испытательной нагрузки. Испытательная нагрузка должна составлять 175 % номинальной грузоподъемности подъемника.

Испытание проводят при подъемнике, поднятом в положение максимальной устойчивости. Испытательную нагрузку прикладывают в центре основной рабочей платформы на участок размерами 0,5×0,5 м. Нагрузку прикладывают не менее 10 мин. За это время подъемник под нагрузкой не должен опускать рабочую платформу.

После снятия нагрузки все механизмы перемещения рабочей платформы должны функционировать.

8 Маркировка

8.1 Общие положения

Маркировка должна быть нанесена способом, обеспечивающим ее сохранность в течение всего срока службы подъемника.

Изготовитель должен указать следующую информацию на износостойких табличках или знаках, установленных вблизи мест управления подъемником и исполненных на официальном языке государства, в котором планируется эксплуатация подъемника.

Если на рабочей платформе не предусмотрено место управления подъемником, то табличка с информацией по 8.3 обязательно должна быть установлена в произвольном месте лицевой стороной, содержащей информацию, внутрь, а информационные знаки устанавливают у входа в рабочую платформу лицевой стороной с информацией наружу.

Символы, знаки и цвета должны соответствовать ГОСТ 32681 и ГОСТ 12.4.026.

8.2 Табличка с основной информацией

Табличка с основной маркировкой должна содержать следующую информацию:

- наименование и адрес предприятия-изготовителя;

- обозначение модели;

- серийный или заводской номер;

- год изготовления;

- конструктивная масса, кг;

- номинальная грузоподъемность рабочей платформы, кг;

- номинальная нагрузка рабочей платформы, представленная допустимым числом людей, а также массой оборудования, кг;

- номинальная грузоподъемность расширителя рабочей платформы, если отличается от основной рабочей платформы, кг;

- максимально допустимая скорость ветра во время работы, м/с;

- максимально допустимый уклон поверхности;

- подача гидравлического питания, если используется внешний источник гидравлического питания (см. примечание);

- подача пневматического питания, если используется внешний источник пневматического питания (см. примечание);

- подача электрического питания, если используется внешний источник электрического питания (см. примечание).

Примечание - Данная информация может быть указана в других соответствующих местах подъемника (см. 8.4.4).

8.3 Табличка рабочей платформы

На табличке рабочей платформы должна содержаться следующая информация:

- номинальная грузоподъемность, кг;

- номинальная нагрузка, представленная допустимым числом людей, а также массой оборудования, кг;

- максимально допустимая скорость ветра, м/с;

- требования для минимальной дистанции приближения к электрическим проводам или аппаратуре под напряжением в соответствии с [1].

Кроме того, должны быть выполнены надписи:

- «С изоляционным покрытием», если рабочая платформа имеет изоляционное покрытие;

- «Из диэлектрического материала», если рабочая платформа изготовлена из диэлектрического материала;

- «Без изоляционного покрытия», если рабочая платформа изготовлена из проводящего электричество материала и не имеет изоляционного покрытия.

8.4 Требования к маркировке рабочего оборудования

8.4.1 Для подъемников, которые имеют расширители рабочей платформы с номинальными нагрузками, отличающимися от номинальных нагрузок на основной рабочей платформе, дополнительно должны быть установлены информационные знаки, указывающие номинальную грузоподъемность в килограммах на расширитель. Знаки устанавливают на расширитель, они должны быть отчетливо видны на основной рабочей платформе.

8.4.2 Таблички с указаниями по управлению аварийной системой (системами) должны быть размещены в непосредственной близости к соответствующим органам управления.

8.4.3 На подъемниках, которые предназначены для эксплуатации только в помещениях, т.е. без воздействия ветровой нагрузки, на видном месте должна быть четко нанесена информация об этом в виде таблички или знака.

8.4.4 На места присоединения внешнего источника питания должна быть четко нанесена маркировка, содержащая полную необходимую информацию о допустимых значениях подводимой энергии.

8.4.5 Детали и узлы, которые могут быть сняты по функциональным причинам (например, рабочие платформы, стабилизаторы), должны на видимом месте иметь таблички со следующей информацией:

- наименование и адрес предприятия-изготовителя или поставщика;

- обозначение модели.

8.4.6 Все места присоединения анкерных устройств должны иметь информационные таблички со следующей информацией:

- стандарт соответствия анкерного устройства;

- тип анкерного устройства в соответствии со стандартом на анкерные устройства;

- количество людей, допустимое для присоединения к анкерному устройству в данном месте.

8.4.7 Все предполагаемые опасные места конструкции подъемника должны быть покрашены в яркий цвет, указывающий на опасность.

Места крепления анкерных устройств должны быть окрашены в специальный цвет, отличный от основного цвета.

8.4.8 Каждое колесо (выносная опора) должно иметь постоянную и четкую маркировку с информацией о максимальной нагрузке на поверхность, которая может потребоваться при работе подъемника, и давлении для пневматических шин.

8.4.9 Если невозможно обеспечить безопасные расстояния при проведении работ или соответствующие ограждения, должны быть установлены предупреждающие знаки.

8.4.10 На подъемниках, требующих применения стабилизаторов, на месте машиниста должен быть предупреждающий знак о необходимости установки стабилизатора.

8.4.11 Гидравлическая система с газогидравлическим аккумулятором должна иметь предупреждающую надпись на аккумуляторе: «Внимание! Сосуд под давлением! Разрядить перед разборкой!»

9 Упаковка

Подъемники допускается отправлять заказчику без упаковки. При этом электрооборудование (аппарат управления, электрический шкаф и др.) обертывают кровельным пергамином по ГОСТ 2697 или другим влагонепроницаемым материалом.

Обработанные металлоконструкции, не требующие окраски поверхности, запасные части, а также крепеж и инструмент должны быть подвергнуты консервации по ГОСТ 9.014.

Мелкие детали и документация, входящие в комплект поставки, должны быть вложены в полимерный пакет или пакеты по ГОСТ 12302 и закреплены на рабочей площадке подъемника способом, обеспечивающим ее сохранность во время транспортирования к заказчику, или переданы непосредственно заказчику при передаче подъемника.

10 Транспортирование и хранение

При транспортировании и хранении подъемников следует руководствоваться ГОСТ 12.3.033-84 (раздел 4) и ГОСТ 25646-95 (разделы 6 и 8).

11 Указания по эксплуатации

11.1 Общие положения

Эксплуатационные документы должны соответствовать требованиям ГОСТ 2.601 и настоящего стандарта, а эксплуатацию подъемника следует осуществлять в полном соответствии с прилагаемой к нему эксплуатационной документацией.

11.2 Эксплуатационные документы

11.2.1 При поставке подъемника в зарубежные страны производитель должен предоставить сборник эксплуатационных документов на официальном языке государства сбыта.

11.2.2 Комплект эксплуатационной документации должен обязательно содержать следующие документы, но не ограничиваться только ими:

- паспорт;

- руководство по эксплуатации, в котором должны быть представлены полные сведения для безопасной эксплуатации;

- инструкция по монтажу, пуску, регулированию и обкатке подъемника.

К комплекту эксплуатационной документации должны быть приложены копии разрешения на применение и документа, подтверждающего соответствие.

Инструкции по монтажу, пуску, регулированию и обкатке подъемника, проведению работ по техническому обслуживанию и текущему ремонту, а также по модернизации применительно к предполагаемым условиям эксплуатации (см. 11.2.6), выполняемым только профильными организациями, должны быть отделены от всех других документов.

11.2.3 Паспорт на подъемник составляется на предприятии-изготовителе и должен содержать полный объем сведений о подъемнике и его техническом состоянии после изготовления, в процессе эксплуатации и после ремонта.

Максимальная часть сведений в паспорте должна быть напечатана, от руки должны заполняться только переменные данные. При этом необходимо вносить следующие данные:

- о регистрации результатов обследований, испытаний;

- о регистрации сведений о модернизации и капитальных ремонтах;

- о подтверждении соответствия материалов.

Ответственность за составление паспорта полностью возлагается на предприятие-изготовитель.

Ответственность за полноту и сохранность внесения в паспорт сведений о результатах проверок и испытаний, переделок, ремонтов и др. возлагается на потребителя.

Примечание - Все документы, представляемые предприятиями, изготовляющими отдельные сборочные единицы, хранятся на предприятии-изготовителе.

11.2.4 Руководство по эксплуатации подъемника следует разрабатывать в соответствии с ГОСТ 2.601. Оно должно состоять из следующих частей:

- описание и работа;

- использование по назначению с полным перечнем возможных выполняемых работ и необходимых требований безопасности при их выполнении;

- техническое обслуживание с требованиями по безопасности обслуживания, составленными с учетом конструкции подъемника;

- текущий ремонт;

- хранение;

- транспортирование;

- срок службы и утилизация;

- периодичность осмотра и смазки сборочных единиц;

- перечень быстроизнашивающихся деталей и допуски на их износ;

- предельные нормы браковки элементов;

- наиболее вероятные механические повреждения металлоконструкций и способы их устранения;

- сроки и порядок проведения освидетельствования, периодических испытаний, получения разрешений на применение (изготовление) и пуск в работу;

- порядок эвакуации рабочего персонала из рабочей платформы в момент аварийного останова на высоте.

11.2.5 В руководстве по эксплуатации или комплекте эксплуатационных документов должна содержаться информация о возможности модификации подъемника к предполагаемым условиям эксплуатации. Как минимум, должно быть указание о том, что пользователь должен получить разрешение производителя на проведение не влияющей на безопасность самостоятельной доработки, выходящей за рамки требований, определенных предприятием-изготовителем.

11.2.6 В комплект эксплуатационной документации (по договору с потребителем) может быть включена инструкция, содержащая подробные сведения о возможности проведения модернизации или капитального ремонта подъемника.

В инструкции по модернизации или капитальному ремонту должны быть даны рекомендации об уровне повторного проведения экспертизы технической документации (см. 6.2), контроле изготовления (см. 6.3) и испытаниях (см. 6.4). Рекомендации должны соответствовать характеру выполняемой работы и объему предполагаемой модернизации или капитального ремонта.

Примечание - В рамках настоящего стандарта термины «модернизация» или «капитальный ремонт» означают модернизацию, средний или капитальный ремонты подъемника, которые могут оказывать влияние на его устойчивость, прочность или рабочую характеристику.

11.2.7 Для оператора или машиниста подъемника должен быть написан краткий вариант инструкции по эксплуатации, который должен быть постоянно прикреплен на видном месте.

12 Гарантии изготовителя

Изготовитель должен гарантировать соответствие выпускаемых подъемников требованиям настоящего стандарта при соблюдении потребителем условий транспортирования, хранения и эксплуатации.

Гарантийный срок эксплуатации подъемников - 18 мес со дня начала эксплуатации, но не позднее 24 мес со дня их продажи.

Приложение А
(обязательное)
Требования к дистанционным системам управления

А.1 Общие положения

Беспроводные средства управления должны быть сконструированы согласно ГОСТ Р МЭК 60204-1-2007 (пункт 9.2.7), с дополнениями, представленными в настоящем приложении.

Передатчик не должен функционировать при действующих средствах предотвращения несанкционированного использования.

А.2 Ограничение управления

А.2.1 Должна быть предусмотрена соответствующая индикация о включении передатчика без инициирования какого-либо движения подъемника.

А.2.2 Приемник должен давать выходные рабочие команды в систему управления только в случае приема фреймов, содержащих правильные адреса и команды.

А.2.3 Контактор подъемника должен получать электропитание (т.е. быть приведен в состояние «Вкл.»), с получением по меньшей мере одного правильного фрейма без каких-либо рабочих команд, но содержащего стартовую команду.

А.2.4 Чтобы избежать случайных перемещений после любой ситуации, вызвавшей останов подъемника (например, сбой энергоснабжения, замена аккумулятора или состояние потери сигнала), система должна выдавать рабочие команды, имеющие результатом любое перемещение подъемника только после возвращения оператором средств управления в положение «Выкл.» на подходящий период времени, т.е. до получения по меньшей мере одного фрейма, не содержащего рабочих команд.

А.2.5 В случае отключения питания на переключателе подъемника все выходные сигналы рабочих команд от приемника на движения подъемника должны пропадать.

А.3 Останов

А.3.1 Часть беспроводной системы управления, которая должна выполнять функцию останова, является частью системы управления подъемника, имеющей отношение к обеспечению безопасности.

А.3.2 Система управления должна инициировать останов всех движений подъемника при отсутствии корректного приема действительного фрейма в пределах 0,5 с.

А.3.3 Если текущий контроль, осуществляемый приемником, определяет, что состояние системы управления не соответствует состоянию выходных сигналов приемника, то останов, заданный в А.3.2, должен также отключить питание переключателя подъемника. Если текущий контроль, осуществляемый приемником, определяет, что состояние системы управления соответствует состоянию выходных сигналов приемника, то отключение питания переключателя подъемника может быть задержано максимум на 5 мин.

А.3.4 Если функции аварийного останова категории 0 согласно требованию ГОСТ Р МЭК 60204-1-2007 (подпункт 9.2.5.4.2) создают любой дополнительный риск, то допускается предусматривать функцию останова категории 1.

А.4 Обмен данными, передаваемыми последовательно

А.4.1 Фрейм должен передаваться неоднократно в течение операции.

А.4.2 Система должна обеспечивать надежность передачи на расстояние Хэмминга общего числа битов в фрейме, деленного на 20, но не менее 4, или она должна использовать другие средства, которые обеспечивают равный уровень надежности, чтобы вероятность прохождения ошибочного фрейма составляла менее 10-8.

А.5 Использование более чем одного поста, с которого оператор осуществляет управление

А.5.1 Переход управления от одного передатчика к другому не должен быть возможным до выключения первого передатчика преднамеренным действием, специально предусмотренным для такой цели.

А.5.2 Должно быть предусмотрено средство для обеспечения возможности работы нескольких пар «передатчик-приемник» в определенном передающем диапазоне без создания помех друг другу.

А.5.3 Средство по А.5.2 должно быть защищено от случайного или непреднамеренного изменения.

А.6 Посты управления для операторов, которые получают питание от аккумуляторов

После предупреждения и по истечении (или: После предупреждения об истечении периода времени автономной работы) периода времени в соответствии с ГОСТ Р МЭК 60204-1-2007 (подпункт 9.2.7.5), когда напряжение аккумулятора становится настолько низким, что надежная передача не может быть гарантирована, передатчик должен автоматически блокироваться, т.е. приемник останавливает все движения подъемника и отключает питание переключателя подъемника.

А.7 Приемник

Приемник должен выдерживать вибрации на испытании Fh в случайной широкой полосе частот в соответствии с ГОСТ 30630.1.2.

А.8 Предупреждения

В случае, когда можно ожидать появления людей вблизи подъемника или его части (например, при движении или повороте подъемника) и существует риск захвата людей, наезда и т.д., следует предусматривать дополнительные предупреждения.

Подъемник должен иметь маркировку в месте доступа на платформу с объяснением, что подъемник оборудован беспроводной системой управления, а также должен быть оборудован системой непрерывного наглядного предупреждения, когда беспроводная система управления занята, либо автоматического акустического и/или наглядного предупреждения о начале движения подъемника.

А.9 Информация для использования

А.9.1 Инструкции предприятия-изготовителя должны включать в себя информацию для гарантии, что при использовании беспроводной системы управления она не будет создавать помехи другим системам, а также, что ей не будут мешать другие системы в месте эксплуатации.

А.9.2 Производитель должен обеспечить реальную задержку для функции останова, заданной по А.3.2.

Библиография

[1]

Федеральные нормы и правила в области промышленной безопасности

Федеральные нормы и правила в области промышленной безопасности «Правила безопасности опасных производственных объектов, на которых используются подъемные сооружения» (приняты приказом Федеральной службы по экологическому, технологическому и атомному надзору, от 12 ноября 2013 г. № 533)

 

Ключевые слова: передвижные подмости с перемещаемым по высоте рабочим местом, подъемники, вышки, мобильные подъемники, подъемное оборудование, работа на высоте, рабочая платформа, номинальная нагрузка, безопасность, устройство безопасности, устойчивость, выносные опоры, система привода, органы управления, электрооборудование, гидросистема, эксплуатационные документы, испытания