Главная // Актуальные документы // Актуальные документы (обновление 2025.09.01-2025.09.27) // ГОСТ (Государственный стандарт)СПРАВКА
Источник публикации
М.: ФГБУ "Институт стандартизации", 2025
Примечание к документу
Документ
вводится в действие с 01.08.2026 с правом досрочного применения.
Название документа
"ГОСТ 35278-2025. Межгосударственный стандарт. Мебель для учебных заведений. Столы. Типы и функциональные размеры"
(введен в действие Приказом Росстандарта от 24.07.2025 N 792-ст)
"ГОСТ 35278-2025. Межгосударственный стандарт. Мебель для учебных заведений. Столы. Типы и функциональные размеры"
(введен в действие Приказом Росстандарта от 24.07.2025 N 792-ст)
Введен в действие
агентства по техническому
регулированию и метрологии
от 24 июля 2025 г. N 792-ст
МЕЖГОСУДАРСТВЕННЫЙ СТАНДАРТ
МЕБЕЛЬ ДЛЯ УЧЕБНЫХ ЗАВЕДЕНИЙ
СТОЛЫ
ТИПЫ И ФУНКЦИОНАЛЬНЫЕ РАЗМЕРЫ
Furniture for educational institutions. Tables.
Types and functional dimensions
(EN 1729-1:2015/AC:2016, NEQ)
ГОСТ 35278-2025
Дата введения
1 августа 2026 года
с правом досрочного применения
Цели, основные принципы и общие правила проведения работ по межгосударственной стандартизации установлены
ГОСТ 1.0 "Межгосударственная система стандартизации. Основные положения" и
ГОСТ 1.2 "Межгосударственная система стандартизации. Стандарты межгосударственные, правила и рекомендации по межгосударственной стандартизации. Правила разработки, принятия, обновления и отмены"
1 РАЗРАБОТАН Федеральным государственным бюджетным учреждением "Российский институт стандартизации" (ФГБУ "Институт стандартизации")
2 ВНЕСЕН Межгосударственным техническим комитетом по стандартизации МТК 135 "Мебель"
3 ПРИНЯТ Межгосударственным советом по стандартизации, метрологии и сертификации (протокол от 30 июня 2025 г. N 186-П)
За принятие проголосовали:
Краткое наименование страны по МК (ИСО 3166) 004-97 | Код страны по МК (ИСО 3166) 004-97 | Сокращенное наименование национального органа по стандартизации |
Армения | AM | ЗАО "Национальный орган по стандартизации и метрологии" Республики Армения |
Беларусь | BY | Госстандарт Республики Беларусь |
Казахстан | KZ | Госстандарт Республики Казахстан |
Киргизия | KG | Кыргызстандарт |
Россия | RU | Росстандарт |
Узбекистан | UZ | Узбекское агентство по техническому регулированию |
4
Приказом Федерального агентства по техническому регулированию и метрологии от 24 июля 2025 г. N 792-ст межгосударственный стандарт ГОСТ 35278-2025 введен в действие в качестве национального стандарта Российской Федерации с 1 августа 2026 г. с правом досрочного применения
5 Настоящий стандарт разработан с учетом основных нормативных положений европейского стандарта EN 1729-1:2015/AC:2016 "Мебель. Стулья и столы для образовательных институтов. Часть 1. Функциональные размеры" ("Furniture - Chairs and tables for educational institutions - Part 1: Functional dimensions", NEQ)
Информация о введении в действие (прекращении действия) настоящего стандарта и изменений к нему на территории указанных выше государств публикуется в указателях национальных стандартов, издаваемых в этих государствах, а также в сети Интернет на сайтах соответствующих национальных органов по стандартизации.
В случае пересмотра, изменения или отмены настоящего стандарта соответствующая информация будет опубликована на официальном интернет-сайте Межгосударственного совета по стандартизации, метрологии и сертификации в каталоге "Межгосударственные стандарты"
Настоящий стандарт распространяется на столы, используемые для обустройства (обстановки) рабочих мест обучающихся в учебных заведениях и устанавливает типы и функциональные размеры всех регулируемых, настраиваемых и нерегулируемых столов, обеспечивающих безопасность для здоровья обучающихся.
Стандарт также распространяется на столы, предназначенные для работы с ноутбуками или переносными приборами.
Стандарт не распространяется на столы, предназначенные для преподавателей.
В настоящем стандарте использованы нормативные ссылки на следующие межгосударственные стандарты:
ГОСТ 20400 Продукция мебельного производства. Термины и определения
Примечание - При пользовании настоящим стандартом целесообразно проверить действие ссылочных стандартов и классификаторов на официальном интернет-сайте Межгосударственного совета по стандартизации, метрологии и сертификации (www.easc.by) или по указателям национальных стандартов, издаваемым в государствах, указанных в предисловии, или на официальных сайтах соответствующих национальных органов по стандартизации. Если на документ дана недатированная ссылка, то следует использовать документ, действующий на текущий момент, с учетом всех внесенных в него изменений. Если заменен ссылочный документ, на который дана датированная ссылка, то следует использовать указанную версию этого документа. Если после принятия настоящего стандарта в ссылочный документ, на который дана датированная ссылка, внесено изменение, затрагивающее положение, на которое дана ссылка, то это положение применяется без учета данного изменения. Если ссылочный документ отменен без замены, то положение, в котором дана ссылка на него, применяется в части, не затрагивающей эту ссылку.
В настоящем стандарте применены термины по
ГОСТ 20400, а также следующие термины с соответствующими определениями:
3.1 регулируемый стол: Стол, который регулируется обучающимися без использования инструментов.
3.2 настраиваемый стол: Стол, размеры которого можно настроить в процессе сборки (выполняется не обучающимися), изменяя размеры в зависимости от ростовой группы.
3.3 высокий стул: Изделие мебели для сидения одного обучающегося, со спинкой, с подлокотниками или без подлокотников, с опорой для ног и высотой сиденья, предназначенной для сидения за столом соответствующей ростовой группы.
Примечание - Требования к столам соответствующей ростовой группы установлены в
4.4.
3.4 высокий стул с двойным наклонным сиденьем: Специализированный тип стула, поверхность сиденья которого разделена на две части, имеющие наклонное положение, способствующий поддержанию необходимого состояния опорно-двигательного аппарата.
3.5
проножка: Деталь каркаса, соединяющая ножки стула, стола и т.п. |
4 Функциональные размеры и ростовые группы столов
4.1 Функциональные размеры и ростовые группы столов, используемых со стульями с углом наклона посадочной поверхности сиденья от -4° до +8°
4.1.1 Функциональные размеры, соответствующие ростовые группы, а также цвет маркировки для столов, используемых со стульями с углом наклона посадочной поверхности сиденья от -4° до +8°, должны соответствовать требованиям
4.1.2 -
4.1.4.
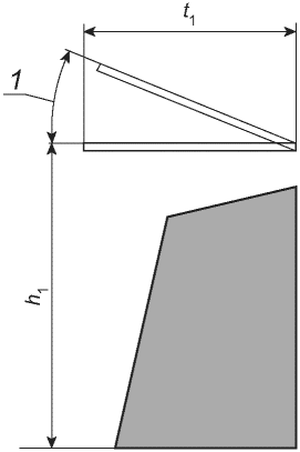
Основные размеры стола приведены на рисунке 1.
1 - наклон крышки стола;
h1 - высота крышки стола; t1 - глубина крышки стола
Рисунок 1 - Основные размеры стола
4.1.2 Крышки стола могут быть горизонтальными, иметь фиксированный угол наклона или устанавливаться обучающимся в наклонное положение. Минимальные размеры углубления для размещения принадлежностей для письма и рисования - 115 x 45 x 8 мм (длина x ширина x глубина); отверстия не менее 55 мм.
Если обучающийся может регулировать наклон крышки стола, то должна быть предусмотрена возможность ее установки в горизонтальное положение.
Рекомендуется использовать столы с наклонной или наклоняемой крышкой стола. Максимальная величина наклона для наклонной или наклоняемой крышки стола составляет 20°. Примеры различных крышек стола приведены на рисунке 2.
t1 - глубина крышки стола; w1 - ширина крышки стола
для размещения одного обучающегося, измеренная
по передней кромке со стороны сидящего (не менее)
Рисунок 2 - Примеры форм крышек стола
для одного и более обучающихся
4.1.3 Ученические столы для черчения и рисования должны изготовляться одноместными двух типов:
I - столы с подъемной крышкой;
II - столы с оборотной крышкой.
В столах типа I угол наклона рабочей поверхности должен регулироваться от 0° до 75° с произвольной фиксацией в любом положении или ступенчато с интервалом 10° - 15°. В столах типа II рабочая поверхность должна фиксироваться в двух положениях: для черчения - под углом от 12° до 30°; для рисования - под углом от 60° до 75°.
Для столов типа I радиус скругления углов крышки стола в плане должен быть 10 - 30 мм. Для типа II радиус скругления углов рабочей поверхности, обращенной к обучающемуся и наружной части полки, должен быть 10 - 30 мм или углы крышек обоих типов столов могут быть притуплены (зашлифованы).
Конструкция столов должна предусматривать регулировку или настройку по высоте.
4.1.4 Пространство для ног
Для каждой ростовой группы необходимо предусмотреть пространство для ног под рабочими поверхностями (столами и рабочими столами) по минимальным размерам, указанным в
таблице 1 и на
рисунке 3.
Для измерения пространства для ног тестовый шаблон должен быть расположен на полу таким образом, чтобы верхняя кромка шаблона, размещенного между опорами стола (во внутреннем пространстве), находилась на одной линии с передней кромкой стола со стороны сидящего. Допускается частичное пересечение внутреннего пространства для ног при оценке контрольными шаблонами группы столов.
1 - передняя кромка крышки стола; h2 - высота пространства
для ног по передней кромке крышки стола; h4 - высота задней
поверхности пространства для ног; t2 - глубина верхней
поверхности пространства для ног; t3 - глубина нижней
поверхности пространства для ног
Рисунок 3 - Контрольные шаблоны пространства для ног
Минимальное пространство для ног (расстояние в горизонтальной плоскости между опорами) контролируется для каждого посадочного места шаблоном с размерами, приведенными в таблице 1 для соответствующей ростовой группы.
Таблица 1
Размеры контрольных шаблонов для оценки минимального
пространства для ног в столах, используемых со стульями
с углом наклона посадочной поверхности сиденья от -4° до +8°
Размеры в миллиметрах
Обозначения | Ростовые группы |
0 | 1 | 2 | 3 | 4 | 5 | 6 | 7 |
h2 | - | 350 | 410 | 470 | 530 | 590 | 650 | 700 |
h4 | - | 250 | 250 | 300 | 300 | 350 | 350 | 350 |
t2 | - | 300 | 300 | 300 | 350 | 400 | 400 | 400 |
t3 | - | 400 | 400 | 400 | 400 | 450 | 450 | 450 |
Примечания 1 Допускаемые предельные отклонения размеров контрольных шаблонов +/- 1 мм. 2 По согласованию с заказчиком допускается устанавливать другие размеры контрольных шаблонов. |
4.1.5 Требования к регулируемым и настраиваемым столам
Приспособления для регулировки должны:
- быть легко доступными для обучающихся;
- обеспечивать их эксплуатацию без применения инструментов.
Регулируемые и настраиваемые столы должны быть рассчитаны на две или более ростовых групп. Номера ростовых групп, для которых можно регулировать столы, должны быть хорошо различимы.
Регулируемые и настраиваемые столы, предназначенные для нескольких ростовых групп, должны соответствовать требованиям к размерам каждой отдельной ростовой группы (см.
таблицу 1 и
таблицу 2).
Регулировка должна быть плавной или с фиксированным шагом.
Таблица 2
Размеры и ростовые группы столов, используемых со стульями
с углом наклона посадочной поверхности сиденья от -4° до +8°
Размеры в миллиметрах
Ростовая группа | 0 | 1 | 2 | 3 | 4 | 5 | 6 | 7 |
Цвет маркировки | Белый | Оранжевый | Фиолетовый | Желтый | Красный | Зеленый | Голубой | Коричневый |
Высота подколенного угла <1>(без обуви) | От 200 до 250 | От 250 до 280 | От 280 до 315 | От 315 до 355 | От 355 до 405 | От 405 до 435 | От 435 до 485 | 485+ |
(без обуви) | От 800 до 950 | От 930 до 1160 | От 1080 до 1210 | От 1190 до 1420 | От 1330 до 1590 | От 1460 до 1765 | От 1590 до 1880 | От 1740 до 2070 |
Высота крышки стола h1 +/- 20 | 400 | 460 | 520 | 580 | 640 | 700 | 760 | 820 |
Глубина крышки стола t1, не менее | - | | | | 500 | 500 | 500 | 500 |
Ширина крышки стола w1 для размещения одного обучающегося, измеренная по передней кромке со стороны сидящего, не менее | - | | | | | 600 | 600 | 600 |
Площадь поверхности на одного обучающегося, не менее | - | 0,15 м2 | 0,15 м2 | 0,15 м2 | 0,15 м2 | 0,15 м2 | 0,15 м2 | 0,15 м2 |
Расстояние в горизонтальной плоскости между опорами (ширина внутреннего пространства стола), в расчете на одного обучающегося, не менее | - | | | | | 500 | 500 | 500 |
<1> Данные показатели относятся к определению ростовых групп. <2> По согласованию с заказчиком возможно уменьшить до 400 мм. <3> По согласованию с заказчиком возможно уменьшить до 550 мм. <4> По согласованию с заказчиком возможно уменьшить до 450 мм. |
4.2 Функциональные размеры и ростовые группы столов, используемых с высокими стульями с двойным наклонным сиденьем
4.2.1 Функциональные размеры и соответствующие ростовые группы, а также цвет маркировки для столов, используемых с высокими стульями с двойным наклонным сиденьем должны соответствовать требованиям 4.2.2 -
4.2.4,
таблице 3 и характеристикам, приведенным на
рисунке 3.
4.2.2 Крышки столов могут быть горизонтальными, иметь фиксированный угол наклона или устанавливаться обучающимся в наклонное положение. Если обучающийся может регулировать наклон крышки стола, то должна быть предусмотрена возможность ее установки в горизонтальное положение.
Рекомендуется использовать столы с наклонной или наклоняемой крышкой стола. Примеры различных крышек стола с указанием ширины и глубины показаны на
рисунке 2.
Таблица 3
Размеры и ростовые группы столов, используемых
с высокими стульями с двойным наклонным сиденьем
Размеры в миллиметрах
Ростовая группа | 0 | 1 | 2 | 3 | 4 | 5 | 6 | 7 |
Цвет маркировки | Белый | Оранжевый | Фиолетовый | Желтый | Красный | Зеленый | Голубой | Коричневый |
Высота подколенного угла <1>(без обуви) | От 200 до 250 | От 250 до 280 | От 280 до 315 | От 315 до 355 | От 355 до 405 | От 405 до 435 | От 435 до 485 | 485+ |
(без обуви) | От 800 до 950 | От 930 до 1160 | От 1080 до 1210 | От 1190 до 1420 | От 1330 до 1590 | От 1460 до 1765 | От 1590 до 1880 | От 1740 до 2070 |
Высота крышки стола h1 +/- 20 | h8 + 190 | h8 + 200 | h8 + 220 | h8 + 240 | h8 + 260 | h8 + 280 | h8 + 300 | h8 + 320 |
Глубина крышки стола t1, не менее | - | | | | 500 | 500 | 500 | 500 |
Ширина крышки стола w1 для размещения одного обучающегося, измеренная по передней кромке со стороны сидящего, не менее | - | | | | | 600 | 600 | 600 |
Площадь поверхности на одного обучающегося, не менее | - | 0,15 м2 | 0,15 м2 | 0,15 м2 | 0,15 м2 | 0,15 м2 | 0,15 м2 | 0,15 м2 |
Расстояние в горизонтальной плоскости между опорами (ширина внутреннего пространства стола), в расчете на одного обучающегося, не менее | - | | | | | 500 | 500 | 500 |
Высота сиденья h8 +/- 10 | - | | | | | | | |
Высота опоры для ног <7>, <8> h9, не менее | - | h8 - 260 | h8 - 300 | h8 - 340 | h8 - 380 | h8 - 420 | h8 - 460 | h8 - 500 |
<1> Данные показатели относятся к определению ростовых групп. <2> По согласованию с заказчиком возможно уменьшить до 400 мм. <3> По согласованию с заказчиком возможно уменьшить до 550 мм. <4> По согласованию с заказчиком возможно уменьшить до 450 мм. <5> Значения в соответствии с ГОСТ 11016-2024 (таблица 2). <6>  - угол наклона передней части посадочной поверхности. <7> Опору для ног можно установить на уровне голени. <8> Опора для ног может быть наклонной. Высоту измеряют по центру глубины, независимо от того, наклонная она или нет. |
4.2.3 Пространство для ног
Для каждой ростовой группы необходимо предусмотреть пространство для ног под рабочими поверхностями (столами и рабочими столами) по минимальным размерам, указанным в
таблице 4 и на
рисунке 3.
Для измерения пространства для ног тестовый шаблон должен быть расположен на полу таким образом, чтобы верхняя кромка шаблона, размещенного между опорами стола (во внутреннем пространстве), находилась на одной линии с передней кромкой стола со стороны сидящего. Допускается частичное пересечение внутреннего пространства для ног при оценке контрольными шаблонами группы столов.
Минимальное пространство для ног (расстояние в горизонтальной плоскости между опорами) контролируется для каждого посадочного места шаблоном с размерами, приведенными в таблице 4 для соответствующей ростовой группы.
Таблица 4
Размеры контрольных шаблонов для оценки минимального
пространства для ног в столах, используемых с высокими
стульями с двойным наклонным сиденьем
Размеры в миллиметрах
Обозначения | Ростовые группы |
0 | 1 | 2 | 3 | 4 | 5 | 6 | 7 |
h2 | h1 - 75 | h1 - 80 | h1 - 90 | h1 - 95 | h1 - 95 | h1 - 100 | h1 - 95 | h1 - 95 |
h4 | h1 - 125 | h1 - 135 | h1 - 155 | h1 - 170 | h1 - 175 | h1 - 190 | h1 - 195 | h1 - 200 |
t2 | 300 | 300 | 300 | 300 | 400 | 400 | 400 | 400 |
t3 | 400 | 400 | 400 | 400 | 500 | 500 | 500 | 500 |
Примечание - Допускаемые предельные отклонения размеров контрольных шаблонов +/- 1 мм. |
4.2.4 Требования к регулируемым и настраиваемым столам, используемым с высокими стульями с двойными наклонными сиденьями
Приспособления для регулировки должны:
- быть доступными для обучающихся;
- обеспечивать их эксплуатацию без применения инструментов.
Регулируемые и настраиваемые столы должны быть рассчитаны на две или более ростовых групп. Номера ростовых групп, для которых можно регулировать мебель, должны быть хорошо различимы.
Регулируемые и настраиваемые столы, предназначенные для нескольких ростовых групп, должны отвечать требованиям к размерам каждой отдельной ростовой группы (см.
таблицу 3 и
таблицу 4).
Регулировка должна быть плавной, а настройка с фиксированным шагом.
4.3 Функциональные размеры и ростовые группы для столов для работы стоя
4.3.1 Функциональные размеры и соответствующие ростовые группы, а также цвет маркировки для столов для работы стоя должны соответствовать требованиям 4.3.1 -
4.3.2.
Размеры, ростовые группы и цвет маркировки столов для работы стоя должны соответствовать характеристикам, приведенным на
рисунке 1 и в
таблице 5. Примеры различных крышек стола с указанием ширины и глубины показаны на
рисунке 2.
4.3.2 Обоснование выбора стола, регулируемого по высоте
Эргономическим критерием высоты столов для работы стоя является уровень расположения локтей в положении стоя с учетом обуви. В связи с этим размеры, приведенные в таблице 5, являются оптимальным решением в соответствии с гигиеническими требованиями, предъявляемыми к рабочей позе обучающегося.
Таблица 5
Размеры и ростовые группы столов для работы стоя
Размеры в миллиметрах
Ростовая группа | 0 | 1 | 2 | 3 | 4 | 5 | 6 | 7 |
Цветная маркировка | Белый | Оранжевый | Фиолетовый | Желтый | Красный | Зеленый | Голубой | Коричневый |
Высота подколенного угла <1>(без обуви) | От 200 до 250 | От 250 до 280 | От 280 до 315 | От 315 до 355 | От 355 до 405 | От 405 до 435 | От 435 до 485 | 485+ |
(без обуви) | От 800 до 950 | От 930 до 1160 | От 1080 до 1210 | От 1190 до 1420 | От 1330 до 1590 | От 1460 до 1765 | От 1590 до 1880 | От 1740 до 2070 |
Крышка стола h1 +/- 20 | 530 | 590 | 670 | 760 | 880 | 1000 | 1060 | 1200 |
Глубина крышки стола t1, не менее | - | | | | 500 | 500 | 500 | 500 |
Ширина крышки стола w1 для размещения одного обучающегося, измеренная по передней кромке со стороны сидящего, не менее | - | | | | | 600 | 600 | 600 |
Площадь поверхности на одного обучающегося, не менее | - | 0,15 м2 | 0,15 м2 | 0,15 м2 | 0,15 м2 | 0,15 м2 | 0,15 м2 | 0,15 м2 |
<1> Данные показатели относятся к определению ростовых групп. <2> По согласованию с заказчиком возможно уменьшить до 400 мм. <3> По согласованию с заказчиком возможно уменьшить до 550 мм. |
4.4 Функциональные размеры и ростовые группы столов, подходящих для высоких стульев
4.4.1 Функциональные размеры и соответствующие ростовые группы для столов, подходящих для высоких стульев должны соответствовать требованиям
4.4.2 -
4.4.3. Столы должны соответствовать высоте таких стульев в соответствии с
рисунком 4.
Размеры столов, применяемых совместно с высокими стульями изображены на рисунке 4.
1 - наклон крышки стола; 2 - стул; h1 - высота крышки стола;
t1 - глубина крышки стола; z - расстояние по вертикали
между верхней поверхностью крышки стола и верхней
поверхностью сиденья
Рисунок 4 - Основные размеры стола
и сопутствующего ему стула
4.4.2 Крышки столов могут быть горизонтальными, иметь фиксированный угол наклона или устанавливаться обучающимся в наклонное положение. Если обучающийся может регулировать наклон крышки стола, то должна быть предусмотрена возможность ее установки в горизонтальное положение.
Рекомендуется использовать столы с наклонной или наклоняемой крышкой стола. Примеры различных крышек стола с указанием ширины и глубины показаны на
рисунке 2.
Высоту столов, предназначенных для использования с высокими стульями, невозможно маркировать с учетом роста. Целесообразность использования стола определяют по расстоянию
z по вертикали между верхней поверхностью крышки стола и верхней поверхностью сиденья, которое приведено в таблице 6. Расстояние
z используют для определения высоты стола, подходящего для высоких стульев. Все дополнительные размеры для высоких столов, используемых с высокими стульями, должны соответствовать характеристикам, приведенным в
таблице 7.
Таблица 6
Расстояние между верхней поверхностью крышки стола и верхней
поверхностью сиденья высокого стула, относящегося
к соответствующей ростовой группе
Ростовая группа | z +/- 10, мм |
0 | 150 |
1 | 150 |
2 | 160 |
3 | 170 |
4 | 190 |
5 | 210 |
6 | 230 |
7 | 250 |
Таблица 7
Размеры крышек столов, используемых с высокими стульями
Глубина крышки стола t1, не менее | 500 мм |
Ширина крышки стола w1 для размещения одного обучающегося, измеренная по передней кромке со стороны сидящего, не менее | 600 мм |
Площадь поверхности на одного обучающегося, не менее | 0,15 м2 |
Расстояние в горизонтальной плоскости между опорами (ширина внутреннего пространства стола), в расчете на одного обучающегося, не менее | 500 мм |
На столе должна быть указана его высота (расстояние от пола до верхней поверхности крышки стола). Данную информацию допускается указывать как непосредственно на этикетке, так и с помощью веб-адреса, QR-кода или другого подходящего способа нанесения.
4.4.3 Пространство для ног
Размеры пространства для ног должны касаться уровня над опорой для ног стула, а не высоты над полом. Если высокий стул комплектуется столом, то пространство для ног под столом и над опорой для ног должно соответствовать минимальным размерам, указанным в
таблице 8 и на
рисунке 5.
Для измерения пространства для ног тестовый шаблон должен быть расположен на полу таким образом, чтобы верхняя кромка шаблона, размещенного между опорами стола (во внутреннем пространстве), находилась на одной линии с передней кромкой стола со стороны сидящего. Допускается частичное пересечение внутреннего пространства для ног при оценке контрольными шаблонами группы столов.
1 - передняя кромка крышки стола; 2 - опора для ног стула;
h2 - высота пространства для ног по передней кромке крышки
стола; h4 - высота задней поверхности пространства для ног;
t2 - глубина верхней поверхности пространства для ног;
t3 - глубина нижней поверхности пространства для ног
Рисунок 5 - Контрольные шаблоны пространства для ног
Минимальное пространство для ног (расстояние в горизонтальной плоскости между опорами) контролируется для каждого посадочного места шаблоном с размерами, приведенными в таблице 8 для соответствующей ростовой группы.
Таблица 8
Размеры контрольных шаблонов для оценки
минимального пространства для ног в столах
Размеры в миллиметрах
Обозначения | Ростовые группы |
0 | 1 | 2 | 3 | 4 | 5 | 6 | 7 |
h2 | 325 | 380 | 440 | 495 | 545 | 610 | 665 | 725 |
h4 | 275 | 325 | 375 | 420 | 465 | 520 | 565 | 620 |
t2 | 300 | 300 | 300 | 300 | 400 | 400 | 400 | 400 |
t3 | 400 | 400 | 400 | 400 | 500 | 500 | 500 | 500 |
Примечание - Допускаемые предельные отклонения размеров контрольных шаблонов +/- 1 мм. |
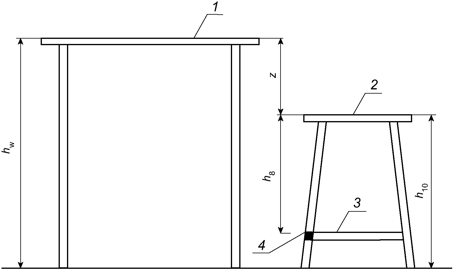
4.5 Функциональные размеры и ростовые группы для столов, используемых с табуретами
Функциональные размеры и соответствующие ростовые группы, а также цвет маркировки столов, используемых с табуретами, должны отвечать требованиям
4.5.1 -
4.5.2. Рабочие поверхности должны соответствовать высоте табуретов (см. рисунок 6).
1 - рабочая поверхность; 2 - табурет; 3 - проножка;
4 - опора для ног; h8 - высота сиденья табурета (от верхней
поверхности посадочной поверхности сиденья до верхней
поверхности опоры для ног); h10 - общая высота табурета;
hw - высота рабочей поверхности; z - расстояние
между верхней кромкой рабочей поверхности и верхней
кромкой сиденья табурета
Рисунок 6 - Функциональные размеры и ростовые группы
для столов, используемых с табуретами
4.5.1 Существует зависимость между высотой крышки стола и высотой табуретов. Можно вычислить общую высоту табурета для заданной высоты нерегулируемой по высоте крышки стола. И наоборот, можно рассчитать высоту крышки стола для заданного размера табурета.
4.5.2 Для конкретной рабочей поверхности необходимо рассчитать подходящую общую высоту табурета по формуле
h10 = hw - z, (1)
где h10 - общая высота табурета;
hw - высота рабочей поверхности;
z - расстояние между верхней кромкой рабочей поверхности и верхней кромкой сиденья.
Для конкретного табурета необходимо рассчитать подходящую высоту крышки стола по формуле
hw = h10 + z, (2)
где hw - высота рабочей поверхности;
h10 - общая высота табурета;
z - расстояние между верхней гранью рабочей поверхности и верхней кромкой сиденья.
Величина z соответствует антропометрической высоте расположения локтей в положении сидя. Значения z приведены в таблице 9 для всех ростовых групп.
Таблица 9
Расстояние между верхней кромкой рабочей поверхности
и верхней кромкой табурета, отнесенного
к соответствующей ростовой группе
Ростовая группа | z +/- 10, мм |
0 | 150 |
1 | 150 |
2 | 160 |
3 | 170 |
4 | 190 |
5 | 210 |
6 | 230 |
7 | 250 |
4.6 Диапазоны, указанные в
таблицах 2,
3 и
5, для роста обучающегося и высоты подколенного угла не включают в себя допуск на обувь. Все параметры высоты столов включают допуск на обувь.
УДК 645.41:006.354 | | NEQ |
Ключевые слова: столы, функциональные размеры, маркировка |