Главная // Актуальные документы // Актуальные документы (обновление 2025.06.02-2025.07.05) // ГОСТ (Государственный стандарт)СПРАВКА
Источник публикации
М.: ФГБУ "Институт стандартизации", 2024
Примечание к документу
Документ включен в
Перечень международных и региональных (межгосударственных) стандартов, а в случае их отсутствия - национальных (государственных) стандартов, в результате применения которых на добровольной основе обеспечивается соблюдение требований технического
регламента Таможенного союза "О безопасности низковольтного оборудования" (ТР ТС 004/2011) и в
Перечень международных и региональных (межгосударственных) стандартов, а в случае их отсутствия - национальных (государственных) стандартов, содержащих правила и методы исследований (испытаний) и измерений, в том числе правила отбора образцов, необходимые для применения и исполнения требований технического
регламента Таможенного союза "О безопасности низковольтного оборудования" (ТР ТС 004/2011) и осуществления оценки соответствия объектов технического регулирования (
Решение Коллегии Евразийской экономической комиссии от 11.05.2023 N 55).
Документ
введен в действие с 01.01.2025 с правом досрочного применения.
Название документа
"ГОСТ IEC 60669-2-6-2015. Межгосударственный стандарт. Выключатели бытовых и аналогичных стационарных электрических установок. Часть 2-6. Дополнительные требования к аварийным выключателям для внешних и внутренних осветительных приборов"
(введен в действие Приказом Росстандарта от 27.02.2024 N 247-ст)
"ГОСТ IEC 60669-2-6-2015. Межгосударственный стандарт. Выключатели бытовых и аналогичных стационарных электрических установок. Часть 2-6. Дополнительные требования к аварийным выключателям для внешних и внутренних осветительных приборов"
(введен в действие Приказом Росстандарта от 27.02.2024 N 247-ст)
агентства по техническому
регулированию и метрологии
от 27 февраля 2024 г. N 247-ст
МЕЖГОСУДАРСТВЕННЫЙ СТАНДАРТ
ВЫКЛЮЧАТЕЛИ БЫТОВЫХ И АНАЛОГИЧНЫХ СТАЦИОНАРНЫХ
ЭЛЕКТРИЧЕСКИХ УСТАНОВОК
ЧАСТЬ 2-6
ДОПОЛНИТЕЛЬНЫЕ ТРЕБОВАНИЯ К АВАРИЙНЫМ ВЫКЛЮЧАТЕЛЯМ
ДЛЯ ВНЕШНИХ И ВНУТРЕННИХ ОСВЕТИТЕЛЬНЫХ ПРИБОРОВ
Switches for household and similar fixed electrical
installations. Part 2-6. Particular requirements. Fireman's
switches for exterior and interior signs and luminaires
(IEC 60669-2-6:2012, "Switches for household and similar
fixed electrical installations - Part 2-6: Particular
requirements - Fireman's switches for exterior
and interior signs and luminaires", IDT)
ГОСТ IEC 60669-2-6-2015
Дата введения
1 января 2025 года
с правом досрочного применения
Цели, основные принципы и общие правила проведения работ по межгосударственной стандартизации установлены
ГОСТ 1.0 "Межгосударственная система стандартизации. Основные положения" и
ГОСТ 1.2 "Межгосударственная система стандартизации. Стандарты межгосударственные, правила и рекомендации по межгосударственной стандартизации. Правила разработки, принятия, обновления и отмены"
1 ПОДГОТОВЛЕН Научно-производственным республиканским унитарным предприятием "Белорусский государственный институт стандартизации и сертификации" (БелГИСС) на основе собственного перевода на русский язык англоязычной версии стандарта, указанного в
пункте 5
2 ВНЕСЕН Государственным комитетом по стандартизации Республики Беларусь
3 ПРИНЯТ Межгосударственным советом по стандартизации, метрологии и сертификации (протокол от 27 февраля 2015 г. N 75-П)
За принятие проголосовали:
Краткое наименование страны по МК (ИСО 3166) 004-97 | Код страны по МК (ИСО 3166) 004-97 | Сокращенное наименование национального органа по стандартизации |
Беларусь | BY | Госстандарт Республики Беларусь |
Киргизия | KG | Кыргызстандарт |
Молдова | MD | Молдова-Стандарт |
Россия | RU | Росстандарт |
Таджикистан | TJ | Таджикстандарт |
Узбекистан | UZ | Узстандарт |
4
Приказом Федерального агентства по техническому регулированию и метрологии от 27 февраля 2024 г. N 247-ст межгосударственный стандарт ГОСТ IEC 60669-2-6-2015 введен в действие в качестве национального стандарта Российской Федерации с 1 января 2025 г. с правом досрочного применения
5 Настоящий стандарт идентичен международному стандарту IEC 60669-2-6:2012 "Выключатели для стационарных электрических установок бытового и аналогичного назначения. Часть 2-6. Дополнительные требования. Пожарные выключатели внешних и внутренних знаков и светильников" ("Switches for household and similar fixed electrical installations - Part 2-6: Particular requirements - Fireman's switches for exterior and interior signs and luminaires", IDT).
Международный стандарт разработан подкомитетом 23B "Штепсели, розетки и выключатели" Технического комитета 23 "Электрическое вспомогательное оборудование" Международной электротехнической комиссии (IEC).
Наименование настоящего стандарта изменено относительно наименования международного стандарта для приведения в соответствие с ГОСТ 1.5
(подраздел 3.6).
При применении настоящего стандарта рекомендуется использовать вместо ссылочных международных стандартов соответствующие им межгосударственные стандарты, сведения о которых приведены в дополнительном
приложении ДА
6 ВВЕДЕН ВПЕРВЫЕ
Информация о введении в действие (прекращении действия) настоящего стандарта и изменений к нему на территории указанных выше государств публикуется в указателях национальных стандартов, издаваемых в этих государствах, а также в сети Интернет на сайтах соответствующих национальных органов по стандартизации.
В случае пересмотра, изменения или отмены настоящего стандарта соответствующая информация будет опубликована на официальном интернет-сайте Межгосударственного совета по стандартизации, метрологии и сертификации в каталоге "Межгосударственные стандарты"
Настоящий стандарт представляет собой прямое применение международного стандарта IEC 60669-2-6:2012 "Выключатели бытовых и аналогичных стационарных электрических установок. Часть 2-6. Дополнительные требования к аварийным выключателям для внешних и внутренних осветительных приборов".
Настоящий стандарт применяют совместно с IEC 60669-1:1998 с изменениями 1:1999 и 2:2006.
Подразделы, рисунки, таблицы или примечания, номера которых начинаются со 101, являются дополнительными по отношению к пунктам стандарта части 1.
Применяют соответствующий раздел части 1 со следующими изменениями.
Замена первого абзаца следующим:
Настоящий стандарт распространяется на аварийные выключатели, применяемые для размыкания низковольтных электрических цепей питания осветительных приборов внутренней и наружной установки, таких как неоновые вывески, рассчитанных на номинальное напряжение не более 440 В и номинальный ток не более 125 А.
Примечание 101 - Во всех странах CENELEC осветительные приборы и установки с газосветными трубками с номинальным напряжением от 1 до 10 кВ должны соответствовать требованиям стандартов серии EN 50107.
Замена 6-го абзаца и примечания 6 следующими абзацем и примечаниями:
Аварийные выключатели, соответствующие требованиям настоящего стандарта, могут применяться в диапазоне температур от минус 25 °C до плюс 70 °C.
Примечание 102 - Аварийные выключатели предназначены для эксплуатации в условиях с категорией перенапряжения III и степенью загрязнения 2 по IEC 60664-1.
Примечание 103 - Для выполнения требований, установленных в области применения настоящего стандарта, согласно действующим правилам и/или законодательству в области электроустановок, в Италии может потребоваться установка дополнительных устройств защитного отключения (переключения).
Применяют соответствующий раздел части 1 со следующими дополнениями.
IEC 60669-1:1998
<1>, Switches for household and similar fixed electrical installations - Part 1: General requirements (Выключатели для стационарных электрических установок бытового и аналогичного назначения. Часть 1. Общие требования)
Примечание - Любая ссылка на IEC 60669-1, приведенная в тексте, включает любые изменения к основному изданию (1998 г.), представленные изменениями 1:1999 и 2:2006.
--------------------------------
<1> Заменен на IEC 60669-1:2017. Однако для однозначного соблюдения требования настоящего стандарта, выраженного в датированной ссылке, рекомендуется использовать только указанное в этой ссылке издание.
IEC 62262:2002, Degrees of protection provided by enclosures for electrical equipment against external mechanical impacts (IK code) (Степени защиты электрического оборудования, обеспечиваемые оболочками, защищающими от внешних механических ударов (код IK)).
Применяют соответствующий раздел части 1 со следующим дополнением.
Дополнение:
3.101 аварийный выключатель (fireman's switch): Выключатель для аварийного отключения осветительных электроустановок.
Применяют настоящий раздел части 1.
5 Общие требования к испытаниям
Применяют настоящий раздел части 1.
Применяют настоящий раздел части 1 со следующими изменениями.
6.2 В первом абзаце исключить значения "6 А" и "10 А".
Дополнить значениями "80 А, 100 А и 125 А".
Применяют настоящий раздел части 1 со следующими изменениями и дополнениями:
7.1.1 Дополнение после примечания 2:
Аварийные выключатели должны быть только для схем 2, 3 или 03.
7.1.2 Не применяют настоящий пункт части 1.
7.1.4 Замена:
7.1.4 В зависимости от степени защиты от вредного проникновения воды выключатели классифицируют следующим образом:
- защищенные от воздействия водяных струй со степенью защиты IPX5;
- защищенные от воздействия сильных водяных струй со степенью защиты IPX6.
Примечание - Поясняющая информация по кодам IP согласно IEC 60259.
7.1.5 Замена:
7.1.5 В зависимости от метода действия выключатели бывают:
- перекидные.
Примечание - Другой метод действия не допускается.
7.1.6 Замена:
7.1.6 В зависимости от метода установки выключатели подразделяют на следующие типы:
- открытый;
- полускрытый.
Примечание - Другой метод установки не допускается.
7.1.9 Замена:
7.1.9 В зависимости от степени защиты от доступа к опасным частям и от вредных последствий из-за попадания внешних твердых предметов выключатели классифицируют следующим образом:
- IPX5: защищенные от доступа к опасным частям с проводом и пылезащищенные;
- IPX6: защищенные от доступа к опасным частям с проводом и пыленепроницаемые.
7.2 Заменить в таблице 1, первой колонке, последней строке, значения "16, 20, 25, 32, 40 и 63" значением "равно и свыше 16".
Применяют настоящий раздел части 1 со следующими изменением и дополнениями:
8.1 Замена первого перечисления следующим:
- номинальный ток в амперах (А);
Дополнение:
- символы IEC 60417-5007 (2002-10) и IEC 60417-5008 (2002-10) соответственно для разомкнутого положения (откл.) и замкнутого положения (вкл.);
8.3 Дополнение:
Следующая информация должна быть отчетливо указана на аварийном выключателе и расположена в месте, где ее можно ясно видеть, не открывая кожух выключателя при установке выключателя:
- высота символов "Положение "выключено" и "Положение "включено" - не менее 10 мм;
- высота букв слова "НЕОН" - не менее 15 мм.
8.6 Исключить примечание 1.
Применяют настоящий раздел части 1.
10 Защита от поражения электрическим током
Применяют настоящий раздел части 1.
Применяют настоящий раздел части 1.
Применяют настоящий раздел части 1 со следующими изменениями.
12.2.1 Замена таблицы 2 следующей таблицей:
Таблица 2
Соотношение между номинальными токами
и площадями поперечных сечений медных
проводников для зажимов винтового типа
Диапазоны номинальных токов, А | Жесткие проводники (однопроволочные или многопроволочные) <a> |
Номинальные площади поперечных сечений, мм2 | Наибольший диаметр проводника, мм |
| От 1,5 до 4 включ. | 2,72 |
Св. 16 до 25 включ. | " 2,5 " 6 " | 3,34 |
" 25 " 32 " | " 4 " 10 " | 4,34 |
" 32 " 50 " | " 6 " 16 " | 5,46 |
" 50 " 80 " | " 10 " 25 " | 6,85 |
" 80 " 100 " | " 16 " 35 " | 7,90 |
" 100 " 125 " | " 25 " 50 " | 9,10 |
<a> Допускается использование гибких проводников. <b> Каждый питающий зажим аварийных выключателей, кроме выключателей со схемами 3 и 03, должен позволять присоединение двух проводов сечением 2,5 мм 2. Для аварийных выключателей, работающих при номинальном напряжении не выше 250 В, достаточно круглого отверстия для присоединения двух проводов сечением 2,5 мм 2. |
12.2.5 Замена таблицы 3 следующей таблицей:
Таблица 3
Крутящий момент для проверки механической прочности
зажимов винтового типа
Номинальный диаметр резьбы, мм | Крутящий момент, Н·м |
| | | | |
до 1,6 включ. | 0,05 | - | 0,1 | 0,1 | - |
Св. 1,6 до 2,0 включ. | 0,1 | - | 0,2 | 0,2 | - |
" 2,0 " 2,8 " | 0,2 | - | 0,4 | 0,4 | - |
" 2,8 " 3,0 " | 0,25 | - | 0,5 | 0,5 | - |
" 3,0 " 3,2 " | 0,3 | - | 0,6 | 0,6 | - |
" 3,2 " 3,6 " | 0,4 | - | 0,8 | 0,8 | - |
" 3,6 " 4,1 " | 0,7 | 1,2 | 1,2 | 1,2 | 1,2 |
" 4,1 " 4,7 " | 0,8 | 1,2 | 1,8 | 1,8 | 1,8 |
" 4,7 " 5,3 " | 0,8 | 1,4 | 2,0 | 2,0 | 2,0 |
" 5,3 " 6,0 " | 1,2 | 1,8 | 2,5 | 3,0 | 3,0 |
" 6,0 " 8,0 " | 2,5 | 2,5 | 3,5 | 6,0 | 4,0 |
" 8,0 " 10,0 " | - | 3,5 | 4,0 | 10,0 | 6,0 |
" 10,0 " 12,0 " | - | 4,0 | - | - | 8,0 |
" 12,0 " 15,0 " | - | 5,0 | - | - | 10,0 |
Примечание 1 - Колонка 1 относится к винтам без головок, если винт в затянутом положении не выступает из отверстия, и к другим винтам, которые не могут быть затянуты с помощью отвертки с лезвием шире, чем диаметр винта. Колонка 2 относится к гайкам колпачковых зажимов, которые затягивают отверткой. Колонка 3 относится к другим типам винтов, которые затягивают отверткой. Колонка 4 относится к гайкам колпачковых зажимов, которые затягивают не отверткой, а другими инструментами. Колонка 5 относится к винтам или гайкам, кроме гаек колпачковых зажимов, которые затягивают не отверткой, а другими инструментами. Если винт имеет шестигранную головку со шлицем для затягивания его отверткой, а значения крутящего момента в колонках 3 и 5 различны, то испытание проводят дважды. Сначала к шестигранной головке прикладывают крутящий момент, указанный в колонке 5, при помощи других инструментов, кроме отвертки, а затем - крутящий момент при помощи отвертки, указанный в колонке 3. Если значения в колонках 3 и 5 одинаковы, то проводят только испытание с отверткой. Примечание 2 - В колпачковых зажимах указанный номинальный диаметр является диаметром штифта со шлицем. Примечание 3 - Форма лезвия испытательной отвертки должна соответствовать размеру головки испытуемого винта. Примечание 4 - Винты и гайки не должны затягиваться рывками. |
Замена таблицы 4 следующей таблицей:
Таблица 4
Параметры испытаний на изгиб и вытягивание
для медных проводников
Проводник с площадью поперечного сечения, мм2 | Диаметр отверстия гильзы <a>, мм | | Масса проводника, кг |
1,5 | 6,5 | 260 | 0,4 |
2,5 | 9,5 | 280 | 0,7 |
4,0 | 9,5 | 280 | 0,9 |
6,0 | 9,5 | 280 | 1,4 |
10,0 | 9,5 | 280 | 2,0 |
16,0 | 13,0 | 300 | 2,9 |
25,0 | 13,0 | 300 | 4,5 |
35,0 | 14,5 | 320 | 6,8 |
50,0 | 16,0 | 340 | 9,5 |
<a> Если диаметр отверстия в гильзе недостаточно велик для размещения проводника без перекручивания, может быть использована гильза с отверстием большего размера. <b> Допуск на высоту H = +/- 15 мм. |
12.2.6 Замена таблицы 5 следующей таблицей:
Таблица 5
Параметры для испытания на натяжение
Площадь поперечного сечения проводников, присоединяемых к зажиму, мм2 | от 1,5 до 2,5 включ. | от 2,5 до 4 включ. | от 4 до 6 включ. | от 6 до 10 включ. | от 10 до 16 включ. | от 16 до 25 включ. | от 25 до 35 включ. | от 35 до 50 включ. |
Сила натяжения, Н | 50 | 50 | 60 | 80 | 90 | 100 | 190 | 235 |
12.2.7 Замена таблицы 6 следующей таблицей:
Таблица 6
Структура и размеры проводов
Площадь поперечного сечения, мм2 | Число проволок и их номинальный диаметр, мм |
Однопроволочный проводник | Многопроволочный проводник |
1,5 | 1·1,38 | 7·0,52 |
2,5 | 1·1,78 | 7·0,67 |
4,0 | 1·2,25 | 7·0,86 |
6,0 | 1·2,76 | 7·1,05 |
10,0 | 1·3,57 | 7·1,35 |
16,0 | - | 7·1,70 |
25,0 | - | 7·2,14 |
35,0 | - | 7·2,53 |
50,0 | - | 19·1,83 |
12.3.2 Замена таблицы 7 следующей таблицей:
Таблица 7
Соотношение между номинальными токами и площадями
поперечных сечений присоединяемых медных
проводников для безвинтовых зажимов
Номинальный ток, А | Проводники |
Номинальная площадь поперечного сечения, мм2 | Диаметр наибольшего жесткого провода, мм | Диаметр наибольшего гибкого провода, мм |
| 1,5 - 2,5 | 2,13 | 2,21 |
<a> Каждый питающий зажим аварийных выключателей, кроме выключателей со схемами 3 и 03, должен позволять присоединение двух проводников сечением 2,5 мм 2. В таких случаях должен быть использован зажим с отдельными независимыми зажимными устройствами для каждого проводника. |
12.3.11 Замена таблицы 8 следующей таблицей:
Таблица 8
Испытательный ток для проверки электрических и тепловых
нагрузок при нормальной эксплуатации безвинтовых зажимов
Номинальный ток, А | Испытательный ток, А | Площадь поперечного сечения проводника, мм2 |
16 | 22 | 2,5 |
12.3.12 Замена таблиц 9 и 10 следующими таблицами:
Таблица 9
Площадь поперечных сечений жестких медных проводников
для испытания на отклонение в безвинтовых зажимах
Номинальный ток, А | Площадь поперечного сечения испытуемого проводника, мм2 |
Первый испытательный цикл | Второй испытательный цикл |
16 | 1,5 | 2,5 |
Таблица 10
Отклоняющие испытательные усилия
Площадь поперечного сечения испытуемого проводника, мм2 | Усилие для отклонения испытуемого проводника <a>, Н |
1,5 | 0,5 |
2,5 | 1,0 |
<a> Усилия выбирают так, что они нагружают проводники близко к пределу их эластичности. |
13 Требования к конструкции
Применяют настоящий раздел части 1 за исключением следующего.
13.9 Настоящий подраздел не применяют.
13.15.1 Замена пятого абзаца следующим:
Затем аварийные выключатели помещают на 2 ч в термошкаф, как описано в 15.1, при температуре (70 +/- 2) °C.
Дополнение:
13.101 Рычаг
должен находиться
После установки рычаг в положении "откл." должен находиться вертикально под углом (+/- 15°), а рычаг в положении "вкл." - под углом 80° (+15°) от положения "откл.".
Примечание 101 - Положение "вкл." означает подачу питания, а положение "откл." означает остановку подачи питания.
Примечание 102 - В Национальных правилах электропроводки может быть указано положение "откл." рычага - вертикально вверх или вертикально вниз.
Соответствие проверяют осмотром и измерениями.
13.102 Функциональные требования
Рычаг должен легко идентифицироваться, а его длина должна быть не менее 30 мм. Длина представляет собой длину отступа от лицевой стороны кожуха, когда рычаг находится в положении "вкл.".
При наличии у рычага кольца минимальный внутренний диаметр кольца должен составлять 15 мм.
Соответствие проверяют измерением.
13.103 Усилия срабатывания
Усилие, необходимое для срабатывания выключателя, должно находиться в диапазоне от 10 до 50 Н.
Усилие прикладывают к концу рычага или используемого кольца, при наличии.
Соответствие проверяют измерением, после того как механизм сработал 5 раз.
После испытания не должно быть повреждений у образца, препятствующих его дальнейшему использованию.
13.104 Защитный кожух
Доступ к токоведущим частям должен обеспечиваться исключительно при помощи инструмента и при нахождении рычага в положении "откл.".
Соответствие проверяют осмотром.
13.105 Степень защиты от механических ударов
Степень защиты от механических ударов должна быть не менее IK 07 в соответствии с IEC 62262.
Соответствие проверяют испытаниями согласно разделу 20.
13.106 Система блокировки
Для недопущения непреднамеренного срабатывания рычага из положения "откл." в положение "вкл." должна быть предусмотрена система блокировки.
Соответствие проверяют осмотром.
13.107 Световой указатель
Световой указатель, при его наличии на кожухе выключателя, должен:
- быть красного цвета;
- загораться, когда контакты выключателя замкнуты;
- быть виден на расстоянии 3 м при общем освещении величиной 100 лк и 500 лк.
Измерение выполняют вертикально с лицевой стороны изделия (см.
рис. 101). Продолжительность срока службы светового указателя должна составлять 50 000 ч.
Рисунок 101 - Минимальная зона видимости
Соответствие проверяют осмотром и в соответствии с информацией, указанной поставщиком, на световом указателе.
13.108 Цвет
Кожух должен быть окрашен в красный цвет (шкала цветов RAL 3000 или 3020), а рычаг должен иметь черный цвет.
Примечание 101 - Во Франции кожух аварийного выключателя и рычага может быть не только красного цвета, в случае если аварийный выключатель оснащен красным световым указателем согласно
13.107. Окрашивание в желтый, зеленый и голубой цвета не допускается (согласно ISO 3864-1:2002).
Соответствие проверяют осмотром.
Применяют настоящий раздел части 1.
15 Устойчивость к старению, защита, обеспечиваемая оболочкой, и влагоустойчивость
Применяют настоящий раздел части 1 со следующим дополнением.
15.2.2 Дополнение в конце второго абзаца:
После проведенного испытания вода, ни при каких условиях, не должна попасть в аварийный выключатель.
16 Сопротивление и электрическая прочность изоляции
Применяют настоящий раздел части 1 со следующим дополнением.
Дополнение:
16.101 Аварийные выключатели должны иметь соответствующую изоляцию. Испытание аварийных выключателей проводят в новых, чистых и сухих помещениях, когда они находятся в разомкнутом положении, между зажимами каждого полюса.
Соответствие проверяют следующим испытанием.
Импульсное напряжение 1,2/50 мкс подают между линейными зажимами, соединенными вместе, при этом нагрузочные зажимы, соединенные вместе, находятся в разомкнутом положении согласно рис. 6 IEC 60060-1:2010.
Импульсы подаются генератором, производящим положительные и отрицательные импульсы, с длительностью фронта 1,2 мкс и длительностью, за которое значение 50 мкс уменьшится вдвое; в данном случае погрешности следующие:
+/- 5% для пикового значения;
+/- 30% для времени нарастания импульса;
+/- 20% для длительности, за которое значение уменьшится вдвое.
Форму импульсов регулируют при помощи испытуемого аварийного выключателя с подключением к импульсному генератору. Для этого используют соответствующие делители и датчики напряжения.
Допускаются незначительные осцилляции в импульсах, при условии, что их амплитуда около пика импульса составляет менее 5% пикового значения.
В случае осцилляции первой половины фронта допускаются амплитуды до 10% от пикового значения.
Испытательное напряжение подают трижды с минимальными интервалами в 1 с.
При проведении испытания не должно быть разрядов.
Примечание 101 - Волновое сопротивление испытательной аппаратуры должно составлять 500 Ом; значительное снижение данного значения находится на стадии рассмотрения.
Примечание 102 - Термин "разряд" применяется при рассмотрении явления, связанного с пробоем изоляции при электростатической нагрузке, которая включает движение тока и падение напряжения.
Таблица 101
Испытательное напряжение в разомкнутых контактах
для проверки соответствия изоляции, соотносимое
с номинальным напряжением аварийного выключателя
и с высотой, на которой проводят испытание
Номинальное напряжение, В | Испытательное напряжение (кВ) и соответствующая высота над уровнем моря (м) |
Высота над уровнем моря | 200 | 500 | 1000 | 2000 |
250/440 | 6,2 | 6 | 5,8 | 5,6 | 5 |
17 Превышение температуры
Применяют настоящий раздел части 1 за исключением следующего.
17.1 Замена таблицы 15 следующей таблицей:
Таблица 15
Токи и площади поперечных сечений медных проводников
при испытании на превышение температуры
Номинальный ток, А | Испытательный ток, А | Номинальная площадь поперечного сечения проводников, мм2 |
16 | 20,0 | |
20 | 25,0 | 4 |
25 | 32,0 | 6 |
32 | 38,0 | 10 |
40 | 46,0 | 16 |
45 | 51,0 | 16 |
50 | 57,5 | 16 |
63 | 75,0 | 25 |
80 | 90,0 | 25 |
100 | 115,0 | 35 |
125 | 145,0 | 50 |
<a> Для аварийных выключателей, рассчитанных на номинальное напряжение не выше 250 В, кроме выключателей схем 3 и 03, испытание следует проводить на проводниках с площадью поперечного сечения 2,5 мм 2. |
Замена предпоследнего абзаца перед примечанием 5:
Температуры зажимов не должны превышать следующих значений:
- 45 К для аварийных выключателей с номинальным током до 63 А включительно;
- 65 К для аварийных выключателей с номинальным током более 63 А.
18 Включающая и разрывная мощность
Применяют настоящий раздел части 1.
Применяется настоящий раздел части 1 со следующим изменением и дополнениями.
19.1 Замена предложения "Число операций установлено в таблице 17." предложением "Число операций ограничено до 500.".
Таблицу 17 не применяют.
Дополнение:
После проведенных испытаний на нормальный режим работы аварийный выключатель должен иметь максимальный ток утечки 6 мА при напряжении 110% от номинального напряжения.
19.2 Настоящий подраздел не применяют.
Дополнение:
19.101 Аварийные выключатели должны правильно срабатывать при температуре окружающей среды от минус 25 °C до плюс 70 °C.
Соответствие проверяют следующим испытанием.
Аварийный выключатель сначала помещают в камеру холода при температуре минус 25 °C на 2 ч. Затем аварийный выключатель извлекают из камеры холода и запускают 10 раз при отсутствии тока, чтобы проверить, что при каждой операции контакты размыкаются и замыкаются.
Затем аварийный выключатель выдерживают при температуре окружающей среды в течение 4 ч.
В конечном итоге аварийный выключатель помещают в термошкаф при температуре плюс 70 °C на 2 ч. Затем аварийный выключатель извлекают из термошкафа и запускают 10 раз при отсутствии тока, чтобы проверить, что при каждой операции контакты размыкаются и замыкаются.
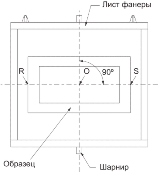
20 Механическая прочность
Применяют настоящий раздел части 1 за исключением следующего.
20.1 Замена:
20.1 Степень защиты от механических ударов должна быть не менее IK 07 согласно IEC 62262.
Соответствие проверяют согласно IEC 62262, нанося удары при помощи маятникового копра, как установлено в IEC 60068-2-75:1997 (испытание EHA).
Схемы нанесения ударов указаны на
рис. 102 настоящего стандарта.
Применяют настоящий раздел части 1 за исключением следующего.
21.3 Замена:
21.3 Части изоляционного материала, не предназначенные для крепления токоведущих частей и частей заземляющей цепи, даже если они контактируют с ними, испытывают давлением шарика в соответствии с 21.2.
22 Винты, токоведущие части и соединения
Применяют настоящий раздел части 1.
23 Пути утечки тока, воздушные зазоры и расстояния через заливочную массу
Применяется настоящий раздел части 1 за исключением следующего.
Замена пункта 1 таблицы 20:
1 Между токоведущими частями, разделенными, когда контакты разомкнуты .................. 4
Замена пункта 6 таблицы 20:
6 Между токоведущими частями, разделенными, когда контакты разомкнуты .................. 4
Дополнить следующей сноской к таблице 20:
<101> Если значение ниже 4 мм, но не ниже 3 мм, аварийный выключатель соответствует требованиям настоящего стандарта при соблюдении требования
16.101.
24 Стойкость изоляционного материала к аномальному нагреву, огню и трекингостойкость
Применяют настоящий раздел части 1.
Применяют настоящий раздел части 1.
26 Требования к электромагнитной совместимости
Применяется настоящий раздел части 1.
Дополнить следующим рисунком:
Рисунок 102 - Схемы нанесения ударов, лист 1
Нанесение ударов |
Схема | Общее число ударов | Точки нанесения | Испытуемые части |
| | ИС МЕГАНОРМ: примечание. Текст в графе "Точки нанесения" дан в соответствии с официальным текстом документа. | |
|
| 3 | Одна в центре | A |
| 2 | | A |
| 2 | Одна на поверхности T <a>Одна на поверхности U <a> | B, C и D |
| 2 | Одна на поверхности V <a>Одна на поверхности Z <a> | B, C и D |
<a> Удар наносят по наиболее неблагоприятной точке. |
Рисунок 102, лист 2
(справочное)
СВЕДЕНИЯ О СООТВЕТСТВИИ ССЫЛОЧНЫХ МЕЖДУНАРОДНЫХ
СТАНДАРТОВ МЕЖГОСУДАРСТВЕННЫМ СТАНДАРТАМ
Таблица ДА.1
Обозначение ссылочного международного стандарта | Степень соответствия | Обозначение и наименование соответствующего межгосударственного стандарта |
IEC 60669-1:1998 | - | |
IEC 62262:2002 | IDT | ГОСТ IEC 62262-2015 "Электрооборудование. Степени защиты, обеспечиваемой оболочками от наружного механического удара (код IK)" |
<*> Соответствующий межгосударственный стандарт отсутствует. До его принятия рекомендуется использовать перевод на русский язык данного международного стандарта. Примечание - В настоящей таблице использовано следующее условное обозначение степени соответствия стандарта: - IDT - идентичный стандарт. |
--------------------------------
<1> Действует
ГОСТ Р 51324.1-2012 (МЭК 60669-1:2007) "Выключатели для бытовых и аналогичных стационарных электрических установок. Часть 1. Общие требования".
Дополнение:
[1] | IEC 60669-2-4:2004 | Switches for household and similar fixed electrical installations - Part 2-4: Particular requirements - Isolating switches (Выключатели для стационарных электрических установок бытового и аналогичного назначения. Часть 2-4. Дополнительные требования. Разъединители) |
[2] | IEC 60364-5-51:2005 | Electrical installations of buildings - Part 5-51: Selection and erection of electrical equipment - Common rules (Электроустановки зданий. Часть 5-51. Выбор и монтаж электрического оборудования. Общие правила) |
[3] | EN 50107-1:2002 | Signs and luminous-discharge-tube installations operating from a no-load rated output voltage exceeding 1 kV but not exceeding 10 kV - Part 1: General requirements (Знаки и установки с газосветными трубками, работающие при номинальном выходном напряжении холостого хода в диапазоне от 1 кВ до 10 кВ. Часть 1. Общие требования) |
[4] | EN 50107-2:2005 | Signs and luminous-discharge-tube installations operating from a no-load rated output voltage exceeding 1 kV but not exceeding 10 kV - Part 2: Requirements for earth-leakage and open-circuit protective devices (Знаки и установки с газосветными трубками, работающие при номинальном выходном напряжении холостого хода в диапазоне от 1 кВ до 10 кВ. Часть 2. Требования к защитным размыкающим устройствам, срабатывающим по току утечки на землю) |
УДК 621.316.57 | | IDT |
Ключевые слова: аварийный выключатель, осветительный прибор, рычаг, общие требования к испытаниям |