Главная // Актуальные документы // ГОСТ Р (Государственный стандарт)СПРАВКА
Источник публикации
М.: Стандартинформ, 2014
Примечание к документу
Документ утрачивает силу с 01.07.2025 в связи с изданием
Приказа Росстандарта от 29.07.2024 N 971-ст. Взамен вводится в действие
ГОСТ 35052.1-2021.
Документ включен в
Перечень международных и региональных (межгосударственных) стандартов, а в случае их отсутствия - национальных (государственных) стандартов, в результате применения которых на добровольной основе обеспечивается соблюдение требований технического
регламента Таможенного союза "О безопасности низковольтного оборудования" (ТР ТС 004/2011) и в
Перечень международных и региональных (межгосударственных) стандартов, а в случае их отсутствия - национальных (государственных) стандартов, содержащих правила и методы исследований (испытаний) и измерений, в том числе правила отбора образцов, необходимые для применения и исполнения требований технического
регламента Таможенного союза "О безопасности низковольтного оборудования" (ТР ТС 004/2011) и осуществления оценки соответствия объектов технического регулирования (
Решение Коллегии Евразийской экономической комиссии от 11.05.2023 N 55).
Документ
введен в действие с 1 января 2014 года.
Название документа
"ГОСТ Р 51324.1-2012 (МЭК 60669-1:2007). Национальный стандарт Российской Федерации. Выключатели для бытовых и аналогичных стационарных электрических установок. Часть 1. Общие требования"
(утв. и введен в действие Приказом Росстандарта от 15.11.2012 N 815-ст)
"ГОСТ Р 51324.1-2012 (МЭК 60669-1:2007). Национальный стандарт Российской Федерации. Выключатели для бытовых и аналогичных стационарных электрических установок. Часть 1. Общие требования"
(утв. и введен в действие Приказом Росстандарта от 15.11.2012 N 815-ст)
Утвержден и введен в действие
агентства по техническому
регулированию и метрологии
от 15 ноября 2012 г. N 815-ст
НАЦИОНАЛЬНЫЙ СТАНДАРТ РОССИЙСКОЙ ФЕДЕРАЦИИ
ВЫКЛЮЧАТЕЛИ ДЛЯ БЫТОВЫХ И АНАЛОГИЧНЫХ
СТАЦИОНАРНЫХ ЭЛЕКТРИЧЕСКИХ УСТАНОВОК
ЧАСТЬ 1
ОБЩИЕ ТРЕБОВАНИЯ
Switches for household and similar fixed electrical
installations. Part 1. General requirements
IEC 60669-1:2007
Switches for household and similar fixed electrical
installations. Part 1: General requirements
(MOD)
ГОСТ Р 51324.1-2012
(МЭК 60669-1:2007)
Дата введения
1 января 2014 года
1. Подготовлен Автономной некоммерческой организацией "Научно-технический центр "Энергия" (АНО "НТЦ "Энергия") на основе собственного аутентичного перевода на русский язык международного стандарта, указанного в пункте 4.
2. Внесен Техническим комитетом по стандартизации ТК 331 "Низковольтная коммутационная аппаратура и комплектные устройства распределения, защиты, управления и сигнализации".
3. Утвержден и введен в действие
Приказом Федерального агентства по техническому регулированию и метрологии от 15 ноября 2012 г. N 815-ст.
4. Настоящий стандарт является модифицированным по отношению к международному стандарту МЭК 60669-1:2007 "Выключатели для бытовых и аналогичных стационарных электрических установок. Часть 1. Общие требования" (IEC 60669-1:2007 "Switches for household and similar fixed electrical installations. Part 1: General requirements").
Сведения о соответствии ссылочных международных стандартов национальным стандартам Российской Федерации, используемым в настоящем стандарте в качестве нормативных ссылок, приведены в
Приложении ДА.
Правила применения настоящего стандарта установлены в ГОСТ Р 1.0-2012
(раздел 8). Информация об изменениях к настоящему стандарту публикуется в ежегодном (по состоянию на 1 января текущего года) информационном указателе "Национальные стандарты", а официальный текст изменений и поправок - в ежемесячном информационном указателе "Национальные стандарты". В случае пересмотра (замены) или отмены настоящего стандарта соответствующее уведомление будет опубликовано в ближайшем выпуске ежемесячного информационного указателя "Национальные стандарты". Соответствующая информация, уведомление и тексты размещаются также в информационной системе общего пользования - на официальном сайте Федерального агентства по техническому регулированию и метрологии в сети Интернет (gost.ru).
Настоящий стандарт представляет собой аутентичный текст международного стандарта МЭК 60669-1:2007 "Выключатели для бытовых и аналогичных стационарных электрических установок. Часть 1 - Общие требования".
В настоящем стандарте раздел "Нормативные ссылки" изложен в соответствии с
ГОСТ Р 1.5-2004 и выделен курсивом. В тексте соответствующие ссылки, а также отдельные поясняющие записи, отсутствующие в международном стандарте, выделены курсивом.
Сведения о соответствии ссылочных международных стандартов национальным стандартам Российской Федерации, используемым в настоящем стандарте в качестве нормативных ссылок, приведены в
Приложении ДА.
Сведения о ссылочных международных стандартах, не введенных в качестве национальных или при отсутствии соответствующих национальных стандартов, приведены в
Приложении "Библиография".
Разработка настоящего стандарта вызвана изменениями, внесенными в международный стандарт МЭК 60669-1:2007, и его последующим переизданием.
Настоящий стандарт может быть использован при оценке соответствия переключателей требованиям технических регламентов.
Настоящий стандарт распространяется на выключатели общего назначения, приводимые в действие вручную (далее - выключатели), предназначенные для бытовых и аналогичных стационарных электрических установок только переменного тока на номинальное напряжение не более 440 В и номинальный ток не более 63 А при установке внутри и вне помещений.
Для выключателей с безвинтовыми зажимами номинальный ток ограничивается значением 16 А.
Настоящий стандарт распространяется на выключатели, предназначенные для управления в нормальных условиях эксплуатации:
- цепями нагрузки ламп накаливания;
- цепями нагрузки люминесцентных ламп (в том числе дросселей стартеров люминесцентных ламп);
- цепями в основном активной нагрузки с коэффициентом мощности не менее 0,95;
- однофазными цепями нагрузки двигателей на номинальный ток до 10 А с коэффициентом мощности не менее 0,6;
- комбинированными вышеперечисленными цепями.
Примечания
1. Область распространения стандарта на выключатели на номинальное напряжение свыше 440 В - в стадии рассмотрения.
2. Повышение номинального тока свыше 10 А для управления электродвигателями - на рассмотрении.
3. В настоящее время выключатели на номинальный ток свыше 10 А приравнивают к выключателям на 10 А для управления электродвигателями.
Настоящий стандарт также распространяется на монтажные коробки для выключателей, за исключением монтажных коробок для выключателей скрытой установки.
Примечание 4. Общие требования к монтажным коробкам для выключателей скрытой установки приведены в
ГОСТ Р 50827.1.
Настоящий стандарт также распространяется на:
- выключатели с сигнальными лампами;
- выключатели с дистанционным электромагнитным управлением (специальные требования изложены в соответствующей части серии стандартов
ГОСТ Р 51324);
- выключатели с устройством задержки времени (специальные требования изложены в соответствующей части серии стандартов
ГОСТ Р 51324);
- комбинации выключателей с другими функциями (за исключением выключателей, комбинируемых с плавкими предохранителями);
- электронные выключатели (специальные требования изложены в соответствующей части серии стандартов
ГОСТ Р 51324);
- выключатели, оснащенные деталями для вывода и удержания гибких кабелей (см.
Приложение B);
- разъединяющие выключатели (специальные требования изложены в соответствующей части серии стандартов
ГОСТ Р 51324).
Примечание 5. Минимальная длина гибких кабелей для таких выключателей регламентируется национальными стандартами.
Выключатели, удовлетворяющие требованиям настоящего стандарта, могут использоваться при температуре окружающей среды, обычно не превышающей 25 °C, но иногда достигающей 35 °C.
Примечание 6. Выключатели, удовлетворяющие требованиям настоящего стандарта, могут быть установлены на оборудовании только таким образом и в таком месте, которые бы исключали возможность повышения температуры окружающей среды свыше 35 °C.
В местах с особыми условиями, например на средствах водного и сухопутного транспорта, или во взрывоопасных местах используют выключатели специальной конструкции.
В настоящем стандарте используются нормативные ссылки на следующие стандарты:
| | ИС МЕГАНОРМ: примечание. ГОСТ Р 50043.1-92 утратил силу с 01.01.2014 в связи с введением в действие ГОСТ 31195.1-2012 (Приказ Росстандарта от 15.11.2012 N 852-ст). Взамен ГОСТ 31195.1-2012 Приказом Росстандарта от 09.12.2020 N 1275-ст введен в действие ГОСТ IEC 60998-1-2017. | |
ГОСТ Р 50043.1-92 (МЭК 60998-1-1990) Соединительные устройства для низковольтных цепей бытового и аналогичного назначения. Часть 1. Общие требования
ГОСТ Р 50043.2-92 (МЭК 60998-2-1-1990) Соединительные устройства для низковольтных цепей бытового и аналогичного назначения. Часть 2-1. Частные требования для соединительных устройств с винтовыми зажимами
ГОСТ Р 50043.3-2000 (МЭК 60998-2-2-91) Соединительные устройства для низковольтных цепей бытового и аналогичного назначения. Часть 2-2. Дополнительные требования к безвинтовым контактным зажимам для присоединения медных проводников
ГОСТ Р 50532-93 (МЭК 212-71) Стандартные условия применения твердых электроизоляционных материалов до и во время испытания
ГОСТ Р 50827.1-2009 (МЭК 60670:2002) Коробки и корпусы для электрических аппаратов, устанавливаемые в стационарные электрические установки бытового и аналогичного назначения. Общие требования
ГОСТ Р 51324 (МЭК 60669) Выключатели для бытовых и аналогичных стационарных электрических установок
ГОСТ Р 51686.1-2000 (МЭК 60999-1-99) Соединительные устройства. Требования к контактным зажимам. Часть 1. Требования к винтовым и безвинтовым контактным зажимам для соединения медных проводников с номинальным сечением от 0,2 до 35 мм2
ГОСТ Р 51686.2-2000 (МЭК 60999-2-95) Соединительные устройства. Требования безопасности к контактным зажимам. Часть 2. Дополнительные требования к винтовым и безвинтовым контактным зажимам для соединения медных проводников с номинальным сечением от 35 до 300 мм2.
ГОСТ Р МЭК 60227-4-2002 (МЭК 60227-4-92) Кабели с поливинилхлоридной изоляцией на номинальное напряжение до 450/750 В включительно. Кабели в оболочке для стационарной прокладки
| | ИС МЕГАНОРМ: примечание. Взамен ГОСТ Р МЭК 60227-5-2002 Приказом Ростехрегулирования от 26.06.2009 N 221-ст с 1 января 2010 года введен в действие ГОСТ Р МЭК 60227-5-2009. | |
ГОСТ Р МЭК 60227-5-2002 (МЭК 60227-5:1997) Кабели с поливинилхлоридной изоляцией на номинальное напряжение до 450/750 В включительно. Часть 5. Гибкие кабели (шнуры)
ГОСТ Р МЭК 60245-4-2008 (МЭК 60245-4:1994) Кабели с резиновой изоляцией на номинальное напряжение до 450/750 В включительно. Часть 4. Шнуры и гибкие кабели
ГОСТ 14254-96 (МЭК 529-89) Степени защиты, обеспечиваемые оболочками (код IP)
ГОСТ 24622-91 (ИСО 2039-2-87) Пластмассы. Измерение твердости. Часть 2. Твердость по Роквеллу
ГОСТ 27473-87 (МЭК 112-79) Материалы электроизоляционные твердые. Метод определения сравнительного и контрольного индексов трекингостойкости во влажной среде
ГОСТ 27483-87 (МЭК 695-2-1-80) Испытания на пожароопасность. Методы испытаний. Испытание нагретой проволокой
ГОСТ 28312-89 (МЭК 60417-73) Аппаратура радиоэлектронная профессиональная. Условные графические обозначения.
Примечание. При пользовании настоящим стандартом целесообразно проверить действие ссылочных стандартов в информационной системе общего пользования - на официальном сайте Федерального агентства по техническому регулированию и метрологии в сети Интернет или по ежегодному информационному указателю "Национальные стандарты", который опубликован по состоянию на 1 января текущего года, и по выпускам ежемесячного информационного указателя "Национальные стандарты" за текущий год. Если заменен ссылочный стандарт, на который дана недатированная ссылка, то рекомендуется использовать действующую версию этого стандарта с учетом всех внесенных в данную версию изменений. Если заменен ссылочный стандарт, на который дана датированная ссылка, то рекомендуется использовать версию этого стандарта с указанным выше годом утверждения (принятия). Если после утверждения настоящего стандарта в ссылочный стандарт, на который дана датированная ссылка, внесено изменение, затрагивающее положение, на которое дана ссылка, то это положение рекомендуется применять без учета данного изменения. Если ссылочный стандарт отменен без замены, то положение, в котором дана ссылка на него, применяется в части, не затрагивающей эту ссылку.
В настоящем стандарте применены следующие термины с соответствующими определениями. При отсутствии других указаний под понятиями "напряжение" и "ток" подразумевают их действующие значения.
3.1. Выключатель (switch): устройство для включения и отключения тока в одной или более электрических цепях.
3.1.1. Кнопочный выключатель (push-button switch): выключатель, управляемый с помощью кнопки, имеющей привод для оперирования усилием, создаваемым частью человеческого тела, обычно ладонью или пальцем руки, и имеющий устройство возврата накопленной энергии, например пружину.
3.1.2. Выключатель с самовозвратом (momentary contact switch): отключающее устройство, которое после срабатывания возвращается автоматически в исходное положение.
Примечание. Контакты выключателей с самовозвратом применяют в кнопках звонков, в выключателях с выдержкой времени и дистанционным управлением.
3.1.3. Кнопочный выключатель с самовозвратом (momentary push-button switch): кнопочный выключатель, который возвращается автоматически в исходное положение после срабатывания.
3.1.4. Шнурковый выключатель (cord-operated switch): выключатель, в котором исполнительным механизмом является шнурок, натяжением которого изменяют положение контактов.
3.1.5. Выключатель с нормальным зазором (switch of normal (gap) construction): выключатель, конструктивно выполненный таким образом, что зазор между его контактами составляет 3 мм и более и соответствует требованиям к рабочим характеристикам конструкции выключателя с нормальным зазором.
3.1.6. Выключатель с минимальным зазором (switch of mini-gap construction): выключатель, конструктивно выполненный таким образом, что зазор между его контактами составляет 1,2 мм и более и соответствует требованиям к рабочим характеристикам конструкции выключателя с минимальным зазором.
3.1.7. Выключатель с микрозазором (switch of micro-gap construction): выключатель, конструктивно выполненный без установленного зазора и отвечающий требованиям к рабочим характеристикам конструкции выключателя с микрозазором.
3.2. Операция (one operation): перемещение подвижных контактов из одного рабочего положения в другое.
3.3. Зажим (terminal): проводящая часть одного полюса, состоящая из одного или более зажимных устройств и изолированная, если необходимо.
3.4. Зажимное устройство (clamping unit): элемент или элементы зажима, необходимые для механической фиксации и электрического соединения проводника (проводников).
3.5. Зажим винтового типа (terminal with screw clamping): зажим для присоединения исключительно путем прижатия внешнего жесткого или гибкого проводников.
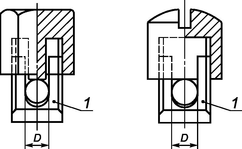
3.6. Торцевой зажим (pillar terminal): зажим винтового типа, в отверстие которого вставляют проводник и прижимают торцом винта (винтов). Усилие зажима может осуществляться непосредственно винтом или с помощью промежуточной прижимной детали, к которой прилагается усилие винта.
Примечание. Примеры торцевых зажимов приведены на
рисунке 1.
3.7. Зажим с крепежной головкой (screw terminal): зажим винтового типа, в котором проводник прижимают головкой винта. Усилие прижима может обеспечиваться непосредственно головкой винта или через промежуточную деталь, которой может быть шайба, прижимная пластина или устройство от самоотвинчивания.
Примечание. Примеры зажимов с крепежной головкой приведены на
рисунке 2.
3.8. Зажим под гайку (stud terminal): зажим винтового типа, в котором проводник прижимают гайкой. Усилие прижима может обеспечиваться непосредственно фасонной гайкой либо через промежуточную деталь, например шайбу, прижимную пластину или устройство от самоотвинчивания.
Примечание. Примеры зажимов под гайку приведены на
рисунке 2.
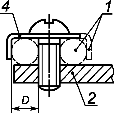
3.9. Зажим с прижимной планкой (saddle terminal): зажим, в котором проводник прижимают планкой при помощи двух или более винтов или гаек.
Примечание. Примеры зажимов с прижимной планкой приведены на
рисунке 3.
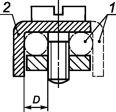
3.10. Зажим под наконечник (lug terminal): зажим под винт или шпильку, в котором присоединительный прижим кабеля или шины осуществляется винтом или гайкой.
Примечание. Примеры зажимов под наконечник приведены на
рисунке 4.
3.11. Зажим под колпачок (mantle terminal): зажим винтового типа, в котором проводник прижимают к вырезу в резьбовом болте при помощи гайки. Проводник прижимают к вырезу шайбой особой формы при помощи гайки с центральным штифтом, если гайка является колпачковой, или другим эквивалентным эффективным средством для передачи давления от гайки к проводнику в пределах паза.
Примечание. Примеры зажимов под колпачок приведены на
рисунке 5.
3.12. Безвинтовой зажим (screwless terminal): устройство для присоединения и последующего отсоединения жесткого (сплошного или скрученного) или гибкого проводника или для взаимного соединения двух проводников, которые в дальнейшем можно будет разъединить, причем соединение может быть прямое и непрямое и может быть выполнено при помощи пружин, деталей в виде уголка эксцентричной или конической формы и т.п., без специальной подготовки проводников, за исключением снятия с них изоляции.
3.13. Самонарезающий формующий винт (thread-forming screw): самонарезающий винт, имеющий непрерывную резьбу, который, вращаясь, формирует резьбу вытеснением материала.
Примечание. Пример такого винта приведен на
рисунке 6.
3.14. Самонарезающий режущий винт (thread-cutting screw): самонарезающий винт, имеющий прерывистую резьбу, который, вращаясь, формирует резьбу с удалением материала.
Примечание. Пример такого винта приведен на
рисунке 7.
3.15. Механическое устройство выдержки времени (mechanical time-delay device): устройство, которое с помощью механического приспособления срабатывает спустя некоторое время после того, как будут созданы необходимые условия для его срабатывания.
3.16. Основание (base): часть выключателя, на которой крепятся токоведущие части и механизм выключателя.
3.17. Номинальное напряжение (rated voltage): напряжение, установленное для выключателя изготовителем.
3.18. Номинальный ток (rated current): ток, установленный для выключателя изготовителем.
3.19. Управляющий элемент (operating member): часть шнуркового выключателя, которая соединяет внутренний механизм с тяговым шнуром. Его обычно закрепляют за передаточную деталь выключателя.
3.20. Полюс (выключателя) (pole (of a switch)): часть выключателя, связанная одной токопроводящей частью (путем) с его цепью (цепями), имеющая контакты, предназначенные для замыкания и размыкания самой цепи, исключая те части, которые служат для монтажа и совместного оперирования полюсами.
Проводящая часть может быть образована отдельными частями, общими с другими проводящими частями выключателя.
3.21. Передаточная деталь (actuating member): часть выключателя, которую тянут, толкают, вращают или перемещают другим образом, чтобы вызвать срабатывание выключателя.
3.22. Сигнальная лампа (pilot light): устройство, встроенное либо монтируемое на выключателе, содержащее источник света и предназначенное, например, для индикации состояния выключателя или его местоположения.
Выключатели и их монтажные коробки должны иметь такую конструкцию, которая в нормальных условиях эксплуатации обеспечивала бы их надежную работу и была бы безопасной для потребителя и окружающей среды.
Соответствие всем требованиям проверяют проведением испытаний.
5. Общие требования к испытаниям
5.1. Испытания в соответствии с настоящим стандартом являются типовыми.
5.2. Если нет других указаний, образцы испытывают в состоянии поставки в нормальных условиях эксплуатации.
В отсутствие других указаний выключатели, имеющие оснащение для сигнальных ламп, следует испытывать с установленными сигнальными лампами. Результаты этих испытаний действительны для выключателей подобного типа, но не имеющих таких устройств.
Выключатели для скрытой установки, которые не подходят под общепринятые стандартные условия, испытывают вместе с соответствующей монтажной коробкой.
5.3. Испытания проводят в порядке следования пунктов стандарта при температуре окружающей среды от 15 °C до 35 °C, если нет других указаний. Если есть сомнения, испытания проводят при температуре окружающей среды (20 +/- 5) °C.
5.4. Для испытания выключателей, маркированных одним значением номинального напряжения и одним значением номинального тока, необходимо иметь девять образцов.
Три образца подвергают всем необходимым испытаниям, кроме испытания, указанного в
19.2, для которого используют другой комплект из трех образцов (или два других комплекта образцов со
схемой 2), а для испытания, указанного в
разделе 24, используют последние три образца.
Для испытания по
24.2 могут потребоваться три дополнительных образца.
Для испытаний по
12.3.2 необходимы еще три дополнительных образца.
Для испытаний по
12.3.11 требуются дополнительные образцы выключателей, имеющих в общем не менее пяти безвинтовых зажимов.
Для испытаний по
12.3.12 необходимы три дополнительных образца выключателей; на каждом образце проверяют одно прижимное устройство.
Для каждого испытания, указанного в
13.15.1 и
13.15.2, требуются три дополнительных образца отдельных сальниковых вводов или выключателей, имеющих сальниковые вводы.
Для испытаний по
разделу 16 могут потребоваться три дополнительных образца в случае, если выключатели оснащены сигнальными лампами.
Для испытания шнурковых выключателей по
20.9 используют три дополнительных образца.
Для испытания выключателей, маркированных двумя значениями номинального напряжения и соответствующими номинальными токами, необходимо иметь 15 образцов.
Для каждой из двух комбинаций номинального напряжения и номинального тока, маркированных на выключателе, три образца подвергают всем необходимым испытаниям, кроме испытания по
19.2, где используют два (или четыре для выключателей со
схемой 2) дополнительных комплекта из трех образцов.
Выключатель с маркировкой 250/380 В испытывают как выключатель с маркировкой 380 В.
Выключатели с самовозвратом, предназначенные для оперирования звонками, электромагнитные выключатели с дистанционным управлением или выключатели с выдержкой времени не подвергают испытаниям по
18.2 и
19.2.
Примечание. Число образцов, необходимое для испытаний, приведено в
Приложении A.
5.5. Образцы, представленные на все соответствующие испытания, должны удовлетворять требованиям всех предписанных испытаний.
Если один образец не удовлетворяет испытанию вследствие ненадлежащей сборки или дефекта изготовления, то это испытание и любое предшествующее ему, которое могло повлиять на результаты испытаний, должны быть проведены повторно в необходимой последовательности на другом полном комплекте образцов, из которых все должны соответствовать требованиям.
Примечание. Заказчик вместе с образцами, указанными в
5.4, может представить дополнительный комплект образцов на случай, если один образец не выдержит испытания. В этом случае испытательная лаборатория без специального запроса испытывает дополнительные образцы и может забраковать их, если следующий образец не выдержит испытания. Если дополнительный комплект образцов не предоставляется, то повреждение образца повлечет за собой отказ.
6.1. Выключатели предпочтительно должны иметь номинальные напряжения 130, 230, 250, 277, 380, 400, 415 и 440 В.
Для выключателей с самовозвратом, предназначенных для оперирования звонками, электромагнитных выключателей с дистанционным управлением или выключателей с выдержкой времени стандартными номинальными напряжениями являются 130 и 250 В.
При использовании иных напряжений их значения должны быть не ниже 120 В.
6.2. Выключатели предпочтительно должны иметь номинальные токи 6, 10, 16, 20, 25, 32, 40, 45, 50 и 63 А.
Номинальный ток должен быть не менее 6 А, кроме номинальных токов 1, 2 и 4 А для выключателей с самовозвратом, предназначенных для оперирования звонками, электромагнитных выключателей с дистанционным управлением или выключателей с выдержкой времени.
Выключатели на номинальный ток не более 16 А, кроме выключателей с номерами
схем 3 и
03, и выключателей с самовозвратом, должны иметь параметр тока для люминесцентных ламп, равный номинальному.
Для выключателей на номинальный ток от 16 до 25 А включительно проведение испытаний с люминесцентными лампами необязательно.
Соответствие требованиям
6.1 и
6.2 проверяют осмотром маркировки.
6.3. Выключатели предпочтительно должны иметь степень защиты IP20, IP40, IP44, IP54 или IP55.
7.1. Выключатели классифицируют:
7.1.1. В зависимости от способа соединения (см.
рисунок 8) на:
Номер схемы
- однополюсные выключатели ..........................................
1
- двухполюсные выключатели ..........................................
2
- трехполюсные выключатели ..........................................
3
- трехполюсные выключатели плюс коммутируемая нейтраль .............
03
- переключатели однополюсные на два направления .....................
6
- выключатели однополюсные для двух цепей с общим вводом ............
5
- переключатели однополюсные на два направления с одним
положением "выключено" ..................................................
4
- переключатели двухполюсные на два направления ...................
6/2
- переключатели реверсивные на два направления
(или промежуточные выключатели) .........................................
7
Примечания
1. Два или более выключателей, имеющих одинаковые или разные схемы, могут быть установлены на одном общем основании.
2. Номер схемы с положением "выключено" также относится к кнопочным выключателям и выключателям с самовозвратом.
7.1.2. В зависимости от величины зазора между контактами и рабочих характеристик - на выключатели:
- с нормальным зазором;
- с минимальным зазором;
- с микрозазором;
- без контактного зазора (полупроводниковые коммутирующие устройства).
Примечания
1. Выключатели, имеющие полупроводниковое коммутирующее устройство, не имеют зазора.
2. Выключатели, соответствующие настоящему стандарту, имеют функциональное назначение.
7.1.3. Свободный
7.1.4. В зависимости от степени защиты от вредного воздействия в результате проникновения воды - на выключатели со степенью защиты:
- IPX0 - не защищенные от проникновения воды;
- IPX4 - брызгозащищенные;
- IPX5 - струезащищенные.
7.1.5. В зависимости от метода действия - на выключатели:
- поворотные;
- перекидные;
- клавишные;
- кнопочные;
- шнурковые.
7.1.6. В зависимости от метода установки - на выключатели:
- открытого типа;
- скрытого типа;
- полускрытого типа;
- панельного типа;
- карнизного типа.
7.1.7. В зависимости от способа установки, обусловленного конструкцией, - на выключатели:
- в которых крышку или накладку можно снять без отсоединения проводников (конструкция A);
- в которых крышку или накладку нельзя снять без отсоединения проводников (конструкция B).
Примечание. Если выключатель имеет основание (главную часть), которое нельзя отделять от крышки или накладки, и он нуждается в дополнительной пластине, которую можно снимать в процессе ремонта стены, не отсоединяя проводники, то такой выключатель можно отнести к конструкции A при условии, что дополнительная пластина будет удовлетворять требованиям, установленным для крышек и накладок.
7.1.8. В зависимости от типа зажимов - на выключатели:
- с зажимами винтового типа;
- с безвинтовыми зажимами только для жестких проводников;
- с безвинтовыми зажимами для жестких и гибких проводников.
7.1.9. В зависимости от степени защиты от доступа к опасным частям и от вредного воздействия в результате проникновения внешних твердых предметов - на выключатели со степенью защиты:
- IP2X - защищено от доступа к опасным частям пальцем и от вредного воздействия в результате проникновения внешних твердых предметов диаметром 12,5 мм и более;
- IP4X - защищено от доступа к опасным частям проволокой и от вредного воздействия в результате проникновения внешних твердых предметов диаметром 1,0 мм и более;
- IP5X - защищено от доступа к опасным частям проволокой и от пыли.
7.2. Предпочтительные сочетания числа полюсов и номинальных значений приведены в таблице 1.
Таблица 1
Предпочтительные сочетания числа полюсов
и номинальных значений
Номинальный ток, А | Число полюсов |
Номинальное напряжение от 120 до 250 В включительно | Номинальное напряжение свыше 250 В |
1, 2 и 4 | 1 | - |
6 | 1 | 1 |
2 | 2 |
10 | | 1 |
1 | 2 |
2 | 3 |
| 4 |
16, 20, 25, 32, 40, 45, 50 и 63 | 1 | 1 |
2 | 2 |
3 | 3 |
4 | 4 |
8.1. Выключатели должны иметь следующую маркировку:
- номинальный ток в амперах (А) или номинальная нагрузка люминесцентных ламп в амперах (AX), или комбинация из этих двух значений, если эти значения различны (см.
6.2 и примеры маркировки в
8.2);
- номинальные напряжения в вольтах (В);
- символ вида электрического тока;
- наименование, товарный или отличительный знак изготовителя;
- обозначение типа, которое может быть, например, каталожным номером;
- символ выключателя с минимальным зазором, если применимо;
- символ выключателя с микрозазором, если применимо;
- символ полупроводниковых коммутирующих устройств, если применимо;
- первая характеристическая цифра в обозначении степени защиты от доступа к опасным частям и от вредного воздействия в результате проникновения внешних твердых предметов, при обозначении цифрой больше 2 также маркируется вторая характеристическая цифра;
- вторая характеристическая цифра в обозначении степени защиты от вредного воздействия в результате проникновения воды, при обозначении цифрой больше 0 также маркируется первая характеристическая цифра.
Примечания
1. Рекомендуется указывать номер схемы в соответствии с
7.1.1, если при внешнем осмотре выключателя будут неясны соединения. Указанный номер схемы может быть частью обозначения типа выключателя.
2. Если на одном основании установлено два или более выключателей с самостоятельными приводными устройствами, то рекомендуется указывать номера их схем, например 1 + 6 или 1 + 1 + 1.
Дополнительно выключатели с безвинтовыми зажимами должны иметь маркировку относительно пригодности для присоединения только жестких проводников, если имеют на то ограничение. Эту информацию наносят на выключатель и/или упаковочную единицу.
8.2. Применяют следующие символы:
- амперы:
ток люминесцентных ламп ............................................ AX
другие токи ......................................................... A
- вольты ............................................................ V
- переменный ток .................................................... ~
- нейтраль .......................................................... N
- линия ............................................................. L
- заземление ........................................................

- положение "выключено" ("откл.") ................................... O
- положение "включено" ("вкл.") ..................................... I
- конструкция с минимальным зазором ................................. m
- конструкция с микрозазором .......................................

- без зазора (полупроводниковое коммутирующее устройство) ..........

- степень защиты, если уместно ................................... IPXX
Примечание 1. Символ "O" применяют на выключателях с нормальным зазором.
Примечания
2. Более подробное описание символов см.
ГОСТ 28312.
3. В коде IP букву "X" заменяют соответствующей цифрой.
4. Линии, образованные конструкцией инструмента, не рассматривают как часть маркировки.
Для маркировки тока люминесцентных ламп символ "AX" может заменяться символом "X".
Для маркировки номинального тока и номинального напряжения могут применяться только цифры.
Маркировку вида электрического тока выключателей помещают после маркировки номинального тока и номинального напряжения.
Примечание 5. Маркировка тока, напряжения и вида тока, например, может быть следующей:
10 AX 250 V~, или 10X/250~, или

20 A - 16 AX 250 V~, или 20 - 16X/250~, или

10 AX 400 V~, или 10X/400~, или

25 AX 400 V~, или 25X/400~, или

25 A 250 V~, или 25/250~, или

25 AX 440 V~, или 25X/440~, или

8.3. Следующая маркировка должна быть расположена на основной части выключателя:
- номинальный ток, номинальное напряжение, вид электрического тока;
- наименование, товарный или отличительный знак изготовителя;
- длина снятой изоляции перед вводом проводника в безвинтовой зажим, если необходимо;
- если применимо, символ конструкции с минимальным зазором, символ конструкции с микрозазором или символ полупроводникового коммутирующего устройства;
- обозначение типа.
Примечание 1. Обозначение типа может быть заменено обозначением серии.
Такие детали, как накладки, необходимые для безопасности и предназначенные для продажи отдельно, должны иметь маркировку с указанием наименования, товарного или отличительного знака изготовителя и обозначением типа.
Код IP, если необходимо, должен наноситься на выключатель так, чтобы он был виден, когда выключатель установлен и подключен как для нормальной эксплуатации.
Маркировка должна быть ясно видна нормальным или скорректированным зрением без дополнительного увеличения и должна наноситься или на передней стороне выключателя, или на внутренней части его корпуса, или на основной части выключателя так, чтобы ее можно было легко различить при снятых крышках или накладках, которые должны присутствовать, когда выключатель устанавливают и соединяют с проводкой как при нормальной эксплуатации. Такая маркировка должна размещаться на деталях, которые не могут сниматься без применения инструмента.
Примечания
2. Обозначение типа может дополнительно маркироваться на основной части: снаружи или внутри корпуса.
3. Термин "основная часть" обозначает части выключателя, на которых расположены контакты и другие связанные с ними детали; к ним не относятся кнопка, рукоятка и подобные им детали, а также части, предназначенные для продажи отдельно.
8.4. Зажимы, предназначенные для присоединения фазных (питающих) проводников, должны иметь отличительную маркировку, кроме случаев, когда способ соединения не имеет значения, очевиден или указан на электрической схеме. Такая маркировка может быть выполнена в виде буквы L, а если зажимов более одного - в виде букв и цифр L1, L2, L3 и т.д., рядом с которыми может быть указана стрелка или стрелки в направлении соответствующего зажима или зажимов.
Эти обозначения нельзя наносить на винты или другие легкоснимаемые детали.
Как вариант, поверхность таких зажимов может быть покрыта латунью или медью, а другие зажимы покрыты металлическим слоем другого цвета.
В выключателях со
схемами 2,
3,
03 и
6/2 зажимы, относящиеся к какому-нибудь одному полюсу, должны иметь одинаковое обозначение (там, где это имеет место) в отличие от зажимов, относящихся к другим полюсам, кроме случаев, когда различие между ними очевидно.
Примечания
1. Электрическая схема может содержаться в инструкции, поставляемой вместе с выключателем.
2. Легкоснимаемые части - это те части, которые могут быть сняты при нормальной установке выключателя.
8.5. Зажимы, предназначенные исключительно для нейтрального проводника, должны быть обозначены буквой N.
Заземляющие зажимы должны быть обозначены символом (значок).
Эти обозначения не должны быть нанесены на винты или другие легкоснимаемые детали.
Зажимы, предназначенные для присоединения проводников, не относящихся к основным цепям, должны быть четко обозначены, если их назначение неочевидно, или обозначены на электрической схеме, которая должна быть представлена в комплекте.
Идентификацию контактных зажимов достигают:
- путем их маркировки графическими символами согласно
ГОСТ 28312 или расцветкой и/или алфавитно-цифровой системой;
- их физической величиной или относительным расположением.
Для этой цели не применяют неоновые указатели или индикаторы.
8.6. На выключателях, имеющих маркировку положений выключателя, должно быть отчетливо указано направление перемещения приводного элемента выключателя в различные положения или фактическое положение выключателя. На выключателях, имеющих более одного приводного элемента, маркировка должна указывать действие, выполняемое каждым таким элементом.
Эти обозначения должны быть отчетливо видны на лицевой стороне выключателя в сборе с крышкой или накладкой.
Если эти обозначения наносят на крышку, накладку или съемный приводной элемент, то нельзя устанавливать крышку или приводной элемент в такое положение, в котором эта маркировка оказалась бы неверной.
Символы "Вкл." и "Откл." не должны использоваться для индикации положений выключателя, если одновременно они четко не указывают направление движения приводного элемента.
Примечание 1. Для указания положения выключателя могут использоваться другие подходящие средства, например индикаторная лампочка.
Символ "I", обозначающий положение "включено", должен быть радиальным для поворотных выключателей, перпендикулярным оси вращения подвески для перекидных и клавишных выключателей и вертикальным для кнопочных выключателей при вертикальной установке.
Эти требования не относятся к выключателям, приводимым в действие при помощи шнура, и выключателям со
схемами 6,
6/2 и
7.
Примечание 2. Указанные обозначения являются необязательными для кнопочных выключателей.
Соответствие требованиям
8.1 -
8.6 проверяют внешним осмотром.
8.7. Кнопку окрашивают в красный цвет, только если она служит для размыкания цепи, в которой она установлена. Кроме этого, она может служить для замыкания вспомогательных контактов цепей управления, контрольных ламп и т.д.
8.8. Если при установке выключателя необходимо соблюдать особые меры безопасности, то они должны быть указаны в инструкции, поставляемой вместе с выключателем.
Инструкция должна быть составлена на официальном языке страны, в которую поставляются выключатели.
Соответствие требованиям
8.7 и
8.8 проверяют внешним осмотром.
Примечания
1. Специальные меры безопасности могут понадобиться, например, для выключателей открытого исполнения и выключателей для панельного монтажа.
2. Для того чтобы после установки выключателя были созданы необходимые условия для соответствия требованиям настоящего стандарта, прилагаемая инструкция должна содержать следующие сведения:
- размеры пространства, необходимого для установки выключателя;
- размеры и место установки опорных и крепежных деталей выключателя в пределах этого пространства;
- минимальные расстояния между различными частями выключателя и соседними устройствами в месте установки;
- минимальные размеры вентиляционных отверстий, если они необходимы, и их правильное расположение;
- параметры применяемых ламп, если выключатели оснащены заменяемыми контрольными лампами.
8.9. Маркировка должна быть долговечной и легко читаемой.
Соответствие проверяют внешним осмотром и следующим испытанием.
Испытание проводят путем протирания маркировки вручную сначала в течение 15 с куском ткани, смоченной водой, а затем еще в течение 15 с куском ткани, смоченной бензином.
Примечания
1. Этому испытанию не подвергают маркировку, выполненную путем оттиска, отливки, штамповки и гравировки.
2. Рекомендуется применять бензин на базе гексанового растворителя с максимальным содержанием ароматических соединений 0,1% по объему, каури-бутаноловым числом 29, с начальной температурой кипения 65 °C, точкой испарения 69 °C, с плотностью 0,68 г/см3.
Выключатели и их монтажные коробки должны соответствовать стандартам, если таковые имеются.
Соответствие проверяют измерениями.
10. Защита от поражения электрическим током
10.1. Конструкция выключателей, установленных как при нормальной эксплуатации, должна обеспечивать невозможность прикосновения к их токоведущим частям даже после снятия частей, которые могут быть сняты без применения инструмента.
Выключатели, конструкцией которых предусмотрена установка контрольных ламп на напряжения, иные, чем сверхнизкое напряжение (СНН), должны быть снабжены средствами, исключающими прямой контакт с лампой.
Соответствие проверяют осмотром и, при необходимости, следующим испытанием.
Образец монтируют, как при нормальной эксплуатации, и подсоединяют провода с наименьшим сечением, указанным в
разделе 12. Затем испытание повторяют с использованием проводов с наибольшим сечением, указанным в
разделе 12.
Стандартный испытательный палец, приведенный в ГОСТ 14254
(рисунок 1), прикладывают во всех возможных положениях, а электрический индикатор на напряжение от 40 до 50 В указывает на наличие контакта с соответствующей частью.
Выключатели, имеющие оболочки или крышки из термопластичного или эластомерного материала, подлежат дополнительному испытанию, которое проводят при температуре выключателя и окружающей среды (35 +/- 2) °C.
При дополнительном испытании к выключателю в течение 1 мин прикладывают усилие 75 Н концом прямого неразъемного испытательного пальца, имеющего размеры стандартного испытательного пальца.
Палец с электрическим индикатором прикладывают, как описано выше, ко всем местам выключателя, где текучесть изоляционного материала может снизить электробезопасность, за исключением мембран и аналогичных тонкостенных пробиваемых отверстий, к которым прикладывают усилие 10 Н.
Во время испытания выключатели и их монтажные устройства не должны деформироваться настолько, чтобы прямой неразъемный испытательный палец мог коснуться токоведущих частей.
Примечание. Диафрагмы и подобные части испытывают только по
13.15.1.
10.2. Кнопки, клавиши, рукоятки, рычаги управления, балансиры и аналогичные детали должны быть выполнены из изоляционного материала, за исключением случаев, когда их открытые металлические части отделены от металлических частей механизма двойной или усиленной изоляцией или когда они надежно соединены с землей.
Соответствие проверяют внешним осмотром и испытаниями по
разделам 16 и
23.
Примечание. Данное требование не распространяется на съемные клавиши или промежуточные части, такие как цепочки или штоки.
10.3. Доступные части выключателей на номинальный ток не более 16 А должны быть выполнены из изоляционного материала, за исключением следующих частей:
a) винтов и подобных частей, изолированных от токоведущих частей и используемых для крепления оснований, крышек и накладок;
b) приводных элементов в соответствии с
10.2;
c) металлических крышек или накладок при условии соблюдения требований 10.3.1 или
10.3.2.
10.3.1. Крышки и накладки из металла должны быть защищены дополнительной изоляцией, выполненной изолирующими прокладками и перегородками.
Изолирующие прокладки и перегородки должны:
- прикрепляться к крышкам, накладкам или корпусу выключателя таким образом, чтобы их нельзя было снять без повреждения;
- иметь такую конструкцию, чтобы:
- их нельзя было поставить в неправильное положение,
- при их отсутствии выключатель считался бы непригодным к эксплуатации и неукомплектованным,
- исключать возможность случайного соприкосновения между токоведущими частями и металлическими крышками или накладками, например через их крепежные винты, даже в том случае, если проводник выпадает из своего зажима,
- принять меры, не допускающие уменьшения расстояний утечки или воздушных зазоров по сравнению с указанными в
разделе 23.
Соответствие проверяют внешним осмотром.
Указанные прокладки и перегородки следует испытывать в соответствии с
разделами 16 и
23.
Примечание. Изоляционное покрытие внутри и снаружи металлической крышки или накладки не относят к изоляционным прокладкам или перегородкам, рассматриваемым в настоящем пункте.
10.3.2. Заземление металлических крышек и накладок выполняют при их установке с помощью провода, имеющего низкое сопротивление, при этом никаких других средств, кроме средств крепления, не требуется.
Примечание. Допускается использование крепежных винтов или других средств крепления.
Соответствие проверяют внешним осмотром и испытанием по
11.4.
10.4. Металлические части механизма, такие как ось или шарнир подвески или балансира, не изолированные от токоведущих частей, не должны выступать из оболочки.
Однако в выключателях, оперируемых с помощью съемной клавиши или аналогичного устройства, такие металлические части механизма должны быть изолированы от токоведущих частей.
Соответствие проверяют внешним осмотром при необходимости после того, как приводной элемент был снят или вышел из строя.
Примечание 1. Если приводной элемент вышел из строя, соответствие проверяют испытанием по
разделу 23.
10.5. Металлические части механизма, такие как ось или шарнир подвески или балансира, не должны быть доступны после установки выключателя в рабочее положение.
Кроме того, они должны быть изолированы от доступных металлических частей, включая металлические каркасы, удерживающие основания выключателей для скрытой установки, предназначенные для монтажа в металлические коробки, и от винтов крепления основания выключателя к опорной поверхности.
Дополнительные требования не применяют, если металлические части механизма отделены от токоведущих частей настолько, что расстояния утечки и воздушные зазоры превышают не менее чем в два раза значения, указанные в
разделе 23, или в том случае, если они надежно заземлены.
Соответствие проверяют внешним осмотром и, если необходимо, измерением и испытаниями по
разделам 10 и
16.
Примечания
2. При проверке доступа к металлическим частям механизма выключателей открытого исполнения или выключателей для карнизной проводки учитывают защищенность выключателя, обусловленную обычным способом его установки.
3. Для выключателей открытого исполнения пакетного типа, металлическая шарнирная ось которых находится на металлической пластине основания, дополнительное требование означает, что расстояния утечки и воздушные зазоры между токоведущими частями и осью, а также между токоведущими частями механизма и пластиной основания должны превышать не менее чем в два раза значения, указанные в
разделе 23.
10.6. Выключатели, управляемые при помощи съемной клавиши или промежуточной детали, например шнура, цепочки или штока, должны иметь такую конструкцию, чтобы клавиша или промежуточная деталь касалась только тех частей, которые изолированы от токоведущих частей.
Клавиша или промежуточная деталь должна быть изолирована от металлических частей механизма, за исключением случаев, когда расстояния утечки и воздушные зазоры между токоведущими частями и металлическими частями механизма превышают не менее чем в два раза значения, указанные в
разделе 23.
Соответствие проверяют внешним осмотром, испытанием по
16.2 и, если необходимо, измерением.
Примечание. Лак и эмаль не относят к изоляционным материалам, отвечающим требованиям
10.1 -
10.6.
10.7. Конструкция выключателей, приводимых в действие при помощи тягового шнура, который может устанавливаться или заменяться потребителем, не должна допускать прикосновения к токоведущим частям во время установки или замены приводного шнура обычным способом.
Соответствие проверяют внешним осмотром.
11.1. Доступные прикосновению металлические части выключателя, которые могут оказаться под напряжением в случае повреждения изоляции, должны быть снабжены заземляющим зажимом или постоянно и надежно соединены с ним.
Примечания
1. Данное требование не распространяется на металлические накладки, упомянутые в
10.3.1.
2. Небольшие винты и подобные им детали, изолированные от токоведущих частей и предназначенные для крепления оснований, крышек или накладок, не считают доступными прикосновению частями, которые могут оказаться под напряжением в случае повреждения изоляции.
11.2. Заземляющие контактные зажимы должны иметь крепление под винт или безвинтовое крепление и соответствовать требованиям
раздела 12.
Они должны иметь те же размеры, что и соответствующие зажимы для питающих проводников, за исключением некоторых дополнительных внешних заземляющих контактных зажимов, допускающих присоединение проводников сечением 6 мм2.
11.3. Выключатели открытого типа в корпусе из изоляционного материала со степенью защиты выше IPX0, имеющие более одного кабельного ввода, должны иметь внутренний заземляющий зажим или дополнительное пространство для плавающего зажима подключения входящего и выходящего проводов для постоянного соединения с заземляющим контуром.
Требования
раздела 12 не распространяются на плавающие зажимы.
Соответствие требованиям
11.1 -
11.3 проверяют внешним осмотром и испытанием по
разделу 12. Соответствие на адекватность пространства для плавающего зажима проверяют присоединением к зажиму указанного изготовителем типа.
11.4. Соединение между заземляющим контактным зажимом и присоединяемыми к нему доступными прикосновению металлическими частями должно иметь малое электрическое сопротивление.
Соответствие проверяют следующим испытанием.
Ток от источника переменного тока с напряжением холостого хода не более 12 В, равный 1,5 номинального тока или 25 А, выбирают то, что больше, пропускают через заземляющий зажим и поочередно через каждую металлическую часть, доступную прикосновению.
При этом измеряют падение напряжения между заземляющим контактным зажимом и доступной прикосновению металлической частью и рассчитывают сопротивление по величине тока и падения напряжения.
Электрическое сопротивление не должно быть св. 0,05 Ом.
Примечание. При испытании необходимо принять меры, чтобы сопротивление при контакте между наконечником измерительного щупа и испытуемой металлической частью не повлияло на результат испытания.
12.1. Общие положения
Выключатели должны иметь винтовые или безвинтовые контактные зажимы.
Детали для крепления проводников в контактных зажимах не должны использоваться для крепления других частей, хотя они могут служить для закрепления самих контактных зажимов и препятствовать их смещению.
Все испытания зажимов, за исключением испытания по
12.3.11, должны проводиться после испытания по
15.1.
Соответствие проверяют внешним осмотром и испытаниями по
12.2 или
12.3, по применению.
12.2. Винтовые зажимы для наружных медных проводников
12.2.1. Выключатели должны иметь контактные зажимы, позволяющие присоединять медные провода сечений, указанных в таблице 2.
Таблица 2
Соотношение между номинальными токами и сечением
присоединяемых медных проводников
Номинальный ток, А | Жесткий провод (одно- или многопроволочный) <3> |
Номинальное сечение, мм2 | Наибольший диаметр проводника, мм |
| - | - |
Св. 4 до 6 " | От 0,75 до 1,50 включ. | 1,45 |
| " 1,00 " 2,50 " | 2,13 |
| " 1,50 " 4,00 " | 2,72 |
" 16 " 25 " | " 2,50 " 6,00 " | 3,34 |
" 25 " 32 " | " 4,00 " 10,00 " | 4,34 |
" 32 " 50 " | " 6,00 " 16,00 " | 5,46 |
" 50 " 63 " | " 10,00 " 25,00 " | 6,85 |
<1> Для специального назначения, например, сверхнизких значений напряжения, для которого применяют гибкие провода (от 0,5 мм 2 до 1,0 мм 2 включительно). <2> Каждый питающий зажим выключателей, кроме схем 3, 03 и 7, должен позволять присоединение двух проводников сечением 2,5 мм 2. Для выключателей на номинальное напряжение не свыше 250 В достаточно круглого отверстия для присоединения двух проводников сечением 2,5 мм 2. <3> Допускается присоединение гибких проводников. |
Пространство для размещения провода в контактных зажимах должно быть не меньше указанных на
рисунках 1 -
5.
Соответствие проверяют внешним осмотром и присоединением проводников наименьшего и наибольшего из предусмотренных сечений.
12.2.2. Винтовые зажимы должны обеспечивать присоединение проводников без специальной подготовки.
Соответствие проверяют внешним осмотром.
Примечание. Термин "специальная подготовка" означает пайку жил проводника, применение кабельных наконечников, формирование колец и т.д., но не изменение формы проводника перед введением его в контактный зажим и не скручивание гибкого проводника для ужесточения его конца.
12.2.3. Винтовые контактные зажимы должны иметь необходимую механическую прочность.
Винты и гайки для прижима проводников должны иметь метрическую резьбу ISO или резьбу, адекватную ей по размеру шага и механической прочности.
Винты не следует изготавливать из мягкого или легко поддающегося деформации металла, например цинка или алюминия.
Соответствие проверяют внешним осмотром и испытаниями по
12.2.6 и
12.2.8.
Примечание. Условно нормальную метрическую резьбу SI, резьбу Британской ассоциации стандартов BA и американскую унифицированную крупную резьбу UN считают совместимыми по размеру шага и механической прочности с метрической резьбой ISO.
12.2.4. Винтовые зажимы должны быть устойчивы к коррозии.
Зажимы, изготовленные из меди или медных сплавов в соответствии с
22.5, отвечают настоящему требованию.
12.2.5. Конструкция зажимов винтового типа должна быть такой, чтобы исключить повреждение проводников при закреплении их в зажиме.
Соответствие проверяют следующим испытанием.
Зажим испытуемого выключателя помещают в испытательную установку согласно
рисунку 10 и оснащают жестким (одно- или многожильным) проводником в соответствии с
таблицей 2, сначала с наименьшим, а затем с наибольшим поперечным сечением, затягивая винт или гайку крутящим моментом по таблице 3.
Таблица 3
Крутящий момент для проверки механической прочности
зажимов винтового типа
Номинальный диаметр резьбы, мм | Крутящий момент, Н·м |
| | | | | |
До 2,8 включ. | 0,20 | - | 0,4 | - | 0,4 | - |
Св. 2,8 до 3,0 " | 0,25 | - | 0,5 | - | 0,5 | - |
" 3,0 " 3,2 " | 0,30 | - | 0,6 | - | 0,6 | - |
" 3,2 " 3,6 " | 0,40 | - | 0,8 | - | 0,8 | - |
" 3,6 " 4,1 " | 0,70 | 1,2 | 1,2 | 1,2 | 1,2 | - |
" 4,1 " 4,7 " | 0,80 | 1,2 | 1,8 | 1,8 | 1,8 | - |
" 4,7 " 5,3 " | 0,80 | 1,4 | 2 | 2 | 2 | - |
" 5,3 " 6,0 " | - | 1,8 | 2,5 | 3,0 | 3 | - |
" 6,0 | - | - | - | - | - | 0,8 |
Примечания 1. Значения графы 1 относят к винтам без головок, если винт в затянутом положении не выступает из отверстия, и к другим винтам, которые не могут быть затянуты с помощью отвертки с лезвием шире, чем диаметр винта. Значения графы 2 относят к гайкам зажимов под колпачок, которые затягивают при помощи отвертки. Значения графы 3 относят к винтам других типов, которые затягивают при помощи отвертки. Значения графы 4 относят к гайкам зажимов под колпачок, которые затягивают при помощи других средств, кроме отвертки. Значения графы 5 относят к винтам или гайкам, кроме гаек зажимов под колпачок, которые затягивают с помощью других средств, кроме отвертки. Значения графы 6 относят к гайкам, которые крепят с помощью центрального отверстия. Если винт имеет шестигранную головку со шлицем для затягивания его при помощи отвертки, а значения крутящего момента в графах 3 и 5 неодинаковы, то испытание проводят дважды. Сначала к шестигранной головке прикладывают крутящий момент, указанный в графе 5, а затем крутящий момент, указанный в графе 3, с помощью отвертки. Если значения в графах 3 и 5 одинаковы, то проводят только испытание с помощью отвертки. 2. В зажимах под колпачок номинальным диаметром является диаметр штифта со шлицем. 3. Форма лезвия испытательной отвертки должна соответствовать размеру головки испытуемого винта. 4. Винты и гайки не должны затягиваться рывками. 5. Значения, приведенные в таблице, - временные. |
Длина испытательного провода должна быть на 75 мм больше, чем высота H, указанная в таблице 4.
Таблица 4
Параметры для испытаний на изгиб и вытягивание
для медных проводников
Сечение проводника <1>, мм 2 | Диаметр отверстия гильзы <2>, мм | | Масса груза для проводника, кг |
0,50 | 6,5 | 260 | 0,3 |
0,75 | 0,4 |
1,00; 1,50 | 6,5 | 260 |
2,50 | 9,5 | 280 | 0,7 |
4,00 | 0,9 |
6,00 | 9,5 | 280 | 1,4 |
10,00 | 2,0 |
16,00 | 13,0 | 300 | 2,9 |
25,00 | 4,5 |
<1> Размеры AWG, соответствующие мм 2, приведены в ГОСТ Р 51686.1. <2> Если диаметр отверстия в гильзе недостаточно велик для размещения проводника без перекручивания, может быть использована гильза с отверстием большего размера. <3> Допуск на высоту H +/- 15 мм. |
Конец провода пропускают через соответствующую гильзу в пластине, расположенную на высоте H ниже выключателя, как указано в
таблице 4. Гильзу следует вставить в горизонтальную пластину так, чтобы ее центральная линия описывала круг диаметром 75 мм концентрично центру зажимного устройства в горизонтальной плоскости; при этом пластину вращают со скоростью (10 +/- 2) об/мин.
Расстояние между отверстием зажимного устройства и верхней поверхностью гильзы должно соответствовать высоте, указанной в
таблице 4, в пределах допуска +/- 15 мм. Гильза может быть смазана во избежание застревания, скручивания или проворачивания изолированного проводника. К концу проводника подвешивают груз массой, указанной в
таблице 4. Длительность испытания составляет приблизительно 15 мин.
Во время испытания провод не должен ни выскальзывать из зажима, ни обламываться близ зажима, ни быть поврежденным до такой степени, что делает его непригодным к дальнейшему использованию.
Испытание повторяют с жесткими однопроволочными проводами, если они имеются в соответствующем стандарте и если первыми были испытаны жесткие многопроволочные провода. В случае отсутствия жестких многопроволочных проводников испытания проводят только с жесткими однопроволочными проводниками.
12.2.6. Конструкция винтовых зажимов должна обеспечивать надежный зажим провода между металлическими поверхностями.
Соответствие проверяют внешним осмотром и следующим испытанием.
В зажимы вставляют жесткие многопроволочные провода наименьшего и наибольшего сечений, указанных в
таблице 2. Винтовые зажимы затягивают крутящим моментом, равным 2/3 момента, указанного в соответствующей графе
таблицы 3.
Если винт имеет шестигранную головку со шлицем, то прикладываемый крутящий момент должен быть равен 2/3 крутящего момента, указанного в
графе 3 таблицы 3.
Затем каждый проводник подвергают натяжению силой, указанной в таблице 5, прикладываемой без рывков вдоль оси проводника в течение 1 мин.
Таблица 5
Параметры для испытания на натяжение
Сечение проводников, присоединяемых к зажиму, мм2 | От 0,50 до 1,00 включ. | От 0,75 до 1,50 включ. | От 1,50 до 2,50 включ. | От 2,50 до 4,00 включ. | От 4,00 до 6,00 включ. | От 6,00 до 10,00 включ. | От 10,00 до 16,00 включ. | От 16,00 до 25,00 включ. |
Сила натяжения, Н | 30 | 40 | 50 | 50 | 60 | 80 | 90 | 100 |
Если зажим предназначен для присоединения двух проводников, провода натягивают с соответствующей силой поочередно, каждый в отдельности.
Во время испытания проводник не должен заметно смещаться в зажиме.
| | ИС МЕГАНОРМ: примечание. ГОСТ Р 50043.1-92 утратил силу с 01.01.2014 в связи с введением в действие ГОСТ 31195.1-2012 (Приказ Росстандарта от 15.11.2012 N 852-ст). Взамен ГОСТ 31195.1-2012 Приказом Росстандарта от 09.12.2020 N 1275-ст введен в действие ГОСТ IEC 60998-1-2017. | |
Если зажим предназначен для присоединения более двух проводников, рекомендации по испытательным требованиям приведены в ГОСТ Р 50043.1, ГОСТ Р 50043.2 и ГОСТ Р 50043.3.
Испытание повторяют с жесткими однопроволочными проводниками в случае, если они предусмотрены в соответствующем стандарте и если первыми были испытаны жесткие многопроволочные проводники. Если жесткие многопроволочные проводники не предусмотрены, испытание проводят только с однопроволочными проводниками.
Примечание. В Швеции зажимы, допускающие присоединение двух проводников, дополнительно испытывают с одним жестким однопроволочным проводником и одним жестким многопроволочным проводником, присоединенными одновременно.
12.2.7. Конструкция винтовых зажимов должна быть спроектирована или скомпонована так, чтобы ни жесткий однопроволочный проводник, ни проволока многопроволочного проводника не могли выскользнуть при затягивании винтов или гаек.
Данное требование не распространяется на зажимы под кабельный наконечник.
Соответствие проверяют следующим испытанием.
К контактным зажимам присоединяют проводники с наибольшим сечением, указанным в
таблице 2.
Контактные зажимы проверяют как с жесткими однопроволочными проводниками, так и с жесткими многопроволочными проводниками.
Контактные зажимы, предназначенные для бифилярных проводов двух или трех проводников, проверяют при установке в них допустимого числа проводников.
К контактным зажимам присоединяют провода, имеющие структуру, указанную в таблице 6.
Таблица 6
Структура и размеры проводов
Номинальное сечение, мм2 | Число проволок в проводе и их номинальный диаметр в мм |
Жесткий однопроволочный провод | Жесткий многопроволочный провод |
1 | 1 x 1,13 | 7 x 0,42 |
1,5 | 1 x 1,38 | 7 x 0,52 |
2,5 | 1 x 1,78 | 7 x 0,67 |
4 | 1 x 2,25 | 7 x 0,86 |
6 | 1 x 2,76 | 7 x 1,05 |
10 | 1 x 3,57 | 7 x 1,35 |
16 | - | 7 x 1,70 |
25 | - | 7 x 2,14 |
Перед вводом в зажимное устройство проволоки жестких (одно- и многопроволочных) проводников выпрямляют и, кроме того, жесткие многопроволочные провода могут быть скручены для максимального восстановления их формы.
Проводник вставляют в зажимное устройство вывода на минимально допустимое расстояние, а если расстояние не указано, до тех пор, пока провод не выйдет из другого конца зажима, и располагают в зажиме таким образом, чтобы провод был надежно закреплен. Затем зажимной винт затягивают крутящим моментом, равным 2/3 крутящего момента, указанного в соответствующей графе
таблицы 3.
После испытания ни одна проволока провода не должна выпасть из контактного зажима так, чтобы уменьшились расстояния утечки и воздушные зазоры до значений, менее указанных в
разделе 23.
12.2.8. Винтовые контактные зажимы должны быть установлены и размещены в выключателе так, чтобы при затягивании или ослаблении винтов или гаек контактные зажимы не выпадали из крепления на выключателе.
Примечания
1. Эти требования не исключают смещения или поворачивания контактного зажима, однако любое его перемещение должно быть ограничено требованиями настоящего стандарта.
2. Для предотвращения выпадания контактного зажима рекомендуется использовать изолирующий компаунд или смолу при условии, что:
- компаунд или смола не подвергаются действию нагрузки в рабочем положении;
- эффективность действия компаунда или смолы не ослабевает при температурах нагрева контактных зажимов в наиболее неблагоприятных условиях работы, указанных в настоящем стандарте.
Соответствие проверяют внешним осмотром, измерением и следующим испытанием.
В контактный зажим вставляют жесткий однопроволочный медный проводник с наибольшим сечением, указанным в
таблице 2.
Винты и гайки затягивают и ослабляют пять раз при помощи испытательной отвертки или гаечного ключа, при этом крутящий момент должен удовлетворять большему из двух значений, указанных в соответствующей графе
таблицы 3 или в таблицах к
рисункам 1 -
4.
Проводник перемещают каждый раз, когда винт или гайка ослабляются.
Во время испытаний зажимы не должны ослабляться и не должно быть повреждений, таких как излом винта, повреждение головок, шлицев, резьбы, шайб или скоб, что делает невозможным дальнейшее использование зажима.
12.2.9. Зажимные винты и гайки винтовых контактных зажимов заземления должны быть защищены от случайного ослабления и должна быть исключена возможность самопроизвольного их ослабления без помощи инструмента.
Соответствие проверяют вручную.
В основном, конструкции контактных зажимов, показанных на
рисунках 1 -
5, обеспечивают достаточную упругость, соответствующую настоящему требованию; для других конструкций контактных зажимов могут быть предусмотрены специальные требования, такие как использование специальных упругих частей, которые гарантируют от случайной разборки.
12.2.10. Винтовые контактные зажимы заземления не должны подвергаться коррозии при контактировании частей зажима с медным заземляющим проводом или другим металлом, находящимся в контакте с зажимом.
Корпус заземляющего зажима должен быть изготовлен из латуни или другого не менее коррозиестойкого металла, если не является частью металлического корпуса или оболочки, когда винт или гайка должны быть изготовлены из латуни или другого не менее коррозиестойкого металла.
Если контактный зажим заземления является частью корпуса или оболочки из сплавов алюминия, то следует принять меры защиты от коррозии при контактировании меди с алюминием или его сплавами.
Соответствие проверяют внешним осмотром.
Примечание. Винты или гайки, изготовленные из стали с покрытием и выдержавшие испытание на коррозиеустойчивость, считают изготовленными из металла, не менее устойчивого к коррозии, чем латунь.
12.2.11. В торцевых зажимах расстояние между зажимным винтом и концом полностью введенного в зажим проводника должно быть не менее указанного на
рисунке 1.
Примечание. Требование к минимальному расстоянию между зажимным винтом и концом проводника относится только к торцевым зажимам, в которых проводник не может пройти насквозь.
В зажимах под колпачок расстояние между фиксирующей частью и концом проводника, полностью введенного в зажим, должно быть не менее указанного на
рисунке 5.
Соответствие проверяют измерением после того, как жесткий однопроволочный проводник с наибольшим сечением, указанным для подходящего номинального тока в
таблице 2, будет полностью введен в зажим и зажат.
12.2.12. Зажимы под наконечник применяют только в выключателях с номинальным током 40 А и более. Если такие зажимы предусмотрены, то они должны иметь пружинные шайбы или аналогичные им стопорные устройства.
Соответствие проверяют внешним осмотром.
12.3. Безвинтовые зажимы для внешних медных проводников
12.3.1. Безвинтовые зажимы могут быть предназначены только для жестких медных проводников или для жестких и гибких медных проводников.
Для зажимов последнего типа испытания проводят сначала с жесткими, а затем с гибкими проводниками.
Примечание. Данный подраздел не применяют к выключателям, оснащенным:
- безвинтовыми выводами, требующими фиксации специальных устройств к проводникам перед закреплением в безрезьбовом зажиме, например плоский втычной соединитель;
- безвинтовыми выводами, требующими скручивания проводников, например со скрученными соединениями;
- безвинтовыми выводами, обеспечивающими прямой контакт с проводниками посредством краев или точек, проникающих в изоляцию.
12.3.2. Безвинтовые выводы должны быть снабжены зажимами, осуществляющими соединение жестких или жестких и гибких медных проводников с номинальными сечениями, указанными в таблице 7.
Таблица 7
Соотношение между номинальными токами и сечениями
присоединяемых медных проводников для безвинтовых зажимов
Номинальный ток, А | Проводники |
Номинальное сечение, мм2 | Диаметр наибольшего жесткого проводника, мм | Диаметр наибольшего гибкого проводника, мм |
4 | От 0,75 до 1,00 включ. | 1,19 | - |
6 | " 1,00 " 1,50 " | 1,45 | 1,73 |
| " 1,50 " 2,50 " | 2,13 | 2,21 |
<1> Каждый питающий вывод выключателей, кроме выключателей со схемами 3, 03 и 7, должен позволять присоединение двух проводников сечением 2,5 мм 2. В таких случаях должны быть предусмотрены отдельные независимые зажимные устройства для каждого проводника. |
Соответствие проверяют внешним осмотром и установкой проводов с наименьшим и наибольшим сечениями, указанными выше.
12.3.3. Безвинтовые зажимы должны позволять присоединение проводника без специальной подготовки.
Соответствие проверяют внешним осмотром.
Примечание. Термин "специальная подготовка" означает, например, пайку проволок проводника, использование наконечников и т.п., но не изменение формы проводника перед введением его в зажим или скручивание гибкого проводника для уплотнения конца.
12.3.4. Части безвинтовых зажимов, через которые проходит ток, должны быть выполнены из материалов, указанных в
22.5.
Соответствие проверяют внешним осмотром и химическим анализом.
Примечание. Пружины, упругие детали, зажимные пластины и аналогичные детали не считают частями, предназначенными для пропускания тока.
12.3.5. Безвинтовые контактные зажимы должны иметь такую конструкцию, чтобы зажимать провод с достаточным контактным давлением без повреждения провода.
Проводник должен быть зажат между металлическими поверхностями.
Соответствие проверяют внешним осмотром и испытанием по
12.3.10.
12.3.6. Присоединение и отсоединение проводников в зажиме должно быть четким и простым.
Отсоединение проводника должно выполняться вручную с помощью обычного инструмента или без него, но не путем выдергивания проводника.
Отверстие для инструмента, предназначенного для присоединения и отсоединения проводника, должно отличаться от отверстия, предназначенного для самого проводника.
Соответствие проверяют внешним осмотром и испытанием по
12.3.10.
12.3.7. Безвинтовые зажимы, предназначенные для совместного присоединения двух или нескольких проводников, должны быть сконструированы так, чтобы:
- во время ввода действие зажимного устройства на одном из проводников было независимо от действия зажимных устройств на других проводниках;
- разъединение проводников могло происходить либо одновременно, либо по отдельности;
- каждый проводник вставлялся в отдельное зажимное устройство (не обязательно в отдельные отверстия).
Должно быть возможно надежное крепление любого числа проводников до максимального, предусмотренного конструкцией.
Соответствие проверяют внешним осмотром и испытаниями с подходящими проводниками.
12.3.8. Безвинтовые зажимы должны иметь такую конструкцию, чтобы исключить чрезмерное введение провода, а правильное его введение было очевидным.
Примечание. Для выполнения этого требования соответствующая маркировка, указывающая длину изоляции, снимаемой перед введением проводника в безвинтовой зажим, может быть нанесена на выключатель или приведена в инструкции по эксплуатации, которая прикладывается к выключателю.
Безвинтовые зажимы должны быть сконструированы так, чтобы чрезмерное введение проводника ограничивалось, если дальнейшее введение его может повлечь за собой уменьшение расстояний утечки и/или воздушных зазоров по сравнению с указанными в
таблице 20, или повлиять на механизм выключателя.
Соответствие проверяют внешним осмотром и испытанием по
12.3.10.
12.3.9. Безвинтовые зажимы должны быть надежно закреплены в выключателе.
Они не должны ослабляться, когда проводники присоединяют или отсоединяют во время монтажа.
Соответствие проверяют внешним осмотром и испытанием по
12.3.10.
Заливка изолирующего компаунда без применения других способов крепления недостаточна. Однако для крепления выводов, не подвергаемых механическим нагрузкам при нормальной эксплуатации, могут использоваться самоотвердевающие смолы.
12.3.10. Безвинтовые зажимы должны выдерживать механические нагрузки, возможные при нормальной эксплуатации.
Соответствие проверяют следующими испытаниями, проводимыми с неизолированными проводниками на одном безвинтовом зажиме каждого образца, используя новый образец для каждого испытания.
Испытания проводят с жесткими однопроволочными медными проводами: сначала наибольшего сечения, затем наименьшего сечения, указанными в
12.3.2.
Проводники присоединяют и отсоединяют пять раз, каждый раз используя новые проводники, кроме пятого раза, когда проводники, использованные для четвертого соединения, крепят на то же место. Для каждого соединения проводники либо проталкивают как можно дальше в зажим, либо вводят так, что достаточное соединение очевидно.
После каждого соединения проводник подвергают тянущему усилию 30 Н, прикладываемому без рывков, в течение 1 мин в направлении продольной оси проводника.
Во время приложения усилия проводник не должен выходить из безвинтового зажима.
Затем испытание повторяют с жесткими многопроволочными медными проводниками, как наибольшего сечения, так и наименьшего, указанными в
12.3.2. Эти проводники должны быть присоединены и отсоединены только один раз.
Безвинтовые зажимы, предназначенные как для жестких, так и для гибких проводников, также испытывают с гибкими проводниками путем проведения пяти соединений и разъединений.
Каждый проводник в безвинтовых зажимах в течение 15 мин подвергают круговому вращению с частотой (10 +/- 2) об/мин на установке, приведенной на
рисунке 10. Проводник подвергают тянущему усилию, указанному в
таблице 4.
Во время испытания проводники не должны заметно смещаться в зажимном устройстве.
После этих испытаний ни зажимы, ни средства крепления не должны быть ослаблены, и проводники не должны иметь повреждений, препятствующих их дальнейшему использованию.
12.3.11. Безвинтовые зажимы должны выдерживать электрические и тепловые нагрузки, возникающие при нормальной эксплуатации.
Соответствие проверяют следующими
испытаниями a) и
b), которые проводят на пяти безвинтовых зажимах, не использованных в других испытаниях.
Оба испытания проводят на новых медных проводниках.
a) Испытание проводят в течение 1 ч нагрузки зажимов переменным током, как указано в таблице 8, с присоединением жестких однопроволочных проводников длиной 1 м и сечением, указанным в таблице 8.
Таблица 8
Испытательный ток для проверки электрических и тепловых
нагрузок при нормальной эксплуатации безвинтовых зажимов
Номинальный ток, А | Испытательный ток, А | Сечение проводников, мм2 |
4 | 9,0 | 0,75 |
6 | 13,5 | 1,00 |
10 | 17,5 | 1,50 |
16 | 22,0 | 2,50 |
Примечание. Для выключателей, имеющих другие номинальные токи, кроме указанных, испытательный ток определяют методом интерполяции между ближайшими меньшим и большим из указанных номинальных токов, а сечение выбирают равным сечению, соответствующему ближайшему большему номинальному току. |
Испытание проводят на каждом зажимном устройстве.
Во время испытания ток пропускают не через выключатель, а только через зажимы.
Сразу после этого измеряют падение напряжения на каждом безвинтовом зажиме при номинальном токе.
Падение напряжения не должно превышать 15 мВ.
Измерения проводят для каждого безвинтового зажима и как можно ближе к месту контакта.
Если обратное соединение вывода недоступно, вторая соединяющая точка в случае выключателя на два направления может быть использована для возвращающегося провода. В случае выключателя на одно направление образцы могут быть подготовлены изготовителем; при этом должна быть проявлена осторожность, чтобы не повлиять на поведение зажима.
Следует обратить внимание на то, чтобы во время испытания, включая измерения, проводники и средства измерения заметно не передвигались.
b) Безвинтовые зажимы, подвергнутые замеру падения напряжения, указанному выше в
перечислении a), испытывают следующим образом.
Во время испытания пропускают ток, равный значению испытательного тока по
таблице 8.
Все испытательные устройства, включая проводники, не должны перемещаться до тех пор, пока измерения падения напряжения не будут завершены.
Все зажимы должны быть подвергнуты 192 температурным циклам, каждый цикл длится около 1 ч и выполняется следующим образом:
- ток пропускают приблизительно 30 мин;
- затем 30 мин ток не пропускают.
Падение напряжения в каждом безвинтовом зажиме определяют, как указано в испытании по
перечислению a), после каждых 24 температурных циклов и после завершения 192 температурных циклов.
В любом случае падение напряжения не должно превышать меньшего из двух значений: 22,5 мВ или двукратной величины падения напряжения, измеренного после 24 циклов.
После этого испытания при осмотре обычным или скорректированным зрением без дополнительного увеличения не должно быть выявлено никаких изменений, таких как трещины, деформации и т.п., препятствующих дальнейшему использованию.
Затем повторяется испытание на механическую прочность в соответствии с
12.3.10, и все образцы должны выдержать это испытание.
12.3.12. Безвинтовые зажимы должны быть сконструированы так, чтобы присоединенный жесткий однопроволочный проводник оставался зажатым, даже когда он отклоняется во время нормального монтажа, например при монтаже в коробку, и отклоняющаяся нагрузка передается зажимному устройству.
Соответствие проверяют следующим испытанием, которое проводят на трех образцах выключателей, не использовавшихся в других испытаниях.
Испытательная установка, принцип действия которой показан на
рисунке 11а, должна быть сконструирована так, чтобы:
- проводник, правильно введенный в зажим, отклонялся в любом из 12 направлений, отличающихся одно от другого на 30°, с допуском для каждого направления +/- 5°;
- стартовая точка могла быть смещена на 10° и 20° от первоначальной.
Примечание 1. Указания отправной точки не требуется.
Отклонение проводника от его прямого положения на испытательные позиции должно осуществляться посредством подходящего устройства, действующего с указанной силой на проводник на определенном расстоянии от зажима.
Отклоняющее устройство должно быть сконструировано так, чтобы:
- сила прикладывалась в направлении, перпендикулярном к неотклоненному проводу;
- отклонение достигалось без вращения или перемещения проводника внутри зажимного узла;
- сила оставалась приложенной, пока производят измерение падения напряжения.
Обеспечение испытания должно быть таким, чтобы падение напряжения на испытуемом зажимном устройстве могло быть измерено, когда проводник присоединен, как показано в примере
рисунка 11b.
Образец устанавливают на зафиксированной части испытательной установки таким образом, чтобы указанный провод, введенный в испытуемое зажимное устройство, мог быть свободно отклонен.
Во избежание окисления изоляция проволоки должна быть удалена непосредственно перед началом испытания.
Примечания
2. При необходимости введенный проводник может быть изогнут вокруг препятствий, чтобы они не влияли на результаты испытаний.
3. В некоторых случаях рекомендуется снимать те части образцов, которые не позволяют проводнику отклоняться в соответствии с приложенным усилием, исключение составляет направляющее приспособление для проводов.
| | ИС МЕГАНОРМ: примечание. В официальном тексте документа, видимо, допущена опечатка: имеется в виду таблица 9, а не таблица 8. | |
Зажимное устройство подготавливают как для нормального использования с жестким однопроволочным медным проводником наименьшего сечения, указанного в
таблице 8, и подвергают первому испытательному циклу. То же самое зажимное устройство подвергают второму испытательному циклу, используя проводник наибольшего сечения, если в первом испытательном цикле не было отказа.
Усилие для отклонения проводника приведено в
таблице 10. Расстояние 100 мм измеряют от края зажима, включая направляющее устройство для провода, если оно имеется, до точки приложения силы к проводнику.
Таблица 9
Сечения жестких медных проводников для испытания
на отклонение в безвинтовых зажимах
Номинальный ток выключателя, А | Сечение испытательного проводника, мм2 |
Первый испытательный цикл | Второй испытательный цикл |
<= 6 | | 1,5 |
Св. 6 до 16 включ. | 1,5 | 2,5 |
<1> Только для стран, в которых разрешено использование проводников сечением 1,0 в стационарных электроустановках. |
Таблица 10
Отклоняющие испытательные усилия
Сечение испытательного проводника, мм2 | Усилие для отклонения испытательного проводника <1>, Н |
1,0 | 0,25 |
1,5 | 0,50 |
2,5 | 1,00 |
<1> Усилия выбраны так, что они нагружают проводники близко к пределу их эластичности. |
Испытание проводят в продолжительном режиме (т.е. ток не выключают и не включают в течение испытания). Должен быть использован подходящий источник питания, соответствующее сопротивление должно быть введено в цепь, чтобы колебания тока во время испытания не превышали +/- 5%.
Испытательный ток, равный номинальному току выключателя, пропускают через испытуемое зажимное устройство.
К испытательному проводнику, введенному в зажимное устройство в одном из 12 направлений, показанных на
рисунке 11a, прикладывают усилие в соответствии с
таблицей 10 и измеряют падение напряжения на зажимном устройстве. Затем действие силы прекращают.
Затем усилие прикладывают в каждом из 11 оставшихся направлений, показанных на
рисунке 11a, следуя той же методике испытания.
Если в каком-либо из 12 испытательных направлений падение напряжения окажется более 25 мВ, прикладываемую силу поддерживают в этом направлении до тех пор, пока падение напряжения не достигнет значения менее 25 мВ в течение не более 1 мин. После того как падение напряжения достигнет значения менее 25 мВ, усилие поддерживают в том же направлении еще 30 с, в течение которых падение напряжения не должно возрасти.
Два других образца выключателей из комплекта испытывают по той же методике, смещая каждое из 12 направлений усилия так, чтобы они отличались приблизительно на 10° для каждого образца. Если один образец не выдержит испытание в одном направлении приложения силы, испытание повторяют на другом комплекте образцов, из которых все должны выдержать повторное испытание.
13. Требования к конструкции
13.1. Изоляционные прокладки, перегородки и т.п. должны иметь соответствующую механическую прочность и быть надежно установлены.
Соответствие проверяют внешним осмотром после испытания по
разделу 20.
13.2. Конструкция выключателя должна обеспечивать:
- легкое введение и присоединение проводников к контактному зажиму;
- правильное расположение проводников;
- простую установку выключателя на стене или в коробке;
- достаточное пространство между нижней частью основания и поверхностью, на которой монтируют основание, или между боковыми поверхностями основания и оболочки (крышки или коробки), чтобы после установки выключателя изоляция проводов не соприкасалась с токоведущими частями различной полярности или с подвижными частями механизма, например осью поворотного выключателя.
Выключатели открытой установки должны быть спроектированы так, чтобы крепежные устройства не повреждали изоляцию кабелей при монтаже.
Примечания
1. Настоящее требование не означает, что металлические части зажимов должны быть обязательно защищены изолирующими перегородками, буртиками и т.п. для исключения соприкосновения с изоляцией провода в результате неправильного монтажа металлических частей контактного зажима.
2. В соответствии с настоящим требованием выключатели открытого типа, устанавливаемые на монтажном основании, должны иметь отверстие для ввода проводов.
Кроме того, выключатели конструкции A должны обеспечивать простоту установки и снятия крышки или накладки без смещения проводов.
Соответствие проверяют внешним осмотром и пробным монтажом с установленными проводниками наибольшего сечения, указанного в
таблице 2, для подходящего диапазона номинальных токов.
13.3. Крышки, накладки и приводные элементы или их части, предназначенные для обеспечения защиты от электрического удара, должны иметь надежное крепление в двух или более точках.
Крышки, накладки и приводные элементы или их части могут иметь одинарное крепление, например с помощью одного винта, при условии наличия и других средств монтажа (например, буртики).
Примечания
1. Рекомендуется, чтобы устройства фиксации крышек, накладок, приводных элементов были предохранены от выпадения. В этом смысле применение легких монтажных картонных шайб является хорошим способом удержания винтов от выпадения.
2. Незаземленные металлические части, отделенные от токоведущих частей таким образом, что расстояния утечки и воздушные зазоры соответствуют значениям, указанным в
таблице 20, не считают доступными, если требования касаются данного подпункта.
Если крепления крышек, накладок или приводных элементов выключателей конструкции A служат также для крепления основания, то необходимо предусмотреть средства для удержания основания в зафиксированном положении даже после снятия крышек, накладок или приводных элементов.
13.3.1. Для крышек, накладок или приводных элементов, имеющих фиксирующие устройства резьбового типа, предусмотрен только внешний осмотр.
13.3.2. Для крышек, накладок или приводных элементов, имеющих невинтовое фиксирующее устройство, удаление которых возможно приложением силы в направлении, приблизительно перпендикулярном к монтажно-опорной поверхности (см.
таблицу 11), если при их удалении:
- имеется доступ к токоведущим частям стандартным испытательным пальцем - испытание по
20.4;
- стандартный испытательный палец касается незаземленных металлических частей, отделенных от токоведущих частей таким образом, что расстояния утечки и воздушные зазоры имеют значения, указанные в
таблице 20, - испытание по
20.5;
- стандартный испытательный палец касается только:
1) изолирующих частей; или
2) заземленных металлических частей; или
3) металлических частей, отделенных от токоведущих частей двойными значениями расстояний утечки и воздушных зазоров, указанных в
таблице 20; или
4) токоведущих частей цепей с безопасным сверхнизким напряжением (БСНН) не более 25 В переменного тока - испытание по
20.6.
Таблица 11
Усилия, прикладываемые к крышкам, накладкам или приводным
элементам, крепящимся без помощи винтов
Доступ стандартным испытательным пальцем после снятия крышек, накладок или их частей | Испытательный пункт | Прикладываемое усилие, Н |
Выключатели, соответствующие 20.7 и 20.8 | Выключатели, не соответствующие 20.7 и 20.8 |
неснятие | снятие | неснятие | снятие |
- к токоведущим частям | | 40 | 120 | 80 | 120 |
- к незаземленным металлическим частям, отделенным от токоведущих частей расстояниями утечек по таблице 20 | | 10 | 120 | 20 | 120 |
- к изолирующим частям, заземленным металлическим частям, токоведущим частям с БСНН <= 25 В или металлическим частям, отделенным от токоведущих частей двойными значениями расстояний утечек и воздушных зазоров по таблице 20 | | 10 |
13.3.3. Для крышек, накладок или приводных элементов, крепящихся без помощи винтов и удаляющихся с применением инструмента согласно инструкциям изготовителя, приведенным в паспорте или каталоге, проверки проводят такими же испытаниями по
13.3.2, за исключением крышек, накладок, приводных элементов или их частей, не удаляемых при приложении усилия не более 120 Н в направлении, перпендикулярном монтажной/опорной поверхности.
13.4. Выключатели должны иметь такую конструкцию, чтобы при монтаже и подключении проводов как для нормальной эксплуатации в их оболочках в соответствии с классификацией IP не было свободных отверстий.
Соответствие проверяют внешним осмотром и пробным монтажом с проводами наименьшего поперечного сечения, указанного в
таблице 2.
Примечание. Дренажные отверстия, небольшие зазоры между оболочкой и кабельным вводом или кабелем или между оболочкой и органом управления не рассматриваются.
13.5. Рукоятки поворотных выключателей должны быть надежно соединены с валом или приводящей частью механизма.
Соответствие проверяют следующим испытанием.
К рукоятке в течение 1 мин прикладывают осевое усилие 100 Н.
После этого рукоятку выключателя, оперируемую только в одном направлении, поворачивают, если это возможно, без излишнего усилия 100 раз в обратном направлении.
Во время испытания рукоятка не должна сниматься.
13.6. Винты или другие средства монтажа выключателя на поверхности, в монтажной коробке или оболочке должны быть доступны с лицевой стороны. Эти средства не должны служить никакой другой цели крепления.
13.7. Комбинации выключателей или выключателей и штепсельных розеток с индивидуальными основаниями должны быть спроектированы таким образом, чтобы было предусмотрено однозначное расположение каждого основания. Каждое основание должно иметь независимое крепление на монтажной поверхности.
Соответствие требованиям
13.6 и
13.7 проверяют внешним осмотром.
13.8. Вспомогательное оборудование, комбинируемое с выключателями (см.
раздел 1), должно соответствовать стандарту на комбинацию выключателя со вспомогательным оборудованием, а при его отсутствии - стандарту на применяемое оборудование.
13.9. Выключатели открытого типа должны иметь степень защиты выше, чем IP20, если оснащены кабельным вводом или армированными кабелями, как для нормальной установки.
Выключатели открытого типа, имеющие степени защиты IPX4 или IPX5, должны быть снабжены открывающимися дренажными отверстиями.
Если выключатель снабжен дренажным отверстием, диаметр отверстия должен быть не менее 5 мм или его площадь не менее 20 мм2, ширина и длина не менее 3 мм.
Если конструкцией выключателя предусмотрено только одно возможное монтажное положение, то дренажное отверстие должно быть эффективным в этом положении. Вообще дренажные отверстия должны быть эффективными по крайней мере в двух монтажных положениях выключателя, когда он монтируется на вертикальной стене: одно - с вводом проводников сверху и другое - снизу.
Пружины крышки, если имеются, должны изготавливаться из антикоррозийного материала, например бронзы или нержавеющей стали.
Соответствие проверяют внешним осмотром, измерениями и испытаниями по
15.2.
Примечание. Дренажное отверстие с обратной стороны оболочки может быть эффективным, если конструкция оболочки обеспечивает зазор от стены не менее 5 мм или предусматривает сточную канавку не менее указанного выше размера.
13.10. Выключатели, устанавливаемые в монтажной коробке, должны иметь такую конструкцию, при которой концы проводов могут быть подготовлены после установки монтажной коробки, но перед монтажом выключателя в коробку.
Основание выключателя должно обладать достаточной устойчивостью при установке его в монтажную коробку.
Соответствие проверяют внешним осмотром и пробным монтажом с проводниками наибольшего сечения для подходящего номинального тока по
таблице 2.
13.11. Выключатели открытого типа, имеющие степень защиты выше, чем IPX0, со
схемами 1,
5 и
6 и оболочкой, имеющей более одного входного отверстия, для поддержания непрерывности цепи должны иметь второй токопроводящий провод с фиксированным дополнительным зажимом, отвечающим требованиям
раздела 12, либо с пространством для размещения плавающего зажима. Соответствие проверяют внешним осмотром и соответствующими испытаниями по
разделу 12.
13.12. Вводные отверстия должны позволять ввод трубопровода или армированного кабеля с тем, чтобы обеспечить полную механическую защиту.
Выключатели открытого типа должны иметь такую конструкцию, чтобы предусмотренный трубопровод или изоляция кабеля входили в оболочку не менее чем на 1 мм.
В выключателе открытого типа вводные отверстия для трубопровода или по крайней мере два из них, если их более одного, должны обеспечивать ввод трубопровода размерами 16, 20, 25 или 32 мм или комбинации не менее чем двух из этих размеров, не исключая двух одинаковых. Соответствие проверяют внешним осмотром в ходе испытания по
13.10 и измерением.
В выключателе открытого типа вводные отверстия для кабельных вводов должны быть предпочтительно приспособлены для присоединения кабелей, имеющих размеры согласно
таблице 12 или указанные изготовителем.
Примечание. Вводные отверстия соответствующих размеров могут быть получены путем пробивания тонкостенных диафрагм или введения соответствующих деталей.
Таблица 12
Пределы внешнего диаметра кабелей
для выключателей открытого типа
Номинальный ток, А | Номинальное сечение, мм2 | Число проводников | Пределы внешнего диаметра кабелей, мм |
минимальный | максимальный |
6 | 1,5 | 2 | 7,6 | 11,5 |
3 | 12,5 |
4 | 13,5 |
5 | 15,0 |
10 | От 1,5 до 2,5 включ. | 2 | 7,6 | 13,5 |
3 | 14,5 |
4 | 15,5 |
5 | 17,0 |
16 | От 1,5 до 4,0 включ. | 2 | 7,6 | 15,0 |
3 | 16,0 |
4 | 18,0 |
5 | 19,5 |
20, 25 | От 2,5 до 6,0 включ. | 2 | 8,6 | 18,5 |
3 | 20,0 |
4 | 22,0 |
5 | 24,5 |
32 | От 4,0 до 6,0 включ. | 2 | 9,6 | 24,0 |
3 | 25,5 |
4 | 28,0 |
5 | 30,5 |
40 | От 6,0 до 16,0 включ. | 2 | 10,5 | 27,5 |
3 | 29,5 |
4 | 32,0 |
5 | 35,5 |
45, 50, 63 | От 10,0 до 25,0 включ. | 2 | 13,0 | 31,5 |
3 | 34,0 |
4 | 37,5 |
5 | 41,5 |
Примечание. Пределы внешних диаметров кабелей, приведенные в настоящей таблице для информации, базируются на типах 60227 IEC 10 и 60245 IEC 66 согласно ГОСТ Р МЭК 60227-4 и ГОСТ Р МЭК 60245-4 соответственно. |
13.13. Если выключатели открытого типа предназначены для обратного ввода от трубопровода, они должны быть спроектированы так, чтобы иметь возможность для обратного ввода от трубопровода перпендикулярно к монтажной поверхности выключателя.
Соответствие проверяют внешним осмотром.
13.14. Если выключатель снабжен мембранами или подобными деталями для вводных отверстий, они должны быть взаимозаменяемыми.
Соответствие проверяют внешним осмотром.
13.15. Требования к мембранам для вводных отверстий
13.15.1. Мембраны должны быть надежно закреплены и не должны смещаться при механических и тепловых воздействиях, имеющих место при нормальной эксплуатации.
Соответствие проверяют следующим испытанием.
Мембраны испытывают в собранном выключателе.
Сначала выключатели с установленными мембранами подвергают обработке согласно
15.1.
Затем выключатели помещают в камеру нагрева, как описано в
15.1, и выдерживают там 2 ч при температуре (40 +/- 2) °C.
Сразу после этого к различным частям мембран прикладывают усилие 30 Н в течение 5 с концом жесткого неразъемного испытательного пальца, имеющего размеры стандартного испытательного пальца согласно
ГОСТ 14254.
Во время этого испытания мембраны не должны деформироваться в такой степени, чтобы токоведущие части стали доступными.
К мембранам, подвергаемым воздействию осевых усилий в условиях нормальной эксплуатации, прикладывают осевое усилие 30 Н в течение 5 с.
Во время этого испытания мембраны не должны выталкиваться.
Затем испытание повторяют с мембранами, которые не подвергались обработке.
13.15.2. Рекомендуется, чтобы мембраны были так спроектированы и выполнены из такого материала, чтобы введение кабелей в выключатель допускалось при низких температурах окружающей среды.
Примечание. Например, в Швеции в связи с холодным климатом соблюдение этого требования является обязательным.
Соответствие проверяют следующим испытанием.
Выключатели оснащают мембранами, которые не подвергались воздействию на старение и не были вскрыты путем пробивания.
Выключатели выдерживают в камере холода в течение 2 ч при температуре минус (15 +/- 2) °C.
Затем выключатели извлекают из камеры и сразу же, пока они еще холодные, вводят через мембраны без приложения усилия кабели самого неблагоприятного типа, указанного изготовителем.
После испытаний согласно
13.15.1 и
13.15.2 мембраны не должны иметь чрезмерных деформаций, трещин или подобных повреждений, которые привели бы к несоответствию настоящему стандарту.
14.1. Приводной элемент выключателя в отпущенном положении должен автоматически занять положение, соответствующее положению подвижных контактов, за исключением шнурковых и однокнопочных выключателей, в которых приводной элемент должен занимать одно и то же исходное положение.
14.2. Выключатели должны иметь такую конструкцию, чтобы их подвижные контакты могли находиться только в положении "включено" или "отключено", промежуточное положение для контактов может быть предусмотрено только в том случае, если приводной элемент тоже имеет промежуточное положение и если между подвижными и неподвижными контактами имеется достаточная изоляция.
При необходимости изоляцию между неподвижными и подвижными контактами в промежуточном положении можно проверить на электрическую прочность согласно
16.2, при этом испытательное напряжение прикладывают к соответствующим зажимам без снятия крышки или накладки выключателя.
Соответствие требованиям
14.1 и
14.2 проверяют внешним осмотром и испытанием вручную.
14.3. Выключатели должны иметь такую конструкцию, которая исключала бы появление дуги при медленном оперировании выключателем.
Соответствие проверяют в конце испытания по
19.1, разрывая электрическую цепь дополнительно 10 раз, равномерно перемещая при этом приводной элемент вручную с интервалом 2 с, а подвижные контакты останавливая, если возможно, в промежуточном положении и отпуская при этом привод.
Во время испытания не должно быть продолжительной дуги.
14.4. В выключателях со
схемами 2,
3,
03 и
6/2 все полюса должны включаться и отключаться практически одновременно, за исключением выключателей со
схемой 03, в которых нейтральный полюс не должен включаться позже или выключаться раньше других полюсов.
Соответствие проверяют внешним осмотром и испытанием вручную.
14.5. Действие механизма выключателя, снабженного крышкой или накладкой, снимаемой при установке выключателя, не должно зависеть от наличия крышки или накладки.
Примечание. В некоторых конструкциях выключателей приводной элемент может служить одновременно крышкой.
Соответствие проверяют последовательным соединением выключателя без установленной крышки или накладки с лампой и нажатием на приводной элемент без излишнего усилия, как при нормальной эксплуатации.
Во время испытания лампа не должна мигать.
14.6. Шнурковые выключатели должны быть способны выполнять переход из положения "отключено" в положение "включено" и обратно приложением и снятием равномерного тянущего усилия не более 45 Н, приложенного вертикально, и 65 Н, приложенного под углом (45 +/- 5)° к вертикали и в плоскости, перпендикулярной к монтажной поверхности, когда выключатель установлен, как при нормальной эксплуатации.
Соответствие проверяют испытанием вручную.
Примечание. Термин "как при нормальной эксплуатации" означает, что выключатель установлен, как указано изготовителем.
15. Устойчивость к старению, защита, обеспечиваемая
оболочками выключателей, и влагостойкость
15.1. Устойчивость к старению
Выключатели должны быть устойчивы к старению.
Соответствие проверяют следующим испытанием.
Выключатели и коробки, смонтированные, как при нормальной эксплуатации, подвергают испытанию в термокамере в атмосфере, имеющей состав и давление окружающего воздуха и вентилируемой естественной циркуляцией.
Выключатели, имеющие защиту выше, чем IPX0, испытывают после их монтажа и сборки в соответствии с
15.2.1.
Температура в камере должна составлять (70 +/- 2) °C.
Образцы выдерживают в камере в течение 7 сут (168 ч).
Рекомендуется использовать камеру с электронагревом.
Естественная циркуляция воздуха может обеспечиваться отверстиями в стенках камеры.
После воздействия образцы извлекают из камеры и выдерживают при комнатной температуре и относительной влажности от 45% до 55% не менее 4 сут (96 ч).
Образцы не должны иметь трещин, видимых нормальным или скорректированным зрением без дополнительного увеличения, а материал образцов не должен стать вязким или липким. Проверяют это следующим образом.
Указательным пальцем, обернутым куском сухой грубой ткани, надавливают на испытуемый образец с силой 5 Н.
На испытуемом образце не должно остаться следов ткани, а материал образца не должен прилипать к ткани.
После испытания образец не должен иметь повреждений, которые могли бы привести к несоответствию настоящему стандарту.
Примечание. Силу 5 Н достигают следующим образом.
Образец помещают на одну чашу весов, а другую нагружают грузом, равным массе образца плюс 500 г, равновесие чаш весов восстанавливают нажатием на испытуемый образец указательным пальцем, обернутым куском сухой грубой ткани.
15.2. Защита, обеспечиваемая оболочками выключателей
Оболочка выключателя должна обеспечивать защиту от доступа к опасным частям, от вредного воздействия в результате проникновения внешних твердых предметов, от вредного воздействия в результате проникновения воды в соответствии с классификацией по коду IP.
Соответствие проверяют испытаниями согласно
15.2.1 и
15.2.2.
15.2.1. Защита от доступа к опасным частям, от вредного воздействия в результате проникновения внешних твердых предметов
Оболочки выключателей должны обеспечивать защиту от доступа к опасным частям, от вредного воздействия в результате проникновения внешних твердых предметов в соответствии с классификацией выключателей в зависимости от степени защиты согласно коду IP.
Соответствие проверяют проведением подходящих испытаний согласно
ГОСТ 14254 в условиях, указанных ниже.
Выключатели монтируют как для нормальной эксплуатации.
Выключатели скрытого и полускрытого типов монтируют в подходящих монтажных коробках согласно инструкциям изготовителя.
Выключатели с ввинчиваемыми сальниками или мембранами собирают и оснащают кабелями в соответствии с диапазоном сечений, указанных в
таблице 2. Сальники затягивают приложением крутящего момента, равного 2/3 момента, прикладываемого при испытании по
20.3.
Винты оболочки затягивают приложением крутящего момента, равного 2/3 значений, приведенных в
таблице 5.
Части, снимаемые без помощи инструмента, снимают.
Если выключатель выдерживает данное испытание, считают, что этот результат действителен и для комбинации таких отдельных выключателей.
Примечание. Сальники не ставят на изолирующий компаунд или т.п.
15.2.1.1. Защита от доступа к опасным частям
15.2.1.2. Защита от вредного воздействия в результате проникновения внешних твердых предметов
Испытательный пробник не прикладывают к дренажным отверстиям.
Для испытания первой характеристической цифры 5 оболочки выключателей причисляют к категории 2; пыль не должна проникать в количестве, способном нарушить работу выключателя или его безопасность.
15.2.2. Защита от вредного воздействия в результате проникновения воды
Оболочки выключателей должны обеспечивать защиту от вредного воздействия в результате проникновения воды в соответствии с классификацией выключателей согласно коду IP.
Проводят подходящее испытание по
ГОСТ 14254 в условиях, указанных ниже.
Выключатели скрытого и полускрытого типа закрепляют с применением подходящей монтажной коробки согласно инструкции изготовителя на испытательной стене, имитирующей предполагаемые условия эксплуатации выключателя.
Если инструкция изготовителя предписывает определенный тип стены, эти предписания, а также особые требования к монтажу выключателя должны быть описаны достаточно подробно (см.
8.8).
Если в инструкции изготовителя не указан тип стены, используют испытательную стену, приведенную на
рисунке 27. Она выполнена кирпичной кладкой с ровной гладкой поверхностью. Монтажную коробку устанавливают настолько плотно к стене, чтобы между коробкой и стеной не попадала вода.
Примечания
1. Если для изоляции коробки в стене применяют герметизирующий материал, он не должен влиять на изоляционные свойства испытуемого выключателя.
2. На
рисунке 27 приведен пример, в котором края коробки расположены в условной рекомендуемой плоскости, возможны другие варианты расположения согласно инструкции изготовителя.
Испытательную стену размещают в вертикальном положении.
Выключатели открытого типа монтируют как для нормальной эксплуатации и оснащают кабелями с проводниками наибольшего и наименьшего сечения по
таблице 2 в соответствии с номинальным током выключателя.
Винты оболочки, которыми оперируют при монтаже выключателя, затягивают крутящим моментом, равным 2/3 соответствующего значения по
таблице 3.
Сальники затягивают крутящим моментом, равным 2/3 соответствующего значения по
таблице 19.
Примечание 3. Сальники не устанавливают на изолирующий компаунд или т.п.
Части, снимаемые без помощи инструмента, снимают.
Если конструкцией оболочки выключателя со степенью защиты менее, чем IPX5, предусмотрены дренажные отверстия, одно из них, расположенное снизу, должно быть открыто, как для нормальной эксплуатации.
Если конструкцией оболочки выключателя со степенью защиты IPX5 и выше предусмотрены дренажные отверстия, они должны быть закрыты.
Следует проявлять осторожность, чтобы не нарушить, например ударом или встряхиванием, механизм в такой степени, которая способна повлиять на результаты испытаний.
Если выключатель имеет открытые дренажные отверстия, через которые попала вода, следует проверить внешним осмотром, чтобы она вытекла, не причинив вреда механизму.
Через 5 мин после завершения испытаний согласно данному пункту, необходимо провести испытания электрической прочности изоляции по
16.2.
Выключатели должны быть устойчивы к воздействию влаги, которая имеет место при нормальной эксплуатации.
Соответствие проверяют воздействием влаги, описанным в настоящем подпункте, с последующим измерением сопротивления изоляции и проверкой электрической прочности изоляции по
разделу 16.
Вводные отверстия, если они имеются, оставляют открытыми. Если предусмотрены пробиваемые диафрагмы, то одна из них должна быть вскрыта.
Удаляемые без применения инструмента детали снимают и подвергают воздействию влаги вместе с основной частью. Пружинящие крышки открывают во время этого воздействия.
Увлажнение проводят в камере влаги при относительной влажности воздуха от 91% до 95%.
Температуру воздуха в камере, куда помещены образцы, поддерживают с допуском +/- 1 °C при любом удобном значении t от 20 °C до 30 °C.
До помещения в камеру влаги образцы доводят до температуры от t до (t + 4) °C.
Образцы выдерживают в камере влаги в течение:
- 2 сут (48 ч) - для выключателей со степенью защиты IPX0;
- 7 сут (168 ч) - для выключателей со степенью защиты выше, чем IPX0.
Примечания
1. В большинстве случаев образцы могут быть доведены до определенной температуры содержанием их при этой температуре не менее 4 ч до помещения их в камеру влаги.
2. Относительная влажность воздуха от 91% до 95% в камере влаги может быть обеспечена использованием насыщенного раствора сульфата натрия (Na2SO4) или нитрата калия (KNO3) в воде с достаточно большой поверхностью контакта с воздухом.
3. Для достижения в камере нужных условий необходимо обеспечить постоянную циркуляцию воздуха в камере и использовать камеру с термоизоляцией.
После этого воздействия образцы не должны иметь отклонений от настоящего стандарта.
16. Сопротивление и электрическая прочность изоляции
Сопротивление изоляции и электрическая прочность изоляции выключателей должны соответствовать нормируемым значениям.
При испытании по данному разделу один полюс сигнальной лампы отсоединяют.
Соответствие проверяют следующими испытаниями, проводимыми непосредственно после испытаний по
15.3 в камере влаги или в помещении, где образцы доводят до предписанной температуры после повторной сборки тех деталей, которые можно снять без помощи инструмента и которые были сняты для испытания.
16.1. Сопротивление изоляции измеряют при напряжении постоянного тока приблизительно 500 В спустя 1 мин после приложения напряжения.
Измерения проводят последовательно в порядке, указанном в
таблице 14. Положение выключателя и необходимые соединения по
пунктам 1,
2,
3 приведены в таблице 13.
Таблица 13
Точки приложения испытательного напряжения
для проверки сопротивления изоляции
Номер схемы | Схемы соединения | Положения | Приложение напряжения <*> |
Между зажимами с номерами | Корпусом (B) вместе с зажимами с номерами |
| | Откл. | 1 | B + 2 |
2 | B + 1 |
Вкл. | 1 - 2 | B |
| | Откл. | 1 + 3 | B + 2 + 4 |
2 + 4 | B + 1 + 3 |
Вкл. | 1 - 2 | B + 3 - 4 |
1 - 2 + 3 - 4 | B |
| | Откл. | 1 + 3 + 5 | B + 2 + 4 + 6 |
2 + 4 + 6 | B + 1 + 3 + 5 |
Вкл. | 1 - 2 | B + 3 - 4 + 5 - 6 |
3 - 4 | B + 1 - 2 + 5 - 6 |
5 - 6 | B + 1 - 2 + 3 - 4 |
03 | | Откл. | 1 + 3 + 5 + 7 | B + 2 + 4 + 6 + 8 |
2 + 4 + 6 + 8 | B + 1 + 3 + 5 + 7 |
Вкл. | 1 - 2 + 5 - 6 | B + 3 - 4 + 7 - 8 |
1 - 2 + 7 - 8 | B + 3 - 4 + 5 - 6 |
4 | | Откл. | 1 | B + 2 + 3 |
Вкл. | 1 - 2 | B + 3 |
1 - 3 | B + 7 |
5 | | Откл. | 2 + 3 | B + 1 |
1 | B + 2 + 3 |
Вкл. | 1 - 3 | B + 2 |
1 - 2 - 3 | B |
6 | | - | 1 - 3 | B + 2 |
1 - 2 | B + 3 |
6/3 | | - | 1 - 3 + 2 - 4 | B + 5 + 6 |
1 - 5 + 2 - 6 | B + 3 + 4 |
7 | | - | 1 - 2 | B + 3 - 4 |
3 - 4 | B + 1 - 2 |
1 - 4 | B + 2 - 3 |
2 - 3 | B + 1 - 4 |
<*> Означает существующее электрическое соединение. + - Означает электрическое соединение для испытания. |
Таблица 14
Испытательное напряжение, точки приложения и минимальные
значения сопротивления изоляции для проверки
электрической прочности изоляции
Места измерений | Минимальное значение сопротивления изоляции, МОм | Испытательное напряжение, В |
Выключатели с номинальным напряжением не более 130 В | Выключатели с номинальным напряжением более 130 В |
1. Между всеми полюсами, соединенными вместе, и корпусом в положении "ВКЛ." выключателя | 5 | 1250 | 2000 |
2. Между каждым полюсом поочередно и всеми остальными, соединенными с корпусом, в положении "ВКЛ." выключателя | 2 | 1250 | 2000 |
3. Между зажимами, которые при включенном выключателе электрически соединены, в положении "ОТКЛ." выключателя: | | | |
- конструкция с нормальным и минимальным зазорами; | 2 | 1250 | 2000 |
- конструкция с микрозазором; | 2 | | |
- полупроводниковое коммутирующее устройство | | | |
4. Между металлическими частями механизма, изолированными от токоведущих частей, и: | | | |
- токоведущими частями; | 5 | 1250 | 2000 |
- металлической фольгой, соприкасающейся с поверхностью рукоятки или аналогичного приводного элемента; | 5 | 1250 | 2000 |
- клавишей в выключателях, управляемых клавишей, если требуется изоляция (см. 10.6); | 5 | 1250 | 2000 |
- точкой крепления шнура, цепочки или штока выключателей, приводимых в действие с помощью этих деталей, если требуется изоляция (см. 10.6) | 5 | 1250 | 2000 |
- открытыми металлическими частями основания, включая крепежные винты, если требуется изоляция (см. 10.5) | 5 | 1250 | 2000 |
5. Между любой металлической оболочкой и металлической фольгой, соприкасающейся с внутренней поверхностью изоляционных прокладок, если имеются (примечание 4) | 5 | 1250 | 2000 |
6. Между токоведущими частями и доступными металлическими частями, если металлические части механизма не изолированы от токоведущих частей | - | 2000 | 3000 |
7. Между токоведущими частями и частями механизма: | | | |
- если последние не изолированы от доступных металлических частей (см. 10.5); | - | 2000 | 3000 |
- если последние не изолированы от точки контакта со съемной клавишей или приводным шнуром, цепочкой или штоком (см. 10.6) | - | 2000 | 3000 |
8. Между токоведущими частями и металлическими рукоятками, нажимными кнопками и аналогичными деталями (см. 10.2) | - | 2500 | 4000 |
Примечания 1. Это значение применяют для испытания электрической прочности изоляции после нормальной работы. 2. Для выключателей на номинальное напряжение до 250 В включительно значение снижают до: - 750 В после испытания на влагоустойчивость; - 500 В после нормальной работы. 3. Испытания для проверки в отключенном положении полупроводниковых коммутирующих устройств в соответствии с пунктом 3 находятся на рассмотрении. 4. Это испытание проводят, только если изоляция необходима. |
Под термином "корпус" подразумевают металлические части, доступные для прикосновения, металлические опорные рамы, на которых крепят основание выключателей скрытого типа, приводные клавиши, металлическую фольгу, соприкасающуюся с внешней поверхностью доступных наружных частей, клавиши из изоляционного материала, точки крепления шнура, цепочек или штоков выключателей, приводимых в действие с помощью этих деталей, крепежные винты оснований или крышек и накладок, винты крепления наружных деталей, заземляющие зажимы и любые металлические части механизма, которые должны быть изолированы от токоведущих частей (см.
10.4).
При выполнении измерений по
пунктам 1 и
2 таблицы 14 металлическую фольгу прикладывают таким образом, чтобы была возможность эффективно испытать заливочную массу.
Испытание по
пункту 5 таблицы 14 проводят лишь при наличии изоляционной прокладки.
Сопротивление изоляции должно быть не меньше значений, указанных в
таблице 14.
Примечание. При размещении металлической фольги на наружной или внутренней поверхности изолирующих деталей ее прижимают к отверстиям или углублениям без ощутимого усилия прямым несочлененным испытательным пальцем, имеющим те же размеры, что и стандартный испытательный палец, приведенный в ГОСТ 14254
(рисунок 1).
16.2. Изоляцию проверяют напряжением практически синусоидальной формы частоты 50 Гц или 60 Гц, прикладываемым в течение 1 мин. Значения испытательного напряжения и точки приложения указаны в
таблице 14.
Сначала подают не более половины испытательного напряжения, затем его быстро повышают до полного значения.
Во время испытания не должно происходить пробоев или перекрытий.
Примечания
1. Высоковольтный трансформатор, используемый для проведения испытания, должен иметь такую конструкцию, чтобы при короткозамкнутых выходных контактных зажимах и установленном выходном испытательном напряжении требуемого значения выходной ток был не менее 200 мА.
2. Максимальное реле тока не должно срабатывать при выходном токе менее 100 мА.
3. Необходимо иметь в виду, что значение испытательного напряжения должно измеряться с точностью +/- 3%.
4. Тлеющим разрядом на испытуемом образце без заметного падения напряжения пренебрегают.
17. Превышение температуры
17.1. Выключатели должны иметь такую конструкцию, чтобы превышение температуры при нормальной эксплуатации не было чрезмерным.
Материал и форма контактов должны быть такими, чтобы они не вызывали окисления или других неблагоприятных эффектов, которые могли бы отрицательно повлиять на работу выключателя.
Соответствие проверяют следующим испытанием.
Выключатели устанавливают вертикально, как при нормальной эксплуатации, присоединяют жесткие медные проводники с полихлорвиниловой изоляцией в соответствии с
таблицей 15; винты и гайки зажимов затягивают крутящим моментом, равным 2/3 значения, указанного в
таблице 3.
Таблица 15
Испытательные токи и сечения медных проводников
для проверки превышения температуры
Номинальный ток, А | Испытательный ток, А | Номинальное сечение проводников, мм2 |
1 | 1,5 | 0,50 |
2 | 3,0 | 0,75 |
4 | 5,0 | 1,00 |
6 | 8,0 | 1,50 |
10 | 13,5 | 2,50 |
16 | 20,0 | |
20 | 25,0 | 4,00 |
25 | 32,0 | 6,00 |
32 | 38,0 | 10,00 |
40 | 46,0 | 16,00 |
45 | 51,0 | 16,00 |
50 | 57,5 | 16,00 |
63 | 75,0 | 25,00 |
<1> Для выключателей на номинальное напряжение не свыше 250 В, кроме схем 3 и 03, и если зажимы используют на номинальный ток 10 А, испытание следует проводить с проводниками сечением 2,50 мм 2. |
Для обеспечения нормального охлаждения зажимов проводники, присоединяемые к ним, должны иметь длину не менее 1 м.
Примечание 1. Жесткие проводники должны быть одно- или многопроволочными, по применению.
Выключатели в течение 1 ч нагружают переменным током, значения которого приведены в
таблице 15.
Примечание 2. Испытательные токи для выключателей, предназначенных для других значений номинального тока, определяют методом интерполяции между соседними низшим и высшим значениями.
Для выключателей со
схемами 4,
5,
6,
6/2 и
7 нагрузку подают только в одну цепь.
Выключатели скрытого монтажа устанавливают в монтажные коробки. Коробку помещают в блок, изготовленный из массива сосны, покрывают коробку слоем штукатурки так, чтобы края коробки не выступали наружу и были не более чем на 5 мм заглублены ниже фронтальной поверхности блока.
Примечание 3. Испытательное оборудование должно быть просушено в течение не менее 7 сут до начала испытания.
Размеры блока, который допускается изготавливать не из массива сосны, должны быть таковы, чтобы оставался зазор не менее 25 мм от внутренних сторон блока для штукатурки, а толщина штукатурки составляла от 10 до 15 мм вокруг максимальных размеров боковых и тыльной сторон коробки.
Примечание 4. Боковые стороны ниши в блоке могут иметь цилиндрическую форму.
Кабели, присоединенные к выключателю, должны входить через верх коробки, места ввода должны быть закрыты для предотвращения циркуляции воздуха. Длина каждого проводника внутри коробки должна быть (80 +/- 10) мм.
Выключатели наружной установки должны устанавливаться по центру на поверхности деревянного блока размерами (толщина x ширина x высота) не менее 20 x 500 x 500 мм.
Выключатели других типов должны устанавливаться по инструкциям изготовителя либо, в отсутствие таких инструкций, в положении нормальной эксплуатации, которое считают наиболее неблагоприятным.
Испытательное оборудование при испытании должно размещаться в условиях отсутствия сквозняков.
Температуру определяют путем расплавления частиц материала с определенными характеристиками, цветовых индикаторов или термопар, которые подбирают и устанавливают так, чтобы они оказывали минимальное воздействие на измеряемую температуру.
Превышение температуры контактных зажимов должно быть не более 45 °C.
Во время испытания на превышение температуры необходимо выполнить измерения для испытания по
21.3.
Примечания
5. Нежелательного окисления контактов можно избежать путем применения контактов скользящего действия, контактов из серебра или покрытых серебром.
6. В качестве расплавляемых частиц можно использовать дробинки пчелиного воска диаметром 3 мм (температура плавления 65 °C).
7. Для комбинаций выключателей испытание проводят отдельно на каждом выключателе.
17.2. Выключатели со встроенными контрольными лампами или предназначенные для встраивания контрольных ламп должны иметь такую конструкцию, чтобы при нормальной эксплуатации превышение температуры доступных поверхностей не было чрезмерным.
Соответствие проверяют следующим испытанием.
Выключатель устанавливают и присоединяют согласно
17.1. К контрольной лампе подают номинальное напряжение с тем, чтобы она постоянно светилась в течение 1 ч.
Превышение температуры наружных поверхностей выключателя не должно быть более:
- 60 °C - для ручек, рукояток, активных поверхностей и т.п. из неметаллического материала;
- 70 °C - для прочих наружных деталей из неметаллического материала;
- 40 °C - для ручек, рукояток, активных поверхностей и т.п. из металла;
- 50 °C - для прочих наружных деталей из металла.
Примечание. Неоновые лампы, применяемые в качестве контрольных ламп, не испытывают.
18. Включающая и отключающая (разрывная мощность)
способность
Выключатели должны обладать достаточной включающей и отключающей способностью.
В данном испытании контрольные лампы отсоединяют.
Соответствие проверяют испытанием по
18.1, а для выключателей на номинальный ток до 16 А и номинальное напряжение до 250 В включительно, а также выключателей со
схемами 3 и
03 и на номинальное напряжение более 250 В - дополнительными испытаниями по
18.2.
Шнурковые выключатели испытывают смонтированными, как при нормальной эксплуатации, приложением усилия натяжения, достаточного для оперирования, но не более 50 Н, направленного на протяжении всего испытания под углом (30 +/- 5)° к вертикали в плоскости, перпендикулярной монтажной поверхности.
Испытания проводят при помощи устройства, принцип действия которого приведен на
рисунке 12.
Схемы электрических соединений указаны на
рисунке 13.
Выключатели оснащают проводами, как при испытании по
разделу 17.
18.1. Выключатели испытывают при 1,1 номинального напряжения и 1,25 номинального тока.
Их подвергают 200 операциям с частотой:
- 30 операций в минуту, если номинальный ток до 10 А;
- 15 операций в минуту, если номинальный ток от 10 до 25 А;
- 7,5 операций в минуту, если номинальный ток составляет 25 А и более.
Для выключателей поворотного типа, оперируемых в обоих направлениях, приводной элемент поворачивают в одном направлении, производя половину общего числа операций, а затем в противоположном направлении - оставшееся число операций.
Выключатели испытывают переменным током

. Активные и индуктивные сопротивления не включают параллельно, кроме случаев, когда применяют катушку индуктивности с воздушным сердечником, при этом сопротивление, отводящее приблизительно 1% тока катушки индуктивности, соединяют с ней параллельно.
Допускается применение катушек индуктивности со стальным сердечником при пропускании тока, имеющего практически синусоидальную форму волны.
Для испытаний в цепи трехфазного тока применяют катушки индуктивности с тремя сердечниками.
Металлическая опора выключателя, если имеется, на которой он монтируется, и его доступные металлические части, если имеются, должны быть заземлены через предохранительный элемент, который не должен перегореть во время испытания. Предохранительный элемент состоит из медной проволоки диаметром 0,1 мм и длиной не менее 50 мм.
Для выключателей со
схемами 6,
6/2 и
7 селекторный выключатель S, приведенный на
рисунке 13, переключают после выполнения части операций, указанных в таблице 16.
Таблица 16
Части общего числа операций
Номер схемы | Тип выключателя | Часть общего числа операций до переключения выключателя S |
| Поворотный на два направления | - |
Других типов | - |
| Поворотный на два направления | - |
Других типов | - |
| Поворотный на два направления | 1/4 и 3/4 |
Других типов | 1/2 |
Выключатели со
схемой 5 с одним механизмом подвергают оперированию 200 раз с нагрузками в одной цепи номинальным током I
n и 0,25I
n - в другой цепи и еще 200 раз с нагрузкой каждой цепи током 0,625I
n.
Выключатели со
схемой 5 с двумя самостоятельными механизмами испытывают, как два выключателя со
схемой 1 последовательно.
При испытании одной части другая часть должна быть в положении "откл.".
Во время испытания не должно быть устойчивой дуги.
После испытания образцы не должны иметь повреждений, препятствующих их дальнейшей эксплуатации.
Разрыв заменяемого приводного шнурка, за исключением части шнурка, входящей в шнурковый выключатель, не считают отказом при испытании.
Примечания
1. Необходимо обращать внимание на то, чтобы при помощи испытательного устройства приводной элемент выключателя работал плавно и чтобы испытательное устройство не мешало нормальной работе механизма выключателя и свободному перемещению приводного элемента.
2. Во время испытания образцы не смазывают.
18.2. Выключатели обычно испытывают при номинальном напряжении и токе, равном 1,2 номинального значения.
Испытание проводят с использованием нескольких вольфрамовых ламп накаливания мощностью 200 Вт каждая.
Если в наличии нет ламп накаливания с номинальным напряжением, равным номинальному напряжению выключателя, то необходимо использовать лампы накаливания с ближайшим более низким значением напряжения.
Примечание 1. Рекомендуется, чтобы номинальное напряжение ламп накаливания составляло не менее 95% номинального напряжения выключателя.
Испытательным напряжением должно быть номинальное напряжение ламп. Для испытания берут такое наименьшее число ламп, которое дает испытательный ток, равный не менее 1,2 номинального тока выключателя.
Допустимый ток короткого замыкания должен быть не менее 1500 А. Другие условия испытания должны быть аналогичны описанным в
18.1.
Во время испытания не должна возникать устойчивая дуга или приваривание контактов.
Примечание 2. Залипание контактов, которое не препятствует следующей операции, не считают привариванием.
После испытания образцы не должны иметь повреждений, препятствующих их дальнейшему использованию.
Примечание 3. Пример. Необходимо испытать выключатели на ток 10 А и напряжение 250 В. Наибольшим допустимым номинальным напряжением для вольфрамовых ламп накаливания мощностью 200 Вт является 240 В.
Испытательным напряжением будет 240 В, а число ламп:
19.1. Выключатели должны выдерживать без чрезмерного износа или других негативных последствий механические, электрические и тепловые нагрузки, которые могут возникать при нормальной эксплуатации.
В данном испытании контрольные лампы отсоединяют.
Соответствие проверяют следующим испытанием.
Выключатели испытывают при номинальном напряжении и номинальном токе с соединениями, указанными в
разделе 18.
Допуск для испытательного напряжения +5%.
Если нет других указаний, то электрическая цепь и порядок работы выключателя - согласно
18.1.
Число операций указано в таблице 17.
Таблица 17
Число операций для испытаний на нормальный режим работы
Номинальный ток | Число операций |
До 16 А включ. для выключателей на номинальное напряжение до 250 В переменного тока, кроме схем 3 и 03 | 40000 |
До 16 А включ. для выключателей на номинальное напряжение переменного тока более 250 В, переменного тока и для схем 3 и 03 | 20000 |
От 16 до 50 А включ. | 10000 |
Свыше 50 А | 5000 |
Частота выполнения операций указана в
18.1.
Продолжительность включенного положения (25 + 5)% и отключенного положения (75 - 5)% от продолжительности всего цикла.
Для выключателей поворотного типа со
схемой 5, предназначенных для работы в любом направлении, приводной элемент поворачивают сначала в одну сторону для половины общего нормируемого числа операций, а затем в обратную сторону - для оставшегося числа операций.
Для других выключателей поворотного типа, предназначенных для оперирования в любом направлении, 3/4 общего числа операций выполняют в направлении по часовой стрелке, а оставшееся число операций - в противоположном направлении.
Шнурковые выключатели испытывают установленными, как при нормальной эксплуатации, с усилием натяжения шнура, достаточным при оперировании, но не более 50 Н, направленным на протяжении всего испытания под углом (30 +/- 5)° к вертикали в плоскости, перпендикулярной монтажной поверхности.
Выключатели испытывают переменным током

.
Выключатели со
схемой 2 испытывают вначале на комплекте из трех образцов при последовательном соединении полюсов. Во втором комплекте из трех образцов один полюс испытывают при полной нагрузке, производя до половины числа операций. Если оба полюса неодинаковы, испытания повторяют на другом полюсе.
Два полюса выключателей со
схемами 4 и
5 испытывают, как два выключателя со
схемой 1, если полюса одинаковые, испытывают только один полюс.
Для выключателей со
схемой 5 с одним механизмом каждая цепь имеет нагрузку 0,5 номинального тока.
Выключатели со
схемой 6 испытывают, производя половину числа операций на одном полюсе, а оставшееся число операций - на другом полюсе.
Выключатели со
схемой 6/2 испытывают, как один выключатель со
схемой 6, если две пары полюсов одинаковы. В противном случае - как два выключателя со
схемой 6.
Испытуемые образцы соединяют с испытательной цепью кабелями длиной (1 +/- 0,1) м так, чтобы измерение превышения температуры можно было произвести без нарушения зажима.
Во время испытания образцы должны нормально функционировать.
После испытания образцы должны быть подвергнуты испытанию на электрическую прочность изоляции в соответствии с
разделом 16, при этом испытательное напряжение 4000 В должно быть снижено на 1000 В, а другие испытательные напряжения - на 500 В, и испытанию на превышение температуры в соответствии с
разделом 17, при этом испытательный ток должен быть снижен до номинального тока.
После испытания испытуемые образцы не должны иметь:
- износа, препятствующего их дальнейшей эксплуатации;
- несоответствия между положением приводного элемента и подвижных контактов, если положение приводного элемента указано;
- нарушения оболочек, изоляционных прокладок или перегородок до такой степени, что выключатель стал непригоден к дальнейшей работе или не соблюдаются требования
раздела 10;
- просачивания заливочной массы;
- ослабления электрических и механических соединений;
- относительного смещения подвижных контактов выключателей со
схемами 2,
3,
03 и
6/2.
Примечания
1. Перед проверкой электрической прочности изоляции по настоящему разделу воздействие влагой в соответствии с
15.3 не проводят.
2. Во время испытания образцы не смазывают.
После этого проводят испытание по
14.3.
19.2. Выключатели, предназначенные для нагрузок цепей люминесцентных ламп, должны выдерживать без чрезмерного износа или других негативных последствий электрические и тепловые нагрузки, возникающие при управлении цепями люминесцентных ламп.
Соответствие проверяют испытанием в цепи, представленной на
рисунке 14, которое проводят в следующих условиях.
Ожидаемый ток короткого замыкания источника питания должен быть от 3 кА до 4 кА при

(отстающий).
F - плавкий элемент из медной проволоки с номинальным диаметром 0,1 мм и длиной не менее 50 мм.
R1 - резистор, ограничивающий ток приблизительно до 100 А.
Двухжильный кабель должен иметь подходящую длину, чтобы сопротивление R3 в испытательной цепи нагрузки было равно 25 Ом. Он должен иметь сечение 1,5 мм2 для испытания выключателей на номинальный ток до 10 А включ. и 2,5 мм2 - для испытания выключателей на номинальный ток от 10 до 20 А включ.
Нагрузка A должна состоять из:
- конденсаторной батареи C1 емкостью 70 мкФ +/- 10% для выключателя на ток 6 А и емкостью 140 мкФ +/- 10% - для других выключателей. Конденсаторы должны быть соединены проводниками сечением 2,5 мм2 как можно меньшей длины;
- катушки индуктивности L1 и резистора R2 для регулировки значений коэффициента мощности до 0,9 +/- 0,05 (отстающий) и испытательного тока до In + 5% через образец.
Нагрузка B должна состоять из:
- конденсатора C2 емкостью 7,3 мкФ +/- 10%;
- катушки L2 индуктивностью (0,5 +/- 0,1) Гн, имеющей сопротивление не более 15 Ом, измеренное при постоянном токе.
Примечание. Параметры цепи выбирают исходя из практического применения нагрузок люминесцентных ламп.
Соответствие проверяют следующим испытанием.
Для испытания используют новые образцы.
Выключатели, кроме
схем 3 и
03, испытывают при номинальном напряжении и номинальном токе на испытательной установке и с соединениями, указанными в
18.1.
Допуск на испытательное напряжение составляет +/- 5%, на испытательный ток - +5%. Описание цепи и способ оперирования селекторным выключателем S приведены в
18.1.
Число операций должно быть следующим:
- 10000 операций с частотой 30 операций в минуту - для выключателей с номинальным током люминесцентных ламп от 6 до 10 А включ.;
- 5000 операций с частотой 15 операций в минуту - для выключателей с номинальным током от 10 до 20 А включ.
Для поворотных выключателей со
схемой 5 с оперированием в оба направления приводной элемент вращают, производя до половины операций в одном направлении, а вторую половину операций - в обратном направлении.
Для других поворотных выключателей с оперированием в оба направления 3/4 общего числа операций выполняют в направлении по часовой стрелке, а оставшуюся часть - в противоположном направлении.
Шнурковые выключатели испытывают установленными, как при нормальной эксплуатации с приложением усилия натяжения шнурка, достаточного для оперирования, но не более 50 Н, направленного на протяжении всего испытания под углом (30 +/- 5)° к вертикали в плоскости, перпендикулярной плоскости монтажа.
Выключатели со
схемой 2 испытывают вначале на выборке из трех образцов с последовательным соединением полюсов.
Затем вторую выборку из трех образцов испытывают при полной нагрузке только на одном полюсе, производя половину числа операций.
Если два полюса неодинаковы, испытание повторяют на другом полюсе.
Два полюса выключателей со
схемами 4 и
5 испытывают, как два выключателя со
схемой 1; если полюса одинаковые, испытывают только один полюс.
Выключатели со
схемой 6 испытывают, производя половину числа операций на одном полюсе, а оставшееся число операций - на другом полюсе.
Выключатели со
схемой 6/2 испытывают, как один выключатель со
схемой 6, если две пары полюсов одинаковы. В противном случае - как два выключателя со
схемой 6.
Испытуемые образцы присоединяют в испытательную цепь кабелями длиной (1 +/- 0,1) м так, чтобы измерение превышения температуры можно было произвести без нарушения зажима.
Нагрузка должна быть такой, как указана на
рисунке 14 (нагрузка A).
После выполнения установленного числа операций нагрузку заменяют нагрузкой B по
рисунку 14 и производят 100 операций в этой цепи при номинальном напряжении.
Металлическая опора выключателя, если имеется, на которой он монтируется, и его доступные металлические части, если имеются, должны быть заземлены через предохранительный элемент, который не должен перегореть во время испытания. Предохранительный элемент состоит из медной проволоки диаметром 0,1 мм и длиной не менее 50 мм.
Во время испытания выключатель должен оперироваться так, чтобы испытательное устройство не мешало нормальной работе механизма выключателя и свободному перемещению приводного элемента.
Не должно быть вынужденного действия. Время включения должно составлять (25 + 5)% времени цикла, время отключения - (75 - 5)%.
Во время испытания образцы должны функционировать правильно. Не должно быть установившейся дуги или приваривания контактов.
Залипание контактов, которое не препятствует следующей операции выключателя, не считают привариванием.
Допускается залипание контактов, если контакты могут быть разъединены с усилием, приложенным к приводу и не повреждающим выключатель механически.
После испытания, не нарушая соединений испытуемого образца, проводят измерение превышения температуры согласно
разделу 17, используя испытательный ток, равный номинальному току. Превышение температуры зажимов не должно быть более 45 °C.
После испытания должно быть возможно включение и отключение выключателя в испытательной цепи вручную, и испытуемые образцы не должны иметь:
- износа, препятствующего их дальнейшей эксплуатации;
- несоответствия между положением приводного элемента и подвижных контактов, если положение приводного элемента указано;
- нарушения оболочек, изоляционных прокладок или перегородок до такой степени, что выключатель непригоден к дальнейшей работе или не соблюдаются требования
раздела 10;
- ослабления электрических или механических соединений;
- просачивания заливочной массы;
- относительного смещения подвижных контактов выключателей со
схемами 2,
3 и
6/2.
Разрыв заменяемого приводного шнурка, за исключением части шнурка, входящей в шнурковый выключатель, не считают отказом при испытании.
20. Механическая прочность
Выключатели, монтажные коробки и ввинчиваемые уплотнения выключателей, отличающихся от обычных, должны иметь достаточную механическую прочность, чтобы выдерживать нагрузки, возникающие в процессе монтажа и эксплуатации.
Соответствие проверяют следующими испытаниями:
- для всех типов выключателей - по
20.1;
- для выключателей с основанием, предназначенных для открытого монтажа, - по
20.2;
- для монтажных коробок - по
20.1;
- для ввинчиваемых уплотнений выключателей, имеющих степень защиты выше, чем IP20, - по
20.3.
Примечание. Блоки выключателей или выключателей с розетками испытывают следующим образом:
- при одной общей крышке - как одно изделие;
- при отдельных крышках - как отдельные изделия.
20.1. Образцы подвергают ударам с помощью испытательной ударной установки, представленной на
рисунках 15 -
18.
Ударный элемент имеет полусферическую поверхность радиусом 10 мм и изготовлен из полиамида, имеющего твердость по Роквеллу от 85 до 100 HR и массу (150 +/- 1) г.
Он жестко закреплен в нижней части стальной трубки наружным диаметром 9 мм и толщиной стенок 0,5 мм, которая на шарнирах укреплена в верхней своей части так, что может качаться только в вертикальной плоскости.
Ось вращения расположена на расстоянии (1000 +/- 1) мм над осью ударного элемента.
Твердость по Роквеллу полиамидного бойка определяют с помощью шарика диаметром (12700 +/- 0,0025) мм с первоначальной нагрузкой (100 +/- 2) Н и дополнительной нагрузкой (500 +/- 2,5) Н.
Примечание 1. Дополнительная информация, касающаяся определения твердости пластмасс по Роквеллу, содержится в ГОСТ 24622.
Конструкция установки должна быть такова, чтобы с усилием от 1,9 до 2,0 Н, приложенным к лицевой поверхности ударного элемента, можно было удерживать трубку в горизонтальном положении.
Испытуемые образцы устанавливают на квадратном листе фанеры толщиной 8 мм и со стороной размером приблизительно 175 мм, который верхним и нижним краями крепят к жестким кронштейнам, являющимся частями монтажного основания.
Монтажное основание должно иметь массу (10 +/- 1) кг и монтироваться на жесткой раме с помощью шарниров. Раму крепят к прочной стене.
Монтажная конструкция должна обеспечивать:
- такое размещение испытуемого образца, чтобы точка удара лежала в вертикальной плоскости по оси шарнира;
- движение образца в горизонтальном направлении и вращение его вокруг оси, перпендикулярной поверхности фанерного листа;
- поворот фанерного листа вокруг вертикальной оси на 60° в обоих направлениях.
Выключатели и монтажные коробки устанавливают на фанерном листе, как при нормальной эксплуатации.
Вводные отверстия выключателей, которые не имеют пробиваемых диафрагм, оставляют открытыми; если предусмотрены пробиваемые диафрагмы, одну из них пробивают.
Образец выключателей для скрытой установки устанавливают в углубление в бруске из граба или аналогичного материала, который крепят к листу фанеры, а не в монтажную коробку. Если брусок из дерева, то направление волокон древесины должно быть перпендикулярно направлению удара.
Выключатели для скрытой установки с винтовым креплением следует крепить винтами к кронштейнам, утопленным в бруске. Аналогичные выключатели могут быть прикреплены к бруску с помощью распорных лапок.
Перед испытанием на удар крепежные винты оснований и крышек затягивают крутящим моментом, равным 2/3 значения, указанного в
таблице 3.
Образцы устанавливают так, чтобы точка нанесения удара лежала в вертикальной плоскости, проходящей по оси шарнира.
Ударный элемент должен падать с высоты, указанной в таблице 18.
Таблица 18
Высота падения для испытания на удар
Высота падения, мм | Части оболочек, подвергаемые удару <*> |
Выключатели со степенью защиты IPX0 | Выключатели со степенью защиты выше, чем IPX0 |
100 | A и B | - |
150 | C | A и B |
200 | D | C |
250 | - | D |
<*> A - части на фронтальной поверхности, в т.ч. части, имеющие углубления; B - части, которые не выступают более чем на 15 мм от монтажной поверхности (расстояние от стены) после монтажа, как при нормальной эксплуатации, за исключением частей A; C - части, которые выступают более чем на 15 мм, но не более 25 мм от монтажной поверхности (расстояние от стены) после монтажа, как при нормальной эксплуатации, за исключением частей A; D - части, которые выступают более чем на 25 мм от монтажной поверхности (расстояние от стены) после монтажа, как при нормальной эксплуатации, за исключением частей A. |
Примечание 2. На все части, за исключением частей А, воздействуют энергией удара, определяемой той частью образца, которая более всего выступает над монтажной поверхностью.
Части принадлежностей, предназначенных исключительно для монтажа на панелях, подвергают ударам, наносимым ударным элементом с высоты 100 мм; ударам подвергают только те части, которые доступны после монтажа принадлежностей на панели.
Высота падения - это расстояние по вертикали между положением контрольной точки в момент отпускания маятника и положением этой же точки в момент удара. Контрольную точку отмечают на поверхности ударного элемента в том месте, где линия, проходящая через точку пересечения оси стальной трубки маятника и оси ударного элемента, перпендикулярна к плоскости, проходящей через обе оси, и пересекает поверхность ударного элемента.
Примечание 3. Теоретически центром тяжести ударного элемента должна быть контрольная точка. Поскольку на практике центр тяжести определить трудно, контрольную точку находят указанным выше способом.
Образцы подвергают девяти ударам, которые наносят равномерно по всему образцу. Удары не наносят в область пробиваемых диафрагм.
Удары наносят следующим образом:
- для частей A - пять ударов: один удар в центре; после перемещения образца в горизонтальном направлении - по одному удару в каждой неблагоприятной точке между центром и краями; затем, после поворота образца на 90° вокруг его оси перпендикулярно фанерному листу, - по одному удару в подобные точки;
- для частей B (насколько приемлемо), C и D - четыре удара:
два удара по каждой из двух сторон образца, по которым удары могут быть нанесены после поворота фанерного листа на 60° в каждом из двух противоположных направлений;
два удара по каждой из двух других сторон образца, по которым удары могут быть нанесены после поворота образца на 90° вокруг его оси перпендикулярно фанерному листу и после поворота фанерного листа на 60° в каждом из двух противоположных направлений.
Если выключатель имеет вводные отверстия, образец устанавливают так, чтобы две линии ударов были насколько возможно равноудалены от этих отверстий.
Накладки и прочие крышки многоместных выключателей испытывают, как накладки и крышки отдельных выключателей.
Для выключателей со степенью защиты выше, чем IPX0, испытание проводят с закрытыми крышками, соответствующее число ударов наносят на те части, которые остаются незащищенными при открытых крышках.
После испытания образцы не должны иметь повреждений, нарушающих требования настоящего стандарта. В частности, токоведущие части не должны стать доступными.
После испытания на глазках (окошки для сигнальных ламп) могут быть трещины и/или они могут быть выбиты, однако не должно быть доступа к токоведущим частям:
- стандартным сочлененным испытательным пальцем в условиях, указанных в
10.1;
- стандартным несочлененным испытательным пальцем в условиях, указанных в
10.1, но с усилием 10 Н.
В случае сомнения проверяют возможность снятия и замены наружных частей, таких как коробки, оболочки, крышки и накладки, без повреждения этих частей или их изоляционных прокладок.
Однако, если накладка, опирающаяся на внутреннюю крышку, будет повреждена, то повторное испытание проводят на внутренней крышке, которая после испытания должна остаться неповрежденной.
Примечание 4. Не принимают во внимание повреждение поверхности, небольшие вмятины, которые не влияют на снижение величины расстояний утечки или воздушных зазоров по сравнению со значениями, указанными в
23.1, и мелкие осколки, которые отрицательно не сказываются на защите выключателя от электрического удара.
Не принимают во внимание трещины, не видимые обычным или скорректированным зрением без дополнительного увеличения, поверхностные трещины отливок из волокнистых материалов и т.п.
Не принимают во внимание трещины или отверстия на наружной поверхности какой-либо части выключателя, если выключатель соответствует требованиям настоящего стандарта даже без этой части. Если декоративная крышка опирается на внутреннюю крышку, то скол декоративной крышки не принимают во внимание, если внутренняя крышка выдержит испытание при снятой декоративной крышке.
20.2. Основания выключателей для открытой установки сначала прикрепляют к цилиндру из жесткой листовой стали, имеющему радиус, в 4,5 раза превышающий расстояние между отверстиями для крепления, но в любом случае не менее 200 мм.
Оси отверстий должны быть расположены в плоскости, перпендикулярной оси цилиндра и параллельной радиусу, проходящему через центр расстояния между отверстиями.
Крепежные винты основания постепенно затягивают максимальным крутящим моментом, равным 0,5 Н·м для винтов с диаметром резьбы до 3 мм включительно и 1,2 Н·м - для винтов, диаметр резьбы которых больше.
Затем основания крепят аналогичным образом к плоскому стальному листу.
Во время и после испытаний на основаниях не должно быть повреждений, препятствующих их дальнейшему использованию.
20.3. Ввинчиваемые сальники собирают с цилиндрическим металлическим стержнем, имеющим диаметр, выраженный в миллиметрах, равный ближайшему целому числу, меньше размера внутреннего диаметра уплотнения.
Затем сальники затягивают с помощью подходящего ключа в течение 1 мин прикладыванием крутящего момента согласно таблице 19.
Таблица 19
Крутящий момент для проверки механической
прочности сальников
Диаметр испытательного стержня, мм | Крутящий момент, Н·м |
Металлические сальники | Сальники из литьевого материала |
До 14 включ. | 6,25 | 3,75 |
Свыше 14 до 20 включ. | 7,50 | 5,00 |
Свыше 20 | 10,00 | 7,50 |
После испытания сальники и оболочки образцов не должны иметь повреждений, не соответствующих требованиям настоящего стандарта.
20.4. При испытании съемных и несъемных крышек, накладок или приводных элементов выключатели устанавливают, как при нормальной эксплуатации.
Выключатели для скрытого монтажа закрепляют в подходящих монтажных коробках, которые устанавливают, как при нормальной эксплуатации, таким образом, чтобы края коробок были утоплены в стене, и оборудуют крышками, накладками и приводными элементами. Если коробки оснащают запирающими устройствами, которые могут управляться без помощи инструмента, то коробки не запирают.
20.4.1. Проверка несъемных крышек, накладок или приводных элементов
Усилия прикладывают постепенно в направлениях, перпендикулярных монтажным поверхностям, так, чтобы результирующая сила, действующая в центре крышек, накладок или приводных элементов, или их частей, составляла:
- 40 Н - для крышек, накладок, приводных элементов или их частей, соответствующих испытаниям по
20.7 и
20.8;
- 80 Н - для других крышек, накладок, приводных элементов или их частей.
Усилие прикладывают в течение 1 мин. Крышки, накладки или приводные элементы не должны сниматься.
Затем испытание повторяют на новых образцах, при этом крышки или накладки устанавливают на стене, подложив вокруг опорной рамы лист твердого материала толщиной (1 +/- 0,1) мм, как показано на
рисунке 19.
Примечание. Лист твердого материала используют вместо обоев, он может состоять из нескольких кусков.
После испытания образцы не должны иметь повреждений, не соответствующих требованиям настоящего стандарта.
20.4.2. Проверка съемных крышек, накладок или приводных элементов
Усилие не более 120 Н прикладывают постепенно в направлениях, перпендикулярных монтажным/опорным поверхностям, к крышкам, накладкам, приводным элементам или их частям посредством крючка, прикладывая его к каждому из желобков, отверстий и т.п., предусмотренных для их снятия.
Крышки, накладки, приводные элементы должны сниматься.
Испытание проводят по 10 раз на каждой отделяемой части, не зафиксированной винтами (точки приложения распределяют, насколько реально), усилие для снятия прикладывают каждый раз к разным желобкам, отверстиям и т.п., предусмотренным для снятия отделяемых деталей.
Затем испытание повторяют на новых образцах, при этом крышки, или накладки, или приводные элементы устанавливают на стене, подложив вокруг опорной рамы лист твердого материала толщиной (1 +/- 0,1) мм, как показано на
рисунке 19.
После испытания образцы не должны иметь повреждений, не соответствующих требованиям настоящего стандарта.
20.5. Испытание проводят согласно
20.4, но с приложением для проверок по
20.4.1 следующих усилий:
- 10 Н - для крышек, накладок, приводных элементов, соответствующих испытаниям по
20.7 и
20.8;
- 20 Н - для других крышек, накладок, приводных элементов.
20.6. Испытание проводят согласно
20.4, но для проверок по
20.4.1 ко всем крышкам, накладкам или приводным элементам прикладывают усилие 10 Н.
20.7. Калибром, соответствующим
рисунку 20, нажимают на каждую сторону каждой крышки, накладки, приводного элемента, которые устанавливают без винтов на монтажной/опорной поверхности, как показано на
рисунке 21.
При испытании калибр прикладывают под прямым углом к каждой испытуемой стороне поверхностью B, опираясь на монтажную/опорную поверхность, поверхностью A - перпендикулярно к ней.
Если крышка или накладка прикреплена без винтов к другой крышке, или накладке, или монтажной коробке, имеющей одни и те же размеры, поверхность B калибра должна быть размещена на уровне стыка. Контур крышки или накладки не должен выступать за контур опорной поверхности.
В процессе испытаний расстояния между поверхностью C калибра и контуром испытуемой стороны, измеренные параллельно поверхности B, не должны уменьшаться (за исключением желобков, отверстий, обратных уклонов и т.п., расположенных на расстоянии менее 7 мм от плоскости, содержащей поверхность B, и соответствующих испытанию по
20.8), начиная от точки X в направлении стрелки Y (см.
рисунок 22).
20.8. Калибр, соответствующий
рисунку 23, приложенный с усилием 1 Н, не должен входить более чем на 1 мм от верхней части любого желобка, отверстия или обратного уклона и т.п., когда калибр прикладывают к ним параллельно монтажной/опорной поверхности и под прямым углом к испытуемой части, как показано на
рисунке 24.
Примечание. Проверку того, действительно ли калибр согласно
рисунку 23 вошел более чем на 1,0 мм, проводят относительно поверхности, перпендикулярной поверхности B, включая верхнюю часть контура канавок, отверстий, обратных уклонов и т.п.
20.9. Приводной элемент шнуркового выключателя должен иметь достаточную прочность.
Соответствие проверяют на новом образце следующим испытанием.
Выключатель монтируют на опоре, как при нормальной эксплуатации.
В течение 1 мин к приводному элементу прикладывают тянущее усилие 100 Н, как при нормальной эксплуатации, после чего усилие 50 Н прикладывают в течение 1 мин в наиболее неблагоприятном направлении по конусообразной поверхности, где центром является приводной шнурок, а угол не превышает 80° к вертикали.
После испытания выключатель не должен иметь повреждений, приводящих к несоответствию настоящему стандарту. Приводной элемент не должен иметь поломок, а выключатель остается действующим.
Выключатели и монтажные коробки должны быть устойчивы к нагреву.
Соответствие проверяют:
a) для коробок открытого монтажа, съемных крышек, накладок и корпусов - испытанием по
21.3;
b) для выключателей, за исключением частей (если имеются), указанных в
перечислении a), - испытаниями по 21.1 -
21.3 (за исключением частей выключателей, изготовленных из натурального или синтетического каучука или их смеси).
21.1. Образцы выдерживают в течение 1 ч в термокамере при температуре (100 +/- 2) °C.
Во время испытаний они не должны претерпевать изменений, затрудняющих их дальнейшую эксплуатацию, а изолирующий компаунд, если применяется, не должен растекаться до такой степени, чтобы токоведущие части стали доступными.
После испытания и охлаждения образцов приблизительно до комнатной температуры токоведущие части, которые обычно недоступны, должны остаться недоступными для прикосновения, когда образцы смонтированы, как для нормальной эксплуатации, даже если стандартный испытательный палец прикладывают с усилием, не превышающим 5 Н.
Маркировка после испытания должна быть четкой и легко читаемой.
Обесцвечиванием, вздутием или небольшим вытеканием изолирующего компаунда можно пренебречь, если при этом не нарушаются требования настоящего стандарта.
21.2. Части из изоляционного материала, на которых крепят токоведущие части и части цепи заземления, подвергают давлению шарика при помощи устройства, приведенного на
рисунке 25, за исключением изолирующих частей (на которых закрепляют зажимы заземления в коробке), которые испытывают в соответствии с
21.3.
Примечание. При невозможности проведения испытания на выключателе испытание проводят на его части толщиной не менее 2 мм, которую вырезают из образца. Если и это невозможно, то могут быть использованы до четырех слоев включительно, каждый из которых вырезают из одного и того же образца, при этом общая толщина слоев не должна быть меньше 2,5 мм.
Поверхность испытуемой части образца устанавливают в горизонтальном положении, и стальной шарик диаметром 5 мм вдавливают в эту поверхность с силой 20 Н.
Испытательную нагрузку и опорное устройство размещают в термокамере на период времени, достаточный для того, чтобы они достигли установившейся испытательной температуры до начала испытания.
Испытание проводят в термокамере при температуре (125 +/- 2) °C.
Спустя 1 ч шарик снимают с образца, который затем охлаждают в течение 10 с приблизительно до комнатной температуры путем погружения в холодную воду.
Диаметр оттиска, сделанного шариком, измеряют, он должен быть не более 2 мм.
21.3. Части из изоляционного материала, не предназначенные для крепления токоведущих частей и частей цепи заземления, даже если они контактируют с ними, подвергают давлению шарика в соответствии с
21.2, однако испытание проводят при большей из температур: (70 +/- 2) °C либо (40 +/- 2) °C плюс наибольшее превышение температуры, измеренное для соответствующей части во время испытания по
разделу 17.
22. Винты, токоведущие части и соединения
22.1. Соединения, электрические или механические, должны выдерживать механические нагрузки, возникающие при нормальной эксплуатации.
Механические соединения, применяемые при монтаже принадлежностей, могут выполняться самонарезающими формующими винтами или самонарезающими режущими винтами при условии поставки винтов вместе с частями, в которые они должны устанавливаться.
Кроме того, самонарезающие режущие винты, предназначенные для использования при сборке, должны быть приложены к соответствующей части принадлежности.
Винты или гайки, передающие контактное давление, должны ввинчиваться в металлическую резьбу.
Соответствие проверяют внешним осмотром, а для винтов и гаек, предназначенных для крепления внешних проводников и монтажа выключателя при установке, - следующим испытанием.
Примечание 1. Требования для проверки зажимов указаны в
разделе 12.
Винты и гайки затягивают и отпускают:
- 10 раз для винтов, ввинчивающихся в резьбу из изоляционного материала;
- 5 раз во всех остальных случаях.
Винты или гайки, ввинчивающиеся в резьбу из изоляционного материала, каждый раз полностью снимают и снова ввинчивают.
Испытание выполняют с помощью подходящей испытательной отвертки или другого инструмента с приложением крутящего момента согласно
12.2.5.
Проводник перемещают каждый раз, когда ослабляют винт или гайку.
Во время испытания не должны возникать повреждения, препятствующие дальнейшему использованию винтовых соединений, такие как излом винтов или повреждение шлицев (делающих невозможным применение соответствующей отвертки), резьбы, шайб или хомутиков.
Примечания
2. К винтам или гайкам, применяемым при монтаже, относят винты для крепления крышек или накладок и т.п., но не относят соединительные детали для ввинчиваемых кабельных вводов и винты для крепления оснований выключателей.
3. Винтовые соединения считают частично проверенными испытаниями по
разделам 19 и
20.
22.2. Для винтов, ввинчиваемых в изоляционный материал при монтаже выключателя, должно быть гарантировано правильное введение в резьбовое отверстие или гайку.
Соответствие проверяют внешним осмотром.
Примечание. Требования к правильному введению винта могут быть соблюдены, например, при наличии направляющего устройства на фиксирующей части, применении утопленной гаечной резьбы или винтов со снятой начальной резьбой.
22.3. Электрические соединения должны быть так сконструированы, чтобы контактное давление не передавалось через изоляционный материал, кроме керамики, чистой слюды или другого материала с аналогичными техническими характеристиками, за исключением случаев, когда металлические детали обладают достаточной упругостью и могут при этом компенсировать возможную усадку или сжатие изоляционного материала.
Соответствие проверяют внешним осмотром.
Примечание. Пригодность применяемых материалов рассматривают в отношении стабильности размеров.
22.4. Винты и заклепки, служащие в качестве электрических и механических соединений, должны иметь устройство, препятствующее их ослаблению или самоотвинчиванию.
Соответствие проверяют внешним осмотром.
Примечания
1. В качестве устройства от самоотвинчивания может служить пружинная шайба.
2. Для заклепок достаточным является некруглое тело заклепки или наличие соответствующих канавок.
3. Изолирующий компаунд, который при нагревании размягчается, может служить удовлетворительным средством от самоотвинчивания только для тех винтов, которые при нормальной эксплуатации не подвергаются кручению.
22.5. Токоведущие части, включая части зажимов (также зажимов заземления), следует изготавливать из металла, имеющего механическую прочность, электропроводность и коррозиеустойчивость, удовлетворяющие использованию по назначению в условиях, имеющих место в оборудовании.
Соответствие проверяют внешним осмотром и при необходимости - химическим анализом.
Примерами таких материалов, используемых в диапазоне допустимых температур и при нормальных условиях химического загрязнения, являются:
- медь;
- сплав, содержащий не менее 58% меди, для частей, изготовленных из холоднокатаных листов, или не менее 50% меди - для других частей;
- нержавеющая сталь, содержащая не менее 13% хрома и не более 0,12% углерода;
- сталь с цинковым гальванопокрытием по ИСО 2081
[2] с толщиной покрытия не менее:
5 мкм - условия эксплуатации N 1 для выключателей со степенью защиты IPX0;
12 мкм - условия эксплуатации N 2 для выключателей со степенью защиты IPX4;
25 мкм - условия эксплуатации N 3 для выключателей со степенью защиты IPX5;
- сталь с никелевым и хромовым гальванопокрытием по ИСО 1456
[3] с толщиной покрытия не менее:
20 мкм - условия эксплуатации N 2 для выключателей со степенью защиты IPX0;
30 мкм - условия эксплуатации N 3 для выключателей со степенью защиты IPX4;
40 мкм - условия эксплуатации N 4 для выключателей со степенью защиты IPX5;
- сталь с оловянным гальванопокрытием по ИСО 2093
[4] с толщиной покрытия не менее:
12 мкм - условия эксплуатации N 2 для выключателей со степенью защиты IPX0;
20 мкм - условия эксплуатации N 3 для выключателей со степенью защиты IPX4;
30 мкм - условия эксплуатации N 4 для выключателей со степенью защиты IPX5.
Токоведущие части, которые могут подвергаться механическому износу, не должны изготавливаться из стали с гальванопокрытием.
Металлы, показывающие большую разность электрохимических потенциалов по отношению друг к другу во влажных условиях, не должны использоваться в контакте друг с другом.
Испытание по проверке соответствия - в стадии рассмотрения.
Примечание. Настоящее требование не относится к винтам, гайкам, шайбам, зажимным пластинам и аналогичным частям зажимов.
22.6. Контакты, которые при нормальной эксплуатации подвергаются трению, следует изготавливать из коррозиестойкого металла.
Соответствие требованиям
22.5 и
22.6 проверяют внешним осмотром и химическим анализом.
22.7. Самонарезающие формующие винты и самонарезающие режущие винты не должны использоваться для соединения токопроводящих частей.
Они могут использоваться для цепи заземления при условии, что при нормальной эксплуатации соединения не будут разъединяться и для каждого соединения используют не менее двух винтов.
Соответствие проверяют внешним осмотром.
Примечание. Использование самонарезающих режущих винтов, которые применяют при монтаже выключателя, - в стадии рассмотрения.
23. Расстояния утечки, воздушные зазоры и расстояния
через заливочную массу
23.1. Расстояния утечки, воздушные зазоры и расстояния через заливочную массу не должны быть менее значений, указанных в таблице 20.
Таблица 20
Расстояния утечки, воздушные зазоры
и расстояния через заливочную массу
Место измерения | Расстояние, мм |
Расстояния утечки |
1. Между токоведущими частями, разделенными, когда контакты разомкнуты | 3 |
2. Между токоведущими частями различной полярности | |
3. Между токоведущими частями и: - доступными поверхностями частей из изоляционного материала; - заземленными металлическими частями, включая цепь заземления; - металлическими опорными рамами оснований выключателей скрытого типа; - винтами или устройствами для крепления оснований, крышек или накладок; - металлическими частями механизма, если требуется их изоляция от токоведущих частей (см. 10.4) | 3 |
4. Между металлическими частями механизма, если требуется их изоляция от доступных металлических частей (см. 10.5), и: - винтами или устройствами для крепления оснований, крышек или накладок; - металлическими опорными рамами оснований выключателей скрытого типа; - доступными металлическими частями | 3 |
5. Между токоведущими частями и доступными незаземленными металлическими частями, кроме винтов и т.п. | |
Воздушные зазоры |
6. Между токоведущими частями, разделенными, когда контакты разомкнуты | |
7. Между токоведущими частями различной полярности | |
8. Между токоведущими частями и: - доступными поверхностями частей из изоляционного материала; - заземленными металлическими частями, включая цепь заземления, не упомянутыми в пунктах 9 и 11; - металлическими опорными рамами оснований выключателей скрытого типа; - винтами или устройствами для крепления оснований, крышек или накладок; - металлическими частями механизма, если требуется их изоляция от токоведущих частей (см. 10.4) | 3 |
9. Между токоведущими частями и: | |
- исключительно заземленными металлическими коробками <5> с выключателем, установленным в самом неблагоприятном положении; | 3 |
- незаземленными металлическими коробками без изоляционной прокладки с выключателем, установленным в самом неблагоприятном положении | 4,5 |
10. Между металлическими частями механизма, если требуется их изоляция от доступных металлических частей (см. 10.5), и: - винтами или устройствами для крепления оснований, крышек или накладок; - металлическими опорными рамами оснований выключателей скрытого типа; - доступными металлическими частями, если основание крепят непосредственно на стене | 3 |
11. Между токоведущими частями и поверхностью, на которой установлено основание выключателя скрытого типа, когда основание закрепляется непосредственно на стене | 6 |
12. Между токоведущими частями и дном паза, если имеется, для внешних проводников выключателей открытого типа | 3 |
13. Между токоведущими частями и доступными незаземленными металлическими частями, кроме винтов и т.п. | |
Расстояния через заливочную массу |
14. Между токоведущими частями, покрытыми изолирующим компаундом толщиной не менее 2 мм, и поверхностью, на которой установлено основание выключателя открытого типа | |
15. Между токоведущими частями, покрытыми изолирующим компаундом толщиной не менее 2 мм, и дном паза, если имеется, для внешних проводников выключателей открытого типа | 2,5 |
<1> Данное значение снижают до 3 мм в выключателях на номинальное напряжение до 250 В включ. <2> Данное значение снижают до 4,5 мм для установочных устройств на номинальное напряжение до 250 В включ. <3> Данное значение снижают до 1,2 мм при разомкнутых контактах для токоведущих частей выключателей с минимальным зазором, перемещаемых при разделении контактов. <4> Данное значение не установлено при разомкнутых контактах для токоведущих частей выключателей с микрозазором, перемещаемых при разделении контактов. <5> Исключительно заземленные металлические коробки - это коробки, которые используют в установках, где требуется их заземление. <6> Воздушные зазоры и расстояния утечки между токоведущими частями различной полярности снижают до 1 мм между проводами на ножке люминесцентных ламп с внешним сопротивлением. |
Соответствие проверяют измерениями.
Измерения проводят на выключателе с присоединенными проводниками с наибольшим сечением, указанным в
разделе 12, а также без проводников. Расстояния в пазах и отверстиях наружных частей из изоляционного материала измеряют до металлической фольги, соприкасающейся с доступной поверхностью; фольгу заправляют в углы и аналогичные выемки при помощи прямого неразъемного испытательного пальца, имеющего такие же размеры, как стандартный испытательный палец, приведенный в ГОСТ 14254
(рисунок 1), но при этом фольга не должна вдавливаться в отверстия.
Проводник вставляют в зажим и присоединяют так, чтобы изоляция жилы касалась металлических частей зажимного устройства или, если изоляция жилы конструктивно защищена от прикосновения к металлическим частям, находилась снаружи зажима.
Для выключателей открытого типа со степенью защиты IPX20 в выключатель на расстояние 1 мм вводят наиболее неблагоприятный кабель или кабельный ввод самого сложного типа согласно
13.12.
Если металлическая рама для крепления основания выключателя скрытого типа подвижна, ее устанавливают в наиболее неблагоприятное положение.
Примечания
1. Любую металлическую часть, находящуюся в контакте с металлической частью механизма, считают металлической частью механизма.
2. В выключателях с двойным размыканием значения расстояний утечки, указанные в
пункте 1 таблицы 20, или воздушных зазоров, указанные в
пункте 5 этой таблицы, представляют собой сумму значений расстояний утечки или воздушных зазоров между одним неподвижным контактом и подвижной частью и между подвижной частью и другим неподвижным контактом.
3. Паз шириной менее 1 мм учитывают в расстоянии утечки только его шириной.
4. При подсчете полной величины воздушного зазора воздушный промежуток менее 1 мм не учитывают.
5. Поверхность, на которой монтируют основание выключателя открытой установки, включает в себя любую поверхность, находящуюся в контакте с основанием при установке выключателя. Если на задней стороне основания имеется металлическая пластина, ее не считают монтажной поверхностью.
23.2. Изолирующая заливочная масса не должна выходить за пределы полости, в которую ее помещают.
Соответствие проверяют внешним осмотром.
24. Устойчивость изоляционных материалов к аномальному
нагреву, огню и трекингостойкость
24.1. Стойкость к аномальному нагреву и огню
Части из изоляционного материала, которые могут испытывать тепловые нагрузки под воздействием электрического тока и нарушение которых может привести к снижению электрической безопасности выключателя, не должны подвергаться чрезмерному нагреву и огню.
24.1.1. Испытание раскаленной проволокой
Испытание выполняют в соответствии с
ГОСТ 27483 при следующих условиях:
a) для частей из изоляционного материала, удерживающих токоведущие части и части цепи заземления, - испытанием при температуре 850 °C, кроме частей из изоляционного материала, на которых установлен зажим заземления в коробке, которая должна испытываться при температуре 650 °C;
b) для частей из изоляционного материала, не удерживающих токоведущие части и части цепи заземления, даже если они контактируют с ними, - испытанием при температуре 650 °C.
Если указанные испытания должны проводиться в нескольких местах одного и того же образца, необходимо обращать внимание на то, чтобы любые нарушения образца, вызванные предыдущими испытаниями, не повлияли на результат последующего испытания.
Небольшие детали, каждая поверхность которых полностью лежит внутри круга диаметром 15 мм или какая-нибудь часть поверхности которых лежит за пределами круга диаметром 15 мм и невозможно вписать ее в круг диаметром 8 мм, не подвергают испытанию по данному разделу (см.
рисунок 26).
Примечание 1. Если испытуемая поверхность имеет выступы и отверстия, наибольший размер которых не превышает 2 мм, ими пренебрегают.
Испытанию не подвергают части из керамического материала.
Примечание 2. Испытание раскаленной проволокой проводят, чтобы гарантировать, что электрически нагретая проволока при определенных условиях не станет причиной зажигания изоляционных частей или что часть из изоляционного материала, которая может воспламениться от раскаленной проволоки при определенных условиях, имеет ограниченное время горения, без перехода горения в пламя или выпадания горящих частиц или капель из испытуемой детали на сосновую доску, покрытую папиросной бумагой.
По возможности в качестве испытуемого образца следует использовать собранный выключатель.
Примечание 3. Если испытание невозможно провести на собранном выключателе, то испытывают часть, вырезанную из него.
Испытание проводят на одном образце. В случае сомнения испытание повторяют еще на двух дополнительных образцах.
Перед испытанием образец выдерживают в течение 24 ч в стандартных климатических условиях окружающей среды в соответствии с ГОСТ Р 50532.
Раскаленную проволоку прикладывают один раз.
Во время испытания образец располагают в самом неблагоприятном положении его предполагаемого применения (с испытуемой поверхностью в вертикальном положении). Конец раскаленной проволоки прикладывают к заданной поверхности испытуемого образца в соответствии с условиями предполагаемого применения, при которых нагретый или раскаленный проволочный элемент мог бы войти в контакт с выключателем.
Во время прикладывания раскаленной проволоки и спустя 30 с после ее снятия необходимо наблюдать за образцом и окружающими его деталями, включая слой под образцом.
Время, когда происходит воспламенение образца и/или пламя затухает во время или после приложения проволоки, измеряют и записывают.
Считают, что образец выдержал испытание раскаленной проволокой, если:
- отсутствует видимое пламя и устойчивое свечение;
- пламя и свечение на образце прекратятся через 30 с после удаления от него проволоки.
Не должно быть возгорания папиросной бумаги или подпаливания доски.
В выключателях, имеющих степень защиты выше, чем IPX0, части из изоляционного материала, удерживающие токоведущие части, должны быть изготовлены из материала, устойчивого к образованию следов пробоя на поверхности диэлектрика.
Керамические части не испытывают.
Плоские поверхности испытуемой детали размером не менее 15 мм x 15 мм располагают в горизонтальном положении на испытательном устройстве.
Испытуемый материал должен выдерживать при контрольном индексе трекингостойкости приложение напряжения 175 В при использовании раствора A с интервалом между каплями (30 +/- 5) с.
Не должно возникнуть короткого замыкания или пробоя между электродами до того, как упадет 50 капель.
Металлические части, включая крышки и монтажные коробки, должны быть надежно защищены от коррозии.
Соответствие проверяют следующим испытанием.
Смазочные вещества удаляют с испытуемых частей путем погружения их на 10 мин в раствор четыреххлористого углерода, треххлористого этана или аналогичного обезжиривающего вещества.
Затем испытуемые части погружают на 10 мин в 10%-ный раствор нашатырного спирта в воде при температуре (20 +/- 5) °C.
Без просушивания, стряхнув капли, части помещают на 10 мин в камеру, содержащую воздух, насыщенный влагой, при температуре (20 +/- 5) °C.
После того, как испытуемые части будут в течение 10 мин просушены в термокамере при температуре (100 +/- 5) °C, на их поверхности не должно быть следов коррозии.
Примечания
1. Следы коррозии на острых краях и желтоватую пленку, которую удаляют протиранием, не учитывают.
2. Слой смазки, наносимый на небольшие пружины и аналогичные им детали, а также на закрытые части, подверженные истиранию, может служить надежной защитой от коррозии.
Указанные детали испытывают только в том случае, если возникает сомнение относительно эффективности смазочного покрытия, и в этом случае испытание проводят без предварительного удаления смазки с детали.
26. Требования к электромагнитной совместимости (ЭМС)
26.1. Стойкость к помехам
Выключатели в пределах требований настоящего стандарта устойчивы к воздействию электромагнитных помех, и поэтому испытания не являются необходимыми.
26.2. Создание помех
Электромагнитные помехи могут создаваться выключателем только при коммутационных операциях. Поскольку они непродолжительны, в испытаниях нет необходимости.
| | |
Зажим без прижимной пластины | Зажим с эллипсным отверстием | Зажим с прижимной пластиной |
Размеры в мм
Сечение проводника, присоединяемого к зажиму, мм2 | Минимальный диаметр D (или минимальные размеры места расположения проводника), мм | Минимальное расстояние g между зажимным винтом и концом проводника, полностью вставленного в зажим, мм | Крутящий момент, Н·м |
| | |
Один винт | Два винта | Один винт | Два винта | Один винт | Два винта |
Один винт | Два винта |
До 1,5 | 2,5 | 1,5 | 1,5 | 0,20 | 0,20 | 0,2 | 0,4 | 0,4 | 0,4 |
2,5 (цилиндрическое отверстие) | 3,0 | 1,5 | 1,5 | 0,25 | 0,20 | 0,5 | 0,4 | 0,5 | 0,4 |
2,5 (эллиптическое отверстие) | 2,5 x 4,5 | 1,5 | 1,5 | 0,25 | 0,20 | 0,5 | 0,4 | 0,5 | 0,4 |
4 | 3,6 | 1,8 | 1,5 | 0,40 | 0,20 | 0,8 | 0,4 | 0,7 | 0,4 |
6 | 4,0 | 1,8 | 1,5 | 0,40 | 0,25 | 0,8 | 0,5 | 0,8 | 0,5 |
10 | 4,5 | 2,0 | 1,5 | 0,70 | 0,25 | 1,2 | 0,5 | 1,2 | 0,5 |
16 | 5,5 | 2,5 | 2,0 | 0,80 | 0,70 | 2,0 | 1,2 | 2,0 | 1,2 |
25 | 7,0 | 3,0 | 2,0 | 1,20 | 0,70 | 2,5 | 1,2 | 3,0 | 1,2 |
<*> Значения применимы к винтам, указанным в соответствующих графах таблицы 3. |
Часть зажима, содержащая отверстие с резьбой, и часть зажима, в которой зажимается проводник, могут представлять собой две самостоятельные детали, как в случае зажима, снабженного хомутом.
Форма места расположения проводника может быть другой по сравнению с рисунком 1 при условии, что в нее можно вписать окружность с диаметром, равным минимальному значению, указанному для D, или минимальным размерам эллиптического отверстия, предназначенного для проводников с сечениями до 2,5 мм2.
Рисунок 1. Торцевые зажимы
| |
Зажимы, не требующие применения прокладки, прижимной пластины или специальной прижимной детали | Зажимы, требующие применения прокладки, прижимной пластины или специальной прижимной детали |
Зажимы с крепежной головкой и зажимы под гайку |
| |
Зажимы с крепежной головкой |
| |
Зажимы под гайку |
1 - возможный вариант; 2 - неподвижная деталь; 3 - прокладка
или прижимная пластина; 4 - специальная прижимная деталь;
5 - гайка; D - место расположения проводника
Сечение присоединяемого проводника, мм2 | Минимальный диаметр D места расположения проводника, мм | Крутящий момент, Н·м |
| |
Один винт | Два винта | Один винт или гайка | Два винта или гайки |
До 1,5 | 1,7 | 0,5 | - | 0,5 | - |
" 2,5 | 2,0 | 0,8 | - | 0,8 | - |
" 4,0 | 2,7 | 1,2 | 0,5 | 1,2 | 0,5 |
" 6,0 | 3,6 | 2,0 | 1,2 | 2,0 | 1,2 |
" 10,0 | 4,3 | 2,0 | 1,2 | 2,0 | 1,2 |
" 16,0 | 5,5 | 2,0 | 1,2 | 2,0 | 1,2 |
" 25,0 | 7,0 | 2,5 | 2,0 | 3,0 | 2,0 |
<*> Указанные значения применимы к винтам, упомянутым в соответствующих графах таблицы 3. |
Часть, которая удерживает проводник в определенном положении, может быть изготовлена из изоляционного материала при условии, что необходимое давление для зажима проводника не будет передаваться через изоляционный материал.
Второе возможное место для расположения проводника с поперечным сечением до 2,5 мм2 может быть использовано для присоединения второго проводника, когда требуется присоединить два проводника сечением 2,5 мм2.
Рисунок 2. Зажимы с крепежной головкой и зажимы под гайку
1 - прижимная планка; 2 - неподвижная деталь;
3 - шпилька; D - место расположения проводников
Сечение проводника, присоединяемого к зажиму, мм2 | Минимальный диаметр D места расположения проводника, мм | Крутящий момент, Н·м |
До 4 | 3,0 | 0,5 |
" 6 | 4,0 | 0,8 |
" 10 | 4,5 | 1,2 |
" 16 | 5,5 | 1,2 |
" 25 | 7,0 | 2,0 |
Форма места расположения проводника может быть другой по сравнению с рисунком при условии, что в нее можно вписать окружность с диаметром, равным минимальному значению, указанному для D.
Формы верхней и нижней сторон прижимной планки могут быть разными для присоединения проводников меньшего и большего сечений, при необходимости планку можно переворачивать.
Рисунок 3. Зажимы с прижимной планкой
1 - стопорная деталь; 2 - кабельный наконечник или шина;
3 - неподвижная деталь; 4 - шпилька
Сечение присоединяемого проводника, мм2 | Минимальное расстояние g между краем отверстия и концом прижимной детали, мм | Крутящий момент, Н·м |
| |
До 16 | 7,5 | 2,0 | 2,0 |
" 25 | 9,0 | 2,5 | 3,0 |
<*> Указанные значения применимы к винтам, указанным в соответствующих графах таблицы 3. |
Для зажимов этого типа должны быть предусмотрены упругая шайба или аналогичная надежная стопорная деталь и ровная поверхность в месте прижима.
Для выключателей некоторых типов возможно применение зажимов под наконечник меньших размеров по сравнению с указанными размерами.
Рисунок 4. Зажимы под наконечник
1 - неподвижная деталь; D - место расположения проводника
Сечение присоединяемого проводника, мм2 | Минимальный диаметр D места расположения проводника <*>, мм | Минимальное расстояние между неподвижной деталью и концом проводника, полностью вставленного в зажим, мм |
До 1,5 | 1,7 | 1,5 |
" 2,5 | 2,0 | 1,5 |
" 4,0 | 2,7 | 1,8 |
" 6,0 | 3,6 | 1,8 |
" 10,0 | 4,3 | 2,0 |
" 16,0 | 5,5 | 2,5 |
" 25,0 | 7,0 | 3,0 |
<*> Дно пространства для расположения проводника должно быть слегка закруглено для достижения надежного соединения. |
Значения крутящего момента указаны соответственно в
графе 2 или
4 таблицы 3.
Рисунок 5. Зажимы под колпачок
Рисунок 6. Самонарезающий формующий винт
Рисунок 7. Самонарезающий режущий винт
Номер схемы | Число полюсов | Возможные соединения |
| 1 | |
| 2 | |
| 3 | |
| 4 | |
| 1 | |
| 1 | |
| 1 | |
| 2 | |
| 1 | |
Схемы приведены для испытаний, но не для маркировки.
Рисунок 8. Классификация выключателей в зависимости
от вида соединения
Рисунок 9. Свободный
1 - контактный зажим; 2 - плата; 3 - втулка; 4 - груз
Примечание. Следует обратить внимание на то, чтобы отверстие во втулке гарантировало, чтобы усилие, прикладываемое к кабелю, было тянущим, и что передача любого вращающего момента соединению в зажимном устройстве отсутствует.
Рисунок 10. Испытательное устройство для контроля
повреждения проводников
Размер в миллиметрах
Рисунок 11a. Принцип действия испытательной установки
для проверки на изгиб безвинтовых контактных зажимов
Рисунок 11b. Принципиальная схема
для определения падения напряжения во время испытаний
на изгиб безвинтовых контактных зажимов
A - амперметр; S - выключатель;
mV - милливольтметр; 1 - образец; 2 - испытуемое
прижимное устройство; 3 - проводник; 4 - прогнутый
проводник; 5 - точка приложения усилия для прогиба
проводника; 6 - направление отклоняющей силы
(перпендикулярно к неотклоненному проводу)
Рисунок 11
Приводной механизм
Устройство для поворотных выключателей
Устройство для перекидных выключателей
Устройство для выключателей с балансиром
и кнопочных выключателей
Устройство для выключателей, приводимых в действие
с помощью шнуров
Рисунок 12. Устройство для проверки включающей и отключающей
способности и нормальной работы выключателя
Стрелки, показывающие соединение фазных проводников, приведены исключительно в качестве примера.
Если обозначения предприятия-изготовителя указывают другой порядок соединений, то необходимо следовать этим обозначениям.
Рисунок 13. Электрические схемы для проверки выключающей
и разрывной мощности и нормальной работы выключателя
Рисунок 14. Принципиальная схема для испытаний выключателей
для люминесцентных ламп под нагрузкой
1 - рама; 2 - образец; 3 - основание для крепления образца
Рисунок 15. Устройство для испытания на удар
Материал деталей: 1 - полиамид; 2 - 5 - сталь
Рисунок 16. Устройство маятника для испытания на удар
1 - шарнир; 2 - лист фанеры
Рисунок 17. Основание для крепления образца
1 - брусок из граба; 2 - лист фанеры
Размеры паза в бруске из граба даны в качестве примера.
Рисунок 18. Основание для крепления выключателей
скрытой установки
1 - лист твердого материала; 2 - защитный кожух;
3 - опорная рама; 4 - монтажная коробка; 5 - стена
Рисунок 19. Устройство для испытания крышек
и закрывающих пластин
Рисунок 20. Калибр (толщина около 2 мм) для проверки
габаритов крышек для закрывающих пластин
1 - монтажная поверхность; 2 - выключатель; 3 - опора;
4 - расположение детали, имеющей ту же толщину,
что и опорная часть
Рисунок 21. Пример использования калибра на
рисунке 20,
установленного за выключателем, который смонтирован
на монтажной или опорной поверхности
Случаи a) и b) - не соответствуют;
случаи c), d), e) и f) - соответствуют (соответствие
должно быть проверено требованиями
20.8, используя
Рисунок 22. Примеры применения калибра на
рисунке 20
в соответствии с требованиями
20.7
Рисунок 23. Калибр для проверки пазов, отверстий
и обратных конусов
1 - выключатель; 2 - монтажная поверхность
Рисунок 24. Схема, показывающая направление приложения
1 - образец; 2 - стальной шарик диаметром 5 мм
Рисунок 25. Установка для испытания прочности материалов
Рисунок 26. Схема испытания по
24.1.1
--------------------------------
<1> Размер для справки.
1 - кирпич; 2 - строительный раствор; 3 - монтажная коробка;
4 - плоскость установки
Примечание. Все швы строительного раствора толщиной (10 +/- 5) мм, если не указано иначе.
Рисунок 27. Блок испытательной стены для проведения
испытаний в соответствии с требованиями
15.2.2
(обязательное)
ОБОЗНАЧЕНИЕ ОБРАЗЦОВ, НЕОБХОДИМЫХ ДЛЯ ИСПЫТАНИЙ
Число образцов, необходимых для испытаний в соответствии с
5.4.
Разделы и пункты | Число образцов | Число дополнительных образцов для двойного номинального тока |
| A | - |
| A | - |
| A | - |
| A, B, C | - |
10. Защита от поражения электрическим током | A, B, C | - |
11. Обеспечение заземления | A, B, C | - |
| A, B, C | J, K, L |
13. Требования к конструкции <2> | A, B, C | - |
| A, B, C | - |
15. Устойчивость к старению, защита от проникновения воды и влагоустойчивость | A, B, C | - |
16. Сопротивление изоляции и электрическая прочность изоляции | A, B, C | - |
17. Превышение температуры | A, B, C | J, K, L |
18. Включающая способность и разрывная мощность | A, B, C | J, K, L |
19. Нормальная работа <3> | A, B, C | J, K, L |
20. Механическая прочность <4> | A, B, C | - |
| A, B, C | - |
22. Винты, токоведущие части и соединения | A, B, C | - |
23. Расстояния утечки, воздушные зазоры и расстояния через заливочную массу | A, B, C | - |
19.2. Нормальная работа для цепей люминесцентных ламп | D, E, F | M, N, O |
24.1. Стойкость к аномальному нагреву и огню | G, H, I | - |
| G, H, I | - |
| G, H, I | - |
Общее число | 9 | 6 |
<1> Пять дополнительных безвинтовых зажимов используют для испытания по 12.3.11 и один дополнительный комплект образцов используют для испытания по 12.3.12. <2> Дополнительный комплект мембран необходим для каждого из испытаний по 13.15.1 и 13.15.2. <3> Для выключателей со схемой 2 используют дополнительный комплект образцов. <4> Один дополнительный комплект образцов шнурковых выключателей необходим для испытания по 20.9. <5> Может быть использован один дополнительный комплект образцов. |
(обязательное)
ДОПОЛНИТЕЛЬНЫЕ ТРЕБОВАНИЯ К ВЫКЛЮЧАТЕЛЯМ, ОСНАЩЕННЫМ
ДЕТАЛЯМИ ДЛЯ ВЫВОДА И УДЕРЖАНИЯ ГИБКИХ КАБЕЛЕЙ
3. Определения
3.23. Выключатель с выводом гибкого кабеля (flexible cable outlet switch): выключатель, имеющий обеспечение для вывода гибкого кабеля.
7. Классификация
7.1.10. В зависимости от наличия вывода гибкого кабеля - на выключатели:
- без вывода гибкого кабеля;
- с выводом гибкого кабеля.
10. Защита от поражения электрическим током
Для выключателей с выводом гибкого кабеля испытание проводят без установленного гибкого кабеля.
12. Контактные зажимы
Для выключателей с выводом гибкого кабеля испытание повторяют с гибкими кабелями соответствующего размера (см.
13.15), следуя той же методике.
13. Требования к конструкции
Раздел дополнить следующим подпунктом:
| | ИС МЕГАНОРМ: примечание. Взамен ГОСТ Р МЭК 60227-5-2002 Приказом Ростехрегулирования от 26.06.2009 N 221-ст с 1 января 2010 года введен в действие ГОСТ Р МЭК 60227-5-2009. | |
13.16. Выключатели с выводом гибкого кабеля должны быть сконструированы так, чтобы соответствующий гибкий кабель по
ГОСТ Р МЭК 60245-4 (кодовое обозначение 60245 МЭК 66) или по ГОСТ Р МЭК 60227-5 (кодовое обозначение 60227 МЭК 53), или указанный изготовителем, мог быть введен в выключатель через соответствующее отверстие, штуцер или сальник. Вход должен быть наибольших допускаемых размеров (по внешней оболочке) соответствующего гибкого кабеля, имеющего проводники сечением по таблице 12а согласно номинальному току выключателя, но не менее 1,5 мм
2, и вход должен быть такой формы, чтобы исключить повреждение гибкого кабеля.
Таблица 12а
Внешние размеры гибких кабелей
Номинальный ток, А | Сечение проводников, мм2 | Число проводников | Внешние размеры гибких кабелей, мм |
минимальный | максимальный |
6 | От 0,75 до 1,50 включ. | 2 | 3,8 x 6 | 5,2 x 7,6 |
6 | 11,5 |
3 | 12,5 |
4 | 13,5 |
5 | 15,0 |
10 | От 1,00 до 2,50 включ. | 2 | 7,6 | 13,5 |
3 | 14,5 |
4 | 15,5 |
5 | 17,0 |
16 | От 1,50 до 4,00 включ. | 2 | 15,0 |
3 | 16,0 |
4 | 18,0 |
5 | 19,5 |
От 20 до 25 | От 2,50 до 6,00 включ. | 2 | 8,6 | 18,5 |
3 | 20,0 |
4 | 22,0 |
5 | 24,5 |
Примечание. Внешние размеры кабелей в данной таблице базируются на типах 60227 МЭК 53 по ГОСТ Р МЭК 60227-5 и 60245 МЭК 66 по ГОСТ Р МЭК 60245-4 и приводятся для сведения. |
Анкерное крепление для гибкого кабеля должно предохранять проводники от натяжения или скручивания в месте их присоединения к зажимам или деталям вывода.
Анкерное крепление для кабеля должно иметь прижимную планку и быть из изоляционного материала или из металла. В последнем случае оно должно иметь изолирующую прокладку, прикрепленную к металлическим частям.
Анкерное крепление должно надежно крепить гибкий кабель к выключателю.
Конструкция должна обеспечивать:
- невозможность ослабления кабельного анкерного крепления с внешней стороны;
- крепление кабеля без применения специального инструмента.
Винты, которые используют для крепления гибких кабелей, не должны служить для крепления других деталей, кроме случая, когда выключатель поставляется очевидно неукомплектованным, когда детали отсутствуют или установлены в неправильном положении, или детали, предназначенные для крепления, не могут быть сняты без помощи инструмента.
Соответствие проверяют внешним осмотром и следующим испытанием.
| | ИС МЕГАНОРМ: примечание. Взамен ГОСТ Р МЭК 60227-5-2002 Приказом Ростехрегулирования от 26.06.2009 N 221-ст с 1 января 2010 года введен в действие ГОСТ Р МЭК 60227-5-2009. | |
Выключатели оснащают гибким кабелем по ГОСТ Р МЭК 60227-5 (кодовое обозначение 60227 МЭК 53), имеющим номинальное сечение проводников 1,5 мм2 и число жил, соответствующих числу полюсов выключателя.
Примечание. В данном испытании цепь заземления считают полюсом.
Проводники вводят в зажимы, и крепежные винты затягивают крутящим моментом, достаточным, чтобы предотвратить легкое изменение положения проводников. Кабельное анкерное крепление используют в нормальном положении с винтами крепления, если имеются, затянутыми крутящим моментом, равным 2/3 приведенного в
таблице 3.
После такой подготовки должно быть невозможно ввести гибкий кабель в выключатель до такой степени, чтобы нарушить безопасность или ослабить анкерное крепление.
Затем гибкий кабель подвергают 25 раз натяжению с усилием 30 Н. Усилия прикладывают плавно без рывков в наиболее неблагоприятном направлении длительностью 1 с каждое. Сразу после этого гибкий кабель подвергают в течение 1 мин воздействию крутящего момента, равного 0,15 Н·м, приложенного как можно ближе к кабельному вводу.
Вышеуказанное испытание затем повторяют на выключателе, оснащенном гибким кабелем наибольшего предназначенного диаметра по
ГОСТ Р МЭК 60245-4, кодовое обозначение 60245 МЭК 66. Усилие натяжения увеличивают до 60 Н, а крутящий момент - до 0,35 Н·м.
После испытания гибкий кабель не должен сместиться более чем на 2 мм.
Для измерения продольного перемещения на гибком кабеле делают отметку до начала натяжения на расстоянии приблизительно 20 мм от кабельного анкерного крепления.
После испытания перемещение отметки на гибком кабеле измеряют по отношению к кабельному анкерному креплению, пока гибкий кабель не подвергнется натяжению снова.
Напряжение 2000 В переменного тока прикладывают в течение 1 мин между проводниками и анкерным креплением.
Во время испытания изоляция гибкого кабеля не должна повреждаться. Пробой или перекрытие считают повреждением гибкого кабеля.
(справочное)
СВЕДЕНИЯ О СООТВЕТСТВИИ ССЫЛОЧНЫХ НАЦИОНАЛЬНЫХ
И МЕЖГОСУДАРСТВЕННЫХ СТАНДАРТОВ МЕЖДУНАРОДНЫМ СТАНДАРТАМ,
ИСПОЛЬЗОВАННЫМ В КАЧЕСТВЕ ССЫЛОЧНЫХ В ПРИМЕНЕННОМ
МЕЖДУНАРОДНОМ СТАНДАРТЕ
Таблица ДА.1
Обозначение ссылочного национального, межгосударственного стандарта | Степень соответствия | Обозначение и наименование ссылочного международного стандарта |
| | ИС МЕГАНОРМ: примечание. ГОСТ Р 50043.1-92 утратил силу с 01.01.2014 в связи с введением в действие ГОСТ 31195.1-2012 (Приказ Росстандарта от 15.11.2012 N 852-ст). Взамен ГОСТ 31195.1-2012 Приказом Росстандарта от 09.12.2020 N 1275-ст введен в действие ГОСТ IEC 60998-1-2017. | |
|
ГОСТ Р 50043.1-92 (МЭК 998-1-90) | MOD | МЭК 60998-1:1990 "Соединительные устройства для низковольтных цепей бытового и аналогичного назначения. Часть 1. Общие требования" |
ГОСТ Р 50043.2-92 (МЭК 998-2-1-90) | MOD | МЭК 60998-2-1:1990 "Соединительные устройства для низковольтных цепей бытового и аналогичного назначения. Часть 2-1. Частные требования для соединительных устройств с винтовыми зажимами" |
ГОСТ Р 50043.3-2000 (МЭК 998-2-2-91) | MOD | МЭК 60998-2-2:1991 "Соединительные устройства для низковольтных цепей бытового и аналогичного назначения. Часть 2-2. Частные требования к безвинтовым зажимам для присоединения медных проводников" |
ГОСТ Р 50532-93 (МЭК 212-71) | MOD | МЭК 60212:1971 "Метод определения сравнительного и контрольного индексов трекингостойкости во влажной среде" |
(МЭК 670-89) | MOD | МЭК 60670:1989 "Корпусы для аппаратов, устанавливаемые в стационарные электрические установки бытового и аналогичного назначения" |
-2000 (МЭК 60999-1-99) | MOD | МЭК 60999-1:1999 "Соединительные устройства. Требования к контактным зажимам. Часть 1. Требования к винтовым и безвинтовым контактным зажимам для соединения медных проводников с номинальным сечением от 0,2 до 35 мм2" |
ГОСТ Р 51686.2-2000 (МЭК 60999-2-95) | MOD | МЭК 60999-2:1995 "Соединительные устройства. Требования к контактным зажимам. Часть 2. Требования к винтовым и безвинтовым контактным зажимам для соединения медных проводников с номинальным сечением от 35 до 300 мм2" |
| IDT | МЭК 60227-4:1992 "Кабели с поливинилхлоридной изоляцией на номинальное напряжение до 450/750 В включительно. Часть 4. Кабели в оболочке для стационарной прокладки" |
| | ИС МЕГАНОРМ: примечание. Взамен ГОСТ Р МЭК 60227-5-2002 Приказом Ростехрегулирования от 26.06.2009 N 221-ст с 1 января 2010 года введен в действие ГОСТ Р МЭК 60227-5-2009. | |
|
ГОСТ Р МЭК 60227-5-2002 | IDT | МЭК 60227-5:1979 "Кабели с поливинилхлоридной изоляцией на номинальные напряжения до 450/750 В включительно. Часть 5: Гибкие кабели (шнуры). Изменение 1" |
| IDT | МЭК 60245-4:1994 "Кабели с резиновой изоляцией на номинальное напряжение до 450/750 В включительно. Часть 4: Шнуры и гибкие кабели" |
| MOD | МЭК 60529:1989 "Степени защиты, обеспечиваемые оболочками" |
ГОСТ 24622-91 (ИСО 2039-2-87) | MOD | ИСО 2039-2:1987 "Пластмассы. Определение твердости. Твердость по Роквеллу" |
| MOD | МЭК 60112:1979 "Метод определения сравнительного и контрольного индексов трекингостойкости во влажной среде" |
| NEQ | МЭК 60695-2-1:1991 "Испытания на пожароопасность. Методы испытаний. Испытания нагретой проволокой" |
| MOD | МЭК 60417:1973 "Аппаратура радиоэлектронная профессиональная. Условные графические обозначения" |
Примечание. В настоящей таблице использованы следующие условные обозначения степени соответствия стандартов: - IDT - идентичные стандарты; - MOD - модифицированные стандарты; - NEQ - неэквивалентные стандарты. |
| МЭК 60050-442:1998 | Международный электротехнический словарь. Часть 442. Электрическое вспомогательное оборудование (IEC 60050-442:1998 International Electrotechnical Vocabulary - Part 442: Electrical accessories) |
| ИСО 2081:1986 | Металлическое покрытие. Цинк на железо или сталь электролитическим осаждением (ISO 2081:1986 Metallic coatings - Electroplated coatings of zinc on iron or steel) |
| ИСО 1456:1988 | Металлическое покрытие. Никель-хромовое и медно-никель-хромовое покрытие электролитическим осаждением (ISO 1456:1988 Metallic coatings - Electrodeposited coatings of nickel plus chromium and of copper plus nickel plus chromium) |
| ИСО 2093:1986 | Металлическое покрытие. Залуживание электролитическим осаждением. Спецификация и методы испытаний (ISO 2093:1986 Electroplated coatings of tin - Specification and test methods). |