Главная // Актуальные документы // Актуальные документы (обновление 2025.06.02-2025.07.05) // ГОСТ (Государственный стандарт)СПРАВКА
Источник публикации
М.: ФГБУ "Институт стандартизации", 2025
Примечание к документу
Документ
введен в действие с 01.05.2025.
Взамен ГОСТ 9726-89.
Название документа
"ГОСТ 9726-2024. Межгосударственный стандарт. Станки вертикальные фрезерные с крестовым столом. Нормы точности и жесткости станков и методы испытаний на точность и жесткость"
(введен в действие Приказом Росстандарта от 29.11.2024 N 1813-ст)
"ГОСТ 9726-2024. Межгосударственный стандарт. Станки вертикальные фрезерные с крестовым столом. Нормы точности и жесткости станков и методы испытаний на точность и жесткость"
(введен в действие Приказом Росстандарта от 29.11.2024 N 1813-ст)
агентства по техническому
регулированию и метрологии
от 29 ноября 2024 г. N 1813-ст
МЕЖГОСУДАРСТВЕННЫЙ СТАНДАРТ
СТАНКИ ВЕРТИКАЛЬНЫЕ ФРЕЗЕРНЫЕ С КРЕСТОВЫМ СТОЛОМ
НОРМЫ ТОЧНОСТИ И ЖЕСТКОСТИ СТАНКОВ
И МЕТОДЫ ИСПЫТАНИЙ НА ТОЧНОСТЬ И ЖЕСТКОСТЬ
Vertical milling machines with compound table. Standards
of accuracy and rigidity of machine tools and methods
of testing for accuracy and rigidity
ГОСТ 9726-2024
Дата введения
1 мая 2025 года
Цели, основные принципы и общие правила проведения работ по межгосударственной стандартизации установлены
ГОСТ 1.0 "Межгосударственная система стандартизации. Основные положения" и
ГОСТ 1.2 "Межгосударственная система стандартизации. Стандарты межгосударственные, правила и рекомендации по межгосударственной стандартизации. Правила разработки, принятия, обновления и отмены"
1 РАЗРАБОТАН Федеральным государственным бюджетным образовательным учреждением высшего образования "Уфимский университет науки и технологий" (УУНиТ) и Федеральным государственным бюджетным учреждением "Российский институт стандартизации" (ФГБУ "Институт стандартизации")
2 ВНЕСЕН Техническим комитетом по стандартизации ТК 70 "Станки"
3 ПРИНЯТ Межгосударственным советом по стандартизации, метрологии и сертификации (протокол от 29 ноября 2024 г. N 179-П)
За принятие проголосовали:
Краткое наименование страны по МК (ИСО 3166) 004-97 | Код страны по МК (ИСО 3166) 004-97 | Сокращенное наименование национального органа по стандартизации |
Азербайджан | AZ | Азстандарт |
Армения | AM | ЗАО "Национальный орган по стандартизации и метрологии" Республики Армения |
Беларусь | BY | Госстандарт Республики Беларусь |
Киргизия | KG | Кыргызстандарт |
Россия | RU | Росстандарт |
Таджикистан | TJ | Таджикстандарт |
Узбекистан | UZ | Узбекское агентство по техническому регулированию |
4
Приказом Федерального агентства по техническому регулированию и метрологии от 29 ноября 2024 г. N 1813-ст межгосударственный стандарт ГОСТ 9726-2024 введен в действие в качестве национального стандарта Российской Федерации с 1 мая 2025 г.
5 ВЗАМЕН ГОСТ 9726-89
Информация о введении в действие (прекращении действия) настоящего стандарта и изменений к нему на территории указанных выше государств публикуется в указателях национальных стандартов, издаваемых в этих государствах, а также в сети Интернет на сайтах соответствующих национальных органов по стандартизации.
В случае пересмотра, изменения или отмены настоящего стандарта соответствующая информация будет опубликована на официальном интернет-сайте Межгосударственного совета по стандартизации, метрологии и сертификации в каталоге "Межгосударственные стандарты"
Целью настоящего стандарта является стандартизация методов испытаний на точность и жесткость вертикальных фрезерных станков с крестовым столом в части общих схем и порядка проведения испытаний; норм точности и жесткости вертикальных фрезерных станков с крестовым столом; формы, размеров и допусков на размеры образцов-изделий, используемых при испытаниях на точность вертикальных фрезерных станков с крестовым столом.
Настоящий стандарт распространяется на вертикальные фрезерные станки с крестовым столом общего назначения (далее - станки) классов точности Н, П и В, в том числе на станки с копировальным устройством, с программным управлением, многоцелевые фрезерно-расточные станки и гибкие производственные модули на их базе.
Стандарт не распространяется на специальные и специализированные станки.
В настоящем стандарте использованы нормативные ссылки на следующие межгосударственные стандарты:
ГОСТ 8 Станки металлорежущие. Общие требования к испытаниям на точность
ГОСТ 12.2.003 Система стандартов безопасности труда. Оборудование производственное. Общие требования безопасности
ГОСТ 12.3.002 Система стандартов безопасности труда. Процессы производственные. Общие требования безопасности
ГОСТ 8032 Предпочтительные числа и ряды предпочтительных чисел
ГОСТ 22267-76 Станки металлорежущие. Схемы и способы измерений геометрических параметров
ГОСТ 23597 Станки металлорежущие с числовым программным управлением. Обозначение осей координат и направлений движений. Общие положения
ГОСТ 24644 Концы шпинделей и хвостовики инструментов сверлильных, расточных и фрезерных станков. Размеры. Технические требования
ГОСТ 25443 Станки металлорежущие. Образцы-изделия для проверки точности обработки. Общие технические требования
ГОСТ 25889.1 Станки металлорежущие. Методы проверки круглости образца-изделия
ГОСТ 25889.2 Станки металлорежущие. Методы проверки параллельности двух плоских поверхностей образца-изделия
ГОСТ 25889.3 Станки металлорежущие. Методы проверки перпендикулярности двух плоских поверхностей образца-изделия
ГОСТ 25889.4 Станки металлорежущие. Метод проверки постоянства диаметров образца-изделия
ГОСТ 27843 (ИСО 230-2:1997) Испытания станков. Определения точности и повторяемости позиционирования осей с числовым программным управлением
Примечание - При пользовании настоящим стандартом целесообразно проверить действие ссылочных стандартов и классификаторов на официальном интернет-сайте Межгосударственного совета по стандартизации, метрологии и сертификации (www.easc.by) или по указателям национальных стандартов, издаваемым в государствах, указанных в предисловии, или на официальных сайтах соответствующих национальных органов по стандартизации. Если на документ дана недатированная ссылка, то следует использовать документ, действующий на текущий момент, с учетом всех внесенных в него изменений. Если заменен ссылочный документ, на который дана датированная ссылка, то следует использовать указанную версию этого документа. Если после принятия настоящего стандарта в ссылочный документ, на который дана датированная ссылка, внесено изменение, затрагивающее положение, на которое дана ссылка, то это положение применяется без учета данного изменения. Если ссылочный документ отменен без замены, то положение, в котором дана ссылка на него, применяется в части, не затрагивающей эту ссылку.
3 Общие требования к испытаниям станков на точность и жесткость
Общие требования к испытаниям станков на точность и жесткость - по
ГОСТ 8.
Общие требования к средствам измерений и вспомогательным устройствам - с учетом
[1].
4 Методы испытаний на точность и нормы точности станков
4.1 Рекомендации по применению методов испытаний станков на точность
Методы испытаний станков на точность (проверки точности), указанные в настоящем стандарте как предпочтительные, следует применять в качестве обязательных при возникновении разногласий между изготовителем и потребителем в оценке качества станков.
4.2 Расположение рабочих органов станка
Подвижные рабочие органы, не перемещаемые при проведении проверок, закрепляют в соответствии с эксплуатационной документацией на станок.
4.3 Нормы точности станков
Нормы точности станков не должны превышать значений, указанных в
4.3.1 -
4.3.18.
Для станков класса точности В показатели точности с допусками, ужесточенными в 1,26 - 1,6 раза по сравнению с допусками класса точности П, устанавливают по согласованию между изготовителем и потребителем.
Нормы точности шпинделей угловых головок не должны превышать значений, указанных в
4.3.12 -
4.3.15 более чем в 1,6 раза для соответствующего класса. При пересчетах значения допусков следует округлять до ближайшего значения по ряду R10
ГОСТ 8032.
4.3.1 Прямолинейность рабочей поверхности стола и стола-спутника
Схемы измерений прямолинейности рабочей поверхности стола и стола-спутника приведены на
рисунках 1 -
3.
Рисунок 1 - Схема измерения прямолинейности рабочей
поверхности стола и стола-спутника с помощью поверочной
линейки и средства измерения длины
Рисунок 2 - Схема измерения прямолинейности рабочей
поверхности стола и стола-спутника с помощью оптической
или электромеханической линейки
Рисунок 3 - Схема измерения прямолинейности рабочей
поверхности стола и стола-спутника с помощью уровня
Рекомендуемое расположение сечений и точек измерения приведено на
рисунке 4.
Рисунок 4 - Схема расположения сечений и точек измерения
Допуски прямолинейности рабочей поверхности стола приведены в
таблице 2.
Таблица 2
Допуски прямолинейности рабочей поверхности стола
Длина измерения, мм | Допуск, мкм, для станков классов точности |
Н | П |
До 250 включ. | 12 | 8 |
Св. 250 " 400 " | 16 | 10 |
" 400 " 630 " | 20 | 12 |
" 630 " 1000 " | 25 | 16 |
" 1000 " 1600 " | 30 | 20 |
" 1600 " 2500 " | 40 | 25 |
" 2500 " 4000 " | 50 | 30 |
Примечания
1 Для столов с длиной до 1600 мм и столов-спутников выпуклость не допускается, для столов с длиной свыше 1600 мм выпуклость допускается не более
1/
4 от допуска по
таблице 2.
2 Для копировальных станков допуск распространяется на часть рабочей поверхности стола, предназначенной для базирования обрабатываемых деталей.
Измерение - по ГОСТ 22267-76 (раздел 4, предпочтительно методы 3, 4 или 6).
Стол устанавливают в среднее положение в продольном и поперечном направлениях. Измерения выполняют в трех продольных и трех поперечных сечениях (среднем и двух крайних) и двух диагональных.
Расстояние между точками измерения: a = 0,1L, но не менее 100 мм, b ~= 0,3B.
Для станков с длиной рабочей поверхности стола свыше 1000 мм поперечные сечения должны быть расположены на расстоянии 2a. Количество сечений должно быть не менее трех.
При необходимости выбора другого расположения сечений или точек измерения из-за расположения Т-образных пазов и каналов для отвода смазочно-охлаждающей жидкости их расположение указывают в эксплуатационной документации станка.
4.3.2 Постоянство углового положения рабочей поверхности стола
Постоянство углового положения рабочей поверхности стола при его перемещении:
а) в продольном направлении;
б) в поперечном направлении.
Допуски углового положения рабочей поверхности стола приведены в
таблице 3.
Таблица 3
Допуски углового положения рабочей поверхности стола
Длина перемещения, мм | Допуск, мм/м (угловые секунды), для станков классов точности |
Н | П |
До 400 включ. | 0,02 (4) | 0,012 (2,5) |
Св. 400 " 1600 " | 0,03 (6) | 0,02 (4) |
" 1600 " 2500 " | 0,04 (8) | 0,025 (5) |
Измерение - по ГОСТ 22267-76
(раздел 13, предпочтительно метод 1) (см.
рисунок 5).
Рисунок 5 - Схема измерения углового положения
рабочей поверхности стола
Стол устанавливают в среднее положение в направлении, перпендикулярном к направлению рабочего перемещения.
На рабочей поверхности стола в средней его части перпендикулярно к направлению перемещения устанавливают уровень.
Стол перемещают на всю длину хода.
Расстояние между точками измерения не должно превышать 0,2 длины хода стола.
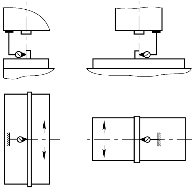
4.3.3 Прямолинейность и параллельность траектории продольного и поперечного перемещений стола относительно его рабочей поверхности
Схемы измерений прямолинейности и параллельности траектории продольного и поперечного перемещений стола относительно его рабочей поверхности приведены на
рисунке 6.
а
Рисунок 6 - Схема измерения прямолинейности и параллельности
траектории продольного и поперечного перемещений стола
относительно его рабочей поверхности
Допуски прямолинейности и параллельности траектории продольного и поперечного перемещений стола относительно его рабочей поверхности приведены в
таблице 4.
Таблица 4
Допуски прямолинейности и параллельности траектории
продольного и поперечного перемещений стола
относительно его рабочей поверхности
Длина перемещения, мм | Допуск, мкм, для станков классов точности |
Н | П |
До 250 включ. | 12 | 8 |
Св. 250 " 400 " | 16 | 10 |
" 400 " 630 " | 20 | 12 |
" 630 " 1000 " | 25 | 16 |
" 1000 " 1600 " | 30 | 20 |
" 1600 " 2500 " | 40 | 25 |
Измерение - по ГОСТ 22267-76 (раздел 6, предпочтительно методы 1а и 1б).
Измерение проводят в среднем сечении стола.
Наконечник средства измерений в продольном и поперечном направлениях располагают по оси шпинделя.
Стол устанавливают в среднее положение в направлении, перпендикулярном к направлению его перемещения. Стол перемещают на всю длину хода.
Допуски прямолинейности и параллельности траектории продольного и поперечного перемещений стола относительно его рабочей поверхности при измерении по методу 1б (см.
рисунок 6 б) принимают с увеличением в 1,6 раза от значений, указанных в
таблице 4.
4.3.4 Прямолинейность траектории перемещения стола в продольном и поперечном направлениях в горизонтальной плоскости
Схемы измерений прямолинейности траектории перемещения стола в продольном и поперечном направлениях в горизонтальной плоскости приведены на
рисунке 7.
а
б
Рисунок 7 - Схема измерения прямолинейности траектории
перемещения стола в продольном и поперечном
направлениях в горизонтальной плоскости
Допуски прямолинейности траектории перемещения стола в продольном и поперечном направлениях в горизонтальной плоскости приведены в
таблице 5.
Таблица 5
Допуски прямолинейности траектории перемещения
стола в продольном и поперечном направлениях
в горизонтальной плоскости
Длина перемещения, мм | Допуск, мкм, для станков классов точности |
Н | П |
До 250 включ. | 8 | 5 |
Св. 250 " 400 " | 10 | 6 |
" 400 " 630 " | 12 | 8 |
" 630 " 1000 " | 16 | 10 |
" 1000 " 1600 " | 20 | 12 |
" 1600 " 2500 " | 25 | 16 |
Измерение - по ГОСТ 22267-76 (раздел 3, предпочтительно методы 1б и 3).
При перемещении стола свыше 1600 мм допускается проводить измерение с помощью специальной линейки.
Стол устанавливают в среднее положение в направлении, перпендикулярном к направлению его перемещения.
Наконечник средства измерений в направлении проверяемого перемещения располагают по оси шпинделя.
Поверочную линейку или струну устанавливают в середине стола и выверяют параллельно направлению перемещения стола.
Стол перемещают на всю длину хода.
4.3.5 Постоянство расстояния между траекторией продольного перемещения стола и боковой поверхностью направляющего паза (контрольной кромки)
Схема измерения постоянства расстояния между траекторией продольного перемещения стола и боковой поверхностью направляющего паза (контрольной кромки) приведена на
рисунке 8.
Рисунок 8 - Схема измерения постоянства расстояния
между траекторией продольного перемещения стола и боковой
поверхностью направляющего паза (контрольной кромки)
Допуски постоянства расстояния между траекторией продольного перемещения стола и боковой поверхностью направляющего паза (контрольной кромки) приведены в
таблице 6.
Таблица 6
Допуски постоянства расстояния между траекторией продольного
перемещения стола и боковой поверхностью направляющего паза
(контрольной кромки)
Длина перемещения, мм | Допуск, мкм, для станков классов точности |
Н | П |
До 630 включ. | 20 | 12 |
Св. 630 " 1000 " | 25 | 16 |
" 1000 " 1600 " | 30 | 20 |
" 1600 " 2500 " | 40 | 25 |
Измерение - по ГОСТ 22267-76 (раздел 24, предпочтительно метод 2).
Стол устанавливают в среднее положение в поперечном направлении.
Стол перемещают на всю длину продольного перемещения, но не более длины паза.
Измерение проводят по обеим боковым сторонам направляющего паза стола.
Допускается между столом и средством измерений располагать плоскопараллельную концевую меру длины (плитку).
4.3.6 Перпендикулярность направления поперечного перемещения стола к направлению его продольного перемещения
Схема измерения перпендикулярности направления поперечного перемещения стола к направлению его продольного перемещения приведена на
рисунке 9.
Рисунок 9 - Схема измерения перпендикулярности
направления поперечного перемещения стола
к направлению его продольного перемещения
Измерение - по ГОСТ 22267-76 (раздел 8, предпочтительно метод 1).
Допуск на длине перемещения 300 мм для станков классов точности:
Н - 20 мкм;
П - 12 мкм.
Стол в продольном направлении устанавливают в среднее положение.
Поверочный угольник (раму) измерительной гранью располагают посередине рабочей поверхности стола.
Наконечник средства измерений в направлении проверяемого перемещения стола располагают по оси шпинделя.
Направления перемещений стола по обеим координатам при выверке поверочного угольника и при выполнении измерений принимают одинаковыми.
4.3.7 Перпендикулярность направления поперечного перемещения стола направлению его продольного перемещения при обходе контура прямоугольной рамки (рекомендуемая)
Схема измерения перпендикулярности направления поперечного перемещения стола направлению его продольного перемещения при обходе контура прямоугольной рамки приведена на
рисунке 10.
Рисунок 10 - Схема измерения перпендикулярности направления
поперечного перемещения стола направлению его продольного
перемещения при обходе контура прямоугольной рамки
Допуски перпендикулярности направления поперечного перемещения стола направлению его продольного перемещения при обходе контура прямоугольной рамки приведены в
таблице 7.
Таблица 7
Допуски перпендикулярности направления поперечного
перемещения стола направлению его продольного перемещения
при обходе контура прямоугольной рамки
Поперечное перемещение, мм | Допуск, мкм, для станков классов точности |
наибольшее | контролируемое | Н | П |
До 250 включ. | 125 | 16 | 10 |
Св. 250 " 400 " | 160 | 20 | 12 |
" 400 " 630 " | 200 | 25 | 16 |
" 630 " 1000 " | 250 | 30 | 20 |
Измерение - по ГОСТ 22267-76 (раздел 8, предпочтительно метод 1).
Стол в продольном направлении устанавливают в положение, смещенное от среднего, поочередно в обе стороны на величину, равную 1/4 его продольного хода, но не более 400 мм.
Наконечник средства измерений в направлении проверяемого перемещения стола располагают по оси шпинделя.
Направления перемещения стола при установке в продольном направлении и при измерении должны соответствовать направлениям перемещений по схеме обработки изделия.
4.3.8 Прямолинейность траектории продольного и поперечного перемещений стола в вертикальной плоскости (рекомендуемая)
Схема измерения прямолинейности траектории продольного и поперечного перемещений стола в вертикальной плоскости приведена на
рисунке 11.
Рисунок 11 - Схема измерения прямолинейности
траектории продольного и поперечного перемещений
стола в вертикальной плоскости
Допуски прямолинейности траектории продольного и поперечного перемещений стола в вертикальной плоскости приведены в
таблице 8.
Таблица 8
Допуски прямолинейности траектории продольного
и поперечного перемещений стола в вертикальной плоскости
Длина перемещения, мм | Допуск, мкм, для станков классов точности |
Н | П |
До 250 включ. | 8 | 5 |
Св. 250 " 400 " | 10 | 6 |
" 400 " 630 " | 12 | 8 |
" 630 " 1000 " | 16 | 10 |
" 1000 " 1600 " | 20 | 12 |
" 1600 " 2500 " | 25 | 16 |
Измерение - по ГОСТ 22267-76 (раздел 3, предпочтительно метод 16).
При перемещении стола свыше 1600 мм используют специальную линейку.
Стол устанавливают в среднее положение в направлении, перпендикулярном к направлению его перемещения.
Наконечник средства измерений в направлении проверяемого перемещения располагают по оси шпинделя.
Поверочную линейку или специальную линейку устанавливают в середине стола и выверяют параллельно направлению перемещения стола.
Стол перемещают на всю длину.
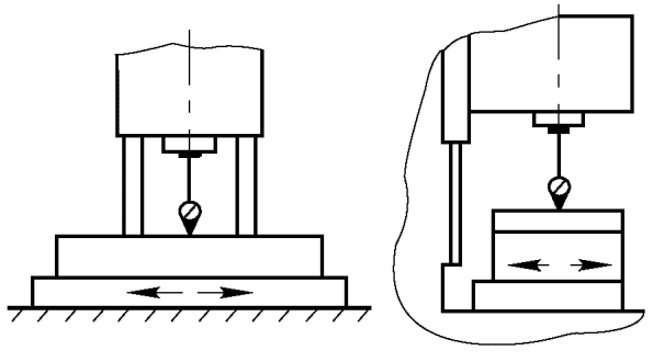
4.3.9 Перпендикулярность оси вращения шпинделя к рабочей поверхности стола в плоскостях, параллельной и перпендикулярной к продольному перемещению стола
Схема измерения перпендикулярности оси вращения шпинделя к рабочей поверхности стола в плоскостях, параллельной и перпендикулярной к продольному перемещению стола, приведена на
рисунке 12.
Рисунок 12 - Схема измерения перпендикулярности оси
вращения шпинделя к рабочей поверхности стола
в плоскостях, параллельной и перпендикулярной
к продольному перемещению стола
Допуски перпендикулярности оси вращения шпинделя к рабочей поверхности стола в плоскостях, параллельной и перпендикулярной к продольному перемещению стола, приведены в
таблице 9.
Таблица 9
Допуски перпендикулярности оси вращения шпинделя
к рабочей поверхности стола в плоскостях, параллельной
и перпендикулярной к продольному перемещению стола
Ширина стола, мм | Длина измерения L, мм | Допуск, мкм, для станков классов точности |
Н | П |
До 630 | 300 | 16 | 12 |
Св. 630 | 500 | 25 | 20 |
Измерение - по ГОСТ 22267-76 (раздел 10, предпочтительно метод 1).
Стол устанавливают в среднее положение в продольном и поперечном направлениях.
Поверочную линейку устанавливают в середине стола.
Шпиндельную бабку устанавливают в среднее положение.
Для станков с поворотной шпиндельной бабкой измерение проводят только в плоскости, перпендикулярной к продольному перемещению стола.
Допускается проводить измерения перпендикулярности оси вращения шпинделя к направлению перемещения стола по ГОСТ 22267-76 (раздел 9, предпочтительно метод 3).
Поверочную линейку в направлении, перпендикулярном к проверяемому, устанавливают по оси шпинделя по ГОСТ 22267-76 (раздел 3, метод 1а).
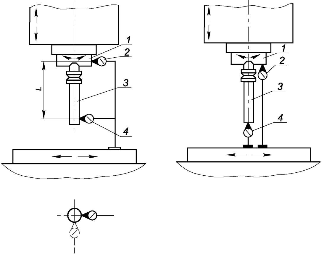
4.3.10 Прямолинейность и перпендикулярность траектории вертикального перемещения шпиндельной бабки к рабочей поверхности стола в продольном и поперечном направлениях
Схемы измерений прямолинейности и перпендикулярности траектории вертикального перемещения шпиндельной бабки к рабочей поверхности стола в продольном и поперечном направлениях приведены на
рисунке 13.
Рисунок 13 - Схема измерения прямолинейности
и перпендикулярности траектории вертикального
перемещения шпиндельной бабки к рабочей поверхности
стола в продольном и поперечном направлениях
Допуски прямолинейности и перпендикулярности траектории вертикального перемещения шпиндельной бабки к рабочей поверхности стола в продольном и поперечном направлениях приведены в
таблице 10.
Таблица 10
Допуски прямолинейности и перпендикулярности траектории
вертикального перемещения шпиндельной бабки к рабочей
поверхности стола в продольном и поперечном направлениях
Длина перемещения, мм | Допуск, мкм, для станков классов точности |
Н | П |
Св. 250 до 400 включ. | 20 | 12 |
" 400 " 630 " | 25 | 16 |
" 630 " 1000 " | 30 | 20 |
Измерение - по ГОСТ 22267-76
(раздел 9, предпочтительно метод 1а) (см.
рисунок 13 а).
Стол устанавливают в среднее положение в продольном и поперечном направлениях.
Поверочный угольник в направлении, перпендикулярном к проверяемому, располагают по оси шпинделя.
Шпиндельную бабку перемещают на всю длину хода без остановки и закрепления.
Измерения проводят в двух взаимно перпендикулярных вертикальных плоскостях, параллельных продольному и поперечному перемещениям стола.
Допускается проводить измерения прямолинейности и перпендикулярности траектории перемещения шпиндельной бабки к направлению перемещения стола по ГОСТ 22267-76 (
раздел 8, предпочтительно методы 2 и
3) (см.
рисунок 13 б).
Поверочный угольник с линейкой в направлении, перпендикулярном к проверяемому, располагают по оси шпинделя. Допускается устанавливать два поверочных угольника с линейками на одинаковом минимальном расстоянии от поперечной плоскости, проходящей через ось шпинделя. В этом случае отклонение определяют как наибольшую алгебраическую разность алгебраических полусумм одновременно фиксируемых показаний обоих средств измерений.
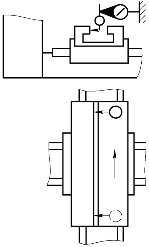
4.3.11 Параллельность плоскости поворота шпиндельной бабки относительно направления продольного перемещения стола (для станков с поворотной шпиндельной бабкой)
Схема измерения параллельности плоскости поворота шпиндельной бабки относительно направления продольного перемещения стола приведена на
рисунке 14.
1 - стол; 2 - поверочный угольник; 3 - средство измерений
Рисунок 14 - Схема измерения параллельности плоскости
поворота шпиндельной бабки относительно направления
продольного перемещения стола
Допуск на длине перемещения L = 300 мм для станков классов точности:
Н - 20 мкм;
П - 12 мкм.
Стол
1 (см.
рисунок 14) устанавливают в среднее положение в продольном и поперечном направлениях.
Шпиндельную бабку устанавливают в среднее положение в направлении вертикального перемещения.
Поверочный угольник
2 устанавливают в продольном направлении в средней части стола со средним пазом и выверяют параллельно направлению продольного перемещения стола. Шпиндельную бабку поворачивают на угол

так, чтобы наконечник средства измерений
3 касался измерительной поверхности угольника в двух точках, расположенных друг от друга на длине 300 мм.
Отклонение от параллельности равно алгебраической разности показаний средства измерений в двух точках на заданной длине измерения.
4.3.12 Осевое биение шпинделя
Схемы измерений осевого биения шпинделя приведены на
рисунке 15.
Рисунок 15 - Схема измерения осевого биения шпинделя
Допуски осевого биения шпинделя приведены в
таблице 11.
Таблица 11
Допуски осевого биения шпинделя
Диаметр наружной центрирующей поверхности шпинделя, мм | Допуск, мкм, для станков классов точности |
Н | П |
До 65 включ. | 8 | 5 |
Св. 65 " 100 " | 10 | 6 |
" 100 " 160 " | 12 | 8 |
Измерение - по ГОСТ 22267-76 (раздел 17, предпочтительно метод 1).
4.3.13 Торцевое биение опорного торца шпинделя (для станков с базированием фрез по торцовой поверхности)
Схема измерения торцевого биения опорного торца шпинделя приведена на
рисунке 16.
Рисунок 16 - Схема измерения торцевого биения
опорного торца шпинделя
Допуски торцевого биения опорного торца шпинделя приведены в
таблице 12.
Таблица 12
Допуски торцевого биения опорного торца шпинделя
Диаметр наружной центрирующей поверхности шпинделя, мм | Допуск, мкм, для станков классов точности |
Н | П |
До 65 включ. | 12 | 8 |
Св. 65 " 100 " | 16 | 10 |
" 100 " 160 " | 20 | 12 |
Измерение - по ГОСТ 22267-76 (раздел 18).
4.3.14 Радиальное биение наружной центрирующей поверхности шпинделя (для станков с центрированием фрез по наружной центрирующей поверхности)
Схема измерения радиального биения наружной центрирующей поверхности шпинделя приведена на
рисунке 17.
Рисунок 17 - Схема измерения радиального биения
наружной центрирующей поверхности шпинделя
Допуски радиального биения наружной центрирующей поверхности шпинделя приведены в
таблице 13.
Таблица 13
Допуски радиального биения наружной
центрирующей поверхности шпинделя
Диаметр наружной центрирующей поверхности шпинделя, мм | Допуск, мкм, для станков классов точности |
Н | П |
До 100 включ. | 8 | 6 |
Св. 100 " 160 " | 10 | 8 |
Измерение - по ГОСТ 22267-76 (раздел 15, предпочтительно метод 1).
4.3.15 Радиальное биение конического отверстия шпинделя
Радиальное биение конического отверстия шпинделя:
Допуски радиального биения конического отверстия шпинделя приведены в
таблице 14.
Таблица 14
Допуски радиального биения конического отверстия шпинделя
| | ИС МЕГАНОРМ: примечание. В официальном тексте документа, видимо, допущена опечатка: пункт 5.4.15 отсутствует. Возможно, имеется в виду пункт 4.3.15. | |
Диаметр наружной центрирующей поверхности шпинделя, мм | Перечисление пункта 5.4.15 | L, мм | Допуск, мкм, для станков классов точности |
Н | П |
До 100 включ. | | - | 8 | 6 |
| 150 | 12 | 10 |
Св. 100 " 160 " | | - | 10 | 8 |
| 300 | 20 | 16 |
Измерение - по ГОСТ 22267-76
(раздел 15, предпочтительно метод 2) (см.
рисунок 18).
Рисунок 18 - Схема измерения радиального
биения конического отверстия шпинделя
4.3.16 Точность линейного позиционирования стола и бабки
При измерении точности линейного позиционирования стола и бабки (для станков с программным управлением) (см.
рисунок 19) проверяют:
а) точность одностороннего позиционирования (см.
таблицу 15);
б) повторяемость одностороннего позиционирования (см.
таблицу 16);
в) точность двустороннего позиционирования
A (см.
таблицу 17);
г) повторяемость двустороннего позиционирования (см.
таблицу 18);
д) зону нечувствительности позиционирования оси (см.
таблицу 19).
Рисунок 19 - Схема измерения точности
позиционирования стола и бабки
Таблица 15
Допуски одностороннего линейного позиционирования
Длина перемещения, мм | Допуски (  и  ), мкм, для станков классов точности |
Н | П |
До 125 включ. | 25 | 16 |
Св. 125 " 400 " | 30 | 20 |
" 400 " 1000 " | 40 | 25 |
" 1000 " 2500 " | 50 | 30 |
Таблица 16
Допуски повторяемости одностороннего
линейного позиционирования
Ширина стола, мм | Допуск (  и  ), мкм, для станков классов точности |
Н | П |
До 400 включ. | 12 | 10 |
Св. 400 " 630 " | 16 | 12 |
" 630 " 1000 " | 20 | 16 |
Таблица 17
Допуски двухстороннего линейного позиционирования
Длина перемещения, мм | Допуск (A), мкм, для станков классов точности |
Н | П |
До 125 включ. | 30 | 20 |
Св. 125 " 400 " | 40 | 25 |
" 400 " 1000 " | 50 | 30 |
" 1000 " 2500 " | 80 | 50 |
Таблица 18
Допуски повторяемости двухстороннего
линейного позиционирования
Длина перемещения, мм | Допуск (Rmax), мкм, для станков классов точности |
Н | П |
До 400 включ. | 16 | 12 |
Св. 400 " 630 " | 20 | 16 |
" 630 " 1000 " | 25 | 20 |
Таблица 19
Допуски зоны нечувствительности позиционирования оси
Длина перемещения, мм | Допуски B, мкм, для станков классов точности |
Н | П |
До 125 включ. | 6 | 4 |
Св. 125 " 400 " | 8 | 5 |
" 400 " 1000 " | 12 | 8 |
" 1000 " 2500 " | 20 | 12 |
Примечания
1 Допуски по оси
Z в технически обоснованных случаях могут быть увеличены по сравнению с указанными в
таблицах 15 -
19, но не более чем в 1,6 раза для соответствующего класса.
2 Допуски для станков классов точности П, оснащенных системами косвенного измерения положения рабочих органов, увеличивают по сравнению с указанными в
таблицах 15 -
19 в 1,6 раза, но не более чем у станков класса точности Н.
Штриховую меру устанавливают в центре стола (см.
рисунок 19 а и
б) на высоте не более 0,3
H (где
H - наибольшее расстояние от торца шпинделя до рабочей поверхности стола).
Микроскоп в перпендикулярном к проверяемому направлению располагают как можно ближе к оси шпинделя.
При измерении точности позиционирования шпиндельной бабки в вертикальном направлении (ось
Z) микроскоп располагают на уровне торца шпинделя, а образцовую штриховую меру в поперечном направлении располагают по оси шпинделя (см.
рисунок 19 в).
Измерение проводят по каждой координате на всей длине хода проверяемых узлов станка. Интервалы между точками измерения примерно равны 0,1 длины измеряемого перемещения и не кратны шагу средств измерений станка. Крайние точки измерения располагают от начала и конца измеряемого перемещения на расстоянии, примерно равным 0,1 от величины интервала между точками измерения.
4.3.17 Стабильность положения инструмента при его повторной автоматической установке в шпиндель
Стабильность положения инструмента при его повторной автоматической установке в шпиндель:
а) в радиальном направлении;
Допуски при положении инструмента при его повторной автоматической установке в шпиндель приведены в
таблице 20.
Таблица 20
Допуски при положении инструмента при его
повторной автоматической установке в шпиндель
| | ИС МЕГАНОРМ: примечание. В официальном тексте документа, видимо, допущена опечатка: пункт 5.4.17 отсутствует. Возможно, имеется в виду пункт 4.3.17. | |
Диаметр наружной центрирующей поверхности шпинделя, мм | Перечисление пункта 5.4.17 | L, мм | Допуск, мкм, для станков классов точности |
Н | П |
До 100 включ. | | 150 | 8 | 4 |
| - | 8 | 4 |
Св. 100 " 160 " | | 300 | 12 | 6 |
| - | 10 | 5 |
В шпинделе
1 (см.
рисунок 20) станка устанавливают и закрепляют контрольную оправку
3.
1 - шпиндель; 2, 4 - средства измерений;
3 - контрольная оправка
Рисунок 20 - Схема измерения стабильности положения
инструмента при его повторной автоматической
установке в шпиндель
Средства измерений 2 и 4 устанавливают на столе станка и фиксируют начальные показания.
Вращением шпинделя с оправкой определяют наибольшее показание прибора 4.
Для станков с фиксированием шпинделя в одном положении после автоматической установки инструмента допускается при измерении в осевом направлении вращение шпинделя не производить.
Шпиндельную бабку отводят в положение смены инструмента. Оправку переносят в магазин, а затем вновь устанавливают в шпиндель.
Число повторных измерений - не менее пяти.
Отклонение положения оправки fi определяют по формуле

(1)
где

- показание средства измерений 4 при
i-м измерении;

- показание средства измерений 2 при
i-м измерении;

- показание средства измерений 4 при начальном измерении;

- показание средства измерений 2 при начальном измерении.
Стабильность положения инструмента Ri определяют как наибольшую разность отклонений (размаха) положений оправки для числа повторных измерений равного пяти
Ri = fimax - fimin. (2)
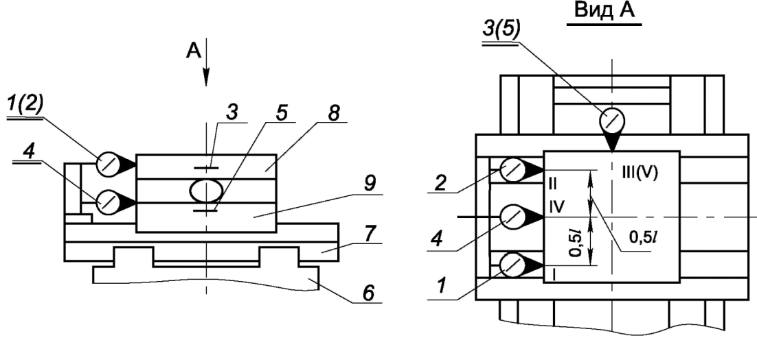
4.3.18 Стабильность автоматической установки стола-спутника на стол станка
Схема измерения стабильности автоматической установки стола-спутника на стол станка приведена на
рисунке 21.
1, 2, 3, 4, 5 - средства измерений; 6 - станина;
7 - салазки; 8 - стол-спутник; 9 - стол
Рисунок 21 - Схема стабильности автоматической
установки стола-спутника на стол станка
Допуски при автоматической установке стола-спутника на стол станка приведены в
таблице 21.
Таблица 21
Допуски при автоматической установке
стола-спутника на стол станка
Ширина стола-спутника, мм | l, мм | Допуск, мкм, для станков классов точности П |
До 400 включ. | 150 | 10 |
Св. 400 " 1000 " | 300 | 16 |
Измерение проводят с помощью столов-спутников (образцового стола-спутника) и средств измерений.
Измерения проводят в плоскости, параллельной рабочей поверхности стола-спутника, в двух взаимно перпендикулярных направлениях, параллельных осям координат.
Средства измерений
1,
2 и
4 (см.
рисунок 21) устанавливают на салазках
7 так, чтобы измерительные наконечники средств измерений
1 и
2 касались боковой стороны стола-спутника
8, перпендикулярной к направлению перемещения стола
9 по салазкам
7, в сечениях I и II, расположенных на расстоянии 0,5 от оси симметрии стола-спутника
8, и были перпендикулярны ей, а измерительный наконечник средства измерений
4 - соответствующей стороны стола
9 в сечении IV, расположенном по оси симметрии стола
9, и был перпендикулярен ей.
Средства измерений 3 и 5 устанавливают на станине 6 так, чтобы измерительный наконечник средства измерений 3 касался боковой стороны стола-спутника 8 и был перпендикулярен ей, а измерительный наконечник средства измерений 5 - соответстсвующей стороны салазок 7 или стола 9, в том же сечении и был перпендикулярен ей.
В позиции измерения фиксируют начальные показатели P10, P20, P30, P40, P50 средств измерений 1 - 5, после чего стол перемещают в позицию смены столов-спутников, где осуществляют автоматическое снятие стола-спутника со станка и его повторную установку на стол. Затем стол возвращают в позицию измерения, где вновь проводят измерение.
При несовпадении позиций смены и измерения погрешность позиционирования в позицию смены учитывают с помощью средств измерений 4 и 5 или одного из них.
Линейные отклонения по двум взаимно перпендикулярным осям координат

и

при каждом
i-м измерении определяют по следующим формулам:

(3)

(4)
где P1i, P2i, P3i, P4i, P5i - показания средств измерений 1 - 5 при i-м измерении.
По результатам измерений определяют наибольшую разность отклонений (размаха) для числа повторных измерений не менее пяти

(5)

(6)
В качестве показателя стабильности автоматической установки стола-спутника принимают наибольшее из значений

,
.
Допускается измерение в двух взаимно перпендикулярных направлениях проводить раздельно в каждом направлении.
Допускается жесткое закрепление средств измерений 1 - 3 на столе-спутнике.
5 Точность образца-изделия
5.1 Общие требования к образцам-изделиям
Общие требования к образцам-изделиям - по ГОСТ 25443.
5.2 Нормы точности образцов-изделий
Нормы точности образцов-изделий для станков классов точности Н и П не должны превышать значений, указанных в
5.4 -
5.8.
Для станков класса точности В показатели точности с допусками, ужесточенными в 1,6 раза по сравнению с допусками класса точности П, устанавливают по согласованию между изготовителем и потребителем.
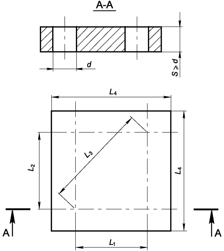
5.3 Форма и размеры образцов-изделий
Форма и размеры образцов-изделий для станков с ручным и программным управлением - в соответствии с
рисунком 22.
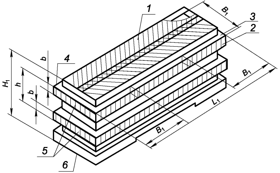
1 - 6 - измеряемые поверхности образца-изделия
Рисунок 22 - Форма и размеры чугунного образца-изделия
для станков с ручным и программным управлением
Размеры чугунного образца-изделия (см.
рисунок 22) принимают равными
B1 >= 0,5
B, но не более 250 мм;
L1 >= 0,5, но не более 1000 мм;
h >= 0,3
H, но не более 120 мм;

,
b = 16 мм;
B,
L,
H - соответственно ширина рабочей поверхности стола, продольный ход стола и наибольшее расстояние от рабочей поверхности стола до торца шпинделя.
Допускаемые отклонения размеров от номинального значения +/- 10%.
Поверхности 2 и 4 образца могут быть прерывистыми (с вырезами).
Образец устанавливают по середине стола и закрепляют.
Подвижные узлы станка по закреплению находятся в состоянии, предусмотренном для выполнения точных работ.
Обработку поверхности 1 проводят торцовыми фрезами, не менее чем за два прохода с перекрытием не более 10 мм.
При обработке вертикальных поверхностей каждую полосу обрабатывают отдельно с перестановкой шпиндельной бабки по вертикали.
Все обработанные поверхности
1 -
5 должны соответствовать требованиям, указанным в
5.4 -
5.6.
5.4 Прямолинейность поверхностей 1, 2 и 4
Схемы измерений прямолинейности поверхностей
1,
2 и
4 приведены на
рисунках 23 -
26.
Рисунок 23 - Схема измерения прямолинейности поверхности
1 в продольном, поперечном и диагональном сечениях
Рисунок 24 - Схема измерения прямолинейности
поверхностей 1, 2 и 4
Рисунок 25 - Схема измерения прямолинейности поверхностей
2 и 4 в продольном сечении на поверочной плите
Рисунок 26 - Схема измерения прямолинейности поверхностей
1, 2 и 4 непосредственно на поверочной плите
Примечание - a - расстояние между точками измерения в продольном и диагональном направлениях; a = 0,1L1, но не менее 80 мм; b ~= 0,33B1.
Допуски прямолинейности поверхностей приведены в
таблице 22.
Таблица 22
Допуски прямолинейности поверхностей
1,
2 и
4
Длина измерения, мм | Допуск, мкм, для станков классов точности |
Н | П |
До 100 включ. | 8 | 5 |
Св. 100 " 160 " | 10 | 6 |
" 160 " 250 " | 12 | 8 |
" 250 " 400 " | 16 | 10 |
" 400 " 630 " | 20 | 12 |
" 630 " 1000 " | 25 | 16 |
Измерение - по ГОСТ 22267-67 (
раздел 4, предпочтительно метод 3 или
4) (см.
рисунок 23).
Измерение поверхности 1 проводят на поверочной плите или на столе станка в незажатом положении.
Измерения поверхности
1 проводят в продольном, поперечном и диагональном сечениях (см.
рисунок 25).
Измерения поверхности
2 и
4 проводят в продольном сечении на поверочной плите (см.
рисунок 31).
При длине измерения свыше 250 мм допускается проводить измерения по
рисунку 26.
5.5 Параллельность верхней поверхности 1 относительно поверхности 6, поверхности 4 относительно поверхности 2
Схемы измерений параллельности верхней поверхности
1 относительно поверхности
6, поверхности
4 относительно поверхности
2 приведены на
рисунке 27.
а
б
Рисунок 27 - Схема измерения параллельности
верхней поверхности 1 относительно поверхности 6,
поверхности 4 относительно поверхности 2
Допуски прямолинейности поверхностей верхней поверхности
1 относительно поверхности
6, поверхности
4 относительно поверхности
2 приведены в
таблице 23.
Таблица 23
Допуск прямолинейности поверхностей верхней поверхности
1 относительно поверхности 6, поверхности 4
относительно поверхности 2
Длина измерения, мм | Допуск, мкм, для станков классов точности |
Н | П |
До 100 включ. | 10 | 6 |
Св. 100 " 160 " | 12 | 8 |
" 160 " 250 " | 16 | 10 |
" 250 " 400 " | 20 | 12 |
" 400 " 630 " | 25 | 16 |
" 630 " 1000 " | 30 | 20 |
Измерение - по
ГОСТ 25889.2 (предпочтительно метод 1 или 2).
Допуск на отклонение от взаимной параллельности поверхностей
4 и
2 принимают с уменьшением в 1,26 раза от значений, указанных в
таблице 23, выбирая его значения из ряда Ra10 по
ГОСТ 6636.
5.6 Перпендикулярность поверхности 1 к поверхностям 3, 4 и 5, поверхности 3 к поверхности 4 и поверхности 4 к поверхности 5
Схема измерения перпендикулярности поверхности
1 к поверхностям
3,
4 и
5, поверхности
3 к поверхности
4 и поверхности
4 к поверхности
5 приведена на
рисунке 28.
Рисунок 28 - Схема измерения перпендикулярности поверхности
1 к поверхностям 3, 4 и 5, поверхности 3 к поверхности 4
и поверхности 4 к поверхности 5
Допуск на длине измерения 100 мм для станков классов точности:
Н - 16 мкм;
П - 10 мкм.
Измерение - по ГОСТ 25889.3 (предпочтительно
метод 2).
5.7 Точность межосевых расстояний отверстий образца-изделия (для станков с программным управлением, за исключением копировальных станков)
Схема измерения точности межосевых расстояний отверстий образца-изделия приведена на
рисунке 29.
Рисунок 29 - Схема измерения точности межосевых
расстояний отверстий образца-изделия
Таблица 24
Размеры отверстий образца-изделий
В миллиметрах
Ширина стола | l1 | l2 | l3 | l4 | d |
До 400 включ. | 80 | 84 | 116 | 145 | 20 - 30 |
Св. 400 " 1000 " | 100 | 105 | 145 | 175 | 30 - 40 |
Применяют образец-изделие в виде пластины прямоугольной формы (см.
рисунок 29). Материал: серый чугун или сталь.
Допуски точности межосевых расстояний отверстий образца-изделия приведены в
таблице 25.
Таблица 25
Допуски точности межосевых расстояний
отверстий образца-изделия
Межосевое расстояние, мм | Допуск, мкм, для станков классов точности |
Н | П |
До 125 включ. | 50 | 30 |
Св. 125 " 200 " | 65 | 40 |
Образец-изделие с окончательно обработанными базовыми поверхностями устанавливают в центре стола и проводят предварительную и чистовую обработку отверстий диаметром d.
Измерения проводят с использованием координатно-измерительной машины, микроскопа или специального приспособления, предназначенного для измерения межосевых расстояний.
Погрешность межосевых расстояний равна разности заданного и фактического расстояний между осями любых двух отверстий.
5.8 Точность обработки образца-изделия на станках, оснащенных устройством контурного программного управления
Схема измерения точности обработки образца-изделия на станках, оснащенных устройством контурного программного управления, приведена на
рисунке 30.
Рисунок 30 - Схема измерения точности обработки
образца-изделия на станках, оснащенных устройством
контурного программного управления
Примечания
1 Отверстие d3 должно быть предварительно выполнено в заготовке.
2 Для станков, не имеющих по оси Z перемещений в следящем режиме, поверхность под углом 5° не обрабатывается.
3 Допускается выполнение на образце-изделии крепежных отверстий (пазов).
Таблица 26
В миллиметрах
Ширина стола | b1 | b2 = d2 | b3 | l1 | h | h1 | h3 | d | d3 |
До 400 включ. | 140 | 110 | 78 | 180 | 100 | 25 | 15 | 65 | 70 |
Св. 400 " 1000 " | 260 | 220 | 155 | 320 | 120 | 30 | 20 | 100 | 100 |
Примечание - Допускаемые отклонения размеров от номинального значения +/- 15%. |
Для контрольной обработки используют предварительно обработанный образец-изделие (см.
рисунок 30) из чугуна, стали или алюминиевого сплава. Поверхности, используемые как технологические или контрольные базы, должны быть обработаны окончательно.
Допуски при обработке образца-изделия на станках, оснащенных устройством контурного программного управления, приведены в
таблице 27.
Таблица 27
Допуски при обработке образца-изделия на станках,
оснащенных устройством контурного программного управления
Наименование проверки | Ширина стола, мм | Допуск, мкм, для станков классов точности |
Н | П |
1 Точность формы отверстия: | До 400 включ. | Круглость 16 Постоянство диаметра 25 | Круглость 10 Постоянство диаметра 16 |
Св. 400 " 1000 " | Круглость 20 Постоянство диаметра 30 | Круглость 12 Постоянство диаметра 20 |
2 Прямолинейность боковых поверхностей повернутого параллелепипеда | До 400 включ. | 25 | 16 |
Св. 400 " 1000 " | 30 | 20 |
3 Перпендикулярность боковых поверхностей повернутого параллелепипеда | До 400 включ. | 40 | 25 |
Св. 400 " 1000 " | 50 | 30 |
4 Точность положения наклонной под углом 5° поверхности | До 400 включ. | 40 | 25 |
Св. 400 " 1000 " | 50 | 30 |
5 Круглость наружной цилиндрической поверхности | До 400 включ. | 50 | 30 |
Св. 400 " 1000 " | 65 | 40 |
| | ИС МЕГАНОРМ: примечание. В официальном тексте документа, видимо, допущена опечатка: пункт 6.4.16 и примечания 1 и 2 к нему отсутствуют. Возможно, имеются в виду примечания 1 и 2 пункта 4.3.16. | |
|
Примечания 1 Допускается проводить измерение по пунктам 1 - 3, 5 на отдельных образцах-изделиях с размерами по таблице 26. В этом случае обработку образца-изделия (см. рисунок 30 и таблицу 26) не осуществляют, а по пункту 5 обрабатывают не менее трех образцов-изделий, обеспечив при этом охват всей рабочей зоны. 2 При увеличении допусков согласно примечаниям 1 и 2 к измерению по 6.4.16 допуски по пункту 5 увеличивают во столько же раз. 3 Требования к пункту 4 контролируют только при наличии поворотной шпиндельной бабки. |
Обработку образца-изделия проводят по контрольной программе в следующем порядке:
- черновое фрезерование до получения окончательной формы образца-изделия с припуском на чистовую обработку;
- сверление, рассверливание и предварительное растачивание (расфрезеровка) отверстия d;
- чистовое растачивание отверстия d;
- чистовое фрезерование торцовой поверхности повернутого под углом 20° параллелепипеда в три подхода с обеспечением ширины фрезерования (полос) примерно равной 0,3 стороны торцовой поверхности;
- чистовое фрезерование боковых поверхностей повернутого параллелепипеда;
- чистовое фрезерование наружной цилиндрической поверхности диаметром d2;
- чистовое фрезерование двух боковых поверхностей параллелепипеда со стороной b2 и поверхностей, параллельных основанию образца-изделия;
- чистовое фрезерование двух боковых поверхностей параллелепипеда со стороной b2 и поверхностей, наклонных под углом 5° к основанию образца-изделия.
Измерение следует проводить: согласно
пунктам 1 а и
5 таблицы 27 - по
ГОСТ 25889.1 (предпочтительно метод 1 или 2); согласно
пункту 1 б таблицы 27 - по
ГОСТ 25889.4; согласно
пункту 2 таблицы 27 - с использованием прибора для измерения длин, установленного так, чтобы измерительный наконечник касался проверяемой боковой поверхности параллелепипеда (в среднем сечении) и перемещающегося по поверочной линейке, установленной так, чтобы показания средств измерений были одинаковыми на концах проверяемой боковой поверхности.
Отклонение от прямолинейности равно наибольшей алгебраической разности показаний прибора для измерения длин:
согласно
пункту 4 таблицы 27 - на поверочной плите с использованием универсальных средств измерений либо специального контрольного приспособления.
Отклонение равно алгебраической разности фактической и расчетной разновысотности точек, расположенных на расстоянии 5 мм от края среднего сечения наклонной поверхности.
6 Методы испытаний на жесткость и нормы жесткости станков
6.1 Нормы жесткости и величина нагружающей силы
Нормы жесткости и величина нагружающей силы для станков классов точности Н и П не должны превышать значений, указанных в
таблице 28.
Таблица 28
Наибольшие допускаемые перемещения
под действием нагружающей силы
В миллиметрах
Станки с шириной стола B, мм | Класс точности станка | Нагружающая сила P, кН | Наибольшее допускаемое перемещение, мм, в направлении |
горизонтальном | вертикальном |
250 | Н | 5,0 | 0,28 | 0,32 |
П | 4,0 | 0,18 | 0,20 |
320 | Н | 8,0 | 0,32 | 0,36 |
П | 6,3 | 0,20 | 0,22 |
400 | Н | 12,5 | 0,36 | 0,40 |
П | 10,0 | 0,22 | 0,25 |
500 | Н | 20,0 | 0,40 | 0,45 |
П | 16,0 | 0,25 | 0,28 |
630 | Н | 25,0 | 0,45 | 0,50 |
П | 20,0 | 0,28 | 0,32 |
800 | Н | 31,5 | 0,50 | 0,56 |
П | 25,0 | 0,32 | 0,36 |
1000 | Н | 42,5 | 0,56 | 0,63 |
П | 33,5 | 0,36 | 0,40 |
Примечание - В технически обоснованных случаях допускается уменьшение нагружающей силы.
Для станков класса точности В показатели жесткости с допусками, равными допускам для станков класса точности П, устанавливают по согласованию между изготовителем и потребителем.
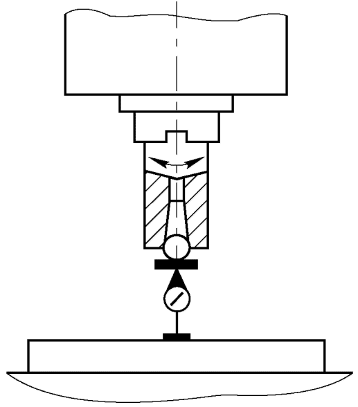
6.2 Перемещение под нагрузкой стола относительно оправки, закрепленной в шпинделе
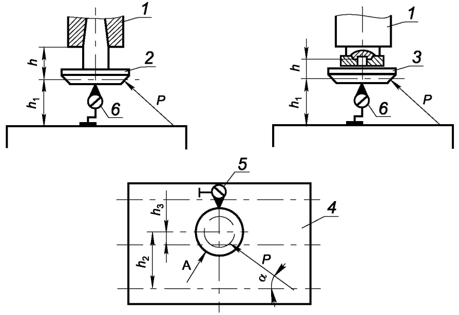
Перемещение под нагрузкой стола относительно оправки, закрепленной в шпинделе (кроме копировальных, многоцелевых фрезерно-расточных станков и гибких производственных модулей):
а) в вертикальном направлении (по оси Z);
б) в горизонтальном направлении (по оси Y).
Положение узлов станка, координаты точки приложения и направления действия силы должны соответствовать указанным на
рисунках 31,
32 и в
таблице 29.
|
а - для станков с B до 500 мм | б - для станков с B свыше 500 мм |
1 - шпиндель; 2, 3 - оправки; 4 - стол;
5, 6 - средства измерений
Рисунок 31 - Положение узлов станка, координаты
точки приложения и направления действия силы
Рисунок 32 - Направление действия силы
P на оправку
Примечание -

- угол между проекцией нагружающей силы на горизонтальную плоскость
XY и направлением продольной подачи стола;

- угол между направлением нагружающей силы и ее проекцией на горизонтальную плоскость
XY.
Таблица 29
Размеры станка и положения узлов при перемещении
под нагрузкой стола относительно оправки,
закрепленной в шпинделе
В миллиметрах
Наименование размеров | Значение |
Ширина стола B | 250 | 320 | 400 | 500 | 630 | 800 | 1000 |
Диаметр оправки D в точке приложения силы | 100 | 125 | 160 | 200 | 250 | 320 | 420 |
Расстояние h от торца шпинделя до точки приложения силы | с оправкой 2 | 67 | 80 | 95 | 112 | - | - | - |
с оправкой 3 | - | - | - | - | 70 | 75 | 85 |
Расстояние h1 от точки приложения силы до рабочей поверхности стола | с оправкой 2 | 112 | 120 | 130 | 140 | - | - | - |
с оправкой 3 | - | - | - | - | 220 | 280 | 360 |
Расстояние h2 от вертикальной оси шпинделя до оси первого паза стола | 67 | 80 | 95 | 112 | - | - | - |
Расстояние h3 от вертикальной оси шпинделя до оси среднего паза стола | - | - | - | - | 55 | 70 | 90 |
В шпиндель
1 (см.
рисунок 31) станка вместо фрезы жестко закрепляют оправку
2 или
3, диаметр
D которой в точке приложения силы должен соответствовать указанному в
таблице 28.
На столе устанавливают устройство для создания нагружающей силы
P, которую измеряют рабочим динамометром со средством измерений. Направление действия силы
P определяется углами

и

.
Стол станка устанавливают в среднее положение перемещением в направлении, противоположном действию силы P.
Шпиндельную бабку устанавливают в заданное положение движением вниз.
При испытании станка с ручным управлением подвижные узлы закрепляют.
Испытания станка с программным управлением проводят как при работе приводов подач подвижных узлов в режиме программного управления, так и при закрепленном состоянии тех подвижных узлов, для которых оно предусмотрено в станке для силового резания.
После установки всех средств измерений между столом и оправкой создают плавно возрастающую до заданной величины силу P. После этого фиксируют показания приборов 5 и 6.
Относительное перемещение определяют как среднее арифметическое двух измерений. Перед вторым измерением шпиндельной бабке, столу сообщают перемещение с последующей установкой в заданное положение, а шпиндель поворачивают на 180°.
Поворотную шпиндельную бабку устанавливают так, чтобы ось шпинделя была перпендикулярна рабочей поверхности стола.
| ISO/TR 230-11:2018 | Test code for machine tools - Part 11: Measuring instruments suitable for machine tool geometry tests (Нормы и правила испытаний металлорежущих станков - Часть 11. Измерительные инструменты, применяемые при геометрических испытаниях станков) |
УДК 621.9.08:006.354 | |
Ключевые слова: станки фрезерные вертикальные, крестовый стол, методы испытаний на точность, методы испытаний на жесткость, нормы точности, нормы жесткости, образец-изделие, точность обработки образца-изделия |