Главная // Актуальные документы // Актуальные документы (обновление с 03.11.2025 по 29.11.2025) // ГОСТ (Государственный стандарт)СПРАВКА
Источник публикации
М.: Стандартинформ, 2015
Примечание к документу
Документ
введен в действие с 01.09.2015.
Название документа
"ГОСТ EN 16297-1-2014. Межгосударственный стандарт. Энергетическая эффективность. Насосы циркуляционные герметичные. Часть 1. Общие требования и методики для проведения испытаний и расчета индекса энергетической эффективности (ИЭЭ)"
(введен в действие Приказом Росстандарта от 15.06.2015 N 639-ст)
"ГОСТ EN 16297-1-2014. Межгосударственный стандарт. Энергетическая эффективность. Насосы циркуляционные герметичные. Часть 1. Общие требования и методики для проведения испытаний и расчета индекса энергетической эффективности (ИЭЭ)"
(введен в действие Приказом Росстандарта от 15.06.2015 N 639-ст)
по техническому регулированию
и метрологии
от 15 июня 2015 г. N 639-ст
МЕЖГОСУДАРСТВЕННЫЙ СТАНДАРТ
ЭНЕРГЕТИЧЕСКАЯ ЭФФЕКТИВНОСТЬ
НАСОСЫ ЦИРКУЛЯЦИОННЫЕ ГЕРМЕТИЧНЫЕ
ЧАСТЬ 1
ОБЩИЕ ТРЕБОВАНИЯ И МЕТОДИКИ ДЛЯ ПРОВЕДЕНИЯ ИСПЫТАНИЙ
И РАСЧЕТА ИНДЕКСА ЭНЕРГЕТИЧЕСКОЙ ЭФФЕКТИВНОСТИ (ИЭЭ)
Energy effectiveness. Glandless circulators. Part 1. General
requirements and procedures for testing and calculation
of energy effectiveness index (EEI)
(EN 16297-1:2012, IDT)
ГОСТ EN 16297-1-2014
Дата введения
1 сентября 2015 года
Цели, основные принципы и основной порядок проведения работ по межгосударственной стандартизации установлены
ГОСТ 1.0-92 "Межгосударственная система стандартизации. Основные положения" и
ГОСТ 1.2-2009 "Межгосударственная система стандартизации. Стандарты межгосударственные, правила и рекомендации по межгосударственной стандартизации. Правила разработки, принятия, применения, обновления и отмены"
1 ПОДГОТОВЛЕН Российской ассоциацией производителей насосов (РАПН) на основе собственного аутентичного перевода на русский язык стандарта, указанного в
пункте 5
2 ВНЕСЕН Межгосударственным техническим комитетом по стандартизации МТК 245 "Насосы"
3 ПРИНЯТ Межгосударственным советом по стандартизации, метрологии и сертификации (протокол от 30 сентября 2014 г. N 70-П)
За принятие проголосовали:
Краткое наименование страны по МК (ИСО 3166) 004-97 | Код страны по МК (ИСО 3166) 004-97 | Сокращенное наименование национального органа по стандартизации |
Беларусь | BY | Госстандарт Республики Беларусь |
Киргизия | KG | Кыргызстандарт |
Молдова | MD | Молдова-Стандарт |
Россия | RU | Росстандарт |
4
Приказом Федерального агентства по техническому регулированию и метрологии от 15 июня 2015 г. N 639-ст межгосударственный стандарт ГОСТ EN 16297-1-2014 введен в действие в качестве национального стандарта Российской Федерации с 1 сентября 2015 г.
5 Настоящий стандарт идентичен европейскому региональному стандарту EN 16297-1:2012 Pumps - Rotodynamic pumps - Glandless circulators - Part 1: General requirements and procedures for testing and calculation of energy efficiency index (EEI) [Насосы. Центробежные насосы. Герметичные циркуляционные насосы. Часть 1. Общие требования и процедуры для тестирования и расчет энергетических показателей эффективности (EEI)].
Европейский региональный стандарт разработан техническим комитетом по стандартизации CEN/TC 197 "Насосы" Европейского комитета по стандартизации (CEN) в соответствии с мандатом, предоставленным Европейской комиссией и Европейской ассоциацией свободной торговли (EFTA) и реализует существенные требования
Директивы 2009/125/ЕС, приведенные в
приложении ZA.
Перевод с английского языка (en).
Официальные экземпляры европейского регионального стандарта, на основе которого подготовлен настоящий межгосударственный стандарт, имеются в Федеральном агентстве по техническому регулированию и метрологии (Росстандарт).
Сведения о соответствии межгосударственных стандартов ссылочным европейским региональным стандартам приведены в дополнительном
приложении ДА.
Степень соответствия - идентичная (IDT).
Наименование настоящего стандарта изменено относительно наименования европейского регионального стандарта в связи с особенностями построения межгосударственной системы стандартизации
6 ВВЕДЕН ВПЕРВЫЕ
Информация об изменениях к настоящему стандарту публикуется в ежегодном информационном указателе "Национальные стандарты" (по состоянию на 1 января текущего года), а текст изменений и поправок - в ежемесячном информационном указателе "Национальные стандарты". В случае пересмотра (замены) или отмены настоящего стандарта соответствующее уведомление будет опубликовано в ежемесячном информационном указателе "Национальные стандарты". Соответствующая информация, уведомление и тексты размещаются также в информационной системе общего пользования - на официальном сайте Федерального агентства по техническому регулированию и метрологии в сети Интернет
ГОСТ EN 16297 состоит из следующих частей под общим наименованием "Энергетическая эффективность. Насосы циркуляционные герметичные":
- Часть 1: Общие требования и методики для проведения испытаний и расчета индекса энергетической эффективности (ИЭЭ);
-
Часть 2: Расчет индекса энергетической эффективности (ИЭЭ) автономных циркуляционных насосов;
- Часть 3: Расчет индекса энергетической эффективности (ИЭЭ) циркуляционных насосов, встроенных в другие устройства.
В стандарте описываются как автономные циркуляционные насосы, так и встроенные в другие устройства.
Примечание - В настоящем стандарте под термином "устройство" понимается прибор, генерирующий и/или проводящий тепло.
Под "автономным циркуляционным насосом" понимается циркуляционный насос, предназначенный для работы независимо от устройства. Испытания и расчеты в отношении такого насоса выполняются в соответствии со стандартом
ГОСТ EN 16297-2.
Под "циркуляционным насосом, встроенным в устройство" понимается циркуляционный насос, работа которого зависит от устройства. Испытания и расчеты в отношении такого насоса выполняются в соответствии со стандартом
ГОСТ EN 16297-3.
Чтобы определить случаи, когда необходимо применять стандарт
ГОСТ EN 16297-3, следует использовать приведенную ниже таблицу. Если циркуляционный насос выполняет хотя бы одну из функций, приведенных в
таблице 1, то следует считать, что его работа зависит от устройства.
Таблица 1
Компонент | Описание | Примеры (неполный перечень) |
Корпус насоса | Предназначен для установки и использования внутри устройства | Корпус, предназначенный для использования внутри устройства, к примеру, с зажимными соединениями, с соединениями с объединительной платой или с пластинчатым теплообменником. |
Корпуса со встроенными функциями электрического или термического клапана |
Элементы управления | Контроль частоты вращения насоса управляется устройством | Циркуляционные насосы со специальными интерфейсами управляющих сигналов |
Меры безопасности | Меры безопасности не подходят для автономного использования | Меры безопасности предусмотрены в самом устройстве (классы ISO IP) |
Циркуляционный насос подлежит проверке или маркировке CE в качестве компонента устройства | Циркуляционный насос входит в перечень компонентов, подлежащих апробации или маркировке CE |
Относительно связей исходного европейского регионального стандарта с директивой/директивами Европейского союза, смотрите справочное
приложение ZA, которое является неотъемлемой частью настоящего стандарта.
В настоящем стандарте описываются общие функциональные требования, общие требования для проведения испытаний и расчета индекса энергетической эффективности (ИЭЭ) герметичных циркуляционных насосов с номинальной гидравлической выходной мощностью от 1 Вт до 2500 Вт, предназначенных для использования в системах теплоснабжения и распределительных системах охлаждения.
Все опасности, связанные с эксплуатацией таких насосов при правильном монтаже и работе в нормальных условиях, описаны в европейских региональных стандартах EN 809 и EN 60335-2-51.
Вопросы техники безопасности, связанные с электротехническими частями циркуляционных насосов, описаны в стандарте EN 60335-2-51.
Для применения настоящего стандарта необходимы следующие ссылочные документы. Для датированных ссылок применяют только указанное издание ссылочного документа.
EN 1151-2:2006 Pumps - Rotodynamic pumps - Circulation pumps having a rated power input not exceeding 200 W for heating installations and domestic hot water installations - Part 2: Noise test code (vibro-acoustics) for measuring structure- and fluid borne noise (Насосы. Центробежные насосы. Циркуляционные насосы с электрической потребляемой мощностью не более 200 Вт для нагревательных установок и бытовых установок для нагрева воды. Код испытания на шум (виброакустика) для измерения структур и шума от жидкости)
EN 50160:2007 Voltage characteristics of electricity supplied by public distribution networks (Характеристики напряжения электроэнергии, подаваемой от общих распределительных систем)
EN 60335-2-51:2003 Household and similar electrical appliances - Safety - Part 2-51: Particular requirements for stationary circulation pumps for heating and service water installations (Приборы электрические бытового и аналогичного назначения. Безопасность. Часть 2-51. Частные требования к стационарным циркуляционным насосам для нагревательных установок и водоснабжения)
EN ISO 9906:2012 Rotodynamic pumps - Hydraulic performance acceptance tests - Grades 1, 2 and 3 (ISO 9906:2012) (Насосы центробежные. Эксплуатационные приемо-сдаточные испытания на герметичность. Степени 1, 2 и 3)
В настоящем стандарте применены следующие термины с соответствующими определениями:
3.1
система теплоснабжения (heating system): Система, генерирующая и/или передающая тепло.
3.2
распределительная система охлаждения (cooling distribution system): Система, в которой происходит распределение охлаждающей среды.
3.3 центробежный насос (impeller pump): Машина, преобразующая механическую энергию посредством вращающегося рабочего колеса в скорость и давление перекачиваемой жидкости.
3.4
корпус насоса (pump housing): Часть центробежного насоса, которая соединена с трубопроводом системы теплоснабжения
(3.1) или распределительной системы охлаждения
(3.2).
3.5
циркуляционный насос (circulator): Центробежный насос с корпусом или без него
(3.4), предназначенный для использования в замкнутых системах теплоснабжения
(3.1) или распределительных системах охлаждения
(3.2).
3.6
герметичный циркуляционный насос (glandless circulator): Циркуляционный насос
(3.5) ротор двигателя которого напрямую соединен с рабочим колесом и погружен в перекачиваемую среду.
Примечание - В настоящем стандарте под термином циркуляционный насос понимается именно герметичный циркуляционный насос.
3.7
сдвоенный циркуляционный насос (double circulator, double pump, twin head pump): Два циркуляционных насоса
(3.5), установленные в один корпус
(3.4) с двумя спиральными камерами.
3.8
давление на входе (статическое давление) [inlet pressure (static pressure)]: Давление на входе в насос, под которым он находится во время работы.
Примечание - Все значения давлений, приведенных в настоящем стандарте, являются манометрическими, за исключением дифференциального давления
(3.9), измерение которого описано в
пункте 6.2.10.4.2.
3.9
дифференциальное давление (differential pressure): Прирост давления между входом и выходом насоса.
3.10
максимальное рабочее давление на выходе (maximum outlet working pressure): Сумма максимального значения давления на входе
(3.8) и максимального значения дифференциального давления
(3.9).
3.11 гидравлическая мощность (hydraulic power): Условная величина, являющаяся результатом произведения подачи насоса Q, напора H и константы.
Примечание - В настоящем стандарте гидравлическая мощность рассчитывается по формуле:
Phyd = 2,72·Q·H,
где Phyd - гидравлическая мощность, Вт;
2,72 - коэффициент преобразования при температуре воды 20 °C и ускорении свободного падения, равном 9,81 м/с2;
Q - подача насоса, м3/ч;
H - напор, м.
3.12
номинальная гидравлическая мощность на выходе (rated hydraulic output power)
Phyd, r: Максимальная гидравлическая мощность, генерируемая циркуляционным насосом при работе на максимальной характеристике.
3.13
характеристика системы (system curve): Графическое представление суммы статического напора и потерь напора при протекании жидкости через систему.
3.14
характеристика автоматического регулирования (control curve): Графическое представление зависимости напора от подачи [
H = f(
Q)], полученное при автоматическом изменении частоты вращения двигателя в зависимости от нагрузки.
Примечания
1 Для насосов, имеющих несколько характеристик автоматического регулирования, следует выбирать ту, которая больше подходит к используемой системе теплоснабжения.
2 Примеры характеристик автоматического регулирования приведены на
рисунке 1.
a) при постоянном дифференциальном давлении
b) при переменном дифференциальном давлении
1 - частичная нагрузка; 2 - полная нагрузка;
3 - характеристика автоматического регулирования
| | ИС МЕГАНОРМ: примечание. Примечание дано в соответствии с официальным текстом документа. | |
Примечание - Черными точками на рисунке отмечены рабочие точки
(3.19) на режимах с полной и частичной нагрузкой.
Рисунок 1 - Примеры характеристик
автоматического регулирования
3.15
характеристика ручного регулирования (non-control curve): Графическое представление зависимости напора от подачи [
H = f(
Q)], полученное при неавтоматическом изменении частоты вращения двигателя в зависимости от нагрузки.
3.16
максимальная характеристика (maximum setting): Характеристика регулирования, при которой достигается максимальная номинальная гидравлическая мощность на выходе
(3.12).
Примечание - Данная характеристика может быть либо автоматической
(3.14), либо ручной
(3.15), если такая существует.
3.17
эталонная характеристика регулирования (reference control curve): Теоретическая характеристика автоматического регулирования
(3.14), используемая для стандартизированных измерений и расчета компенсирующей мощности на входе
(3.20).
3.18
профиль нагрузки (load profile): Зависимость времени работы циркуляционного насоса
(3.5) от относительного значения его подачи.
3.19
рабочая точка (operating point): Точка в плоскости
Q-
H, которая определяется пересечением характеристики системы
(3.13) с характеристикой автоматического
(3.14), либо ручного
(3.15) регулирования.
Пример - (Q100%, H100%) - это рабочая точка с максимальной гидравлической мощностью.
3.20
компенсирующая мощность на входе (compensated power input): Мощность, вычисленная на основе разности между измеренными значениями напора и значениями напора, взятыми с эталонной характеристики регулирования
(3.17).
3.21
усредненная компенсирующая мощность на входе (averaged compensated power input)
PL, avg: Компенсирующая мощность на входе
(3.20), рассчитанная с учетом профиля нагрузки
(3.18).
3.22
эталонная мощность на входе (reference power input)
Pref: Зависимость гидравлической мощности от потребляемой мощности циркуляционного насоса, представленная в виде функции
Pref = f(
Phyd).
3.23
индекс энергетической эффективности (ИЭЭ) [energy efficiency index (EEI)]

: Отношение усредненной компенсирующей мощности на входе
(3.21) к эталонной мощности на входе
(3.22), умноженное на поправочный коэффициент.
В настоящем стандарте используются обозначения, величины и единицы измерения, приведенные в
таблице 2.
Таблица 2
Обозначения и единицы измерения
Обозначение | Величина | Единица измерения |
g | Ускорение свободного падения | м/с2 |
H | Напор | м (вод. ст.) |
Hmeas | Измеренный напор | м (вод. ст.) |
Hcalc | Расчетный напор | м (вод. ст.) |
Href | Исходный напор | м (вод. ст.) |
H100% | Напор при максимальной гидравлической мощности | м (вод. ст.) |
P1 | Мощность на входе | Вт |
PL | Компенсирующая мощность на входе | Вт |
PL, avg | Усредненная компенсирующая мощность на входе | Вт |
P1, meas | Измеренная мощность на входе | Вт |
Phyd | Гидравлическая мощность | Вт |
Phyd, r | Номинальная гидравлическая мощность | Вт |
Pref | Эталонная мощность на входе | Вт |
p | Давление | бар |
p1max o | Максимальное давление на входе | бар |
p1-2 | Дифференциальное давление | Па |
p2max o | Максимальное рабочее давление на выходе | бар |
Q | Подача | м3/ч |
Q100% | Подача при номинальной гидравлической мощности | м3/ч |
T | Температура | °C |
TF | Температура жидкости на впускном отверстии | °C |
v | Средняя скорость потока воды | м/с |
| Плотность | кг/м3 |
Lx | Время часов работы в год, выраженное в % | % |
ns | Коэффициент быстроходности циркуляционного насоса | минута-1 |
n | Частота вращения | минута-1 |
Cxx % | Поправочный коэффициент | - |
| Индекс энергетической эффективности (ИЭЭ) | - |
5 Требования к производительности и безопасности
5.1 Гидравлические характеристики
5.1.1 Общие положения
Гидравлические характеристики циркуляционного насоса должны соответствовать данным, заявленным производителем (процедура проведения испытаний описана в
пункте 6.2). Максимально допустимые величины отклонений между значением
H100% и заявленной гидравлической характеристикой, в зависимости от номинальной мощности на входе, приведены в
таблице 3.
Таблица 3
Максимально допустимое отклонение между значением
H100%
и заявленной характеристикой
Номинальная мощность на входе | Максимальное допустимое отклонение |
<= 100 Вт | +/- 20% |
> 100 Вт | +/- 10% |
5.1.2 Q100% и H100%
(Q100%, H100%) - это рабочая точка с максимальной гидравлической мощностью.
5.2 Номинальная и минимальная мощности на входе
Если циркуляционный насос может работать на разных частотах вращения (в случае неавтоматического регулирования), номинальная мощность на входе должна быть указана в соответствии со стандартом EN 60335-2-51, как минимум, для максимальных и минимальных настроек (параметры испытаний приведены в
пункте 6.3).
Для циркуляционных насосов с регулятором дифференциального давления, описанных в EN 16297-2, номинальная и минимальная величины мощности на входе должны быть указаны в соответствии со стандартом EN 60335-2-51 (для насоса при максимальных настройках), а минимальная мощность должна быть указана при минимальных настройках (параметры испытаний приведены в
пункте 6.3).
5.3 Пусковая характеристика
Пуск циркуляционного насоса должен осуществляться соответствующим образом (условия испытаний приведены в
пункте 6.4).
5.4 Сопротивление внутреннему давлению
Во время испытания по
пункту 6.5 циркуляционный насос должен быть непроницаемым.
5.5 Сопротивление циклическим тепловым нагрузкам
Во время испытания по
пункту 6.6 циркуляционный насос должен сопротивляться циклическим тепловым нагрузкам.
5.6 Продувка и ослабление фиксирующих элементов
Ослабление или удаление винтов, заглушек или уплотняющих элементов, предназначенных, к примеру, для продувки и удаления рабочей среды, не должно привести к травме персонала (к примеру, от выброса жидкости, газа или вращающихся частей).
5.7 Гидравлический и конструкционный шум
Когда необходимо измерить гидравлический и конструкционный шум циркуляционного насоса с номинальной мощностью не более 200 Вт, следует выполнить испытания по стандарту EN 1151-2.
6 Общие методики испытаний
Для достижения требуемого значения индекса энергетической эффективности циркуляционным насосам требуется определенный период наработки. Поэтому, перед выполнением измерений необходимо обеспечить период наработки длительностью не менее 10 часов.
Гидравлические испытания можно выполнять с использованием нескольких образцов одного типа насосов. В этом случае, испытания будут считаться типовыми.
Для сдвоенных циркуляционных насосов измерения и расчеты следует выполнять при работе одного насоса (если имеется возможность выбора такого режима). Если такая возможность не предусмотрена, измерения и расчеты выполняются при работе двух насосов.
При работе одного насоса следует выбрать циркуляционный насос с наименьшим индексом энергетической эффективности

.
Для измерения подачи, напора и мощности на входе следует использовать оборудование, соответствующее классу 1 по EN ISO 9906.
6.2 Гидравлические испытания
6.2.1 Номинальная гидравлическая мощность на выходе, Phyd, r
Расчет номинальной гидравлической мощности на выходе,
Phyd, r, показанной на
рисунке 2, выполняется с применением следующей процедуры:
a) если циркуляционный насос может работать на двух или более характеристиках напора и подачи, то измерение необходимо выполнять на максимальной из них;
b) следует использовать не менее 10 точек, распределенных вокруг прогнозируемой точки Q100%, H100%, подходящей для аппроксимации рассматриваемого участка характеристики Q-H методом наименьших квадратов;
c) методом наименьших квадратов подбирается функция:
Hfit = AQ3 + BQ2 + CQ + D;
d) выполняется расчет гидравлической мощности на выходе:
Phyd(Q) = 2,72QHfit(Q);
e) определяется номинальная гидравлическая мощность на выходе (Phyd, r) при макс. {Phyd};
f) определяется подачей при номинальной гидравлической мощности, Q100%;
g) используя Hfit(Q100%), определяется H100%, как напор при Q100%.
Рисунок 2 - Номинальная гидравлическая мощность на выходе
6.2.2 Эталонная мощность на входе, Pref
Исходная мощность на входе, Pref, рассчитывается по формуле:
Pref = 1,7Phyd, r + 17(1 - e-0,3Phyd, r).
6.2.3 Допуск по H100% при максимальной гидравлической мощности
Допуск
t при
H100% составляет минус 20% от
H100% или минус 0,5 м (в зависимости от того, какая из них является наибольшей абсолютной величиной), в соответствии с
рисунком 3.
Рисунок 3 - Допуск по
H100%
6.2.4 Эталонная характеристика регулирования
Прямая линия между (
Q100%,
H100%) и (
Q0%,
H100%/2), где теоретические рабочие точки (
Q,
Href) определены согласно
рисунку 4.
Процент Q от Q100% | Процент Href от H100% | |
100 | 100 |
75 | 87,5 |
50 | 75 |
25 | 62,5 |
Рисунок 4 - Эталонная характеристика регулирования
6.2.5 Профиль нагрузки для расчета усредненной компенсирующей мощности на входе, PL, avg
Профиль нагрузки для расчета усредненной компенсирующей мощности на входе,
PL, avg, указан в
таблице 4.
Таблица 4
Профиль нагрузки для расчета усредненной
компенсирующей мощности на входе, PL, avg
Процент Q от Q100% | Процент времени от количества часов работы в год |
100 | L1 |
75 | L2 |
50 | L3 |
25 | L4 |
Lx(L1 - L4) - это время, выраженное в процентах от количества часов работы в год для отдельных устройств. В соответствующих частях настоящего документа указывается Lx.
6.2.6 Рабочие точки на режимах недогрузки
Измерение параметров циркуляционного насоса в рабочих точках на режимах недогрузки выполняется с помощью следующей процедуры.
Используя непосредственное измерение или интерполяцию, определяются значения Hmeas и P1,meas в рабочей точке на каждом режиме недогрузки.
При использовании непосредственного измерения допуски по значениям подачи будут от 0% до минус 5% от
Q100% в соответствии с
рисунком 5a).
Интерполированные значения можно использовать, если значения измерений находятся в пределах допуска +/- 10% от
Q100% в соответствии с
рисунком 5b). В противном случае, необходимо использовать следующие более высокие экспериментальные значения, в соответствии с
рисунком 5c).
Если во время измерений насос работает нестабильно, то необходимо использовать усредненные по времени значения. В связи с наличием гистерезиса внутри насоса, измерение рабочих точек на режимах недогрузки следует выполнять в обоих направлениях по подаче: от 100% до 0%, а затем от 0% до 100%.
1 - используйте данное экспериментальное значение;
2 - используйте интерполированное значение
Рисунок 5 - Правила интерполяции
6.2.7 Расчет компенсирующей мощности на входе, PL
В зависимости от измеренной мощности на входе, в рабочих точках на режимах недогрузки выполняется расчет компенсирующей мощности на входе,
PL, в рабочей точке на каждом режиме недогрузки (см.
рисунок 6) следующим образом:

, если
Hmeas <=
Href;
PL = P1, meas, если Hmeas > Href.
Примечание - Светлыми точками отмечен измеренный напор. Черными точками обозначен напор на эталонной характеристике регулирования.
Рисунок 6 - Отклонения напора
от эталонной характеристики регулирования
Для циркуляционных насосов с питанием постоянного тока величины компенсирующей мощности на входе в каждой рабочей точке с частичной нагрузкой необходимо умножить на поправочный множитель 1,05, чтобы выполнить преобразование AC/DC.
6.2.8 Расчет усредненной компенсирующей мощности на входе, PL, avg
Расчет усредненной компенсирующей мощности на входе, PL, avg, производится по формуле:
PL, avg = L1PL, 100% + L2PL, 75% + L3PL, 50% + L4PL, 25%.
Значения приведенных величин берутся из профиля нагрузки, определенного в
таблице 4, и с эталонной характеристики регулирования, определенной в
пункте 6.2.4.
6.2.9 Расчет индекса энергетической эффективности, 
Расчет индекса энергетической эффективности,

, выполняется следующим образом:

,
где Cxx % - это поправочный коэффициент, который зависит от типа циркуляционного насоса и сферы применения. Подстрочный индекс XX % означает, что при определении конкретного значения поправочного коэффициента только XX % циркуляционных насосов определенного типа имели ИЭЭФ <= 0,20.
Конкретное значение поправочного коэффициента Cxx % указано в соответствующих частях настоящего стандарта.
Разрешается заменять параметр

аббревиатурой ИЭЭ в листах технических данных, руководствах, буклетах, брошюрах и др.
6.2.10.1 Качество воды
В испытательную систему необходимо подать чистую воду без твердых включений при температуре (20 +/- 5) °C. Вода не должна содержать пузырей воздуха.
6.2.10.2 Статическое давление
В системе для проведения испытаний необходимо поддерживать статическое давление, равное

.
6.2.10.3 Входное напряжение
Входное напряжение, подаваемое на циркуляционный насос должно быть равно его номинальному напряжению с допуском +/- 1%.
6.2.10.4 Испытательный стенд
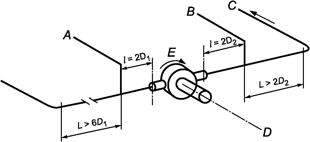
6.2.10.4.1 Циркуляционный насос устанавливается на испытательный стенд по схеме, соответствующей
рисунку 7.
A - точка измерения избыточного давления на входе; B - точка
измерения избыточного давления на выходе; C - к прибору
измерения Q и нагнетательному клапану; D - вал
двигателя - горизонтальный; E - направление потока;
D1 - внутренний диаметр трубы и входа насоса;
D2 - внутренний диаметр трубы и выхода насоса
Рисунок 7 - Испытательная схема
Необходимо обеспечить возможность контроля температуры воды (добавляя новую воду или охлаждая ее). Оптимальные условия для измерений достигаются, когда в сечениях для замера:
- поток имеет осесимметричное распределение скорости;
- в потоке происходит равномерное распределение статического давления;
- отсутствует закручивание потока, вызванное установкой.
6.2.10.4.2 Форма и размер разъемов для измерения давления
Давление следует измерять в точках, указанных на
рисунке 7. Разъемы для измерения давления позволяют определить статическое положительное давление на уровне точки измерения. Они должны находиться в плоскости, перпендикулярной оси трубопровода. Ось отверстия для измерения должна быть перпендикулярной оси трубопровода. Диаметр
d отверстия для измерения должен быть равен 2 мм.
Длина
l отверстия для измерения, изображенного на
рисунке 8, не должна превышать диаметр отверстия более, чем в два раза. Внутренняя поверхность трубы не должна иметь заусенцев и других неровностей.
Рисунок 8 - Пример разъема для измерения давления
6.2.11 Снятие гидравлических характеристик
6.2.11.1 Подача
Измерение подачи выполняется с помощью соответствующего расходомера, входящего в испытательную схему.
6.2.11.2 Напор
Расчет напора H выполняется с помощью следующей формулы, при условии отсутствия разности высот между разъемами для измерения давления:

.
Для определения напора H необходимо задать избыточное давление с помощью соответствующего инструмента.
6.3 Измерение номинальной мощности на входе
Измерение выполняется в соответствии с условиями, указанными в
пункте 6.2.10.
При любом нормальном условии эксплуатации измеренная величина мощности на входе не должна превышать номинальную величину более, чем на 10%.
Номинальная мощность на входе P1, rated циркуляционного насоса может быть измерена с помощью ваттметра.
Измерение выполняется в соответствии с условиями, указанными в
пункте 6.2.10.
При включении с максимальной частотой вращения или в автоматическом режиме (если насос может работать только в данном режиме), циркуляционный насос должен запуститься при напряжении, равном 85% от номинального.
6.5 Испытания на сопротивление внутреннему давлению
Применяются требования стандарта EN 60335-2-51.
6.6 Испытания на сопротивление тепловым циклическим нагрузкам
6.6.1 Напряжение электропитания циркуляционного насоса
Для проведения испытаний напряжение электропитания должно соответствовать допускам, указанным в стандарте EN 50160.
6.6.2 Интервальный режим работы
Испытание следует проводить в замкнутом контуре, оснащенном нагревательным устройством, способным поддерживать температуру T2 (период работы) во время испытания и, если потребуется, устройством охлаждения для поддержания температуры T1 (период простоя).
Для проведения испытания подачу необходимо отрегулировать до значения между 0,5Q и 1,5Q, при условии, что Q - это подача, соответствующая максимальной величине Q x H. Контроль подачи в период работы можно выполнять посредством контроля напора циркуляционного насоса.
Циркуляционный насос должен работать в общей сложности на протяжении 1000 ч в условиях, указанных в
таблице 5, а также в следующих условиях:
a) Температура воды в течение периодов работы и простоя:
Таблица 5
Класс | Температура воды | Температура окружающей среды |
T1 (период простоя) | T2 (период работы) |
TF 60 | 20 °C +/- 10 °C | 60 °C +/- 5 °C | 20 °C +/- 5 °C |
TF 95 | 50 °C +/- 10 °C | 90 °C +/- 5 °C |
TF 110 | 60 °C +/- 10 °C | 110 °C +/- 5 °C |
Температура воды в период простоя T1 должна быть выше температуры окружающей среды.
b) Период работы/период простоя (см.
рисунок 9).
A - период работы; B - период простоя
Рисунок 9 - Период работы/период простоя
c) При периоде работы равном 45 мин, температура T2 поддерживается на протяжении, как минимум, 30 мин.
d) Период простоя равный 15 мин.
e) В период простоя расход в системе необходимо поддерживать с помощью дополнительного насоса, чтобы обеспечить охлаждение до температуры T1 до того момента, когда циркуляционный насос будет снова запущен.
f) При включении должен произойти перезапуск насоса без каких-либо дополнительных действий.
g) Для всех типов циркуляционных насосов используются максимальные настройки.
После завершения данного испытания насос должен соответствовать требованиям
пунктов 5.1 и
5.4.
7 Информация по эксплуатации
Применяются требования стандарта EN 60335-2-51.
7.2 Руководство пользователя
Применяются требования стандарта EN 60335-2-51.
Руководство пользователя должно содержать предостережения по поводу следующего:
a) правильное позиционирование насоса в системе;
b) контакт человека с нагревающимися поверхностями;
c) риски и опасности, связанные с удалением рабочей среды из устройства.
Применяются требования стандарта EN 60335-2-51.
Индекс энергетической эффективности должен быть указан на заводской табличке, упаковке устройства и в технической документации удобочитаемым текстом с двухзначными десятичными знаками следующим образом:
Часть ____
Двухзначные десятичные знаки │ │
────────────────────────────────────────────────────┘ │
Номер части, указывающий │
проходил ли испытания насос │
────────────────────────────────────────────────────────────────────┘
Пример - 
(справочное)
ВЗАИМОСВЯЗЬ ИСХОДНОГО ЕВРОПЕЙСКОГО РЕГИОНАЛЬНОГО СТАНДАРТА
И ТРЕБОВАНИЙ РЕГЛАМЕНТА СОВЕТА (ЕС) N 641/2009
Исходный европейский региональный стандарт был подготовлен по предписанию, выданному Европейскому комитету по стандартизации (CEN) Европейской комиссией (EC) и Европейской ассоциацией свободной торговли (EFTA), с целью обеспечения соответствия требованиям. Регламента Совета (ЕС) N 641/2009 от 22 июля 2009 г.: "Применение Директивы 2005/32/Е <1> Европейского парламента и Совета в отношении требований к экологичности конструкции автономных герметичных циркуляционных насосов и герметичных циркуляционных насосов, встроенных в другие устройства".
--------------------------------
<1> Директива была заменена
Директивой 2009/125/ЕС.
После опубликования европейского регионального стандарта в Официальном журнале Европейского союза согласно данному Регламенту Совета, соответствие требованиям настоящего стандарта, указанным в
таблице ZA.1, обеспечивает в пределах его области применения презумпцию соответствия требованиям этой директивы и соответствующих регламентирующих документов EFTA.
Таблица ZA.1
Взаимосвязь европейского регионального стандарта
и Постановления Совета (ЕС) N 641/2009
Пункты и подпункты европейского регионального стандарта EN | Требования Регламента Совета (ЕС) N 641/2009 | Примечания |
Часть 1:6.2.1 | Приложение II, 2., 3. | Расчет Phyd |
Часть 1:6.2.2 | Приложение II, 2., 4. | Расчет Pref |
Часть 1:6.2.4 | Приложение II, 2., 5. | Эталонная характеристика регулирования |
Часть 1:6.2.9 | Приложение II, 2., 9. | Расчет ИЭЭ |
Часть 2:6.2.5 | Приложение II, 2., 9. | Расчет ИЭЭ |
Часть 3:6.2.5 | Приложение II, 2., 9. | Расчет ИЭЭ |
ПРЕДУПРЕЖДЕНИЕ - В отношении устройства (устройств), к которому применяется европейский региональный стандарт, могут применяться другие требования и другие Директивы ЕС.
(справочное)
СВЕДЕНИЯ О СООТВЕТСТВИИ МЕЖГОСУДАРСТВЕННЫХ СТАНДАРТОВ
ССЫЛОЧНЫМ МЕЖДУНАРОДНЫМ СТАНДАРТАМ
Таблица ДА.1
Сведения о соответствии межгосударственных стандартов
ссылочным международным стандартам
Обозначение и наименование международного стандарта | Степень соответствия | Обозначение и наименование межгосударственного стандарта |
EN 1151-2:2006 Насосы. Центробежные насосы. Циркуляционные насосы с электрической потребляемой мощностью не более 200 Вт для нагревательных установок и бытовых установок для нагрева воды. Код испытания на шум (виброакустика) для измерения структур и шума от жидкости | - | |
EN ISO 9906:2012 Насосы центробежные. Эксплуатационные приемо-сдаточные испытания на герметичность. Степени 1, 2 и 3 | - | |
EN 50160:2007 Характеристики напряжения электроэнергии, подаваемой от общих распределительных систем | - | |
EN 60335-2-51:2003 Приборы электрические бытового и аналогичного назначения. Безопасность. Часть 2-51. Частные требования к стационарным циркуляционным насосам для нагревательных установок и водоснабжения | - | |
<*> Соответствующий межгосударственный стандарт отсутствует. До его утверждения рекомендуется использовать перевод на русский язык данного международного стандарта или соответствующий национальный стандарт. |
Таблица ДА.2
Сведения о соответствии межгосударственных стандартов
ссылочным региональным стандартам, которые являются
идентичными или модифицированными по отношению
к международным стандартам
Обозначение и наименование ссылочного регионального стандарта | Обозначение и наименование международного стандарта | Степень соответствия | Обозначение и наименование межгосударственного стандарта |
EN ISO 9906:2012, Насосы центробежные. Эксплуатационные приемо-сдаточные испытания на герметичность. Степени 1, 2 и 3 | ISO 9906:2012 Насосы центробежные. Приемочные испытания гидравлических характеристик. Классы 1, 2 и 3 | - | |
EN 60335-2-51:2003 Приборы электрические бытового и аналогичного назначения. Безопасность. Часть 2-51. Частные требования к стационарным циркуляционным насосам для нагревательных установок и водоснабжения | IEC 60335-2-51:2003 Бытовые и аналогичные электрические приборы. Безопасность. Часть 2-51. Дополнительные требования к стационарным циркуляционным насосам для нагревательных установок и установок для технической воды | - | |
<*> Соответствующий межгосударственный стандарт отсутствует. До его утверждения рекомендуется использовать перевод на русский язык данного международного стандарта или соответствующий национальный стандарт. |
Таблица ДА.3
Сведения о соответствии межгосударственных стандартов
международным стандартам другого года издания
Обозначение и наименование международного стандарта | Обозначение и наименование международного стандарта другого года издания | Степень соответствия | Обозначение и наименование межгосударственного стандарта |
ISO 9906:2012 Насосы центробежные. Приемочные испытания гидравлических характеристик. Классы 1, 2 и 3 | ISO 9906:1999 Насосы центробежные. Эксплуатационные приемо-сдаточные испытания на герметичность. Степени 1 и 2 | MOD | |
<*> Внесенные технические отклонения не обеспечивают выполнение требований настоящего стандарта. В настоящей таблице использовано следующее условное обозначение степени соответствия стандартов: - MOD - модифицированный стандарт. |
[1] | EN 809:1998+A1:2009 | Pumps and pump units for liquids - Common safety requirements (Насосы и насосные установки для жидкостей. Общие требования безопасности) |
[2] | EN 60335-1:2010 | Household and similar electrical appliances - Safety - Part 1: General requirements (Приборы электрические бытового и аналогичного назначения. Безопасность. Часть 1. Общие требования) |
[3] | EN ISO 12100-1:2003 | Safety of machinery - Basic concepts, general principles for design - Part 1: Basic terminology, methodology (Безопасность машин. Основные понятия, общие принципы расчета. Часть 1. Основная терминология, методология) |
[4] | BS 5449:1990 | Specification for forced circulation hot water central heating systems for domestic premises (Системы центрального отопления с принудительной циркуляцией горячей воды бытового назначения. Технические условия) |
[5] | BS 6920 | Suitability of non-metallic products for use in contact with water intended for human consumption with regard to their effect on the quality of the water (Изделия неметаллические, используемые в контакте с питьевой водой. Оценка пригодности с учетом влияния на качество воды) |
[6] | DIN 2001:1983 | Eigen- und Einzeltrinkwasserversorgung -  Anforderungen an Trinkwasser - Planung, Bau und Betrieb der Anlagen - Technische Regel des DVGW (Установки для индивидуального снабжения питьевой водой. Руководство по планированию, сооружению, эксплуатации. Требования к воде. Технические правила DVGW) |
[7] | DIN 4751-1:1994 | Wasserheizungsanlagen - Offene und geschlossene physikalisch abgesicherte  mit Vorlauftemperaturen bis 120 °C - Sicherheitstechnische Anforderungen (Установки водяного отопления открытые и закрытые технически безопасные с температурой воды в подающей линии до 120 град. C. Оборудование для обеспечения безопасности) |
[8] | DIN 4751-2:1994 | Wasserheizungsanlagen - Geschlossene, thermostatisch abgesicherte  mit Vorlauftemperaturen bis 120 °C - Sicherheitstechnische  (Установки водяного отопления закрытые с термостатической защитой с температурой воды в подающей линии до 120 град. C. Оборудование для обеспечения безопасности) |
[9] | DIN 4751-3:1993 | Wasserheizungsanlagen - Geschlossene, thermostatisch abgesicherte  bis 50 kW  mit  und Vorlauftemperaturen bis 95 °C - Sicherheitstechnische  (Установки водяного отопления закрытые с термостатической защитой с принудительной циркуляцией воды и номинальной теплопроизводительностью до 50 кВт. Оснащение для обеспечения безопасности) |
[10] | VDI 2035:1979 |  von  durch Korrosion und Steinbildung in Warmwasserheizungsanlagen (Предотвращение разрушения из-за коррозии и образования накипи в оборудовании обогрева горячей водой) |
[11] | Bidstrup, N., Hunnekuhl, G., Heinrich, H. and Andersen, T., Classification of Circulators, Europump report, January 2003 |
[12] | INDUSTRY COMMITMENT - To improve the energy performance of stand-alone circulators through the setting-up of a classification scheme in relation to energy labeling, Europump 2005 |
[13] | Hirschberg, R., Bestimmung der Belastungsprofile von  in der  , VDMA report, May 2001 |
[14] | Hirschberg, R., Bestimmung der Belastungsprofile von  in der  - Vergleichende Betrachtung  und Nordeuropa, VDMA report, March 2002 |
УДК 621.67-216.74:006.354 | |
Ключевые слова: насос, циркуляционный насос, энергоэффективность, индекс энергетической эффективности, ИЭЭ |