Главная // Актуальные документы // Актуальные документы (обновление 01.03.2026 по 01.04.2026) // ГОСТ (Государственный стандарт)СПРАВКА
Источник публикации
М.: ФГБУ "Институт стандартизации", 2025
Примечание к документу
Документ
введен в действие с 01.01.2026.
Название документа
"ГОСТ 26434-2025. Межгосударственный стандарт. Плиты перекрытий железобетонные для жилых зданий. Типы и основные параметры"
(введен в действие Приказом Росстандарта от 05.08.2025 N 843-ст)
"ГОСТ 26434-2025. Межгосударственный стандарт. Плиты перекрытий железобетонные для жилых зданий. Типы и основные параметры"
(введен в действие Приказом Росстандарта от 05.08.2025 N 843-ст)
Введен в действие
агентства по техническому
регулированию и метрологии
от 5 августа 2025 г. N 843-ст
МЕЖГОСУДАРСТВЕННЫЙ СТАНДАРТ
ПЛИТЫ ПЕРЕКРЫТИЙ ЖЕЛЕЗОБЕТОННЫЕ ДЛЯ ЖИЛЫХ ЗДАНИЙ
ТИПЫ И ОСНОВНЫЕ ПАРАМЕТРЫ
Reinforced concrete panels for floors
in residential buildings. Types and basic parameters
ГОСТ 26434-2025
Дата введения
1 января 2026 года
Цели, основные принципы и общие правила проведения работ по межгосударственной стандартизации установлены
ГОСТ 1.0 "Межгосударственная система стандартизации. Основные положения" и
ГОСТ 1.2 "Межгосударственная система стандартизации. Стандарты межгосударственные, правила и рекомендации по межгосударственной стандартизации. Правила разработки, принятия, обновления и отмены"
1 РАЗРАБОТАН Акционерным обществом "Центральный научно-исследовательский и проектно-экспериментальный институт промышленных зданий и сооружений" (АО "ЦНИИПромзданий")
2 ВНЕСЕН Техническим комитетом по стандартизации ТК 465 "Строительство"
3 ПРИНЯТ Межгосударственным советом по стандартизации, метрологии и сертификации (протокол от 24 июня 2025 г. N 67-2025)
За принятие проголосовали:
Краткое наименование страны по МК (ИСО 3166) 004-97 | Код страны по МК (ИСО 3166) 004-97 | Сокращенное наименование национального органа по стандартизации |
Армения | AM | ЗАО "Национальный орган по стандартизации и метрологии" Республики Армения |
Киргизия | KG | Кыргызстандарт |
Россия | RU | Росстандарт |
Узбекистан | UZ | Узбекское агентство по техническому регулированию |
4
Приказом Федерального агентства по техническому регулированию и метрологии от 5 августа 2025 г. N 843-ст межгосударственный стандарт ГОСТ 26434-2025 введен в действие в качестве национального стандарта Российской Федерации с 1 января 2026 г.
Информация о введении в действие (прекращении действия) настоящего стандарта и изменений к нему на территории указанных выше государств публикуется в указателях национальных стандартов, издаваемых в этих государствах, а также в сети Интернет на сайтах соответствующих национальных органов по стандартизации.
В случае пересмотра, изменения или отмены настоящего стандарта соответствующая информация будет опубликована на официальном интернет-сайте Межгосударственного совета по стандартизации, метрологии и сертификации в каталоге "Межгосударственные стандарты"
Настоящий стандарт устанавливает типы, основные размеры и параметры плит перекрытий, общие технические требования к ним.
Настоящий стандарт распространяется на сборные железобетонные плиты перекрытий, изготовляемые из конструкционного тяжелого и легкого бетонов (далее - плиты) и предназначенные для несущей части перекрытий жилых зданий.
В настоящем стандарте использованы нормативные ссылки на следующие межгосударственные стандарты:
ГОСТ 9561 Плиты перекрытий железобетонные многопустотные для зданий и сооружений. Технические условия
ГОСТ 13015 Изделия бетонные и железобетонные для строительства. Общие технические требования. Правила приемки, маркировки, транспортирования и хранения
ГОСТ 21779 <1> Система обеспечения точности геометрических параметров в строительстве. Технологические допуски
--------------------------------
ГОСТ 23009 Конструкции и изделия бетонные и железобетонные сборные. Условные обозначения (марки)
ГОСТ 26433.0 <2> Система обеспечения точности геометрических параметров в строительстве. Правила выполнения измерений. Общие положения
Примечание - При пользовании настоящим стандартом целесообразно проверить действие ссылочных стандартов и классификаторов на официальном интернет-сайте Межгосударственного совета по стандартизации, метрологии и сертификации (www.easc.by) или по указателям национальных стандартов, издаваемым в государствах, указанных в предисловии, или на официальных сайтах соответствующих национальных органов по стандартизации. Если на документ дана недатированная ссылка, то следует использовать документ, действующий на текущий момент, с учетом всех внесенных в него изменений. Если заменен ссылочный документ, на который дана датированная ссылка, то следует использовать указанную версию этого документа. Если после принятия настоящего стандарта в ссылочный документ, на который дана датированная ссылка, внесено изменение, затрагивающее положение, на которое дана ссылка, то это положение применяется без учета данного изменения. Если ссылочный документ отменен без замены, то положение, в котором дана ссылка на него, применяется в части, не затрагивающей эту ссылку.
--------------------------------
В настоящем стандарте применены следующие термины с соответствующими определениями:
3.1 плита: Крупноразмерный плоский элемент строительной конструкции, выполняющий несущие, ограждающие или совмещенные - несущие и ограждающие, теплотехнические, звукоизоляционные функции.
3.2 перекрытие: Горизонтальная внутренняя несущая конструкция в здании, разделяющая этажи.
3.3 координационный (номинальный) размер плиты: Проектный размер плиты между разбивочными (координационными) осями здания в горизонтальном направлении.
3.4 конструктивный размер плиты: Проектный размер плиты, отличающийся от конструктивного (номинального) размера на нормированный зазор, учитывающий допуски на монтаж и изготовление.
4 Типы, основные параметры и размеры
4.1 Плиты подразделяют на следующие типы:
- сплошные однослойные:
- 1П - плиты толщиной 120 мм;
- 2П - плиты толщиной 160 мм;
- многопустотные:
- 1ПК - плиты толщиной 220 мм с круглыми пустотами диаметром 159 мм,
предназначенные для опирания по двум сторонам;
- 1ПКТ - то же, для опирания по трем сторонам;
- 1ПКК - то же, для опирания по четырем сторонам;
- 2ПК - плиты толщиной 220 мм с круглыми пустотами диаметром 140 мм,
предназначенные для опирания по двум сторонам;
- 2ПКТ - то же, для опирания по трем сторонам;
- 2ПКК - то же, для опирания по четырем сторонам;
- 3ПК - плиты толщиной 220 мм с круглыми пустотами диаметром 127 мм,
предназначенные для опирания по двум сторонам;
- 3ПКТ - то же, для опирания по трем сторонам;
- 3ПКК - то же, для опирания по четырем сторонам;
- 7ПК - плиты толщиной 160 мм с круглыми пустотами диаметром 114 мм;
- 1,5ПБ - плиты толщиной 150 мм, изготовляемые методом непрерывного
формования на длинных стендах, предназначенные для опирания по двум
сторонам;
- 1,6ПБ - плиты толщиной 160 мм, изготовляемые методом непрерывного
формования на длинных стендах, предназначенные для опирания по двум
сторонам;
- 1,8ПБ - плиты толщиной 180 мм, изготовляемые методом непрерывного
формования на длинных стендах, предназначенные для опирания по двум
сторонам;
- 2,2ПБ - плиты толщиной 220 мм, изготовляемые методом непрерывного
формования на длинных стендах, предназначенные для опирания по двум
сторонам;
- 2,65ПБ - плиты толщиной 265 мм, изготовляемые методом непрерывного
формования на длинных стендах, предназначенные для опирания по двум
сторонам;
- 3ПБ - плиты толщиной 300 мм, изготовляемые методом непрерывного
формования на длинных стендах, предназначенные для опирания по двум
сторонам;
- 3,2ПБ - плиты толщиной 320 мм, изготовляемые методом непрерывного
формования на длинных стендах, предназначенные для опирания по двум
сторонам;
- 3,3ПБ - плиты толщиной 330 мм, изготовляемые методом непрерывного
формования на длинных стендах, предназначенные для опирания по двум
сторонам;
- 4ПБ - плиты толщиной 400 мм, изготовляемые методом непрерывного
формования на длинных стендах, предназначенные для опирания по двум
сторонам;
- 4,5ПБ - плиты толщиной 450 мм, изготовляемые методом непрерывного
формования на длинных стендах, предназначенные для опирания по двум
сторонам;
- 5ПБ - плиты толщиной 500 мм, изготовляемые методом непрерывного
формования на длинных стендах, предназначенные для опирания по двум
сторонам.
Форма и размеры пустот в плитах
типов 1,5ПБ,
1,6ПБ,
1,8ПБ,
2,2ПБ,
2,65ПБ,
3ПБ,
3,2ПБ,
3,3ПБ,
4ПБ,
4,5ПБ,
5ПБ устанавливают стандартами или техническими условиями на плиты этого типа.
4.2 Плиты
типов 1П,
2П могут быть предусмотрены для опирания по двум или трем сторонам или по контуру. Плиты
типов 1,5ПБ,
1,6ПБ,
1,8ПБ,
2,2ПБ,
2,65ПБ,
3ПБ,
3,2ПБ,
3,3ПБ,
4ПБ,
4,5ПБ,
5ПБ предусмотрены для опирания по двум сторонам.
4.3 В жилых зданиях с встроенными или пристроенными помещениями общественного назначения для перекрытий этих помещений допускается применять плиты типов и размеров, установленных для перекрытий общественных зданий.
4.4 Координационные длина и ширина плит должны соответствовать указанным в
таблице 1.
Таблица 1
Координационные размеры плит и их массы
Типоразмер плиты | Координационные размеры плиты, мм | Масса плиты (справочная), т |
Длина l0 | Ширина b0 |
|
1П 30.48 | 3000 | 4800 | 4,3 |
1П 30.54 | 5400 | 4,9 |
1П 30.60 | 6000 | 5,4 |
1П 30.66 | 6600 | 5,9 |
1П 36.48 | 3600 | 4800 | 5,2 |
1П 36.54 | 5400 | 5,8 |
1П 36.60 | 6000 | 6,5 |
1П 36.66 | 6600 | 7,1 |
|
2П 24.60 | 2400 | 6000 | 5,8 |
2П 30.48 | 3000 | 4800 | 5,8 |
2П 30.54 | 5400 | 6,5 |
2П 30.60 | 6000 | 7,2 |
2П 36.24 | 3600 | 2400 | 3,5 |
2П 36.30 | 3000 | 4,3 |
2П 36.36 | 3600 | 5,2 |
2П 36.48 | 4800 | 6,9 |
2П 36.54 | 5400 | 7,8 |
2П 36.60 | 6000 | 8,6 |
2П 60.12 | 6000 | 1200 | 2,9 |
2П 60.24 | 2400 | 5,8 |
2П 60.30 | 3000 | 7,2 |
2П 60.36 | 3600 | 8,7 |
|
1ПК 24.10 | 2400 | 1000 | 0,8 |
1ПК 24.12 | 1200 | 0,9 |
1ПК 24.15 | 1500 | 1,1 |
1ПК 24.18 | 1800 | 1,3 |
1ПК 24.24 | 2400 | 1,8 |
1ПК 24.30 | 3000 | 2,2 |
1ПК 24.36 | 3600 | 2,7 |
1ПК 27.10 | 2700 | 1000 | 0,9 |
1ПК 27.12 | 1200 | 1,0 |
1ПК 27.15 | 1500 | 1,2 |
1ПК 27.18 | 1800 | 1,4 |
1ПК 27.24 | 2400 | 2,0 |
1ПК 27.30 | 3000 | 2,4 |
1ПК 27.36 | 3600 | 3,0 |
1ПК 30.10 | 3000 | 1000 | 0,9 |
1ПК 30.12 | 1200 | 1,1 |
1ПК 30.15 | 1500 | 1,4 |
1ПК 30.18 | 1800 | 1,7 |
1ПК 30.24 | 2400 | 2,2 |
1ПК 30.30 | 3000 | 2,8 |
1ПК 33.10 | 3300 | 1000 | 1,0 |
1ПК 33.12 | 1200 | 1,2 |
1ПК 33.15 | 1500 | 1,5 |
1ПК 33.18 | 1800 | 1,8 |
1ПК 33.24 | 2400 | 2,4 |
1ПК 33.30 | 3000 | 3,0 |
1ПК 33.36 | 3600 | 3,6 |
1ПК 36.10 | 3600 | 1000 | 1,1 |
1ПК 36.12 | 1200 | 1,3 |
1ПК 36.15 | 1500 | 1,7 |
1ПК 36.18 | 1800 | 2,0 |
1ПК 36.24 | 2400 | 2,7 |
1ПК 36.30 | 3000 | 3,3 |
1ПК 36.36 | 3600 | 4,0 |
1ПК 39.10 | 3900 | 1000 | 1,2 |
1ПК 39.12 | 1200 | 1,4 |
1ПК 39.15 | 1500 | 1,8 |
1ПК 39.18 | 1800 | 2,1 |
1ПК 39.24 | 2400 | 2,9 |
1ПК 39.30 | 3000 | 3,5 |
1ПК 39.36 | 3600 | 4,3 |
1ПК 42.10 | 4200 | 1000 | 1,3 |
1ПК 42.12 | 1200 | 1,6 |
1ПК 42.15 | 1500 | 2,0 |
1ПК 42.18 | 1800 | 2,3 |
1ПК 42.24 | 2400 | 3,1 |
1ПК 42.30 | 3000 | 3,9 |
1ПК 42.36 | 3600 | 4,7 |
1ПК 45.10 | 4500 | 1000 | 1,4 |
1ПК 45.12 | 1200 | 1,7 |
1ПК 45.15 | 1500 | 2,1 |
1ПК 45.18 | 1800 | 2,4 |
1ПК 45.24 | 2400 | 3,3 |
1ПК 45.30 | 3000 | 4,1 |
1ПК 45.36 | 3600 | 5,0 |
1ПК 48.10 | 4800 | 1000 | 1,5 |
1ПК 48.12 | 1200 | 1,8 |
1ПК 48.15 | 1500 | 2,2 |
1ПК 48.18 | 1800 | 2,7 |
1ПК 48.24 | 2400 | 3,6 |
1ПК 48.30 | 3000 | 4,5 |
1ПК 48.36 | 3600 | 5,4 |
1ПК 51.10 | 5100 | 1000 | 1,6 |
1ПК 51.12 | 1200 | 1,9 |
1ПК 51.15 | 1500 | 2,4 |
1ПК 51.18 | 1800 | 2,9 |
1ПК 51.24 | 2400 | 3,8 |
1ПК 51.30 | 3000 | 4,8 |
1ПК 51.36 | 3600 | 5,7 |
1ПК 54.10 | 5400 | 1000 | 1,7 |
1ПК 54.12 | 1200 | 2,0 |
1ПК 54.15 | 1500 | 2,5 |
1ПК 54.18 | 1800 | 3,0 |
1ПК 54.24 | 2400 | 4,0 |
1ПК 54.30 | 3000 | 5,0 |
1ПК 54.36 | 3600 | 6,0 |
1ПК 57.10 | 5700 | 1000 | 1,8 |
1ПК 57.12 | 1200 | 2,1 |
1ПК 57.15 | 1500 | 2,6 |
1ПК 57.18 | 1800 | 3,1 |
1ПК 57.24 | 2400 | 4,2 |
1ПК 57.30 | 3000 | 5,2 |
1ПК 57.36 | 3600 | 6,3 |
1ПК 60.10 | 6000 | 1000 | 1,9 |
1ПК 60.12 | 1200 | 2,2 |
1ПК 60.15 | 1500 | 2,8 |
1ПК 60.18 | 1800 | 3,3 |
1ПК 60.24 | 2400 | 4,5 |
1ПК 60.30 | 3000 | 5,6 |
1ПК 60.36 | 3600 | 6,7 |
1ПК 63.10 | 6300 | 1000 | 2,0 |
1ПК 63.12 | 1200 | 2,4 |
1ПК 63.15 | 1500 | 3,0 |
1ПК 63.18 | 1800 | 3,5 |
1ПК 63.24 | 2400 | 4,7 |
1ПК 63.30 | 3000 | 5,9 |
1ПК 63.36 | 3600 | 7,1 |
1ПК 66.10 | 6600 | 1000 | 2,1 |
1ПК 66.12 | 1200 | 2,5 |
1ПК 66.15 | 1500 | 3,1 |
1ПК 66.18 | 1800 | 3,7 |
1ПК 66.24 | 2400 | 5,0 |
1ПК 66.30 | 3000 | 6,2 |
1ПК 66.36 | 3600 | 7,4 |
1ПК 72.10 | 7200 | 1000 | 2,3 |
1ПК 72.12 | 1200 | 2,7 |
1ПК 72.15 | 1500 | 3,3 |
1ПК 72.18 | 1800 | 4,0 |
1ПК 72.24 | 2400 | 5,4 |
1ПК 72.30 | 3000 | 6,7 |
1ПК 72.36 | 3600 | 8,1 |
1ПК 75.10 | 7500 | 1000 | 2,4 |
1ПК 75.12 | 1200 | 2,8 |
1ПК 75.15 | 1500 | 3,4 |
1ПК 75.18 | 1800 | 4,1 |
1ПК 75.24 | 2400 | 5,6 |
1ПК 75.30 | 3000 | 6,9 |
1ПК 75.36 | 3600 | 8,4 |
1ПК 90.10 | 9000 | 1000 | 2,8 |
1ПК 90.12 | 1200 | 3,3 |
1ПК 90.15 | 1500 | 4,1 |
Примечания 1 Для плит типов 2ПК и 3ПК в обозначении типоразмера, приведенного в настоящей таблице, следует заменить 1ПК на 2ПК и 3ПК соответственно. При наличии плит одного типоразмера, отличающихся армированием в целях возможности опирания по двум, трем сторонам или по контуру, следует ввести в маркировку дополнительное обозначение. 2 Для плит типов 1ПКТ, 2ПКТ, 3ПКТ координационная длина l0 от 3600 до 6600 включительно с интервалом 300; 7200, 7500, координационная ширина плит b0 от 2400 до 3600 включительно с интервалом 300. 3 Для плит типа 1ПКК, 2ПКК, 3ПКК координационная длина l0 от 2400 до 6600 включительно с интервалом 300, координационная ширина плит b0 от 4800 до 6600 включительно с интервалом 300; 7200. 4 Для плит типов 1,5ПБ, 1,6ПБ, 1,8ПБ, 2,2ПБ, 2,65ПБ, 3ПБ, 3,2ПБ, 3,3ПБ, 4ПБ, 4,5ПБ, 5ПБ координационная ширина плит b0 должна соответствовать 1000, 1200 и 1500 мм. Координационная длина l0 устанавливается в соответствии с параметрами формовочного оборудования предприятия-изготовителя. 5 Координационная длина l0 = 9000 мм применима только для плит типа 1ПК. 6 Масса плит приведена для плит из тяжелого бетона средней плотности 2500 кг/м3. 7 Направление расчетного пролета плит типа 1ПК устанавливают параллельным длине или ширине плиты. |
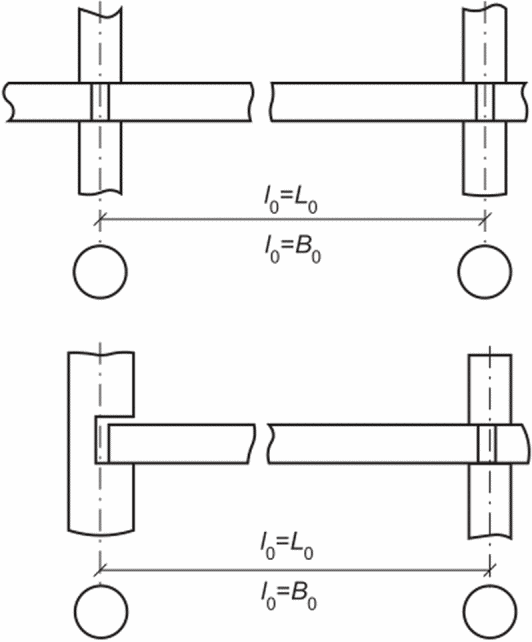
4.5 Плиты в перекрытии здания следует располагать таким образом, чтобы их координационная длина равнялась соответствующему поперечному или продольному шагу несущих конструкций здания, указанному на
рисунке 1.
l0 - координационная длина плиты; L0 и B0 - расстояние
между поперечными и продольными координационными
осями здания соответственно
Если во внутренних несущих стенах толщиной 300 мм и более применяют парные координационные оси (заменяемые в проектной документации одной разбивочной осью), координационная длина плиты должна равняться расстоянию между разбивочными осями здания за вычетом координационного размера вставки или половины координационного размера вставки, указанному на
рисунке 2.
1 - координационные оси здания; 2 - разбивочная ось здания;
a - расстояние между парными координационными осями;
l0 - координационная длина плиты; L0 и B0 - расстояние
между поперечными и продольными координационными осями
здания соответственно; L' и B' - расстояние между
поперечными и продольными разбивочными
осями здания соответственно
4.6 Конструктивные длину и ширину плит следует принимать равными соответствующим координационным размерам, указанным на
рисунках 1,
2 и в
таблице 1, уменьшенным на размер зазора между смежными плитами - a
1, указанный в
таблице 2.
Таблица 2
Дополнительные размеры, учитываемые при определении
конструктивного размера плиты
Область применения плиты | Дополнительные размеры, учитываемые при определении конструктивного размера плиты, мм |
Длина | Ширина |
a1 | a2 | a3 | a1 |
Крупнопанельные здания, в том числе здания при расчетной сейсмичности 7 - 9 баллов | 20 | - | 60 | 10 - для плит координационной шириной менее 2400; |
Здания со стенами из кирпича, камней и блоков, за исключением зданий при расчетной сейсмичности 7 - 9 баллов | 20 | - | - | 20 - для плит координационной шириной 2400 и более |
Здания со стенами из кирпича, камней и блоков при расчетной сейсмичности 7 - 9 баллов | 20 | 140 | - |
Каркасные здания, в том числе здания при расчетной сейсмичности 7 - 9 баллов | 20 | 350 | - |
При наличии в местах сопряжения плит разделяющих элементов, геометрические оси которых совмещены с координационными осями (например, монолитные антисейсмические пояса, вентиляционные каналы и др.), конструктивную длину плит следует принимать равной соответствующему координационному размеру, указанному на
рисунках 1,
2 и в
таблице 1, уменьшенному на размер зазора разделяющего элемента - a
2, указанный в
таблице 2.
4.7 Форма и размеры плит
типов 1,5ПБ,
1,6ПБ,
1,8ПБ,
2,2ПБ,
2,65ПБ,
3ПБ,
3,2ПБ,
3,3ПБ,
4ПБ,
4,5ПБ,
5ПБ должны соответствовать установленным рабочими чертежами плит, разработанными в соответствии с параметрами формовочного оборудования предприятия - изготовителя этих плит.
4.8 Дополнительные размеры, учитываемые при определении конструктивных размеров плиты, приведены в
таблице 2.
4.9 При перекрытии плитой пространства, превышающего расстояние между соседними координационными осями здания (например, для плиты, опираемой на всю толщину стены лестничной клетки в крупнопанельных зданиях с поперечными несущими стенами и т.д.), конструктивную длину следует принимать равной соответствующей координационной длине, указанной в
таблице 1 и увеличенной на размер a
3, указанный в
таблице 2.
4.10 При условии обеспечения несущей способности, жесткости и трещиностойкости допускается разрезка стандартных плит
типов 1,5ПБ,
1,6ПБ,
1,8ПБ,
2,2ПБ,
2,65ПБ,
3ПБ,
3,2ПБ,
3,3ПБ,
4ПБ,
4,5ПБ,
5ПБ продольным резом на плиты-доборы различных размеров по ширине на заводах-изготовителях. Указания по разрезке плит-доборов - в соответствии с рабочими чертежами плит.
Допускается производить косые резы стандартных плит
типов 1,5ПБ,
1,6ПБ,
1,8ПБ,
2,2ПБ,
2,65ПБ,
3ПБ,
3,2ПБ,
3,3ПБ,
4ПБ,
4,5ПБ,
5ПБ, получая трапецеидальное очертание изделий в плане в соответствии с рабочими чертежами плит. Косые резы могут быть с одного или обоих торцов изделий под углом не менее 45°. При этом проскальзывание проволок, замеренное на торцах плит после резки диском, не должно превышать значений, установленных заводом-изготовителем.
5.1 Плиты в зависимости от их расположения в перекрытии здания применяют под расчетные равномерно распределенные нагрузки (без учета собственного веса плит), равные 3,0; 4,5; 6,0; 8,0 кПа (соответственно 300, 450, 600, 800 кгс/м2).
5.2 На рабочих чертежах плит, применяемых в конкретном здании, указывают расположение закладных деталей, выпусков арматуры, местных вырезов, отверстий и других конструктивных деталей.
5.3 Показатели расхода бетона и стали плиты должны соответствовать указанным на рабочих чертежах с учетом возможных уточнений, вносимых проектной организацией.
5.4 Точность линейных размеров плит следует принимать по пятому или шестому классу точности по
ГОСТ 21779 с учетом положений
ГОСТ 26433.0.
Требования к качеству бетонных поверхностей и внешнему виду плит устанавливаются по
ГОСТ 13015 и должны быть указаны в заказе на изготовление.
Качество бетонных поверхностей плит должно удовлетворять требованиям, установленным для категорий:
А3 - нижней (потолочной);
А7 - верхней и боковых.
По согласованию изготовителя с потребителем плит могут быть установлены вместо указанных следующие категории поверхностей:
А2 - нижняя (потолочная), подготовленная под окраску;
А4 - то же, подготовленная под оклейку обоями или декоративную отделку пастообразными составами, и верхняя, подготовленная под покрытие линолеумом;
А6 - нижняя (потолочная), к которой не предъявляют требований по качеству отделки.
5.5 Индексы изоляции воздушного шума плит и приведенный уровень ударного шума под плитой, учитываемые при определении показателей звукоизоляции перекрытия с учетом действующих нормативных документов и технической документации
<1>, приведены в
таблице 3.
--------------------------------
<1> В Российской Федерации действует
СП 51.13330.2011 "СНиП 23-03-2003 Защита от шума".
Таблица 3
Индексы изоляции воздушного шума плит
и приведенный уровень ударного шума под плитой
Тип плиты | Средняя плотность бетона плиты, кг/м3 | Толщина, мм | Значение индекса, дБ |
изоляции воздушного шума плиты | приведенного уровня ударного шума под плитой |
| 1800 - 2500 | 120 | 46 - 49 | 88 - 84 |
| 2200 - 2500 | 160 | 51 - 52 | 83 - 81 |
| 2200 - 2500 | 220 | 51 - 52 | 85 - 84 |
1600 - 2000 | 220 | 48 - 50 | 87 - 86 |
| 2200 - 2500 | 220 | 52 - 53 | 82 - 81 |
Примечания 1 Для плит типов 1,5ПБ, 1,6ПБ, 1,8ПБ, 2,2ПБ, 2,65ПБ, 3ПБ, 3,2ПБ, 3,3ПБ, 4ПБ, 4,5ПБ, 5ПБ параметры изоляции воздушного шума устанавливают в зависимости от формы и размеров пустот. 2 Приведенный уровень ударного шума под плитой принят по результатам экспериментальных исследований. |
5.6 Плиты следует обозначать марками в соответствии с
ГОСТ 23009. При установлении обозначений необходимо учитывать следующие положения.
Условное обозначение (марка) плиты состоит из буквенно-цифровых групп, разделенных дефисами.
Первая группа содержит обозначение типа плиты и габаритных размеров - конструктивные длину и ширину.
Конструктивные длину и ширину плиты следует указывать в дециметрах (округляя до целого числа), а толщину - в сантиметрах.
Во второй группе указывают:
- значение расчетной нагрузки в килопаскалях;
- класс напрягаемой арматуры - для предварительно напряженных плит.
Для плит, изготовляемых из легкого бетона, дополнительно указывают вид бетона, обозначаемый прописной буквой "Л".
В третью группу, при необходимости, включают дополнительные характеристики, отражающие особые условия применения плит, их стойкость к сейсмическим и другим воздействиям, обозначения конструктивных особенностей плит, таких как вид и расположение арматурных выпусков, закладных изделий, расположение плит перекрытий (1 - связевая, 2 - пристенная, 3 - сантехническая) и других. Особые условия применения плит обозначают прописными буквами, конструктивные особенности плит - строчными буквами или арабскими цифрами.
Примеры условных обозначений (марки)
- плита типа 1ПК длиной 5980 мм, шириной 1490 мм, под расчетную нагрузку 4,5 кПа (450 кгс/м2), изготовляемая из тяжелого бетона с напрягаемой арматурой класса А800 (Ат-V):
1ПК 60.15-4.5А800
- то же, для плиты, изготовляемой из легкого бетона:
1ПК 60.15-4,5А800Л
- то же, для плиты, опираемой по трем сторонам:
1ПК 60.15-4,5А8003
- то же, для плиты, опираемой по четырем сторонам:
1ПК 60.15-4,5А8004
Примечание - Допускается изготовлять плиты других размеров и обозначать их марками в соответствии с рабочими чертежами типовых конструкций до их пересмотра.
5.7 Систематический контроль качества, правила приемки, паспортизация, складирование и транспортирование плит должны осуществляться в соответствии с
ГОСТ 9561,
ГОСТ 13015.
УДК 691.328.1.022-413:006.354 | |
Ключевые слова: плита, плита перекрытия, сплошные плиты, многопустотные плиты, координационные размеры, конструктивные длина и ширина, типоразмер, типы, параметры, марка, бетон, класс, технические требования, арматура, закладные детали |