Главная // Актуальные документы // Журнал (форма)СПРАВКА
Источник публикации
МПС РФ, 2001
Примечание к документу
Документ утратил силу в связи с изданием
Приказа Минтранса России от 22.03.2018 N 107.
Протоколом пятьдесят седьмого заседания СЖТ СНГ утвержден и введен в действие с 1 января 2013 года Руководящий
документ по ремонту и техническому обслуживанию колесных пар с буксовыми узлами грузовых вагонов магистральных железных дорог колеи 1520 (1524 мм), принятого взамен данного документа в части ремонта и технического обслуживания колесных пар с буксовыми узлами грузовых вагонов магистральных железных дорог колеи 1520 (1524) мм.
Документ
введен в действие с 1 апреля 2001 года.
Название документа
"3-ЦВРК. Инструктивные указания по эксплуатации и ремонту вагонных букс с роликовыми подшипниками"
(утв. МПС России 12.03.1998)
"3-ЦВРК. Инструктивные указания по эксплуатации и ремонту вагонных букс с роликовыми подшипниками"
(утв. МПС России 12.03.1998)
Руководитель Департамента
пассажирских сообщений МПС РФ
В.Н.ШАТАЕВ
12 марта 1998 года
Руководитель Департамента
вагонного хозяйства МПС РФ
С.С.БАРБАРИЧ
12 марта 1998 года
ИНСТРУКТИВНЫЕ УКАЗАНИЯ ПО ЭКСПЛУАТАЦИИ И РЕМОНТУ
ВАГОННЫХ БУКС С РОЛИКОВЫМИ ПОДШИПНИКАМИ
3-ЦВРК
Дата введения
1 апреля 2001 года
1.1. Инструктивные указания по эксплуатации и ремонту вагонных букс с роликовыми подшипниками обязаны выполнять все работники, связанные с эксплуатацией и ремонтом колесных пар с буксами на роликовых подшипниках.
При новом формировании колесных пар типов РУI-950, РУIШ-950 в комплекте с буксовыми узлами на заводах промышленности и ремонтных заводах подготовку к монтажу и монтаж букс производить в соответствии с требованиями ТУ 24.05.816-82 "Колесные пары с буксовыми узлами на подшипниках качения".
1.2. Настоящие Инструктивные указания распространяются на вагонные буксы с роликовыми подшипниками и определяют:
а) виды, сроки и правила ревизии букс;
б) порядок монтажа и демонтажа букс;
в) правила ремонта роликовых подшипников;
г) нормы и технические требования, предъявляемые к шейкам осей колесных пар, роликовым подшипникам, корпусам и деталям букс;
д) правила ухода в эксплуатации за буксами с роликовыми подшипниками;
е) порядок хранения и учета деталей буксового узла;
ж) требования, предъявляемые к производственному участку роликовых подшипников;
з) требования, предъявляемые к смазке.
1.3. Надежность работы роликовых подшипников зависит от точности изготовления и ремонта колесной пары, букс и ее деталей, правильности монтажа букс и ухода за ними в эксплуатации.
1.4. Отечественные подшипники нумеруются при изготовлении.
1.5. Роликовые подшипники должны изготавливаться по Техническим условиям на подшипники качения железнодорожного подвижного состава 37.006.048-73 и 37.006.072-75, дополняющие требования ГОСТ 520-92.
1.6. Демонтаж букс должен производиться на специально отведенной площадке колесного или тележечного цеха, обеспеченной необходимой оснасткой и оборудованием, а монтаж букс, комплектовка и ремонт подшипников - в отдельном чистом, светлом и сухом помещении. Измерительные приборы, приспособления, инструмент и оборудование, применяемые при ремонте, комплектовке, монтаже и демонтаже букс с роликовыми подшипниками, указаны в проекте N 292 ПКБ ЦВ МПС РФ.
1.7. Сварочные работы на вагонах и тележках, оборудованных колесными парами с буксами на роликовых подшипниках, должны выполняться так, чтобы подшипники не были включены в сварочную цепь. При этом запрещается использовать рельсы в качестве обратного провода. Подвод тока должен осуществляться по двухпроводной системе с присоединением обратного провода от источников питания дуги и непосредственно вблизи места сварки так, чтобы сварочная цепь не замыкалась через буксы, автосцепку, редукторы и другие разъемные соединения. Во всех случаях сварочные машины и трансформаторы должны быть тщательно изолированы от ремонтных путей.
При сварочных работах на вагоне или тележке с нарушением изложенных выше требований колесные пары должны быть выкачены из-под вагона или тележки и подвергнуты полному освидетельствованию со снятием внутренних и лабиринтных колец с шеек осей.
| | ИС МЕГАНОРМ: примечание. В официальном тексте документа, видимо, допущена опечатка: "Инструкция по осмотру, освидетельствованию, ремонту и формированию вагонных колесных пар" N ЦВ/3429 утверждена 31 декабря 1976 года, а не 16 марта 1998 года. | |
1.8. Осмотр, освидетельствование, клеймение и ремонт колесных пар с роликовыми подшипниками производят в соответствии с требованиями "
Инструкции по осмотру, освидетельствованию, ремонту и формированию вагонных колесных пар" N ЦВ/3429, утвержденной 16 марта 1998 г.
1.9. Категорически запрещается производить обмывку колесных пар с буксовыми узлами, тележек с колесными парами и вагонов на колесных парах, буксовые узлы которых в дальнейшем не подлежат демонтажу.
1.10. Колесные пары с роликовыми подшипниками оборотного парка, не бывшие в эксплуатации и простоявшие в резерве пять и более лет, после последнего полного освидетельствования при подкатке под вагоны подвергать полной ревизии букс, а колесные пары, простоявшие менее пяти лет, подвергнуть обыкновенному освидетельствованию с промежуточной ревизией букс.
Перед постановкой колесных пар в комплекте с буксами в оборотный парк буксу провертывать на шейке оси 15 - 20 раз. Аналогичное провертывание букс производить каждые 6 месяцев при хранении колесных пар в парке. Колесные пары с роликовыми буксовыми узлами хранить на специально выделенных рельсовых путях отдельными группами с разделением на исправные и неисправные. При этом устанавливается контроль за их сохранностью. Постановка колесных пар на путях отстойного парка или ремонтных цехов должна исключать соприкосновение колес с осью или буксовым узлом рядом стоящих колесных пар.
2. КОНСТРУКЦИИ БУКСОВЫХ УЗЛОВ С РОЛИКОВЫМИ ПОДШИПНИКАМИ
2.1. Роликовые подшипники
2.1.1. В буксах пассажирских и грузовых вагонов применяются роликовые подшипники:
а) с короткими цилиндрическими роликами однорядные с однобортовым внутренним кольцом
(рис. 1 а);
б) с короткими цилиндрическими роликами однорядные с безбортовым внутренним кольцом и плоским упорным кольцом
(рис. 1 б).
а) цилиндрический однорядный с однобортовым внутренним
кольцом; б) цилиндрический однорядный с безбортовым
внутренним кольцом и плоским упорным кольцом;
1 - наружное кольцо; 2 - ролик; 3 - внутреннее кольцо;
4 - сепаратор; 5 - упорное кольцо
Рис. 1. Роликовые подшипники
Примечание. В дальнейшем роликовые подшипники с короткими цилиндрическими роликами будут называться "цилиндрическими подшипниками". Посадка внутренних колец на шейку оси осуществляется методом прессования, заключающегося в нагреве внутренних колец (при этом происходит их объемное расширение), их постановке на шейку оси, остывании, после которого обеспечивается необходимая прочность прессового соединения колец с осью.
Формы роликов цилиндрических подшипников приведены на
рис. 2.
Рис. 2. Ролики подшипников
Ролики цилиндрических подшипников ранее изготовлялись со скосами (
рис. 2 а,
б), с 1965 г. ролики подшипников 42726 и 232726 изготавливаются с рациональным контактом - "бомбиной"
(рис. 2 в).
У цилиндрических подшипников, имеющих массивные беззаклепочные латунные сепараторы, ролики удерживаются в гнездах расчеканкой перемычек, а у полиамидных сепараторов - на перемычках имеются специальные утолщения.
Основные типы роликовых подшипников, применяемые в буксах пассажирских и грузовых вагонов широкой колеи, их размеры и массы представлены в табл. 1.
Таблица 1
Обозначение подшипников | Размеры подшипников, мм (см. рис. 1) | Число роликов, шт. | Размеры роликов, мм (см. рис. 2) | Радиальный зазор, мм | Способ посадки | Масса подшипника, кг |
D | B | | | | | | |
Цилиндрические подшипники: | | | | | | | | | | | |
30 - 42726, | | | | | | | | | | | |
36 - 42726 | 250 | 80 | 130 | | 32 | - | - | 52 | 0,115 - 0,170 | Горячая | 19,0 |
30 - 232726, | | | | | | | | | | | |
36 - 232726 | 250 | 80 | 130 | | 32 | - | - | 52 | 0,115 - 0,170 | Горячая | 19,0 |
30 - 42728, | | | | | | | | | | | |
36 - 42728 | 260 | 80 | 140 | 16 | 32 | - | - | 52 | 0,115 - 0,180 | Горячая | 19,9 |
30 - 232728, | | | | | | | | | | | |
36 - 232728 | 260 | 80 | 140 | 16 | 32 | - | - | 52 | 0,115 - 0,180 | Горячая | 19,9 |
<*> Внутренний диаметр подшипников на горячей посадке (диаметр шейки оси) |
<**> Подшипники с полиамидными сепараторами имеют по 15 роликов |
2.1.2. Цилиндрические роликовые подшипники с различными индексами и цифрами (Л, ЛI, ЕМ, Е2М, Л4М и др.), стоящими после условного обозначения, отличаются друг от друга применяемым материалом сепараторов (Л - латунь, Е - полиамид и др.).
2.1.3. Подшипники (кольца и ролики) изготавливают из хромистой стали (табл. 2) марок ШХ15 и ШХ15СГ, стали электрошлакового переплава марки ШХ15СГШ, а также из стали регламентированной прокаливаемости марки ШХ4 по ТУ 14-1-92374 и могут быть изготовлены из других марок стали по согласованию с заказчиком. Подшипники 42726 с внутренними кольцами из стали регламентированной прокаливаемости марки ШХ4 имеют увеличенную фаску на борту внутреннего кольца с наружной стороны высотой 3 мм и шириной 5 мм или на наружном диаметре борта внутреннего кольца имеется проточка радиусом 2,5 мм.
Таблица 2
Марка стали | Содержание элементов, %, не более |
углерода | марганца | кремния | хрома | серы и фосфора | никеля | меди | никеля и меди |
ШХ15 | 0,95 - 1,10 | 0,20 - 0,40 | 0,17 - 0,37 | 1,30 - 1,65 | 0,02 - 0,027 | 0,30 | 0,25 | 0,50 |
ШХ15СГ | 0,95 - 1,10 | 0,90 - 1,20 | 0,40 - 0,65 | 1,30 - 1,65 | 0,02 - 0,027 | 0,30 | 0,25 | 0,50 |
ШХ4 | 0,95 - 1,05 | 0,15 - 0,30 | 0,15 - 0,30 | 0,35 - 0,50 | 0,02 - 0,027 | 0,30 | 0,25 | - |
ШХ15СГШ | 1,01 | 1,10 | 0,52 | 1,50 | 0,008 - 0,0007 | 0,21 | 0,20 | - |
18ХГТ | 0,21 | 1,00 | 0,30 | 1,20 | 0,008 - 0,009 | 0,30 | 0,10 | - |
Внутренние кольца подшипников 232726 из стали регламентированной прокаливаемости марки ШХ4 имеют проточку на скосе глубиной 0,5 мм и шириной 2 мм.
Внутренние кольца подшипников из стали регламентированной прокаливаемости марки ШХ4 имеют маркировку 42726Л4М и 232726Л4М или 42726Е2М и 232726Е2М.
2.1.4. На вагонные роликовые подшипники наносят маркировку в соответствии с ГОСТ 520-92 и ТУ 37.006.048-73.
При изготовлении на торцы наружного и внутреннего колец цилиндрических подшипников наносят товарный знак завода-изготовителя (16ГПЗ, 8ГПЗ-ХАРП, 5ГПЗ, 3ГПЗ-СПЗ и 1ГПЗ-МПЗ) и указывают время изготовления, месяц и год. Месяц указывают условно буквой, располагаемой рядом с порядковым номером подшипника. У роликовых подшипников, изготовленных на 16, 8, 3 и 1 ГПЗ, с апреля 1998 г. обозначение месяца выпуска соответствует цифрам с 1 по 12 соответственно: 1 - январь, 2 - февраль и т.д. Маркировку на кольцах подшипников наносят только с одной стороны.
Буквенные обозначения месяца выпуска подшипника различными подшипниковыми заводами представлены в табл. 3. (до 01.01.98 г.). Год изготовления подшипников обозначают условно заглавной буквой русского алфавита, а начиная с августа 1997 г. - двумя последними цифрами года - 97, 98 и т.д. Знак "А", стоящий после маркировки года изготовления подшипника, указывает, что подшипник изготовлен из стали электрошлакового переплава. Кроме указанной маркировки, на подшипники наносят порядковый номер и условное обозначение подшипника, состоящее из цифр и букв.
Таблица 3
Месяц | Буквенные обозначения месяцев выпуска подшипников |
16ГПЗ | 3ГПЗ | 5ГПЗ | 8ГПЗ | 1ГПЗ |
До 1984 г. | С 1984 г. | С 1986 г. | 1966 г. | Все годы, кроме 1966 г. |
Январь | А | Г | Н | А | А | Б | А | А |
Февраль | Г | И | М | Б | Б | Г | Б | Б |
Март | Д | К | П | В | В | З | В | В |
Апрель | Е | Л | К | Г | Г | Н | Г | Г |
Май | И | М | И | Д | Д | К | Д | Д |
Июнь | К | Н | Г | Е | Е | М | Е | Е |
Июль | Л | О | Ш | Ж | Ж | П | Ж | Ж |
Август | Н | П | Т | З | И | Р | З | И |
Сентябрь | П | Р | С | И | К | С | И | Л |
Октябрь | Р | С | Р | К | Л | Т | К | Н |
Ноябрь | Т | Т | Л | Л | М | Х | Л | О |
Декабрь | У | Ш | О | М | Н | Э | М | П |
Для серийных подшипников (42726, 232726 или 2726) условное обозначение характеризует тип, серию, конструкцию и другие особенности.
Внутренние кольца однотипных подшипников взаимозаменяемы, поэтому на наружных кольцах наносят обозначения основного типа (2726) или на них могут быть нанесены полные обозначения (30-42726/Л или 30-232726/Л1), а также два условных обозначения подшипников (переднего и заднего) при расположении маркировки на торцах колец через 90° в следующем порядке, например, 30-232726/Л1, 3ГПЗ, 30-42726/Л, порядковый номер, месяц и год изготовления.
На внутренних кольцах наносят обозначения одного типа подшипника, завод-изготовитель, месяц и год выпуска.
На одном из торцов сепаратора у подшипников, начиная с марта 1974 г., наносили букву "Ж", а с 1979 г. вместо буквы "Ж" наносят товарный знак завода-изготовителя (3ГПЗ, 16ГПЗ или цифру 3, 16 и т.д.) и букву условного обозначения или две последние цифры года выпуска (М, К или 97, 98 и т.п.). Кроме того, на сепараторах, изготавливаемых из более прочной латуни марки ЛЦ40Мц3Ж, наносят цифры 55.
Цифра и буква (30, 36 или 3Н), стоящие перед условным обозначением подшипника, указывают номер ряда, характеризующего величину радиального зазора и класс точности. Например, 30 указывает, что подшипник изготовлен по классу точности 0 с радиальным зазором по группе 3. Подшипники выпуска до 1971 г. имели соответственно обозначения 3Н, 2Н и 1Н, а с 1971 г. - 30, 36.
Буква "М", стоящая после условного обозначения подшипника, указывает, что подшипник имеет ролики с модифицированным контактом - "бомбиной"; буква "У" - подшипник подвергался суперфинишу; цифра и буква "Л4М" и "Е2М" - внутренние кольца подшипников изготовлены из стали регламентированной прокаливаемости марки ШХ4.
Буква "Л" указывает, что сепаратор подшипника латунный, "Е" - полиамидный. Если этих букв нет, то сепаратор тоже латунный.
Цифры 1, 2, 3, стоящие за буквой, характеризуют изменение конструкции сепаратора (беззаклепочные, массивные, облегченные). Может быть нанесено на подшипники также среднее значение радиального зазора.
2.1.5. Цилиндрические подшипники, изготовляемые на автоматической линии, кроме того, могут иметь номер группы (I, II, III), к которой отнесено внутреннее кольцо по отклонению диаметра посадочного отверстия от номинального размера. К группе I относятся кольца с минусовыми отклонениями от номинального размера до 8 мкм, к группе II - от 9 до 17 мкм и к группе III - от 18 до 25 мкм.
2.2. Устройство букс с роликовыми подшипниками
2.2.1. В буксах вагонов применяют глухую подшипниковую посадку, при которой внутреннее кольцо подшипника непосредственно устанавливают на шейку оси.
2.2.2. В буксах грузовых и пассажирских вагонов устанавливают два цилиндрических подшипника (
рис. 3,
4,
5) вплотную друг к другу, при этом подшипник, расположенный у галтели шейки оси, называют задним, а у ее торца - передним.
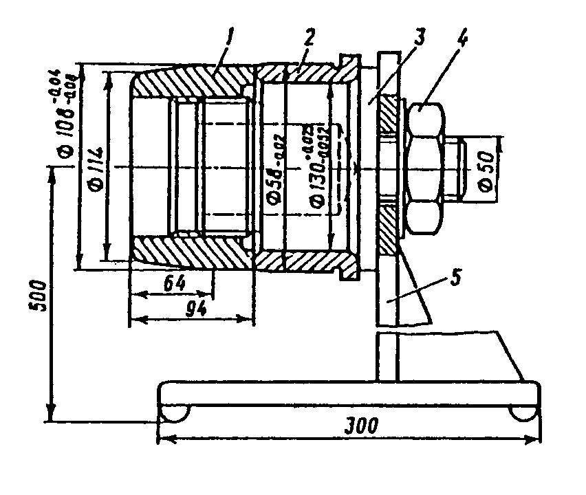
1 - корпус буксы; 2 - отъемный лабиринт корпуса буксы;
3 - лабиринтное кольцо; 4 - задний подшипник;
5 - передний подшипник; 6 - торцевая гайка;
7 - крепительная крышка; 8 - болт М12 стопорной планки
с пружинной шайбой; 9 - проволока; 10 - стопорная планка;
11 - упорное кольцо подшипника; 12 - смотровая крышка;
13 - прокладка; 14 - болт М12 смотровой крышки;
15 - кольцо уплотнительное
Рис. 3. Букса грузового вагона с двумя цилиндрическими
подшипниками с торцевым креплением гайкой
1 - передний подшипник 232726Л1М; 2 - задний подшипник
42726Л; 3 - корпус буксы; 4 - лабиринтное кольцо;
5 - отъемный лабиринт корпуса буксы; 6 - кольцо
уплотнительное; 7 - крепительная крышка; 8 - прокладка;
9 - торцевая шайба; 10 - смотровая крышка; 11 - болт М20
для крепления торцевой шайбы; 12 - стопорная шайба;
13 - болт М12 с пружинной шайбой для крепления
смотровой крышки
Рис. 4. Букса грузового вагона с двумя цилиндрическими
подшипниками с торцевым креплением тарельчатой
шайбой и четырьмя болтами
1 - корпус буксы; 2 - лабиринтное кольцо;
3 - задний подшипник; 4 - передний подшипник;
5 - крепительная крышка; 6 - смотровая крышка;
7 - торцевая гайка; 8 - стопорная планка;
9 - болт М12 стопорной планки с пружинной шайбой;
10 - проволока; 11 - болт М12 смотровой крышки;
12 - пружинная шайба; 13 - прокладка;
14 - кольцо уплотнительное
Рис. 5. Букса пассажирского вагона с двумя цилиндрическими
подшипниками с торцевым креплением гайкой
2.2.3. Буксы с двумя цилиндрическими подшипниками могут иметь торцевое крепление корончатой гайкой М110 x 4
(рис. 3) или тарельчатой шайбой с четырьмя болтами М20 (
рис. 6 а,
б), или с тремя болтами М20 (
рис. 6 в,
г).
а), б) - четырьмя болтами (соответственно правая и левая
шейки оси); в), г) - тремя болтами (соответственно
правая и левая шейки оси); 1 - номер оси колесной пары;
2 - знак формирования; 3 - условный номер предприятия,
сформировавшего колесную пару; 4 - дата формирования
колесной пары; 5 - дата последнего полного
освидетельствования колесной пары; 6 - условный
номер предприятия, производившего последнее полное
освидетельствование колесной пары; 7 - знак обточки
колесной пары; 8 - условный номер пункта, производившего
обточку без демонтажа букс; 9 - дата обточки колесной пары
без демонтажа букс; I - шайба тарельчатая;
II - шайба стопорная
Рис. 6. Варианты торцевого крепления тарельчатой шайбой
с нанесением маркировки на стопорную шайбу
2.2.4. Характеристика основных типов букс с роликовыми подшипниками, применяемыми на пассажирских и грузовых вагонах, приведена в табл. 4.
Таблица 4
Конструкция буксового узла
Конструкция буксового узла | Обозначения подшипников | Габаритные размеры подшипников, мм | Тип вагонов |
переднего | заднего |
Букса с двумя цилиндрическими подшипниками | 30-232726 | 30-42726 | 130 x 250 x 80 | ЦМВ и грузовые |
36-232726 | 36-42726 |
30-232728 | 30-42728 | 140 x 260 x 80 | Грузовые |
36-232728 | 36-42728 |
2.3. Смазка для роликовых подшипников
2.3.1. Для букс вагонов с роликовыми подшипниками применяют железнодорожную смазку ЛЗ-ЦНИИ по
ГОСТ 19791-74 или ЛЗ-ЦНИИ (у) по ТУ 0254-307-00148820-95 (с Изменениями 1 и 2), представляющую собой однородную мазь от светло-желтого до темно-желтого цвета (табл. 5).
Таблица 5
Наименование показателей | Норма по ГОСТ | Норма по ТУ |
Пенетрация при температуре 25 °C | 200 - 260 | 200 - 260 |
Предел прочности при температуре 50 °C | 200 Па (2,0 г/см2), не менее | 200 - 600 Па |
Температура каплепадения | 125 °C, не ниже | 130 °C, не ниже |
Коллоидная стабильность выделенного масла | 23%, не более | 10 - 24% |
Испытание коррозионных свойств | выдерживает | выдерживает |
Содержание: | | |
свободной щелочи в перерасчете | | |
на NaOH | 0,2%, не более | 0,02 - 0,2% |
воды | 0,5%, не более | 0,4%, не более |
механических примесей | отсутствие | отсутствие |
В соответствии с ГОСТом или ТУ, смазку ЛЗ-ЦНИИ поставляют в бидонах из белой жести вместимостью 20 л или в стальных бочках со съемным днищем вместимостью 50 л, а по согласованию с заказчиком она может поставляться в металлических бочках вместимостью 200 л или в другой таре.
Перед применением проверяют соответствие данных сертификата на смазку требованиям ГОСТа или ТУ. При отсутствии сертификата смазка должна быть проверена в лаборатории. По отдельным указаниям смазка проверяется независимо от наличия сертификата. Следует предъявлять рекламации на смазку, изготовленную с нарушением ГОСТа или ТУ. Не допускается загрязнение смазки механическими примесями и ее обводнение.
Перед заправкой подшипников смазкой, для создания однородности, ее пропускают через аппарат для перемешивания (гомогенизации) смазки.
2.3.2. Выбирать смазку из тары необходимо деревянной лопаткой или чистыми руками. Запрещается производить вырубку крышек у бидонов со смазкой. Крышки необходимо вскрывать специальным ножом или приспособлением.
2.3.3. Для смазывания дорожек качения и торцов роликов применяют препарат-модификатор эМПи-1
(Приложение 7) ТУ 0253-001-25887352-97.
При длительном хранении подшипников в качестве предохранительной смазки от действия коррозии применяют смазку ПП-95/5 (ГОСТ 4113-80).
2.3.4. Смазочные материалы должны храниться в чистой, плотно закрытой таре, исключающей попадание пыли, грязи и воды.
3. НАБЛЮДЕНИЕ И УХОД ЗА БУКСАМИ С РОЛИКОВЫМИ ПОДШИПНИКАМИ
В ЭКСПЛУАТАЦИИ
3.1. Наружный осмотр букс производят в пунктах подготовки вагонов к перевозкам, формирования, технического обслуживания и оборота вагонов, а также в депо.
3.2. Основным признаком возможной неисправности буксового узла вагонов является, как правило, повышенный нагрев корпуса буксы. Однако встречаются такие неисправности роликовых подшипников, которые на первоначальной стадии не вызывают нагрева букс, но представляют серьезную угрозу для безопасности движения поездов. Поэтому при встрече поездов в пунктах технического обслуживания необходимо выявлять возможные неисправности буксовых узлов по температурным режимам и внешним признакам.
3.3. В пунктах технического обслуживания у прибывшего поезда, кроме наружного осмотра букс и проверки крепления крышек, на ощупь сразу же после прибытия поезда определяют температуру верхней части букс, которая по всему составу должна быть примерно одинаковой. Разрешается для определения степени нагрева использовать специальные приборы, согласованные с МПС РФ.
Причинами повышенного нагрева букс являются:
а) излишнее количество смазки, при этом поверхность верхней части корпуса буксы нагревается равномерно, а из лабиринтной части буксы вытекает смазка. Для выявления причин нагрева вскрыть смотровую крышку. Этот нагрев может произойти непосредственно после монтажа (ревизии), что определяется по ее дате на бирке. Если монтаж производился за месяц или менее до выявления нагрева, то колесную пару можно допустить к эксплуатации;
б) заедание в лабиринте вследствие отсутствия зазора между лабиринтной частью корпуса буксы и лабиринтным кольцом, при этом задняя часть корпуса буксы нагревается больше передней. В этом случае колесную пару заменить;
в) ненормальная работа роликовых подшипников, вызывающая резко повышенный нагрев буксы. Это может произойти из-за неисправности подшипников: разрыва внутреннего кольца, малого осевого и радиального зазоров подшипников, излома или износа сепаратора, отсутствия или потери смазкой своих свойств, неправильной сборки подшипников и других деталей, попадания посторонних тел (песок, металлические включения и т.п.), неправильной сборки тележки (перекос рамы, неточная установка шпинтонов и т.д.). В этом случае прежде всего проверить внешним осмотром состояние буксового узла, затем вскрыть смотровую крышку для определения состояния подшипников и торцевого крепления. Предварительно переднюю часть буксы тщательно протереть. При обнаружении вышеперечисленных или других неисправностей колесную пару заменить, а обе буксы этой колесной пары подвергнуть полной ревизии.
Также подвергать полной ревизии буксы колесных пар, выкатываемых по нагреву букс, обнаруженному приборами ПОНАБ и ДИСК. При выкатке таких колесных пар белой краской наносить на колесах надпись "Аварийная ПОНАБ". Использовать снег и воду для охлаждения буксы запрещается.
Крышку имеет право снимать старший осмотрщик вагонов пункта технического обслуживания или, как исключение, осмотрщик вагонов, сдавший испытания на право производить промежуточную ревизию в установленном порядке. Крышку необходимо снимать с соблюдением условий, не допускающих попадания в буксу и крышку различных загрязнений, посторонних твердых частиц и влаги.
Характерные неисправности букс, выявляемые по внешним признакам, приведены в "
Инструкции осмотрщику вагонов" N ЦВ-ЦЛ-408.
3.4. Во всех случаях разрушения роликовых подшипников в пути следования поездов необходимо вызывать для расследования представителей причастных предприятий (завод, депо), производивших ревизию буксовых узлов. Немедленно расследовать все случаи разрушения в пути следования роликовых подшипников вагонных колесных пар, результаты докладывать в установленном порядке, заполняя бланк "План расследования разрушения буксового узла"
(Приложение 5). Одновременно необходимо составлять и направлять рекламационные акты предприятию, производившему последнее полное освидетельствование.
При предъявлении рекламационных материалов вагоностроительной промышленности руководствоваться ГОСТ 4835, а вагонным депо и ремонтным заводам - руководствами по деповскому и капитальному ремонтам.
3.5. На все колесные пары, выкатываемые по нагреву букс, обнаруженному приборами ПОНАБ или ДИСК, системами контроля нагрева букс или осмотрщиками вагонов, у которых при полных ревизиях букс будут обнаружены роликовые подшипники с неисправностями или полностью разрушенные, составлять акт и заполнять бланк плана, в котором указывать, как был обнаружен нагрев (показанием ПОНАБ или ДИСК, системой контроля нагрева букс или осмотрщиком вагонов). Указанный выше план расследования и акты сразу же после осмотра направлять в железнодорожные администрации не позднее десятидневного срока.
Примечание. Полностью разрушенными считаются те подшипники, у которых при полной ревизии букс оказались разрушенными все детали (кольца, ролики, сепаратор).
4. ВИДЫ, СРОКИ И ПРАВИЛА РЕВИЗИИ БУКС
С РОЛИКОВЫМИ ПОДШИПНИКАМИ
4.1. Полная ревизия
4.1.1. Полную ревизию букс с роликовыми подшипниками производят при полном освидетельствовании колесных пар:
а) при деповском и текущем отцепочном ремонтах вагонов выкатываемым и подкатываемым колесным парам, проходившим последнее полное освидетельствование четыре и более лет для пассажирских и рефрижераторных вагонов и пять и более лет для грузовых вагонов, а также колесным парам, срок службы которых 15 лет и более, кроме колесных пар, ранее проходивших последнее полное освидетельствование не более 3-х месяцев;
Примечание. Разрешается производить обыкновенное освидетельствование колесным парам, срок службы которых 15 лет и старше, при условии дефектоскопирования осей.
б) при повреждении вагона от динамических ударов при падении груза;
в) через две обточки по предельному прокату или другим неисправностям поверхности катания колес грузовых вагонов и через обточку для колес пассажирских вагонов;
г) при каждой обточке колесных пар, работающих с редуктором, и колесных пар, выкаченных из-под шестиосных вагонов;
д) после схода вагона с рельсов у колесных пар сошедшей тележки;
е) при капитальном ремонте вагона;
ж) при всех видах планового ремонта подкатываемым колесным парам РУ-950 и РУ-1050 в соответствии с Инструктивным указанием 3-ЦВРК;
з) при формировании и ремонте колесной пары со сменой элементов;
и) при неясности клейм и знаков последнего полного освидетельствования на торце шейки оси;
к) после удаления волосовин, плен, неметаллических включений и др.;
л) у поврежденных вагонов после крушения, аварии, маневровой работы;
м) при наличии на поверхности катания колес колесных пар:
- грузовых вагонов - неравномерного проката 2 мм и более, ползуна и навара 1 мм и более, разности диаметров колес на одной оси 3 мм и более;
- пассажирских вагонов - ползуна 1 мм и более, навара - 0,5 мм и неравномерного проката 2 мм и более, а у колесных пар с приводом генераторов всех типов (кроме плоскоременных) - неравномерного проката 1 мм и более;
н) при отсутствии бирки или неясности клейм на ней, обнаруженных при ремонте или подкатке колесной пары;
о) при сварочных работах на вагоне или тележке без соблюдения требований
п. 1.7;
п) при недопустимом нагреве буксы или повреждении буксового узла, требующего демонтажа букс, а также отказе в работе привода редуктора от торца шейки оси, требующего его демонтажа;
р) при обнаружении в буксе пассажирского вагона редукторного масла. При неисправности одной буксы обязательно производить полную ревизию второй буксы колесной пары.
4.1.2. Полную ревизию букс осуществляют в пунктах, имеющих специально оборудованные производственные участки роликовых подшипников и удостоверение, выдаваемое железнодорожными администрациями.
4.1.3. Полную ревизию букс производят под непосредственным руководством и контролем мастера или бригадира, имеющих удостоверение о сдаче испытаний на право полного освидетельствования колесных пар и полной ревизии букс.
Испытание и выдачу удостоверения на право полного освидетельствования и ревизии букс осуществляют в соответствии с
п. 3.1.4 "Инструкции по осмотру, освидетельствованию, ремонту и формированию вагонных колесных пар". Лица, выполняющие монтаж, промежуточную ревизию, осмотр и ремонт подшипников, должны сдать также испытания и получить удостоверение на право полной и промежуточной ревизии букс, осмотра и ремонта подшипников.
Проверку знаний работников производят не реже одного раза в год.
Выдачу удостоверения на право полной и промежуточной ревизии букс, осмотр и ремонт подшипников осуществляет комиссия в составе главного инженера вагонного депо или завода по ремонту подвижного состава и производства запасных частей (председатель) и начальника или мастера колесного или роликового цеха, имеющих удостоверение на право полного освидетельствования колесных пар и ревизии букс.
4.1.4. При полной ревизии букс производят:
а) демонтаж букс с роликовыми подшипниками без снятия внутренних и лабиринтных колец в соответствии с действующими нормативно-техническими документами. Внутренние и лабиринтные кольца снимают при их неисправности, расформировании колесных пар, а также отсутствии специального щупа и дефектоскопов для проверки оси и внутренних колец на шейке оси;
б) промывка, осмотр, проверка и дефектоскопирование деталей роликовых подшипников, других деталей буксового узла и колесных пар;
в) ремонт деталей буксового узла и колесных пар;
г) измерение радиальных и осевых зазоров, посадочных отверстий внутренних колец при их установке, посадочных поверхностей корпусов букс;
д) монтаж букс.
4.1.5. После полной ревизии и монтажа букс на бирке
(рис. 7) выбивают номер оси, дату полного освидетельствования (месяц и две последние цифры года) и условный номер, присвоенный пункту, производившему освидетельствование колесной пары и монтаж букс.
а) для двух болтов; б) для одного болта; в) для
промежуточной ревизии с обточкой
1 - месяц, год, номер пункта, производившего полное
освидетельствование колесной пары и монтаж букс; 2 - номер
оси; 3 - знак "О", месяц, год и номер пункта,
производившего обточку колесной пары без демонтажа букс
У колесных пар с торцевым креплением подшипников тарельчатой шайбой и болтами М20 при новом формировании, ремонте со сменой элементов и полном освидетельствовании колесных пар, кроме маркировки на бирке, на стопорной шайбе правой шейки оси выбивают номер оси, знак формирования, условный номер предприятия, сформировавшего или производившего ремонт со сменой элементов, и дату (месяц и две последние цифры года) производства этих работ (
рис. 6 а,
в).
На стопорной шайбе левой шейки оси выбивают дату последнего полного освидетельствования колесной пары и условный номер предприятия, производившего последнее полное освидетельствование колесной пары и полную ревизию букс (
рис. 6 б,
г). При этом месяц на стопорной шайбе выбивают клеймами с арабскими цифрами вместо римских.
Колесные пары, сформированные или отремонтированные на одних заводах или ремонтных пунктах и полученные для монтажа роликовых букс другими заводами или ремонтными пунктами, подвергают осмотру. При монтаже букс у таких колесных пар на левом торце шейки оси наносят условный номер пункта, производившего монтаж букс, букву "М" и дату монтажа. На бирке и стопорной шайбе вместо даты и условного номера пункта, производившего полное освидетельствование колесной пары, необходимо наносить дату и место монтажа букс (месяц римскими цифрами и две последние цифры года), условный номер пункта, производившего монтаж букс, и рядом с ним букву "М".
Бирку
(рис. 7) изготавливают из листовой стали марки 10 КП толщиной 1,0 - 1,5 мм или оцинкованной стали толщиной 0,8 - 1,0 мм. Бирку устанавливают на левых верхних болтах крепительной крышки буксы правой шейки оси. Часть бирки, на которой выбита маркировка, загибают на верхнюю плоскость прилива корпуса. Бирку, укрепляемую одним болтом, не загибают. Допускается изготавливать бирки по условным штриховым линиям (
рис. 7 а,
в).
На буксах, имеющих опытные подшипники, смазку и др., устанавливают по особому указанию дополнительные бирки, на которые наносят соответствующую маркировку.
4.1.6. Данные полной ревизии букс записывают в журнал
формы ВУ-90 (Приложение 1).
4.2. Промежуточная ревизия
4.2.1. Промежуточную ревизию производят:
а) при обточке колесных пар без демонтажа букс;
б) при обыкновенном освидетельствовании колесных пар;
в) при единовременной технической ревизии пассажирских вагонов;
г) в качестве профилактической меры по отдельным указаниям (профилактическая ревизия).
Ревизию осуществляет слесарь, имеющий квалификацию не ниже 4-го разряда и соответствующее удостоверение.
Примечание. При единовременной технической ревизии пассажирских вагонов колесные пары, имеющие редукторно-карданный привод от торца шейки оси, выкатывают из-под вагона для тщательного осмотра и проверки круга катания колес. Профилактическая, а также единовременная техническая ревизии пассажирских вагонов производятся под вагоном без снятия стопорных планок. Надежность торцевого крепления проверяется остукиванием.
4.2.2. Перед промежуточной ревизией у выкаченных колесных пар буксы проворачивают для определения неисправностей (раковин и др.). При вращении буксы с толчками и ненормальным шумом производят полную ревизию.
При наличии в вагонных депо установок для диагностирования роликовых подшипников УДП-85 или УДП-85М, АЛ2-3 или других установок, согласованных с МПС РФ, все грузовые колесные пары, подлежащие обыкновенному освидетельствованию, а их буксовые узлы - промежуточной ревизии, должны быть пропущены через эти установки в соответствии с технологией, изложенной в инструкциях к этим установкам.
4.2.3. При промежуточной ревизии снимают крышку. Места прилегания крышки предварительно очищают от грязи и протирают. Снятую крышку укладывают в закрываемый ящик внутренней стороной вверх. Из передней части буксы смазку перекладывают в снятую крышку для дальнейшего использования. При этом необходимо соблюдать условия, исключающие попадание в буксу и крышку различных загрязнений.
Загрязнение смазки определяют анализом по методу Московской ж.д. или другим методом, согласованным с МПС РФ, или визуально после растирания небольшой порции смазки на тыльной стороне руки или суконном материале, или зеркале, или другим способом. Букса с загрязненной и обводненной смазкой (стальные, латунные включения, механические и другие примеси) подлежат полной ревизии. При хорошем состоянии смазки (потемнение смазки не является браковочным признаком) производят дальнейший осмотр. Прежде всего проверяют состояние переднего подшипника. При обнаружении масла от редукторно-карданного привода, излома или износа сепаратора, приставного упорного кольца или других дефектов буксу подвергают полной ревизии.
При ревизии, выполняемой по
подпунктам "в" и
"г" пункта 4.2.1, и при удовлетворительном состоянии подшипника остукиванием контролируют болты стопорной планки или тарельчатой шайбы. Ослабшие болты М12 подтягивают, неисправные заменяют. Неисправную проволоку болтов стопорной планки заменяют, под болты стопорной планки ставят пружинные шайбы. Надежность крепления торцевой гайки проверяют ударами слесарного молотка по оправке, упираемой в одну из граней коронки или в шлиц гайки. Проверку производят в обе стороны вращения гайки. При ослаблении гайки торцевого крепления колесную пару выкатывают и снимают гайку. Колесная пара и гайка с поврежденной резьбой к дальнейшей эксплуатации не допускаются. При ревизии, выполняемой по
подпунктам "а" и
"б" пункта 4.2.1, у букс с подшипниками при торцевом креплении гайкой независимо от состояния крепления снимают стопорную планку для дефектоскопирования и клеймения, торцевую гайку и упорное кольцо - для визуального осмотра резьбы шейки оси и гайки. Колесные пары или гайки с поврежденной резьбой к дальнейшей эксплуатации не допускаются. При исправном состоянии резьбы производят затяжку гайки с последующей установкой стопорной планки в соответствии с требованиями настоящих Инструктивных указаний.
При торцевом креплении тарельчатой шайбой болты М20 освобождают от стопорения и динамометрическим ключом проверяют их затяжку (вращением по часовой стрелке). При наличии хотя бы одного из болтов с крутящим моментом менее 5 кгс/м все болты вывертывают и проверяют визуально состояние резьбы отверстий в торце оси и болтов крепления, а также состояния места перехода стержня болта к головке. При обнаружении задиров в месте перехода стержня болта к головке радиусом менее 0,8 мм и без подголовника или других повреждений болты к дальнейшей эксплуатации в торцевом креплении не допускаются. При изломе головки или стержня болта оставшуюся часть болта вывертывают из оси без повреждения резьбы резьбового отверстия. Поврежденные болты заменяются. При обнаружении срыва более трех ниток резьбы в резьбовых отверстиях оси или затруднений при завертывании болтов крепления допускается резьбовые отверстия исправлять метчиком. При повреждении более шести первых ниток резьбы в резьбовых отверстиях оси колесная пара не допускается к дальнейшей эксплуатации до специального указания. Болты, имеющие затяжку крутящим моментом более 5 кгс/м, подтягивают с усилием 23 - 25 кгс/м. Затяжка болтов должна быть равномерной. Для этого завинчивание трех болтов производят дважды по периметру, а четырех - по схеме 1-2-3-4-3-4-2-1 с последующим стопорением.
4.2.4. При обточке поверхности катания колес с торцевым креплением шайбой применяют центр колесно-токарного станка, выполненный по эскизу (рис. 8).
Рис. 8. Конусная часть центра колесно-токарного станка
после переточки
4.2.5. Взамен снятой смотровой или крепительной крышки устанавливают специальную временную крышку с отверстием для прохода центра станка.
4.2.6. Колесную пару устанавливают на станок для обточки поверхности катания с соблюдением требований "
Инструкции по осмотру, освидетельствованию, ремонту и формированию вагонных колесных пар" N ЦВ/3429.
4.2.7. После обточки колесной пары снимают временную крышку, проверяют состояние смазки, надежность крепления торцевой гайки в соответствии с требованиями
п. 4.2.3 настоящих Инструктивных указаний. Ослабленные гайки (вращающиеся от руки) снимают и осматривают состояние резьбы шейки оси и гайки. Колесные пары и гайки с поврежденной резьбой к дальнейшей эксплуатации не допускают.
При торцевом креплении тарельчатой шайбой и болтами М20 проверку состояния такого крепления после освобождения болтов от стопорения, осмотр резьбовых отверстий в оси и болтов, а также последующую их затяжку производят в соответствии с требованиями
п. 4.2.3 настоящих Инструктивных указаний.
После обточки с промежуточной ревизией под правый верхний болт М20 крепительной крышки устанавливают бирку
(рис. 7 в), на которой выбивают 01 или 02, условный номер, присвоенный ремонтному предприятию, производившему обточку, и дату.
Затем смотровую или крепительную крышку устанавливают и закрепляют болтами, под которые устанавливают пружинные шайбы. Между крышками ставят резиновую прокладку, новую или бывшую в употреблении, но исправную. Между фланцевой поверхностью крепительной крышки и корпусом буксы устанавливают резиновое кольцо, а свободное пространство заполняют смазкой ЛЗ-ЦНИИ. Крышки устанавливают и закрепляют с соблюдением требований, указанных в
п. 5.3.3.16.
4.2.8. При промежуточной ревизии после проведения указанных в
п. 4.2.3 операций в случае необходимости в буксу добавляют свежую (не бывшую в употреблении) смазку, которую укладывают валиком на видимую часть переднего подшипника, уплотняя ее пальцами так, чтобы смазка смогла проникнуть между сепаратором и бортом наружного кольца. Затем устанавливают смотровую или крепительную крышку с соблюдением требований, указанных в
п. п. 4.2.7 и
5.3.3.16.
4.2.9. О проведенной промежуточной ревизии букс в журнале
формы ВУ-92 делают соответствующие записи, при этом необходимо в графе 4 на каждую колесную пару, подвергавшуюся промежуточной ревизии букс, дополнительно к номеру колесной пары указывать тип оси. В графе 5 фиксировать случаи ослабления гайки или болтов М20 в торцевом креплении тарельчатой шайбой. Сведения о количествах случаев обнаруженных ослаблений гаек или болтов М20 и количествах осмотренных осей типа РУ1 или РУ1Ш ежеквартально сообщать в железнодорожные администрации.
5. ПОРЯДОК ПРОИЗВОДСТВА РАБОТ С БУКСОВЫМИ УЗЛАМИ С ДВУМЯ
ЦИЛИНДРИЧЕСКИМИ РОЛИКОПОДШИПНИКАМИ ТИПА 232726 И 42726
5.1. Демонтаж букс
5.1.1. Демонтаж букс с роликовыми подшипниками типа 232726 и 42726 может осуществляться на механизированной или полуавтоматической поточных линиях или ручным способом в соответствии с технологическим процессом демонтажа и монтажа вагонных букс на роликовых подшипниках, разработанным применительно к местным условиям.
5.1.2. При демонтаже буксы не допускается сбрасывать ее с шейки оси. Категорически запрещается использовать любой ударный инструмент для удаления подшипников из корпуса. Подшипники из корпуса буксы необходимо удалять только при помощи специальных прессов или устройств.
5.1.3. При демонтаже букс работы с помощью стендов или ручным способом выполняются в следующем порядке:
а) отвернуть болты крепительной крышки, а затем снять крепительную крышку вместе со смотровой;
б) удалить смазку из крышки и передней части буксы;
в) отвернуть и снять болты стопорной планки или тарельчатой шайбы. Планку или шайбу снять;
г) отвернуть и снять торцевую гайку, а также упорное кольцо переднего подшипника;
д) снять корпус буксы вместе с блоками подшипников (наружное кольцо с сепаратором и роликами) с внутренних колец, насаженных на шейку оси;
е) при помощи пресса вынуть из корпуса буксы блоки подшипников;
ж) снять при необходимости внутренние кольца с шейки оси при помощи индукционного нагревателя, покачивая нагреватель относительно оси колесной пары. При ослаблении кольца нагреватель снять вместе с кольцом, предварительно отключив нагреватель, кольцо удалить из нагревателя. При снятии с шейки оси неисправного кольца переднего подшипника исправное кольцо заднего подшипника можно не снимать с шейки оси. Кольца нагревать до температуры 100° - 120 °C - это достигается примерно за тридцать пять - сорок пять секунд при напряжении в сети 220 В.
Категорически запрещается нагревать кольца более 1 мин.
Запрещается делать перерыв в питании нагревателя током до полного ослабления и снятия кольца, так как в этом случае происходит нагрев шейки оси. Если время для нагрева истекло (1 мин.), а кольцо с шейки снять не удалось, необходимо работу по съему кольца прекратить и возобновить ее после остывания внутреннего кольца подшипника и шейки оси до температуры окружающей среды. После этого снимать последовательно кольца переднего и заднего подшипников;
з) при необходимости снять лабиринтное кольцо с предподступичной части оси при помощи индукционного нагревателя;
и) операции, указанные в
подпунктах "ж" и
"з", производить в случае, если полная ревизия выполнялась со снятием внутренних колец.
5.2. Подготовка к монтажу
5.2.1. Промывка подшипников и деталей букс
5.2.1.1. Подшипники после демонтажа промывать в автоматической машине мыльной эмульсией, подогретой паром до t 90° - 95 °C, и просушить подогретым воздухом, пропускаемым через змеевик, размещенный внутри ванны моечной машины. Новые роликовые подшипники и подшипники, покрытые консервационной смазкой, также промыть в автоматической машине. В том случае, если осмотр подшипников будет производиться не ранее, чем через сутки после промывки, их необходимо смазывать жидким маслом (см.
п. 2.3.3).
Для предотвращения выпадания роликов из гнезд сепараторов промывку роликовых подшипников в моечных машинах производить со специальными втулками или другими приспособлениями. Допускается промывка вместе с внутренними кольцами.
Примечание. На посадочных поверхностях наружных колец подшипников могут оставаться темные пятна от коррозии.
Моющая жидкость (мыльная эмульсия) автоматической машины должна содержать 8 - 10% отработанной смазки ЛЗ-ЦНИИ.
Для промывки новых подшипников допускается применять моющую жидкость с содержанием 1,0 - 1,5% смазки ЛЗ-ЦНИИ.
5.2.1.2. Корпуса букс, смотровые и крепительные крышки, лабиринтные кольца, гайки, стопорные планки, болты промываются в моечных машинах автоматического, конвейерного или камерного типа двумя моющими жидкостями при температуре не ниже 90 °C. Первая моющая жидкость содержит 2 - 5% каустической соды, а вторая - 8 - 10% отработанной смазки ЛЗ-ЦНИИ от объема воды в ваннах. При отсутствии в моечной машине второй ванны допускается промывка деталей вручную перед производством монтажа.
Примечание. Корпуса букс нового изготовления и другие детали буксового узла (кроме роликовых подшипников) вместо промывки можно обдувать сжатым воздухом с последующей тщательной протиркой до полного удаления стружки и других частиц.
5.2.1.3. После промывки колесных пар вместе с внутренними и лабиринтными кольцами непосредственно после выкатки колесных пар из моечной машины производить протирку колец обтирочным хлопчатобумажным материалом и покрытие их жидким маслом. Промывка деталей буксовых узлов и колесных пар допускается другими способами, согласованными с Департаментом вагонного хозяйства МПС РФ.
5.2.2. Осмотр, неразрушающий контроль и комплектовка подшипников
5.2.2.1. Подшипники после промывки и просушки осматривать визуально с помощью лупы при рассеянном свете для определения их пригодности к дальнейшему использованию. Неисправные подшипники направить в ремонт. При выпадании отдельных роликов из гнезд сепаратора направлять их в ремонт для измерения диаметра и длины всех роликов. Сведения о каждом осмотренном подшипнике с указанием его состояния (в том числе и упорном кольце) занести в журнал осмотра
формы ВУ-91 (Приложение 2), при этом в графу 4, кроме даты изготовления подшипника, заносят также и завод-изготовитель (16ГПЗ, 8ГПЗ и т.д.). На основании данных этого журнала ежегодно составляют справку работы роликовых подшипников по соответствующей форме. Эти справки, обобщенные службой вагонного хозяйства или вагоноремонтными заводами, по итогам за год представляют в железнодорожные администрации.
У цилиндрических подшипников осматривают отдельно внутренние, наружные и упорные кольца, а также ролики и сепараторы.
Подшипники с заусенцами направляются в ремонт для их удаления.
Подшипники, имеющие на бортах наружных колец и торцах роликов задиры и повреждения типа "елочка", ремонтируют зачисткой.
Латунные сепараторы и ролики перед дефектоскопированием осматривают визуально.
Полиамидные сепараторы подвергаются растяжению на специальных установках. Растяжение осуществляется до увеличения наружного диаметра каждого основания сепаратора на 0,5 мм (или 0,25 мм при одностороннем контроле индикатором часового типа).
Возможные неисправности роликовых подшипников и условий их дальнейшего использования приведены в
п. 7.1.
5.2.2.2. На заводах и в депо проводят неразрушающий контроль деталей подшипников буксового узла в соответствии с требованиями нормативно-технической документации, утвержденной в установленном порядке.
Перечень деталей подшипников, подвергаемых неразрушающему контролю, с указанием зон и методов контроля, а также видов работ, при которых проводится контроль, приведен в таблице 5.1.
Таблица 5.1
Перечень деталей подшипников буксового узла, подвергаемых
неразрушающему контролю
Наименование детали | Зоны контроля | | Виды работ, при которых проводится контроль |
Внутренние кольца, напрессованные на шейки оси | Наружная поверхность | МПК | При полном освидетельствовании колесной пары |
Внутренние кольца свободные | То же | МПК | То же |
Наружные кольца свободные | Наружная и внутренняя поверхность | МПК | То же |
Упорные кольца | Вся поверхность | МПК | То же |
Ролики | Цилиндрическая поверхность | ВТК | То же |
Латунные сепараторы | Места сопряжения перемычек с основаниями | ВТК | То же |
<*> Условные обозначения методов контроля: |
ВТК по РД 32.150-2000 - вихретоковый контроль, |
МПК по РД 32.157-2000 - магнитопорошковый контроль. |
Неразрушающий контроль деталей подшипников буксового узла в депо проводят по мере поступления дефектоскопных установок.
Результаты неразрушающего контроля деталей заносят в специальный журнал.
Также необходимо при сборке следить за тем, чтобы маркировка на сепараторе была обращена в ту же сторону, что и маркировка на наружном кольце. В ту же сторону должны быть обращены торцы роликов со следующим условным обозначением: "+" или маркировкой в виде цифр, или с меньшей по диаметру выточкой сферической формы, или углублением диаметром 5 мм и глубиной 1 мм, или с выточкой с одной стороны ролика сферической формы.
Примечание. Ролики, имеющие на торцах различные условные обозначения и выточки, изготавливаются заводами с 1 марта 1974 г. Подшипники 30-42726ЛМ, изготовленные 3ГПЗ и 8ГПЗ, имеют на концах роликов разные по диаметру выточки. У подшипников 30-232726Л1М, изготовленных 5ГПЗ, один из торцов роликов в центре имеет засверловку диаметром 5 мм, глубиной 1 мм. Подшипники 30-42726ЛМ и 30-232726Л1М, изготовленные 8ГПЗ (частично), имеют с одной стороны ролика выточку сферической формы, а с другой - плоский торец, или имеют на торцах роликов выточки одного диаметра, но различные по форме: с одной стороны - форма сферическая, а с другой - усеченного конуса. У подшипников, изготавливаемых на 16ГПЗ, один из плоских торцов роликов имеет маркировку в виде цифры, например "5". Условное обозначение "+" на одном из торцов роликов наносили при втором виде ремонта у подшипников эксплуатационного парка, не имевших указанных выше отличительных признаков.
5.2.2.3. В собранном состоянии подшипник должен провертываться легко, без заедания и торможения. Не рекомендуется длительно его вращать без смазки.
5.2.2.4. Подшипники новые и бывшие в эксплуатации после промывки, просушки, остывания, осмотра или ремонта комплектуются по радиальным и осевым зазорам, по диаметрам отверстий внутренних колец.
Измерения подшипников производить после выдержки их в комплектовочном отделении не менее 8 часов. При этом эталонные кольца и измерительные средства должны храниться в комплектовочном отделении. Эталонные кольца аттестуют не реже одного раза в год.
5.2.2.5. Новые подшипники дополнительно к указанному выше осмотру в соответствии с п. 2.6 ТУ 37.006.048-73 подвергаются входному контролю на их соответствие требованиям ГОСТ 520-92. Контроль заключается в проверке: качества обработки колец, роликов и сепараторов; соответствия геометрии отверстий внутренних колец требованиям ТУ; радиальных и осевых зазоров; разности длин и диаметров роликов; наличия трещин и других видимых дефектов в кольцах, роликах и сепараторах; качества упаковки.
Контрольной проверке подвергается один процент от полученной партии, но не менее трех и не более двадцати подшипников. Если отобранные подшипники не удовлетворяют требованиям, указанным выше, то производится проверка удвоенного количества подшипников. При неудовлетворительных результатах повторной проверки всю партию возвращают заводу для обмена на годные.
5.2.2.6. На роликовые подшипники, изготовленные с нарушением требований ГОСТ, ТУ и чертежей, составляют рекламационные акты; копии актов направлять в железнодорожные администрации.
5.2.3. Измерение радиальных зазоров.
5.2.3.1. Радиальные зазоры в свободном состоянии цилиндрических подшипников следует определять на приспособлении, как это показано на
рис. 9. Для этой цели на приспособлении укрепляют эталонное внутреннее кольцо 2 с бортом. Для удобства установки подшипников к внутреннему кольцу устанавливают специальную конусную оправку 1.
1 - конусная оправка; 2 - эталонное кольцо; 3 - оправка;
4 - гайка; 5 - стойка
Рис. 9. Приспособление для измерения радиальных зазоров
Эталонное кольцо подбирается из имеющихся внутренних колец подшипников.
Радиальный зазор подшипника можно измерять с тем же внутренним кольцом, с которым блок подшипника будет устанавливаться на шейку оси. При этом зазор измеряется щупом в нижней части подшипника.
При установке двух цилиндрических подшипников после демонтажа со снятием и без снятия внутренних колец или установке новых подшипников допускается производить контроль значений и разности радиальных зазоров парных подшипников непосредственно на шейке оси. Тогда в графу 13 журнала
формы ВУ-90 заносят радиальные зазоры, измеренные непосредственно на шейке оси. Радиальный зазор непосредственно на шейке оси определяют щупом в нижней части подшипника или специальным приспособлением с индикатором часового типа. Допускается производить контроль разности радиальных зазоров непосредственно на шейке оси, кроме щупа и приспособления, и с помощью седлообразного приспособления
(рис. 10). В этом случае седлообразное приспособление устанавливается на эталонное кольцо, по которому определяется радиальный зазор подшипника в свободном состоянии, и индикатор седлообразного приспособления настраивается на ноль. После настройки седлообразное приспособление поочередно устанавливается на внутренние кольца, насаженные на шейку оси, и фактическое отклонение стрелки индикатора со знаком "плюс" или "минус" записывается на диске цельнокатаного колеса. При установке блока подшипника в буксу в зависимости от того, куда отклонилась стрелка индикатора - в "плюс" или "минус", это отклонение удвоить и добавить (или отнять) от радиального зазора, написанного цветным карандашом на наружной или торцевой поверхности наружного кольца подшипника, измеренного в свободном состоянии на эталонном кольце. Например, радиальный зазор подшипника в свободном состоянии на эталонном кольце составляет 0,07 мм, а отклонение индикатора седлообразного приспособления при установке его на внутреннее кольцо на шейке оси составило "минус" 0,02 мм, тогда фактический зазор подшипника составит 0,11 мм (0,07 + 0,02 x 2).

1, 4 - пластины; 2 - измерительная скоба; 3 - индикатор;
5 - втулка
Рис. 10. Седлообразное приспособление с эталоном
При использовании седлообразного приспособления для измерения радиальных зазоров ножку индикатора необходимо удлинить на 20 мм. Удлинитель изготавливают из стали марки Ст3сп (рис. 11).
Рис. 11. Удлинитель для ножки индикатора при измерении
радиальных зазоров с использованием
седлообразного приспособления
5.2.3.3. За радиальный зазор принимают среднее арифметическое значение трех измерений при повороте наружного кольца на 120° вокруг оси. Полученные радиальные зазоры записывают цветным карандашом на наружной или торцевой поверхностях соответствующих наружных колец подшипников, а также в журнал
формы ВУ-90. Величины радиальных зазоров, с которыми подшипники допускаются к эксплуатации, приведены в
п. 6.2.
5.2.4. Измерение осевого зазора в подшипнике
5.2.4.1. У цилиндрических подшипников измеряют и записывают в гр. 18 журнала
формы ВУ-90 осевой зазор между торцами роликов и бортами наружных колец.
5.2.4.2. Осевой зазор в подшипнике, как правило, измеряют щупом, который вставляют между торцом одного из роликов и бортом наружного кольца после разборки блока подшипника. Измерения производят в трех местах при повороте наружного кольца вокруг оси. За осевой зазор принимают его минимальное значение. Осевой зазор в подшипнике можно определять в собранном виде на приборе или на приспособлении (при его наличии,
рис. 12). Для этой цели на плиту прибора устанавливают бортовое внутреннее кольцо 10 (бортом вниз). На кольцо устанавливают блок измеряемого подшипника, а на его ролики - прижимное кольцо 9, закрепляемое гайкой 6.
1 - рычаг; 2 - плита; 3 - основание; 4 - стойка;
5 - стойка штатива; 6 - гайка; 7 - индикатор;
8 - направляющий конус; 9 - прижимное кольцо;
10 - внутреннее кольцо измеряемого подшипника
Рис. 12. Приспособление для измерения осевого зазора между
торцами роликов и бортами наружного кольца
При помощи рычага 1 поднимают и опускают наружное кольцо; штифт индикатора, упираемый в конец наружного кольца, определяет осевой зазор. В этом случае за осевой зазор в подшипнике принимают наименьшее значение из трех измерений при повороте наружного кольца на 120° вокруг оси.
5.2.5. Подбор парных подшипников
5.2.5.1. Парные подшипники, устанавливаемые на одну шейку оси, подбирают по радиальным зазорам. Разность радиальных зазоров у двух парных подшипников должна соответствовать нормам, указанным в
п. 6.2. Парные подшипники должны обеспечивать смещение корпуса буксы по отношению к шейке оси в осевом направлении в пределах осевого разбега.
5.2.5.2. Осевой разбег двух цилиндрических подшипников, устанавливаемых на одну шейку оси, замеру не подлежит и обеспечивается конструкцией подшипников при условии правильной постановки двух подобранных подшипников в буксу (маркировки блоков подшипников должны быть обращены наружу буксы) и находится в пределах 0,68 - 1,38 мм.
5.2.6. Измерение диаметра внутреннего кольца подшипника
5.2.6.1. У цилиндрических подшипников внутренние кольца подбирают на шейку оси по натягу, который создается за счет разности диаметров внутренних колец и шейки оси (диаметр кольца должен быть меньше диаметра шейки на величину натяга).
Для определения натяга измеряют диаметр отверстия внутреннего кольца подшипника электронно-механическими приборами, утвержденными МПС РФ. Настройка этих приборов производится по эталонным кольцам и в соответствии с инструкциями, прилагаемыми к данным приборам. Также допускается измерение диаметра отверстия внутреннего кольца подшипника производить на приборах УД1В, УД2В, У-353 (289 или 289М) в двух сечениях на расстоянии 10 мм от торца. При этом перед измерением прибор должен быть настроен по эталонному кольцу (эталону), который аттестовывается в установленном порядке. При настройке механических приборов устанавливают базовым торцом на наконечники трех упоров (или на опорную поверхность прибора) таким образом, чтобы измерительный подвижный упор касался кольца в секторе, отмеченном кислотой. В этом положении кольца стрелку измерительной головки устанавливают на размер отклонения (от номинального размера внутреннего кольца диаметром 130 мм). Это отклонение определяют по маркировке, указанной на эталонном кольце. Например, при маркировке 129,988 мм стрелка измерительной головки выводится влево от нуля на "минус" 12 мкм, а при маркировке 130,010 мм стрелка выводится от нуля на "плюс" 10 мкм.
Трехкратным введением эталона на прибор проверяют устойчивость последнего, при этом отклонение стрелки измерительной головки не должно быть более 1/2 деления шкалы, а эталонное кольцо не поворачивают. После настройки на прибор устанавливают контролируемое кольцо. При плавном вращении кольца в одном направлении на опорах стрелка измерительной головки будет показывать отклонение размера измеряемого кольца. Отсчет отклонений производят от нулевого значения.
Примечания. 1. При настройке подвижный наконечник должен устанавливаться в зоне, отмеченной на эталонном кольце.
2. Эталонное кольцо подбирают из имеющихся внутренних колец из стали ШХ4 новых подшипников типа 2726. Установленные размеры наносят на кольца при их аттестации и указывают дату поверки в паспорте. Срок действия эталонного кольца до следующей поверки устанавливается по согласованию с Госповерителем.
3. Для обеспечения правильности настройки прибора необходимо иметь не менее трех эталонных колец.
5.2.6.2. Для подсчета натяга принимают среднее арифметическое значение отклонений измерительной головки при измерении в двух сечениях кольца. Например, если при измерении в одном сечении стрелка миниметра отклонилась от нулевого значения на 9 и 13 мкм, это значит, что в данном сечении кольцо имеет овальность 4 мкм, а среднее значение отклонения составляет 11 мкм. При измерении во втором сечении отклонение составило 12 и 18 мкм. В этом случае овальность составит 6 мкм, а среднее значение 15 мкм. Таким образом, среднее арифметическое значение отклонения от номинального размера кольца составит (11 + 15) / 2 = 13 мкм. Средняя овальность кольца в этом случае будет (4 + 6) / 2 = 5 мкм и конусообразность кольца 15 - 11 = 4 мкм. У новых подшипников допускаемые отклонения посадочного диаметра кольца 0 - 25 мкм.
5.2.6.3. Для облегчения подбора подшипников по шейке оси в пределах допускаемого натяга при использовании приборов УД1В, УД2В, 289 и 289М внутренние кольца подшипников могут быть разделены на группы I, II и III в зависимости от отклонения посадочного диаметра от номинального размера: в первую группу входят внутренние кольца с отклонениями диаметра отверстия от 0 до -8 мкм, а во вторую - с отклонениями от -9 до -17 мкм и в третью - с отклонениями от -18 до -25 мкм. Таким образом, внутреннее кольцо, рассмотренное в приведенном выше примере, со средним арифметическим значением отклонения 13 мкм, должно быть отнесено ко второй группе. По результатам измерений на посадочной поверхности внутреннего кольца отмечают цветным карандашом среднее арифметическое значение отклонения от номинального размера или номер группы, к которой данное кольцо отнесено по результатам измерения.
В журнал
ВУ-90 заносят посадочный диаметр или номер группы. Рекомендуемое деление на размерные группы по среднему значению диаметра отверстия внутреннего кольца приведено в табл. 6.
Таблица 6
Размерная группа | Среднее значение диаметра отверстия внутреннего кольца, мм |
I | 129,992 - 130,000 |
II | 129,983 - 129,991 |
III | 129,975 - 129,982 |
Кольца располагают в ячейках стеллажа по группам.
5.2.7. Осмотр, измерение оси колесной пары и неразрушающий контроль внутренних колец подшипников, напрессованных на ось
5.2.7.1. Осмотр и освидетельствование колесных пар производят в соответствии с "
Инструкцией по осмотру, освидетельствованию, ремонту и формированию вагонных колесных пар". При осмотре особое внимание должно быть обращено на место посадки внутреннего кольца заднего подшипника, располагающееся на шейке оси у галтели на расстоянии 25 - 34 мм от торца предподступичной части оси. При наличии в указанном месте шейки наклепа от кольца подшипника он должен быть удален с помощью шлифовальной шкурки N 6 с маслом при вращении колесной пары на шеечном станке.
Проверяют состояние паза под стопорную планку, резьбы М12 под болты стопорной планки и М20 - тарельчатой шайбы зарезьбовой канавки и резьбы М110 x 4 шейки оси. При размере канавки менее 8 мм у колесных пар типа РУI производят ее расточку до размера 8 мм с шероховатостью торцевых поверхностей со стороны шейки Rz 2,5 мкм и со стороны резьбы Rz 40 мкм.
5.2.7.2. Шейки осей под подшипники измеряют электронно-механическими приборами, прошедшими государственные испытания и утвержденные МПС РФ. Настройка электронно-механических приборов производится в соответствии с прилагаемыми к приборам инструкциями и по эталонам, поставляемым в комплекте с этими приборами. Допускается производить измерение шеек осей рычажной скобой (
рис. 13 а,
б,
в) с теплоизоляционной ручкой. Настройку рычажной скобы, помимо концевых мер длины, можно производить с применением эталонов Уралвагонзавода, аттестованных органами Государственной метрологической службы.
Рис. 13 б. Настройка рычажной скобы
Рис. 13 в. Измерение рычажной скобой шейки оси
Шейки измеряют в двух сечениях и двух взаимноперпендикулярных направлениях. Данные о замерах заносят в журнал
формы ВУ-90.
Измерения шеек осей и предподступичных частей производят не ранее, чем через 12 часов после обработки на станках новых осей или обмывки колесных пар в моечных машинах, и не ранее, чем через 2 часа после накатки шеек или обточки колес при ремонте. Допускается производить измерения шейки оси не ранее, чем через 12 часов или 2 часа при условии, что разность температуры между шейкой и температурой окружающей среды будет в пределах 3 °C. Инструмент, которым будут измерять шейки, следует проверять по контрольным плиткам или эталонным кольцам, или концевым мерам, находящимся в одинаковых температурных условиях с осями, т.е. в том же цехе, где выдерживаются в течение указанного выше времени и колесные пары.
Резьбу по диаметру у колесных пар типов РУI-950 измеряют штангенциркулем или специальным шаблоном. Колесные пары, имеющие по наружному диаметру резьбы размер более 110 мм, необходимо калибровать до размера 110 мм специальным инструментом
(рис. 14). Колесные пары с размером резьбы по наружному диаметру менее 108,7 мм, а также колесные пары с поврежденной резьбой (износ, срыв ниток, смятие рабочей поверхности профиля резьбы, изменение шага резьбы, заклинивание торцевой гайки на оси и др.) подлежат ремонту.
Рис. 14. Инструмент для исправления и калибровки резьбы
М110 x 4 на оси
У колесных пар типа РУIШ состояние резьбовых отверстий М20 в торце оси проверяют визуально. При обнаружении срыва более трех первых витков резьбы в резьбовых отверстиях осей или затруднений при завертывании болтов крепления допускается резьбовые отверстия исправлять метчиком.
При повреждении более шести первых ниток резьбы в резьбовых отверстиях оси колесная пара не допускается к дальнейшей эксплуатации до специального указания. При изломе головки или стержня болта оставшуюся часть болта вывертывают из оси без повреждений резьбы резьбового отверстия.
Количество забракованных колесных пар за год по неисправностям резьбы шеек на осях типа РУI и резьбовых отверстий под болты М20 у осей типа РУIШ указывают в справке о работах основных типов роликовых подшипников, высылаемой в железнодорожные администрации.
5.2.7.3. Категорически запрещается сдавать в металлический лом оси типа РУI с поврежденной резьбой под торцевые гайки и под болты М12 крепления стопорной планкой, а также оси типа РУIШ с поврежденной резьбой под болты крепления тарельчатой шайбой. Такие оси подлежат ремонту. Резьбу у осей типа РУI восстанавливают наплавкой с последующей нарезкой на токарном станке и проверкой калибром.
5.2.7.4. Внутренние кольца подшипников, напрессованные на шейки оси, контролируют магнитопорошковым методом в соответствии с требованиями нормативно-технической документации по неразрушающему контролю, утвержденной в установленном порядке.
5.2.8. Осмотр корпусов букс
5.2.8.1. После промывки корпуса осматривают на соответствие требованиям, указанным в
п. 7.2. Внутреннюю посадочную поверхность корпуса буксы, упорный буртик (платик) и лабиринтную часть зачищают от коррозии, заусенцев и протирают концами, смоченными керосином, а затем сухими. На посадочной поверхности корпуса буксы после устранения коррозионных повреждений допускаются темные пятна, т.е. нельзя зачистку поверхности доводить до металлического блеска.
5.2.8.2. Посадочную поверхность (внутренний диаметр) корпуса буксы проверяют индикаторным нутромером
(рис. 15) или микрометрическим нутромером или электронно-механическими приборами на соответствие чертежным размерам и нормам, указанным в
п. 6.1. При новом изготовлении у корпусов букс перпендикулярность торцевой поверхности заднего упорного бортика к цилиндрической посадочной поверхности буксы проверяют специальным прибором или лекальным угольником.
1 - оправка; 2 - стойка; 3 - индикатор
Рис. 15. Индикаторный нутромер типа НИ
5.2.8.3. У корпусов букс, имеющих заднюю отъемную крышку, последнюю при промывке не снимают. Ослабшие болты вывертывают на 3 - 4 нитки для проверки состояния пружинных шайб. Если шайбы исправны, болты затягивают. Шайбы, потерявшие упругость, заменяют.
5.2.8.4. В буксах пассажирских вагонов, у которых отсутствуют отверстия для установки термодатчиков контроля температуры нагрева, необходимо производить сверление отверстий по действующей документации.
Сквозное отверстие в буксе не допускается.
5.2.8.5. Регистрировать в журнале
формы ВУ-91 случаи обнаружения какой-либо неисправности в корпусе буксы. В этом случае в графе 2 проставляют дату обнаружения неисправности у корпусов букс, а в графе 5 - тип корпуса буксы: пассажирская или грузовая (например, груз.). В графе 6 указывают, какая неисправность была обнаружена.
5.2.8.6. Корпуса букс, имеющие износ по посадочной поверхности (диаметру отверстия) выше допускаемой нормы, а также с повреждениями лабиринтной части, резьбовых отверстий, со сквозными отверстиями под термодатчики, с оставшимися в буксе оборванными болтами и другими повреждениями подлежат ремонту.
Корпуса букс с оставшимися оборванными болтами, а также сквозными отверстиями под термодатчик ремонтируют в депо по технологическому процессу 104.12.01.212.000.28, разработанному ПКТБ по вагонам.
5.2.8.7. Категорически запрещается сдавать в металлический лом корпуса букс, подлежащие ремонту.
5.2.8.8. Следует производить тщательный осмотр корпусов букс, изготовленных из алюминиевых сплавов, и букс грузовых вагонов, имеющих впрессованный лабиринт.
5.2.8.9. При поступлении новых корпусов букс производить 100%-ный контроль резьбы М20 проходными и непроходными калибрами.
5.2.9. Осмотр деталей букс
5.2.9.1. Лабиринтные кольца после зачистки и промывки протирают и проверяют. На посадочных поверхностях и в лабиринте не допускаются трещины, вмятины, забоины, заусенцы и другие неисправности. Размеры проверяют в соответствии с нормами, указанными в
п. 6.3.
При ремонте колесных пар со снятием лабиринтных колец необходимо производить обточку лабиринтного кольца с диаметра 183 до 182 мм. При полном освидетельствовании без снятия внутренних колец в случае выявления задиров на цилиндрической поверхности лабиринтного кольца производить зачистку шкуркой. Разрешается применять отремонтированные лабиринтные кольца с размерами, указанными в
п. 6.3, которые имеют маркировку "1р" и "2р" и т.д.
5.2.9.2. Крепительные и смотровые крышки после зачистки и промывки осматривают. Соединенные между собой крепительные и смотровые крышки разъединяют для замены уплотнения и вновь собирают. На крышках не допускаются трещины, вмятины, забоины, задиры, заусенцы, изгибы, перекосы и другие дефекты. Смотровые крышки, деформированные по привалочной поверхности, выравнивают.
5.2.9.3. Торцевые типовые гайки с переходным радиусом 6 - 8 мм
(рис. 16 а), гайки с проточкой (
рис. 16 б,
в,
г), гайки с проточкой и выточкой
(рис. 16 г), а также стопорные планки, шайбы и болты после промывки должны быть осмотрены. На них не допускаются забоины, заусенцы и другие неисправности, влияющие на работу узла. Категорически запрещается растачивать резьбу гайки М110. Стопорные планки подлежат обязательному магнитопорошковому дефектоскопированию с постановкой клейм предприятия и даты производства дефектоскопирования.
а), б) с проточкой прямоугольной формы; в) с проточкой
ступенчатой формы; г) с выточкой
5.2.9.4. При полных ревизиях букс на торцевых гайках, не имеющих кольцевых проточек, производят кольцевую проточку прямоугольной формы
(рис. 16 б) шириной 6 мм или ступенчатой формы (
рис. 16 в,
г) по диаметру 152 мм.
5.2.9.5. Тарельчатая шайба
(рис. 17 а) имеет четыре, а шайба
(рис. 17 б) - три отверстия диаметром 22 мм для болтов, прикрепляющих шайбу к торцу шейки оси.
а) для крепления четырьмя болтами
б) для крепления тремя болтами
Рис. 17. Тарельчатые шайбы
Необходимо тщательно осматривать тарельчатые шайбы и болты торцевого крепления подшипников, выполненного при помощи шайб и четырех или трех болтов М20. О выявленных недостатках следует сообщать в железнодорожные администрации. Также необходимо сообщать о количестве торцевых гаек, выявленных с сорванной резьбой.
5.2.9.6. Шайбы стопорные для закрепления одновременно четырех
(рис. 18) и трех
(рис. 19) болтов применяют при торцевом креплении подшипников, выполненном при помощи шайб тарельчатых и болтов М20.
Рис. 18. Шайба стопорная для стопорения болтов М20 при
торцевом креплении шайбой тарельчатой и четырьмя болтами
Рис. 19. Шайба стопорная для стопорения болтов М20 при
торцевом креплении шайбой тарельчатой и тремя болтами
Для предупреждения повреждения крышек, изготовленных из алюминиевого сплава, от врезания пружинных шайб применяется специальная подкладка
(рис. 20).
Рис. 20. Подкладка для предохранения повреждения крышек
из алюминиевого сплава
5.2.9.7. Болты М12 x 35 для крепления стопорной планки и смотровой крышки, а также болты М20 x 60 для крепления крепительной крышки и болты М20 x 60.4.8 для крепления тарельчатой шайбы изготавливают по
ГОСТ 7798-70 и техническим требованиям по ГОСТ 1759-70. Головки болтов М20 x 60.4.8 изготавливают по варианту с ложной шайбой на опорной ее поверхности
(рис. 21). На торце головок болтов ставят размером 6 x 2,25 мм две последние цифры года монтажа букс, когда болты были впервые использованы при монтаже торцевого крепления. Резьба болтов должна быть изготовлена методом накатки. При несоответствии требованиям стандартов болты необходимо браковать. Запрещается применять болты как М12, так и М20 с разными размерами головок.
Рис. 21. Болт М20 x 60.4.8 для крепления торцевой шайбы
5.2.9.8. Резиновые кольца, устанавливаемые между крепительной крышкой и буксой, а также прокладки между крышками независимо от их состояния заменяют при каждой полной ревизии букс.
5.3. Монтаж буксовых узлов
5.3.1. Общие требования
5.3.1.1. Монтаж букс с роликовыми подшипниками можно осуществлять на поточной линии с применением механизированных стендов или ручным способом.
При работе с применением стенда колесные пары поочередно подают к этому стенду, при помощи которого завертывают торцевые гайки или болты М20, болты М12 стопорных планок и М20 крышек букс.
При ручном способе требующие монтажа буксы и колесные пары устанавливают в ряд на рельсовый путь монтажного отделения.
Монтаж букс с применением стендов производят по технологическому процессу демонтажа и монтажа вагонных букс на роликовых подшипниках с применением средств механизации и автоматизации.
5.3.1.2. К монтажу допускаются подшипники и колесные пары, имеющие температуру окружающей среды. Поэтому монтаж букс необходимо производить не ранее, чем через 12 часов после обмывки колесных пар в моечных машинах, и не ранее, чем через 2 часа после обточки кругов катания колес при ремонте, а подшипники - не ранее, чем через 8 часов после обмывки их в моечной машине. Монтаж букс с роликовыми подшипниками после демонтажа букс со снятием внутренних колец или новом формировании необходимо производить с обеспечением условий, предусмотренных
п. п. 5.2.2.4,
5.2.6.1 настоящих Инструктивных указаний, так как для качества закрепления подшипников на шейке оси существенное значение имеет точность произведенных замеров шеек осей и отверстий внутренних колец подшипников.
Монтаж букс с роликовыми подшипниками после демонтажа без снятия внутренних колец допускается производить не ранее, чем через 12 часов после обмывки колесных пар в моечных машинах, и через 8 часов после обмывки блоков подшипников при условии, что разность температур между внутренними кольцами на шейке оси и блоками подшипников будет в пределах 3 °C.
5.3.1.3. Весь измерительный инструмент, а также приборы, применяемые при монтаже букс и комплектовании подшипников, должны подвергаться периодической проверке, содержаться в абсолютной чистоте и полной исправности.
5.3.1.4. Каждому измерительному инструменту присваивается номер. Результаты периодической проверки и даты контроля заносят в журнал установленной формы, который периодически проверяют на заводах промышленности - инспектор железнодорожной администрации, на ремонтных заводах - начальник ОТК, а в депо - главный инженер.
5.3.1.5. За техническое состояние шеек, предподступичных частей осей и их размеры отвечают работники колесного производственного участка, а работники производственного участка роликовых подшипников, кроме того, несут ответственность также и за монтаж букс.
5.3.1.6. При монтаже все резьбовые соединения деталей буксового узла покрывают тонким слоем смазки ЛЗ-ЦНИИ, кроме резьбы на осях типа РУI и гайках М110.
5.3.2. Установка лабиринтного кольца
5.3.2.1. Лабиринтные кольца для посадки на предподступичную часть оси подбирают по натягу, который создается за счет разности диаметров кольца и предподступичной части. Для определения натяга измеряют микрометрическим или индикаторным нутромером внутренний диаметр лабиринтного кольца, а микрометром - диаметр предподступичной части оси. Измерение производят в двух взаимно перпендикулярных направлениях. По результатам этих измерений определяют средние диаметры лабиринтного кольца и предподступичной части оси, по которым и производят подсчет натяга. Полученные средние арифметические значения отклонений от номинальных пишут на посадочной или боковой поверхности лабиринтного кольца, а для предподступичных частей осей - на наружной грани обода или на диске колеса. Диаметр лабиринтного кольца должен быть меньше диаметра предподступичной части оси на значение допускаемого натяга в пределах, указанных в
п. 6.4.
5.3.2.2. Лабиринтное кольцо перед посадкой предварительно нагревают в электропечи, ванне или при помощи специального индукционного нагревателя до температуры 125° - 150 °C. При нагревании кольца в электропечи предподступичную часть покрывают тонким слоем масла трансформаторного, веретенного АУ или индустриального 12.
При надевании лабиринтное кольцо должно упереться в торец предподступичной части оси. На шейку оси надевают монтажную втулку N 1
(рис. 22), торцом которой наносят по лабиринтному кольцу удары, постепенно усиливающиеся по мере его остывания до получения чистого металлического звука. Разрешается подпрессовывать кольца гидравлическими устройствами.
Рис. 22. Монтажная втулка N 1
5.3.2.3. После полного остывания шейки оси и лабиринтного кольца лекальным угольником проверяют в четырех диаметрально противоположных точках перпендикулярность торцевой поверхности лабиринтного кольца к посадочной поверхности шейки оси
(рис. 23). Щупом измеряют зазор между торцевой поверхностью лабиринтного кольца и угольника. Пластина щупа толщиной 0,04 мм не должна проходить в зазор. Той же пластиной щупа проверяют прилегание лабиринтного кольца к торцу предподступичной части оси (щуп не должен проходить). После этого приступают к монтажу букс. Перед установкой буксы на шейку оси в лабиринтное кольцо закладывают смазку в количестве 100 г, равномерно распределенную по всему периметру.
1 - угольник; 2 - щуп
Рис. 23. Расположение угольника и щупа при проверке
установки и плотности посадки лабиринтного кольца
5.3.3. Установка двух цилиндрических подшипников типа 232726 и 42726 нового изготовления или после демонтажа со снятием внутренних колец
5.3.3.1. Подготовка к монтажу двух цилиндрических подшипников (
рис. 24 и
25) ведется в соответствии с требованиями, изложенными в
п. п. 5.2.1 -
5.2.9.8.
а) заднего подшипника; б) переднего подшипника
1 - монтажная втулка; 2 - направляющий стакан N 2;
3 - внутреннее кольцо заднего подшипника; 4 - лабиринтное
кольцо; 5 - внутреннее кольцо переднего подшипника.
Рис. 24. Расположение приспособлений при установке
внутренних колец
Рис. 25. Расположение деталей при затяжке внутренних колец
в осевом направлении
5.3.3.2. Закрепление внутренних колец подшипников на шейке оси при установке двух цилиндрических подшипников осуществляется "натягом", который создается за счет разности диаметров колец и шейки оси.
Для определения натяга на посадку внутренних колец специальными электронно-механическими приборами, настройка которых производится в соответствии с инструкциями, прилагаемыми к данным приборам, измеряются диаметры шеек осей в двух сечениях, соответствующих серединам внутренних колец подшипников, и в двух взаимно перпендикулярных направлениях. Допускается измерять шейки осей рычажной скобой по вышеуказанной последовательности.
Шейки осей колесных пар аналогично внутренним кольцам в зависимости от их отклонения от номинальных размеров при использовании рычажной скобы также могут быть разбиты на три размерные группы. Рекомендуемое деление шеек осей на размерные группы по посадочному диаметру приведено в табл. 7.
Таблица 7
Размерная группа | Среднее значение диаметра отверстия внутреннего кольца, мм |
I | 130,043 - 130,052 |
II | 130,034 - 130,042 |
III | 130,025 - 130,033 |
По результатам этих измерений определяют средние диаметры шеек осей. Полученные средние арифметические значения отклонений от номинальных размеров или номер группы пишут на наружной грани обода колеса. Отклонения от диаметра шейки или номер группы заносят в монтажный журнал
формы ВУ-90 (Приложение 1). Для подсчета натяга принимают средние арифметические значения измерений в каждом сечении шейки оси и внутреннего кольца подшипника.
| | ИС МЕГАНОРМ: примечание. В официальном тексте документа, видимо, допущена опечатка: имеется в виду пункт 5.3.2.3, а не 3.2.3. | |
5.3.3.3. Подбор, установку и проверку лабиринтного кольца на предподступичную часть оси производят в соответствии с требованиями, указанными в
п. п. 5.3.2.2 -
3.2.3. Перед установкой лабиринтного и внутренних колец на резьбовую часть шейки оси навинчивают направляющий стакан N 2 (рис. 26) с наружным диаметром 129 мм.
Рис. 26. Направляющий (предохранительный) стакан N 2
5.3.3.4. После установки лабиринтного кольца на шейку оси устанавливают внутренние кольца подшипников, которые предварительно нагревают в электропечи до температуры 100° - 120 °C, при этом внутренние кольца первой группы устанавливают на шейку оси первой группы, кольца второй группы - на шейку оси второй группы и т.д. На правую и левую шейки оси одной колесной пары могут быть установлены кольца различных групп.
Внутренние кольца подшипников можно нагревать в индукционной установке "нагреватель - демагнитизатор" или масляной ванне с электроподогревом до температуры 100° - 120 °C с обязательным ее контролем.
Шейки осей перед установкой внутренних колец (если их нагревали в электропечи или индукционной установке) покрывают тонким слоем веретенного масла АУ, индустриального 12 или трансформаторного масла.
5.3.3.5. Нагретое внутреннее кольцо заднего подшипника 3
(рис. 24 а) бортом вперед надевают через направляющий стакан N 2 на шейку оси при помощи монтажной втулки N 1 (поз. 1), доводят до лабиринтного кольца 4.
5.3.3.6. После установки внутреннего кольца заднего подшипника на шейку оси устанавливают внутреннее кольцо переднего подшипника 5
(рис. 24 б). При этом обращают внимание на плотность его прилегания непосредственно к внутреннему кольцу заднего подшипника. Внутреннее кольцо переднего подшипника устанавливают так, чтобы его сторона со скосами была обращена к середине шейки, а плоский торец - к торцу шейки оси.
5.3.3.7. После снятия направляющего стакана 2 на шейку оси надевают плоское упорное кольцо 2
(рис. 25), затем при помощи гайки 1 все детали, надетые на шейку оси, затягивают в осевом направлении с применением ударного инструмента - молотка массой 3 - 5 кг. Допускается затягивать и производить последующее подтягивание гайки инерционным ключом или поджатием внутренних колец гидравлической установкой усилием не менее 200 кН (20 тс).
5.3.3.8. При торцевом креплении тарельчатой шайбой и болтами М20 поджатие осуществляют тарельчатой шайбой и четырьмя или тремя болтами М20, которые затем могут быть применены в торцевом креплении этой буксы. Момент затяжки каждого болта должен быть в пределах 200 - 300 Нм (20 - 30 кгс/м). Допускается применение технологических шайб и болтов М20.
5.3.3.9. По мере остывания внутренних колец, для обеспечения плотного прилегания их друг к другу и к лабиринтному кольцу, гайки М110 и болты М20 подтягивают. Кольца остаются затянутыми до полного остывания. Допускается принудительное охлаждение колец трансформаторным маслом с температурой от + 15° до + 20 °C. После остывания колец до температуры окружающей среды гайку или шайбу, а также упорное кольцо снимают. Плотность прилегания внутренних колец друг к другу и к лабиринтному кольцу контролируют щупом при разности температур между кольцами и окружающей средой не более 3 °C. Пластина щупа толщиной не более 0,04 мм может войти в зазор между этими деталями на участке длиной не более 1/3 окружности.
5.3.3.10. В корпус буксы после покрытия его посадочной поверхности тонким слоем масла последовательно вручную вставляют блок (наружное кольцо с роликами) заднего подшипника 1
(рис. 27) так, чтобы сторона кольца с маркировкой была обращена к лабиринтной части буксы, и блок переднего подшипника 2 так, чтобы его торец с маркировкой был обращен к передней части корпуса. Запрещается постановка в буксы одной колесной пары подшипников с различными по материалу сепараторами. Перед установкой блоков подшипников в корпус буксы ролики, дорожки качения и борта наружных колец смазывают маслами, оговоренными в
п. 2.3.3. Смазывание блока подшипника производят из масленки с последующим многократным проворачиванием сепаратора с роликами в наружном кольце.
1 - задний подшипник; 2 - передний подшипник
Рис. 27. Расположение корпуса буксы при установке
блоков подшипника
5.3.3.11. Роликовые подшипники, установленные в буксы, и проточки лабиринтной части буксы или лабиринтного кольца полностью заполняют по всему периметру смазкой. При этом в подшипниковые блоки и свободное пространство между задним подшипником и лабиринтным кольцом закладывают 0,5 - 0,6 кг смазки, а в лабиринтное уплотнение - 0,1 кг.
5.3.3.12. Корпус буксы с установленными блоками подшипников надвигают на внутренние кольца
(рис. 28). Тугое перемещение корпуса буксы означает, что были допущены нарушения в подборе радиальных зазоров. Корпус буксы с блоками подшипников на внутренние кольца должен устанавливаться свободно, без особого усилия. При этом запрещается устанавливать на одну колесную пару буксы, корпуса которых изготовлены из алюминиевого сплава и стали.
Рис. 28. Расположение корпуса буксы при установке
на шейку оси
Перед надеванием корпуса буксы 3
(рис. 29) с блоками подшипников необходимо раздвинуть ролики 2 втулкой 1. При перемещении корпуса 2
(рис. 30) втулка 1 выйдет из буксы.
1 - разжимающая втулка; 2 - подшипник; 3 - корпус буксы
Рис. 29. Разжимающая втулка, установленная
в блоке подшипников
1 - разжимающая втулка; 2 - корпус буксы
Рис. 30. Расположение буксы с подшипниками при установке
на шейку оси с разжимающей втулкой
5.3.3.13. После установки корпуса буксы на шейку надевают упорное кольцо переднего подшипника маркировкой, обращенной к передней части корпуса буксы, на резьбовую часть оси навинчивают гайку М110 x 4 высотой 51 мм. Гайки предварительно подбирают по резьбе шейки оси для обеспечения наименьшего зазора в резьбовом соединении.
5.3.3.14. Затянуть гайку до соприкосновения с плоским упорным кольцом переднего подшипника и туго поджать при применении стенда или вручную при помощи гаечного ключа и молотка массой 3 - 5 кг двумя-четырьмя ударами, прилагаемыми на плече 0,5 м до получения чистого металлического звука.
Затем в паз оси устанавливают стопорную планку, не вводя ее хвостовик в шлиц гайки. Планку устанавливают в такое положение, чтобы при последующей затяжке гайки для ввода хвостовика планки в шлиц гайка повернулась бы от половины до одной коронки. При применении гаечного ключа со стрелкой после установки гайки вручную до соприкосновения с плоским упорным кольцом ее предварительно затягивают одним ударом молотка массой 3 - 5 кг по рукоятке ключа. Затем, поддерживая одной рукой ключ, другой рукой на ключ устанавливают планку со стрелкой 4 в резьбовые отверстия паза оси. Выставляя стрелку на ноль (риска на торце ключа) и ударяя по рукоятке ключа, затягивают гайку на угол 16° (риска на торце ключа). Сняв планку со стрелкой, в паз оси устанавливают стопорную планку, не вводя ее хвостовик в шлиц гайки. Ввернув один болт стопорной планки, производят окончательную затяжку гайки для ввода хвостовика стопорной планки в шлиц гайки; при этом гайку затягивают на размер, равный половине коронки (примерно на угол не более 8°).
Затяжку гайки производят только поворотом по часовой стрелке. Поворот гайки в обратном направлении, т.е. ослабление ее затяжки, запрещается. При затяжке гайки буксу слегка поворачивают для того, чтобы убедиться в отсутствии заклинивания подшипников. После этого устанавливают и закрепляют болты стопорной планки. Болты и отверстия под них смазывают смазкой. Под болты устанавливают пружинные шайбы. Болты связывают мягкой (отожженной) проволокой диаметром 1,5 - 2,0 мм, проходящей через раззенкованные отверстия в их головках, независимо от установки пружинных шайб. Проволоку увязывают по форме цифры "8".
5.3.3.15. При торцевом креплении подшипников шайбой тарельчатой последнюю после установки плоского упорного кольца переднего подшипника надевают на шейку оси. Тарельчатую шайбу прикрепляют к торцу шейки оси четырьмя или тремя болтами М20 x 60.4.8 с головкой, выполненной с ложной шайбой на опорной поверхности
(рис. 21). При монтаже торцевого крепления подшипников шайбой должны использоваться болты без следов коррозии. Особое внимание следует уделять состоянию места перехода стержня болта к головке. При обнаружении задиров в месте перехода от стержня к головке радиусом менее 0,8 мм или других повреждений болты к дальнейшей эксплуатации в торцевом креплении не допускаются. Поврежденные болты заменяют.
Под болты правой и левой шеек оси устанавливают стопорные шайбы, на которые в соответствии с
п. 4.1.5 набивают клейма
(рис. 7). При торцевом креплении шайбой тарельчатой болты М20 стопорят стопорной шайбой (
рис. 18 и
19). Затягивать болты М20 тарированным или динамометрическим ключом усилием с крутящим моментом 230 - 250 Нм (23 - 25 кгс/м). Затяжка болтов должна быть равномерной. Для этого завинчивание трех болтов производят дважды по периметру, а четырех - по схеме в следующем порядке: 1-2-3-4-3-4-2-1. Затем лепестки стопорной шайбы загибают клещами на грань головки каждого болта и доводят до плотного прилегания лепестков шайбы к граням головки болта.
5.3.3.16. После закрепления подшипников в осевом направлении производят установку буксовых крышек.
Между крепительной и смотровой крышками при их сборке ставят новую резиновую прокладку толщиной 3 мм. Внутренние поверхности крепительной и смотровой крышек, а также цилиндрическую посадочную поверхность крепительной крышки и соответствующую поверхность корпуса буксы, болты М20 и М12 и отверстия под них смазывают тонким слоем смазки ЛЗ-ЦНИИ. Крышки скрепляют между собой четырьмя болтами М12, под которые устанавливают пружинные шайбы, при этом запрещается устанавливать болты с различными размерами головок. Болты затягивают с применением стенда или гаечного ключа.
Смазку массой 0,2 кг укладывают на внешнюю поверхность гайки по всему периметру и на переднюю видимую часть подшипника и уплотняют пальцами так, чтобы смазка проникла между сепаратором и бортом наружного кольца. Общее количество смазки, закладываемой в буксы, должно быть в пределах норм, указанных в
п. 6.4.5, при этом смазку можно дозировать мерной емкостью вместо взвешивания.
Между торцом корпуса и фланцем крышки устанавливают новое резиновое кольцо, имеющее сечение диаметром 4 мм, фланцевую поверхность крышки смазывают смазкой из расчета заполнения всего зазора между этой поверхностью и торцом корпуса буксы после затяжки болтов. После этого буксу закрывают крышками, прикрепляемыми к корпусу болтами М20, под которые также устанавливают пружинные шайбы. Под два болта (или один болт, если это предусмотрено конструкцией) крепительной крышки буксы правой шейки оси с левой стороны устанавливают бирку.
Устанавливать дополнительную бирку после монтажа букс у колесных пар пассажирских вагонов с внутренними кольцами из стали ШХ4, на которой наносить клейма 4РП, дату установки внутренних колец, условный номер, присвоенный пункту, производившему установку колец. На эту же бирку наносить цифры "160" у колесных пар пассажирских вагонов, предназначенных для скоростей движения свыше 140 км/ч. Категорически запрещается устанавливать болты с различными размерами головок. Резиновые прокладки или резиновые кольца, бывшие в эксплуатации, независимо от их состояния, заменяют на новые. При монтаже букс с применением крепительных крышек из алюминиевого сплава под каждые два болта М20 устанавливают прокладки
(рис. 20) для предупреждения повреждения крышек от врезания пружинных шайб.
5.3.3.17. Правильность сборки буксы контролируют по наличию зазора между фланцевой поверхностью крепительной крышки и торцевой поверхностью буксы и по легкости ее вращения на шейке оси, которое должно быть совершенно свободным (букса вращается вручную). Допускается неравномерный зазор по всей окружности, при этом минимально допускаемый зазор 0,3 мм должен находиться в зоне расположения ушков крепительных крышек. Причинами затруднительного вращения может быть чрезмерное заполнение буксы смазкой, случайное попадание в буксу посторонних тел (металлическая стружка, тряпки и т.д.), особенно опасно отсутствие осевого разбега буксы, трение сепаратора о борт внутреннего кольца заднего подшипника или о плоское упорное кольцо переднего. Эти причины должны быть немедленно выяснены и устранены.
Вручную проверяют осевое смещение буксы. Букса должна свободно перемещаться вдоль шейки оси в пределах осевого разбега. Не допускается защемление роликов в осевом направлении.
5.3.3.18. Буксы после монтажа подшипников окрашивают черной краской. Тщательно должны быть окрашены места соединения лабиринтного кольца с предподступичной частью оси, а также предподступичная часть между лабиринтным кольцом и колесом во избежание образования коррозионных повреждений.
5.3.3.19. Данные монтажа заносят в журнал
формы ВУ-90. В этом случае в графе 19 следует писать посадочный диаметр внутренних колец заднего (числитель) и переднего (знаменатель) подшипников, в графе 20 - натяг на посадку внутренних колец заднего (числитель) и переднего (знаменатель) подшипников.
5.3.4. Установка двух цилиндрических подшипников типа 42726 и 232726 после демонтажа без снятия внутренних колец
5.3.4.1. Монтаж букс производят в соответствии с
п. п. 5.3.3.10 -
5.3.3.19 настоящих Инструктивных указаний. Дополнительно перед монтажом производят в соответствии с
п. 5.2.5 замер радиальных зазоров парных подшипников непосредственно на шейке оси. Значения зазоров заносят в журнал
формы ВУ-90, которые должны удовлетворять нормам, указанным в
п. 6.2. Значение радиального зазора заносят в графу 13 вместо радиального в свободном состоянии.
Для соблюдения необходимой разности радиальных зазоров разрешается производить перестановку блоков подшипников (на любое внутреннее кольцо может быть установлен любой блок подшипников этого типоразмера).
5.3.4.2. Проверяют плотность посадки внутренних колец на шейке оси приспособлением, которое устанавливают на внутреннее кольцо, находящееся на шейке оси, зажимают и при помощи захвата от руки вращают в одну и другую стороны. Допускается применение приборов для определения натяга посадки внутренних колец, утвержденных МПС РФ в установленном порядке.
Также производят проверку плотности прилегания внутренних колец друг к другу и к лабиринтному кольцу по методике и нормам, предусмотренным
п. 5.3.3.9.
Случаи ослабления посадки внутренних колец регистрируются в журнале
формы ВУ-91 (Приложение 2).
6. НОРМЫ ДОПУСКОВ И ИЗНОСОВ ДЛЯ БУКС И РОЛИКОВЫХ
ПОДШИПНИКОВ
Таблица 8
Наименование измерений и норм | Допускаемые размеры, мм | Примечание |
при новом изготовлении | при ремонте |
1 | 2 | 3 | 4 |
|
6.1.1. Диаметр внутренней цилиндрической части буксы из: | | | Проверяют в двух взаимно перпендикулярных направлениях индикаторным или микрометрическим нутромером с ценой деления 0,01 мм. |
стального литья | | |
алюминиевого сплава | | |
6.1.2. Овальность внутренней цилиндрической части буксы, мм, не более: | | | Проверяют в двух взаимно перпендикулярных направлениях и в двух местах по длине корпуса индикаторным или микрометрическим нутромером с ценой деления 0,01 мм. |
из стального литья | 0,024 | 0,20 |
из алюминиевого сплава | 0,024 | 0,35 |
6.1.3. Конусообразность внутренней цилиндрической части буксы, мм: | 0,024 | 0,1 | Проверяют по всей длине корпуса индикаторным или микрометрическим нутромером с ценой деления 0,01 мм. |
6.1.4. Торцевое биение заднего упорного бортика буксы относительно оси посадочного отверстия, мм: | 0,07 | - | Проверяют на заводах при изготовлении букс. |
6.1.5. Ширина корпуса буксы по направляющим для боковой рамы тележки грузового вагона, мм: | | не менее 320 +/- 2 | Проверяют на заводах при изготовлении и при ремонте букс. |
6.1.6. Разница в толщине стенок буксы, замеренная по направляющим, не более, мм: | - | 2 | Проверяют на заводах при изготовлении и при ремонте. |
6.1.7. Разница в толщинах стенок корпусов букс по одной стороне колесной пары, более, мм: | 2 | 2 | Проверяют на заводах при изготовлении и при ремонте. |
6.2. Роликовые подшипники |
6.2.1. Радиальный зазор подшипников в свободном состоянии: | | | Измеряют на столе или в специальном приспособлении и определяют как среднее арифметическое трех измерений при повороте наружного кольца на 120° вокруг оси. Минимальное значение одного из трех измерений допускается до 0,08 мм. |
- для пассажирских вагонов, обращающихся со скоростью до 120 км/ч, и грузовых | 0,115 - 0,170 | 0,09 - 0,25 |
- для пассажирских вагонов, обращающихся со скоростью свыше 120 км/ч, но не более 140 км/ч | 0,015 - 0,170 | 0,015 - 0,25 |
- для пассажирских вагонов, обращающихся со скоростью свыше 140 км/ч | 0,130 - 0,170 | 0,130 - 0,25 |
6.2.2. Радиальный зазор непосредственно на шейке оси, менее, мм: для колесных пар вагонов: | | | Измеряют непосредственно на шейке оси при ревизиях букс. |
а) грузовых | 0,04 | 0,04 |
б) пассажирских: | | |
- для вагонов, обращающихся со скоростью до 120 км/ч | 0,05 | 0,05 | - |
-для вагонов, обращающихся со скоростью 120 - 140 км/ч | 0,06 | 0,06 |
- для вагонов, обращающихся со скоростью свыше 140 км/ч до 160 км/ч | 0,07 | 0,07 |
6.2.3. Разность радиальных зазоров парных подшипников в свободном состоянии, мм: | 0,02 или 0,01 | 0,02 или 0,01 | Определяют по результатам измерений радиальных зазоров (см. п. 6.2.1) |
0,2 мм при измерении радиального зазора со своими внутренними кольцами; |
0,01 мм при измерении с применением эталонного кольца. |
6.2.4. Разность радиальных зазоров непосредственно на шейке оси подшипников грузовых и пассажирских вагонов мм: | 0,02 | 0,02 | Определяют по результатам измерений непосредственно на шейке оси (п. 6.2.2). |
6.2.5. Осевой зазор в цилиндрическом подшипнике, мм: | | | Определяют между торцами роликов и бортами наружных колец; |
для букс вагонов: | | Не менее | измеряют щупом или на приборе и принимают наименьшее значение из трех измерений. |
- грузовых | | 0,06 | |
- пассажирских | | 0,06 | |
6.2.6. Осевой разбег для двух цилиндрических подшипников, мм: | Обеспечивается конструкцией 0,68 - 1,38 | Не замеряется. |
Примечание: в п. п. 6.2.3 и 6.2.4 задний подшипник должен иметь больший радиальный зазор, чем передний. |
|
|
|
|
6.3.1. Лабиринтное кольцо: | | | |
посадочный диаметр, мм: | | | Измеряют индикаторным или микрометрическим нутромером. |
|
|
|
|
- овальность отверстия 165 мм, не более | 0,06 | 0,1 | То же. |
- конусообразность отверстия по диаметру 165 мм, не более | 0,03 | 0,05 | То же. |
|
6.4.1. Зазор между торцевой поверхностью лабиринтного кольца и лекальным угольником, а также между торцом предподступичной частью оси и лабиринтным кольцом. | Не допускается | Щуп толщиной 0,04 мм по всей окружности не должен проходить в зазор. |
6.4.2. Зазор между торцевыми поверхностями внутренних колец, а также бортом внутреннего кольца заднего подшипника и лабиринтным кольцом, не более, мм: | 0,04 | 0,04 | Щуп толщиной не более 0,04 мм может войти в зазор между этими деталями на участке длиной 1/3 окружности. |
6.4.3. Натяг на посадку лабиринтного кольца, мм: | 0,08 - 0,15 | 0,02 - 0,15 | Определяют как разность диаметров предподступичной части оси и лабиринтного кольца. |
6.4.4. Натяг на посадку внутренних колец, мм: | | | Определяют как разность диаметров оси и внутренних колец подшипников. |
6.4.5. Количество смазки, закладываемое в буксу, кг: | 0,9 - 1,0 | 0,8 - 0,9 | Можно дозировать мерной емкостью вместо взвешивания. |
<*> При радиальном зазоре, замеренном в свободном состоянии, более 0,12 мм натяг может быть 0,07 мм. |
7. ВОЗМОЖНЫЕ НЕИСПРАВНОСТИ ПОДШИПНИКОВ, КОРПУСОВ БУКС,
ОСЕЙ И УСЛОВИЯ ИХ ДАЛЬНЕЙШЕГО ИСПОЛЬЗОВАНИЯ
Таблица 9
Виды возможных неисправностей, повреждений или отступлений от норм | Условия дальнейшего использования |
1 | 2 |
|
7.1.1. Подшипник в собранном виде | |
Радиальный зазор меньше или больше установленной нормы (п. 6.2). | Необходимо перекомплектовать подшипник с заменой наружного кольца. |
Осевой зазор меньше установленной нормы (п. 6.2.5). | Подшипник используют после зачистки торцевой поверхности нерабочего (маркированного) борта у наружных колец на значение до 0,03 мм. Зачистку производят шлифовальной шкуркой N 10 на тканевой основе, а затем N 6 с маслом или притиркой пастой ГОИ. Допускается перекомплектовать подшипник с заменой наружного кольца или роликов. |
Наличие повреждений, перечисленных ниже, в деталях подшипников. | Замена негодных деталей или устранение дефектов зачисткой с полной (при необходимости) разборкой и перекомплектовкой подшипника. |
7.1.2. Наружное и внутреннее кольца | |
| Кольца бракуют. |
Раковины и шелушение (усталостные повреждения) на дорожках качения цилиндрического ( рис. 32, 33) подшипника. | То же. |
Шелушение дорожек качения внутреннего кольца (рис. 33). | Кольца бракуют. |
Рифление дорожки качения наружного кольца подшипника (рис. 34). | Кольца используют с установкой рифленой поверхностью в нерабочую зону при длине рифленого участка не более половины длины дорожки качения. |
Коррозионные пятна на дорожках качения по шагу ролика (рис. 35). | Кольца бракуют. |
Поверхностная и точечная коррозия на дорожках качения. | Кольца используют после зачистки пораженных коррозией поверхностей шлифовальной шкуркой N 6 с маслом. |
Задиры и заусенцы фасок бортов наружных и внутренних колец. | Кольца используют после зачистки фасок. Зачистку производят на приспособлении или шлифовальной шкуркой N 10, а затем N 6 с маслом. |
Коррозионные раковины на дорожках качения в виде точек. | Кольца бракуют. |
Коррозионные повреждения на посадочных поверхностях. | Кольца используют со следами коррозионных повреждений после зачистки шкуркой N 6 с маслом. |
Потемнение поверхности качения от серого до черного цвета. | То же. |
Намины и мелкие риски на дорожке качения. | Кольца допускаются к дальнейшему использованию. |
Следы перегрева (цвета побежалости). | Кольца бракуют (кроме колец, имеющих соломенный цвет). |
Кольцевые риски, задиры, вмятины и забоины на нерабочих поверхностях. | Кольца используют после зачистки и сглаживания выступающих краев. |
Монтажные забоины и задиры на поверхностях качения. | Кольца бракуют. |
Отсутствие фасок на кромках бортов наружных колец | То же. |
Надиры типа "елочка" на бортах наружных колец, внутренних колец, плоских упорных колец | Кольца используют со следами от надиров после обработки бортов на приспособлении шлифовальной шкуркой N 6 с маслом или притиркой пастой ГОИ. Допускается снимать слой по каждому борту толщиной не более 0,05 мм. Снятие слоя контролируют щупом между торцом одного из роликов и бортами колец. |
Повреждения электрическим током дорожек качения. | Кольца бракуют. |
7.1.3. Ролики | |
| Ролики бракуют. |
Вмятины на поверхности качения. | Ролики используют. |
Кольцевой след без разрушения поверхности металла. | То же. |
Коррозионные раковины на поверхности качения. | Ролики бракуют. |
Потемнение поверхности качения от серого до черного цвета. | Ролики используют. |
Коррозия пятнами. | Ролики бракуют. |
Раковины на поверхности качения цилиндрического ролика (рис. 32). | То же. |
Точечная коррозия на нерабочих поверхностях (торцы, скосы). | Ролики используют. |
Повреждения торцов цилиндрических роликов - надиры типа "елочка" (рис. 37). | Ролики используют со следами от надиров после обработки на приспособлении, имеющем вертикальное перемещение ручки, шлифовальной шкуркой N 6 с маслом. Снимать допускается с каждой стороны ролика слой толщиной не более 0,005 мм. Толщину снятого слоя проверяют по высоте ролика на приборе В901 (408М). |
Точки в результате повреждения электрическим током. | Ролики бракуют. |
7.1.4. Сепараторы | |
Повреждение "чеканки" у латунного и полиамидного сепараторов цилиндрического подшипника, приводящее к выпаданию роликов. | Сепараторы используют после восстановления "чеканки". |
Износ латунного сепаратора по внутреннему диаметру и центрирующей поверхности (наружному диаметру) в месте контакта с бортами наружных колец. | Сепаратор с износом более 0,1 мм бракуется. Износ определяется по величине ступеньки, образовавшейся по отношению к поверхностям перемычек, и определяется щупом, который вводится в зазор между наружной поверхностью и лекальной линейкой, приложенной к поверхности одной из перемычек. |
|
Продольные задиры или риски на посадочной цилиндрической части. | Корпуса используют после зачистки кромок, задиров или рисок. |
Местная выработка на цилиндрической посадочной поверхности от проворачивания наружных колец. | Корпуса с выработкой, превышающей норму на овальность, ремонтируют. |
Коррозия на внутренней цилиндрической части. | Корпуса используют со следами коррозии после зачистки. |
Местная выработка стенок отверстия под шпинтон в корпусе буксы. | Корпуса используют. |
Ослабление посадки отъемного лабиринта и его повреждение. | Корпус ремонтируют. |
Ржавчина, заусенцы, забоины на лабиринтных проточках. | Корпуса используют после зачистки лабиринтных проточек. |
Сквозные отверстия и поврежденная резьба под термодатчик и оставшиеся в буксе оборванные болты М20 крепительной крышки | Корпуса ремонтируют. |
|
7.3.1. Шейки осей | |
Тупые забоины и вмятины глубиной не более 1,5 мм и площадью до 50 мм2 на расстоянии не ближе 50 мм от торца предподступичной части. | Допускается без исправления. Выступающие края зачищают заподлицо с поверхностью шлифовальной шкуркой N 6 с маслом вдоль шейки оси. |
Поперечные риски глубиной и шириной не более 0,5 мм при расположении их не ближе 80 мм от торца предподступичной части. | Допускаются без устранения. Выступающие края задиров должны быть зачищены так, как указано выше. |
Риски продольные глубиной не более 1 мм при расположении их не ближе 50 мм от торца предподступичной части. | Допускаются без устранения. Острые риски должны быть сглажены. |
Коррозия. | Используют со следами коррозионных повреждений после зачистки шлифовальной шкуркой N 6 с маслом. |
7.3.2. Предподступичные части | |
Забоины и вмятины глубиной до 2 мм. | Допускаются без устранения с зачисткой краев, так же, как указано выше. |
Продольные задиры глубиной до 2 мм. | Допускаются без устранения с зачисткой краев, так же, как указано выше. |
Продольные риски глубиной до 2 мм. | Допускаются без устранения. |
Коррозия. | Острые риски должны быть сглажены. Используют со следами коррозионных повреждений после зачистки шлифовальной шкуркой N 6 с маслом. |
Примечание к п. 7.3: детальный перечень неисправностей осей и условия их дальнейшего использования указаны в " Инструкции по осмотру, освидетельствованию, ремонту и формированию вагонных колесных пар". |

Рис. 31. Трещина наружного кольца
Рис. 32. Раковины на дорожке качения
наружного кольца и ролика
Рис. 33. Шелушение дорожки качения внутреннего кольца
Рис. 34. Рифление дорожки качения
наружного кольца подшипника
Рис. 35. Коррозионные пятна (раковины) на дорожке
качения кольца
а) отколы; б) ползуны (лыски)
Рис. 36. Ролики с отколами и ползунами
Рис. 37. Повреждение торцов цилиндрических роликов
8. РЕМОНТ РОЛИКОВЫХ ПОДШИПНИКОВ
8.1. Общие требования
8.1.1. Ремонт роликовых подшипников производят на вагоноремонтных предприятиях, имеющих цехи роликовых подшипников и соответствующее удостоверение на право полной ревизии букс с роликовыми подшипниками и ремонт подшипников.
8.1.2. При ремонте подшипников забракованные детали (наружные и внутренние кольца, сепараторы и ролики) заменяют новыми или годными из числа бывших в эксплуатации, удовлетворяющих требованиям, изложенным в
п. 7.1. В металлолом разрешается сдавать кольца, ролики, сепараторы, забракованные в соответствии с требованиями
п. 7.1, после составления акта комиссией, назначаемой руководителем предприятия из числа специалистов, и утверждения акта главным инженером или заместителем руководителя предприятия.
8.1.3. Предназначенные для ремонта подшипники промывают и осматривают для определения ремонта. Ремонт подшипников делится на два вида: первый - без переборки роликов, второй - с переборкой (измерением и подборкой роликов по диаметру и длине).
8.2. Ремонт цилиндрических роликоподшипников
Первый вид ремонта
8.2.1. Подшипники ремонтируют без переборки роликов (без измерения роликов по диаметру и по длине) при замене и расточке сепаратора, зачистке (шлифовке) бортов колец, замене наружного или внутреннего колец, зачистке (шлифовке) дорожек качения колец. На ремонтных заводах кольца подвергают магнитному контролю. Аналогичный контроль производят и в депо по мере поступления дефектоскопных установок.
При сборке подшипника необходимо руководствоваться условиями, предусмотренными в
п. 5.2.2.2.
Второй вид ремонта
8.2.2. Ремонт подшипников с переборкой роликов (с измерением роликов по диаметру и длине) производят при замене роликов (независимо от количества сменяемых роликов), выпадении отдельных роликов из гнезд сепаратора вследствие повреждения чеканки, зачистке (шлифовке) образующих роликов и торцов роликов.
При ремонте на заводах производят магнитный и вихретоковый контроль колец и роликов с последующим размагничиванием. Аналогичный контроль производят и в депо по мере поступления дефектоскопных установок. Латунные сепараторы дефектоскопируют на установках ВД-11НФ и ВД-18НФ.
8.2.3. При втором виде ремонта подшипник полностью разбирают. Чтобы разобрать подшипники, у которых расчеканка сепараторов произведена по перемычкам и наружные кольца скомплектованы вместе с роликами, например, у подшипников 42726 и 232726, надо ролики выдвинуть из бортов наружного кольца внутрь подшипника
(рис. 38 а) и, сняв наружное кольцо
(рис. 38 б), вынуть ролики из гнезд сепараторов
(рис. 38 в).
а) выдвигание роликов; б) снятие наружного кольца;
в) удаление роликов из гнезд сепараторов
Рис. 38. Разборка блока цилиндрического подшипника
При выпадении отдельных роликов из гнезд сепаратора проверяют диаметр и длину всех роликов, как это указано в
п. 8.2.7, и подшипник вновь собирают. При этом разность диаметров роликов в подшипнике должна быть не более 5 мкм, а разность длин роликов - не более 12 мкм.
8.2.4. После разборки все детали осматривают. Особое внимание обращают на состояние сепараторов - на наличие трещин в зоне перехода перемычек к основаниям. При необходимости ролики и кольца шлифуют. Полиамидные сепараторы подвергаются растяжению на специальных установках. У цилиндрических подшипников типа 42726 и 232726, не имеющих на торце роликов и сепаратора условного обозначения, необходимо наносить на одном из торцов сепаратора со стороны маркировки букву "Ж", а один из торцов роликов условно обозначать знаком "+", который ставят в лунке или в центре торца. Причем ролики, имеющие на торце лунку, маркируют механическим путем с помощью соответствующего приспособления. У роликов с плоскими торцами маркировку наносят с помощью кислоты, медного купороса или электрографом. Запрещается наносить знак "+" на рабочую часть торца ролика. Этот знак должен быть нанесен только в середине торца ролика.
8.2.5. Годные для комплектования подшипников ролики со скосами сортируют (измеряют) по диаметрам в трех сечениях - в середине и по краям цилиндрической части вблизи скосов на приборах В901 (408М) или РМ101 с измерительной головкой или двухмикронным миниметром
(рис. 39).
1 - винт крепления миниметра; 2 - кронштейн; 3 - винт;
4 - гайка настройки прибора; 5- колонка (штатив);
6 - стол; 7 - станина
Рис. 39. Прибор В901 (408)
При этом непостоянство диаметра, а также разность диаметров по краям цилиндрической части, конусность и выпуклость в среднем сечении ролика не должны превышать 5 мкм.
Ролики с рациональным контактом (бомбинированные, см.
п. 2.1.1) сортируют только по среднему диаметру на приборе Д312-2М
(рис. 40). Для этого ножку измерительной головки необходимо расположить на высоте 26 мм, равной половине длины ролика. Для определения формы образующей ролик необходимо предварительно замерить в трех сечениях на приборе В901. Бомбинированный ролик имеет разность диаметров не менее 20 мкм
(рис. 2) и не более 28 мкм. Измерение роликов по длине и диаметру может производиться на электронно-механических приборах, утвержденных МПС в установленном порядке.
1 - кронштейн для миниметра; 2 - гайка для настройки
миниметра; 3 - рифленая головка; 4 - плита-стол;
5 - станина; 6 - нижний упор; 7 - контролируемый ролик
8.2.6. Измерение роликов после зачистки производят не ранее, чем через один час.
8.2.7. Устанавливается следующий порядок сортировки роликов:
а) по среднему сечению одного из роликов, принятому за эталон для данной группы роликов, настраивают прибор на нулевое положение измерительной головки;
б) остальные ролики измеряют и сортируют на группы по среднему сечению в пределах 5 мкм.
При комплектовании подшипников ролики в одном подшипнике должны быть одной группы по диаметру. Затем ролики на том же приборе В901 проверяют по длине
(рис. 41), при этом ролик располагают маркированным торцом непосредственно под измерительную ножку головки на расстоянии 3 - 3,5 мм от образующей, для чего на стойке прибора необходимо установить боковой фиксатор, определяющий положение ролика. Маркированные торцы - это торцы, имеющие обозначения знаком "+", или с меньшей по диаметру выточкой, или с выточкой сферической формы, или торцы роликов, имеющие засверловку диаметром 5 мм и глубиной 1 мм. Проворачивая ролик вокруг оси, определяют его максимальную длину.
Рис. 41. Проверка длины ролика
8.2.8. Запрещается комплектовать цилиндрический подшипник 42726 с разными по форме роликами.
8.2.9. Сепараторы, применяемые при ремонте подшипника, должны иметь гладкую поверхность без срезов, отколов, трещин и повреждения чеканки.
Обточка сепараторов по наружному диаметру категорически запрещается.
При комплектовании подшипников необходимо следить за тем, чтобы маркировка на сепараторе (товарный знак завода-изготовителя и условное обозначение года выпуска или буквы "Ж"), торцы роликов, имеющие различные отличительные признаки, были обращены в ту же сторону, что и маркировка на наружном кольце.
8.3. Контроль и учет отремонтированных подшипников
8.3.1. Отремонтированные подшипники осматривают и проверяют по радиальному зазору: среднее арифметическое значение радиального зазора должно быть 0,09 - 0,20 мм. Разность крайних значений радиального зазора при трех измерениях щупом не должна превышать 20 мкм у цилиндрического подшипника.
8.3.2. На отремонтированные подшипники наносят следующую надпись: на наружном кольце подшипника после номера ставят букву РI или РII в зависимости от вида ремонта (месяц римскими цифрами и две последние цифры года) и условный номер вагоноремонтного предприятия, производившего ремонт.
Надпись на кольцах производят электрографом при разобранном подшипнике или кислотой в собранном подшипнике. Состав кислоты: висмут азотнокислый 5 г, никель азотнокислый 95 г, азотная кислота 370 см3, вода 630 см3. Через 3 - 5 мин. после нанесения надписи для нейтрализации кислоты место надписи протирают мыльной пеной или любым машинным маслом. Вагоноремонтное предприятие, производящее ремонт подшипников, учитывает их в журнале
формы ВУ-93. Отремонтированные подшипники, которые после ремонта не сразу устанавливают в буксы колесных пар, подлежат консервации.
9. ХРАНЕНИЕ И ТРАНСПОРТИРОВКА ПОДШИПНИКОВ И
ДРУГИХ ДЕТАЛЕЙ БУКС
9.1. Поступающие на склад новые подшипники должны храниться на стеллажах и оставаться в заводской упаковке до их использования. Не рекомендуется вскрывать упаковку без необходимости.
9.2. Бывшие в эксплуатации подшипники промывают, просушивают и осматривают для установления годности их к дальнейшей эксплуатации.
9.3. Годные подшипники не позднее чем через 5 часов после промывки смазывают трансформаторным маслом, а при хранении свыше 5 суток покрывают техническим вазелином и используют для монтажа или укладывают на закрывающиеся стеллажи или в шкафы. Возможность механического повреждения подшипников должна быть исключена.
9.4. Подшипники следует хранить в чистом сухом отапливаемом помещении с температурой воздуха не ниже +10 °C без резких колебаний температуры.
9.5. Подшипники не следует хранить в помещениях, в которые могут проникнуть пар, газы, кислоты и пыль.
9.6. Запрещается брать подшипники грязными, влажными или потными руками, так как это способствует образованию коррозии.
9.7. Обработанные поверхности корпусов букс и остальных деталей следует тщательно покрывать маслом.
9.8. В монтажном, комплектовочном отделениях, в помещении, где хранятся подшипники и детали букс, нельзя курить и зажигать огонь. Для предупреждения этого на стенах помещения и при входе должны быть вывешены соответствующие плакаты.
В монтажном отделении разрешается хранить детали буксового узла промытые, проверенные, отремонтированные и годные к монтажу.
9.9. Подшипники, транспортируемые на другие предприятия, следует подвергать консервации, обертывать в парафинированную бумагу и плотно укладывать в деревянные ящики с защитой от атмосферных воздействий.
10. ПРОИЗВОДСТВЕННЫЙ УЧАСТОК (ЦЕХ) РОЛИКОВЫХ ПОДШИПНИКОВ
10.1. Для демонтажа и монтажа букс с роликовыми подшипниками, а также ремонта подшипников в вагонных депо и ремонтных заводах организуют производственные участки (цехи) роликовых подшипников. Участок должен иметь четыре отделения: демонтажное, ремонтное, комплектовочное и монтажное. При размещении отделений необходимо соблюдать поточность технологического процесса. Ранее созданные производственные участки роликовых подшипников могут иметь три отделения: демонтажное, ремонтно-комплектовочное и монтажное.
10.2. На право производства указанных выше работ в роликовом цехе дается удостоверение
(Приложение 6), которое для вагонных депо выдает железнодорожная администрация.
10.3. Общую площадь монтажного, ремонтного и комплектовочного отделений определяют из расчета 10 м2 на одну монтируемую колесную пару в смену.
10.4. Демонтажное отделение оснащают рельсовыми путями для размещения колесных пар, стендами для демонтажа букс, кран-балкой грузоподъемностью не менее 2 тс для транспортировки колесных пар, корпусов букс, моечными машинами для промывки подшипников, корпусов и деталей букс, рольгангами для транспортировки букс и деталей, приспособлений и инструмента.
Демонтаж букс и промывку можно производить не в отдельном помещении, а на площадке, которая располагается на площади колесного или тележечного цеха или должна, как правило, примыкать к нему.
Колесные пары, подлежащие полному освидетельствованию в комплекте с буксами поступают на демонтажную площадку, где производят демонтаж буксового узла. После демонтажа букс колесные пары поступают в моечную машину. Затем они проходят полное освидетельствование. Снятые с колесной пары буксы и другие детали также промывают в моечной машине, и затем они поступают в монтажное отделение для контроля и монтажа. Роликовые подшипники промывают в моечной машине и направляют в комплектовочное отделение.
10.5. Комплектовочное отделение предназначается для осмотра, определения необходимого ремонта, комплектования и хранения подшипников. Оно размещается в чистом, сухом, светлом и изолированном помещении рядом с демонтажным и монтажным отделениями и должно иметь температуру не ниже + 10 °C. Это отделение оборудуют столами, обитыми листовой сталью для осмотра подшипников, стеллажами для хранения подшипников и других деталей, а также шкафами для хранения приборов, инструмента и приспособлений.
10.6. Ремонтное отделение, предназначенное для ремонта подшипников и хранения их деталей, оборудуют столами, обитыми листовой оцинкованной или нержавеющей сталью, стеллажами для временного хранения подшипников и длительного хранения их деталей, необходимой технологической оснасткой (приспособления для шлифовки бортов, торцов роликов, для восстановления расчеканки и др.), шкафами для хранения измерительных приборов и инструмента.
10.7. Стены ремонтного и комплектовочного отделений должны быть окрашены белой масляной краской или облицованы плиткой. Пол покрывают метлахской плиткой.
10.8. Монтажное отделение, предназначенное для проверки, подготовки и монтажа букс, а также хранения проверенных, отремонтированных и готовых к монтажу корпусов букс и деталей буксового узла, оснащают рельсовыми путями, стендом для механизированного монтажа букс, кран-балкой грузоподъемностью 2 тс, столами, обитыми листовой оцинкованной или нержавеющей сталью, для подшипников и деталей букс, стеллажами для корпусов букс, шкафом с электрическим подогревом внутренних и лабиринтных колец. Отделение размещают в чистом, светлом, сухом и изолированном помещении с температурой не ниже + 10 °C. Стены должны быть окрашены масляной краской в светлые тона или облицованы плиткой, а пол покрыт метлахской плиткой.
Рельсовый путь для удобства монтажа целесообразно укладывать на высоту 0,4 м от уровня пола.
Примечание. Допускается расположение монтажного, комплектовочного и ремонтного отделений в одном помещении при условии, что перемещение кран-балки будет ограничено площадью монтажного отделения, либо над комплектовочным и ремонтным отделениями устраивают легкое перекрытие, исключающее возможность загрязнения подшипников и приборов.
ЖУРНАЛ МОНТАЖА РОЛИКОВЫХ ПОДШИПНИКОВ ФОРМЫ ВУ-90
Номер п.п. | Дата монтажа | Номер плавки и номер кол. пары | Клейма полного освидетельствования кол. пары | Шейка оси | Диаметры шейки оси и предподступичной части, мм | Наибольшая овальность шейки оси, мм | Наибольшая конусообразность шейки оси, мм | Посадочный диаметр лабиринтного кольца, мм | Натяг на посадку лабиринтного кольца, мм |
 ;  |  ;  |  ;  |
1 | 2 | 3 | 4 | 5 | 6 | 7 | 8 | 9 | 10 | 11 | 12 |
| Правая | | | | | | | |
Левая | | | | | | | |
Продолжение Приложения 1
Радиальный зазор в свободном состоянии или непосредственно на шейки оси, мм (числитель в заднем подшипнике, знаменатель - в переднем) | Посадочные диаметры буксы, мм | Завод-изготовитель, условное обозначение и номер подшипника: месяц и год изготовления | Выход закрепительной втулки или минимальный осевой зазор в подшипнике, мм | Продвижение закрепительной втулки или посадочный диаметр внутреннего кольца, мм | Усилие запрессовки, тс, или натяг на посадку внутреннего кольца, мм | Смазка (марка, завод, партия) | Подпись контрольного мастера ОТК или техника по измерению подшипников | Подпись мастера смены | Примечание |
 ;  |  ;  | Задний | Передний |
13 | 14 | 15 | 16 | 17 | 18 | 19 | 20 | 21 | 22 | 23 | 24 |
ЖУРНАЛ ОСМОТРА РОЛИКОВЫХ ПОДШИПНИКОВ И КОРПУСОВ
БУКС ФОРМЫ ВУ-91
Номер п.п. | Дата осмотра | Условное обозначение подшипника | Завод-изготовитель и год выпуска подшипников | Номер подшипника | Вид неисправностей | Подпись лица, производившего осмотр |
1 | 2 | 3 | 4 | 5 | 6 | 7 |
ЖУРНАЛ РЕВИЗИИ БУКС С РОЛИКОВЫМИ ПОДШИПНИКАМИ ФОРМЫ ВУ-92
Номер п.п. | Дата ревизии | Номер | Состояние буксового узла | Ревизия произведена при выполнении работ | Подпись |
вагона | колесной пары | производившего ревизию | мастера |
1 | 2 | 3 | 4 | 5 | 6 | 7 | 8 |
ЖУРНАЛ РЕМОНТА РОЛИКОВЫХ ПОДШИПНИКОВ ФОРМЫ ВУ-93
Номер пп. | Дата ремонта подшипника | Условное обозначение, номер завода-изготовителя и дата | Вид | Подпись |
изготовления подшипника | неисправности | произведенного ремонта | лица, производившего ремонт | мастера |
1 | 2 | 3 | 4 | 5 | 6 | 7 |
ПЛАН РАССЛЕДОВАНИЯ ПРИЧИН ИЗЛОМА ШЕЙКИ ОСИ РОЛИКОВОЙ
КОЛЕСНОЙ ПАРЫ ИЛИ РАЗРУШЕНИЯ БУКСОВОГО УЗЛА
N пп. | Наименование | |
1 | Место отцепки вагона или смены колесной пары (дорога, станция) | |
2 | Число, месяц, год отцепки (смены колесной пары) | |
3 | Скорость движения вагона перед повреждением оси или подшипника | |
4 | Номер, род и тара вагона | |
5 | Состояние деталей разрушенного подшипника с иллюстрацией повреждений (фото, эскиз) | Ролики: |
а) со стороны маркировки |
б) с противоположной стороны |
Наружное кольцо: |
а) со стороны маркировки |
б) с противоположной стороны |
Внутреннее кольцо: |
Сепаратор: |
6 | Состояние смазки | а) нормальное |
б) загрязненная |
в) обводненная |
г) выгорела |
7 | Подшипник (номер, тип, завод-изготовитель, год изготовления) | |
8 | Пробег подшипника | а) после полной ревизии |
б) общий пробег |
9 | Состояние торцевого крепления | |
10 | Состояние корпуса буксы и число крепительных болтов | |
11 | Тип тележки | |
12 | Состояние буксового рессорного подвешивания (у пассажирского вагона) | |
13 | Состояние скользунов у тележек КВЗ-ЦНИИ | а) задраны |
б) чистые |
14 | Расстояние между шпинтонами (измеряется в случае подачи вагона в депо) | а) вдоль тележек |
б) поперек тележек |
в) по диагонали |
15 | Прокат по кругу катания колеса через 20 - 25 мм (раковина, ползун, навар) | а) колесо со стороны греющейся буксы |
б) противоположное колесо |
16 | Разность диаметров колес по кругу катания | |
17 | Расстояние между внутренними гранями колес в 2-х перпендикулярных плоскостях | |
18 | Монтажные данные греющейся буксы | а) радиальный зазор |
б) осевой зазор |
в) натяги посадки |
19 | Состояние и монтажные данные подшипников другой буксы аварийной колесной пары | |
20 | Наличие на буксе дополнительных устройств | а) редуктор |
б) противогаз |
в) термодатчик |
21 | Номер колесной пары с греющейся буксой, порядковый номер по ходу вагона и ориентация буксы (правая, левая по ходу поезда) | |
22 | Дата и пункт | а) последнего освидетельствования или формирования |
б) промежуточной ревизии букс |
23 | Метеоусловия в момент разрушения (температура воздуха, осадки и т.д.) | |
24 | Вначале разрушился подшипник | а) задний |
б) передний |
25 | Предполагаемая причина разрушения подшипника с ее кратким основанием | |
Примечание:
Главный инженер вагонного депо __________
подпись
Мастер производственного участка
роликовых подшипников __________
подпись
ОБРАЗЕЦ УДОСТОВЕРЕНИЯ НА ПРАВО ПРОВЕДЕНИЯ ПОЛНОЙ РЕВИЗИИ
БУКС С РОЛИКОВЫМИ ПОДШИПНИКАМИ
Удостоверение N _________________
Выдано производственному участку (цеху) роликовых подшипников вагонного
депо __________________________________________________________________
_______________________________________________________________________
_______________________________________________________железной дороги.
Настоящее удостоверение дает право проведения полной ревизии букс с
роликовыми подшипниками колесных пар и ремонта подшипников с
постановкой присвоенного клейма N _____.
Руководитель Департамента
вагонного хозяйства МПС РФ _________
подпись
ИНСТРУКЦИЯ ПО ПРИМЕНЕНИЮ ПРЕПАРАТА-МОДИФИКАТОРА ЭМПИ-1
1. Препарат-модификатор эМПи-1 предназначен для снижения износа, коэффициента трения и предотвращения задиров на трущихся поверхностях буксовых роликовых подшипников. ЭМПи-1 представляет собой присадку.
2. Препарат-модификатор эМПи-1 изготавливается по ТУ 0253-001-25887352-97 на ООО "Фактория ЛС" и поставляется на вагоноремонтные предприятия и вагоностроительные заводы по их заявкам.
3. Препарат-модификатор эМПи-1 используется на вагоноремонтных предприятиях МПС РФ и вагоностроительных заводах для смазывания буксовых подшипников колесных пар грузовых и пассажирских вагонов и применяется при полных ревизиях буксовых узлов для смазывания, вместо индустриальных, веретенного и авиационного масел, подшипников перед постановкой их в корпуса букс. Перед применением препарат-модификатор эМПи-1 необходимо взбалтывать для образования однородной смеси. Расход эМПи-1 на один подшипник составляет 35 - 40 мл. При смазывании проводится многократное проворачивание сепаратора с роликами в наружном кольце подшипника.
4. Заполнение подшипников консистентной смазкой и монтаж буксовых узлов производятся в установленном порядке.