Главная // Актуальные документы // Журнал (форма)СПРАВКА
Источник публикации
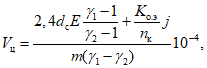
М.: Стройиздат, 1977
Примечание к документу
Название документа
"Руководство по технологии физико-химического укрепления промерзающих и оттаивающих грунтов"
"Руководство по технологии физико-химического укрепления промерзающих и оттаивающих грунтов"
ПО ТЕХНОЛОГИИ ФИЗИКО-ХИМИЧЕСКОГО УКРЕПЛЕНИЯ
ПРОМЕРЗАЮЩИХ И ОТТАИВАЮЩИХ ГРУНТОВ
Рекомендовано к изданию отделом технического нормирования и стандартизации Госстроя СССР.
Руководство по технологии физико-химического укрепления промерзающих и оттаивающих грунтов разработано в развитие СНиП II-18-76 "Основания и фундаменты зданий и сооружений на вечномерзлых грунтах. Нормы проектирования".
В Руководстве излагаются сущность методов и технологии предпостроечной подготовки вечномерзлых и сезоннопромерзающих грунтов в целях их использования по второму принципу СНиП II-18-76 в качестве оснований зданий и сооружений.
Руководство составлено Ордена Трудового Красного Знамени научно-исследовательским институтом оснований и подземных сооружений им. Н.М. Герсеванова Госстроя СССР (доктор геолого-минерал. наук, проф. И.А. Тютюнов, канд. геолого-минерал. наук И.В. Бойко, канд. техн. наук В.С. Скальный, инж. И.Г. Яркин, инж. Г.Л. Праздникова). Военным инженерным институтом им. А.Ф. Можайского (доктор техн. наук, проф. В.В. Чепелев, канд. техн. наук Н.Е. Лаптин) и Северным отделением НИИОСП (инж. В.С. Десяк, инж. А.О. Филатов).
1.1. Настоящее Руководство распространяется на проектирование и производство работ по предпостроечному улучшению строительных свойств вечно- и сезонномерзлых грунтов, предназначенных для использования в качестве оснований зданий и сооружений по II принципу СНиП II-18-76 "Основания и фундаменты на вечномерзлых грунтах. Нормы проектирования", а также для производства работ по отрывке котлованов, по предотвращению морозного пучения грунтов и выпучивания фундаментов в условиях зимнего промерзания.
1.2. В Руководстве излагаются методы и технологии предпостроечного улучшения строительных свойств грунтов, включающие оттаивание при положительных и отрицательных температурах сезоннопромерзающих и вечномерзлых грунтов при помощи электроэнергии и химических реагентов, а также их уплотнение и противопучинную стабилизацию.
1.3. К числу вечномерзлых грунтов, нуждающихся в предпостроечном улучшении строительных свойств, относятся вечномерзлые, обладающие такой сжимаемостью при оттаивании, когда суммарная осадка в пределах чаш оттаивания за эксплуатационный период может превысить предельные осадки, допустимые
СНиП II-15-74 "Нормы проектирования. Основания зданий и сооружений", для данных типов зданий, возводимых по II принципу.
1.4. Выбору методов и технологий предпостроечного улучшения грунтов оснований и сооружений, проектируемых в соответствии со II принципом СНиП II-18-76, должно предшествовать определение оптимальных глубин улучшения вечномерзлых грунтов и выявление пучинистых свойств сезоннопромерзающих. Первые рекомендуется определять по деформациям на основании данных инженерно-геологических изысканий, а в отдельных случаях по полевым определениям сжимаемости грунтов под нагрузками в соответствии с требованиями СНиП II-18-76. Вторые должны определяться на основе лабораторного изучения состава обменных оснований и емкости поглощения грунтов.
1.5. Под оптимальной глубиной предпостроечного улучшения строительных свойств вечномерзлого грунта понимается наименьшая глубина после улучшения свойств грунтов, в пределах которой осадки при оттаивании не превысят допустимой величины за эксплуатационный период сооружения, а пучение при промерзании грунта будет изменяться в заданных пределах.
1.6. Под пучением при промерзании понимается такое приращение объема промерзающего грунта, связанное с кристаллизацией воды, как замерзающей на месте, так и перемещающейся из нижних слоев, которое вызывает существенное нарушение залегания и строения слоев этого грунта.
Примечание. Химическую, противопучинную обработку грунтов сезоннопромерзающего и сезоннопротаивающего слоя рекомендуется производить в случаях использования вечномерзлых грунтов в качестве оснований по II принципу СНиП II-18-76.
1.7. Пучинистыми грунтами (СНиП II-18-76) считаются сезоннопромерзающие грунты глинистого и пылевато-илистого состава, а также крупнообломочные, содержащие частицы размером 0,1 мм в количестве не менее 30% по массе.
1.8. Пучинистые свойства грунтов связаны с обменно-адсорбционной способностью их мелких частиц, которые в совокупности образуют поглощающий комплекс этих грунтов, характеризующийся емкостью обменного поглощения катионов, выражаемой в мг·экв на 100 г грунта. Соответственно все грунты, обладающие обменной емкостью поглощения, способны пучиться при промерзании. Пучинистые свойства грунтов, при прочих равных условиях, проявляются в тех случаях, когда их влажность перед промерзанием больше влажности на границе раскатывания.
2. ТЕХНОЛОГИЯ УЛУЧШЕНИЯ СТРОИТЕЛЬНЫХ СВОЙСТВ
ВЕЧНОМЕРЗЛЫХ ГРУНТОВ ОТТАИВАНИЕМ ХИМИЧЕСКИМИ РЕАГЕНТАМИ
2.1. Оттаивание мерзлых грунтов при отрицательной температуре производится путем инъецирования в их объемы концентрированных водных растворов солей, безводных ожиженных и газообразных химических реагентов, способных активно оттаивать лед и предохранять оттаянные грунты от возможного последующего замерзания
(прил. 3).
2.2. Уплотнение мерзлых грунтов, совмещенное с оттаиванием при отрицательной температуре, рекомендуется осуществлять путем раздельного инъецирования в их объемы сжиженного аммиака и раствора хлористого кальция или других реагентов, способных к взаимодействию с грунтовыми растворами и минеральными частицами, с образованием цементирующего материала
(прил. 3).
2.3. Давление, необходимое для инъецирования в мерзлые грунты жидких и газообразных химических реагентов (сверх бытового) должно задаваться из расчета три атмосферы на четверть градуса охлаждения мерзлого грунта ниже температуры начала замерзания воды в нем. При этом температура мерзлого грунта не должна существенно понижаться.
2.4. Инъецирование растворов химических реагентов в грунты, подлежащие оттаиванию и уплотнению при отрицательных температурах, следует производить на глубинах, примерно равных оптимальным глубинам улучшения с таким расчетом, чтобы процесс плавления льда развивался снизу вверх
(прил. 3). Оттаянный таким образом грунт должен приобретать более плотное сложение и меньшую суммарную влажность, чем исходный мерзлый, так как при этом межблочные прослойки льда будут плавиться и в виде раствора отжиматься вверх, а зазоры между отдельными блоками текстуры будут стремиться к смыканию.
2.5. Растворы реагентов для оттаивания мерзлых, в особенности гравелисто-песчаных грунтов, могут подаваться в грунт также самотеком, без приложения избыточного давления извне. Однако скорость инъецирования при этом резко снизится.
2.6. Инъецируемые в мерзлые грунты растворы разбавляются тающим льдом и на определенных расстояниях от инъекторов их концентрация достигает таких значений, при которых начинается замерзание. Такие расстояния будут предельными расстояниями возможного инъецирования.
2.7. Оценка предельных расстояний инъецирования растворов, оттаивающих мерзлые грунты при отрицательных температурах, может производиться по формулам:
а) для случая самотечного проникания раствора с поверхности в количестве 1 м3 через площадку 1 м2. Высота оттаянного при этом слоя грунта с площадью основания в 1 м2 может быть выражена в виде:

(1)
б) для случая инъецирования 1 м3 раствора через трубчатый инъектор, с равномерным инъецированием по высоте, равной 1 м; радиус цилиндра оттаянного грунта при этом выразится формулой

(2)
в) для случая инъецирования 1 м3 раствора через точечный инъектор; предельный радиус сферы оттаянного грунта выразится соотношением:

(3)
где c0, c - концентрации раствора в начале и конце пути инъецирования в тоннах растворенного вещества на тонну растворителя;
q - содержание растворенного вещества в объеме раствора, инъецированного в грунт, т/м3;

- объемная масса скелета грунта, т/м
3;
W, Wн - суммарная влажность мерзлого грунта и количество незамерзшей воды, соответственно, в тоннах на 1 т сухого грунта;
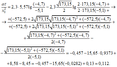
Пример расчета. Раствор хлористого кальция инъецируется в мерзлый грунт, охлажденный до минус 3 °C. Требуется найти предельные расстояния инъецирования его в грунт при следующих условиях:
| | ИС МЕГАНОРМ: примечание. Единицы измерения даны в соответствии с официальным текстом документа. | |

; (
W - Wн) = 0,16 т/т;
cисходн = 0,427 т/т;
c0 = 0,059 т/т;
q = 0,427 т.
Предельные расстояния инъецирования для случаев, указанных в
п. 2.7, находятся по
формуле (1):
Местное понижение температуры в грунте, быстро наполняемом раствором реагентов, может послужить причиной временного уменьшения предельных значений, найденных по
формулам (1) -
(3).
2.8. Таяние льда в объемах мерзлых грунтов, наполненных раствором, происходит за счет тепла, отнимаемого из этих объемов, а также поглощаемого из окружающих массивов незасоленного грунта. Скорость таяния засоленных мерзлых грунтов предопределяется главным образом скоростью притока в их объемы тепла из приграничных массивов незасоленного мерзлого грунта. Время таяния быстро засоляемого грунта может быть рассчитано по методике, приведенной в
прил. 3 к настоящему Руководству.
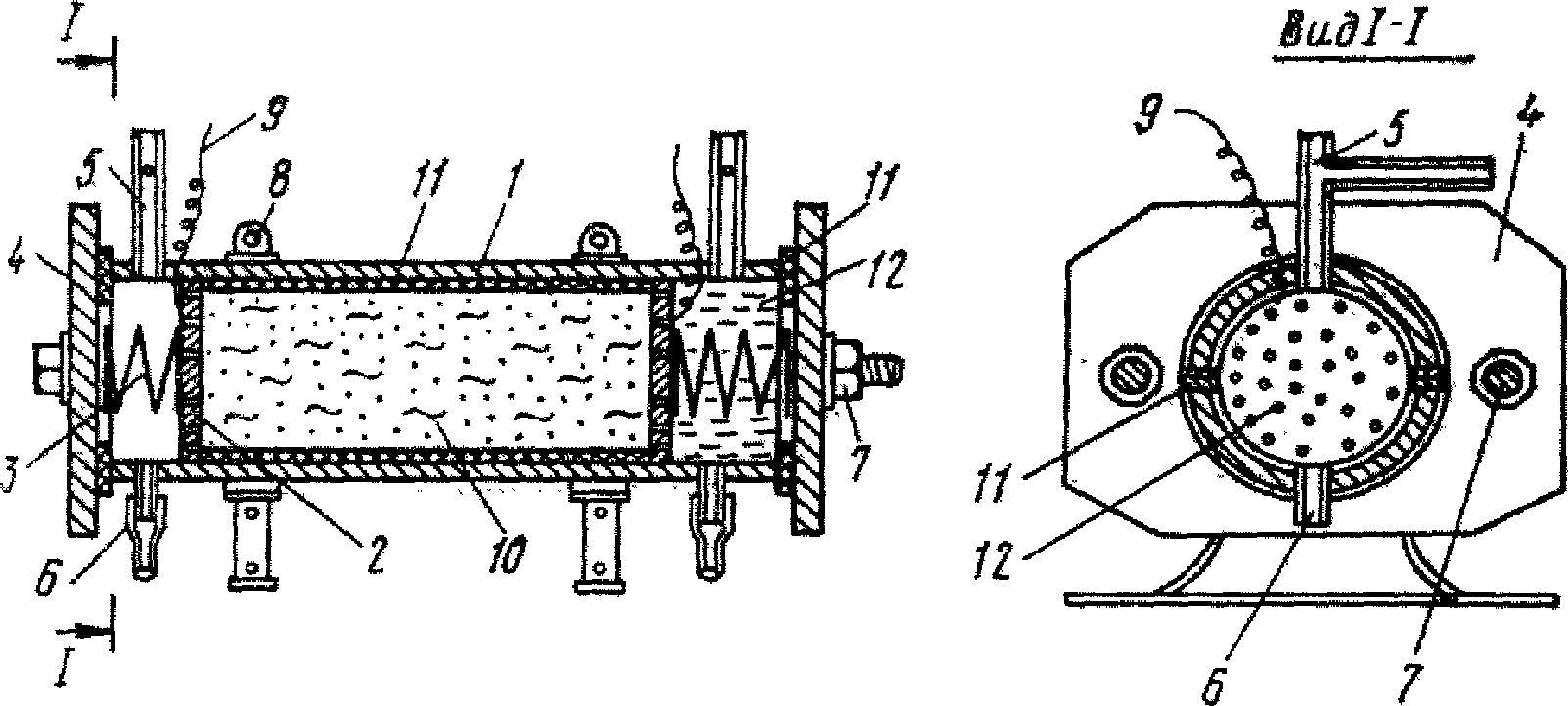
2.9. Инъецирование растворов солей, кислот, оснований рекомендуется производить через специальные самозапирающиеся инъекторы
(рис. 22).
2.10. Погружение инъекторов в грунты рекомендуется осуществлять в заранее пробуренные скважины. Полости между внешними стенками инъекторов и стенками скважин следует заливать шламом из местного грунта и замораживать. В слоях талых грунтов следует использовать цементно-грунтовые растворы.
2.11. Оттаивание мерзлых грунтов растворами при отрицательных температурах должно осуществляться в соответствии с проектами, разработанными на основании данных мерзлотно-геологических изысканий, исследования образцов грунтов, слагающих площадки в лабораторных и полевых условиях, и других материалов.
В состав проектов должны включаться:
планы, разрезы, оптимальные глубины и конфигурации объемов грунтов, подлежащих оттаиванию;
планы расположения и глубины погружения инъекторов;
технологические схемы по оттаиванию с данными о количествах и расходах реагентов, о потребности в других материалах и оборудовании, а также с описанием режимов работы.
Кроме того, должны быть представлены:
а) калькуляция стоимости работ;
б) требования по технике безопасности;
в) требования по контролю качества оттаянных и уплотненных грунтов.
При разработке проектов оттаивания следует руководствоваться "Инструкцией по силикатизации" (Стройиздат, 1973) и материалами настоящего Руководства.
3. ТЕХНОЛОГИЯ УЛУЧШЕНИЯ СТРОИТЕЛЬНЫХ СВОЙСТВ
ВЕЧНОМЕРЗЛЫХ ГРУНТОВ ОТТАИВАНИЕМ ЭЛЕКТРИЧЕСКИМ ТОКОМ
3.1. Предпостроечное оттаивание вечномерзлых грунтов при положительных температурах рекомендуется производить переменным электрическим током с использованием электрических нагревателей, работающих под напряжением на зажимах от 5 - 10 до 20 - 30 В. Рекомендуется использовать нагреватели двух видов: электролитические и омические
(рис. 1).
а) электролитические; б) омические
1 - стержень из арматурной стали; 2 - труба;
3 - изолятор деревянный; 4 - электролит (водопроводная
вода); 5 - концевой изолятор; 6 - сварной конус трубы;
7 - монтажная прокладка деревянная; 8 - проволочная скрутка;
9 - изолятор-заглушка; 10 - штуцер; 11 - прорези в трубе
3.2. Электролитический нагреватель (
рис. 1,
а) - это устройство, состоящее из внешней трубы сравнительно большого диаметра (75 - 100 мм) и внутреннего сердечника (стержень или труба меньшего диаметра), изолированных между собой, в пространстве между которыми происходит нагревание воды, применяющейся в качестве среды, преобразующей электроэнергию в тепло, и передатчика тепла окружающему грунту. Оттаивание грунта нагревателем регулируется уровнем воды в нем или глубиной погружения сердечника (внутреннего электрода).
3.3. Погружение электролитических нагревателей в грунт производится раздельно. Вначале погружаются внешние трубы с наконечниками, а затем в них устанавливаются внутренние тоководы, подсоединяются провода, заливается вода.
3.4. Погружение внешних труб нагревателей в мерзлые грунты может производиться в заранее пробуренные скважины или непосредственной забивкой
(рис. 2).
Рис. 2. Самоходная установка для забивки
дизель-молотом труб в мерзлые грунты
а - установка в сборе; б - труба с инвентарным вкладышем;
1 - головка штангового дизель-молота с весом ударной части
2,5 т; 2 - стальная труба; 3 - стальной инвентарный
стержень жесткости; 4 - конический наконечник
трубы; в - направляющий кондуктор
Предварительное бурение скважин под внешние трубы нагревателей производится станками шнекового бурения, например УРБ и др.
Непосредственная забивка внешних труб нагревателей в мерзлые связные грунты может осуществляться сваебойными установками
(рис. 2) или другими ударными устройствами.
Во избежание деформации трубы при забивке внутрь нее вставляется инвентарный вкладыш, стальная болванка подходящего сечения и длины, извлекаемая для последующего использования после забивки очередной трубы.
3.5. Размещение электролитических нагревателей в плане площадки рекомендуется производить в шахматном порядке с таким расчетом, чтобы каждый из внутренних (в плане площадки) нагревателей был окружен шестью равноудаленными нагревателями (
рис. 3 и
4).
Рис. 3. Оптимальное расположение нагревателей в плане
площадки. Заштрихованы сечения объемов грунта,
самопроизвольно оттаивающих после отключения нагревателей
за счет аккумулированного тепла
Рис. 4. Схема расположения нагревателей в плане площадки
1 - нагреватели; 2 - нивелировочные марки;
3 - температурные скважины
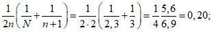
Расстояние между нагревателями в ряду находится по формуле

(4)
а между рядами - по формуле

(5)
где

- радиус оттаивания мерзлого грунта, усредненный для наиболее часто применяемых в практике значений.
Мощность электрического тока, подаваемого на каждый нагреватель, ограничивается тем количеством образующегося тепла, которое в состоянии воспринять грунт через единицу поверхности контакта с нагревателем и передать к движущейся границе оттаивания в единицу времени. При этом температура поверхности нагревателя не может существенно превышать +95 °C, иначе начнется выкипание воды.
Мощность рассчитывается по формуле

(6)
где P = I/U - мощность, как произведение силы тока на его напряжение, приходящаяся на 1 м2, кВт/м2;

- коэффициент теплопроводности оттаянного грунта, ккал/(м·ч·К) или [x 1,16 Вт/(м·К)];

- показатель параболы, аппроксимирующей распределение температуры в цилиндре талого грунта;

,
R0 - радиусы: оттаивания и нагревателя, соответственно, м;
tп, tкр - температуры: поверхности нагревателя и таяния льда в грунте, соответственно, град.
Пример расчета. Найти мощность нагревателя при условиях:

;
tп -
tкр = 90 - 0 = 90 °C
Если площадь греющей поверхности нагревателя диаметром 108 мм выражается в виде
то при этом мощность 1 м нагревателя должна составить:
3.6. Мощность источника электроэнергии для питания электролитических нагревателей рассчитывается исходя из общего числа нагревателей, глубины погружения их в оттаиваемый грунт, мощности, потребляемой 1 м нагревателя.
Пример расчета. Необходимо оттаять мерзлый грунт на площадке, имеющей размер 26 x 26 м, при средней толщине оттаиваемого слоя 10 м. С учетом частичного перекрытия зон оттаянного грунта радиус оттаивания принимается равным 1,2 м. При таких условиях находятся: расстояние между нагревателями в ряду
L = 1,73·1,20 = 2,06 м;
расстояние между рядами нагревателей
H = 0,87L = 0,87·2,06 = 1,8 м;
число нагревателей в ряду
число рядов
число нагревателей 14·16 = 224;
суммарная длина рабочей части нагревателей
10·224 = 2240 м;
потребная мощность электрического тока (при диаметре труб 108 мм и с учетом коэффициента потери мощности на тоководах 1,2)
P = 1,2·2240·0,2 = 538 кВт;
число трансформаторов по 180 кВт каждый - 3 шт.
Расход материалов: трубы диаметром 108 м - 2000 м; арматурная сталь диаметром 26 мм для внутренних тоководов - 2000 м; тоководы для коммутации нагревателей - 1800 м.
Принципиальная схема расположения и коммутации электролитических нагревателей представлена на
рис. 5,
б.
Рис. 5. Схемы расположения в грунте
и подключения нагревателей
а - стадии обработки грунта: 1 - оттаивание; 2 - иссушение;
3 - спекание; а - талый; б - иссушенный; в - спекшийся
грунт; б - электролитические нагреватели; в - омические
электронагреватели: 1 - нагреватели; 2 - коммутационные
шины; 3 - понижающий трансформатор
3.7. Продолжительность оттаивания

мерзлого грунта рассчитывается по формуле

(7)
В качестве примера ниже приводится расчет длительности оттаивания мерзлого грунта по
формуле (7) при следующих условиях:
R0 = 0,055 м - радиус трубы нагревателя;

- радиус оттаивания мерзлого грунта вокруг нагревателя;

- коэффициент теплопроводности талого грунта;
c = 0,21·4,2 = 0,88 кДж/(кг·К) - коэффициент теплоемкости талого грунта;

- объемная масса грунта;

- объемная масса скелета грунта;

- коэффициент температуропроводности грунта (множитель 3,6 введен с целью выражения времени в часах вместо секунд);
W = 0,14 - суммарная влажность грунта в долях единицы массы;
Wн = 0,02 - количество незамерзшей воды в долях массы;
i = W - Wн = 0,14 - 0,02 = 0,12 - содержание льда в мерзлом грунте в долях единицы массы;

- скрытая теплота плавления льда, равная 80 ккал/кг (336 кДж/кг).
| | ИС МЕГАНОРМ: примечание. В официальном тексте документа, видимо, допущена опечатка: формула (7.4) отсутствует. Возможно, имеется в виду Формула (7). | |
Выражая буквенные символы
формулы (7.4) численными значениями и подставляя их в формулу, получаем:
где tп, tг - температура поверхности нагревателя и грунта на границе таяния, соответственно;
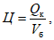
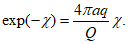
3.8. Удельный расход электроэнергии (в расчете на 1 кубометр оттаянного грунта) находится по формуле

(8)
где P - суммарная мощность электроэнергии, подаваемой на оттаивание грунта всей площадки;
V - суммарный объем грунта, оттаянного на площадке.
Пример расчета: найти затраты электроэнергии на оттаивание 1 м3 грунта при заданных выше условиях.
Размер площадки - 26 x 26; глубина оттаивания - 10 м; объем оттаиваемого грунта - V = 26·26·10 = 6760 м3.
Потребная мощность электрического тока согласно примеру расчета составляет P = 550 кВт.
Время оттаивания согласно предыдущему примеру расчета составляет

.
Подставляя численные значения переменных в
формулу (8), получаем
3.9. Омическими нагревателями называются электрические нагреватели, в которых рабочим телом, преобразующим электрическую энергию в тепло, является стержень из арматурной стали, диаметром 18 - 25 мм, изогнутый в виде скобы (
рис. 1,
б,
в,
г).
Омические электронагреватели, так же как и электролитические, являются низковольтными. Для их питания необходим переменный электрический ток напряжением от 5 - 10 до 30 - 35 В
(рис. 1).
Отличительной особенностью омических нагревателей является высокая эксплуатационная надежность и простота конструкции, многократная оборачиваемость при использовании.
3.10. При оттаивании мерзлых грунтов омическими нагревателями без дополнительных физико-химических и иных воздействий рекомендуются два режима работы:
а) режим кондуктивной передачи тепла от нагревателей в грунт;
б) режим пароконденсационной теплопередачи.
3.11. Расчет параметров процесса, а также элементов, узлов, системы в целом для оттаивания вечномерзлых грунтов омическими нагревателями, работающими в режиме кондуктивной теплопередачи, ничем существенным не отличается от расчета электролитических нагревателей, приведенного в
пп. 3.5 -
3.9. Это же справедливо и в отношении технологии устройства систем для оттаивания и ведения оттаивания.
3.12. В ряде случаев расчет времени оттаивания мерзлого грунта омическими нагревателями, работающими в режиме кондуктивной теплопередачи, следует вести по расходу электроэнергии, а не по температуре поверхности нагревателей, как это предусмотрено
формулой (7). Для этого рекомендуется формула:

(9)
где R - радиус оттаивания;

- коэффициент температуропроводности талого грунта;

- время оттаивания;
K - корень характеристического уравнения, имеющего вид:

(10)
где Q - мощность электрического тока на 1 м нагревателя;

,
a - теплопроводность и температуропроводность талого грунта;
q - теплозатраты на оттаивание льда в кубометре грунта при температуре его плавления.
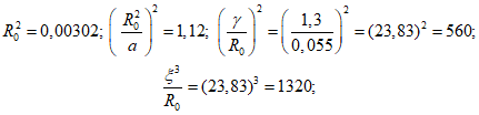
Пример расчета. Задано: коэффициент температуропроводности талого грунта,
a = 0,0032 м
2/ч; удельная мощность нагревателя (на 1 м его длины) - 1 кВт/м, или
Q = 864 ккал/(м·ч); теплозатраты на оттаивание льда в кубометре мерзлого грунта при температуре его плавления

. Здесь:

;
Wс;
Wн,

- скрытая теплота плавления льда; суммарная влажность и количество незамерзшей воды в мерзлом грунте; объемная масса скелета грунта, соответственно.
Требуется рассчитать время оттаивания цилиндра грунта радиусом R = 2,5 м.
Полагая в
формуле (10) 
и группируя в правой части параметры, последнюю можно представить в виде:
Введя обозначения

и

, нетрудно видеть, что в итоге получаются формулы прямой и экспоненты.
Точка пересечения их, как можно видеть на
рис. 6, отвечает координате

при указанных численных значениях параметров:
Рис. 6. Схема номограммы для решения
характеристического уравнения
При других значениях параметров тангенс угла наклона прямой
m к оси

будет другим; другим соответственно будет и решение характеристического
уравнения (10).
Время оттаивания грунта в объеме цилиндра радиусом
R = 2,5 м может быть рассчитано по
формуле (9), преобразованной к виду:
или

.
3.13. Пароконденсационный режим работы омических электронагревателей характерен тем, что на 1 м нагревателя подается мощность энергии, во много раз превышающая мощность при кондуктивной теплопередаче и достигающая величин 2,0 - 2,5 кВ. При этом температура поверхности нагревателя достигает 700 - 800 °C и вода вокруг него в грунте переходит в парообразное состояние. Происходит качественное изменение механизма теплопереноса от нагревателя к границе оттаивания, главную роль в котором начинает играть массопереносная составляющая теплопотоков.
3.14. Резкое повышение энергоемкости нагревателей в пароконденсационном режиме работы позволяет в 3 - 4 раза разредить их сетки в планах строительных площадок и довести до размера 5 x 6 и более метров, что обусловливает сокращение расхода металла и потребность в бурении скважин под нагреватели в 3 - 4 раза, причем без увеличения времени оттаивания.
3.15. Время оттаивания грунта вокруг одиночного нагревателя, работающего в пароконденсационном режиме, оценивается формулой, имеющей аналогичный вид с
формулой (7):

(11)
где R0 - радиус "паровой рубашки" вокруг нагревателя в грунте, равный 0,1 м по опытным данным, при условии, что радиус оттаивания существенно не превышает 3 м. На внешней поверхности "паровой рубашки" температура принимается равной 100 °C;

- эффективный коэффициент температуропроводности талого грунта при мощности нагревателя 2 кВт/м;

- эффективный коэффициент теплопроводности;
Pк и
Pэ - удельная мощность нагревателя пароконденсационной установки кондуктивной теплопередачи [
формулы (10) и
(6)].
При указанных значениях теплофизических коэффициентов время оттаивания, рассчитанное в примере 10, сокращается с 15 до 1,5 сут.
По
формуле (11) на
рис. 7 построены кривые
5 и
6 зависимости продолжительности оттаивания мерзлого грунта от расстояния между нагревателями (
L) при удельной мощности последних 1 и 2 кВт. Эти кривые удобно использовать в качестве номограмм при оценочных расчетах применительно к наиболее типичным вечномерзлым грунтам района Воркуты.
Рис 7. Номограмма для вычисления параметров оттаивания
мерзлого грунта омическими электронагревателями
1 - расход металла при электродном методе оттаивания (эталон
для сравнения); 2 - расход металла при использовании
омических нагревателей; 3 - потребность в погонаже бурения
на 1 м3 оттаянного грунта; 4 - расход металла
при использовании электролитических нагревателей; 5 - время
оттаивания при удельной мощности нагревателя 1 кВт/м;
6 - то же, при 2 кВт/м
На
рис. 7 представлены также кривые, отражающие потребность для оттаивания одного кубометра грунта в бурении скважин и в металле для нагревателей, в зависимости от расстояния между последними.
3.16. Примеры расчета параметров схем оттаивания вечномерзлых грунтов с использованием омических электронагревателей для конкретных объектов приводятся в
прил. 2 настоящего Руководства.
3.17. Сильнольдистые текстурированные грунты после оттаивания зачастую будут нуждаться в повышении прочности, уменьшении сжимаемости под нагрузками, других видах улучшения.
В качестве методов улучшения свойств оттаивающих грунтов рекомендуются: электрообработка постоянным электрическим током, электрохимическая обработка и силикатизация.
Силикатизацию оттаиваемых электроэнергией грунтов рекомендуется производить по двухрастворному методу в соответствии с "Инструкцией по силикатизации грунтов" (М., Стройиздат, 1960), специально приспособленному к условиям оттаивания мерзлых грунтов
(прил. 3).
3.18. В качестве рабочего органа для силикатизации оттаивающих и оттаянных мерзлых грунтов рекомендуется нагреватель-инъектор, совмещающий функции омического нагревателя и инъектора для растворов жидкого стекла и хлористого кальция (прил. 3,
рис. 22).
3.19. Основные технологические операции оттаивания мерзлых грунтов, совмещенного с обработкой реагентами, остаются такими же, как при обычном оттаивании.
Принципиальная совмещенная схема по оттаиванию и обработке реагентами мерзлых грунтов при положительных температурах представлена (прил. 3,
рис. 25).
3.20. Работы по совмещенным оттаиванию и силикатизации грунтов рекомендуется вести в следующем порядке:
1) оттаивание мерзлого грунта примерно на треть общего объема;
2) отключение системы оттаивания и включение системы инъецирования жидкого стекла;
3) отключение системы инъецирования и включение системы оттаивания и ее работа до достижения более двух третей оттаивания общего объема мерзлого грунта;
4) переключение системы оттаивания на систему инъецирования и работа последней на наполнение жидким стеклом всего оттаянного объема грунта;
5) переключение системы с инъецирования жидкого стекла на инъецирование реагента, коагулирующего жидкое стекло (хлористый кальций или аммиак, углекислый газ, другие);
6) включение системы оттаивания для прогрева засиликатизированного объема грунта с целью повышения его прочности.
3.21. Расходы жидкого стекла и хлористого кальция задаются на основании пробного закрепления грунта в лабораторных условиях, а если это необходимо, также в полевых условиях.
3.22. В ходе работ по закреплению оттаивающих и оттаянных грунтов необходимо осуществлять постоянный контроль за соответствием качества закрепляющих растворов проектным требованиям, за их расходом, другими параметрами процесса (температурой, вязкостью).
После окончания закрепления необходимо проверить качество, объем и конфигурацию закрепленного массива в соответствии с "Инструкцией по силикатизации грунтов" М., Стройиздат, 1960.
3.23. Работы по устройству, испытанию по элементам, узлам и в целом системы оттаивания и укрепления вечномерзлых грунтов должны вестись с соблюдением правил их производства и техники безопасности.
Выполняемые работы должны оформляться актами. По окончании работ акты на их выполнение совместно с инструкцией и другой технической документацией, обеспечивающей ввод в эксплуатацию системы оттаивания вечномерзлых грунтов, должны быть переданы руководству строительства.
3.24. Ввод в действие системы оттаивания следует оформлять соответствующими актами.
Все работники, занятые на обслуживании системы, должны быть обучены правилам технической эксплуатации и техники безопасности со сдачей экзаменов и оформлением их результатов в соответствующих журналах.
3.25. В течение периода оттаивания и укрепления вечномерзлых грунтов за работой системы должно вестись непрерывное наблюдение и контроль со стороны специально обученного и прикрепленного слесаря-электрика, а также лаборанта.
В процессе оттаивания и укрепления должны систематически вестись измерения: температуры в контрольных скважинах, осадки поверхности грунта по специально установленным маркам, расхода и параметров электроэнергии
(рис. 4).
3.26. Окончание процесса оттаивания устанавливается по признакам достижения положительных значений температуры по всем скважинам. Для уточненного оконтуривания массива оттаянного грунта и определения физико-механических характеристик оттаянного грунта, в том числе посткриогенной текстуры, следует производить контрольное бурение скважин с отбором образцов для лабораторных анализов и определений.
3.27. После обобщения всех материалов по оттаиванию соответствующим инженерно-техническим работником составляется заключение о достижении проектных параметров оттаивания и физико-механических характеристик оттаянного грунта и дается разрешение на начало работ по устройству фундаментов.
3.28. Оттаивание вечномерзлых грунтов может осуществляться также нагревателями, питаемыми теплом сжигаемого газообразного, жидкого, твердого топлива, а также путем подачи тепла газообразными и жидкими теплоносителями естественных теплоисточников (термальные воды).
3.29. При необходимости безосадочного оттаивания мерзлых грунтов оснований зданий и сооружений, деформировавшихся вследствие морозного выпучивания их фундаментов, следует руководствоваться материалами настоящего раздела, применяя технологию совмещенного оттаивания и закрепления в соответствии с
прил. 3.
4. ТЕХНОЛОГИЯ УЛУЧШЕНИЯ СТРОИТЕЛЬНЫХ СВОЙСТВ ГРУНТОВ
СЛОЯ СЕЗОННОГО ПРОМЕРЗАНИЯ ЭЛЕКТРОХИМИЧЕСКИМ ОТТАИВАНИЕМ
4.1. Электрохимическое оттаивание грунтов деятельного слоя производится с целью:
устройства оснований и фундаментов в зимних условиях;
уменьшения влажности оттаиваемого грунта нагреванием и для уплотнения в целях существенного снижения пучинистых свойств, если в последующем этот грунт будет применен при обратной засыпке пазух;
обеспечения устойчивости фундаментов против выпучивания до их полного нагружения при возможном последующем промерзании грунтов основания.
4.2. В соответствии с
п. 4.1 оттаивание мерзлого грунта с целью ускорения процесса следует производить способом совместного воздействия на него химическими реагентами, электрическим током и механическим нарушением его целостности за счет образования бороздок на поверхности и трещин на глубине. Способ заключается в электропрогреве грунта переменным электрическим током с помощью горизонтальных или вертикальных электродов после нанесения на поверхность снежного покрова между электродами бороздок из сухих солей или наливания раствора соли в бороздки, прорезанные на поверхности грунта, не покрытой снегом.
4.3. С целью увеличения электрической проводимости мерзлого грунта и последующего ускорения его разогрева следует применять реагенты: хлористый калий (KCl) или калийную соль при температуре окружающей среды до минус 10 °C, хлористый натрий (NaCl) до минус 20 °C и хлористый кальций до минус 50 °C.
Примечание. Применение хлористого калия и калийной соли предпочтительно как в целях повышения эффективности оттаивания, так и для дальнейшего использования грунта при благоустройстве территории (посадке растений и др.). Грунт, обработанный хлористым натрием, нельзя укладывать в основание сооружения, а при использовании хлористого кальция нельзя засыпать пазухи, если к моменту промерзания фундаменты не будут полностью загружены.
4.4. Реагенты, перечисленные в
п. 4.3, следует вносить в бороздки из расчета 5 кг сухой соли на 1 кубометр оттаиваемой супеси и 7 кг на 1 кубометр оттаиваемого суглинка. Для внесения реагентов в виде раствора указанное количество соли следует растворить в горячей воде из расчета 250 - 300 г соли на 1 л воды. Для оттаивания одного кубометра грунта необходимо приготовить 20 - 25 литров раствора одного из указанных реагентов.
Примечание. Если оттаиваемые грунты будут использованы для засыпки пазух, а также для благоустройства территории, то необходимо применять хлористый калий или калийную соль, причем при низких температурах в виде концентрированного раствора в подогретом до 60 - 80 °C состоянии. Расчет необходимого количества солей в этих случаях следует производить согласно
п. 6.2.
4.5. Выбор источников электрического тока, величины электрического напряжения между электродами и схем размещения электродов рекомендуется производить из расчета максимальной потребляемой мощности на 1 м
3 протаиваемого обработанного солями грунта - 2 кВт и градиента электрического напряжения между электродами 2 В/см, обеспечивающих оптимальное соотношение между проницаемостью верхних слоев грунта для растворов солей, электрической проводимостью, интенсивностью прогрева и теплопотерями.
4.6. Оттаивание грунтов может производиться горизонтальными и вертикальными электродами. Горизонтальные электроды следует применять для оттаивания грунта до глубины не более 50 см.
4.7. Горизонтальные электроды следует размещать поперек протаиваемой площадки параллельно друг другу. Расстояния между разнополюсными электродами определяются в соответствии с
п. 4.5 с учетом градиента напряжения, равного 2 В/см.
Электроды размещаются на выровненной поверхности грунта в бороздках и присыпаются сверху разрыхленным грунтом. Разнополюсные электроды соединяются бороздками из сухих солей или заполненных растворами. Бороздки с солями или раствором располагаются перпендикулярно электродам. Расстояния между ними на основании опытных данных могут быть рекомендованы в 15 - 20 см.
4.8. Вертикальные электроды забиваются в шахматном порядке и соединяются бороздками с солями или растворами. Расстояние между рядами электродов и электродами в рядах устанавливается в соответствии с
п. 4.5 с учетом уровня теплообмена между грунтом и окружающей средой. На основе опытных данных для различных применяемых напряжений электрического тока могут быть рекомендованы схемы размещения электродов, представленные на
рис. 8.
а) - схема сети электродов для однофазного тока напряжением
36 - 220 В; б) - схема сети электродов для трехфазного тока
напряжением 220 и 380 В; в) - расстояние между рядами
и электродами в рядах при различных напряжениях:

- электроды;

- соединительные провода;
:::::::::::: - бороздка с солью или раствором
4.9. Горизонтальные электроды изготавливаются из полосового или уголкового железа толщиной 3 - 5 и шириной 20 - 30 мм. При большой ширине площадки длинные электроды могут быть смонтированы из отдельных отрезков по 2 - 2,5 м.
Вертикальные электроды могут быть изготовлены из стержневого или уголкового железа и водопроводных труб. Диаметр электродов - 20 - 30 мм, толщина уголкового железа - не менее 5 мм. Длина электродов должна быть на 15 - 20 см больше глубины оттаиваемого грунта. Для удобства закрепления подводящих электрических проводов и монтажа электрических схем на электродах рекомендуется сделать приспособление типа хомутов или другие.
4.10. Технология электрохимического оттаивания включает подготовку площадки, электропрогрев и демонтаж оборудования.
4.11. Подготовка площадки включает следующие операции: удаление посторонних предметов, выравнивание поверхности, разбивку сети электродов, нарезку бороздок, забивку или укладку электродов, вязку электродной сети, проверку ее на отсутствие короткого замыкания, обработку площадки реагентами, укрытие площадки слоем сухих опилок или другой теплоизоляции, огораживание площадки, установку предупредительных знаков и подключение электродной сети к источнику тока.
4.12. Нарезка бороздок может производиться баровыми машинами или рыхлителями, пневматическими молотками или другими способами. Оптимальная ширина и глубина бороздок 5 - 7 см.
4.13. Забивка электродов может производиться на всю глубину протаиваемого грунта сразу или постепенно - по мере увеличения глубины промерзания. Забивка на всю глубину может быть механизирована, например, с помощью машины УГМ-150-2, изготовляемой Новосибирским трестом "Строймеханизация" N 1. Дозабивка в процессе протаивания должна производиться при отключенной от источника тока сети электродов.
4.14. Толщина слоя теплоизоляции должна составлять при использовании сухих опилок не менее 20 см либо быть эквивалентной этому слою при использовании других теплоизолирующих материалов.
4.15. Электропрогрев следует производить до достижения глубиной протаивания 2/3 от запланированной глубины. Дальнейшее протаивание грунта должно происходить за счет аккумулированного тепла при отключенной от источника электрического тока сети электродов. Глубину оттаивания следует определять путем прокалывания грунта на середине расстояния между рядами электродов металлическим щупом диаметром 5 - 8 мм при отключенной от источника тока сети электродов.
4.16. Контроль за ходом процесса протаивания и величинами электрических параметров должен осуществляться по показаниям электроизмерительных приборов и фиксироваться в специальном журнале
(прил. 6) через каждые 3 ч.
4.17. Демонтаж оборудования следует проводить после достижения запланированной глубины протаивания. Операции по демонтажу включают: отключение сети электродов от источника тока, удаление электродов из грунта, снятие ограждения и предупредительных знаков.
4.18. Все электротехнические работы по подготовке площадки, электропрогреву и демонтажу оборудования должны выполняться с применением материалов, оборудования и приборов, соответствующих действующим на них нормам, лицами, аттестованными для проведения соответствующих работ, с соблюдением всех норм и требований на выполнение самих работ и правил техники безопасности.
5. ТЕХНОЛОГИЯ ЭЛЕКТРОХИМИЧЕСКОГО УКРЕПЛЕНИЯ
СЕЗОННОПРОМЕРЗАЮЩИХ ГРУНТОВ
5.1. Электрохимический способ должен применяться для укрепления водонасыщенных связных (суглинистых и глинистых) грунтов, имеющих коэффициент фильтрации менее 0,01 м/сут и находящихся в мягкопластичном и текучем состоянии.
5.2. Электрохимическое укрепление связных водонасыщенных грунтов достигается благодаря их электрообработке постоянным электрическим током и насыщению, под действием тока, химическими реагентами (электролитами), вводимыми через цилиндрические электроды, погруженные в определенном порядке в грунт. Одновременно из катодов удаляется электроосмотически выделяющаяся грунтовая вода.
5.3. При выполнении работ по электрохимическому укреплению грунтов необходимо определять:
схему размещения электродов, расстояния между ними, а также глубину укрепления и размеры захватки;
параметры постоянного электрического тока и режимы электрообработки, включая продолжительность;
состав и количество растворов электролитов;
режимы введения электролитов;
элементы электрической сети.
5.4. Схема размещения электродов на участке должна выбираться исходя из его геометрических размеров и цели применения электрохимического способа. При укреплении грунтов по периметру выработок или сооружений должны приниматься двух- или трехрядные схемы прямые или шахматные. При укреплении грунтов по площадям должны применяться главным образом сотовые или многорядные схемы (прямая и шахматная). Рациональные соотношения расстояний между электродами, а также размеры зон плоскопараллельного поля для указанных схем размещения электродов принимаются по
табл. 1.
N п.п. | Название схемы | Схема размещения электродов | Рациональное отношение размеров | Зона плоскопараллельного поля | Расчетная формула сопротивления |
1 | 2 | 3 | 4 | 5 | | 7 |
1 | Двухрядные | Прямая | | | 0,7 | |
2 | Шахматная | | | 0,6 | |
3 | Комбинированная | | | 0,8 | |
4 | Трех- и многорядные | Прямая | | | 0,85 | |
5 | Шахматная | | | 0,8 | |
6 | Со сдвоенными рядами | | | 0,90 | |
7 | Сотовая | Сотовая | | - | 0,90 | |
Условные обозначения:

- удельное электрическое сопротивление грунта;
hз - мощность закрепляемого горизонта;
N - число пар электродов различной полярности;
n - общее число электродов на захватке;
d - диаметр электродов;
nа - число анодов;
rа, rк - радиус анодов и катодов;
k - число сот (ячеек) на захватке;

- аноды;
о - катоды;
a - расстояние между разноименными электродами;
b - расстояние между одноименными электродами;
L - длина захватки;
B - расстояние между одноименными рядами в многорядных схемах;
c - расстояние между рядами одноименных электродов.
5.5. Расстояние между разнополярными электродами назначается исходя из величины номинального напряжения, создаваемого источником постоянного тока:

(12)
где U - номинальное напряжение источника тока, В;
E - оптимальная напряженность электрического поля, принимаемая равной 2 В/см.
5.6. Ширина участка межэлектродного пространства, в пределах которого достигается надежное укрепление грунта, принимается в соответствии с
табл. 1 гр. 6.
Глубина укрепления сезоннопромерзающих грунтов определяется конструктивными особенностями сооружения, требуемой прочностью грунтового основания и глубиной промерзания. В случае если требуемая глубина укрепления превышает 2 - 2,5 м, то работы должны производиться послойно, заходками, глубина которых не должна превышать 2 - 2,5 м.
5.7. Длина или площадь одновременно обрабатываемого участка определяется исходя из номинальной мощности предполагаемого источника постоянного тока.
Оптимальная сила тока в электрической сети I0 равна:

(13)
где N - номинальная мощность источника тока, Вт;
U - максимальное напряжение тока предполагаемого источника, В;
1,2 - коэффициент, учитывающий переходное сопротивление на границе электрод-грунт.
Максимально допускаемое электрическое сопротивление R, Ом, укрепляемого объема грунта определяется из выражения

(14)
По величине
R в соответствии с принятой схемой размещения электродов из формул, приведенных в
табл. 1, определяется требуемое число электродов (или пар электродов), а затем длина захватки
L. При этом величина удельного электрического сопротивления

принимается согласно натурным измерениям или по
табл. 2.
Вид грунта | Влажность, % | Удельное сопротивление, Ом·см,  | Среднее значение объемного коэффициента электроосмоса, см3/кл (Kо.э) |
Супеси | 10 - 20 | 3000 - 4000 | 0,06 |
Суглинки | 18 - 28 | 2000 - 3000 | 0,08 |
Глина | 40 - 70 | 1000 - 2000 | 0,09 |
Илы | 60 - 80 | 500 - 1000 | 0,1 |
5.8. Продолжительность пропускания электрического тока определяется по формуле

(15)
где
S' - расстояние, определяемое по
табл. 3 в зависимости от принятой схемы размещения электродов;
V0 - скорость продвижения ионов в грунте, значение которой принимается в среднем равным 0,3 см2/(ч·В) независимо от вида ионов;
| | ИС МЕГАНОРМ: примечание. В официальном тексте документа, видимо, допущена опечатка: имеются в виду пункты 5.5 - 5.6, а не пункты 5 - 6. | |
a - расстояние между разнополярными электродами принимается по
пп. 5 -
6 и
табл. 1.
N п.п. | Схема размещения электродов | Расстояние S' |
1 | Однорядные | |
2 | Двухрядные (прямые), многорядные (шахматные) | 1,7a |
3 | Сотовая | 1,4c |
Примечание. Значения
a,
c и
b принимаются в соответствии с
п. 5.5 по
табл. 1.
5.9. Если по расчетным данным требуемая прочность укрепленного грунта не превышает 4 - 5 кгс/см
2, то в качестве анодного электролита применяется 10 - 15%-ный раствор хлористого кальция и смесь 5%-ных растворов алюмокалиевых квасцов KAl(SO
4)
3·12H
2O и сернокислого окисла железа Fe
2(SO
4)
3. При этом раствор хлористого кальция вводится в первую треть времени укрепления с периодически (через 4 - 6 ч) удваиваемой концентрацией, начиная от 0,5% до предельной. Смесь 1:1 растворов квасцов и железа вводится во вторую треть, а в заключительную треть времени укрепления растворы в аноды не вводятся. В это время происходит подсушивание грунта.
В качестве катодного электролита применяется раствор жидкого стекла плотностью 1,35 г/см3. При этом катодный раствор вводится в течение всего периода укрепления.
5.10. При необходимости получения более высоких показателей физико-механических свойств связных грунтов (прочности до 12 - 16 кгс/см2, водонепроницаемости, полной ликвидации пучинистости, высокой морозостойкости) в качестве электролитов целесообразно применять растворы мономеров мочевиноформальдегидной смолы.
При этом в первую треть периода электрообработки через аноды в грунт вводится композиция, состоящая из 20 частей (по объему) 15%-ного раствора мочевины (тиомочевины) и одной части 3%-ного раствора щелочи NaOH. Во вторую треть периода вводится смесь 20:1 формальдегида плотностью 1,05 - 1,09 г/см3 и щелочи NaOH плотностью 1,03 г/см3.
В заключительную треть периода электрообработки в аноды вводится раствор формальдегида плотностью 1,05 - 1,09 г/см3.
В катоды в течение всего периода электрообработки методом циркуляции вводится композиция, состоящая из одной части раствора мочевины и одной части раствора жидкого стекла исходных концентраций, указанных в
табл. 4.
Периоды | Рациональные плотности (концентрации) катодного электролита, г/см3 |
обозначение | жидкое стекло | мочевина |
В начале цикла | | 1,35 | 1,08 |
В конце цикла | | 1,1 | 1,03 |
До разбавления | | 1,4 - 1,5 | 1,14 |
5.11. Для удаления электроосмотически выделяющейся на катодах воды и обеспечения постоянной концентрации катодных электролитов рекомендуется применять катоды специальной конструкции
(рис. 9), в которых раствор рабочей концентрации из емкости через распределительную сеть и внутреннюю трубу поступает в нижнюю часть песчаной засыпки. Циркулируя через песчаную засыпку с расчетной скоростью, катодный электролит отдает анионы в грунт и увлекает на поверхность выделяющуюся воду. Отработанный раствор через коллектор попадает в сборочную емкость, где производится его смешивание с высококонцентрированным электролитом до рабочей концентрации, а затем перекачивается насосом в расходную емкость для последующего использования.
Рис. 9. Специальные катоды
1 - анод; 2, 3, 6 - расходные емкости электролитов;
4, 7 - распределитель; 5 - песчаная засыпка;
8 - катодная труба; 9 - герметизирующий кондуктор;
10 - коллектор; 11 - смесительный бак

направление движения катионов;

направление перемещения анионов
Скорость циркуляции раствора (Vц) определяется из условия его предельного разбавления или из условия перехода всех анионов в грунт.
Исходя из первого условия:

(16)
где nк - число катодов;
dс - диаметр скважины, см;
E - напряженность электрического поля, В/см, равная

(17)

,

- плотность катодного раствора в начале и в конце цикла циркуляции, г/см
3;
S' - расстояние, определяемое по
табл. 3;
Kо.э - объемный коэффициент электроосмоса, см
3/кл, принимается по
табл. 2;
j - линейная плотность тока на электроде

(18)
I - сила тока, проходящего через один катод, А;
hз - глубина закрепления, см;
m - геометрическая характеристика электрода, см,

(19)
Sз - площадь поперечного сечения песчаной засыпки электрода, см2.
Исходя из второго условия:

(20)
где
lз - толщина песчаной засыпки, равная разности радиусов скважины и катодной трубы. При диаметре скважины 90 - 100 мм

.
Наибольшее из двух значений Vц принимается за расчетную величину скорости циркуляции катодного раствора.
5.12. Количество катодного раствора, л, прошедшего через песчаную засыпку всех катодов, будет равно:

(21)
где
T - продолжительность процесса укрепления, ч, определяемая по
п. 5.8;
nк - число катодов на захватке.
5.13. Исходя из объема смесительного или расходного баков, назначается число циклов (Ц) циркуляции катодного раствора:

(22)
где Vб - объем расходного бака, обычно принимается равным 0,5 - 1,0 м3.
| | ИС МЕГАНОРМ: примечание. В официальном тексте документа, видимо, допущена опечатка: таблица 5.2 отсутствует. Возможно, имеется в виду таблица 2. | |
5.14. Количество воды
Qв, л, которое выделяется из грунта в процессе его закрепления в соответствии с
пп. 5.7,
5.8 и
табл. 5.2, составит:

(23)
5.15. Количество исходного катодного раствора Q1к, л, перед началом каждого нового цикла равно:

(24)
где

и

- наиболее рациональные плотности катодных растворов, значения которых приведены в
табл. 4.
5.16. После окончания одного цикла необходимо уменьшать количество раствора на величину, равную

(25)
и смешать с таким же количеством высококонцентрированного раствора плотностью

по
табл. 4.
5.17. Необходимое количество компонентов анодных электролитов G в пересчете на их безводный остаток определяется выражениями:
при рядовых схемах размещения электродов

(26)
при сотовой схеме

(27)
где n - пористость грунта в долях единицы;
L - длина захватки, см;
m - число разнополярных промежутков в рядовых схемах размещения электродов;
K - число сот на захватке;
А,
Б - числовые коэффициенты, принимаемые по
табл. 5.
N п.п. | Наименование химического вещества | Физическое состояние | Значения коэффициентов |
А | Б |
1 | Хлористый кальций | Кристаллический порошок | 0,1 | 0,5 |
2 | Сернокислое железо | То же | 0,05 | 0,25 |
3 | Алюминиевые квасцы | " | 0,05 | 0,25 |
4 | Мочевина (тиомочевина) | " | 0,15 | 0,75 |
5 | Формальдегид | Водный раствор 37%-ный | 1,5 | 8 |
Количество сухой навески сернокислого окисного железа и безводной соли алюмокалиевых квасцов принимается равной половине навески хлористого кальция.
Примечание. При использовании реагентов другой концентрации значения коэффициентов А и Б следует изменять пропорционально.
5.18. Количество соляной кислоты
Gк исходной концентрации (39%) определяется исходя из нужного количества раствора мочевины рабочей концентрации:

(28)
где

- масса мочевины в пересчете на безводный остаток, кг;

- показатель величины разбавления компонентов до расчетной концентрации

(29)
cраб - рабочая концентрация раствора мочевины cраб = 15%;
0,02 - объемное соотношение 2%-ного раствора соляной кислоты и раствора мочевины рабочей концентрации;
19 - степень разбавления соляной кислоты от исходной концентрации (39%) до рабочей (cраб = 2%).
5.19. Количество сернокислого окисного железа при использовании его в качестве окислителя мономеров определяется аналогично
п. 5.18. При этом степень разбавления (знаменатель дроби) принимается равным 25.
5.20. При температуре закрепляемого грунта ниже +18 °C электролитическая обработка должна производиться с применением модулированного электрического поля
(рис. 10), обеспечивающего направленное развитие всех физико-химических процессов в грунте и одновременный его подогрев до оптимальной температуры. При этом параметры постоянного электрического тока определяются согласно
п. 5.7.
Рис. 10. Принципиальная схема электрохимической обработки
совмещенными полями
Параметры переменного электрического тока, главным образом величина напряжения, определяются для двух режимов работы: режима разогрева укрепляемого грунта от исходной температуры в среднем до +18 °C (нестационарный режим) и режима поддержания температуры укрепляемого грунта в пределах 18 - 21 °C (стационарный режим).
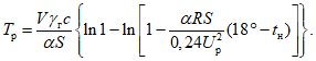
5.21. Необходимое время (Tр) для разогрева грунтов до температуры +18 °C определяется из выражения

(30)
При заданном времени разогрева требуемая величина напряжения переменного тока Uр будет равна:

(31)
Требуемое напряжение переменной составляющей электрического поля в стационарном режиме (Ucm):

(32)
где V - объем укрепляемого грунта, м3;

- объемный вес грунта, кгс/м
3;
C - теплоемкость укрепляемого грунта, ориентировочно c = 0,2 ккал/(кг·град);

- коэффициент теплопередачи грунта ккал/(м
2·ч·град);
S - боковая поверхность массива укрепляемого грунта, м2;
tн - начальная температура укрепляемого грунта на верхней границе горизонта.
5.22. Расчет сечения магистральных кабелей и подводящих проводов производится из условия их временной эксплуатации. В этом случае допустимая токовая нагрузка составляет 8 - 10 А/мм2. Вся электрическая сеть делится на 3 участка: общую магистраль, разводящие линии и подводящие провода, которые должны рассчитываться самостоятельно. Так, сечение магистрального кабеля S0, м2, равно:

(33)
Сечение кабеля отдельной линии, Si, мм2, питающей ряд электродов:

(34)
Сечение питающих проводов Sg, мм2 (провода от разводящих линий к электродам)

(35)
где
Iо - общая сила тока, определенная по
п. 5.8;
j - допустимая токовая нагрузка при временной эксплуатации сети (j = 8,0 - 10,0 А/мм2);
i - число разветвлений магистрали;
g - число пар электродов, используемых при закреплении.
5.23. Состав работ по электрохимическому закреплению сезоннопромерзающих связных грунтов включает в себя:
определение электрических и электроосмотических характеристик укрепляемого грунта;
устройство скважин под электроды;
погружение электродов;
монтаж водоотводящей, электрической и измерительной сетей;
приготовление электролитов;
электрическую обработку грунта;
контроль качества укрепления грунта;
извлечение электродов;
заделку электродных скважин.
5.24. Определение электроосмотических и электрических характеристик грунта производится на образцах грунта ненарушенной структуры по методике, изложенной в
прил. 4.
5.25. Устройство скважин под рабочие электроды производится с помощью малогабаритной буровой установки типа УПБ-25 или другого бурового инструмента.
Диаметр скважин под трубчатые электроды должен быть на 10 - 15 мм меньше диаметра электродов. Диаметр скважин под электродные колонки должен составлять 70 - 100 мм. Глубина электродных скважин должна быть больше глубины укрепления грунта на 30 - 50 см.
5.26. Скважины под электродные колонки после их пробуривания и установки осевых тоководов засыпаются крупнозернистым песком, а устья герметизируются специальными кондукторами или мятой глиной с паклей. В качестве токовода анодов используется арматурная сталь, а для катодных колонок - стальные трубы 1/2 - 3/4 с перфорированной поверхностью на 1/3 длины. При этом перфорированная часть трубы должна иметь фильтр из металлической или хлопчатобумажной сетки.
5.27. Погружение трубчатых электродов производится с помощью вибропогружателей, копровых устройств легкого типа, пневмомолотками или вручную.
В слабых оплывающих грунтах скважины не устраиваются, а электроды на всю глубину погружаются перечисленными способами. После погружения электродов производится их промывка водой восходящим потоком или продувка сжатым воздухом.
5.28. Монтаж водоотводящей и растворной сетей производится из стальных труб диаметром 1/2 - 3/4 или вакуумных резиновых шлангов.
При небольших размерах захваток (до 50 м2) и применении трубчатых электродов растворная и водоотводящая сети не устраиваются, а заливка электролитов в аноды и удаление воды из катодов осуществляется периодически с помощью ручных насосов типа СКФ и БКФ.
5.29. Монтаж электрической сети включает в себя прокладку на поверхности грунта или площадки магистрального двухжильного кабеля расчетного сечения и его соединение с электродами одножильным проводом марки ПР-500 или ПРГ.
Соединение проводов производится на клеммах или на болтах с тщательной изоляцией мест соединений. При прокладке электрической сети особое внимание обращается на принятие мер, обеспечивающих ее защиту от случайных механических повреждений. Защита на рабочих участках достигается путем прокладки кабеля в грунте или в стальных трубах, а на участках, где нет движения транспорта и людей, кабели закрепляются на козлах или опорах высотой 10 - 15 см над поверхностью земли. После окончания монтажных работ производится замер общего сопротивления электрической цепи, включая укрепляемый объем грунта, с целью уточнения расчетных параметров.
5.30. Приготовление растворов минеральных солей заданной концентрации производится в расходных емкостях в следующем порядке:
определяется количество химического вещества исходя из заданной концентрации раствора и имеющейся в наличии емкости;
производится взвешивание реагентов на весах с точностью до 10 г и их растворение в воде при t = 60 - 70 °C.
При этом объем горячей воды принимается равным 5 - 10-кратному весу химического вещества. Полученный концентрированный раствор разбавляется технической или питьевой водой до требуемой концентрации или плотности, определяемой денсиметрами (ареометрами).
5.31. Приготовление раствора мономеров заданной концентрации должно производиться в трех-четырех резервных емкостях. В одной из них готовится раствор мочевины плотностью 1,04 - 1,073, в другой - раствор формальдегида плотностью 1,044 - 1,076, в третьей - раствор соляной кислоты плотностью 1,009 - 1,019 или раствор сернокислого окисного железа плотностью 1,016 - 1,033, в четвертой - раствор тиомочевины плотностью 1,038 - 1,070. Тиомочевину необходимо разбавлять теплой водой (50 - 60 °C). Формалин должен храниться в закрытой стеклянной таре.
Смешение компонентов в заданных пропорциях производится только перед употреблением в смесительном баке, объем которого должен обеспечивать работу в течение 4 - 6 ч.
5.32. Электролитическая обработка грунтов производится с соблюдением расчетных режимов и параметров электрического тока, определенных в соответствии с
п. 5.7, а также последовательности введения электролитов согласно
п. 5.9.
Для обеспечения циркуляции катодного электролита расходный бак с раствором должен размещаться на специальной подставке выше головок катодов не менее чем на 1 - 1,5 м. Регулирование скорости циркуляции производится с помощью пробкового крана, устанавливаемого на обратной магистрали перед смесительным баком. После прохождения через катоды раствора в количестве, равном объему расходного бака, из смесительного бака в резервную емкость сливается отработанный раствор, доводится его плотность до расчетной, определяемой согласно
п. 5.9, и насосом перекачивается в расходный бак. Циклы циркуляции катодного электролита повторяются в течение всего времени обработки.
5.33. В процессе электрообработки необходимо периодически контролировать:
напряжение постоянного и переменного электрического тока в цепи не реже трех раз в сутки; допускается отклонение от расчетной величины не более 10%;
нагрузку по постоянному току на каждый электрод; отклонения от расчетной величины не должны превышать +/- 15%;
температуру укрепляемого грунта, которая должна быть равной 18 - 20 °C;
расход электроэнергии и продолжительность электрообработки.
Продолжительность электрообработки должна соответствовать расчетной величине, определенной по
п. 5.8, и быть не менее 100 - 150 ч, а расход электроэнергии должен составлять не менее 80 - 90 кВт·ч на один кубический метр обработанного грунта.
Результаты контроля заносятся в специальный журнал (см.
прил. 5).
5.34. Качество укрепления сезоннопромерзающих грунтов проверяется путем испытания контрольных образцов, полученных контрольным бурением скважин или вскрытием шурфов.
Контрольное бурение производится колонковым способом и не ранее чем через трое суток после окончания электрообработки. Диаметр контрольных скважин должен быть не менее 85 мм. Отбор образцов должен производиться через каждые 50 - 70 см глубины скважины в пределах укрепляемого горизонта. Контрольные скважины должны располагаться по контуру укрепляемого участка, в середине между разнополярными электродами, а также на участках с большими отклонениями параметров тока от расчетных. Число контрольных скважин должно составлять не менее 5 - 10% общего числа электродов, а число шурфов назначается из расчета один шурф на 40 - 50 м3 укрепляемого грунта.
5.35. При получении положительных результатов контроля качества укрепления производится демонтаж электрической и растворной сетей, извлечение электродов и тампонаж скважин.
Извлечение электродов осуществляется с помощью домкратов, вибропогружателей легкого типа или крановым оборудованием.
В целях снижения усилий выдергивания электродов необходимо предварительно производить их "добой" на 10 - 15 см средствами, применяемыми для погружения.
Тампонаж скважин, образовавшихся после извлечения из укрепленного грунта трубчатых электродов, должен производиться грунтоцементной смесью или пескобетоном с периодическим штыкованием.
6. ТЕХНОЛОГИЯ УЛУЧШЕНИЯ СТРОИТЕЛЬНЫХ СВОЙСТВ ГРУНТОВ
СЛОЯ СЕЗОННОГО ПРОМЕРЗАНИЯ ПРОТИВОПУЧИННОЙ СТАБИЛИЗАЦИЕЙ
6.1. Мероприятия по противопучинной стабилизации одновременно являются мероприятиями по упрочнению пучинистых грунтов и обеспечению беспучинного промораживания при проходке горных выработок при устройстве фундаментов.
6.2. Для предупреждения пучения сезоннопромерзающих оттаивающих грунтов, а также для обеспечения беспучинного промораживания и упрочнения при оттаивании в целях повышения устойчивости сооружений, фундаменты которых размещаются в толще этих грунтов или на их поверхности, рекомендуется применять какой-либо из перечисленных ниже реагентов:
1) калий хлористый;
2) калийные соли;
3) калий хлористый и натрий хлористый в соотношении 1:1;
4) калиевое жидкое стекло;
5) натриевое жидкое стекло.
Калийные соли часто представляют собой так называемые сырые соли, состоящие главным образом из сильвинита (mKCl + nNaCl) в меньшей степени каинита KCl·MgSO4·3H2O с примесью NaCl.
Калиевое и натриевое жидкое стекло - вязкие водные растворы силиката калия (K
2O·
nSiO
2) и силиката натрия (NaO·
nSiO
2). В промышленном изготовлении они характеризуются удельной массой, равной 1,45 - 1,50 г/см
3. Модуль жидкого стекла

. Для обработки грунта рекомендуется применять жидкое стекло с модулем в пределах 2,3 - 3,5.
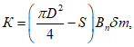
6.3. Расчет количества (
К) какого-либо из перечисленных в
п. 6.2 реагентов, необходимого для обработки грунта при площадной противопучинной стабилизации, производится по формуле

(36)
где S - площадь обрабатываемого грунта, м2;
H - толщина слоя обработки, равная 2/3 слоя сезонного промерзания-оттаивания, м;

- объемная масса скелета грунта, кг/м
3 (Н/м
3);
m - расход реагентов, кг на 1 кг грунта (Н массы реагента на Н массы грунта).
Величина m определяется из выражения
m = ME·10-6, (37)
где M - молекулярный вес вносимой соли, г;
E - емкость поглощения грунта, мг·экв на (100·10) 1 кг грунта.
Пример расчета. Для противопучинной стабилизации применяется KCl.
M + 39к' +35,5Cl' = 74,5 г;
E = 34 мг·экв на 100 г, а на 1 кг - 340.
Тогда m = 74,5·340·10-6 = 25 г/кг грунта.
В случае применения калиевого и натриевого жидкого стекла
m берется по
табл. 6.
N п.п. | Реагенты | Расход реагентов на 1 кг сухого грунта |
% | кг | л |
1 | Калиевое жидкое стекло - водный раствор плотностью 1,45 г/см3 | 2 | 0,02 | 0,013 |
2 | Натриевое жидкое стекло - водный раствор плотностью 1,45 г/см3 с добавкой 6,3 г калия хлористого технического на 1 кг стекла | 8 | 0,08 | 0,055 |
Примечания: 1. Природные грунты в зависимости от дисперсности и минералогического состава характеризуются различной обменной емкостью поглощения и различным составом обменных катионов. Поэтому в каждом случае применения противопучинной стабилизации необходимо определять емкость поглощения грунта и состав обменных оснований.
2. Противопучинной стабилизации подвергаются грунты, в поглощающем комплексе которых соотношение между многовалентными и одновалентными катионами превышает 1:4 (многовалентные катионы составляют 1/4 емкости поглощения и больше).
3. Для определения емкости поглощения и состава обменных оснований следует пользоваться методикой, изложенной в книге: "Методические пособия по инженерно-геологическому изучению пород". Т. I. Издательство МГУ, 1968.
6.4. Расчет количества (
К) какого-либо из перечисленных реагентов, необходимого для обработки грунта вокруг свай, производится по формуле

(38)
где D - диаметр цилиндра, в пределах которого грунт подлежит химической обработке, принимается на 0,5 м больше диаметра или стороны поперечного сечения сваи;
S - площадь поперечного сечения сваи, м2;
Bn - глубина обработки грунта вокруг сваи, м;

- объемный вес (объемная масса) скелета грунта, кг/м
3;
m - расход реагента, определяемый согласно
п. 6.3.
6.5. Реагенты, перечисленные в
п. 6.2, за исключением калиевого и натриевого жидкого стекла, применяются в виде сухих сыпучих солей.
6.6. Калиевое и натриевое жидкое стекло применяется в виде растворов, разбавленных водой в соответствии с естественной влажностью грунта, подлежащего обработке. Величина разбавления и плотность полученных растворов определяются по графику
(рис. 11).
Рис. 11. График определения количества воды,
необходимого для разбавления раствора, и плотности
полученного после разбавления раствора
Пример: 1. Расчетное количество жидкого стекла

;
G = 100 л.
2. Естественная влажность W = 20%.
Необходимо определить количество воды для разбавления и плотность полученного после разбавления раствора.
Для этого по графику H = f(We) находим, что при влажности 20% жидкое стекло необходимо разбавлять в 1,5 раза, т.е. до 100 литров жидкого стекла требуется добавить 150 литров воды.
Соответственно по графику

находим, что плотность полученного раствора при разбавлении в 1,5 раза составляет примерно 1,18 г/см
3.
6.7. Приготовление растворов производится в деревянных или металлических емкостях. При приготовлении натриевого жидкого стекла предварительно растворить хлористый калий в количестве 6,3 г на каждый кг стекла промышленного изготовления.
Примечание. При приготовлении раствора жидкое стекло следует лить в воду.
6.8. Технология обработки грунта реагентами в случае применения солей чрезвычайно проста: она состоит из откопа лунки вокруг сваи и засыпки в эту лунку соли, поскольку в процессе добивки сваи до заданной глубины соль равномерно затягивается вглубь по ее периметру.
При обработке грунта растворами помимо приготовления реагентов должно быть предусмотрено бурение скважин, установка и сборка системы для нагнетания растворов.
6.9. Глубина обработки грунта (
Bn) реагентом вокруг сваи в радиусе 0,25 м всегда должна быть равной: при влажности на границе раскатывания - 2/3, а при влажности, большей, чем на границе раскатывания, - 1/2 слоя сезонного промерзания-оттаивания.
6.10. Обработка грунта одной из рекомендуемых в
п. 6.2 солей производится следующим образом: как только величина добивки до проектной отметки погруженной сваи станет равной глубине обработки грунта
Bn, принятой в соответствии с
п. 6.9, забивка приостанавливается, а вокруг сваи откапывается лунка глубиной 10 - 15 см, в которую засыпается равномерно по периметру рассчитанное согласно
п. 6.4 количество соли, а затем свая добивается до проектной глубины.
Примечание. Вместо лунок могут быть использованы разъемные хомуты соответствующей формы; периметр нижней части хомута должен быть на 8 - 10 см больше периметра поперечного сечения сваи.
6.11. При установке свай в предварительно пробуренные скважины обработку грунта солями следует производить по ходу обратной засыпки пазух (засвайного пространства). Соли следует вносить порциями через каждые 0,2 м, начиная с глубины Bn = 0,2 м вверх по ходу обратной засыпки. Массу одной порции (Кn) рассчитывать по формуле

(39)
где
К - рассчитанное количество соли для обработки грунта в соответствии с
п. 6.4 на всю глубину
Bn согласно
п. 6.9.
Последняя порция соли перемешивается с грунтом непосредственно в позасвайном пространстве.
Примечание. Обратная засыпка должна производиться измельченным грунтом.
6.12. Обработку грунта жидкими реагентами, перечисленными в
пп. 6.6 и
6.8, рекомендуется производить с помощью инъекторов, сконструированных на основе пневматических вибраторов С-698, С-699
(рис. 12). Для этого перед забивкой сваи пробуривается скважина на глубину
Bn (в соответствии с
п. 6.9) диаметром, равным диаметру инъектора.
Рис. 12. Конструктивная схема
виброинъектора пневматического действия
1 - краник для подачи сжатого воздуха в вибратор;
2 - резиновое разуплотнительное кольцо; 3 - краник
для удаления воздуха из системы; 4 - корпус инъектора
из металлической трубы,

;
5 - шланг для подачи
воздуха; 6 - шланг для выпуска отработанного воздуха;
7 - шланг для подачи раствора; 8 - внутренний корпус
инъектора; 9 - наружный корпус инъектора; 10 - головка;
11 - полый бегунок; 12 - выпускные отверстия;
13 - краник для подачи раствора в инъектор
В скважину опускается виброинъектор с включенным пневмодвигателем. Для предупреждения утечки раствора по затрубному пространству в устьевой части ввинчивается тампонажное устройство
(рис. 12).
Рядом со скважиной устанавливается бачок и подключается система для производства инъекции раствора в грунт
(рис. 13).
Рис. 13. Рабочая схема по нагнетанию
растворов реагентов в грунт
1 - виброинъектор; 2 - бачок для раствора; 3 - устройство
для измерения объема в бачке; 4 - краник для перекрытия
подачи сжатого воздуха; 5 - манометр; 6 - воронка
для залива раствора в бачок; 7 - краник для подачи раствора
из бачка в шланг виброинъектора; 8 - краник для подачи
раствора в инъектор; 9 - краник для подачи сжатого воздуха
на виброинъектор; 10 - краник для удаления воздуха
из инъектора; 11 - втулка с зажимной гайкой и резиновым
кольцом, предотвращающим утечку раствора по стенкам
инъектора; 12 - груз для прижима тампонажной плиты;
13 - гайка с резиновым кольцом для предохранения вытекания
раствора из инъектора; 15 - предохранительный клапан
6.13. Расход реагентов для одной инъекции и соответствующее давление нагнетания принимается по
табл. 7. Приготовленный раствор заливается в бачок, затем повышается в нем давление до соответствующей величины, удаляется воздух из инъектора и производится инъецирование до полного израсходования залитого раствора. Система подачи раствора отключается, а инъектор устанавливается выше предыдущего положения на глубину в соответствии с
табл. 7. В бачок заливается новая порция раствора и производится инъецирование в той же последовательности.
Таблица 7
Примерный расход растворов реагентов для одной
инъекции и давление нагнетания на различных
глубинах установки рабочей части инъектора
Глубина обработки грунта, м | Глубина установки рабочей части инъектора, м | Расход раствора, % от общего количества | Давление нагнетателей в кгс/см2 |
1 | 1 - 0,6 | 60 | 2 |
0,6 - 0,2 | 40 | 1 |
2 | 1,9 - 1,5 | 50 | 3 |
1,3 - 0,9 | 30 | 2 |
0,7 - 0,8 | 20 | 1 |
6.14. При устройстве основания под незаглубляемые фундаменты первоначально с поверхности площадки, предназначенной для строительства, снимается верхний растительный слой на глубину 100 - 150 мм.
6.15. Откапывается котлован глубиной 600 - 700 мм, если величина сезонного промерзания не превышает 1500 - 2000 мм, или на 1000 - 1200 мм, если глубина промерзания свыше 2200 мм и не более 3000 мм, причем вынимаемый грунт разделяется на более сухой и более влажный.
Примечание. Вынутый грунт и дно котлована в дальнейшем следует предохранять от увлажнения дождем и снегом.
6.16. Для противопучинной стабилизации с выбранным реагентом
(п. 6.3) перемешивается наиболее сухая часть грунта в соответствии с
п. 6.15. Необходимое количество реагента применяется в соответствии с прилагаемой
табл. 8.
Примечание. Хлористый натрий рекомендуется принять в соответствии с
п. 6.24.
Название грунта | Емкость поглощения, мг·экв | Количество вносимой соли, кг/м3 | Стоимость обработки по цене чистого хлористого калия (наиболее дорогая) |
KCl | калийная соль | NaCl |
Супесь | 10 | 12 | 9 | 5,85 | 1,8 | 1,35 |
" | 15 | 17,6 | 13,18 | 8,75 | 2,64 | 1,98 |
Суглинок | 20 | 22,4 | 17,03 | 11,7 | 3,36 | 2,56 |
" | 25 | 29,5 | 22,05 | 14,63 | 4,42 | 3,31 |
" | 30 | 32,4 | 25,02 | 17,55 | 5,32 | 3,75 |
" | 35 | 41 | 30,74 | 20,48 | 6,15 | 4,61 |
Перемешивание грунта производится в бетономешалке.
6.17. Перемешанным грунтом производится обратная засыпка котлована с послойным уплотнением, если глубина котлована больше 600 - 700 мм.
6.18. Уплотнение грунта производится трамбовкой, удельное статическое давление которой для суглинистых грунтов должно быть не менее 0,2 кгс/см
2. Для этих целей рекомендуется использовать полноповоротные краны на базе экскаваторов.
6.19. Уплотнение производится сбрасыванием трамбовки с высоты 3,5 - 4 м 5 - 12 раз, что зависит от конкретных условий. Контролем уплотнения грунта является отказ - предельная величина понижения поверхности уплотняемого грунта, равная для суглинков 8 - 10 мм, а для песков - 5 - 10 мм.
6.20. Уплотнению подвергается грунт в пластичном состоянии, когда консистенция глинистого грунта
B меньше 0,4. Однако влажность грунта не должна превышать оптимальную величину, под которой понимается влажность, меньшая на 1 - 3% влажности предела раскатывания.
Примечание. Консистенция глинистого грунта B определяется из соотношения

(40)
где W - влажность глинистого грунта в природном состоянии по массе;
Wр - влажность глинистого грунта на пределе раскатывания по массе;
Wп - число пластичности.
6.21. После уплотнения грунта поверхность котлована выравнивается слоем крупнозернистого песка толщиной 150 - 100 мм; после этого основание готово к установке фундаментов.
6.22. При устройстве оснований под различные емкости, предназначенные для хранения кислот и щелочей, работы выполняются в соответствии с
пп. 6.3;
6.5;
6.14; но только третья часть вынутого грунта
(п. 6.15) подвергается перемешиванию
(п. 6.16), обратной засыпке
(п. 6.17) и уплотнению (
пп. 6.18;
6.19;
6.20).
6.23. Песчаная подушка в соответствии с
п. 6.21 проливается битумом, а затем в нее втрамбовывается щебень крупностью 10 - 60 мм и 100 мм, и только после этого укладываются фундаментные плиты под резервуары.
6.24. Обратная засыпка пазух производится местным грунтом, обработанным хлористым натрием в соответствии с
табл. 8 п. 6.16 с последующим уплотнением согласно
пп. 6.18 -
6.20.
7. ТЕХНОЛОГИЯ УЛУЧШЕНИЯ И УПРОЧНЕНИЯ СЕЗОННОМЕРЗЛЫХ ГРУНТОВ
ПРИ УСТРОЙСТВЕ СВАЙНЫХ ФУНДАМЕНТОВ В ЗИМНИХ УСЛОВИЯХ
7.1. Для целей устройства свайных фундаментов в зимних условиях необходимо применять электрохимическое оттаивание. При этом оттаивающий сезонномерзлый грунт упрочняется, утрачивает пучинистые свойства при последующем промерзании и уплотняется при погружении свай.
7.2. Электрохимическое оттаивание производится в соответствии с
пп. 4.1 -
4.2.
7.3. Оттаивание производится с помощью вертикальных полых изолированных электродов
(рис. 14), имеющих токопроводящие наконечники с щелевыми отверстиями для выхода солевого раствора, погружаемых в грунт по мере его оттаивания. Это позволяет использовать электроэнергию и электролит с наименьшими потерями, исключая и перегрев оттаиваемого грунта.
Рис. 14. Эскиз полого электрода
(а) с токопроводящим наконечником (б)
1 - тело полого электрода; 2 - четырехгранный пирамидальный
токопроводящий наконечник; 3 - токоизоляционный слой;
4 - щелевые отверстия для выхода солевого раствора;
5 - штуцер для введения в полость электрода изолированного
электропровода; 6 - изолированный электропровод; 7 - место
подключения электропровода к токопроводящему наконечнику
7.4. Повышение проводимости нижележащих слоев мерзлого грунта первоначально происходит за счет проникновения в них части ионов, приобретающих высокую подвижность под действием тепла в верхнем нагретом слое. Это, в свою очередь, усиливает процесс преобразования электрической энергии в тепловую и нагревание нижележащих мерзлых слоев, а также соответственно увеличивает последующее проникновение раствора в толщу оттаиваемого грунта в соответствии с
п. 7.4.
7.5. Для электрохимического оттаивания используются реагенты в соответствии с
п. 6.2, а дозы их применения рассчитываются согласно
п. 6.3. В целях направленного проникновения и предотвращения возможного растекания раствор реагента заливается в лунку, которая выдалбливается на глубину 50 - 60 мм в плане, соответствующем поперечному сечению сваи.
7.6. Технологическое оборудование и контрольно-измерительные приборы для электрохимического оттаивания определяются
п. 4.16.
Электроды устанавливаются перед началом оттаивания или накануне по схеме, показанной на
рис. 15. При этом электроды забиваются на глубину, достаточную для удержания их в вертикальном положении.
Рис. 15. Принципиальная электрическая схема
подключения электродов при электрохимическом
оттаивании твердомерзлого грунта
1 - электроды; 2 - взрыхленная поверхность грунта
на площади, соответствующей сечению свай; 3 - соединительные
электрические провода; 4 - вольтметр; 5 - заземление;
6 - амперметр; 7 - сварочный трансформатор; 8 - счетчик
7.7. Вязка электродов в электрическую сеть производится по заранее намеченной схеме (аналогично изображенной на
рис. 15) проводами и кабелем с жилами (более 3 мм) из алюминия или меди. Места соединения проводов и кабелей должны изолироваться.
7.8. Во избежание короткого замыкания через металлические предметы при включении сети электродов в питающую сеть необходимо произвести проверку всех ее участков замерами электрического сопротивления.
7.9. Контрольно-измерительные приборы монтируются на изолированной подставке и подключение их производится до включения трансформатора в питающую сеть подстанции.
7.10. Трансформатор, щит с рубильником и контрольно-измерительными приборами устанавливаются вблизи площадки оттаивания (не ближе 3 м от крайних электродов) под навесом таким образом, чтобы подход к ним находился со стороны, противоположной сети электродов.
7.11. По окончании монтажа электрооборудования в полые электроды заливается солевой раствор, приготовленный в соответствии с
п. 6.3.
Предварительно в полые электроды может быть засыпана кристаллическая соль (10 - 15% от общей нормы) для поддержания концентрации грунтового раствора за счет постепенного ее растворения в процессе оттаивания. Общая норма внесения соли в грунт определяется в соответствии с
п. 6.3.
7.12. Для уменьшения теплопотерь при теплообмене с атмосферой оттаиваемая поверхность (на площади взрыхленного грунта) покрывается слоем опилок 10 - 15 см или инвентарными щитками, изготовленными из теплоизоляционного материала, соответствующими форме сечения свай и превышающими ее линейные размеры по диагонали на 8 - 10 см.
7.13. Перед подключением сети электродов к трансформатору следует дополнительно проверить ее исправность, а также электрической линии, соединяющей трансформатор с подстанцией.
7.14. Оттаиваемый участок ограждается инвентарными щитами, а на подходе к нему на видных местах устанавливаются предупредительные знаки. В ночное время площадка дополнительно освещается прожекторами.
7.15. Подача электрического тока в сеть электродов производится после окончательной проверки исправности электрической сети на всех ступенях напряжений при подключенном рубильнике на подстанции.
7.16. Все технологические операции и контроль за процессом оттаивания осуществляются дежурным электриком. При включенной сети электродов людям категорически запрещается находиться на площадке.
7.17. При возникновении перегрузок трансформатора необходимо уменьшить число рабочих электродов, отключив часть из них.
7.18. Через каждые 6 - 8 ч непрерывного процесса оттаивания необходимо прекращать подачу электроэнергии в сеть электродов, погружать электроды тем или иным способом до упора в мерзлый грунт, заполнить каждый из них солевым раствором. После этого возобновить подачу электроэнергии и продолжить процесс оттаивания до тех пор, пока последующей добивкой электродов не будет достигнута зона, где температура грунта выше -4 °C. При достижении этой зоны оттаивание прекращается.
7.19. По окончании процесса оттаивания производится демонтаж электрооборудования в порядке, обратном его установке.
7.20. При последующей забивке свай протаянный грунт уплотняется и, замерзая без вспучивания, обусловливает устойчивость фундаментов на весь период строительства, в том числе и при возможности неоднократного замерзания-оттаивания этих грунтов до нагружения фундаментов.
МЕТОДИКА ОПРЕДЕЛЕНИЯ ОПТИМАЛЬНОЙ ГЛУБИНЫ
ПРЕДПОСТРОЕЧНОГО УЛУЧШЕНИЯ ВЕЧНОМЕРЗЛЫХ ГРУНТОВ
ОСНОВАНИЯ ЗДАНИЙ, ОБЛАДАЮЩИХ ПОВЫШЕННОЙ ЛЬДИСТОСТЬЮ
Определение оптимальной глубины мерзлых грунтов, нуждающихся в предпостроечном улучшении свойств, рекомендуется вести в следующем порядке.
1. Вначале производятся мерзлотно-геологические изыскания на конкретной строительной площадке до глубины, на десять метров превышающей расчетную глубину самопроизвольного оттаивания мерзлых грунтов в основаниях зданий и сооружений на конец эксплуатационных периодов. Изыскания проводятся в соответствии с РСН 31-69 Госстроя РСФСР.
2. По данным изысканий, обработанным в соответствии с "
Руководством по определению физических, теплофизических и механических характеристик мерзлых грунтов" (М., Стройиздат, 1973), строятся кривые распределения по разрезам разведанных толщ суммарной влажности мерзлых грунтов.
Последние кривые сопоставляются с кривыми "равновесной влажности", построенными по формулам:
для грунта, не нагруженного фундаментами

(41)
для грунта, нагруженного фундаментами

(42)
где W(P), Wм - влажности грунта "равновесная" и максимальная молекулярная соответственно;
H,

- глубина и объемная масса грунта соответственно;
| | ИС МЕГАНОРМ: примечание. СНиП II-Б.6-66 утратил силу с 01.01.1978 в связи с введением в действие СНиП II-18-76. Взамен СНиП II-18-76 Постановлением Госстроя СССР от 21.12.1988 N 252 с 01.01.1990 введен в действие СНиП 2.02.04-88. | |
P - давление от фундаментов, рассчитывается в соответствии со СНиП II-Б.6-66.
3. Строятся кривые распределения по глубине разведанных толщ относительного сжатия оттаивающих слоев грунтов. Сжатие рассчитывается по формуле

(43)
где

- относительное сжатие оттаивающего грунта;
We - суммарная влажность грунта по разрезу, определяется методом средней пробы.
Для песчано-гравелистых грунтов влажность принимается равной
W(
P). При этом
формула (43) в случаях оттаивания грунта под неизменным давлением принимает вид:

(44)
Wн - содержание незамерзшей воды в грунте, охлажденном на

градусов ниже нуля, °C. Рассчитывается по формуле

(45)
где

Wм - максимальная молекулярная влагоемкость;

,

- объемная масса скелета грунта и воды.
4. Предварительно определяется оптимальная глубина предпостроечного улучшения вечномерзлых грунтов по кривой, построенной по
формуле (43) или по
формулам (41) и
(42). В последнем случае указанная глубина задается в месте перехода кривой с выположенного на круто идущие участки.
| | ИС МЕГАНОРМ: примечание. СНиП II-Б.6-66 утратил силу с 01.01.1978 в связи с введением в действие СНиП II-18-76. Взамен СНиП II-18-76 Постановлением Госстроя СССР от 21.12.1988 N 252 с 01.01.1990 введен в действие СНиП 2.02.04-88. | |
5. Определяются в плане размеры площадки, грунты которой следует подвергнуть предпостроечному улучшению, в соответствии со СНиП II-Б.6-66.
6. Производятся уточнения оптимальной глубины предпостроечного улучшения вечномерзлых грунтов, заданной в соответствии с
п. 4 настоящего приложения. Уточнения выполняются исходя из условия, выражаемого формулой:

(46)
где H1 - глубина предпостроечного улучшения вечномерзлого грунта;
H2 - глубина чаши оттаивания (расчетная) под зданием за эксплуатационный период;

- глубина самопроизвольного оттаивания вечномерзлого грунта под зданием, возведенным на грунте, искусственно оттаянном до глубины
H1;
| | ИС МЕГАНОРМ: примечание. В официальном тексте документа, видимо, допущена опечатка: имеется в виду СНиП II-15-74, а не СНиП II-15-64. | |
Sн,
S - осадки: предельно допустимая для здания на конец срока эксплуатации (согласно
СНиП II-15-64); возникающая вследствие уплотнения искусственно оттаянного грунта от собственной массы и давления, передаваемого фундаментами;

- относительное сжатие грунта, оттаявшего под зданием, в слое
.
Ниже приводятся примеры определения по настоящей методике оптимальных глубин талых и вечномерзлых грунтов, нуждающихся в предпостроечном улучшении строительных свойств.
Пример 1. По данным инженерно-геологических изысканий, произведенным со дна озера длиной 2 км, шириной 0,2 - 0,3 км, на
рис. 16 построены кривые суммарной влажности и "равновесной влажности", рассчитанные по
формуле (41). На том же рисунке представлена колонка гранулометрического состава грунтов, слагающих разведанную толщу. Температура грунта по всему разрезу поддерживалась на уровне 3 - 4 °C.
Рис. 16. Распределение влажности грунта по глубине
талого массива, вскрытого скважиной
1 - расчетная; 2 - определенная по образцам
Удовлетворительное совмещение кривых влажностей, рассчитанное по
формуле (41) и построенное по данным изысканий, служит доказательством того, что распределение влажности в талых массивах грунтов подчиняется закону, выражаемому
формулой (41).
Влажности на
рис. 16 выражены в долях максимальной молекулярной влагоемкости (
Wм). Значительные превышения "естественной" над "равновесной" влажностью на
рис. 16 приурочены к грунтам, не содержащим глинистых фракций.
На
рис. 17 построены кривые суммарной и "равновесной" влажностей вечномерзлых грунтов, слагающих толщ конкретных площадок.
Рис. 17. Распределение суммарной влажности по глубине
вечномерзлых массивов грунта, вскрытых скважинами
Удовлетворительное совмещение "расчетной" и натурной кривых распределения влажностей ниже глубины нулевых годовых амплитуд колебания температуры вечномерзлых грунтов указывает на то, что распределение суммарной влажности вечномерзлых толщ также подчиняется
формуле (41).
На площадке, сложенной вечномерзлыми породами, характеризуемыми данными левого
рисунка 17, запроектировано здание.
Фундаменты под проектируемое здание подобраны с таким расчетом, что зона сжатия грунта не распространяется глубже 12 м от дневной поверхности.
По взаимному ходу кривых на
рис. 17 можно видеть, что мощность слоя грунта, нуждающегося в улучшении свойств, при использовании его в качестве основания по II принципу СНиП II-18-76 может быть ограничена 12 м от дневной поверхности. При оттаивании нижележащего грунта под бытовым давлением ввиду малого различия между суммарной и равновесной влажностью должны наблюдаться весьма малые осадки вследствие сжатия. В этом случае задача улучшения строительных свойств грунта в слое мощностью 12 м должна сводиться к оттаиванию и уплотнению, чтобы его осадки в период эксплуатации здания не превышали значений, определяемых
формулой (46).
Пример 2. На конкретной площадке проектируется здание с использованием вечномерзлых грунтов основания по II принципу СНиП II-18-76. В качестве фундаментов выбираются ленты из закрепленного без выемки грунта. Закрепление производится одновременно с оттаиванием методами, изложенными в прил. 3 (
рис. 22 и
26).
Требуется определить оптимальную глубину заложения фундаментов из закрепленного грунта. С этой целью на
рис. 18 и
19 были построены совмещенные кривые зависимости давления от глубины в грунте: бытового и суммированного с ним давления от фундаментов. Там же построены кривые естественной и равновесной влажности, рассчитанные по
формулам (41) и
(42), а также кривые осадок оттаивающего грунта, рассчитанные по
формуле (43) без учета второго слагаемого.
Рис. 18. Пример вычисления осадок вечномерзлого грунта,
оттаивающего под нагрузкой от фундамента,
заглубленного на 6 метров
А - распределение давления по глубине грунтового массива:
1 - природного; 2 - под фундаментом; Б - распределение
влажности по глубине массива: 1 - расчетной под бытовым
давлением; 2 - расчетной под давлением от фундамента;
3 - естественной под бытовым давлением. Площадью с двойной
штриховкой выражается потеря влаги, по которой рассчитана
осадка; Б1 - то же, с увеличенным горизонтальным масштабом;
В - осадка - заштрихованная площадь
Рис. 19. Пример вычисления осадок на глубине 10 м
Величины осадок подфундаментного грунта при оттаивании обусловливаются отжатием воды из напряженных его зон и могут быть выражены величинами площадок между кривыми
2 и
3 на
рис. 18 Б.Б
I и
19 Б.Б
I, покрытых двойной штриховкой.
На
рис. 18 можно видеть, что при глубине заложения фундаментов из закрепленного грунта, равной 6 м, осадка подстилающего его слоя при оттаивании в период эксплуатации здания составит свыше 20 см.
Полученная величина осадки превосходит допустимую
СНиП II-15-74. Поэтому с целью уменьшения осадок при оттаивании необходимо увеличить глубину заложения фундаментов.
Соответствующие данные для случая десятиметрового заглубления фундаментов, представленные на
рис. 19, имеют тот же смысл, что и на
рис. 18. При их рассмотрении можно видеть, что ожидаемые осадки при оттаивании нижележащих слоев грунта в общей сложности не превышают 5 см, что вполне укладывается в нормы, допустимые
СНиП II-15-74.
В общем случае при оценочном определении оптимальных глубин предпостроечного улучшения вечномерзлых грунтов следует руководствоваться положением, согласно которому наиболее льдистые грунты располагаются главным образом между поверхностными, ограничивающими глубины сезонного оттаивания и нулевые годовые амплитуды колебания температуры в толщах вечномерзлых грунтов.
Изложенное хорошо иллюстрируется на
рис. 17, на котором отчетливо прослеживается резкое возрастание суммарной влажности вечномерзлого грунта в интервале глубин 2,5 - 11 м. Именно к указанным глубинам приурочиваются глубины сезонного оттаивания и нулевого значения амплитуд годового колебания температуры вечномерзлой толщи.
Приведенные на
рис. 17 -
19 данные инженерно-геологических изысканий взяты из конкретных условий строительных площадок.
ПРИМЕРЫ ПОДБОРА СХЕМ ОТТАИВАНИЯ ВЕЧНОМЕРЗЛЫХ ГРУНТОВ
С ИСПОЛЬЗОВАНИЕМ ОМИЧЕСКИХ НАГРЕВАТЕЛЕЙ
Теплофизические параметры нагревателей подбираются в соответствии с изложенным в
разделе 3 настоящего Руководства.
Расчет электрических параметров линейного омического нагревателя производится следующим образом.
Рабочую температуру нагревателя принимаем равной 873 - 973 К (600 - 700 °C). Расчет и экспериментальные данные показывают, что удельное сопротивление арматурной стали электрическому току при такой температуре

составляет около 1,2 - 2,5·10
-6 Ом·м.
Следует, однако, учитывать, что величина удельного электрического сопротивления может значительно изменяться у разных сортов стали и сильно зависеть от условий теплообмена нагревателей в грунте.
Поэтому при компоновке систем оттаивания рекомендуется уточнять величины

стали опытным путем в конкретных условиях строительной площадки.
Подбор минимальных значений диаметра стальных кружков для нагревателей рекомендуется производить для арматурной стали по
табл. 9.
Pуд (кВт/м) | d (мм), не менее | Pуд (кВт/м) | d (мм), не менее |
0,5 | 14 | 2 | 26 |
1 | 18 | 2,5 | 28 |
1,5 | 22 | 3 | 30 |
Расчеты силы тока (Iн) и напряжения (Uн) на единичном линейном нагревателе выполняются по формулам:

(47)

(48)

(49)

(50)
где Rн - сопротивление омического нагревателя электрическому току, Ом;
lн - длина нагревателя (глубина скважины), м;
Sн - площадь поперечного сечения арматурной стали, из которой изготовлен нагреватель, м2;
Pн - общая мощность нагревателя, кВт;
Uн - падение напряжения электрического тока на нагревателе, В;
Iн - сила электрического тока, протекающего через нагреватель, А.
При выполнении расчетов следует помнить, что в системах оттаивания напряжение электрического тока на зажимах единичного нагревателя практически никогда не должно превышать 30 - 35, а в особо оговоренных случаях 50 В. Это условие является обязательным не только из соображений техники безопасности, но также и вследствие того, что талый и мерзлый грунт под таким напряжением не пропускает через себя электрический ток значительной мощности.
Схема подключения электронагревателей компонуется проектирующей организацией или инженером-электриком, ответственным за проведенные оттаивания грунтов на объекте.
При этом должны быть выдержаны электрические параметры нагревателей (Pн, Uн, Iн). При составлении схемы учитываются имеющееся типовое оборудование (понижающие трансформаторы) и особенности подводимой электроэнергии (фазность, напряжение, сила тока и т.п.). Если подводимая мощность недостаточна, чтобы обеспечить одновременную работу всех нагревателей в заданном режиме, то оттаивание следует проводить в несколько этапов, подключая последовательно группы нагревателей.
С учетом изложенного ниже приводятся примеры расчета параметров систем оттаивания с использованием омических электронагревателей постоянного и переменного сечения по длине.
Пример 1. Для обеспечения устойчивости возводимого здания столовой на 150 мест в пос. Заполярном, квартал "Н" г. Воркуты необходимо было оттаять мерзлые грунты, представленные суглинками и мелкозернистыми песками с влагоемкостью не выше 20%, на площадке размером 30 x 30 м на глубину 15 м от дна котлована. Был произведен расчет системы оттаивания грунтов с применением линейных омических электронагревателей постоянного сечения по длине.
Длина нагревателей (l) определилась глубиной чаши оттаивания и была принята равной 14,5 м.
Удельная мощность одиночного нагревателя (
Pуд) задана равной 2 кВт/м, а расчетный радиус оттаивания

- 3,3 м. Нагреватели решено расположить по сетке (
LH) в шахматном порядке:
L = 1,73

;
H = 0,87 L = 5 м.
По номограмме
рис. 7 из
раздела 3 настоящего Руководства было найдено, что при
L = 5,7 м и
Pуд = 2 кВт время оттаивания составляет около 20 сут при непрерывной работе нагревателей в заданном режиме.
Исходя из изложенного было найдено:
число нагревателей в ряду
число рядов
Общее число нагревателей
(рис. 20) - 39 штук.
Рис. 20. Расположение омических электронагревателей
в плане строительной площадки
1 - нагреватели; 2 - нивелировочные марки;
3 - температурные скважины
Диаметр арматурной стали, из которой рекомендовано изготавливать нагреватели (
d), принят равным 28 мм, что удовлетворяет значению предельного диаметра для мощности 2 кВт/пог. м
(табл. 9).
По справочнику
<*> принято

.
--------------------------------
<*>
В.И. Перельман. Краткий справочник химика. Госхимиздат. 1948, с. 101.
Ниже производится расчет параметров нагревателей с учетом изложенного:
Pн = Pудlн = 2 кВт/м·14,5 м = 29 кВт;
Пример 2. Для устройства свайного фундамента под зданием автобазы необходимо было оттаять мерзлые грунты на одной части площадки на глубинах от 2 до 5,5 м, а на другой ее части - на глубине от 2 до 7,5 м.
Для оттаивания применены омические электронагреватели переменного сечения, конструкция которых схематически показана на
рис. 21.
Рис. 21. Схема устройства омических
нагревателей переменного сечения
1 - стальные стержни диаметром 30 мм, длиной 2 м;
2 - деревянные изоляторы с размерами 40 x 40 x 25 мм;
3 - стержни из арматурной стали диаметром 22 мм, длиной
15 м; 4 - то же, длиной 7 м; 5 - сечение скважины
диаметром 132 мм (свободное пространство
заполнено песком); 6 - крепеж стержней
Расчетная удельная мощность нагревателя (Pуд) задана равной 1,5 кВт/м. Полная мощность принятых типов нагревателей должна составить:

(рабочая часть 5,5 м);

(рабочая часть 3,5 м).
Удельное сопротивление в рабочем режиме нагревателей

принято равным 1,2·10
-6 Ом·м, а удельное сопротивление внутренних тоководов

.
Сопротивление электрическому току в рабочем режиме нагревателей (Rн) и тоководов (RТ) вычисляется по формуле
где l - длина проводника;
S - поперечное сечение проводника, м2;

- удельное электрическое сопротивление, Ом·м;
нагревателя длиной 7,5 м

(51)
нагревателя длиной 5,5 м

(52)
Величины токов, протекающих через нагреватели, находятся по формуле
P = I2R, (53)
откуда

(54)
Для нагревателей длиной 7,5 м
для нагревателя длиной 5,5 м
Мощность, потребляемая внутренними тоководами и нагревателями (Pобщ), вычисляется по формуле
Pобщ = I2Rобщ. (55)
Для нагревателя длиной 7,5 м
| | ИС МЕГАНОРМ: примечание. Формула дана в соответствии с официальным текстом документа. | |
для нагревателя длиной 5,5 м
Падение напряжения электрического тока определяется по закону Ома:
U = IR; (56)
для нагревателя длиной 7,5 м
для нагревателя длиной 5,5 м
Участковые тоководы допускается изготавливать из кусков арматурной стали диаметром 30 мм по 3 - 4 шт. в пучке либо из алюминиевых шин соответствующего сечения. Магистральные тоководы следует делать из алюминиевых шин подходящего сечения.
Нагреватели в плане располагаются по углам прямоугольной сетки 5·6 м (L) или в шахматном порядке.
По номограмме
(рис. 7) находится время оттаивания
. Оно составляет около 30 сут при непрерывной работе нагревателей в заданном режиме.
ПОЯСНЕНИЯ К ПРИМЕНЕНИЮ РУКОВОДСТВА ПО ИНЪЕЦИРОВАНИЮ
ХИМИЧЕСКИХ РЕАГЕНТОВ В МЕРЗЛЫЕ ГРУНТЫ
Наполнение объемов мерзлых грунтов жидкостями, не замерзающими при отрицательных температурах и способными при этом растворять лед, можно осуществлять:
1. Заполнением растворами свободных пор и пустот в грунте под избыточным давлением. При этом давление на жидкие растворы должно быть достаточным для достижения начального градиента фильтрации данного грунта;
2. Образованием "микрогидроразрывов" в объемах грунта, разжимаемых в окрестности инъецируемого раствора, под действием давления последнего и заполнения трещин раствором;
3. Растворением льда и заполнением жидкими растворами объемов, образовавшихся вследствие уменьшения удельного объема при переходе в воду.
В общем виде объем инъецированного раствора в единицу объема мерзлого грунта может быть выражен формулой
Vинъец =
Vпор +
Vтрещ +
m(
Vльда -
Vводы), (57)
где Vпор; Vтрещ - доли объема грунта, занятые свободными порами и трещинами, образовавшимися вследствие разжатия грунта в окрестности инъецируемого раствора, соответственно;
Vльда; Vводы - мольные объемы льда и воды;
m - число молей льда, перешедшего в раствор.
Входящие в
формулу (57) величины определяются опытным путем.
Оптимальное давление на первых этапах инъецирования растворов в мерзлые грунты может быть оценено формулой
Pинъец >= Pб + 12t, (58)
где Pб - бытовое давление грунта на глубине инъецирования;
t - модуль температуры мерзлого грунта в °C.
С течением времени величина оптимального давления снижается как за счет уменьшения бытового давления, так и за счет усиления влияния факторов, отмеченных в
формуле (57).
Технология инъецирования растворов в объемы вечномерзлых грунтов должна разрабатываться путем приспособления типовой технологии к конкретным условиям, в соответствии с принципиальной схемой, представленной на
рис. 22.
Рис. 22. Схемы оттаивания и уплотнения
мерзлых грунтов химикатами
а - инъекторы; б - оттаивание водным раствором хлористого
кальция; в - оттаивание сжиженным аммиаком; г - оттаивание
хлористым кальцием с последующим уплотнением аммиаком
Рабочим органом технологии инъецирования является самозапирающийся инъектор. На
рис. 22 представлены модификации одно- и двухтрубных инъекторов.
В качестве запирающего устройства в инъекторах использованы резиновые камеры (пакеры), прижимающиеся своими оболочками (вследствие распора изнутри инъецируемым раствором) к стенкам скважин и препятствующие прорыву растворов по затрубному пространству.
Инъецирование растворов рекомендуется вести снизу вверх, как показано на
рис. 22 и
23, для случаев оттаивания одними химическими реагентами.
Рис. 23. Пример оттаивания вечномерзлого грунта
водным раствором хлористого кальция
а - разрез массива оттаянного грунта объемом около
100 м3; б - распределение засоленности оттаянного грунта
по глубине; в - распределение влажности по глубине
массива грунта: 1 - до оттаивания; 2 - после оттаивания;
г - схема развития процесса оттаивания вечномерзлого
грунта при инъецировании раствора снизу вверх;
д - разрезы самозапирающегося инъектора
В случае необходимости оттаивания, а затем уплотнения оттаянного грунта обработку его следует вести двумя реагентами через двухтрубные инъекторы по схеме
рис. 22. При этом оттаивание необходимо производить инъецированием раствора хлористого кальция, а последующее за ним уплотнение - инъецированием в оттаянный грунт сжиженного аммиака.
Количественные соотношения между инъецируемыми хлористым кальцием и аммиаком следует рассчитывать по стехиометрическим формулам химии. При инъецировании безводного аммиака в объеме грунта, насыщенного водным раствором хлористого кальция, одновременно возникают процессы диспергирования грунта и образования извести. Этим создаются условия для взаимодействия свежеобразованной извести с дисперсным грунтом и уплотнения последнего.
Таяние льда в объемах мерзлых грунтов, наполненных при инъецировании растворами химических реагентов, происходит за счет тепла, притекающего в них из менее охлажденных, незасоленных мерзлых грунтов, граничащих с засоленными (
рис. 24,
а).
Рис. 24. Размораживание грунта раствором CaCl
2
а - контуры массива оттаянного грунта:

фактический
контур оттаивания, --- расчетный контур; б - давление
и расход раствора при инъецировании
Время оттаивания мгновенно засоленного мерзлого грунта, исходя из сказанного, можно оценить формулой

(59)
Пример расчета. Мгновенному засолению была подвергнута пластина мерзлого грунта, граничащая справа и слева с полубесконечными массивами мерзлого незасоленного грунта. Требуется рассчитать время таяния льда в засоленном грунте за счет низкотемпературного тепла (при отрицательной температуре), притекающего из незасоленных массивов, при следующих условиях:
x0 - половина толщины пластины, м. Искомая величина;
c1; c2 - удельные теплоемкости талого и мерзлого грунта, равные соответственно 0,33 и 0,27 ккал/(кг·°C);

;

- теплопроводности талого и мерзлого грунта, равные соответственно 1,6 и 1,8 ккал/(ч·м·°C);

;

- объемные массы талого и мерзлого грунта, равные каждая 2000 кг/м
3;
a - коэффициент температуропроводности талого грунта, равный 0,0024 м2/ч;
L - льдистость мерзлого грунта, равная 0,15 кг/кг;
Wн - содержание незамерзшей воды, равное 0,05 кг/кг.
Находятся численные значения составных величин, входящих в
формулу 59
здесь c1 = 2,8 - теплоемкость мерзлого грунта с учетом удельной теплоты таяния льда;
n1 = n2 = 2 - показатель параболы кривой распределения температуры в грунте;
r = K(t01 - t02)27,66(21,7 - 1,0) = 572,5 °C;
v01 = (tx - tоп) = -21,7 - (-16,6) = -5,1;
v1 = (t0 - tп) = -19,9 - (-15,2) = -4,7;
t02 = -1; t3 = -25 °C;
где

- измененные концентрации раствора хлористого кальция, инъецируемого в грунт, отвечающие изменению на 1 °C температуры его замерзания. Находится по диаграмме на
рис. 24,
б;
P0 - содержание воды в килограмме раствора исходной концентрации (c0 = 0,3 кг/кг), равное 0,77 кг/кг. Температура начала замерзания такого раствора tз = -25 °C.
t01 = tx; tоп; t0; tп; t02 - температуры: наибольшего охлаждения грунта вследствие таяния льда при засолении раствором (в средней части пластины засоленного грунта на расстоянии x0 от ее поверхности); поверхности пластины в тот же начальный момент; окончания таяния льда в средней части пластины; поверхности пластины в момент окончания таяния льда в средней ее части; мерзлого незасоленного грунта вне зоны теплового влияния засоленного грунта
Для охлаждения 1 кг грунта до tx потребуется количество льда:
Теплоемкость засоленного мерзлого грунта с учетом теплоты фазовых превращений льда будет равна:
После подстановки в
формулу (59) численных значений переменных получается:
Для введенных в рассмотрение условий
формула (59) приобретает вид:

(60)
Задавая в
формуле (60) длительность оттаивания в 20 сут (480 ч), можно найти половину толщины пластины оттаянного грунта:
Полная толщина оттаянного грунта при этом составит:
B = 2x0 = 2·3,2 = 6,4 м.
Результаты приведенного расчета указывают на целесообразность применения силикатов для оттаивания массивов вечномерзлого грунта, если их ширина по поверхности площадки существенно не превышает 6 м.
При необходимости оттаивания более широких массивов следует сочетать оттаивание химическими реагентами с оттаиванием вечномерзлых грунтов внешними источниками тепла.
Целесообразно подбирать для оттаивания химические реагенты, отличающиеся высокими экзотермическими эффектами растворения в воде, такие, например, как безводный сжиженный аммиак.
Ниже дается пример расчета эффективности применения аммиака.
Теплота растворения первого моля аммиака в воде составляет около 8 ккал/моль (17 г), что эквивалентно 33,6 кДж. Теплота растворения каждого последующего моля аммиака в ограниченном объеме воды постепенно уменьшается.
При взаимодействии аммиака с мерзлыми грунтами происходит оттаивание содержащегося в них льда как за счет тепла, отнимаемого от окружающих массивов мерзлых грунтов (как это имеет место при оттаивании солевыми растворами), так и за счет экзотермического тепла образования водного раствора аммония. Суммарный тепловой эффект таяния 1 кг льда можно выразить в виде удельной теплоты его таяния, уменьшенной на величину экзотермического теплового эффекта растворения аммиака, формулой

(61)
где nQ = Q1 + Q2 + ... + Qn;
Q1, Q2, ..., Qn - теплоты растворения первого, второго и т.д. вплоть до n-го моля аммиака в единице массы воды;
Q - усредненная теплота растворения;
n - число молей растворенного аммиака.
Рассчитаем ожидаемую температуру после оттаивания мерзлого грунта, весьма быстро наполненного аммиаком в таком количестве которого достаточно для образования грунтового раствора, не замерзающего при температуре минус 25 °C. Мерзлотно-грунтовые условия и характеристики грунта принимаются такими же, как и в примере с использованием
формулы (59).
Затем по диаграмме
рис. 24 находятся соответствующие значения изменения концентрации и температуры замерзания раствора и по ним вычисляется
Находятся также параметры:
B2 = (0,126)2 = 0,016.
Подстановкой численных значений параметров в формулу можно получить:
В приведенном расчете удельные теплоты растворения различных порций аммиака в воде согласно
формуле (61) принимались равными между собой.
По результатам расчета можно видеть, что при достаточном количестве безводного аммиака, инъецированного в единицу объема мерзлого грунта, последний не только можно оттаять, но и нагреть за счет экзотермического тепла растворения до положительной температуры. Для рассматриваемых условий на кубометр грунта потребуется около 66 кг аммиака.
Для сравнения отметим, что для оттаивания при отрицательной температуре расход аммиака не превысит 5 - 7 кг на кубометр грунта.
В общем случае потребность в аммиаке для размораживания кубометра грунта в заданном температурном интервале можно оценивать формулой

(62)
где

;
c;
L - объемная масса, массовая теплоемкость и льдосодержание мерзлого грунта;

- средняя удельная теплота плавления льда в заданном температурном интервале;
t0, tз - температуры грунта: исходная и заданная;
Q - теплота растворения аммиака в воде, принимается равной 8 ккал/моль, или 33,6 кДж/моль.
| | ИС МЕГАНОРМ: примечание. СНиП II-Б.6-66 утратил силу с 01.01.1978 в связи с введением в действие СНиП II-18-76. Взамен СНиП II-18-76 Постановлением Госстроя СССР от 21.12.1988 N 252 с 01.01.1990 введен в действие СНиП 2.02.04-88. | |
При массовом ведении работ по оттаиванию и уплотнению мерзлых грунтов с целью дальнейшего их использования в качестве оснований зданий и сооружений, возводимых по II принципу СНиП II-Б.6-66 наиболее целесообразно использовать комбинированные методы предпостроечного оттаивания, сочетающие воздействия на мерзлые грунты химическими реагентами и теплом.
Такие методы позволяют не только экономически выгодно оттаивать мерзлые грунты, но одновременно с этим уплотнять их и защищать от последующего замерзания. Последнее достигается за счет насыщения грунтовых растворов химическими реагентами, понижающими температуры их замерзания, положив в основу принципиальную схему, представленную на
рис. 25. Согласно этой схеме
рис. 25, при комбинированной обработке грунтов рекомендуется использовать систему из труб (диаметром около дюйма) по двум назначениям: а) для инъецирования химических реагентов в мерзлые грунты под давлением; б) для прогрева наполненного реагентами грунта до заданной температуры.
Рис. 25. Принципиальная схема оттаивания
и закрепления мерзлых грунтов реагентами
а - система труб для инъецирования химических реагентов
в мерзлые грунты под давлением; б - схемы прогрева
наполненного реагентом грунта до заданной температуры
Порядок инъецирования и прогрева в зависимости от поставленных целей может меняться в каждом конкретном случае. Например, в случае необходимости наполнить оттаивающий грунт определенным реагентом вначале производится оттаивание части грунта теплом, образующимся при пропускании электрического тока через нагреватели, т.е. система используется по назначению (б). В частично оттаянный грунт инъецируется химический реагент - система используется по назначению (а).
В других случаях порядок включения системы может меняться. Система не рассчитана на одновременную подачу химических реагентов и электроэнергии.
Стоимость электроэнергии и химических реагентов для оттаивания кубометра грунта следует калькулировать исходя из указанного в рекомендациях их расхода и отпускной цены.
Техническая электроэнергия округленно может оцениваться в 0,02 руб. за 1 кВт·ч, а сжиженный технический аммиак - 100 руб. за 1 т.
МЕТОДИКА ОПРЕДЕЛЕНИЯ ЭЛЕКТРИЧЕСКИХ И ЭЛЕКТРООСМОТИЧЕСКИХ
ХАРАКТЕРИСТИК ГРУНТОВ
К числу электрических и электроосмотических характеристик грунтов, используемых в расчетах параметров укрепления, относятся удельное электрическое сопротивление и объемный коэффициент электроосмотической фильтрации.
Обе эти характеристики определяются на одном приборе, называемом электроосмометром
(рис. 26). Электроосмометр представляет собой цилиндрический корпус, состоящий из двух полуцилиндров, изготовленных из диэлектрика (винипластовых труб) и соединяемых между собой металлическими хомутами. Торцы корпуса перекрываются диэлектрическими заглушками с резиновыми герметизирующими кольцами. Заглушки между собой стягиваются двумя продольными болтами.
Рис 26. Схема электроосмометра
1 - корпус; 2 - электроды; 3 - пружина; 4 - заглушка;
5 - труба; 6 - нижняя трубка; 7 - болт; 8 - хомут;
9 - провод; 10 - грунтовый образец; 11 - прокладка;
12 - грунтовый раствор
В верхнем полуцилиндре имеются трубки для выхода газов, а в нижнем - трубки для отвода воды или введения в грунт электролитов.
В комплект электроосмометра также входят два дисковых перфорированных электрода, две стальные пружины и медный сосуд емкостью 10 - 12 мл.
Для определения электрических и электроосмотических характеристик, соответствующих фактическим условиям залегания грунтов, по возможности должны использоваться цилиндрические образцы с ненарушенной структурой, полученные при бурении скважин под электроды.
Цилиндрический образец грунта помещается в корпус, установленный в вертикальное положение, а кольцевое пространство между грунтом и корпусом заливается воском, стеарином или жидким раствором гипса. Затем на торцовые части образца укладываются электроды, устанавливаются пружины и заглушки, стягиваемые болтами. Провода от электродов пропускаются через одну из трубок и подключаются к источнику переменного тока. Параллельно электроосмометру подключается вольтметр, а последовательно с ним миллиамперметр с пределами 0 - 50 мА и ценой делений не более 2 мА. С помощью малогабаритного трансформатора устанавливается напряжение U на электродах электроосмометра, при котором создается градиент 0,5 В/см, т.е.
U = 0,5l(b), (63)
где l - расстояние между внутренними поверхностями электродов.
Фиксируется сила тока в цепи с помощью миллиамперметра. Затем напряжение удваивается и утраивается по сравнению с начальным и в каждом случае фиксируется сила тока в мА.
По результатам измерений определяются частные удельные сопротивления, Ом·см

(64)
где U - напряжение на электродах при i-ом измерении, В;
Ii - сила тока в цепи при i-ом измерении, мА;
S - площадь поперечного сечения грунтового образца, см2;
l - расстояние между электродами, см.
По трем измерениям определяется среднее значение удельного сопротивления

(65)
После определения удельного сопротивления грунта электроосмометр подключается к источнику постоянного тока. При этом нижняя его труба со стороны катода (электрода, соединенного с отрицательным полюсом источника тока) с помощью резиновой трубки сообщается с градуированным стеклянным сосудом. На электродах создается напряжение, при котором его градиент равен 2 В/см, и фиксируется время включения тока.
Через нижнюю трубку со стороны анода к электроду подается грунтовый раствор (водная вытяжка из грунта) таким образом, чтобы его уровень закрывал грунтовый образец.
Постоянный электрический ток пропускается в течение 2 - 4 ч. При включении тока, а также через каждые 0,5 ч работы электроосмометра снимаются показания миллиамперметра и фиксируется время.
После окончания измерения (через 5 - 6 измерений) определяется количество электроосмотически выделившейся воды в мерном сосуде (Qb), см3, и расход электричества (A), кА.
Расход электричества определяется по формуле

(66)
где Ii - сила тока в цепи электроосмометра в момент i-го измерения, мА;

- продолжительность электрообработки грунта между очередными измерениями, мин.
Для более грубого определения объемного коэффициента электроосмоса можно производить измерения силы тока в начале и конце электрообработки, тогда

(67)
где tкон, tнач - текущее время, ч и мин.
В том и другом случае объемный коэффициент электроосмоса Kо.э, см3/Кл, определяется отношением

(68)
где Qв - количество электроосмотически выделившейся воды при прохождении (A) кулонов электричества через 1 см3.
ЖУРНАЛ РАБОТ ПО ЭЛЕКТРООСМОТИЧЕСКОМУ УКРЕПЛЕНИЮ ГРУНТОВ
Сооружение N _________________ Объект N __________________
Начало работ _________________ Окончание работ ___________
Дата и часы | Схема размещения электродов | Количество пар электродов | Параметры электрического тока | Тип источника тока | Потребляемая мощность, кВт | Расход электролитов, введенных под давлением, л | Расход электролитов, введенных под действием постоянного электрического тока, л | Давление, атм | Примечание |
напряжение, В | сила тока, А | | | | | | | |
1 | 2 | 3 | 4 | 5 | 6 | 7 | | 9 | 10 | 11 | 12 | | 14 | 15 | 16 |
| | | | | | | | | | | | | | | |
--------------------------------
<*> В
графах 8 -
13 указать наименование растворов солей, мономеров и их концентрацию.
ЖУРНАЛ НАБЛЮДЕНИЙ ЗА ХОДОМ ЭЛЕКТРОПРОТАИВАНИЯ ГРУНТА
Наименование или номер оттаиваемой площадки | Дата и время начала электрического оттаивания | Дата и время проведения измерений | Время, прошедшее с начала протаивания, ч | Электрическое напряжение, В | Сила тока, А | Потребляемая мощность, кВт | Глубина протаивания, см | Количество израсходованной электроэнергии за период между измерениями, кВт·ч | Количество израсходованной энергии с начала электрического оттаивания, кВт·ч | Примечания, отметка о времени окончания электрического оттаивания | Подпись дежурного электрика |
1 | 2 | 3 | 4 | 5 | | 7 | | | | 11 | 12 |
| | | | | | | | | | | |
Примечания: 1. Если электропротаивание ведется с дозаглублением электродов в грунт, электрические параметры (
гр. 6 -
8) определяются до и после дозабивки электродов.
2. Расход электроэнергии на электропротаивание (
гр. 9 -
10) определяется только в случае необходимости учета расхода электрической энергии отдельно по протаиваемой площадке.