Главная // Актуальные документы // РуководствоСПРАВКА
Источник публикации
М.: Стройиздат, 1984
Примечание к документу
Название документа
"Руководство по проектированию береговых укреплений на внутренних водоемах"
"Руководство по проектированию береговых укреплений на внутренних водоемах"
МИНИСТЕРСТВО ЖИЛИЩНО-КОММУНАЛЬНОГО ХОЗЯЙСТВА РСФСР
ГОСУДАРСТВЕННЫЙ РЕСПУБЛИКАНСКИЙ ПРОЕКТНЫЙ ИНСТИТУТ
ГИПРОКОММУНСТРОЙ
РУКОВОДСТВО
ПО ПРОЕКТИРОВАНИЮ БЕРЕГОВЫХ УКРЕПЛЕНИЙ
НА ВНУТРЕННИХ ВОДОЕМАХ
Обобщен опыт проектирования и эксплуатации береговых укреплений на внутренних водоемах СССР. Содержит сведения для правильного выбора систем и конструкций крепления в зависимости от природных условий. Приведены основные типы береговых укреплений, а также параметры ряда водохранилищ и озер. Даны примеры расчетов элементов волн, динамической устойчивости грунтового основания и др.
Для инженерно-технических работников проектных и строительных организаций.
В Основных направлениях экономического и социального развития СССР на 1981 - 1985 годы и на период до 1990 года отмечено, что в настоящее время одной из основных задач является усиление охраны природы, земли, ее недр, атмосферного воздуха, водоемов, животного и растительного мира, обеспечение рационального использования и воспроизводства природных ресурсов.
Постановление ЦК КПСС и Совета Министров СССР "О мерах по дальнейшему улучшению проектно-сметного дела" N 312 от 30 марта 1981 г. предусматривает разработку схем защиты территории и населенных пунктов от опасных геологических процессов сроком на 15 лет (по пятилеткам) с необходимыми уточнениями через каждые 5 лет. Стоимость строительства береговых укреплений, установленная этими схемами, включается в пятилетние планы и не может быть превышена при дальнейшем техническом проектировании.
Водохранилища в системе водного хозяйства СССР занимают видное место. На реках РСФСР образовано 560 водохранилищ, в том числе 520 объемом до 10 млн. м3, 23 - до 1 млрд. м3 и 17 - до 10 млрд. м3. Их краткие характеристики и сведения о проектном режиме содержатся в "Справочнике по водохранилищам РСФСР. Часть I, II Министерства мелиорации и водного хозяйства РСФСР".
Настоящее Руководство обобщает обширный опыт проектирования, строительства и эксплуатации береговых укреплений на внутренних водоемах СССР и содержит сведения для правильного выбора систем и конструкций береговых укреплений в зависимости от природных условий, что позволяет определить их стоимость при разработке схем и техническом проектировании. Оно позволяет установить особенности динамики берегов водохранилищ, резко отличающиеся от морских и речных берегов, систематизировать причины аварийности береговых укреплений и сформулировать основные требования их проектированию и строительству.
Сведения по некоторым водохранилищам, на берегах которых располагаются крупные административные и промышленные центры, приводятся в
Прил. 1. Некоторые озера (Байкал, Онежское, Ильмень, Селигер) в системе водного хозяйства используют для регулирования стока в энергетических целях.
Настоящее Руководство разработал авторский коллектив гидротехнического отдела института "Гипрокоммунстрой" в составе: З.А. Королевой, канд. техн. наук В.М. Костомарова, М.Д. Кустовой, Е.В. Самохваловой при участии Б.П. Копкова, канд. техн. наук Д.А. Елисеева, канд. техн. наук И.А. Сазыкина, канд. техн. наук И.А. Ярославцева, Н.И. Васильевой, О.Б. Коробовой, Т.К. Самойловой.
В Руководстве все физические величины даны в системе МКГСС в соответствии с действующими СНиП II-16-76, II-55-79, II-56-77 и др.
1. ВОЗДЕЙСТВИЯ И НАГРУЗКИ НА БЕРЕГОВЫЕ УКРЕПЛЕНИЯ
На берега и береговые сооружения водоема влияют:
- режимные (годовые и суточные) колебания уровня воды, определяемые работой гидроэлектрических станций, паводковые повышения уровня, сгонно-нагонные явления и сейши;
- размывающее воздействие течений: стоковых, волновых, сейшевых, возникающих при работе гидроузлов;
- ветровые и судовые волны;
- ледовые воздействия во всем их многообразии;
- режим движения взвешенных и влекомых наносов, в сочетании с его влиянием на динамику берегов;
- нестационарный процесс переформирования русла и берегов (особенно интенсивный на крупных речных водохранилищах);
- снижение прочностных свойств глинистых грунтов с образованием ползучести;
- режим подземных вод в бортах водоема (особенно у берегов речных водохранилищ).
1.1. Отметки отдельных частей береговых укреплений, типы и конструкции их проектируют с учетом отметок годовых и суточных режимных колебаний уровней, максимальных уровней воды при паводках, а также краткосрочных повышений и понижений уровней при нагонах, сгонах и сейшах.
Водный режим крупных водохранилищ определяется "Основными положениями правил использования водных ресурсов", утвержденными Министерством мелиорации и водного хозяйства РСФСР. Основные положения являются обязательным руководящим документом по режимам использования водных ресурсов для всех органов эксплуатации гидроузлов и других сооружений, а также для всех водопользователей независимо от ведомственной подчиненности. С изменением условий регулирования стока, накоплением эксплуатационного опыта и новыми народно-хозяйственными задачами Основные положения пересматриваются.
Наблюдения Гидрометеорологической службы главного управления (ГМС) при Совете Министров СССР за колебаниями уровней на водохранилищах доказали, что при проектировании береговых укреплений на водохранилищах при назначении отметок сооружений следует пользоваться не только данными Основных положений, но и обрабатывать фактически наблюдаемые уровни (см. Прил. 1,
табл. 2).
1.2. Нагонные и сгонные повышения (понижения) уровня воды преобладают на обширных акваториях водохранилищ и озер.
В южной части Ладожского озера амплитуда колебания сгонно-нагонных уровней достигает 2 м.
На Рыбинском (Переборы, Большая Лука), Горьковском (Желтухино) и Цимлянском (Цимлянск) водохранилищах зарегистрированы 50 - 70 см сгоны и нагоны. На Куйбышевском, Саратовском, Волгоградском и Братском водохранилищах 10 - 30 см. На Байкале, Онежском, Валдае - 5 - 20 см, на Ильмень - 29 см.
Сейши - стоячие волны, возникающие на водной поверхности под действием внешних сил: перепадов атмосферного давления, ветра, сейсмических явлений.
Сейшевые колебания уровней, как правило, слабее сгонов и нагонов.
Амплитуда сейшевых колебаний на всех волжских водохранилищах 5 - 15 см, на Цимлянском - до 15, на Ладожском озере - до 28, Байкале - 12 - 14, на Онежском озере - 15 - 20 см.
Сведения о нагонных и сгонных колебаниях уровня и сейшах получают в местных обсерваториях гидрометеорологической службы.
1.3. Подводная часть береговых укреплений, подверженная временному или постоянному затоплению (особенно по линии их сопряжения с дном водоема), должна быть надежно защищена от воздействия размывающих скоростей течений. Допускаемые величины размывающих скоростей приведены в табл. 1 (составлена применительно к главе СНиП "Сооружения мелиоративных систем").
Таблица 1
Допускаемые величины неразмывающих скоростей течения, м/с
Грунт | Допускаемая скорость при глубине потока, м |
до 3 | 5 и более |
Песок средней крупности. Частицы крупнее 0,25 мм составляют 50% массы | 0,4 | 0,45 |
Песок крупный. Частицы крупнее 0,5 мм составляют 50% массы | 0,5 | 0,5 |
Песок гравелистый. Частицы крупнее 3 мм составляют 25% массы | 0,8 | 0,85 |
Мелкозернистые и пылеватые пески. Размеры частиц 0,05 - 0,25 мм | 0,3 | 0,4 |
Валунный грунт (при преобладании неокатанных частиц - глыбовый). Частицы крупнее 200 мм составляют 50% массы | 3,9 | 4,3 |
Галечниковый грунт (при преобладании неокатанных частиц) - щебенистый. Частицы крупнее 10 мм составляют 50% массы | 1,4 | 1,5 |
Глинистые грунты сцеплением, кгс/см2: | | |
0,005 | 0,45 | 0,5 |
0,125 | 0,75 | 0,8 |
0,225 | 1 | 1,1 |
0,6 | 1,6 | 1,7 |
Примечания. 1. Допускаемые скорости течения для торфа принимают согласно СНиП по проектированию сооружений мелиоративных систем.
2. При оценке неразмывающих скоростей стоковых течений их табличные значения нужно брать для глубин до трех метров независимо от фактической глубины водохранилища.
Иногда измеренные скорости течения в различных частях водохранилищ превышают допустимые величины размывающих скоростей. Следовательно, при определенных инженерно-геологических условиях скорости течения могут оказаться опасными для берегов и береговых укреплений и нарушать их устойчивость.
Опасные для берегового укрепления размывающие скорости возникают при стоковых и волновых течениях, а также при сгонах, сейшах и работе гидроузлов (при попусках воды).
Наиболее распространенной причиной деформаций и разрушения береговых укреплений является подмыв их основания из-за недостаточного его заглубления. В результате проведенных исследований Производственного и научно-исследовательского института по инженерным изысканиям в строительстве (ПНИИИС) Госстроя СССР установлено, что в верхних частях волжских водохранилищ влияние стоковых течений в формировании берегов является определяющим.
На Горьковском водохранилище от Рыбинска до Ярославля после образования подпора незначительно уменьшилась скорость течений в летне-осенний период, а в маловодные годы - и весной. Зимой режим течений сохранился таким, каким был до создания водохранилища. Средние по сечению скорости течения у Ярославля в бытовых условиях наблюдались зимой - 0,2 - 0,5 м/с, весной - 0,3 - 0,9 м/с, летом и осенью - 0,4 - 0,8 м/с. Максимальная зафиксированная скорость 1,25 м/с.
По наблюдениям 1960 - 1974 гг. наибольшие скорости у Ульяновска, измеренные на глубине 3 - 5 м, составили: в период наполнения 1 - 1,13 м/с, донные (при глубине 35 м) - 0,75 - 0,8 м/с; при отметках, близких к нормальному подпорному уровню (НПУ), скорости на глубине 3 - 5 м - 0,55 м/с, донные - 0,35 - 0,4 м/с. В период осенней сработки скорости возрастают (наибольшая - 0,8 м/с) и почти не изменяются по глубине.
На Волгоградском водохранилище в створе Саратова 26 апреля 1966 г. максимальная из средних скоростей на вертикали в 220 м от правого берега составляла 1,12 м/с, донная - 0,8 м/с. Скорость течения в районе Увека в 1962 г. достигала: у поверхности - 1,9 м/с, у дна - 1,2 м/с. Максимальные скорости течений в нижних частях Куйбышевского и Волгоградского водохранилищ, связанные с их проточностью, близки между собой. Их величина, несмотря на крайне малые продольные уклоны водной поверхности, составила вблизи плотины 0,5 - 0,6 м/с. Максимальные скорости течения в верхней части Воткинского водохранилища 2 - 3,5 м/с.
Распределение скоростей стоковых течений в поперечных сечениях водохранилища изменчиво. В русловой части преобладают стоковые, а другие виды течений, как правило, выражены слабее. В озерной части наряду со стоковыми часто развиваются ветровые, а в береговой зоне и на отмелях при волнении возникают вдольбереговые течения.
Течения в прибрежных мелководных зонах резко отличаются от течений в затопленном главном русле и протоках. Над береговой отмелью и на некотором расстоянии за ее пределами возникают течения, режим которых зависит от величины волн, ветра и рельефа отмели.
На участках береговых укреплений Куйбышевского, Саратовского и Волгоградского водохранилищ среднее значение коэффициента перехода от максимальных скоростей в русле к скорости на внешнем крае прибрежной отмели составляет 0,6. Скорости стоковых и ветровых течений в озерах не превышают 0,5 м/с.
Исходные данные для проектирования должны содержать сведения о скоростях течения в местах предполагаемого строительства или прогнозируемых их величинах. Прогноз разрабатывают на основе изучения аналогов, где величины скоростей течений изучены или же известны их последствия (например, в нижних бьефах гидроузлов).
| | ИС МЕГАНОРМ: примечание. В официальном тексте документа, видимо, допущена опечатка: нумерация примеров в Приложении 4 отсутствует. | |
1.4. Элементы волн на открытых и закрытых акваториях и волновые нагрузки определяют по главе СНиП "Руководство по определению нагрузок и воздействий на гидротехнические сооружения (волновых, ледовых и от судов)" [Всесоюзный научно-исследовательский институт гидротехники (ВНИИИГ), Л., 1977], учитывая при этом примеры 1 и 2
Прил. 4 настоящего Руководства.
Расчеты элементов волн водохранилищ производят с учетом деления на зоны по глубине, м:
- глубоководная - с глубиной

(где

- средняя длина волны в глубоководной зоне), дно не влияет на основные характеристики волн;
- мелководная - с глубиной

, дно влияет на развитие волн и основные их характеристики (

- критическая глубина воды, при которой происходит первое обрушение волн);
- приурезовая - с глубиной менее

, в пределах которой поток от разрушенных волн периодически накатывается на берег (где

- глубина воды, при которой происходит последнее обрушение волн);
- прибойная - с глубиной от

до

, в пределах которой начинается и завершается разрушение волн, на водохранилищах, как правило, отсутствует, так как уклоны подводных склонов больше 0,05 и

.
Сведения натурных наблюдений за скоростями ветра и волнением на некоторых водохранилищах и озерах приведены в
Прил. 1.
В зависимости от типа и конструкции берегового укрепления проект должен учитывать: нагрузки и воздействия волн на сооружения откосного профиля; нагрузки от стоячих, разбивающихся и прибойных волн на сооружения вертикального профиля; нагрузки от волн на обтекаемые преграды и сквозные сооружения.
1.5. В проекте должны быть учтены следующие ледовые нагрузки: навалы ледяных полей при штормах и ледоходах; торошение льда; вдольбереговой дрейф ледяных полей и торосов; температурное расширение сплошного ледяного покрова; всплывание отдельных элементов конструкций (например, камней в каменной наброске) вместе с ледяным полем или отдельными льдинами при повышении уровня воды в водоеме, особенно в хвостовых частях водохранилищ; удар отдельных льдин при ветровых нагонах.
Расчет нагрузок от движущихся ледяных полей на откосные береговые укрепления, сооружения с вертикальной передней гранью; от остановившихся ледяных полей, навалов на сооружения под воздействием течения воды и ветра; от сплошного ледяного покрытия при его температурном расширении; от примерзшего к сооружению ледяного покрова при изменении уровня воды выполняют по указаниям главы СНиП "Нагрузки и воздействия на гидротехнические сооружения (волновые, ледовые и от судов)".
Нагрузки от торошения льда и вдольберегового дрейфа торосов за отсутствием методики не рассчитывают, а только определяют на основе данных аналогов, натурных наблюдений и лабораторных исследований.
Береговые укрепления проектируют с учетом опыта эксплуатации водохранилищ и отдельных наблюдений в аналогичных условиях.
При тяжелых ледовых условиях крутизну бетонных откосных укреплений делают не круче 1:3 - 1:4, так как при таком заложении исключается сползание ледяных массивов. Земляные откосы, особенно неровные, способны удерживать лед от сползания и при более крутых заложениях.
1.6. В нижних бьефах гидроузлов, в результате перекрытия реки плотиной, образуется дефицит наносов, распространяющийся вниз по течению реки (на расположенное ниже водохранилище) иногда на десятки километров. Он способен вызвать на участке проектируемого берегового укрепления необратимый процесс понижения дна водохранилища и этим повлиять на устойчивость сооружения. Примером может служить размыв искусственного песчаного контрфорса в основании оползневого склона - горы Увек (Саратов). Сначала размыв происходил за счет стоковых течений. После постройки в 1966 г. гребенки из 11 подводных бун размыв контрфорса прекратился. Началось накопление наносов между бунами. В 1967 г. перекрытием Волги Саратовским гидроузлом (у Балакова) размыв возобновился из-за уменьшения расхода наносов. В связи с этим был разработан проект укрепления межбунных пространств каменной наброской.
Максимальные скорости течения в межбунных пространствах за 1969 - 1974 гг. 0,43 - 1,27 м/с.
Наблюдения за работой подводных бун показали, что с перекрытием Волги плотиной Саратовского гидроузла донные размывы могут оказаться опасными для речных сооружений, например, насосных станций, опор мостов и др.
Тип и конструкция береговых укреплений в значительной степени зависят от характера и направленности деформации дна водохранилища (размывы, аккумулятивные формы). Поэтому для участка речного водохранилища, на котором проектируются береговые укрепления, должны быть выполнены промеры, устанавливающие: величину отложений и глубину размывов, возникающих в необратимом или обратимом процессе; характер и размеры динамических аккумулятивных форм. Такие изыскания в необходимых случаях приобретают характер режимных наблюдений. Промерные работы выполняют ежегодно в четыре срока: перед началом зимней сработки водохранилища, во время паводка, после прохода паводка и в конце навигации. Поперечники, по которым выполняются промеры, закрепляют на берегу постоянными топографическими знаками - реперами с привязкой их к координатам абсолютной системы высот. Накладку промеров выполняют на одни и те же профили, что позволяет наглядно проследить за ходом деформации. Протяженность участка, охваченного промерными работами, назначают с учетом его геоморфологических особенностей, что необходимо для выдачи правильных рекомендаций по проектированию береговых укреплений.
Верхней границей промерных поперечников является коренной берег, не затопляемый речными паводками. Протяженность поперечников в сторону водохранилища (нижняя граница промеров) и расстояние между ними должны быть достаточными для выявления всех видов деформаций прибрежной зоны.
Учитывая, что сроки изысканий и проектирования береговых укреплений невелики, организацию промеров считают первоочередной работой и продолжают ее в течение строительного периода и эксплуатации береговых укреплений. Это дает возможность в процессе строительства вносить в проект изменения, а при эксплуатации сооружений - своевременно принимать необходимые меры для защиты сооружений от подмыва.
Проект берегового укрепления должен учитывать глубину бытовых, общих и местных размывов, которые могут возникнуть у его основания. Деформации дна получают наибольшее развитие в верховых участках водохранилищ. В результате сосредоточенных течений на участках затопленных русел начинают перемещаться донные отложения (наносы), активизируются русловые процессы и появляются размывы, перемещающиеся вслед за наносными скоплениями.
При косом подходе к берегу стоковых и волновых течений, а также у естественных и искусственных поперечных преград (мысов, затопленных отмелей, причальных пирсов, мостовых опор и т.д.) могут возникнуть вихревые воронки, вызывающие местные размывы непосредственно у сооружений.
В стесненных условиях, чаще всего обусловленных искусственными препятствиями, например, мостовыми переходами, поперечными дамбами и др., может происходить общий размыв дна.
Отметка дна после бытового размыва в любой точке затопленного русла может быть определена как низшая на рассматриваемом участке, где размыв не был осложнен влиянием искусственных сооружений. Иными словами, вертикаль с наибольшей бытовой глубиной может переместиться в любую точку русла. Поперечное перемещение русла по затопленной пойме, если оно было при бытовом режиме реки, может проявиться и после затопления, но в уменьшенном виде и темпе на приплотинных участках и, наоборот, активизироваться по сравнению с бытовыми на верховых участках. Здесь боковое смещение русла может начаться и в тех случаях, если оно не наблюдалось при бытовом режиме. В отдельных случаях происходит спрямление затопленных излучин.
Величину местного размыва в руслах или других элементах рельефа дна водохранилищ, сложенных песчаным материалом, можно определить через расчетную величину скорости стоковых течений и их общее направление относительно обтекаемого сооружения. В затопленных руслах направление течений можно принимать по динамической оси потока, совпадающей с линией наибольших глубин. При этом следует учитывать возможность увеличения угла встречи за счет дополнительного искривления динамической оси потока при эксплуатации, например, за счет бокового смещения русла.
Приближенно величину местного размыва

можно определить по формуле И.А. Ярославцева

,
где v - максимальная на вертикали скорость стоковых течений;

- угол подхода стокового потока к сооружению;
g - ускорение силы тяжести;
m - крутизна откоса сооружения.
Общий размыв в местах сужения поперечного сечения водохранилищ мостовыми переходами или иными искусственными сооружениями определяют по специальной методике (например, Бабков В.Ф., Андреев О.В. Проектирование автомобильных дорог. Т. 2. - М.: Транспорт, 1979; Андреев О.В. и др. Основы расчета мостовых переходов. - М.: Высш. школа, 1971).
1.7. С образованием водохранилищ участие стоковых течений в руслоформирующем и рельефообразующем процессе берегов потеряло свое преобладающее значение, но вместо них вступили в действие новые силы, обусловленные повышением уровня воды на 10 - 20 м, а на некоторых водохранилищах и более. В контакт с рекой вступают породы, ранее не подвергавшиеся постоянному или даже временному (при высокой воде) намоканию, ухудшающему прочностные и деформационные свойства пород, а следовательно, снижающему устойчивость склона долины. Особенно губительны для устойчивости берега разрушения пород в полосе амплитуды режимных колебаний уровня водохранилища, достигающей 2 - 7 м.
Переформирование берегов водохранилищ представляет собой нестационарный многофакторный процесс, в результате которого возникают различные формы берегов, определяемые преимущественно инженерно-геологическими условиями. Типичные формы берегов показаны на рисунках в табл. 2.
Таблица 2
Типичные формы берегов
Формы берегов | Характеристика | Береговые укрепления |
| Слабонаклонные склоны речной долины, уходящие под уровень постоянного затопления (У.П.З.) с активно формирующимися надводным или подводным абразионным уступом | Упорный пояс любой конструкции, кроме подводной гребенки (рис. 17) |
| Динамически активные берега с базисом оползней выше уровня постоянного затопления | |
| Динамически активные берега с базисом оползней ниже уровня постоянного затопления | |
| Береговой уступ, формируемый водохранилищем, с затопленной террасой или поймой вперед его подошвы | Упорный пояс любой конструкции, кроме подводной гребенки (рис. 17) |
| Абразионный береговой уступ, возвышающийся над аккумулятивными формами берега (над растущими отмелями, косами и проч.) | Опояска любой конструкции |
| Крутопадающие приглубые берега с глубиной воды на месте строительства берегового укрепления до 25 м и более | |
| Затопленное коренное русло со стоковыми течениями, размывающими прибрежную террасу | Упорный пояс любой конструкции |
Волновое воздействие лишь участвует и зачастую не определяет характер, темпы и объемы разрушений берегов. Строительство береговых укреплений приходится вести в условиях динамически активного берега. Режимные наблюдения за темпами и объемами разрушения берегов очень ограничены, но все же позволяют установить главные черты их переформирования.
Одной из задач инженерно-геологических изысканий для обоснования проекта береговых укреплений является составление прогноза переформирования берега на период проектирования и производства строительных работ в зоне, охваченной нестационарным процессом динамики берега. Такой прогноз обосновывается инженерно-геологическими изысканиями, сопоставлением материалов съемок различных лет, лоцманскими картами и непосредственными наблюдениями. При его составлении учитывают: волновое воздействие на берег; стоковые течения и вдольбереговой поток наносов; выветривание и размокаемость пород в зоне переменных уровней; механическое разрушение пород ледовыми подвижками и навалами; влияние разрушения контрфорсной части склона на развитие оползневых процессов.
1.8. Образование водохранилищ в речных долинах вызывает обводнение пород, которыми сложены борта долины. При этом глинистые и илистые водонасыщенные грунты резко снижают несущую способность и приобретают свойства ползучести.
Особенностями водонасыщенных глинистых и илистых грунтов являются:
- малая плотность и как следствие этого высокая сжимаемость, достигающая 10 - 15% мощности слоя при нагрузках 1 - 1,5 кг/см2;
- низкие прочностные характеристики
(табл. 3);
- длительная продолжительность процесса фильтрационной консолидации (уплотнения) - месяцы и годы;
- отчетливо выраженные реологические свойства. Пороги начальной и установившейся ползучести равны нулю. Период неустановившейся ползучести мал, а установившаяся сдвиговая ползучесть после завершения процесса уплотнения протекает непрерывно, не обнаруживая тенденций к затуханию. Коэффициент вязкости в периоде установившейся ползучести находится

;
- возможность тиксотропного разупрочнения под воздействием динамической нагрузки. При достижении определенного уровня вибрации структурные связи в грунте разрушаются и он переходит в текучее состояние.
Таблица 3
Прочностные характеристики ползучих грунтов
Грунт | Угол внутреннего трения, град | Сцепление, кг/см2 |
Илы | 0 - 7 | 0,1 |
Глины, суглинки | 5 - 12 | 0,1 - 0,3 |
Проектирование береговых укреплений на слабых основаниях предъявляет специальные требования к инженерно-геологическим изысканиям. Для выбора типа сооружения и размеров конструкции на слабых основаниях необходимо изучить указанные выше особенности слабых грунтов.
1.9. Серьезные гидрогеологические изменения происходят в больших регионах, прилегающих к крупным речным водохранилищам. Повышается напорность существующих водоносных горизонтов, образуются новые безнапорные (верховодка) и напорные горизонты, некоторые виды глин обводняются капиллярным поднятием подземных вод.
Влияние вновь сложившихся гидрогеологических условий на устойчивость склонов долин не сводится только к повышению фильтрационного давления, как это предполагалось при проектировании водохранилищ ранее. Наибольшая опасность - это постепенное, медленное разупрочнение пород под воздействием подземных вод, образование глубинных поверхностей смещения, вызывающих явления, подобные сейсмическим.
При проектировании береговых укреплений, конечно, невозможно предусмотреть долговременные изменения устойчивости склонов долин, находящихся под воздействием водохранилища. Для этого необходимо вести постоянные режимные наблюдения и своевременно предупреждать о наступающей опасности нарушения устойчивости побережья водохранилища. В таких условиях внутренние водоемы служат фронтом разгрузки подземных вод и проект береговых укреплений должен предусматривать дренажные устройства, обеспечивающие свободную фильтрацию подземных вод в водоем из его бортов.
При проектировании новых водохранилищ разрабатывают региональный прогноз повышения уровня подземных вод и ожидаемых последствий такого повышения.
Если ожидается разупрочнение пород, впервые смоченных подземными водами, в населенных пунктах устанавливают контрольные гидрогеологические створы и ведут режимные наблюдения, позволяющие заранее предупредить об опасности повышения уровня подземных вод, способных вызвать деформацию зданий и сооружений.
1.10. Сейсмические воздействия на береговое укрепление следует учитывать при проектировании в районах с сейсмичностью больше шести, а на период строительства - больше семи баллов. На период строительства расчетная сейсмичность должна снижаться на один балл.
Силу землетрясения оценивают по карте сейсмического районирования территории и уточняют на основе инженерно-геологических и гидрогеологических условий согласно
СНиП II-7-81 "Строительство в сейсмических районах". В районах, для которых ожидается повышение сейсмичности, силу землетрясения уточняют по консультативным данным научно-исследовательских учреждений, занимающихся вопросами влияния водохранилища на региональное увеличение сейсмичности.
Сооружения в сейсмических районах должны удовлетворять расчетам на основное сочетание нагрузок в соответствии с требованиями главы СНиП "Нагрузки и воздействия на гидротехнические сооружения"; особое сочетание нагрузок с учетом сейсмического воздействия по
СНиП "Строительство в сейсмических районах".
2. ОСНОВНЫЕ ПОЛОЖЕНИЯ ПРОЕКТИРОВАНИЯ БЕРЕГОВЫХ УКРЕПЛЕНИЙ
2.1. Тип и конструкцию берегового укрепления определяют: нагрузки, вызываемые воздействиями водоема на берега и сооружения; инженерно-геологические условия и рельеф бортов водоема; значение защищаемой территории для народного хозяйства, ее использование в градостроительных, промышленных и транспортных целях; планировочные требования к прибрежной полосе, определяемые проектом генерального плана города (промышленного предприятия) или проектом детальной планировки.
Таблица 4
Основные типы береговых укреплений
Номер рисунка | Краткое описание конструкции | Условия применения |
Упорный пояс (подводное) |
| Банкет из каменной наброски | При слабых осадочных основаниях и опасности подмыва сооружения стоковыми течениями. При укладке на рыхлое основание профиль банкета увеличивают в соответствии с ожидаемой осадкой |
| Банкет из фасонных блоков, пирамид или кубов | При отсутствии камня требуемых кондиций, отвечающих волновым и ледовым условиям. При укладке на слабое основание профиль банкета увеличивают в соответствии с ожидаемой осадкой |
| Массивы-гиганты из тонкостенного сборного железобетона с заполнением песком или бетоном, установленные на каменной постели | На скальных или полускальных основаниях |
| Стенка из двухрядного железобетонного шпунта таврового сечения с диагональными тягами | На скальном или полускальном основании. Подводная высота сооружения ограничивается производственными возможностями по изготовлению и установке элементов |
| Шпунтовый ряд из заанкерованных стальных свай типа "Ларсен" или ШК, омоноличенных поверху | На основаниях из плотных глин или гравийно-галечных грунтов без включения валунов, с содержанием гальки и гравия не более 30% |
| Стенка из железобетонного шпунта таврового сечения, омоноличенная поверху, анкерованная или со свободным концом | На грунтах без включения валунов с содержанием гравия и гальки не более 30% |
| Стенка из анкерованного железобетонного шпунта прямоугольного сечения, омоноличенного поверху с песчано-гравийным обратным фильтром или с иными противофильтрационными устройствами | На основаниях, допускающих погружение железобетонного шпунта любым способом |
| Стенка из анкерованных свай-оболочек, омоноличенных поверху, с противофильтрационным устройством | На основаниях, допускающих погружение свай-оболочек |
| Подводная гребенка из каменно-набросных бун на естественном основании | Для защиты от размыва стоковыми течениями, подводных террас и откосов |
Опояски (надводное) |
| Опояска из фасонных блоков (тетраподов, диподов и проч.) на постели из каменных материалов | Для защиты береговых уступов в любых инженерно-геологических и гидрологических условиях. Размеры каменной постели назначают с учетом стоковых течений |
| Опояска подошвы берегового уступа из штучного камня с окантовкой кромки свайным рядом сквозной конструкции с шапочным брусом | Ниже базиса оползней на незатопленной части склона или террасы |
| Стенка свайно-заборчатой конструкции высотой до 2 м | На основаниях, допускающих погружение свай любым способом. При пологом откосе перед стенкой и малых амплитудах колебаний уровня |
| Опояска в виде подпорной стены уголкового профиля | При пологом откосе перед стенкой, высоте волны до 1 м |
Откосные |
| Откосные покрытия плитами из монолитного железобетона (с открытыми или закрытыми швами), уложенные на обратном песчано-гравийном фильтре или щебеночной подготовке | Для укрепления берегов в зоне колебания уровней воды и волнового воздействия выше строительного уровня в водохранилище |
| Покрытия плитами из сборного железобетона (с открытыми или закрытыми швами), уложенными на обратном песчано-гравийном фильтре или щебеночной подготовке | То же |
| Гибкие покрытия (тюфячного типа) с открытыми швами из сборного железобетона, анкерованные за плиты или сваи в верхней части крепления, на гравийно-галечном естественном или искусственном основании | Для укрепления подводной части берегов |
| Каменная наброска на обратном фильтре или щебеночной подготовке | Для укрепления подводной и надводной части берега |
| Откосное укрепление из фасонных блоков (тетраподов, диподов и др.) | Для укрепления подводной части приглубых берегов в тяжелых волновых и ледовых условиях. При укладке на слабое основание профиль укрепления увеличивают в соответствии с ожидаемой осадкой |
| Ступенчатое укрепление бетонными блоками | Для укрепления берегов в зоне колебания уровней воды и волнового воздействия выше строительного уровня |
| Решетчатые плиты на песчано-гравийном фильтре с заполнением ячеек камнем | Для укрепления берегов выше строительного уровня. Обладает хорошими дренирующими свойствами |
| Решетчатые плиты на щебеночной подготовке с заполнением ячеек растительной землей с посевом трав | На малых водоемах (облегченный тип укрепления) |
Подпорные стены набережных |
| Массивная, волноотбойного профиля из монолитного или сборного железобетона на свайном основании или каменной постели | Выше строительного уровня для защиты транспортных магистралей, прогулочных террас городских набережных |
| Из обыкновенных массивов на каменной постели | Для защиты террас набережных потенциально-оползневых берегов |
| Уголкового профиля из сборного железобетона на высоком свайном ростверке | Выше строительного уровня для защиты террас городских набережных |
| Из крупных анкерованных свайных панелей прямоугольного сечения | То же |
| Уголкового профиля из сборного железобетона на основании из каменных материалов | Выше строительного уровня, на грунтах, не допускающих погружения свай |
| Из железобетонного таврового или прямоугольного шпунта с наклонными анкерующими сваями | На грунтах без валунов с содержанием гравия и гальки не более 30% |
Примечание. Конструкции упорного пояса можно применять как самостоятельные береговые укрепления при отсутствии особых архитектурно-планировочных и других специальных требований к благоустройству берега, его промышленному или транспортному использованию.
В
табл. 4 приведены основные типы береговых укреплений, целесообразность применения которых подтверждена практикой их строительства и эксплуатацией. При проектировании такие конструкции совершенствуют в направлении повышения их технологичности и строительстве, продолжительности межремонтных периодов.
Причинами повреждений на берегоукрепительных сооружениях, их аварийного состояния и полного разрушения отдельных участков являются: подмыв нижней (подводной) кромки сооружения стоковыми течениями; вынос грунтов из основания каменных набросок и через швы железобетонных конструкций волновыми скоростями, а в нижней части - стоковыми течениями из-за отсутствия или некачественного выполнения обратных фильтров; вдольбереговой дрейф ледяных торосов; разжижение песков с полным разрушением грунтовой части сооружения и обрушением плит из монолитного армированного бетона; применение некондиционных каменных материалов, некачественного бетона и грубые нарушения технологии его укладки.
Обобщение опыта проектирования и анализ причин, вызвавших повреждения сооружений, позволяют сформулировать основные принципы конструирования береговых укреплений:
сопряжение берегового укрепления с его основанием должно быть надежно защищено от размыва стоковыми течениями и волновыми скоростями (в подводной части упорным поясом, в надводной - опояской или зубом). Подмыв упорного пояса или надводной части берегового укрепления начинается, когда скорости стоковых течений и волновые достигают размывающих величин. Расчетную максимальную волновую донную скорость и допускаемые значения волновых неразмывающих донных скоростей следует принимать согласно главе СНиП "Нагрузки и воздействия на гидротехнические сооружения (волновые, ледовые и от судов)" для сооружений с вертикальной стенкой; грунтовая часть берегового укрепления, в частности, основание откосного покрытия, является работающей частью сооружения, воспринимающей активные волновые, ледовые и другие нагрузки. Его гранулометрический состав и плотность должны удовлетворять техническим требованиям, предусматриваемым проектом;
конструкции, воспринимающие давление грунта (особенно тонкостенные), возводимые на ползучих грунтах, должны учитывать изменение несущей способности во времени, связанное с проявлением реологических свойств грунта основания и релаксации реактивного давления ползучего грунта на стенку;
конструкции упорного пояса, опоясок, откосных покрытий и подпорных стен набережных должны быть грунтонепроницаемыми и не допускать выноса грунта стоковыми течениями, волновыми скоростями и грунтовыми водами, вклинивающимися на береговом уступе;
береговые укрепления должны предусматривать дренирующие системы, обеспечивающие прямую гидравлическую связь потока подземных вод с водоемом;
конструкции береговых укреплений, особенно упорного пояса и опояски, должны обеспечивать устойчивость и прочность сооружения при ледовых нагрузках (см.
п. 1.5 Руководства).
2.2. Береговые укрепления в городах, на промышленных предприятиях и у транспортных коммуникаций относятся к сооружениям инженерной защиты, и их класс должен назначаться проектом в соответствии с требованиями СНиП "Гидротехнические сооружения, речные. Основные положения проектирования", где указывается, что при определении классов постоянных гидротехнических сооружений следует учитывать последствия при их аварии или нарушении эксплуатации. Поэтому при назначении класса проектируемых береговых укреплений кроме указанной главы СНиП рекомендуется пользоваться табл. 5.
Таблица 5
Класс проектируемых береговых укреплений
Класс | Характеристика зданий, сооружений, территорий |
I | Порталы тоннелей метрополитена, насосные станции первой категории надежности с водоприемниками |
II | Капитальная многоэтажная жилая застройка, общественные капитальные здания и промышленные предприятия с непрерывным производственным циклом, насосные станции второй и третьей категории надежности с водоприемниками |
III | Территория с малоэтажной застройкой, промышленные и коммунальные предприятия, проезды общегородского значения |
IV | Городские парки и бульвары, зоны отдыха и зеленые зоны, городские проезды районного значения, садовые и огородные участки садоводческих товариществ и сельскохозяйственные угодья |
Примечание. Классы территорий, занятых гидротехническими сооружениями, железными и автомобильными дорогами, принимают согласно СНиП по проектированию этих сооружений.
Класс береговых укреплений у территорий, подлежащих реконструкции в пределах проектного срока, назначают в соответствии с намечаемым их использованием. Если же реконструкция отнесена на перспективу, то класс назначают в соответствии с фактическим использованием территории, но при этом проект должен предусматривать возможность повышения класса береговых укреплений.
2.3. Порядок проектирования и состав проекта береговых укреплений определяют по общесоюзным нормативным документам, техническим и архитектурно-планировочным заданиям, утвержденным в установленном порядке. Техническое задание на проектирование береговых укреплений должно содержать следующие сведения:
границы участка проектирования с учетом геоморфологических особенностей берега с рекомендациями о выделении первой очереди строительства;
генеральная подрядная строительная организация, ее ведомственная подчиненность и льготы, предоставленные правительственными постановлениями и распоряжениями;
производственные мощности заводов железобетонных изделий, способных изготовлять железобетонные элементы гидротехнических сооружений при строгом соблюдении ГОСТа и норм гидротехнического строительства;
разведанные запасы грунтов, пригодных для гидротехнического строительства, дальность их возки, источники получения гидротехнического камня и каменных материалов. При их отсутствии - задание на их поиск и разведку.
Архитектурно-планировочное задание должно содержать градостроительные, архитектурно-планировочные и архитектурные требования к проекту берегового укрепления в увязке с ландшафтом прибрежной части города, определять его градообразующее назначение. К нему должен быть приложен проект детальной планировки прибрежной части города или выкопировка из генерального плана города.
Границы участка и плановое приложение береговых укреплений, указанные в техническом и архитектурно-планировочном заданиях, могут уточняться при проектировании для выбора наилучших условий сопряжения сооружения с берегом и водоемом. Конструкция сопрягающих участков должна обеспечивать безаварийную работу сооружения в условиях продолжающихся переформирований берега водоема на участке примыкания.
Протяженность береговых укреплений, определяемая условиями примыкания, может оказаться больше требуемой заданием на проектирование.
2.4. Планировочное решение берегового укрепления определяется не только архитектурно-планировочным и техническим заданиями на проектирование, но и зависит от формы и планового очертания берега, волнового и ледового режимов водоема.
Линию регулирования (пересечения лицевой грани сооружения с зеркалом водоема при расчетной отметке) прокладывают по плавной кривой, без углов и выступов, ухудшающих условия волнового воздействия и способствующих образованию навалов льда и его торошения. Повороты, неизбежные при большой протяженности сооружения, проходят по плавной кривой или под тупым углом не менее 120°. Общую устойчивость берегового укрепления проверяют расчетами.
Профиль берегового укрепления должен обеспечивать собственную устойчивость и устойчивость берега. Профиль определяется: архитектурно-планировочным и техническим заданиями на проектирование; рельефом, инженерно-геологическими условиями и динамикой берега; величиной амплитуды колебания уровня водоема, его волновым и ледовым режимами.
При большой амплитуде колебаний уровня водоема береговое укрепление должно иметь в своей надводной части верхнюю и, как правило, нижнюю террасу (или берму) и промежуточные бермы. Их размещение согласовывают с отметками выклинивания подземных вод в береговом склоне. Ширину террас и берм определяют планировочные требования, условия производства работ и устойчивость сооружения.
Отметка верхней террасы назначается проектом в зависимости от ее использования. При использовании в градостроительных целях она должна быть незатапливаемой при паводках расчетной вероятности, принятой в зависимости от класса сооружения, с учетом высоты волны по СНиП "Нагрузки и воздействия на гидротехнические сооружения (волновые, ледовые и от судов)". При отсутствии капитальной и жилой застройки терраса может затапливаться паводками. Отметка затапливаемой верхней террасы должна назначаться на уровне паводка обеспеченностью 10% с учетом высоты волны при обеспеченности максимальной скорости ветра 50%. При необходимости допускается установка парапета в виде волноотбойной стены.
Конструкция затапливаемой верхней террасы должна предусматривать защиту сооружения от размыва паводками. Во всех случаях отметка верхней террасы и применение волноотбойной стены обосновываются технико-экономическими расчетами.
Нижняя терраса (строительная) на внутренних водоемах является конструктивной частью берегового укрепления. Она разделяет береговое укрепление на верхнюю (надводную) и нижнюю (подводную) части.
Надводная часть затапливается лишь при паводках, нагонах и волнениях редкой повторяемости. Возводится она по технологии, обычной для гидротехнического строительства - насухо.
Конструкция нижней части должна учитывать особенности и требования подводного строительства. Сама нижняя терраса служит строительной площадкой при возведении незатапливаемой и подводной частей берегового укрепления, на которых размещаются технические средства, необходимые для строительства. Поэтому при назначении отметки нижней террасы надо учитывать следующие условия: нижняя терраса не должна затапливаться при штормах частой повторяемости; отметки нижней террасы должны вписываться в планировочное решение берега.
При расчете незатопляемости нижней террасы на водохранилищах с рядами наблюдений за колебаниями уровней менее 25 лет за исходную принимают отметку НПУ. На озерах с естественным режимом за исходную принимают отметку ординара.
Отметка нижней террасы по условиям незатопляемости должна превышать исходную отметку на высоту волны 1%-ной обеспеченности (в системе волн) при расчетном шторме повторяемостью 50%. Однако отметку нижней террасы не следует назначать ниже отметки НПУ или максимального уровня с учетом суточных колебаний уровней (см.
п. 1.1).
При строительстве береговых укреплений до наполнения водохранилища (насухо) отметку нижней (незатапливаемой) террасы назначают в соответствии с планировочным решением берега. При штормах редкой повторяемости и пропуске паводков строительство прерывают, а механизмы убирают в безопасные места или закрепляют на участках производства работ.
2.5. Гарантирование грунтонепроницаемости конструкций - одна из центральных задач в проектировании береговых укреплений.
С этой целью в практике строительства в зависимости от типа конструкции применяются: навеска на тыльные плоскости стенок армированных битумных матов или стеклотканей на основе полиэфирной смолы ПН-I; устройство деревянных или железобетонных нащельников в конструкциях с редко расположенными швами; устройство гравийно-песчаных обратных фильтров различной конструкции - наиболее универсальный тип защиты.
В береговых укреплениях применяют однослойные и многослойные обратные фильтры и подготовки, толщину и зерновой состав которых назначают по расчету.
Требования к зерновому составу:
1. Для однослойных фильтров пригодность местного материала по зерновому составу должна устанавливаться, исходя из степени его неоднородности, а также из соотношения размеров частиц материалов с размерами открытых швов и сквозных отверстий в конструкции и размерами частиц грунта берегового склона.
Степень неоднородности материала однослойной подготовки допускают в пределах:

. При покрытии из плит принимают значение

не более 60 мм. Размеры фракций однослойной подготовки

и поперечное сечение отверстий b принимают

(где n - число частиц, % массы, которое допускается к вымыванию из верхнего слоя подготовки исходя из допустимых размеров осадочных деформаций покрытия). Для сквозных покрытий из плит принимают n <= 25%.
При укладке плит с открытыми швами или щелевыми отверстиями, расположенными перпендикулярно урезу воды, соотношение между размерами фракций однослойной подготовки и поперечными размерами швов или отверстий принимают следующие: при высоте расчетной волны 1%-ной обеспеченности до 2 м -

; более 2 м -

.
Если продольная ось швов или отверстий расположена вдоль линии уреза воды, то в расчетах соотношение принимают

.
Размеры частиц однослойной подготовки

принимают в зависимости от размеров частиц песчаного грунта откоса

по соотношению:

.
2. Для обратных фильтров из двух или трех слоев нижний слой для надежного контактирования с песчаным грунтом откоса выполняется из материала со степенью неоднородности

и удовлетворяющего определенным пределам соотношений между размерами своих частиц D и размерами частиц d грунта откоса по соотношению действующих диаметров

или по соотношению средних диаметров

.
Зерновой состав слоя, расположенного непосредственно под сквозным покрытием, принимают исходя из трех критериев:
значение степени неоднородности фракций в материале удовлетворяет требованиям

;
значение коэффициента межслойности с расположенным под ним слоем подготовки находится в пределах

;
размеры

наименьшей фракции верхнего слоя подготовки в зависимости от поперечного сечения отверстий в покрытии принимаются по соотношению

.
При укладке плит с открытыми швами или щелевыми отверстиями, расположенными перпендикулярно урезу воды, соотношение между размерами фракций верхнего слоя подготовки и поперечными размерами швов или отверстий принимают: при высоте расчетной волны 1%-ной обеспеченности до 2 м -

; а при высоте более 2 м -

.
Если продольная ось швов или отверстий расположена вдоль линии уреза воды, то в расчетах принимают соотношение

.
Зерновой состав промежуточного слоя трехслойной подготовки и состав расположенного под ним нижнего слоя должны по соотношениям размеров частиц удовлетворять следующим требованиям:
по пределам значений межслойного коэффициента

и по пределам соотношений между значениями степени неоднородности, которое должно быть меньше или равно 12.
Толщину однослойных фильтров

под покрытиями из плит с открытыми швами или сквозными отверстиями принимают

; толщину однослойных подготовок под сплошными покрытиями типа монолитных и сборных омоноличиваемых железобетонных плит - в пределах

.
Толщину отдельных слоев подготовок, состоящих из двух или трех слоев, принимают для крупнообломочных грунтов и щебня при механизированной их укладке на откосе не менее 20 см, для крупнозернистого песка при механизированной укладке на откос - не менее 15 см.
Конструкции фильтров приведены в типовых проектах институтов "Гипроречтранс" и "СоюзморНИИпроект".
2.6. Проект береговых укреплений на ползучих грунтах должен содержать прогноз скорости смещения гравитационных подпорных стен и проверку на длительную прочность несущих тонкостенных конструкций.
Прогноз установившейся скорости смещения гравитационных подпорных стен разрабатывают по методике проф. Н.Н. Маслова. Скорость смещения V вычисляют по формуле

, (1)
где h - мощность активной зоны основания, в пределах которой касательные напряжения превышают порог ползучести грунта;

- касательные напряжения в плоскости подошвы стенки;
B - ширина подошвы стенки;

- нормальные напряжения в плоскости подошвы стенки;

- средняя плотность грунта естественной влажности;

- угол внутреннего трения грунта основания;

- разность между порогом установившейся ползучести и начальным порогом ползучести грунта;

- коэффициент вязкости грунта.
Особенность расчета конструкции на деформирующемся во времени (ползучем) основании заключается в определении параметров ее напряженного состояния, отвечающих заданной долговечности

.
При проверке длительной прочности тонкостенных конструкций целесообразно исходить из метода предельных состояний, ведя расчет на действие нормативных нагрузок.
Период времени

, для которого необходимо провести проверочный расчет сооружений на длительную прочность, назначают в зависимости от класса сооружения (по данным Будина А.Я., Кириллова В.М. и др. Набережные. Справ. пособие. - М.: Стройиздат, 1979). При II классе сооружения

равен 50, при III классе - 40, при IV классе - 35 годам.
Примеры расчетов береговых укреплений на ползучих грунтах приводятся в настоящем Руководстве.
2.7. Проект берегового укрепления должен предусматривать следующее инженерное оборудование: дренажные системы, каптирующие и отводящие подземные воды, выклинивающиеся в береговом уступе и основании сооружения; дренажные выпуски для снятия гидростатического напора в грунтовой части берегового укрепления; дождеприемные лотки, водостоки и водовыпуски для отвода талых и дождевых вод, а также воды, остающейся на террасах при накате волн и их переплескивании через парапет; электрическое освещение.
В грунтовой части береговых укреплений допускается прокладка городских инженерных коммуникаций. При этом напорные водоводы должны укладывать в тоннелях, обеспечивающих осмотр и ремонт трубопроводов.
Конструкция и отметки водовыпусков, устраиваемых в теле берегового укрепления, должны обеспечивать возможность их очистки от мусора в любое время года; не иметь выступающих частей в устьевой части, подверженной ледовым воздействиям; не допускать затопления защищаемой территории при паводках редкой повторяемости (для этого предусматривают специальные затворы); гарантировать круглогодичную бесперебойную работу выпусков дренажных вод (для этого в особых условиях предусматривают дренажные насосные станции). На пересечениях береговых укреплений с постоянными и временными водотоками (устьев оврагов) предусматривают малые мосты или водосточные трубы проходных сечений. Их пропускную способность определяют в соответствии с СН "Указания по определению расчетных гидрологических характеристик".
Водопользование из водоемов надо обеспечивать устройством пешеходных лестничных сходов и пандусов, автомобильных съездов к воде, пожарных колодцев на нижней террасе, причалов для катеров и лодок, мест для организации водоспортивных баз и лодочных стоянок.
Размещение пешеходных сходов и съездов должно отвечать планировочным решениям прилегающей к водоему территории. Заложение маршей сходов должно быть не круче 1:2,5, число ступенек в марше не больше 12 - 15 с размерами 14 x 35 см. После каждого марша устраивают площадку отдыха протяженностью не менее 1,5 м. Сходы целесообразно сочетать с видовыми площадками, а непосредственно у воды устраивать террасу.
Автомобильные съезды должны проектироваться согласно требованиям главы СНиП на проектирование автомобильных дорог. В нижней части съездов проектируют разворотные площадки или свободный проезд автомобилей на противоположный съезд. Пожарные колодцы и автомобильные съезды размещают не реже чем через 500 м.
Рыбное хозяйство, условия судоходства на водохранилище, в особенности подходы к портам Минречфлота РСФСР и к причалам клиентуры, не должны ухудшаться береговыми укреплениями.
Если укрепления пересекают или затрагивают нерестилища ценных пород рыб, то проект и смета должны предусматривать их восстановление в утраченном объеме по техническим условиям органов рыбоохраны.
Деформации построенных береговых укреплений должна своевременно обнаруживать и устранять служба технической эксплуатации. С этой целью проект должен предусматривать установку и конструкцию реперов и марок, наблюдения по которым укажут горизонтальные и вертикальные их смещения; пьезометрические створы для наблюдения за уровнем подземных вод, влияющих на работу сооружения.
2.8. Целесообразность строительства береговых укреплений должна обосновываться: анализом перспективного использования территории с учетом комплекса градообразующих факторов и развития транспортных и других коммуникаций; требованиями охраны окружающей среды и экологическими условиями; экономичностью береговых укреплений. Экономичность береговых укреплений оценивают в зависимости от использования защищаемых ими территорий, что и определяет методы оценки.
В практике проектирования возможны следующие случаи:
1. Территория предназначена для строительства зданий и сооружений промышленного назначения или их реконструкции. Стоимость строительства береговых укреплений должна включаться в смету на строительство промышленного предприятия и учитываться при оценке его экономической эффективности в соответствии с Методическими указаниями Госстроя СССР.
Такой же метод применяют в случаях, когда береговые укрепления предназначены для защиты зданий и сооружений, для которых показателями экономической эффективности служат стоимость строительства, срок окупаемости и прибыль.
2. Городские территории предназначены для капитальной жилой застройки. Вопрос о целесообразности строительства береговых укреплений решают в проекте генерального плана или другого планировочного документа с учетом площади имеющихся резервных земель и комплекса градообразующих факторов (см. СНиП по планировке и застройке городов). В проекте береговых укреплений должен быть предложен оптимальный вариант, учитывающий все планировочные и архитектурные требования.
3. Береговые укрепления предназначены для защиты существующей городской застройки, отдельных капитальных зданий и сооружений, историко-архитектурных памятников, транспортных сооружений и инженерных коммуникаций, которые необходимо сохранить. В проекте береговых укреплений ограничиваются выбором наилучшего варианта.
4. Береговые укрепления предназначены для защиты территории, занятой малоэтажной застройкой без перспективы ее реконструкции за проектный срок. Проект берегового укрепления должен обосновываться результатами экономического сопоставления стоимости строительства и эксплуатации береговых укреплений с затратами на вынос и восстановление всех фондов на новом месте. Эти затраты должны обосновываться материалами подробного экономического обследования территории, нуждающейся в инженерной защите.
Отчет об экономическом обследовании должен содержать материал, позволяющий оценить народно-хозяйственное и экономическое значение территорий, находящихся в зоне воздействия водоемов, а также сведения о численности населения, площади жилого фонда, объеме и значимости продукции, выпускаемой промышленными предприятиями, наличии культурно-бытовых учреждений и архитектурно-исторических памятников, числе школьных и дошкольных мест и больничных коек, протяженности и значении дорог, инженерных коммуникаций и пр.
При рассмотрении варианта ликвидации всех фондов на территории, нуждающейся в инженерной защите, учитывают затраты на переселение с обеспечением всех жителей жилой площадью по действующим нормативам; благоустройство и обеспечение населения всеми видами услуг на новом месте поселения по действующим нормативам, восстановление учреждений просвещения, здравоохранения, культуры, торговли; восстановление на новом месте промышленных предприятий, взамен ликвидируемых, такой же производительности, но при современных технических условиях; восстановление дорог и инженерных коммуникаций по их действительной стоимости; компенсацию местному населению за ликвидируемые сады и огороды по действующим нормативам; разборку зданий и сооружений, санитарную очистку освобождаемой территории и ее временную рекультивацию (до ее разрушения водохранилищем).
Границы опасной зоны устанавливают по инженерно-геологическим изысканиям, учитывающим очередность освобождения территории. При экономических расчетах используют типовые проекты, прейскуранты и другие нормативные документы, привязанные к местным условиям.
Лучший вариант береговых укреплений выбирают из вариантов одинаковых по надежности и классу, учитывая стоимость строительства береговых укреплений, затраты на их эксплуатацию, доступность применения наиболее прогрессивных способов производства работ и улучшение экономических условий. Отказ от строительства береговых укреплений сопровождают предложениями о размещении восстанавливаемых фондов и об очередности выноса зданий и сооружений из зоны воздействия водоема.
2.9. Экономичность береговых укреплений, правильное определение стоимости их строительства и выбор оптимального варианта зависят от полноты и качества исходных данных, принятых в обоснование проекта. Их получают в результате инженерно-геологических, топографических и инженерно-гидрологических изысканий, а также обработки фондовых и архивных материалов, которые касаются условий строительства и эксплуатации проектируемых береговых укреплений.
Изыскания должны удовлетворять общим требованиям, содержащимся в главе СНиП на инженерные изыскания для строительства, а также обеспечивать проектирование исходными данными, отвечающими требованиям задания на изыскания, выдаваемого в каждом конкретном случае. Задание должно предусматривать выдачу исходной документации:
1. Топографический план береговой полосы в масштабе (1:1000), для рабочего проектирования (1:500). При протяженности участка более 2 км, план фотомеханическим способом уменьшают до масштаба 1:2000. Протяженность участка топосъемки должна быть достаточной для проектирования примыкания береговых укреплений с учетом геоморфологических особенностей берега или конструкций сопрягаемых сооружений. Ширина полосы съемки должна быть достаточной для оценки условий устойчивости проектируемых сооружений и для проекта сопутствующих сооружений - городской дороги, прогулочных террас, пляжей и т.д.
На топоплане прокладывают магистральный теодолитный ход, закрепленный на месте постоянными знаками, привязанными к полигонометрической сети. Ход прокладывают на некотором расстоянии от бровки берега, чтобы при строительстве он мог служить базисом для привязки сооружений и не был бы разрушен до окончания строительства. К теодолитному ходу должны быть привязаны поперечные профили берега перпендикулярно к линии регулирования сооружения. План приложения линии регулирования выдают проектировщики.
Расстояние между поперечниками и частоту снятых точек на них назначают в зависимости от рельефа берега, они должны быть достаточными для правильного определения объемов работ по возведению берегового укрепления (через 20 - 50 м по магистральному ходу). Протяженность поперечников в сторону водоема должна быть достаточной для оценки динамики берега и правильной посадки берегового укрепления. Вычерчивают поперечники в неискаженном масштабе (1:100 или 1:200).
2. Отчет по инженерно-геологическим изысканиям, содержащий систематизированные и обработанные результаты всех видов выполненных полевых и лабораторных работ. Его содержание следующее: геологическое строение берега; гидрогеологические условия берега и общие сведения о гидрогеологии района (участка); динамика берега в увязке с водным режимом водоема, устойчивость и прогноз ожидаемого развития разрушения берега; современные геологические процессы; прочностные и деформационные расчетные характеристики пород с доверительной вероятностью не ниже 0,95.
Раздел "Геологическое строение берега" содержит сведения: о возрасте, генезисе, фациальной принадлежности, литологических особенностях, сейсмичности; о наличии в береговом склоне подземных вод; количестве водоносных горизонтов или обводненных зон, их приуроченности к породам определенного возраста и литологического состава; об условиях залегания водовмещающих пород и условиях их водопроницаемости; площади распространения подземных вод; условиях питания и разгрузки отдельных водоносных горизонтов; глубине залегания, мощности, гидравлической характеристике, режиме уровней; о химическом составе подземных вод, их агрессивности к бетону; взаимосвязи подземных вод с водоемом. Сведения о современных геологических процессах должны содержать анализ материалов, характеризующих динамику берега от даты наполнения водохранилища. Необходимо проследить за изменениями динамичных форм берега, оценить стабильность этих форм и дать прогноз их развития на период строительства проектируемых сооружений.
В разделе "Современные геологические процессы" дают сведения об устьевых участках оврагов, впадающих в водоем, о склоновой эрозии.
Раздел "Прочностные и деформационные характеристики пород" содержит сведения о физическом состоянии, прочностных, деформационных, фильтрационных и виброкомпрессионных (при необходимости) свойствах пород, с расчленением толщи на инженерно-геологические элементы и с выделением элементов, имеющих значение для устойчивости склона; о расчетных и нормативных значениях показателей для всех выделенных инженерно-геологических элементов и с прогнозом возможных изменений инженерно-геологических свойств пород во времени.
Графическая часть отчета содержит: мелкомасштабную карту (типа лоцманской) участка водоема, позволяющую судить о взаимодействии воды и суши; инженерно-геологическую карту в масштабе 1:500 - 1:2000, гидрогеологическую карту (может быть совмещена с инженерно-геологической картой); инженерно-геологические разрезы; сводные колонки участка изысканий с выделением инженерно-геологических элементов; геологические колонки пройденных скважин, развертки шурфов, зарисовки расчисток; фотографии и зарисовки, иллюстрирующие процессы динамики берега.
Инженерно-геологическая карта должна отражать инженерно-геологическое районирование побережья и содержать основные сведения о его рельефе, геологическом строении, экзогенных геологических процессах, обуславливающих динамику берега.
Инженерно-геологические разрезы составляют в неискаженном масштабе в направлении падения склона. На них показывают геодезически точный рельеф поверхности склона, расчетные значения показателей прочностных и деформационных свойств пород для всех слагающих разрез инженерно-геологических элементов, гидрогеологические данные об уровнях подземных вод, их колебаниях и напорности, характерные уровни воды в водоеме, прогноз динамичной формы берега на период строительства проектируемого сооружения.
Если за период, прошедший между изыскательскими и проектными работами, произошли изменения природной обстановки, выполняют корректировку исходных данных для проектирования.
3. Краткий инженерно-гидрологический очерк должен содержать сведения: о режиме уровня водоемов, проектной отметки НПУ водохранилища и фактической продолжительности стояния уровней воды для характерных лет за все время эксплуатации водохранилища; о фактическом эксплуатационном уровне водохранилища (если он отличается от НПУ более чем на 0,5 м) и продолжительности его стояния для характерных лет; о максимальных уровнях водоема обеспеченностью 0,1; 1; 5 и 10% (для водохранилищ согласно "Основным положениям правил использования водных ресурсов"); о минимальных уровнях сработки водохранилища - летнем и зимнем (по проекту водохранилища и фактически наблюдаемых); о продолжительности стояния уровней по годам за весь период эксплуатации водохранилища; о суточных колебаниях уровней (летних и зимних), их амплитуды и повторяемости; о фактически наблюдаемом волновом режиме водоема в непосредственной близости от проектируемых береговых укреплений, особенно при штормах редкой повторяемости; о величине и направлении скоростей стоковых течений в непосредственной близости от участка проектируемых береговых укреплений; о местных ледовых явлениях на акватории водоема, тяготеющей к участку проектируемых береговых укреплений, в особенности о торошении льда, вдольбереговом дрейфе торосов, ветровых навалах льда на берег, о дрейфах ледовых полей.
4. Гидрометеорологический очерк должен содержать сведения: об осадках, температуре и влажности воздуха, испарении, испаряемости, направлении и скорости ветра, о ливнях редкой повторяемости; о вероятных максимальных скоростях ветра и подробную многолетнюю характеристику штормов редкой повторяемости; о снеговом покрове, его мощности, плотности, времени формирования и таяния.
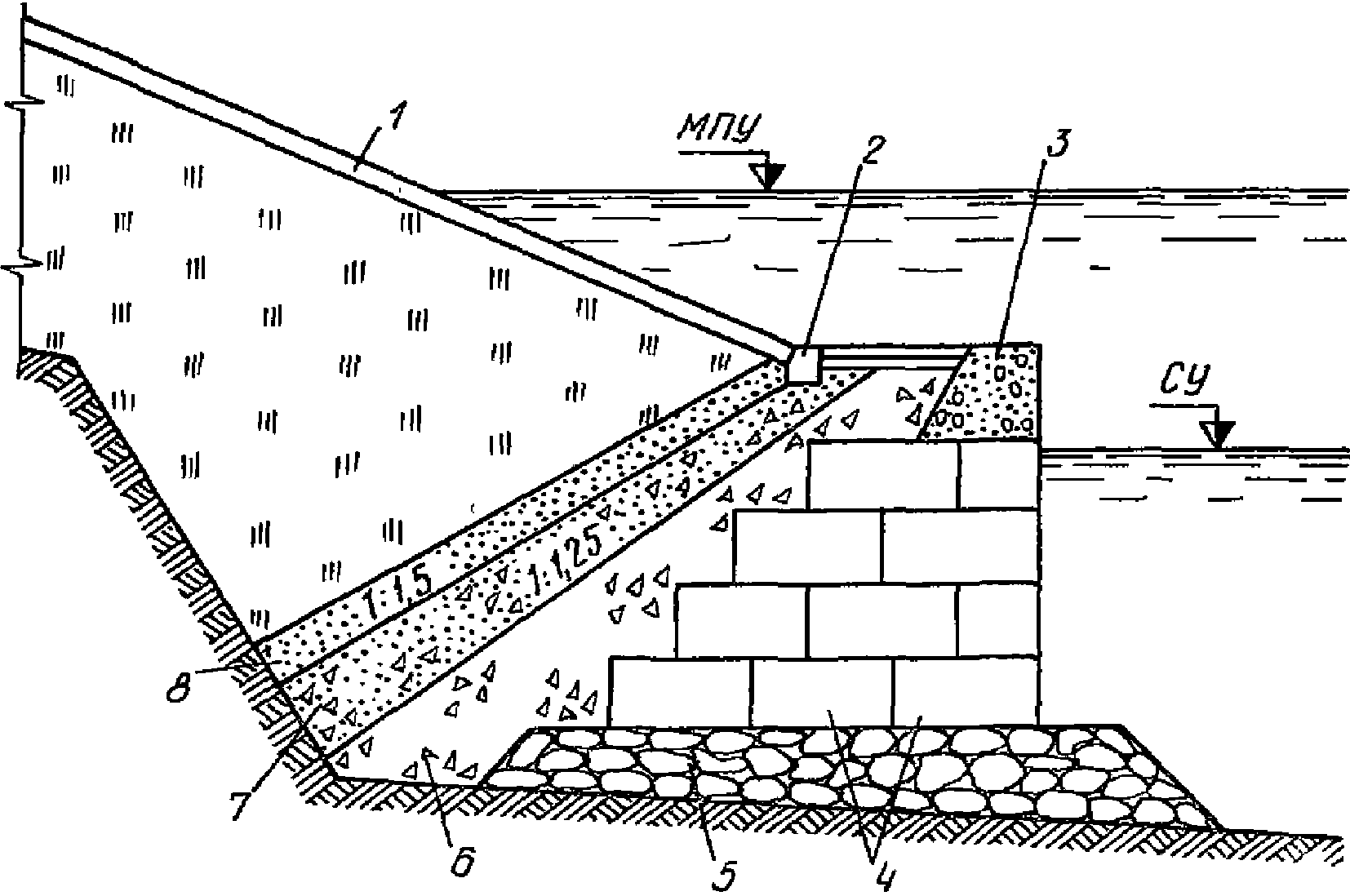
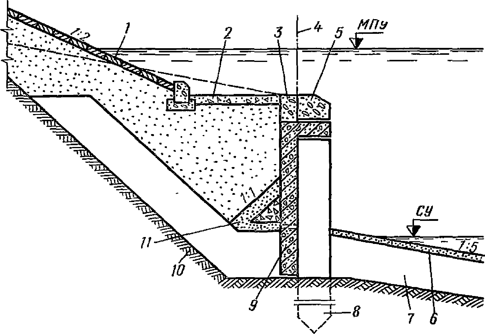
3. УПОРНЫЙ ПОЯС (ПОДВОДНОЕ УКРЕПЛЕНИЕ)
3.1. Упорный пояс - главная часть берегового укрепления, обеспечивает его долговременность в целом и надежную защиту зданий и сооружений, находящихся в зоне воздействия водоема. (Его типы и условия их применения кратко сформулированы в
табл. 3).
Упорный пояс должен удовлетворять условиям собственной устойчивости и прочности под воздействием грунтовых (со стороны берега), волновых и ледовых нагрузок. Его координаты определяет приложение линии регулирования. Расчет устойчивости под воздействием нагрузок со стороны берега выполняют на сдвиг в соответствии с главами СНиП "Основания гидротехнических сооружений", "Подпорные стены". Коэффициент надежности принимают в соответствии с классом проектируемого сооружения, согласно рекомендациям главы СНиП по проектированию речных гидротехнических сооружений.
Волновые нагрузки определяют согласно главы СНиП по определению нагрузок и воздействий на гидротехнические сооружения и
разд. 1 настоящего Руководства.
3.2. Каменно-набросные подводные банкеты обжатого и распластанного профилей применяют в качестве упорного пояса при наличии требуемых кондиций камня, при любом основании (рис. 1). Их проект предусматривает запас высоты на осадку сооружения, которую проектируют в соответствии с физическим состоянием грунта основания и пористостью каменной наброски.
Рис. 1. Банкет из каменной наброски
1 - откосное крепление; 2 - банкет из каменной наброски;
3 - обратный фильтр
При возведении сооружений на больших глубинах камень укладывают несколькими слоями. Толщина слоев и размеры камней зависят от расчетных скоростей течения и волнового воздействия на соответствующих глубинах. Для этого размер камня нижележащего слоя должен быть равным или большим 1/3 размера камня следующего слоя. Толщина слоев не менее 2 м.
Размер камня на внешней стороне банкета рассчитывают в соответствии с волновым воздействием при штормах редкой повторяемости и с учетом ледовых нагрузок при штормовых навалах льда, торошении и вдольбереговом дрейфе льда. Укрепление внешней поверхности сооружения должно состоять не менее чем из двух слоев камней, устойчивых против волнового и ледового воздействия. При размыкающих скоростях стоковых течений (см.
табл. 1) и вероятности появления размывов в основании банкета, с его внешней стороны укладывают запас камней, по объему, достаточному для заполнения промоины при постепенном погружении камня в размыв.
При эксплуатации профиль банкета систематически проверяют промерами и водолазными обследованиями, особенно после сильных штормов и тяжелых ледовых явлений.
3.3. Пирамиды (или конусы) из бетона можно применять как заменители естественного камня требуемых кондиций при наличии технико-экономического обоснования. Одной из причин их применения служит отсутствие технических средств для возведения упорного пояса более совершенной индустриальной конструкции. Банкет из блоков простейших форм показан на рис. 2.
Рис. 2. Банкет из бетонных блоков простейших форм
1 - упорная бетонная стенка; 2 - бетонные блоки;
3 - бетонные тетраэдры; 4 - камень гидротехнический;
5 - щебень
Главное преимущество пирамид - простота их изготовления.
По условиям устойчивости, гидродинамическим свойствам наброска из пирамид близка к каменной наброске. Пирамиды рекомендуют к применению при массе 1 - 1,5 т. Массу пирамиды, соответствующую состоянию ее предельного равновесия от действия ветровых волн, определяют в соответствии с главой СНиП "Нагрузки и воздействия на гидротехнические сооружения (волновые, ледовые и от судов)".
Если камни или горная масса отвечают требованиям гидротехнического строительства по прочности и размокаемости (водопоглощению), но небольших размеров, этот материал можно использовать для строительства центральной и внутренней (обращенной к берегу) частей профиля банкета, а пирамиды - для покрытия, защищающего банкет от волнового и ледового воздействия. Толщина покрытия должна равняться двойной геометрической высоте пирамиды. Если в основании банкета ожидается воздействие размывающих скоростей стоковых течений, то вдоль банкета должен быть предусмотрен запас камня или горной массы в объеме, достаточном для погружения в размыв и его прекращения. Если же глубина воды у упорного пояса менее тройной высоты волны редкой повторяемости, то запас материала для погружения в размыв отсыпают из камня или пирамид, устойчивых на волновое воздействие, в основании банкета.
При глубине воды у берега более 10 м и волновых нагрузках, требующих применения элементов с большой массой, целесообразно применять упорный пояс из фасонных блоков - диподов, тетраподов.
Толщину покрытия из фасонных блоков проектируют в два раза больше геометрической высоты фасонного блока.
Нижнюю часть профиля банкета, на глубине воды от отметки НПУ более тройной расчетной высоты волны редкой повторяемости, следует проектировать из горной массы. Все работы по наброске банкета должны систематически контролироваться промерами и водолазными работами.
Упорный пояс сложной конструкции с фасонными блоками можно применять в качестве откосного берегового укрепления на приглубых берегах в тяжелых ледовых и волновых условиях.
3.4. Упорный пояс из массивов-гигантов на скальном или полускальном основании обладает высокой прочностью, технологичен при подводном строительстве, прост в эксплуатации. Его преимущество - небольшое число швов, требующих обеспечения грунтонепроницаемости; недостатки - сборка корпусов и их спуск на воду требуют устройства специальных стапелей со стапельными и косяковыми тележками.
Корпус массива-гиганта состоит из оболочки (днища и стенок) и поперечных и продольных перегородок жесткости (рис. 3). Изготовляют его из сборного тонкостенного высокомарочного железобетона. Масса корпуса 100 - 150 т.
Рис. 3. Массивы-гиганты из тонкостенного
сборного железобетона
1 - откосные укрепления; 2 - шапочный брус;
3 - каменная постель; 4 - обратный фильтр;
5 - массив-гигант из тонкостенного сборного железобетона
с заполнением песком или бетоном
Для устойчивости каждый массив после установки его на место заполняют грунтом или бетоном низких марок. Массу заполняющего материала определяют расчетом устойчивости массива в рабочем положении. После заполнения корпус накрывают плитами из сборного железобетона.
Корпус устанавливают на подводную каменную постель, тщательно выравнивая ее. Постель и ее основание не должны размываться волновыми скоростями и стоковыми течениями, а также подвергаться воздействию местных размывов.
При опасности подмыва основания постели создают резерв камня или бетонных блоков с расчетом их постепенного погружения в размыв.
Затопленные террасы и поймы изобилуют старицами, небольшими озерками и другими понижениями рельефа, заполненными глинистыми, илистыми грунтами, обладающими свойствами ползучести. Поэтому трасса упорного пояса в отдельных случаях может пересекать участки, где в основании сооружений оказываются грунты со свойствами ползучести. В таких случаях расчет сооружения выполняют по прогнозированию скорости смещения (
пример Прил. 6). Если скорость окажется опасной для нормальной эксплуатации берегового укрепления (способной нарушить его технологическое назначение, вызвать опасные деформации), то в проекте рассматривают возможность замены ползучего грунта на качественный, устройство специального основания или же отказ от применения на опасном участке сооружений гравитационного типа и их замену свайными или набросными конструкциями (см.
табл. 3). Конструкция массивов-гигантов разработана в типовом проекте института "Гипроречтранс".
3.5. Упорный пояс из двухрядного железобетонного шпунта таврового сечения с диагональными анкерными тягами обладает высокой капитальностью и долговременностью, хорошо вписывается в планировочные решения (рис. 4).
Рис. 4. Стенка из двухрядного железобетонного шпунта
таврового сечения с диагональными тягами
1 - откосные укрепления; 2 - монолитный железобетонный
шапочный брус; 3 - железобетонный шпунт; 4 - анкерные тяги;
5 - горизонтальный фильтр
| | ИС МЕГАНОРМ: примечание. В официальном тексте документа, видимо, допущена опечатка: Приложение 5 отсутствует. | |
Изготовляют шпунт из преднапряженного железобетона с шириной полки 1,5 м. Расстояние между рядами шпунтовых стенок рассчитывают по условиям устойчивости упорного пояса (пример 1 Прил. 5). Пространство между шпунтовыми стенками заполняют песком.
Строительство упорного пояса из двухрядного шпунта таврового сечения в зависимости от имеющегося парка механизмов можно вести и с воды, и с берега.
3.6. Шпунтовые ряды из различных материалов и конструкций - надежный и долговременный тип упорного пояса, удобный при производстве работ с воды или с берега и простой в эксплуатации (опоясывает нижнюю террасу берегового укрепления или непосредственно нижнюю кромку откосного покрытия) (рис. 5,
6,
7).
Рис. 5. Шпунтовый ряд из заанкерованных свай
(типа "Ларсен" или ШК)
1 - надстройка; 2 - облицовочная плита надстройки;
3 - дренажное устройство; 4 - стальной шпунт; 5 - засыпка
песчаным грунтом; 6 - анкерная плита; 7 - анкер
Рис. 6. Стенка из железобетонного шпунта таврового сечения
анкерованная (или со свободным концом)
1 - откосное крепление; 2 - монолитный шапочный брус;
3 - облицовочная плита; 4 - железобетонный шпунт таврового
сечения; 5 - дренажная засыпка; 6 - железобетонный короб;
7 - анкерная тяга; 8 - анкерная плита
Рис. 7. Стенка из заанкерованного железобетонного
шпунта прямоугольного сечения
1 - откосное крепление; 2 - анкерная тяга; 3 - монолитный
железобетонный шапочный брус; 4 - облицовочная плита;
5 - железобетонный шпунт прямоугольного сечения;
6 - противофильтрационное устройство; 7 - анкерная плита
При проектировании шпунтовых рядов на ползучих основаниях расчет на длительную прочность выполняют методом д-ра техн. наук А.Я. Будина. Особенностью этого расчета является определение параметров напряженного состояния стены, отвечающих заданной долговечности конструкции

.
При выполнении проверки на длительную прочность тонкостенных конструкций исходят из метода предельных состояний, ведя расчет на действие нормативных нагрузок.
Переменную во времени интенсивность реактивного давления ползучего грунта определяют из соотношения:
для одноанкерных стен

; (2)
для двуханкерных

, (3)
где E - модуль упругости материала стенки;
I - момент инерции шпунтовой стенки на 1 м по длине сооружения;
k - коэффициент податливости постели подстилающего неползучего грунта при напряженном состоянии вблизи предельного;
l - глубина забивки стены в подстилающий неползучий грунт;
H - мощность слоя ползучего грунта;

- коэффициент вязкости ползучего грунта в период установившейся ползучести.
Значение функций F(x), B(x); Д(x) и Ф*(x) [для безанкерных стенок Ф(x), а для двуханкерных

] определяются по номограммам и графикам (
рис. 8,
9,
10,
11,
12,
13,
14,
15). Для нахождения значения функции Ф*(x), относящейся к одноанкерным стенам, построены номограммы для треугольной и прямоугольной составляющих эпюры P(x, 0), на которых функция представлена

. Численное значение функции

(для двуханкерных больверков) определяется как сумма четырех составляющих

.
Рис. 8. График функции F(x)
Рис. 9. График функции B(x)
Рис. 10. Номограммы функции

для треугольной составляющей эпюры P(x, 0)
Рис. 11. Номограмма функции

для треугольной составляющей эпюры

Рис. 12. Номограмма функции

для прямоугольной составляющей эпюры P(x, 0)
Рис. 13. Номограмма функции

для прямоугольной составляющей эпюры P(x, 0)
Рис. 14. Номограмма функции Ф(x) для треугольной
составляющей эпюры P(x, 0)
Рис. 15. Номограмма функции Ф(x) для прямоугольной
составляющей эпюры P(x, 0)
| | ИС МЕГАНОРМ: примечание. Единицы измерения даны в соответствии с официальным текстом документа. | |
Нормативный коэффициент вязкости ползучего грунта в период установившейся ползучести определяют опытным путем. Для предварительных расчетов тонких стен на длительную прочность

mc сут/м
2 для ползучих глин принимают следующие значения:

для глины мягкопластичной консистенции,

для тугопластичной консистенции. Коэффициент постели подстилающего неползучего грунта k (при напряженном состоянии, близком к предельному) для предварительных расчетов принимают: для песка средней плотности и глины влажной 15 - 20 тс/м, песка плотного и глины маловлажной - 25 - 30, плотных суглинков и супеси - 30 - 35, глины твердой и галечника - 75 - 100 тс/м. Расчет стены на длительную прочность из одноанкерного шпунта приведен в
Прил. 7. Двуханкерные разрезные стенки рассчитывают аналогично.
При построении эпюры

первоначально сечение шпунта и глубина его забивки (H + l) принимаются равными полученным в результате расчета без учета ползучего основания. Затем определяют усилия в элементах конструкции, отвечающих возрасту сооружения

, на основании чего уточняют глубину забивки стенки в подстилающий неползучий грунт и ее сечение.
Конструкции приведены в типовых проектах Государственного проектно-изыскательского и научно-исследовательского института морского транспорта Министерства морского флота СССР (СоюзморНИИпроект), его Ленинградского филиала (ЛенморНИИпроект) и Государственного института проектирования на речном транспорте Министерства речного флота РСФСР (Гипроречтранс).
3.7. Стенки из анкерованных свай-оболочек применяют на основаниях, допускающих погружение свай-оболочек (рис. 16). Конструкция представляет собой вертикальную стенку из погруженных в ряд цилиндрических оболочек, анкерованных за тыловые опоры (стальными анкерами). Оболочки собирают из отдельных звеньев и соединяют закладными частями. Конструкция разработана в типовом проекте ЛенморНИИпроекта.
Рис. 16. Стенка типа "Больверк" из свай-оболочек
1 - откосное крепление; 2 - монолитный железобетонный
шапочный брус; 3 - противофильтрационное устройство;
4 - свая-оболочка из железобетона; 5 - анкерная тяга;
6 - анкерная плита
3.8. На участках, где стоковые течения могут размыть затопленное главное русло, протоки, подводные террасы и пологие откосы береговых укреплений, технически возможно и экономически целесообразно применять вместо упорного пояса подводную гребенку, состоящую из каменно-набросных бун. Гидротехнический камень может быть заменен пирамидами из высокомарочного бетона. Пример системы подводных бун, образующих гребенку, показан на рис. 17.
Рис. 17. Подводная гребенка из каменно-набросных бун
на естественном основании
1 - коренной берег; 2 - буны; 3 - буна из каменной
наброски; 4 - крепление откоса каменной наброской
Длину бун, их высоту, профиль и расстояния между ними назначают на основе детального изучения величины и распределения размывающих скоростей стоковых течений и уточняют лабораторными (модельными) исследованиями.
4. ОПОЯСКИ (НАДВОДНЫЕ УКРЕПЛЕНИЯ)
4.1. Опояски применяют для защиты подошвы берегового уступа от разрушающего воздействия водоема. Они целесообразны при ликвидации аварийного состояния берега, так как возводятся в короткие сроки при небольших затратах. Типы и условия применения опоясок даны в
табл. 4.
4.2. Опояски из фасонных блоков (рис. 18) обладают высокой общей устойчивостью и сохраняют свои технологические свойства при тяжелых волновых воздействиях и значительных деформациях основания сооружения. Это объясняется взаимной зацепляемостью элементов сооружения, которая создает гибкость конструкции и обеспечивает его общую устойчивость при местных деформациях.
Рис. 18. Опояска из фасонных блоков
(тетраподов, диподов и др.)
1 - тетраподы; 2 - каменная постель; 3 - камень;
4 - щебень; 5 - песчано-гравийная смесь; 6 - песок
Проект опояски из фасонных блоков должен содержать следующие решения: приложение трассы опояски и ее закрепление на местности; расчет массы, формы и размеры фасонного блока (
рис. 19,
20,
21,
22); поперечное сечение опояски; раскладку блоков в теле опояски для каждого курса
(рис. 23).
Рис. 19. Тетрапод. Общий вид
(Цифры в обозначении марки означают массу тетрапода, т)
Рис. 20. Общий вид опалубки тетрапода
Рис. 21. Форма и конструкция дипода массой 5 т
Рис. 22. Схема раскладки тетраподов
(расстояния между тетраподами даны по I курсу
при массе 7,8 т)
Рис. 23. Схема укладки опояски из диподов
1, 2, 3 - очередность укладки диподов
При проложении трассы опояски учитывают следующее: трасса должна прокладываться вдоль подошвы берегового уступа по структурной или оползневой затопленной или сухой террасе, слабопадающей в сторону водоема; при наличии выклинивающихся в береговом уступе водоносных горизонтов в пределах высоты проектируемой опояски следует предусматривать между опояской и береговым уступом место для пазухи с заполнением ее обратным фильтром; на берегах, используемых в градостроительных целях, следует предусматривать между опояской и береговым уступом место для устройства городского проезда или прогулочной террасы.
Гибкость конструкции позволяет применять опояски из фасонных блоков на любых стабильных и деформирующихся грунтах и на участках с активными оползнями. При проектировании опоясок на стабильных грунтах предусматривают гравийно-щебеночную подготовку, выравнивающую основание, с поперечным уклоном ее поверхности в сторону берега не менее 1:10, что повысит устойчивость наружного ряда нижнего курса тетраподов. На деформирующихся грунтах в проекте предусматривают осадку опояски в соответствии с физическим состоянием грунта (до 1,5 м и более).
Из опыта эксплуатации сооружений из тетраподов на Волжских водохранилищах и Балтийском море для широкого применения рекомендуется тетрапод, показанный на
рис. 19.
Размеры тетраподов, соответствующие различным массам, показаны в табл. 6.
Таблица 6
Марки и основные размеры тетраподов
Марка | Основные размеры, см |
H | h | h1 | D | d | B |
Т-1,5 | 134 | 88 | 57 | 65 | 38 | 144 |
Т-3 | 170 | 112 | 85 | 78 | 46 | 183 |
Т-5,0 | 207 | 138 | 105 | 94 | 50 | 225 |
Т-7,8 | 235 | 156 | 120 | 105 | 60 | 255 |
Т-13 | 279 | 180 | 140 | 128 | 70 | 294 |
Т-20 | 310 | 202 | 150 | 148 | 88 | 330 |
Т-25 | 335 | 218 | 163 | 159 | 95 | 356 |
Наивыгоднейшая по условиям работы форма тетрапода определяется не только его гидродинамическими свойствами, но и прочностью взаимного зацепления в кладке, когда это требуется по условиям давления грунта и осадки сооружения по физическим свойствам грунта основания. Поэтому при заданной массе фасонного блока его форму проектируют в соответствии с требованиями к взаимному зацеплению блоков.
Наибольшие нагрузки тетрапод несет при подъемно-транспортных операциях, укладке его на место и особенно при свободном падении, когда его конус может отколоться полностью или частично. Поэтому в проекте указывают предельную высоту свободного падения тетрапода, которую определяют по формуле

,
где

- неразрушающая высота свободного падения тетрапода на три конуса при сбрасывании его на толстую железобетонную плиту, см;

- кубиковая прочность бетона в возрасте 28 дней, кгс/см
2;
D - большой диаметр усеченного конуса, см;

- плотность бетона, г/см
3;

- высота конуса, см;
d - малый диаметр усеченного конуса, см.
Преимуществом диподов является простота их формы в сравнении с тетраподами. Изготовлять диподы можно в металлической или деревянной опалубке на строительных полигонах или непосредственно у места укладки, что значительно упрощает организацию строительства при небольших объемах работ. По устойчивости и гидродинамическим свойствам диподы близки к тетраподам и могут применяться наравне с ними.
Проект должен предусматривать точную раскладку фасонных блоков тетраподов и диподов в разрезе (профиле) и в плане опояски. Это обеспечивает общую и частную устойчивость сооружения, надежную взаимную зацепляемость блоков. При волновом и оползневом воздействии в поперечном разрезе опояски предусматривают укладку не менее двух-трех курсов блоков с их взаимным зацеплением. Чертежи раскладки фасонных блоков делают для каждого курса кладки.
Общий объем фасонных блоков в сооружении определяют одним из следующих приемов:
умножением объема одного блока на число блоков, проектируемых к укладке согласно чертежам раскладки блоков (точный способ);
по геометрическому объему сооружения поперечного разреза опояски, умноженному на коэффициент пористости 0,45 - 0,55 в зависимости от размеров и способа укладки блоков.
При однообразном рельефе берега водоема следует выполнять чертежи раскладки в пределах одной захватки с указанием общего числа таких захваток. При изменчивом рельефе чертежи раскладки выполняют для каждого типичного участка в целом или же для одной повторяющейся на этом участке захватки.
В проекте обязательно указывают начало и последовательность укладки фасонных блоков, чтобы избежать встречной укладки (так как последний тетрапод в ряде может не поместиться).
Опыты показали, что большей устойчивостью передние тетраподы первого курса обладают при их укладке двумя конусами в сторону волнового воздействия.
Фасонные блоки на внутренних водоемах применяют при высоте волны 2 - 5 м, т.е. сравнительно малой амплитуде волновых воздействий. До выполнения научных разработок, позволяющих определять массу фасонных блоков в зависимости не только от высоты и длины волны, но и от условий их работы в береговом укреплении, целесообразно придерживаться практического опыта, согласно которому следует принимать массу фасонного блока в зависимости от расчетной высоты волны:
Расчетная высота волны, м Масса тетрапода, т
2 - 2,5 ............................... 5
3 - 4 ................................. 7,5
4,5 - 5 .............................. 13
4.3. Опояски со свайным рядом сквозной конструкции устраивают вдоль подошвы берегового уступа на террасе или затопляемой пойме, сложенной породами, допускающими погружение железобетонных призматических или цилиндрических свай ударными механизмами или виброспособом (рис. 24). Глубина погружения свай должна обеспечивать устойчивость свайного ряда в условиях вероятного образования местных размывов вдоль фронта сооружения. Расстояние между сваями (просвет) - не менее поперечного размера сечения сваи. Головы свай омоноличивают шапочным брусом по ширине, достаточной для служебного прохода по нему.
Рис. 24. Опояска каменной наброской со свайным рядом
сквозной конструкции
1 - монолитный железобетонный шапочный брус;
2 - каменная наброска; 3 - песчано-гравийный фильтр;
4 - железобетонные сваи
В каменной наброске более крупные камни размещают вдоль свайного ряда.
4.4. Стену свайно-заборчатой конструкции высотой до 2 м применяют на основаниях, допускающих погружение свай при пологом откосе перед стенкой, и малых амплитудах колебаний уровня (рис. 25). Подпорная стена выполняется из сборных железобетонных плит, устанавливаемых за сваями. Конструкция разработана в типовом проекте института по изысканиям и проектированию инженерных сооружений главного архитектурно-планировочного управления Мосгорисполкома (Мосинжпроект).
Рис. 25. Подпорная стена свайно-заборчатой конструкции
1 - одерновка плашмя; 2 - гравийно-песчаная смесь;
3 - омоноличивание бетоном М 200; 4 - линия регулирования;
5 - бетонный карниз; 6 - песчаная пригрузка; 7 - экран;
8 - железобетонные сваи; 9 - железобетонная плита;
10 - граница котлована; 11 - дренаж
4.5. Подпорную стену уголкового профиля применяют при пологом откосе перед стеной и малой амплитуде колебаний уровней (см. рис. 26). Стена полностью выполняется из сборных железобетонных элементов. Блоки нижних плит и стен соединяют узлом омоноличивания.
Рис. 26. Подпорная стена уголкового распластанного профиля
1 - одерновка плашмя; 2 - бетонный борт;
3 - гравийно-песчаная смесь; 4 - бетон омоноличивания;
5 - бетонный карниз; 6 - вертикальная железобетонная плита;
7 - дренаж; 8 - песчаная пригрузка; 9 - монолитный
железобетон; 10 - экран; 11 - горизонтальная железобетонная
плита; 12 - цементно-песчаная смесь; 13 - граница котлована
Конструкция разработана в типовом проекте института "Мосинжпроект".
5. ОТКОСНЫЕ БЕРЕГОВЫЕ УКРЕПЛЕНИЯ
5.1. Откосные береговые укрепления на внутренних водоемах применяются следующих типов: покрытие плитами из монолитного или сборного железобетона на щебеночной подготовке или обратном фильтре (рис. 27,
28); гибкие покрытия (тюфячного типа) из сборного железобетона
(рис. 29); каменной наброской и фасонными блоками (
рис. 30,
31); ступенчатое укрепление из железобетона
(рис. 32); укрепление решетчатыми железобетонными плитами (
рис. 33,
34).
Рис. 27. Откосные покрытия плитами из монолитного
железобетона
1 - щебеночная подготовка; 2 - монолитные плиты;
3 - железобетонная доска; 4 - упорный пояс;
5 - два слоя гидроизола; 6 - кулачковая резина;
7 - деревянная доска
Рис. 28. Покрытия плитами из сборного железобетона
(омоноличенными по контуру)
1 - подготовка из разнозернистого гравия;
2 - сборные железобетонные плиты; 3 - железобетонная доска;
4 - узел омоноличивания; 5 - упорный пояс
Рис. 29. Гибкие покрытия (тюфячного типа)
1 - откосное крепление; 2 - анкерная балка из монолитного
железобетона; 3 - тюфяк из железобетонных плит;
4 - облегченное крепление; 5 - однослойная подготовка
из разнозернистого гравия; 6 - железобетонная свая
Рис. 30. Каменная наброска на обратном фильтре
1 - наброска из камня; 2 - подготовка из разнозернистого
гравия или щебня (двухслойная или однослойная)
Рис. 31. Откосное крепление из фасонных блоков
(тетраподами, диподами, пирамидами)
1 - тетраподы; 2 - бетонные пирамиды; 3 - камень
Рис. 32. Ступенчатое укрепление бетонными блоками
1 - ступени; 2 - монолитный железобетонный шапочный брус;
3 - железобетонный шпунт; 4 - каменная наброска;
5 - однослойный песчано-гравийный фильтр;
6 - песчаный грунт
Рис. 33. Решетчатые плиты с заполнением ячеек камнем
1 - щебеночная подготовка; 2 - сборные железобетонные
решетчатые плиты; 3 - упорный пояс
Рис. 34. Решетчатые плиты с заполнением ячеек
растительной землей с посевом трав
1 - решетчатые плиты с заполнением ячеек растительной
землей с посевом трав; 2 - щебеночная подготовка
5.2. Укрепления с покрытием плитами из монолитного и сборного железобетона в условиях водоемов возводят в зоне временного затопления с устройством капитального упорного пояса в подводной части сооружения (
разд. 3 настоящих Рекомендаций).
Важной частью проекта является анализ воздействия водоема на устойчивость грунтового основания сооружения и разработка мероприятий по его защите от разрушения ударами волн и скоростями, возникающими при откате волн. Система ударов штормовых волн в плоское железобетонное покрытие откоса создает монотонную динамическую нагрузку, способную вызвать местные нарушения устойчивости. В зоне ударов волн грунт основания может перемещаться вниз по откосу, уплотняясь ниже (по откосу) зоны удара и образуя пустоты под покрытием выше этой зоны. Песчаное основание устойчиво при соблюдении неравенств:

;

,
где

- максимальное ускорение грунта откоса на контакте с обратным фильтром, м/с
2;

- критическое ускорение песка по условиям сдвига, м/с
2;

- критическое ускорение песка по условию его осадки, м/с
2.
Графики, таблицы и формулы для определения критических ускорений даны в
Прил. 8.
Если ускорения частиц грунта основания, создаваемые динамической нагрузкой, окажутся больше их критической величины, то может наступить нарушение местной устойчивости его основания. Предельная фаза разрушения - разжижение грунта с полным разрушением сооружения. Основной признак динамической активности песков, т.е. их способность терять структуру под воздействием динамической нагрузки, это однородность их состава.
Средства защиты укрепления с железобетонным покрытием от разрушения под воздействием динамической нагрузки следующие: укладка грунтового основания с плотностью скелета грунта, при которой критические ускорения колебаний превышают (с некоторым запасом) ускорения колебаний, вызываемые динамической нагрузкой; уменьшение крутизны откосов; установка обратного фильтра толщиной, достаточной для снижения ускорения колебаний до величин, безопасных для устойчивости грунтового основания.
Конструкции откосного берегового укрепления с покрытием из железобетонных плит и с основанием из динамически активных грунтов выполняют для сооружений I и II класса.
Предельные значения элементов откосного укрепления из железобетонных плит:
Плотность скелета песчаного
грунта основания, г/см3 ................................... 1,57 - 1,65
Толщина обратного фильтра, м .............................. 0,15 - 0,4
Площадь плиты из монолитного железобетона
или омоноличенного сборного железобетона, м2 .............. 50 - 100
Крутизна откоса ........................................... 3 - 5
Плотность грунтов, укладываемых в тело сооружения, назначают в проекте в соответствии с принятыми при расчетах геотехническими параметрами, свойствами карьерных грунтов и динамическими нагрузками на грунты. Технические требования к фракционному составу грунта основания и плотности его скелета должны формулироваться в проекте.
В разделе проекта организации строительства должны содержаться рекомендации по технологии уплотнения намытого или уложенного сухим способом грунта. Затраты на уплотнение грунта определяют отдельной локальной сметой, что обеспечивает строгий контроль за соблюдением технологии укладки и уплотнения грунта.
Расчеты динамической устойчивости берегового укрепления и местной устойчивости грунтового основания даны в
Приложениях 7,
8. Эти расчеты требуют лабораторного определения виброкомпрессионных свойств динамически активных песков, с применением нестандартного оборудования.
Конструкции разработаны в типовых проектах института "Гипроречтранс".
5.3. Укрепления с покрытием плитами из монолитного и сборного железобетона строят до наполнения водохранилища (насухо), они просты в исполнении, экономичны и надежны в эксплуатации, что определяет их широкое распространение.
По волновым условиям целесообразно применять на откосе укрепление неодинаковой толщины в зависимости от интенсивности воздействующих факторов по высоте сооружения. Усиленное укрепление назначают в зоне удара волны при различных отметках, считая от минимального уровня сработки до уровня обеспеченности 10%.
Нижняя часть зоны усиленного покрытия должна заканчиваться бермой, ширину которой назначают с учетом условий проведения работ. Толщина железобетонного покрытия бермы равна толщине усиленного покрытия.
Толщина покрытий ниже бермы (облегченного укрепления) должна быть достаточной по условиям устойчивости в период первичного наполнения водохранилища. Нижняя граница облегченного укрепления заканчивается упором (например, в виде зуба), глубину заделки которого в основании назначают с учетом волновых и ледовых воздействий и размывающих скоростей стоковых течений.
Если по ледовым воздействиям толщина покрытия требуется больше, чем по волновым нагрузкам, то эта большая величина назначается в пределах всей зоны ледовых воздействий.
5.4. Гибкие покрытия тюфячного типа с открытыми швами из сборного железобетона способны сохранять свои защитные свойства при остаточных деформациях, вызываемых размывом бортов водоема. Их нижняя часть опускается в размыв, защищая береговые укрепления от разрушения стоковыми течениями и волнением.
Тюфяк монтируют из железобетонных плит размером 1 x 1 м, соединяемых шарнирно металлическими скобами, что обеспечивает необходимую гибкость. Верхний ряд плит тюфяка крепят соединительными скобами к анкерной плите или анкерной балке на сваях. При гравийно-галечных берегах тюфяк укладывают после грубого равнения на естественное основание. При песчаных и глинистых грунтах - на щебеночно-гравийную подготовку.
Толщина плит, конструкция соединительных анкерных деталей и толщина фильтра зависят от ледовых условий, параметров волн и крутизны берегового откоса.
Гибкое укрепление тюфячного типа применяют в надводных и подводных условиях с вынесением анкерных устройств выше уровня постоянного затопления.
Конструкция разработана в типовых проектах "Гипроречтранс".
5.5. Каменно-набросные откосные укрепления применяют при наличии камня требуемого размера и прочности. Применение каменной наброски из карьеров массой камней до 300 кг ограничивается расчетной высотой волны 1,5 - 2 м. Обязательной частью каменно-набросного укрепления является щебеночная подготовка или обратный фильтр, который защищает грунтовое основание сооружения от размыва течениями и волновыми скоростями. Выполняют каменную наброску из сортированного камня и горной массы.
Толщина наброски из сортированного камня в два с половиной раза больше расчетного размера камня.
Камни, недостаточные по массе, допускаются не более 25% общего объема наброски. При этом их равномерно распределяют по откосу. Минимальная масса камня не менее половины расчетной массы камня.
Горный массив должен содержать более 50% камней с расчетной массой, при этом соотношение диаметров камней в наброске, составляющих 60% и 10% массы, должно быть в пределах 3 - 15. Толщина наброски из горной массы превышает расчетный размер камня в три раза.
Массу камня определяют по главе СНиП "Нагрузки и воздействия на гидротехнические сооружения".
5.6. Ступенчатые укрепления применяют для защиты крутого берегового уступа водоема, когда его уполаживание технически невозможно и экономически нецелесообразно (при размещении городской застройки в непосредственной близости от бровки берегового уступа). Их можно проектировать в виде железобетонной плиты или подпорной стенки со ступенчатыми внешними профилями. Ступенчатый профиль обладает высокой волногасящей способностью, снижает волновые нагрузки на сооружение и не вызывает значительных местных размывов грунтового основания.
Железобетонную плиту ступенчатого профиля проектируют как лежащую свободно на спланированном грунтовом откосе, т.е. по правилам проектирования откосного берегового укрепления с покрытием железобетонными плитами, но при сниженных воздействиях от удара волны в ступенчатую поверхность. Одевающие подпорные стенки ступенчатого профиля рассчитывают по правилам проектирования подпорных стен, т.е. с учетом грунтовой нагрузки со стороны берегового уступа.
Приблизительным ориентиром, определяющим границу применения свободно лежащей плиты и подпорной стены, служит соотношение между величинами угла внутреннего трения грунта, образующего береговой уступ, и углом заложения спланированного уступа. При угле внутреннего трения больше этого угла ступенчатое укрепление можно рассматривать как свободно лежащую плиту (при таком сопоставлении сцепление принимается в запас устойчивости).
Конструкцию нижней кромки ступенчатого укрепления проектируют с учетом вероятности подмыва волновыми скоростями и стоковыми течениями. При этом предусматривают устройство упорного пояса (
разд. 3 настоящего Руководства).
Ступенчатые укрепления не рекомендуется применять в зонах выклинивания подземных вод в виде сплошных водоносных фронтов или обильных родников, так как такая конструкция представляет собой противофильтрационный экран, а работа закрытого дренажа под таким экраном не поддается контролю. Закупорка дренажа может стать причиной оползня. Один из вариантов ступенчатого крепления показан на
рис. 32.
5.8. Решетчатые плиты облегченного типа на песчано-гравийном фильтре с заполнением ячеек камнем или на щебеночной подготовке с заполнением растительным грунтом и посевом трав можно применять при высоте волны до 0,5 м с заложением откоса m >= 2. Такое укрепление обладает хорошими дренирующими свойствами.
Конструкция разработана в типовых проектах института "Мосинжпроект".
6. ПОДПОРНЫЕ СТЕНЫ НАБЕРЕЖНЫХ
6.1. Подпорные стены (набережные) хорошо вписываются в ландшафт городской многоэтажной застройки, парков и садов, удобны в планировочном отношении, так как не требуют сильного уменьшения крутизны берегового уступа и этим экономят городские земли на прибровочной части плато. Однако они не обладают волногасящими свойствами, воспринимают прямой удар волны и своей плоской поверхностью отражают волну, вызывая большие размывы у основания стены. Поэтому подпорные стены в качестве береговых укреплений применяют на береговых уступах, удаленных от прямого удара нетрансформированной волны (например, на пологих склонах затопленных речных долин или широких, слабо размываемых террасах). Их можно также применять в верхней части береговых укреплений (в зоне временного затопления), где основную волновую нагрузку воспринимает упорный пояс. Высота стен над основанием не более 4 - 5 м. На высоких береговых уступах проектируют многоярусные набережные.
6.2. Подпорные стены проектируют на естественных и свайных основаниях. Естественные основания допускаются при неглубоком залегании пород с достаточной несущей способностью, если при водоотливе из котлована не ожидается размыва грунта и суффозии, вызывающих изменение структуры и снижения прочности грунта. Свайные основания, находящиеся под воздействием горизонтальных сил, превышающих сопротивление вертикальных свай, проектируют козлового типа или же из наклонных свай. Сваи, значительная часть которых находится в слабом грунте или в воде, проверяют на продольный изгиб.
Если упорный пояс проектируют в виде шпунтового ряда, то шпунтовый ряд рассматривают как несущую конструкцию с передачей на него нагрузки от подпорной стены.
Пазухи набережных стен заполняют качественным грунтом с устройством застенного дренажа. Плотность грунта назначают в проекте, она должна соответствовать расчетным условиям работы стены.
Устойчивость подпорных стен и прочность конструкции должны рассчитываться в соответствии с главами СНиП по проектированию подпорных стен и по проектированию речных гидротехнических сооружений.
Конструкцию стен определяют: рельеф берега, инженерно-геологические и гидрогеологические условия, особенности воздействия водоема на берег и проектируемые сооружения. В зависимости от этих условий применяют подпорные стены следующих типов: массивные, волноотбойного профиля из монолитного или сборного железобетона на свайном основании или каменной постели (рис. 35); из обыкновенных массивов на каменной постели
(рис. 36); уголкового профиля из сборного железобетона на высоком свайном ростверке
(рис. 37); из крупных анкерованных свайных панелей прямоугольного сечения
(рис. 38); уголкового профиля на основании из каменных материалов
(рис. 39); из железобетонного таврового или прямоугольного шпунта с наклонными анкерующими сваями
(рис. 40).
Рис. 35. Подпорная стена волноотбойного профиля
из монолитного железобетона
1 - волноотбойная бетонная стена; 2 - щебеночное основание;
3 - выпуск из дренажной призмы; 4 - дренажная призма
Рис. 36. Подпорная стена из обыкновенных массивов
на каменной постели
1 - откосные крепления; 2 - упорный пояс; 3 - монолитный
бетон; 4 - сборные бетонные блоки; 5 - каменная постель;
6 - щебень; 7 - песчано-гравийная смесь;
8 - мелкозернистый песок
Рис. 37. Подпорная стена уголкового профиля
из сборного железобетона на высоком свайном ростверке
1 - карниз; 2 - блок стены; 3 - монолитная плита ростверка;
4 - сборный железобетонный фартук; 5 - шпунт; 6 - сваи;
7 - дренажный фильтр; 8 - узлы омоноличивания
Рис. 38. Подпорная стена из крупных анкерованных
свайных панелей прямоугольного сечения
1 - карниз; 2 - железобетонные панели; 3 - камень;
4 - щебень; 5 - песок; 6 - анкерная тяга;
7 - анкерная плита
Рис. 39. Подпорная стена из уголкового профиля
1 - засыпка песчаным грунтом; 2 - железобетонные
вертикальные элементы; 3 - фундаментные плиты;
4 - гравийная или щебеночная постель; 5 - анкерная тяга
Рис. 40. Стена из железобетонного таврового
или прямоугольного шпунта с наклонными
анкерующими сваями
1 - верхнее строение из сборно-монолитного железобетона;
2 - проектное дно; 3 - шпунт прямоугольного или таврового
сечения; 4 - железобетонная свая; 5 - засыпка
песчаным грунтом
6.3. Массивные подпорные стены волноотбойного профиля применяют для защиты полосы воздействия водоема высотой до 1,5 - 2 м в подошве берегового уступа.
Основание стены защищают от размывов стоковыми течениями и волновыми скоростями.
6.4. Подпорная стена из обыкновенных массивов применяется на оползневых участках берега водоема, где поверхность смещения оползней выклинивается выше уровня постоянного затопления, т.е. на устойчивом основании. Со стороны берега стена должна быть укреплена в расчете на оползневое давление (если стену затрагивает смещение оползневой призмы). Бетонные блоки укладывают без раствора, с тщательной перевязкой швов в порядке, указанном в проекте.
В рабочих чертежах показывают раскладку блоков каждого курса и рядов в курсе.
6.5. Подпорные стены уголкового профиля из сборного железобетона на высоком свайном ростверке с несущим передним шпунтом проектируют на грунтах, допускающих погружение свай ударными механизмами, виброспособом. Глубина погружения шпунта должна быть достаточной для защиты основания набережной от местных размывов, вызываемых волновыми скоростями и стоковыми течениями. Головы свай и шпунта омоноличивают плитой ростверка, которую укладывают несколько выше строительного уровня.
Отметка верха лицевых плит может превышать отметку прогулочной террасы набережной, и их верхняя часть в этом случае служит парапетом.
6.6. Подпорные стены из широких панелей применяют на грунтах, допускающих погружение свай вибрационным способом.
Глубина погружения свайной панели должна быть достаточной для защиты подпорной стены от местных размывов волновыми скоростями и стоковыми течениями. Свободный конец панели должен анкероваться стальной тягой к анкерным сваям или плитам. Шапочный брус из монолитного бетона объединяет в единую систему свайные панели, образующие подпорную стену.
Устройство подпорной стены из широких панелей требует тщательного производства работ по их погружению, посадки в строго назначенное место. Все швы должны быть надежно сомкнуты, не имея отколов, раскрытий и трещин. Для выполнения этих условий применяют специальное приспособление, гарантирующее погружение свай строго по проекту шов в шов. Соблюдение этих требований и тщательное изготовление свайных панелей в стальной опалубке гарантируют высокое качество архитектурного оформления подпорной стены без дополнительных работ.
6.7. Подпорные стены уголкового профиля из сборного железобетона на естественном основании без упорного пояса применяют на пологих склонах долин или слабо размываемых террасах в зоне временного затопления.
Уголковый профиль можно устанавливать по частям с омоноличиванием лицевой плиты с плитой основания непосредственно на месте, после их установки, или же сажать на место уже омоноличенный готовый блок уголкового профиля. В обоих случаях подготовка под плитой основания должна быть тщательно выровнена, горизонтальные и вертикальные швы плотно стыкованы, и лицевые плиты посажены строго вертикально (не допускается отклонение их от проектного положения).
Поверхность террасы или склона перед подпорной стеной должна быть защищена от размыва стоковыми течениями и волновыми скоростями железобетонным покрытием жесткой или гибкой конструкции (тюфячного типа) с погружением в размыв его нижней кромки, обращенной в сторону водоема.
6.8. Стену из железобетонного таврового или прямоугольного шпунта с наклонными анкерующими сваями применяют для строительства набережных высотой до 8 м в условиях стесненной береговой полосы, когда затруднительно устройство котлована под анкерные тяги и плиты. Подпорная стена состоит из шпунта таврового или прямоугольного сечения, образующего вертикальную стену, и анкерных свай. Верхние концы свай и шпунты омоноличивают железобетонным шапочным брусом.
Конструкция разработана в типовом проекте института "Гипроречтранс".
7. ТРЕБОВАНИЯ К МАТЕРИАЛАМ И ГРУНТАМ
ДЛЯ СТРОИТЕЛЬСТВА БЕРЕГОВЫХ УКРЕПЛЕНИЙ
7.1. Береговые укрепления, построенные по правильно разработанному проекту, но из материалов, не отвечающих требованиям гидротехнического строительства, не долговечны и скоро требуют капитального ремонта или восстановления. Поэтому в проектах, особенно в рабочих чертежах, необходимо указывать технические требования к строительным материалам, грунтам и плотности их укладки.
7.2. При проектировании бетонных и железобетонных конструкций береговых укреплений в зависимости от их вида и условий работы назначают проектные марки в соответствии с требованиями ГОСТ и СНиП на бетонные и железобетонные конструкции гидротехнических сооружений.
По расположению в конструкциях относительно уровня воды гидротехнический бетон разделяют на: подводный, зоны переменного уровня и надводный. К подводному относится бетон подземных частей конструкций, находящихся в зоне воздействия грунтовых вод. К бетону зоны переменного уровня воды относится бетон надводной части сооружения, находящейся на 1 м выше самого высокого расчетного уровня воды.
Для укреплений из бетона и железобетона, подвергающихся воздействию переменного замораживания и оттаивания, а также намокания и высыхания, предъявляют требования морозостойкости. Для зон бетона, подвергающихся воздействию больших скоростей течения (более 15 м/с), предъявляют требование кавитационной стойкости.
В проектах необходимо предусматривать тяжелый бетон с применением следующих проектных марок: по прочности - М100, М150, М200, М250, М300, М400; по морозостойкости Мрз50, Мрз75, Мрз100, Мрз200, Мрз300, Мрз400, Мрз500. Марку бетона по морозостойкости назначают по ГОСТ для гидротехнического бетона в зависимости от климатических условий района строительства и с учетом суточных колебаний уровня в водоеме.
Климатические условия характеризуются среднемесячной температурой наиболее холодного месяца: легкие - от 0° до -10 °C, средние - от -10° до -20 °C, тяжелые - ниже -20 °C.
Марки бетона по водонепроницаемости принимают для железобетонных конструкций: в зоне переменного уровня - В8; в надводной части сооружений - В6. Для бетонных и малоармированных конструкций (до 0,5%) - соответственно В6 и В4.
Испытание гидротехнических бетонов производят по действующим ГОСТ.
Бетон зоны переменного уровня воды и подводный, а также бетон, подвергающийся действию грунтовых вод, должен быть стойким против агрессивного действия воды. Определение агрессивности воды, выбор по условиям агрессивности вида цемента, а также, если необходимо, проведение дополнительных специальных мероприятий для повышения стойкости бетона производят в соответствии с главой СНиП "Защита строительных конструкций от коррозии".
7.3. Цементы, применяемые для приготовления гидротехнического бетона, приведены в табл. 7.
Таблица 7
Цементы для гидротехнического бетона
Зона расположения конструкций | Цементы |
рекомендуемые | допускаемые |
Подводная | Пуццолановый портландцемент | Портландцемент сульфатостойкий |
Пуццолановый сульфатостойкий портландцемент |
Шлакопортландцемент |
Переменного уровня | Портландцемент сульфатостойкий | Портландцемент обычный |
То же, с умеренной экзотермией |
Надводная | Портландцемент обычный | Портландцемент сульфатостойкий |
То же, с умеренной экзотермией | Пуццолановый портландцемент |
Пуццолановый сульфатостойкий портландцемент |
| | ИС МЕГАНОРМ: примечание. Взамен ГОСТ 310.5-80 Постановлением Госстроя СССР от 22.04.1988 N 65 с 1 января 1989 года введен в действие ГОСТ 310.5-88. | |
Крупный заполнитель и песок, применяемые для приготовления бетона, должны соответствовать требованиям ГОСТ 310.5-80 и
10268-80 "Бетон тяжелый. Технические требования к заполнителям".
7.4. Арматурные стали для конструкций выбирают в зависимости от типа конструкции, наличия предварительного напряжения, а также от условий возведения и эксплуатации берегового укрепления в соответствии с указаниями глав СНиП "Бетонные и железобетонные конструкции", "Бетонные и железобетонные конструкции гидротехнических сооружений" и "Защита строительных конструкций от коррозии" и действующими ГОСТами.
В целях экономии металла для ненапрягаемой арматуры железобетонных конструкций арматуру класса A-III (марок 35ГС и 25Г2С) диаметром 10 - 40 мм необходимо предусматривать с повышенными расчетными сопротивлениями (в соответствии с Постановлением Госстроя СССР от 3 декабря 1977 г. N 232).
7.5. Природные камни, применяемые для строительства береговых укреплений, должны быть изверженных, метаморфических или осадочных горных пород. Камни не должны иметь признаков выветривания, прослоек мягких пород, глины, гипса и других размокаемых включений, а также рыхлых включений ракушек и видимых расслоений и трещин.
Содержание глины допускается не выше 3,5% в цементирующей части известняков и других осадочных породах и не выше 5% - в открытых порах и кавернах.
Содержание в камне сернокислых и сернистых соединений в пересчете на

допускается не более 1% по массе.
Лучшим камнем для наброски считают рваный при минимальном отношении наибольшего его размера к наименьшему, не превышающем 3 - 4.
Для береговых укреплений на внутренних водоемах, подверженных волновому воздействию, в районах с умеренными и суровыми климатическими условиями марку камня назначают не ниже 400 (по прочности при сжатии).
Требования по морозостойкости устанавливаются проектом в зависимости от климатических условий и места укладки камня в сооружениях и должны быть не менее величин, указанных в табл. 8.
Таблица 8
Минимальная марка камня по морозостойкости
Область применения камня | Минимальная марка камня по морозостойкости |
для районов с особо суровыми климатическими условиями на акваториях | для районов с умеренными и суровыми климатическими условиями на акваториях |
Части сооружений, находящихся в зоне переменного горизонта воды | 150 | 100 |
Надводные части | 100 | 50 |
Для каменной наброски допускается камень с водопоглощением не более 6% массы с коэффициентом размягчения в воде 0,75.
Каменные материалы (щебень и гравий) для устройства обратных фильтров и постелей применяют из изверженных пород со средней плотностью 2,3 - 2,7 т/м3 или из известняков и песчаников со средней плотностью 2,1 - 2,4 т/м3 при временном сопротивлении на сжатие не менее 600 кгс/см2.
Крупнозернистые и среднезернистые пески должны отвечать требованиям ГОСТ 8736-77 (с изм.).
7.6. Грунтовую часть берегового укрепления укладывают из глинистых или песчаных грунтов с содержанием гумуса не более 8%. Допускаются к укладке сухим способом суглинки (кроме тяжелых), супеси и пески. Зерновой состав карьерных песков, пригодных для укладки способом гидромеханизации, должен соответствовать графику рис. 41. Предпочтительно для строительства употреблять пески I группы, песчаные и гравийные грунты II группы. Супеси (III группа), суглинки (IV группа) для намыва в береговые укрепления не употребляют.
Рис. 41. График зернового состава карьерных песков
Таблица 1
Основные параметры важнейших водохранилищ
Водохранилища | Основное назначение водохранилищ | Длина при НПУ, км | Наибольшая ширина, км | Площадь зеркала, км2 | Объем, млн. м3 | Среднемноголетние даты ледостава (в числителе), очищение ото льда (в знаменателе) | Год ввода водохранилища в эксплуатацию |
при НПУ | при УМО | полный | полезный |
Верхневолжское | Водный транспорт, рыбное хозяйство | 85 | 6 | 183 | 56 | 524 | 466 | 15/XI ------- 29/IV | 1943 |
Иваньковское | Судоходство, водоснабжение, энергетика, рыбное хозяйство | 120 | 10 | 327 | 83,5 | 1120 | 813 | 20/XI ------- 1/V | 1937 |
Угличское | Энергетика, водный транспорт, водоснабжение, сельское и рыбное хозяйство | 146 | 5 | 249,2 | 84,8 | 1245 | 809 | 21/XI ------- 23/IV | 1943 |
Рыбинское | Энергетика, водный транспорт, рыбное хозяйство | 150 | 56 | 4550 | 23,85 | 25420 | 16670 | 14/XI ------- 30/IV | 1949 |
Горьковское | Энергетика, водный транспорт, водоснабжение, рыбное хозяйство | 415 | 26 | 1591 | 1223 | 8815 | 2782 | 29/XI ------- 23/IV | 1957 |
Куйбышевское | Энергетика, судохозяйство, рыбное хозяйство | 650 | 27 | 6448 | 3070 | 58000 | 34600 | 28/XI ------- 1/V | 1959 |
Саратовское | Энергетика, водный транспорт, рыбное хозяйство | 353 | 25 | 1831 | 1661 | 12870 | 1750 | 1/XII ------------ 20 - 30/IV | 1968 |
Волгоградское | Энергетика, водный транспорт, рыбное и сельское хозяйство, водоснабжение | 490 | 17 | 3117 | 2426 | 31450 | 8250 | 15/XII ------------ 10 - 30/IV | 1961 |
Камское | Энергетика, судоходство, рыбное хозяйство, лесосплав | 300 | 30 | 1915 | 650 | 12205 | 9200 | 20/XI ------- 2/V | 1956 |
Воткинское | Энергетика, водный транспорт, водоснабжение | 370 | 10 | 1120 | 800 | 9360 | 3700 | 17/XI ------- 10/V | 1964 |
Цимлянское | Энергетика, водный транспорт, рыбное и сельское хозяйство | 360 | 38 | 2702 | 1885 | 23860 | 11540 | 24/XII -------- 11/IV | 1953 |
Братское | Энергетика, водный транспорт, водоснабжение, рыбное хозяйство | 560 | 33 | 5470 | - | 169300 | 48200 | 24/XI ------- 28/V | 1967 |
Таблица 2
Характерные уровни на речных водохранилищах
и продолжительность их стояния по наблюдениям
на водомерных постах, сут
N п.п. | Водохранилище | Период наблюдений, сут | Нормальный подпорный уровень (НПУ) | Наблюденные эксплуатационные уровни воды (НЭУ) | Минимальный уровень сработки | Дополнения |
отметка м БС | продолжительность стояния уровней воды | безледоставный период | зимний период | безледоставный период | зимний период |
период | сутки | % | отметка м БС | продолжительность периода | отметка м БС | продолжительность периода | отметка м БС | продолжительность стояния ниже уровня сработки | отметка м БС | продолжительность стояния ниже уровня сработки |
сутки | % б/лдст. периода | сутки | % зимнего периода | сутки | % б/лдст. периода | сутки | % зимнего периода |
1 | Горьковское (Ярославль) | 1957 - 1974, 1976 - 1978 7672 сут | 84,15 | Б/лдст. | 670 | 15 | 84 | 3207 | 70 | 84 | 920 | 30 | 83,6 | 150 | Отсутствует | 82 | 7 | Отсутствует | Наблюденные эксплуатационные уровни в навигационный период близки к НПУ |
Зимний | 187 | 6 | > 84,5 < 84 | 532 829 | 12 18 | > 84,5 < 84 | 811 1372 | 26 44 | | | | | | |
2 | Куйбышевское (Ульяновск) | 1960 - 1976 6210 сут | 53 | Б/лдст. | 175 | 5 | > 53 | 525 | 14 | | | | | | | | | | 246 сут стоял уровень в 1976 г. ниже уровня сработки |
| | | < 53 | 2921 | 81 | < 53 | 2134 | 82 | 49 | 7 | 2 | 48 | 455 | 17,5 |
3 | Саратовское (Хвалынск) | 1969 - 1975 2525 сут | 28 | Б/лдст. | 220 | 13 | > 28 | 306 | 19 | > 28 | 82 | 9 | 27,5 | 9 | Отсутствует | 27 | Отсутствует | Отсутствует | - |
Зимний | 157 | 17 | < 28 | 1100 | 68 | < 28 | 661 | 74 | | | | | | | |
4 | Волгоградское (Саратов, Энгельс) | 1961 - 1976 5844 сут | 15,1 | Б/лдст. | 415 | 12 | > 15,1 | 885 | 24 | > 15,1 | 325 | 15 | | Отсутствует | Отсутствует | 12 | Отсутствует | Отсутствует | - |
Зимний | 226 | 10 | < 15,1 | 2330 | 64 | < 15,1 | 1663 | 75 | 13 | | | | | | |
5 | Волгоградское (Камышин) | 1961 - 1976 5844 сут | 15 | Б/лдст. | 815 | 21,5 | > 15 | 795 | 21 | > 15 | 210 | 10 | 13 | То же | " | 12 | " | " | - |
Зимний | 155 | 8 | < 15 | 2177 | 57,5 | < 15 | 1692 | 82 | | | | | | | |
6 | Воткинское (Пермь) | 1968 - 1978 5479 сут | 89 | Б/лдст. | 848 | 27 | > 89 | 863 | 27 | > 89 | 239 | 11 | 87 | 118 | 4 | 84 | " | " | - |
Зимний | 326 | 15 | < 89 | 1461 | 46 | < 89 | 1618 | 74 | | | | | | | |
7 | Цимлянское (Цимлянск) | 1953 - 1978 9495 сут | 36 | Б/лдст. | 352 | 5 | > 36 | 87 | 1 | > 36 | - | 100 | 31 | 332 | 5 | 31 | 326 | 12 | НЭУ в б/лдст. период 33,5 - 34,5 - 1484 сут 22% |
< 36 | 6266 | 94 | < 36 | 2790 | | | | | | | |
8 | Братское (Братск) | 1968 - 1978 4018 сут | 401,73 | Отметки ниже НПУ | Отметки ниже НПУ | Отметки ниже НПУ | < 401,67 | 4018 | 100 | < 401,16 | 2067 | 100 | 395 | Отсутствует | Отсутствует | Отсутствует | Отсутствует | Отсутствует | С отметки 401,5 до отметки 397 одна и та же повторяемость |
Примечания. 1. НПУ установлен "Основными положениями правил использования водных ресурсов".
2. В гр. 14 указывают минимальный уровень сработки согласно "Основным положениям правил использования водных ресурсов".
3. Продолжительность стояния уровней, %, дана от числа суток в соответствующем периоде.
Из
табл. 2 видно, что амплитуда режимных колебаний уровней меняется от 7 м на Братском водохранилище до 1 м на Саратовском, с преобладающей величиной - 5 м (Куйбышевское, Боткинское, Цимлянское).
Значительные годовые амплитуды колебаний уровней воды, создаваемые режимом работы ГЭС, со значительным их увеличением при паводках редкой повторяемости определяют большую высоту береговых укреплений.
При наличии каскада водохранилищ и расположении береговых укреплений в нижнем бьефе (выше расположенного гидроузла) на устойчивость береговых укреплений оказывают влияние суточные колебания уровней, амплитуды которых не всегда соответствуют требованиям "Основных положений правил использования водных ресурсов". Так, например, в нижнем бьефе Саратовской ГЭС наибольшие амплитуды внутрисуточных колебаний уровней должны составлять 2,2 м в навигационный период, 3,7 м - зимой. По данным дирекции ГЭС (1976 - 1978 гг.) они достигали 3 и 5,8 м соответственно. Такие же отклонения отмечены на Камском, Волгоградском и других гидроузлах.
Суточные колебания уровней, возникающие при неравномерной работе ГЭС, обусловливают тяжелую ледовую обстановку.
Сведения о характерных колебаниях уровня на некоторых озерах, представляющих наибольший интерес, приведены в
Прил. 2.
Амплитуда колебаний уровней на озерах значительно меньше, чем у речных водохранилищ, что существенно отличает конструкцию береговых укреплений.
Отметки максимальных уровней воды редкой повторяемости речных водохранилищ принимают по проектным данным, обоснованным материалами наблюдений на реках (до образования водохранилища) и водохозяйственными расчетами.
Максимальные расходы воды редкой повторяемости и малой продолжительности водохранилищами, как правило, не регулируются. Например, водопропускная способность водосливного фронта Волгоградской ГЭС - 63000 м3/с, что превосходит бытовый расход Волги обеспеченностью 0,1% - 59500 м3/с. По этой причине максимальные уровни воды в средней и верхней частях водохранилищ могут не только сохранять свои бытовые отметки, но и превышать их. Так, у Саратова отметка максимального уровня обеспеченностью 1% (19,4 м) превышает бытовую (до наполнения Волгоградского водохранилища) на 0,7 м. Эта особенность еще больше увеличивает амплитуду режимных колебаний уровня в водохранилищах (у Саратова она достигает 9 м).
Таблица 3
Ветровые характеристики и элементы волн
на водохранилищах в безледоставный период
N п.п. | Водохранилище, озера | Максимальная скорость ветра по наблюдениям | Элементы волн по наблюдениям | Источники сведений о волнении |
период наблюдений, годы | м/с ----- дата | Румб | период наблюдений, годы | высота, м | скорость ветра, вызвавшая волну, м/с | волноопасный румб |
1 | 2 | 3 | 4 | 5 | 6 | 7 | 8 | 9 | 10 |
1 | Куйбышевское (Ульяновск) | 1960 - 1976 | 34 -------- X 1973 | В, ЮВ, Ю | 1960 - 1974 | 3,6 - 3,9 | > 29 | С, В, Ю | Из "Атласа единой глубоководной системы ТС" и альбома "Высота ветровых волн" |
| | 2,87 | 16 | ЮВ | По максимально-минимальной вехе (1969) |
| | 2,8 | 20 | ЮВ | Плавучая станция ПМС-1 (1962) |
2 | Саратовское (Хвалынск) | 1959 - 1976 | 28 -------- X 1973 | С | 1969 - 1974 | 3,5 | > 29 | С | Из альбома "Высота ветровых волн" и "Атласа единой глубоководной системы ТС" |
| | 2,7 | 24 | ЗСЗ | Отнесена к протоке Воложка |
| | 2 | 16 | Ю | Плавучая станция ПОМ-3 (1972 - 1973) |
3 | Волгоградское (Новониколаевск) | 1960 - 1976 | 30 -------- X 1973 | СВ | 1960 - 1974 | 2,3 | 18 | ЮЮЗ | Плавучая станция ПОМ-1 (1969) |
| | 2,55 | 20 | ЗЮЗ | Плавучая станция ПОМ-1 (1973) глубина 7,6 м, разгон 6,9 км |
| | 2,8 | 20 | ЗЮЗ | По максимально-минимальной вехе (1970) |
4 | Камышин Волгоградское | 1960 - 1976 | 24 --------- X 1972 | ЗЮЗ | 1960 - 1974 | 2,7 | 21 | З | Плавучая станция ПОМ-1 (1973) глубина 7,5 м, разгон 3,6 м |
| | | 1,7 | 14 | ВЮВ | Плавучая станция ПОМ-1 (1969) |
| | | 2,55 | 20 | ЗЮЗ | Плавучая станция ПОМ-1 (1973) глубиной 7,6 м, разгон 6,9 км |
30 --------- X 1973 | СЗ | | 2,75 | 18 | В, ЮВ | По максимально-минимальной вехе (1970) |
5 | Рыбинское Леонтьевское | 1944 - 1947 | 20 --------------- 29/VIII 1947 | СВ | 1944 - 1976 | 3 | 20 | СВ | Волномерная веха |
6 | Горьковское Городец (рейдовая вертикаль) | 1957 - 1976 | 19,5 ------------ 17/X 1971 | С, СЗ | 1956 - 1976 | 2,9 | 19,5 | ССЗ | По максимально-минимальной волномерной вехе (1971) |
Примечание. Шторм в октябре 1973 г. вызвал волну высотой 4,2 м на Куйбышевском и Волгоградском водохранилищах.
Таблица 1
Основные параметры некоторых озер
Название | Максимальная длина, км | Ширина, км | Глубина, м | Полный объем, млн. м3 |
максимальная | средняя |
Байкал (входит в Иркутское водохранилище) | 636 | 79 | 1741 | 730 | 23002000 |
Онежское (входит в Верхне-Свирское водохранилище и Волго-Балт) | 96 | 91 | 127 | 29 | 260080 |
Ильмень (входит в состав Волховского водохранилища) | 45 | 35 | 10 | 2,6 | 3000 <*> |
Ладожское (входит в состав Волго-Балта) | 219 | 130 | 230 | 51 | 908000 |
Селигер (входит в состав Верхневолжских водохранилищ) | 65 | 35 | 24 | 5,8 | 1170 |
--------------------------------
<*> Объем дан вместе с Волховским водохранилищем.
Таблица 2
Характерные уровни воды на некоторых озерах, м БС
Название озера, водный пост, период наблюдений | НПУ | НЭУ | Минимальный уровень | Наблюденные уровни | Амплитуда колебания уровней |
безледоставный период | зимний период | минимальный | максимальный |
предполоводной сработки | навигационный | безледоставный период | зимний период |
Байкал - Нижнеангарск (1960 - 1976 гг.) | 456,69 | 455,95 - 455,35 | 455,35 - 454,95 | 455,19 | 455,19 | 454,7 - 10/VI 1976 | 454,57 24/IV 1976 | 456,33 30/IX 1973 | 1,76 |
Онежское - Петрозаводск (1953 - 1978 гг.) | 33,3 | 33,4 - 33 | 33,2 - 32,78 | 32 | 32,6 | 32,52 20/XI 1972 | 32,42 18/IV 1960 26 - 28 31-III 1965 I/I 1976 | 33,74 20/IX 1961 | 1,32 |
Ильмень - с. Песчаное (1931 - 1941, 1945 - 1974 гг.) | 19 | 18 - 17,5 | 18 17 | 16 | 16,65 | 16,53 29,30/X 1931 | 16,17 - 27/III, 5/IV 1940 | 22,70 11, 12/V 1966 | 6,53 |
Ладожское - Бумкомбинат (1955 - 1977 гг.) | - | 4,4 - 4,2 | 4,6 4,2 | - | - | 3,46 12/XI 1973 | Устойчивого лдст. не наблюдалось | 6,09 - 9/VI 1958 (1954 - 1975) | 2,63 |
Селигер - Осташков (1943 - 1975 гг.) | - | 205,8 205,2 | 205,4 205 | - | - | 204,65 - 9/XI 1939 | 204,67 28/XI, 18 - 20/ XII 1939 | 206,71 16 - 20/IV 1903 (1902 - 1941, 1943 - 1975) | 2,06 |
Примечание. Нормальный подпорный и минимальный уровни даны по "Основным положениям правил использования водных ресурсов".
Примеры переформирования берегов. Средняя скорость отступания берега по некоторым участкам Рыбинского водохранилища 4 - 6 м/г, а Горьковского - 2,5 м/г. На Иваньковском и Угличском водохранилищах, а также в русловых частях Рыбинского и Горьковского водохранилищ скорость отступания минимальная - 0,5 - 1 м/г.
Разрушением в районе г. Ульково (Горьковское водохранилище) охвачен двухкилометровый участок пойменной террасы, сложенный аллювиальными тяжелыми суглинками. Высота абразионного уступа на всех створах 1 - 1,5 м над НПУ. Данные о фактическом переформировании берегов на участке Ульково приведены в таблице.
Таблица
Значения переформирования берегов на участке Ульково
за период с 1955 по 1965 гг.
N створа | Фактическая ширина размыва берега, м | Ширина полосы размыва по проекту, м |
за 10 лет | в конечную стадию |
1 | 25 | 11 | 17 |
2 | 30 | 7 | 12 |
Фактическая ширина полосы размыва берегов превышает в 2,3 - 4,4 раза проектную, рассчитанную на 10 лет эксплуатации Горьковского водохранилища. Причем фактическая ширина полосы размыва превысила проектную не только за 10 лет, но и для условной конечной стадии.
У Ульяновска за период 1959 - 1966 гг. объем размытых пород в среднем по одному участку берега составил около 200 м3/м, на другом участке - около 180. За 18 лет объем береговой абразии на неукрепленной части берега достиг 380 м3/м. Процесс затухает слабо.
В определенных инженерно-геологических условиях разрушение водохранилищем нижней контрфорсной части склона активизирует оползневые процессы с образованием оползневых районов, охватывающих весь береговой склон до его верхней бровки (например, в Ульяновске). В результате воздействия стоковых и волновых течений на речных водохранилищах материал, полученный при размыве дна и берегов, переносится и в некоторых местах откладывается, образуя динамически активные аккумулятивные формы. Так, в 13 км от Угличской ГЭС у пос. Васильки (Рыбинское водохранилище) наблюдается медленное развитие прибрежной отмели. В октябре 1974 г. по створу N 2 ширина отмели достигла 28,7 км, крутизна основной части отмели 9°. То же происходит в 34 км от Угличской ГЭС на участке Мышкин. К осени 1974 г. ширина отмели по створам N 4 и 5 была 19 - 21 м.
В Чкаловске в вогнутой части береговой линии образовался широкий пляж из крупного песка с гравием, под защитой которого укрепление не разрушается.
В Ульяновске ширина прибрежной отмели достигала в 1966 г. 40 - 50 м, причем 2/3 ее приходилось на абразионную часть, 1/3 - на аккумулятивную. Объем аккумуляции составлял 20 - 30% размыва. Остальная часть размытого материала была унесена стоковыми и волновыми течениями. Угол наклона отмели менялся по длине участка в пределах 3 - 6°. Мощность слоя наносов, полученная сравнением старых топографических карт с промерами 1966 г., составила 2 - 2,5 м и их шлейф распространился в водохранилище до 200 м от берега. На другом участке за период 1966 - 1974 гг. мощность слоя наносов составила (согласно примерам) 0,6 - 1 м. Ширина прибрежной отмели увеличилась с 1966 г. на 10 - 15 м (за счет абразионной части). Углы отмели уположились с 5° до 3°.
Пример определения элементов волн на водохранилищах (без трансформации волн на мелководье).
Определить среднюю высоту

, м, длину

, м и период

, с, волн в точке A мелководной зоны.
Скорость и направление ветра постоянны. Скорость

. Разгон D = 13,2 км. Глубины переменны по разгону. Уклоны дна 0,001 и менее.
Решение. Начиная от подветренного берега акватории, профиль дна вдоль линии разгона разбиваем на участки с различными и примерно одинаковыми в пределах каждого участка глубинами H, м, и уклонами дна (рис. 42, а).
Рис. 42. Расчетный профиль водохранилищ
Расчет выполняется в следующей последовательности.
Для I участка по двум координатам:

;

и рис. 38 (см. СНиП II-57-75 "Нагрузки и воздействия на гидротехнические сооружения") определяем

).
Для II участка находим

,

.
По рис. 38 определяем, что горизонтальная линия

находится выше горизонтальной линии, равной

. В этом случае волны участка не пропускаются во II участок, поэтому расчет выполняют по сумме относительных разгонов

и относительной глубине воды

. По рис. 38 определяем

, откуда

.
Примечание. Если горизонтальная линия

расположена ниже горизонтальной линии

, то, входя в график 38 со значением

и верхней огибающей кривой

, определяем дополнительное значение

. Полученное значение складываем с

и по сумме двух разгонов (дополнительного и II участка) определяем по графику

с учетом

.
Для III участка находим

. Вводя в тот же график

и

, определяем величину дополнительного разгона

. Складываем его с

.
Получаем 24 + 5 = 29. С учетом

по тому же рисунку определяем:

;

, откуда:

;

;
Высота волн различной обеспеченности определяется по графику значений коэффициента

(рис. 39 СНиП II-57-82).
Переходим к определению границы зоны III участка, т.е. к определению той глубины, с которой считают трансформацию. Используем метод последовательных приближений.
При глубине, например H = 3 м, вычисляем

. По координатам

и

смотрим по рис. 38, попадает ли точка на верхнюю огибающую кривую или отходит от нее. В данном случае - отходит. Продолжаем расчет и делаем второе приближение. При глубине H = 5 м вычисляем

и по

. Проверяем, попадает ли на верхнюю огибающую кривую. Проводим аналогичные вычисления до тех пор, пока точка не попадает на верхнюю огибающую кривую. Определяем также для глубины H = 6 м;

и

и опять не попадаем. В этом случае участок с H = 6 м и разгоном 0,2 км (из-за малой величины разгона) не влияет на параметры волн, которые получились в конце II участка. Следовательно, для точки A параметры волн принимаем по концу II участка без учета трансформации.
Если бы участок III имел больший разгон, это сказалось бы на увеличении средней высоты волны в конце III участка и порядке расчета элементов волн (см. следующий пример).
Пример определения элементов волн на водохранилищах с трансформацией волны на мелководье.
Определить в точке A элементы волн

;

;

;

;

.
Скорость и направление ветра постоянны. Скорость

. Глубины переменны по разгону. Глубина точки A

. Угол подхода волн

, уклон подводного склона

, разгон D = 42 км (см.
рис. 42, б).
Решение. Определяем для I участка по

и
По рис. 38 определяем

.
На II участке:
По рис. 38 определяем, что горизонтальная линия

находится выше горизонтальной линии, отвечающей

. В этом случае волны I участка гасятся на II участке и расчет выполняем по сумме разгонов

. Вычисляем

и

, тогда по рис. 38

.
Для III участка определяем также
и, вводя в тот же график

и

, определяем дополнительный разгон

. Складываем его с

, получаем 64,5. С учетом

определяем по тому же рисунку

;

, откуда

.
Затем определяем границу зоны III участка, т.е. определяем ту глубину, с которой считаем трансформацию.
Используем метод последовательных приближений. При глубине H = 10 м вычисляем

и по

рис. 38 (СНиП) определяем, что на верхнюю огибающую кривую точка не попадает. При H = 12 м также не попадает. Это говорит о том, что участок III мелководный, поэтому определяем

для соответствующей вертикали с H = 12 м, причем

принимаем только до глубины 12 м.
Предположим, что глубина H = 12 м находится на

, тогда по

и

. Определяем дополнительный разгон

и складываем его с

, получая 57 (24 + 33). С учетом

по рис. 38 находим

и

, откуда

;

;

и

.
С глубины 11,1 м начинается трансформация волн. При параллельных и приблизительно прямолинейных изобатах (что характерно для водохранилищ) высоту волн i%-ной обеспеченности с учетом трансформации у берегового сооружения следует определять по формуле (192) "Руководства по определению нагрузок и воздействий на гидротехнические сооружения (волновых, ледовых и от судов)".
По СНиП

[где

(при уклонах дна >= 0,03),

,

(при W = 20 - 30 м/с и D = 2 - 30 км)].
Относительная высота волны

принимается из рис. 124 (см. Руководство к СНиП) и по безразмерной величине

и углу

между нормалью к изобатам и направлением распространения волн, причем H принимается равной

, или непосредственно глубине у основания сооружения.
Если основание берегового укрепления находится на подводной террасе, за которой расположена глубоководная зона, то расчетные параметры волн для проектируемого берегового укрепления принимаются как для глубокой воды (по верхней огибающей кривой графика 38).
Критическую глубину

определяют по графику 125 с учетом уклонов подводных склонов. В данном примере

;

.

определяем по рис. 124 (см. Руководство) при

; снимаем

, откуда

.

. Следовательно, для точки A получаем

;

.
Длину волны определяем по рис. 41 СНиП

и

;

;

Период уточняем по формуле

, откуда
Для точки A получаем параметры:

;

;

;

Пример расчета упорного пояса из двухрядного железобетонного шпунта таврового сечения с косыми диагональными тягами.
Исходные данные:

- высота упорного пояса. Расчетные характеристики грунта основания - глины мергелистые:

- угол внутреннего трения;

- удельное сцепление. Расчетные характеристики грунта засыпки - пески:

- угол внутреннего трения;

- средняя плотность массы грунта выше уровня воды (при вертикальном давлении грунта);

- средняя плотность массы грунта ниже уровня воды (при вертикальном давлении грунта);

- расчетная временная равномерно распределенная нагрузка.
Расчетные характеристики определены с учетом коэффициентов перегрузок n в соответствии с главой СНиП основными положениями проектирования речных гидротехнических сооружений. h = 3 м,

- высота и средняя длина волны. Класс сооружения - III.
Решение.
Волновые нагрузки определены в соответствии с главой СНиП "Нагрузки и воздействия на гидротехнические сооружения" и приведены в табл. 1.
Таблица 1
Расчетные значения ординат эпюры волнового давления
Заглубление точек, z, м | Коэффициенты k2 - k5; k8; k9 | Значения ординат эпюры волнового давления на вертикальную стену полного профиля, тс/м2 | kСН | Значения ординат эпюры волнового давления на вертикальную стену неполного профиля, тс/м2 |
| -3,97 | - | - | P1 | 0 | | | - |
zвс | -2,5 | - | - | Pвс | 0,96 | 0,92 | Pвс | 0,85 |
0 | 0 | k2 | 0,81 | | 2,43 | 0,92 | | 2,24 |
0,25H | 1,38 | k3 | 0,68 | | 2,04 | 0,92 | | 1,88 |
0,5H | 2,75 | k4 | 0,59 | | 1,77 | 0,92 | | 1,63 |
H | 5,5 | k5 | 0,52 | | 1,56 | 0,92 | | 1,44 |
0 | 0 | - | - | P6 | 0 | | P | 0 |
| 2,03 | - | - | | -2,03 | 1 | P | -2,03 |
0,5H | 2,75 | k8 | 0,51 | | -1,53 | 1 | P | -1,53 |
H | 5,5 | k9 | 0,43 | | -1,29 | 1 | P | -1,29 |
Эпюры волнового давления при расчетном уровне см. рис. 43.
Рис. 43. Расчетная схема упорного пояса
а, б - расчетная схема; в - эпюра горизонтальных
составляющих интенсивности активного давления;
г - эпюра гидростатического давления воды;
д - эпюра давления стоячих волн при подходе ложбины волны;
е - суммарная эпюра; ж - эпюра пассивного давления грунта
Конструкция упорного пояса рассчитывается на силовые воздействия по методу предельных состояний.
1. Расчет упорного пояса по схеме плоского сдвига (СНиП II-16-76 п. 3.8). В расчете принята масса железобетонных элементов, равная массе грунта засыпки.
Принимается к расчету наиболее опасный случай - сдвиг в сторону водохранилища при подходе ложбины волны и при отсутствии временной равномерно распределенной нагрузки.
При расчете устойчивости сооружения по схеме плоского сдвига (без поворота) при горизонтальной плоскости сдвига величины

и

определяем по формулам:

и

,
где

- расчетное значение предельного сопротивления при плоском сдвиге;
P - сумма вертикальных составляющих расчетных нагрузок;

;

- расчетные значения характеристик грунтов по первой группе предельных состояний;

- коэффициент условий работы, учитывающий зависимость пассивного давления грунта от величины горизонтального смещения сооружения, принимается 0,7;

и

- соответственно расчетные значения горизонтальных составляющих пассивного давления грунта со стороны низовой грани сооружения и активного давления грунта с верховой стороны;
F - горизонтальная проекция площади подошвы сооружения, в пределах которой учитывается сцепление;

- расчетное значение сдвигающей силы;

- сумма горизонтальных составляющих расчетных значений активных сил, действующих соответственно со стороны верховой грани сооружения, за исключением активного давления грунта (горизонтальные составляющие расчетных значений гидростатического давления воды и давления стоячих волн при подходе ложбины волны);

- расчетное значение горизонтальной составляющей активного давления грунта с верховой стороны

.
Расчетные значения горизонтальных составляющих активного давления грунта

с верховой стороны и пассивного давления грунта

со стороны низовой грани сооружения определены в соответствии с главой СНиП по проектированию подпорных стен (СНиП II-55-79).
А. Определение горизонтальной составляющей интенсивности
активного давления

:

,
где

,
где

;

- соответственно объемный вес (с учетом взвешивания водой) и высота i-го слоя грунта у расчетной поверхности в пределах высоты y;

- коэффициент горизонтальной составляющей активного давления;

- угол внутреннего трения

;

- угол наклона поверхности и слоев грунта к горизонтали, принимаемый со знаком плюс при отклонении поверхности вверх (

,
рис. 43);

- угол трения грунта на контакте с расчетной плоскостью, принимаемый

.
Расчет по определению

и

сводим в табл. 2, откуда

.
Таблица 2
Расчетные усилия, действующие на упорный пояс
Отметка, м | Интенсивность давления грунта (рис. 43), тс/м 2 | Интенсивность гидростатического давления, (рис. 43), тс/м 2 | Интенсивность волнового давления (рис. 43), тс/м 2 | Суммарная интенсивность давления грунта, гидростатического и волнового давления (суммарная эпюра, рис. 43), тс/м 2 | Расчетное значение сдвигающей силы (площадь суммарной эпюры) Eа.г, т | Координаты точек приложения сил (сдвигающей силы) |
1 | 2 | 3 | 4 | 5 | 6 | 7 |
66 | 0 | - | - | 0 | | |
65 | 0,87 | 0 | - | 0,87 | 0,44 | 7,33 |
63,5 | 1,6 | 1,5 | 0 | 3,1 | 2,98 | 6,11 |
61,47 | 2,58 | 1,5 | 2,03 | 6,11 | 9,35 | 4,37 |
60,75 | 2,97 | 1,5 | 1,53 | 6 | 4,36 | 3,11 |
58 | 4,26 | 1,5 | 1,29 | 7,05 | 17,94 | 1,34 |
Итого | | | | | 35,07 | 2,85 |
Б. Определение горизонтальной составляющей интенсивности
пассивного давления


,
где

- коэффициент горизонтальной составляющей пассивного давления, определяется по формуле:
При
Для песчаного грунта (засыпка):
В. Определение расчетной величины
предельного сопротивления

Сумма вертикальных составляющих расчетных нагрузок P = 55,38 тс. Расчетное значение предельного сопротивления:
35,07 < 0,87 x 46,4 - условие выполняется, устойчивость обеспечена.
Примечание. Расчет произведен для минимального расчетного уровня. Расчет при строительном и максимальном уровнях выполняют по той же схеме.
2. Расчет устойчивости упорного пояса по схеме глубинного сдвига (СНиП II-16-76, прил. 3, рис. 44). Для определения силы предельного сопротивления R применяется метод теории предельного равновесия. Он разработан для случая равномерной эпюры под подошвой сооружения. Эпюру напряжений под подошвой шириной b с ординатами

и

назовем действительной эпюрой. Эта эпюра заменяется расчетной равномерной эпюрой шириной B и интенсивностью

.
Рис. 44. Схема к расчету несущей способности основания
и устойчивости сооружения при глубинном сдвиге
а - расчетная схема; б - график
Замена осуществляется исходя из двух положений: действительная и расчетная эпюры должны быть равновеликими; центры тяжести обеих эпюр должны располагаться на одной вертикали.
Используя эти условия, получаем:

;

Определяем

и

по формуле
Расчет ведем на 1 м длины сооружения. Тогда F = 6,5 x 1 = 6,5 м2. Собственная масса сооружения P = 77,19 тс:

;


.
Касательные напряжения

в пределах расчетной ширины B от горизонтальной составляющей

определяют по формуле
Сцепление грунта рассматривают как фиктивную равномерно распределенную нагрузку интенсивностью

, приложенную на поверхности засыпки.
Угол наклона

равнодействующей к вертикали определяем по формуле
Связь между углом наклона

к вертикали равнодействующей внешних сил, равной по величине силе предельного сопротивления сдвигу R, и ориентировкой треугольника предельного равновесия определяется углом

, величину которого находим по формуле
По найденному значению

находим все данные, необходимые для определения размеров призмы обрушения ABCDE
(рис. 44). Линия AB проводится по углу

, линия EB по углу

. Линия EC строится по углу

. Очертание ограничивающей кривой скольжения BC для промежуточной зоны II строится по уравнению логарифмической спирали.
Радиус

находим по формуле
где

,


;


;

Линия CD проводится через точку C под углом

к горизонтальной поверхности ED.
После определения очертания призмы обрушения находят массы

,

и

I, II, III зон (при наличии сцепления к силе

добавляется нагрузка

, соответствующая нормальному напряжению n):

;

;

.
Определяем величину силы R по формуле

,
| | ИС МЕГАНОРМ: примечание. Формула дана в соответствии с официальным текстом документа. | |
где

,

,

;

;

;

;

.
По найденным значениям R определяют величины

и

, используемые для построения графика несущей способности основания

по формулам:

;

.
Отложив найденные значения

и

, получают одну из точек b графика несущей способности основания
(рис. 44). Для нахождения еще нескольких точек графика и построения кривой

расчеты R,

,

повторяют еще для нескольких значений

, которыми задаются в пределах

и

. Расчет приведен в
табл. 3.
Для определения величин

;

;

удобно пользоваться таблицами прил. 3 СНиП II-16-76, при этом R определяют по формуле

,
где

,

- характеристики грунта основания;
B - расчетная ширина;
q - интенсивность равномерной нагрузки на участке ЕД призмы выпора

(где

- заглубление постели).
Таблица 3
Расчетные значения ординат графика
несущей способности основания
| R, тс |  , тс/м 2 |  , тс/м 2 |
| 285,4 | 61,5 | 2,4 |
| 251,3 | 52,5 | 6,4 |
| 218,2 | 43,6 | 15 |
| 109,6 | 15 | 9,1 |
| | ИС МЕГАНОРМ: примечание. Взамен СНиП II-50-74 Постановлением Госстроя СССР от 28.05.1986 N 71 с 01.07.1987 введены в действие СНиП 2.06.01-86. | |
Построив график, откладываем на нем значение

. Отыскиваем точку d и соответствующее этой точке значение

, находим искомое значение

(коэффициент надежности по СНиП II-50-74). Следовательно, сооружение устойчиво.
Точки с координатами

и

, лежащие за пределами кривой

, соответствуют коэффициенту надежности менее единицы, а точки внутри кривой - более единицы. Точки с координатами

и

, попадающие на кривую, соответствуют состоянию предельного равновесия.
3. Расчет по второму предельному состоянию. Расчет по деформациям не производим, если условие

соблюдено (СНиП II-16-76 п. 7.8) при эксцентриситете

. Проверяем условие

,
где

- среднее давление на грунт основания от действующих нагрузок;

- давление на грунт основания

.
(где

- коэффициент условий работы, принимаемый при строительстве "в воду". Для глинистых грунтов

;

,

, D - безразмерные коэффициенты, принимаемые по табл. 7 СНиП в зависимости от значения

грунта основания при

;

;

; D = 5,48;

(отсутствие постели);
B - ширина подошвы сооружения, равная 6,5 м;

- средняя плотность грунта основания 1 тс/м
3;

- средняя плотность материала постели;
d = 0 - заглубление подошвы);

- удельное сцепление грунта, залегающего под подошвой постели.
Определяем эксцентриситет

:

,
где

;

;
a = 183,12/87,1 = 2,1 м.

; 1/5 В = 6,5/5 = 1,3.

; 1,15 < 1,3;

.

.

.
Следовательно, расчет по деформациям не производим.
4. Расчет упорного пояса на прочность. Для проверки упорного пояса на прочность находим величину максимального изгибающего момента, действующего на упорный пояс. На прочность рассчитываем вертикальные элементы упорного пояса (как консольные балки на двух опорах). При расчете определяем изгибающие моменты и поперечные силы на консольной части и пролетной части вертикального элемента упорного пояса.
Рассматриваем основное сочетание расчетных нагрузок: активное давление грунта, гидростатическое давление, волновое давление при откате волны и временная, равномерно распределенная нагрузка.
Активное давление грунта определяем в соответствии с главой СНиП II-55-79 (прил. 3) при минимальном расчетном уровне воды перед сооружением.
Временная равномерно распределенная нагрузка располагается на расстоянии

от линии кордона, вертикальное действие ее начинается на глубине

(

- высота консоли 0,5 м):

;

.
А. Определяем интенсивность активного давления грунта:

.
На отметке 66

.
На отметке 65,88

.
На отметке 65,5

.
На отметке 65

.
На отметке 58

.
Б. Строим эпюры горизонтальных составляющих интенсивности активного давления грунта, гидростатического давления и волнового давления (см. рис. 45).
Рис. 45. Расчетная схема к определению усилий
в вертикальном железобетонном элементе
а, б - расчетная схема; в - эпюра интенсивности активного
давления грунта; г - эпюра гидростатического давления;
д - эпюра волнового давления при подходе ложбины волны;
е - эпюра интенсивности пассивного давления грунта;
ж - суммарная эпюра; з - система сил; эпюра моментов;
и - силовой многоугольник
В. Определяем интенсивность пассивного давления грунта:

;

Г. Строим суммарную эпюру (см.
рис. 45) и находим равнодействующую приложения этих сил:

;

;

;

;

;

;

;

;

;

;

;

.
Д. Расчет по определению максимального изгибающего момента графоаналитическим способом приведен на
рис. 45. По полученным величинам M конструкцию рассчитываем на прочность в соответствии с главами СНиП по проектированию гидротехнических железобетонных конструкций.
| | ИС МЕГАНОРМ: примечание. Нумерация приложений дана в соответствии с официальным текстом документа. | |
Пример расчета по прогнозированию скорости смещений массива-гиганта на ползучем основании.
Исходные данные. Упорный пояс из массивов-гигантов (со сборной надстройкой), свободной высотой 12 м при ширине подошвы B = 8,5 м.
Расчетная схема конструкции показана на
рис. 46. Расчетные характеристики грунта основания (глины): угол внутреннего трения

; средняя плотность под водой

; коэффициент вязкости

; приращение порога установившейся ползучести над начальным порогом ползучести

.
Рис. 46. Расчетная схема массива-гиганта
по прогнозированию скорости смещений
а - расчетная схема; б - эпюра активного давления;
в - график определения мощности активной зоны
Расчетные характеристики грунта засыпки (песка): угол внутреннего трения

; средняя плотность в состоянии естественной влажности

; средняя плотность под водой

.
Решение. Определяем горизонтальную силу E, действующую на сооружение. Величину этой силы, соответствующую площади эпюры активного давления грунта на стенку, определяют по главе СНиП по проектированию подпорных стен. Величина горизонтальной силы E = 45,8 тс.
Эпюру активного давления грунта см. на
рис. 46.
Касательные напряжения в подошве стенки:

.
Нормальные напряжения в плоскости подошвы стены:

.
Мощность активной зоны h находим графическим способом. Задаваясь рядом значений искомой величины и производя построение графиков для правой и левой части уравнения:

. (1)
По
графику 46 найдено h = 0,75 м. Скорость смещения упорного пояса определяем по формуле
Пример расчета на длительную прочность одноанкерной шпунтовой стенки.
Исходные данные. Геометрические параметры сооружения L = 12,6 м,

; H = 5,3 м; l = 2,05 м. Расчетная схема конструкции показана на рис. 47.
Рис. 47. Расчетная схема одноанкерной шпунтовой стенки
Нормативные характеристики грунтов основания ползучей ленточной глины мягкопластичной консистенции - угол внутреннего трения

; удельное сцепление c = 1 тс/м
2; средняя плотность во взвешенном состоянии

; коэффициент вязкости в периоде установившейся ползучести (определен опытным путем)

.
Суглинка легкого моренного - угол внутреннего трения

, удельное сцепление c = 2 тс/м
2; средняя плотность во взвешенном состоянии

; коэффициент постели при напряженном состоянии вблизи предельного (определен опытным путем) k = 32 тс/м
2.
Нормативные геотехнические характеристики грунта засыпки (песок средней крупности): угол внутреннего трения

; средняя плотность в естественном состоянии

; средняя плотность во взвешенном состоянии

.
Нормативная временная эксплуатационная нагрузка на поверхности засыпки q = 2 тс/м2.
Шпунт железобетонный, плоский, толщиной 0,3 м. Марка бетона шпунта М300. Жесткость шпунтовой стенки (определена опытным путем) EI = 6340 тс/м2. Класс сооружения - III.
На рис. 48 приведена эпюра активного и пассивного давления грунта на стенку, построенная согласно СНиП II-55-79.
Рис. 48. Эпюра активного давления грунта
на одноанкерную шпунтовую стенку
а - расчетная схема; б - эпюра активного давления
Первый этап расчета конструкции на длительную прочность - определение значений функций F(x), B(x) и Ф*(x) при различных величинах x(H) по графикам на
рис. 9,
10 и номограммам на
рис. 11 -
14 отдельно для прямоугольной и треугольной составляющих эпюры P(x, o).
Необходимые для нахождения функций B(x) значения коэффициентов m для прямоугольной и треугольной составляющих эпюры p(x, o) равны соответственно

;
Другие исходные соотношения, значения которых следует знать при пользовании графиками и номограммами расчетных функций:

и l/Н = 0,387. Отвечающие различным величинам x/H значения функций F(x), B(x) и Ф*(x) приведены в табл. 1.
Таблица 1
Значения функций F(x), B(x), Ф*(x)
x/H | F(x) | B(x) | Ф*(x) |
0,25 | 1,2/1,7 | 0,5/1,1 | 112,5/120,5 |
0,5 | 2,5/3,3 | 1,3/2,2 | 108,5/110 |
0,75 | 3,9/5,3 | 2,5/3,0 | 128/112 |
0,81 | 4,21/5,2 | 2,94/3,56 | 135/113 |
Примечание. Перед и за чертой приведены данные, относящиеся соответственно к треугольной и прямоугольной составляющим эпюры P(x, o).
Результаты вычислений приведены в табл. 2,
3,
4. Значения

и t, используемые при определении ординат эпюры P(x, t), равны в рассматриваемом примере соответственно 134,5 тс и 14600 сут.
Таблица 2
x/H | | | |
0,25 | 713344/764051 | 1,43/1,33 | 0,24/0,26 |
0,50 | 688051/697548 | 1,48/1,46 | 0,23/0,23 |
0,75 | 811708/710389 | 1,25/1,43 | 0,29/0,239 |
0,81 | 856071/716641 | 1,19/1,42 | 0,30/0,242 |
Таблица 3
x/H | P(x, o) | P(x, 40 лет) |
составляющая | Сумма | составляющая | Сумма |
треугольная | прямоугольная | треугольная | прямоугольная |
0,25 | 3,94 | 4,41 | 8,35 | 0,94 | 1,15 | 2,09 |
0,50 | 2,19 | 4,41 | 6,6 | 0,5 | 1,01 | 1,51 |
0,75 | 0,43 | 4,41 | 4,84 | 0,12 | 1,05 | 1,17 |
0,81 | 0 | 4,41 | 4,41 | - | 1,07 | 1,07 |
Таблица 4
Вычисленные нагрузки P (x, 40 лет)
N силы | Вычисление | Сила |
1 | 0,5(1,22 + 0,68)1 | 0,95 |
2 | 0,5(1,22 + 1,77)1 | 1,495 |
3 | 0,5(2,15 + 1,77)0,7 | 1,372 |
4 | 0,5(2,15 + 2,49)1 | 2,32 |
5 | 0,5(2,49 + 2,83)1 | 2,66 |
6 | 0,5(2,83 + 3,17)1 | 3 |
7 | 0,5(3,17 + 3,51)1 | 3,34 |
8 | 0,5(3,51 + 3,71)0,6 | 2,17 |
9 | 0,5(4,69 + 4,19)1 | 4,44 |
10 | 0,5(4,19 + 4,27)0,325 | 1,37 |
11 | 0,5(4,27 + 4,68)1,325 | 5,93 |
12 | 0,5(4,68 + 4,86)1,325 | 6,32 |
13 | 0,5·0,885·4,86 | 2,15 |
14 | 0,5·2,41·0,44 | 0,53 |
15 | 0,5(14,19 + 17,18)1 | 15,68 |
16 | 0,5(17,18 + 18,87)1,05 | 18,92 |
17 | 0,5(18,87 + 21,15)1 | 20,01 |
18 | 0,5(21,15 + 23,43)1 | 22,29 |
19 | 0,5(23,43 + 25,52)1 | 24,48 |
Построенная по полученным данным эпюра P(x, 40 лет) на участке стенки H = 5,3 м показана на
рис. 48.
Следующий этап расчета конструкции на длительную прочность - построение эпюры изгибающих моментов M (x, 40 лет) в шпунтовой стенке и определение анкерной реакции

. Это выполняется графоаналитическим методом.
В рассматриваемом примере M (x, 40 лет) - 47 тс x м,

(см.
рис. 48).
Значение изгибающего момента, полученное для начального момента времени, составляет 22,5 тс x м (при получении эпюр изгибающих моментов замыкающие веревочных кривых приведены с учетом действительной глубины забивки шпунтовой стенки в грунт на конкретном объекте, применительно к которому выполнен расчет). Далее расчет шпунта на прочность производится на момент M = 47 тс x м согласно главе СНиП по проектированию железобетонных гидротехнических сооружений.
Пример расчета динамической устойчивости откосного берегового укрепления.
Исходные данные. Расчетные параметры: h = 3 м;

; крутизна откоса 1:3; глубина воды у откоса H = 10 м; волна подходит к откосу фронтально; средняя плотность материала плиты

; модуль упругости материала плит

, коэффициент Пуассона

; толщина щебеночной подготовки z = 0,2 м; средняя плотность щебня в воде

; модуль упругости подстилающего слоя
(табл. 1); коэффициент Пуассона

; грунт откоса - мелкозернистый песок; плотность

; средняя плотность в сухом состоянии

; угол внутреннего трения

; виброкомпрессионная характеристика песка на рис. 49.
Рис. 49. Виброкомпрессионные характеристики песков
Расчет устойчивости грунтового основания
| | ИС МЕГАНОРМ: примечание. Значение толщины плиты дано в соответствии с официальным текстом документа. | |
1. Толщину плиты

определяем согласно "Инструкции по проектированию гидротехнических сооружений, подверженных волновому воздействию". Получаем

. Применяемый метод расчета допустим, если выполняются следующие условия:

;
б) толщина плит не более 0,5 м;
в) крутизна откосов от 1:2 до 1:5;
г) пологость волн

.
Плита с размерами 10 x 10 x 0,26 м удовлетворяет
условию "а", так как

.
Песчаное основание устойчиво при соблюдении неравенств:

;

,
где

- максимальное ускорение колебаний грунта откоса на его контакте с обратным фильтром, м/с
2;

- критическое ускорение песка по условию его сдвига, м/с
2;

- критическое ускорение песка по условию его осадки, м/с
2.
При найденной толщине

находим ускорение колебаний грунта на контакте его с щебеночной подготовкой по формуле

,
где

- ударный импульс, воздействующий на полосу шириной 1 м при фронтальном подходе к откосу, определяемый по
табл. 2 в зависимости от значений высоты волны h, пологости волны

, котангенса угла откоса m и глубины воды у сооружения H.

; H = 10 м; h = 3 м; m = 3, следовательно,

;

- коэффициент перехода к пространственной задаче, учитывающий распределение ударного импульса вдоль откоса в направлении уреза воды, определяется по
табл. 3 в зависимости от стороны плиты

;

;

- коэффициент, учитывающий изменение ударного импульса в зависимости от угла подхода волны к откосу, определяется по
табл. 4. Угол подхода волны

,

;

- ускорение, определяется по графику
рис. 50 в зависимости от заданной толщины плиты

и показателя N, вычисляемого по формуле

;

;
n - поправочный коэффициент

. Значения

- коэффициента затухания колебаний в грунте - приведены ниже.

;

;

;

.
Рис. 50. График ускорения a
Значения коэффициента затухания колебаний в грунте

Пески:
пылеватые ................................ 0,55 - 0,65
мелкозернистые ............................ 0,5 - 0,6
средне- и крупнозернистые ................ 0,45 - 0,55
Щебень, гравий, щебеночная крошка ........ 0,35 - 0,45
Критическое ускорение песка по условию сдвига вычисляется по формуле:

;
m = 3; 3 = ctg 18°26';

;

;

;

;

,
т.е. устойчивость подстилающего слоя не обеспечивается для плиты размером 10 x 10 x 0,26 м.
2. Принимаем размеры плиты 10 x 10 x 0,3 м, тогда

;

;
1,16 < 1,31,
т.е. устойчивость подстилающего слоя по условию сдвига обеспечивается при размерах плиты 10 x 10 x 0,3 м.
Критическое ускорение песка по условию осадки определяется по формуле

,
где

- поправочный коэффициент, учитывающий изменение

в связи с воздействием волновой нагрузки в направлении по нормали к откосу, определяется по
табл. 5; m = 3,

;

- критическое ускорение колебаний песка по условию осадки в одномерной задаче при вертикальном приложении возмущающей силы и отсутствии внешней пригрузки на грунт, м/с
2, определяем по
рис. 40:

и

;

- коэффициент пропорциональности, м
3/тс
2;

;

; sin 18°26' = 0,316;
p - нормальное давление на грунт в момент навала волны под максимальной ординатой волнового давления, тс/м2, определяется по формуле

,
где

- максимальная ордината давления при навале волны на плиту и фронтальном подходе волны к откосу определяется по
табл. 6 в зависимости от высоты волны h, пологости волны

, котангенса угла откоса m и глубины воды у сооружения H;

; h = 3 м; H = 10 м; m = 3;

;

- поправочный коэффициент, учитывающий влияние упругих свойств материала плиты и подстилающего слоя на возникающие от волновой нагрузки давления в грунте, определяемый по графику на
рис. 51 с помощью показателя f, вычисляемого из выражения:

;

;

.

;

;
1,16 < 1,2 x 1,23; 1,16 < 1,46,
т.е. устойчивость подстилающего слоя по условию осадки обеспечивается при размерах плиты 10 x 10 x 0,3 м.
Рис. 51. График показателя f
Расчет устойчивости грунтового основания при z = 0,4 м и

.
Расчет производим аналогично расчету при z = 0,2 м;

;

;

;

;

.

;

;
- устойчивость подстилающего слоя по условию сдвига обеспечивается при размерах плиты 10 x 10 x 0,26 м.

;

.
1,31 < 1,2 x 1,33,
т.е. устойчивость подстилающего слоя по условию осадки обеспечивается при размерах плиты 10 x 10 x 0,26 м.
Выполненные расчеты показали, что условие динамической устойчивости при толщине плит

, рассчитанной согласно "Инструкции по проектированию гидротехнических сооружений, подверженных волновому воздействию", не удовлетворяется. При той же толщине обратного фильтра (z = 0,2 м) береговое укрепление будет динамически устойчивым при толщине плиты

. Если толщину обратного фильтра (щебеночной подготовки) увеличить до 0,4 м, то береговое укрепление плитами толщин

будет находиться в состоянии предельного динамического равновесия.
Таблица 1
Модуль упругости подстилающего слоя
Характеристика основания откосного крепления | Модуль упругости E0, тс/м2 |
Обратный фильтр толщиной 0,2 - 0,4 м по мелкозернистому водонасыщенному песку | 4000 - 6500 |
То же, по среднезернистому песку | 5000 - 7500 |
Пески: | |
пылеватые водонасыщенные | 2300 - 4300 |
мелкозернистые водонасыщенные | 3000 - 6000 |
средней крупности, крупные и гравелистые | 5000 - 7500 |
Таблица 2
Значения ударного импульса
Пологость волны  | Глубина воды у сооружения H, м | Ударный импульс S0, тс, при высоте волны h, м |
1 | 1,5 | 2 | 2,5 | 3 | 3,5 | 4 |
Котангенс угла откоса m = 2,5 |
3 | 5 | 0,0046 | 0,0096 | 0,0171 | 0,0275 | 0,0382 | 0,0523 | 0,0666 |
8 | 0,0046 | 0,0096 | 0,0171 | 0,0275 | 0,0385 | 0,0530 | 0,0674 |
10 | 0,0046 | 0,0096 | 0,0171 | 0,0275 | 0,0387 | 0,0534 | 0,068 |
15 | 0,0046 | 0,0096 | 0,0171 | 0,0275 | 0,0387 | 0,0535 | 0,0683 |
10 | 5 | 0,0048 | 0,0107 | 0,0184 | 0,0283 | 0,0405 | 0,0534 | 0,0684 |
8 | 0,0048 | 0,0107 | 0,0186 | 0,0286 | 0,0407 | 0,0543 | 0,0698 |
10 | 0,0048 | 0,0107 | 0,0186 | 0,0286 | 0,0408 | 0,0547 | 0,0703 |
15 | 0,0048 | 0,0107 | 0,0186 | 0,0286 | 0,0408 | 0,0548 | 0,0706 |
12 | 5 | 0,005 | 0,011 | 0,0188 | 0,0287 | 0,041 | 0,055 | 0,071 |
8 | 0,005 | 0,0111 | 0,0189 | 0,0292 | 0,0414 | 0,0564 | 0,0718 |
10 | 0,005 | 0,0111 | 0,019 | 0,0294 | 0,0416 | 0,0567 | 0,0723 |
15 | 0,005 | 0,0111 | 0,019 | 0,0294 | 0,0416 | 0,0568 | 0,0725 |
15 | 5 | 0,0052 | 0,0112 | 0,019 | 0,0292 | 0,0416 | 0,0567 | 0,073 |
8 | 0,0052 | 0,0114 | 0,0194 | 0,0298 | 0,042 | 0,0572 | 0,0742 |
10 | 0,0052 | 0,0114 | 0,0194 | 0,03 | 0,0422 | 0,0575 | 0,075 |
15 | 0,0052 | 0,0114 | 0,0194 | 0,03 | 0,0422 | 0,0576 | 0,0753 |
20 | 5 | 0,0055 | 0,0121 | 0,0209 | 0,0320 | 0,0448 | 0,061 | 0,0785 |
8 | 0,0055 | 0,0122 | 0,0213 | 0,0328 | 0,0458 | 0,062 | 0,08 |
10 | 0,0055 | 0,0122 | 0,0213 | 0,0329 | 0,0466 | 0,0625 | 0,0807 |
15 | 0,0055 | 0,0122 | 0,0213 | 0,0329 | 0,047 | 0,0628 | 0,081 |
Котангенс угла откоса m = 3 |
8 | 5 | 0,0046 | 0,01 | 0,0176 | 0,0273 | 0,0384 | 0,0509 | 0,0634 |
8 | 0,0046 | 0,01 | 0,0176 | 0,0273 | 0,0387 | 0,0515 | 0,0652 |
10 | 0,0046 | 0,01 | 0,0176 | 0,0273 | 0,0388 | 0,0517 | 0,0659 |
15 | 0,0046 | 0,01 | 0,0176 | 0,0273 | 0,0388 | 0,0518 | 0,0661 |
10 | 5 | 0,0048 | 0,0107 | 0,0185 | 0,0281 | 0,0397 | 0,0529 | 0,067 |
8 | 0,0048 | 0,0107 | 0,0189 | 0,0284 | 0,0403 | 0,0536 | 0,0685 |
10 | 0,0048 | 0,0107 | 0,0189 | 0,0284 | 0,0406 | 0,0543 | 0,0689 |
15 | 0,0048 | 0,0107 | 0,0189 | 0,0284 | 0,0406 | 0,0543 | 0,0692 |
12 | 5 | 0,005 | 0,011 | 0,0188 | 0,0284 | 0,0409 | 0,0547 | 0,0698 |
8 | 0,005 | 0,011 | 0,0189 | 0,0291 | 0,0412 | 0,0558 | 0,0713 |
10 | 0,005 | 0,011 | 0,019 | 0,0292 | 0,0414 | 0,0563 | 0,0717 |
15 | 0,005 | 0,011 | 0,019 | 0,0292 | 0,0414 | 0,0564 | 0,072 |
15 | 5 | 0,0051 | 0,0111 | 0,019 | 0,019 | 0,0415 | 0,0562 | 0,072 |
8 | 0,0052 | 0,0113 | 0,0193 | 0,0297 | 0,0418 | 0,0569 | 0,0738 |
10 | 0,0052 | 0,0114 | 0,0194 | 0,03 | 0,042 | 0,0571 | 0,0745 |
15 | 0,0052 | 0,0114 | 0,0194 | 0,03 | 0,042 | 0,0572 | 0,0747 |
20 | 5 | 0,0055 | 0,012 | 0,0209 | 0,0316 | 0,044 | 0,0605 | 0,078 |
8 | 0,0055 | 0,0121 | 0,0213 | 0,0326 | 0,0456 | 0,0615 | 0,0796 |
10 | 0,0055 | 0,0121 | 0,0213 | 0,0327 | 0,0462 | 0,062 | 0,0802 |
15 | 0,0055 | 0,0121 | 0,0213 | 0,0327 | 0,0465 | 0,0622 | 0,0805 |
Котангенс угла откоса m = 4 |
8 | 5 | 0,0044 | 0,0092 | 0,0167 | 0,0242 | 0,0337 | 0,0437 | 0,055 |
8 | 0,0044 | 0,0092 | 0,0167 | 0,0242 | 0,0340 | 0,0445 | 0,0563 |
10 | 0,0044 | 0,0092 | 0,0167 | 0,0242 | 0,034 | 0,045 | 0,0566 |
15 | 0,0044 | 0,0092 | 0,0167 | 0,0242 | 0,034 | 0,045 | 0,0568 |
10 | 5 | 0,0046 | 0,0102 | 0,0173 | 0,0253 | 0,0348 | 0,046 | 0,057 |
8 | 0,0046 | 0,0102 | 0,0175 | 0,0263 | 0,0355 | 0,0469 | 0,058 |
10 | 0,0046 | 0,0102 | 0,0175 | 0,0266 | 0,0357 | 0,0473 | 0,0587 |
15 | 0,0046 | 0,0102 | 0,0175 | 0,0266 | 0,0358 | 0,0475 | 0,059 |
12 | 5 | 0,0048 | 0,0102 | 0,0176 | 0,0272 | 0,0361 | 0,0469 | 0,0589 |
8 | 0,0048 | 0,0106 | 0,0179 | 0,0276 | 0,0366 | 0,0477 | 0,0598 |
10 | 0,0048 | 0,0106 | 0,0179 | 0,0278 | 0,0368 | 0,0482 | 0,0603 |
15 | 0,0048 | 0,0106 | 0,0179 | 0,0278 | 0,037 | 0,0485 | 0,0605 |
15 | 5 | 0,005 | 0,0109 | 0,0184 | 0,028 | 0,0368 | 0,0486 | 0,0605 |
8 | 0,005 | 0,011 | 0,0186 | 0,0289 | 0,0379 | 0,0493 | 0,0615 |
10 | 0,005 | 0,011 | 0,0187 | 0,0291 | 0,0385 | 0,0498 | 0,0618 |
15 | 0,005 | 0,011 | 0,0187 | 0,0292 | 0,0386 | 0,05 | 0,062 |
20 | 5 | 0,0052 | 0,0116 | 0,0202 | 0,0301 | 0,04 | 0,052 | 0,069 |
8 | 0,0052 | 0,0116 | 0,0206 | 0,0311 | 0,0411 | 0,0535 | 0,0705 |
10 | 0,0052 | 0,0116 | 0,0208 | 0,0315 | 0,042 | 0,0542 | 0,0714 |
15 | 0,0052 | 0,0116 | 0,0208 | 0,0316 | 0,0423 | 0,0544 | 0,072 |
Таблица 3
Значения коэффициента

Сторона плиты B2, м | r1 |
1 - 5 | 1 |
6 | 0,99 |
8 | 0,98 |
10 | 0,97 |
12 | 0,94 |
14 | 0,91 |
16 | 0,88 |
18 | 0,84 |
20 | 0,80 |
22 | 0,77 |
24 | 0,74 |
26 | 0,71 |
28 | 0,68 |
30 | 0,66 |
32 | 0,64 |
Таблица 4
Значения коэффициента

Высота волны h, м | Коэффициент r2 при угле подхода волны  , град |
55 | 60 | 65 | 70 | 75 | 80 | 85 | 90 |
1 | 0,72 | 0,76 | 0,8 | 0,84 | 0,88 | 0,92 | 0,96 | 1 |
2 | 0,6 | 0,66 | 0,72 | 0,77 | 0,83 | 0,89 | 0,94 | 1 |
3 | 0,54 | 0,6 | 0,67 | 0,74 | 0,8 | 0,87 | 0,93 | 1 |
4 | 0,5 | 0,56 | 0,64 | 0,71 | 0,78 | 0,85 | 0,93 | 1 |
Таблица 5
Значения поправочного коэффициента

Крутизна откоса 1:m | 1:2 | 1:2,5 | 1:3 | 1:4 | 1:5 |
C1 | 0,77 | 0,8 | 0,83 | 0,85 | 0,87 |
Таблица 6
Давление навала волны

, тс/м
2
Пологость волны  | Глубина волны у сооружения H, м | Высота волны h, м |
1 | 1,5 | 2 | 2,5 | 3 | 3,5 | 4 |
Котангенс угла откоса m = 2,5 |
8 | 5 | 1,71 | 2,56 | 3,32 | 4,09 | 4,83 | 5,38 | 6,07 |
8 | 1,71 | 2,56 | 3,38 | 4,17 | 4,91 | 5,6 | 6,27 |
10 | 1,71 | 2,56 | 3,38 | 4,17 | 4,91 | 5,68 | 6,35 |
15 | 1,71 | 2,56 | 3,38 | 4,17 | 4,91 | 5,71 | 6,42 |
10 | 5 | 1,71 | 2,56 | 3,35 | 4,09 | 4,83 | 5,46 | 6,11 |
8 | 1,72 | 2,57 | 3,39 | 4,18 | 4,92 | 5,62 | 6,29 |
10 | 1,72 | 2,57 | 3,39 | 4,18 | 4,92 | 5,69 | 6,36 |
15 | 1,72 | 2,57 | 3,39 | 4,18 | 4,92 | 5,71 | 6,42 |
12 | 5 | 1,72 | 2,58 | 3,36 | 4,1 | 4,84 | 5,48 | 6,16 |
8 | 1,73 | 2,59 | 3,39 | 4,19 | 4,93 | 5,63 | 6,35 |
10 | 1,73 | 2,59 | 3,39 | 4,19 | 4,93 | 5,72 | 6,43 |
15 | 1,73 | 2,59 | 3,39 | 4,19 | 4,93 | 5,75 | 6,48 |
15 | 5 | 1,76 | 2,62 | 3,38 | 4,13 | 4,86 | 5,58 | 6,26 |
8 | 1,77 | 2,64 | 3,45 | 4,24 | 4,99 | 5,71 | 6,38 |
10 | 1,77 | 2,65 | 3,46 | 4,25 | 5,06 | 5,79 | 6,5 |
15 | 1,77 | 2,65 | 3,46 | 4,28 | 5,08 | 5,84 | 6,57 |
20 | 5 | 1,86 | 2,73 | 3,54 | 4,28 | 5,09 | 5,76 | 6,48 |
8 | 1,87 | 2,74 | 3,56 | 4,35 | 5,16 | 5,88 | 6,57 |
10 | 1,87 | 2,74 | 3,59 | 4,38 | 5,19 | 5,99 | 6,66 |
15 | 1,87 | 2,74 | 3,62 | 4,4 | 5,22 | 6,07 | 6,76 |
Котангенс угла откоса m = 3 |
8 | 5 | 1,81 | 2,58 | 3,37 | 4,2 | 4,79 | 5,53 | 6,1 |
8 | 1,81 | 2,7 | 3,54 | 4,32 | 5,09 | 5,78 | 6,32 |
10 | 1,81 | 2,7 | 3,54 | 4,35 | 5,11 | 5,81 | 6,45 |
15 | 1,81 | 2,7 | 3,54 | 4,35 | 5,13 | 5,83 | 6,48 |
10 | 5 | 1,82 | 2,67 | 3,48 | 4,23 | 4,93 | 5,56 | 6,15 |
8 | 1,82 | 2,71 | 3,55 | 4,33 | 5,11 | 5,81 | 6,42 |
10 | 1,82 | 2,71 | 3,55 | 4,36 | 5,13 | 5,85 | 6,55 |
15 | 1,82 | 2,71 | 3,55 | 4,36 | 5,15 | 5,86 | 6,58 |
12 | 5 | 1,82 | 2,67 | 3,48 | 4,23 | 4,98 | 5,56 | 6,2 |
8 | 1,83 | 2,72 | 3,56 | 4,33 | 5,11 | 5,84 | 6,43 |
10 | 1,83 | 2,72 | 3,56 | 4,37 | 5,12 | 5,88 | 6,55 |
15 | 1,83 | 2,72 | 3,56 | 4,37 | 5,15 | 5,92 | 6,58 |
15 | 5 | 1,87 | 2,76 | 3,52 | 4,28 | 4,93 | 5,69 | 6,3 |
8 | 1,88 | 2,78 | 3,62 | 4,42 | 5,12 | 5,85 | 6,5 |
10 | 1,88 | 2,79 | 3,63 | 4,46 | 5,21 | 5,9 | 6,62 |
15 | 1,88 | 2,79 | 3,64 | 4,48 | 5,26 | 5,94 | 6,74 |
20 | 5 | 1,97 | 2,88 | 3,7 | 4,5 | 5,23 | 5,94 | 6,51 |
8 | 1,98 | 2,9 | 3,74 | 4,55 | 5,3 | 6,08 | 6,68 |
10 | 1,99 | 2,9 | 3,81 | 4,59 | 5,37 | 6,21 | 6,82 |
15 | 1,99 | 2,9 | 3,84 | 4,64 | 5,5 | 6,26 | 6,96 |
Котангенс откоса m = 4 |
8 | 5 | 1,91 | 2,76 | 3,59 | 4,32 | 4,9 | 5,53 | 6,1 |
8 | 1,91 | 2,77 | 3,6 | 4,38 | 5,06 | 5,7 | 6,3 |
10 | 1,91 | 2,77 | 3,6 | 4,38 | 5,08 | 5,76 | 6,37 |
15 | 1,91 | 2,77 | 3,6 | 4,38 | 5,11 | 5,79 | 6,43 |
10 | 5 | 1,92 | 2,8 | 3,62 | 4,32 | 4,95 | 5,53 | 6,12 |
8 | 1,92 | 2,82 | 3,63 | 4,42 | 5,15 | 5,73 | 6,32 |
10 | 1,92 | 2,82 | 3,64 | 4,43 | 5,16 | 5,8 | 6,4 |
15 | 1,92 | 2,82 | 3,64 | 4,44 | 5,17 | 5,9 | 6,5 |
12 | 5 | 1,95 | 2,82 | 3,63 | 4,32 | 4,97 | 5,55 | 6,14 |
8 | 1,95 | 2,85 | 3,7 | 4,43 | 5,15 | 5,75 | 6,35 |
10 | 1,95 | 2,86 | 3,7 | 4,44 | 5,2 | 5,86 | 6,46 |
15 | 1,95 | 2,86 | 3,7 | 4,45 | 5,23 | 5,97 | 6,58 |
15 | 5 | 2 | 2,89 | 3,65 | 4,33 | 5,01 | 5,6 | 6,18 |
8 | 2,02 | 2,92 | 3,76 | 4,53 | 5,2 | 5,84 | 6,43 |
10 | 2,02 | 2,96 | 3,82 | 4,6 | 5,33 | 5,93 | 6,63 |
15 | 2,02 | 2,96 | 3,82 | 4,63 | 5,39 | 6,09 | 6,71 |
20 | 5 | 2,12 | 3,05 | 3,8 | 4,55 | 5,17 | 5,8 | 6,42 |
8 | 2,13 | 3,08 | 3,92 | 4,66 | 5,29 | 5,99 | 6,62 |
10 | 2,13 | 3,11 | 3,98 | 4,77 | 5,38 | 6,13 | 6,8 |
15 | 2,13 | 3,13 | 4,04 | 4,78 | 5,46 | 6,22 | 6,9 |
Пример расчета устойчивости грунтового основания.
Исходные данные. Расчетная высота волны h = 2 м; расчетная длина волны

; песок мелкозернистый; крутизна откоса, задаваемая котангенсом угла откоса к горизонту m = 3; плиты из монолитного бетона, размером 10 x 10 м на щебеночной подготовке

.
Определение толщины плиты. Минимальная допустимая толщина плиты

, см, из условия устойчивости грунта основания определяется в зависимости:

,
где h - высота волны, h = 2 м;

- длина волны,

;
a и b - коэффициенты, определяемые по зависимостям:

;

(где

- коэффициенты, определяемые по
табл. 1 
,

,

;

;

);

; a = 12,53 - 19,06 x 0,53 = 2,43;

- коэффициент, учитывающий толщину щебеночной подготовки,

- определяется из условий:
а) при отсутствии подготовки

;

, где h, м;
б) при

и 0,2 м,

,

(где h, м,

- коэффициенты, определяемые по
табл. 2,

).
Если

, определяемый по формуле из условия б, получился более 1, то в расчет следует брать

при

:

;

.
Плановый размер плиты удовлетворяет расчетной схеме.
Таблица 1
Значение коэффициентов

Пылеватые пески |
m | c1 | c2 | c3 | c4 | c5 |
2 | 0,62 | 0,39 | 0,06 | 10,82 | 9,01 |
2,5 | 0,42 | 0,2 | 0,03 | 11,24 | 12,87 |
3 | 0,37 | 0,12 | 0,02 | 11,65 | 16,84 |
3,5 | 0,37 | 0,11 | 0,02 | 12,04 | 20,04 |
4 | 0,37 | 0,08 | 0,01 | 12,8 | 23,74 |
Мелкозернистые пески |
m | c1 | c2 | c3 | c4 | c5 |
2 | 0,51 | 0,31 | 0,05 | 11,53 | 10,09 |
2,5 | 0,36 | 0,17 | 0,02 | 11,58 | 14,24 |
3 | 0,37 | 0,11 | 0,015 | 12,53 | 19,06 |
3,5 | 0,36 | 0,09 | 0,01 | 11,15 | 18,42 |
4 | 0,37 | 0,08 | 0,01 | 13,5 | 25,38 |
Среднезернистые пески |
m | c1 | c2 | c3 | c4 | c5 |
2 | 0,39 | 0,22 | 0,03 | 10,75 | 11,19 |
2,5 | 0,37 | 0,13 | 0,02 | 11,48 | 16,12 |
3 | 0,34 | 0,12 | 0,02 | 11,53 | 18,95 |
3,5 | 0,35 | 0,09 | 0,01 | 11,87 | 21,69 |
4 | 0,36 | 0,08 | 0,01 | 12,59 | 25,16 |
Таблица 2
Значение коэффициента

m | 2 | 2,5 | 3 | 3,5 | 4 |
c6 | 0,845 | 0,88 | 0,91 | 0,94 | 0,95 |
Границы использования метода расчета.
1. Формулы по определению толщины плит пригодны для расчета железобетонных или бетонных плит, размеры которых в направлении, перпендикулярном урезу воды

, не менее 12-кратной толщины плиты.
2. Вводимые в формулу параметры волны должны быть в следующих границах: высота волн h = 0,5 - 4 м; пологость волн

7 - 18 м.
Для крутых откосов m <= 2,5, сложенных пылеватыми песками, высота волны ограничена 3,5 м.
3. Расчету подлежит защита откосов, сложенных песчаным грунтом, а именно пылеватыми, мелкозернистыми и среднезернистыми песками по градации
СНиП II-15-74, крутизна откоса m должна находиться в пределах от m = 2 до m = 4. Толщина слоя щебеночной подготовки не должна быть более 20 см.