Главная // Актуальные документы // Рекомендация / РекомендацииСПРАВКА
Источник публикации
М.: Стройиздат, 1982
Примечание к документу
Название документа
"Рекомендации по расчетным характеристикам древесных плит"
"Рекомендации по расчетным характеристикам древесных плит"
ПО РАСЧЕТНЫМ ХАРАКТЕРИСТИКАМ ДРЕВЕСНЫХ ПЛИТ
Рекомендовано к изданию решением отделения деревянных конструкций НТС ЦНИИСК им. В.А. Кучеренко Госстроя СССР.
Содержит основные характеристики твердых древесноволокнистых плит сухого способа производства, древесностружечных плит на карбамидном и фенольном связующих и на каустическом магнезите, цементно-стружечных плит на портландцементе, необходимые при расчете и конструировании ограждающих конструкций с применением указанных материалов.
Для работников проектно-конструкторских организаций, научно-исследовательских организаций, а также для работников лесной и деревообрабатывающей промышленности.
Табл. 6, ил. 4.
В соответствии с
постановлением ЦК КПСС и Совета Министров СССР "О дальнейшем развитии заводского производства деревянных панельных домов и комплектов деревянных деталей для домов из местных материалов для сельского жилищного строительства" предусмотрено широкое использование эффективных материалов на основе древесины.
Изготовление домов из крупногабаритных конструкций с применением большеформатных древесных плит (древесноволокнистых, древесностружечных и цементно-стружечных) в качестве основного конструкционного материала позволяет сократить расход высокосортной древесины, повысить сборность домов на строительных площадках и добиться их наилучших теплофизических свойств.
Для использования древесных плит в качестве конструкционного материала в строительстве необходимы комплексные сведения об их прочностных и деформативных характеристиках при основных видах напряженного состояния.
ЦНИИСК совместно с ВНИИДрев проведены экспериментальные исследования прочности и деформаций древесных плит - твердых древесноволокнистых сухого способа производства, древесностружечных на карбамидном и фенольном связующих и на каустическом магнезите, цементно-стружечных, на портландцементе, проведена статистическая обработка результатов испытаний и установлены расчетные сопротивления и модули упругости рассматриваемых материалов.
При разработке настоящих Рекомендаций использованы исследования древесных плит ЛИСИ (канд. техн. наук и.о. проф. Е.И. Светозарова, канд. техн. наук В.Я. Терентьев), Воронежского ИСИ (д-р техн. наук проф. А.М. Иванов), ЦНИИСК (кандидаты техн. наук К.В. Панферов, О.Б. Тюзнева), ВНИИДрев (инж. Б.Е. Кондратенко).
Настоящие Рекомендации разработаны лабораторией ограждающих конструкций ЦНИИСК (канд. техн. наук И.М. Линьков - ответственный исполнитель, канд. техн. наук И.Н. Бойтемирова, инж. А.С. Семина) совместно с лабораторией прочностных и теплофизических исследований ВНИИДрев (канд. техн. наук В.М. Воеводин, инж. Б.Е. Кондратенко).
Замечания и предложения по Рекомендациям просьба направлять по адресу: 109389, Москва, 2-я Институтская, 6, ЦНИИСК им. Кучеренко, лаборатория ограждающих конструкций.
Дирекция ЦНИИСК им. Кучеренко
| | ИС МЕГАНОРМ: примечание. Взамен ГОСТ 10632-77 Постановлением Госстандарта СССР от 02.02.1989 N 13 с 1 января 1990 года введен в действие ГОСТ 10632-89. | |
1.1. Настоящие Рекомендации распространяются на твердые древесноволокнистые плиты сухого способа производства ДВСс марки Тс-400 (ТУ 13-4444-79), древесностружечные плиты на карбамидном ДСПк и фенольном ДСПф связующих марок П-1 и П-2 (ГОСТ 10632-77), древесностружечные плиты на каустическом магнезите МДП (ТУ 13-519-80), цементно-стружечные плиты на портландцементе ЦСП.
1.2. В Рекомендации включены расчетные
R, нормативные
Rн и временные
Rвр сопротивления древесных плит при растяжении, сжатии, изгибе, скалывании и срезе, модули упругости
E, сдвига
G и коэффициенты поперечной деформации

. Расчетные сопротивления и модули упругости и сдвига определены с учетом коэффициентов изменчивости
Cv, длительной прочности

и деформации

и

.
1.3. Настоящие Рекомендации могут быть использованы при проектировании ограждающих конструкций для жилых, общественных и производственных зданий.
1.4. Древесные плиты рекомендуется применять для обшивок в конструкциях панелей стен и перегородок, плит покрытий и перекрытий при положительном заключении о допустимых нормах выделения токсичных веществ в помещениях, в том числе:
твердые древесноволокнистые сухого способа производства и древесностружечные на карбамидном связующем - в качестве внутренних обшивок конструкций;
древесностружечные на фенольном связующем - в качестве внутренних обшивок в условиях повышенной влажности внутреннего воздуха помещений, а также наружных обшивок стеновых панелей при наличии противодождевого экрана;
древесностружечные на каустическом магнезите и цементно-стружечные на портландцементе - в качестве внутренних обшивок в условиях повышенной влажности внутреннего воздуха помещений, наружных обшивок, противодождевых экранов.
1.5. Древесные плиты рекомендуется применять в ограждающих конструкциях зданий с относительной влажностью воздуха внутри помещений не более 75% при условии их надежной защиты от атмосферных осадков, бытовой и производственной влаги.
1.6. При применении в ограждающих конструкциях твердых древесноволокнистых плит и древесностружечных плит на карбамидном и фенольном связующих необходимо предусматривать:
защиту несущих элементов конструкций из плит от непосредственного попадания капельной влаги;
вентиляцию внутренних полостей конструкций для обеспечения их быстрого высыхания и предотвращения скопления диффузионной влаги на поверхности плит внутри конструкций;
специальные виды отделки плит в помещениях с повышенной бытовой влагой;
участки кондиционирования плит при изготовлении конструкций для доведения их влажности до средних эксплуатационных значений 8 - 10%;
защиту плит от увлажнения при транспортировании, хранении и монтаже конструкций;
надежное крепление плит по контуру для предотвращения их коробления.
1.7. Конструктивные схемы зданий с несущими элементами из древесных плит должны, по возможности, предусматривать большую часть несущих стен внутренними для обеспечения благоприятных условий работы конструкций.
2. РАСЧЕТНЫЕ СОПРОТИВЛЕНИЯ
2.1. Расчетные сопротивления древесных плит для элементов конструкций, находящихся в условиях эксплуатации А1 и Б1, должны приниматься по табл. 1.
Таблица 1
Вид плит | Расчетное сопротивление, МПа |
расчетное Rр | сжатию Rс | изгибу Rи | срезу Rср | скалыванию Rск |
Твердые древесноволокнистые сухого способа производства | 5,0 | 4,0 | 10,0 | 5,0 | 0,4 |
Древесностружечные: | | | | | |
на карбамидном и фенольном связующих | 2,0 | 3,0 | 4,0 | 1,5 | 0,5 |
на каустическом магнезите | 1,0 | 1,5 | 1,5 | 1,3 | 0,6 |
Цементно-стружечные на портландцементе | 1,0 | 5,0 | 5,0 | 1,7 | 0,7 |
Характеристика условий эксплуатации конструкций приведена в
прил. 1.
Для других условий эксплуатации конструкций, приведенных в
прил. 1, расчетные сопротивления древесных плит рекомендуется умножать на коэффициенты условий работы материалов
mв, приведенные в табл. 2.
Температурно-влажностные условия эксплуатации конструкций | Коэффициенты условий работы материалов для плит |
ДВПс | ДСПк | ДСПф | МДП | ЦСП |
А1, Б1 | 1 | 1 | 1 | 1 | 1 |
А2, Б2 | 0,7 | 0,6 | 0,8 | 0,9 | 0,9 |
А3, Б3 | 0,6 | Не допускаются | 0,4 | 0,6 | 0,7 |
В1, В2, В3 | 0,4 | 0,2 | 0,5 | 0,6 |
2.2. Расчетные сопротивления древесных плит для конструкций, рассчитываемых с учетом воздействия кратковременных нагрузок, умножаются на коэффициент 1,2 для ветровой и монтажной нагрузок и 1,4 - для сейсмической нагрузки.
2.3. Временные и нормативные сопротивления древесных плит, а также соответствующие им коэффициенты изменчивости приведены в табл. 3.
Таблица 3
Вид плит | Временные Rвр и нормативные Rн сопротивления, МПа, и коэффициенты изменчивости Cv |
растяжение | сжатие | изгиб |
Rвр, Мпа | Rн, Мпа | Cv | Rвр, Мпа | Rн, Мпа | Cv | Rвр, Мпа | Rн, Мпа |
Твердые древесноволокнистые сухого способа производства | 24,5 | 13,0 | 0,21 | 21,7 | 13,5 | 0,17 | 48,2 | 34,0 |
Древесностружечные: | | | | | | | | |
на карбамидном и фенольном связующих | 7,9 | 6,0 | 0,16 | 13,1 | 9,0 | 0,14 | 18,1 | 10,5 |
на каустическом магнезите | 4,1 | 2,5 | 0,18 | 6,5 | 4,4 | 0,14 | 6,8 | 4,4 |
Цементно-стружечные на портландцементе | 4,2 | 2,5 | 0,16 | 16,4 | 11,5 | 0,13 | 16,3 | 12,0 |
Продолжение табл. 3
Вид плит | Временные Rвр и нормативные Rн сопротивления, МПа, и коэффициенты изменчивости |
изгиб | срез | скалывание |
Cv | МПа | Rн, МПа | Cv | Rвр, МПа | Rн, МПа | Cv |
Твердые древесноволокнистые сухого способа производства | 0,13 | 16,8 | 13,0 | 0,09 | 1,8 | 0,7 | 0,27 |
Древесностружечные: | | | | | | | |
на карбамидном и фенольном связующих | 0,19 | 6,0 | 3,6 | 0,18 | 2,0 | 1,3 | 0,16 |
на каустическом магнезите | 0,16 | 6,1 | 3,4 | 0,2 | 2,6 | 1,5 | 0,18 |
Цементно-стружечные на портландцементе | 0,11 | 8,8 | 4,0 | 0,23 | 3,3 | 2,0 | 0,2 |
3.1. Величины модулей упругости, сдвига и коэффициенты поперечной деформации древесных плит для элементов конструкций, находящихся в условиях эксплуатации А1, Б1, рекомендуется принимать по табл. 4.
Таблица 4
Вид плит | Модули упругости E, МПа | Модуль сдвига G, МПа | Коэффициент поперечной деформации  |
при растяжении | при сжатии | при изгибе |
Твердые древесноволокнистые сухого способа производства | 2000 | 1000 | 1300 | 700 | 0,21 |
Древесностружечные: | | | | | |
на карбамидном и фенольном связующих | 1400 | 850 | 1100 | 500 | 0,21 |
на каустическом магнезите | 1500 | 1000 | 800 | - | - |
Цементно-стружечные на портландцементе | 3000 | 2500 | 2700 | 1200 | 0,21 |
Для других условий эксплуатации, приведенных в
прил. 1, модули упругости древесных плит рекомендуется умножать на коэффициенты условий работы материалов
mв, приведенные в
табл. 2.
ХАРАКТЕРИСТИКА УСЛОВИЙ ЭКСПЛУАТАЦИИ КОНСТРУКЦИЙ
Температурно-влажностные условия эксплуатации конструкций | Характеристика условий эксплуатации конструкций |
| Внутри отапливаемых помещений при температуре до 35 °C и относительной влажности воздуха, %: |
А1 | до 60 |
А2 | 61 - 75 |
А3 | 76 - 95 |
| Внутри неотапливаемых помещений в зоне: |
Б1 | сухой |
Б2 | нормальной |
Б3 | сухой и нормальной с постоянной влажностью в помещении более 75% и во влажной |
| На открытом воздухе в зоне: |
В1 | сухой |
В2 | нормальной |
В3 | влажной |
ОБОСНОВАНИЕ К НАЗНАЧЕНИЮ РАСЧЕТНЫХ СОПРОТИВЛЕНИЙ, МОДУЛЕЙ
УПРУГОСТИ И СДВИГА, КОЭФФИЦИЕНТОВ ПОПЕРЕЧНОЙ ДЕФОРМАЦИИ
Пределы прочности древесных плит определяли для всех основных видов напряженного состояния - растяжения, сжатия, изгиба, скалывания и среза. Деформативные характеристики устанавливали по результатам испытаний на сжатие, растяжение (модули упругости, коэффициенты поперечной деформации) и изгиб (модули упругости). Модули сдвига G вычисляли по формуле

.
| | ИС МЕГАНОРМ: примечание. Взамен ГОСТ 19592-74 Постановлением Госстроя СССР от 14.07.1980 N 107 с 1 января 1981 года введен в действие ГОСТ 19592-80. | |
| | ИС МЕГАНОРМ: примечание. Взамен ГОСТ 9622-72 Постановлением Госстандарта СССР от 30.03.1987 N 1087 с 1 января 1988 года введен в действие ГОСТ 9622-87. | |
| | ИС МЕГАНОРМ: примечание. Взамен ГОСТ 9623-72 Постановлением Госстандарта СССР от 30.03.1987 N 1087 с 1 июля 1988 года введен в действие ГОСТ 9623-87. | |
В связи с отсутствием стандартных методов испытаний древесных плит, испытания проводили применительно к стандартам на методы испытаний древесины (
ГОСТ 16483.10-73*,
16483.23-73,
16483.26-73, 19592-74) и древесины слоистой клееной (ГОСТ 9622-72*, 9623-72*, 9625-72*).
Таблица 1
для проведения испытаний древесных плит
Вид плит | Вид испытания | Растяжение | Сжатие |
размеры образцов, мм | число образцов, шт. | размеры образцов, мм | число образцов, шт. |
Твердые древесноволокнистые сухого способа производства | На прочность | 300 x 30 x 6 | 215 | 11,5 x 12 x 20 | 238 |
На деформативность | 300 x 30 x 6 | 24 | 11 x 20 x 60 | 12 |
Древесностружечные: | На прочность | 300 x 30 x 16 | 127 | 16 x 16 x 25 | 239 |
на карбамидном и фенольном связующих | На деформативность | 300 x 30 x 16 | 10 | 16 x 16 x 50 | 3 |
на каустическом магнезите | На прочность | 300 x 30 x 13 | 20 | 13 x 13 x 25 | 40 |
На деформативность | 300 x 30 x 13 | 14 | 13 x 13 x 50 | 13 |
Цементно-стружечные на портландцементе | На прочность | 300 x 30 x 12 | 166 | 12 x 12 x 20 | 233 |
На деформативность | 300 x 30 x 12 | 22 | 11 x 20 x 60 | 12 |
Продолжение табл. 1
Вид плит | Вид испытания | Изгиб | Скалывание | Срез |
размеры образцов, мм | число образцов, шт. | размеры образцов, мм | число образцов, шт. | размеры образцов, мм | число образцов, шт. |
Твердые древесноволокнистые сухого способа производства | На прочность | 75 x 200 x 6 | 234 | 10 x 30 x 12 | 223 | 18 x 12 x 50 | 229 |
На деформативность | 75 x 200 x 6 | 23 | - | - | - | - |
Древесностружечные | На прочность | 50 x 250 x 16 | 99 | 15 x 40 x 16 | 170 | 19 x 12 x 50 | 113 |
на карбамидном и фенольном связующих | На деформативность | 50 x 180 x 16 | 20 | - | - | - | - |
на каустическом магнезите | На прочность | 50 x 250 x 13 | 14 | 13 x 10 x 30 | 234 | 13 x 20 x 50 | 40 |
На деформативность | 50 x 250 x 13 | 14 | - | - | - | - |
Цементно-стружечные на портландцементе | На прочность | 50 x 250 x 12 | 186 | 10 x 30 x 12 | 226 | 17 x 12 x 50 | 226 |
На деформативность | 50 x 250 x 12 | 22 | - | - | - | - |
В соответствии с программой исследования образцы из древесных плит были изготовлены во ВНИИдрев. Раскрой образцов производился по длине и ширине листа. Размеры образцов для кратковременных испытаний и их число приведены в
табл. 1 и на рис. 1 настоящего приложения.
Рис. 1. Типоразмеры образцов,
принятых при испытании древесных плит
а, б - на сжатие; в - на расстояние;
г - на изгиб; д - на срез; е - на скалывание
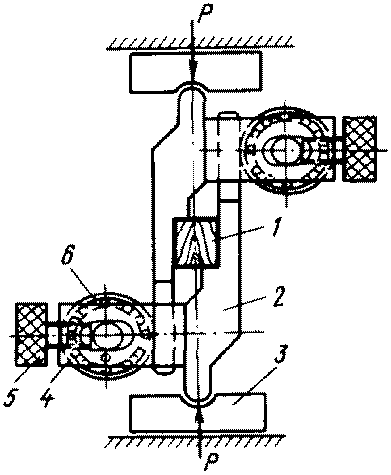
Испытания по определению прочностных и деформативных характеристик материалов при кратковременном действии нагрузки были проведены на машинах системы "Амслер" и "Шоппер" со скоростью нагружения в соответствии с требованиями указанных ГОСТов. Центрирование образцов при действии растягивающей нагрузки обеспечивалось конструкцией захватов разрывной машины, при действии сжимающей - приспособлением с шаровой опорой. Испытания на изгиб при определении предела прочности осуществляли нагружением в середине пролета, а при определении модуля упругости - в третях пролета. Испытания по определению предела прочности на скалывание проводили с использованием приспособления по а. с. N 42 1912 (рис. 2 настоящего приложения). При испытаниях на срез было использовано приспособление, разработанное в лаборатории ограждающих конструкций ЦНИИСК, состоящее из двух подвижных скоб (
рис. 3 настоящего приложения).
Рис. 2. Приспособление для испытания на скалывание
1 - испытуемый образец; 2 - стенки; 3 - сферические
подпятники; 4 - кронштейн; 5 - винт; 6 - ролик
Рис. 3. Приспособление для испытания на срез
1 - образец; 2 - нижняя скоба; 3 - верхняя скоба
Влияние длительного действия нагрузки на пределы прочности и модули упругости исследуемых материалов изучали при двух видах напряженного состояния: растяжении и изгибе. Испытания проводили на рычажных установках, обеспечивающих семикратное увеличение прикладываемого усилия.
За пределы прочности, кратковременные модули упругости и сдвига, коэффициенты поперечной деформации для каждой группы образцов принимали среднее арифметическое результатов испытаний независимо от направления раскроя образцов, если достоверность разницы между направлением раскроя вдоль и поперек листа не установлена. В противном случае за пределы прочности, кратковременные модули упругости и сдвига принимали минимальные значения из двух направлений.
Результаты кратковременных испытаний обрабатывали методами математической статистики на ЭВМ "М-220". Разработанная для этой цели программа (рис. 4 настоящего Приложения) включала получение основных статистических показателей: среднего арифметического
M, среднего квадратического отклонения от среднего арифметического

, вариационного коэффициента
V, средней ошибки среднего арифметического
m, показателя точности
P.
Рис. 4. Программа статистической обработки на ЭВМ "М-220"
Результаты статистической обработки пределов прочности древесных плит приведены в табл. 2 настоящего приложения.
Таблица 2
Статистическая обработка результатов испытаний
по определению пределов прочности древесных плит
Вид плит | Направление усилия (относительно листа) | Влажность W, % | Статистические величины | Достоверность разницы  |
n, шт. | M, МПа |  , МПа | V, % | m, МПа | P, % |
Растяжение |
Твердые древесноволокнистые сухого способа производства | По длине | 8 | 108 | 25,41 | 7,43 | 29,80 | 0,71 | 2,80 | 0,48 < 3 |
По ширине | 8 | 107 | 25,76 | 1,88 | 7,30 | 0,18 | 0,70 | |
Древесностружечные | | | | | | | | | |
на карбамидном и фенольном связующих | По длине | 8 | 67 | 9,55 | 1,59 | 16,60 | 0,19 | 2,03 | 5 > 3 |
По ширине | 8 | 60 | 8,22 | 1,31 | 15,99 | 0,17 | 2,06 |
на каустическом магнезите | По длине | 5 | 20 | 4,74 | 0,84 | 17,66 | 0,19 | 3,95 | 2,32 < 3 |
По ширине | 5 | 19 | 4,17 | 0,71 | 17,11 | 0,16 | 3,92 |
Цементно-стружечные на портландцементе | По длине | 5 - 7 | 80 | 5,23 | 0,60 | 11,43 | 0,07 | 1,28 | 11 > 3 |
По ширине | 5 - 7 | 86 | 4,17 | 0,66 | 15,77 | 0,07 | 1,70 |
Сжатие |
Твердые древесноволокнистые сухого способа производства | По длине | 8 | 119 | 26,07 | 4,39 | 16,80 | 0,40 | 1,50 | 0,92 < 3 |
По ширине | 8 | 119 | 25,56 | 4,22 | 16,50 | 0,38 | 1,50 |
Древесностружечные: | | | | | | | | | |
на карбамидном и фенольном связующих | По длине | 8 | 120 | 16,11 | 2,37 | 14,69 | 0,22 | 1,34 | 3,58 > 3 |
По ширине | 8 | 119 | 15,10 | 2,00 | 13,23 | 0,18 | 1,21 |
на каустическом магнезите | По длине | 5 | 20 | 9,22 | 1,60 | 17,36 | 0,36 | 3,88 | 0,81 < 3 |
По ширине | 5 | 20 | 8,86 | 0,89 | 10,07 | 0,20 | 2,25 |
Цементно-стружечные на портландцементе | По длине | 5 - 7 | 118 | 16,23 | 2,18 | 13,45 | 0,20 | 1,23 | 0,45 < 3 |
По ширине | 5 - 7 | 115 | 16,37 | 2,67 | 16,32 | 0,25 | 1,52 |
Изгиб |
Твердые древесноволокнистые сухого способа производства | По длине | 8 | 129 | 57,08 | 6,77 | 11,90 | 0,02 | 1,10 | 0,57 < 3 |
По ширине | 8 | 117 | 57,61 | 7,59 | 13,20 | 0,70 | 1,20 |
Древесностружечные: | | | | | | | | | |
на карбамидном и фенольном связующих | По длине | 8 | 49 | 22,32 | 4,37 | 19,58 | 0,62 | 2,80 | 2 < 3 |
По ширине | 8 | 50 | 20,89 | 3,82 | 18,27 | 0,54 | 2,58 |
на каустическом магнезите | По длине | 5 | 20 | 13,27 | 0,97 | 7,34 | 0,22 | 1,64 | 9,68 > 3 |
По ширине | 5 | 20 | 9,44 | 1,48 | 15,64 | 0,33 | 3,50 |
Цементно-стружечные на портландцементе | По длине | 5 - 7 | 93 | 16,50 | 1,97 | 11,97 | 0,21 | 1,25 | 1,6 < 3 |
По ширине | 5 - 7 | 93 | 16,10 | 1,40 | 8,72 | 0,15 | 0,90 |
Скалывание |
Твердые древесноволокнистые сухого способа производства | По длине | 8 | 104 | 2,23 | 0,66 | 28,80 | 0,06 | 2,80 | 4,7 > 3 |
По ширине | 8 | 119 | 1,95 | 0,40 | 20,60 | 0,04 | 1,90 |
Древесностружечные: | | | | | | | | | |
на карбамидном и фенольном связующих | По длине | 8 | 111 | 2,76 | 0,53 | 19,09 | 0,05 | 1,81 | 6 > 3 |
По ширине | 8 | 59 | 2,33 | 0,37 | 16,00 | 0,05 | 2,08 |
на каустическом магнезите | По длине | 5 | 111 | 3,18 | 0,60 | 19,00 | 0,06 | 1,80 | 2,78 < 3 |
По ширине | 5 | 124 | 3,38 | 0,49 | 14,50 | 0,04 | 1,30 |
Цементно-стружечные на портландцементе | По длине | 5 - 7 | 116 | 3,01 | 0,64 | 21,34 | 0,06 | 1,98 | 6,9 > 3 |
По ширине | 5 - 7 | 110 | 3,54 | 0,52 | 14,59 | 0,05 | 1,39 |
Срез |
Твердые древесноволокнистые сухого способа производства | По длине | 8 | 110 | 13,66 | 1,54 | 8,90 | 0,15 | 0,80 | 3,4 > 3 |
По ширине | 8 | 119 | 19,41 | 1,79 | 9,20 | 0,18 | 0,80 |
Древесностружечные: | | | | | | | | | |
на карбамидном и фенольном связующих | По длине | 8 | 57 | 9,09 | 1,65 | 18,15 | 0,22 | 2,40 | 8 > 3 |
По ширине | 8 | 56 | 6,86 | 1,22 | 17,77 | 0,16 | 2,37 |
на каустическом магнезите | По длине | 5 | 123 | 7,76 | 1,55 | 20,00 | 0,14 | 1,80 | 2,04 < 3 |
По ширине | 5 | 48 | 16,97 | 2,98 | 17,70 | 0,43 | 2,50 |
Цементно-стружечные на портландцементе | По длине | 5 - 7 | 116 | 7,95 | 2,12 | 26,65 | 0,20 | 2,47 | 6,2 > 3 |
По ширине | 5 - 7 | 110 | 9,55 | 1,77 | 18,52 | 0,17 | 1,77 |
Деформативные характеристики исследуемых материалов приведены в табл. 3 настоящего приложения.
Таблица 3
Результаты испытаний по определению модулей упругости,
сдвига и коэффициентов поперечной деформации древесных плит
Вид плит | Направление усилия (относительно листа) | Влажность W, % | Сжатие | Растяжение | Изгиб |
число образцов n, шт. | E, МПа | G, МПа | | число образцов n, шт. | E, МПа | G, МПа | число  | число образцов n, шт. | E, МПа |
Твердые древесноволокнистые сухого способа производства | По длине | 8 | 12 | 5122 | 2062 | 0,240 | 12 | 5227 | 2097 | 0,22 | 12 | 7259 |
По ширине | 8 | - | - | - | - | 12 | 5082 | 2053 | 0,24 | 11 | 6807 |
Древесностружечные: | По длине | 5 | 5 | 2963 | 1204 | 0,230 | 14 | 3690 | - | - | 10 | 4544 |
на карбамидном и фенольном связующих | По ширине | 5 | - | - | - | - | - | - | - | - | 10 | 3639 |
на каустическом магнезите | По длине | 5 | 13 | 4327 | - | - | 14 | 4405 | - | - | 14 | 3838 |
По ширине | 5 | 13 | 3595 | - | - | 14 | 4196 | - | - | 14 | 2834 |
Цементно-стружечные на портландцементе | По длине | 5 - 7 | 12 | 8320 | 3512 | 0,184 | 11 | 7527 | 3036 | 0,24 | 6 | 9023 |
По ширине | 5 - 7 | - | - | - | - | 11 | 7275 | 2924 | 0,24 | 10 | 8839 |
Пределы прочности, модули упругости и сдвига, коэффициенты поперечной деформации древесноволокнистых и древесностружечных плит, испытанных при 8%-ной влажности были приведены к 12%-ной. Пределы прочности пересчитывали по формуле

,
где

- коэффициент, равный 0,04 при сжатии и изгибе, 0,01 - при растяжении; 0,03 - при срезе и скалывании.
Модули упругости древесноволокнистых и древесностружечных плит пересчитывали по формуле

,
где

- коэффициент, равный 0,12 при сжатии и растяжении; 0,01 - при изгибе. Аналогично последней формуле пересчитывали модули сдвига и коэффициенты поперечной деформации, при этом коэффициент

принимали равным 0,03 для модуля сдвига и 0,02 - для коэффициента поперечной деформации.
Сводные результаты кратковременных испытаний древесных плит приведены в табл. 4 и
5 настоящего приложения.
Таблица 4
Пределы прочности древесных плит (сводная таблица)
Вид напряженного состояния | ДВПс | ДСПк и ДСПф |
M, МПа |  , МПа | V, % | m, МПа | P, % | M, МПа |  , МПа | V, % | m, МПа | P, % |
Растяжение | 24,56 | 5,42 | 21,20 | 0,37 | 1,40 | 7,89 | 1,31 | 16,00 | 0,17 | 2,10 |
Сжатие | 21,68 | 4,31 | 16,70 | 0,28 | 1,10 | 13,11 | 2,24 | 14,40 | 0,14 | 0,90 |
Изгиб | 48,17 | 7,18 | 12,50 | 0,47 | 0,80 | 18,14 | 4,14 | 19,20 | 0,42 | 1,90 |
Скалывание | 1,85 | 0,56 | 26,60 | 0,04 | 1,80 | 2,05 | 0,37 | 16,00 | 0,05 | 2,10 |
Срез | 16,76 | 1,71 | 9,00 | 0,11 | 0,60 | 6,04 | 1,22 | 17,80 | 0,17 | 2,40 |
Продолжение табл. 4
Вид напряженного состояния | МДП | ЦСП |
M, МПа |  , МПа | V, % | m, МПа | P, % | M, МПа |  , МПа | V, % | m, МПа | P, % |
Растяжение | 4,15 | 0,82 | 18,40 | 0,13 | 2,90 | 4,17 | 0,66 | 15,80 | 0,07 | 1,70 |
Сжатие | 6,50 | 1,29 | 14,30 | 0,20 | 2,30 | 16,37 | 2,19 | 13,40 | 0,14 | 0,90 |
Изгиб | 6,80 | 1,47 | 15,60 | 0,33 | 3,50 | 16,30 | 1,72 | 10,60 | 0,13 | 0,80 |
Скалывание | 2,58 | 0,59 | 18,20 | 0,04 | 1,20 | 3,27 | 0,64 | 19,60 | 0,04 | 1,30 |
Срез | 6,13 | 1,55 | 20,00 | 0,14 | 1,80 | 8,77 | 2,03 | 23,10 | 0,13 | 1,50 |
Примечание. Средние значения пределов прочности для ДВПс, ДСПк, ДСПф и МДП приведены к 12%-ной влажности.
Таблица 5
Модули упругости, сдвига и коэффициенты поперечной
деформации древесных плит (сводная таблица)
Вид напряженного состояния | ДВПс | ДСПк и ДСПф | МДП | ЦСП |
E, МПа | G, МПа | | E, МПа | G, МПа | | E, МПа | G, МПа | | E, МПа | G, МПа | |
Растяжение | 4918 | 1852 | 0,20 | 3367 | - | - | 3871 | - | - | 7401 | 2977 | 0,24 |
Сжатие | 4887 | 1841 | 0,22 | 2827 | 1075 | 0,21 | 3316 | - | - | 8320 | 3512 | 0,18 |
Изгиб | 6666 | - | - | 3861 | - | - | 2649 | - | - | 8900 | - | - |
Примечание. Деформативные характеристики для ДВПс, ДСПк, ДСПф и МДП приведены к 12%-ной влажности.
Нормативные сопротивления исследуемых материалов Rн определяли по величинам временных сопротивлений Rвр из выражения
Rн = Rвр(1 - 2,25Cv),
где
Cv - коэффициент изменчивости, принятый по результатам испытаний (
табл. 4 настоящего приложения).
Расчетные сопротивления R исследуемых материалов определены по величине нормативного сопротивления Rн, умноженного на коэффициент длительной прочности K:
R = RнK.
Коэффициент длительной прочности материалов определен по результатам изучения длительного действия нагрузки при двух видах напряженного состояния: растяжении и изгибе, исходя из срока службы деревянных конструкций для промышленных и общественных зданий

. При исследовании была использована экстраполяционная прямая, предложенная д-ром техн. наук проф. Ю.М. Ивановым, построенная в полулогарифмической системе координат.
При определении расчетных модулей упругости и сдвига кратковременные модули умножали на коэффициент влияния длительного действия нагрузки. Указанный коэффициент был получен как отношение начальной величины относительных деформаций при растяжении и начальных прогибов при изгибе к соответствующим конечным их величинам при напряжениях, близких к пределу длительного сопротивления. Коэффициенты длительной прочности и коэффициенты длительной деформации, определяемые по указанной методике, могли бы составить 0,48, однако с учетом имеющихся данных в ранее выполненных работах ЦНИИСК, ВНИИДрев, ЛИСИ и Воронежского ИСИ коэффициенты приняты дифференцированно для каждого вида плит и в зависимости от вида напряженного состояния (табл. 6 настоящего приложения).
Таблица 6
Коэффициенты длительной прочности

и деформативности

и

Вид плит | | | |
растяжение, срез, скалывание | сжатие, изгиб | растяжение | сжатие, изгиб | растяжение, сжатие |
Твердые древесноволокнистые сухого способа производства | 0,4 | 0,3 | 0,4 | 0,2 | 0,4 |
Древесностружечные: | | | | | |
на карбамидном и фенольном связующих | 0,4 | 0,35 | 0,4 | 0,3 | 0,4 |
на каустическом магнезите | 0,4 | 0,35 | 0,4 | 0,3 | - |
Цементно-стружечные на портландцементе | 0,4 | 0,4 | 0,4 | 0,3 | 0,4 |
Для определения коэффициентов условий работы древесных плит в конструкциях, предназначенных для эксплуатации в атмосферных условиях, проводили циклические испытания материалов, имитирующие действие атмосферных факторов. Каждый цикл термовлагообработки включал вымачивание образцов в воде при температуре 20 +/- 2 °C в течение 1 ч, замораживание при температуре минус 30 °C в течение 2 ч, оттаивание при температуре 20 +/- 2 °C в течение 21 ч. После 4 ч, 10, 15, 40 циклов из каждой партии отбирали по 10 шт. образцов, которые кондиционировали до равновесной влажности помещения лаборатории и испытывали на изгиб. Размеры образцов принимали согласно действующим ГОСТам.
Кроме того, древесностружечные плиты на карбамидных и фенольных связующих помещали в стенды на крышу четырехэтажного здания на срок наблюдений 3 года и в ограждающие конструкции малоэтажных домов на 5 - 7 лет. В течение всего периода периодически отбирали пробы для определения прочностных характеристик.
По результатам циклических и натурных испытаний, а также с использованием литературных данных (работы докторов техн. наук Ю.М. Иванова, В.М. Хрулева, А.С. Фрейдина, кандидатов техн. наук А.П. Берсенева, К.Я. Мартынова, О.Ю. Тюзневой и др.) были подобраны экспоненциальные функции падения прочности плит от длительности атмосферных воздействий. По полученным функциям найдены коэффициенты условий работы плит.
При использовании древесных плит в качестве обшивок панелей внутри помещений их увлажнение происходит, главным образом, поглощением влаги воздуха. Известно, что прочностные свойства плит при относительной влажности воздуха до 65 - 70% незначительно меняют свои показатели, а при влажности воздуха свыше 80% показатели плит уменьшаются, что необходимо учитывать при расчете конструкций.
Экспериментально получены коэффициенты линейного удлинения древесных плит на 1% влажности материала: 0,00027 - для ДВПс, 0,00047 - для ДСПк, 0,00036 - для ДСПф. Таким образом при увлажнении плит до 10% абсолютное удлинение на 1 м длины составит: 2,7 мм - для ДВПс, 4,7 мм - для ДСПк, 3,6 мм - для ДСПф.
1. Иванов Ю.М. Рекомендации по испытанию деревянных конструкций, ЦНИИСК, М., Стройиздат, 1976.
2. Хрулев В.М., Мартынов К.Я. Долговечность древесностружечных плит, М., Лесная промышленность, 1977.
3. Воеводин В.М., Кондратенко Б.Е., Кузинец Б.З. Исследование напряженно-деформативного состояния древесных плит, предназначенных для малоэтажного деревянного домостроения, долговременными нагрузками. - В кн.: Совершенствование производства малоэтажных стандартных деревянных домов и столярно-строительных изделий. ВНИИДрев, Балабаново, 1979.
4. Линьков И.М., Бойтемирова И.Н., Семина А.С. (ЦНИИСК им. Кучеренко), Воеводин В.М., Кондратенко Б.Е. (ВНИИДрев). Исследование прочности древесных плит. В кн.: "Эффективное использование древесины и древесных материалов в современном строительстве". Тезисы докладов Всесоюзного совещания (г. Архангельск, 18 - 20 июня 1980 г.), М., 1980.
5. Склизков Н.И., Наназашвили И.Х., Сироткина Р.Б. Использование древесноцементной плиты "Дурипанель" в строительстве. Экспресс-информация ЦНИИЭПсельстроя, N 36 (172), 1977.
6. А.с. 421912 (СССР). Устройство для испытаний на сдвиг образцов фанеры Линьков И.М. Б.И., 1974, N 12.