Главная // Актуальные документы // ПриказСПРАВКА
Источник публикации
ИУС "Национальные стандарты", N 3, 2020
Примечание к документу
Документ
введен в действие на территории Российской Федерации с 01.03.2020 (
Приказ Росстандарта от 25.12.2019 N 1466-ст).
Название документа
"Изменение N 1 ГОСТ 33320-2015 "Шпалы железобетонные для железных дорог. Общие технические условия"
(принято Протоколом Межгосударственного совета по стандартизации, метрологии и сертификации от 28.11.2019 N 124-П)
"Изменение N 1 ГОСТ 33320-2015 "Шпалы железобетонные для железных дорог. Общие технические условия"
(принято Протоколом Межгосударственного совета по стандартизации, метрологии и сертификации от 28.11.2019 N 124-П)
Принято
Протоколом Межгосударственного
совета по стандартизации,
метрологии и сертификации
от 28 ноября 2019 г. N 124-П
ИЗМЕНЕНИЕ N 1 ГОСТ 33320-2015
"ШПАЛЫ ЖЕЛЕЗОБЕТОННЫЕ ДЛЯ ЖЕЛЕЗНЫХ ДОРОГ.
ОБЩИЕ ТЕХНИЧЕСКИЕ УСЛОВИЯ"
Принято Межгосударственным советом по стандартизации, метрологии и сертификации (протокол N 124-П от 28.11.2019)
Зарегистрировано Бюро по стандартам МГС N 14988
За принятие изменения проголосовали национальные органы по стандартизации следующих государств: AM, BY, KG, KZ, RU, TJ, UZ [коды альфа-2 по МК (ИСО 3166) 004]
Дату введения в действие настоящего изменения устанавливают указанные национальные органы по стандартизации <*>
--------------------------------
<*> Дата введения в действие на территории Российской Федерации - 2020-03-01.
| | ИС МЕГАНОРМ: примечание. При публикации в издании М.: Стандартинформ, 2016 данное изменение было учтено. | |
сноску <1> - исключить;
"
ГОСТ 6727 Проволока из низкоуглеродистой стали холоднотянутая для армирования железобетонных конструкций. Технические условия
ГОСТ 12730.5 Бетоны. Методы определения водонепроницаемости".
"3.9а наклонная плоскость: Поперечная плоскость, формирующая углубление подрельсовой площади".
"Шпалы всех типов изготавливают в двух исполнениях:
- исполнение 1;
- исполнение 2".
"4.6.1 Для шпал типа I (см. рисунок 1) основным параметром A является расстояние между упорными плоскостями углублений противоположных концов шпалы, которое измеряют на уровне кромок углублений".
"4.6.3 Для шпал типа III (см. рисунок 3) основным параметром A является расстояние между упорными плоскостями углублений противоположных концов шпалы, которое измеряют на уровне подрельсовых площадок".
"1) a1 - расстояние между кромками углубления одной подрельсовой площадки;
2) a2 - расстояние между центрами отверстий, измеряемое на уровне подрельсовой площадки;
3) a3 - расстояние от упорной кромки углубления до центра ближайшего отверстия, измеряемое на уровне кромки углубления";
"Рисунок 6а - Подрельсовая часть шпал типа III для болтового скрепления
Рисунок 6б - Подрельсовая часть шпал типа III для шурупно-дюбельного скрепления";
"3) a3 - расстояние от упорной плоскости углубления до центра ближайшего отверстия, измеряемое на уровне подрельсовой площадки".
"Таблица 3
Контрольные нагрузки при испытаниях шпал на трещиностойкость
Осевая нагрузка, кН (тс) | Испытуемое сечение | Направление изгиба | Контрольная нагрузка для шпал, кН (тс) |
первого сорта | второго сорта |
Не более 245 (25) | Подрельсовое | Вниз | 123 (12,5) | 98 (10,0) |
Среднее | Вверх | 98 (10,0) | 88 (9,0) |
Вниз | 44 (4,5) | 34 (3,5) |
Не более 265 (27) | Подрельсовое | Вниз | 142 (14,5) | 123 (12,5) |
Среднее | Вверх | 123 (12,5) | 98 (10,0) |
Вниз | 64 (6,5) | 44 (4,5) |
".
Пункт 5.1.11. Таблица 4. Графа "Вид поверхности шпалы".
Первую строку изложить в новой редакции:
"Наклонные плоскости и выкружки подрельсовых площадок".
Раздел 5 дополнить пунктами - 5.1.18, 5.1.19:
"5.1.18 Диаметр и класс прочности арматуры, число и расположение арматурных элементов, отклонения от номинального числа арматурных элементов и значение начального натяжения всей арматуры должны быть указаны в технической документации на шпалы.
По согласованию с заказчиком и разработчиком конструкции шпал допускается применять другие виды арматуры.
5.1.19 По согласованию с заказчиком допускается дополнительное армирование подрельсовой площадки в зоне закладных элементов для шпал типа III исполнения 2.
Допускается дополнительное армирование торцов шпал.
Для дополнительного армирования следует применять проволоку по
ГОСТ 6727. По согласованию с заказчиком и разработчиком конструкции шпал допускается применять другие виды арматуры".
"5.2.1.1 Шпалы всех типов следует изготавливать из тяжелого бетона по
ГОСТ 26633 или национальным стандартам и нормативным документам, действующим на территории государства, принявшего стандарт. Материалы, применяемые для изготовления бетонной смеси, должны соответствовать настоящему стандарту,
ГОСТ 26633, а также национальным стандартам и нормативным документам, действующим на территории государства, принявшего стандарт и иметь документ, подтверждающий качество.
Шпалы всех типов изготавливают из бетона класса прочности на сжатие не ниже:
- B40 - для шпал исполнения 1;
- B50 - для шпал исполнения 2.
5.2.1.2 Марка бетона по морозостойкости согласно строительным нормам и правилам, действующим на территории государства, принявшего стандарт <1>, должна быть для всех типов шпал не ниже:
- F1200 - для шпал исполнения 1;
- F1300 - для шпал исполнения 2.
--------------------------------
<1> В Российской Федерации действует
СП 63.13330.2018 "СНиП 52-01-2003 Бетонные и железобетонные конструкции. Основные положения".
5.2.1.3 Передаточную прочность бетона, определяемую по
ГОСТ 18105 или ТНПА страны-изготовителя, устанавливают для каждого типа шпал технической документацией в зависимости от принятой конструкции шпалы и типа арматуры. Передаточная прочность бетона должна быть не менее:
- 34,2 МПа (349 кгс/см2) - для шпал исполнения 1;
- 49,5 МПа (505 кгс/см2) - для шпал исполнения 2.
Отпускная прочность бетона должна быть для всех типов шпал не менее:
- передаточной прочности - для шпал исполнения 1;
- 57,6 МПа (587,5 кгс/см2) - для шпал исполнения 2".
"5.2.1.8 Марка бетона по водонепроницаемости для всех типов шпал исполнения 2 должна быть не менее W12 по
ГОСТ 12730.5".
"Допускается использование воды питьевой, соответствующей требованиям строительных норм и правил, действующим на территории государства, принявшего стандарт <1>, без дополнительных анализов";
"--------------------------------
<1> В Российской Федерации действует
ГОСТ Р 51232-98 "Вода питьевая. Общие требования к организации и методам контроля качества".
"
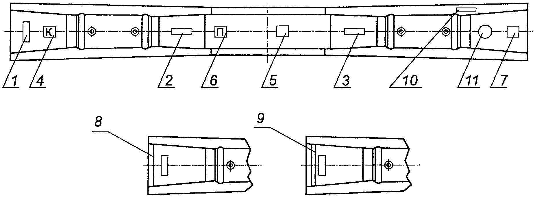
Штампование: 1 - тип шпалы; 2 - товарный знак
предприятия-изготовителя; 3 - год изготовления;
4 - обозначение кривой; 5 - знак обращения на рынке;
6 - обозначение шпал исполнения 2.
Маркировка краской: 7 - штамп ОТК и номер партии;
8 - обозначение шпалы второго сорта; 9 - обозначение
некондиционной шпалы; 10 - вариант комплектации
шпал скреплениями; 11 - маркировка
номера партии шпал исполнения 2
Рисунок 8 - Схема маркировки шпал".
"5.3.7 На верхней поверхности в средней части шпалы штампованием в бетоне наносят на 100% шпал:
- единый знак обращения продукции на рынке;
- букву "П" для всех типов шпал исполнения 2.
Допускается единый знак обращения продукции на рынке и букву "П" наносить несмываемой краской".
"В концевой части шпал исполнения 2 на верхней поверхности не менее чем у 80% шпал наносят номер партии способом, обеспечивающим идентификацию в течение всего срока службы шпал. Номер партии наносят шрифтом высотой не менее 10 мм.
Допускаются дополнительные способы маркировки, обеспечивающие идентификацию шпалы в течение всего срока службы шпал".
"Таблица 6
Показатели шпал, определяемые
при приемо-сдаточных и периодических испытаниях
Наименование показателя | Вид испытаний | Номер структурного элемента | Объем выборки из партии (числа образцов) |
приемо-сдаточные | периодические | технических требований | методов испытаний | шт. | % |
Прочность бетона шпал на сжатие | + | - | 5.2.1.3 | 7.1 | 3 | - |
Морозостойкость бетона шпал | - | + | 5.2.1.2 | 7.2 | 18 | - |
Водонепроницаемость бетона шпал | - | + | 5.2.1.8 | 7.23 | 6 | - |
Отклонение от прямолинейности подрельсовых площадок | - | + | 5.1.7 | 7.8 | <2> | - |
Трещиностойкость шпал | + | - | 5.1.9 | 7.14 | 3/6 <1> | - |
Положение дюбелей и закладных шайб в шпалах | - | + | 5.1.3; 5.1.4; 5.1.15 | 7.9; 7.18 | <2> | - |
Состояние каналов для болтов и шурупов | + | - | 5.1.13 | 7.19; 7.20 | - | 100 |
Электрическое сопротивление шпал | + | - | 5.1.14 | 7.16 | 3/6 <1> | - |
Основные геометрические параметры шпал: A, a1, a2, a3, c, Hр, Hс | - | + | 5.1.3; 5.1.4 | 7.4 - 7.6; 7.11 | <2> | - |
Подуклонка и пропеллерность шпал | - | + | 5.1.5; 5.1.6 | 7.13 | <2> | - |
Угол наклона упорных плоскостей углубления в подрельсовых площадках  | - | + | 5.1.4; 5.1.8 | 7.7 | <2> | - |
Угол наклона оси дюбеля  | - | + | 5.1.3; 5.1.4 | 7.10 | <2> | - |
Положение анкеров hг | - | + | 5.1.3; 5.1.4 | 7.12 | <2> | - |
Толщина защитного слоя бетона | - | + | 5.1.10 | 7.15 | <2> | - |
Качество бетонных поверхностей | + | - | 5.1.11 | 7.17 | - | 100 |
Маркировка | + | - | 5.3 | 7.21 | - | 100 |
<1> В числе образцов 3/6 числитель означает объем выборки при первом испытании, а знаменатель - при повторном. |
".
"6.2.7 Приемку шпал исполнения 2 на водонепроницаемость проводят по
ГОСТ 12730.5 на основании результатов периодических испытаний 6 бетонных образцов не реже 1 раза в 6 месяцев или при изменении состава бетонной смеси".
"Таблица 7
Показатели шпал, определяемые при испытаниях
для обязательного подтверждения соответствия
Наименование показателя | Номер структурного элемента | Объем выборки из партии, шт. |
технических требований | методов испытаний |
Передаточная прочность бетона шпал на сжатие | 5.2.1.3 | 7.1 | 3 |
Морозостойкость бетона шпал <2> | 5.2.1.2 | 7.2 | 18 |
Отклонение от прямолинейности подрельсовых площадок | 5.1.7 | 7.8 | <1> |
Трещиностойкость шпал | 5.1.9 | 7.14 | 3 |
Электрическое сопротивление шпал | 5.1.14 | 7.16 | 3 |
Основные геометрические параметры шпал: A, a1, a2, a3, c, Hр, Hс | 5.1.3; 5.1.4 | 7.4 - 7.6; 7.11 | <1> |
Подуклонка и пропеллерность шпал | 5.1.5; 5.1.6 | 7.13 | <1> |
Угол наклона оси дюбеля  | 5.1.3; 5.1.4 | 7.10 | <1> |
Положение анкеров hг | 5.1.3; 5.1.4 | 7.12 | <1> |
Толщина защитного слоя бетона | 5.1.10 | 7.15 | <1> |
Качество бетонных поверхностей | 5.1.11 | 7.17 | <1> |
Маркировка | 5.3 | 7.21 | <1> |
<2> Заявитель представляет документы по результатам испытаний, проведенных аккредитованными испытательными центрами (лабораториями) по ГОСТ 10060 с подтверждением метрологического обеспечения испытаний. |
".
"7.1 Прочность бетона на сжатие определяют по ГОСТ 10180-2012
(подраздел 7.2) на серии образцов, изготовленных из смеси рабочего состава.
7.2 Морозостойкость бетона следует определять по
ГОСТ 10060 первым базовым, вторым и третьим ускоренными методами. Допускается применение других методов определения марок по морозостойкости при условии обязательного определения коэффициента перехода в соответствии с ГОСТ 10060-2012
(приложение Б)".
"7.4.1 В шпалах типа I губки штангенциркуля должны касаться в точках упорных кромок углублений в соответствии с рисунком 9 а)";
"а) на уровне кромок упорных плоскостей углублений в подрельсовых площадках в шпалах типа I".
"7.5.1 При измерении расстояния a1 на шпалах типа I губки штангенциркуля должны касаться шпалы в точках обеих кромок углубления в соответствии с рисунком 10 а)";
"а) измеряемое на уровне кромок в шпалах типа I";
"б) на уровне подрельсовой площадки в шпалах типа III";
"Рисунок 10 - Схема измерения расстояния a1 по оси шпалы между наклонными плоскостями углубления подрельсовой площадки одного конца шпалы".
"7.5.2 При измерении расстояния a1 в шпалах типа III губки штангенциркуля должны касаться шпалы в точках линии пересечения наклонных плоскостей углубления с плоскостью подрельсовой площадки в соответствии с рисунком 10 б)".
"x - расстояние от упорной плоскости углубления в площадке до ближайшего отверстия".
рисунок 12. Подпись на выносной линии изложить в новой редакции: "Подрельсовая площадка шпал типа III".
"Рисунок 13 - Схема контроля угла

наклона упорной плоскости углубления к плоскости подрельсовой площадки";
второй абзац. Заменить слова: "упорной плоскости" на "упорной плоскости углубления".
"Рисунок 16 - Схема контроля высоты головки анкера".
Пункт 7.14.2. Заменить слова: "трещины на изгиб вниз" на "трещины на изгиб вверх".
"Рисунок 23 - Схема шаблона для контроля прямолинейности внутреннего канала в дюбеле".
"7.23 Марку бетона по водонепроницаемости определяют по
ГОСТ 12730.5".
"8.5 Шпалы разных типов, подтипов и исполнений, а также первого и второго сортов транспортируют и складируют отдельно".
"Гарантийный срок эксплуатации железобетонных шпал в железнодорожном пути при условии выполнения установленных правил транспортирования, выгрузки, хранения, сборки, укладки, периодичности ремонтов и эксплуатации верхнего строения пути составляет:
- для шпал исполнения 1 - пять лет со дня укладки их в железнодорожный путь или 300 млн т брутто пропущенного тоннажа;
- для шпал исполнения 2 - десять лет со дня укладки их в железнодорожный путь или 700 млн т брутто пропущенного тоннажа".
"10 Назначенный ресурс
10.1 Назначенный ресурс железобетонных шпал в железнодорожном пути составляет 1500 млн т брутто пропущенного тоннажа или назначенный срок службы 50 лет при обеспечении установленных правил транспортирования, выгрузки, хранения, сборки, укладки, эксплуатации верхнего строения пути, периодичности и качества ремонтов.
10.2 Назначенный ресурс снижается в зависимости от параметров, приведенных в таблице 8.
Таблица 8
Снижение назначенного ресурса
Параметр, влияющий на снижение назначенного ресурса | Величина снижения назначенного ресурса |
млн т брутто | срок (лет) |
Перевальные участки и участки рекуперативного торможения | Уклон от 12 до  | 75 | 2,5 |
Уклон более  | 150 | 5 |
Участки с кривыми радиусом 350 м и менее (интенсивная работа дюбеля при многократной смене рельса) | 300 | 10 |
Температурные амплитуды эксплуатации более 110 °C | 150 | 5 |
Суммарное уменьшение нормативных сроков при совпадении указанных факторов в таблице не должно превышать 25% от назначенного ресурса".