Главная // Актуальные документы // ПНСТ (Предварительный национальный стандарт)СПРАВКА
Источник публикации
М.: Стандартинформ, 2017
Примечание к документу
Документ утратил силу с 01.07.2021 в связи с истечением срока действия, установленного
Приказом Росстандарта от 31.10.2017 N 40-пнст.
Документ
введен в действие с 01.07.2018 на период по 01.07.2021 (
Приказ Росстандарта от 31.10.2017 N 40-пнст).
Название документа
"ПНСТ 239-2017. Предварительный национальный стандарт Российской Федерации. Техника авиационная. Системы гидравлические. Угольники 90° с фланцем равнопроходные и переходные для соединений трубопроводов по внутреннему конусу 24°"
(утв. и введен в действие Приказом Росстандарта от 31.10.2017 N 40-пнст)
"ПНСТ 239-2017. Предварительный национальный стандарт Российской Федерации. Техника авиационная. Системы гидравлические. Угольники 90° с фланцем равнопроходные и переходные для соединений трубопроводов по внутреннему конусу 24°"
(утв. и введен в действие Приказом Росстандарта от 31.10.2017 N 40-пнст)
Утвержден и введен в действие
агентства по техническому
регулированию и метрологии
от 31 октября 2017 г. N 40-пнст
ПРЕДВАРИТЕЛЬНЫЙ НАЦИОНАЛЬНЫЙ СТАНДАРТ РОССИЙСКОЙ ФЕДЕРАЦИИ
ТЕХНИКА АВИАЦИОННАЯ
СИСТЕМЫ ГИДРАВЛИЧЕСКИЕ.
УГОЛЬНИКИ 90° С ФЛАНЦЕМ РАВНОПРОХОДНЫЕ И ПЕРЕХОДНЫЕ
ДЛЯ СОЕДИНЕНИЙ ТРУБОПРОВОДОВ ПО ВНУТРЕННЕМУ КОНУСУ 24°
Aviation equipment. Hydraulic systems.
Union and reducing elbows 90° with flange
for tube connections on internal cone 24°
(SAE AS6048:2012, NEQ)
ПНСТ 239-2017
Срок действия
с 1 июля 2018 года
до 1 июля 2021 года
1 РАЗРАБОТАН Федеральным государственным унитарным предприятием "Всероссийский научно-исследовательский институт стандартизации и сертификации в машиностроении" (ВНИИНМАШ)
2 ВНЕСЕН Техническим комитетом по стандартизации ТК 323 "Авиационная техника"
3 УТВЕРЖДЕН и ВВЕДЕН В ДЕЙСТВИЕ
Приказом Федерального агентства по техническому регулированию и метрологии от 31 октября 2017 г. N 40-пнст
4 Настоящий стандарт разработан с учетом основных нормативных положений международного документа SAE AS6048:2012 "Фитинги, угольники 90°, равнопроходные и переходные, не требующие развальцовки, повышенной точности" (SAE AS6048:2012 "Fitting, Elbow, 90, Standard and Reducer, Bulkhead, Flareless, Precision Type", NEQ)
Правила применения настоящего стандарта и проведения его мониторинга установлены в ГОСТ Р 1.16-2011 (разделы 5 и 6).
Федеральное агентство по техническому регулированию и метрологии собирает сведения о практическом применении настоящего стандарта. Данные сведения, а также замечания и предложения по содержанию стандарта можно направить не позднее чем за 4 мес до истечения срока его действия разработчику настоящего стандарта по адресу: 123007, Москва, ул. Шеногина, 4, и/или в Федеральное агентство по техническому регулированию и метрологии по адресу: 109074, Москва, Китайгородский проезд, д. 7, стр. 1.
В случае отмены настоящего стандарта соответствующая информация будет опубликована в ежемесячном информационном указателе "Национальные стандарты" и также будет размещена на официальном сайте Федерального агентства по техническому регулированию и метрологии в сети Интернет (www.gost.ru)
В целях развития промышленного производства и увеличения доли участия на международном рынке российской авиационной техники гражданского назначения важным условием является обеспечение соответствия создаваемой продукции наилучшим принятым на международном уровне требованиям и нормам.
Настоящий стандарт разработан с учетом основных нормативных положений SAE AS6048:2012. SAE AS6048 наряду с другими стандартами Международного сообщества автомобильных инженеров (Society of Automotive Engineers, SAE International), устанавливающих требования к конструкции и размерам соединительных деталей трубопроводов гидравлических систем, применяемых в аэрокосмической отрасли, имеет положительный опыт успешного применения в международной практике авиастроения.
В целях приведения в соответствие с требованиями основополагающих стандартов национальной системы стандартизации Российской Федерации и российского законодательства текст настоящего стандарта по сравнению с исходным текстом SAE AS6048 имеет технические отклонения и различия по форме представления, в том числе изменено графическое представление конструкции детали, значения величин выражены в единицах СИ (кроме случаев, установленных
Постановлением Правительства Российской Федерации от 31 октября 2009 г. N 879 "Об утверждении Положения о единицах величин, допускаемых к применению в Российской Федерации"), приведены установленные в Российской Федерации технические условия, требования к маркировке, термообработке, покрытию деталей.
Учитывая объем изменений по сравнению с исходным текстом SAE AS6048, настоящий стандарт разработан в целях предварительной апробации установленных в нем требований, накопления дополнительной информации об объекте стандартизации посредством производства и проведения необходимых испытаний данного объекта.
Настоящий стандарт устанавливает требования к конструкции и размерам равнопроходных и переходных угольников 90° с фланцем с дюймовой резьбой для соединений трубопроводов по внутреннему конусу 24°.
В настоящем стандарте использована нормативная ссылка на следующий стандарт:
ГОСТ 13977 Соединения трубопроводов по наружному конусу. Технические условия
Примечание - При пользовании настоящим стандартом целесообразно проверить действие ссылочных стандартов в информационной системе общего пользования - на официальном сайте Федерального агентства по техническому регулированию и метрологии в сети Интернет или по ежегодному информационному указателю "Национальные стандарты", который опубликован по состоянию на 1 января текущего года, и по выпускам ежемесячного информационного указателя "Национальные стандарты" за текущий год. Если заменен ссылочный стандарт, на который дана недатированная ссылка, то рекомендуется использовать действующую версию этого стандарта с учетом всех внесенных в данную версию изменений. Если заменен ссылочный стандарт, на который дана датированная ссылка, то рекомендуется использовать версию этого стандарта с указанным выше годом утверждения (принятия). Если после утверждения настоящего стандарта в ссылочный стандарт, на который дана датированная ссылка, внесено изменение, затрагивающее положение, на которое дана ссылка, то это положение рекомендуется применять без учета данного изменения. Если ссылочный стандарт отменен без замены, то положение, в котором дана ссылка на него, рекомендуется применять в части, не затрагивающей эту ссылку.
В настоящем стандарте применены следующие термины с соответствующими определениями:
3.1 соединительная деталь трубопровода: Элемент трубопровода, предназначенный для изменения направления его оси, ответвления от него, изменения его диаметра и др.
3.2 угольник: Соединительная деталь трубопровода.
3.3 базовый размер детали: Размер детали, определяемый по размеру наибольшего наконечника данной детали.
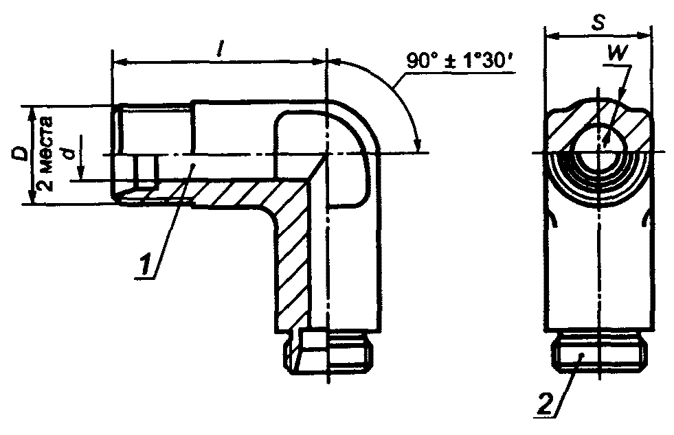
4.1 Конструкция и размеры угольников должны соответствовать указанным на
рисунке 1 и в
таблицах 1 -
3.
1, 2 - наконечник
Рисунок 1 - Переходный угольник 90°
Таблица 1
Размеры и масса равнопроходных и переходных угольников
Базовый размер детали (по размеру наибольшего наконечника) | Размер между площадками под ключ S, мм | Толщина стенки детали W, мм | Масса 100 шт., кг |
от | до | Алюминиевый сплав | Сталь | Титановый сплав |
02 | 7,5 | 8 | 0,090 | 0,4763 | 1,3608 | 0,752963 |
03 | 9,1 | 9,6 | 0,100 | 0,7348 | 2,1092 | 1,165732 |
04 | 10,7 | 11,2 | 0,110 | 0,9843 | 2,8304 | 1,560358 |
05 | 12,3 | 12,7 | 0,120 | 1,3381 | 3,8419 | 2,118276 |
06 | 13,9 | 14,3 | 0,120 | 1,7146 | 4,944 | 2,717018 |
08 | 18,7 | 19,1 | 0,150 | 3,5516 | 10,206 | 5,625 |
10 | 21,8 | 22,3 | 0,170 | 4,3500 | 12,474 | 6,895 |
12 | 26,6 | 27 | 0,185 | 8,119 | 23,315 | 12,837 |
14 | 29,8 | 30,2 | 0,200 | 10,297 | 29,574 | 16,284 |
16 | 32,8 | 33,4 | 0,205 | 12,519 | 35,87916 | 19,777 |
20 | 40,8 | 41,4 | 0,240 | 21,137 | 60,78138 | 33,520 |
24 | 47,1 | 47,7 | 0,250 | 26,989 | 77,56 | 42,77376 |
32 | 64,6 | 65,3 | 0,350 | 63,50 | 181,89 | 100,24 |
Таблица 2
| | ИС МЕГАНОРМ: примечание. Ячейки, выделенные серой заливкой в официальном тексте документа, в электронной версии документа отмечены символом "&". | |
В миллиметрах
Базовый размер детали (по размеру наибольшего наконечника) | Типоразмер наконечника 1 |
02 | 03 | 04 | 05 | 06 | 08 | 10 | 12 | 14 | 16 | 20 | 24 | 32 |
02 | 33,9 | - | - | - | - | - | - | - | - | - | - | - | - |
03 | 34,7 | 35,9 | - | - | - | - | - | - | - | - | - | - | - |
04 | &35,9 | 37,1 | 38,7 | - | - | - | - | - | - | - | - | - | - |
05 | &36,7 | 37,9 | 39,5 | 39,5 | - | - | - | - | - | - | - | - | - |
06 | &39,5 | &40,7 | 42,3 | 42,3 | 43,5 | - | - | - | - | - | - | - | - |
08 | &42,3 | &43,5 | &45,1 | 45,1 | 46,2 | 50,6 | - | - | - | - | - | - | - |
10 | &45,8 | &47,0 | &48,6 | &48,6 | 49,8 | 54,2 | 57,7 | - | - | - | - | - | - |
12 | &48,6 | &49,8 | &51,4 | &51,4 | &52,6 | 56,9 | 60,5 | 63,3 | - | - | - | - | - |
14 | &51,4 | &52,6 | &54,2 | &54,2 | &55,4 | 59,7 | 63,3 | 66,5 | 64,6 | - | - | - | - |
16 | &51,8 | &53,0 | &54,6 | &54,6 | &55,8 | &60,1 | 63,7 | 66,5 | 66,5 | 66,5 | - | - | - |
20 | &58,9 | &60,1 | &61,7 | &61,7 | &62,9 | &67,3 | &70,8 | 73,6 | 73,6 | 73,6 | 73,6 | - | - |
24 | &66,1 | &67,3 | &68,9 | &68,9 | &70,1 | &74,4 | &78,0 | &80,8 | 80,8 | 80,8 | 80,8 | 80,8 | - |
32 | &76,0 | &77,2 | &78,8 | &78,8 | &80,0 | &84,3 | &87,9 | &90,7 | &90,7 | 90,7 | 90,7 | 90,7 | 95,8 |
Таблица 3
В миллиметрах
Базовый размер детали (по размеру наибольшего наконечника) | Типоразмер наконечника 2 |
02 | 03 | 04 | 05 | 06 | 08 | 10 | 12 | 14 | 16 | 20 | 24 | 32 |
02 | 20,4 | - | - | - | - | - | - | - | - | - | - | - | - |
03 | 22,4 | 23,6 | - | - | - | - | - | - | - | - | - | - | - |
04 | &22,4 | 23,6 | 24,4 | - | - | - | - | - | - | - | - | - | - |
05 | &24,8 | 26,0 | 26,8 | 26,8 | - | - | - | - | - | - | - | - | - |
06 | &25,2 | &26,4 | 27,2 | 27,2 | 27,6 | - | - | - | - | - | - | - | - |
08 | &29,2 | &30,4 | &31,2 | 31,2 | 31,6 | 33,9 | - | - | - | - | - | - | - |
10 | &32,4 | &33,5 | &34,3 | &34,3 | 34,7 | 37,1 | 38,7 | - | - | - | - | - | - |
12 | &33,9 | &35,1 | &35,9 | &35,9 | &36,3 | 38,7 | 40,3 | 41,9 | - | - | - | - | - |
14 | &35,5 | &36,7 | &37,5 | &37,5 | &37,9 | 40,3 | 41,9 | 44,2 | 43,0 | - | - | - | - |
16 | &36,3 | &37,5 | &38,3 | &38,3 | &38,7 | &41,0 | 42,6 | 44,2 | 44,2 | 44,2 | - | - | - |
20 | &43,4 | &44,6 | &45,4 | &45,4 | &45,8 | &48,2 | &49,8 | 51,4 | 51,4 | 51,4 | 51,4 | - | - |
24 | &48,2 | &49,4 | &50,2 | &50,2 | &50,6 | &53,0 | &54,6 | &56,2 | 56,2 | 56,2 | 56,2 | 56,2 | - |
32 | &53,0 | &54,2 | &54,9 | &54,9 | &55,3 | &57,7 | &59,3 | &60,9 | &60,9 | 60,9 | 60,9 | 60,9 | 60,9 |
Примечание - Равнопроходные и переходные угольники, которые находятся в затененных областях
таблиц 2,
3, необходимо исключить. Если они должны быть использованы, то особое внимание следует уделить защите наконечников и труб меньших размеров.
Таблица 4
Типоразмер наконечника | Номинальный размер трубы d, дюйм | Номинальный размер трубы d, мм | |
02 | 0,125 | 3,175 | |
03 | 0,188 | 4,775 | 0,3750-24 UNJF |
04 | 0,250 | 6,350 | 0,4375-20 UNJF |
05 | 0,312 | 7,925 | 0,5000-20 UNJF |
06 | 0,375 | 9,525 | 0,5625-18 UNJF |
08 | 0,500 | 12,700 | 0,7500-16 UNJF |
10 | 0,625 | 15,875 | 0,8750-14 UNJF |
12 | 0,750 | 19,050 | 1,0625-12 UNJ |
14 | 0,875 | 22,225 | 1,1875-12 UNJ |
16 | 1,000 | 25,400 | 1,3125-12 UNJ |
20 | 1,250 | 31,750 | 1,6250-12 UNJ |
24 | 1,500 | 38,100 | 1,8750-12 UNJ |
32 | 2,000 | 50,800 | 2,5000-12 UNJ |
<*> UNJ - унифицированная резьба повышенной точности UNJ (UNJC, UNJF, UNJEF, UNJS). |
--------------------------------
<1> ISO 3161:1999 Aerospace. UNJ threads. General requirements and limit dimensions (Авиация и космонавтика. Резьбы UNJ. Общие требования и предельные размеры).
Пример условного обозначения угольника с наконечником 1 типоразмера 12 и наконечником 2 типоразмера 10:
из алюминиевого сплава АК6:
Угольник 12-10-31 ПНСТ 239-2017 <2>;
стали марки 12Х18Н9Т:
Угольник 12-10-13 ПНСТ 239-2017;
стали марки 13Х11Н2В2МФ:
Угольник 12-10-11 ПНСТ 239-2017;
титанового сплава марки ВТЗ-1:
Угольник 12-10-Т ПНСТ 239-2017.
--------------------------------
<2> Будет указан номер настоящего стандарта после его присвоения.
4.2 Для наконечника
1 следует применять исполнение
G <3>. Если типоразмер заготовки больше типоразмера наконечника, то для наконечника
1 следует применять исполнение
G <3>, за исключением буртика.
--------------------------------
<3> SAE AS5864:2015 Fitting End, Bulkhead, 24° Cone, Flareless, Fluid Connection, Design Standard (Наконечники фитингов, переборочные, конус 24°, не требующие развальцовки, соединение с жидкостью, стандартного вида).
Для наконечника
2 следует применять исполнение
G <4>. Если типоразмер заготовки больше типоразмера наконечника, то для наконечника
2 следует применять исполнение
E <4>.
--------------------------------
<4> SAE AS5863:2013 Fitting End, 24° Cone, Flareless, Fluid Connection, Design Standard (Наконечники фитингов, конус 24°, не требующие развальцовки, соединение с жидкостью, стандартного вида).
4.3 Маркировку и клеймение проводят по
ГОСТ 13977.
4.5 Заготовка - по
ГОСТ 13977; для деталей из титанового сплава - штамповка.
4.6 Термообработка для деталей из титанового сплава: отжиг -

в. 110 +/- кг/мм
2.
4.7 Покрытие деталей - по
ГОСТ 13977; для деталей из титанового сплава следует применять покрытое Ан. Окс 2-3.
4.8 Размеры, приведенные в
таблицах 1 -
4, указаны для готовых изделий. Заготовка должна иметь размер, позволяющий изготовить наконечник наибольшего типоразмера.
4.9 Вес указан только для равнопроходных угольников, переходные угольники будут иметь меньший вес.
УДК 629.7:006.354 | |
Ключевые слова: угольник с фланцем, равнопроходный, переходный, наконечники, дюймовая резьба |