Главная // Актуальные документы // ПНСТ (Предварительный национальный стандарт)СПРАВКА
Источник публикации
М.: Стандартинформ, 2017
Примечание к документу
Документ утратил силу с 01.06.2021 в связи с истечением срока действия, установленного
Приказом Росстандарта от 22.09.2017 N 11-пнст.
Документ
введен в действие с 01.06.2018 на период по 01.06.2021 (
Приказ Росстандарта от 22.09.2017 N 11-пнст).
Название документа
"ПНСТ 210-2017. Предварительный национальный стандарт Российской Федерации. Машины ручные, переносные и садово-огородные электрические. Безопасность и методы испытаний. Частные требования к машинам для подрезки живой изгороди"
(утв. и введен в действие Приказом Росстандарта от 22.09.2017 N 11-пнст)
"ПНСТ 210-2017. Предварительный национальный стандарт Российской Федерации. Машины ручные, переносные и садово-огородные электрические. Безопасность и методы испытаний. Частные требования к машинам для подрезки живой изгороди"
(утв. и введен в действие Приказом Росстандарта от 22.09.2017 N 11-пнст)
Утвержден и введен в действие
агентства по техническому
регулированию и метрологии
от 22 сентября 2017 г. N 11-пнст
ПРЕДВАРИТЕЛЬНЫЙ НАЦИОНАЛЬНЫЙ СТАНДАРТ РОССИЙСКОЙ ФЕДЕРАЦИИ
МАШИНЫ РУЧНЫЕ, ПЕРЕНОСНЫЕ И САДОВО-ОГОРОДНЫЕ ЭЛЕКТРИЧЕСКИЕ
БЕЗОПАСНОСТЬ И МЕТОДЫ ИСПЫТАНИЙ.
ЧАСТНЫЕ ТРЕБОВАНИЯ К МАШИНАМ ДЛЯ ПОДРЕЗКИ ЖИВОЙ ИЗГОРОДИ
Electric motor-operated hand-held tools,
transportable tools and lawn and garden machinery.
Safety. Particular requirements for hedge trimmers
ПНСТ 210-2017
Дата введения
с 1 июня 2018 года
до 1 июня 2021 года
1 РАЗРАБОТАН Акционерным обществом "ИНТЕРСКОЛ" (АО "ИНТЕРСКОЛ")
2 ВНЕСЕН Техническим комитетом по стандартизации ТК 262 "Инструмент механизированный и ручной"
3 УТВЕРЖДЕН И ВВЕДЕН В ДЕЙСТВИЕ
Приказом Федерального агентства по техническому регулированию и метрологии от 22 сентября 2017 г. N 11-пнст
4 Настоящий стандарт разработан с учетом основных нормативных положений международного документа EC/CDV 62841-4-2: "Машины ручные, переносные и садово-огородные электрические. Безопасность. Часть 4-2. Частные требования к машинам для подрезки живой изгороди" (Electric motor-operated hand-held tools, transportable tools and lawn and garden machinery. Safety - Part 4-2. Particular requirements for hedge trimmers)
5 ВВЕДЕН ВПЕРВЫЕ
Правила применения настоящего стандарта и проведения его мониторинга установлены в ГОСТ Р 1.16-2011 (разделы 5 и 6).
Федеральное агентство по техническому регулированию и метрологии собирает сведения о практическом применении настоящего стандарта. Данные сведения, а также замечания и предложения по содержанию стандарта можно направлять не позднее чем за четыре месяца до истечения срока его действия разработчику настоящего стандарта по адресу: standart@interskol.ru и в Федеральное агентство по техническому регулированию и метрологии по адресу: 109074, Москва, Китайгородский пр-д., д. 7, стр. 1.
В случае отмены настоящего стандарта соответствующая информация будет опубликована в ежемесячном информационном указателе "Национальные стандарты", а также размещена на официальном сайте Федерального агентства по техническому регулированию метрологии в сети Интернет (www.gost.ru)
Применяют соответствующий
раздел ГОСТ IEC 62841-1 со следующими дополнениями.
Дополнение:
Настоящий стандарт распространяется на ручные машины для подрезки живой изгороди (далее - кусторезы) и машины для подрезки живой изгороди со штангой (далее - кусторезы со штангой) с максимальной длиной не более 3,5 м, предназначенные для подрезки живой изгороди или кустарника одним оператором.
Примечание 1 - Измерение длины кустореза со штангой приведено в
21.101.
Настоящий стандарт не распространяется на кусторезы с вращающимся рабочим инструментом.
Настоящий стандарт не распространяется на ножницы для стрижки травы.
Примечание 2 - На ножницы для стрижки травы распространяется ГОСТ МЭК 60335-2-94-2004.
Применяют соответствующий
раздел ГОСТ IEC 62841-1 со следующими дополнениями.
Дополнение:
ГОСТ 12.4.026 Система стандартов безопасности труда. Цвета сигнальные, знаки безопасности и разметка сигнальная. Назначение и правила применения. Общие технические требования и характеристики. Методы испытаний
Применяют соответствующий
раздел ГОСТ IEC 62841-1 со следующими дополнениями.
Дополнение:
3.101 орган управления режущим механизмом (blade control): Приводимое рукой или пальцами оператора устройство для включения или выключения движения режущего механизма.
3.102 время остановки режущего механизма (blade stopping time): Время с момента отпускания органа управления режущим механизмом до полной остановки режущего механизма.
3.103
зуб режущего лезвия (blade tooth): Часть режущего лезвия, заточенная или имеющая острые кромки для осуществления процесса резания (см.
рисунки 101 и
102).
3.104
закругленная вершина (blunt extension): Незаточенная часть режущего механизма или часть ножевого полотна, установленная на режущем механизме, выступающая за пределы зубьев режущего лезвия (см.
рисунки 101 и
102).
3.105
режущее лезвие (cutter blade): Часть режущего механизма, имеющая зубья, которые выполняют резание при движении либо относительно зубьев другого режущего лезвия, либо относительно ножевого полотна, неподвижно закрепленного на машине (см.
рисунки 101 и
102).
3.106
режущий механизм (cutting device): Сборочный узел, состоящий из режущего лезвия и ножевого полотна или из двух режущих лезвий вместе с любыми крепежными элементами, предназначенный для обеспечения процесса резания; может быть односторонним или двухсторонним [см.
рисунки 101,
102,
104 a) и
b)].
3.107
длина резания (cutting length): Фактическая длина резания механизма, измеренная от внутренней кромки первого зуба режущего лезвия или ножевого полотна до внутренней кромки последнего зуба режущего лезвия или ножевого полотна (см.
рисунок 103).
Примечание - Если движутся оба режущих лезвия, длину резания измеряют в положении, когда первый и последний зубья находятся на максимальном расстоянии друг от друга.
3.108 машина для подрезки живой изгороди со штангой (extended-reach hedge trimmer): Машина для подрезки живой изгороди с постоянной или регулируемой длиной штанги, в том числе с помощью дополнительных частей, если такие имеются, в которой любой режущий механизм удален от рукояток или поверхности захвата во время работы.
3.109
передняя рукоятка (front handle): Поверхность захвата, расположенная на режущем механизме или около него (см.
рисунок 104).
3.110 машина для подрезки живой изгороди (hedge trimmer): Ручная машина с возвратно-поступательным движением режущего механизма, предназначенная для подрезки кустарников и живой изгороди.
3.111 максимальная частота ходов (maximum speed): Максимальная скорость режущего механизма, в том числе и на холостом ходу, получаемая при любых настройках в соответствии с рекомендациями изготовителя для нормального применения.
3.112 датчик присутствия оператора (operator presence sensor): Устройство для обнаружения присутствия руки оператора.
3.113
задняя рукоятка (rear handle): Поверхность захвата, наиболее удаленная от режущего механизма (см.
рисунок 104).
3.114 штанга (shaft): Часть кустореза со штангой с постоянной или регулируемой длиной, предназначенная для увеличения расстояния между режущим механизмом и задней рукояткой.
3.115
ножевое полотно (shear plate): Подвижная или неподвижная часть режущего механизма, обеспечивающая резание совместно с режущим лезвием (см.
рисунок 101).
Применяют соответствующий
раздел ГОСТ IEC 62841-1.
5 Общие условия испытаний
Применяют соответствующий
раздел ГОСТ IEC 62841-1 со следующими дополнениями.
5.8 Дополнение:
Если в соответствии с
перечислением a) 8.14.2 на кусторез допускается установка других режущих механизмов, то они рассматриваются как насадки.
5.17 Дополнение:
Массу кусторезов определяют без учета чехла режущего механизма и плечевого ремня, если имеются, но с учетом:
- дополнительной рукоятки, если имеется;
- дополнительной штанги для кусторезов со штангой, если имеется.
5.101 Испытания проводят на кусторезе в составе комплекта поставки. Однако если кусторез поставляется в разобранном виде, его испытывают после сборки в соответствии с 8.14.2.
5.102
Кусторез испытывают при каждой рабочей конфигурации, указанной в 8.14.2, если иное не указано в разделах 19 и 21.
6 Опасность излучения, токсичность и прочие опасности
Применяют соответствующий
раздел ГОСТ IEC 62841-1.
Применяют соответствующий
раздел ГОСТ IEC 62841-1.
8 Маркировка и инструкция
Применяют соответствующий
раздел ГОСТ IEC 62841-1 со следующими дополнениями.
8.2 Дополнение:
Кусторез должен иметь дополнительную маркировку с указаниями по безопасности и предупреждениями, написанными на одном из официальных языков страны, в которой данный кусторез продается, следующего содержания.
Для всех кусторезов:
- "

ОСТОРОЖНО! Держите руки подальше от лезвия", или
Маркировочная надпись или знак должны быть хорошо видны оператору и не должны находиться на нижней части кустореза.
Для всех кусторезов со степенью защиты IPX4:
- "

ОСТОРОЖНО! Не подвергайте воздействию дождя" или
Для кусторезов, питающихся от сети:
- "

ОСТОРОЖНО! Если шнур питания поврежден или порезан, немедленно удалите вилку из розетки" или
Для всех кусторезов, приведенных в
таблице 101, за исключением категории 1:
- "Применяйте средства защиты органов зрения" или
Для кусторезов со штангой:
- "

ОСТОРОЖНО! Находитесь на достаточном расстоянии от линий электропередач" или знак C.13 a) по
ГОСТ Р ИСО 9244;
- "Используйте средства защиты головы" или знак М 02 по
ГОСТ 12.4.026.
Допускается сочетание нескольких средств защиты в одном знаке, например, защиты органов зрения и головы. Кроме того, допускается сочетание знаков безопасности.
8.12 Дополнить первым абзацем:
Если маркировка выполнена в виде рельефной текстуры, то допускается отсутствие контрастирования с фоном.
8.14.1 Дополнение:
Кусторезы должны содержать дополнительные указания, приведенные в
8.14.1.101. Кусторезы со штангой должны содержать дополнительные указания, приведенные в
8.14.1.102. Эта часть может быть напечатана отдельно от раздела "Общие указания по технике безопасности машин".
Примечание - "Общие указания по технике безопасности машин" упоминаются как "Общие предупреждения по безопасности электрической машины" в
ГОСТ IEC 62841-1.
8.14.1.101
Дополнительные указания мер безопасности при работе с кусторезами.
a) Не приближайте режущие лезвия к себе. Не убирайте срезанный материал и не удерживайте его во время движения режущих лезвий. Режущие лезвия могут продолжать движение даже после выключения кустореза. Невнимательность, в том числе в короткий промежуток времени, в процессе работы с кусторезом может привести к тяжелому телесному повреждению.
b) Переносите кусторез только с неподвижным режущим механизмом, при этом удерживая его за рукоятку. Не располагайте пальцы вблизи выключателей питания. При правильном обращении с кусторезом уменьшается вероятность непреднамеренного пуска и получения телесного повреждения режущими лезвиями.
c) Обязательно перевозите и храните кусторез с чехлом на режущем механизме. При правильном обращении с кусторезом уменьшается вероятность телесного повреждения режущими лезвиями.
d) При очистке от застрявшего материала или техническом обслуживании убедитесь, что все выключатели питания находятся в положении "Отключено", а кабель питания отсоединен от источника. Непреднамеренный пуск кустореза при очистке от застрявшего материала или техническом обслуживании может привести к тяжелым телесным повреждениям.
e) Удерживайте кусторез только за изолированную поверхность рукояток, так как режущие лезвия могут прикоснуться к скрытой проводке или собственному кабелю. При прикосновении режущих лезвий к находящемуся под напряжением проводнику доступные металлические части кустореза могут попасть под напряжение и вызвать поражение оператора электрическим током.
f) Не допускайте попадания шнуров питания и других кабелей в зону резания. Во время работы они могут быть скрыты в кустарнике и случайно повреждены.
g) Не используйте кусторез в плохих погодных условиях, особенно в грозу и молнию. Это уменьшает риск поражения грозой и молнией.
8.14.1.102
Дополнительные указания мер безопасности при работе с кусторезами со штангой.
a) Не используйте кусторез со штангой вблизи линий электропередач. Применение кустореза вблизи линий электропередачи или контакт с ними может привести к серьезным травмам или поражению электрическим током.
b) При работе кусторезом со штангой удерживайте его обеими руками. Удержание обеими руками позволяет лучше контролировать кусторез.
c) При работе кусторезом со штангой выше уровня головы используйте средства защиты головы. Падение обломков объекта обработки может привести к травме.
Примечание - Допускается использование других формулировок вместо "кусторез со штангой", например, "телескопический кусторез" или "машина для подрезки живой изгороди со штангой".
101) Информация о принадлежностях, допустимых к использованию с триммером, включая режущий механизм.
101) Рекомендация по проверке наличия в кустарнике инородных предметов, таких как металлическая сетка и скрытые электрические кабели.
102) Рекомендация по применению устройства защитного отключения с током утечки не более 30 мА.
103) Указание поверхности захвата рукояток и поверхностей захвата в соответствии с
19.101 и
19.102.
104) Указания об удержании кустореза во время работы, например, двумя руками, если имеются две рукоятки.
105) Указание о расположении оператора при работе кусторезом на земле, а не на любой другой неустойчивой опоре.
106) Указание о проверке средств фиксации (например, штанги и других поворотных механизмов) перед началом работы кусторезом, если таковые имеются.
107) Инструкция по расположению и использованию органа(ов) управления режущим(и) лезвием(ями) для работы кусторезом.
108) Инструкция по настройке кустореза, включая рукоятки и режущее лезвие.
109) Инструкции по использованию и регулировке любого предусмотренного плечевого ремня в соответствии с
19.110, в том числе инструкции по быстрому высвобождению или удалению.
110) Определение центрального и других рабочих положений для рукояток, которые в соответствии с
19.101.3 могут регулироваться во время работы.
9 Защита от контакта с токоведущими частями
Применяют соответствующий
раздел ГОСТ IEC 62841-1.
Применяют соответствующий
раздел ГОСТ IEC 62841-1.
11 Потребляемая мощность и ток
Применяют соответствующий
раздел ГОСТ IEC 62841-1.
Применяют соответствующий
раздел ГОСТ IEC 62841-1 со следующими дополнениями.
12.2.1 Замена:
Для испытания по 12.2 используют следующие условия нагрузки:
Кусторез включают при номинальной потребляемой мощности или номинальном потребляемом токе с нагрузкой в виде крутящего момента. Кусторез работает в течение 30 мин. В течение этого времени крутящий момент корректируется для поддержания номинальной потребляемой мощности или номинального потребляемого тока.
Для упрощения процедуры испытания кусторезов со штангой допускается настройка штанги на любую длину при условии, что это не влияет на результат.
13 Теплостойкость и огнестойкость
Применяют соответствующий
раздел ГОСТ IEC 62841-1.
Применяют соответствующий
раздел ГОСТ IEC 62841-1.
15 Коррозионная стойкость
Применяют соответствующий
раздел ГОСТ IEC 62841-1.
16 Защита от перегрузки трансформаторов и соединенных с ними цепей
Применяют соответствующий
раздел ГОСТ IEC 62841-1.
Применяют соответствующий
раздел ГОСТ IEC 62841-1 со следующим дополнением.
17.2 Данный подпункт ГОСТ IEC 62841-1 применяют как для ручных машин.
Дополнение:
Для упрощения процедуры испытания кусторезов со штангой допускается настройка штанги на любую длину при условии, что это не влияет на результат.
18 Ненормальный режим работы
Применяют соответствующий
раздел ГОСТ IEC 62841-1 со следующими изменениями.
18.5 Изменение:
Таблица 4
Требуемые уровни эффективности
Тип и назначение важной для безопасности функции | Требуемый уровень эффективности |
Орган управления режущим механизмом, предотвращающий нежелательное включение | c |
Орган управления режущим механизмом, обеспечивающий остановку для любой категории из таблицы 101 или 102 | b |
Орган управления режущим механизмом, обеспечивающий остановку в течение требуемого времени для категорий 3a, 3b и 4 из таблицы 101 или 102 | a |
Предотвращение превышения тепловых пределов по разделу 18 | a |
| a |
Функции блокировки в положении "Выключено" в соответствии с требованиями 21.18.102 | a |
| Не является важной для безопасности функцией |
Предотвращение самовозврата в соответствии с 23.3 | a |
Любое устройство, предотвращающее работу в конфигурации, запрещенной настоящим стандартом | a |
19 Механическая безопасность
Применяют соответствующий
раздел ГОСТ IEC 62841-1 со следующими дополнениями.
Данный пункт применяют при всех настройках, указанных в 8.14.2.
19.3 Данный пункт не применяется.
19.4 Данный пункт не применяется.
Примечание - Требования для рукояток приведены в
19.101.
19.6 Данный пункт не применяется.
19.7 Данный пункт не применяется.
19.8 Данный пункт не применяется.
19.101.1 Рукоятки кустореза
19.101.1.1 Общие
Число рукояток кустореза, кроме кустореза со штангой, должно быть не менее указанного в
таблице 101.
Часть корпуса двигателя, имеющая соответствующие размеры, может считаться рукояткой.
Конструкция рукояток должна обеспечивать возможность надежного захвата и удержания одной рукой. Периметр рукоятки, определенный измерением окаймлений с полностью утопленным органом управления режущим лезвием, если таковой имеется, должен составлять от 65 до 160 мм [см.
рисунок 105 a),
b),
c)]. Длина поверхности захвата рукоятки(ок) должна составлять не менее 100 мм.
Длина поверхности захвата рукоятки включает в себя часть рукоятки, содержащей орган управления режущим лезвием, если это применимо.
Если применяют накладку для захвата пальцами или подобные устройства, длину поверхности захвата рукоятки не измеряют вдоль поверхности, а измеряют только расстояние по прямой линии или по дуге, если это применимо.
Рукоятки должны быть зафиксированы во время работы, за исключением случаев, указанных в
19.101.3. Если в соответствии с
перечислением b) 8.14.2 рукоятки имеют возможность регулировки в различные положения без применения инструментов, то должна быть исключена возможность включения кустореза при установке рукояток в положения, нарушающие требования настоящего стандарта.
Примечание - Требования к надежности и целостности регулировочных устройств приведены в
19.107 и
19.108.
Соответствие проверяют осмотром и измерениями.
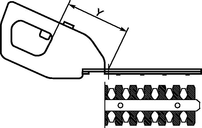
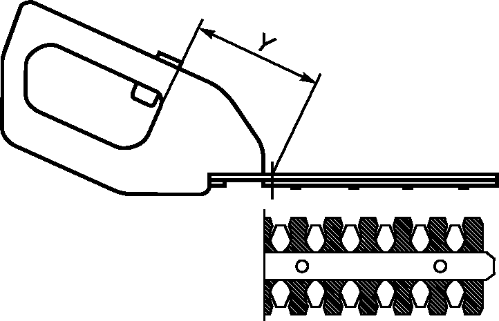
19.101.1.2 Размеры скобообразной или замкнутой рукоятки
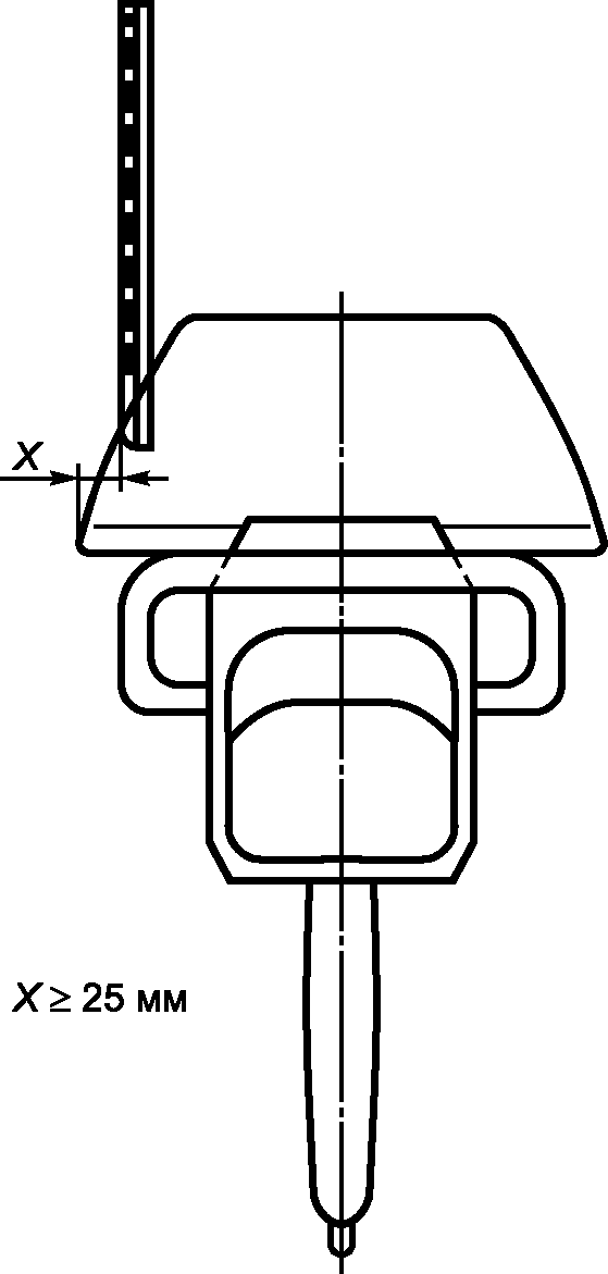
Длина поверхности захвата скобообразной или замкнутой рукоятки (U-образной рукоятки) связана с внутренней шириной поверхности захвата. Вокруг поверхности захвата рукоятки должен быть предусмотрен радиальный зазор не менее 25 мм.
Если применяется скобообразная или замкнутая рукоятка, то длина поверхности захвата
L [см.
рисунок 105 a)] должна быть измерена с использованием длин
A и
B следующим образом:
- длину A измеряют в пределах поверхности X, где радиус составляет не менее 100 мм;
- длину(ы) B измеряют в пределах участка(ов) поверхности Y, где радиус менее 100 мм, при этом длина B не более 10 мм в каждой области у поверхности захвата.
Соответствие проверяют осмотром и измерением.
19.101.1.3 Размеры прямых рукояток, имеющих центральную опору (Т-типа)
Если применяют прямую рукоятку, имеющую центральную опору (Т-типа), то должен быть предусмотрен радиальный зазор не менее 25 мм вокруг длины поверхности захвата. Длина поверхности захвата должна быть рассчитана следующим образом [см.
рисунок 105 b)]:
- для рукояток периметром P (не включая центральную опору) менее 80 мм длиной поверхности захвата является сумма длин двух частей X + Y по обе стороны от опоры;
- для рукояток периметром P (не включая центральную опору) не менее 80 мм длиной поверхности захвата является длина Z, измеренная от начала до конца.
Периметр рукояток определяется измерением окаймлений с полностью утопленным органом управления режущим лезвием, если таковой имеется.
Соответствие проверяют осмотром и измерением.
19.101.1.4 Размер рукояток, расположенных на штанге
Длину поверхности захвата
L [см.
рисунок 105 c)] измеряют по прямой линии, без учета радиуса перехода, накладки для захвата пальцами и подобных устройств.
Соответствие проверяют осмотром и измерениями.
19.101.2 Кусторез со штангой
19.101.2.1 Общее
Число рукояток кусторезов со штангой должно быть не менее указанных в
таблице 102.
Часть корпуса двигателя, имеющая соответствующие размеры, может считаться рукояткой.
Штанга может быть использована как рукоятка, если это указано, в соответствии с 8.14.2.
Конструкция рукояток должна обеспечивать возможность надежного захвата и удержания одной рукой. Периметр рукоятки, определенный измерением окаймлений с полностью утопленным органом управления режущим лезвием, если таковой имеется, должен составлять от 65 до 160 мм [см.
рисунок 105 a),
b),
c)]. Длина поверхности захвата передней и задней рукояток должна иметь длину не менее 100 мм.
Длина поверхности захвата рукоятки включает в себя часть рукоятки, содержащей орган управления режущим лезвием, если это применимо.
Если применяется накладка для захвата пальцами или подобные устройства, длину поверхности захвата рукоятки не измеряют вдоль поверхности, а измеряют только расстояние по прямой линии и дуге, если это применимо.
Если в соответствии с
перечислением b) 8.14.2 рукоятки имеют возможность регулировки в различные положения без применения инструментов, то не должно быть возможности непреднамеренного включения кустореза при установке рукояток в заблокированное положение, нарушающего требования настоящего стандарта. Это может быть достигнуто, если хотя бы один орган управления режущим механизмом требует двух отдельных и разнородных действия для включения кустореза в соответствии с
21.18.102 для выключателей питания или в соответствии с 21.17.1 блокировкой в положение "выключено" с самовозвратом.
Соответствие проверяют осмотром и измерением.
19.101.2.2 Размеры скобообразной или замкнутой рукоятки
Длина поверхности захвата скобообразной или замкнутой рукоятки (U-образной рукоятки) связана с внутренней шириной поверхности захвата. Вокруг поверхности захвата рукоятки должен быть предусмотрен радиальный зазор не менее 25 мм.
Если применяют скобообразную или замкнутую рукоятку, то длина поверхности захвата
L [см.
рисунок 105 a)] должна быть измерена с использованием длин
A и
B следующим образом:
- длину A измеряют в пределах поверхности X, где радиус составляет не менее 100 мм;
- длину(ы) B измеряют в пределах участка(ов) поверхности Y, где радиус менее 100 мм. При этом длина B не более 10 мм в каждой области у поверхности захвата.
Соответствие проверяют осмотром и измерением.
19.101.2.3 Размеры прямых рукояток, имеющих центральную опору (Т-типа)
Если применяют прямую рукоятку, имеющую центральную опору (Т-типа), то должен быть предусмотрен радиальный зазор не менее 25 мм вокруг длины поверхности захвата. Длина поверхности захвата должна быть рассчитана следующим образом [см.
рисунок 105 b)]:
- для рукояток периметром P (не включая центральную опору) менее 80 мм длиной поверхности захвата является сумма длин двух частей X + Y по обе стороны от опоры;
- для рукояток периметром P (не включая центральную опору) не менее 80 мм длиной поверхности захвата является длина Z, измеренная от начала до конца.
Соответствие проверяют осмотром и измерением.
19.101.2.4 Размер рукояток, расположенных на штанге
Длину поверхности захвата
L [см.
рисунок 105 c)] измеряют по прямой линии без учета радиуса перехода, накладки для захвата пальцами и подобных устройств.
Соответствие проверяют осмотром и измерениями.
19.101.3 Регулируемые во время работы рукоятки
19.101.3.1 Регулируемые вокруг своей оси без использования инструмента рукоятки кусторезов, кроме кусторезов со штангой, как указано в
таблице 101, должны соответствовать требованиям
19.101.3.2 -
19.101.3.6.
Допускается только одна регулируемая во время работы рукоятка.
В кусторезах со штангой не допускается использование регулируемой во время работы в соответствии с 8.14.2 рукоятки.
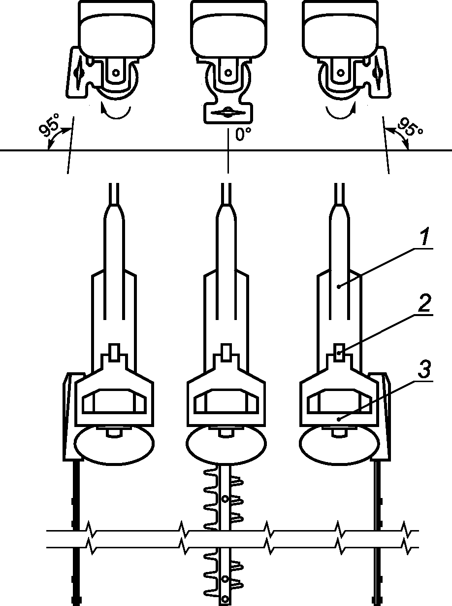
19.101.3.2 Регулируемые рукоятки должны иметь центральное положение.
Рукоятка должна иметь устройство фиксации в центральном и любом другом положении, предназначенном для регулировки рукоятки, как описано в 8.14.2. Конструкция кустореза должна ограничивать вращение регулируемой рукоятки вокруг своей оси на угол более 95° в любую сторону от центрального положения (см.
рисунки 106 и
107). Не допускается отклонение зафиксированной регулируемой рукоятки на угол более 5° вокруг своей оси. Рукоятка в соответствии с
19.101.3.3 должна иметь устройство, разблокирующее рукоятку из зафиксированного положения.
Конструкция кустореза должна обеспечивать автоматическую блокировку регулируемой рукоятки в каждом положении фиксации, за исключением случаев, когда устройство, разблокирующее рукоятку из зафиксированного положения, принудительно приведено в положение "разблокировано".
Соответствие проверяют путем осмотра и измерением.
19.101.3.3 Ограничение перемещения регулируемых рукояток
19.101.3.3.1 Кусторез с регулируемой во время работы рукояткой должен иметь конструкцию, предотвращающую неконтролируемое движение, и должен соответствовать требованиям 19.101.3.3.2 или
19.101.3.3.3.
19.101.3.3.2 Вращение регулируемой рукоятки должно быть ограничено после приведения устройства фиксации рукоятки в положение "блокировки".
Соответствие данному требованию проверяют путем проведения следующего испытания.
При надежно закрепленном режущем механизме к зафиксированной регулируемой рукоятке в течение 2 с прикладывают крутящий момент, равный 1 Н·м. Не допускаются отклонения вокруг своей оси на угол более 5°. Испытание повторяют в обратном направлении вращения.
19.101.3.3.3 Вращение регулируемой рукоятки от центрального положения после приведения устройства фиксации рукоятки в положение "заблокировано" должно быть ограничено.
Регулируемая рукоятка должна иметь промежуточный(ые) или конечные стопорный(ые) фиксатор(ы), ограничивающий(ие) вращение вокруг своей оси от центрального положения на угол не более 60° в любом направлении.
Примечание - Если данное требование выполняется с использованием одного или нескольких промежуточных стопорных фиксаторов, то требование максимального вращения указано в
19.101.3.2.
Соответствие проверяют осмотром и измерением.
19.101.3.4 Регулируемая рукоятка должна иметь устройство, разблокирующее рукоятку из зафиксированного положения с самовозвратом. Работа устройства, разблокирующего рукоятку из зафиксированного положения, не должна оказывать влияния на управление кусторезом. Допускается прохождение рукоятки через стопорное положение, если устройство, разблокирующее рукоятку из зафиксированного положения, принудительно приведено в положение "разблокировано".
Соответствие проверяют осмотром и испытанием вручную.
19.101.3.5 Доступность устройства, разблокирующего рукоятку из зафиксированного положения
19.101.3.5.1 Устройство, разблокирующее рукоятку из зафиксированного положения, должно быть расположено и защищено таким образом, чтобы его приведение в положение "разблокировано" было маловероятно.
Соответствие проверяют путем выполнения одного из требований, приведенных в 19.101.3.5.2 - 19.101.3.5.4.
19.101.3.5.2 Не допускается расположение устройства, разблокирующего рукоятку из зафиксированного положения, на поверхности захвата рукоятки, указанной в соответствии с
8.14.2 b) 103).
Соответствие проверяют осмотром.
19.101.3.5.3 Не допускается приведение в действие устройства, разблокирующего рукоятку из зафиксированного положения, от контакта с жестким шаром диаметром (100 +/- 1) мм, приложенным в любом прямолинейном направлении.
Соответствие проверяют осмотром и испытанием вручную.
19.101.3.5.4 Для разблокировки рукоятки из зафиксированного положения должно быть осуществлено два отдельных и разнородных действия. Прямолинейное движение или хват одной рукой не должны вызывать разблокировки рукоятки из зафиксированного положения.
Соответствие проверяют осмотром и испытанием вручную.
19.101.3.6 Устройство, разблокирующее рукоятку из зафиксированного положения, должно иметь достаточную прочность и износостойкость.
Соответствие проверяют следующим испытанием.
Устройство, разблокирующее рукоятку из зафиксированного положения, приводят в действие 2000 циклов во всех положениях фиксации, на всем диапазоне перемещения регулируемой рукоятки в обоих направлениях.
Каждый цикл состоит из следующих этапов:
a) разблокировка рукоятки из любого зафиксированного положения;
b) начало поворачивания регулируемой рукоятки в следующее положение блокировки устройства фиксации;
c) отпускание устройства, разблокирующего рукоятку из зафиксированного положения, примерно посередине между положениями блокировки устройства фиксации;
d) продолжение поворачивания регулируемой рукоятки до тех пор, пока устройства фиксации не заблокируют дальнейшее вращение в следующем положении фиксации.
После испытания машина должна выдерживать испытание по приложению D на электрическую прочность между токоведущими и доступными частями. Если регулировка вызывает механическую нагрузку на внутреннюю проводку, то токоведущие части не должны становиться доступными, как указано в разделе 9.
По завершении описанного выше циклического испытания устройство, разблокирующее рукоятку из зафиксированного положения, должно сохранять работоспособность и выдерживать следующее испытание:
- к зафиксированной в любом положении рукоятке в течение 1 мин прикладывают крутящий момент, равный 6 Н·м, во всех предназначенных направлениях вращения;
- во время испытания рукоятка не должна разблокироваться из зафиксированного положения и должна сохранять работоспособность после испытания. Электрические соединения не должны ослабляться и вызывать опасность при нормальном применении.
19.102.1 При удержании кустореза за переднюю рукоятку в соответствии с
таблицами 101 и
102 руки оператора должны быть защищены от случайного контакта с движущимся режущим лезвием. Требования к кусторезам, за исключением кусторезов со штангой, приведены в 19.102.2. Требования к кусторезам со штангой приведены в
19.102.3.
19.102.2 Защита рук при работе кусторезом за исключением кусторезов со штангой.
19.102.2.1 Передняя рукоятка кусторезов, кроме кусторезов категории 1, должна быть расположена таким образом, чтобы кратчайшее расстояние от режущей кромки лезвия к задней стороне любой рукоятки составляло не менее 120 мм (см.
рисунок 108)
Для кусторезов категории 1 кратчайшее расстояние между передней стороной рукоятки и зубом режущего лезвия должно быть не менее 120 мм (см.
рисунок 111). Расстояние должно быть измерено по кратчайшему пути от передней части рукоятки до кромки режущего механизма.
При наличии ограждения у передней рукоятки на всех кусторезах, приведенных в
таблице 101, расстояния
x1 и
x2 (см.
рисунок 108) необходимо измерять по кратчайшей линии от задней стороны рукоятки через край ограждения до ближайшей режущей кромки лезвия. Ограждение передней рукоятки не должно иметь отверстий диаметром более 10 мм.
Кроме того, ограждения передней рукоятки кусторезов категории 3a должны иметь следующие минимальные размеры:
- высота y1 - 90 мм, измеренная перпендикулярно к режущей плоскости;
- ширина y2 - 50 мм по обе стороны от оси режущего механизма.
Оба измерения
y1 и
y2 проводятся при настройке режущего механизма в положение 0°, если имеется возможность вращения (см.
рисунок 109).
Соответствие проверяют осмотром и измерением.
19.102.2.2 Для кусторезов категории 3a, где режущий механизм может быть повернут влево или вправо вдоль оси вращения, ограждение передней рукоятки должно иметь ширину, выступающую за режущий механизм, когда он установлен в крайнее левое и правое угловое положения, не менее 25 мм (см.
рисунок 110).
Соответствие проверяют осмотром и измерением.
19.102.2.3 Для кусторезов категории 1 рукоятка должна быть сконструирована таким образом, чтобы ее сопряжение с машиной находилось в передней части поверхности захвата рукоятки.
Соответствие проверяют осмотром.
19.102.3 У кусторезов со штангой передняя рукоятка должна быть расположена таким образом, чтобы кратчайшее расстояние от ближайшей режущей кромки лезвия до задней поверхности скобообразной рукоятки и рукоятки Т-типа [см.
рисунок 112 a)] или ближайшей точки любой поверхности захвата, расположенной на штанге, если она в соответствии с 8.14.2 используется в качестве рукоятки [см.
рисунок 112 b)], должно быть не менее 250 мм при наиболее неблагоприятном положении режущего механизма, настроенного в соответствии с 8.14.2 для работающего кустореза.
Кусторез должен иметь конструкцию, чтобы при любой настройке в соответствии с
перечислением b) 8.14.2 кратчайшее расстояние между органом управления режущим лезвием на задней рукоятке и режущей кромкой было не менее 1 м, в противном случае требования
раздела 19 применяют к кусторезам, за исключением кусторезов со штангой.
Соответствие проверяют осмотром и измерением.
19.103.1 Для защиты от контакта с режущим лезвием кусторез должен иметь конструкцию, соответствующую требованиям одной из категорий, указанных:
- в
таблице 101 для всех кусторезов, за исключением кусторезов со штангой;
Соответствие проверяют осмотром и измерением.
Таблица 101
Категории кусторезов (за исключением кусторезов со штангой)
Наименование характеристики | Характеристики категорий кусторезов |
1 | 2 | 3a | 3b | 4 |
Длина резания | <= 200 мм | - | - | - | - |
Максимальное время остановки лезвия по 19.104 | - | - | 3 с | 2 с | 1 с |
Минимальное число рукояток | 1 | 2 | 2 | 2 | 2 |
Минимальное число рукояток с органом управления режущими лезвиями | 1 | 1 | 1 | 2 (с одновременным приведением в действие) | 2 (с одновременным приведением в действие) |
Расположение органа управления режущими лезвиями | На задней рукоятке | На задней рукоятке | На задней рукоятке | - | - |
Конструктивное исполнение режущего лезвия | | | | | |
Требуется ли нижний барьер по 19.105 | Нет | Нет | Да | Нет | Нет |
Допускается ли регулируемая рукоятка по 19.101.3 | Нет | Да | Да | Да | Да |
Требуется ли ограждение передней рукоятки | Нет | Нет | Да | Нет | Нет |
Таблица 102
Категории кусторезов со штангой
Наименование характеристик | Характеристика категорий кусторезов |
1 | 2 | 3a | 3b | 4 |
Длина резания | <= 200 мм | - | - | - | - |
Максимальное время остановки лезвия по 19.104 | 3 с | 3 с | 3 с | 3 с | 3 с |
Минимальное число рукояток | 2 | 2 | 2 | 2 | 2 |
Минимальное число рукояток с органом управления режущими лезвиями | 1 | 1 | 1 | 1 | 1 |
Расположение органа управления режущими лезвиями | На задней рукоятке | На задней рукоятке | На задней рукоятке | На задней рукоятке | На задней рукоятке |
Конструктивное исполнение режущего лезвия | | | | | |
Требуется ли нижний барьер по 19.105 | Нет | Нет | Нет | Нет | Нет |
Требуется ли ограждение передней рукоятки | Нет | Нет | Нет | Нет | Нет |
19.103.2 Закругленные вершины
19.103.2.1 Закругленные вершины, как указано в
19.103.2.2 -
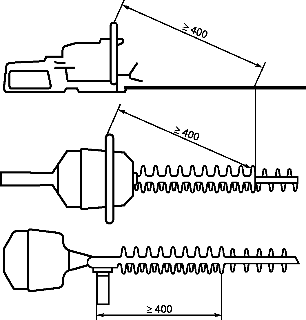
19.103.2.4, должны находиться на расстоянии не менее 400 мм от любой точки:
- на задней поверхности передней рукоятки или
- поверхности захвата на штанге, используемой в качестве рукоятки в соответствии с 8.14.2, если это применимо для кусторезов со штангой (см.
рисунок 113). Если передняя рукоятка расположена так, что часть пути проходит вдоль режущего механизма, то закругленная вершина должна начинаться с первого зуба лезвия и продолжаться до достижения минимального расстояния 400 мм.
Соответствие проверяют осмотром и измерением.
Расстояние между соседними закругленными вершинами d1, измеренное с внешней стороны зубьев лезвия, должно быть не более 8 мм.
Минимальная высота закругленных вершин
d2 должна быть не менее 8 мм, если требуется по
19.103.2.1.
Соответствие проверяют осмотром и измерением.
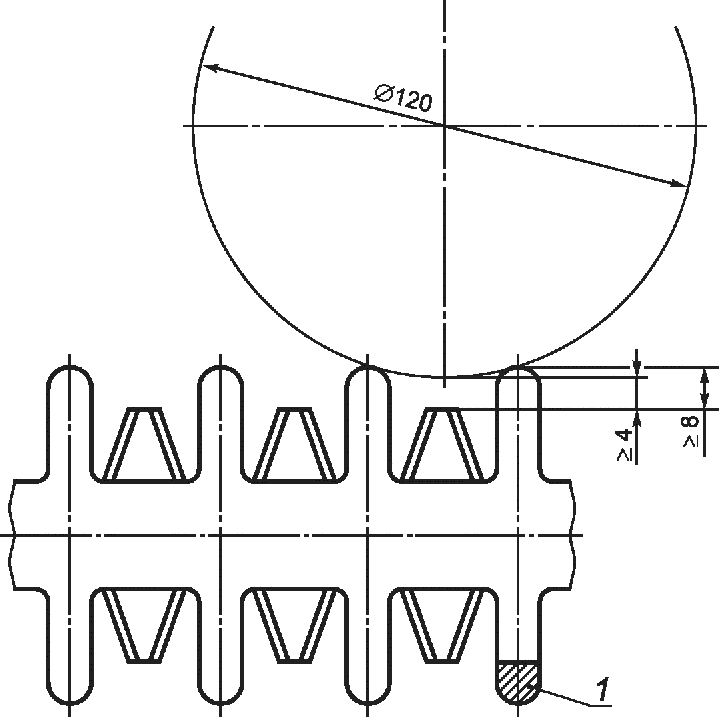
19.103.2.3 Кусторезы категорий 3a и 3b (см.
рисунок 115)
Расстояние между соседними закругленными вершинами, если требуется по
19.103.2.1, не должно допускать контакта между зубом режущего лезвия (заточенный зуб) и испытательным цилиндром диаметром от 18,9 до 19,0 мм, приложенным перпендикулярно к плоскости режущего механизма с усилием не более 1 Н.
Соответствие проверяют осмотром и испытанием вручную.
Расстояние между зубьями лезвий и испытательным цилиндром диаметром от 120 до 121 мм, и расположенным перпендикулярно к плоскости режущего механизма между двумя соседними закругленными вершинами, должно быть не менее 4 мм [см.
рисунок 116 a)].
Для кустореза с закругленными вершинами, которые не являются неотъемлемой частью режущего механизма, должно быть выполнено следующее условие: расстояние между зубьями режущего лезвия и расположенным между двумя соседними закругленными вершинами испытательным цилиндром, приложенным перпендикулярно [см.
рисунок 116 a)] и под углом 40° [см.
рисунок 116 b)] к плоскости режущего механизма, должно быть не менее 4 мм.
Соответствие проверяют осмотром и испытанием вручную.
19.103.3 Регулируемые режущие механизмы
19.103.3.1 Регулируемые без помощи инструмента режущие механизмы, отклоняющиеся относительно корпуса кустореза, должны соответствовать 19.103.3.2 -
19.103.3.6. Кусторез должен соответствовать всем требованиям настоящего стандарта при любых настройках регулируемого режущего механизма в соответствии с
перечислением b) 8.14.2.
19.103.3.2 Конструкция кустореза должна ограничивать в рабочем положении вращение регулируемого режущего механизма вокруг своей оси на угол более 95° в любую сторону от центрального положения. Пример осевого вращения регулируемого режущего механизма вокруг своей оси показан на
рисунке 117.
Соответствие проверяют осмотром и измерением.
19.103.3.3 Регулируемый режущий механизм должен иметь устройство фиксации для каждой настройки в соответствии с
перечислением b) 8.14.2.
Конструкция кустореза должна обеспечивать автоматическую блокировку регулируемого режущего механизма в каждом положении фиксации, за исключением случаев, когда устройство, разблокирующее режущий механизм из зафиксированного положения, принудительно приведено в положение "разблокировано".
Соответствие проверяют осмотром и испытанием вручную.
19.103.3.4 Кусторез с регулируемым режущим механизмом должен иметь устройство, разблокирующее режущий механизм из зафиксированного положения с самовозвратом в положение "заблокировано".
Для регулировки положения режущего механизма должна быть предусмотрена рукоятка, соответствующая
перечислению b) 103) 8.14.2 и не требующая контакта с режущим механизмом. Требования
21.30 не распространяются на рукоятку для регулировки положения режущего механизма.
Соответствие проверяют осмотром и испытанием вручную.
19.103.3.5 Устройство фиксации режущего механизма должно быть расположено вне поверхности захвата рукояток, указанных в
перечислении b) 103) 8.14.2. Не допускается разблокировка режущего механизма во время работы кустореза, кроме кустореза со штангой.
Соответствие проверяют осмотром и испытанием вручную.
19.103.3.6 Устройство, разблокирующее режущий механизм из зафиксированного положения, должно обладать достаточной прочностью и износостойкостью.
Соответствие проверяют следующим испытанием.
Устройство, разблокирующее режущий механизм из зафиксированного положения, приводят в действие 2000 циклов во всех положениях фиксации на всем диапазоне перемещения режущего механизма в обоих направлениях.
Каждый цикл состоит из следующих этапов:
a) разблокировка режущего механизма из любого зафиксированного положения;
b) начало поворачивания режущего механизма в следующее положение блокировки устройства фиксации;
c) отпущение устройства, разблокирующего режущий механизм из зафиксированного положения примерно посередине между положениями блокировки устройства фиксации;
d) продолжение поворачивания регулируемого режущего механизма до тех пор, пока устройства фиксации не заблокируют дальнейшее вращение в следующем положении фиксации.
После испытания машина должна выдерживать испытание по приложению D на электрическую прочность между токоведущими и доступными частями. Если регулировка вызывает механическую нагрузку во внутренней проводке, то токоведущие части не должны становиться доступными, как указано в разделе 9.
По завершении описанного выше циклического испытания устройство фиксации режущего механизма должно сохранять работоспособность и выдерживать следующее испытание:
- к зафиксированному в любом положении режущему механизму в течение 1 мин прикладывают крутящий момент, равный 6 Н·м, во всех направлениях вращения. Электрические соединения не должны ослабляться и вызывать опасность при нормальном применении;
- во время испытания режущий механизм не должен разблокироваться из зафиксированного положения и должен сохранять работоспособность после испытания.
19.103.4 На режущий механизм кустореза категории 3a, кроме кустореза со штангой, должна быть нанесена полоса хорошо видимого цвета, отличного от зеленого, коричневого или черного (например, красного, желтого или оранжевого), которая:
- имеет ширину не менее 10 мм;
- расположена на верхней поверхности режущего механизма;
- имеет длину не менее 90% длины резания режущего механизма;
- соответствует требованиям
8.12.
Соответствие проверяют осмотром, измерением и испытанием.
19.104 Время остановки режущего механизма
19.104.1 Время остановки режущего механизма на отрегулированном и смазанном в соответствии с 8.14.2 кусторезе должно удовлетворять требованиям, указанным:
- в
таблице 101 для всех кусторезов, за исключением кусторезов со штангой;
Соответствие проверяют посредством испытания по 19.104.3 при состоянии по 19.104.2.
19.104.2 При контроле времени остановки режущего механизма кусторез должен быть подготовлен таким образом, чтобы его сборка и средства измерения не влияли на результаты испытания. При использовании внешнего устройства для включения кустореза оно также не должно влиять на результаты испытания.
Способ управления кусторезом во время испытания должен быть таким, чтобы орган управления режущим механизмом быстро отпускался и автоматически переходил из крайнего положения "включено" в положение "выключено". Необходимо предусмотреть устройство для регистрации момента отпускания органа управления режущим механизмом.
Кусторез должен работать на максимальной частоте ходов.
Погрешность средств измерения частоты вращения (частоты ходов) не более +/- 2,5%, суммарная погрешность средств измерения времени - не более +/- 25 мс.
Каждый цикл должен состоять из следующей последовательности операций:
- пуск кустореза и набор режущим механизмом максимальной частоты ходов (время операции ts);
- кратковременная выдержка на максимальной частоте ходов до ее стабилизации (время операции tr);
- отпускание органа управления режущим механизмом и время до его остановки (время операции tb);
- кратковременная выдержка перед началом следующего цикла (время операции to).
Полное время одного цикла tc в секундах равно:
tc = ts + tr + tb + to.
Суммарное время испытательных операций, когда кусторез включен (ts + tr) и выключен (tb + to), определяет изготовитель, но оно не должно превышать 100 с во включенном и 20 с в выключенном состояниях.
Примечание - Это испытание не соответствует нормальной эксплуатации, поэтому время указанных операций устанавливает изготовитель во избежание преждевременного износа или повреждения кустореза.
Перед началом испытания необходимо выполнить десять операций включения/выключения органа управления режущим механизмом, при этом режущий механизм и устройство остановки должны быть отрегулированы в соответствии с 8.14.2, если это применимо.
Время остановки измеряют с момента отпускания органа управления режущим механизмом до выхода его в конечную точку последнего полного хода. При наличии двух органов управления режущим механизмом для каждого из них выполняют половину испытательных циклов и измерений.
При наличии трех и более органов управления режущим механизмом испытания проводят на отдельных образцах для каждой комбинации органов управления путем чередования каждой пары между собой.
19.104.3
Число последовательных циклов испытаний кустореза должно равняться 2506. Измерение времени остановки режущего механизма выполняют в течение первых шести и последних шести циклов каждой серии из 500 циклов последовательных испытаний. Кусторез необходимо смазывать в соответствии с указаниями по 8.14.2. Тормозной механизм должен функционировать в соответствии с 8.14.2, если это применимо.
Никакие другие значения времени остановки режущего механизма не регистрируют.
Каждое из 36 полученных значений времени остановки режущего механизма не должно превышать значений, указанных в таблице 101 или 102. Если образец выходит из строя до отработки полного числа циклов, а в остальном отвечает требованиям данного испытания и отказ не связан с механизмом остановки, если таковой имеется, то:
- либо кусторез ремонтируют, если это не повлияет на механизм остановки, и испытания продолжают,
- либо, если кусторез невозможно отремонтировать, испытывают дополнительный образец, который должен полностью отвечать требованиям данного пункта.
Испытания допускается проводить с перерывами, однако любой интервал (интервалы) работы можно прекращать только после шести циклов измерений. Допускается любое обслуживание тормозного механизма в соответствии с 8.14.2 только после шести циклов измерений.
Кусторезы категории 3a, кроме кусторезов со штангой (см.
рисунок 118), должны иметь барьер между режущим механизмом и нижней поверхностью, которая, вероятно, будет удерживаться оператором. Этот барьер должен выступать на расстояние не менее 12 мм относительно нижней поверхности кустореза при измерении в плоскости, проходящей по оси режущего механизма. Барьер должен иметь конструкцию, при которой исключается вероятность его использования в качестве поверхности захвата.
Соответствие требованию проверяют осмотром и измерением.
19.106 Защитный чехол режущего механизма
Для предотвращения телесных повреждений при хранении и транспортировании в соответствии с 8.14.2 вместе с кусторезом должен поставляться защитный чехол для режущего механизма. Защитный чехол не должен самопроизвольно отсоединяться от вертикально направленного вниз режущего механизма.
Соответствие требованию проверяют осмотром и ручным опробованием.
19.107 Надежность регулировочных устройств
Регулировочные устройства, за исключением устройства фиксации регулируемой рукоятки, как указано в
19.101.3, и устройства фиксации режущего механизма, как указано в
19.103.3, должны быть достаточно надежными для предотвращения отказа, вызывающего несоответствия требованиям
раздела 19.
Соответствие проверяют следующим испытанием.
Регулировочные устройства, не предназначенные для использования в готовом к работе кусторезе, приводят в действие путем проведения 400 циклов, как указано в соответствии с 8.14.2 на максимальную величину.
Регулировочные устройства, предназначенные для использования в готовом к эксплуатации кусторезе, приводят в действие путем проведения 2000 циклов, как указано в соответствии с 8.14.2 на максимальную величину, с частотой не менее шести раз в минуту.
Регулировочные устройства следует обслуживать в соответствии с 8.12.2, если применяются.
После испытания машина должна выдерживать испытание по приложению D на электрическую прочность между токоведущими и доступными частями. Если регулировка вызывает механическую нагрузку во внутренней проводке, то токоведущие части не должны становиться доступными, как указано в разделе 9.
По завершении описанного выше испытания регулировочные устройства должны соответствовать требованиям 19.1, 19.108 и сохранять работоспособность. Электрические соединения не должны ослабляться и вызывать опасность при нормальном применении.
Соответствие проверяют осмотром и измерениями.
19.108 Целостность регулировочных устройств
Рукоятки и другие элементы кустореза, за исключением:
- устройства фиксации регулируемой рукоятки, как указано в
19.101.3, и
- устройства фиксации режущего механизма, как указано в
19.103.3,
предназначенные для регулировки, должны иметь конструкцию, сводящую к минимуму опасность, вызванную непреднамеренным изменением положения.
Соответствие проверяют следующим испытанием.
Все регулировочные устройства должны быть настроены в соответствии с требованиями перечисления a) или b) 8.14.2. Если регулировочные устройства имеют резьбовые соединения, то они должны быть затянуты на 2/3 значения, указанного в 27.1, кроме средств регулировки:
- рычажного типа с резьбовым соединением;
- цангового типа;
- кроме винтов с номинальным диаметром более 6,0 мм, которые должны быть затянуты в соответствии с требованиями 8.14.2.
Регулировочные устройства, использующие осевое смещение, испытывают с помощью постепенного приложения силы, равной (150 +/- 5) Н, в течение 1 мин в любом направлении вдоль оси регулировки. Регулировочные устройства, использующие вращение, испытывают с помощью приложения крутящего момента, равного 6 Н·м, в течение 1 мин. Рукоятки или регулировочные устройства не должны разрушиться. После испытания не допускается смещение на расстояние более 10 мм в осевом направлении и на угол более 10°.
19.109 Длина штанги и масса кустореза со штангой не должны создавать опасную ситуацию потерей контроля.
Прилагаемое к задней рукоятке усилие, необходимое для поддержания кустореза со штангой в горизонтальном положении при подвешивании его на передней рукоятке или поверхности захвата в соответствии с требованиями
перечисления b) 8.14.2, должно быть не более 100 Н.
Соответствие проверяют следующим испытанием.
Кусторез со штангой в соответствии с требованиями перечисления b) 8.14.2 настраивают на максимальную длину между передней рукояткой и концом режущего механизма. Шнур питания удаляют в месте ввода его в машину.
Кусторез подвешен на передней рукоятке. Для приведения машины в горизонтальное положение к задней рукоятке прикладывают усилие (см. рисунок 119).
Расстояние между точкой подвеса и точкой с наименьшим прилагаемым усилием должно быть не менее 0,3 м и не более 1 м.
19.110 Кусторез массой более 6 кг должен иметь плечевой ремень с одной или двумя лямками.
Плечевой ремень, поставляемый с машиной, должен иметь:
- возможность регулировки по размеру оператора, и его работа должна осуществляться в соответствии с требованиями
перечисления b) 8.14.2;
- легкоснимаемую конструкцию или
- механизм быстрого высвобождения, позволяющий оператору легко снимать или быстро высвобождаться от кустореза.
Механизм быстрого высвобождения, если он предусмотрен, должен быть расположен либо между кусторезом и ремнем, либо между ремнем и оператором. Не допускается срабатывание механизма быстрого высвобождения от непреднамеренного действия оператора.
Примечание - Примером точки высвобождения является пряжка, которая требует нажатия большим и указательным пальцами, прежде чем разблокируется, например, боковое нажатие на пряжку.
Плечевой ремень с одной лямкой считают ремнем с возможностью легкого снятия.
Плечевой ремень с двумя лямками считают ремнем с возможностью легкого снятия, если левая и правая лямки не соединены друг с другом в передней части оператора.
Если левая и правая лямки соединены друг с другом в передней части оператора, то ремень считают ремнем с возможностью легкого снятия, когда соединение между лямками возможно разблокировать с помощью одной руки, при этом не допускается более двух точек для высвобождения, и снятие обеспечивается под тяжестью кустореза.
Соответствие проверяют осмотром и функциональным испытанием с использованием самой тяжелой конфигурации, определенной в соответствии с 8.14.2.
20 Механическая прочность
Применяют соответствующий
раздел ГОСТ IEC 62841-1 со следующими дополнениями.
Повреждением режущего механизма пренебрегают.
20.3 Кусторез должен соответствовать требованиям 20.3.1.
Кусторез с установленными регулируемыми устройствами, рукоятками и режущим механизмом в нулевом положении подвергают четырехкратному сбрасыванию на бетонную поверхность с высоты 1 м. Сбрасывают кусторез в четырех разных положениях с учетом минимального удлинения в соответствии с перечислением b) 8.14.2, при этом его самая низкая точка должна быть на высоте 1 м над бетонной поверхностью (см. рисунок 120). При испытании кустореза съемные приспособления не устанавливают. Необходимо избегать повторных ударов.
Примечание - Допустимо привязывать кусторез для предотвращения повторных ударов.
При наличии оговоренных насадок, установленных в соответствии с требованиями 8.14.2, испытание повторяют с каждой насадкой или с каждым сочетанием насадок, установленных на отдельном образце кустореза.
Кусторез со штангой, настроенный на максимальное удлинение, дополнительно подвергают трехкратному сбрасыванию на бетонную поверхность в самых невыгодных положениях. При каждом дополнительном испытании заднюю рукоятку с органом управления режущим механизмом шарнирно закрепляют на высоте 1 м над бетонной поверхностью, а ближайшую к задней рукоятке режущую кромку лезвия подвергают сбрасыванию с высоты 2 м над бетонной поверхностью (см. рисунок 121).
Каждое сбрасывание проводят на отдельном образце кустореза. По усмотрению изготовителя допускается проводить каждое сбрасывание на той же машине.
Примечание - Кусторез со штангой в общей сложности сбрасывается семь раз.
Любое изоляционное покрытие металлической рукоятки должно быть рассчитано на температуры, предусмотренные при нормальном применении.
Соответствие проверяют следующим испытанием.
Отдельный образец изоляционного покрытия должен быть выдержан при температуре выше максимальной температуры, измеренной в ходе испытаний по разделу 12, не менее чем на 25 °C, но не менее (70 +/- 2) °C, в течение 168 ч. После выдержки образец должен достигнуть температуры, приблизительно равной температуре окружающей среды.
Не допускаются отслаивание изоляционного покрытия, а также перемещения в продольном направлении или потеря изоляционных свойств вследствие усадки.
Далее образец выдерживают при температуре (-10 +/- 2) °C в течение 4 ч. Сразу после выдержки образец подвергают удару грузом A массой 300 г, сброшенным с высоты 350 мм на клин B из закаленной стали, расположенный на образце (см. рисунок 122). Осуществляют по одному удару в каждом месте, где вероятнее всего изоляция ослабнет или будет повреждена при нормальном применении. Удары следует осуществлять на расстоянии не менее 10 мм друг от друга.
После проведения данного испытания кусторез должен проходить испытание по D.2 (приложение D) на электрическую прочность с приложением напряжения 1250 В переменного тока между рукоятками и поверхностями захвата, касающимися фольги и режущего механизма.
В ходе этого испытания не должно происходить пробоя.
20.101 Механическая прочность кустореза
20.101.1 Кусторез должен иметь достаточную прочность, чтобы выдерживать силы, возникающие при нормальном применении.
Соответствие проверяют испытанием:
- по 20.101.2 для кусторезов, кроме кусторезов со штангой;
- 20.101.3 для кусторезов со штангой или
- 20.101.2 и 20.101.3 для кусторезов, имеющих универсальную конструкцию, совмещающую оба типа кусторезов (со штангой и без нее).
20.101.2
Кусторез подвешивают вертикально в точке посередине длины режущего механизма. Постепенно прикладывают массу:
- 5 кг для кусторезов категорий 1 и 2;
- 15 кг для кусторезов категорий 3a, 3b и 4
в зоне ширины, равной (75 +/- 5) мм, расположенной посередине каждой поверхности захвата рукоятки, определенной в 8.14.2, в течение 1 мин.
После испытания кусторез должен соответствовать требованиям 20.1 и не должен иметь повреждений (за исключением повреждений режущего механизма), нарушающих требования настоящего стандарта в области механической безопасности.
20.101.3 Прочность кустореза со штангой
20.101.3.1 Кусторез со штангой должен иметь достаточную прочность, чтобы противостоять силам, возникающим при нормальном применении.
Соответствие проверяют следующим испытанием.
Кусторез со штангой в соответствии с требованиями перечисления b) 8.14.2 настраивают на максимальную длину между передней рукояткой и концом режущего механизма. Кусторез со штангой подвешивают вертикально в точке посередине длины режущего механизма.
Постепенно прикладывают массу, равную 20 кг, в зоне шириной, равной (75 +/- 5) мм, расположенной посередине каждой поверхности захвата рукоятки, определенной в 8.14.2, в течение 1 мин.
После испытания кусторез со штангой должен соответствовать требованиям 20.1 и не должен иметь повреждений (за исключением повреждений режущего механизма), нарушающих требования настоящего стандарта в области механической безопасности.
20.101.3.2 Конструкция телескопической удлиняемой штанги кустореза со штангой должна иметь устройства фиксации, предотвращающие разделение штанги и других частей кустореза.
Соответствие проверяют следующим испытанием.
Кусторез со штангой подвешивают вертикально в точке посередине длины режущего механизма с настройкой режущего механизма параллельно оси вала, насколько это возможно. Кусторез настраивают на минимальную длину между передней рукояткой и концом режущего механизма. К задней рукоятке/поверхности захвата прикладывают груз массой 10 кг. Затем поочередно как можно быстрее разблокируют все средства фиксации, позволяющие задней рукоятке полностью вытянуться.
В результате испытания части кустореза со штангой не должны разделяться, ломаться или иметь видимых трещин.
20.101.3.3 Кусторез со штангой должен обладать достаточной механической прочностью, чтобы выдерживать статические нагрузки во время резания.
Кусторез не должен:
- кратковременно отклоняться на длину более 15% кратчайшего расстояния, измеренного от органа управления режущим лезвием, расположенным на задней рукоятке, до режущей кромки, при приложении к режущему зубу, ближайшему к передней рукоятке, усилия, равного 50 Н;
- сохранять отклонение (остаточное) на длину более 5% кратчайшего расстояния, измеренного от органа управления режущим лезвием, расположенным на задней рукоятке, до режущей кромки после снятия приложенной силы и
- иметь видимых трещин или повреждений, не соответствующих
разделу 20.
Соответствие проверяют следующим испытанием.
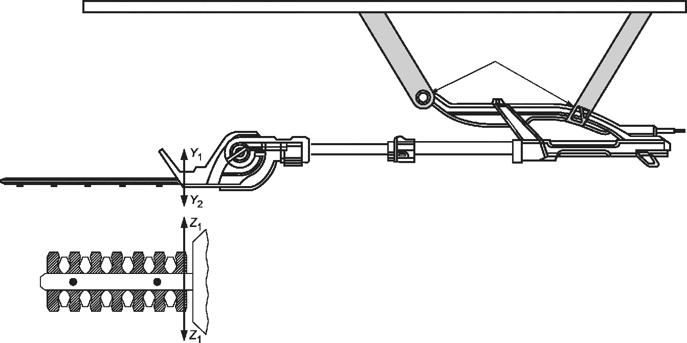
Кусторез со штангой в соответствии с требованиями перечисления b) 8.14.2 настраивают на максимальную длину между передней рукояткой и концом режущего механизма. Кусторез неподвижно закрепляют в горизонтальном положении за середины передней и задней рукояток в зоне ширины, равной (75 +/- 5) мм. Перпендикулярно к плоскости режущего механизма (
Y1 и Y2) и перпендикулярно к режущему механизму (
Z1 и Z2) к ближайшему к передней рукоятке режущему зубу лезвия в обоих направлениях прикладывают в течение 1 мин усилие, равное 50 Н (см. рисунок 123). Во время испытания не допускается разблокировка режущего механизма из зафиксированного положения, если таковая имеется. Кратковременное и остаточное отклонения должны быть оценены после каждого испытания. Для каждого испытания допускается использовать новый образец.
Применяют соответствующий
раздел ГОСТ IEC 62841-1 со следующим изменением.
21.17 Замена первого абзаца:
Функция выключателя питания осуществляется с помощью одной или двух рук контролирующих орган управления режущим механизмом, в соответствии с требованиями
таблицы 101 или
102 в зависимости от применения.
В настоящем стандарте требования, относящиеся к выключателям питания, также распространяются на органы управления режущим механизмом, если не указано иное. Электрические требования распространяются на орган управления режущим механизмом, если он управляет электрической нагрузкой, отвечающей за работу кустореза.
Не допускается установка устройства фиксации органов управления режущим лезвием в положении "включено". Не допускается включение органов управления режущим механизмом от непреднамеренного действия оператора. Режущий механизм должен останавливаться при отпускании любого органа управления режущим механизмом.
Кусторез должен иметь конструкцию, сводящую к минимуму опасности, вызванные непреднамеренным пуском органа управления режущим механизмом. Это требование считается выполненным, если кусторез:
- управляется одним органом управления режущим лезвием, соответствующим требованиям
21.18.102, или
- имеет две рукоятки с органами управления режущим лезвием в каждой из них, при этом режущий механизм будет работать только в случае, если оба органа управления находятся в положении "включено".
21.18 Замена:
21.18.101 При использовании одного органа управления режущим механизмом или, если это применимо, комбинации органов управления режущим механизмом, которые необходимы для работы режущего механизма, как указано в
перечислении b) 8.14.2, режущий механизм должен приводиться в действие в течение 1 с.
Соответствие проверяют осмотром, измерением и испытанием вручную.
21.18.102 Триммеры с одним органом управления режущим механизмом
21.18.102.1 Общее
Частные требования к кусторезам, управляемым одним органом управления режущим механизмом, приведены в 21.18.102.2 -
21.18.102.4.
21.18.102.2 Орган управления режущим механизмом, требуемый в
21.17 - выключатель питания с самовозвратом без возможности блокировки в положении "включено", который может быть включен и выключен оператором без освобождения любой рукоятки или поверхности захвата по
19.101.
Соответствие проверяют осмотром и испытанием вручную.
| | ИС МЕГАНОРМ: примечание. В официальном тексте документа, видимо, допущена опечатка: пункт 6) в перечислении b) 8.14.2 отсутствует. Возможно, имеется в виду пункт 106) 8.14.2. | |
21.18.102.3 Кусторез должен быть снабжен органом управления режущим механизмом, имеющим блокировку в положении "выключено" таким образом, чтобы для включения режущего механизма должно быть осуществлено два отдельных и разнородных действия. Прямолинейное движение или хват одной рукой на любой поверхности захвата, определенной в соответствии с
перечислением b) 6) 8.14.2, не должны вызывать включение режущего механизма.
Устройство блокировки в положении "выключено" или датчик присутствия оператора (если такой имеется) должны быть приведены в действие, прежде чем орган управления режущим лезвием будет включен.
Для включения органа управления режущим лезвием допускается не удерживать устройство блокировки в положении "выключено", если
- орган управления режущим механизмом или датчик присутствия оператора (если такой имеется) приводится в действие в течение 5 с после отпускания устройства блокировки в положении "выключено" и
- подается визуальный или звуковой сигнал после приведения в действие устройства блокировки в положение "выключено" и продолжается по крайней мере до тех пор пока орган управления режущим лезвием или датчик присутствия оператора (если таковые имеются) не будет включен или
- датчик присутствия оператора (если такой имеется) приводится в действие до отпускания устройства блокировки в положении "выключено".
Примечание - Визуальной или звуковой сигнал предназначен только для указания состояния кустореза.
После отпускания органа управления режущим механизмом кусторез в течение 1 с должен возвращаться к исходному заблокированному состоянию (то есть по меньшей мере два отдельных и разнородных действия необходимы для включения режущего механизма), за исключением случаев, когда:
- имеется датчик присутствия оператора и
- рука удерживает датчик присутствия оператора.
Допускается реализация функции датчика присутствия оператора за счет любой комбинации механических, электрических или электронных средств.
Соответствие проверяют осмотром, измерением и испытанием вручную.
Устройство блокировки в положении "выключено", расположенное на любой поверхности захвата, указанной в соответствии с перечислением b) 103) 8.14.2, не должно вызывать пуска кустореза при прямолинейном движении или захвате одной рукой.
Соответствие проверяют следующим испытанием.
Приложенный в любом направлении с усилием не более 20 Н цилиндр длиной 75 мм и диаметром 25 мм не должен приводить в действие устройство блокировки в положении "выключено".
Цилиндр должен быть приложен таким образом, чтобы его боковая поверхность соединяла поверхность устройства блокировки в положении "выключено" и любую прилегающую к нему поверхность.
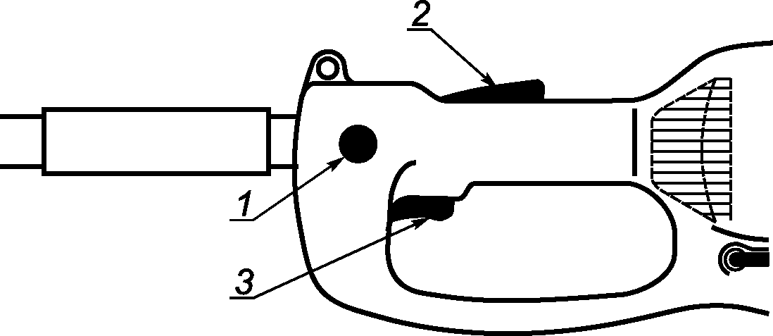
21.18.102.4 Датчик присутствия оператора
Датчик присутствия оператора должен быть расположен в рукоятке или на поверхности захвата с органом управления режущим механизмом.
Допускается реализация функции датчика присутствия оператора за счет любой комбинации механических, электрических или электронных средств.
Примечание - Пример датчика присутствия оператора показан на
рисунке 124.
Соответствие проверяют осмотром.
Применяют соответствующий
пункт ГОСТ IEC 62841-1 для кусторезов, кроме кусторезов со штангой.
21.30.101 Кусторезы со штангой считают машинами, способными повредить скрытую проводку или собственный шнур питания, они должны соответствовать следующим требованиям.
| | ИС МЕГАНОРМ: примечание. В официальном тексте документа, видимо, допущена опечатка: пункт 6) в перечислении b) 8.14.2 отсутствует. Возможно, имеется в виду пункт 106) 8.14.2. | |
Рукоятки и поверхности захвата кустореза со штангой, указанные в
перечислении b) 6) 8.14.2, должны быть выполнены из изоляционного материала или из металла. Если рукоятки или поверхности захвата кустореза со штангой выполнены из металла, то они должны быть изолированы либо нанесением изоляционного материала, имеющим толщину не менее 1 мм, либо изоляционными барьерами между доступными частями рукояток и металлическими частями, которые могут оказаться под напряжением в случае повреждения режущим механизмом токоведущего проводника.
Изоляция дополнительной рукоятки и части штанги кустореза со штангой, которые необходимы для выполнения данного требования, должны быть снабжены буртиком, имеющим высоту не менее 12 мм над рукояткой и закрывающим сектор не менее 240°, обеспечивающим барьер, для сведения к минимуму вероятность соскальзывания руки на не защищенную или не изолированную соответствующим образом поверхность.
Если штанга имеет изоляцию от передней рукоятки до точки на расстоянии не менее 1,2 м от органа управления режущим механизмом на задней рукоятке и от режущей кромки режущего лезвия, то допускается отсутствие буртика между передней рукояткой и режущим механизмом.
Соответствие проверяют осмотром, измерением и испытаниями по 20.5.
21.35 Этот пункт не применяют.
21.101 Максимальное расстояние, измеренное между кончиком режущего механизма кустореза со штангой и наиболее удаленным от него органом управления режущим механизмом, должно быть не более 3,5 м при любых настройках.
Соответствие проверяют измерением.
Применяют соответствующий
раздел ГОСТ IEC 62841-1 со следующими изменениями.
22.6 Модификация:
Данный пункт не распространяется на регулируемые части машины, которые могут вращаться относительно друг друга и на которые распространяются требования 22.101,
19.101.3.6,
19.103.3.5 и
19.107.
22.101 Регулируемые части кустореза, которые в соответствии с 8.14.2 предполагают вращение относительно друг друга, не должны вызывать чрезмерную нагрузку на внутреннюю проводку.
Настоящий пункт не распространяется на регулируемые части машины, которые могут вращаться относительно друг друга и на которые распространяются требования
19.101.3.6,
19.103.3.5 и
19.107.
Соответствие проверяют осмотром и следующим испытанием.
Для кусторезов без ограничения вращения и концевых упоров вращающиеся части машины подвергаются непрерывному вращению в каждом направлении с отключением всех промежуточных блокировок стопорного устройства в течение 2000 оборотов.
Для кусторезов с ограничением вращения и концевым упором вращающиеся части машины подвергаются непрерывному вращению от упора к упору с отключением всех промежуточных блокировок стопорного устройства в течение 2000 циклов. После завершения испытания к концевым упорам в течение 1 мин прикладывают крутящий момент, равный 6 Н·м. Во время испытания концевой упор не должен потерять работоспособность.
Примечание - Промежуточные фиксирующие упоры не считаются ограничивающими вращение концевыми упорами.
После испытания кусторез должен выдержать испытание на электрическую прочность по приложению
D между токоведущими и доступными частями, а также токоведущие части не должны стать доступными, как это указано в
разделе 9.
Применяют соответствующий
раздел ГОСТ IEC 62841-1 со следующими изменениями.
23.1.10.2 Изменение:
Выключатели и органы управления режущим механизмом должны быть надежными.
Соответствие проверяют путем подачи трех образцов выключателей или органов управления режущим механизмом к ускоренному циклу испытаний на надежность по ГОСТ IEC 61058-1 (подпункт 17.2.4.4) с нагрузкой, как указано в 23.1.10.2.1 или 23.1.10.2.2, с числом циклов, как указано ниже, но со скоростью не более 10 циклов в минуту. Во время испытания режущий механизм смазывают, как описано в 8.14.2.
В случаях, когда орган управления режущим механизмом осуществляет механическую связь с электрическим выключателем, эти компоненты могут быть испытаны с помощью электрического выключателя, подключенного к цепи индикатора вместо машины.
Орган управления режущим лезвием, где необходимо одно срабатывание для включения машины, испытывают на 50 000 циклов. Испытания проводят путем приведения в действие органа управления режущим механизмом для каждого цикла.
Орган управления режущим механизмом, где необходимы два одновременных срабатывания для включения машины, каждый из органов управления режущим механизмом испытывают на 10 000 циклов работы попеременной работой каждого органа управления режущим механизмом, определенных перечислением b) 8.14.2. Один цикл считается завершением последовательности 1 и последовательности 2, указанных в таблице 103, где орган управления режущим механизмом 1 и орган управления режущим механизмом 2 представляют собой одну комбинацию, определенную в перечислении b) 8.14.2. Испытание для каждой комбинации может быть проведено на отдельном образце машины.
Орган управления режущим механизмом, где необходимы два последовательных срабатывания для включения машины, каждый из органов управления режущим механизмом испытывают на 10 000 циклов работы попеременной работой каждого органа управления режущим механизмом, определенных в перечислении b) 8.14.2. Один цикл считается завершением последовательности 1 и последовательности 2, указанной в таблице 104, где орган управления режущим механизмом 1 и орган управления режущим механизмом 2 представляют собой одну комбинацию, определенную в перечислении b) 8.14.2. Испытание для каждой комбинации может быть проведено на отдельном образце машины.
Каждый орган управления режущим механизмом осуществляет механическую связь с электронной схемой, содержащей один или более полупроводниковых переключающих устройств (SSD), как определено в ГОСТ IEC 61058-1:2008, где схема обеспечивает защитную функцию за счет снижения тока во время операции выключателя, а затем:
- на трех дополнительных образцах электронную схему отключают и повторяют испытание в течение не менее 1000 циклов или
- защитная функция должна рассматриваться как важная для безопасности функция и иметь больший уровень, чем орган управления режущим механизмом в 18.8.
Выключатели, кроме органов управления режущим механизмом, таких как переключатели скоростей, которые, вероятно, могут переключаться под напряжением, испытаны, как описано выше, но для 1000 циклов применяют только для условий нагрузки, которые возникают при нормальном применении.
Выключатели, кроме органов управления режущим механизмом, предназначенные для работы без электрической нагрузки и работающие только с помощью инструмента или блокированные таким образом, что не могут работать под электрической нагрузкой, не подвергают испытаниям по ГОСТ IEC 61058-1 (подпункт 17.2.4.4).
Выключатели, за исключение органов управления режущим механизмом, нагрузкой 20 мА, классифицируемые в ГОСТ IEC 61058-1 (подпункт 7.1.2.6), также не подвергают испытаниям по ГОСТ IEC 61058-1 (подпункт 17.2.4.4).
После завершения испытаний выключатель должен сохранять работоспособность и соответствовать требованиям (ТЕ3) по ГОСТ IEC 61058-1 (подпункт 17.2.5.3) к основной изоляции.
Таблица 103
Испытательный цикл для кусторезов, где необходимы два
одновременных срабатывания для включения машины
Последовательность срабатывания органа управления режущим механизмом | Орган управления режущим механизмом для включения кустореза | Орган управления режущим механизмом для выключения кустореза |
| 1 потом 2 | 1 потом 2 |
| 2 потом 1 | 2 потом 1 |
Таблица 104
Испытательный цикл для кусторезов, где необходимы два
последовательных срабатывания для включения машины
Последовательность срабатывания органа управления режущим механизмом | Орган управления режущим механизмом для включения кустореза | Орган управления режущим механизмом для выключения кустореза |
| 1 потом 2 | 1 потом 2 |
| 1 потом 2 | 2 потом 1 |
23.1.10.2.1 Настоящий пункт не применяется.
23.1.10.2.2 Настоящий пункт не применяется.
23.1.10.3 Замена:
Отключающая способность органа управления режущим механизмом машин должна быть достаточной.
Соответствие проверяют с помощью испытания с заторможенным ротором (ТС9) по ГОСТ IEC 61058-1 (подпункт 17.2.4.9) с током 6x(I-M). Допускается проведение испытания с каждым электрическим выключателем, связанным с любым органом управления режущим механизмом, встроенным в машину при защемленном роторе, при этом каждый период включенного состояния составляет не более 0,5 с, а каждый период выключенного состояния составляет не менее 10 с.
Если несколько одинаковых (например, производитель и номер детали) электрических выключателей встроены в машину и подвергаются одинаковым условиям нагрузки, то испытывается только один из этих электрических выключателей.
После испытания орган управления режущим механизмом не должен иметь электрических или механических повреждений. Если орган управления режущим механизмом должным образом работает в положении "включено" и "выключено" в конце испытания, то он считается не имеющим никаких механических или электрических повреждений.
Устройства защиты (например, устройства защиты от перегрузки или от перегрева) или схемы, выключающие кусторез, должны быть без самовозврата в рабочее положение.
24 Присоединение к источнику питания и внешние гибкие шнуры
Применяют соответствующий
раздел ГОСТ IEC 62841-1 со следующими изменениями.
24.1 Замена:
Кусторезы должны иметь одно из следующих средств для присоединения к источнику питания:
- приборный ввод, имеющий по меньшей мере такую же степень защиты от влаги, какая требуется для машины, или
- шнур питания длиной от 0,2 до 0,5 м и оснащенный вилкой или другим разъемом, имеющим степень защиты от влаги не менее указанной на машине в соответствии с 8.1.
Вилки, соединители и вводы должны быть пригодны для номиналов машины.
Соответствие проверяют осмотром и измерением.
Длину шнура питания измеряют от места выхода из машины до места входа в имеющуюся вилку или разъем, при этом включается длина защитной втулки, выступающей из корпуса машины или из вилки.
24.2 Дополнение:
Допускается ввод шнура питания типа Z.
25 Зажимы для внешних проводов
Применяют соответствующий
раздел ГОСТ IEC 62841-1.
Применяют соответствующий
раздел ГОСТ IEC 62841-1.
Применяют соответствующий
раздел ГОСТ IEC 62841-1.
28 Пути утечки тока, воздушные зазоры и расстояние по изоляции
Применяют соответствующий
раздел ГОСТ IEC 62841-1.
1 - режущий механизм; 2 - режущее лезвие; 3 - зуб режущего
лезвия; 4 - ножевое полотно; 5 - закругленная вершина
Рисунок 101 - Иллюстрация некоторых определений
1 - режущий механизм; 2 - режущее лезвие;
3 - зуб режущего лезвия; 4 - закругленная вершина
Рисунок 102 - Иллюстрация некоторых определений
1 - длина резания
Рисунок 103 - Измерение длины резания
1 - передняя рукоятка; 2 - задняя рукоятка;
3 - двухстороннее режущее устройство;
4 - защита передней рукоятки
a) двухстороннее режущее устройство
1 - передняя рукоятка; 2 - задняя рукоятка;
3 - одностороннее режущее устройство
b) одностороннее режущее устройство
Рисунок 104 - Расположение рукояток
A - длина поверхности захвата в пределах поверхности X;
B - длины в пределах участка(ов) поверхности Y;
L - максимальная длина захвата; P - периметр
a) Длина поверхности захвата скобообразной
или замкнутой рукоятки
P - периметр рукоятки (не включая поддержку);
X - часть длины поверхности захвата;
Y - часть длины поверхности захвата;
Z - полная длина поверхности захвата
b) Длина поверхности захвата прямой рукоятки,
поддерживаемой в центре (Т-тип)
Рисунок 105, лист 1 - Измерение длины поверхности
захвата рукоятки
L - максимальная длина поверхности захвата;
P - периметр рукоятки
c) Определение длины поверхности захвата
и периметра рукоятки на штанге
Рисунок 105, лист 2
1 - центральное положение (нулевой уровень);
2 - регулируемая передняя рукоятка; 3 - защита
передней рукоятки; 4 - неподвижная задняя рукоятка
Рисунок 106 - Пределы вращения передней регулируемой
рукоятки вокруг своей оси
1 - центральное положение (нулевой уровень);
2 - регулируемая задняя рукоятка; 3 - защита передней
рукоятки; 4 - неподвижная передняя рукоятка
Рисунок 107 - Пределы вращения задней регулируемой рукоятки
вокруг своей оси
Рисунок 108 - Измерение безопасного расстояния
Рисунок 109 - Размеры ограждения передней рукоятки
X - увеличенная зона ограждения передней рукоятки
Рисунок 110 - Ширина ограждения передней рукоятки
для кусторезов категории 3a с регулируемым
режущим механизмом
a) Рукоятка не сопрягается спереди
b) Рукоятка сопрягается спереди
c) Переднее и заднее крепления рукоятки
d) Переднее и заднее крепления рукоятки
X >= 120 мм; Y < 120 мм
Рисунок 111 - Примеры соблюдения/несоблюдения требований
к расстоянию между рукояткой и местом крепления рукоятки
a) Измерение расстояния от режущего лезвия до рукоятки
b) Измерение расстояния от ближайшей режущей кромки
до поверхности захвата на штанге
Рисунок 112 - Измерение расстояния от режущего лезвия
до рукоятки и поверхностей захвата
Рисунок 113, лист 1 - Метод измерения минимальной длины
до закругленных вершин вдоль оси режущего механизма
Режущий механизм может быть односторонним или двухсторонним
1 - закругленная вершина
Рисунок 114 - Исполнения режущего механизма
для кусторезов категорий 1 и 2
Режущий механизм может быть односторонним или двухсторонним
Рисунок 115 - Исполнения режущего механизма
для кусторезов категорий 3a и 3b
Режущий механизм может быть односторонним или двухсторонним
1 - закругленная вершина
a) Испытательный цилиндр, расположенный перпендикулярно
к плоскости резания
1 - закругленная вершина; 2 - режущее лезвие;
3 - плоскость резания; 4 - испытательный цилиндр
b) Испытательный цилиндр, расположенный под углом
Рисунок 116 - Исполнения режущего механизма для кусторезов
категории 4
1 - задняя рукоятка; 2 - устройство фиксации режущего
механизма; 3 - передняя рукоятка
Рисунок 117 - Пределы вращения режущего механизма
вокруг своей оси
Рисунок 118 - Нижний барьер
a - точка подвешивания на передней рукоятке;
F - точка приложения усилия к задней рукоятке
a) Машина для подрезки живой изгороди со штангой
с передней рукояткой
a - точка подвеса на рукоятке; F - точка
приложения усилия к задней рукоятке
b) Машина для подрезки живой изгороди со штангой
с рукояткой на штанге
Рисунок 119 - Измерение силы, необходимой для удержания
машины для подрезки живой изгороди со штангой
в горизонтальном положении
a) Режущий механизм направлен горизонтально,
а режущая плоскость параллельна земле,
кусторез в вертикальном положении
Рисунок 120, лист 1 - Положения кустореза для сбрасывания
b) Режущий механизм направлен горизонтально,
а режущая плоскость параллельна земле, кусторез
в перевернутом положении
c) Режущий механизм направлен горизонтально,
а режущая плоскость перпендикулярна земле для резки
стороной кустореза (левой или правой рукой)
d) Режущий механизм направлен вертикально вверх
для подрезки боковой стороны живой изгороди
1 - шарнирная опора на задней части органа управления
с режущим механизмом на задней рукоятке;
2 - ближайшая к задней рукоятке режущая кромка
режущего лезвия
Рисунок 121 - Положения кустореза со штангой для сбрасывания
Рисунок 122 - Устройство для ударного испытания
изоляции рукояток
| | ИС МЕГАНОРМ: примечание. В официальном тексте документа, видимо, допущена опечатка: пункт 20.101.3.4 отсутствует. | |
Рисунок 123 - Монтаж и приложение усилия
в соответствии с 20.101.3.4
1 - устройство блокировки в положении "отключено";
2 - датчик присутствия оператора; 3 - орган управления
режущим механизмом
Рисунок 124 - Пример датчика присутствия оператора
Применяют соответствующий
раздел ГОСТ IEC 62841-1 со следующими изменениями.
(обязательное)
АККУМУЛЯТОРНЫЕ МАШИНЫ И АККУМУЛЯТОРНЫЕ БАТАРЕИ
При отсутствии иных указаний в настоящем приложении применимы все пункты стандарта. Если не указано иное, то требования, указанные в приложении, заменяют требования основной части настоящего стандарта.
K.8.14.1.101 Изменение:
a) Не приближайте режущие лезвия к себе. Не убирайте срезанный материал и не удерживайте его во время движения режущих лезвий. Режущие лезвия могут продолжать движение даже после выключения машины. Невнимательность, в том числе в короткий промежуток времени, в процессе работы с кусторезом может привести к тяжелому телесному повреждению.
b) Переносите кусторез за рукоятку при неподвижном режущем механизме и не размещайте пальцы вблизи выключателей питания. При правильном обращении с кусторезом уменьшается вероятность непреднамеренного пуска и получения телесного повреждения режущими лезвиями.
c) Обязательно перевозите и храните кусторез с надетым чехлом на режущий механизм. При правильном обращении с кусторезом уменьшается вероятность телесного повреждения режущими лезвиями.
d) При очистке от застрявшего материала или техническом обслуживании убедитесь, что все выключатели питания находятся в положении "отключено", а аккумуляторная батарея удалена или отключена. Непреднамеренный пуск кустореза может привести к тяжелым телесным повреждениям.
Примечание - Настоящее предупреждение не распространяется на машины со съемными аккумуляторными батареями.
e) При очистке от застрявшего материала или техническом обслуживании убедитесь, что все выключатели питания заблокированы в положении "отключено". Непреднамеренный пуск кустореза может привести к тяжелым телесным повреждениям.
Примечание - Настоящее предупреждение не распространяется на машины со встроенными и отдельными аккумуляторными батареями.
f) Удерживайте машину только за изолированную поверхность рукояток, так как режущие лезвия могут прикоснуться к ее скрытой проводке. При прикосновении режущих лезвий к находящемуся под напряжением проводнику доступные металлические части машины могут попасть под напряжение и вызвать поражение оператора электрическим током.
g) Не допускайте попадания кабеля питания и шнуров питания в зону резания. Во время работы они могут быть скрыты в кустарнике и случайно повреждены.
h) Не используйте кусторез в плохих погодных условиях, особенно когда существует риск удара молнии. Это уменьшает риск поражения молнией.
K.8.14.2 b) Изменение:
Дополнение:
301) Инструкции не носить одновременно несколько ремней и/или плечевых ремней безопасности.
302) Инструкции по использованию и настройке любых средств поддержки отделимых аккумуляторных батарей в соответствии с
K.21.301 и инструкции по высвобождению или снятию батарей.
K.8.14.2 c) Дополнение:
201) Инструкции об отключении машины во время ремонта или сервисного обслуживания для машин со встроенными аккумуляторными батареями.
K.12.2.1 Этот пункт настоящего стандарта не применяется.
K.14 Влагостойкость
Этот пункт настоящего стандарта не применяется, за исключением следующего.
K.14.301 Влагостойкость кустореза с питанием от аккумуляторной батареи
K.14.301.1 Корпус машины должен обеспечивать степень защиты от влаги в соответствии с классификацией машины.
Соответствие проверяют посредством испытания по K.14.301.3 при состоянии по K.14.301.2.
K.14.301.2 Машины испытывают со съемными или отдельными аккумуляторными батареями. Во время испытания выключатель питания находится в положении "отключено".
Машина устанавливается на перфорированном поворотном столе в нормальном нерабочем положении. Во время испытания поворотный стол непрерывно поворачивают с частотой 1 об/мин.
Электрические детали, крышки и прочие детали, которые можно удалить без помощи инструмента, снимают и при необходимости подвергают соответствующему испытанию вместе с основной частью. Несъемные подвижные кожухи без самовозврата располагают в наиболее неблагоприятном положении.
Примечание - Примеры подвижных кожухов с самовозвратом включают в себя подпружиненные или закрывающиеся под действием силы тяжести.
Аккумуляторная батарея с классом выше IPX0 испытывается отдельно в соответствии с их номиналом.
K.14.301.3 Машины, не отнесенные к классу IPX0, подвергают испытаниям по ГОСТ 14254 в следующей последовательности:
- машины класса IPX1 подвергают испытанию по 14.2.1;
- машины класса IPX2 подвергают испытанию по 14.2.2;
- машины класса IPX3 подвергают испытанию по 14.2.3;
- машины класса IPX4 подвергают испытанию по 14.2.4;
- машины класса IPX5 подвергают испытанию по 14.2.5;
- машины класса IPX6 подвергают испытанию по 14.2.6;
- машины класса IPX7 подвергают испытанию по 14.2.7.
При последнем испытании машину погружают в воду, содержащую приблизительно 1,0% NaCl.
Немедленно после соответствующей обработки на изоляции машины должны отсутствовать следы воды, которые могли бы привести к уменьшению путей утечки токов и зазоров, приведенных в 28.1.
K.17.2 Этот пункт настоящего стандарта не применяется.
K.18.5 Этот пункт настоящего стандарта не применяется.
K.19.101.3.6 Устройство, разблокирующее рукоятку из зафиксированного положения, должно обладать достаточной прочностью и износостойкостью.
Соответствие проверяют следующим испытанием.
Устройство, разблокирующее рукоятку из зафиксированного положения, приводят в действие 2000 циклов, включая все фиксирующие стопорные положения во всем диапазоне перемещения регулируемой рукоятки в обоих направлениях.
Каждое приведение в действие устройства, разблокирующее рукоятку из зафиксированного положения, состоит из следующих этапов:
a) разблокировка рукоятки из любого зафиксированного положения;
b) начало поворачивания регулируемой рукоятки в следующее положение блокировки устройства фиксации;
c) отпускание устройства, разблокирующего рукоятку из зафиксированного положения, примерно посередине между положениями блокировки устройства фиксации;
d) продолжение поворачивания регулируемой рукоятки до тех пор, пока устройства фиксации не заблокируют дальнейшее вращение в следующем положении фиксации.
После испытания машина не должна вызывать риска пожара. Если регулировка вызывает напряжение на внутренней проводке, то машина с опасным напряжением должна соответствовать требованиям K.9 (приложение K).
По завершении описанного выше циклического испытания устройство, разблокирующее рукоятку из зафиксированного положения, должно сохранять работоспособность и выдерживать следующее испытание.
К зафиксированной в любом положении рукоятке в течение 1 мин прикладывают крутящий момент, равный 6 Н·м, во всех предназначенных направлениях вращения.
Во время испытания рукоятка не должна разблокироваться из зафиксированного положения и должна сохранять работоспособность после испытания. Электрические соединения не должны ослабляться и вызывать опасность при нормальном применении.
K.19.103.3.6 Устройство, разблокирующее режущий механизм из зафиксированного положения, должно обладать достаточной прочностью и износостойкостью.
Соответствие проверяют следующим испытанием.
Устройство, разблокирующее режущий механизм из зафиксированного положения, приводят в действие 2000 циклов, включая все фиксирующие стопорные положения во всем диапазоне перемещения регулируемого режущего механизма в обоих направлениях.
Каждое приведение в действие устройства, разблокирующего режущий механизм из зафиксированного положения, состоит из следующих этапов:
a) разблокировка режущего механизма из любого зафиксированного положения;
b) начало поворачивания режущего механизма в следующее положение блокировки устройства фиксации;
c) отпускание устройства, разблокирующего режущий механизм из зафиксированного положения примерно посередине между положениями блокировки устройства фиксации;
d) продолжение поворачивания регулируемого режущего механизма до тех пор, пока устройства фиксации не заблокируют дальнейшее вращение в следующем положении фиксации.
После испытания машина не должна вызывать риска пожара. Если регулировка вызывает напряжение на внутренней проводке, то машина с опасным напряжением должна соответствовать требованиям K.9 (приложение K).
По завершении описанного выше циклического испытания устройство фиксации режущего механизма должно сохранять работоспособность и выдерживать следующее испытание.
К зафиксированному в любом положении режущему механизму в течение 1 мин прикладывают крутящий момент, равный 6 Н·м, во всех направлениях вращения.
Во время испытания режущий механизм не должен разблокироваться из зафиксированного положения и должен сохранять работоспособность после испытания. Электрические соединения не должны ослабляться и вызывать опасность при нормальном применении.
K.19.107 Надежность регулировочных устройств
Регулировочные устройства, за исключением:
- устройства фиксации регулируемой рукоятки, как указано в
19.101.3, и
- устройства фиксации режущего механизма, как указано в
19.103.3,
должны быть достаточно надежными для предотвращения отказа, вызывающего несоответствия требованиям
раздела 19.
Соответствие проверяют следующим испытанием.
Регулировочные устройства, не предназначенные для использования в готовом к работе кусторезе, приводят в действие путем проведения 400 циклов, как указано в 8.14.2, на максимальное значение.
Регулировочные устройства, предназначенные для использования в готовом к эксплуатации кусторезе, приводят в действие путем проведения 2000 циклов, как указано в 8.14.2, на максимальное значение, с частотой не менее шести раз в минуту.
Средства регулирования должны обслуживаться в соответствии с 8.12.2, если применяются.
После испытания машина не должна вызывать риска пожара. Если регулировка вызывает напряжение на внутренней проводке, то машина с опасным напряжением должна соответствовать K.9.
По завершении описанного выше испытания регулировочные устройства должны соответствовать 19.1, 19.108 и сохранить работоспособность. Электрические соединения не должны ослабляться и вызывать опасность при нормальном применении.
Соответствие проверяют осмотром и измерениями.
K.20.3.1
Кусторез с установленными регулируемыми рукоятками, устройствами и режущим механизмом в нулевом положении подвергают четырехкратному сбрасыванию на бетонную поверхность с высоты 1 м. Сбрасывают кусторез в четырех разных положениях (см. рисунок 120) с учетом минимального удлинения в соответствии с перечислением b) 8.14.2, при этом его самая низкая точка должна быть на высоте 1 м над бетонной поверхностью. При испытании съемные приспособления на кусторез не устанавливают. Необходимо избегать повторных ударов.
Примечание - Допустимо привязывать кусторез для предотвращения повторных ударов.
Для аккумуляторных машин со съемными аккумуляторными батареями испытание повторяют в каждом из четырех положений, показанных на рисунке 120, без прикрепленной к машине съемной аккумуляторной батареи. При испытании не устанавливаются съемные принадлежности.
При наличии оговоренных насадок, смонтированных по 8.14.2, испытание повторяют с каждой насадкой или с каждым сочетанием насадок, смонтированных на отдельном образце кустореза, с установленной съемной или отдельной аккумуляторной батареей.
Кусторез со штангой, настроенный на максимальное удлинение, дополнительно подвергают трехкратному сбрасыванию на бетонную поверхность в самых невыгодных положениях. При каждом дополнительном сбрасывании кусторез с возможностью поворота устанавливают так, чтобы задняя рукоятка с органом управления режущим механизмом находилась на высоте 1 м над бетонной поверхностью, а ближайшая к задней рукоятке режущая кромка лезвия - на высоте 2 м над бетонной поверхностью (см. рисунок 121).
Примечание - Кусторез со штангой в общей сложности сбрасывают одиннадцать раз.
Каждое сбрасывание должно проводиться на отдельном образце кустореза. По усмотрению изготовителя допускается проводить каждое сбрасывание на той же машине.
Съемные или отдельные аккумуляторные батареи подвергают трехкратному сбрасыванию на бетонную поверхность с высоты 1 м.
K.20.101.3.2 Дополнение:
Для съемных аккумуляторных батарей испытание проводят с использованием самой тяжелой аккумуляторной батареи в соответствии с перечислением e) 2) K.8.14.2.
K.20.101.3.3 Длина штанги и масса кустореза со штангой не должны создавать опасную ситуацию потерей контроля.
Прилагаемое к задней рукоятке усилие, необходимое для поддержания кустореза со штангой в горизонтальном положении при подвешивании ее на передней рукоятке или поверхности захвата в соответствии с
перечислением b) 8.14.2, должно быть не более 100 Н.
Соответствие проверяют следующим испытанием.
Кусторез со штангой в соответствии с перечислением b) 8.14.2 настраивают на максимальную длину между передней рукояткой и концом режущего механизма. Машину испытывают с установленными на нее:
- самой легкой и самой тяжелой аккумуляторными батареями в соответствии с перечислением b) 8.14.2 (для машин со съемными аккумуляторными батареями);
- соединительным устройством для машин с отдельными аккумуляторными батареями.
Машина подвешена на передней рукоятке. К задней рукоятке прикладывают усилие для того, чтобы привести машину в горизонтальное положение (см. рисунок 122).
Расстояние между точкой подвеса и точкой с наименьшим прилагаемым усилием должно быть не менее 0,3 и не более 1 м.
K.21.301 Отдельные аккумуляторные батареи, предназначенные для установки на теле оператора в соответствии с
перечислением b) 302) K.8.14.2, должны быть снабжены средствами крепления или поддержки.
Это требование может быть выполнено с помощью плечевого ремня, пояса с плечевыми ремнями или другими средствами крепления или удержания. Любой плечевой ремень или пояс с плечевыми ремнями должен соответствовать
перечислению b) 302) K.8.14.2 и быть регулируемым по размеру оператора.
Плечевой ремень или пояс с плечевыми ремнями должен быть:
- сконструирован таким образом, чтобы его можно было легко снять, или
- оснащен механизмом быстрого высвобождения, гарантирующим, что отдельные аккумуляторные батареи могут быть быстро удалены от оператора.
Механизм быстрого высвобождения должен быть расположен либо между отдельной аккумуляторной батарей и ремнем, либо между ремнем и оператором. Не допускается срабатывание механизма быстрого высвобождения от непреднамеренного действия оператора. Механизм быстрого высвобождения должен обеспечивать открытие под тяжестью отдельных аккумуляторных батарей. Для этого необходимо совершить действие только одной рукой, при этом не допускается более двух точек для высвобождения.
Примечание - Примером точки высвобождения является пряжка, которая требует нажатия большим и указательным пальцами, прежде чем разблокируется, например, боковое нажатие на пряжку.
Плечевой ремень с двумя лямками считается ремнем с легким снятием, если левая и правая лямки не соединены друг с другом в передней части оператора.
Если левая и правая лямки соединены друг с другом в передней части оператора, то ремень считается ремнем с легким снятием, когда соединение между лямками возможно разблокировать с помощью одной руки, при этом не допускается более двух точек для высвобождения, и снятие обеспечивается под тяжестью отдельных аккумуляторных батарей. Не допускается срабатывания механизма высвобождения от непреднамеренного действия оператора.
Соответствие проверяют осмотром и функциональным испытанием с использованием самой тяжелой отдельной аккумуляторной батареи, определенных в перечислении e) K.8.14.2.
K.22.6 Изменение:
Этот
подпункт ГОСТ IEC 62841-1 не распространяется на регулируемые части машины, которые могут вращаться относительно друг друга и на которые распространяются требования
22.101,
19.101.3.6,
19.103.3.5 и
19.107.
Замена последнего абзаца:
После испытания машина должна соответствовать разделу K.9.
K.22.101 Регулируемые части кустореза, которые в соответствии с 8.14.2 предполагают вращение относительно друг друга, не должны вызывать чрезмерную нагрузку на внутреннюю проводку.
| | ИС МЕГАНОРМ: примечание. В официальном тексте документа, видимо, допущена опечатка: пункт K.19.103.3.5 отсутствует. Возможно, имеется в виду пункт K.19.103.3.6. | |
Этот подпункт не распространяется на регулируемые части машины, которые могут вращаться относительно друг друга и на которые распространяются требования
K.19.101.3.6,
K.19.103.3.5 и
K.19.107.
Соответствие проверяют осмотром и следующим испытанием.
Для машин без ограничения вращения и концевых упоров вращающиеся части машины подвергаются непрерывному вращению в каждом направлении с отключением всех промежуточных блокировок стопорного устройства в течение 2000 оборотов.
Для машин с ограничением вращения и концевых упоров вращающиеся части машины подвергаются непрерывному вращению от упора к упору с отключением всех промежуточных блокировок стопорного устройства в течение 2000 циклов. После завершения испытания к концевым упорам в течение 1 мин прикладывают крутящий момент, равный 6 Н·м. Во время испытания концевой упор не должен потерять работоспособность.
Примечание - Промежуточные фиксирующие упоры не считаются ограничивающими вращение концевыми упорами.
После испытания не должно быть никакого риска пожара, и машины с опасным напряжением должны соответствовать требованиям раздела K.9.
K.23.1.10 Конструкция органов управления режущим лезвием не должна допускать никакого отказа, который может вызвать нарушение соответствия настоящему стандарту.
Соответствие проверяют испытанием органов управления режущим лезвием до 50 рабочих циклов включения и отключения при защемленном роторе. При этом каждый период включенного состояния составляет не более 0,5 с, а каждый период выключенного состояния составляет не менее 10 с.
Конструкции, требующие для включения машины двух одновременных срабатываний органов управления режущим лезвием, должны быть испытаны с заблокированным в положении "включено" первым органом управления, а второй совершает рабочие циклы. Испытание повторяют с заблокированным в положении "включено" вторым органом управления, а первый совершает рабочие циклы.
Для каждого испытания допускается использование нового образца.
После испытания орган управления режущим лезвием не должен иметь электрических или механических повреждений. Если орган управления режущим лезвием должным образом работает в положении "включено" и "выключено" в конце испытания, то он считается не имеющим никаких механических или электрических повреждений.
K.23.1.10.2 Данный подпункт настоящего стандарта не применяется.
K.23.1.10.3 Данный подпункт настоящего стандарта не применяется.
K.23.1.201 Замена:
Орган управления режущим лезвием должен выдерживать работу без чрезмерного износа или другого вредного воздействия механических, электрических и тепловых напряжений, возникающих в машине.
Соответствие проверяют испытанием каждого органа управления режущим лезвием на требуемое число циклов работы. Машина работает на холостом ходу со смазанным режущим механизмом, как описано в 8.14.2. Орган управления режущим лезвием работает с одинаковой скоростью не более 10 циклов в минуту. Во время испытания орган управления режущим лезвием должен работать правильно. После испытания орган управления режущим лезвием не должен иметь электрических или механических повреждений. Если орган управления режущим лезвием должным образом работает в положении "включено" и "выключено" в конце испытания, то он считается не имеющим никаких механических или электрических повреждений.
Орган управления режущим лезвием, где необходимо одно срабатывание для включения машины, испытывают на 6000 циклов. Испытания проводят путем приведения в действие органа управления режущим лезвием для каждого цикла.
Орган управления режущим лезвием, где необходимы два одновременных срабатывания для включения машины, каждый из органов управления режущим лезвием испытывают на 6000 циклов работы попеременной работой каждого органа управления режущим лезвием, определенных в перечислении b) 8.14.2. Машина работает на холостом ходу. Один цикл считают завершением последовательности 1 и последовательности 2, указанной в таблице 103, где орган управления режущим лезвием 1 и орган управления режущим лезвием 2 представляют собой одну комбинацию, определенную в перечислении b) 8.14.2. Испытание для каждой комбинации может быть проведено на отдельном образце машины.
Орган управления режущим лезвием, где необходимы два последовательных срабатывания для включения машины, каждый из органов управления режущим лезвием испытывают на 6000 циклов работы попеременной работой каждого органа управления режущим лезвием, определенных в перечислении b) 8.14.2. Машина работает на холостом ходу. Один цикл считается завершением последовательности 1 и последовательности 2, указанной в таблице 104, где орган управления режущим лезвием 1 и орган управления режущим лезвием 2 представляют собой одну комбинацию, определенную в перечислении b) 8.14.2. Испытание для каждой комбинации может быть проведено на отдельном образце машины.
K.24 Соединение питания и внешние гибкие кабели
Этот пункт настоящего стандарта не применим, за исключением следующего.
K.24.301 Для аккумуляторных машин с отдельными аккумуляторными батареями внешний гибкий кабель или шнур должен иметь такие крепления, чтобы проводники не подвергались нагрузке, в том числе кручению, в месте соединения с машиной и были защищены от истирания.
Соответствие требованию проверяют осмотром.
K.24.302 Если машина поставляется с отдельными аккумуляторными батареями, то при нормальном применении они должны отсоединяться от машины без использования инструмента.
Соответствие требованию проверяют осмотром.
(обязательное)
АККУМУЛЯТОРНЫЕ МАШИНЫ И АККУМУЛЯТОРНЫЕ БАТАРЕИ,
ИМЕЮЩИЕ СОЕДИНЕНИЕ С СЕТЬЮ ИЛИ НЕИЗОЛИРОВАННЫМИ
ИСТОЧНИКАМИ ПИТАНИЯ
При отсутствии иных указаний в настоящем приложении применимы все пункты настоящего стандарта. Если не указано иное, то требования, указанные в приложении, заменяют требования основной части настоящего стандарта.
L.1 Область применения
Дополнение:
При отсутствии иных указаний в настоящем приложении применимы все пункты настоящего стандарта.
L.8.14.1.101 Замена:
a) Не приближайте режущие лезвия к себе. Не убирайте срезанный материал и не удерживайте его во время движения режущих лезвий. Режущие лезвия могут продолжать движение даже после выключения машины. Невнимательность, в том числе в короткий промежуток времени, в процессе работы с кусторезом может привести к тяжелому телесному повреждению.
b) Переносите кусторез за рукоятку при неподвижном режущем механизме и не размещайте пальцы вблизи выключателей питания. При правильном обращении с кусторезом уменьшается вероятность непреднамеренного пуска и получения телесного повреждения режущими лезвиями.
c) Обязательно перевозите и храните кусторез с надетым чехлом на режущий механизм. При правильном обращении с кусторезом уменьшается вероятность телесного повреждения режущими лезвиями.
d) При очистке от застрявшего материала или техническом обслуживании убедитесь, что все выключатели питания находятся в положении "отключено", а шнур питания и/или аккумуляторная батарея удалены или отключены. Непреднамеренный пуск кустореза может привести к тяжелым телесным повреждениям.
Примечание - Настоящее предупреждение не распространяется на машины со съемными аккумуляторными батареями.
e) При очистке от застрявшего материала или техническом обслуживании убедитесь, что шнур питания отключен, а все выключатели питания заблокированы в положении "отключено". Непреднамеренный пуск кустореза может привести к тяжелым телесным повреждениям.
Примечание - Настоящее предупреждение не распространяется на машины со встроенными или отдельными аккумуляторными батареями.
f) Удерживайте машину только за изолированную поверхность рукояток, так как режущие лезвия могут прикоснуться к скрытой проводке или собственному шнуру питания. При прикосновении режущих лезвий к находящемуся под напряжением проводнику доступные металлические части машины могут попасть под напряжение и вызвать поражение оператора электрическим током.
g) Не допускайте попадания кабеля питания и шнуров питания в зону резания. Во время работы они могут быть скрыты в кустарнике и случайно повреждены.
h) Не используйте кусторез в плохих погодных условиях, особенно когда существует риск удара молнии. Это уменьшает риск поражения молнией.
L.8.14.2 b) Дополнение:
301) Инструкции не носить одновременно несколько ремней и/или плечевых ремней безопасности для машин с отдельными аккумуляторными батареями.
302) Инструкции по использованию и настройке любых средств поддержки отделимых аккумуляторных батарей в соответствии с
L.21.301 и инструкции по высвобождению или снятию батарей.
L.8.14.2 c) Дополнение:
201) Инструкции об отключении машины во время ремонта или сервисного обслуживания для машин со встроенными аккумуляторными батареями.
L.20.101.3.3 Длина штанги и масса кустореза со штангой не должны создавать опасную ситуацию потерей контроля.
Прилагаемое к задней рукоятке усилие, необходимое для поддержания кустореза со штангой в горизонтальном положении при подвешивании его на передней рукоятке или поверхности захвата, в соответствии с
перечислением b) 8.14.2 должно быть не более 100 Н.
Соответствие проверяют следующим испытанием.
Кусторез со штангой в соответствии с перечислением b) 8.14.2 настраивают на максимальную длину между передней рукояткой и концом режущего механизма, а ось режущего механизма совмещают с осью вала, насколько это возможно. Шнур питания, если таковой имеется, должен быть удален в точке входа в машину. Машина должна быть испытана со всеми батареями и вариантами шнура питания, указанными в перечислении b) 8.14.2, при установке машину испытывают с установленными на нее:
- самой легкой и самой тяжелой аккумуляторными батареями в соответствии с перечислением b) 8.14.2 (для машин со съемными аккумуляторными батареями);
- соединительным устройством для машин с отдельными аккумуляторными батареями.
Машина подвешена на передней рукоятке. К задней рукоятке прикладывают усилие для того, чтобы привести машину в горизонтальное положение (см. рисунок 122).
Расстояние между точкой подвеса и точкой с наименьшим прилагаемым усилием должно быть не менее 0,3 м и не более 1 м.
Для триммеров применяется L.20.301.
L.20.301
Кусторез, не подключенный непосредственно к сети или к неизолированному источнику питания, с установленными регулируемыми рукоятками, устройствами, режущим механизмом в нулевом положении и съемной аккумуляторной батареей подвергают четырехкратному сбрасыванию на бетонную поверхность с высоты 1 м. Сбрасывают кусторез в четырех разных положениях (см. рисунок 120) с учетом минимального удлинения в соответствии с перечислением b) 8.14.2, при этом его самая низкая точка должна быть на высоте 1 м над бетонной поверхностью. При испытании съемные приспособления на кусторез не устанавливают. Необходимо избегать повторных ударов.
Примечание - Допустимо привязывать кусторез для предотвращения повторных ударов.
Для аккумуляторных машин со съемными аккумуляторами батареями испытание повторяют в каждом из четырех положений, показанных на рисунке 120, без прикрепленной к машине аккумуляторной батареи. Для испытания не устанавливают разделяемые аксессуары.
При наличии оговоренных насадок, смонтированных по 8.14.2, испытание повторяют с каждой насадкой или с каждым сочетанием насадок, смонтированных на отдельном образце кустореза, с установленной съемной или отдельной аккумуляторной батареей.
Кусторез со штангой, настроенный на максимальное удлинение и не подключенный непосредственно к сети или к неизолированному источнику питания, с установленной съемной аккумуляторной батареей дополнительно подвергают трехкратному сбрасыванию на бетонную поверхность в самых невыгодных положениях. При каждом дополнительном сбрасывании кусторез с возможностью поворота устанавливают так, чтобы задняя рукоятка с органом управления режущим механизмом находилась на высоте 1 м над бетонной поверхностью, а ближайшая к задней рукоятке режущая кромка лезвия - на высоте 2 м над бетонной поверхностью (см. рисунок 121).
Примечание - Не подключенный непосредственно к сети или неизолированному источнику питания кусторез со штангой в общей сложности сбрасывают одиннадцать раз.
Каждое сбрасывание должно проводиться на отдельном образце кустореза. По усмотрению изготовителя допускается проводить каждое сбрасывание на той же машине.
Съемные или отдельные аккумуляторные батареи подвергают трехкратному сбрасыванию на бетонную поверхность с высоты 1 м.
L.21.301 Отдельные аккумуляторные батареи могут снабжаться плечевым ремнем с одной или двумя лямками или поясом для поддержки отдельной аккумуляторной батареи на операторе.
Для поддержки отдельных аккумуляторных батарей массой не менее 7,5 кг должен применяться плечевой ремень с двумя лямками. Ремень должен регулироваться по размеру оператора, и его работа должна осуществляться в соответствии с перечислением e) L.8.14.2.
Плечевой ремень должен быть:
- сконструирован таким образом, чтобы его можно было легко снять, или
- оснащен механизмом быстрого высвобождения, гарантирующим, что отдельные аккумуляторные батареи могут быть быстро удалены от оператора.
Механизм быстрого высвобождения должен быть расположен либо между отделяемой аккумуляторной батареей и ремнем, либо между ремнем и оператором. Не допускается срабатывание механизма быстрого высвобождения от непреднамеренного действия оператора. Механизм быстрого высвобождения должен обеспечивать открытие под тяжестью отдельных аккумуляторных батарей. Для этого необходимо совершать действие только одной рукой, при этом не допускается более двух точек для высвобождения.
Примечание - Примером точки высвобождения является пряжка, которая требует нажатия большим и указательным пальцами, прежде чем разблокируется, например, боковое нажатие на пряжку.
Двойной плечевой ремень считается ремнем с легким снятием, если левая и правая лямки не соединены друг с другом в передней части оператора.
Если левая и правая лямки соединены друг с другом в передней части оператора, то ремень считается ремнем с легким снятием, когда соединение между лямками возможно разблокировать с помощью одной руки, при этом не допускается более двух точек для высвобождения, и снятие обеспечивается под тяжестью отдельных аккумуляторных батарей. Не допускается срабатывание механизма высвобождения от непреднамеренного действия оператора.
Пояс должен быть оснащен механизмом быстрого высвобождения.
Соответствие проверяют осмотром и функциональным испытанием с использованием самой тяжелой отдельной аккумуляторной батареи, определенной в перечислении e) L.8.14.2.
L.21.302 Машина, питающаяся от встроенной аккумуляторной батареи, должна быть снабжена устройством отключения путем разъединения или отключение питания машины. Привод для этого устройства должен быть несъемной частью машины. Допускается реализация функции отключения питания машины за счет блокировки выключателя питания при условии, что блокировка выключателя в положении "выключено" соответствует 21.17.1. Блокировка выключателя в положении "выключено" может быть без самовозврата. Это должно быть очевидно через маркировки, цвет или положение о том, что машина находится в отключенном состоянии. Перезапуск машины может осуществляться с помощью приложения усилия не менее 5 Н для запуска устройства или двух отдельных и разнородных действий.
Соответствие проверяют осмотром и измерением.
L.23.1.10 Конструкция органов управления режущим лезвием не должна допускать никакого отказа, который может вызвать нарушение соответствия настоящему стандарту.
Соответствие проверяют испытанием органов управления режущим лезвием до 50 рабочих циклов включения и отключения при защемленном роторе с полностью заряженной аккумуляторной батареей. При этом каждый период включенного состояния составляет не более 0,5 с, а каждый период выключения состояния составляет не менее 10 с.
Конструкции, требующие для включения машины двух одновременных срабатываний органов управления режущим лезвием, должны быть испытаны с заблокированным в положении "включено" первым органом управления, а второй совершает рабочие циклы. Испытание повторяют с заблокированным в положении "включено" вторым органом управления, а первый совершает рабочие циклы.
Для каждого испытания допускается использование нового образца.
После испытания органа управления режущим лезвием, он не должен иметь электрических или механических повреждений. Если орган управления режущим лезвием должным образом работает в положениях "включено" и "выключено" в конце испытания, то он считается не имеющим никаких механических или электрических повреждений.
L.23.1.201 Замена:
Орган управления режущим лезвием должен выдерживать работу без чрезмерного износа или другого вредного воздействия механических, электрических и тепловых напряжений, возникающих в машине.
Соответствие проверяют испытанием каждого органа управления режущим лезвием на требуемое число циклов работы. Машина работает на холостом ходу от полностью заряженной аккумуляторной батареи со смазанным режущим механизмом, как описано в 8.14.2. Орган управления режущим лезвием работает с одинаковой скоростью не более 10 циклов в минуту. Во время испытания орган управления режущим лезвием должен работать правильно. После испытания орган управления режущим лезвием не должен иметь электрических или механических повреждений. Если орган управления режущим лезвием должным образом работает в положениях "включено" и "выключено" в конце испытания, то он считается не имеющим никаких механических или электрических повреждений.
Орган управления режущим лезвием, где необходимо одно срабатывание для включения машины, испытывают 6000 циклов. Испытания проводят путем приведения в действие органа управления режущим лезвием для каждого цикла.
Орган управления режущим лезвием, где необходимы два одновременных срабатывания для включения машины, каждый из органов управления режущим лезвием испытывают 6000 циклов работы попеременной работой каждого органа управления режущим лезвием, определенных в перечислении b) 8.14.2. Машина работает на холостом ходу от полностью заряженной аккумуляторной батареи. Один цикл считается завершением последовательности 1 и последовательности 2, указанных в таблице 103, где орган управления режущим лезвием 1 и орган управления режущим лезвием 2 представляют собой одну комбинацию, определенную в перечислении b) 8.14.2. Испытание для каждой комбинации может быть проведено на отдельном образце машины.
Орган управления режущим лезвием, где необходимы два последовательных срабатывания для включения машины, каждый из органов управления режущим лезвием испытывают 6000 циклов работы попеременной работой каждого органа управления режущим лезвием, определенных в перечислении b) 8.14.2. Машина работает на холостом ходу от полностью заряженной аккумуляторной батареи. Один цикл считается завершением последовательности 1 и последовательности 2, указанных в таблице 104, где орган управления режущим лезвием 1 и орган управления режущим лезвием 2 представляют собой одну комбинацию, определенную в перечислении b) 8.14.2. Испытание для каждой комбинации может быть проведено на отдельном образце машины.
(обязательное)
СИМВОЛЫ И ПРЕДУПРЕЖДЕНИЯ ДЛЯ УКАЗАНИЙ
ПО ТЕХНИКЕ БЕЗОПАСНОСТИ
Рисунок AA.1 - Знак безопасности
"ОСТОРОЖНО! Держите руки подальше от лезвия"
Рисунок AA.2 - Альтернативный знак безопасности
"ОСТОРОЖНО! Держите руки подальше от лезвия"
Рисунок AA.3 - Знак безопасности
"Не подвергайте воздействию дождя"
Рисунок AA.4 - Знак безопасности
"Если шнур питания поврежден, немедленно удалите вилку
из розетки"
Рисунок AA.5 - Знак безопасности
"Применять средства защиты органов зрения"
Применяют соответствующий
раздел ГОСТ IEC 62841-1 со следующим дополнением.
ГОСТ МЭК 60335-2-94-2004 | Безопасность бытовых и аналогичных электрических приборов. Часть 2-94. Дополнительные требования к машинкам для стрижки травы ножничного типа (Safety of household and similar electrical appliances - Part 2-94. Particular requirements for scissors type grass shears) |