Главная // Актуальные документы // ПереченьСПРАВКА
Источник публикации
М.: ОАО ЦНИИпромзданий, 2001
Примечание к документу
Протоколом ОАО "ЦНИИПромзданий" от 27.02.2004 N К-43 одобрены "
Полы. Технические требования и правила проектирования, устройства, приемки, эксплуатации и ремонта (в развитие СНиП 2.03.13-88 "Полы" и СНиП 3.04.01-87 "Изоляционные и отделочные покрытия")".
Название документа
"Полы (руководство). Технические требования, предъявляемые к полам. Проектирование, устройство и правила приемки полов"
(рассмотрено и одобрено Протоколом секции строительных конструкций НТС ОАО ЦНИИпромзданий от 25.05.2001 N К-24)
"Полы (руководство). Технические требования, предъявляемые к полам. Проектирование, устройство и правила приемки полов"
(рассмотрено и одобрено Протоколом секции строительных конструкций НТС ОАО ЦНИИпромзданий от 25.05.2001 N К-24)
Протоколом секции
строительных конструкций
НТС ОАО ЦНИИпромзданий
от 25 мая 2001 г. N К-24
ПОЛЫ
(РУКОВОДСТВО)
ТЕХНИЧЕСКИЕ ТРЕБОВАНИЯ, ПРЕДЪЯВЛЯЕМЫЕ К ПОЛАМ
ПРОЕКТИРОВАНИЕ, УСТРОЙСТВО И ПРАВИЛА ПРИЕМКИ ПОЛОВ
В Руководстве изложены технические требования, предъявляемые к полам, рекомендации по проектированию и устройству различных видов полов, а также правила их приемки.
Руководство предназначено для проектных и строительных организаций, а также служб эксплуатации.
Руководство разработано ОАО ЦНИИпромзданий (Гликин С.М. - Зам. генерального директора, к.т.н., Чекулаев А.П. - руководитель сектора полов, к.т.н., Мацнева Г.Ф. - инженер). Руководство рассмотрено и одобрено секцией строительных конструкций НТС ОАО ЦНИИпромзданий - Протокол N К-24 от 25 мая 2001 г.
Замечания и предложения по данному Руководству просим направлять по адресу: 127238, Москва, Дмитровское шоссе, д. 46, к. 2 ОАО ЦНИИпромзданий.
ТЕХНИЧЕСКИЕ ТРЕБОВАНИЯ, ПРЕДЪЯВЛЯЕМЫЕ К ПОЛАМ
1.1. Настоящее Руководство распространяется на проектирование и устройство полов из различных материалов, применяемых в производственных, жилых, общественных, административных и бытовых зданиях.
1.2. В Руководстве изложены технические требования, предъявляемые к полам (Раздел I), и указания по проектированию прогрессивных конструктивных решений и способам устройства различных полов по грунтовому основанию и перекрытиям
(Раздел II), при которых обеспечивается соблюдение технических требований, изложенных в
Разделе I.
1.3. При проектировании и устройстве полов кроме указаний настоящего Руководства должны выполняться требования действующих норм проектирования, правил техники безопасности, по охране труда и противопожарной безопасности.
1.1. Настоящие требования распространяются на проектирование полов производственных, жилых, общественных, административных и бытовых зданий.
1.2. При проектировании полов, кроме настоящих требований, необходимо соблюдать дополнительные требования, установленные нормами проектирования конкретных зданий и сооружений, противопожарными и санитарными нормами, а также нормами технологического проектирования.
1.3. Данные требования не распространяются на проектирование съемных полов (фальшполов), полов, расположенных на вечномерзлых грунтах и обогреваемых полов.
В настоящем Разделе использованы ссылки на следующие нормативные документы:
СНиП II-3-79* "Строительная теплотехника. Нормы проектирования". Издание 1998 г.
| | ИС МЕГАНОРМ: примечание. В официальном тексте документа, видимо, допущена опечатка: правильное название СНиП 2.10.03-84 "Животноводческие, птицеводческие и звероводческие здания и помещения". | |
НПБ 105-95. "Определение категорий помещений и зданий по взрывопожарной и пожарной безопасности".
3. Основные термины и определения
Покрытие - верхний слой пола, непосредственно подвергающийся эксплуатационным воздействиям.
Прослойка - промежуточный слой пола, связывающий покрытие с нижележащим слоем пола или служащий для покрытия упругой постелью.
Гидроизоляционный слой - слой, препятствующий прониканию через пол сточных вод и других жидкостей, а также прониканию в пол грунтовых вод.
Стяжка (основание под покрытие) - слой пола, служащий для выравнивания поверхности нижележащего слоя пола или перекрытия, придания покрытию пола заданного уклона, укрытия различных трубопроводов, распределения нагрузок по нежестким нижележащим слоям пола на перекрытии.
Подстилающий слой - слой пола, распределяющий нагрузки на грунт.
Теплоизоляционный слой - элемент пола, уменьшающий общую теплопроводность пола.
Звукоизоляционный слой - элемент пола, повышающий звукоизолирующую способность пола.
Грунтовое основание - слой грунта, по которому устраивается подстилающий слой или опоры под лаги.
Деформационный шов - разрыв в подстилающем слое, стяжке или покрытии, обеспечивающий относительное смещение их разрозненных участков.
Интенсивность воздействия жидкости на пол:
- малая - незначительное воздействие жидкости на пол, при котором поверхность покрытия пола сухая или слегка влажная; покрытие пола жидкостями не пропитывается;
- средняя - периодическое увлажнение пола, при котором поверхность покрытия пола влажная или мокрая; покрытие пола пропитывается жидкостями;
- большая - постоянное или часто повторяющееся воздействие жидкостей на покрытие пола.
Интенсивность механических воздействий на пол:
Весьма значительная, значительная, умеренная, слабая (табл. 1).
───────────────────────────┬───────────────────────────────────────────────
Механическое воздействие │ Интенсивность механических воздействий
├─────────────┬─────────────┬─────────┬─────────
│ весьма │значительная │умеренная│ слабая
│значительная │ │ │
───────────────────────────┼─────────────┼─────────────┼─────────┼─────────
1 │ 2 │ 3 │ 4 │ 5
───────────────────────────┼─────────────┼─────────────┼─────────┼─────────
Движение пешеходов на 1 м │ - │ - │ 500 │Менее 500
ширины прохода, число людей│ │ │ и более │
в сутки │ │ │ │
Движение транспорта на │ 10 и более │ Менее 10 │ - │ -
гусеничном ходу на одну │ │ │ │
полосу движения, ед./сут │ │ │ │
Движение транспорта на │ Более 200 │ 100 - 200 │ Менее │Движение
резиновом ходу на одну │ │ │ 100 │ ручных
полосу движения, ед./сут │ │ │ │ тележек
Движение тележек на │ Более 50 │ 30 - 50 │Менее 30 │ -
металлических шинах, │ │ │ │
перекатывание круглых │ │ │ │
металлических предметов │ │ │ │
на одну полосу движения, │ │ │ │
ед./сут │ │ │ │
Удары при падении с высоты │ 20 │ 10 │ 5 │ 2
1 м твердых предметов │ │ │ │
массой, кг, не более │ │ │ │
Волочение твердых предметов│Соответствует│Соответствует│ - │ -
с острыми углами и ребрами │ │ │ │
Работа острым инструментом │Соответствует│Соответствует│ - │ -
на полу (лопатами и др.) │ │ │ │
───────────────────────────┴─────────────┴─────────────┴─────────┴─────────
Теплоусвоение пола - свойство поверхности покрытия пола в большей или меньшей степени воспринимать тепло при периодических колебаниях теплового потока или температуры воздуха.
Безыскровость пола - отсутствие искрообразования на покрытии пола при ударах или волочении по нему металлических или каменных предметов, а также при разрядах статического электричества.
Антистатичность пола - отсутствие скопления на покрытии пола статического электричества.
Беспыльность пола - полное отсутствие отделения продуктов износа покрытия пола, образующихся при изнашивающих воздействиях от движения пешеходов и транспорта.
Звукоизолирующая способность пола - ослабление шума при его проникновении через пол на перекрытии.
4.1. Проектирование полов должно осуществляться с учетом эксплуатационных воздействий на них, специальных требований (безыскровость, антистатичность, беспыльность, теплоусвоение, звукоизолирующая способность) и климатических условий строительства.
4.2. Полы, выполняемые по перекрытиям, при предъявлении к последним требований по защите от шума, должны обеспечивать нормативные параметры звукоизоляции перекрытий в соответствии с указаниями
СНиП II-12-77.
4.3. Полы с нормируемым показателем теплоусвоения поверхности пола должны проектироваться с учетом требований
СНиП II-3-79* издания 1998 г.
4.4. Полы животноводческих, птицеводческих и звероводческих зданий и помещений должны проектироваться с учетом требований
СНиП 2.10.03-84.
4.5. В помещениях, классифицируемых в соответствии с
НПБ 105-95 по категориям взрывоопасной и пожарной опасности, где возможно образование горючих и взрывоопасных смесей, газов, пыли, жидкостей и других веществ в концентрациях, при которых искры, образующиеся при ударе предметов о пол или при разрядах статического электричества, могут вызывать взрыв или возгорание, полы должны выполняться из материалов группы горючести НГ и быть безыскровыми.
4.6. В помещениях, где полы подвержены воздействию кислот, щелочей, масел и других агрессивных жидкостей, они должны быть химстойкими и выполняться из материалов с учетом требований, предъявляемых
СНиП 2.03.11-85.
4.7. В помещениях со средней и большой интенсивностью воздействия на пол жидкостей в покрытии пола должны быть предусмотрены уклоны, равные:
0,5 - 1% - при бесшовных покрытиях и покрытиях из плит (кроме бетонных покрытий всех видов);
1 - 2% - при покрытиях из кирпича и бетонов всех видов.
Уклоны лотков и каналов в зависимости от применяемых материалов должны приниматься соответственно не менее указанных.
Направление уклонов должно обеспечивать отвод сточных вод в лотки, каналы и трапы, без пересечения проездов и проходов.
4.8. В помещениях для хранения и переработки продуктов в конструкции полов не должно быть пустот.
4.9. В соответствии со
СНиП 21-01-97 в помещениях класса Ф5 категорий А, Б и В1, в которых производятся, применяются или хранятся легковоспламеняющиеся жидкости, полы должны проектироваться из материалов группы горючести НГ или Г-1.
4.10. Не допускается применение ковровых покрытий из материалов по воспламеняемости групп В2, В3 и по дымообразующей способности групп Д2, Д3 в полах зданий классов функциональной пожарной опасности Ф2, Ф3 и Ф4 по
СНиП 21-01-97.
4.11. В соответствии со
СНиП 21-01-97 в общих коридорах, холлах, фойе, вестибюлях, лестничных клетках и лифтовых холлах покрытия полов должны проектироваться из материалов с более высокой пожарной опасностью, чем Г3, РП2, Д3, Т2.
5. Грунт основания под полы
5.1. Грунт основания под полы должен исключать возможность деформации конструкции пола вследствие просадки и пучения.
5.2. Не допускается применять в качестве основания под полы торф, чернозем и другие растительные грунты, а также насыпные и естественные грунты без предварительного уплотнения их. Степень уплотнения грунтов должна соответствовать требованиям
СНиП 3.02.01-87.
5.3. Нескальное грунтовое основание под бетонный подстилающий слой должно быть предварительно укреплено щебнем или гравием, утопленным на глубину не менее 40 мм.
6.1. Нежесткие подстилающие слои (гравийные, щебеночные, асфальтобетонные, песчаные, шлаковые) должны применяться при условии обязательного механического уплотнения их.
6.2. Жесткий подстилающий слой должен выполняться из бетона класса не ниже В22,5.
6.3. В полах, которые в процессе эксплуатации могут подвергаться воздействиям агрессивных жидкостей, веществ животного происхождения и органических растворителей любой интенсивности, либо воды, нейтральных растворов, масел и эмульсий из них средней и большой интенсивности, должен предусматриваться жесткий подстилающий слой.
6.4. Толщина подстилающего слоя устанавливается расчетом на прочность от существующих нагрузок и должна быть не менее:
песчаного - 60 мм
шлакового, гравийного и щебеночного - 80 мм
бетонного - 100 мм
6.5. При использовании бетонного подстилающего слоя в качестве покрытия его толщина по сравнению с расчетной должна быть увеличена на 20 - 30 мм.
6.6. Отклонение поверхности подстилающего слоя от горизонтальной плоскости на длине 2 м не должно превышать для:
песчаных, гравийных, шлаковых, щебеночных - 15 мм
бетонных под покрытия на прослойке из горячей
битумной мастики и при укладке оклеечной гидроизоляции - 5 мм
бетонных под покрытия других типов - 10 мм
6.7. В бетонных подстилающих слоях полов помещений, при эксплуатации которых возможны резкие перепады температур, должны быть предусмотрены деформационные швы, располагаемые между собой во взаимно перпендикулярных направлениях с шагом 6 - 8 м.
Они должны совпадать с деформационными швами зданий, а в полах с уклонами для стока жидкостей - с водоразделом полов.
7.1. Гидроизоляция от проникновения сточных вод и других жидкостей должна предусматриваться при средней и большой интенсивности воздействия:
воды и нейтральных растворов - в полах на перекрытии, на просадочных и набухающих грунтах основания, а также в полах на пучинистых грунтах основания в неотапливаемых помещениях;
органических растворителей, минеральных масел и эмульсий из них - в полах на перекрытии;
кислот, щелочей и их растворов, а также веществ животного происхождения - в полах на грунте и на перекрытии.
7.2. Гидроизоляция от проникания сточных вод и других жидкостей должна быть непрерывной в конструкции пола, стенках и днищах лотков и каналов, над фундаментами под оборудование, а также в местах перехода пола к этим конструкциям. В местах примыкания пола к стенам, фундаментам под оборудование, трубопроводам и другим конструкциям, выступающим над полом, гидроизоляция должна предусматриваться непрерывной на высоту не менее 300 мм от уровня покрытия пола.
7.3. При средней и большой интенсивности воздействия жидкостей на пол, а также под сточными лотками, каналами и трапами должна применяться оклеечная гидроизоляция.
При средней и большой интенсивности воздействия на пол минеральных масел, эмульсий из них или органических растворителей, применение оклеечной гидроизоляции из материалов на основе битума не допускается.
7.4. Гидроизоляция под бетонным подстилающим слоем должна быть предусмотрена:
- при расположении в зоне опасного капиллярного поднятия грунтовых вод низа подстилающего слоя в помещениях, где отсутствует воздействие на пол сточных вод средней и большой интенсивности. В этом случае при проектировании гидроизоляции высота (м) опасного поднятия грунтовых вод от их горизонта должна приниматься равной для основания из песка крупного - 0,3; песка средней крупности и мелкого - 0,5; песка пылеватого - 1,5; суглинка, пылеватого суглинка, супеси и глины - 2,0;
- при расположении подстилающего слоя ниже уровня отмостки здания в помещениях, где отсутствует воздействие на пол сточных вод средней и большой интенсивности;
- при средней и большой интенсивности воздействия на пол растворов серной, соляной, азотной, уксусной, фосфорной, хлорноватистой и хромовой кислот.
8. Теплозвукоизоляционный слой
8.1. Теплоизоляционный слой должен предусматриваться в полах с нормируемым теплоусвоением, в полах на грунте при расположении его выше отмостки здания или ниже ее на 0,5 м, в полах на перекрытиях, расположенных над арками, неотапливаемыми помещениями или подвалами, а также в зонах примыкания пола к наружным стенам или стенам, отделяющим отапливаемые помещения от неотапливаемых.
8.2. Требуемая толщина теплоизоляционного слоя должна устанавливаться расчетом в соответствии с указаниями
СНиП II-3-79*.
8.3. Требуемая толщина звукоизоляционного слоя и прокладок должна устанавливаться расчетом в соответствии с указаниями
СНиП II-12-77.
9.1. Прочность на сжатие материала прослойки в МПа (кгс/см2) в зависимости от интенсивности механических воздействий
(табл. 1) должна быть не менее - для прослойки из:
- цементно-песчаного раствора - 15 (150) - при слабой интенсивности и 30 (300) - при умеренной, значительной и весьма значительной интенсивности;
- из раствора на жидком стекле - 20 (200);
- из мелкозернистого бетона класса не ниже В30.
9.2. Толщина прослойки должна быть не менее, мм:
- из цементно-песчаного раствора и на жидком стекле с уплотняющей добавкой - 10;
- на основе синтетических смол - 3;
- из горячей битумной мастики - 2;
- из мелкозернистого бетона класса не ниже В30 - 30;
- из песка и теплоизоляционных материалов - 60.
9.3. Для полов, подверженных воздействию жидкостей, не допускается применять прослойки из песка и теплоизоляционных материалов.
10.1. Стяжки должны предусматриваться, когда необходимо:
- выравнивание поверхности нижележащего слоя;
- укрытие трубопроводов;
- распределение нагрузок по теплозвукоизоляционным слоям;
- обеспечение нормируемого теплоусвоения пола;
- создание уклонов на полах, на перекрытиях.
10.2. Наименьшая толщина стяжки (мм) для создания уклона в местах примыкания к сточным лоткам, каналам и трапам должна быть: при укладке ее по плитам перекрытия - 20, по тепло- или звукоизоляционному слою - 40. Толщина стяжки для укрытия трубопроводов должна быть на 15 - 20 мм больше диаметра трубопроводов.
10.3. Для выравнивания поверхности нижележащего слоя и укрытия трубопроводов стяжки должны предусматриваться из бетона класса не ниже В12,5 или из цементно-песчаного раствора с прочностью на сжатие не ниже 15 МПа (150 кгс/см2).
10.4. Для создания уклона на перекрытии стяжки должны предусматриваться из бетона класса не ниже В7,5 или из цементно-песчаного раствора с прочностью на сжатие не ниже 10 МПа (100 кгс/см2).
10.5. Под наливные полимерные покрытия стяжки должны предусматриваться из бетона класса не ниже В15, а из цементно-песчаного раствора - с прочностью на сжатие не ниже 20 МПа (200 кгс/см2).
10.6. Стяжки из самовыравнивающихся составов на основе гипсовых вяжущих, используемые под покрытия из линолеума и штучного паркета, должны иметь прочность на сжатие не менее 15 МПа.
10.7. Легкий бетон стяжек, выполняемых для обеспечения нормированного теплоусвоения пола, должен быть класса не ниже В5, а поризованный цементно-песчаный раствор прочностью на сжатие не менее 5 МПа (50 кгс/см2).
10.8. Прочность на изгиб стяжек, укладываемых по слою из сжимаемых тепло- или звукоизоляционных материалов, должна быть не менее 2,5 МПа (25 кгс/см2).
10.9. При сосредоточенных нагрузках на пол более 20 кН (200 кгс) толщина стяжки по тепло- или звукоизоляционному слою должна устанавливаться расчетом из условия исключения деформации теплозвукоизоляционного слоя.
10.10. Стяжки из асфальтобетона должны предусматриваться только под покрытия из штучного шпунтованного паркета.
10.11. В местах сопряжения стяжек, выполненных по звукоизоляционным прокладкам или засыпкам с другими конструкциями (стенами, перегородками, трубопроводами, проходящими через перекрытие и т.п.), должны быть предусмотрены зазоры шириной 25 - 30 мм на всю толщину стяжки, заполняемые звукоизоляционным материалом.
10.12. Отклонение поверхности стяжки от горизонтальной плоскости на длине 2 м не должно превышать при покрытиях:
- полимерных мастичных, из линолеума, рулонных на основе синтетических волокон, паркета, ламината и поливинилхлоридных плиток - 2 мм;
- из других видов плит, торцевой шашки и кирпича, укладываемых на мастике, поливинилацетатцементно-бетонных, а также для укладки оклеечной гидроизоляции - 4 мм;
- прочих типов - 6 мм.
11.1. Толщина и прочность материала монолитных и покрытий полов из плит в зависимости от интенсивности механических воздействий
(табл. 1) должна быть не ниже указанной в табл. 2.
┌─────────────────────┬────────────────────────────────────────────────────────────────────────┐
│ Материал покрытия │ Интенсивность механических воздействий на пол │
│ пола ├─────────────────┬─────────────────┬─────────────────┬──────────────────┤
│ │ Весьма │ Значительная │ Умеренная │ Слабая │
│ │ значительная │ │ │ │
│ ├───────┬─────────┼───────┬─────────┼───────┬─────────┼────────┬─────────┤
│ │Толщина│ Класс │Толщина│ Класс │Толщина│ Класс │Толщина │ Класс │
│ │покры- │ бетона │покры- │ бетона │покры- │ бетона │покры- │ бетона │
│ │тия, мм│ или │тия, │ или │тия, мм│ или │тия, мм │ или │
│ │ │прочность│мм │прочность│ │прочность│ │прочность│
│ │ │материала│ │материала│ │материала│ │материала│
│ │ │покрытия,│ │покрытия,│ │покрытия,│ │покрытия,│
│ │ │ МПа │ │ МПа │ │ МПа │ │ МПа │
│ │ │(кгс/см2)│ │(кгс/см2)│ │(кгс/см2)│ │(кгс/см2)│
├─────────────────────┼───────┼─────────┼───────┼─────────┼───────┼─────────┼────────┼─────────┤
│ 1 │ 2 │ 3 │ 4 │ 5 │ 6 │ 7 │ 8 │ 9 │
├─────────────────────┼───────┼─────────┼───────┼─────────┼───────┼─────────┼────────┼─────────┤
│1. Бетоны: │ │ │ │ │ │ │ │ │
│а) цементный │50
<*> │В40
<**> │ 30 │ В30 │ 30 │ В22,5 │ 30 │ В15 │
│б) мозаичный │ не применяется │ 30 │40 (400) │ 25 │30 (300) │ 20 │20 (200) │
│в) поливинилацетатный│ " │ 30 │40 (400) │ 20 │30 (300) │ 20 │20 (200) │
│и латексный │ │ │ │ │ │ │ │
│г) кислотостойкий │ " │ 40 │25 (250) │ 30 │20 (200) │ 20 │20 (200) │
│д) асфальтобетон │ " │ 50 │ - │ 40 │ - │ 25 │ - │
├─────────────────────┼─────────────────┼───────┴─────────┼───────┼─────────┼────────┼─────────┤
│2. Цементно-песчаный │ Не применяется │ Не применяется │ 30 │30 (300) │ 20 │20 (200) │
│раствор │ │ │ │ │ │ │
├─────────────────────┼─────────────────┼─────────────────┼───────┼─────────┼────────┼─────────┤
│3. Поливинилацетатно-│ Не применяется │ Не применяется │ 20 │ - │ 15 │ - │
│цементно-опилочный │ │ │ │ │ │ │
│состав │ │ │ │ │ │ │
├─────────────────────┼─────────────────┼─────────────────┼───────┴─────────┼────────┼─────────┤
│4. Наливной состав на│ " │ " │ Не применяется │ 2 - 4 │ - │
│основе синтетических │ │ │ │ │ │
│смол │ │ │ │ │ │
├─────────────────────┼───────┬─────────┼───────┬─────────┼───────┬─────────┼────────┼─────────┤
│5. Ксилолит │ " │ " │ " │ - │ 20 │ - │ 15 │ - │
├─────────────────────┼───────┴─────────┼───────┼─────────┼───────┼─────────┼────────┼─────────┤
│6. Цементно-бетонные │ " │ 40 │ В30 │ 30 │ В22,5 │ 30 │ В15 │
│плиты │ │ │ │ │ │ │ │
├─────────────────────┼─────────────────┼───────┼─────────┼───────┼─────────┼────────┼─────────┤
│7. Мозаично-бетонные │ Не применяется │ 40 │40 (400) │ 30 │30 (300) │ 20 │20 (200) │
│плиты │ │ │ │ │ │ │ │
├─────────────────────┼─────────────────┼───────┼─────────┼───────┼─────────┼────────┼─────────┤
│8. Керамические │ " │ 50 │ - │30 - 35│ - │15 - 20 │ - │
│кислотоупорные плиты │ │ │ │ │ │ │ │
└─────────────────────┴─────────────────┴───────┴─────────┴───────┴─────────┴────────┴─────────┘
<*> Для бетонного с упрочненным верхним слоем 70 мм сталефибробетонное 40 мм.
<**> Для бетонного с упрочненным верхним слоем В22,5 сталефибробетонное В25.
При размещении трубопроводов в бетонных покрытиях толщина покрытия пола должна быть не менее диаметра трубопровода плюс 50 мм.
11.2. Полная толщина полов с бетонным покрытием должна определяться расчетом на прочность и быть не менее 120 мм.
11.3. Толщина половой доски для покрытия должна быть не менее 29 мм, паркетных досок не менее 25 мм, паркетных щитов не менее 30 мм.
11.4. Воздушное пространство под покрытием полов из досок, реек, паркетных досок и щитов не должно сообщаться с вентиляционными и дымовыми каналами, а в помещениях площадью более 25 м2 дополнительно должно разделяться перегородками из досок на замкнутые отсеки размером (4 - 5) - (5 - 6) м.
11.5. В помещениях, классифицируемых по классам чистоты, полы должны быть беспыльными, отвечающими требованиям, предъявляемым классами беспыльности помещений.
Истираемость покрытия пола не должна превышать для помещений класса беспыльности 1000 - 0,06 г/см2, класса 10000 - 0,09 г/см2 и класса 100000 - 0,12 г/см2.
11.6. Нормативный коэффициент теплоусвоения покрытия полов должен соответствовать требованиям
табл. 11 СНиП II-3-79*, издание 1998 г.
11.7. Показатель теплоусвоения покрытия пола не нормируется в производственных помещениях с температурой поверхности пола выше 23 °C, в отапливаемых производственных помещениях, где выполняются тяжелые физические работы (категория III), в производственных зданиях, где на участках пола постоянных рабочих мест размещены деревянные щиты или теплоизолирующие коврики, а также в общественных зданиях, эксплуатация которых не связана с постоянным пребыванием людей (залы музеев и выставок, фойе театров и кинотеатров и т.п.).
11.8. Поверхность покрытия пола должна быть ровной. Отклонение поверхности покрытия пола от горизонтальной плоскости на длине 2 м не должно превышать для покрытий:
- полимерных мастичных, дощатых, из ламината, паркетных, из линолеума, рулонных на основе синтетических волокон и поливинилхлоридных плит - 2 мм;
- из плит бетонных (всех видов), керамических, каменных, ксилолитовых, торцовых шашек на мастике, из чугунных и стальных плит, кирпича (всех видов) на растворе - 4 мм;
- асфальтобетонных, торцовых шашек из чугунных плит и кирпича по прослойке из песка - 6 мм.
11.9. Высота уступа между смежными изделиями покрытий из штучных материалов не должна превышать в полах:
- из кирпича, торцовых шашек, бетонных, чугунных и стальных плит - 2 мм;
- из керамических, каменных, мозаично-бетонных плит - 1 мм.
11.10. В полах дощатых, паркетных, из линолеума, ламината, поливинилхлоридных плиток уступы между смежными изделиями не допускаются.
11.11. Отклонение швов в покрытиях пола между рядами штучных материалов от прямой линии не должно превышать 10 мм на длине ряда в 10 м.
11.12. Деформационные швы в бетонных покрытиях должны быть предусмотрены на глубину 1/3 толщины покрытия, но не менее 40 мм, и совпадать со стыками плит перекрытия, деформационными швами в подстилающем слое, а также с границами карт армирования.
ПРОЕКТИРОВАНИЕ, УСТРОЙСТВО И ПРАВИЛА ПРИЕМКИ ПОЛОВ
Выбор конструктивного решения пола следует осуществлять с учетом видов и интенсивности эксплуатационных воздействий, при которых, исходя из технико-экономической целесообразности принятого решения в конкретных условиях строительства, обеспечивается:
- надежность и долговечность пола;
- экономия строительных материалов;
- наиболее полное использование физико-механических свойств примененных материалов;
- минимум трудозатрат на устройство и эксплуатацию;
- максимальная механизация процесса устройства;
- отсутствие влияния вредных факторов использованных в конструкциях полов материалов;
- оптимальность гигиенических условий для людей;
- пожаробезопасность.
При проектировании и устройстве полов, кроме указаний настоящего Руководства, должны выполняться требования действующих норм проектирования, правил техники безопасности, по охране труда и противопожарной безопасности.
2.1. При проектировании грунтовых оснований должны соблюдаться технические требования, изложенные в
Разделе I.
2.2. При пучинистых грунтах, подверженных в процессе эксплуатации пола замерзанию, рекомендуется предусматривать одну из следующих мер:
- устройство по основанию после снятия растительного грунта слоя теплоизоляции из неорганических влагостойких материалов, в качестве которых следует применить плитный экструзионный пенополистирол;
- замену пучинистого грунта на непучинистый.
2.3. Макропористые грунты следует закрепить или заменить на грунт с малой осадкой.
2.4. Грунты насыпные или с нарушенной структурой рекомендуется очистить от примесей древесно-строительного мусора и уплотнить.
2.5. При применении для устройства оснований грунтовых смесей их рекомендуется равномерно укладывать по выровненному основанию слоями толщиной 100 - 120 мм с последующим уплотнением каждого слоя.
3.1. При проектировании подстилающего слоя должны соблюдаться технические требования, изложенные в
Разделе I.
3.2. Нежесткий подстилающий слой (песчаный, гравийный, щебеночный и др.) рекомендуется проектировать в производственных зданиях под покрытия из плит жаростойкого железобетона, чугунных и стальных плит.
3.3. При устройстве подстилающего слоя из песка его следует укладывать слоями толщиной 5 - 10 см с последующим уплотнением. При этом для повышения уплотнения песок рекомендуется предварительно увлажнить до 7 - 10%.
3.4. Подстилающие слои должны выполняться по предварительно выровненному основанию.
3.5. Гранулометрический состав смеси в % по массе для подстилающих слоев из щебня, естественного камня и доменных шлаков рекомендуется принимать по таблице 3.1.
Таблица 3.1
──────────────────────┬───────────────┬──────────────────┬─────────────────
Крупность заполнителя,│ Из щебня │ Из естественного │ Из доменных
мм │ │ камня │ шлаков
──────────────────────┼───────────────┼──────────────────┼─────────────────
Более 50 │ 40 │ 20 │ -
Более 40 │ 20 │ 30 │ 40
25 и более │ 40 │ 50 │ 60
──────────────────────┴───────────────┴──────────────────┴─────────────────
3.6. Для гравийно-песчаного подстилающего слоя рекомендуется использовать следующий состав гравийно-песчаных смесей.
Размер отверстий, мм Число зерен, проходящих
через сито 0, по массе
40 90 - 100
20 75 - 90
10 55 - 75
5 40 - 65
2,5 30 - 55
1,2 25 - 45
0,6 20 - 35
0,3 15 - 30
0,15 10 - 25
0,075 7 - 20
3.7. При устройстве подстилающих слоев из щебеночных и гравийно-песчаных смесей их следует предварительно увлажнить до 5 - 7% и укладывать сплошными равномерными слоями толщиной 80 - 200 мм с последующим уплотнением.
3.8. Бетонные подстилающие слои следует выполнять под все виды покрытий с учетом требований
СНиП 3.04.01-87 и
СНиП 2.03.01-84*. При этом рекомендуется использовать составы бетонных смесей, приведенных в табл. 3.2.
Таблица 3.2
Класс бетона | Составляющие, мас. ч. |
Вода | Портландцемент или глиноземистый цемент марки 400 | Крупно- или среднезернистый песок | Щебень или гравий крупностью до 15 мм | % износа щебня | Предел прочности щебня при сжатии, МПа |
В22 | 0,5 | 1 | 1,4 | 2,4 | 40 | 80 |
В30 | 0,4 | 1 | 1 | 0,7 | 45 | 100 |
3.9. При нескальных грунтах основания рекомендуется перед укладкой бетона подстилающего слоя втопить в грунт на глубину 40 мм гравий или щебень крупностью 40 - 60 мм с прочностью на сжатие не менее 20 МПа. При необходимости грунт основания предварительно следует увлажнить до 10 - 20%.
3.10. Устройство бетонных подстилающих слоев рекомендуется выполнять традиционным методом с виброуплотнением смеси или методом вибровакуумирования. При вибровакуумировании содержание песка на 1 м3 бетонной смеси следует принимать на 150 - 200 кг больше, чем в обычных смесях, а ее подвижность должна составлять 8 - 12 см.
3.11. Бетон в подстилающем слое следует укладывать полосами шириной 3 - 4,5 м по рейкам с последующим уплотнением виброрейкой и заглаживанием. При этом разбивка полос бетонирования должна совпадать с расположением деформационных швов, мест сопряжения полов из различных материалов, примыканий к фундаментам под оборудование и т.п.
3.12. При необходимости в последующем выполнения по бетонному подстилающему слою оклеечной или обмазочной гидроизоляции или устройства покрытия из асфальтобетона или штучных материалов, приклеиваемых битумными составами, выровненную поверхность бетона сразу после укладки бетонной смеси следует огрунтовывать раствором битума в нелетучем растворителе в соотношении по массе 1:3, а по затвердевшей поверхности бетона раствором битума в летучем растворителе в соотношении по массе 1:2.
3.13. При устройстве деформационных швов в бетонном подстилающем слое следует в местах расположения разрывов перед укладкой бетона разместить рейки, обмазанные антиадгезионным составом или обернутые рулонным кровельным материалом, которые удаляют после затвердевания бетонной смеси, а швы заполняют герметизирующими материалами.
3.14. Для полов из жаростойкого, кислотостойкого бетонов и т.п. крупность щебня в бетонной смеси подстилающего слоя не должна превышать 40 мм, а ее подвижность 2 см.
3.15. Для щелочестойких подстилающих слоев рекомендуется применять бетонные смеси с содержанием цемента не менее 500 кг/м3 при заполнителе из плотных известняковых или изверженных пород, а также из основных доменных шлаков.
3.16. Для жаростойких бетонных подстилающих слоев рекомендуется применять бетонные смеси с подвижностью 2 - 4 см при заполнителе с прочностью на сжатие не менее 20 МПа, огнеупорностью не ниже 1610 °C с пылевидной воздушно-сухой добавкой, содержащей не менее 70% зерен крупностью до 0,075 мм.
3.17. Для кислотостойких бетонных подстилающих слоев следует применять бетонные смеси, аналогичные тем, которые используются для устройства кислотостойких покрытий.
3.18. Для снижения коэффициента теплоусвоения пола рекомендуется применять для устройства подстилающего слоя легкие бетоны - пенополистиролкерамзитобетон, пенополистиролшлакобетон толщиной 120 - 150 мм класса не ниже В7,5.
3.19. В бетонном подстилающем слое при его устройстве должны быть заложены анкеры и пробки для крепления деталей окаймления полов или оставлены гнезда для последующей заделки этих деталей.
4.1. При проектировании прослойки должны выполняться технические требования, изложенные в
Разделе I.
4.2. При выборе материала и толщины прослойки в зависимости от интенсивности воздействия на пол жидкостей и нагрева, следует руководствоваться таблицей 4.1.
┌─────────────┬─────────────┬────────┬──────────────────────────────────────────────────────────────────┬───────┐
│ Материал │ Возможный │Рекомен-│ Предельно допускаемая интенсивность воздействия на пол жидкостей │Нагрев │
│ прослойки │ материал │дуемая ├─────────┬────────┬───────┬───────┬───────────────┬───────────────┤пола до│
│ │покрытия пола│толщина │воды и │мине- │органи-│веществ│ кислот │ щелочей │темпе- │
│ │ │прослой-│растворов│раль- │ческих │живот- ├───────┬───────┼───────┬───────┤ратуры,│
│ │ │ки, мм │нейтраль-│ных │раство-│ного │концен-│интен- │концен-│интен- │°C │
│ │ │ │ной │масел и │рителей│проис- │трация,│сив- │трация,│сив- │ │
│ │ │ │реакции │эмульсий│ │хожде- │%, не │ность │%, не │ность │ │
│ │ │ │ │из них │ │ния │более │ │более │ │ │
├─────────────┼─────────────┼────────┼─────────┼────────┼───────┼───────┼───────┼───────┼───────┼───────┼───────┤
│ 1 │ 2 │ 3 │ 4 │ 5 │ 6 │ 7 │ 8 │ 9 │ 10 │ 11 │ 12 │
├─────────────┼─────────────┼────────┼─────────┼────────┼───────┼───────┼───────┼───────┼───────┼───────┼───────┤
│Цементно- │Плиты │10 - 15 │ Большая │Большая │Большая│Малая │ - │Не │ 8 │Малая │ 100 │
│песчаный │бетонные, │ │ │ │ │ │ │допус- │ │ │ │
│раствор │мозаично- │ │ │ │ │ │ │кается │ │ │ │
│ │бетонные, из │ │ │ │ │ │ │ │ │ │ │
│ │природного │ │ │ │ │ │ │ │ │ │ │
│ │камня │ │ │ │ │ │ │ │ │ │ │
│ │ │ │ │ │ │ │ 2 │ │ 3 │ │ │
│Цементно- │Плитки │10 - 15 │ " │ Малая │Средняя│Средняя│ 0 │ Малая │ 8 │Средняя│ 100 │
│песчаный │керамические,│ │ │ │ │ │ -- │ │ │ │ │
│раствор │кислотостой- │ │ │ │ │ │ 10 │ │ │ │ │
│с добавкой │кие, каменные│ │ │ │ │ │ │ │ │ │ │
│латекса │литые, кисло-│ │ │ │ │ │ │ │ │ │ │
│ │тостойкий │ │ │ │ │ │ │ │ │ │ │
│ │кирпич │ │ │ │ │ ├───────┼───────┤ │ │ │
│На жидком │ То же │10 - 12 │ " │ " │Большая│Большая│ 100 │Большая│ - │Не │ 100 │
│стекле с │ │ │ │ │ │ │ │ │ │допус- │ │
│уплотняющей │ │ │ │ │ │ ├───────┼───────┤ │кается │ │
│добавкой │ │ │ │ │ │ │ │ │ │ │ │
│ │ │ │ │ │ │ ├───────┼───────┼───────┼───────┤ │
│ │ │ │ │ │ │ │ 4 │ │ │ │ │
│На основе │Плитки │ 3 - 4 │ " │ " │Средняя│ " │ 15 │Большая│ 15 │Средняя│ 70 │
│синтетических│керамические,│ │ │ │ │ │ --- │ │ │ │ │
│смол (реакто-│кислотостой- │ │ │ │ │ │ 30 │ │ │ │ │
│пластов) │кие, каменные│ │ │ │ │ │ │ │ │ │ │
│ │литые, │ │ │ │ │ │ │ │ │ │ │
│ │ламинат, │ │ │ │ │ │ │ │ │ │ │
│ │штучный │ │ │ │ │ ├───────┼───────┼───────┼───────┤ │
│ │паркет │ │ │ │ │ │ │ │ │ │ │
│ │ │ │ │ │ │ ├───────┼───────┼───────┼───────┤ │
│Горячая │Торцовая │ 2 - 3 │ Большая │Не │Не │Не │ 10 │Большая│ 8 │Средняя│ 70 │
│битумная │шашка │ │ │допус- │допус- │допус- │ -- │ │ │ │ │
│мастика │ │ │ │кается │кается │кается │ 20 │ │ │ │ │
│ │ │ │ │ │ │ ├───────┼───────┼───────┼───────┤ │
│ │ │ │ │ │ │ │ │ │ │ │ │
│Мелко- │Стальные │30 - 36 │ - │Большая │Большая│Малая │ - │Не │ 8 │Малая │ 100 │
│зернистый │и чугунные │ │ │ │ │ │ │допус- │ │ │ │
│бетон класса │плиты │ │ │ │ │ │ │кается │ │ │ │
│не ниже В30 │ │ │ │ │ │ │ │ │ │ │ │
│Песок │Плиты из │ 220 │ │ Не допускается │ │ │ │ │1000 - │
│ │жаростойкого │ │ │ │ │ │ │ │ 5│
│ │ │ │ │ │ │ │ │ │ 1400 │
│ │бетона, │ 150 │ │ │ │ │ │ │ │ │600 - │
│ │чугунные │ │ │ │ │ │ │ │ │ │ 5│
│ │ │ │ │ │ │ │ │ │ │ │ 1000 │
│ │плиты │ 100 │ │ │ │ │ │ │ │ │200 - │
│ │ │ │ │ │ │ │ │ │ │ │ 5│
│ │ │ │ │ │ │ │ │ │ │ │ 600 │
│ │ │ 60 │ │ │ │ │ │ │ │ │ Менее │
│ │ │ │ │ │ │ │ │ │ │ │ 5 │
│ │ │ │ │ │ │ │ │ │ │ │ 200 │
│ │ │ │ │ │ │ │ │ │ │ │ │
│Теплоизоля- │Плиты из │ 150 │ │ │ │ │ │ │ │ │1000 - │
│ционные │жаростойкого │ │ │ │ │ │ │ │ │ │ 5│
│материалы │бетона, │ │ │ │ │ │ │ │ │ │ 1400 │
│(каменно- │чугунные │ 100 │ │ │ │ │ │ │ │ │600 - │
│угольные │плиты │ │ │ │ │ │ │ │ │ │ 5│
│шлаки, моло- │ │ │ │ │ │ │ │ │ │ │ 1000 │
│тые отходы │ │ 70 │ │ │ │ │ │ │ │ │200 - │
│из кирпича │ │ │ │ │ │ │ │ │ │ │ 5│
│и другие │ │ │ │ │ │ │ │ │ │ │ 600 │
│жаростойкие │ │ 60 │ │ │ │ │ │ │ │ │ Менее │
│материалы │ │ │ │ │ │ │ │ │ │ │ 5 │
│с объемной │ │ │ │ │ │ │ │ │ │ │ 200 │
│массой │ │ │ │ │ │ │ │ │ │ │ │
│в уплотненном│ │ │ │ │ │ │ │ │ │ │ │
│состоянии │ │ │ │ │ │ │ │ │ │ │ │
│1 - 1,2 т/м3)│ │ │ │ │ │ │ │ │ │ │ │
└─────────────┴─────────────┴────────┴─────────┴────────┴───────┴───────┴───────┴───────┴───────┴───────┴───────┘
1. Над чертой указаны: азотная, серная, соляная, фосфорная, хлорноватистая, хромовая, уксусная, под чертой - масляная, молочная, муравьиная, щавелевая кислоты.
2. При заполнении швов полимерными мастиками

.
3. При заполнении швов полимерными мастиками 15%.
4. Для окисляющих сред не более 5%.
5. При установке на пол горячих предметов, деталей, проливах расплавленного металла и т.п., нагреве воздуха на уровне пола.
Примечания. 1. Температурой пола условно считается температура воздуха на уровне пола или температура горячих предметов при контакте с полом.
2. Приведенный в таблице тип прослойки может быть применен при воздействиях, не превышающих ограничений, установленных в таблице. Прослойки, допускающие воздействия, отмеченные рамкой, применяют только при наличии таких воздействий.
5.1. При проектировании стяжек должны выполняться технические требования, изложенные в
Разделе I.
5.2. Стяжки могут быть предусмотрены в монолитном и сборном вариантах.
5.3. Для устройства монолитных стяжек рекомендуется применять смеси на портландцементе и магнезиальном вяжущем с осадкой конуса 2 - 4 см, а также смеси из асфальтобетона и гипса.
5.4. Рекомендуемые составы цементно-песчаных растворов приведены в таблице 5.1, а из поризованных цементно-песчаных растворов - в
таблице 5.2.
Таблица 5.1
───────────────────┬──────────────────┬───────────────────┬────────────────
Прочность в МПа │ Вода │ Цемент марки 400 │ Песок
───────────────────┼──────────────────┼───────────────────┼────────────────
20 │ 0,48 │ 1 │ 2,8
30 │ 0,4 │ 1 │ 2,4
40 │ 0,3 │ 1 │ 2
───────────────────┴──────────────────┴───────────────────┴────────────────
────────────────────┬──────────────────────────────────────────────────────
Составляющие │ Прочность, МПа
├─────────────────┬──────────────────┬─────────────────
│ 5,0 │ 7,5 │ 10,0
────────────────────┼─────────────────┼──────────────────┼─────────────────
Портландцемент М 500│ 420 │ 450 │ 480
Песок │ 735 │ 900 │ 960
Вода │ 330 - 350 │ 350 - 380 │ 375 - 400
Алюминиевая пудра │ 0,4 │ 0,35 │ 0,3
ПАП-1 │ │ │
Натрий сернокислый │ 4 │ 3,5 │ 3
────────────────────┴─────────────────┴──────────────────┴─────────────────
5.5. Для бетонных стяжек следует применять в качестве крупного заполнителя щебень или гравий фракции 5 - 15 мм с прочностью на сжатие не менее 20 МПа.
5.6. Бетонные выравнивающие стяжки, устраиваемые по бетонному основанию под полимерные покрытия на основе эпоксидных и полиуретановых смол, рекомендуется выполнять толщиной не менее 25 мм из бетона класса В22,5 - при умеренной интенсивности воздействий и 20 мм из бетона класса В15 - при слабой интенсивности воздействий.
5.7. Поверхность монолитных стяжек из бетона и цементно-песчаного раствора, по которым предусматривается устройство оклеечной гидроизоляции, должна быть огрунтована раствором битума в летучем растворителе в соотношении 1:(2 - 3), а под покрытие из штучных изделий по прослойке из полимерных материалов - грунтовочным составом на основе полимерного материала прослойки.
5.8. Поверхность бетонных стяжек перед устройством по ним покрытий, имеющих в своем составе поливинилацетатную дисперсию или латекс, следует очистить и прогрунтовать дисперсией или латексом, разбавленными водой в соотношении 1:(2 - 3).
5.9. Поверхность бетонных стяжек перед устройством по ним полимерных покрытий полов на основе эпоксидных смол следует пропитать и огрунтовать грунтовочными составами марок ДИАПОЛ-110 (ТУ 2257-006-27576372-2000) или ДИАПОЛ-112 (ТУ 2257-007-27576372-2000), а покрытий из полиуретановых мастик - грунтовочным составом на их основе.
5.10. Стяжки из поризованных цементно-песчаных растворов с прочностью на сжатие, МПа: 5,0; 7,5 и 10,0 из легкого бетона, в том числе пенобетона класса В10 и плотностью 1100 - 1200 кг/м3, рекомендуется применять преимущественно под покрытия из рулонных материалов, штучный паркет и плитку. При этом толщину стяжки следует принимать равной 30 - 50 мм.
5.11. Пенобетон для устройства стяжки должен отвечать требованиям
ГОСТ 25485-89 "Бетон ячеистый".
5.12. При устройстве стяжки смесь поризованного раствора следует укладывать по ровному основанию, в котором просветы при проверке двухметровой рейкой не должны превышать 5 мм. В противном случае неровности более 5 мм следует выровнять раствором марки не ниже 100.
5.13. Смеси из поризованного раствора и бетона следует укладывать равномерным слоем толщиной менее проектной на величину вспучивания, которую определяют опытным путем. При этом контроль толщины рекомендуется при больших площадях пола осуществлять по предварительно выставленным маякам из раствора марки 100, а в небольших помещениях - по рискам, нанесенным на стены.
5.14. Перерывы при устройстве стяжек из поризованного раствора и пенобетона в пределах одного помещения не допускаются. После укладки смеси поверхность стяжки следует тщательно выровнять до ее интенсивного вспучивания.
5.15. Движение людей по стяжке допускается после достижения прочности не менее 0,2 МПа.
5.16. В стяжке из поризованного раствора не должно быть усадочных трещин с шириной раскрытия более 0,3 мм. В противном случае их следует расшить и зашпаклевать цементно-песчаным раствором, затворенным поливинилацетатной дисперсией при соотношении ПВА:вода = 1:4.
5.17. Стяжки из пенобетона для получения мелкодисперсной замкнутой пористости материала рекомендуется выполнять по турбулентно-кавитационной технологии с использованием специального смесителя, снабженного лопастями минимального аэродинамического сопротивления.
5.18. Для самовыравнивающихся стяжек рекомендуется применять водные составы из гипса Г-5, Г-6, Г-10, Г-13
(ГОСТ 125-79**) с добавкой пластификаторов и замедлителей твердения (табл. 5.3).
Таблица 5.3
─────────────────────────────────┬─────────────────────────────────────────
Составляющие │ Составы
├─────────────┬─────────────┬─────────────
│ 1 │ 2 │ 3
─────────────────────────────────┼─────────────┴─────────────┴─────────────
│ Для стяжек с прочностью на сжатие
├──────┬──────┬──────┬──────┬──────┬──────
│ 7,5 │ 15,0 │ 7,5 │ 15,0 │ 7,5 │ 15,0
─────────────────────────────────┼──────┴──────┴──────┴──────┴──────┴──────
│ Из гипса
─────────────────────────────────┼──────┬──────┬──────┬──────┬──────┬──────
│ Г-5 │ Г-10 │ Г-5 │ Г-10 │ Г-5 │ Г-10
│ Г-6 │ Г-13 │ Г-6 │ Г-13 │ Г-6 │ Г-13
─────────────────────────────────┼──────┼──────┼──────┼──────┼──────┼──────
Гипсовое вяжущее │ 100 │ 100 │ 100 │ 100 │ 100 │ 100
Концентрат сульфидно-дрожжевой │ 2 │ 2 │ 2 │ 2 │ 2 │ 2
бражки (СДБ) марки КБЖ │ │ │ │ │ │
Полиэтиленполиамин (ПЭПА) │ 0,07 │ 0,06 │ - │ - │ - │ -
Негашеная известь │ - │ - │ 0,16 │ 0,16 │ - │ -
Гашеная известь │ - │ - │ - │ - │ 0,25 │ 0,25
Вода │ 50 │ 37 │ 50 │ 37 │ 50 │ 37
─────────────────────────────────┴──────┴──────┴──────┴──────┴──────┴──────
5.19. Устройство гипсовых стяжек следует выполнять при температуре воздуха в пределах 15 - 30 °C.
В целях предотвращения интенсивного отсоса воды из составов нижерасположенного слоя и обеспечения требуемой адгезии с ним поверхность этого слоя рекомендуется загрунтовать смесью из нестабилизированного бутадиеностирольного латекса СКС-65 ГП с полиэтиленполиамином в соотношении по массе 10:(0,6 - 1), или поливинилацетатной дисперсией с водой в соотношении 1:10.
5.20. Места примыкания к стенам и перегородкам стяжек из поризованного цементно-песчаного раствора, пенобетона и гипсовых составов во избежание их увлажнения и растрескивания следует изолировать рулонными гидроизоляционными материалами.
5.21. Асфальтобетонные стяжки рекомендуется выполнять из горячего асфальтобетона слоем толщиной 35 мм.
5.22. Сборные стяжки следует выполнять из спаренных гипсоволокнистых листов или листов фанеры. Укладку их следует начинать от стены с дверным проемом. Рекомендуемые схемы раскладки сборной стяжки из гипсоволокнистых листов по слою теплозвукоизоляции из керамзитового песка и плит пенополистирола приведены на рис. 1.
Рис. 1. Схемы раскладки сборной стяжки из ГВЛ
на слой теплозвукоизоляции из керамзитового песка (а)
и плит пенополистирола (б)
5.23. При стыковании сборной стяжки из спаренных гипсоволокнистых листов на фальцы уложенных элементов стяжки сплошным слоем наносят дисперсию ПВА или клеящую мастику и накрывают последующим элементом. В процессе монтажа скрепление фальцев производят шурупами длиной не менее 19 мм, располагаемыми с шагом 300 мм. В сборной стяжке из двух листов фанеры толщиной 10 - 12 мм стыки нижних листов следует перекрывать верхними листами, которые при укладке на регулируемые лаги крепят между собой саморезами, располагаемыми с шагом 150 мм, а при использовании листов фанеры в качестве стяжки и в качестве конструкции для выравнивания пола шаг саморезов следует принимать равным 100 мм.
6. Теплозвукоизоляционный слой
6.1. При проектировании теплозвукоизоляционного слоя должны выполняться технические требования, изложенные в
Разделе I.
6.2. Для устройства слоев теплозвукоизоляции рекомендуется применять древесно-волокнистые плиты и древесно-стружечные плиты плотностью до 250 кг/м3, минераловатные плиты на синтетической связке и стекловолокнистые плиты на синтетической связке плотностью до 150 кг/м3, минераловатные маты плотностью до 150 кг/м3, пенополистирольные плиты плотностью 25 - 50 кг/м3, керамзитовый песок, а также кварцевый песок.
6.3. Древесно-волокнистые плиты должны быть антисептированы в массе при их заводском изготовлении.
6.4. Теплозвукоизоляционные слои следует выполнять по выровненному основанию. При этом высушенный кварцевый и керамзитовый песок рассыпают слоями с последующим выравниванием по рейкам и уплотнением. Плиты и маты устанавливают насухо с обеспечением надежного примыкания к основанию и плотности стыков между плитами и матами.
6.5. Для утепления зон примыкания к наружным стенам полов по грунтовому основанию, расположенных выше отмостки или ниже ее до 0,5 м, рекомендуется предусматривать теплоизоляционные прокладки толщиной 0,15 - 0,25 м, которые размещать в грунтовом основании на ширине 1,5 - 2 м вдоль стены.
6.6. В местах примыкания пола к стенам и перегородкам следует предусматривать зазор шириной не менее 2 см на толщину стяжки, который заполняют прокладкой из эффективного звукоизоляционного материала. В полах с полимерным покрытием этот зазор следует принимать 4 - 5 мм.
7.1. При проектировании гидроизоляции необходимо выполнять технические требования, изложенные в
Разделе I.
7.2. Гидроизоляцию от сточных вод и других жидкостей следует предусматривать по подстилающему слою, перекрытию или стяжке, выполненной по перекрытию или подстилающему слою, а от капиллярного поднятия грунтовых вод по уплотненному грунту или стяжке, уложенной по уплотненному грунту (табл. 7.1).
Таблица 7.1
Тип гидроизоляции | Количество слоев | Схема | Слои пола |
Гидроизоляция от сточных вод и других жидкостей |
Оклеечная из битумных или битумно-полимерных материалов | 2 - 4 | 1 - покрытие; 2 - прослойка; 3 - гидроизоляция; 4 - стяжка; | |
Оклеечная из эластомерных пленок | 1 - 2 | 5 - заполнение швов мастикой; 6 - подстилающий слой; 7 - перекрытие; 8 - грунтовое основание (уплотненное) |
Гидроизоляция от капиллярного поднятия грунтовых вод |
Наливная из щебня или гравия, пролитых битумом | | | |
Асфальтовая из асфальтобетона | | | |
Оклеечная из битумных или битумно-полимерных рулонных материалов | | | |
7.3. Для защиты от проникания сточных вод и нейтральных жидкостей рекомендуется применять оклеечную гидроизоляцию из битумных или битумно-полимерных материалов (
табл. 1 Приложения 2), наклеиваемых на цементно-песчаную стяжку или бетонный подстилающий слой методом подплавления (для наплавляемых рулонных материалов) или наклейкой на битумно-полимерных мастиках, а также эластомерные пленки (
табл. 2 Приложения 2), наклеиваемые на полимерных мастиках (
табл. 3 Приложения 2).
7.4. Для защиты от воздействия химически агрессивных жидкостей оклеечная гидроизоляция должна выполняться из рулонных материалов и клеевых мастик, обладающих химической стойкостью к конкретной агрессивной среде.
7.5. При средней интенсивности воздействия жидкости на пол оклеечную гидроизоляцию из битумных и битумно-полимерных материалов следует выполнять в 2 слоя, а из эластомерных пленок - в 1 слой.
7.6. При большой интенсивности воздействия жидкостей на пол, а также под сточными лотками, каналами, трапами и в радиусе 1 м от них число слоев гидроизоляции следует увеличить вдвое.
7.7. При воздействии на пол веществ животного происхождения и других биологически активных средств оклеечную гидроизоляцию следует выполнять из битумных и битумно-полимерных материалов с негниющей основой (стеклянной, полимерной) или из эластомерных пленок.
7.8. При средней и большой интенсивности воздействия на пол минеральных масел, эмульсий из них, органических растворителей следует применять гидроизоляцию из эластомерных пленок.
7.9. Поверхность битуминозной гидроизоляции перед устройством по ней покрытий, прослоек или стяжек, в состав которых входит цемент или жидкое стекло, следует предварительно покрыть горячей битумной мастикой с втапливанием в нее сухого крупнозернистого песка.
7.10. Мастику следует наносить слоем толщиной 1 - 1,5 мм на чистую и сухую поверхность гидроизоляции. Песок необходимо рассыпать по горячей мастике равномерным слоем без пропусков и скоплений и прикатать ручным катком. Излишки песка после остывания мастики следует удалить.
7.11. Перед выполнением работ по устройству оклеечной гидроизоляции раскатанные полотнища рулонных материалов следует выдержать в течение 24 часов при температуре не ниже 15 °C с целью ликвидации волн и прочих неровностей.
7.12. При устройстве оклеечной гидроизоляции следует обеспечивать продольную и поперечную нахлестку рулонов не менее 85 + 15 мм.
7.13. При средней и большой интенсивности воздействия на пол растворов серной, соляной, азотной, уксусной, фосфорной, хлорноватистой и хромовой кислот, кроме гидроизоляции под покрытием пола, следует предусматривать наливную или асфальтовую гидроизоляцию под подстилающим слоем.
7.14. При расположении бетонного подстилающего слоя ниже уровня отмостки здания в помещениях, где отсутствуют какие-либо воздействия на пол сточных жидкостей и нет вероятности опасного капиллярного поднятия грунтовых вод, оклеечную гидроизоляцию рекомендуется применять в случаях:
- устройства заглубленных стен подвальных помещений, в которых располагается подсобное оборудование (насосы для подкачки воды, компрессорные и холодильные установки, системы кондиционирования воздуха и пр.);
- вероятного во время эксплуатации здания постепенного поднятия общего уровня грунтовых вод на застраиваемой территории, при заключении в трубы протекающих по данной территории малых речек и т.п.
7.15. При устройстве наливной битумной гидроизоляции от капиллярного поднятия грунтовых вод слой щебня рекомендуется пропитывать горячим битумом, наносимым при помощи автогудронатора слоем толщиной до 6 мм. При необходимости пропитки в несколько слоев по слою битума следует рассыпать каменную мелочь с последующим уплотнением ее катком, барабан которого смачивают растворителем, а затем наносят следующий слой горячего битума, по которому рассыпают каменную мелочь или песок фракции до 5 мм.
7.16. Асфальтовую гидроизоляцию следует выполнять из горячих мастик и литых асфальтовых смесей по подготовленному основанию ярусами толщиной 15 - 25 мм, нанося смесь равномерным сплошным слоем.
7.17. При выполнении работ необходимо каждый слой разравнивать и уплотнять обогреваемыми катками или гладилками. При этом каждый последующий слой выполняют после остывания предыдущего.
7.18. Для обеспечения требуемого качества гидроизоляции из литого асфальтобетона сопряжение ярусов и захваток следует выполнять внахлестку шириной не менее 20 см, а стыки верхних слоев располагать вразбежку со стыками нижних слоев.
7.19. Асфальтовую гидроизоляцию из холодных мастик следует выполнять по подготовленному огрунтованному основанию, начиная от стен или перегородок полосами в 1 - 2 слоя толщиной 3 - 5 мм. При этом каждый последующий слой наносят после отвердения предыдущего, а сопряжение ярусов и захваток в каждом слое выполняют внахлестку шириной не менее 200 мм.
8.1.1. При проектировании покрытий полов необходимо выполнять технические требования, изложенные в
Разделе I.
8.1.2. Тип покрытия пола следует принимать в зависимости от функционального назначения помещения с учетом вида и интенсивности механических, жидкостных и тепловых воздействий, а также специальных требований.
8.2.1. Полы с бетонным покрытием рекомендуется применять в производственных помещениях с учетом допустимых эксплуатационных воздействий, приведенных в
табл. 1,
2,
3 Приложения 1.
8.2.2. Бетонные покрытия могут проектироваться в виде эксплуатируемого подстилающего слоя, по бетонному подстилающему слою и по железобетонному перекрытию (рис. 2 и
3).
Рис. 2. Конструктивные схемы полов с бетонным покрытием
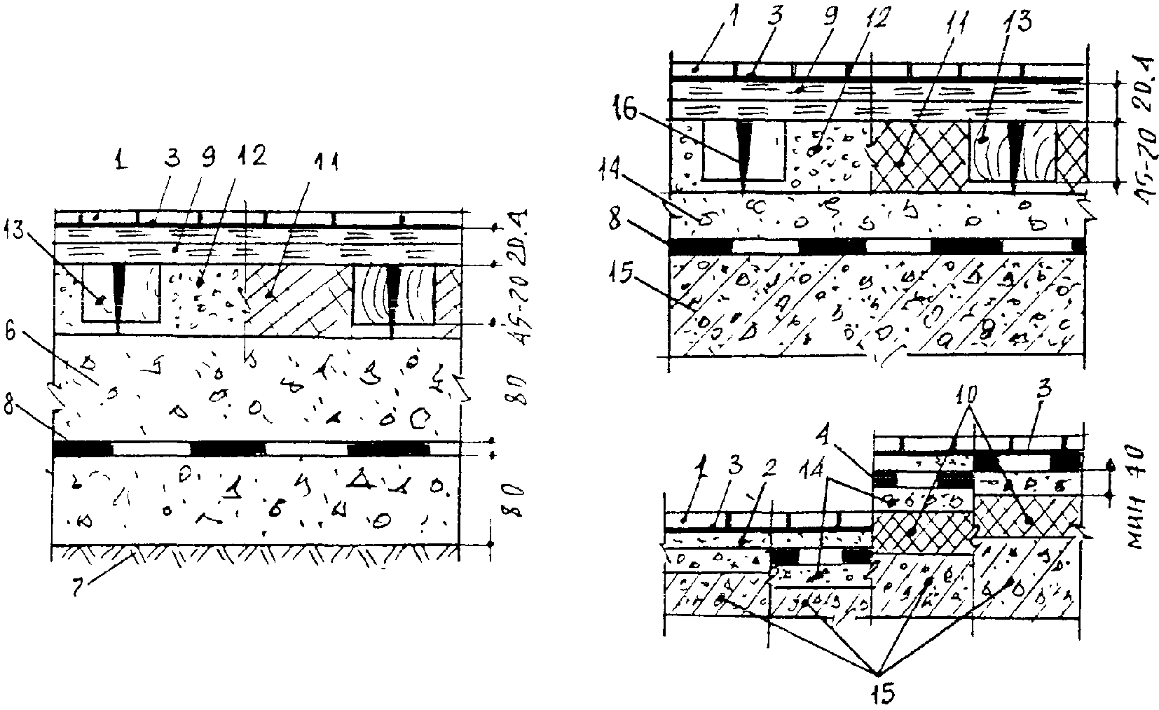
по подстилающему слою (а) и по перекрытию (б)
1 - бетонное покрытие, 2 - бетонный подстилающий слой,
3 - гидроизоляция, 4 - грунт основания,
5 - теплозвукоизоляция, 6 - перекрытие, 7 - трубопровод
Рис. 3. Конструктивные схемы полов
со сталефибробетонным покрытием по подстилающему слою (а)
и по перекрытию (б)
1 - сталефибробетонное покрытие,
2 - бетонный подстилающий слой, 3 - гидроизоляция,
4 - грунт основания, 5 - теплозвукоизоляция,
6 - трубопровод, 7 - перекрытие, 8 - стяжка из бетона
8.2.3. Толщину покрытия следует назначать в зависимости от интенсивности механических воздействий
(Раздел I, табл. 2). При выполнении покрытия, выполняющего одновременно функцию подстилающего слоя, толщину следует увеличивать не менее чем на 100 мм.
8.2.4. Покрытия толщиной от 50 до 100 мм рекомендуется армировать одним слоем металлической сетки 5 мм с ячейками 100 x 100 мм или 150 x 150 мм, толщиной 100 - 180 мм - двумя слоями металлической сетки 5 мм с ячейками 100 x 100 мм или 150 x 150 мм, а при толщине более 180 мм каркас определятся расчетом. Нижний слой укладывается на прокладки толщиной не менее 20 мм, верхний - картами 6 x 6 м, в особых случаях 3 x 3 м на опоры, приваренные к нижнему слою сетки.
8.2.5. В покрытиях полов толщиной более 50 мм рекомендуется предусматривать деформационные швы в продольном и поперечном направлении с шагом от 3 до 6 м. Швы должны совпадать с осями колонн, со швами плит перекрытий, деформационными швами подстилающего слоя, а при двухслойном армировании с границами верхнего слоя арматуры. Глубина деформационного шва должна быть не менее 40 мм и не менее 1/3 толщины покрытия, ширина - 3 - 5 мм.
8.2.6. При выполнении покрытий полов по грунту основания для предотвращения деформации пола при возможности осадки здания следует предусмотреть отсечку покрытия пола от колонн и стен через прокладки из рулонных гидроизоляционных материалов.
8.2.7. Для приготовления бетона следует использовать портландцемент
(ГОСТ 10178-85) марки не ниже 400. При этом для водонепроницаемого и морозостойкого бетона рекомендуется сульфатостойкий расширяющийся цемент.
8.2.8. Щебень и гравий для классов бетона В30; В22,5 и В15 должны иметь соответственно прочность 100, 80 и 60 МПа. Крупность щебня или гравия не должна превышать 15 мм и 0,6 общей толщины покрытия.
8.2.9. Для армирования сталефибробетонных покрытий рекомендуется применять стальную фибру длиной 50 - 80 мм и диаметром 0,3 - 1 мм, а в качестве матричного состава следует использовать мелкозернистый бетон класса В25, В35 с максимальным размером крупного заполнителя 20 мм (табл. 8.2.1).
Таблица 8.2.1
─────────┬──────────┬─────────┬──────────┬──────────┬────────┬─────────────
Класс │ В/ц │ Цемент │ Песок │ Щебень │ Фибра │Пластификатор
бетона │ │ │ │ │ │
─────────┼──────────┼─────────┼──────────┼──────────┼────────┼─────────────
В25 │ 0,4 │ 1 │ 3,5 │ 2,5 │ 0,1 │ 0,08
В35 │ 0,46 │ 1 │ 1,7 │ 2,8 │ 0,16 │ 0,05
─────────┴──────────┴─────────┴──────────┴──────────┴────────┴─────────────
8.2.10. Покрытия из сталефибробетона рекомендуется выполнять толщиной 40 - 100 мм.
8.2.11. Для безыскровых бетонных покрытий следует использовать щебень и песок из известняка, мрамора и других чистых каменных материалов, не образующих искр при ударах стальными или каменными предметами.
8.2.12. Для бетонных покрытий рекомендуется применять составы бетонов, приведенные (мас. ч.) в таблице 8.2.2.
Таблица 8.2.2
─────────┬───────────┬─────────────────────────────────────────────────────
Класс │ Осадка │ Состав по массе при марке цемента не ниже 400
бетона │ конуса ├───────────┬───────────┬───────────┬─────────────────
│ │ вода │ цемент │ песок │щебень или гравий
─────────┼───────────┼───────────┼───────────┼───────────┼─────────────────
В15 │ 2 - 4 │ 0,65 │ 1 │ 2,0 │ 3,4
В22,5 │ 2 - 4 │ 0,5 │ 1 │ 1,4 │ 2,4
В30 │ 2 - 4 │ 0,4 │ 1 │ 1,0 │ 1,7
─────────┴───────────┴───────────┴───────────┴───────────┴─────────────────
8.2.13. Расход крупного заполнителя для бетонных покрытий (щебень, гравий, мраморная крошка) должен быть не менее 0,8 м3 на 1 м3 бетона, а песка 10 - 30% объема пустот в крупном заполнителе.
8.2.14. Для повышения подвижности бетонной смеси рекомендуется вводить в ее состав пластификаторы: С-3; СНВ и другие в количестве до 0,8% от массы цемента.
8.2.15. Для покрытий светлых тонов следует применять белый, а для цветных покрытий - цветной цемент.
8.2.16. Для щелочестойких бетонных и цементно-песчаных покрытий рекомендуется применять щебень, гравий и песок из плотных известняковых (серпентинитов, порфиритов, известняков, доломитов) или изверженных пород (диабазов, гранитов), либо основных доменных шлаков. Допускается применение чистого кварцевого песка.
8.2.17. Для щелочестойких бетонных покрытий следует применять материалы, выдерживающие не менее 15 циклов попеременного насыщения раствором сернокислого натрия и высушивания без появления признаков разрушения.
8.2.18. Расход цемента для щелочестойких бетонных покрытий должен быть не менее 500 кг/м3.
8.2.19. Перед укладкой бетонных и мозаичных покрытий нижележащий слой должен быть очищен от грязи и пыли, а жировые пятна удалены 5%-ным раствором кальцинированной соды с последующей промывкой водой.
8.2.20. Щели между сборными плитами перекрытий, места примыкания их к стенам, а также монтажные отверстия следует заделывать цементно-песчаным раствором прочностью не ниже 15 МПа заподлицо с поверхностью плит.
8.2.21. Нижние части стен и колонн на высоту, равную толщине покрытия, рекомендуется обклеить гидроизоляционным рулонным материалом или в случае устройства в данных местах деформационных швов - листовым вспененным полиэтиленом.
8.2.22. При устройстве покрытия толщиной до 50 мм для улучшения межслойной адгезии поверхность нижележащего бетонного слоя рекомендуется огрунтовать составом на основе ПВА-эмульсии или латекса.
8.2.23. Работы по укладке бетонной и сталефибробетонной смесей следует выполнять при температуре воздуха на уровне пола не ниже 5 °C. Эта температура должна поддерживаться до приобретения бетоном 50%-ной проектной прочности. При укладке бетона в зимних условиях при температурах от -15 °C в бетонную смесь следует вводить добавку нитрита натрия, поташа и т.п. При этом возможно выделение на поверхности бетонного покрытия белых пятен.
8.2.24. Бетонную смесь следует укладывать на основание полосами, ограниченными маячными рейками (металлопрокат, неизвлекаемые алюминиевые или бетонные рельс-формы) высотой, соответствующей толщине покрытия.
8.2.25. Маячные рейки рекомендуется устанавливать параллельно длинной стороне стены на марки из цементно-песчаного раствора с ориентацией на метку, вынесенную на стену. При этом первый ряд реек следует размещать на расстоянии 0,5 - 0,6 м от стены, противоположной входу в помещение, а следующие ряды - параллельно первому на расстоянии до 3 м.
8.2.26. В местах, где пол должен иметь уклон в сторону трапов или каналов, маячные рейки следует устанавливать с таким расчетом, чтобы верх рейки имел заданный уклон.
8.2.27. Перед укладкой бетонной смеси нижележащий слой следует обильно смочить водой, чтобы к моменту укладки он был влажным, но без скопления воды.
8.2.28. Бетонную смесь следует укладывать между маячными рейками полосами через одну. При этом толщина выровненного бетонного слоя с учетом последующей его осадки в процессе виброобработки должна приниматься на 3 - 5 мм выше маячных реек.
8.2.29. Пропущенные полосы бетонируют после снятия маячных реек, используя забетонированные полосы в качестве опалубки и направляющих. При этом ширина полос выбирается с учетом технических характеристик применяемого оборудования, расстояния между колоннами в здании, а также планируемым расположением деформационных швов. Монтажные швы должны совпадать с деформационными швами.
8.2.30. Уплотнение бетонной смеси рекомендуется выполнять при минимальной продолжительности вибрации во избежание ее возможного расслоения.
8.2.31. После уплотнения бетонной смеси и схватывания ее до состояния, когда на поверхности при хождении остаются легкие следы, следует произвести первичную обработку покрытия - затирку и заглаживание, а не позже чем через 6 часов производят вторичную обработку покрытия.
8.2.32. При использовании бетонного подстилающего слоя в качестве эксплуатируемого покрытия его рекомендуется выполнять методом вакуумирования из бетона класса В22,5 с последующим заглаживанием поверхности металлическими гладилками.
8.2.33. При использовании метода вакуумирования первичное заглаживание бетонной поверхности производят непосредственно после окончания вакуумирования, а вторичную обработку - через 3 - 5 часов.
8.2.34. Через 2 - 3 суток после нанесения покрытия при помощи нарезчика швов с алмазным диском следует нарезать деформационные швы. При применении неизвлекаемых рельс-форм имеющиеся в верхней части пазы используются в качестве деформационных швов и нарезку швов осуществляют только в поперечном направлении.
8.2.35. Перед возобновлением бетонирования затвердевшая вертикальная кромка уложенного ранее бетона должна быть очищена от грязи и пыли и промыта водой. В местах рабочих швов уплотнение и заглаживание бетона (раствора) следует производить до тех пор, пока шов не станет незаметным.
8.2.36. Бетонное покрытие после его устройства должно выдерживаться во влажных условиях (покрытие п/э-пленкой и т.п.) не менее 7 суток, затем осуществляется естественная сушка. Возможно также нанесение композиций, наносимых на влажную бетонную поверхность и образующих пленку, с целью предотвращения преждевременного удаления влаги из бетона.
8.2.37. После достижения бетоном воздушно-сухого состояния (влажность не выше 5%) следует осуществить заделку деформационных швов методом укладки в образованный паз эластичного полиуретанового шнура и заливки заподлицо его отверждаемой эластичной уретановой композицией - герметиком "Гертекс" (ТУ 5770-006-04002274-00) и др. При выполнении деформационных швов возле колонн и вдоль стен следует удалить пенополиэтилен и также заделать образующийся паз полиуретановой композицией.
8.2.38. Для повышения стойкости к механическим воздействиям, понижения пылеотделения и уменьшения водопроницаемости рекомендуется применять упрочнение поверхности покрытия сухими смесями.
8.2.39. Бетонное покрытие с упрочненным верхним слоем рекомендуется выполнять толщиной не менее 70 мм.
8.2.40. Устройство упрочненного верхнего слоя можно предусматривать по покрытию, выполненному как традиционным способом, так и с применением вакуумирования.
8.2.41. Сухие смеси, применяемые для упрочнения бетонных покрытий, должны содержать портландцемент марки не ниже М400 и износостойкий заполнитель, в качестве которого могут быть применены металлические порошки, корунд, кварц и др., а также модифицирующие добавки.
8.2.42. Для упрочняемых бетонных покрытий полов рекомендуется бетон следующих составов, мас. ч.:
- при традиционном способе:
класс бетона В30 (400 кгс/см2),
цемент М400 - 1,0,
щебень кр. до 20 мм - 1,7,
песок - 1,0,
в/ц - 0,4 - 0,42 (с учетом воды,
содержащейся в добавках);
- с применением вакуумирования:
класс бетона В22,5 (300 кгс/см2),
цемент М400 - 1,0,
щебень кр. до 20 мм - 2,4,
песок - 1,4,
в/ц - 0,4 - 0,42 (с учетом воды,
содержащейся в добавках).
8.2.43. Работу по упрочнению поверхности следует начинать по достижении бетоном прочности, при которой он выдерживает вес человека.
8.2.44. Перед нанесением сухой смеси бетон необходимо загладить для размягчения образовавшейся на поверхности корки. После появления на заглаженной поверхности бетона влаги следует вручную или с помощью механического распределителя нанести на бетон упрочняющую смесь.
8.2.45. Нанесение упрочняющей смеси рекомендуется проводить в 2 - 3 приема. В начале наносится 2/3 общего количества смеси. Смесь должна полностью равномерно пропитаться влагой, подсасываемой из бетона, о чем судят по равномерному потемнению цвета смеси. Добавление воды в упрочняющую смесь не допускается.
8.2.46. Заглаживание поверхности производят машиной с диском, обеспечивающей исключение образования пузырей и раковин. Участки, не поддающиеся заглаживанию машиной, должны быть заглажены вручную. После нанесения оставшейся смеси повторяют заглаживание.
8.2.47. Окончательную обработку упрочненной поверхности следует производить машиной с лопастями.
8.2.48. При устройстве бетонных покрытий с применением вакуумирования нанесение упрочняющей смеси производится непосредственно на отвакуумированную и заглаженную поверхность бетона.
8.3. Мозаично-бетонное покрытие
8.3.1. Мозаично-бетонное покрытие рекомендуется применять в полах производственных и общественных зданий с учетом допустимых эксплуатационных воздействий, приведенных в
табл. 1,
2,
3 Приложения 1.
8.3.2. Мозаично-бетонные покрытия могут выполняться по бетонным подстилающим слоям и по железобетонным перекрытиям (рис. 4).
Рис. 4. Конструктивные схемы полов с мозаично-бетонным
покрытием по подстилающему слою (а) и по перекрытию (б)
1 - мозаично-бетонный слой при устройстве покрытия
методом втапливания,
1а - верхний мозаично-бетонный слой
при двухслойном покрытии,
1б - нижний мозаично-бетонный слой
при двухслойном покрытии,
2 - грунт основания, 3 - гидроизоляция,
4 - теплозвукоизоляция, 5 - трубопровод, 6 - перекрытие
8.3.3. Мозаично-бетонное покрытие, как правило, выполняется в два слоя. Нижний слой предусматривают толщиной 40 - 50 мм из цементно-песчаного раствора, а верхний (лицевой) - толщиной 20 - 25 мм из мозаичной смеси. При этом нижний слой толщиной 40 мм рекомендуется выполнять по бетонному основанию или стяжке, толщиной 50 мм - по сплошному тепло- и звукоизоляционному слою. При наличии в конструкции пола трубопроводов толщину нижнего слоя следует принимать на 25 мм большей диаметра трубопровода.
8.3.4. Прочность нижнего слоя из цементно-песчаного раствора и мозаичного покрытия на сжатие должна быть не менее 20 МПа.
8.3.5. Для обычных мозаичных покрытий рекомендуется применять смеси, приведенные в табл. 8.3.1, а для цветных - составы, представленные в
табл. 8.3.2. При этом осадка конуса должна составлять 2 - 4 см.
Таблица 8.3.1
| | ИС МЕГАНОРМ: примечание. Единицы измерения даны в соответствии с официальным текстом документа. | |
──────────────┬────────────────────────────────────────────────────────────
Класс бетона │ Состав по массе при марке цемента 40, МПа
├─────────────┬──────────────┬──────────────┬────────────────
│ вода │ цемент │ песок │мраморная крошка
──────────────┼─────────────┼──────────────┼──────────────┼────────────────
В22,5 │ 0,5 │ 1 │ 1,4 │ 2,4
В30 │ 0,4 │ 1 │ 1,0 │ 1,7
──────────────┴─────────────┴──────────────┴──────────────┴────────────────
┌──────────┬─────────┬──────────────────────┬───────┬──────────────────────────┐
│ Цвет │ Цемент │ Каменная крошка │ Цвет │ Пигменты , % от массы │
│ покрытия │марки 400│ крупностью, мм │крошки │ цемента │
│ ├───┬─────┼───────┬──────┬───────┤ ├─────┬──────┬───────┬─────┤
│ │се-│белый│2,5 - 5│5 - 10│10 - 15│ │пере-│сурик │ультра-│окись│
│ │рый│ │ │ │ │ │кись │желез-│марин │хрома│
│ │ │ │ │ │ │ │мар- │ный │ │ │
│ │ │ │ │ │ │ │ганца│ │ │ │
├──────────┼───┼─────┼───────┼──────┼───────┼───────┼─────┼──────┼───────┼─────┤
│ 1 │ 2 │ 3 │ 4 │ 5 │ 6 │ 7 │ 8 │ 9 │ 10 │ 11 │
├──────────┼───┼─────┼───────┼──────┼───────┼───────┼─────┼──────┼───────┼─────┤
│Белый │ 1 │ - │ 1 │ 1 │ 1 │Белый │12,5 │ - │ - │ - │
│с черным │ │ │ │ │ │ │ │ │ │ │
│Белый │ 1 │ - │ 1 │ 1 │ 1 │Белый │ - │ 10 │ 4 │ - │
│с красным │ │ │ │ │ │ │ │ │ │ │
│Черный │ 1 │ - │ 1 │ 1 │ 1 │Черный │ 5 │ - │ - │ - │
│Черный │ - │ 1,5 │ 2 │ 1 │ 1 │Черный │ - │ - │ - │ - │
│с белым │ │ │ │ │ │ │ │ │ │ │
│Розовый │ 1 │ - │ 1 │ 1 │ 1 │Розовый│ - │ 8 │ - │ - │
│с красным │ │ │ │ │ │ │ │ │ │ │
│Красный с │ 1 │ - │ 1 │ 1 │ 1 │Красный│ 5 │ 5 │ - │ - │
│коричневым│ │ │ │ │ │ │ │ │ │ │
│Черный │ - │ 1,5 │ 2 │ 1 │ 1 │Черный │ - │ - │ - │ 17 │
│с зеленым │ │ │ │ │ │ │ │ │ │ │
│Серый │ 1 │ - │ 1 │ 1 │ 1 │Черный │ - │ - │ - │ 10 │
└──────────┴───┴─────┴───────┴──────┴───────┴───────┴─────┴──────┴───────┴─────┘
8.3.6. Цементно-песчаный раствор нижнего слоя рекомендуется в отличие от
п. 8.2.28 укладывать в каждую полосу. После схватывания раствора (когда по нему можно ходить) маячные рейки следует извлечь, а борозды заделать раствором той же марки.
8.3.7. Укладку одноцветных мозаичных смесей следует выполнять между маячными рейками полосами через одну.
8.3.8. При устройстве многоцветных мозаичных покрытий рекомендуется применять пластичные смеси (подвижность не более 15 см) с использованием пластификаторов.
8.3.9. Перед укладкой мозаичных смесей поверхности нижнего слоя из цементно-песчаного раствора разбивают на карты, затем выполняют прорези, в которые вставляют жилки из стекла толщиной 3 - 5 мм, латуни или полимерных материалов толщиной 1 - 2 мм, разделяющие всю площадь пола на отдельные участки различного цвета. При этом верх жилок следует тщательно выверить по отметке чистого пола с учетом последующего съема слоя покрытия при шлифовании.
8.3.10. Для получения ровной поверхности мозаичную смесь после укладки следует загладить стальной гладилкой.
8.3.11. Через 4 - 5 дней следует выполнить шлифование поверхности покрытия на половину толщины крупного заполнителя. При этом для ускорения процесса обработки рекомендуется применять вместо воды водные растворы поверхностно-активных веществ (0,1 - 0,12% водный раствор углекислого натрия), а также дополнительно посыпку на обрабатываемую поверхность песка.
8.3.12. Для высококачественной отделки мозаичных покрытий следует после шлифования производить шпаклевание, дополнительное (чистое) шлифование, лощение и полировку.
8.3.13. В полах промышленных зданий, где одноцветные мозаичные покрытия устраиваются по бетонным подстилающим слоям, покрытие рекомендуется выполнять одновременно с бетонным подстилающим слоем путем нанесения на поверхность бетона увлажненной мраморной крошки слоем толщиной 15 - 20 мм с последующим вибровтапливанием ее в бетон. При этом бетонный подстилающий слой следует выполнять с использованием вакуумирования, а втапливание мраморной крошки производить сразу после снятия отсасывающих матов.
8.3.14. В местах примыкания мозаичного покрытия к колоннам следует устанавливать прокладки из рулонного гидроизоляционного материала.
8.3.15. Мозаичные покрытия по аналогии с бетонными в течение не менее 7 суток после их устройства должны выдерживаться во влажных условиях.
8.4. Покрытия из бетонных и мозаичных плит
8.4.1. Сборные полы из бетонных и мозаичных плит рекомендуется применять взамен аналогичных монолитных покрытий в целях снижения трудозатрат при производстве работ и ускорения ввода полов в эксплуатацию.
8.4.2. Такие полы могут быть выложены по бетонному подстилающему слою или по железобетонному перекрытию (рис. 5).
Рис. 5. Конструктивные схемы полов с покрытием
из бетонных и мозаичных плит по подстилающему слою (а)
и по перекрытию (б)
1 - плиты покрытия, 2 - прослойка, 3 - гидроизоляция,
4 - бетонный подстилающий слой, 5 - грунт основания,
6 - стяжка, 7 - теплозвукоизоляция, 8 - трубопровод,
9 - перекрытие
8.4.3. Для таких полов рекомендуется применять плиты размером 400 x 400 мм толщиной не менее 25 мм, армированные сетками из стальной проволоки диаметром 3 - 4 мм с размером ячейки 100 x 100 мм.
8.4.4. Плиты следует укладывать по прослойке толщиной 10 - 15 мм из цементно-песчаного раствора с прочностью на сжатие 15 МПа при умеренных и 30 МПа при значительных нагрузках.
8.4.5. Плиты за сутки до укладки следует замочить в воде во избежание интенсивного отсоса влаги из раствора, а основание очистить от загрязнений и увлажнить, но без скопления воды.
8.4.6. Уровень пола должен обозначаться маяками из раствора, которые устанавливают через каждые 2 м.
8.4.7. Раствор следует укладывать от маячного шнура, установленного по центральной оси помещения или у стены. При этом следует учитывать, что плиты необходимо резать только у одной или двух взаимно перпендикулярных стен.
8.4.8. Раствор следует укладывать полосами, длиной не менее 1 м и на 20 - 30 мм шире укладываемых рядов плит.
8.4.9. Плиты рекомендуется раскладывать по шнуру в направлении "на себя" вплотную друг к другу или со швами толщиной до 3 мм.
8.5. Покрытия из жаростойкого бетона и из крупноразмерных плит жаростойкого железобетона
8.5.1. Полы из жаростойкого бетона и железобетона рекомендуется применять в горячих цехах (кузнечных, термических, сталеплавильных, литейных, прокатных и т.п.), с учетом допустимых эксплуатационных воздействий, приведенных в
табл. 1,
2,
3 Приложения 1.
8.5.2. Покрытие из жаростойкого бетона может быть выполнено по грунту (при этом оно выполняет одновременно и функции подстилающего слоя) или на перекрытии по слою теплоизоляции, в качестве которого рекомендуется применять каменноугольный топливный шлак, молотые отходы шамотного кирпича, а также другие жаростойкие сыпучие материалы насыпной плотностью в уплотненном состоянии 1000 - 1200 кг/м3 (рис. 6).
Рис. 6. Конструктивные схемы полов с покрытием
из жаростойкого бетона (а) и из плит жаростойкого
железобетона (б)
1 - покрытие, 2 - арматурная сетка, 3 - теплозвукоизоляция,
4 - перекрытие, 5 - грунт основания,
6 - песчаная прослойка,
7 - плита из жаростойкого железобетона
8.5.3. Для устройства покрытий из жаростойкого бетона рекомендуется применять бетон следующего состава (таблица 8.5.1).
Таблица 8.5.1
──────────────────┬───────┬────────────────────────────────────────────────
Назначение │Осадка │ Состав по массе при марке цемента не ниже 400
│конуса,├──────┬────┬─────────────────┬─────────┬────────
│ см │порт- │вода│ тонкомолотая │мелкий │крупный
│ │ланд- │ │ добавка │заполни- │заполни-
│ │цемент│ ├──────────┬──────┤тель из │тель из
│ │ │ │домен. │хромит│гранулир.│литого
│ │ │ │гранули- │ │домен. │домен.
│ │ │ │ров. шлак │ │шлака │шлака
──────────────────┼───────┼──────┼────┼──────────┼──────┼─────────┼────────
Для покрытий │ 3 - 4 │ 1 │0,7 │ 1,8 │ 0,3 │ 0,6 │ 1,4
Для заделки │ 3 - 4 │ 1 │0,8 │ 1,8 │ 0,3 │ 0,6 │ 1,4
зазоров и монтаж- │ │ │ │ │ │ │
ных углублений в │ │ │ │ │ │ │
плитах │ │ │ │ │ │ │
──────────────────┴───────┴──────┴────┴──────────┴──────┴─────────┴────────
8.5.4. В качестве тонкомолотых минеральных добавок следует использовать измельченные отходы или бой шамотных, а также магнезитовых изделий с огнеупорностью не ниже 1610 °C и пределом прочности при сжатии не менее 20 МПа.
8.5.5. В качестве мелкого заполнителя следует применять гранулированный доменный шлак, а в качестве крупного заполнителя - шлаковый щебень объемной массой не менее 1,34 т/м3 и прочностью на сжатие материала щебня не менее 120 МПа (1200 кгс/см2).
Наличие в гранулированном доменном шлаке зерен размером более 10 мм не допускается, а зерен от 5 до 10 мм - не должно быть более 5% по весу.
8.5.6. Зерновой состав каждой фракции должен удовлетворять требованиям, приведенным в табл. 8.5.2.
Таблица 8.5.2
──────────────┬────────────────────────────────────────────────────────────
Полный остаток│ Размер отверстий контрольных сит, мм
заполнителя, ├────────┬───────┬───────┬───────┬────┬────────┬───────┬─────
% │ 0,14 │ 0,315 │ 0,63 │ 1,35 │2,5 │ 5 │ 15 │ 20
──────────────┼────────┼───────┼───────┼───────┼────┼────────┼───────┼─────
мелкого │90 - 100│75 - 90│40 - 70│45 - 15│0,25│ - │ - │ -
крупного │ - │ - │ - │ - │ - │95 - 100│40 - 70│0 - 5
──────────────┴────────┴───────┴───────┴───────┴────┴────────┴───────┴─────
8.5.7. Литой шлаковый щебень не должен содержать зерен пластинчатой (лещадной) формы более 15% по массе.
8.5.8. В зонах нагрева пола выше 400 °C рекомендуется использовать армирование стальной сеткой из арматуры диаметром 5 - 6 мм, которую размещают на глубине 30 мм от поверхности покрытия.
8.5.9. Технология устройства покрытия из жаростойкого бетона аналогична технологии устройства покрытия из обычного бетона.
8.5.10. Для устройства покрытий из плит жаростойкого железобетона рекомендуется применять изделия размером 3 x 3 м (основные) и 1,5 x 1,5 м (доборные).
8.5.11. Плиты следует укладывать на песчаную прослойку толщиной не менее 60 мм. При этом рекомендуется песок рассыпать полосами длиной не менее 4 м и шириной на 20 - 30 см более размера плит.
8.5.12. Ширина швов между плитами не должна превышать 10 мм. Швы шириной более 5 мм следует заполнить жаростойким раствором из смеси цемента, тонкомолотого гранулированного доменного шлака в соотношении соответственно 1:(1,8 - 2), подвижность раствора должна быть 80 - 100 мм. Швы перед заполнением должны быть очищены от пыли, грязи и увлажнены.
8.5.13. Зазоры между плитами и другими конструкциями, а также монтажные углубления в плитах должны быть заполнены жаростойким бетоном на портландцементе с хромитом и заполнителем из шлака.
8.6. Покрытие из кислотостойкого монолитного бетона
8.6.1. Покрытия из кислотоупорного бетона рекомендуется применять для полов производственных помещений с учетом допустимых эксплуатационных воздействий, приведенных в
табл. 1,
2,
3 Приложения 1.
8.6.2. Покрытия из кислотоупорного монолитного бетона могут выполняться по бетонным подстилающим слоям и по железобетонным перекрытиям (рис. 7).
Рис. 7. Конструктивные схемы полов с покрытием
из кислотостойкого бетона по подстилающему слою (а)
и по перекрытию (б)
1 - покрытие, 2 - грунт основания, 3 - гидроизоляция,
4 - стяжка, 5 - теплозвукоизоляция, 6 - бетонный
подстилающий слой, 7 - перекрытие
8.6.3. Для устройства кислотостойких монолитных и плитных покрытий рекомендуется использовать бетон из жидкого стекла, кремнефтористого натрия и уплотняющей добавки (табл. 8.6.1).
─────────────────────────────┬─────────────────────────────────────────────
Назначение │ Состав, мас. ч.
├──────┬─────────┬──────┬─────┬───────┬───────
│жидкое│натрий │щебень│песок│мине- │добавка
│стекло│кремне- │ │ │ральный│
│ │фтористый│ │ │порошок│
─────────────────────────────┼──────┼─────────┼──────┼─────┼───────┼───────
Кислотостойкий бетон для │ 1 │ 0,18 │ 3,4 │ 1,7 │ 1,7 │ 0,03
покрытий и подстилающих слоев│ │ │ │ │ │
Кислотостойкий раствор марки │ 1 │ 0,18 │ - │ 1,7 │ 1,7 │ 0,03
не ниже 150 для прослоек и │ │ │ │ │ │
заполнения швов в покрытиях │ │ │ │ │ │
из штучных материалов │ │ │ │ │ │
─────────────────────────────┴──────┴─────────┴──────┴─────┴───────┴───────
8.6.4. Щебень, песок и минеральный порошок должны изготовляться из каменных материалов (диабаза, андезита, кварца и др.), кислотостойкость которых по ГОСТ 473.1-81 составляет не менее 94%, а прочность при сжатии не менее 80 МПа (800 кгс/см2). Крупность щебня не должна превышать 15 мм.
Допускается применение природного кварцевого песка, а в качестве минерального порошка - природного пылевидного кварца (маршалита) или кислотоупорного цемента (с учетом количества

, находящегося в нем).
8.6.5. Песок и минеральный порошок должны быть рыхлыми, не содержать глины, извести и примесей органических веществ.
Минеральный порошок должен иметь зерна мельче 0,075 мм не менее 70%.
8.6.6. В качестве вяжущего следует применять натриевое жидкое стекло с модулем 2,4 - 3,0 и плотностью 1,38 - 1,40 г/см3.
8.6.7. Кремнефтористый натрий с содержанием чистого

не менее 93% для отверждения жидкого стекла должен иметь влажность не более 1%.
8.6.8. В качестве уплотняющей добавки рекомендуется применять фурфуриловый спирт.
8.6.9. При приготовлении кислотостойкого раствора и бетона следует предварительно перемешать жидкое стекло с уплотняющей добавкой, затем добавить песок и порошок в смеси с кремнефтористым натрием, а для бетона - и щебень, с последующим перемешиванием смеси до получения однородной массы.
8.6.10. Укладку кислотоупорной смеси следует производить при температуре воздуха на уровне пола не ниже 10 °C.
8.6.11. Технология укладки кислотоупорного бетона аналогична технологии устройства покрытий из обычного бетона.
8.6.12. При плитном варианте покрытия рекомендуется использовать плиты размером 500 x 500 мм массой до 20 кг.
8.6.13. Плиты следует укладывать на прослойку толщиной 20 - 25 мм из кислотостойкого раствора (см.
табл. 8.6.1) рядами, параллельными стенам помещения или по специальному рисунку.
8.6.14. Плиты могут быть также уложены на прослойку из битумной мастики, температура которой при укладке должна быть 160 - 180 °C.
8.7. Асфальтобетонные покрытия
8.7.1. Асфальтобетонные покрытия рекомендуется применять в полах промышленных зданий с учетом допустимых эксплуатационных воздействий, приведенных в
табл. 1,
2,
3 Приложения 1.
8.7.2. Асфальтобетонные полы могут быть выполнены по бетонному, гравийному или щебеночному подстилающему слою или по железобетонному перекрытию (рис. 8).
Рис. 8. Конструктивные схемы полов с покрытием
из асфальтобетона по подстилающему слою (а)
и по перекрытию (б)
1 - покрытие, 2 - грунт основания, 3 - бетонный
подстилающий слой, 4 - стяжка, 5 - теплозвукоизоляция,
6 - трубопровод, 7 - перекрытие
8.7.3. Для устройства асфальтобетонных покрытий рекомендуется применять жесткие и литые смеси (табл. 8.7.1).
Таблица 8.7.1
─────────────────────────────────────┬──────────────────┬──────────────────
Составляющие, мас. ч. │ Жесткие │ Литые
├─────────┬────────┼─────────┬────────
│зернистые│песчаные│зернистые│песчаные
─────────────────────────────────────┼─────────┼────────┼─────────┼────────
Битум │ 0,35 │ 0,25 │ 0,45 │ 0,33
Минеральный порошок (менее 0,075 мм) │ 1 │ 1 │ 1 │ 1
Песок (0,075 - 5 мм) │ 1,3 │ 1,5 │ 1,3 │ 1,5
Щебень или гравий │ 2,3 │ - │ 2,3 │ -
─────────────────────────────────────┴─────────┴────────┴─────────┴────────
8.7.4. Для асфальтобетонных жестких смесей рекомендуется применять битум с температурой размягчения 50 - 60 °C, а для литых - битум с температурой размягчения 50 и 70 °C в соотношении 1:2 по массе.
8.7.5. Для щелочестойкого асфальтобетона следует использовать щебень, гравий и минеральный порошок из плотных известняковых (серпентиата, порфирита, доломита) или изверженных (известняка, диабаза) пород.
8.7.6. Для кислотостойкого асфальтобетона следует использовать щебень, песок и минеральный порошок из каменных материалов (диабаза, андезита, кварца и т.п.), кислотостойкость которых по ГОСТ 473.1-81 составляет не менее 94%, а прочность при сжатии не менее 80 МПа (800 кгс/см2).
8.7.7. Для безыскрового и неэлектропроводного асфальтобетона следует использовать щебень, песок и минеральный порошок, приготовленные из известняка, мрамора и других искронеобразующих каменных материалов.
8.7.8. Поверхность основания из бетона или цементно-песчаного раствора перед укладкой асфальтобетона следует огрунтовать согласно указаниям
п. 3.12.
8.7.9. Асфальтобетонную смесь рекомендуется укладывать в 1 - 2 слоя полосами шириной 2 м, ограниченными рейками. При этом первую рейку следует располагать на расстоянии 10 - 15 см от стены, а последующие - через 2 м. Маячные рейки высотой на 7 - 10 мм более проектной толщины покрытия должны укладываться по уровню и быть закреплены распорками во избежание смещения при уплотнении асфальтобетонной смеси.
8.7.10. После укладки асфальтобетона на первой полосе и его уплотнения последующие полосы следует заполнять через одну. Толщина одного слоя асфальтобетона не должна превышать 25 мм.
8.7.11. Уплотнение асфальтобетонной смеси следует выполнять катками массой 50 - 80 кг с электронагревателями. Уплотнение жестких асфальтобетонных смесей в местах, недоступных для механических катков (около стен, колонн, фундаментов под оборудование и т.п.), следует производить вибраторами с электрообогревом и частотой колебаний 2000 - 3000 в 1 мин.
8.7.12. Литые асфальтобетонные смеси должны быть однородными с равномерным распределением битума на зернах заполнителя. Температура литой асфальтобетонной смеси при приготовлении должна быть в летний период 180 - 200 °C, а в зимний - 200 - 210 °C, при укладке - 160 °C, а при уплотнении - не ниже 120 °C.
8.7.13. Перед возобновлением работ после перерыва кромка ранее уложенного асфальтобетона должна быть вертикально обрублена, разогрета и прогрунтована горячим битумом.
8.7.14. После уплотнения асфальтобетонной смеси катком лицевой слой следует присыпать сухим мелкозернистым песком и притирать деревянной теркой, облицованной стальным листом.
8.8. Поливинилацетатцементно- и латексцементно-бетонное покрытия
8.8.1. Полы с такими покрытиями рекомендуется применять в производственных помещениях с учетом допустимых эксплуатационных воздействий, приведенных в
табл. 1,
2,
3 Приложения 1.
8.8.2. Поливинилацетатцементно- и латексцементно-бетонное покрытия могут выполняться по бетонному подстилающему слою или по железобетонному перекрытию (рис. 9).
Рис. 9. Конструктивные схемы полов.
Поливинилацетатцементно-бетонное и латексцементно-бетонное
по подстилающему слою (а) и по перекрытию (б)
1 - покрытие, 2 - бетонный подстилающий слой,
3 - грунт основания, 4 - гидроизоляция, 5 - стяжка,
6 - теплозвукоизоляция, 7 - перекрытие, 8 - трубопровод
8.8.3. По аналогии с мозаичными поливинилацетатцементно- и латексцементно-бетонное покрытия следует выполнять из двух слоев: нижнего толщиной 40 - 50 мм из цементно-песчаного раствора марки 200 и верхнего толщиной 20 мм из смеси комплексного вяжущего - поливинилацетатной пластифицированной дисперсии
(ГОСТ 18992-80) или латекса (ТУ 38-103-111-80), цемента, песка, щебня, пигмента и воды (табл. 8.8.1).
Таблица 8.8.1
────────────────────┬───────┬──────────────────────────────────────────────
Назначение │Осадка │Состав по массе при марке цемента не ниже 400
│конуса,├────┬─────────┬────┬──────┬──────┬─────┬──────
│ см │ПВА-│Латекс │вода│цемент│пиг- │песок│щебень
│ │дис-│СКС-65 ГП│ │ │менты │ │
│ │пер-│марки "Б"│ │ │ │ │
│ │сия │или "К" │ │ │ │ │
────────────────────┼───────┼────┼─────────┼────┼──────┼──────┼─────┼──────
Для поливинилацетат-│ 3 - 4 │0,3 │ - │0,25│ 1 │0,05 -│ 1,4 │ 2,6
цементно-бетонных │ │ │ │ │ │ 0,1│ │
покрытий │ │ │ │ │ │ │ │
Для латексцементно- │ 3 - 4 │ - │ 0,4 │0,1 │ 1 │0,05 -│ 1,4 │ 2,6
бетонных покрытий │ │ │ │ │ │ 0,1│ │
────────────────────┴───────┴────┴─────────┴────┴──────┴──────┴─────┴──────
8.8.4. В качестве крупного заполнителя рекомендуется применять щебень фракции 5 - 10 мм, но не более 0,6 от толщины покрытия, который должен изготовляться из шлифующихся пород (мрамор и т.п.) с пределом прочности при сжатии не менее 80 МПа (800 кгс/см2), а в качестве песка - высевки из щебня шлифующихся пород крупностью от 0,15 до 5 мм.
8.8.5. Пигменты для бетона покрытий должны быть минеральными, светоустойчивыми (окись хрома, редоксаид и др.), мелкоизмельченными, рыхлыми, без комков.
8.8.6. Укладка, уплотнение, заглаживание и шлифование покрытий следует выполнять по аналогии с мозаичными покрытиями. При этом температура воздуха на уровне пола и температура нижележащего слоя должна быть не ниже 10 °C.
8.8.7. Для обеспечения прочного сцепления верхнего слоя с затвердевшим нижним слоем рекомендуется последний прогрунтовать дисперсией или латексом, разбавленными водой в соотношении 1:10 по объему.
8.9. Ксилолитовое и поливинилацетатцементно-опилочное покрытия
8.8.1. Ксилолитовое и поливинилацетатцементно-опилочное покрытия рекомендуется применять в производственных помещениях с учетом допустимых эксплуатационных воздействий, приведенных в
табл. 1,
2,
3 Приложения 1.
8.9.2. Ксилолитовое и поливинилацетатцементно-опилочное покрытия могут быть выполнены по бетонному подстилающему слою или по железобетонному перекрытию (рис. 10).
Рис. 10. Конструктивные схемы полов с ксилолитовым
и поливинилацетатцементно-опилочным покрытиями
по подстилающему слою (а) и перекрытию (б)
1 - покрытие, 2 - грунт основания,
3 - бетонный подстилающий слой, 4 - стяжка,
5 - теплозвукоизоляция, 6 - трубопровод, 7 - перекрытие
8.9.3. Ксилолитовые покрытия выполняют из смеси древесных опилок хвойных пород, каустического магнезита, водного раствора хлористого магния и пигментов, а поливинилацетатцементно-опилочные покрытия из смеси портландцемента марки не ниже 400, пластифицированной поливинилацетатной дисперсии
(ГОСТ 18992-80*), древесных опилок, пигмента и воды.
8.9.4. Для устройства таких покрытий рекомендуется использовать составы, приведенные в табл. 8.9.1.
───────────────────┬───────┬───────────────────────────────────────────────
Вид покрытия │Погру- │ Состав по массе
│жение ├─────────┬───────┬───────┬──────┬──────┬───────
│конуса,│портланд-│ПВА- │древес-│вода │магне-│пигмент
│см │цемент │диспер-│ные │ │зит │
│ │ │сия │опилки │ │ │
───────────────────┼───────┼─────────┼───────┼───────┼──────┼──────┼───────
Ксилолитовое │ 2 - 3 │ - │ - │ 1 │ 1 │1,5 - │0,03 -
│ │ │ │ │ │ 2,0│ 0,04
Поливинилацетат- │ 2 - 3 │ 1 │0,1 - │0,1 - │0,3 - │ - │0,02 -
цементно-опилочное │ │ │ 0,2│ 0,2│ 0,5│ │ 0,05
───────────────────┴───────┴─────────┴───────┴───────┴──────┴──────┴───────
8.9.5. Раствор хлористого магния получают растворением в воде кристаллического хлористого магния заводского изготовления либо полной нейтрализацией каустическим магнезитом соляной кислоты или ингибированной соляной кислоты. При этом нерастворимый осадок должен быть удален из раствора.
8.9.6. Вместо раствора хлористого магния для приготовления ксилолитовой смеси допускается применение водного раствора искусственного карналита или карналитовой руды при условии обеспечения прочности ксилолита на растяжение после 7 суток воздушно-сухого выдерживания не менее 2 МПа (20 кгс/см2).
8.9.7. Древесные опилки заготавливаются из хвойных пород. Влажность опилок для обоих типов покрытий не должна превышать 20%, крупность - 2,5 мм. Опилки не должны содержать отходов коры и мусора.
8.9.8. В каустическом магнезите содержание окиси магния (MgO) должно быть не менее 75%, зерен крупнее 0,075 мм - не более 25%, крупнее 0,3 мм - 5%.
8.9.9. Пигменты (красители) должны быть минеральными, щелочестойкими, сухими, мелкоизмельченными, однородного состава, стойкими к действию света, а для ксилолита - и к соляной кислоте.
8.9.10. При приготовлении ксилолитовой смеси опилки смешивают с каустическим магнезитом в сухом состоянии, а затем с водным раствором хлористого магния.
8.9.11. При приготовлении поливинилацетатцементно-опилочной смеси ПВА-дисперсию смешивают с пигментом, затем добавляют цемент и опилки с последующим перемешиванием до достижения однородности.
8.9.12. Для расцветки пола в ксилолитовую смесь рекомендуется добавлять минеральный пигмент в количестве 3 - 4% суммарного объема магнезита и заполнителя.
8.9.13. Устройство ксилолитовых покрытий полов следует выполнять при температуре не ниже 10 °C и относительной влажности воздуха до 60%.
8.9.14. Влажность бетонного основания при укладке обоих типов покрытий не должна превышать 5%, а прочность не должна быть ниже 15 МПа.
8.9.15. Поверхность бетонного основания перед устройством ксилолитовых покрытий следует очистить и прогрунтовать не менее чем за 40 минут до укладки покрытия смесью раствора хлористого магния (плотность 1,06 - 1,07) с каустическим магнезитом в соотношении 4:1.
8.9.16. Укладку ксилолитовой и поливинилацетатцементно-опилочной смеси следует производить в один слой полосами шириной 1,5 - 2,0 м, ограниченными маячными рейками через одну, и разравнивать правилом, передвигаемым по маячным рейкам. Укладку рекомендуется начинать от стен к дверям, проезду и т.п.
8.9.17. В промежуточные полосы ксилолитовую смесь следует укладывать через 1 - 2 суток.
8.9.18. Уплотнение смесей следует производить катками весом 60 - 100 кг. Начало уплотнения, вес катка и количество его проходов по одному следу необходимо устанавливать пробной укаткой. При движении катка в укатываемом покрытии не должны образовываться вмятины, разрывы (трещины) и раковины. Покрытие после укатки должно быть ровным и однородным.
В местах, недоступных для работы катков, смесь следует уплотнять трамбовками весом 3 - 5 кг.
8.9.19. Уплотнение смесей должно прекращаться на расстоянии не менее 300 мм от открытой кромки покрытия; этот участок уплотняется после укладки следующей порции смесей. При перерыве в работе открытую кромку покрытия в поперечном направлении следует оградить маячной рейкой и уплотнить.
8.9.20. В местах рабочих швов уплотнение смесей следует осуществлять до тех пор, пока шов станет незаметным.
8.9.21. При появлении во время уплотнения на поверхности ксилолитового или поливинилацетатцементно-опилочного покрытия жидкости его посыпают сухой ксилолитовой (каустический магнезит с опилками) или цементно-опилочной смесью, составы которых приведены в
табл. 8.9.1.
8.9.22. Поверхность лицевого слоя покрытия должна быть заглажена металлическими гладилками до начала схватывания ксилолита.
8.9.23. Твердение покрытий должно проходить в условиях, исключающих попадание на пол влаги.
Белый налет, появляющийся на поверхности ксилолитового покрытия, следует смыть теплой водой, а затем вытереть насухо.
8.9.24. Металлические конструкции и детали, соприкасающиеся с ксилолитовым покрытием, следует защищать от действия раствора хлористого магния слоем плотного бетона, цементного раствора толщиной не менее 30 мм, покраской асфальтовым лаком или прокладкой рулонного гидроизоляционного материала.
При этом нижнюю часть стен, перегородок, колонн и других конструкций рекомендуется изолировать слоем цементно-песчаного раствора состава 1:2, а в местах возможного нагрева ксилолитовых полов до температуры более 50 °C источники нагрева (трубы, отопительные приборы и т.п.) должны быть изолированы теплоизоляционными материалами.
8.9.25. В помещениях с повышенными требованиями к внешнему виду пола ксилолитовое покрытие рекомендуется отшлифовать и отциклевать.
8.10. Эпоксидные и полиуретановые мастичные покрытия
8.10.1. Эпоксидные и полиуретановые мастичные покрытия рекомендуется применять для устройства полов в помещениях, к которым предъявляются повышенные требования по чистоте с учетом допустимых эксплуатационных воздействий, приведенных в
таблице 1,
2,
3 Приложения 1.
При этом для уменьшения скользкости рекомендуется выполнять покрытия с шероховатой и текстурированной поверхностью, а в помещениях, в которых расположено электрооборудование, выходящее из строя при образовании искр от статического электричества, такие покрытия рекомендуется выполнять антистатическими.
8.10.2. Полы с эпоксидным или полиуретановым покрытием могут выполняться по бетонному подстилающему слою в полах по грунту или по железобетонному перекрытию (рис. 11).
Рис. 11. Конструктивные схемы полов с эпоксидным
и полиуретановым покрытиями по подстилающему слою (а)
и по перекрытию (б)
1 - покрытие, 2 - грунт основания, 3 - гидроизоляция,
4 - стяжка, 5 - теплозвукоизоляция, 6 - бетонный
подстилающий слой, 7 - перекрытие, 8 - трубопровод
8.10.3. Эпоксидные и полиуретановые мастичные покрытия полов следует выполнять по тщательно подготовленной поверхности стяжки из бетона класса по прочности на сжатие не ниже В15 при влажности ее не более 5%. Поверхность стяжки перед нанесением мастичных составов следует отшлифовать или отфрезеровать и обеспылить.
8.10.4. Наливные эпоксидные и полиуретановые мастичные покрытия рекомендуется выполнять толщиной 3 - 5 мм из компаундов заводского изготовления, имеющих гигиенический и пожарный сертификаты ("Диапол" (ТУ 2257-002-27576372-2000), "ФЕАС" (ТУ 2257-001-06085062-97) и др.).
8.10.5. Технология нанесения эпоксидных мастичных покрытий включает заделку трещин и выбоин в бетонной стяжке шпателем, шпаклевками марки "Диапол-210" (ТУ 2257-008-27576372-2000) и "Диапол-220" (ТУ 2257-009-27576372-2000), грунтовку - валиком, поверхности стяжки - грунтовками марки "Диапол-110" (ТУ 2257-006-27576372-2000) или "Диапол-112" (ТУ 2257-007-27576372-2000), нанесение методом налива с разравниванием калибровочной раклей основного слоя толщиной 1,5 - 3 мм из компаунда марки "Диапол-310" (ТУ 2257-002-27576372-2000) и лицевого слоя толщиной 1 - 2 мм из компаунда марки "Диапол-320" (ТУ 2257-003-27576372-2000). С целью устранения образования воздушных пузырей в процессе нанесения лицевого слоя следует выполнять прокатку наносимого покрытия игольчатым валиком.
8.10.6. Нанесение каждого слоя осуществляется через 12 - 24 часа после нанесения предыдущего слоя. При выполнении работ температура воздуха на уровне пола, температура нижележащего слоя и укладываемых материалов должна быть не ниже 15 °C.
8.10.7. Монолитное покрытие с повышенными эстетическими характеристиками получают методом разбрасывания по незатвердевшей поверхности лицевого слоя покрытия полиакрилатных "чипсов" и последующего нанесения валиком 1 - 2 слоев полиуретанового бесцветного лака.
8.10.8. При изготовлении монолитных покрытий с шероховатой поверхностью для изготовления лицевого слоя следует применять полимерный компаунд "Диапол-330", а покрытий с текстурированной поверхностью - "Диапол-360". Нанесение "Диапола-330" (ТУ 2257-004-27576372-2000) осуществляется при помощи гладилок, "Диапол-360" (ТУ 2257-005-27576372-2000) наносится валиком с последующей прокаткой для получения текстурной поверхности специальным текстурирующим валиком.
8.10.9. Технология изготовления антистатических монолитных покрытий включает изготовление электроотводящего контура путем приклейки по периметру помещения и в продольном и поперечном направлениях с шагом 3 - 6 м медных шинок или лент из графитового волокна, подключение данного контура к системе заземления здания, нанесение валиком электропроводной грунтовки и нанесения методом налива антистатического покрытия с удельным поверхностным электросопротивлением

, и в частности, на основе эпоксидного компаунда марки "ФЕАС-А" (ТУ 2257-001-06085062-97).
8.10.10. Область применения, конструкции и технология нанесения полиуретановых мастичных покрытий аналогичны эпоксидным мастичным покрытиям. Для применения может быть рекомендован уретановый компаунд марки "НМГ-ПОЛИПЛАН" (ТУ 5772-005-41099447-98).
8.10.11. Хождение по эпоксидным и полиуретановым мастичным покрытиям допускается через 24 часа после нанесения последнего слоя, полная эксплуатация - после 7 суток воздушной выдержки при температуре не ниже +15 °C. Во избежание образования на поверхности ряби и поверхностной липкости в период нанесения покрытия и воздушной выдержки полы следует защищать от сквозняков, воды и конденсирующейся атмосферной влаги.
8.11. Покрытия из чугунных и стальных плит на бетонной прослойке
8.11.1. Покрытия пола из чугунных и стальных штампованных плит рекомендуется применять в помещениях производственных зданий с учетом допустимых эксплуатационных воздействий, приведенных в
табл. 1,
2,
3 Приложения 1. При этом чугунные плиты с рифленой лицевой поверхностью следует применять в зонах перетаскивания тяжестей, а также на рабочих местах, где необходимо исключить скольжение, а гладкие плиты - в зонах, где осуществляется движение тележек на колесах диаметром до 250 мм и при специальных требованиях к гладкости пола.
8.11.2. Покрытия пола из чугунных и стальных штампованных плит могут быть выполнены по бетонному подстилающему слою или по железобетонному перекрытию (рис. 12).
Рис. 12. Конструктивные схемы полов с покрытием
из чугунных и стальных плит по подстилающему слою (а)
и по перекрытию (б)
1 - плиты покрытия пола, 2 - прослойка
из мелкозернистого бетона, 3 - грунтовое основание,
4 - бетонный подстилающий слой, 5 - теплозвукоизоляция,
6 - трубопровод, 7 - перекрытие
8.11.3. Для покрытий полов рекомендуется использовать чугунные плиты размером 298 x 298 x 3 мм и штампованные стальные размером 300 x 300 x 3 мм с ребрами жесткости и шипами на тыльной стороне.
8.11.4. Плиты следует укладывать при температуре воздуха на уровне пола не ниже 5 °C на прослойку толщиной 30 - 35 мм из мелкозернистого бетона следующего состава, мас. ч.:
- портландцемент марки не ниже 400 - 1,
- песок - 1,
- щебень (гравий) крупностью до 10 мм - 1,7,
- вода - 0,35 - 0,4.
8.11.5. Плиты следует укладывать полосами шириной 10 - 12 м. При наличии в помещении большого числа фундаментов под оборудование, грани которых параллельны между собой, но не параллельны стенам, ряды плит следует располагать параллельно фундаментам.
8.11.6. Первый ряд плит рекомендуется укладывать вдоль стен, каналов с примыканием к ним вплотную, начиная с двух маячных плит, которые устанавливают на концах ряда.
8.11.7. Между основными маячными плитами должна быть натянута шнур-причалка и размещены с интервалом 3 - 4 м промежуточные маячные плиты.
8.11.8. Плиты каждого последующего ряда должны укладываться без перевязки швов с плитами предыдущего ряда и соблюдением шва шириной до 3 мм.
8.11.9. Бетон прослойки следует укладывать одновременно для 6 - 8 плит каждого ряда. При этом ширина полосы должна превышать ширину плит на 5 - 8 см во избежание просадки открытой кромки или при уплотнении бетона.
8.11.10. При укладке плиты равномерно с помощью вибровтапливателя ее осаживают заподлицо со смежными так, чтобы в шов между ними не попал бетон. При этом бетон должен выступить из всех отверстий плиты, но не растекаться по ее поверхности.
8.11.11. При перерыве в укладке плит более 1,5 часов загустевший бетон, выступивший из-под плит предыдущего ряда, следует околоть заподлицо с вертикальными гранями плит и удалить.
8.11.12. Через сутки после укладки плит швы между ними следует заполнить жидким цементным тестом или цементно-песчаным раствором состава 1:1.
8.11.13. Хождение по плитам допускается не ранее, чем через 3 суток после их укладки, а нормальная эксплуатация после набора бетоном прослойки 70% прочности от проектной.
8.12. Покрытие из чугунных плит на песчаной прослойке
8.12.1. Покрытия полов из чугунных плит на песке рекомендуется применять в горячих цехах (кузнечных, термических, сталеплавильных, литейных, прокатных и др.), при повышенных требованиях к ровности и чистоте пола - с учетом допустимых эксплуатационных воздействий, приведенных в
табл. 1,
2,
3 Приложения 1.
8.12.2. Для таких покрытий рекомендуется применять чугунные плиты размером 248 x 248 мм с опорными выступами.
8.12.3. Чугунные плиты могут быть уложены на песчаную прослойку по грунту, подстилающему слою или перекрытию (рис. 13).
Рис. 13. Конструктивные схемы полов с покрытием
из чугунных плит по прослойке из песка
и теплозвукоизоляционных материалов по нежесткому
подстилающему слою (а), жесткому подстилающему слою (б)
и по перекрытию (в)
1 - плита покрытия пола, 2 - прослойка из песка,
3 - грунт основания, 4 - нежесткий подстилающий слой,
5 - жесткий подстилающий слой, 6 - прослойка
из жаростойкого сыпучего материала, 7 - перекрытие
8.12.4. Прослойку из песка, располагаемую на грунте или подстилающем слое, следует принимать толщиной 60 мм, а по железобетонному перекрытию - 60 - 220 мм в зависимости от интенсивности нагрева пола.
8.12.5. В качестве теплоизоляционных материалов для прослойки рекомендуется применять каменноугольные топливные шлаки, молотые отходы шамотного кирпича и другие жаростойкие сыпучие материалы с насыпной плотностью в уплотненном состоянии 1000 - 1200 кг/м3.
8.12.6. В местах примыкания чугунных плит пола к каналам, приямкам, фундаментам под оборудование, стенам, полам других типов и т.п. следует предусматривать окаймляющие швы из бетона класса В22,5, закрепляющие плиты в неизменном положении во избежание их смещения в сторону открытой кромки покрытия при эксплуатации пола.
8.12.7. Для прослойки рекомендуется применять крупно- и среднезернистый песок. При укладке плит материал прослойки должен быть талым.
8.12.8. При больших размерах участка пола песчаную прослойку следует укладывать толщиной, на 16 - 20% превышающей проектную, полосами шириной 10 - 15 м, начиная от стен и каналов с постепенным приближением к проезду.
8.12.9. Укладку плит следует производить от края участка, примыкающего к полу другого типа, каналам и другим конструкциям с тем, чтобы обеспечить подноску и укладку плит без ходьбы по выровненной песчаной прослойке.
8.12.10. Первый ряд плит следует укладывать поперек полосы укладки плит по шнуру-причалке, натянутой на высоте 35 - 40 мм от границы пола из чугунных плит. При этом первую плиту следует укладывать в углу участка вплотную к причалке без вдавливания в песок, а последующие плиты также без вдавливания в песок в повернутом на 90° положении по отношению к предыдущей, что обеспечивает заведение выступов укладываемой плиты под ранее уложенные.
8.12.11. Укладку каждого последующего ряда следует начинать от края участка не ранее укладки 6 - 8 плит предыдущего ряда с сохранением этого интервала и в дальнейшем. Заканчивать укладку плит рекомендуется на расстоянии не менее 70 мм от границы участка (стены, фундамент под оборудование) для укладки в этот промежуток окаймляющего шва из жаростойкого бетона класса В22,5.
8.12.12. После укладки плит участок пола следует укатать катком массой 13 т до полной осадки плит.
8.13. Покрытие из торцовых деревянных шашек
8.13.1. Покрытия полов из торцовых деревянных шашек рекомендуется применять в помещениях производственных зданий, где полы в процессе эксплуатации подвергаются ударам от падения твердых предметов с учетом допустимых эксплуатационных воздействий, приведенных в
табл. 1,
2,
3 Приложения 1.
8.13.2. Покрытия полов из торцовых деревянных шашек могут быть выполнены по нежесткому или бетонному подстилающему слою, а также по железобетонному перекрытию (рис. 14).
Рис. 14. Конструктивные схемы полов с покрытием
из торцовой шашки по подстилающему слою (а)
и по перекрытию (б)
1 - покрытие, 2 - прослойка из битумной мастики,
3 - прослойка из песка, 4 - нежесткий подстилающий слой,
5 - грунт основания, 6 - бетонный подстилающий слой,
7 - перекрытие, 8 - стяжка, 9 - трубопровод,
10 - теплозвукоизоляция
8.13.3. Для торцовых покрытий рекомендуется применять деревянные антисептированные шашки прямоугольные и прямоугольные с пазами треугольного сечения и влажностью до 12% (ОСТ 13-226-86).
8.13.4. При полах на грунте с нежестким подстилающим слоем (шлаковым, гравийным, щебеночным), а также с бетонным подстилающим слоем при неровной поверхности рекомендуется применять шашку высотой 80 мм, укладывать ее на песчаную прослойку толщиной 10 - 20 мм.
8.13.5. В полах по бетонному подстилающему слою и по перекрытию рекомендуется применять торцовую шашку высотой 60 мм, укладывать ее на битумной мастике по предварительно огрунтованной бетонной поверхности.
8.13.6. Работы по устройству покрытия из торцовой шашки следует выполнять при температуре воздуха на уровне пола не ниже 5 °C.
8.13.7. Перед укладкой шашки следует погружать с помощью металлических щипцов всеми гранями, кроме верхнего торца, в горячий битум с температурой не ниже 150 °C и немедленно укладывать в покрытие вплотную к ранее уложенным с перевязкой швов не менее чем на 1/3 их длины.
8.13.8. Шашку следует укладывать рядами перпендикулярно направлению движения, начиная от входных дверей (ворот) в направлении "на себя".
8.13.9. Работы по устройству торцовых покрытий следует вести участками (картами) размером 12 x 12 м, разделенными с помощью металлических труб диаметром 30 мм, которые размещают по линии расположения деформационных швов в покрытии.
8.13.10. Шашки следует укладывать длинной стороной вдоль трубы с перевязкой швов в средних рядах на 1/3 длины шашки.
8.13.11. Укладку рекомендуется начинать от одной из труб рядами, параллельными между собой и температурному шву. При этом ряд, примыкающий к температурному шву, должен содержать только целые шашки.
8.13.12. После окончания укладки шашек по всей площади карты из температурных швов, примыкающих к ранее уложенному покрытию, следует удалить трубы, а каналы глубиной 30 мм заполнить сухим песком и до верха шашки залить горячей битумной мастикой.
8.13.13. Через сутки следует провести утюжку покрытия электроутюгом с температурой поверхности не менее 650 °C, начиная от середины карты в направлении длинной стороны шашек.
8.14. Покрытия дощатые, из паркетных досок, щитов и ламината
8.14.1. Покрытия полов дощатые, из паркетных досок, щитового паркета и ламината рекомендуется применять в жилых, общественных и административных зданиях с учетом допустимых эксплуатационных воздействий, приведенных в
табл. 1,
2,
3 Приложения 1.
8.14.2. Дощатые полы, из паркетных досок и щитов могут быть выполнены по грунту, по бетонному подстилающему слою или по перекрытию (
рис. 15 и
16).
а
б
в
Рис. 15. Конструктивные схемы полов с покрытием дощатым,
из паркетных досок, щитов и ламината по грунту
и подстилающему слою при обычных лагах (а),
по подстилающему слою (б) и по регулируемым лагам (в)
1 - покрытие дощатое, из паркетных досок и щитов,
2 - покрытие из паркетных досок и ламината,
3 - гидроизоляционный материал, 4 - деревянная подкладка,
5 - грунт основания, 6 - кирпичный или бетонный столбик,
7 - бетонный подстилающий слой, 8 - гидроизоляция,
9 - сборная стяжка из гипсоволокнистых листов или фанеры,
10 - лага, 11 - керамзитовый песок, 12 - плитный
пенополистирол, 13 - болт-стойка
Рис. 16. Конструктивные схемы полов дощатых,
из паркетных досок, щитов и ламината по перекрытию
1 - покрытие дощатое, из паркетных досок и из щитов,
2 - покрытие из паркетных досок и ламината,
3 - лаги обычные, 4 - стяжка, 5 - теплозвукоизоляция,
6 - лага регулируемая, 7 - перекрытие, 8 - сборная стяжка
из гипсоволокнистых плит, 9 - гидроизоляция,
10 - болт-стойка
8.14.3. При устройстве полов по грунту, если уровень их в цокольном или подвальном помещении ниже уровня отмостки, следует предусмотреть бетонную подготовку из бетона класса В12,5 толщиной 80 мм по слою щебня, втопленного в грунт.
8.14.4. Для дощатых покрытий рекомендуется применять строганые доски
(ГОСТ 8242-88) толщиной от 29 до 50 мм с влажностью до 12%.
8.14.5. Паркетные доски и щиты должны соответствовать требованиям
ГОСТ 862.3-86 и
862.4-87. Паркетные доски и щиты следует применять только в помещениях со слабой интенсивностью пешеходного движения.
8.14.6. Покрытие полов дощатое, из паркетных досок и щитов выполняют по деревянным балкам перекрытий или по деревянным лагам, укладываемым на кирпичные или бетонные столбики, или непосредственно по железобетонным перекрытиям.
8.14.7. При полах по железобетонному перекрытию под лаги должны быть предусмотрены сплошные прокладки из древесно-волокнистых или древесно-стружечных плит плотностью 250 - 350 кг/м3. При этом, если толщина железобетонного перекрытия менее 140 мм, рекомендуется под лаги для усиления звукоизоляции предусмотреть дополнительные ленточные прокладки шириной 30 - 35 мм.
8.14.8. Допускается взамен звукоизоляционных прокладок использовать песчаную засыпку толщиной до 20 мм. При этом по многопустотным панелям перекрытий песчаную засыпку предусматривают толщиной 30 - 40 мм, а по ней - дополнительно звукоизоляционные прокладки толщиной 40 мм из древесно-волокнистых или древесно-стружечных плит.
8.14.9. Для лаг должны использоваться нестроганые доски (
ГОСТ 2695-83*,
ГОСТ 8486-86* Е) 2-го и 3-го сортов из здоровой антисептированной древесины хвойных и мягких лиственных пород, за исключением липы и тополя. Доски могут иметь тупой обзол без коры. Толщину лаг, опирающихся непосредственно на перекрытия или сплошной звукоизоляционный слой, следует принимать равной 40 мм и шириной 80 - 100 мм, а толщину лаг, укладываемых на отдельные опоры (столбики в полах на грунте, балки перекрытия и др.) - 40 - 50 мм при ширине 100 - 120 мм.
8.14.10. Пролет лаг следует принимать не более 0,9 м при их толщине 40 мм и не более 1,1 м при толщине 50 мм.
8.14.11. В покрытиях из паркетных досок толщиной 25 мм пролет лаг следует принимать 400 - 500 мм, в покрытиях из паркетных щитов - 300 - 400 мм.
8.14.12. При шпунтованной доске толщиной 29 и 37 мм шаг лаг следует принимать соответственно 400 и 600 мм. При больших эксплуатационных нагрузках на пол (спортзалы и т.п.) пролет, шаг лаг и их толщину следует устанавливать по расчету.
8.14.13. Лаги следует укладывать поперек направления света из окон, а в помещениях с определенным направлением движения людей (например, в коридорах) - поперек прохода с тем, чтобы доски покрытия располагались вдоль этих направлений. Между лагами и стенами следует оставлять зазор шириной 20 - 30 мм.
8.14.14. Длина стыкуемых лаг должна быть не менее 2-х метров. Стыковать их между собой при укладке на перекрытие следует вплотную торцами в любом месте помещения со смещением стыков в смежных лагах не менее чем на 0,5 м. При размещении лаг на столбиках стыки их должны располагаться на столбиках.
8.14.15. Под лаги, располагаемые на столбиках в полах на грунте, следует укладывать один слой деревянных прокладок по двум слоям рулонного гидроизоляционного материала, края которого должны быть выпущены из-под прокладок на 30 - 40 мм и прикреплены к ним гвоздями.
8.14.16. Ширину деревянных прокладок, укладываемых по столбикам под лаги в полах на грунте, следует принимать равной 100 - 150 мм при длине 0,2 - 0,25 м и толщине - не менее 25 мм.
8.14.17. Установку лаг на железобетонное перекрытие следует производить на звукоизоляционные ленточные прокладки или по засыпке из песка. Звукоизоляционные прокладки рекомендуется выполнять из мягких древесно-волокнистых плит плотностью до 250 кг/м3 и других подобных материалов. Ширину их следует принимать на 50 мм больше ширины лаги.
8.14.18. Лаги должны быть антисептированы. Влажность лаг и прокладок не должны превышать 18%.
8.14.19. В дверных проемах, в перегородках смежных помещений следует располагать уширенную лагу, выступающую не менее чем на 50 мм с каждой стороны, чтобы покрытие пола в смежных помещениях опиралось на одну лагу.
8.14.20. Высота подпольного пространства в полах на грунте (расстояние от основания или подстилающего слоя до досок покрытия) должна быть не более 250 мм, а в полах на перекрытиях (расстояние от перекрытия или звукоизоляционного слоя до досок покрытия) - не менее 10 мм.
8.14.21. Укладка досок дощатого покрытия должна производиться в один слой, непосредственно по лагам, перпендикулярно им. Доски покрытия следует соединять между собой боковыми кромками в шпунт и сплачивать. Уменьшение ширины покрытия при сплачивании должно быть не менее 0,5%. Зазоры между досками покрытия допускаются только в отдельных местах не более 1 мм.
8.14.22. Каждая доска дощатого покрытия должна быть прибита к каждой лаге гвоздями длиной в 2 - 2,5 раза больше толщины доски покрытия. Гвозди следует забивать в пласт досок наклонно с втапливанием шляпок. Ряды гвоздей вдоль лаг должны быть прямолинейными.
8.14.23. Стыки торцов досок с боковыми кромками досок покрытия и стыки боковых кромок смежных досок без шпунтового соединения между ними (например, в дверных проемах) следует располагать на лагах и выполнять с тщательной подгонкой по прямой линии, не допуская образования щелей. Каждую из смежных досок, опирающихся на общую лагу, следует прибивать к этой лаге.
8.14.24. Стыки торцов досок покрытия длиной не менее 2 м должны располагаться на общей для них лаге во всю ширину или длину помещения и перерезаться доской (фризом) шириной 50 - 60 мм, толщиной 15 мм, врезанной заподлицо с поверхностью покрытия. Фриз прибивают к лаге гвоздями в два ряда, с шагом (вдоль лаги) 200 - 250 мм. Стыкование торцов без перерезывания фризом допускается только в двух-трех пристенных досках покрытия, стыки не должны находиться против дверных проемов. Они должны располагаться на одной лаге. Провесы и неровности досок покрытия следует острогать после окончательного сплачивания и прибивки.
| | ИС МЕГАНОРМ: примечание. Нумерация пунктов дана в соответствии с официальным текстом документа. | |
8.14.24. Паркетные доски и паркетные щиты должны удовлетворять требованиям
ГОСТ 862.3-86. Допускается также применение паркетных щитов по
ГОСТ 862.4-87.
8.14.26. Паркетные доски должны соединяться между собой в шпунт, а паркетные щиты - при помощи шпонок.
8.14.27. Каждую паркетную доску и щит следует пришивать к каждой лаге гвоздями длиной 50 - 60 мм. Гвозди следует забивать наклонно в основание нижней щеки паза на кромках паркетных досок и паркетных щитов с втапливанием шляпок.
8.14.28. Стыки торцов и боковых кромок с торцами смежных паркетных досок, а также стыки параллельных лагам смежных паркетных щитов следует располагать на лагах. При сопряжении паркетных досок, а также паркетных щитов с опиленными кромками на одних из них должен быть выполнен паз, на других - гребень, соответствующие имеющимся на других кромках.
Одна из смежных паркетных досок и один из смежных паркетных щитов, опирающиеся на общую для них лагу и имеющие на кромках паз, должны быть пришиты к этой лаге.
8.14.29. Для проветривания подпольного пространства полов на грунте в помещениях, расположенных на 1 этаже зданий без технического подполья, у стен и перегородок должны быть уложены щелевые плинтусы, либо в покрытии или гантелях оставлены отверстия в двух противоположных углах помещения. Отверстия площадью 20 - 30 см2 следует перекрыть металлическими решетками, возвышающимися над полом на 7 - 10 мм.
8.14.30. В целях снижения трудоемкости работ, сокращения сроков по устройству пола и повышения его качества рекомендуется применять регулируемые деревянные лаги со сквозными резьбовыми отверстиями.
8.14.31. Деревянные регулируемые лаги (ТУ 5361-001-42950773-99) имеют размеры 45 x 45 x 2000, 45 x 70 x 2000 и 45 x 120 x 2000 мм и поставляются в комплекте с дюбелями-стойками для регулирования уровня подъема лаг и дюбелями-гвоздями для крепления болтов-стоек к перекрытию.
8.14.32. Перед установкой в отверстия лаг ввинчиваются пластиковые болты-стойки, на которые опираются лаги (рис. 17 а).
Рис. 17. Последовательность операций по установке
регулируемых лаг и закрепления к ним сборной стяжки
8.14.33. Лаги устанавливаются на перекрытии с шагом 600 мм, после чего через болты-стойки в перекрытии засверливаются отверстия (рис. 17 б, в).
8.14.34. В болт-стойку помещают дюбель-гвоздь, который на неполную глубину забивают с помощью дробника в отверстие, выполненное в перекрытии (рис. 17 г, д).
8.14.35. С помощью завинчивающего инструмента регулируют необходимое положение лаг по уровню (рис. 17 е) и окончательно закрепляют лаги к перекрытию с помощью дюбель-гвоздя, после чего выступающие части болтов-стоек удаляют с помощью стамески (
рис. 17 ж).
8.14.36. На установленные таким образом лаги крепят дощатое покрытие, паркетные доски или щитовой паркет.
8.14.37. В качестве ламинированного покрытия применяют многослойные пластмассовые изделия в виде досок длиной 1100 - 1300 мм, шириной 190 - 390 мм и толщиной 6 - 11 мм, которые представляют собой многослойную конструкцию с несущей основой из древесно-волокнистой плиты или пластика.
Наружный декоративный слой, имеющий различные породы дерева, камня и т.п., защищен прозрачным пергамином, пропитанным меламино-формальдегидной смолой, а нижний слой выполняется из специального картона или войлока с пропиткой.
8.14.38. При покрытии из ламината на предварительно установленные лаги укладывают сборную стяжку из двух слоев фанеры толщиной по 10 мм, закрепляя их с шагом 150 мм саморезами. При этом второй лист фанеры должен перекрывать стыки нижнего слоя (
рис. 17 з).
8.14.39. Под покрытие из ламината вместо лаг выравнивание основания может быть осуществлено с помощью спаренных листов фанеры размером 1,5 x 1,5 м и толщиной по 12 мм. При этом вначале производится разметка отверстий на листе фанеры (рис. 18 а). Для этого по углам листа на расстоянии 50 мм от края листа проводятся линии, параллельные его кромкам, точки пересечения которых являются местами расположения отверстий.
Рис. 18. Последовательность операций при установке фанеры
Места расположения отверстий соединяются между собой диагоналями, точка пересечения которых является местом размещения пятого отверстия. Следующие четыре отверстия размещаются в середине линий периметра, а последующие четыре - в середине линий полудиагоналей.
8.14.40. После разметки листа фанеры в нем сверлятся отверстия и в них вставляются и закрепляются саморезами втулки, в которые вкручиваются болты-стойки. В остальном процесс установки и закрепления листов фанеры аналогичен установке лаг
(рис. 18).
8.14.41. Покрытие пола из ламината выполняется без наклейки на основание, а сами ламинированные изделия следует соединить между собой в шпунт с посадкой на клей. В качестве клея рекомендуется применять поливинилацетатную ПВА-дисперсию
(ГОСТ 18992-80), клей дисперсионный АДМ-К (ТУ 400-1-177-79), а также мастику "Перминид" (ТУ 400-1-136-78).
8.14.42. При устройстве покрытия пола ламинат укладывают на амортизирующую подложку, в качестве которой рекомендуется использовать гофрированный картон или вспененный полиэтилен, а также пенопласт толщиной 2 - 3 мм.
8.14.43. В случаях возможного увлажнения покрытия из ламината снизу следует под подложку в качестве гидроизоляции уложить полиэтиленовую пленку.
8.14.44. Укладку досок ламината следует начинать в направлении слева направо пазовой стороной к стене на расстоянии 8 - 10 мм от стены, наиболее удаленной от входа. При ширине помещения более 6 м в направлении ширины ламинатной доски зазор между стеной и доской следует увеличить на 1,5 мм на каждый дополнительный метр.
8.14.45. Последующие ряды следует укладывать таким образом, чтобы шаг стыков между досками соседних рядов был не менее 30 см.
8.14.46. В целях обеспечения возможности разборки покрытия рекомендуется использовать ламинат со специальными замковыми соединениями.
8.14.47. Зазоры между покрытиями из досок, паркетных досок, щитов ламината и стенами следует принимать 10 - 15 мм и перекрывать плинтусами или галтелями, которые крепят гвоздями длиной 30 - 40 мм, диаметром 2,5 мм или шурупами длиной 25 мм, диаметром 3 мм, к стене (перегородке), либо только к полу.
8.14.48. Под плинтусы рекомендуется устанавливать упругие прокладки из полос линолеума на теплоизолирующей подоснове, которые следует закреплять к стене, если плинтус крепится к полу, и к полу, если плинтус крепится к стене.
8.15. Покрытия из штучного и наборного паркета
8.15.1. Рекомендуемая область применения покрытия полов из штучного и наборного паркета - аналогичная полам дощатым, из паркетных досок и щитов.
8.15.2. Покрытие из штучного и наборного паркета может быть выполнено по выравнивающей цементно-песчаной, гипсовой или пенобетонной стяжке, сплошному деревянному основанию или по сборной стяжке из спаренных листов водостойкой фанеры общей толщиной 20 мм, укладываемым по регулируемым лагам или из спаренных гипсоволокнистых листов, укладываемым по регулируемым лагам, плитам пенополистирола или слою керамзитового песка
(рис. 19).
Рис. 19. Конструктивные схемы полов с покрытиями
из штучного и наборного паркета по стяжке (а), лагам (б),
по черновому деревянному полу (в), по сборной стяжке
из гипсоволокнистых листов на слое керамзитового песка (г)
и сборной стяжке из гипсоволокнистых листов
на слое плит пенополистирола (д)
1 - слой лака (3 - 7 слоев), 2 - грунтовка, 3 - паркет,
4 - клей паркетный, 5 - фанера, 6 - клей,
7 - гидроизоляция, 8 - праймер, 9 - стяжка,
10 - гидроизоляция основания, 11 - перекрытие,
12 - дюбели, 13 - сборная стяжка
из гипсоволокнистых листов, 14 - керамзитовый песок,
15 - лаги, 16 - шурупы, 17 - черновой деревянный пол,
18 - плитный пенополистирол
8.15.3. В качестве штучного и наборного паркета рекомендуется применять дубовые планки толщиной не менее 10 мм. При этом ширина паркетной планки во избежание возможного поперечного коробления не должна превышать пяти толщин.
8.15.4. Работы по наклейке паркета следует производить при температуре воздуха в помещении не ниже 10 °C и его влажности до 60%.
8.15.5. Настилку рядов следует начинать от входной двери к окну.
8.15.6. Паркет следует укладывать в соответствии с принятым рисунком вплотную к ранее уложенным маячным рядам и тщательно втапливать в мастику.
В больших помещениях два стыкуемых маячных ряда следует укладывать в середине и работы вести в двух направлениях. В помещениях малого размера маячный ряд следует укладывать у стены, наиболее удаленной от входной двери.
8.15.7. Смежные планки паркета должны соединяться между собой в шпунт. Зазоры между планками не должны превышать 0,3 мм, а между планками паркета и стенами (перегородками) - 15 мм.
8.15.8. При укладке паркета по цементно-песчаной стяжке ее предварительно следует покрыть праймером (огрунтовать) с целью повышения адгезии.
8.15.9. В качестве основания под штучный паркет могут быть использованы листы водостойкой фанеры размером 750 x 750 мм толщиной 10 - 18 мм, укладываемые вразбежку с зазором 3 - 5 мм, которые закрепляют к основанию дюбелями.
8.15.10. К фанере паркетные планки могут закрепляться гвоздями или с помощью клеев, в качестве которых рекомендуется применять водно-дисперсионные клеи, клеи на органических растворителях или двухкомпонентные полимеризующиеся составы.
8.15.11. Выступающие кромки паркета следует отциклевать вровень со смежными, а затем покрытие отшлифовать. При этом эти работы следует выполнять при наклейке планок на водно-дисперсионных клеях - через 5 - 7 суток, при клеях на органических растворителях - через 3 - 5 суток, а при полимеризующихся клеевых составах - через сутки.
8.15.12. Зазоры между паркетным покрытием и стенами (перегородками) должны перекрываться плинтусами или галтелями после циклевки паркета. Отделку готового отшлифованного покрытия следует производить после окончания всех строительных работ в помещении.
8.16. Покрытия из линолеумов и ковров на основе синтетических волокон
8.16.1. Покрытия из линолеумов рекомендуется применять в жилых, общественных и промышленных зданиях с учетом допустимых эксплуатационных воздействий, приведенных в
табл. 1,
2,
3 Приложения 1.
8.16.2. В жилых зданиях полы рекомендуется выполнять преимущественно из поливинилхлоридного линолеума на теплоизолирующей подоснове, сваренного в стационарных условиях в ковры размером на комнату
(ГОСТ 27023-86), а также поливинилхлоридные линолеумы на теплозвукоизолирующей подоснове
(ГОСТ 18108-80), на тканевой подоснове
(ГОСТ 7251-77) и резинового линолеума.
8.16.3. Покрытия из ковров на синтетической основе рекомендуется применять для полов в общественных зданиях (гостиницы, торговые залы ресторанов, зрительные залы зрелищных зданий, библиотеки, административные здания и т.п.) с учетом допустимых эксплуатационных воздействий, приведенных в
табл. 1,
2,
3 Приложения 1. К ним относятся синтетические ковровые материалы на вспененной латексной подоснове (ТУ 400-1-367-83), с печатным рисунком на тканевой основе "Ковроплен" (ТУ 400-1-184-70) и "Ворсолин" (ТУ 21-29-12-77), прошивное (тафтинговое) (ТУ 400-1-411-7-87), иглопробивное на основе химических волокон "Версонит"
(ГОСТ 26149-84).
8.16.4. Основанием под полы из линолеума и синтетических ковров может быть бетонный подстилающий слой, железобетонное перекрытие, монолитные стяжки на основе цементного и гипсового вяжущего, а также сборная стяжка из спаренных фанерных или гипсоволокнистых листов (рис. 20 и
21).
Рис. 20. Конструктивные схемы полов с покрытиями
из линолеума и ковров на синтетической основе
по грунтовому основанию
1 - покрытие, 2 - клеевой слой,
3 - цементно-песчаная стяжка, 4 - бетонный подстилающий
слой, 5 - грунт основания, 6 - лага, 7 - столбик,
8 - регулируемая лага, 9 - сборная стяжка из фанеры
или гипсоволокнистых листов, 10 - плиты пенополистирольные,
11 - керамзитовый песок, 12 - гидроизоляция,
13 - болт-стойка
Рис. 21. Конструктивные схемы полов с покрытиями
из линолеума и ковров на синтетической основе по перекрытию
1 - покрытие, 2 - клеевой слой,
3 - цементно-песчаная стяжка, 4 - теплозвукоизоляция,
5 - перекрытие, 6 - сборная стяжка из фанеры
или гипсоволокнистых листов, 7 - плиты пенополистирольные,
8 - регулируемые лаги, 9 - гидроизоляция, 10 - керамзитовый
песок, 11 - болт-стойка
8.16.5. Линолеум в виде сварных ковров (размером в комнату) и синтетические ковровые материалы должны поставляться в рулонах, намотанных на сердечники диаметром 100 - 150 мм. При этом каждый рулон синтетического коврового материала должен быть упакован в оберточную бумагу, поливинилхлоридную или полиэтиленовую пленку.
8.16.6. В помещениях, где выполняются полы из линолеума и синтетических ковров, температура воздуха на уровне пола не должна быть ниже 15 °C, а его влажность до 60%.
8.16.7. Перед укладкой покрытий бетонное основание следует выровнять, бугорки на поверхности бетона сошлифовать, западающие неровности, трещины и выбоины зашпаклевать раствором из цементно-песчаной смеси марки 150, поливинилацетатной дисперсии, разбавленной водой в соотношении 1:4 (дисперсия - вода). Шпаклевку в местах заделки следует просушить, а поверхность нижележащего слоя перед укладкой покрытий обеспылить без увлажнения водой.
8.16.8. Поверхность основания следует огрунтовать разбавленными водой дисперсионными клеями и мастиками или растворенными в растворителе клеями и мастиками на основе синтетических смол и каучуков.
8.16.9. Рулоны линолеума и синтетических ворсовых ковров следует раскатывать для вылеживания не позднее чем за двое суток до их укладки при температуре воздуха не ниже 15 °C. Деформированные места листов, не прилегающие к основанию при вылеживании, следует пригружать.
8.16.10. Линолеум и синтетические ворсовые ковры должны быть приклеены к нижележащему слою по всей площади.
8.16.11. Для наклейки линолеумных полотнищ и ковров рекомендуется применять клеи и мастики на водостойких вяжущих, обеспечивающих прочность приклейки на отрыв не менее 0,15 МПа (табл. 8.16.1).
Таблица 8.16.1
┌───────────────────┬─────────────────────────────────────────────────────────────────────┐
│ Материал покрытия │ Тип клея или мастики │
│ пола ├─────────────────────────────────────────────────┬─────────┬─────────┤
│ │ Водно-дисперсионные │Битумные │Синтети- │
│ │ │ │ческие │
│ ├──────┬─────────┬─────────┬──────┬────────┬──────┼─────────┼─────────┤
│ │Бусти-│Дивитекс │Синтелакс│Лате- │ ПВА │АДМ-К │Универ- │Пеминид │
│ │лат │ТУ 5770- │ТУ 21029-│лин │ ГОСТ │ТУ │сальная │ТУ 400-1-│
│ │ТУ │072- │50-89 │ТУ │
18992-80│400-1-│ТУ 5075- │136-78 │
│ │400-2-│00284718-│ │400-2-│ │177-79│001- │КН-2, │
│ │50-93 │93 │ │324-87│ │ │03989419-│КН-3; │
│ │ │ │ │ │ │ │93 │ГОСТ │
├───────────────────┼──────┼─────────┼─────────┼──────┼────────┼──────┼─────────┼─────────┤
│ 1 │ 2 │ 3 │ 4 │ 5 │ 6 │ 7 │ 8 │ 9 │
├───────────────────┴──────┴─────────┴─────────┴──────┴────────┴──────┴─────────┴─────────┤
│ │
├───────────────────┬──────┬─────────┬─────────┬──────┬────────┬──────┬─────────┬─────────┤
│Линолеум вспененный│ - │ + │ + │ + │ + │ + │ - │ - │
│поливинилхлоридный │ │ │ │ │ │ │ │ │
│с печатным рисунком│ │ │ │ │ │ │ │ │
│Линолеум поливинил-│ + │ + │ + │ + │ + │ + │ - │ - │
│хлоридный на тепло-│ │ │ │ │ │ │ │ │
│звукоизолирующей │ │ │ │ │ │ │ │ │
│подоснове │ │ │ │ │ │ │ │ │
│Линолеум поливинил-│ - │ + │ + │ + │ + │ + │ - │ - │
│хлоридный много- │ │ │ │ │ │ │ │ │
│слойный и однослой-│ │ │ │ │ │ │ │ │
│ный без подосновы │ │ │ │ │ │ │ │ │
│Линолеум резиновый │ - │ - │ - │ - │ - │ - │ + │ + │
│многослойный релин │ │ │ │ │ │ │ │ │
├───────────────────┼──────┼─────────┼─────────┼──────┼────────┼──────┼─────────┼─────────┤
│Текстильные │ - │ + │ - │ - │ + │ + │ - │ + │
│покрытия (ковровые)│ │ │ │ │ │ │ │ │
└───────────────────┴──────┴─────────┴─────────┴──────┴────────┴──────┴─────────┴─────────┘
8.16.12. На дисперсионные клеи и мастики линолеум следует укладывать сразу после их нанесения на основание, а на клеи и мастики на основе битумов через 15 - 20 минут после нанесения. Клеи и мастики на основе синтетических смол и каучуков наносить на основание и тыльную сторону покрытия (кроме синтетических ковров толщиной 0,2 - 0,3 мм) и выдерживать до отлипа для улетучивания избытка растворителя. При этом, если основание пористое, клей следует наносить два раза, второй слой после высыхания первого (через 3 - 6 ч).
8.16.13. Зазоры между смежными кромками листов линолеума и синтетических ворсовых ковров в покрытии не допускаются. Эти листы следует укладывать с напуском 10 мм на ранее уложенные, приклеивая по всей площади, за исключением краев шириной около 100 мм. В местах напуска оба листа одновременно разрезают вдоль по линейке. Отрезанные полоски удаляют и края листов приклеивают к нижележащему слою. Кромки полотнищ следует приклеивать к основанию тем же клеем, что и полотнища. Во время приклейки листы следует плотно прижимать к нижележащему слою. Зазор между кромкой ковра из линолеума или синтетического ковра со стеной должен составлять 4 - 5 мм и перекрываться плинтусом.
8.16.14. При наклейке линолеума на плоскости, расположенные под углом, радиус его перегиба должен быть не менее 50 мм; в этих местах под линолеум необходимо укладывать рейку или плинтус соответствующего профиля.
8.16.15. При устройстве покрытий из линолеума, сваренного в ковры, и из синтетических ковров предварительно ковер отгибают на половину длины и на освободившуюся площадь основания наносят клей, после чего раскатывают ковер по клеевому слою, прижимая его к основанию с помощью катка или гладилки для удаления воздуха. При использовании клея марки АДМ-К клеевой слой предварительно выдерживают в течение 20 минут, а затем раскатывают по основанию. Аналогичную операцию производят со второй половиной ковра.
8.16.16. Для предотвращения проникания влаги в подоснову линолеума и основание через швы стыкуемых полотнищ их следует сваривать. Линолеумы, имеющие в своем составе термопластическую поливинилхлоридную смолу, сваривают горячим воздухом, контактно-тепловым нагревом и инфракрасными лучами. Для этого рекомендуется электронное устройство "Пилад" и полуавтомат типа "Пчелка".
8.16.17. Полотнища поливинилхлоридного линолеума со вспененной подосновой и печатным рисунком, который не сваривается, стыкуют методом "холодной сварки" с помощью клеев "Перминид" (ТУ 400-1-136-78) и ТГФ-70М (ТУ 400-1-411-82).
8.16.18. Кромки в местах стыковки полотнищ в дверных проемах следует прирезать не менее чем через сутки после "холодной сварки". После приклейки места стыков рекомендуется пригрузить.
8.17. Покрытия из керамических плиток
8.17.1. Полы из керамических плиток рекомендуется применять в помещениях с систематическим или периодическим увлажнением пола, с учетом допустимых эксплуатационных воздействий, приведенных в
табл. 1,
2,
3 Приложения 1.
8.17.2. Основанием под полы из керамических плиток может быть бетонный подстилающий слой, железобетонные перекрытия, цементно-песчаная стяжка марки не ниже 150 или сборная стяжка, состоящая из слоя водостойкой фанеры и гипсоволокнистого листа, спаренных гипсоволокнистых листов, укладываемых по регулируемым лагам, слою пенополистирольных плит или керамзитового песка
(рис. 22).
Рис. 22. Конструктивные схемы полов с покрытиями
из керамических и синтетических плиток
1 - покрытие пола из плиток, 2 - прослойка
из цементно-песчаного раствора, 3 - клеевая прослойка,
4 - гидроизоляция, 5 - мастика в швах, 6 - бетонный
подстилающий слой, 7 - грунт основания, 8 - слой
полиэтиленовой пленки, 9 - сборная стяжка
из гипсоволокнистых листов, 10 - теплозвукоизоляция
из минплиты, 11 - теплозвукоизоляция из плит
пенополистирола, 12 - теплозвукоизоляция из керамзитового
песка, 13 - регулируемые лаги, 14 - бетонная стяжка,
15 - перекрытие, 16 - болт-стойка
8.17.3. При варианте с регулируемыми лагами шаг их следует принимать равным 30 - 40 см.
8.17.4. Керамические плитки следует укладывать по прослойке из плиточных клеев на основе портландцемента (ТУ 5745-013-05668056-99) или синтетических смол (ТУ 2384-0003-365379-56-00). Допускается также применение цементно-песчаного раствора (табл. 8.17.1), содержащего в качестве модифицирующей добавки пластифицированную поливинилацетатную дисперсию
(ГОСТ 18992-80) или латекс СКС-65ГП марки "Б" (ТУ 38-103-111-80) в количестве 10 - 15% от массы цемента в пересчете на сухое вещество полимера.
Таблица 8.17.1
──────────────────────────┬────────────────┬───────────────┬───────────────
Прочность раствора, МПа │ Вода │ Цемент │ Песок
──────────────────────────┼────────────────┼───────────────┼───────────────
15 │ 0,55 │ 1 │ 3
20 │ 0,48 │ 1 │ 2,8
30 │ 0,4 │ 1 │ 2,4
──────────────────────────┴────────────────┴───────────────┴───────────────
8.17.5. В целях снижения усадочных деформаций для прослойки рекомендуется применять жесткие цементно-песчаные смеси с осадкой конуса 2 - 3 см. При этом керамические плитки следует втапливать в раствор прослойки с помощью вибрации. В противном случае следует использовать раствор с осадкой конуса 5 - 6 см.
8.17.6. Покрытия из керамических плиток рекомендуется выполнять при температуре воздуха на уровне пола не ниже 10 °C.
8.17.7. До укладки прослойки из цементно-песчаного раствора устанавливают и закрепляют маячные рейки из деревянных брусков или металлических прокатных изделий высотой, соответствующей требуемой толщине прослойки. Толщина прослойки из плиточных клеев регулируется размером зубцов зубчатого шпателя, применяемого при нанесении данных композиций.
8.17.8. Для повышения начальной прочности сцепления раствора прослойки с плиткой ее перед укладкой следует замачивать в воде. При этом плитки, укладываемые на жесткий цементно-песчаный раствор, рекомендуется замачивать путем полного погружения в воду или водный раствор поверхностно-активных веществ (ПАВ) на 15 - 20 минут. В качестве водных растворов ПАВ применяют 1%-ный раствор хлористого кальция или 0,5%-ный раствор хлористого алюминия.
8.17.9. При укладке плиток на раствор с осадкой конуса 5 - 6 см их достаточно перед укладкой окунуть в воду или водный раствор ПАВ.
8.17.10. При укладке плиток на полимерных или цементных клеях предварительное увлажнение плиток не требуется.
8.17.11. Первый ряд маячных реек следует размещать у стены, противоположной входу в помещение, с таким расчетом, чтобы после укладки всех плиток и удаления маячной рейки в образовавшийся промежуток укладывалось целое число плиток фризового ряда.
8.17.12. Плитки следует укладывать по шнуру или по рейкам с образованием швов толщиной 3 - 6 мм, которые затем заполняют окрашенными цементными или полимерными затирочными композициями или цементно-песчаным раствором состава 1:1.
8.17.13. Цементно-песчаный раствор прослойки должен твердеть во влажных условиях, для чего покрытие пола следует засыпать слоем мокрых опилок или накрыть полиэтиленовой пленкой на 7 - 10 дней.
8.18. Покрытия из синтетических плиток
8.18.1. Покрытия из синтетических плиток рекомендуется применять для устройства полов в кухнях, коридорах жилых зданий, в помещениях административных зданий, в коридорах и фойе учебных и зрелищных предприятий, магазинах, в помещениях лабораторий, офисов, с учетом допустимых эксплуатационных воздействий, приведенных в
табл. 1,
2,
3 Приложения 1.
8.18.2. Плитки могут наклеиваться по сборной стяжке из гипсоволокнистых листов, укладываемой по регулируемым лагам, плитам пенополистирола или слою керамзитового песка, а также по гладким поверхностям железобетонных перекрытий или ровным цементно-песчаным стяжкам с прочностью на сжатие не менее 10 МПа (см.
рис. 22). При этом влажность стяжки не должна превышать 5%.
8.18.3. Работы по устройству покрытий полов из синтетических плиток следует выполнять при температуре не ниже 15 °C и влажности воздуха до 60%.
8.18.4. Для наклейки плиток рекомендуется применять дисперсионные клеи типа АДМ-К и АК, битумно-синтетические или клеи на основе синтетических смол и каучуков - полиуретановые найрито-каучуковые типа КН-2 и КН-3.
8.18.5. Перед устройством покрытия следует произвести разбивку осей. При этом если помещения соединены между собой, разбивочные оси рекомендуется прокладывать во всех помещениях через середины проемов смежных помещений. В других помещениях разбивочные оси прокладывают через их центр.
8.18.6. Перед наклейкой плиток следует выполнить пробную раскладку плиток насухо. При этом, если целое число плиток не укладывается точно по длине и ширине помещения, разбивочные оси смещают таким образом, чтобы плитки можно было бы подрезать только у одной или двух взаимно перпендикулярных стен.
8.18.7. Наклейку плиток следует начинать от пересечения разбивочных осей. В больших помещениях рекомендуется укладывать плитки в двух или четырех направлениях от разбивочных осей. В помещениях с небольшой площадью укладку плиток на клеях из синтетических смол и каучуков следует начинать от входной двери и вести на себя, находясь на ранее наклеенных плитках, а при использовании дисперсионных и битумно-синтетических клеев укладку плиток следует вести в направлении от себя, не наступая на ранее уложенные плитки.
8.18.8. Дисперсионные, битумно-синтетические клеи и синтетические следует наносить только на нижележащий слой толщиной 0,4 - 0,5 мм полосой шириной на 80 - 100 мм шире плитки. При этом укладку плиток производят через 15 - 20 минут после нанесения клея. В случае применения синтетического клея укладку следует завершить через 40 минут.
8.18.9. При использовании каучуковых клеев типа КН-2, КН-3 их следует наносить на нижележащий слой и тыльную сторону плитки толщиной 0,2 - 0,3 мм. При этом в небольших помещениях клей рекомендуется наносить на всю площадь помещения, начиная от стены, а при больших площадях - на ширину двух-трех рядов плиток. Укладку плиток осуществляют после выдержки клея до "отлипа".
8.18.10. Зазоры между стенами и покрытием пола перекрывают деревянными плинтусами, которые прибивают к пробкам в стене, а пластмассовые плинтусы приклеивают к стенам или перегородкам.
8.19. Покрытия из плит природного камня
8.19.1. Покрытия полов из плит природного камня (гранита, лабрадорита, мрамора и др.) рекомендуется применять для устройства полов в общественных и уникальных зданиях, где к ним предъявляются повышенные требования по эстетике, гигиене и истираемости, с учетом допустимых эксплуатационных воздействий, приведенных в
табл. 1,
2,
3 Приложения 1.
8.19.2. Такие покрытия могут быть применены по бетонному подстилающему слою, железобетонному перекрытию или цементно-песчаным стяжкам с пределом прочности на сжатие не менее 15 МПа (рис. 23).
Рис. 23. Конструктивные схемы полов с покрытием
из плит природного камня по подстилающему слою (а)
и по перекрытию (б)
1 - покрытие, 2 - прослойка из цементно-песчаного раствора,
3 - гидроизоляция, 4 - грунт основания, 5 - бетонный
подстилающий слой, 6 - стяжка, 7 - перекрытие,
8 - теплозвукоизоляция, 9 - трубопровод
8.19.3. Покрытия из плит природного камня следует выполнять при тех же параметрах воздуха, что и из керамических плиток. Плиты укладывают по прослойке из цементно-песчаного раствора с прочностью на сжатие не ниже 15 МПа и с осадкой конуса 3 - 4 см.
8.19.4. Перед устройством покрытий из плит природного камня их следует предварительно разложить насухо с целью подбора.
8.19.5. Плиты с предварительно увлажненной тыльной стороной следует укладывать по маякам, размещаемым через 2 м, на цементно-песчаную прослойку толщиной 20 - 30 мм.
8.19.6. В больших помещениях плиты рекомендуется укладывать от центра помещения в четырех или двух направлениях от разбивочных осей по маячным шнурам, проходящим через центральные оси помещения. В других случаях укладку плит следует выполнять от стены, противоположной входным дверям.
8.19.7. Раствор прослойки следует укладывать полосами длиной 1 - 1,5 м вдоль маячного шнура на 20 - 30 мм шире ряда укладываемых плит.
8.19.8. При устройстве покрытий типа "Брекчия" рекомендуется использовать обычный или цветной цементно-песчаный раствор, а также мозаичную смесь с щебеночным заполнителем из той же породы, что и куски плит. При этом швы между кусками плит шириной 2 - 3 мм следует заполнять через сутки после укладки цементным тестом, а более 3 мм - раствором или мозаичной смесью.
8.19.9. По аналогии с покрытиями из керамической плитки такие покрытия следует выдерживать во влажном состоянии в течение 7 - 10 суток.
8.20. Покрытия из плит каменного литья, кислотоупорных плиток и кирпича
8.20.1. Покрытия из плит каменного литья, кислотоупорных плиток и кирпича рекомендуется применять в производственных помещениях с учетом допустимых эксплуатационных воздействий, приведенных в
табл. 1,
2,
3 Приложения 1. При этом покрытие из кислотоупорного кирпича, уложенного на ребро, рекомендуется использовать только в зонах интенсивного движения автомобилей и автокаров.
8.20.2. Основанием под такие покрытия могут быть бетонный подстилающий слой, железобетонное перекрытие или бетонная стяжка (рис. 24).
Рис. 24. Конструктивные схемы полов с покрытиями
из плит каменного литья, кислотоупорной плитки и кирпича
1 - покрытие, 2 - прослойка из раствора на основе жидкого
стекла, 3 - прослойка на основе полимерных материалов,
4 - гидроизоляция, 5 - мастика в швах, 6 - бетонный
подстилающий слой, 7 - грунт основания, 8 - перекрытие,
9 - стяжка, 10 - теплозвукоизоляция
8.20.3. Плитки и кирпич следует укладывать по прослойке толщиной 10 - 15 мм из раствора на жидком стекле с прочностью на сжатие не менее 15 МПа или арзамит-замазки. Для прослойки и заполнения швов рекомендуется следующий состав раствора (мас. ч.):
жидкое стекло натриевое плотностью 1380 кг/м3 - 100,
натрий кремнефтористый - 18,
песок (кварцевый, диабазовый, андезитовый, базальтовый) - 170,
порошок (кварцевый, диабазовый, андезитовый, базальтовый) - 170,
фуриловый спирт - 3.
Плитки рекомендуется также укладывать на полимерзамазках на основе эпоксидных смол.
8.20.4. При приготовлении раствора жидкое стекло следует перемешать с фуриловым спиртом и в полученную смесь ввести песок, порошок и кремнефтористый натрий с последующим перемешиванием до достижения однородности смеси.
8.20.5. Укладку покрытия следует начинать от стен к проездам и дверям. Укладку плит и кирпича производят рядами, параллельными стенам. Кирпич укладывают по шнуру с соблюдением перевязки швов на 1/3 - 1/2 кирпича. В проездах его укладывают в "елку". При наличии большого числа фундаментов под оборудование, которые параллельны между собой, но не параллельны стенам, - рядами, параллельными этим фундаментам.
8.20.6. При укладке плит и кирпича полосу разравниваемого кислотоупорного раствора следует иметь длиной не менее 1 м и шире укладываемого ряда плиток или кирпича на 40 - 50 мм. Швы между плитами и кирпичами заполняют выдавливанием раствора прослойки при их укладке. Их ширина не должна превышать при кирпиче - 5 мм, а при плитках - 3 мм.
8.20.7. Покрытие из плиток каменного литья, кислотоупорных плиток и кирпича после укладки должно быть выдержано при температуре не ниже 18 °C в течение 20 суток в сухих условиях при заполнении швов раствором на основе жидкого стекла или полимерными мастиками.
8.21. Отделка поверхности покрытий
8.21.1. При предъявлении к полам с бетонным, мозаично-бетонным, поливинилацетатным, ксилолитовым и поливинилацетатцементно-опилочным, дощатым и паркетным покрытиям повышенных требований по степени пылеотделения, водо- и маслостойкости, износостойкости, а также улучшению эстетических и декоративных качеств покрытия рекомендуется предусматривать дополнительную отделку поверхности.
8.21.2. Отделка поверхности покрытия предусматривает пропитку ее составами на основе эпоксидных, полиуретановых или акриловых смол (табл. 8.21.1).
| | ИС МЕГАНОРМ: примечание. В официальном тексте документа, видимо, допущена опечатка: не указан номер таблицы. Возможно, имеется в виду таблица 8.21.1. | |
─────────────────────┬─────────────────────────────────────────────────────
Вид покрытия пола │ Вид пропиточного состава
├────────┬──────────┬─────────┬─────────────┬─────────
│Эпоксид-│Полиурета-│ На │Цветные эмали│ Флюаты
│ный лак │новый лак │ основе │ на основе │ типа
│ │ │акрилатов│ эпоксидных │"Литурин"
│ │ │ │ смол │
─────────────────────┼────────┼──────────┼─────────┼─────────────┼─────────
Бетонные │ + │ + │ + │ + │ +
То же, с упрочненным │ - │ - │ + │ - │ +
верхним слоем │ │ │ │ │
Мозаично-бетонное │ + │ + │ + │ + │ +
Сталефибробетонное │ + │ + │ + │ + │ +
Поливинилацетат- │ + │ + │ + │ + │ +
цементно-опилочное │ │ │ │ │
и ксилолитовое │ │ │ │ │
Поливинилацетат- и │ + │ + │ + │ + │ +
латексцементно- │ │ │ │ │
бетонное │ │ │ │ │
Дощатое и паркетное │ - │ + │ - │ - │ -
─────────────────────┴────────┴──────────┴─────────┴─────────────┴─────────
8.21.3. Перед нанесением пропиточного состава поверхность покрытия должна быть отшлифована и обеспылена.
8.21.4. Отделочные составы следует наносить в 2 - 3 приема. Каждый последующий слой должен наноситься после отвердения предыдущего. Вязкость 1-го, 2-го и 3-го слоев пропиточных составов на основе эпоксидных и полиуретановых лаков должна составлять соответственно 8 - 12, 14 - 17 и 16 - 20 с.
8.21.5. Пропиточные составы на основе акриловых композиций следует наносить на предварительно огрунтованную поверхность. Для грунтовки применяется состав, используемый в качестве первого пропиточного слоя.
8.21.6. Работы по отделке поверхности покрытия полов следует производить при температуре не ниже 10 °C.
9. Основные правила техники безопасности
9.1. Работы по устройству полов должны выполняться специализированными бригадами под техническим руководством и контролем инженерно-технических работников организаций, имеющих лицензию на право производства работ. К производству работ допускаются рабочие, прошедшие медицинский осмотр, обученные правилам техники безопасности, методам ведения этих работ и мерам пожарной безопасности.
9.2. О проведении инструктажей должна быть отметка в специальном журнале под роспись. Журнал должен храниться у ответственного за проведение работ на объекте или в строительной (ремонтной) организации. При этом необходимо руководствоваться
СНиП III-4-80 "Техника безопасности в строительстве" издания 1993 г., "
Правилами технической эксплуатации электроустановок потребителей", а также "
Правилами техники безопасности при эксплуатации электроустановок потребителей", утвержденными Госэнергонадзором.
9.3. При организации работ с механизмами и аппаратами, работающими под давлением, необходимо соблюдать меры безопасности, предусмотренные в "
Правилах устройства и безопасной эксплуатации сосудов, работающих под давлением", утвержденных Госгортехнадзором.
9.4. Лица, выполняющие работы по разогреву битума, приготовлению битумных мастик и работающие с оборудованием для подогрева изоляционных материалов, должны проходить обучение по программам пожарно-технического минимума в обязательном порядке со сдачей зачетов (экзаменов).
9.5. У мест выполнения работ по устройству полов, а также около оборудования, имеющего повышенную пожарную опасность (котлы для варки битума и у мест приготовления битумной мастики, при производстве работ по укладке горючего утеплителя), следует вывешивать стандартные знаки (аншлаги, таблички) безопасности.
9.6. Перед началом ремонтных или строительных работ территория объекта должна быть подготовлена с определением мест установки бытовых вагончиков, мест складирования материалов, баллонов с горючими газами, емкостей с легковоспламеняющимися жидкостями, установки битумоварочных котлов и мест приготовления битумных мастик.
9.7. Бытовые вагончики и склады материалов, включая баллоны, следует размещать на территории согласно требованиям действующих норм и правил. Размещение их в противопожарных разрывах между зданиями и сооружениями, а также загромождение ими проездов (подъездов) к зданиям, не допускается.
9.8. Временные строения должны располагаться от других зданий и сооружений на расстоянии не менее 15 м (кроме случаев, когда по другим нормам требуется больший противопожарный разрыв) или у противопожарных стен.
9.9. Отдельные блок-контейнерные здания допускается располагать группами не более 10 в группе и площадью не более 800 м2. Расстояние между группами этих зданий и от них до других строений следует принимать не менее 15 м.
9.10. При ремонтах полов снимаемый горючий материал должен удаляться на специально подготовленную площадку. Устраивать свалки горючих отходов на территории объектов не разрешается. Горючие отходы должны своевременно вывозиться в места, определенные местной администрацией.
9.11. Выполнение работ по устройству полов одновременно с другими строительно-монтажными работами в помещениях, связанными с применением открытого огня (сварка и т.п.), не допускается.
9.12. По окончании рабочей смены не разрешается оставлять неиспользованный горючий утеплитель и мастики, газовые баллоны и другие горючие и взрывоопасные вещества и материалы в помещении, где производятся работы по устройству полов.
9.13. Котлы для растопления битумов должны быть исправными.
9.14. Котлы допускается устанавливать группами с количеством в группе не более трех. Расстояние между группами котлов должно быть не менее 9 м. Место варки и разогрева битумов должно размещаться на специально отведенных площадках и располагаться на расстоянии:
от зданий и сооружений I и II степеней огнестойкости и класса конструктивной пожарной опасности С0 - не менее 10 м;
от зданий и сооружений II степени огнестойкости и класса конструктивной пожарной опасности С1, а также от зданий и сооружений III, IV степеней огнестойкости и классов конструктивной пожарной опасности С0 и С1 - не менее 20 м;
от зданий и сооружений III степени огнестойкости и класса конструктивной пожарной опасности С2 и С3, а также V степени огнестойкости и классов конструктивной пожарной опасности С1, С2 и С3 - не менее 30 м.
9.15. Каждый котел должен быть снабжен плотно закрывающейся крышкой из негорючих материалов. Заполнение котлов допускается не более чем на 3/4 их вместимости. Загружаемый в котел битум должен быть сухим.
9.16. Во избежание перелива битума, его попадания в топку и загорания, котел необходимо устанавливать наклонно так, чтобы его край, расположенный над топкой, был на 5 - 6 см выше противоположного. Газовый баллон должен размещаться на расстоянии не менее 20 м от котла.
9.17. При работе передвижных котлов на сжиженном газе газовые баллоны в количестве не более двух должны находиться в вентилируемых шкафах из негорючих материалов, устанавливаемых на расстоянии не менее 20 м от работающих котлов. Указанные шкафы следует держать постоянно закрытыми на замки.
9.18. Установленный на открытом воздухе битумный котел должен быть оборудован навесом из негорючих материалов. Место установки котлов должно быть обваловано (или устроены бортики из негорючих материалов) высотой не менее 0,3 м.
9.19. В процессе варки и разогрева битумных составов не разрешается оставлять котлы без присмотра.
9.20. При приготовлении битумной мастики разогрев растворителей не допускается. При смешивании разогретый битум следует вливать в растворитель (керосин, бензин), постоянно перемешивая мастику деревянной мешалкой.
9.21. Не разрешается пользоваться открытым огнем в радиусе 50 м от места смешивания битума с растворителями.
9.22. Доставку горячей битумной мастики на рабочие места необходимо осуществлять:
- в специальных металлических бочках, имеющих форму усеченного конуса, обращенного широкой стороной вниз, с полотно закрывающимися крышками. Крышки должны иметь запорные устройства, исключающие открывание при падении бачка. Переносить мастики в открытой таре не разрешается;
- насосом по стальному трубопроводу, закрепленному на вертикальных участках к строительной конструкции, не допуская протечек. На горизонтальных участках допускается подача мастики по термостойкому шлангу.
В месте соединения шланга со стальной трубой должен надеваться предохранительный футляр длиной 40 - 50 см (из брезента или других материалов).
После наполнения емкости установки для нанесения мастики следует откачать мастику из трубопровода.
9.23. После окончания работ топки котлов должны быть потушены и залиты водой.
9.24. Для целей пожаротушения места установки котла (группы котлов) для варки битума необходимо обеспечить ящиком объемом 0,5 м3 с сухим песком, лопатами и пенными огнетушителями.
9.25. Для производства работ с использованием растворителей и битумных мастик должен применяться инструмент, изготовленный из материалов, не дающих искр (алюминий, медь, пластмасса, бронза и т.п.). Промывать инструмент и оборудование, применяемое при производстве работ с горючими веществами, необходимо на открытой площадке или в помещении, имеющем вентиляцию.
9.26. Лица, участвующие в приготовлении составов холодного отверждения и их применении, должны быть обеспечены спецодеждой и средствами индивидуальной защиты. Для защиты органов дыхания - респираторами марок Ф-62Ш, РУ-60М и типа "Лепесток". Для защиты кожи - пастами или мазями типа силиконовых, ПМ-1, ХИОТ БГ и другими, перчатками резиновыми.
На местах проведения работ должны быть вода и аптечка с медикаментами для оказания первой помощи.
9.27. Для безопасного ведения процесса приготовления мастики, окрасочного состава и их нанесения необходимо обеспечить максимальную механизацию всех технологических операций и надлежащую герметизацию, заземление оборудования и коммуникаций, а также исправность электропусковой и контрольно-измерительной аппаратуры.
9.28. Емкости с растворителем и мастикой холодного отверждения должны подноситься к рабочему месту в специальной герметично закрытой таре в количестве, не превышающем однодневного запаса.
9.29. В помещениях для хранения и местах применения растворителей и мастик запрещается обращаться с открытым огнем и производить работы с искрообразованием.
9.30. Переливать и транспортировать растворители и мастику на растворителях следует при хорошем естественном освещении. Электрическое освещение в таких помещениях должно быть выполнено во взрывобезопасном исполнении.
9.31. Растворители и мастики должны храниться в специально оборудованных помещениях в соответствии со
СНиП III-4-80 изд. 1993 г. "Техника безопасности в строительстве". Каждая емкость должна иметь бирку с наименованием содержимого. Порожнюю тару из-под растворителей следует складировать в закрытых помещениях.
9.32. Запрещается ремонтировать (производить сварку, пайку и другие работы) металлическую тару из-под горючих жидкостей до ее промывки водой.
9.33. Помещения, связанные с подготовкой мастик, их разбавлением растворителями и нанесением защитных покрытий должны быть изолированы от смежных помещений и оборудованы принудительной приточно-вытяжной вентиляцией во взрывобезопасном исполнении.
9.34. Содержание вредных веществ в рабочей зоне не должно превышать предельно допустимых концентраций.
9.35. Контроль за содержанием вредных веществ в рабочей зоне должен проводиться производственными лабораториями в объеме, согласованном с территориальными органами Государственного санитарного надзора.
9.36. Хранение и транспортирование баллонов с газами должно осуществляться только с навинченными на их горловины предохранительными колпаками. При транспортировании баллонов нельзя допускать толчков и ударов. Переноска баллонов на плечах и руках не разрешается.
9.37. Баллоны с газом при их хранении, транспортировании и эксплуатации должны быть защищены от действия солнечных лучей и других источников тепла.
9.38. При обращении с порожними баллонами из-под горючих газов должны соблюдаться такие же меры безопасности, как и с наполненными баллонами.
9.39. При перерывах в работе, а также в конце рабочей смены оборудование для нагрева должно отключаться, шланги должны быть отсоединены и освобождены от газов и паров горючих жидкостей. По окончании работ вся аппаратура и оборудование должны быть убраны в специально отведенные помещения (места).
9.40. Горючий утеплитель и другие вещества и материалы, используемые при работе, необходимо хранить вне строящегося или ремонтируемого здания в отдельно стоящем сооружении или на специальной площадке на расстоянии не менее 18 м от строящихся и временных зданий, сооружений и складов.
9.41. У мест проведения работ допускается размещать только баллоны с горючими газами, непосредственно используемые при работе. Создавать запас баллонов или хранить пустые баллоны у мест проведения работ не допускается.
9.42. Складирование материалов и установка баллонов в помещениях ближе 5 м от эвакуационных выходов (в том числе подходов к наружным пожарным лестницам) не допускается.
9.43. Емкости с горючими жидкостями следует открывать только перед использованием, а по окончании работы закрывать и сдавать на склад.
9.44. Тара из-под горючих жидкостей должна храниться в специально отведенном месте вне мест проведения работ.
9.45. Баллоны с горючими газами и емкости с легковоспламеняющимися жидкостями должны храниться раздельно в специально приспособленных вентилируемых вагончиках (помещениях) или под навесами за сетчатым ограждением, недоступных для посторонних лиц. Хранение в одном помещении баллонов с газовыми горелками, а также битума, растворителей и других горючих жидкостей не допускается.
9.46. При хранении на открытых площадках рулонного гидроизоляционного материала, битума, горючих утеплителей и других строительных материалов, а также оборудования и грузов в горючей упаковке, они должны размещаться в штабелях или группами площадью не более 100 м2. Разрывы между штабелями (группами) и от них до строящихся или подсобных зданий и сооружений должны быть не менее 24 м.
9.47. В местах приготовления и хранения приклеивающих составов и исходных материалов не допускается курение и применение открытого огня. В случае загорания этих материалов необходимо использовать при тушении углекислотные огнетушители, песок. Использование воды для тушения битумов и растворителей не допускается.
9.48. При обнаружении пожара или признаков горения (задымление, запах гари, повышение температуры и т.п.) необходимо:
немедленно сообщить об этом в пожарную охрану;
принять по возможности меры эвакуации людей, тушению пожара и обеспечению сохранности материальных ценностей.
9.49. Для обеспечения успешного тушения пожара необходимо обучить работников правилам и способам работы с первичными средствами пожаротушения.
9.50. По окончании работ необходимо провести осмотр рабочих мест и привести их в пожаровзрывобезопасное состояние.
9.51. На объекте должно быть определено лицо, ответственное за сохранность и готовность к действию первичных средств пожаротушения.
9.52. Огнетушители должны всегда содержаться в исправном состоянии, периодически осматриваться, проверяться и своевременно перезаряжаться.
9.53. Использование первичных средств пожаротушения для хозяйственных и прочих нужд, не связанных с тушением пожара, не допускается.
9.54. При расстановке огнетушителей необходимо выполнять условие, чтобы расстояние от возможного очага пожара до места размещения огнетушителя не превышало 20 м.
9.55. В зимнее время (при температуре ниже 1 °C) огнетушители необходимо хранить в отапливаемых помещениях, на дверях которых должна быть надпись "Огнетушители".
9.56. Все работники должны уметь пользоваться первичными средствами пожаротушения.
9.57. Монтаж, демонтаж и ремонт трубопроводов для подачи растворных и бетонных смесей, а также удаление из них пробок допускается только после снижения в них давления до атмосферного. Во время этих работ рабочие, непосредственно не занятые в выполнении этих работ, должны быть удалены на расстояние не менее 10 м.
9.58. Растворо- и бетонопроводы должны быть уложены с минимальным числом поворотов. Повороты рукава под углом менее 90° не допускается.
9.59. При механизированной окраске покрытий полов, красками и лаками с использованием составов, содержащих вредные вещества, следует соблюдать "Санитарные правила при окрасочных работах с применением ручных краскораспылителей", утвержденные Главным санитарным врачом РФ.
9.60. При устройстве гидроизоляции из рулонных и других материалов с применением битумных мастик в закрытых помещениях должно быть обеспечено проветривание этих помещений.
9.61. При работе с цементом, гипсом и сухими растворными смесями необходимо защищать глаза очками. Подколку и подтеску плиток следует производить в рукавицах и защитных очках.
9.62. Рабочие, занятые приготовлением кислотоупорных растворов, должны быть обеспечены защитной одеждой и очками, респираторами и брезентовыми рукавицами.
9.63. При применении ручных машин следует соблюдать правила безопасности эксплуатации, предусмотренные
ГОСТ 12.1.013-78 и
ГОСТ 12.2.010-75, а также инструкциями заводов-изготовителей.
9.64. Работающие с машинами для шлифования, заглаживания и затирки поверхностей должны иметь диэлектрическую обувь, а также диэлектрические перчатки. Запрещается работать с такими машинами при снятом ограждении траверс-лопастей и ременной передачи. Не разрешается переносить машины, подключенные к сети, включать и выключать вилку питающего кабеля под нагрузкой.
9.65. При работе с вибраторами, виброрейками и виброкатками необходимо соблюдать меры безопасности, предусмотренные в "Санитарных
нормах и правилах при работе с инструментами, механизмами и оборудованием, создающими вибрации, передаваемые на руки работающих".
9.66. Помещения, где производятся работы по устройству полов из синтетических материалов, должны быть обеспечены вентиляцией.
10. Правила приемки полов
10.1. При приемке полов рекомендуется осуществлять поэтапный приемочный контроль качества устройства основания, подстилающего слоя, стяжки и покрытия с записью в журнал работ и составлением актов на скрытые работы.
10.2. На каждом этапе приемки Исполнитель (подрядная организация) должен представить Заказчику ГОСТ или ТУ или Техническое свидетельство, содержащие технические характеристики используемых материалов, паспорт завода-изготовителя, Гигиеническое заключение и, при изготовлении покрытий полов на основе полимерных материалов, Пожарный сертификат. Заказчик также имеет право потребовать Сертификат соответствия и обязать Исполнителя провести входной контроль используемых материалов на соответствие их физико-технических показателей данным, представленным в вышеуказанных документах, путем испытания этих материалов в аккредитованных испытательных лабораториях.
10.3. Безыскровые (взрывобезопасные) покрытия полов должны быть проверены на отсутствие образования искр при ударах стальными и каменными предметами испытанием их на наждачном точильном круге. У полимерных антистатических покрытий полов, кроме того, проверяется удельное объемное электросопротивление.
10.4. Приемка полов, элементы которых выполнены из материалов, твердеющих после укладки, допускается не ранее достижения ими проектной прочности, прочность этих материалов необходимо определять испытанием контрольных образцов в количестве не менее трех на каждые 500 м2 пола. При отсутствии контрольных образцов допускается производить испытание на сжатие не менее трех кубиков с неразрушенной структурой и размером ребра не менее 70 мм, высверленных из слоя пола, или определять прочностные характеристики методами неразрушающего контроля.
10.5. При приемке основания, подстилающего слоя, гидроизоляции, теплозвукоизоляционного слоя, стяжки и покрытия Исполнитель составляет акты на скрытые работы по соблюдению требований, изложенных в
Разделе I настоящего Руководства.
10.6. Приемка готового пола должна оформляться актом с обязательной оценкой качества выполненных работ и выдачей Заказчику гарантийного паспорта, в котором указывается наименование объекта, объем работ по устройству полов, их качество и гарантийный срок эксплуатации.
┌───┬──────────────────┬────────────────────────────────────────────────────────────────────────────────────────────────────────────────┐
│ N │ Покрытие │ Предельные значения │
│п/п│ ├───────────────────────────────────────────────────────────────────────────┬────────────┬──────┬─────────┬──────┤
│ │ │ Интенсивности движения, ед./сутки, на 1 полосу движения │ Волочение │Массы │Удельного│Нагре-│
│ │ ├─────────────┬──────────────────────────┬────────────────────┬─────────────┤ твердых │пред- │давления │вания │
│ │ │ Пешеходов и │ Тележек на металлических │Транспортных средств│Транспортных │ предметов │метов,│от сосре-│пола │
│ │ │ тележек на │ шинах и перекатывания │ на резиновом ходу │ средств │ с острыми │кг, │доточен- │до │
│ │ │ резиновых │ круглых металлических │ │на гусеничном│ углами и │пада- │ных │темпе-│
│ │ │ шинах │ предметов (бочек и т.п.) │ │ ходу │ ребрами; │ющих │нагрузок,│рату- │
│ │ ├──────┬──────┼───────┬──────┬────┬──────┼──────┬──────┬──────┼──────┬──────┤ работа на │с │Н/см2 │ры, │
│ │ │Более │Менее │ Коэф. │Более │30 -│Менее │Более │100 - │Менее │Более │Менее │ полу с │высоты│(кгс/см2)│°C │
│ │ │ 500 │ 500 │"C
<1>"│ 50 │ 50│ 30 │ 200 │ 200│ 100 │ 10 │ 10 │ лопатами, │1 м │ │ │
│ │ │ │ │ │ │ │ │ │ │ │ │ │ ломами и │ │ │ │
│ │ │ │ │ │ │ │ │ │ │ │ │ │т.п. острым │ │ │ │
│ │ │ │ │ │ │ │ │ │ │ │ │ │инструментом│ │ │ │
├───┼──────────────────┼──────┼──────┼───────┼──────┼────┼──────┼──────┼──────┼──────┼──────┼──────┼────────────┼──────┼─────────┼──────┤
│ 1 │ 2 │ 3 │ 4 │ 5 │ 6 │ 7 │ 8 │ 9 │ 10 │ 11 │ 12 │ 13 │ 14 │ 15 │ 16 │ 17 │
├───┼──────────────────┴──────┴──────┴───────┴──────┴────┴──────┴──────┴──────┴──────┴──────┴──────┴────────────┴──────┴─────────┴──────┤
│ 1 │Цементное бетонное │
│ │а) толщиной 30 мм,│ Допускается │ 100 │ Не │Допус-│Не допус- │До- │ Не │ Не │ 5 │ 1000 │ 100 │
│ │класса В22,5 │ │ │допускается│кается│кается │пуска-│ допускается │допускается │ │ (100) │ │
│ │ │ │ │ │ │ │ется │ │ │ │ │ │ │
│ │б) толщиной 30 мм,│ Допускается │ 100 │Не │Допускается│Не │Допускается │Не │Допус-│Допускается │ 10 │ 1000 │ 100 │
│ │класса В30 │ │ │допус-│ │допус-│ │допус-│кается│ │ │ (100) │ │
│ │ │ │ │кается│ │кается│ │кается│ │ │ │ │ │
│ │в) толщиной 50 мм,│ Допускается │ 100 │ Допускается │ Допускается │ Допускается │Допускается │ 10 │ 1000 │ 100 │
│ │класса В40 │ │ │ │ │ │ │ │ (100) │ │
├───┼──────────────────┼─────────────┼───────┼──────────────────┼────────────────────┼─────────────┼────────────┼──────┼─────────┼──────┤
│ 2 │Сталефибробетонное│ Допускается │ 500 │ Допускается │ Допускается │ Допускается │Допускается │ 15 │100 (100)│ 100 │
│ │толщиной 40 мм │ │ │ │ │ │ │ │ │ │
├───┼──────────────────┼─────────────┴───────┴──────────────────┴────────────────────┴─────────────┴────────────┴──────┴─────────┴──────┤
│ 3 │Бетонное с упроч- │ │
│ │ненным верхним │ │
│ │слоем, толщиной │ │
│ │70 мм из бетона │ │
│ │прочностью │ │
│ │300 кг/см2, │ │
│ │упрочненное │ │
│ │Железом │ Допускается │ 500 │ Допускается │ Допускается │Допускается │Допускается │ 20 │ 1000 │ 100 │
│ │ │ │ │ │ │ │ │ │ (100) │ │
│ │Корундом │ Допускается │ 500 │ Допускается │ Допускается │Допускается │Допускается │ 20 │ 1000 │ 100 │
│ │ │ │ │ │ │ │ │ │ (100) │ │
│ │Кварцем │ Допускается │ 500 │ Допускается │ Допускается │Допускается │Допускается │ 15 │ 1000 │ 100 │
│ │ │ │ │ │ │ │ │ │ (100) │ │
│ │Известняком │ Допускается │ 100 │Не │Допускается│Не │Допускается │Не │Допус-│Допускается │ 10 │ 1000 │ 100 │
│ │ │ │ │допус-│ │допус-│ │допус-│кается│ │ │ (100) │ │
│ │ │ │ │кается│ │кается│ │кается│ │ │ │ │ │
├───┼──────────────────┼─────────────┼───────┼──────┴───────────┼──────┴─────────────┼──────┴──────┼────────────┼──────┼─────────┼──────┤
│ 4 │Асфальтобетонное │ │ │ │ │ │ │ │ │ │
│ │а) толщиной 25 мм │ Допускается │ - │ Не допускается │ Не допускается │ Не │ Не │ 2 │ 20 (2) │ 50 │
│ │ │ │ │ │ │ допускается │допускается │ │ │ │
│ │б) толщиной 40 мм │ Допускается │ 50 │ Не │Допус-│Не допус- │До- │ Не │ Не │ 5 │ 20 (2) │ 50 │
│ │ │ │ │допускается│кается│кается │пуска-│ допускается │допускается │ │ │ │
│ │ │ │ │ │ │ │ется │ │ │ │ │ │
│ │в) толщиной 50 мм │ Допускается │ 50 │Не │Допускается│Не │Допускается │ Не │Допус-│Допускается │ 10 │ 20 (2) │ 50 │
│ │ │ │ │допус-│ │допус-│ │допус-│кается│ │ │ │ │
│ │ │ │ │кается│ │кается│ │кается│ │ │ │ │ │
├───┼──────────────────┼─────────────┴───────┴──────┴───────────┴──────┴─────────────┴──────┴──────┴────────────┴──────┴─────────┴──────┤
│ 5 │Мозаично-бетонное │ │
│ │(терраццо) │ │
│ │а) толщиной 20 мм,│Допускается │ - │ Не допускается │ Не допускается │ Не │ Не │ 2 │500 (50) │ 100 │
│ │прочностью 20 МПа │ │ │ │ │ допускается │допускается │ │ │ │
│ │(200 кг/см2) │ │ │ │ │ │ │ │ │ │
│ │б) толщиной 25 мм,│Допускается │ 60 │ Не │Допус-│Не допус- │До- │ Не │ Не │ 5 │500 (50) │ 100 │
│ │прочностью 30 МПа │ │ │допускается│кается│кается │пуска-│допускается │допускается │ │ │ │
│ │(300 кг/см2) │ │ │ │ │ │ется │ │ │ │ │ │
│ │в) толщиной 25 мм,│Допускается │ 60 │Не │Допускается│Не │Допускается │Не │Допус-│Допускается │ 10 │500 (50) │ 100 │
│ │прочностью 40 МПа │ │ │допус-│ │допус-│ │допус-│кается│ │ │ │ │
│ │(400 кг/см2) │ │ │кается│ │кается│ │кается│ │ │ │ │ │
├───┼──────────────────┼─────────────┴───────┴──────┴───────────┴──────┴─────────────┴──────┴──────┴────────────┴──────┴─────────┴──────┤
│ 6 │Поливинилацетат- │ │
│ │цементно-бетонное │ │
│ │а) толщиной 20 мм,│Допускается │ - │ Не допускается │ Не допускается │ Не │ Не │ 2 │ 1000 │ 50 │
│ │прочностью 20 МПа,│ │ │ │ │ допускается │допускается │ │ (100) │ │
│ │(200 кг/см2) │ │ │ │ │ │ │ │ │ │
│ │б) толщиной 20 мм,│Допускается │ 60 │ Не │Допус-│Не допус- │До- │ Не │ Не │ 5 │ 1000 │ 50 │
│ │прочностью 30 МПа,│ │ │допускается│кается│кается │пуска-│ допускается │допускается │ │ (100) │ │
│ │(300 кг/см2) │ │ │ │ │ │ется │ │ │ │ │ │
│ │в) толщиной 30 мм,│Допускается │ 60 │Не │Допускается│Не │Допускается │ Не │Допус-│Допускается │ 10 │ 1000 │ 50 │
│ │прочностью 40 МПа │ │ │допус-│ │допус-│ │допус-│кается│ │ │ (100) │ │
│ │(400 кг/см2) │ │ │кается│ │кается│ │кается│ │ │ │ │ │
├───┼──────────────────┼─────────────┴───────┴──────┴───────────┴──────┴─────────────┴──────┴──────┴────────────┴──────┴─────────┴──────┤
│ 7 │Латексцементно- │ │
│ │бетонное │ │
│ │а) толщиной 20 мм,│Допускается │ - │ Не допускается │ Не допускается │ Не │ Не │ 2 │ 1000 │ 50 │
│ │прочностью 20 МПа │ │ │ │ │ допускается │допускается │ │ (100) │ │
│ │(200 кг/см2) │ │ │ │ │ │ │ │ │ │
│ │б) толщиной 20 мм,│Допускается │ 60 │ Не │Допус-│Не допус- │До- │ Не │ Не │ 5 │ 1000 │ 50 │
│ │прочностью 30 МПа │ │ │допускается│кается│кается │пуска-│ допускается │ допускается│ │ (100) │ │
│ │(300 кг/см2) │ │ │ │ │ │ется │ │ │ │ │ │
│ │в) толщиной 30 мм,│Допускается │ 60 │Не │Допускается│Не │Допускается │Не │Допус-│Допускается │ 10 │ 1000 │ 50 │
│ │прочностью 40 МПа │ │ │допус-│ │допус-│ │допус-│кается│ │ │ (100) │ │
│ │(400 кг/см2) │ │ │кается│ │кается│ │кается│ │ │ │ │ │
├───┼──────────────────┼─────────────┴───────┴──────┴───────────┴──────┴─────────────┴──────┴──────┴────────────┴──────┴─────────┴──────┤
│ 8 │Кислотостойкий │ │
│ │бетон на жидком │ │
│ │стекле с уплотня- │ │
│ │ющей добавкой │ │
│ │а) толщиной 20 мм,│Допускается │ - │ Не допускается │ Не допускается │ Не │ Не │ 2 │500 (50) │ 100 │
│ │прочностью 20 МПа,│ │ │ │ │ допускается │допускается │ │ │ │
│ │(200 кг/см2) │ │ │ │ │ │ │ │ │ │
│ │б) толщиной 30 мм,│Допускается │ 60 │ Не │Допус-│Не │Допускается │ Не │Допускается │ 5 │500 (50) │ 100 │
│ │прочностью 20 МПа,│ │ │допускается│кается│допус-│ │ допускается │ │ │ │ │
│ │(200 кг/см2) │ │ │ │ │кается│ │ │ │ │ │ │
│ │в) толщиной 40 мм,│Допускается │ 60 │Не │Допускается│Не │Допускается │Не │Допус-│Допускается │ 10 │500 (50) │ 100 │
│ │прочностью 25 МПа,│ │ │допус-│ │допус-│ │допус-│кается│ │ │ │ │
│ │(250 кг/см2) │ │ │кается│ │кается│ │кается│ │ │ │ │ │
├───┼──────────────────┼─────────────┼───────┼──────┴────┬──────┼──────┴─────────────┼──────┼──────┼────────────┼──────┼─────────┼──────┤
│ 9 │Жаростойкий бетон │Допускается │ 100 │ Не │Допус-│ Допускается │Не │Допус-│Допускается │ 10 │500 (50) │ 600 │
│ │на портландцементе│ │ │допускается│кается│ │допус-│кается│ │ │ │ │
│ │с хромитом и │ │ │ │ │ │кается│ │ │ │ │ │
│ │заполнителем │ │ │ │ │ │ │ │ │ │ │ │
│ │из шлака │ │ │ │ │ │ │ │ │ │ │ │
├───┼──────────────────┼─────────────┼───────┼───────────┼──────┼────────────────────┼──────┼──────┼────────────┼──────┼─────────┼──────┤
│10 │Плиты из жаростой-│Допускается │ 100 │ Не │Допус-│ Допускается │Не │Допус-│Допускается │ 10 │500 (50) │ 600 │
│ │кого бетона на │ │ │допускается│кается│ │допус-│кается│ │ │ │ │
│ │портландцементе │ │ │ │ │ │кается│ │ │ │ │ │
│ │с хромитом и │ │ │ │ │ │ │ │ │ │ │ │
│ │заполнителем из │ │ │ │ │ │ │ │ │ │ │ │
│ │шлака по прослойке│ │ │ │ │ │ │ │ │ │ │ │
│ │из песка │ │ │ │ │ │ │ │ │ │ │ │
├───┼──────────────────┼─────────────┼───────┼───────────┼──────┼──────┬─────────────┼──────┴──────┼────────────┼──────┼─────────┼──────┤
│11 │Ксилолитовые │Допускается │ 60 │ Не │Допус-│Не │Допускается │ Не │ Не │ 3 │200 (20) │ 50 │
│ │ │ │ │допускается│кается│допус-│ │ допускается │допускается │ │ │ │
│ │ │ │ │ │ │кается│ │ │ │ │ │ │
├───┼──────────────────┼─────────────┼───────┼───────────┼──────┼──────┼─────────────┼─────────────┼────────────┼──────┼─────────┼──────┤
│12 │Поливинилацетат- │Допускается │ 60 │ Не │Допус-│Не │Допускается │ Не │ Не │ 3 │200 (20) │ 50 │
│ │цементно-опилочные│ │ │допускается│кается│допус-│ │ допускается │допускается │ │ │ │
│ │ │ │ │ │ │кается│ │ │ │ │ │ │
├───┼──────────────────┼─────────────┼───────┼───────────┴──────┼──────┼─────────────┼─────────────┼────────────┼──────┼─────────┼──────┤
│13 │Эпоксидное или │Допускается │ - │ Не допускается │Не │Допускается │ Не │ Не │ 5 │500 (50) │ 50 │
│ │полиуретановое │ │ │ │допус-│ │ допускается │допускается │ │ │ │
│ │мастичное наливное│ │ │ │кается│ │ │ │ │ │ │
│ │(в том числе и │ │ │ │ │ │ │ │ │ │ │
│ │антистатическое) │ │ │ │ │ │ │ │ │ │ │
├───┼──────────────────┼─────────────┼───────┼──────────────────┼──────┴─────────────┼─────────────┼────────────┼──────┼─────────┼──────┤
│14 │Стальные плиты │Допускается │ 500 │ Допускается │ Допускается │Допускается │Допускается │ 50 │500 (50) │ 100 │
│ │по прослойке из │ │ │ │ │ │условно с │ │ │ │
│ │мелкозернистого │ │ │ │ │ │ограничением│ │ │ │
│ │бетона │ │ │ │ │ │интенсив- │ │ │ │
│ │ │ │ │ │ │ │ности │ │ │ │
├───┼──────────────────┼─────────────┼───────┼──────────────────┼────────────────────┼─────────────┼────────────┼──────┼─────────┼──────┤
│15 │Чугунные дырчатые │Допускается │ 500 │ Допускается │ Допускается │ Не │Допускается │ 10 │500 (50) │ 100 │
│ │плиты по прослойке│ │ │ │ │ допускается │ │ │ │ │
│ │из мелкозернистого│ │ │ │ │ │ │ │ │ │
│ │бетона │ │ │ │ │ │ │ │ │ │
├───┼──────────────────┼─────────────┼───────┼──────────────────┼────────────────────┼─────────────┼────────────┼──────┼─────────┼──────┤
│16 │Чугунные плиты с │Допускается │ 300 │ Допускается │ Допускается │ Не │Допускается │ 10 │ 3 т │ 1400 │
│ │опорными выступами│ │ │ │ │ допускается │ │ │на плиту │ │
│ │по прослойке из │ │ │ │ │ │ │ │ │ │
│ │песка │ │ │ │ │ │ │ │ │ │
├───┼──────────────────┼─────────────┼───────┼──────────────────┼────────────────────┼─────────────┼────────────┼──────┼─────────┼──────┤
│17 │Торцовое на │Допускается │ 100 │ Допускается │ Допускается │ Не │ Не │ 50 │ 50 (5) │ 50 │
│ │битумной мастике │ │ │ │ │ допускается │допускается │ │ │ │
├───┼──────────────────┼─────────────┼───────┼──────┬───────────┼──────┬─────────────┼─────────────┼────────────┼──────┼─────────┼──────┤
│18 │Цементно-бетонные │Допускается │ 60 │Не │Допускается│Не │Допускается │ Не │ Не │ 7 │500 (50) │ 100 │
│ │плиты по прослойке│ │ │допус-│ │допус-│ │ допускается │допускается │ │ │ │
│ │из цементно- │ │ │кается│ │кается│ │ │ │ │ │ │
│ │песчаного раствора│ │ │ │ │ │ │ │ │ │ │ │
├───┼──────────────────┼─────────────┼───────┼──────┴────┬──────┼──────┴────┬────────┼─────────────┼────────────┼──────┼─────────┼──────┤
│19 │Мозаично-бетонные │Допускается │ 60 │Не допус- │До- │Не допус- │До- │ Не │ Не │ 5 │500 (50) │ 100 │
│ │плиты по прослойке│ │ │кается │пуска-│кается │пуска- │ допускается │допускается │ │ │ │
│ │из цементно- │ │ │ │ется │ │ется │ │ │ │ │ │
│ │песчаного раствора│ │ │ │ │ │ │ │ │ │ │ │
├───┼──────────────────┼─────────────┼───────┼──────┬────┴──────┼───────────┴────────┼─────────────┼────────────┼──────┼─────────┼──────┤
│20 │Плиты природного │Допускается │ 60 │Не │Допускается│ Допускается │ Не │Допускается │ 10 │500 (50) │ 100 │
│ │камня изверженных │ │ │допус-│ │ │ допускается │ │ │ │ │
│ │пород (гранита и │ │ │кается│ │ │ │ │ │ │ │
│ │т.п.) по прослойке│ │ │ │ │ │ │ │ │ │ │
│ │из цементно- │ │ │ │ │ │ │ │ │ │ │
│ │песчаного раствора│ │ │ │ │ │ │ │ │ │ │
├───┼──────────────────┼─────────────┼───────┼──────┴───────────┼────────────────────┼─────────────┼────────────┼──────┼─────────┼──────┤
│21 │Керамические │Допускается │ - │ Не допускается │ Не допускается │ Не │ Не │ 2 │200 (20) │ 100 │
│ │плитки толщиной │ │ │ │ │ допускается │допускается │ │ │ │
│ │10 - 13 мм │ │ │ │ │ │ │ │ │ │
├───┼──────────────────┼─────────────┼───────┼──────────────────┼────────────────────┼─────────────┼────────────┼──────┼─────────┼──────┤
│22 │Керамические │Допускается │ - │ Не допускается │ Не допускается │ Не │ Не │ 3 │200 (20) │ 100 │
│ │плитки, │ │ │ │ │ допускается │допускается │ │ │ │
│ │в т.ч. кислото- │ │ │ │ │ │ │ │ │ │
│ │упорные, толщиной │ │ │ │ │ │ │ │ │ │
│ │15 - 20 мм │ │ │ │ │ │ │ │ │ │
├───┼──────────────────┼─────────────┼───────┼───────────┬──────┼───────────┬────────┼─────────────┼────────────┼──────┼─────────┼──────┤
│23 │Керамические │Допускается │ 60 │Не допус- │До- │Не допус- │До- │ Не │ Не │ 5 │200 (20) │ 100 │
│ │кислотоупорные │ │ │кается │пуска-│кается │пуска- │ допускается │допускается │ │ │ │
│ │плитки толщиной │ │ │ │ется │ │ется │ │ │ │ │ │
│ │30 - 35 мм │ │ │ │ │ │ │ │ │ │ │ │
├───┼──────────────────┼─────────────┼───────┼──────┬────┴──────┼──────┬────┴────────┼──────┬──────┼────────────┼──────┼─────────┼──────┤
│24 │Керамические │Допускается │ 60 │Не │Допускается│Не │Допускается │Не │Допус-│Допускается │ 7 │300 (30) │ 100 │
│ │кислотоупорные │ │ │допус-│ │допус-│ │допус-│кается│ │ │ │ │
│ │плитки толщиной │ │ │кается│ │кается│ │кается│ │ │ │ │ │
│ │50 мм │ │ │ │ │ │ │ │ │ │ │ │ │
├───┼──────────────────┼─────────────┼───────┼──────┼───────────┼──────┴─────────────┼──────┼──────┼────────────┼──────┼─────────┼──────┤
│25 │Кислотоупорный │Допускается │ 60 │Не │Допускается│ Допускается │Не │Допус-│Допускается │ 7 │300 (30) │ 100 │
│ │кирпич плашмя │ │ │допус-│ │ │допус-│кается│ │ │ │ │
│ │ │ │ │кается│ │ │кается│ │ │ │ │ │
├───┼──────────────────┼─────────────┼───────┼──────┼───────────┼────────────────────┼──────┼──────┼────────────┼──────┼─────────┼──────┤
│26 │Кислотоупорный │Допускается │ 60 │Не │Допускается│ Допускается │Не │Допус-│Допускается │ 10 │300 (30) │ 100 │
│ │кирпич на ребро │ │ │допус-│ │ │допус-│кается│ │ │ │ │
│ │ │ │ │кается│ │ │кается│ │ │ │ │ │
├───┼──────────────────┼─────────────┼───────┼──────┴───────────┼────────────────────┼──────┴──────┼────────────┼──────┼─────────┼──────┤
│27 │Дощатое │Допускается │ - │ Не допускается │ Не допускается │ Не │ Не │ 2 │ 200 кг │ 50 │
│ │(окрашенное) │ │ │ │ │ допускается │допускается │ │на точку │ │
├───┼──────────────────┼─────────────┼───────┼──────────────────┼────────────────────┼─────────────┼────────────┼──────┼─────────┼──────┤
│28 │Паркетные доски и │Допускается │ - │ Не допускается │ Не допускается │ Не │ Не │Не │ 200 кг │ 50 │
│ │щиты │ │ │ │ │ допускается │допускается │допус-│на точку │ │
│ │ │ │ │ │ │ │ │кается│ │ │
├───┼──────────────────┼─────────────┼───────┼──────────────────┼────────────────────┼─────────────┼────────────┼──────┼─────────┼──────┤
│29 │Штучный и наборный│Допускается │ - │ Не допускается │ Не допускается │ Не │ Не │Не │ 200 кг │ 50 │
│ │паркет │ │ │ │ │ допускается │допускается │допус-│на точку │ │
│ │ │ │ │ │ │ │ │кается│ │ │
├───┼──────────────────┼──────┬──────┼───────┼──────────────────┼────────────────────┼─────────────┼────────────┼──────┼─────────┼──────┤
│30 │Линолеум │Не │Допус-│ - │ Не допускается │ Не допускается │ Не │ Не │Не │500 (50) │ 50 │
│ │(в том числе │допус-│кается│ │ │ │ допускается │допускается │допус-│ │ │
│ │антистатический) │кается│ │ │ │ │ │ │кается│ │ │
├───┼──────────────────┼──────┼──────┼───────┼──────────────────┼────────────────────┼─────────────┼────────────┼──────┼─────────┼──────┤
│31 │Рулонное на основе│Не │Допус-│ - │ Не допускается │ Не допускается │ Не │ Не │Не │100 (10) │ 50 │
│ │синтетических │допус-│кается│ │ │ │ допускается │допускается │допус-│ │ │
│ │волокон │кается│ │ │ │ │ │ │кается│ │ │
├───┼──────────────────┼──────┼──────┼───────┼──────────────────┼────────────────────┼─────────────┼────────────┼──────┼─────────┼──────┤
│32 │Ламинат │Не │Допус-│ - │ Не допускается │ Не допускается │ Не │ Не │Не │500 (50) │ 50 │
│ │ │допус-│кается│ │ │ │ допускается │допускается │допус-│ │ │
│ │ │кается│ │ │ │ │ │ │кается│ │ │
└───┴──────────────────┴──────┴──────┴───────┴──────────────────┴────────────────────┴─────────────┴────────────┴──────┴─────────┴──────┘
<1> Коэффициент C давления на пол металлических шин и круглых предметов определяют по формуле:

, где
P - наибольшее давление колеса или обода на пол в кг;
D - диаметр колеса или обода в м;
b - ширина шины колеса или обода в см.
┌───┬──────────────────┬────────────────────────────────────────────────────────────────────────────────────────────────────────────────────────────────────────┐
│ N │ Покрытие │ Предельные значения интенсивности воздействия на пол │
│п/п│ ├─────────┬──────────┬───────────────────────────┬───────┬──────────────────────────────────────────────────────────────┬────────────────┤
│ │ │Воды и │Минераль- │Органических растворителей │Веществ│ Растворов кислот │ Растворов │
│ │ │растворов│ных масел │ │живот- │ │ щелочей │
│ │ │нейт- │и эмульсий├───────────┬───────┬───────┤ного ├──────────────┬───────────────┬───────────────┬───────────────┼────────┬───────┤
│ │ │ральной │из них │Сырой нефти│На │Кетонов│проис- │фтористо- │ Окисляющих │ Неокисляющих │ Органических │Кон- │интен- │
│ │ │реакции │ │и нефтепро-│арома- │ │хожде- │водородной, │ (азотная, │неорганических │ │центра- │сив- │
│ │ │ │ │дуктов │тичес- │ │ния │кремнефторис- │хлорноватистая,│ (серная, │ │ция, % │ность │
│ │ │ │ │(сернистый │ких │ │ │то-водородной │хромовая и др.)│соляная и др.) │ │ │ │
│ │ │ │ │мазут, │углево-│ │ │и т.п. │ │ │ │ │ │
│ │ │ │ │дизтопливо,│дородах│ │ ├───────┬──────┼───────┬───────┼───────┬───────┼───────┬───────┤ │ │
│ │ │ │ │керосин, │ │ │ │Кон- │интен-│Кон- │интен- │Кон- │интен- │Кон- │интен- │ │ │
│ │ │ │ │бензин) │ │ │ │центра-│сив- │центра-│сив- │центра-│сив- │центра-│сив- │ │ │
│ │ │ │ │ │ │ │ │ция, % │ность │ция, % │ность │ция, % │ность │ция, % │ность │ │ │
├───┼──────────────────┼─────────┼──────────┼───────────┼───────┼───────┼───────┼───────┼──────┼───────┼───────┼───────┼───────┼───────┼───────┼────────┼───────┤
│ 1 │ 2 │ 3 │ 4 │ 5 │ 6 │ 7 │ 8 │ 9 │ 10 │ 11 │ 12 │ 13 │ 14 │ 15 │ 16 │ 17 │ 18 │
├───┼──────────────────┼─────────┼──────────┼───────────┼───────┼───────┼───────┼───────┴──────┴───────┴───────┴───────┴───────┼───────┼───────┼────────┼───────┤
│ 1 │Цементно-бетонное │ большая │ большая │ средняя │большая│средняя│ малая │ Не допускается │ 20 │Средняя│ 8 │Средняя│
│ │ │ │ │ │ │ │ │ │ │ │(12
<1>)│ │
├───┼──────────────────┼─────────┼──────────┼───────────┼───────┼───────┼───────┼──────────────────────────────────────────────┴───────┴───────┼────────┼───────┤
│ 2 │Сталефибробетонное│ малая │ большая │ средняя │большая│средняя│ малая │ Не допускается │ 8 │ Малая │
│ │толщиной 40 мм │ │ │ │ │ │ │ │ │ │
├───┼──────────────────┼─────────┼──────────┼───────────┼───────┼───────┼───────┼──────────────┬───────┬───────┬───────┬───────┬───────┬───────┼────────┼───────┤
│ 3 │Бетонное с │ │ │ │ │ │ │ │ │ │ │ │ │ │ │ │
│ │упрочненным │ │ │ │ │ │ │ │ │ │ │ │ │ │ │ │
│ │верхним слоем, │ │ │ │ │ │ │ │ │ │ │ │ │ │ │ │
│ │упрочненное: │ │ │ │ │ │ │ │ │ │ │ │ │ │ │ │
│ │Железом │ Малая │ Большая │ Средняя │Большая│Средняя│ Малая │ Не допускается │ 8 │ Малая │
│ │ │ │ │ │ │ │ │ │ │ │
│ │Корундом, кварцем │ Большая │ большая │ Средняя │Большая│Средняя│ Малая │ Не допускается │ 8 │ Малая │
│ │или известняком │ │ │ │ │ │ │ │ │ │
├───┼──────────────────┼─────────┼──────────┴───────────┼───────┴───────┼───────┼──────────────┬───────────────┬───────┬───────┬───────┬───────┼────────┼───────┤
│ 4 │Асфальтобетонное │ большая │ Не допускается │Не допускается │Не │Не допускается│Не допускается │ 10 │Средняя│ 20 │средняя│ 8 │Средняя│
│ │ │ │ │ │допус- │ │ │ │ │ │ │(12
<1>)│ │
│ │ │ │ │ │кается │ │ │ │ │ │ │ │ │
├───┼──────────────────┼─────────┼──────────┬───────────┼───────┬───────┼───────┼──────────────┴───────────────┴───────┴───────┴───────┴───────┼────────┼───────┤
│ 5 │Мозаично-бетонное │ большая │ большая │ Средняя │большая│средняя│ малая │ Не допускается │ 8 │Средняя│
│ │(терраццо) │ │ │ │ │ │ │ │ │ │
├───┼──────────────────┼─────────┼──────────┼───────────┼───────┼───────┼───────┼──────────────────────────────────────────────────────────────┼────────┼───────┤
│ 6 │Поливинилацетат- │ малая │ малая │ большая │большая│Большая│ Малая │ Не допускается │ 8 │ Малая │
│ │цементно-бетонное │ │ │ │ │ │ │ │ │ │
├───┼──────────────────┼─────────┼──────────┼───────────┼───────┼───────┼───────┼──────────────────────────────────────────────┬───────┬───────┼────────┼───────┤
│ 7 │Латексцементно- │ большая │ малая │ малая │средняя│средняя│ малая │ Не допускается │ 10 │ Малая │ 8 │ Малая │
│ │бетонное │ │ │ │ │ │ │ │ │ │ │ │
├───┼──────────────────┼─────────┼──────────┼───────────┼───────┼───────┼───────┼──────────────┬───────┬───────┬───────┬───────┼───────┼───────┼────────┼───────┤
│ 8 │Кислотостойкий │Средняя │ Большая │ Большая │Большая│Большая│ Малая │Не допускается│ 100 │Большая│ 100 │Большая│ 100 │Большая│Не доп. │Не │
│ │бетон на жидком │ │ │ │ │ │ │ │ │ │ │ │ │ │ │допус- │
│ │стекле с уплотня- │ │ │ │ │ │ │ │ │ │ │ │ │ │ │кается │
│ │ющей добавкой │ │ │ │ │ │ │ │ │ │ │ │ │ │ │ │
├───┼──────────────────┼─────────┼──────────┼───────────┼───────┼───────┼───────┼──────────────┴───────┴───────┴───────┴───────┴───────┴───────┼────────┼───────┤
│ 9 │Жаростойкий бетон │ Малая │ Большая │ Средняя │Большая│Средняя│Не │ Не допускается │ 8 │малая │
│ │на портландцементе│ │ │ │ │ │допус- │ │ │ │
│ │с хромитом и │ │ │ │ │ │кается │ │ │ │
│ │заполнителем │ │ │ │ │ │ │ │ │ │
│ │из шлака │ │ │ │ │ │ │ │ │ │
├───┼──────────────────┼─────────┼──────────┼───────────┼───────┼───────┼───────┼──────────────────────────────────────────────────────────────┼────────┼───────┤
│10 │Плиты из жаростой-│ Малая │ Средняя │ Средняя │Средняя│Средняя│Не │ Не допускается │ 8 │ Малая │
│ │кого бетона на │ │ │ │ │ │допус- │ │ │ │
│ │портландцементе │ │ │ │ │ │кается │ │ │ │
│ │с хромитом и │ │ │ │ │ │ │ │ │ │
│ │заполнителем из │ │ │ │ │ │ │ │ │ │
│ │шлака по прослойке│ │ │ │ │ │ │ │ │ │
│ │из песка │ │ │ │ │ │ │ │ │ │
├───┼──────────────────┼─────────┼──────────┼───────────┼───────┼───────┼───────┼──────────────────────────────────────────────────────────────┼────────┼───────┤
│11 │Ксилолитовое │Не допус-│ Малая │ Малая │Малая │ Малая │Не │ Не допускается │Не доп. │Не │
│ │ │кается │ │ │ │ │допус- │ │ │допус- │
│ │ │ │ │ │ │ │кается │ │ │кается │
├───┼──────────────────┼─────────┼──────────┼───────────┼───────┼───────┼───────┼──────────────────────────────────────────────────────────────┼────────┼───────┤
│12 │Поливинилацетат- │Не допус-│ Малая │ Малая │Малая │ Малая │Не │ Не допускается │Не доп. │Не │
│ │цементно-опилочное│кается │ │ │ │ │допус- │ │ │допус- │
│ │ │ │ │ │ │ │кается │ │ │кается │
├───┼──────────────────┼─────────┼──────────┼───────────┼───────┼───────┼───────┼──────────────────────┬───────┬───────┬───────┬───────────────┼────────┼───────┤
│13 │Эпоксидное или │ Средняя │ Средняя │ Средняя │Средняя│ Малая │ Малая │ Не допускается │ 15
<2>│ Малая │ 30
<2>│ малая │ 15
<2>│ малая │
│ │полиуретановое │ │ │ │ │ │ │ │ │ │ │ │ │ │
│ │мастичное наливное│ │ │ │ │ │ │ │ │ │ │ │ │ │
│ │(в том числе │ │ │ │ │ │ │ │ │ │ │ │ │ │
│ │антистатическое) │ │ │ │ │ │ │ │ │ │ │ │ │ │
├───┼──────────────────┼─────────┼──────────┼───────────┼───────┼───────┼───────┼──────────────────────┴───────┴───────┴───────┴───────────────┼────────┼───────┤
│14 │Стальные плиты │ Малая │ Большая │ Средняя │Большая│Средняя│ Малая │ Не допускается │ 8 │ Ср. │
│ │по прослойке из │ │ │ │ │ │ │ │(12
<1>)│ │
│ │мелкозернистого │ │ │ │ │ │ │ │ │ │
│ │бетона │ │ │ │ │ │ │ │ │ │
├───┼──────────────────┼─────────┼──────────┼───────────┼───────┼───────┼───────┼──────────────────────────────────────────────────────────────┼────────┼───────┤
│15 │Чугунные дырчатые │ Большая │ Большая │ Средняя │Большая│Средняя│ Малая │ Не допускается │ 8 │ Ср. │
│ │плиты по прослойке│ │ │ │ │ │ │ │(12
<1>)│ │
│ │из мелкозернистого│ │ │ │ │ │ │ │ │ │
│ │бетона │ │ │ │ │ │ │ │ │ │
├───┼──────────────────┼─────────┼──────────┼───────────┼───────┼───────┼───────┼──────────────────────────────────────────────────────────────┼────────┼───────┤
│16 │Чугунные плиты с │ Малая │ Малая │ Малая │Малая │ Малая │Не │ Не допускается │Не доп. │Не │
│ │опорными выступами│ │ │ │ │ │допус- │ │ │допус- │
│ │по прослойке │ │ │ │ │ │кается │ │ │кается │
│ │из песка │ │ │ │ │ │ │ │ │ │
├───┼──────────────────┼─────────┼──────────┼───────────┼───────┼───────┼───────┼──────────────────────────────────────────────────────────────┼────────┴───────┤
│17 │Торцовое на │Не допус-│ Большая │ Не │Малая │Не │Не │ Не допускается │Не допускается │
│ │битумной мастике │кается │ │допускается│ │допус- │допус- │ │ │
│ │ │ │ │ │ │кается │кается │ │ │
├───┼──────────────────┼─────────┼──────────┼───────────┼───────┼───────┼───────┼──────────────────────────────────────────────────────────────┼────────┬───────┤
│18 │Цементно-бетонные │ Большая │ Большая │ Средняя │Большая│Средняя│ Малая │ Не допускается │ 8 │ Ср. │
│ │плиты по прослойке│ │ │ │ │ │ │ │ │ │
│ │из цементно- │ │ │ │ │ │ │ │ │ │
│ │песчаного раствора│ │ │ │ │ │ │ │ │ │
├───┼──────────────────┼─────────┼──────────┼───────────┼───────┼───────┼───────┼──────────────────────────────────────────────────────────────┼────────┼───────┤
│19 │Мозаично-бетонные │ Большая │ Большая │ Средняя │Большая│Средняя│ Малая │ Не допускается │ 8 │ Ср. │
│ │плиты по прослойке│ │ │ │ │ │ │ │(12
<1>)│ │
│ │из цементно- │ │ │ │ │ │ │ │ │ │
│ │песчаного раствора│ │ │ │ │ │ │ │ │ │
├───┼──────────────────┼─────────┼──────────┼───────────┼───────┼───────┼───────┼──────────────────────────────────────────────────────────────┼────────┼───────┤
│20 │Плиты природного │ Большая │ Большая │ Средняя │Большая│Средняя│Средняя│ Не допускается │ 8 │ Ср. │
│ │камня изверженных │ │ │ │ │ │ │ │(12
<1>)│ │
│ │пород (гранита и │ │ │ │ │ │ │ │ │ │
│ │т.д.) по прослойке│ │ │ │ │ │ │ │ │ │
│ │из цементно- │ │ │ │ │ │ │ │ │ │
│ │песчаного раствора│ │ │ │ │ │ │ │ │ │
├───┼──────────────────┼─────────┴──────────┴───────────┴───────┴───────┴───────┴──────────────────────────────────────────────────────────────┴────────┴───────┤
│21 │Керамические │В зависимости от типа прослойки и материала расшивки швов │
│ │10 - 13 мм │ │
├───┼──────────────────┤ │
│22 │Керамические │ │
│ │плитки кислото- │ │
│ │упорные толщиной │ │
│ │15 - 20 мм │ │
├───┼──────────────────┤ │
│23 │Керамические │ │
│ │плитки кислото- │ │
│ │упорные толщиной │ │
│ │30 - 35 мм │ │
├───┼──────────────────┤ │
│24 │Керамические │ │
│ │плитки кислото- │ │
│ │упорные толщиной │ │
│ │50 мм │ │
├───┼──────────────────┤ │
│25 │Кислотоупорный │ │
│ │кирпич плашмя │ │
├───┼──────────────────┤ │
│26 │Кислотоупорный │ │
│ │кирпич на ребро │ │
├───┼──────────────────┼────────────────────────────────────────────────────────────────────────────────────────────────────────────────────────────────────────┤
│27 │Дощатое │ Не допускается │
│ │(окрашенное) │ │
├───┼──────────────────┤ │
│28 │Паркетные доски │ │
│ │и щиты │ │
├───┼──────────────────┤ │
│29 │Штучный и наборный│ │
│ │паркет │ │
├───┼──────────────────┤ │
│30 │Линолеум │ │
│ │(в том числе │ │
│ │антистатический) │ │
├───┼──────────────────┤ │
│31 │Рулонное на основе│ │
│ │химических волокон│ │
├───┼──────────────────┤ │
│32 │Ламинат │ │
└───┴──────────────────┴────────────────────────────────────────────────────────────────────────────────────────────────────────────────────────────────────────┘
<1> При использовании в качестве заполнителей вместо песка и щебня дроби (чугунной, стальной) или порфирита.
<2> Возможно изменение цвета покрытия.
┌───┬───────────────────┬───────────────────────────────────────────────────────────────────────────────┐
│ N │ Покрытие │ Характеристика покрытия пола по специальным требованиям │
│п/п│ ├──────────────────────────────┬─────────┬────────┬────────┬────────────────────┤
│ │ │беспыльности (пылеотделения) │электро- │способ- │безыск- │ легкости очистки │
│ │ │ │провод- │ности │ровости │от производственных │
│ │ │ │ности │накапли-│ │ загрязнений │
│ │ ├─────────────────────┬────────┤в сухом │вать на │ ├─────────┬──────────┤
│ │ │Соответствие количес-│по │состоянии│поверх- │ │пыле- │жидкостных│
│ │ │твенным показателям │визуаль-│
<4> │ности │ │видных │ │
│ │ │по классам беспыль- │ной │ │заряды │ │ │ │
│ │ │ности помещений в │оценке │ │стати- │ │ │ │
│ │ │соотв.: с ОСТ │ │ │ческого │ │ │ │
│ │ │1114.3308-87 и стан- │ │ │электри-│ │ │ │
│ │ │дартом СЭВ 3783-82 │ │ │чества в│ │ │ │
│ │ ├────────┬─────┬──────┤ │ │сухом │ │ │ │
│ │ │Кл. 1000│ Кл. │ Кл. │ │ │состоя- │ │ │ │
│ │ │ │10000│100000│ │ │нии │ │ │ │
├───┼───────────────────┼────────┼─────┼──────┼────────┼─────────┼────────┼────────┼─────────┼──────────┤
│ 1 │ 2 │ 3 │ 4 │ 5 │ 6 │ 7 │ 8 │ 9 │ 10 │ 11 │
├───┼───────────────────┼────────┴─────┴──────┼────────┼─────────┼────────┼────────┼─────────┼──────────┤
│ 1 │Цементно-бетонное │ не соответствует │среднее │
<2> │не │
<1> │практи- │трудно- │
│ │ │ │ │условно │накап- │безыск- │чески не │очищаемое │
│ │ │ │ │электро- │ливает │ровое │очищаемое│ │
│ │ │ │ │проводное│ │ │ │ │
├───┼───────────────────┼─────────────────────┼────────┼─────────┼────────┼────────┼─────────┼──────────┤
│ 2 │Сталефибробетонное │ не соответствует │среднее │
<2> │не │искрящее│трудно- │средне- │
│ │толщиной 40 мм │ │ │условно │накап- │ │очищаемое│очищаемое │
│ │ │ │ │электро- │ливает │ │ │ │
│ │ │ │ │проводное│ │ │ │ │
├───┼───────────────────┼─────────────────────┴────────┴─────────┴────────┴────────┴─────────┴──────────┤
│ 3 │Бетонное с упроч- │ │
│ │ненным верхним │ │
│ │слоем, упрочненное:│ │
│ │железом, корундом │ не соответствует │среднее │
<2> │не │искрящее│трудно- │средне- │
│ │или кварцем │ │ │условно │накап- │ │очищаемое│очищаемое │
│ │ │ │ │электро- │ливает │ │ │ │
│ │ │ │ │проводное│ │ │ │ │
│ │известняком │ не соответствует │среднее │
<2> │не │безыск- │трудно- │средне- │
│ │ │ │ │условно │накап- │ровое │очищаемое│очищаемое │
│ │ │ │ │электро- │ливает │ │ │ │
│ │ │ │ │проводное│ │ │ │ │
├───┼───────────────────┼─────────────────────┼────────┼─────────┼────────┼────────┼─────────┼──────────┤
│ 4 │Асфальтобетонное │ не соответствует │среднее │не │не │
<1> │трудно- │трудно- │
│ │ │ │ │электро- │накап- │безыск- │очищаемое│очищаемое │
│ │ │ │ │проводное│ливает │ровое │ │ │
├───┼───────────────────┼─────────────────────┼────────┼─────────┼────────┼────────┼─────────┼──────────┤
│ 5 │Мозаично-бетонное │ не соответствует │ малое │
<2> │не │
<1> │средне- │средне- │
│ │ (терраццо) │ │ │условно │накап- │безыск- │очищаемое│очищаемое │
│ │ │ │ │электро- │ливает │ровое │ │ │
│ │ │ │ │проводное│ │ │ │ │
├───┼───────────────────┼──────────────┬──────┼────────┼─────────┼────────┼────────┼─────────┼──────────┤
│ 6 │Поливинилацетат- │ не │малое │ малое │
<2> │не │
<1> │средне- │средне- │
│ │цементно-бетонное │соответствует │ │ │условно │накап- │безыск- │очищаемое│очищаемое │
│ │ │ │ │ │электро- │ливает │ровое │ │ │
│ │ │ │ │ │проводное│ │ │ │ │
├───┼───────────────────┼──────────────┴──────┼────────┼─────────┼────────┼────────┼─────────┼──────────┤
│ 7 │Латексцементно- │ не соответствует │ малое │
<2> │не │
<1> │средне- │средне- │
│ │бетонное │ │ │условно │накап- │безыск- │очищаемое│очищаемое │
│ │ │ │ │электро- │ливает │ровое │ │ │
│ │ │ │ │проводное│ │ │ │ │
├───┼───────────────────┼─────────────────────┼────────┼─────────┼────────┼────────┼─────────┼──────────┤
│ 8 │Кислотостойкий │ не соответствует │среднее │электро- │не │искрящее│средне- │средне- │
│ │бетон на жидком │ │ │проводное│накап- │ │очищаемое│очищаемое │
│ │стекле с уплотня- │ │ │ │ливает │ │ │ │
│ │ющей добавкой │ │ │ │ │ │ │ │
├───┼───────────────────┼─────────────────────┼────────┼─────────┼────────┼────────┼─────────┼──────────┤
│ 9 │Жаростойкий бетон │ не соответствует │среднее │электро- │не │искрящее│трудно- │трудно- │
│ │на портландцементе │ │ │проводное│накап- │ │очищаемое│очищаемое │
│ │с хромитом и запол-│ │ │ │ливает │ │ │ │
│ │нителем из шлака │ │ │ │ │ │ │ │
├───┼───────────────────┼─────────────────────┼────────┼─────────┼────────┼────────┼─────────┼──────────┤
│10 │Плиты из жаростой- │ не соответствует │среднее │электро- │не │искрящее│трудно- │трудно- │
│ │кого бетона на │ │ │проводное│накап- │ │очищаемое│очищаемое │
│ │портландцементе │ │ │ │ливает │ │ │ │
│ │с хромитом и запол-│ │ │ │ │ │ │ │
│ │нителем из шлака по│ │ │ │ │ │ │ │
│ │прослойке из песка │ │ │ │ │ │ │ │
├───┼───────────────────┼─────────────────────┼────────┼─────────┼────────┼────────┼─────────┼──────────┤
│11 │Ксилолитовое │ не соответствует │среднее │
<2> │не │
<1> │трудно- │трудно- │
│ │ │ │ │условно │накап- │безыск- │очищаемое│очищаемое │
│ │ │ │ │электро- │ливает │ровое │ │ │
│ │ │ │ │проводное│ │ │ │ │
├───┼───────────────────┼─────────────────────┼────────┼─────────┼────────┼────────┼─────────┼──────────┤
│12 │Поливинилацетат- │ Не соответствует │среднее │
<2> │не │
<1> │трудно- │трудно- │
│ │цементно-опилочное │ │ │условно │накап- │безыск- │очищаемое│очищаемое │
│ │ │ │ │электро- │ливает │ровое │ │ │
│ │ │ │ │проводное│ │ │ │ │
├───┼───────────────────┼────────┬────────────┼────────┼─────────┼────────┼────────┼─────────┼──────────┤
│13 │а) эпоксидное или │Не │соответ- │беспыль-│не │накапли-│
<3> │легко- │легко- │
│ │полиуретановое │соответ-│ствует │ное │электро- │вает │безыск- │очищаемое│очищаемое │
│ │мастичное наливное │ствует │ │ │проводное│ │ровое │ │ │
│ │б) эпоксидное или │ соответствует │беспыль-│не │не │
<3> │легко- │легко- │
│ │полиуретановое │ │ное │электро- │накап- │безыск- │очищаемое│очищаемое │
│ │мастичное наливное │ │ │проводное│ливает │ровое │ │ │
│ │антистатическое │ │ │(антиста-│ │ │ │ │
│ │ │ │ │тическое)│ │ │ │ │
├───┼───────────────────┼─────────────────────┼────────┼─────────┼────────┼────────┼─────────┼──────────┤
│14 │Стальные плиты по │ не соответствует │среднее │электро- │не │искрящее│трудно- │средне- │
│ │прослойке из мелко-│ │ │проводное│накап- │ │очищаемое│очищаемое │
│ │зернистого бетона │ │ │ │ливает │ │ │ │
├───┼───────────────────┼─────────────────────┼────────┼─────────┼────────┼────────┼─────────┼──────────┤
│15 │Чугунные дырчатые │ не соответствует │среднее │электро- │не │искрящее│трудно- │средне- │
│ │плиты по прослойке │ │ │проводное│накап- │ │очищаемое│очищаемое │
│ │из мелкозернистого │ │ │ │ливает │ │ │ │
│ │бетона │ │ │ │ │ │ │ │
├───┼───────────────────┼─────────────────────┼────────┼─────────┼────────┼────────┼─────────┼──────────┤
│16 │Чугунные плиты с │ не соответствует │среднее │электро- │не │искрящее│трудно- │трудно- │
│ │опорными выступами │ │ │проводное│накап- │ │очищаемое│очищаемое │
│ │по прослойке │ │ │ │ливает │ │ │ │
│ │из песка │ │ │ │ │ │ │ │
├───┼───────────────────┼─────────────────────┼────────┼─────────┼────────┼────────┼─────────┼──────────┤
│17 │Торцовое на │ не соответствует │большое │не │не │безыск- │практи- │Практи- │
│ │битумной мастике │ │ │электро- │накап- │ровое │чески не │чески │
│ │ │ │ │проводное│ливает │ │очищаемое│неочища- │
│ │ │ │ │ │ │ │ │емое │
├───┼───────────────────┼─────────────────────┼────────┼─────────┼────────┼────────┼─────────┼──────────┤
│18 │Цементно-бетонные │ не соответствует │среднее │
<2> │не │
<1> │практи- │трудно- │
│ │плиты по прослойке │ │ │условно │накап- │безыск- │чески не-│очищаемое │
│ │из цементно- │ │ │электро- │ливает │ровое │очищаемое│ │
│ │песчаного раствора │ │ │проводное│ │ │ │ │
├───┼───────────────────┼─────────────────────┼────────┼─────────┼────────┼────────┼─────────┼──────────┤
│19 │Мозаично-бетонные │ не соответствует │ малое │
<2> │не │
<1> │средне- │трудно- │
│ │плиты по прослойке │ │ │условно │накап- │безыск- │очищаемое│очищаемое │
│ │из цементно- │ │ │электро- │ливает │ровое │ │ │
│ │песчаного раствора │ │ │проводное│ │ │ │ │
├───┼───────────────────┼─────────────────────┼────────┼─────────┼────────┼────────┼─────────┼──────────┤
│20 │Плиты природного │ не соответствует │ малое │электро- │не │искрящее│легко- │средне- │
│ │камня изверженных │ │ │проводное│накап- │ │очищаемое│очищаемое │
│ │пород (гранита и │ │ │ │ливает │ │ │ │
│ │т.п.) по прослойке │ │ │ │ │ │ │ │
│ │из цементно- │ │ │ │ │ │ │ │
│ │песчаного раствора │ │ │ │ │ │ │ │
├───┼───────────────────┼─────────────────────┼────────┼─────────┼────────┼────────┼─────────┼──────────┤
│21 │Керамические плитки│ не соответствует │ малое │
<2> │не │искрящее│легко- │средне- │
│ │ │ │ │условно │накап- │ │очищаемое│очищаемое │
│ │ │ │ │электро- │ливает │ │ │ │
│ │ │ │ │проводное│ │ │ │ │
├───┼───────────────────┼─────────────────────┼────────┼─────────┼────────┼────────┼─────────┼──────────┤
│22 │Керамические │ не соответствует │ малое │условно │не │искрящее│легко- │средне- │
│ │кислотоупорные │ │ │электро- │накап- │ │очищаемое│очищаемое │
│ │плитки │ │ │проводное│ливает │ │ │ │
├───┼───────────────────┼─────────────────────┼────────┼─────────┼────────┼────────┼─────────┼──────────┤
│23 │Кислотоупорный │ не соответствует │ малое │
<2> │не │искрящее│легко- │средне- │
│ │кирпич плашмя │ │ │условно │накап- │ │очищаемое│очищаемое │
│ │ │ │ │электро- │ливает │ │ │ │
│ │ │ │ │проводное│ │ │ │ │
├───┼───────────────────┼─────────────────────┼────────┼─────────┼────────┼────────┼─────────┼──────────┤
│24 │Кислотоупорный │ не соответствует │ малое │
<2> │не │искрящее│легко- │средне- │
│ │кирпич на ребро │ │ │условно │накап- │ │очищаемое│очищаемое │
│ │ │ │ │электро- │ливает │ │ │ │
│ │ │ │ │проводное│ │ │ │ │
├───┼───────────────────┼─────────────────────┼────────┼─────────┼────────┼────────┼─────────┼──────────┤
│25 │Дощатое │ не соответствует │ малое │не │не │безыск- │легко- │средне- │
│ │(окрашенное) │ │ │электро- │накап- │ровое │очищаемое│очищаемое │
│ │ │ │ │проводное│ливает │ │ │ │
├───┼───────────────────┼─────────────────────┼────────┼─────────┼────────┼────────┼─────────┼──────────┤
│26 │Паркетные доски │ не соответствует │ малое │не │не │безыск- │легко- │средне- │
│ │и щиты │ │ │электро- │накап- │ровое │очищаемое│очищаемое │
│ │ │ │ │проводное│ливает │ │ │ │
├───┼───────────────────┼─────────────────────┼────────┼─────────┼────────┼────────┼─────────┼──────────┤
│27 │Штучный и наборный │ не соответствует │ малое │не │не │безыск- │легко- │средне- │
│ │паркет │ │ │электро- │накап- │ровое │очищаемое│очищаемое │
│ │ │ │ │проводное│ливает │ │ │ │
├───┼───────────────────┼────────┬────────────┼────────┼─────────┼────────┼────────┼─────────┼──────────┤
│28 │а) Линолеум │не │соответ- │беспыль-│не │накапли-│безыск- │легко- │легко- │
│ │ │соответ-│ствует │ное │электро- │вает │ровое │очищаемое│очищаемое │
│ │ │ствует │ │ │проводный│ │ │ │ │
│ │б) Линолеум │ соответствует │беспыль-│не │не │безыск- │легко- │легко- │
│ │антистатический │ │ное │электро- │накап- │ровое │очищаемое│очищаемое │
│ │ │ │ │проводный│ливает │ │ │ │
│ │ │ │ │(антиста-│ │ │ │ │
│ │ │ │ │тический)│ │ │ │ │
├───┼───────────────────┼─────────────────────┼────────┼─────────┼────────┼────────┼─────────┼──────────┤
│29 │Рулонное на основе│ не соответствует │среднее │не │накапли-│безыск- │средне- │трудно- │
│ │химических волокон │ │ │электро- │вает │ровое │очищаемое│очищаемое │
│ │ │ │ │проводное│ │ │ │ │
├───┼───────────────────┼────────┬────────────┼────────┼─────────┼────────┼────────┼─────────┼──────────┤
│30 │Ламинат │не │соответ- │ малое │не │накапли-│безыск- │легко- │трудно- │
│ │ │соответ-│ствует │ │электро- │вает │ровое │очищаемое│очищаемое │
│ │ │ствует │ │ │проводное│ │ │ │ │
└───┴───────────────────┴────────┴────────────┴────────┴─────────┴────────┴────────┴─────────┴──────────┘
<1> В случае применения безыскровых наполнителей (заполнителей) и песка.
<2> Приобретает способность проводить электрический ток при увлажнении.
<3> Являются неискрящими при использовании мелкодисперсных (порошкообразных) наполнителей.
<4> Электропроводное - электросопротивление менее

; условно электропроводное -

; антистатическое -

.
Неэлектропроводное - электросопротивление более

.
Таблица 1
Физико-технические свойства
битумно-полимерных наплавляемых рулонных материалов
| | ИС МЕГАНОРМ: примечание. Шапка таблицы дана в соответствии с официальным текстом документа. | |
┌─────────────┬─────────────┬──────────┬──────┬─────────┬───────┬──────┬───────┬──────┐
│ Материал, │Изготовитель │Масса 1 м2│Масса │Разрывная│Относи-│Тепло-│Водо- │Гиб- │
│ ТУ │ │битуминоз-│1 м2 │сила при │тельное│стой- │погло- │кость │
│ │ │ного │осно- │растяже- │удлине-│кость,│щение │при │
│ │ │вяжущего, │вы, г │нии, │ние, % │°C │через │темпе-│
│ │ │г │ │кгс/см │ │ │24 ч, │рату- │
│ │ │ │ │ │ │ │мас., %│ре, °C│
├─────────────┼─────────────┼──────────┼──────┼─────────┼───────┼──────┼───────┼──────┤
│ 1 │ 2 │ 3 │ 4 │ 5 │ 6 │ 7 │ 8 │ 9 │
├─────────────┼─────────────┼──────────┼──────┼─────────┼───────┼──────┼───────┼──────┤
│Филизол │ОАО │2500 - │ 210 │ 50 │ 12,8 │ 80 │ 0,7 │ -15 │
│(ТУ 400-1- │"Фили-кровля"│ 3000│ │ │ │ │ │ │
│409-5-92) │ │ │ │ │ │ │ │ │
├─────────────┤ ├──────────┼──────┼─────────┼───────┼──────┼───────┼──────┤
│Филизол супер│ │4500 - │ 150 │ 50 │ 9 │ 80 │ 0,8 │ -15 │
│(ТУ 5770-002-│ │ 5500│ │ │ │ │ │ │
│05108038-94) │ │ │ │ │ │ │ │ │
├─────────────┼─────────────┼──────────┼──────┼─────────┼───────┼──────┼───────┼──────┤
│Бикроэласт │Учалинское АП│ 3500 │ 295 │ 50 │ 36 │ 85 │ 0,5 │ -15 │
│(ТУ 5770-541-│"Кровля" │ │ │ │ │ │ │ │
│00284718-94) │ │ │ │ │ │ │ │ │
├─────────────┼─────────────┼──────────┼──────┼─────────┼───────┼──────┼───────┼──────┤
│Люберит │АОЗТ │3500+/-500│ 170 │ 75 │ 8 │ 80 │ 1 │ -10 │
│(ТУ 5770-001-│"Люберит" │ │ │ │ │ │ │ │
│18060333-95) │ │ │ │ │ │ │ │ │
├─────────────┼─────────────┼──────────┼──────┼─────────┼───────┼──────┼───────┼──────┤
│Днепрофлекс │АО "Полимер- │ 3200 │ 580 │ 80 │ - │ 80 │ 1,5 │ -15 │
│(ТУ 5770-531-│кровля" │ │ │ │ │ │ │ │
│00284718-93) │ │ │ │ │ │ │ │ │
├─────────────┼─────────────┼──────────┼──────┼─────────┼───────┼──────┼───────┼──────┤
│Изопласт К, │АООТ │ 3400 │ 250 │ 60 │ - │ 120 │ 1 │ -25 │
│Изопласт П │"Киришинефте-│ │ 200 │ 36 │ │ 120 │ 1 │ -25 │
│(ТУ 5774-005-│оргсинтез" │ │ │ │ │ │ │ │
│05766480-95) │ │ │ │ │ │ │ │ │
├─────────────┼─────────────┼──────────┼──────┼─────────┼───────┼──────┼───────┼──────┤
│Стекломаст │Рязанский КРЗ│ 3200 │ 790 │ 85 │ - │ 85 │ 1,5 │+/- 0 │
│(ТУ 21- │ │ │ │ │ │ │ │ │
│5744710- │ │ │ │ │ │ │ │ │
│519-92) │ │ │ │ │ │ │ │ │
├─────────────┼─────────────┼──────────┼──────┼─────────┼───────┼──────┼───────┼──────┤
│Полимаст │ АП │ 3000 │ 190 │ 75 │ - │ 80 │ 1,5 │ -10 │
│(ТУ 5770-537-│ "Выборгский │ │ │ │ │ │ │ │
│0287718-93) │ РЗ" │ │ │ │ │ │ │ │
├─────────────┼─────────────┼──────────┼──────┼─────────┼───────┼──────┼───────┼──────┤
│Рубитэкс │ АО │3000 - │<= 460│ >= 50 │ - │80+/-2│ - │ -15 │
│(ТУ 5774-003-│ "Оргкровля" │ 5000│ │ │ │ │ │ │
│00289973-95) │ │ │ │ │ │ │ │ │
│стеклоткань │ │ │ │ │ │ │ │ │
├─────────────┼─────────────┼──────────┼──────┼─────────┼───────┼──────┼───────┼──────┤
│Рулонный │АО "Кровля", │3600 - │ - │ 61,2 │ 60 │70+/-2│ 2,0 │ -15 │
│материал │г. Осиповичи │ 3800│ │ │ │ │ │ │
│марки МК-ПК │ │ │ │ │ │ │ │ │
│и МГ-ПМ │ │ │ │ │ │ │ │ │
│(ТУ РБ │ │ │ │ │ │ │ │ │
│14738548.002-│ │ │ │ │ │ │ │ │
│42-94) │ │ │ │ │ │ │ │ │
└─────────────┴─────────────┴──────────┴──────┴─────────┴───────┴──────┴───────┴──────┘
Таблица 2
Физико-технические свойства вулканизованных
эластомерных рулонных материалов
┌────────────────────┬─────────┬───────┬────────┬─────────┬──────┬────────┐
│ Материал, страна │Условная │Относи-│Гибкость│Водо- │Оста- │Модуль │
│ │прочность│тельное│на брусе│поглоще- │точное│пластич-│
│ │при │удлине-│ с │ние через│удли- │ности │
│ │растяже- │ние, % │радиусом│24 ч, % │нение,│при 100%│
│ │нии, МПа │ │5 мм при│ │ % │растяже-│
│ │ │ │ t, °C │ │ │нии, МПа│
├────────────────────┼─────────┼───────┼────────┼─────────┼──────┼────────┤
│Кровлен ТУ 8725-011-│ 6,6 │ 550 │ -55 │ 1,0 │ 58 │ 2,0 │
│00302480-95 │ 4,0 │ 200 │ -35 │ 1,3 │ 36 │ 2,1 │
├────────────────────┼─────────┼───────┼────────┼─────────┼──────┼────────┤
│Элон
<*> ТУ 21- │ 7,0 │ 250 │ -60 │ 1,5 │ - │ - │
│5744710-514-92 │ │ │ │ │ │ │
├────────────────────┼─────────┼───────┼────────┼─────────┼──────┼────────┤
│Бикапол "Гермопласт"│1,0 - 1,6│150 - │ -50 │ 0,2 │ - │ - │
│Россия │ │ 300│ │ │ │ │
├────────────────────┼─────────┼───────┼────────┼─────────┼──────┼────────┤
│Изолен │7,0 - │ 250 │ -50 │ 1,0 │ - │ - │
│"Атомэнергомаш" │ 10,0│ │ │ │ │ │
│ТУ 5774-001-04- │ │ │ │ │ │ │
│678851-95 │ │ │ │ │ │ │
├────────────────────┼─────────┼───────┼────────┼─────────┼──────┼────────┤
│Кровлелон ТУ │ 12,0 │ 200 │ -50 │ 1,0 │ - │ - │
│95-25048396-054-93 │ │ │ │ │ │ │
├────────────────────┼─────────┼───────┼────────┼─────────┼──────┼────────┤
│Бутилон ТУ 21- │ 4,5 │ 350 │ -55 │ 2,0 │ - │ - │
│5744710-504-91 │ │ │ │ │ │ │
├────────────────────┼─────────┼───────┼────────┼─────────┼──────┼────────┤
│Поликров АР
<**> │ 3 - 5 │ 300 │ -50 │ 0,2 │ - │ - │
│ТУ 5775-002- │ │ │ │ │ │ │
│11313564-96 │ │ │ │ │ │ │
└────────────────────┴─────────┴───────┴────────┴─────────┴──────┴────────┘
--------------------------------
<*> Материал с армирующей подложкой.
<**> Применяется в сочетании с приклеивающей мастикой "Поликров-М" (ТУ 5775-003-11313564-96) и защитным покрытием "Поликров-П" (ТУ 5775-001-11313564-96).
Таблица 3
Физико-технические свойства гидроизоляционных мастик
┌─────────────┬───────────────────────────────────────────────────────────┐
│ Название, │ Наименования показателей │
│марка, фирма ├─────────┬──────────┬───────┬───────┬────────┬─────────────┤
│ │условная │относи- │тепло- │водо- │гибкость│ адгезия │
│ │прочность│тельное │стой- │погло- │ на │ к цементно- │
│ │при │удлинение,│кость, │щение │стержне,│ песчаному │
│ │растяже- │% │°C │через │ мм/°C │раствору, МПа│
│ │нии │ │ │24 ч, %│ │ (кгс/см2) │
├─────────────┼─────────┼──────────┼───────┼───────┼────────┼─────────────┤
│Вента-V, │0,7 (7,0)│ 400 │ 130 │ 0,5 │ 10 │ 0,5 (5,0) │
│АПО "Вента" │ │ │ │ │ -- │ │
│ │ │ │ │ │ 65 │ │
├─────────────┼─────────┼──────────┼───────┼───────┼────────┼─────────────┤
│Полимерная │ - │ 300 │ 120 │ - │ - │ 0,2 - 0,4 │
│кровельная │ │ │ │ │ │ (2 - 4) │
├─────────────┼─────────┼──────────┼───────┼───────┼────────┼─────────────┤
│УНИКС │ 1 (10) │ 600 │ 130 │ 0,5 │ 5 │ 0,6 (6,0) │
│ │ │ │ │ │ --- │ │
│ │ │ │ │ │ -70 │ │
├─────────────┼─────────┼──────────┼───────┼───────┼────────┼─────────────┤
│Битурел │ 1,0 │ 500 │ 120 │ 1,5 │ -50 │ 0,5 │
├─────────────┼─────────┼──────────┼───────┼───────┼────────┼─────────────┤
│Гермокров-2 │ 1,2 │ 200 │ 120 │ 2,0 │ -50 │ 0,4 │
├─────────────┼─────────┼──────────┼───────┼───────┼────────┼─────────────┤
│Гермокров-3 │ 1,5 │ 250 │ 120 │ 2,0 │ -50 │ 0,4 │
├─────────────┼─────────┼──────────┼───────┼───────┼────────┼─────────────┤
│Кровлелит │ 20 - 24 │500 - 1000│100 - │0,1 - │ -60 │ 0,5 - 2,0 │
│ │ │ │ 150│ 1,0│ │ │
└─────────────┴─────────┴──────────┴───────┴───────┴────────┴─────────────┘
ПЕРЕЧЕНЬ
СТАНДАРТОВ И ТУ НА МАТЕРИАЛЫ,
ПРИМЕНЯЕМЫЕ ПРИ УСТРОЙСТВЕ ПОЛОВ
ГОСТ 473.1-81 Изделия химически стойкие и термостойкие
керамические. Метод определения кислотостойкости
условия
условия
условия
условия
ИС МЕГАНОРМ: примечание.
В официальном тексте документа, видимо, допущена опечатка: стандарт
имеет номер ГОСТ 6787-90, а не ГОСТ 6787-89.
подоснове. Технические условия
материалов для строительства
ГОСТ 9480-89 Плиты облицовочные пиленные из природного камня.
Технические условия
условия
ГОСТ 16475-81 Плитки для полов поливинилхлоридные
теплозвукоизолирующей подоснове. Технические
условия
грубодисперсная. Технические условия
волокон. Технические условия
условия
на теплозвукоизолирующей подоснове. Технические
условия
ТУ 21-5744710-504-91 Вулканизованный эластомерный рулонный материал
"Бутилон"
ТУ 21-5744710-514-92 Вулканизованный эластомерный рулонный материал
"Элон"
ТУ 21-5744710-519-92 Материалы рулонные кровельные и гидроизоляционные
"Стекломаст"
ТУ 21-29-12-77 Ковровое покрытие "Ворсолин"
ТУ 38-103-111-80 Синтетический латекс СКС-65ГП марки "Б" и "К"
ТУ 2257-001-06085062-97 Покрытие полимерное монолитное марки "ФЕАС"
ТУ 2257-002-27576372-2000 Покрытие полимерное монолитное марки "Диапол-310"
ТУ 2257-003-27576372-2000 Покрытие полимерное монолитное марки "Диапол-320"
ТУ 2257-004-27576372-2000 Покрытие полимерное монолитное марки "Диапол-322"
ТУ 2257-005-27576372-2000 Покрытие шероховатое полимерное монолитное марки
"Диапол-330"
ТУ 2257-006-27576372-2000 Покрытие полимерное монолитное марки "Диапол-110"
ТУ 2257-007-27576372-2000 Грунтовка марки "Диапол-112"
ТУ 2257-008-27576372-2000 Шпаклевка марки "Диапол-210"
ТУ 2257-009-27576372-2000 Шпаклевка марки "Диапол-220"
ТУ 2384-0003-365379-56-00 Строительная мастика "Калан*ок"
ТУ 5361-001-42950773-99 Деревянные регулируемые лаги
ТУ 5745-013-05668056-99 Клей плиточный (рецептура N 58)
ТУ 5770-001-18060333-95 Материалы рулонные кровельные и гидроизоляционные
"Люберит"
ТУ 5770-006-04002274-00 Герметик "Гертекс"
ТУ 5770-002-05108038-94 Материалы рулонные кровельные и гидроизоляционные
"Филизол супер"
ТУ 5770-531-00284718-93 Материалы рулонные кровельные и гидроизоляционные
"Днепрофлекс"
ТУ 5770-537-00284718-93 Материалы рулонные кровельные и гидроизоляционные
"Полимаст"
ТУ 5770-541-00284718-94 Материалы рулонные кровельные и гидроизоляционные
"Бикроэласт"
ТУ 5772-005-41099447-98 Двухкомпонентное наливное полиуретановое покрытие
НМГ-полиплан 1001
ТУ 5774-001-04-618851-95 Вулканизованный эластомерный рулонный материал
"Изолен "Атомэнергомаш"
ТУ 5774-003-00289973-95 Материалы рулонные кровельные и гидроизоляционные
"Рубитекс"
ТУ 5774-005-05766480-95 Материалы рулонные кровельные и гидроизоляционные
"Изопласт К, Изопласт Н"
ТУ 5775-002-11313564-96 Вулканизированный рулонный эластомерный материал
"Поликров АР"
ТУ 400-1-136-78 Мастика "Перминид"
ТУ 400-1-177-79 Клей дисперсионный АДМ-К
ТУ 400-1-184-70 Ковровое покрытие на тканевой подоснове
"Ковроплен"
ТУ 400-1-367-83 Ковровое покрытие на вспененной подоснове
ТУ 400-1-409-5-92 Материал рулонный кровельный и гидроизоляционный
"Филизол"
ТУ 400-1-411-87 Ковровое покрытие прошивное (тафтинговое)
ТУ 400-2-171-93 Плиты бетонные мозаичные для полов
ТУ 400-2-324-87 Клей "Бустилат"
ТУ 8725-011-00302480-95 Вулканизированный эластомерный рулонный материал
"Кровлен"
ТУ 95-25048396-054-93 Вулканизированный эластомерный рулонный материал
"Кровлелон"
ТУ РБ 14738548.002-42-94 Материалы рулонные кровельные и гидроизоляционные
марки МК-ПК и МГ-ПМ.