
















Наименование группы станков | Разряды работы | Нормы освещенности от системы комбинированного освещения (местное + общее) лк - не менее | Местное освещение | |
нормы освещенности на рабочей поверхности | источники света | |||
Токарные, фрезерные, сверлильные | 2 | 1500 | 1200 | Лампы накаливания |
2000 | 1700 | Люминесцентные лампы | ||
Расточные | 3 | 1000 | 7000 | Люминесцентные лампы |
750 | 450 | Лампы накаливания | ||


Точение | ||||||||||
Лист 1 | ||||||||||
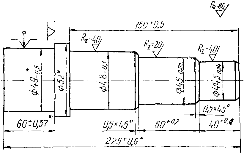
Исходные данные для расчета | Эскиз обработки, способ установки | Деталь | Станок | |||||||
![]() | Наименование | вал | Наименование | токарно-винторезный с ЧПУ | ||||||
Марка материала | Ст. 45 | |||||||||
Твердость | НВ = 241 | Модель | МК6064 | |||||||
Вес заготовки | 3,75 кг | Наибольший диаметр обработки над станиной | 400 мм | |||||||
Способ установки | самоцентрирующий патрон с пневмозажимом без выверки | Мощность двигателя | 7,5 кВт | |||||||
Партия деталей | 30 шт. | Программоноситель | перфолента | |||||||
Расчет нормы времени | N п/п | Что определяется | Содержание работы | Обоснование | Окончательное время | |||||
1 | Вспомогательное время | Установить деталь и снять | 0,2 мин. | |||||||
Включить станок и выключить | 0,04 мин. | |||||||||
Открыть заградительный щиток и закрыть | 0,03 мин. | |||||||||
Включить пульт лентопротяжного механизма, выключить | 0,04 мин. | |||||||||
Продвинуть перфоленту в исходное положение | 0,25 мин. | |||||||||
Установить координату X и Y | 0,15 мин. | |||||||||
Ввести коррекцию | 0,08 мин. | |||||||||
Перемотать перфоленту | 0,04 мин. | |||||||||
Измерить размеры 1, 2, 3, 4, 5, 6 микрометром, штангенциркулем | Перекрывается временем автоматической работы станка | - | ||||||||
Поправочный коэффициент на вспомогательное время в зависимости от характера серийности работ | K1в = 1,32 | |||||||||
- | Tв = Tву + Tвсп | 0,83 мин. | ||||||||
2 | Время автоматической работы станка | Автоматическая основная работа станка | См. пример расчета Tоа, стр. | 1,28 мин. | ||||||
Автоматическая вспомогательная работа станка | - | 0,28 мин. | ||||||||
- | Tа = Tоа + Tва | 1,56 мин. | ||||||||
3 | Время на организационно-техническое обслуживание рабочего места, отдых и личные надобности | 0,24 мин. (10% от Tоп) | ||||||||
4 | Подготовительно-заключительное время (на одну деталь) | Организационно-подготовительные работы | 0,3 мин. | |||||||
Наладка станка, инструмента, приспособления | 0,077 мин. | |||||||||
- | T = Tоа + Tв + K1в + Tоб + Tп.з | 0,377 мин. | ||||||||
5 | Штучное время | - | T = 1,28 + 0,83 + 1,32 + 0,24 + 0,377 = 3,07 мин. | T = 3,07 мин. | ||||||
Точение | |||||||||
Лист 2 | |||||||||
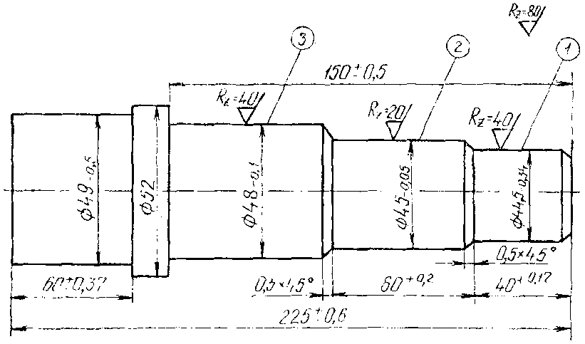
Исходные данные для расчета | Эскиз обработки, размеры, допуск и шероховатость поверхности | ||||||||
![]() | |||||||||
Деталь | Станок | Инструмент | |||||||
Наименование | вал | Наименование | Наименование | резец | |||||
Марка материала | ст. 45 | Модель | МК 6064 | Марка режущей части | Т15К6 | ||||
Твердость | НВ = 220, | Пределы чисел оборотов шпинделя | 12,5 - 2000 об./мин. | Размер державки резца | 16 x 25 | ||||
Обрабатываемый размер | Пределы подач | 3 - 800 мм/мин. | Главный угол в плане | 90° | |||||
Состояние поверхности заготовки | без корки | Мощность электродвигателя | 7,5 кВт | Радиус при вершине резца | 0,5 мм | ||||
Припуск 2П | 6,0 мм; 7 мин.; 4 мин. | Программоноситель | перфолента | Передний угол | 10° | ||||
Шероховатость поверхности | Rz = 40 мкм; Rz = 20 мкм | ||||||||
Врезание инструмента | l = 3 мм | ||||||||
Расчетная длина обработки | L = 152,6 мм | ||||||||
Расчет режимов и основного времени | N п/п | Что определяется | Определяемые параметры | Обоснование | Табличные значения и величины поправочных коэффициентов | Окончательные | |||
1 | Период стойкости инструмента | Стойкость инструмента | 150 мин. | 150 мин. | |||||
2 | Расчет режимов резания | I. Черновой проход | S = 0,5 - 0,7 м/об. | S = 0,6 мм/об. | |||||
Подача на оборот | |||||||||
Подача, допускаемая жесткостью системы | S = 0,6 мм/об. | ||||||||
Поправочные коэффициенты на S в зависимости от | главного угла в плане | 1,0 | - | ||||||
допускаемой стрелы прогиба детали | 1,0 | ||||||||
способа крепления детали | 1,0 | ||||||||
жесткости станка | 1,0 | ||||||||
обрабатываемого материала | 1,0 | ||||||||
Точение | ||||||||
Лист 3 | ||||||||
Расчет режимов резания и основного времени | N п/п | Что определяется | Определяемые параметры | Обоснование | Табличные значения и величины поправочных коэффициентов | Окончательные данные | ||
2 | Расчет режимов резания | Скорость резания | V = 82 м/мин. | V1 = 73 м/мин. | ||||
Поправочные, коэффициенты на V в зависимости от | материала инструмента | 1,0 | - | |||||
состояния поверхности заготовки | 1,0 | |||||||
стойкости инструмента | 0,9 | |||||||
Число оборотов шпинделя | ![]() | n1 = 505 об./мин. n2 = 500 об./мин. n3 = 470 об./мин. | Принимаем по паспорту станка n = 500 об./мин. | |||||
Скорость резания: | поверхность 1 | ![]() | V1 = 73 м/мин. | V1 = 73 м/мин. | ||||
поверхность 2 | V2 = 73,8 м/мин. | V2 = 73,8 м/мин. | ||||||
поверхность 3 | V3 = 78,5 м/мин. | V3 = 78,5 м/мин. | ||||||
II. Чистовой проход | ||||||||
Подача на оборот | поверхность 1 | S1 = 0,4 - 0,55 мм/об. | S1 = 0,45 мм/об. | |||||
поверхность 2 | S2 = 0,25 - 0,3 мм/об. | S2 = 0,25 мм/об. | ||||||
поверхность 3 | S3 = 0,4 - 0,55 мм/об. | S3 = 0,45 мм/об. | ||||||
Скорость резания | поверхность 1 | V1 = 104 м/мин. | V1 = 93,6 м/мин. | |||||
поверхность 2 | V2 = 132 м/мин. | V2 = 118,8 м/мин. | ||||||
поверхность 3 | V3 = 104 м/мин. | V3 = 93,6 м/мин. | ||||||
Поправочные коэффициенты на S1 в зависимости от | материала инструмента | 1,0 | - | |||||
состояния поверхности заготовки | 1,0 | |||||||
стойкости инструмента | 0,9 | |||||||
Число оборотов шпинделя | ![]() | n1 = 670 об./мин. n2 = 662 об./мин. n3 = 622 об./мин. | Принимаем по паспорту станка n = 630 об./мин. | |||||
Скорость резания | поверхность 1 | ![]() | V1 = 88 м/мин. | V1 = 88 м/мин. | ||||
поверхность 2 | V2 = 89 м/мин. | V2 = 89 м/мин. | ||||||
поверхность 3 | V3 = 95 м/мин. | V3 = 95 м/мин. | ||||||
3 | Проверочный расчет мощности | Мощность, потребная на резание | N = 3,4 квт | N = 3,67 квт | ||||
Поправочные коэффициенты на N в зависимости от: | переднего угла | 0,9 | ||||||
главного угла в плане | 1,2 | |||||||
4 | Расчет основного времени | Основное время для чернового прохода | ![]() | ![]() | Tоа (черн.) = 0,52 мин. | |||
Основное время для чистового прохода | поверхность 1 | ![]() | ![]() | Tоа (чист.) = 0,76 мин. | ||||
поверхность 2 | ![]() | ![]() | ||||||
поверхность 3 | ![]() | ![]() | ||||||
Сверление | |||||||||
Лист 4 | |||||||||
Исходные данные для расчета | Эскиз обработки, размеры, допуск и шероховатость поверхности | ||||||||
![]() | |||||||||
Деталь | Станок | Инструмент | |||||||
Наименование | корпус | Наименование | вертикально-сверлильный с крестовым столом с револьверной головкой и ЧПУ | Наименование | сверло | ||||
Марка материала | ст. 45 | ||||||||
Твердость | НВ = 241; | ||||||||
Обрабатываемый размер | Модель | 2Р135Ф2 | Материал режущей части | Р18 | |||||
Состояние поверхности заготовки | без корки | Пределы чисел оборотов шпинделя | 31,5 - 1400 об./мин. | ||||||
Припуск | 12,5 мм | ||||||||
Шероховатость поверхности | Rz = 20 | Пределы подач | 10 - 500 мм/мин. | ||||||
Мощность электродвигателя | 4 квт | ||||||||
Программоноситель | перфолента | ||||||||
Расчет режимов резания и основного времени | N п/п | Что определяется | Определяемые параметры | Обоснование | Табличные значения и величины поправочных коэффициентов | Окончательные данные | |||
1 | Период стойкости инструмента | Стойкости инструмента: | сверло | 50 мин. | 50 мин. | ||||
зенкер | 40 мин. | 40 мин. | |||||||
развертка | 80 мин. | 80 мин. | |||||||
Подачи на оборот | сверло | Sс = 0,22 - 0,35 мм/об. | Sс = 0,3 мм/об. | ||||||
зенкер | Sз = 0,55 - 0,7 мм/об. | Sз = 0,6 мм/об. | |||||||
развертка | Sр = 0,8 мм/об. | Sр = 0,8 мм/об. | |||||||
глубина сверления | Kс = 1,0 | ||||||||
Поправочные коэффициенты на V в зависимости от | материалы режущей части сверла | Kс = 1,0 | - | ||||||
Сверление | ||||||||
Лист 5 | ||||||||
Расчет режимов резания и основного времени | N п/п | Что определяется | Определяемые параметры | Обоснование | Табличные значения и величины поправочных коэффициентов | Окончательные данные | ||
2 | Расчет режимов резания | Скорость резания | сверло | Vс = 21,6 м/мин. | Vс = 16,6 м/мин. | |||
зенкер | Vз = 18,7 м/мин. | Vз = 14,4 м/мин. | ||||||
развертка | Vр = 7,1 м/мин. | Vр = 4,96 м/мин. | ||||||
Поправочные коэффициенты на V в зависимости от | группы сталей | Kс = Kз = Kр = 0,7 | - | |||||
глубины отверстия | Kс = Kз = Kр = 1,0 | |||||||
марки инструмента | Kс = Kз = Kр = 1,0 | |||||||
стойкости инструмента | Kс = 1,1; Kз = 1,1; Кр = 1,0 | |||||||
Число оборотов шпинделя | сверло | ![]() | nс = 223 об./мин. | Уточняем по паспорту станка nс = 180 об./мин. | ||||
зенкер | nз = 185 об./мин. | nз = 180 об./мин. | ||||||
развертка | nр = 63,3 об./мин. | nр = 63 об./мин. | ||||||
Минутная подача | сверло | Sм = S0 · n | Sмс = 54 мм/мин. | Sмс = 54 мм/мин. | ||||
зенкер | Sмз = 108 мм/мин. | Sмз = 108 мм/мин. | ||||||
развертка | Sмр = 50,4 мм/мин. | Sмр = 50,4 мм/мин. | ||||||
Скорость резания V | сверло | ![]() | Vс = 13,4 м/мин. | Vс = 13,4 м/мин. | ||||
зенкер | Vз = 14 м/мин. | Vз = 14 м/мин. | ||||||
развертка | Vр = 4,9 м/мин. | Vр = 4,9 м/мин. | ||||||
3 | Проверочный расчет мощности | Мощность, потребная на резание | N = 1,2 квт | N = 1,2 квт | ||||
4 | Расчет основного времени | Основное время Tоа | - | ![]() | Tоа = 0,83 мин. | |||
![]() | Tоа = 0,35 мин. | |||||||
![]() | Tоа = 1,07 мин. | |||||||
Фрезерование | |||||||
Лист 6 | |||||||
Эскиз обработки, размеры, допуск и шероховатость поверхности | |||||||
Исходные данные для расчета | ![]() | ||||||
Деталь | Станок | Инструмент | |||||
Наименование | скоба | Наименование | вертикально-фрезерный консольный станок с ЧПУ | Наименование | фреза концевая | ||
Марка материала | ст. 20 | Марка режущей части | Р18 | ||||
Твердость | НВ <= 150 | ||||||
Диаметр | 12 м | ||||||
Обрабатываемый размер | по контуру | Модель | 6Р13ФЗ | Число зубьев | 5 | ||
Состояние поверхности заготовки | без корки | Пределы чисел оборотов шпинделя | 40 - 2000 об./мин. | Вылет фрезы | 30 мм | ||
Припуск | 3 мм | ||||||
Шероховатость поверхности | Rz = 20 | Пределы подач | 10 - 600 мм/мин. | ||||
Мощность электродвигателя | 7,5 квт | ||||||
Расчетная длина обработки | 893 мм | Программоноситель | магнитная лента | ||||
Расчет режимов резания и основного времени | N п/п | Что определяется | Определяемые параметры | Обоснование | Табличные значения и величины поправочных коэффициентов | Окончательные данные | |
1 | Расчет режимов резания | Подача на зуб фрезы | Sz = 0,035 - 0,025 мм/зуб | Sz = 0,014 мм/зуб | |||
Поправочные коэффициенты на Sz в зависимости от | отношения Zф/ZH | 1,0 | - | ||||
шероховатости поверхности | 0,6 | ||||||
конструктивных форм, размеров, способов крепления деталей и инструментов на станке | 0,8 | ||||||
Скорость резания | V = 30 м/мин. | V = 24,3 м/мин. | |||||
Число оборотов | n = 965 об./мин. | n = 1040 об./мин. По паспорту станка n = 1000 об./мин. | |||||
Минутная подача | Sм = 152 мм/мин. | Sм = 164 мм/мин. | |||||
Фрезерование | |||||||
Лист 7 | |||||||
Расчет режимов резания и основного времени | N п/п | Что определяется | Определяемые параметры | Обоснование | Табличные значения и величины поправочных коэффициентов | Окончательные данные | |
1 | Расчет режимов резания | Поправочные коэффициенты на V, n, Sм в зависимости от | состояния обрабатываемой поверхности | 1,0 | - | ||
обрабатываемой поверхности | 0,9 | ||||||
марки обрабатываемого материала | 1,0 | ||||||
марки режущего инструмента | 1,0 | ||||||
отношения Вф/Вп | 1,2 | ||||||
Поправочный коэффициент на Vz в зависимости от конструктивных форм, способов крепления | 0,75 | - | |||||
Скорость резания | ![]() | V = 37,7 м/мин. | |||||
2 | Проверочный расчет мощности | Мощность, потребная на резание | N = 0,9 квт | N = 0,76 квт | |||
Поправочные коэффициенты на N в зависимости от твердости стали | 0,84 | ||||||
3 | Расчет основного времени | Основное время | ![]() | ![]() | Tоа = 5,5 мин. | ||
Токарные, сверлильные и фрезерные станки | ||||||
Карта 1 | ||||||
Характер выполняемой работы | Суммарная продолжительность обработки партии деталей по трудоемкости операции, рабочих смен по типу производства | |||||
Мелкосерийное | Среднесерийное | |||||
0,25 | 0,25 - 0,5 | 0,6 - 1,0 | 1 - 2 | 3 - 4 | 5 - 6 | |
Коэффициент на вспомогательные работы | ||||||
Мелкие станки: обработка деталей мелких размеров | 0,15 | 0,0 | 0,87 | 0,76 | 0,66 | 0,57 |
Средние станки: обработка деталей повторяющихся конструкций и средних размеров | - | 1,32 | 1,15 | 1,0 | 0,87 | 0,76 |
Крупные станки: обработка корпусных и оригинальных деталей | - | - | - | 1,3 | 1,15 | 1,0 |
Токарные и сверлильные станки | |||||||||||||
Карта 2 | |||||||||||||
![]() | |||||||||||||
Номер позиции | Способ установки детали | Установка детали | |||||||||||
вручную | подъемником | ||||||||||||
Масса детали, кг, до | |||||||||||||
0,25 | 1 | 3 | 5 | 8 | 12 | 20 | 30 | 80 | 200 | 500 | |||
Время, мин. | |||||||||||||
1 | В самоцентрирующем патроне с креплением ключом | без выверки (визуально) | 0,18 | 0,25 | 0,32 | 0,37 | 0,45 | 0,55 | 0,68 | 2,3 | 2,6 | - | - |
2 | с выверкой по индикатору | 0,50 | 0,65 | 0,82 | 0,94 | 1,15 | 1,4 | 1,7 | - | - | - | - | |
3 | В самоцентрирующем патроне с креплением пневматическим зажимом | без выверки (визуально) | 0,09 | 0,12 | 0,15 | 0,20 | 0,24 | 0,29 | 0,35 | 1,7 | 2,0 | - | - |
4 | с выверкой по индикатору | 0,29 | 0,38 | 0,48 | - | - | - | - | - | - | - | - | |
5 | В самоцентрирующем патроне с центром задней бабки при подводе пиноли | пневматическим устройством или отводной рукояткой | - | 0,32 | 0,38 | 0,45 | 0,55 | 0,70 | 0,85 | 2,8 | 3,2 | 3,9 | 4,5 |
6 | На конической оправке с креплением | гайкой и быстросъемной шайбой | 0,17 | 0,25 | 0,33 | 0,41 | 0,51 | 0,62 | 0,76 | - | - | - | - |
7 | гайкой и простой шайбой | 0,30 | 0,38 | 0,50 | 0,60 | 0,70 | 0,80 | 1,0 | - | - | - | - | |
8 | На конической разжимной оправке с креплением | пневматическим зажимом | 0,12 | 0,19 | 0,25 | 0,37 | 0,37 | 0,42 | 0,65 | - | - | - | - |
9 | гайкой | 0,14 | 0,21 | 0,27 | 0,35 | 0,44 | 0,53 | 0,76 | - | - | - | - | |
Токарные станки | ||||||||||||||
Карта 3 | ||||||||||||||
![]() | ||||||||||||||
Номер позиции | Способ установки детали | Установка детали | ||||||||||||
Вручную | Подъемником | |||||||||||||
Масса детали, кг, до | ||||||||||||||
0,25 | 1 | 3 | 5 | 8 | 12 | 20 | 30 | 80 | 200 | 500 | 1000 | |||
Время, мин. | ||||||||||||||
1 | В центрах | с надеванием хомутика | 0,19 | 0,23 | 0,28 | 0,34 | 0,41 | 0,50 | 0,60 | 2,0 | 2,3 | 2,8 | 3,3 | 3,9 |
2 | без надевания хомутика | 0,11 | 0,13 | 0,16 | 0,20 | 0,24 | 0,29 | 0,35 | 1,7 | 2,0 | 2,4 | 2,8 | 3,4 | |
3 | В центрах с самозажимным поводковым патроном | - | 0,20 | 0,22 | 0,25 | 0,28 | 0,33 | 0,40 | - | - | - | - | - | |
4 | В центрах с самозажимным хомутиком | - | 0,22 | 0,25 | 0,28 | 0,31 | 0,37 | 0,43 | - | - | - | - | - | |
5 | В центровой оправке с креплением гайкой и шайбой | быстросъемной | - | 0,37 | 0,45 | 0,50 | 0,60 | 0,75 | 0,90 | 2,4 | 2,7 | - | - | - |
6 | простой | - | 0,50 | 0,60 | 0,70 | 0,80 | 0,95 | 1,2 | 2,7 | 2,9 | - | - | - | |
7 | На центровой разжимной оправке | 0,32 | 0,40 | 0,45 | 0,55 | 0,65 | 0,75 | 0,95 | - | - | - | - | - | |
Установить и снять деталь с оправкой (при работе с двумя оправками) | - | 0,13 | 0,16 | 0,20 | 0,24 | 0,29 | 0,35 | 1,7 | 2,0 | - | - | - | ||
Токарные и сверлильные станки | ||||||||
Карта 4 | ||||||||
![]() | ||||||||
Номер позиции | Способ установки детали | Длина вылета заготовки, мм, до | Диаметр прутка, мм, до | |||||
10 | 20 | 40 | 50 | |||||
Время, мин. | ||||||||
1 | В самоцентрирующем патроне с креплением | ключом | по упору | 50 | 0,20 | 0,23 | 0,26 | - |
2 | 100 | 0,22 | 0,25 | 0,29 | - | |||
3 | 200 | - | 0,28 | 0,32 | - | |||
4 | по линейке | 50 | 0,25 | 0,28 | 0,33 | - | ||
5 | 100 | 0,28 | 0,30 | 0,35 | - | |||
6 | 200 | - | 0,33 | 0,38 | - | |||
7 | пневматическим зажимом | по упору | 50 | 0,09 | 0,12 | 0,17 | - | |
8 | 100 | 0,12 | 0,14 | 0,19 | 0,24 | |||
9 | 200 | - | 0,17 | 0,24 | 0,28 | |||
10 | по линейке | 50 | 0,14 | 0,17 | 0,22 | - | ||
11 | 100 | 0,17 | 0,20 | 0,25 | 0,30 | |||
12 | 200 | - | 0,22 | 0,29 | 0,35 | |||
13 | В цанговом патроне с креплением | рукояткой рычага | 50 | 0,12 | 0,14 | 0,21 | 0,26 | |
14 | 100 | 0,14 | 0,17 | 0,23 | 0,28 | |||
15 | 200 | - | 0,19 | 0,27 | 0,32 | |||
16 | пневматическим зажимом | 50 | 0,09 | 0,12 | 0,17 | 0,22 | ||
17 | 100 | 0,12 | 0,14 | 0,19 | 0,24 | |||
18 | 200 | - | 0,17 | 0,23 | 0,27 | |||
19 | ключом | 50 | 0,17 | 0,19 | 0,23 | - | ||
20 | 100 | 0,19 | 0,22 | 0,26 | - | |||
21 | 200 | - | 0,25 | 0,29 | - | |||
Сверлильные и фрезерные станки | ||||||||||||||||
Карта 5 | ||||||||||||||||
Номер позиции | Способ установки детали | Характер выверки | Количество одновременно устанавливаемых деталей | Установка детали | ||||||||||||
Вручную | Подъемником | |||||||||||||||
Масса детали, кг, до | ||||||||||||||||
0,50 | 1 | 3 | 5 | 8 | 12 | 20 | 30 | 80 | 200 | 500 | 1000 | |||||
Время, мин. | ||||||||||||||||
1 | На столе по упорам с креплением болтами и планками | без выверки | 1 | 0,55 | 0,6 | 0,65 | 0,75 | 0,85 | 0,95 | 1,1 | 2,7 | 3,3 | 4,0 | 4,6 | 5,4 | |
2 | 2 | 0,95 | 1,05 | 1,2 | 1,35 | 1,5 | 1,7 | 2,0 | 4,1 | 5,0 | 6,0 | 7,0 | - | |||
3 | ![]() | 3 | 1,35 | 1,5 | 1,7 | 1,9 | 2,2 | 2,5 | 2,9 | 5,5 | 6,5 | 8,0 | 9,5 | - | ||
4 | выверка простая | 1 | 0,95 | 1,05 | 1,2 | 1,4 | 1,6 | 1,8 | 2,2 | 4,2 | 4,7 | 5,6 | 7,0 | 8,5 | ||
5 | 2 | 1,3 | 1,9 | 2,1 | 2,4 | 2,8 | 3,4 | 4,0 | 7,0 | 8,0 | 9,6 | 11,5 | - | |||
6 | 3 | 2,6 | 2,8 | 3,0 | 3,5 | 4,0 | 4,7 | 5,7 | 9,5 | 10,5 | 13,1 | 16,5 | - | |||
7 | выверка сложная | 1 | 1.4 | 1,55 | 1,85 | 2,05 | 2,3 | 2,6 | 2,9 | 5,5 | 7,0 | 9,0 | 11,0 | 13,0 | ||
8 | 2 | 2,8 | 3,0 | 3,4 | 3,8 | 4,3 | 4,8 | 5,2 | 9,5 | 12,5 | 15,5 | 19,5 | 23,0 | |||
9 | 3 | 4,1 | 4,4 | 5,0 | 5,6 | 6,2 | 7,0 | 7,6 | 13,0 | 18,0 | 22 | 27 | 30,0 | |||
10 | На угольнике или сбоку стола с креплением болтами и планками | на опоре | без выверки | 1 | 0,65 | 0,75 | 0,90 | 1,0 | 1,2 | 1,4 | 1,6 | 3,2 | 3,9 | - | - | - |
11 | на весу | без выверки по фиксатору или направляющей | 1 | 0,60 | 0,70 | 0,80 | 0,9 | 1,05 | 1,15 | 1,3 | 2,4 | 3,1 | - | - | - | |
12 | ![]() | с выверкой по контуру необработанной поверхности | 0,75 | 0,85 | 1,1 | 1,3 | 1,5 | 1,8 | 2,1 | 3,7 | 4,4 | - | - | - | ||
Сверлильные и фрезерные станки | |||||||||
Карта 6 | |||||||||
![]() | |||||||||
Установка в тисках | |||||||||
Номер позиции | Способ установки детали | Выверка | Количество крепежных точек | Масса детали, кг, до | |||||
1 | 3 | 5 | 8 | 12 | 20 | ||||
Время, мин. | |||||||||
1 | В тисках с винтовым зажимом | без выверки | - | 0,24 | 0,29 | 0,33 | 0,37 | 0,4 | 0,44 |
2 | В тисках с винтовым зажимом | с выверкой | 1 | 2,0 | 2,4 | 2,6 | 2,9 | 3,1 | 3,3 |
3 | С дополнительным креплением прижимными планками | - | 2 | 2,3 | 2,7 | 3,0 | 3,3 | 3,5 | 3,8 |
3 | 2,6 | 3,1 | 3,3 | 3,7 | 4,0 | 4,2 | |||
4 | В тисках с пневматическим зажимом | - | - | 0,15 | 0,17 | 0,2 | 0,25 | 0,3 | 0,38 |
УСТАНОВКА В ТИСКАХ | Сверлильные и фрезерные станки | ||||||
Карта 6, лист 2 | |||||||
Очистка приспособлений от стружки | |||||||
N позиции | Наименование приемов | Размер очищаемой поверхности | |||||
100 x 100 | 200 x 300 | 300 x 400 | 300 x 500 | 500 x 1000 | |||
Время, мин. | |||||||
1 | Очистка приспособления от стружки | сжатым воздухом | 0,05 | 0,07 | 0,08 | 0,09 | 0,12 |
2 | щеткой | 0,07 | 0,03 | 0,09 | 0,12 | 0,14 | |
3 | кантованием приспособления | 0,04 | 0,05 | - | - | - | |
Сверлильные и фрезерные станки | ||||||||||||||
Карта 7, лист 1 | ||||||||||||||
Установка и снятие детали | ||||||||||||||
Номер позиции | Основные элементы приспособления | Установочная плоскость | Установка детали | |||||||||||
Вручную | Подъемником | |||||||||||||
Масса детали, кг, до | ||||||||||||||
0,25 | 1 | 3 | 8 | 12 | 20 | 30 | 80 | 200 | ||||||
Время, мин. | ||||||||||||||
1 | Плоскость, призма | горизонтальная | 0,08 | 0,09 | 0,11 | 0,15 | 038 | 0,23 | 0,8 | 0,9 | 1,3 | |||
2 | ![]() | вертикальная | 0,09 | 0,10 | 0,12 | 0,16 | 0,20 | 0,25 | 0,9 | 1,0 | 1,4 | |||
3 | Палец, отверстие | горизонтальная | 0,09 | 0,11 | 0,12 | 0,17 | 0,20 | 0,26 | 0,9 | 1,0 | 1,4 | |||
4 | ![]() | вертикальная | 0,10 | 0,12 | 0,13 | 0,19 | 0,22 | 0,28 | 1,0 | 1,1 | 1,5 | |||
5 | Два выдвижных или утопающих пальца | горизонтальная | 0,12 | 0,13 | 0,14 | 0,21 | 0,24 | 0,35 | 1,0 | 1,1 | 1,5 | |||
6 | ![]() | вертикальная | 0,13 | 0,14 | 0,15 | 0,23 | 0,26 | 0,35 | 2,5 | 2,6 | 2,9 | |||
7 | При установке детали в многоместном приспособлении на каждую последующую деталь добавлять с базированием на | плоскость | 0,05 | 0,06 | 0,08 | 0,12 | 0,15 | 0,20 | - | - | - | |||
8 | призма, палец, отверстие | 0,06 | 0,08 | 0,09 | 0,14 | 0,17 | 0,23 | - | - | - | ||||
9 | два пальца | 0,09 | 0,10 | 0,11 | 0,18 | 0,21 | 0,29 | - | - | - | ||||
Закрепление и открепление детали | ||||||||||||||
Номер позиции | Способ крепления | Количество зажимов | Масса детали, кг, до | |||||||||||
0,25 | 1,0 | 8 | 20 | 20 | ||||||||||
Время, мин. | ||||||||||||||
10 | Рукоятки пневматического или гидравлического зажима | 1 | 0,04 | |||||||||||
УСТАНОВКА В СПЕЦИАЛЬНЫХ ПРИСПОСОБЛЕНИЯХ | Сверлильные и фрезерные станки | ||||||
Карта 7, лист 2 | |||||||
Номер позиции | Способ крепления | Количество зажимов | Масса детали, кг, до | ||||
0,25 | 1,0 | 8 | 20 | 20 | |||
Время, мин. | |||||||
Винтовым зажимом | |||||||
11 | ![]() | 1 | 0,05 | 0,06 | 0,08 | 0,10 | 0,20 |
12 | 2 | 0,08 | 0,10 | 0,13 | 0,16 | 0,32 | |
13 | 3 | 0,11 | 0,14 | 0,18 | 0,22 | 0,44 | |
Гаечным зажимом | |||||||
14 | ![]() | 1 | 0,14 | 0,15 | 0,20 | 0,25 | 0,28 |
15 | 2 | 0,22 | 0,24 | 0,32 | 0,40 | 0,48 | |
16 | 3 | 0,30 | 0,33 | 0,44 | 0,55 | 0,68 | |
Рукояткой пневматического зажима | |||||||
17 | ![]() | 1 | 0,05 | 0,05 | 0,06 | 0,07 | 0,09 |
18 | 2 | 0,06 | 0,06 | 0,07 | 0,08 | 0,10 | |
Гайкой с помощью гаечного ключа | |||||||
19 | ![]() | 1 | 0,12 | 0,13 | 0,18 | 0,21 | 0,28 |
20 | 2 | 0,18 | 0,21 | 0,29 | 0,34 | 0,48 | |
21 | 3 | 0,24 | 0,29 | 0,40 | 0,47 | 0,68 | |
22 | 4 | 0,30 | 0,37 | 0,51 | 0,60 | 0,88 | |
Пальцевым фиксатором или шпилькой | |||||||
23 | ![]() | 1 | - | 0,04 | 0,07 | 0,08 | 0,10 |
24 | 2 | - | 0,07 | 0,13 | 0,15 | 0,18 | |
Токарные, сверлильные и фрезерные станки | |||||
Карта 8 | |||||
Номер позиции | Содержание работы | Токарные станки | Сверлильные станки | Фрезерные станки | |
Время, мин. | |||||
1 | Включить станок, выключить | 0,04 | 0,04 | 0,04 | |
2 | Открыть заградительный щиток и закрыть | 0,03 | 0,03 | 0,03 | |
3 | Включить пульт лентопротяжного механизма, выключить | 0,04 | 0,03 | 0,04 | |
4 | Продвинуть перфоленту в исходное положение | 0,25 | 0,25 | 0,5 | |
5 | Установить координаты X, Y (время на 100 мм) | 0,15 | 0,1 | 0,25 | |
6 | Ввести коррекцию (время на 1 корректор) | 0,04 | 0,04 | 0,05 | |
Скорость воспроизведения программы в м/мин. | Время автоматической работы станка, мин. | ||||||||||||||||||
2 | 5 | 10 | 15 | 20 | 25 | 30 | 35 | 40 | 50 | 60 | 70 | 80 | 100 | 120 | |||||
Время на перемотку ленты, мин. | |||||||||||||||||||
Магнитная лента | 12 | 0,08 | 0,2 | 0,4 | 0,6 | 0,8 | 1,0 | 1,2 | 1,4 | 1,6 | 2,0 | 2,4 | 2,8 | 3,2 | 4,0 | 4,8 | |||
3 | 0,02 | 0,05 | 0,1 | 0,15 | 0,2 | 0,25 | 0,3 | 0,35 | 0,4 | 0,5 | 0,6 | 0,7 | 0,8 | 1,0 | 1,2 | ||||
Перфорированная лента | Перемотка ленты | Автоматическая | Ручная | ||||||||||||||||
Длина ленты, м | 2 | 4 | 6 | 8 | 10 | 15 | На каждые последующие 10 м добавлять | 2 | 4 | 6 | 3 | 10 | |||||||
Время на перемотку ленты, мин. | 0,045 | 0,09 | 0,13 | 0,18 | 0,22 | 0,33 | 0,18 | 0,8 | 1,0 | 1,3 | 1,5 | 1,7 | |||||||
Токарные, сверлильные и фрезерные станки | |||||||||||||||
Карта 9, лист 1 | |||||||||||||||
Номер позиции | Измерительный инструмент | Точность измерения | Измеряемый размер D, B, H, мм, до | Длина измеряемой поверхности L, мм, до | |||||||||||
50 | 100 | 150 | 200 | 300 | 450 | 600 | 800 | 1000 | 1500 | 2000 | |||||
Время, мин. | |||||||||||||||
1 | Штангенциркуль | 0,02 мкм | 50 | 0,16 | 0,19 | 0,22 | 0,25 | 0,30 | 0,45 | 0,60 | 0,75 | 1,00 | 1,35 | 1,8 | |
2 | 100 | 0,19 | 0,22 | 0,25 | 0,30 | 0,35 | 0,50 | 0,70 | 0,90 | 1,15 | 1,6 | 2,15 | |||
3 | 200 | 0,22 | 0,25 | 0,30 | 0,35 | 0,45 | 0,60 | 0,85 | 1,10 | 1,40 | 1,9 | 2,50 | |||
4 | Микрометр | простой | 0,01 мм | 50 | 0,23 | 0,26 | 0,29 | 0,32 | - | - | - | - | - | - | - |
5 | 100 | 0,26 | 0,30 | 0,33 | 0,37 | 0,40 | - | - | - | - | - | - | |||
6 | 200 | 0,30 | 0,35 | 0,39 | 0,42 | 0,46 | 0,50 | 0,54 | - | - | - | - | |||
7 | рычажный | 0,002 мм | 50 | 0,33 | 0,33 | 0,34 | 0,35 | 0,42 | 0,45 | 0,55 | 0,60 | 0,70 | 0,80 | - | |
8 | Нутромер | 0,01 мм | 50 | 0,14 | 0,17 | 0,19 | 0,21 | - | - | - | - | - | - | - | |
9 | 100 | 0,16 | 0,18 | 0,20 | 0,22 | - | - | - | - | - | - | - | |||
10 | 200 | 0,17 | 0,19 | 0,22 | 0,24 | - | - | - | - | - | - | - | |||
11 | Скоба односторонняя предельная | 4 - 5 класс | 50 | 0,05 | 0,06 | 0,07 | 0,08 | 0,09 | 0,10 | 0,10 | 0,11 | 0,12 | 0,13 | 0,13 | |
12 | 100 | 0,06 | 0,07 | 0,08 | 0,09 | 0,10 | 0,11 | 0,11 | 0,12 | 0,13 | 0,14 | 0,15 | |||
13 | 200 | 0,07 | 0,08 | 0,09 | 0,10 | 0,11 | 0,12 | 0,13 | 0,14 | 0,14 | 0,15 | 0,16 | |||
14 | Скоба односторонняя предельная | 2 - 3 класс | 50 | 0,09 | 0,11 | 0,12 | 0,13 | 0,14 | 0,16 | 0,17 | 0,18 | 0,19 | 0,21 | 0,22 | |
15 | 100 | 0,10 | 0,12 | 0,13 | 0,14 | 0,16 | 0,18 | 0,19 | 0,20 | 0,21 | 0,23 | 0,25 | |||
16 | 200 | 0,11 | 0,14 | 0,15 | 0,16 | 0,17 | 0,20 | 0,21 | 0,23 | 0,24 | 0,26 | 0,27 | |||
17 | Скоба двусторонняя предельная, калибр-пробка гладкий, двусторонний | 4 - 5 класс | 50 | 0,05 | 0,07 | 0,08 | 0,09 | 0,11 | 0,12 | 0,12 | 0,13 | 0,14 | 0,15 | - | |
18 | 100 | 0,07 | 0,08 | 0,09 | 0,10 | 0,12 | 0,13 | 0,14 | 0,15 | 0,15 | 0,17 | - | |||
19 | 200 | 0,08 | 0,09 | 0,10 | 0,11 | 0,13 | 0,14 | 0,15 | 0,16 | 0,17 | 0,19 | - | |||
20 | 2 - 3 класс | 50 | 0,11 | 0,13 | 0,14 | 0,15 | 0,17 | 0,19 | 0,21 | 0,22 | 0,23 | 0,25 | - | ||
21 | 100 | 0,12 | 0,14 | 0,15 | 0,16 | 0,18 | 0,22 | 0,23 | 0,24 | 0,26 | 0,28 | - | |||
22 | 200 | 0,14 | 0,16 | 0,17 | 0,19 | 0,21 | 0,24 | 0,25 | 0,27 | 0,28 | 0,31 | - | |||
23 | Шаблон фасонный | простого профиля | 0,15 - 0,25 мм | - | 0,05 | 0,06 | 0,07 | 0,08 | 0,09 | 0,12 | 0,15 | 0,17 | 0,19 | 0,23 | 0,28 |
24 | < 0,15 мм | - | 0,07 | 0,09 | 0,10 | 0,11 | 0,13 | 0,16 | 0,20 | 0,22 | 0,26 | 0,31 | 0,38 | ||
25 | сложного профиля | 0,15 - 0,25 мм | - | 0,08 | 0,10 | 0,11 | 0,12 | 0,14 | 0,18 | 0,22 | 0,25 | 0,29 | 0,35 | 0,42 | |
26 | < 0,15 мм | - | 0,12 | 0,15 | 0,16 | 0,18 | 0,21 | 0,27 | 0,33 | 0,37 | 0,43 | 0,52 | 0,63 | ||
ВРЕМЯ НА КОНТРОЛЬНЫЕ ИЗМЕРЕНИЯ | Токарные, сверлильные фрезерные станки | |||||||||||
Карта 9, лист 2 | ||||||||||||
Номер позиции | Измерительный инструмент | Точность измерения | D, мм, до | S, мм, до | Длина измеряемой поверхности L, мм, до | |||||||
5 | 10 | 15 | 20 | 30 | 40 | 50 | 60 | |||||
Время, мин. | ||||||||||||
27 | Калибр-пробка резьбовая двухсторонняя | 2 - 3 класс | 10 | 0,5 | 0,3 | 0,55 | 0,85 | 1,1 | - | - | - | - |
28 | 1,5 | 0,15 | 0,22 | 0,30 | 0,40 | 0,55 | - | - | - | |||
29 | 20 | 1,0 | 0,18 | 0,32 | 0,45 | 0,60 | 0,85 | - | - | - | ||
30 | 1,5 | 0,13 | 0,23 | 0,32 | 0,42 | 0,60 | 0,80 | 1,0 | - | |||
31 | 2,5 | 0,11 | 0,15 | 0,21 | 0,27 | 0,38 | 0,50 | 0,60 | - | |||
32 | 40 | 1,0 | 0,21 | 0,35 | 0,50 | 0,65 | 0,95 | 1,2 | 1,5 | - | ||
33 | 2,5 | 0,12 | 0,18 | 0,24 | 0,29 | 0,41 | 0,50 | 0,65 | - | |||
34 | 60 | 1,0 | 0,23 | 0,39 | 0,55 | 0,70 | 1,05 | 1,35 | 1,6 | - | ||
35 | 3,0 | - | 0,18 | 0,23 | 0,27 | 0,39 | 0,50 | 0,60 | 0,70 | |||
Токарные, сверлильные и фрезерные станки | |||||||||
Карта 10 | |||||||||
Содержание работ: | |||||||||
1. Раскладка инструмента в начале и уборка его в конце смены. 2. Осмотр и опробование станка в процессе работы. 3. Регулировка и подналадка станка. 4. Уход за рабочим местом в течение смены. 5. Смена инструмента. 6. Смазка и чистка станка. 7. Уборка станка и рабочего места в конце смены. 8. Получение инструмента в начале смены. 9. Отдых и личные надобности. | |||||||||
Токарные станки | Сверлильные станки | Фрезерные станки | |||||||
Группа станков | |||||||||
I | II | I | II | III | IV | I | II | III | IV |
Наибольший диаметр изделия, устанавливаемого над станиной, мм, до | Наибольший диаметр просверливаемого отверстия, мм, до | Длина стола, мм, до | |||||||
400 | Св. 400 | 12 | 25 | 50 | 75 | 1200 | 2000 | 3000 | 6000 |
% к оперативному времени | |||||||||
10 | 12 | 10 | 10 | 10 | 12 | 10 | 10 | 12 | 12 |
Токарные станки | ||||
Карта 11 | ||||
I. На организационную подготовку | ||||
N позиции | Содержание работы | Группа станков | ||
I | II | |||
Наибольший диаметр изделия, устанавливаемого над станиной, мм, до | ||||
400 | св. 400 | |||
Время, мин. | ||||
Получить наряд, чертеж, технологическую документацию, программоноситель, режущий инструмент, заготовки до начала и сдача их после окончания обработки партии: | ||||
а) на рабочем месте | 4 | 4 | ||
б) в инструментальной кладовой | 7 | 10 | ||
Ознакомиться с работой, чертежом, технической документацией, осмотреть заготовки | 2 | 3 | ||
Инструктаж мастера | 3 | 3 | ||
II. На наладку станка, инструмента и приспособлений | ||||
4 | Установить и снять | патрон 3-х или 4-х кулачковый | 4 | 5 |
патрон с центром | 6 | 8 | ||
центра | 3,5 | 4,5 | ||
оправку | 1.5 | 2,0 | ||
Установить и снять блок или отдельные режущие инструменты и заменить новыми. Время на 1 инструмент | 0,8 | 1,3 | ||
Установить исходные режимы работы станка (число оборотов и т.д.). Время на 1 измерение | 0,5 | 0,5 | ||
7 | Установить исходные координаты X и Y | 1,3 | 1,3 | |
Установить программоноситель в считывающее устройство и снять | 1,0 | 1,0 | ||
9 | Набор программы переключателями на пульте управления станка. Время на 1 размер | 0,4 | 0,4 | |
10 | Расточить кулачки самоцентрирующего патрона | сырые | 5 | - |
11 | закаленные | 7 | 8 | |
Сверлильные станки | ||||||
Карта 12 | ||||||
I. На организационную подготовку | ||||||
Номер позиции | Содержание работы | Группа станков | ||||
I | II | III | IV | |||
Наибольший диаметр просверливаемого отверстия, мм, до | ||||||
12 | 25 | 50 | 75 | |||
Время, мин. | ||||||
1 | Получить наряд, чертеж, технологическую документацию, программоноситель, режущий инструмент, заготовки до начала и сдача их после окончания обработки партии: | |||||
а) на рабочем месте | 4 | 4 | 4 | 4 | ||
б) в инструментальной кладовой | 5 | 5 | 7 | 7 | ||
2 | Ознакомиться с работой, чертежом, технической документацией, осмотреть заготовки | 2 | 2 | 3 | 3 | |
3 | Инструктаж мастера | 3 | 3 | 3 | 3 | |
II. На наладку станка, инструмента и приспособлений | ||||||
4 | Установить и снять | патрон | 4 | 4 | 5 | 5 |
тиски | 3 | 2,5 | 4 | 4 | ||
болты с планками | 2 | 3 | 2,7 | 3,0 | ||
приспособление, собранное на базе УСП | 5 | 5 | 6 | 6 | ||
5 | Установить и снять режущие инструменты и заменить новыми. Время на 1 инструмент при быстросменном варианте | 1,0 | 1,2 | 1,5 | 1,5 | |
6 | Установить исходные режимы работы станка (число оборотов и т.д.). Время на 1 измерение | 0,5 | 0,5 | 0,5 | 0,5 | |
7 | Установить программоноситель в считывающее устройство и снять | 1,0 | 1,0 | 1,0 | 1,0 | |
Фрезерные станки | |||||||
Карта 13, лист 1 | |||||||
I. На организационную подготовку | |||||||
Номер позиции | Содержание работы | Масса приспособления, кг, до | Группа станков | ||||
I | II | III | IV | ||||
Длина стола, мм, до | |||||||
1200 | 2000 | 3000 | 6000 | ||||
Время, мин. | |||||||
1 | Получить наряд, чертеж, технологическую документацию, программоноситель, режущий инструмент, заготовки до начала и сдача их после окончания обработки партии: | ||||||
а) на рабочем месте | - | 4 | 4 | 4 | 5 | ||
б) в инструментальной кладовой | - | 10 | 10 | 14 | 14 | ||
2 | Ознакомиться с работой, чертежом, технической документацией, осмотреть заготовки | - | 2 | 2 | 2 | 3 | |
3 | Инструктаж мастера | - | 3 | 3 | 3 | 3 | |
II. На наладку станка, инструмента и приспособлений | |||||||
4 | Установить и снять | патрон | - | 3,5 | 4,0 | 4,5 | 5,0 |
болты с планками | - | 2,5 | 2,7 | 3,2 | 4,0 | ||
тиски | - | 3 | 3 | 4 | 5,0 | ||
специальное приспособление с выверкой по координатам | 20 | 8 | 10 | 12 | 15 | ||
50 | 11 | 13 | 16 | 20 | |||
200 | 14 | 16 | 20 | 25 | |||
св. 200 | - | - | 27 | 32 | |||
регулирующую опору, упор | - | 2 | 2 | 3 | 4 | ||
5 | Установить и снять блок или отдельные режущие инструменты и заменить новыми. Время на 1 инструмент при быстросменном варианте | - | 1,2 | 1,2 | 1,5 | 2,0 | |
ПОДГОТОВИТЕЛЬНО-ЗАКЛЮЧИТЕЛЬНОЕ ВРЕМЯ | Фрезерные станки | |||||
Карта 13, лист 2 | ||||||
Номер позиции | Содержание работы | Масса приспособления, кг, до | Группа станков | |||
I | II | III | IV | |||
Длина стола, мм, до | ||||||
1200 | 2000 | 3000 | 6000 | |||
Время, мин. | ||||||
6 | Установить исходные режимы работы станка (число оборотов и т.д.). Время на 1 измерение | - | 0,3 | 0,3 | 0,5 | 0,5 |
7 | Установить исходные координаты X, Y и Z | - | 1,5 | 1,5 | 1,5 | 1,5 |
8 | Установить программоноситель в считывающее устройство и снять | - | 1,0 | 1,0 | 1,1 | 1,1 |
9 | Набор программы переключателями на пульте управления станка. Время на один размер | - | 0,5 | 0,5 | 0,5 | 0,5 |
Токарные, фрезерные и сверлильные станки | |||||||||||||||||
Карта 14 | |||||||||||||||||
Тип станка | Основные параметры станка | Организационное обслуживание | Техническое обслуживание | Наладчиком | |||||||||||||
Количество станков, обслуживаемых одним рабочим-оператором | |||||||||||||||||
2 | 3 | 4 | 5 | 6 | 7 | 8 | 2 | 3 | 4 | 5 | 6 | 7 | 8 | ||||
Время, % от оперативного времени | |||||||||||||||||
Токарные | Наибольший диаметр обработки над станиной, мм, до | 400 | 3,5 | 5,5 | 7,0 | 9,0 | 10,5 | 12,5 | 14,0 | 5,6 | 6,2 | 7,2 | 7,6 | 8,4 | 9,0 | 10,0 | 4,0 |
св. 400 | 4,5 | 7,0 | 9,0 | 11,5 | 13,5 | 16,0 | 18,0 | 7,0 | 7,8 | 9,0 | 9,5 | 10,0 | 11,0 | 13,0 | 5,0 | ||
Вертикально-сверлильные | Наибольший диаметр просверливаемого отверстия, мм, до | 12 | 3,0 | 4,5 | 6,0 | - | - | - | - | 1,4 | 1,6 | 1,8 | - | - | - | - | 1,0 |
50 | 3,6 | 5,4 | 7,2 | - | - | - | - | 1,7 | 19 | 2,2 | - | - | - | - | 1,2 | ||
75 | 4,0 | 6,0 | 8,0 | - | - | - | - | 2,1 | 2,3 | 2,7 | - | - | - | - | 1,5 | ||
Горизонтально-фрезерные, вертикально-фрезерные | Длина стола, мм, до | 750 | 2,0 | 3,0 | 4,0 | - | - | - | - | 2,8 | 3,1 | 3,6 | - | - | - | - | 2,0 |
1250 | 2,4 | 3,6 | 4,8 | - | - | - | - | 3,5 | 4,0 | 4,5 | - | - | - | - | 2,5 | ||
1800 | 3,0 | 4,5 | 6,0 | - | - | - | - | 4,2 | 4,7 | 5,4 | - | - | - | - | 3,0 | ||
2500 | 4,0 | 6,0 | 8,0 | - | - | - | - | 5,0 | 5,5 | 6,3 | - | - | - | - | 3,5 | ||
Токарные, фрезерный и сверлильные станки | ||||||
Карта 15 | ||||||
Способ установки детали | Масса детали, кг, до | Занятость рабочего в % от оперативного времени | Оперативное время операции, мин, до | |||
3 | 5 | 10 | 10 | |||
Время, % от оперативного времени | ||||||
Вручную | 1 | 20 | 7 | 6 | 5 | 5 |
40 | 7 | 6 | 6 | 5 | ||
80 | 7 | 6 | 6 | 5 | ||
100 | 8 | 7 | 7 | 6 | ||
5 | 20 | 7 | 6 | 6 | 5 | |
40 | 7 | 6 | 6 | 6 | ||
80 | 7 | 6 | 6 | 6 | ||
100 | 8 | 7 | 7 | 7 | ||
10 | 20 | 7 | 6 | 6 | 5 | |
40 | 8 | 6 | 6 | 6 | ||
80 | 8 | 6 | 6 | 6 | ||
100 | 9 | 7 | 7 | 7 | ||
20 | 20 | - | 7 | 7 | 6 | |
40 | - | 8 | 8 | 7 | ||
80 | - | 8 | 8 | 7 | ||
100 | - | 9 | 9 | 8 | ||
Подъемником | св. 20 | - | 5 | |||
Токарные, сверлильные и фрезерные станки | |||||||||||||
Карта 16 | |||||||||||||
Номер позиции | Вид работы | Вид перемещения | Способ перемещения | Расстояние перемещения L, м, до | |||||||||
1 | 2 | 3 | 4 | 5 | 6 | 7 | 8 | 9 | 10 | ||||
Время, мин. | |||||||||||||
1 | Переходы рабочего | - | без груза | 0,02 | 0,04 | 0,06 | 0,08 | 0,1 | 0,12 | 0,14 | 0,16 | 0,18 | 0,2 |
2 | Перемещение электроподъемника | горизонтальное | с грузом | 0,05 | 0,1 | 0,15 | 0,2 | 0,25 | 0,3 | 0,35 | 0,4 | 0,45 | 0,5 |
3 | без груза | 0,01 | 0,08 | 0,12 | 0,16 | 0,2 | 0,24 | 0,28 | 0,32 | 0,36 | 0,4 | ||
4 | вертикальное | с грузом | 0,13 | 0,26 | 0,39 | - | - | - | - | - | - | - | |
5 | без груза | 0,1 | 0,2 | 0,3 | - | - | - | - | - | - | - | ||
Резцы с пластинками твердого сплава и быстрорежущей стали | Точение | |||||||||||
Карта 17 | ||||||||||||
Обрабатываемый материал | ||||||||||||
Сталь углеродистая и легированная | Чугун и медные сплавы | Жаропрочные, жаростойкие и титановые сплавы | ||||||||||
Глубина резания t, мм, до | ||||||||||||
3 | 5 | 8 | 12 | св. 12 | 3 | 5 | 8 | 3 | 5 | 8 | ||
Подача S, мм/об. | ||||||||||||
40 | 0,4-0,5 | 0,3 - 0,4 | - | - | - | 0,4 - 0,5 | - | - | 0,2 - 0,3 | - | - | |
12 x 20 | 60 | 0,5 - 0,7 | 0,4 - 0,6 | 0,3 - 0,5 | - | - | 0,6 - 0,8 | 0,5 - 0,8 | 0,4 - 0,6 | 0,25 - 0,35 | 0,2 - 0,3 | 0,16 - 0,3 |
16 x 25 | 100 | 0,6 - 0,9 | 0,5 - 0,7 | 0,5 - 0,6 | 0,4 - 0,5 | - | 0,8 - 1,2 | 0,7 - 1,0 | 0,6 - 0,8 | 0,35 - 0,4 | 0,27 - 0,37 | 0,2 - 0,34 |
200 | 0,8 - 1,2 | 0,7 - 1,0 | 0,6 - 0,8 | 0,5 - 0,6 | - | 0,9 - 1,3 | 0,3 - 1,2 | 0,7 - 1,0 | 0,45 - 0,5 | 0,4 - 0,45 | 0,35 - 0,4 | |
60 | 0,6 - 0,7 | 0,5 - 0,8 | 0,4 - 0,6 | - | - | 0,6 - 0,9 | 0,5 - 0,8 | 0,4 - 0,7 | 0,30 - 0,45 | 0,25 - 0,4 | 0,2 - 0,35 | |
20 x 32 | 100 | 0,8 - 1,0 | 0,7 - 0,9 | 0,05 - 0,7 | 0,4 - 0,7 | - | 0,9 - 1,3 | 0,8 - 1,2 | 0,7 - 1,0 | 0,4 - 0,5 | 0,32 - 0,45 | 0,25 - 0,4 |
25 x 25 | 200 | 1,0 - 1,2 | 0,9 - 1,1 | 0,7 - 0,9 | 0,5 - 0,8 | 0,3 - 0,5 | 1,1 - 1,4 | 0,9 - 1,3 | 0,8 - 1,2 | 0,55 - 0,6 | 0,42 - 0,55 | 0,35 - 0,5 |
св. 200 | 1,2 - 1,4 | 1,0 - 1,2 | 0,8 - 1,0 | 0,6 - 0,9 | 0,4 - 0,6 | 1,2 - 1,8 | 1,2 - 1,6 | 1,0 - 1,3 | 0,7 - 0,8 | 0,56 - 0,7 | 0,45 - 0,6 | |
60 | 0,6 - 0,9 | 0,5 - 0,8 | 0,4 - 0,7 | - | - | 0,6 - 0,9 | 0,5 - 0,8 | 0,4 - 0,7 | 0,3 - 0,45 | 0,25 - 0,4 | 0,2 - 0,35 | |
25 x 40 | 100 | 0,8 - 1,2 | 0,7 - 1,1 | 0,6 - 0,9 | 0,5 - 0,8 | - | 1,0 - 1,4 | 0,9 - 1,2 | 0,8 - 1,0 | 0,5 - 0,6 | 0,38 - 0,55 | 0,3 - 0,48 |
32 x 40 | 500 | 1,0 - 1,3 | 0,9 - 1,2 | 0,8 - 1,1 | 0,7 - 0,9 | 0,6 - 0,7 | 1,4 - 1,8 | 1,2 - 1,6 | 1,0 - 1,4 | 0,65 - 0,72 | 0,5 - 0,66 | 0,42 - 0,6 |
40 x 63 | 1000 | 1,2 - 1,5 | 1,1 - 1,5 | 0,9 - 1,2 | 0,8 - 1,0 | 0,7 - 0,8 | 1,5 - 2,0 | 1,2 - 1,8 | 1,0 - 1,4 | 0,85 - 1,0 | 0,5 - 0,75 | 0,45 - 0,6 |
32 x 40 40 x 63 | 1500 | 1,3 - 2,0 | 1,3 - 1,8 | 1,2 - 1,6 | 1,1 - 1,5 | 1,0 - 1,5 | 1,6 - 2,4 | 1,5 - 2,0 | 1,4 - 1,8 | 0,9 - 1,0 | 0,6 - 0,8 | 0,5 - 0,7 |
Точение и растачивание | ||||||||||||
Карта 18 | ||||||||||||
Черновое растачивание | ||||||||||||
Диаметр резца (круглого сечения), мм | Вылет резца, мм, до | Сталь | Чугун и медные сплавы | |||||||||
Глубина резания t, мм, до | ||||||||||||
3 | 5 | 3 | 5 | |||||||||
Подача S, мм/об. | ||||||||||||
12 | 60 | 0,08 | - | 0,12 - 0,15 | - | |||||||
16 | 80 | 0,15 | 0,10 | 0,15 - 0,25 | 0,10 - 0,18 | |||||||
20 | 100 | 0,15 - 0,25 | 0,12 | 0,25 - 0,35 | 0,12 - 0,25 | |||||||
25 | 125 | 0,15 - 0,40 | 0,12 - 0,20 | 0,30 - 0,50 | 0,25 - 0,35 | |||||||
30 | 150 | 0,20 - 0,50 | 0,12 - 0,30 | 0,40 - 0,60 | 0,25 - 0,45 | |||||||
40 | 200 | 0,25 - 0,60 | 0,15 - 0,40 | 0,60 - 0,80 | 0,30 - 0,60 | |||||||
Точение канавок | ||||||||||||
Ширина резца | Сталь | Жаростойкие и жаропрочные стали | ||||||||||
Диаметр детали D, мм, до | ||||||||||||
50 | 100 | 200 | св. 200 | 50 | 100 | 200 | св. 200 | |||||
Подача S, мм/об. | ||||||||||||
2 - 4 | 0,05 | 0,06 | 0,08 | 0,10 | 0,04 | 0,05 | 0,07 | 0,08 | ||||
4 - 10 | 0,06 | 0,08 | 0,10 | 0,12 | 0,05 | 0,06 | 0,08 | 0,10 | ||||
Св. 10 | - | - | 0,12 | 0,15 | - | - | 0,10 | 0,12 | ||||
Шероховатость поверхности | ![]() | ![]() | ![]() | ![]() | ![]() |
Коэффициент | 1,5 | 1,0 | 0,65 | 0,4 | 0,2 |
Резцы с пластинками твердого сплава и быстрорежущей стали | Точение | ||||
Карта 19, лист 1 | |||||
Шероховатость поверхности | Обрабатываемый материал | Диапазон скоростей резания, м/мин. | Радиус при вершине резца r, мм | ||
0,5 | 1,0 | 2,0 | |||
Подача S, мм/об. | |||||
![]() | Сталь углеродистая, легированная | < 50 | 0,25 - 0,5 | 0,35 - 0,6 | 0,5 - 0,7 |
> 50 | 0,4 - 0,55 | 0,55 - 0,65 | 0,65 - 0,7 | ||
Чугун, медные и алюминиевые сплавы | Весь диапазон скоростей | 0,25 - 0,4 | 0,4 - 0,5 | 0,5 - 0,6 | |
Жаропрочные, жаростойкие, титановые сплавы | > 50 | 0,25 - 0,41 | 0,33 - 0,48 | 0,39 - 0,58 | |
![]() | Сталь углеродистая, легированная | < 50 | 0,16 - 0,25 | 0,22 - 0,3 | 0,3 - 0,4 |
> 50 | 0,25 - 0,3 | 0,3 - 0,35 | 0,35 - 0,5 | ||
Чугун, медные и алюминиевые сплавы | Весь диапазон скоростей | 0,15 - 0,25 | 0,25 - 0,4 | 0,4 - 0,5 | |
Жаропрочные, жаростойкие, титановые сплавы | > 50 | 0,15 - 0,28 | 0,18 - 0,33 | 0,2 - 0,4 | |
ПОДАЧИ ДЛЯ ЧИСТОВОГО ТОЧЕНИЯ ГЛАДКИХ ЦИЛИНДРИЧЕСКИХ ПОВЕРХНОСТЕЙ Резцы с пластинками твердого сплава и быстрорежущей стали | Точение | ||||
Карта 19, лист 2 | |||||
Шероховатость поверхности | Обрабатываемый материал | Диапазон скоростей резания, м/мин. | Радиус при вершине резца r, мм | ||
0,5 | 1,0 | 2,0 | |||
Подача S, мм/об. | |||||
![]() | Сталь углеродистая, легированная | < 50 | 0,10 | 0,11 - 0,15 | 0,15 - 0,22 |
> 50 | 0,11 - 0,2 | 0,16 - 0,25 | 0,25 - 0,35 | ||
Чугун, медные и алюминиевые сплавы | Весь диапазон скоростей | 0,1 - 0,15 | 0,15 - 0,20 | 0,20 - 0,35 | |
Жаропрочные, жаростойкие, титановые сплавы | > 50 | 0,07 - 0,2 | 0,1 - 0,24 | 0,15 - 0,29 | |
![]() | Сталь углеродистая, легированная | < 50 | 0,07 | 0,09 - 0,12 | 0,13 - 0,18 |
> 50 | 0,08 - 0,14 | 0,12 - 0,15 | 0,16 - 0,21 | ||
Чугун, медные и алюминиевые сплавы | Весь диапазон скоростей | 0,07 - 0,10 | 0,10 - 0,12 | 0,12 - 0,15 | |
Жаропрочные, жаростойкие, титановые сплавы | > 50 | 0,07 - 0,4 | 0,08 - 0,12 | 0,10 - 0,13 | |
Резцы с пластинками твердого сплава и быстрорежущей стали | Точение | |||||||||
Карта 20, лист 1 | ||||||||||
Шероховатость поверхности Rz, мкм | Обрабатываемый материал | Угол наклона образующей обрабатываемого контура, град. | Тип применяемого интерполятора и привода подач | |||||||
I | II | III | ||||||||
Радиус при вершине резца, м | ||||||||||
1,0 | 2,0 | 0,5 | 1,0 | 2,0 | 0,5 | 1,0 | 2,0 | |||
Подача S, мм/об. | ||||||||||
80 - 40 | Сталь углеродистая и легированная | до 15 | 0,3 - 0,35 | 0,35 - 0,4 | 0,3 - 0,45 | 0,45 - 0,6 | 0,55 - 0,7 | 0,55 - 0,65 | 0,6 - 0,7 | 0,7 - 0,9 |
45 | 0,2 - 0,25 | 0,27 - 0,3 | 0,25 - 0,3 | 0,3 - 0,35 | 0,35 - 0,4 | |||||
80 | 0,15 - 0,2 | 0,25 - 0,3 | 0,2 - 0,25 | 0,2 - 0,3 | 0,25 - 0,35 | |||||
Чугун, бронза и алюминиевые сплавы | 15 | 0,25 - 0,3 | 0,3 - 0,35 | 0,25 - 0,4 | 0,35 - 0,4 | 0,45 - 0,5 | 0,5 - 0,55 | 0,55 - 0,65 | 0,7 - 0,8 | |
45 | 0,15 - 0,2 | 0,2 - 0,25 | 0,2 - 0,3 | 0,3 - 0,35 | 0,3 - 0,4 | |||||
30 | 0,1 - 0,15 | 0,15 - 0,2 | 0,2 - 0,25 | 0,2 - 0,3 | 0,2 - 0,3 | |||||
40 - 20 | Сталь углеродистая и легированная | до 15 | 0,2 - 0,25 | 0,25 - 0,3 | 0,25 - 0,3 | 0,3 - 0,35 | 0,35 - 0,5 | 0,4 - 0,55 | 0,55 - 0,65 | 0,65 - 0,7 |
45 | 0,1 - 0,15 | 0,15 - 0,25 | 0,2 - 0,25 | 0,25 - 0,3 | 0,3 - 0,4 | |||||
80 | 0,07 - 0,1 | 0,1 - 0,11 | 0,1 - 0,2 | 0,15 - 0,25 | 0,2 - 0,3 | |||||
Чугун, бронза и алюминиевые сплавы | до 15 | 0,15 - 0,2 | 0,2 - 0,25 | 0,15 - 0,2 | 0,25 - 0,3 | 0,35 - 0,4 | 0,25 - 0,4 | 0,4 - 0,5 | 0,5 - 0,6 | |
45 | 0,1 - 0,11 | 0,15 - 0,2 | 0,1 - 0,15 | 0,15 - 0,2 | 0,2 - 0,3 | |||||
80 | 0,05 - 0,1 | 0,07 - 0,11 | 0,1 - 0,13 | 0,1 - 0,15 | 0,15 - 0,25 | |||||
ПОДАЧИ ДЛЯ ЧИСТОВОГО ТОЧЕНИЯ ФАСОННЫХ ПОВЕРХНОСТЕЙ Резцы с пластинками твердого сплава и быстрорежущей стали | Точение | ||||||||||
Карта 20, лист 2 | |||||||||||
Шероховатость поверхности Rz, мкм | Обрабатываемый материал | Угол наклона образующей обрабатываемого контура, град. | Тип применяемого интерполятора и привода подач | ||||||||
I | II | III | |||||||||
Радиус при вершине резца, м | |||||||||||
1,0 | 2,0 | 0,5 | 1,0 | 2,0 | 0,5 | 1,0 | 2,0 | ||||
Подача S, мм/об. | |||||||||||
20 - 10 | Сталь углеродистая и легированная | до 15 | 0,1 - 0,15 | 0,15 - 0,2 | 0,15 - 0,2 | 0,2 - 0,25 | 0,25 - 0,35 | 0,25 - 0,3 | 0,3 - 0,35 | 0,35 - 0,5 | |
45 | 0,05 - 0,1 | 0,07 - 0,15 | 0,1 - 0,13 | 0,16 - 0,2 | 0,2 - 0,3 | ||||||
80 | 0,07 - 0,1 | 0,1 - 0,15 | 0,07 - 0,1 | 0,11 - 0,15 | 0,15 - 0,2 | ||||||
Чугун, бронза и алюминиевые сплавы | до 15 | 0,07 - 0,11 | 0,1 - 0,15 | 0,1 - 0,15 | 0,15 - 0,25 | 0,2 - 0,25 | 0,15 - 0,25 | 0,25 - 0,1 | 0,4 - 0,5 | ||
45 | 0,05 - 0,1 | 0,07 - 0,11 | 0,07 - 0,1 | 0,1 - 0,15 | 0,1 - 0,2 | ||||||
80 | 0,07 - 0,1 | 0,07 - 0,15 | 0,05 - 0,1 | 0,07 - 0,1 | 0,1 - 0,15 | ||||||



Точение | |||||||
Карта 21, лист 1 | |||||||
Диаметр детали D, мм, до | Глубина резания t, мм, до | Вылет детали L/D, до | |||||
1,0 | 2,5 | 3,0 | 4,0 | 5,0 | 6,0 | ||
Подача S, мм/об. | |||||||
10 | 0,5 | > 1,5 | 0,80 | 0,38 | 0,20 | ||
1,0 | 1,5 | 1,15 | 0,75 | 0,32 | 0,14 | 0,07 | |
1,5 | 1,10 | 0,68 | 0,42 | 0,18 | 0,08 | 0,04 | |
20 | 1,0 | > 1,5 | 1,40 | 0,65 | 0,35 | 0,18 | |
2,0 | 1,0 | 0,75 | 0,55 | 0,25 | 0,13 | 0,07 | |
3,0 | 0,6 | 0,45 | 0,32 | 0,15 | 0,07 | 0,04 | |
30 | 1,0 | > 1,5 | 0,95 | 0,50 | 0,28 | ||
2,0 | 1,15 | 0,95 | 0,70 | 0,38 | 0,20 | 0,11 | |
4,0 | 0,50 | 0,40 | 0,30 | 0,15 | 0,09 | 0,04 | |
40 | 1,5 | > 1,5 | 1,20 | 0,70 | 0,36 | 0,20 | |
2,5 | 0,85 | 0,75 | 0,58 | 0,35 | 0,20 | 0,10 | |
4,0 | 0,50 | 0,42 | 0,33 | 0,20 | 0,11 | 0,06 | |
7,0 | 0,23 | 0,20 | 0,15 | 0,09 | 0,05 | 0,03 | |
50 | 1,5 | > 1,5 | 1,5 | 1,20 | 0,75 | 0,45 | 0,25 |
2,5 | 0,90 | 0,75 | 0,60 | 0,38 | 0,22 | 0,13 | |
5,0 | 0,38 | 0,32 | 0,27 | 0,17 | 0,10 | 0,05 | |
7,0 | 0,23 | 0,20 | 0,15 | 0,10 | 0,06 | 0,03 | |
10,0 | 0,14 | 0,12 | 0,10 | 0,07 | 0,03 | - | |
ПОДАЧИ, ДОПУСКАЕМЫЕ ЖЕСТКОСТЬЮ СИСТЕМЫ "СТАНОК - ДЕТАЛЬ" | Точение | |||||
Карта 21, лист 2 | ||||||
ПОПРАВОЧНЫЕ КОЭФФИЦИЕНТЫ НА ПОДАЧУ В ЗАВИСИМОСТИ ОТ: | ||||||
1) | главного угла | главный угол в плане | 45° | 60° | 90° | |
коэффициент Ks | 0,6 | 0,8 | 1,0 | |||
2) | допускаемой стрелы прогиба детали | прогиб детали fy | 0,05 | 0,1 | ||
коэффициент Ks | 1,0 | 3,0 | ||||
3) | способа крепления детали | крепление | трехкулачковый патрон | цанга | ||
коэффициент Ks | 1,0 | 0,8 | ||||
4) | жесткости станка | модель | 16К20ФЗ, 1К62ФЗ, МК6064 | 1М63Ф306, 1А616ФЗ | ||
коэффициент Ks | 1,0 | 0,6 | ||||
5) | обрабатываемого материала | материал | сталь | чугун | ||
коэффициент Ks | 1 | 1,5 | ||||
Сверление, рассверливание, зенкерование и развертывание | |||||||||
Карта 22, лист 1 | |||||||||
Сверление | |||||||||
Обрабатываемый материал | Диаметр сверла D, мм, до | ||||||||
6 | 10 | 13 | 16 | 20 | 25 | 30 | св. 30 | ||
Подача S, мм/об., до | |||||||||
Сталь | < 90 | 0,09 - 0,11 | 0,11 - 0,16 | 0,12 - 0,24 | 0,14 - 0,28 | 0,16 - 0,32 | 0,18 - 0,36 | 0,2 - 0,4 | 0,3 - 0,5 |
>= 90 | 0,06 - 0,08 | 0,07 - 0,12 | 0,07 - 0,17 | 0,08 - 0,20 | 0,1 - 0,23 | 0,12 - 0,26 | 0,14 - 0,3 | 0,2 - 0,4 | |
Чугун HB | < 200 | 0,27 - 0,35 | 0,35 - 0,45 | 0,4 - 0,5 | 0,46 - 0,55 | 0,5 - 0,65 | 0,59 - 0,7 | 0,67 - 0,83 | 0,75 - 0,9 |
>= 200 | 0,18 - 0,21 | 0,21 - 0,25 | 0,23 - 0,3 | 0,27 - 0,45 | 0,35 - 0,40 | 0,40 - 0,54 | 0,45 - 0,65 | 0,6 - 0,7 | |
Рассверливание | |||||||||
Обрабатываемый материал | Диаметр сверла D, мм, до | ||||||||
30 | 40 | 50 | 60 | ||||||
Диаметр предварительно просверленного отверстия D, мм, до | |||||||||
20 | 20 | 30 | 30 | 40 | 30 | 40 | |||
Подача S, мм/об., до | |||||||||
Сталь | 0,9 | 0,9 | 1,0 | 1,0 | 1,1 | 1,0 | 1,0 | ||
Чугун | 1,2 | 1,28 | 1,3 | 1,4 | 1,5 | 1,35 | 1,5 | ||
ПОДАЧИ ДЛЯ СВЕРЛЕНИЯ, РАССВЕРЛИВАНИЯ, ЗЕНКЕРОВАНИЯ И РАЗВЕРТЫВАНИЯ НА ТОКАРНО-РЕВОЛЬВЕРНЫХ СТАНКАХ | Сверление, рассверливание, зенкерование и развертывание | |||||||||||
Карта 22, лист 2 | ||||||||||||
Зенкерование | ||||||||||||
Обрабатываемый материал | Диаметр зенкера D, мм, до | |||||||||||
30 | 40 | 50 | 60 | 80 и выше | ||||||||
Подача S, мм/об., до | ||||||||||||
Сталь | - | 0,6 - 0,8 | 0,7 - 1,0 | 0,8 - 1,1 | 0,9 - 1,2 | 1,0 - 1,3 | ||||||
Чугун HB | < 200 | 0,9 - 1,1 | 1,1 - 1,4 | 1,3 - 1,6 | 1,5 - 1,8 | 1,6 - 2,0 | ||||||
>= 200 | 0,6 - 0,7 | 0,8 - 1,0 | 1,0 - 1,1 | 1,05 - 1,2 | 1,1 - 1,4 | |||||||
Развертывание | ||||||||||||
Обрабатываемый материал | Диаметр развертки D, мм, до | |||||||||||
15 | 30 | 40 | 50 | 60 | 80 и выше | |||||||
Подача S, мм/об., до | ||||||||||||
Сталь | - | 0,9 | 1,2 | 1,3 | 1,4 | 1,5 | 1,9 | |||||
Чугун HB | < 200 | 2,0 | 2,8 | 3,0 | 3,4 | 4,0 | 4,6 | |||||
>= 200 | 1.7 | 2,2 | 2,4 | 2,8 | 3,1 | 3,5 | ||||||
ПОПРАВОЧНЫЕ КОЭФФИЦИЕНТЫ НА ПОДАЧУ В ЗАВИСИМОСТИ ОТ: | ||||||||||||
1) Глубина сверления | Глубина сверления в диаметрах сверла | 3D | 5D | 7D | 10D | |||||||
Коэффициент Ks | 1,0 | 0,9 | 0,8 | 0,75 | ||||||||
2) Вида отверстия | Вид отверстия | Сквозное | Глухое | |||||||||
Коэффициент Ks | 1,0 | 0,7 | ||||||||||
Сталь углеродистая, легированная Резцы с пластинками твердого сплава Т15К6 | Точение и растачивание | ||||||||||||||||||||
Карта 23, лист 1 | |||||||||||||||||||||
Предел прочности при растяжении | Подача S, мм/об., до | ||||||||||||||||||||
44 - 49 | 50 - 55 | 56 - 62 | 63 - 70 | 71 - 79 | 80 - 89 | 90 - 100 | св. 100 | ||||||||||||||
Твердость по Бринелю HB | |||||||||||||||||||||
120 - 140 | 141 - 158 | 159 - 177 | 178 - 200 | 201 - 226 | 227 - 255 | 256 - 286 | св. 286 | ||||||||||||||
Глубина резания t, мм, до | |||||||||||||||||||||
1,4 | - | - | - | - | - | - | 0,25 | 0,38 | 0,54 | 0,75 | 0,97 | 1,27 | 1,65 | - | - | - | - | - | - | - | |
3 | 1,4 | - | - | - | - | - | - | 0,14 | 0,25 | 0,38 | 0,54 | 0,75 | 0,97 | 1,27 | 1,65 | - | - | - | - | - | - |
7 | 3 | 1,4 | - | - | - | - | - | - | 0,14 | 0,25 | 0,38 | 0,54 | 0,75 | 0,97 | 1,27 | 1,65 | - | - | - | - | - |
15 | 7 | 3 | 1,4 | - | - | - | - | - | - | 0,14 | 0,25 | 0,38 | 0,54 | 0,75 | 0,97 | 1,27 | 1,65 | - | - | - | - |
- | 15 | 7 | 3 | 1,4 | - | - | - | - | - | - | 0,14 | 0,25 | 0,38 | 0,54 | 0,75 | 0,97 | 1,27 | 1,65 | - | - | - |
- | - | 15 | 7 | 3 | 1,4 | - | - | - | - | - | - | 0,14 | 0,25 | 0,38 | 0,54 | 0,75 | 0,97 | 1,27 | 1,65 | - | - |
- | - | - | 15 | 7 | 3 | 1,4 | - | - | - | - | - | - | 0,14 | 0,25 | 0,38 | 0,54 | 0,75 | 0,97 | 1,27 | 1,65 | - |
- | - | - | - | 15 | 7 | 3 | 1,4 | - | - | - | - | - | - | 0,14 | 0,25 | 0,38 | 0,54 | 0,75 | 0,97 | 1,27 | 1,65 |
СКОРОСТЬ РЕЗАНИЯ Сталь углеродистая, легированная Резцы с пластинками твердого сплава Т15К6 | Точение и растачивание | |||||||||||||||
Карта 23, лист 2 | ||||||||||||||||
Характер обработки | Главный угол в плане | Скорость резания V, м/мин. | ||||||||||||||
Наружное продольное и поперечное точение при d/D = 0,84 - 1,0 | 30 | 290 | 257 | 228 | 204 | 180 | 161 | 142 | 127 | 113 | 100 | 89 | 79 | 70 | 62 | |
45 - 60 | 242 | 214 | 190 | 170 | 150 | 134 | 118 | 106 | 94 | 83 | 74 | 66 | 58 | 52 | ||
90 | 212 | 189 | 167 | 149 | 132 | 117 | 104 | 93 | 82 | 74 | 66 | 58 | 51 | 46 | ||
Растачивание до D = 500 мм | 30 | 265 | 235 | 209 | 187 | 165 | 147 | 130 | 116 | 103 | 92 | 81 | 72 | 64 | 57 | |
45 - 60 | 221 | 196 | 174 | 154 | 138 | 122 | 109 | 96 | 86 | 76 | 68 | 60 | 34 | 48 | ||
90 | 192 | 171 | 152 | 135 | 120 | 106 | 94 | 84 | 75 | 66 | 59 | 53 | 46 | 42 | ||
1) Отношения при поперечном точении диаметров | 2) Материала инструмента | ||||||||||||
Отношение | 0 - 0,4 | 0,5 - 0,7 | 0,8 - 1,0 | Марка | Р18 | Т17К12 | Т5К12В | Т5К10 | Т14К8 | Т15К6 | Т30К4 | ||
Коэффициент Kv | 1,2 | 1,13 | 1,0 | ||||||||||
Коэффициент | 0,2 | 0,39 | 0,36 | 0,65 | 0,8 | 1,0 | 1,4 | ||||||
3) Состояния поверхности заготовки | 4) Точения фасонных (сферических, криволинейных поверхностей) | ||||||||||||
Состояние поверхности | Без корки | С коркой | Поверхность | Наружная | Внутренняя | ||||||||
Коэффициент Kv | 1,0 | 0,9 | Коэффициент | 0,75 | 0,6 | ||||||||
Сталь углеродистая, легированная Резцы с пластинками твердого сплава Т15К6 | Точение и растачивание | |||||||||||||||||||||
Карта 24, лист 1 | ||||||||||||||||||||||
Предел прочности при растяжении | Жаропрочная сталь | Подача S, мм/об., до | ||||||||||||||||||||
< 58 | 59 - 97 | > 57 | ||||||||||||||||||||
Глубина резания, t, мм, до | ||||||||||||||||||||||
2,0 | - | - | - | 0,25 | 0,3 | 0,37 | 0,47 | 0,6 | 0,75 | 0,96 | 1,2 | 1,5 | - | - | - | - | - | - | - | - | - | - |
2,4 | 2,0 | - | - | - | 0,25 | 0,3 | 0,37 | 0,47 | 0,6 | 0,75 | 0,96 | 1,2 | 1,5 | - | - | - | - | - | - | - | - | - |
2,8 | 2,4 | 2,0 | 2,0 | - | - | 0,25 | 0,3 | 0,37 | 0,47 | 0,6 | 0,75 | 0,96 | 1,2 | 1,5 | - | - | - | - | - | - | - | - |
3,4 | 2,8 | 2,4 | 2,4 | - | - | - | 0,25 | 0,3 | 0,37 | 0,47 | 0,6 | 0,75 | 0,96 | 1,2 | 1,5 | - | - | - | - | - | - | - |
4,0 | 3,4 | 2,8 | 2,8 | - | - | - | - | 0,25 | 0,3 | 0,37 | 0,47 | 0,6 | 0,75 | 0,96 | 1,2 | 1,5 | - | - | - | - | - | - |
4,8 | 4,0 | 3,4 | 3,4 | - | - | - | - | - | 0,25 | 0,3 | 0,37 | 0,47 | 0,6 | 0,75 | 0,96 | 1,2 | 1,5 | - | - | - | - | - |
5,7 | 4,8 | 4,0 | 4,0 | - | - | - | - | - | - | 0,25 | 0,3 | 0,37 | 0,47 | 0,6 | 0,75 | 0,96 | 1,2 | 1,5 | - | - | - | - |
6,8 | 5,7 | 4,8 | 4,8 | - | - | - | - | - | - | - | 0,25 | 0,3 | 0,37 | 0,47 | 0,6 | 0,75 | 0,96 | 1,2 | 1,1 | - | - | - |
8,0 | 6,8 | 5,7 | - | - | - | - | - | - | - | - | - | 0,25 | 0,3 | 0,37 | 0,47 | 0,6 | 0,75 | 0,96 | 1,2 | 1,2 | - | - |
9,7 | 8,0 | 6,8 | 6,8 | - | - | - | - | - | - | - | - | 0,25 | 0,3 | 0,37 | 0,47 | 0,6 | 0,75 | 0,96 | 1,2 | 1,5 | 1,9 | |
МОЩНОСТЬ, ПОТРЕБНАЯ НА РЕЗАНИЕ Сталь углеродистая, легированная Резцы с пластинками твердого сплава Т15К6 | Точение и растачивание | ||||||||||||||||||
Карта 24, лист 2 | |||||||||||||||||||
Скорость резания V, м/мин., до | Мощность резания N, кВт | ||||||||||||||||||
30 | - | - | - | - | - | 1,0 | 1,2 | 1,4 | 1,7 | 2,0 | 2,4 | 2,9 | 3,4 | 4,1 | 4,9 | 5,8 | 7,0 | 8,3 | 10 |
37 | - | - | - | - | 1,0 | 1,2 | 1,4 | 1,7 | 2,0 | 2,4 | 2,9 | 3,4 | 4,1 | 4,9 | 5,8 | 7,0 | 8,3 | 10 | 12 |
46 | - | - | - | 1,0 | 1,2 | 1,4 | 1,7 | 2,0 | 2,4 | 2,9 | 3,4 | 4,1 | 4,9 | 5,8 | 7,0 | 8,3 | 10 | 12 | 14 |
57 | - | - | 1,0 | 1,2 | 1,4 | 1,7 | 2,0 | 2,4 | 2,9 | 3,4 | 4,1 | 4,9 | 5,8 | 7,0 | 8,3 | 10 | 12 | 14 | 17 |
70 | - | 1,0 | 1,2 | 1,4 | 1,7 | 2,0 | 2,4 | 2,9 | 3,4 | 4,1 | 4,9 | 5,8 | 7,0 | 8,3 | 10 | 12 | 14 | 17 | 20 |
86 | 1,0 | 1,2 | 1,4 | 1,7 | 2,0 | 2,4 | 2,9 | 3,4 | 4,1 | 4,9 | 5,8 | 7,0 | 8,3 | 10 | 12 | 14 | 17 | 20 | - |
106 | 1,2 | 1,4 | 1,7 | 2,0 | 2,4 | 2,9 | 3,4 | 4,1 | 4,9 | 5,8 | 7,0 | 8,3 | 10 | 12 | 14 | 17 | 20 | - | - |
131 | 1,4 | 1,7 | 2,0 | 2,4 | 2,9 | 3,4 | 4,1 | 4,9 | 5,8 | 7,0 | 8,3 | 10 | 12 | 14 | 17 | 20 | - | - | - |
162 | 1,7 | 2,0 | 2,4 | 2,9 | 3,4 | 4,1 | 4,9 | 5,8 | 7,0 | 8,3 | 10 | 12 | 14 | 17 | 20 | - | - | - | - |
200 | 2,0 | 2,4 | 2,9 | 3,4 | 4,1 | 4,9 | 5,8 | 7,0 | 8,3 | 10 | 12 | 14 | 17 | 20 | - | - | - | - | - |
245 | 2,4 | 2,9 | 3,4 | 4,1 | 4,9 | 5,8 | 7,0 | 8,3 | 10 | 12 | 14 | 17 | 20 | - | - | - | - | - | - |
300 | 2,9 | 3,4 | 4,1 | 4,9 | 5,8 | 7,0 | 8,3 | 10 | 12 | 14 | 17 | 20 | - | - | - | - | - | - | - |
Угол резца в град. | Передний угол | +10 | 0 | -10 |
Главный угол в плане | 30 | 45 - 60 | св. 60 - 90 | |
Коэффициент KN | 0,9 | 1,0 | 1,2 | |
Сталь жаропрочная (типа Х18Н9Т, Х18Н9М) Резцы с пластинками твердого сплава ВК8 Работа с охлаждением | Точение и растачивание | ||||||||||||
Карта 25 | |||||||||||||
Глубина резания t, мм, до | Подача S, мм/об., до | ||||||||||||
0,8 | 0,09 | 0,12 | 0,16 | 0,21 | 0,27 | 0,35 | 0,46 | 0,59 | 0,77 | - | - | ||
1,4 | - | 0,09 | 0,12 | 0,16 | 0,21 | 0,27 | 0,35 | 0,46 | 0,59 | 0,77 | - | ||
2,6 | - | - | 0,09 | 0,12 | 0,16 | 0,21 | 0,27 | 0,35 | 0,46 | 0,59 | 0,77 | ||
4,6 | - | - | - | 0,09 | 0,12 | 0,16 | 0,21 | 0,27 | 0,35 | 0,46 | 0,59 | ||
Характер обработки | Главный угол в плане | Скорость резания V, м/мин. | |||||||||||
1. | Наружное продольное и поперечное точение при d/D = 0,84 - 1,0 | 30 | 130 | 114 | 101 | 89 | 79 | 70 | 62 | 56 | 50 | 44 | 38 |
45 - 60 | 107 | 95 | 84 | 75 | 67 | 60 | 53 | 47 | 42 | 37 | 33 | ||
90 | 95 | 86 | 76 | 67 | 59 | 52 | 46 | 41 | 36 | 32 | 28 | ||
2. | Растачивание до D = 500 мм | 30 | 116 | 102 | 90 | 80 | 71 | 63 | 55 | 50 | 45 | 39 | 35 |
45 - 60 | 96 | 85 | 75 | 67 | 60 | 54 | 47 | 42 | 38 | 34 | 30 | ||
90 | 85 | 77 | 68 | 60 | 53 | 47 | 41 | 37 | 32 | 29 | 25 | ||
1) | Вида поперечного точения | Отношение диаметров d/D | 0 - 0,4 | 0,54 - 0,7 | 0,84 - 1,0 | |||
Коэффициент Kv | 1,2 | 1,13 | 1,0 | |||||
2) | Марки материала инструмента | Марка | Р18 | ВК8 | Т5К10 | Т15К6 | ||
Коэффициент Kv | 0,3 | 1,0 | 1,4 | 1,9 | ||||
3) | Состояния поверхности заготовки | Поверхность | Без корки | С коркой | ||||
Коэффициент Kv | 1,0 | 0,9 | ||||||
4) | точения фасонных сферических) поверхностей | Поверхность | Наружная | Внутренняя | ||||
Коэффициент Kv | 0,75 | 0,6 | ||||||
Чугун серый Резцы с пластинками твердого сплава ВК6 | Точение и растачивание | ||||||||||||||||
Карта 26 | |||||||||||||||||
Группа твердости по Бринелю HB | Подача S, мм/об., до | ||||||||||||||||
143 - 229 | 190 - 225 | 197 - 269 | |||||||||||||||
Глубина резания t, мм, до | |||||||||||||||||
0,8 | - | - | 0,14 | 0,23 | 0,42 | 0,56 | 0,75 | 1,0 | 1,3 | 1,8 | 2,5 | 3,3 | - | - | - | - | - |
1,8 | 0,8 | - | - | 0,14 | 0,23 | 0,42 | 0,56 | 0,75 | 1,0 | 1,3 | 1,8 | 2,5 | 3,3 | - | - | - | - |
4 | 1,8 | 0,8 | - | - | 0,14 | 0,23 | 0,42 | 0,56 | 0,75 | 1,0 | 1,3 | 1,8 | 2,5 | 3,3 | - | - | - |
9 | 4 | 1,8 | - | - | - | 0,14 | 0,23 | 0,42 | 0,56 | 0,75 | 1,0 | 1,3 | 1,8 | 2,5 | 3,3 | - | - |
- | 9 | 4 | - | - | - | - | 0,14 | 0,23 | 0,42 | 0,56 | 0,75 | 1,0 | 1,3 | 1,8 | 2,5 | 3,3 | - |
- | - | 9 | - | - | - | - | - | 0,14 | 0,23 | 0,42 | 0,56 | 0,75 | 1,0 | 1,3 | 1,8 | 2,5 | 3,3 |
Характер обработки | Главный угол в плане | Скорость резания V, м/мин. | |||||||||||||||
Наружное, продольное и поперечное точение при d/D = 0,8 - 1,0 | 30 | 167 | 148 | 131 | 118 | 103 | 92 | 83 | 73 | 65 | 58 | 50 | 46 | 41 | 36 | 31 | |
45 - 60 | 139 | 123 | 109 | 98 | 86 | 77 | 69 | 61 | 54 | 48 | 42 | 38 | 34 | 30 | 26 | ||
90 | 115 | 102 | 91 | 81 | 72 | 64 | 57 | 50 | 45 | 40 | 35 | 31 | 28 | 25 | 22 | ||
Растачивание до D = 500 мм | 30 | 151 | 134 | 119 | 107 | 93 | 83 | 75 | 66 | 59 | 52 | 45 | 42 | 37 | 33 | 28 | |
45 - 60 | 126 | 112 | 99 | 88 | 78 | 70 | 62 | 55 | 49 | 44 | 38 | 34 | 30 | 27 | 24 | ||
90 | 104 | 93 | 82 | 74 | 65 | 58 | 51 | 46 | 41 | 36 | 32 | 29 | 26 | 22 | 20 | ||
1) | Вида поперечного точения | Отношение диаметров d/D | 04 - 0,4 | 0,5 - 0,7 | 0,84 - 1,0 | |
Коэффициент Kv | 1,2 | 1,13 | 1,0 | |||
2) | Марки материала инструмента | Марка | ВК8 | ВК6 | ВК3 | ВК2 |
Коэффициент Kv | 0,83 | 1,0 | 1,15 | 1,2 - 1,25 | ||
3) | Состояния поверхности заготовки | Поверхность | Без корки | С коркой | ||
Коэффициент Kv | 1,0 | 0,9 | ||||
4) | Точения фасонных (сферических) поверхностей | Поверхность | Наружная | Внутренняя | ||
Коэффициент Kv | 0,75 | 0,6 | ||||
Чугун серый Резцы с пластинками твердого сплава ВК6 | Точение и растачивание | ||||||||||||||||||
Карта 27 | |||||||||||||||||||
Глубина резания t, мм, до | Подача S, мм/об., до | ||||||||||||||||||
2.8 | 0,25 | 0,3 | 0,37 | 0,47 | 0,6 | 0,75 | 0,96 | 1,2 | 1,5 | 1,9 | 2,5 | - | - | - | - | - | - | - | - |
3,4 | - | 0,25 | 0,3 | 0,37 | 0,47 | 0,6 | 0,75 | 0,96 | 1,2 | 1,5 | - | - | - | - | - | - | - | - | - |
4,0 | - | - | 0,25 | 0,3 | 0,37 | 0,47 | 0,6 | 0,75 | 0,96 | 1,2 | 1,5 | - | - | - | - | - | - | - | - |
4,3 | - | - | - | 0,25 | 0,3 | 0,37 | 0,47 | 0,6 | 0,75 | 0,96 | 1,2 | 1,5 | - | - | - | - | - | - | - |
0,7 | - | - | - | - | 0,25 | 0,3 | 0,37 | 0,47 | 0,6 | 0,75 | 0,96 | 1,2 | 1,5 | - | - | - | - | - | - |
6,3 | - | - | - | - | - | 0,25 | 0,3 | 0,37 | 0,47 | 0,6 | 0,75 | 0,96 | 1,2 | 1,5 | - | - | - | - | - |
8,0 | - | - | - | - | - | - | 0,25 | 0,3 | 0,37 | 0,47 | 0,6 | 0,75 | 0,96 | 1,2 | 1,5 | - | - | - | - |
Скорость резания V, м/мм, до | Мощность резания N, квт | ||||||||||||||||||
24 | - | - | - | - | - | - | - | 1,0 | 1,2 | 1,4 | 1,7 | 2,0 | 2,4 | 2,9 | 3,4 | 4,1 | 4,9 | 5,8 | 7,0 |
29 | - | - | - | - | - | - | 1,0 | 1,2 | 1,4 | 1,7 | 2,0 | 2,4 | 2,9 | 3,4 | 4,1 | 4,9 | 5,8 | 7,0 | 8,3 |
35 | - | - | - | - | - | 1,0 | 1,2 | 1,4 | 1,7 | 2,0 | 2,4 | 2,9 | 3,4 | 4,1 | 4,9 | 5,8 | 7,0 | 8,3 | 10 |
41 | - | - | - | - | 1,0 | 1,2 | 1,4 | 1,7 | 2,0 | 2,4 | 2,9 | 3,4 | 4,1 | 4,9 | 5,8 | 7,0 | 8,3 | 10 | 12 |
49 | - | - | - | 1,0 | 1, 9 | 1,4 | 1,7 | 2,0 | 2,4 | 2,9 | 3,4 | 4,1 | 4,9 | 5,8 | 7,0 | 8,3 | 10 | 12 | 14 |
59 | - | - | 1,0 | 1,2 | 1,4 | 1,7 | 2,0 | 2,4 | 2,9 | 3,4 | 4,1 | 4,9 | 5,8 | 7,0 | 8 3 | 10 | 12 | 14 | 17 |
70 | - | 1,0 | 1,2 | 1,4 | 1,7 | 2,0 | 2,4 | 2,9 | 3,4 | 4,1 | 4,9 | 5,8 | 7,0 | 8,3 | 10 | 12 | 17 | 17 | 20 |
84 | 1,0 | 1,2 | 1,4 | 1,7 | 2,0 | 2,4 | 2,9 | 3,4 | 4,1 | 4,9 | 5,8 | 7,0 | 8,3 | 10 | 12 | 14 | 17 | 20 | - |
100 | 1,2 | 1,4 | 1,7 | 2,0 | 2,4 | 2,9 | 3,4 | 4,1 | 4,9 | 5,8 | 7,0 | 8,3 | 10 | 12 | 14 | 17 | 20 | - | - |
120 | 1,4 | 1,7 | 2,0 | 2,4 | 2,9 | 3,4 | 4,1 | 4,9 | 5,8 | 7,0 | 8,3 | 10 | 12 | 14 | 17 | 20 | - | - | - |
142 | 1,7 | 2,0 | 2,4 | 2,9 | 0, 4 | 4,1 | 4,9 | 5,8 | 7,0 | 8,3 | 10 | 12 | 14 | 17 | 20 | - | - | - | - |
170 | 2,0 | 2,4 | 2,9 | 3,4 | 4,1 | 4,9 | 5,8 | 7,0 | 8,3 | 10 | 12 | 14 | 17 | 20 | - | - | - | - | - |
Медные и алюминиевые сплавы Резцы из стали Р18 | Точение и растачивание | |||||||||||
Карта 28, лист 1 | ||||||||||||
Глубина резания t, мм | Подача S, мм/об., до | |||||||||||
0,7 - 1,7 | 0,25 | 0,32 | 0,4 | 0,5 | 0,62 | 0,79 | 1,0 | 1,26 | 1,58 | 2,0 | - | |
1,8 - 4.0 | 0,25 | 0,25 | 0,32 | 0,4 | 0,5 | 0,62 | 0,79 | 1,0 | 1,26 | 1,58 | 2,0 | |
4,6 - 12 | - | 0,2 | 0,25 | 0,32 | 0,4 | 0,5 | 0,62 | 0,70 | 1,0 | 1,26 | 1,58 | |
Характер обработки | Угол в плане | Скорость резания V, м/мин. | ||||||||||
Наружное продольное точение | 60 | 107 | 95 | 85 | 75 | 67 | 60 | 53 | 47 | 42 | 39 | 33 |
90 | 89 | 79 | 70 | 62 | 56 | 50 | 44 | 39 | 34 | 31 | 27 | |
Растачивание до D = 500 мм | 60 | 96 | 85 | 76 | 67 | 60 | 54 | 47 | 42 | 37 | 35 | 30 |
90 | 81 | 71 | 63 | 56 | 53 | 45 | 40 | 35 | 31 | 28 | 24 | |
Поперечное точение при d/D = 0,84 - 1,0 | 60 | 112 | 99 | 89 | 78 | 70 | 63 | 55 | 49 | 44 | 41 | 34 |
90 | 93 | 82 | 73 | 65 | 58 | 52 | 46 | 41 | 35 | 32 | 28 | |
СКОРОСТЬ РЕЗАНИЯ Медные и алюминиевые сплавы Резцы из стали Р18 | Точение и растачивание | |||||||||
Карта 28, лист 2 | ||||||||||
ПОПРАВОЧНЫЕ КОЭФФИЦИЕНТЫ НА СКОРОСТЬ РЕЗАНИЯ ДЛЯ ИЗМЕНЕННЫХ УСЛОВИЙ РАБОТЫ В ЗАВИСИМОСТИ ОТ: | ||||||||||
1) | Группы медного сплава | Группы медного сплава | Сплавы гетерогенные | Сплавы свинцовистые при основной гетерогенной структуре | Гомогенные сплавы | Сплавы с содержанием свинца < 10% при основной гомогенной структуре | Медь | Сплавы с содержанием свинца > 15% | ||
Высокой твердости | Средней твердости | |||||||||
Коэффициент Kv | 0,7 | 1,0 | 1,7 | 2,0 | 4,0 | 8,0 | 12,0 | |||
2) | Группы алюминиевого сплава | Группы алюминиевого сплава | Силумин и литейные сплавы | Силумин и литейные сплавы | Дуралюмин | |||||
Коэффициент Kv | 1,5 | 1,8 | 2,2 | |||||||
3) | Отношения при поперечном точении d/D | Отношение d/D | 0 - 0,4 | 0,5 - 0,7 | 0,8 - 1,0 | |||||
Коэффициент Kv | 1,18 | 1,11 | 1,0 | |||||||
4) | Марки материала инструмента | Марка | Р9; Р18 | ВК4; ВК6 | ||||||
Коэффициент Kv | 1,0 | 2,5 | ||||||||
5) | Состояния поверхности заготовки | Поверхности | Без корки | С коркой | ||||||
Коэффициент Kv | 1,0 | 0,9 | ||||||||
6) | Точения фасонных (сферических) поверхностей | Поверхности | Наружная | Внутренняя | ||||||
Коэффициент Kv | 0,75 | 0,6 | ||||||||
Медные и алюминиевые сплавы Резцы из стали Р18 | Точение и растачивание | |||||||||||||||
Карта 29 | ||||||||||||||||
Глубина резания t, мм, до | Подача S, мм/об., до | |||||||||||||||
2,0 | 0,23 | 0,3 | 0,4 | 0,52 | 0,68 | 0,9 | 1,2 | 1,5 | 2,0 | - | - | - | - | - | - | - |
2,4 | 0,18 | 0,23 | 0,3 | 0,4 | 0,52 | 0,68 | 0,9 | 1,2 | 1,5 | 2,0 | - | - | - | - | - | - |
2,9 | 0,13 | 0,18 | 0,23 | 0,3 | 0,4 | 0,52 | 0,68 | 0,9 | 1,2 | 1,5 | 2,0 | - | - | - | - | - |
3,5 | 0,1 | 0,13 | 0,18 | 0,23 | 0,3 | 0,4 | 0,52 | 0,68 | 0,9 | 1,2 | 1,5 | 2,0 | - | - | - | - |
4,1 | - | 0,1 | 0,13' | 0,18 | 0,23 | 0,3 | 0,4 | 0,52 | 0,68 | 0,9 | 1,2 | 1,5 | 2,0 | - | - | - |
4,9 | - | - | 0,1 | 0,13 | 0,18 | 0,23 | 0,3 | 0,4 | 0,52 | 0,68 | 0,9 | 1,2 | 1,5 | 2,0 | - | - |
5,9 | - | - | - | 0,1 | 0,13 | 0,18 | 0,23 | 0,3 | 0,4 | 0,52 | 0,68 | 0,9 | 1,2 | 1,5 | 2,0 | - |
7,0 | - | - | - | - | 0,1 | 0,13 | 0,18 | 0,23 | 0,3 | 0,4 | 0,52 | 0,68 | 0,9 | 1,2 | 1,5 | 2,0 |
8,4 | - | - | - | - | - | 0,1 | 0,13 | 0,18 | 0,23 | 0,3 | 0,4 | 0,52 | 0,68 | 0,9 | 1,2 | 1,5 |
Скорость резания V, м/мин. | Мощность резания N, квт | |||||||||||||||
34 | - | - | - | - | - | - | - | - | - | - | 1,1 | 1,3 | 1,6 | 1,9 | 2,2 | 2,7 |
41 | - | - | - | - | - | - | - | - | - | 1,1 | 1,3 | 1,6 | 1,9 | 2,2 | 2,7 | 3,2 |
49 | - | - | - | - | - | - | - | - | 1,1 | 1,3 | 1,6 | 1,9 | 2,2 | 2,7 | 3,2 | 3,8 |
58 | - | - | - | - | - | - | - | 1,1 | 1,3 | 1,6 | 1,9 | 2,2 | 2,7 | 3,2 | 3,8 | 4,5 |
70 | - | - | - | - | - | - | 1,1 | 1,3 | 1,6 | 1,9 | 2,2 | 2,7 | 3,2 | 3,8 | 4,5 | 5,4 |
83 | - | - | - | - | - | 1,1 | 1,3 | 1,6 | 1,9 | 2,2 | 2,7 | 3,2 | 3,8 | 4,5 | 5,4 | 6,5 |
99 | - | - | - | - | 1,1 | 1,3 | 1,6 | 1,9 | 2,2 | 2,7 | 3,2 | 3,8 | 4,5 | 5,4 | 6,5 | 7,7 |
118 | - | - | - | 1,1 | 1,3 | 1,6 | 1,9 | 2,2 | 2,7 | 3,2 | 3,8 | 4,5 | 5,4 | 6,5 | 7,7 | 9,3 |
Группы сплавов | Медные сплавы | Алюминиевые сплавы | ||||||
Гетерогенные | Свинцовистые при основной гетерогенной структуре | Гомогенные | С содержанием свинца < 10% при основной гомогенной структуре | Медь | С содержанием свинца > 15% | Все сплавы | ||
твердые | средней твердости | |||||||
Коэффициент KN | 0,75 | 1,0 | 0,62 | 18 - 22 | 0,65 - 0,7 | 1,7 - 2,1 | 0,25 - 0,45 | 1,25 |
Сталь конструкционная, жаростойкая и жаропрочная, титановые сплавы Резцы с пластинками твердого сплава ВК8 | Точение | ||||||||
Карта 30 | |||||||||
Конструкционные стали | |||||||||
Подача S, мм/об., до | 0,03 | 0,04 | 0,05 | 0,07 | 0,1 | 0,14 | 0,2 | 0,28 | |
Скорость резания V, м/мин. | 100 | 92 | 82 | 73 | 66 | 59 | 53 | 47 | |
Титановые сплавы | |||||||||
Подача S, мм/об., до | 0,04 | 0,06 | 0,08 | 0,1 | 0,13 | 0,17 | 0,21 | 0,27 | |
Скорость резания V, м/мин. | 54 | 49 | 45 | 41 | 38 | 34 | 31 | 29 | |
Жаростойкие и жаропрочные стали | |||||||||||
Подача S, мм/об., до | 0,04 | 0,05 | 0,06 | 0,07 | 0,085 | 0,1 | 0,12 | 0,14 | 0,17 | 0,2 | 0,24 |
Скорость резания V, м/мин. | 80 | 72 | 61 | 52 | 46 | 41 | 36 | 32 | 25 | 25 | 22 |
Сталь углеродистая и легированная, чугун, алюминиевые сплавы Сверла из стали Р18 | Сверление | ||||||
Карта 31 | |||||||
Диаметр сверла D, мм, до | Сталь углеродистая, легированная | Чугун серый и ковкий, медные и алюминиевые сплавы | |||||
Группа подач | |||||||
I | II | III | I | II | III | ||
Подача S, мм/об. | |||||||
2 | 0,03 - 0,05 | 0,02 - 0,04 | 0,02 - 0,03 | 0,06 - 0,09 | 0,03 - 0,06 | 0,02 - 0,05 | |
4 | 0,05 - 0,08 | 0,03 - 0,06 | 0,02 - 0,04 | 0,13 - 0,18 | 0,07 - 0,13 | 0,04 - 0,09 | |
6 | 0,08 - 0,14 | 0,05 - 0,10 | 0,04 - 0,07 | 0,18 - 0,27 | 0,12 - 0,20 | 0,08 - 0,13 | |
8 | 0,10 - 0,17 | 0,07 - 0,13 | 0,05 - 0,08 | 0,24 - 0,35 | 0,14 - 0,26 | 0,10 - 0,17 | |
10 | 0,13 - 0,21 | 0,10 - 0,15 | 0,06 - 0,10 | 0,31 - 0,46 | 0,19 - 0,34 | 0,12 - 0,22 | |
13 | 0,14 - 0,23 | 0,11 - 0,17 | 0,08 - 0,11 | 0,34 - 0,50 | 0,21 - 0,38 | 0,14 - 0,25 | |
16 | 0,17 - 0,28 | 0,13 - 0,20 | 0,09 - 0,14 | 0,41 - 0,60 | 0,25 - 0,44 | 0,16 - 0,29 | |
20 | 0,20 - 0,32 | 0,15 - 0,24 | 0,10 - 0,17 | 0,47 - 0,68 | 0,29 - 0,50 | 0,19 - 0,33 | |
25 | 0,22 - 0,35 | 0,17 - 0,26 | 0,11 - 0,18 | 0,52 - 0,74 | 0,33 - 0,57 | 0,21 - 0,36 | |
30 | 0,24 - 0,41 | 0,18 - 0,31 | 0,12 - 0,21 | 0,60 - 0,84 | 0,35 - 0,63 | 0,23 - 0,41 | |
Св. 30 до 60 | 0,30 - 0,53 | 0,23 - 0,41 | 0,15 - 0,26 | 0,65 - 0,93 | 0,44 - 0,74 | 0,29 - 0,53 | |
1) | Глубины сверления (для I группы подач) | Глубина сверления в диаметрах сверла | 3D | 5D | 7D | 10D |
Коэффициент K1 | 1,0 | 0,9 | 0,8 | 0,75 | ||
2) | Материала режущей части инструмента | Марка инструмента | Р18 | ВК8 | ||
Коэффициент Kи | 1,0 | 0,8 | ||||
Сталь углеродистая и легированная Сверла из стали Р18 Работа с охлаждением | Сверление | |||||||||||
Карта 32, лист 1 | ||||||||||||
Форма заточки | Диаметр сверла D, мм, до | Подача S, мм/об., до | ||||||||||
0,09 | 0,12 | 0,15 | 0,20 | 0,27 | 0,37 | 0,50 | 0,66 | 0,88 | ||||
Скорость резания V, м/мин. | ||||||||||||
Двойная ДП | 20 | - | - | 33,3 | 28,8 | 24,8 | 21,6 | 18,5 | 15,9 | 13,5 | ||
30 | - | - | - | 33.3 | 28,8 | 24,8 | 21,6 | 18,5 | 15,9 | |||
60 | - | - | - | - | 33,3 | 28,8 | 24,8 | 21,6 | 18,5 | |||
Нормальная Н и НП | 4,6 | 28,8 | 24,8 | 21,6 | 18,5 | 15,9 | 13,5 | 11,7 | 9,9 | 8,6 | ||
9,6 | - | 28,8 | 24,8 | 21,6 | 18,5 | 15,9 | 13,5 | 11,7 | 9,9 | |||
20 | - | - | 28,8 | 24,8 | 21,6 | 18,5 | 15,9 | 13,5 | 11,7 | |||
30 | - | - | - | 28,8 | 24,8 | 21,6 | 18,5 | 15,9 | 13,5 | |||
60 | - | - | - | - | 28,8 | 24,8 | 21,6 | 18,5 | 15,9 | |||
Комбинированное центровочное сверло | Диаметр сверла D, мм | 2,5 | 3 - 5 | |||||||||
Скорость резания V, м/мин. | 13,5 | 16,2 | ||||||||||
Сталь углеродистая и легированная Сверла из стали Р18 Работа с охлаждением | Сверление | |||||||||||||
Карта 32, лист 2 | ||||||||||||||
ПОПРАВОЧНЫЕ КОЭФФИЦИЕНТЫ НА СКОРОСТЬ РЕЗАНИЯ ДЛЯ ИЗМЕНЕННЫХ УСЛОВИЙ РАБОТЫ В ЗАВИСИМОСТИ ОТ: | ||||||||||||||
1) Группы и механических характеристик стали | Группы стали | Углеродистые (с < 0,6%) | Хромоникелевые | |||||||||||
Типовые марки сталей | 10, 15, 20, 25 | 30, 35, 40 | 45, 50 | 12Х2Н3А | 12Х2Н14А | 20ХНМ | 40ХНМА | |||||||
Предел прочности | 56 | 51 - 75 | 61 - 83 | 75 - 98 | 56 - 75 | 61 - 83 | 75 - 98 | 97 - 110 | 102 - 116 | 53 - 74 | 61 - 86 | 53 - 70 | 67 - 91 | |
Твердость HB | 156 | 143 - 207 | 170 - 229 | 207 - 269 | 156 - 207 | 170 - 229 | 207 - 269 | 269 - 302 | 285 - 321 | 156 - 217 | 179 - 255 | 156 - 207 | 197 - 269 | |
Коэффициент Kм | 0,7 | 1,0 | 0,9 | 0,8 | 1,0 | 0,8 | 0,7 | 0,7 | 0,65 | 0,9 | 0,7 | 1,2 | 0,7 | |
СКОРОСТЬ РЕЗАНИЯ Сталь углеродистая и легированная Сверла из стали Р18 Работа с охлаждением | Сверление | ||||||||||||||||||||||
Карта 32, лист 3 | |||||||||||||||||||||||
1) | Группы и механических характеристик стали | Группы стали | Углеродистые труднообрабатываемые (с > 0,6%), хромистые, хромоникелевольфрамовые, инструментальные | Хромомарганцовистые, хромокремнистые, хромокремнемарганцовистые и близкие к ним | Автоматные | ||||||||||||||||||
Типовые марки сталей | 30Х, 35Х, 38ХА, 40Х | 15Х, 20Х | 45Г, 50Г | 35ХГС | 18ХГТ | 30ХГТ | А12, А20 | А30 | А40Г | ||||||||||||||
Предел прочности | 54 - 72 | 60 - 76 | 72 - 89 | 89 - 100 | 100 - 117 | 48 - 63 | 60 - 80 | 80 - 94 | 94 - 100 | 56 - 82 | 94 - 113 | 113 - 134 | 49 - 62 | 56 - 65 | - | - | - | ||||||
Твердость HB | 156 - 207 | 170 - 217 | 207 - 255 | 255 - 285 | 285 - 331 | 137 - 179 | 170 - 229 | 229 - 269 | 269 - 285 | 170 - 241 | 269 - 321 | 321 - 375 | 149 - 187 | 170 - 197 | - | - | - | ||||||
Коэффициент Kм | 0,8 | 0,8 | 0,7 | 0,65 | 0,55 | 0,93 | 0,65 | 0,55 | 0,5 | 0,6 | 0,5 | 0,4 | 1,1 | 0,7 | 1,56 | 1,34 | 1,16 | ||||||
2) | Глубины отверстия | Глубина отверстия в диаметрах инструмента | 3D | 5D | 7D | 10D | |||||||||||||||||
Коэффициент K | 1,0 | 0,9 | 0,8 | 0,75 | |||||||||||||||||||
3) | Стойкости инструмента | Период стойкости Tм, мин. | до 15 | 30 | 60 | 100 | 150 | 200 | 250 | 300 | 400 | ||||||||||||
Коэффициент Kст | 1,5 | 1,3 | 1,1 | 1,0 | 0,9 | 0,85 | 0,80 | 0,75 | 0,65 | ||||||||||||||
Сталь углеродистая и легированная Сверла из стали Р18 | Сверление | ||||||||||||||||||||||||||
Карта 33, лист 1 | |||||||||||||||||||||||||||
Сталь углеродистая и легированная | Подача S, мм/об., до | ||||||||||||||||||||||||||
до 40 | 40 - 47 | 48 - 56 | 57 - 68 | 69 - 82 | 83 - 98 | 99 - 120 | |||||||||||||||||||||
Диаметр сверла D, мм, до | |||||||||||||||||||||||||||
15 | 13,2 | 11,4 | 11 | 8,7 | 7,5 | 6,6 | 0,29 | 0,34 | 0,40 | 0,47 | 0,56 | - | - | - | - | - | - | - | - | - | - | - | - | - | - | - | - |
17,4 | 15 | 13,2 | 11,4 | 10 | 8.7 | 7,5 | 0,24 | 0,29 | 0,34 | 0,40 | 0,47 | 0,56 | - | - | - | - | - | - | - | - | - | - | - | - | - | - | - |
20 | 17,4 | 15 | 13,2 | 11,4 | 10,0 | 8,7 | 0,20 | 0,24 | 0,29 | 0,34 | 0,40 | 0,47 | 0,56 | - | - | - | - | - | - | - | - | - | - | - | - | - | - |
23 | 20 | 17,4 | 15 | 13,2 | 11,4 | 10,0 | 0,17 | 0,20 | 0,24 | 0,29 | 0,34 | 0,40 | 0,47 | 0,56 | - | - | - | - | - | - | - | - | - | - | - | - | - |
26,5 | 23 | 20 | 17,4 | 15 | 13,2 | 11,4 | 0,14 | 0,17 | 0,20 | 0,24 | 0,29 | 0,34 | 0,40 | 0,47 | 0,56 | - | - | - | - | - | - | - | - | - | - | - | - |
30 | 26,5 | 23 | 20 | 17,4 | 15 | 53,2 | - | 0,14 | 0,17 | 0,20 | 0,24 | 0,29 | 0,34 | 0,40 | 0,47 | 0,56 | - | - | - | - | - | - | - | - | - | - | - |
34,5 | 30 | 26,5 | 2,3 | 20 | 17,4 | 15 | - | - | - | 0,17 | 0,20 | 0,24 | 0,29 | 0,34 | 0,40 | 0,47 | 0,56 | - | - | - | - | - | - | - | - | - | - |
40 | 34,5 | 30 | 25,5 | 23 | 20 | 17,4 | - | - | - | - | 0,17 | 0,20 | 0,24 | 0,29 | 0,34 | 0,40 | 0,47 | 0,56 | - | - | - | - | - | - | - | - | - |
46 | 40 | 34,5 | 30 | 26,5 | 23 | 20 | - | - | - | - | - | 0,17 | 0,20 | 0,24 | 0,29 | 0,34 | 0,40 | 0,47 | 0,56 | - | - | - | - | - | - | - | - |
52 | 46 | 40 | 34,5 | 30 | 26,5 | 23 | - | - | - | - | - | - | 0,17 | 0,20 | 0,24 | 0,29 | 0,34 | 0,40 | 0,47 | 0,56 | - | - | - | - | - | - | - |
60 | 52 | 46 | 40 | 34,5 | 30 | 26,5 | - | - | - | - | - | - | - | 0,17 | 0,20 | 0,24 | 0,29 | 0,34 | 0,40 | 0,47 | 0,56 | - | - | - | - | - | - |
- | 60 | 52 | 46 | 40 | 34.5 | 30 | - | - | - | - | - | - | - | - | 0,17 | 0,20 | 0,24 | 0,29 | 0,34 | 0,40 | 0,47 | 0,56 | - | - | - | - | - |
- | - | 60 | 52 | 46 | 40 | 34,5 | - | - | - | - | - | - | - | - | - | 0,17 | 0,20 | 0,24 | 0,29 | 0,34 | 0,40 | 0,47 | 0,56 | - | - | - | - |
- | - | - | 60 | 52 | 46 | 40 | - | - | - | - | - | - | - | - | - | - | 0,17 | 0,20 | 0,24 | 0,29 | 0,34 | 0,40 | 0,47 | 0,56 | - | - | - |
- | - | - | - | 60 | 52 | 46 | - | - | - | - | - | - | - | - | - | - | - | 0,17 | 0,20 | 0,24 | 0,29 | 0,34 | 0,40 | 0,47 | 0,56 | - | - |
- | - | - | - | - | 60 | 52 | - | - | - | - | - | - | - | - | - | - | - | - | 0,17 | 0,20 | 0,24 | 0,29 | 0,34 | 0,40 | 0,47 | 0,56 | - |
- | - | - | - | - | - | - | - | - | - | - | - | - | - | - | - | - | - | - | 0,17 | 0,20 | 0,24 | 0,29 | 0,34 | 0,40 | 0,47 | 0,56 | |
МОЩНОСТЬ, ПОТРЕБНАЯ НА РЕЗАНИЕ Сталь углеродистая и легированная Сверла из стали Р18 | Сверление | ||||||||||||||||||||||||||
Карта 33, лист 2 | |||||||||||||||||||||||||||
Сталь углеродистая и легированная | |||||||||||||||||||||||||||
до 40 | 40 - 47 | 48 - 56 | 57 - 68 | 69 - 82 | 83 - 98 | 99 - 120 | Подача S, мм/об., до | ||||||||||||||||||||
Диаметр сверла D, мм, до | |||||||||||||||||||||||||||
Скорость резания V, м/мин., до | Мощность резания N, квт | ||||||||||||||||||||||||||
9 | - | - | - | - | - | - | - | - | 0,8 | 0,9 | 1,0 | 1,2 | 1,4 | 1,6 | 1,8 | 2,1 | 2,4 | 2,7 | 3,1 | 3,6 | 3,8 | ||||||
10,35 | - | - | - | - | - | - | - | 0,8 | 0,9 | 1,0 | 1,2 | 1,4 | 1,6 | 1,8 | 2,1 | 2,4 | 2,7 | 3,1 | 3,6 | 3,8 | 4,4 | ||||||
11,88 | - | - | - | - | - | - | 0,8 | 0,9 | 1,0 | 1,2 | 1,4 | 1,6 | 1,8 | 2,1 | 2,4 | 2,7 | 3,1 | 3,6 | 3,8 | 4,4 | 5,0 | ||||||
13,6 | - | - | - | - | - | 0,8 | 0,9 | 1,0 | 1,2 | 1,4 | 1,6 | 1,8 | 2,1 | 2,4 | 2,7 | 3,1 | 3,6 | 3,8 | 4,4 | 5,0 | 5,8 | ||||||
13,7 | - | - | - | - | 0,8 | 0,9 | 1,0 | 1,2 | 1,4 | 1,6 | 1,8 | 2,1 | 2,4 | 2,7 | 3,1 | 3,6 | 3,8 | 4,4 | 5,0 | 5,8 | 6,6 | ||||||
18 | - | - | - | 0,8 | 0,9 | 1,0 | 1 | 1,4 | 1,6 | 1,8 | 2,1 | 2,4 | 2,7 | 3,1 | 3,6 | 3,8 | 4,4 | 5,0 | 5,8 | 6,6 | 7,7 | ||||||
20,7 | - | - | 0,8 | 0,9 | 1,0 | 1,2 | 1,4 | 1,6 | 1,8 | 2,1 | 2,4 | 2,7 | 3,1 | 3,6 | 3,8 | 4,4 | 5,0 | 5,8 | 6,6 | 7,7 | 8,8 | ||||||
23,9 | - | 0,8 | 0,9 | 1,0 | 1,2 | 1,4 | 1,6 | 1,8 | 2,1 | 2,4 | 2,7 | 3,1 | 3,6 | 3,8 | 4,4 | 5,0 | 5,8 | 6,6 | 7,7 | 8,8 | 9,0 | ||||||
27 | 0,8 | 0,9 | 1,0 | 1,2 | 1,4 | 1,6 | 1,8 | 2,1 | 2,4 | 2,7 | 3,1 | 3,6 | 3,8 | 4,4 | 5,0 | 5,8 | 6,6 | 7,7 | 8,8 | 9,9 | - | ||||||
31,5 | 0,9 | 1,0 | 1,2 | 1,4 | 1,6 | 1,8 | 2,1 | 2,4 | 2,7 | 3,1 | 3,6 | 3,8 | 4,4 | 5,0 | 5,8 | 6,6 | 7,7 | 8,8 | 9,9 | - | - | ||||||
36 | 1,0 | 1,2 | 1,4 | 1,6 | 1,8 | 2,1 | 2,4 | 2,7 | 3,1 | 3,6 | 3,8 | 4,4 | 5,0 | 5,8 | 6,6 | 7,7 | 8,8 | 9,9 | - | - | - | ||||||
Стали нержавеющие и жаропрочные Сверла из стали Р18 Работа с охлаждением | Сверление | ||||||||||||||||
Карта 34, лист 1 | |||||||||||||||||
Диаметр сверла D, мм, до | Группа подач | Подача S, мм/об., до | Марка стали или сплава и механические свойства | ||||||||||||||
Х18Н9Т | 2Х13 | 2Х13 | 4Х14Н14В2М (ЭИ69) | 1Х14Н9 (ЭИ268) | 13Х14НВФРА (ЭИ736) | Х23Н18 (ЭИ417) | 20ХЗМВФ (ЭН415) HB300 - 320 | 4Х12Н8Г8МФБ (ЭИ481) | ЭИ654 | 1Х12ВНМФ (ЭИ802) | 1Х12112ВМФ (ЭИ961) | СН2 | СН3 | ||||
Скорость | |||||||||||||||||
3,0 | I | 0,05 | 19,8 | 14,0 | 10,8 | 12,6 | 17,1 | 17,6 | 16,7 | 13,5 | 20,7 | 8,6 | 18,0 | 23.9 | 16,2 | 12,0 | |
II | 0,04 | 23,4 | 15,8 | 12,6 | 14,4 | 18,9 | 19,8 | 18,5 | 15,1 | 22,5 | 11,0 | 19,8 | 25,2 | 20,7 | 14,9 | ||
III | 0,03 | 33,3 | 17,6 | 14,0 | 16,2 | 21,6 | 22,5 | 20,7 | 16,9 | 24,3 | 12,3 | 24,3 | 27 | 26,1 | 18,6 | ||
5,0 | I | 0,12 | 12,6 | 12,6 | 10,1 | 11,7 | 11,7 | 9,9 | 8,1 | 12,0 | 11,3 | 8,6 | 18,0 | 18,9 | 13,3 | 9,54 | |
II | 0,09 | 17,1 | 14,0 | 10,8 | 12,6 | 15,3 | 11,3 | 11,1 | 13,5 | 14,4 | 11,0 | 19,8 | 19.8 | 16,2 | 12,0 | ||
III | 0,06 | 23,4 | 15,8 | 12,6 | 14,4 | 18,9 | 14,0 | 14,9 | 16,9 | 18.0 | 12,3 | 24,3 | 21,2 | 22,5 | 16,7 | ||
СКОРОСТЬ РЕЗАНИЯ Стали нержавеющие и жаропрочные Сверла из стали Р18 Работа с охлаждением | Сверление | ||||||||||||||||
Карта 34, лист 2 | |||||||||||||||||
Диаметр сверла D, мм, до | Группа подач | Подача S, мм/об., до | Марка стали или сплава и механические свойства | ||||||||||||||
Х18Н9Т | 2Х13 | 2Х13 | 4Х14Н14В2М (ЭИ69) | 1Х14Н9 (ЭИ268) | 13Х14НВФРА (ЭИ736) | Х23Н18 (ЭИ417) | 20ХЗМВФ (ЭН415) HB300 - 320 | 4Х12Н8Г8МФБ (ЭИ481) | ЭИ654 | 1Х12ВНМФ (ЭИ802) | 1Х12112ВМФ (ЭИ961) | СН2 | СН3 | ||||
Скорость | |||||||||||||||||
8,0 | I | 0,15 | 10,8 | 12,6 | 10,1 | 11,7 | 8,1 | 9,9 | 9,5 | 10,8 | 9,0 | 7.0 | 18,0 | 18,9 | 11,7 | 8,6 | |
II | 0,11 | 12,6 | 14,0 | 10,8 | 12.6 | 10,8 | 11,3 | 11,1 | 12,1 | 11,3 | 8.3 | 19,8 | 21,2 | 14,9 | 10,7 | ||
III | 0,08 | 17,1 | 15,8 | 12,6 | 14,4 | 13,5 | 14,0 | 14,9 | 13,5 | 14,4 | 9,7 | 24,3 | 23,9 | 20,7 | 14,9 | ||
12 | I | 0,23 | 9.0 | 13,1 | 10,4 | 11,7 | 7,2 | 9,0 | 8,1 | 10,8 | 5,6 | 6.5 | 14,4 | 16,7 | 10,8 | 7,7 | |
II | 0,18 | 10,8 | 14,0 | 11,2 | 12.6 | 8,1 | 9,9 | 10,1 | 12,1 | 7,2 | 7.0 | 16,2 | 18,9 | 11,7 | 8,6 | ||
III | 0,12 | 14,4 | 15,8 | 12,6 | 16,2 | 17,7 | 12,6 | 12,2 | 15,1 | 9,9 | 7,8 | 19,8 | 21,2 | 16,2 | 12,0 | ||
18 | I | 0,32 | 7,7 | 11,3 | 9,0 | 10,8 | 5,4 | 6,8 | 7,4 | 9,7 | 4,4 | 5,0 | 14,4 | 14,9 | 10,8 | 7,7 | |
II | 0,24 | 9,0 | 12,6 | 10,1 | 11,7 | 6,0 | 7,2 | 9,5 | 10,8 | 5,6 | 5,7 | 18,0 | 16,7 | 11,7 | 8,6 | ||
III | 0,17 | 10,8 | 14,0 | 11,2 | 14,4 | 7,2 | 8,1 | 11,1 | 12,1 | 8,1 | 6,5 | 19,8 | 18,9 | 14,9 | 10,7 | ||
25 | I | 0,35 | 6,7 | 12,6 | 10,1 | 11,7 | 5,4 | 6,3 | 5,9 | 9,7 | 4,1 | 4,5 | 16,2 | 14,9 | 10,8 | 7,7 | |
II | 0,26 | 7,7 | 14,0 | 11,2 | 12,6 | 6,8 | 6,8 | 7,4 | 10,8 | 5,4 | 5,2 | 18,0 | 16,7 | 11,7 | 8,6 | ||
III | 0,18 | 10,8 | 15,8 | 12,6 | 14,4 | 8,1 | 7,2 | 10,1 | 12,1 | 7,7 | 5,7 | 21,6 | 18,9 | 14,9 | 10,7 | ||
более 25 | I | 0,50 | 5,7 | 11,3 | 9,0 | 11,7 | 5,2 | 6,3 | 5,9 | 9,7 | 4,1 | 4,5 | 16,2 | 14,9 | 10,8 | 7,7 | |
II | 0,35 | 6,7 | 12,6 | 10,1 | 12,6 | 5,4 | 6,8 | 7,4 | 10,8 | 5,4 | 5,2 | 18,0 | 16,7 | 11,7 | 8,6 | ||
III | 0,25 | 9,0 | 14,0 | 11,0 | 14,4 | 6,8 | 7,2 | 10,1 | 12,1 | 7,7 | 5,7 | 21,6 | 18,9 | 14,9 | 10,8 | ||
1) | Глубины отверстия | Глубина отверстия в диаметрах инструмента | 3D | 5D | 7D | 10D | |||||||
Коэффициент Kс | 1,0 | 0,9 | 0,8 | 0,75 | |||||||||
2) | Стойкости инструмента | Период стойкости Tм в мин. | до 15 | 30 | 60 | 100 | 150 | 200 | 250 | 300 | 400 | ||
Коэффициент Kт | 1,5 | 1,3 | 1,1 | 1,0 | 0,9 | 0,85 | 0,80 | 0,75 | 0,65 | ||||
Стали нержавеющие и жаропрочные Сверла из стали Р18 | Сверление | ||||||||||||||
Карта 35 | |||||||||||||||
Марки стали | Подача S, мм/об., до | ||||||||||||||
2Х13 | Х18Н9Т, Х23Н18, 1Х14Н14В2М | 4Х14Н14В2М | |||||||||||||
Диаметр сверла D, мм, до | |||||||||||||||
10,7 | 9,8 | - | 0,25 | 0,32 | 0,40 | - | - | - | - | - | - | - | - | - | - |
12,6 | 11,5 | 9,8 | 0,20 | 0,25 | 0,32 | 0,40 | - | - | - | - | - | - | - | - | - |
14,8 | 13,5 | 11,5 | 0,16 | 0,20 | 0,25 | 0,32 | 0,40 | - | - | - | - | - | - | - | - |
17.4 | 15,8 | 13,5 | - | 0,16 | 0,20 | 0,25 | 0,32 | 0,40 | 0,50 | - | - | - | - | - | - |
20,5 | 18,5 | 15,8 | - | - | 0,16 | 0,20 | 0,25 | 0,32 | 0,40 | 0,50 | - | - | - | - | - |
24 | 22 | 18,5 | - | - | - | 0,16 | 0,20 | 0,25 | 0,32 | 0,40 | 0,50 | - | - | - | - |
28 | 26 | 22 | - | - | - | - | 0,16 | 0,20 | 0,25 | 0,32 | 0,40 | 0,50 | 0,63 | - | - |
33 | 30 | 26 | - | - | - | - | - | 0,16 | 0,20 | 0,25 | 0,32 | 0,40 | 0,50 | 0,63 | - |
- | - | 30 | - | - | - | - | - | - | 0,16 | 0,20 | 0,25 | 0,32 | 0,40 | 0,50 | 0,63 |
Скорость резания V, м/мин. | Мощность резания N, квт | ||||||||||||||
6,5 | - | - | - | - | - | - | - | - | 0,8 | 0,9 | 1,1 | 1,3 | 1,5 | ||
7,7 | - | - | - | - | - | - | - | 0,8 | 0,9 | 1,1 | 1,3 | 1,5 | 1,7 | ||
9,0 | - | - | - | - | - | - | 0,8 | 0,9 | 1,1 | 1,3 | 1,5 | 1,7 | 2,0 | ||
10,5 | - | - | - | - | - | 0,8 | 0,9 | 1,1 | 1,3 | 1,5 | 1,7 | 2,0 | 2,3 | ||
12,4 | - | - | - | - | 0,8 | 0,9 | 1,1 | 1,3 | 1,5 | 1,7 | 2,0 | 2,3 | 2,7 | ||
14,6 | - | - | - | 0,8 | 0,9 | 1,1 | 1,3 | 1,5 | 1,7 | 2,0 | 2,3 | 2,7 | 3,2 | ||
17.1 | - | - | 0,8 | 0,9 | 1,1 | 1,3 | 1,5 | 1,7 | 2,0 | 2,3 | 2,7 | 3,2 | 3,8 | ||
20,3 | - | 0,8 | 0,9 | 1,1 | 1,3 | 1,5 | 1,7 | 2,0 | 2,3 | 2,7 | 3,2 | 3,8 | 4,4 | ||
23,9 | 0,8 | 0,9 | 1,1 | 1,3 | 1,5 | 1,7 | 2,0 | 2,3 | 2,7 | 3,2 | 3,8 | 4,4 | 5,2 | ||
27,9 | 0,9 | 1,1 | 1,3 | 1,5 | 1,7 | 2,0 | 2,3 | 2,7 | 3,2 | 3,8 | 4,4 | 5,2 | 6,3 | ||
Чугун серый, медные и алюминиевые сплавы Сверла из стали Р18 | Сверление | ||||||||||||||||||||
Карта 36, лист 1 | |||||||||||||||||||||
Группа твердости по Бринелю HB | Обрабатываемый материал | ||||||||||||||||||||
чугун серый | Медные и алюминиевые сплавы | ||||||||||||||||||||
Подача S, мм/об., до | |||||||||||||||||||||
100 - 140 | - | - | - | - | - | - | - | - | - | - | - | 0,12 | 0,15 | 0,18 | 0,23 | 0,30 | 0,40 | 0,53 | 0,71 | 0,95 | |
143 - 229 | 0,15 | 0,18 | 0,23 | 0,30 | 0,40 | 0,53 | 0,71 | 0,98 | 1,28 | 1,68 | - | - | - | - | - | - | - | - | - | - | |
170 - 255 | - | 0,15 | 0,18 | 0,23 | 0,30 | 0,40 | 0,53 | 0,71 | 0,98 | 1,28 | 1,68 | - | - | - | - | - | - | - | - | - | |
197 - 269 | - | 0,12 | 0,15 | 0,18 | 0,23 | 0,30 | 0,40 | 0,53 | 0,71 | 0,98 | 1,28 | - | - | - | - | - | - | - | - | - | |
Форма заточки | Диаметр сверла, D, мм | Скорость резания V, м/мин. | |||||||||||||||||||
Двойная заточка ДП | до 20 | - | - | - | 25,5 | 22,5 | 20,3 | 18 | 15,8 | 14,3 | 12,8 | 11,3 | 41 | 41 | 41 | 41 | 41 | 41,0 | 38,0 | 34,0 | 30,0 |
св. 20 | - | - | - | - | 26,3 | 23,3 | 20,6 | 18,4 | 16,5 | 14,6 | 12,8 | 41 | 41 | 41 | 41 | 41,0 | 41,0 | 41,0 | 39,0 | 34,9 | |
Нормальная Н и НП | до 3,2 | 23,3 | 21,0 | 18,3 | 16,5 | 15,0 | 12,8 | 16,3 | 10,5 | 9,4 | 8,3 | 7,1 | 41 | 41 | 41 | 36 | 32,3 | 28,5 | 22,5 | 22,5 | 20,3 |
до 8 | - | 23,0 | 21,0 | 18,8 | 16,5 | 15,0 | 12,8 | 16,3 | 10,5 | 9,4 | 8,3 | 41 | 41 | 41 | 41 | 36 | 32,3 | 28,5 | 5,5 | 22,5 | |
до 20 | - | - | 23,3 | 21,0 | 18,8 | 16,5 | 15,0 | 12,0 | 16,3 | 10,5 | 9,4 | 41 | 41 | 41 | 41 | 41 | 36,0 | 32,3 | 28,5 | 25,5 | |
св. 20 | - | - | - | 24,8 | 28,13 | 19,5 | 17,3 | 15,8 | 13,5 | 12,0 | 10,9 | 41 | 41 | 41 | 41 | 41 | 41 | 37,0 | 33,0 | 30,0 | |
СКОРОСТЬ РЕЗАНИЯ Чугун серый, медные и алюминиевые сплавы Сверла из стали Р18 | Сверление | |||||||||||||
Карта 36, лист 2 | ||||||||||||||
ПОПРАВОЧНЫЕ КОЭФФИЦИЕНТЫ НА СКОРОСТЬ РЕЗАНИЯ ДЛЯ ИЗМЕНЕННЫХ УСЛОВИЙ РАБОТЫ В ЗАВИСИМОСТИ ОТ: | ||||||||||||||
1) | Группа сплавов | Медные сплавы | Алюминиевые сплавы | |||||||||||
Группа | Сплавы гетерогенные | Сплавы свинцовистые при основной гетерогенной структуре | Гомогенные сплавы | Сплавы с содержанием свинца 10% при основной гомогенной структуре | Медь | Сплавы с содержанием свинца 15% | Силумин и литейные сплавы | Силумин и литейные сплавы | Дуралюмин | |||||
высокой твердости | средней твердости | |||||||||||||
Коэффициент | 0,7 | 1,0 | 1,7 | 2,0 | 4,0 | 8,0 | 12,0 | 1,0 | 1,25 | 1,5 | ||||
2) | Глубины отверстия | Глубина отверстия в диаметрах сверла | 3D | 5D | 7D | 10D | ||||||||
Коэффициент K1 | 1,0 | 0,9 | 0,8 | 0,75 | ||||||||||
3) | Марки инструмента | Марка инструмента | Р18 | ВК8 | ||||||||||
Коэффициент Kи | 1,0 | 2,5 | ||||||||||||
Чугун серый Сверла из стали Р18 | Сверление | |||||||||||||||||||
Карта 37 | ||||||||||||||||||||
Твердость чугуна HB | Подача S, мм/об., до | |||||||||||||||||||
до 229 | св. 229 | |||||||||||||||||||
Диаметр сверла D, мм, до | ||||||||||||||||||||
10 | 8,7 | 0,56 | 0,68 | 0,80 | - | - | - | - | - | - | - | - | - | - | - | - | - | - | - | |
11,5 | 10 | 0,47 | 0,56 | 0,68 | 0,80 | - | - | - | - | - | - | - | - | - | - | - | - | - | - | |
13.2 | 11,5 | 0,40 | 0,47 | 0,56 | 0,68 | 0,80 | - | - | - | - | - | - | - | - | - | - | - | - | - | |
15 | 13,2 | 0,34 | 0,40 | 0,47 | 0,56 | 0,68 | 0,80 | 0,94 | - | - | - | - | - | - | - | - | - | - | - | |
17,4 | 15 | 0,29 | 0,34 | 0,40 | 0,47 | 0,56 | 0,68 | 0,80 | 0,94 | 1,13 | - | - | - | - | - | - | - | - | - | |
20 | 17,4 | 0,24 | 0,29 | 0,34 | 0,40 | 0,47 | 0,56 | 0,68 | 0,80 | 0,94 | 1,13 | - | - | - | - | - | - | - | - | |
23 | 20 | - | 0,24 | 0,29 | 0,34 | 0,40 | 0,47 | 0,56 | 0,68 | 0,80 | 0,94 | 1,13 | 1,35 | - | - | - | - | - | - | |
26,5 | 23 | - | - | - | 0,29 | 0,34 | 0,40 | 0,47 | 0,56 | 0,68 | 0,80 | 0,94 | 1,13 | 1,35 | - | - | - | - | - | |
30 | 26,5 | - | - | - | - | 0,29 | 0,34 | 0,40 | 0,47 | 0,56 | 0,68 | 0,80 | 0,94 | 1,13 | 1,35 | - | - | - | - | |
34,5 | 30 | - | - | - | - | - | 0,29 | 0,34 | 0,40 | 0,47 | 0,56 | 0,68 | 0,80 | 0,94 | 1,13 | 1,35 | - | - | - | |
40 | 34,5 | - | - | - | - | - | - | 0,29 | 0,34 | 0,40 | 0,47 | 0,56 | 0,68 | 0,80 | 0,94 | 0,13 | 1,35 | - | - | |
46 | 40 | - | - | - | - | - | - | - | 0,29 | 0,34 | 0,40 | 0,47 | 0,56 | 0,68 | 0,80 | 0,94 | 1,13 | 1,35 | - | |
52 | 46 | - | - | - | - | - | - | - | - | 0,29 | 0,34 | 0,40 | 0,47 | 0,56 | 0,68 | 0,80 | 0,94 | 1,13 | 1,35 | |
60 | 52 | - | - | - | - | - | - | - | - | - | - | 0,34 | 0,40 | 0,47 | 0,56 | 0,68 | 0,80 | 0,94 | 1,13 | |
- | 60 | - | - | - | - | - | - | - | - | - | - | - | 0,34 | 0,40 | 0,47 | 0,56 | 0,68 | 0,80 | 0,94 | |
Скорость резания V, м/мин., до | Мощность резания N, квт | |||||||||||||||||||
7,5 | - | - | - | - | - | - | - | - | - | 0,9 | 1,1 | 1,2 | 1,4 | 1,6 | 1,9 | 2,1 | 2,4 | 2,8 | ||
8,6 | - | - | - | - | - | - | - | - | 0,9 | 1,1 | 1,2 | 1,4 | 1,6 | 1,9 | 2,1 | 2,4 | 2,8 | 3,2 | ||
9,9 | - | - | - | - | - | - | - | 0,9 | 1,1 | 1,2 | 1,4 | 1,6 | 1,9 | 2,1 | 2,4 | 2,8 | 3,2 | 3,7 | ||
11,3 | - | - | - | - | - | - | 0,9 | 1,1 | 1,2 | 1,4 | 1,6 | 1,9 | 2,1 | 2,4 | 2,8 | 3,2 | 3,7 | 4,3 | ||
13,1 | - | - | - | - | - | 0,9 | 1,1 | 1,2 | 1,4 | 1,6 | 1,9 | 2,1 | 2,4 | 2,8 | 3,2 | 3,7 | 4,3 | 4,9 | ||
15 | - | - | - | - | 0,9 | 1,1 | 1,2 | 1,4 | 1,6 | 1,9 | 2,1 | 2,4 | 2,8 | 3,2 | 3,7 | 4,3 | 4,9 | 5,7 | ||
17,3 | - | - | - | 0,9 | 1,1 | 1,2 | 1,4 | 1,6 | 1,9 | 2,1 | 2,4 | 2,8 | 3,2 | 3,7 | 4,3 | 4,9 | 5,7 | 6,5 | ||
19,9 | - | - | 0,9 | 1,1 | 1,2 | 1,4 | 1,6 | 1,9 | 2,1 | 2,4 | 2,8 | 3,2 | 3,7 | 4,3 | 4,9 | 5,7 | 6,5 | 7,4 | ||
22,5 | - | 0,9 | 1,1 | 1,2 | 1,4 | 1,6 | 1,9 | 2,1 | 2,4 | 2,8 | 3,2 | 3,7 | 4,3 | 4,9 | 5,7 | 6,5 | 7,4 | 8,5 | ||
26,3 | 0,9 | 1,1 | 1,2 | 1,4 | 1,6 | 1,9 | 2,1 | 2,4 | 2,8 | 3,2 | 3,7 | 4,3 | 4,9 | 5,7 | 6,5 | 7,4 | 8,5 | 9,9 | ||
30 | 1,1 | 1,2 | 1,4 | 1,6 | 1,9 | 2,1 | 2,4 | 2,8 | 3,2 | 3,7 | 4,3 | 4,9 | 5,7 | 6,5 | 7,4 | 8,5 | 9,9 | 11,0 | ||
Медные и алюминиевые сплавы Сверла из стали Р18 | Сверление | |||||||||||
Карта 38 | ||||||||||||
Диаметр сверла D, мм, до | Подача S, мм/об., до | |||||||||||
10,0 | 0,47 | 0,56 | 0,68 | 0,80 | - | - | - | - | - | - | - | - |
11,5 | 0,40 | 0,47 | 0,56 | 0,68 | 0,80 | - | - | - | - | - | - | - |
13,2 | 0,34 | 0,40 | 0,47 | 0,56 | 0,68 | 0,80 | - | - | - | - | - | - |
15 | 0,29 | 0,34 | 0,40 | 0,47 | 0,56 | 0,68 | 0,80 | - | - | - | - | - |
17,4 | 0,24 | 0,29 | 0,34 | 0,40 | 0,47 | 0,56 | 0,68 | 0,80 | - | - | - | - |
20 | - | 0,24. | 0,29 | 0,34 | 0,40 | 0,47 | 0,56 | 0,68 | 0,80 | - | - | - |
23 | - | - | 0,24 | 0,29 | 0,34 | 0,40 | 0,47 | 0,56 | 0,68 | 0,80 | - | - |
26,5 | - | - | - | - | 0,29 | 0,34 | 0,40 | 0,47 | 0,56 | 0,68 | 0,80 | - |
30 | - | - | - | - | - | 0,29 | 0,34 | 0,40 | 0,47 | 0,56 | 0,68 | 0,80 |
Скорость резания V, м/мин. | Мощность резания N, квт | |||||||||||
9,9 | - | - | - | - | - | - | - | - | - | - | 0,7 | 0,8 |
11,3 | - | - | - | - | - | - | - | - | - | 0,7 | 0,8 | 0,9 |
13,1 | - | - | - | - | - | - | - | - | 0,7 | 0,8 | 0,9 | 1,1 |
15 | - | - | - | - | - | - | - | 0,7 | 0,8 | 0,9 | 1,1 | 1,2 |
17,3 | - | - | - | - | - | - | 0,7 | 0,8 | 0,9 | 1,1 | 1,2 | 1,4 |
19,9 | - | - | - | - | - | 0,7 | 0,8 | 0,9 | 1,1 | 1,2 | 1,4 | 1,6 |
22,5 | - | - | - | - | 0,7 | 0,8 | 0,9 | 1,1 | 1,2 | 1,4 | 1,6 | 1,8 |
26,3 | - | - | - | 0,7 | 0,8 | 0,9 | 1,1 | 1,2 | 1,4 | 1,6 | 1,8 | 2,1 |
30 | - | - | 0,7 | 0,8 | 0,9 | 1,1 | 1,2 | 1,4 | 1,6 | 1,8 | 2,1 | 2,4 |
34,5 | - | 0,7 | 0,8 | 0,9 | 1,1 | 1,2 | 1,4 | 1,6 | 1,8 | 2,1 | 2,4 | 2,8 |
39,8 | 0,7 | 0,8 | 0,9 | 1,1 | 1,2 | 1,4 | 1,6 | 1,8 | 2,1 | 2,4 | 2,8 | 3,1 |
Медные сплавы | Алюминиевые сплавы | |||||||||
Группы сплавов | Гетерогенные | Свинцовистые при основной гетерогенной структуре | Гомогенные | С содержанием свинца < 10% при основной гомогенной структуре | Медь | С содержанием свинца > 15% | Силумин и литейные сплавы | Силумин л литейные сплавы | Дуралюмин | |
твердые | средней твердости | |||||||||
Коэффициенты | 0,75 | 1,0 | 0,62 | 1,8 - 2,2 | 0,65 - 0,7 | 1,7 - 2,1 | 0,75 - 0,43 | 1,0 | 1,0 | 0,9 |
Сталь углеродистая и легированная, стальные отливки и чугун серый Сверла из стали Р18 | Рассверливание | |||||||
Карта 39 | ||||||||
Диаметр сверла D, мм, до | Диаметр предварительно просверленного отверстия, d, мм | Сталь углеродистая и легированная | Чугун серый | |||||
Группа подач | ||||||||
I | II | III | I | II | III | |||
Подача S, мм/об., до | ||||||||
25 | 10 | 0,53 - 0,83 | 0,38 - 0,53 | 0,23 - 0,30 | 0,83 - 1,13 | 0,53 - 0,83 | 0,30 - 0,38 | |
15 | 0,60 - 0,90 | 0,45 - 0,60 | 0,30 - 0,38 | 0,90 - 1,20 | 0,60 - 0,83 | 0,34 - 0,45 | ||
30 | 10 | 0,53 - 0,83 | 0,38 - 0,53 | 0,23 - 0,30 | 0,75 - 1,05 | 0,53 - 0,83 | 0,30 - 0,38 | |
15 | 0,53 - 0,83 | 0,38 - 0,53 | 0,23 - 0,30 | 0,83 - 1,13 | 0,60 - 0,90 | 0,34 - 0,41 | ||
20 | 0,60 - 0,90 | 0,45 - 0,60 | 0,30 - 0,38 | 0,90 - 1,20 | 0,60 - 0,90 | 0,38 - 0,45 | ||
40 | 15 | 0,60 - 0,90 | 0,38 - 0,53 | 0,23 - 0,30 | 0,75 - 1,20 | 0,53 - 0,83 | 0,30 - 0,38 | |
20 | 0,68 - 0,90 | 0,45 - 0,60 | 0,30 - 0,38 | 0,83 - 1,28 | 0,60 - 0,90 | 0,38 - 0,45 | ||
30 | 0,68 - 0,98 | 0,45 - 0,60 | 0,30 - 0,38 | 0,90 - 1,35 | 0,60 - 0,98 | 0,45 - 0,53 | ||
50 | 20 | 0,68 - 0,90 | 0,45 - 0,60 | 0,30 - 0,38 | 0,90 - 1,35 | 0,68 - 0,98 | 0,38 - 0,45 | |
30 | 0,75 - 0,98 | 0,53 - 0,68 | 0,30 - 0,38 | 0,98 - 1,50 | 0,75 - 1,05 | 0,45 - 0,53 | ||
40 | 0,75 - 1,05 | 0,60 - 0,68 | 0,38 - 0,45 | 0,98 - 1,50 | 075 - 1,05 | 0,53 - 0,60 | ||
60 | 30 | 0,68 - 0,90 | 0,53 - 0,68 | 0,30 - 0,38 | 0,90 - 1,35 | 0,68 - 0,90 | 0,41 - 0,45 | |
40 | 0,75 - 0,98 | 0,60 - 0,68 | 0,30 - 0,38 | 0,98 - 1,50 | 0,68 - 0,98 | 0,45 - 0,53 | ||
50 | 0,75 - 1,05 | 0,60 - 0,68 | 0,38 - 0,45 | 0,98 - 1,50 | 0,75 - 1,05 | 0,53 - 0,60 | ||
Сталь углеродистая, легированная и чугун серый Сверла из стали Р18 | Рассверливание | |||||||||||||||||||
Карта 40 | ||||||||||||||||||||
Сталь углеродистая и легированная | ||||||||||||||||||||
Форма заточки сверла | Подача S, мм/об., до | |||||||||||||||||||
ДП | Н и НП | |||||||||||||||||||
Разность диаметра (D - d), мм, до | ||||||||||||||||||||
11,5 | 5,5 | 0,23 | 0,31 | 0,41 | 0,56 | 0,75 | 0,98 | 1,35 | 1,8 | - | - | - | ||||||||
24 | 11,5 | 0,17 | 0,23 | 0,31 | 0,41 | 0,56 | 0,75 | 0,98 | 1,35 | 1,8 | - | - | ||||||||
50 | 24 | - | 0,17 | 0,23 | 0,31 | 0,41 | 0,56 | 0,75 | 0,98 | 1,35 | 1,8 | - | ||||||||
- | 50 | - | - | 0,17 | 0,23 | 0,31 | 0,41 | 0,56 | 0,75 | 0,98 | 1,35 | 1,8 | ||||||||
Скорость резания V, м/мин. | ||||||||||||||||||||
34,2 | 29,7 | 25,2 | 22,05 | 18,9 | 16,4 | 14,13 | 12,24 | 10,53 | 9,09 | 7,83 | ||||||||||
Чугун серый | ||||||||||||||||||||
Группа твердости по Бринелю HB | Подача S, мм/об., до | |||||||||||||||||||
143 - 229 | 170 - 255 | 197 - 269 | ||||||||||||||||||
Разность диаметров (D - d), мм, до | ||||||||||||||||||||
16 | - | - | 0,32 | 0,42 | 0,56 | 0,75 | 0,98 | 1,35 | 1,8 | 2,4 | - | |||||||||
50 | 16 | - | - | 0,32 | 0,42 | 0,56 | 0,75 | 0,98 | 1,35 | 1,8 | 2,4 | |||||||||
- | 50 | 16 | - | - | 0,32 | 0,42 | 0,56 | 0,75 | 0,98 | 1,35 | 1,8 | |||||||||
- | - | 50 | - | - | - | 0,32 | 0,42 | 0,56 | 0,75 | 0,98 | 1,35 | |||||||||
Форма заточки | Скорость резания V, м/мин. | |||||||||||||||||||
Двойная ДП | - | 28,13 | 24,75 | 22,13 | 19,5 | 17,63 | 15,75 | 13,8 | 12,3 | |||||||||||
Нормальная Н и НП | 26,25 | 23,63 | 21,0 | 18,75 | 16,5 | 14,7 | 13,16 | 11,7 | 10,35 | |||||||||||
1) | Марки инструмента | Марка инструмента | Р18 | 9ХС | ||||||||
Коэффициент Kи | 1,0 | 0,6 | ||||||||||
2) | Стойкости инструмента | Обрабатываемый материал | Материал режущей части инструмента | Периода стойкости Tм, в мин. резания | ||||||||
до 15 | 30 | 60 | 100 | 150 | 200 | 250 | 300 | 400 | ||||
Сталь | Быстрорежущая сталь | 1,5 | 1,3 | 1,1 | 1,0 | 0,9 | 0,85 | 0,8 | 0,75 | 0,65 | ||
Твердый сплав | 1,6 | 1,35 | 1,15 | 0,7 | ||||||||
Чугун | Быстрорежущая сталь | 1,3 | 1,2 | 1,1 | 1,0 | 0,25 | 0,25 | 0,9 | 0,85 | 0,8 | ||
Твердый сплав | 2,15 | 1,65 | 1,25 | 0,65 | 0,75 | 0,7 | 0,65 | 0,55 | ||||
Сталь углеродистая и легированная Сверла из стали Р18 | Рассверливание | |||||||||||||||||||||||||||
Карта 41 | ||||||||||||||||||||||||||||
Сталь | Подача S, мм/об., до | |||||||||||||||||||||||||||
до 38 | 38 - 45 | 46 - 55 | 56 - 68 | 69 - 82 | 83 - 100 | 101 - 120 | ||||||||||||||||||||||
Разность диаметров мм, до (D - d) <*>, мм, до | ||||||||||||||||||||||||||||
14,6 | 12,6 | 10,8 | - | - | - | - | 0,32 | 0,38 | 0,45 | 0,53 | 0,63 | 0,75 | 0,90 | 1,05 | 1,28 | 1,50 | - | - | - | - | - | - | - | - | - | - | - | - |
17 | 14,6 | 12,6 | 10,8 | - | - | - | 0,27 | 0,32 | 0,38 | 0,45 | 0,53 | 0,63 | 0,75 | 0,90 | 1,05 | 1,28 | 1,50 | - | - | - | - | - | - | - | - | - | - | - |
20 | 17 | 14,6 | 12,6 | 10,8 | - | - | 0,23 | 0,27 | 0,32 | 0,38 | 0,45 | 0,53 | 0,63 | 0,75 | 0,90 | 1,05 | 1,28 | 1,50 | - | - | - | - | - | - | - | - | - | - |
23 | 20 | 17 | 14,6 | 12,6 | 10,8 | - | - | 0,23 | 0,27 | 0,32 | 0,38 | 0,45 | 0,53 | 0,63 | 0,75 | 0,90 | 1,05 | 1,28 | 1,50 | - | - | - | - | - | - | - | - | - |
27 | 23 | 20 | 17 | 14,6 | 12,6 | 10,8 | - | - | 0,23 | 0,27 | 0,32 | 0,38 | 0,45 | 0,53 | 0,63 | 0,75 | 0,90 | 1,05 | 1,28 | 1,50 | - | - | - | - | - | - | - | - |
32 | 27 | 23 | 20 | 17 | 14,6 | 12,6 | - | - | - | 0,23 | 0,27 | 0,32 | 0,38 | 0,45 | 0,53 | 0,63 | 0,75 | 0,90 | 1,05 | 1,28 | 1,50 | - | - | - | - | - | - | - |
37 | 32 | 27 | 23 | 20 | 17 | 14,6 | - | - | - | - | 0,23 | 0,27 | 0,32 | 0,38 | 0,45 | 0,53 | 0,63 | 0,75 | 0,90 | 1,05 | 1,28 | 1,50 | - | - | - | - | - | - |
43 | 37 | 32 | 27 | 23 | 20 | 17 | - | - | - | - | - | 0,23 | 0,27 | 0,32 | 0,38 | 0,45 | 0,53 | 0,63 | 0,75 | 0,90 | 1,05 | 1,28 | 1,50 | - | - | - | - | - |
50 | 43 | 37 | 32 | 27 | 23 | 20 | - | - | - | - | - | - | 0,23 | 0,27 | 0,32 | 0,38 | 0,45 | 0,53 | 0,63 | 0,75 | 0,90 | 1,05 | 1,28 | 1,50 | - | - | - | - |
- | 50 | 43 | 37 | 32 | 27 | 23 | - | - | - | - | - | - | - | 0,23 | 0,27 | 0,32 | 0,38 | 0,45 | 0,53 | 0,63 | 0,75 | 0,90 | 1,05 | 1,28 | 1,50 | - | - | - |
- | - | 50 | 43 | 37 | 32 | 27 | - | - | - | - | - | - | - | - | 0,23 | 0,27 | 0,38 | 0,38 | 0,45 | 0,53 | 0,63 | 0,75 | 0,90 | 1,05 | 1,28 | 1,50 | - | - |
- | - | - | 50 | 43 | 37 | 32 | - | - | - | - | - | - | - | - | - | 0,23 | 0,27 | 0,38 | 0,38 | 0,45 | 0,53 | 0,63 | 0,75 | 0,90 | 1,05 | 1,28 | 1,50 | - |
- | - | - | - | 50 | 43 | 37 | - | - | - | - | - | - | - | - | - | - | 0,23 | 0,27 | 0,32 | 0,38 | 0,45 | 0,53 | 0,63 | 0,75 | 0,90 | 1,05 | 1,28 | 1,50 |
- | - | - | - | - | 52 | 43 | - | - | - | - | - | - | - | - | - | - | - | 0,23 | 0,27 | 0,32 | 0,38 | 0,45 | 0,53 | 0,63 | 0,75 | 0,90 | 1,05 | 1,28 |
- | - | - | - | - | - | 50 | - | - | - | - | - | - | - | - | - | - | - | - | 0,23 | 0,27 | 0,32 | 0,38 | 0,45 | 0,53 | 0,63 | 0,75 | 0,90 | 1,05 |
Скорость резания V, м/мин., до | Мощность резания N, квт | |||||||||||||||||||||||||||
9 | - | - | - | - | - | - | - | 0,8 | 0,9 | 1,1 | 1,2 | 1,4 | 1,7 | 1,8 | 2,1 | 2,4 | 2,7 | 3,1 | 3,6 | 4,2 | 4,8 | 5,5 | ||||||
10,4 | - | - | - | - | - | - | 0,8 | 0,9 | 1,1 | 1,2 | 1,4 | 1,7 | 1,8 | 2,1 | 2,4 | 2,7 | 3,1 | 3,6 | 4,2 | 4,8 | 5,5 | 6,3 | ||||||
12,3 | - | - | - | - | - | 0,8 | 0,9 | 1,1 | 1,2 | 1,4 | 1,7 | 1,8 | 2,1 | 2,4 | 2,7 | 3,1 | 3,6 | 4,2 | 4,8 | 5,5 | 6,3 | 7,4 | ||||||
73,6 | - | - | - | - | 0,8 | 0,9 | 1,1 | 1,2 | 1,4 | 1,7 | 1,8 | 2,1 | 2,4 | 2,7 | 3,1 | 3,6 | 4,2 | 4,8 | 5,5 | 6,3 | 7,4 | 8,4 | ||||||
15,7 | - | - | - | 0,8 | 0,9 | 1,1 | 1,2 | 1,4 | 1,7 | 1,8 | 2,1 | 2,4 | 2,7 | 3,1 | 3,6 | 4,2 | 4,8 | 5,5 | 6,3 | 7,4 | 8,4 | 9,5 | ||||||
18 | - | - | 0,8 | 0,9 | 1,1 | 1,2 | 1,4 | 1,7 | 1,8 | 2,1 | 2,4 | 2,7 | 3,1 | 3,6 | 4,2 | 4,8 | 5,5 | 6,3 | 7,4 | 8,4 | 9,5 | 10,9 | ||||||
20,7 | - | 0,8 | 0,9 | 1,1 | 1,2 | 1,4 | 1,7 | 1,8 | 2,1 | 2,4 | 2,7 | 3,1 | 3,6 | 4,2 | 4,8 | 5,5 | 6,3 | 7,4 | 8,4 | 9,5 | 10,9 | 12,6 | ||||||
23,8 | 0,8 | 0,9 | 1,1 | 1,2 | 1,4 | 1,7 | 1,8 | 2,1 | 2,4 | 2,7 | 3,1 | 3,6 | 4,2 | 4,8 | 5,5 | 6,3 | 7,4 | 8,4 | 9,5 | 10,9 | 12,6 | - | ||||||
27 | 0,9 | 1,1 | 1,2 | 1,4 | 1,7 | 1,8 | 2,1 | 2,4 | 2,7 | 3,1 | 3,6 | 4,2 | 4,8 | 5,5 | 6,3 | 7,4 | 8,4 | 9,5 | 10,9 | 12,6 | - | - | ||||||
31,5 | 1,1 | 1,2 | 1,4 | 1,7 | 1,8 | 2,1 | 2,4 | 2,7 | 3,1 | 3,6 | 4,2 | 4,8 | 5,5 | 6,3 | 7,4 | 8,4 | 9,5 | 10,5 | 12,6 | - | - | - | ||||||
Чугун серый Сверла из стали Р18 | Рассверливание | ||||||||||||||||||||
Карта 42 | |||||||||||||||||||||
Твердость HB | Подача S, мм/об., до | ||||||||||||||||||||
до 213 | св. 213 | ||||||||||||||||||||
Разность диаметров (D - d), мм, до | |||||||||||||||||||||
9,6 | - | 0,27 | 0,32 | 0,38 | 0,45 | 0,53 | 0,63 | 0,75 | 0,90 | 1,05 | 1,28 | 1,50 | 1,80 | - | - | - | - | - | - | - | - |
11,4 | 9,6 | 0,23 | 0,27 | 0,32 | 0,38 | 0,45 | 0,53 | 0,63 | 0,75 | 0,90 | 1,05 | 1,28 | 1,50 | 1,80 | - | - | - | - | - | - | - |
13,6 | 11,4 | - | 0,23 | 0,27 | 0,32 | 0,38 | 0,45 | 0,53 | 0,63 | 0,75 | 0,90 | 1,05 | 1,28 | 1,50 | 1,80 | - | - | - | - | - | - |
16,6 | 13,6 | - | - | 0,23 | 0,27 | 0,32 | 0,38 | 0,45 | 0,53 | 0,63 | 0,75 | 0,90 | 1,05 | 1,28 | 1,50 | 1,80 | - | - | - | - | - |
20 | 16,6 | - | - | - | 0,23 | 0,27 | 0,32 | 0,38 | 0,45 | 0,53 | 0,63 | 0,75 | 0,90 | 1,05 | 1,28 | 1,50 | 1,80 | - | - | - | - |
24 | 20 | - | - | - | - | 0,23 | 0,27 | 0,32 | 0,38 | 0,45 | 0,53 | 0,63 | 0,75 | 0,90 | 1,05 | 1,28 | 1,50 | 1,80 | - | - | - |
28,5 | 24 | - | - | - | - | - | 0,23 | 0,27 | 0,32 | 0,38 | 0,45 | 0,53 | 0,63 | 0,75 | 0,90 | 1,05 | 1,28 | 1,50 | 1,80 | - | - |
34,5 | 28,5 | - | - | - | - | - | - | 0,23 | 0,27 | 0,32 | 0,38 | 0,45 | 0,53 | 0,63 | 0,75 | 0,90 | 1,05 | 1,28 | 1,50 | 1,80 | - |
41 | 34,5 | - | - | - | - | - | - | - | 0,23 | 0,27 | 0,32 | 0,38 | 0,45 | 0,53 | 0,63 | 0,75 | 0,90 | 1,05 | 1,28 | 1,50 | 1,80 |
50 | 41 | - | - | - | - | - | - | - | - | 0,23 | 0,27 | 0,32 | 0,38 | 0,45 | 0,53 | 0,63 | 0,75 | 0,90 | 1,05 | 1,28 | 1,50 |
- | 50 | - | - | - | - | - | - | - | - | - | 0,23 | 0,27 | 0,32 | 0,38 | 0,45 | 0,53 | 0,63 | 0,75 | 0,90 | 1,05 | 1,28 |
Скорость V, м/мин., до | Мощность резания N, кВт | ||||||||||||||||||||
9,9 | - | - | - | - | - | - | - | - | 0,8 | 0,9 | 1,0 | 1,2 | 1,3 | 1,5 | 1,7 | 2,0 | 2,3 | 2,7 | 3,0 | 3,5 | |
11,3 | - | - | - | - | - | - | - | 0,8 | 0,9 | 1,0 | 1,2 | 1,3 | 1,5 | 1,7 | 2,0 | 2,3 | 2,7 | 3,0 | 3,5 | 4,0 | |
13,1 | - | - | - | - | - | - | 0,8 | 0,9 | 1,0 | 1,2 | 1,3 | 1,5 | 1,7 | 2,0 | 2,3 | 2,7 | 3,0 | 3,5 | 4,0 | 4,6 | |
15 | - | - | - | - | - | 0,8 | 0,9 | 1,0 | 1,2 | 1,3 | 1,5 | 1,7 | 2,0 | 2,3 | 2,7 | 3,0 | 3,5 | 4,0 | 4,6 | 5,3 | |
17,3 | - | - | - | - | 0,8 | 0,9 | 1,0 | 1,2 | 1,3 | 1,5 | 1,7 | 2,0 | 2,3 | 2,7 | 3,0 | 3,5 | 4,0 | 4,6 | 5,3 | 6,1 | |
19,8 | - | - | - | 0,8 | 0,9 | 1,0 | 1,2 | 1,3 | 1,5 | 1,7 | 2,0 | 2,3 | 2,7 | 3,0 | 3,5 | 4,0 | 4,6 | 5,3 | 6,1 | 7,0 | |
22,5 | - | - | 0,8 | 0,9 | 1,0 | 1,2 | 1,3 | 1,5 | 1,7 | 2,0 | 2,3 | 2,7 | 3,0 | 3,5 | 4,0 | 4,6 | 5,3 | 6,1 | 7,0 | 7,9 | |
26,3 | - | 0,8 | 0,9 | 1,0 | 1,2 | 1,3 | 1,5 | 1,7 | 2,0 | 2,3 | 2,7 | 3,0 | 3,5 | 4,0 | 4,6 | 5,3 | 6,1 | 7,0 | 7,9 | 9,2 | |
30 | 0,8 | 0,9 | 1,0 | 1,2 | 1,3 | 1,5 | 1,7 | 2,0 | 2,3 | 2,7 | 2,0 | 3,5 | 4,0 | 4,6 | 5,3 | 6,1 | 7,0 | 7,9 | 9,2 | 10,6 | |
35 | 0,9 | 1,0 | 1,2 | 1,3 | 1,5 | 1,7 | 2,0 | 2,3 | 2,7 | 3,0 | 3,5 | 4,0 | 4,6 | 5,3 | 6,1 | 7,0 | 7,9 | 9,2 | 10,6 | - | |
Сталь углеродистая и легированная, чугун серый Зенкеры из стали Р18 | Зенкерование | |||||
Карта 43 | ||||||
Диаметр зенкера D, мм, до | Сталь углеродистая и легированная | Чугун серый и ковкий HB < 229 | Чугун серый HB > 229 | |||
Группа подач | ||||||
I | II | I | II | I | II | |
Подача S, мм/об. | ||||||
15 | 0,4 - 0,5 | 0,3 - 0,35 | 0,55 - 0,7 | 0,4 - 0,5 | 0,4 - 0,5 | 0,3 - 0,35 |
20 | 0,5 - 0,55 | 0,35 - 0,4 | 0,7 - 0,9 | 0,5 - 0,55 | 0,5 - 0,6 | 0,4 - 0,44 |
25 | 0,55 - 0,7 | 0,4 - 0,5 | 0,8 - 0,95 | 0,55 - 0,65 | 0,55 - 0,65 | 0,44 - 0,5 |
30 | 0,63 - 0,8 | 0,5 - 0,55 | 0,9 - 1,05 | 0,65 - 0,7 | 0,65 - 0,7 | 0,5 - 0,55 |
35 | 0,7 - 0,9 | 0,5 - 0,55 | 0,95 - 1,2 | 0,7 - 0,8 | 0,7 - 0,8 | 0,52 - 0,6 |
40 | 0,7 - 0,95 | 0,55 - 0,64 | 1,1 - 1,35 | 0,8 - 0,95 | 0,8 - 0,95 | 0,55 - 0,64 |
50 | 0,8 - 1,05 | 0,64 - 0,7 | 1,3 - 1,6 | 0,9 - 1,05 | 0,95 - 1,1 | 0,68 - 0,8 |
60 | 0,9 - 1,05 | 0,68 - 0,7 | 1,44 - 1,75 | 0,95 - 1,1 | 1,05 - 1,2 | 0,7 - 0,9 |
80 | 0,95 - 1,2 | 0,7 - 0,9 | 1,6 - 1,9 | 1,1 - 1,35 | 1,1 - 1,35 | 0,8 - 0,95 |
Сталь углеродистая и легированная, чугун серый Зенкеры из стали Р18 | Зенкерование | ||||||||||
Карта 44 | |||||||||||
Сталь углеродистая и легированная | Диаметр D, мм, и тип зенкера | Глубина резания t, мм | Подача S, мм/об., до | ||||||||
0,34 | 0,4 | 0,6 | 0,8 | 1,0 | 1,4 | 1,9 | 2,5 | 3,2 | |||
Скорость резания V, м/мин. | |||||||||||
15 - 35 (цельные) | 0,5 - 1,0 | 25,08 | 21,68 | 18,70 | 16,15 | 13,94 | 11,99 | 10,37 | 8,93 | 7,74 | |
1,1 - 2,0 | 22,10 | 19,13 | 16,41 | 14,19 | 12,24 | 10,54 | 9,095 | 7,91 | 6,80 | ||
Св. 2,0 | 19,98 | 17,0 | 14,71 | 12,75 | 10,97 | 9,44 | 8,16 | 7,06 | 6,12 | ||
36 - 80 (насадные) | 0,5 - 1,0 | 22,95 | 19,55 | 16,92 | 14,62 | 12,58 | 10,88 | 9,35 | 8,08 | 6,97 | |
1,1 - 2,0 | 19,98 | 17,43 | 14,88 | 12,84 | 11,05 | 9,52 | 8,25 | 7,14 | 6,12 | ||
Св. 2,0 | 17,85 | 15,3 | 13,26 | 11,39 | 9,85 | 8,50 | 7,31 | 6,38 | 5,44 | ||
Чугун серый | Группа твердости по Бринелю HB | Подача S, мм/об., до | |||||||||
143 - 229 | 0,34 | 0,4 | 0,6 | 0,8 | 1,0 | 1,4 | 1,9 | 2,5 | - | ||
170 - 255 | - | 0,34 | 0,4 | 0,6 | 0,8 | 1,0 | 1,4 | 1,9 | 2,5 | ||
197 - 269 | - | - | 0,34 | 0,4 | 0,6 | 0,8 | 1,0 | 1,4 | 1,9 | ||
Диаметр D, мм, и тип зенкера | Глубина резания t, мм | Скорость резания V, м/мин. | |||||||||
15 - 35 (цельные) | 0,5 - 1,0 | 29,75 | 26,35 | 23,38 | 20,83 | 18,7 | 16,58 | 14,71 | 13,09 | 11,65 | |
1,1 - 2,0 | 28,05 | 24,65 | 22,10 | 19,55 | 17,43 | 15,47 | 13,77 | 12,24 | 10,88 | ||
36 - 80 (насадные) | 1,0 - 2,0 | 26,78 | 23,8 | 21,25 | 18,70 | 16,75 | 14,88 | 13,18 | 11,73 | 10,46 | |
2,1 - 3,0 | 25,50 | 22,95 | 20,40 | 17,85 | 15,98 | 14,20 | 12,58 | 11,22 | 9,95 | ||
1) | Состояния поверхности заготовки | Поверхность | Без корки | С коркой | ||||||||||
Коэффициент Kз | 1,0 | 0,8 | ||||||||||||
2) | Марки режущей части инструмента | Марка сплава | Р18 | ВК8 | ВК6 | ВК4 | ||||||||
Коэффициент Kи | 1,0 | 4,4 | 5,3 | 5,7 - 6,2 | ||||||||||
3) | Стойкости инструмента | Материал режущей части инструмента | Период стойкости Tм, в мин. резания | |||||||||||
15 | 30 | 60 | 100 | 150 | 200 | 250 | 300 | 400 | 600 | 800 | ||||
Сталь Р18 | Коэффициент Kv | 1,3 | 1,2 | 1,1 | 1,0 | 0,25 | 0,25 | 0,9 | 0,85 | 0,8 | 0,7 | 0,6 | ||
Твердый сплав | 2,15 | 1,65 | 1,25 | 1,0 | 0,65 | 0,75 | 0,7 | 0,65 | 0,55 | 0,50 | 0,45 | |||
Сталь углеродистая и легированная. Чугун Развертки из стали Р18 и с пластинками твердого сплава | Развертывание | ||||||||||
Карта 45 | |||||||||||
Развертки машинные из стали Р18 | Диаметр развертки D, мм, до | Сталь углеродистая и легированная | Чугун серый и ковкий HB < 229 | Чугун серый HB > 229 | |||||||
Группа подач | |||||||||||
I | II | III | I | II | III | I | II | III | |||
Подача S, мм/об., до | |||||||||||
10 | 0,72 | 0,6 | 0,45 | 2,0 | 1,5 | 1,25 | 1,5 | 1,3 | 0,9 | ||
15 | 0,81 | 0,7 | 0,54 | 2,15 | 1,7 | 1,35 | 1,7 | 1,35 | 1,1 | ||
20 | 0,9 | 0,7 | 0,63 | 2,3 | 1,8 | 1,5 | 1,8 | 1,5 | 1,25 | ||
25 | 0,99 | 0,8 | 0,72 | 2,4 | 2,0 | 1,7 | 2,0 | 1,7 | 1,35 | ||
30 | 1,1 | 0,9 | 0,72 | 2,8 | 2,15 | 1,8 | 2,15 | 1,7 | 1,35 | ||
35 | 1,2 | 0,9 | 0,81 | 2,9 | 2,3 | 1,8 | 2,3 | 1,8 | 1,35 | ||
40 | 1,25 | 1,1 | 0,9 | 3,05 | 2,4 | 2,0 | 2,4 | 1,8 | 1,5 | ||
50 | 1,35 | 1,3 | 1,1 | 3,4 | 2,6 | 2,3 | 2,8 | 2,0 | 1,7 | ||
60 | 1,5 | 1,4 | 1,3 | 3,9 | 3,05 | 2,6 | 3,1 | 2,3 | 2,0 | ||
80 и 1 выше | 1,8 | 1,5 | 1,4 | 4,5 | 3,6 | 3,05 | 3,4 | 2,4 | 2,3 | ||
Развертки машинные с пластинками твердого сплава | Диаметр развертки D, мм | ||||||||||
10 - 20 | 21 - 40 | 41 - 60 | св. 60 | ||||||||
Подача S, мм/об. | |||||||||||
0,7 - 1,1 | 0,9 - 1,2 | 0,9 - 1,4 | 1,4 - 1,8 | ||||||||
Сталь углеродистая и легированная, чугун серый Развертки из стали Р18 | Развертывание | |||||||||||
Карта 46 | ||||||||||||
Сталь углеродистая и легированная | Черновое развертывание, 3 - 4 класс точности ![]() | |||||||||||
Диаметр развертки D, мм | Подача S, мм/об., до | |||||||||||
0,45 | 0,57 | 0,72 | 0,90 | 1,20 | 1,45 | 1,80 | 2,30 | 2,90 | 3,60 | 4,50 | ||
Скорость резания, V м/мин. | ||||||||||||
10 - 20 | 12,9 | 11,7 | 9,5 | 8,3 | 7,1 | 6,1 | 5,3 | 4,6 | 4,0 | 3,4 | 3,0 | |
21 - 80 | 11,7 | 9,5 | 8,3 | 7,1 | 6,1 | 5,3 | 4,6 | 4,0 | 3,4 | 3,0 | 2,5 | |
Чистовое развертывание | ||||||||||||
Класс точности | Класс чистоты обработанной поверхности | Скорость резания V, м/мин. | ||||||||||
2 - 2а | 1,8 - 2,7 | |||||||||||
![]() | 3,6 - 4,5 | |||||||||||
Чугун серый | Развертывание, 2 - 3 класс точности | |||||||||||
Группа твердости по Бринелю HB | Подача S, мм/об., до | |||||||||||
143 - 229 | 0,56 | 0,71 | 0,90 | 1,20 | 1,45 | 1,80 | 2,34 | 3,00 | 3,70 | 4,70 | - | |
170 - 255 | - | 0,56 | 0,71 | 0,90 | 1,20 | 1,45 | 1,80 | 2,34 | 3,0 | 3,70 | 4,70 | |
197 - 269 | - | - | 0,56 | 0,71 | 0,90 | 1,20 | 1,45 | 1,80 | 2,34 | 3,00 | 3,70 | |
Диаметр развертки D, мм | Скорость резания V, м/мин. | |||||||||||
10 - 20 | 10,5 | 9,4 | 8,4 | 7,4 | 6,6 | 5,9 | 5,2 | 4,6 | 4,1 | 3,7 | 3,2 | |
21 - 80 | 9,4 | 8,4 | 7,4 | 6,6 | 5,9 | 5,2 | 4,6 | 4,1 | 3,7 | 3,2 | 2,9 | |
Сталь углеродистая и чугун серый Развертки с пластинками твердого сплава | Развертывание | |||
Карта 47 | ||||
Обрабатываемый материал | Материал режущей части инструмента | Шероховатость поверхности | Диаметр развертки, D, мм | Скорость резания V, м/мин. |
Стали конструкционные, углеродистые | Т15К6 | ![]() | - | 11 - 16 |
<= 20 | 11 | |||
> 20 | 7 | |||
Чугун серый и ковкий | ВК8 ВК6 ВК4 | ![]() | - | 11 - 16 |
Сталь углеродистая, легированная и чугун серый, ковкий Метчики из стали Р18 | Нарезание резьбы метчиками со шлифованным профилем в сквозных отверстиях | |||||||||
Карта 48, лист 1 | ||||||||||
Диаметр и шаг резьбы, мм, до | Сталь углеродистая и легированная | Чугун серый | Чугун ковкий | |||||||
Работа с охлаждением | Работа без охлаждения | |||||||||
Режимы резания | ||||||||||
V, м/мин. | n, об./мин. | N, кВт | V, м/мин. | n, об./мин. | N, кВт | V, м/мин. | n, об./мин. | N, кВт | ||
4 | 0,5 | 6,2 | 490 | 0,03 | 2,1 | 165 | 0,01 | 5,1 | 405 | 0,02 |
0,7 | 4,3 | 340 | 0,04 | 3,3 | 250 | 0,03 | 8,0 | 635 | 0,06 | |
6 | 0,75 | 7,1 | 375 | 0,08 | 5,0 | 265 | 0,06 | 12,0 | 635 | 0,12 |
1,0 | 5,4 | 285 | 0,10 | 3,9 | 205 | 0,07 | 9,4 | 450 | 0,14 | |
8 | 0,75 | 10 | 400 | 0,13 | 7,1 | 280 | 0,09 | 17,0 | 675 | 0,18 |
1,0 | 7,7 | 305 | 0,16 | 5,5 | 220 | 0,11 | 13,3 | 530 | 0,22 | |
1,25 | 6,3 | 250 | 0,18 | 4,5 | 180 | 0,13 | 10,8 | 430 | 0,26 | |
10 | 1,0 | 10 | 320 | 0,22 | 7,1 | 225 | 0,16 | 17,0 | 540 | 0,32 |
1,25 | 8,2 | 260 | 0,25 | 5,9 | 190 | 0,18 | 14,0 | 445 | 0,36 | |
1,5 | 7 | 220 | 0,28 | 4,9 | 155 | 0,20 | 11,8 | 375 | 0,40 | |
РЕЖИМЫ РЕЗАНИЯ Сталь углеродистая, легированная и чугун серый, ковкий Метчики из стали Р18 | Нарезание резьбы метчиками со шлифованным профилем в сквозных отверстиях | |||||||||
Карта 48, лист 2 | ||||||||||
Диаметр и шаг резьбы, мм, до | Сталь углеродистая и легированная | Чугун серый | Чугун ковкий | |||||||
Работа с охлаждением | Работа без охлаждения | |||||||||
Режимы резания | ||||||||||
V, м/мин. | n, об./мин. | N, кВт | V, м/мин. | n, об./мин. | N, кВт | V, м/мин. | n, об./мин. | N, кВт | ||
12 | 1,0 | 12,3 | 325 | 0,29 | 8,9 | 235 | 0,21 | 21,4 | 565 | 0,42 |
1,25 | 10,3 | 270 | 0,34 | 7,3 | 195 | 0,24 | 17,5 | 465 | 0,48 | |
1,75 | 7,6 | 200 | 0,42 | 5,4 | 110 | 0,30 | 12,8 | 340 | 0,60 | |
16 | 1,5 | 12,3 | 245 | 0,60 | 8,9 | 175 | 0,44 | 21,4 | 425 | 0,88 |
2,0 | 9,4 | 185 | 0,71 | 6,7 | 130 | 0,51 | 16,2 | 320 | 1,02 | |
20 | 1,5 | 16,2 | 260 | 0,87 | 11,4 | 180 | 0,61 | 27,4 | 435 | 1,22 |
2,5 | 10,2 | 160 | 1,18 | 7,2 | 115 | 0,83 | 17,3 | 275 | 1,66 | |
24 | 1,5 | 20 | 265 | 1,16 | 14,2 | 190 | 0,82 | 34 | 450 | 1,64 |
2,0 | 15,4 | 205 | 1,37 | 10,9 | 145 | 0,97 | 26,2 | 345 | 1,94 | |
3,0 | 10,7 | 140 | 1,75 | 7,6 | 100 | 1,24 | 18,2 | 240 | 2,48 | |
30 | 2,0 | 20 | 210 | 1,94 | 9,9 | 105 | 0,96 | 23,8 | 250 | 1,92 |
3,5 | 12,2 | 130 | 2,75 | 8,7 | 90 | 1,96 | 20,8 | 220 | 3,92 | |
36 | 3,0 | 17,3 | 150 | 3,32 | 12,4 | 110 | 2,38 | 29,8 | 260 | 4,76 |
4,0 | 13,4 | 120 | 3,96 | 9,6 | 85 | 2,84 | 23,0 | 200 | 5,68 | |
42 | 3,0 | 20,8 | 155 | 4,25 | 14,9 | 110 | 3,05 | 35,7 | 270 | 6,10 |
4,5 | 14,5 | 110 | 5,44 | 10,4 | 80 | 3,90 | 24,9 | 190 | 7,80 | |
45 | 3,0 | 22,5 | 160 | 4,73 | 16,2 | 115 | 3,40 | 38,8 | 275 | 6,80 |
4,5 | 15,7 | 110 | 6,06 | 11,2 | 80 | 4,32 | 26,9 | 190 | 8,64 | |
РЕЖИМЫ РЕЗАНИЯ Сталь углеродистая, легированная, чугун серый, ковкий Метчики из стали Р18 | Нарезание резьбы метчиками со шлифованным профилем в сквозных отверстиях | |||||||||
Карта 48, лист 3 | ||||||||||
ПОПРАВОЧНЫЕ КОЭФФИЦИЕНТЫ НА РЕЖИМЫ РЕЗАНИЯ В ЗАВИСИМОСТИ ОТ: | ||||||||||
1) | Группы и механической характеристики стали | Группа стали и предел прочности | Углеродистые | Хромистые | Хромокремнистые | Жаропрочные (Х18Н9Т) | ||||
< 50 | 50 - 80 | < 70 | 70 - 80 | < 70 | 70 - 80 | |||||
Коэффициент Kv = KN = Kp | 0,70 | 1,0 | 0,81 | 0,90 | 0,67 | 0,75 | 0,75 | |||
2) | Группы твердости чугуна HB | Твердость по Бринелю HB | Чугун серый | Чугун ковкий | ||||||
156 - 229 | 170 - 255 | 197 - 269 | 149 - 163 | до 201 | 163 - 229 | |||||
Коэффициент Kv = Kn = Kp | 1,0 | 0,7 | 0,5 | 1,0 | 0,8 | 0,65 | ||||
3) | Точности нарезаемой резьбы | Степень точности | 4Н | 6Н | 7Н | |||||
Коэффициент Kv = Kn = KN | 0,8 | 1,0 | 1,25 | |||||||
4) | Материала режущей части инструмента | Материал | Р18 | Твердый сплав | 9ХС, У10, У12 | |||||
Коэффициент K | 1,0 | 2,5 | 0,7 | |||||||
Алюминиевые сплавы из стали Р18 | Нарезание резьбы метчиками со шлифованным профилем в сквозных отверстиях | ||||
Карта 49, лист 1 | |||||
Диаметр и шаг резьбы, мм | Дуралюмин, электрон | Силумин | |||
Режимы резания | |||||
d | S | V, м/мин. | n, об./мин. | V, м/мин. | n, об./мин. |
5 | 0,8 | 7,9 | 500 | 4,8 | 305 |
6 | 0,75 | 12,3 | 650 | 7,6 | 405 |
1,0 | 10,7 | 565 | 6,5 | 345 | |
8 | 1,0 | 20,9 | 830 | 12,8 | 510 |
1,25 | 18,8 | 750 | 11,4 | 455 | |
10 | 1,0 | 35,0 | 1115 | 21,1 | 670 |
1,5 | 28,6 | 910 | 17,3 | 550 | |
12 | 1,0 | 40,6 | 1075 | 24,5 | 650 |
1,5 | 33,2 | 880 | 20,0 | 530 | |
1,75 | 30,6 | 810 | 18,5 | 490 | |
14 | 1,0 | 45,5 | 1035 | 27,5 | 625 |
1,5 | 37,1 | 840 | 22,5 | 510 | |
2,0 | 32,2 | 730 | 19,6 | 445 | |
16 | 1,0 | 36,8 | 730 | 17,6 | 350 |
1,5 | 30,2 | 609 | 14,4 | 285 | |
2,0 | 25,9 | 515 | 12,4 | 245 | |
20 | 1,0 | 40,3 | 640 | 21,0 | 335 |
1,5 | 32,8 | 520 | 17,2 | 275 | |
2,0 | 28,6 | 455 | 14,9 | 235 | |
24 | 1,0 | 46,2 | 610 | 24,1 | 320 |
1,5 | 37,7 | 500 | 19,6 | 260 | |
2,0 | 32,6 | 430 | 17,0 | 225 | |
30 | 1,0 | 55,0 | 585 | 28,7 | 305 |
1,5 | 44,9 | 475 | 23,5 | 250 | |
2,0 | 38,7 | 410 | 20,3 | 215 | |
36 | 1,5 | 36,6 | 325 | 19,6 | 175 |
2,0 | 31,7 | 280 | 16,8 | 150 | |
РЕЖИМЫ РЕЗАНИЯ Алюминиевые сплавы из стали Р18 | Нарезание резьбы метчиками со шлифованным профилем в сквозных отверстиях | ||||
Карта 49, лист 2 | |||||
Диаметр и шаг резьбы, мм | Дуралюмин, электрон | Силумин | |||
Режимы резания | |||||
d | S | V, м/мин. | n, об./мин. | V, м/мин. | n, об./мин. |
42 | 1,5 | 41,4 | 315 | 21,9 | 165 |
2,0 | 35,9 | 270 | 19,0 | 145 | |
48 | 1,5 | 46,3 | 305 | 24,5 | 160 |
2,0 | 40,0 | 265 | 21,3 | 140 | |
Фрезы торцовые | ||||
Карта 50 | ||||
Подача на один зуб Sz, мм/зуб | ||||
Мощность станка N, кВт | Фрезы с пластинками твердого сплава | Фрезы из стали Р18 | ||
Обрабатываемый материал | ||||
Сталь | Чугун | Сталь | Медные и алюминиевые сплавы | |
Подача Sz, мм/зуб | Подача Sz, мм/зуб | |||
Св. 10 | 0,24 - 0,3 | 0,5 - 0,64 | 0,15 - 0,25 | 0,3 - 0,5 |
5 - 10 | 0,18 - 0,22 | 0,38 - 0,45 | 0,06 - 0,10 | 0,15 - 0,3 |
До 5 | - | - | 0,04 - 0,06 | 0,12 - 0,25 |
1) Марки инструмента | ||||||||
Обрабатываемый материал | Сталь | Чугун | ||||||
Твердый сплав | Т15К16 | Т5К10 | ВК8 | ВК6 | ||||
Коэффициент КВ | 1,0 | 0,75 | 1,0 | 0,7 | ||||
2) Шероховатости поверхности | ||||||||
Марка инструмента | Шероховатость поверхности | |||||||
![]() | ![]() | ![]() | ||||||
Поправочный коэффициент Ks | ||||||||
Твердый сплав | - | 1,0 | 0,6 | 0,4 | 0,2 | |||
Быстрорежущая сталь | 1,0 | 0,7 | 0,4 | 0,3 | - | |||
3) Главного угла в плане | ||||||||
Главный угол в плане | 90° | 60° - 45° | ||||||
Коэффициент Ks | 0,8 | 1,0 | ||||||
Сталь конструкционная углеродистая и легированная, жаропрочная Х18Н9Т | Фрезы торцовые с пластинками твердого сплава | ||||||||||||||||||
Карта 51 | |||||||||||||||||||
D/z | I, мм, до | Подача на зуб фрезы Sz, мм, до | |||||||||||||||||
0,05 | 0,07 | 0,1 | 0,13 | 0,18 | 0,24 | ||||||||||||||
Режимы резания | |||||||||||||||||||
V | n | Sм | V | n | Sм | V | n | Sм | V | n | Sм | V | n | Sм | V | n | Sм | ||
80/5 | 5,0 | 278 | 1100 | 285 | 250 | 990 | 320 | 224 | 890 | 384 | 200 | 800 | 460 | 176 | 700 | 544 | 156 | 620 | 650 |
1,5 | 311 | 1210 | 299 | 280 | 1120 | 360 | 253 | 1000 | 435 | 225 | 886 | 520 | 199 | 790 | 615 | 176 | 700 | 735 | |
110/5 | 5,0 | 278 | 900 | 153 | 250 | 720 | 184 | 224 | 650 | 223 | 199 | 575 | 268 | 176 | 510 | 318 | 155 | 450 | 378 |
1,5 | 311 | 905 | 173 | 280 | 815 | 208 | 253 | 730 | 252 | 235 | 652 | 302 | 199 | 575 | 360 | 176 | 508 | 428 | |
150/6 | 16 | 339 | 522 | 153 | 305 | 470 | 185 | 208 | 425 | 219 | 176 | 374 | 261 | 155 | 321 | 300 | 138 | 293 | 372 |
5 | 280 | 595 | 173 | 252 | 535 | 208 | 225 | 480 | 248 | 199 | 424 | 296 | 176 | 352 | 348 | 157 | 332 | 420 | |
200/8 | 16 | 234 | 372 | 144 | 210 | 335 | 174 | 188 | 296 | 205 | 167 | 265 | 247 | 148 | 234 | 297 | 131 | 209 | 350 |
5 | 264 | 423 | 163 | 238 | 380 | 196 | 213 | 335 | 232 | 189 | 300 | 280 | 167 | 264 | 336 | 149 | 236 | 395 | |
250/8 | 16 | 234 | 300 | 114 | 210 | 270 | 137 | 188 | 240 | 166 | 167 | 212 | 198 | 148 | 188 | 234 | 132 | 166 | 280 |
5 | 264 | 338 | 129 | 238 | 304 | 156 | 213 | 272 | 188 | 189 | 240 | 224 | 167 | 212 | 264 | 149 | 188 | 316 | |
320/10 | 16 | 224 | 216 | 107 | 202 | 195 | 129 | 178 | 177 | 152 | 160 | 159 | 184 | 140 | 140 | 219 | 125 | 125 | 261 |
5 | 254 | 253 | 120 | 228 | 228 | 145 | 202 | 200 | 172 | 180 | 180 | 208 | 159 | 158 | 248 | 142 | 142 | 296 | |
400/12 | 16 | 209 | 165 | 95 | 188 | 149 | 114 | 167 | 133 | 137 | 148 | 118 | 162 | 131 | 105 | 194 | 118 | 94 | 234 |
5 | 236 | 187 | 107 | 212 | 168 | 129 | 189 | 150 | 156 | 167 | 133 | 184 | 149 | 118 | 220 | 133 | 105 | 264 | |
1) | Механической характеристики конструкционных углеродистых сталей | Сталь НВ | До 56 | 56 - 62 | 63 - 70 | 71 - 79 | 80 - 89 | 90 - 100 | ||
До 160 | 160 - 177 | 180 - 200 | 203 - 226 | 228 - 255 | 257 - 285 | |||||
Коэффициент Kv = Kn = Ksм | 1,42 | 1,26 | 1,12 | 1,0 | 0,89 | 0,79 | ||||
2) | Состояния обрабатываемой поверхности | Поверхность | Без корки | С коркой | ||||||
Поковка или штамповка | Отливка | |||||||||
Коэффициент Kv = Kn = Ksм | 1,0 | 0,9 | 0,8 | |||||||
3) | Отношения ширины фрезерования к диаметру фрезы | B/D фр. | До 0,45 | 0,45 - 0,8 | Св. 0,8 | |||||
Коэффициент Kv = Kn = Ksм | 1,13 | 1,0 | 0,89 | |||||||
4) | Главного угла в плане | Главный угол в плане | 90° | 60° | 45° | |||||
Коэффициент Kv = Kn | 1,0 | 1,0 | 1,0 | |||||||
Коэффициент Ksм | 0,7 | 1,0 | 1,0 | |||||||
5) | Марки твердого сплава инструмента | Марка твердого сплава | Т15К6 | Т14К8 | ТТ7К12 | Т5К12В | Т5К10 | |||
Коэффициент Kv | 1,0 | 0,94 | 0,45 | 0,42 | - | |||||
Коэффициент Kv = Kn = Ksм | - | - | - | - | 0,65 | |||||
6) | Марки жаропрочных сталей | Марка стали | Т18Н9Т (ЭЯ1Т) | Х17Н2 (ЭН268) | Х17Г9АН4 (ЭИ878) | ВТЗ-1 | ||||
Коэффициент Kv = Kn = Ksм | 0,15 | 0,12 | 0,09 | 0,08 | ||||||
Сталь | Фрезы торцовые с пластинками твердого сплава | ||||||||||||||||||||||||||
Карта 52 | |||||||||||||||||||||||||||
Сталь | Глубина резания t, мм, до | ||||||||||||||||||||||||||
НВ | |||||||||||||||||||||||||||
До 56 | 56 - 100 | Св. 100 | |||||||||||||||||||||||||
До 160 | 160 - 285 | Св. 285 | |||||||||||||||||||||||||
Ширина фрезерования B, мм, до | |||||||||||||||||||||||||||
45 | 38 | - | 1,4 | 1,7 | 2,0 | 2,4 | 2,9 | 3,5 | 4,2 | 4,9 | 5,9 | 7,0 | 8,4 | 10 | 12 | - | - | - | - | - | - | - | - | - | - | - | - |
52 | 45 | 38 | 1,2 | 1,4 | 1,7 | 2,0 | 2,4 | 2,9 | 3,5 | 4,2 | 4,9 | 5,9 | 7,0 | 8,4 | 10 | 12 | - | - | - | - | - | - | - | - | - | - | - |
62 | 52 | 45 | - | 1,2 | 1,4 | 1,7 | 2,0 | 2,4 | 2,9 | 3,5 | 4,2 | 4,9 | 5,9 | 7,0 | 8,4 | 10 | 12 | - | - | - | - | - | - | - | - | - | - |
72 | 62 | 52 | - | - | 1,2 | 1,4 | 1,7 | 2,0 | 2,4 | 2,9 | 3,5 | 4,2 | 4,9 | 5,9 | 7,0 | 8,4 | 10 | 12 | - | - | - | - | - | - | - | - | - |
85 | 72 | 62 | - | - | - | 1,2 | 1 | 1,7 | 2,0 | 2,4 | 2,9 | 3,5 | 4,2 | 4,9 | 5,9 | 7,0 | 8,4 | 10 | 12 | - | - | - | - | - | - | - | - |
100 | 85 | 72 | - | - | - | - | 1,2 | 1,4 | 1,7 | 2,0 | 2,4 | 2,9 | 3,5 | 4,2 | 4,9 | 5,9 | 7,0 | 8,4 | 10 | 12 | - | - | - | - | - | - | - |
117 | 100 | 85 | - | - | - | - | - | 1,2 | 1,4 | 1,7 | 2,0 | 2,4 | 2,9 | 3,5 | 4,2 | 4,9 | 5,9 | 7,0 | 8,4 | 10 | 12 | - | - | - | - | - | - |
138 | 117 | 100 | - | - | - | - | - | - | 1,2 | 1,4 | 1,7 | 2,0 | 2,4 | 2,9 | 3,5 | 4,2 | 4,9 | 5,9 | 7,0 | 8,4 | 10 | 12 | - | - | - | - | - |
162 | 138 | 117 | - | - | - | - | - | - | - | 4,2 | 1,4 | 1,7 | 2,0 | 2,4 | 2,9 | 3,5 | 4,2 | 4,9 | 5,9 | 7,0 | 8,4 | 10 | 12 | - | - | - | - |
190 | 162 | 138 | - | - | - | - | - | - | - | - | 1,2 | 1,4 | 1,7 | 2,0 | 2,4 | 2,9 | 3,5 | 4,2 | 4,9 | 5,9 | 7,0 | 8,4 | 10 | 12 | - | - | - |
214 | 190 | 162 | - | - | - | - | - | - | - | - | - | 1,2 | 1,4 | 1,7 | 2,0 | 2,4 | 2,9 | 3,5 | 4,2 | 4,9 | 5,9 | 7,0 | 8,4 | 10 | 12 | - | - |
250 | 214 | 190 | - | - | - | - | - | - | - | - | - | - | 1,2 | 1,4 | 1,7 | 2,0 | 2,4 | 2,9 | 3,5 | 4,2 | 4,9 | 5,9 | 7,0 | 8,4 | 10 | 12 | - |
295 | 250 | 214 | - | - | - | - | - | - | - | - | - | - | - | 1,2 | 1,4 | 1,7 | 2,0 | 2,4 | 2,9 | 3,5 | 4,2 | 4,9 | 5,9 | 7,0 | 8,4 | 10 | 12 |
350 | 295 | 2<...> | - | - | - | - | - | - | - | - | - | - | - | - | 1,2 | 1,4 | 1,7 | 2,0 | 2,4 | 2,9 | 3,5 | 4,2 | 4,9 | 5,9 | 7,0 | 8,4 | 10 |
- | 350 | 295 | - | - | - | - | - | - | - | - | - | - | - | - | - | 1,2 | 1,4 | 1,7 | 2,0 | 2,4 | 2,9 | 3,5 | 4,2 | 4,9 | 5,9 | 7,0 | 8,4 |
- | - | 350 | - | - | - | - | - | - | - | - | - | - | - | - | - | - | 1,2 | 1,4 | 1,7 | 2.0 | 2,4 | 2,9 | 3,5 | 4,2 | 4,9 | 5,9 | 7,0 |
Диаметр фрезы в мм и число зубьев D x z | Мощность резания N, кВт | |||||||||||||||||||||||||
80 x 5 | 110 x 4 150 x 6 200 x 8 | 250 x 8 320 x 10 400 x 12 | ||||||||||||||||||||||||
Минутная подача Sм, мм/мин. | ||||||||||||||||||||||||||
- | - | 106 | - | - | - | - | - | - | - | 1,1 | 1,3 | 1,6 | 1,9 | 2,3 | 2,7 | 3,2 | 3,8 | 4,6 | 5,5 | 6,6 | 7,8 | 9,4 | 11 | 13 | 16 | 19 |
9 | 110 | 132 | - | - | - | - | - | - | 1,1 | 1,3 | 1,6 | 1,9 | 2,3 | 2,7 | 3,2 | 3,8 | 4,6 | 5,5 | 6,6 | 7,8 | 9,4 | 11 | 13 | 16 | 19 | 22,5 |
116 | 140 | 165 | - | - | - | - | - | 1,1 | 1,3 | 1,9 | 1,9 | 2,3 | 2,7 | 3,2 | 3,8 | 4,6 | 5,5 | 6,6 | 7,8 | 9,4 | 11 | 13 | 16 | 19 | 22,5 | 27 |
145 | 175 | 200 | - | - | - | - | 1,1 | 1,3 | 1,9 | 1,9 | 2,3 | 2,7 | 3,2 | 3,8 | 4,6 | 5,5 | 6,6 | 7,8 | 9,4 | 11 | 13 | 16 | 19 | 22,5 | 27 | - |
181 | 220 | 255 | - | - | - | 1,1 | 1,3 | 1.6 | 1,9 | 2,3 | 2,7 | 3,2 | 3,8 | 4,6 | 5,5 | 6,6 | 7,8 | 9,4 | 11 | 13 | 16 | 19 | 22,5 | 27 | - | - |
230 | 270 | 320 | - | - | 1,1 | 1,3 | 1,6 | 1,9 | 2,3 | 2,7 | 3,2 | 3,8 | 4,6 | 5,5 | 6,6 | 7,8 | 9,4 | 11 | 13 | 16 | 19 | 22,5 | 27 | - | - | - |
282 | 340 | 400 | - | 1,1 | 1,3 | 1,6 | 1,9 | 2,3 | 2,7 | 3,2 | 3,8 | 4,6 | 5,5 | 6,6 | 7,8 | 9,4 | 11 | 13 | 16 | 19 | 22,5 | 27 | - | - | - | - |
350 | 420 | 500 | 1,1 | 1,3 | 1,6 | 1,9 | 2,3 | 2,7 | 3,2 | 3,8 | 4,6 | 5,5 | 6,6 | 7,8 | 9,4 | 11 | 13 | 16 | 19 | 22,5 | 27 | - | - | - | - | - |
440 | 530 | 620 | 1,3 | 1,6 | 1,9 | 2,3 | 2,7 | 3,2 | 3,8 | 4,6 | 5,5 | 6,6 | 7,8 | 9,4 | 11 | 13 | 16 | 19 | 22,5 | 27 | - | - | - | - | - | - |
550 | 660 | 770 | 1,6 | 1,9 | 2,3 | 2,7 | 3,2 | 3,8 | 4,6 | 5,5 | 6,6 | 7,8 | 9,4 | 11 | 13 | 16 | 19 | 22,5 | 27 | - | - | - | - | - | - | - |
680 | 820 | 960 | 1,9 | 2,3 | 2,7 | 3,2 | 3,8 | 4,6 | 5,5 | 6,6 | 7,8 | 9,4 | 11 | 13 | 16 | 19 | 22,5 | 27 | - | - | - | - | - | - | - | - |
850 | 1030 | 1200 | 2,3 | 2.7 | 3,2 | 3,8 | 4,6 | 5,5 | 6,6 | 7,8 | 9,4 | 11 | 13 | 16 | 19 | 22,5 | 27 | - | - | - | - | - | - | - | - | - |
1070 | 1280 | 1500 | 2,7 | 3,2 | 3,8 | 4,6 | 5,5 | 6,6 | 7,8 | 9,4 | 11 | 13 | 16 | 19 | 22,5 | 27 | - | - | - | - | - | - | - | - | - | - |
1340 | 1600 | - | 3,2 | 3,8 | 4,6 | 5,5 | 6,6 | 7,8 | 9,4 | 11 | 13 | 16 | 19 | 22,5 | 27 | - | - | - | - | - | - | - | - | - | - | - |
1670 | - | - | 3,8 | 4,6 | 5,5 | 6,6 | 7,8 | 9,4 | 11 | 13 | 16 | 19 | 22,5 | 27 | - | - | - | - | - | - | - | - | - | - | - | - |
1) Главного угла в плане | Главный угол в плане | 15 | 30 | 60 | 75 | 90 | 2) Переднего угла | Передний угол | -10 | 0 | +10 |
Коэффициент KN | 1,23 | 1,15 | 1,0 | 1,06 | 1,14 | Коэффициент KN | 1,0 | 0,89 | 0,79 |
Чугун серый | Фрезы торцовые с пластинками ВК6 | ||||||||||||||||||
Карта 53, лист 1 | |||||||||||||||||||
D/Z | t, мм, до | Подача на один зуб фрезы S, мм/зуб, до | |||||||||||||||||
0,07 | 0,1 | 0,13 | 0,18 | 0,26 | 0,36 | ||||||||||||||
Режимы резания | |||||||||||||||||||
V | n | Sм | V | n | Sм | V | n | Sм | V | n | Sм | V | n | Sм | V | n | Sм | ||
75/10 | 1,5 | 230 | 975 | 584 | 208 | 880 | 704 | 186 | 788 | 888 | - | - | - | - | - | - | - | - | - |
3,5 | 206 | 875 | 524 | 186 | 788 | 632 | 163 | 692 | 780 | - | - | - | - | - | - | - | - | - | |
7,5 | 180 | 768 | 460 | 163 | 692 | 556 | 145 | 612 | 688 | - | - | - | - | - | - | - | - | - | |
1,5 | 230 | 815 | 488 | 208 | 736 | 588 | 186 | 695 | 780 | 163 | 576 | 904 | - | - | - | - | - | - | |
90/10 | 3,5 | 206 | 772 | 460 | 186 | 696 | 556 | 163 | 576 | 644 | 145 | 512 | 880 | - | - | - | - | - | - |
7,5 | 180 | 640 | 380 | 163 | 576 | 460 | 145 | 512 | 572 | 130 | 460 | 720 | - | - | - | - | - | - | |
110/12 | 1,5 | 202 | 586 | 420 | 182 | 528 | 508 | 162 | 468 | 640 | 144 | 416 | 780 | 126 | 364 | 960 | - | - | - |
3,5 | 180 | 520 | 370 | 162 | 468 | 448 | 144 | 416 | 560 | 126 | 364 | 684 | 113 | 328 | 872 | - | - | - | |
7,5 | 159 | 460 | 330 | 144 | 416 | 400 | 126 | 364 | 488 | 113 | 328 | 620 | 101 | 292 | 768 | - | - | - | |
150/14 | 1,5 | 202 | 430 | 360 | 182 | 388 | 436 | 162 | 344 | 536 | 144 | 304 | 664 | 126 | 268 | 824 | 113 | 240 | 1032 |
3,5 | 180 | 380 | 320 | 162 | 344 | 384 | 144 | 304 | 476 | 126 | 268 | 588 | 113 | 240 | 740 | 101 | 216 | 986 | |
7,5 | 159 | 337 | 282 | 144 | 304 | 340 | 126 | 267 | 420 | 113 | 240 | 528 | 101 | 216 | 664 | 97 | 192 | 832 | |
200/16 | 1,5 | 202 | 310 | 299 | 182 | 280 | 360 | 162 | 256 | 460 | 144 | 232 | 594 | 126 | 200 | 704 | 113 | 180 | 895 |
3,5 | 180 | 284 | 272 | 162 | 256 | 328 | 144 | 232 | 416 | 126 | 200 | 504 | 113 | 180 | 636 | 101 | 160 | 790 | |
7,5 | 159 | 257 | 245 | 144 | 232 | 296 | 126 | 200 | 360 | 113 | 180 | 452 | 101 | 160 | 564 | 89 | 142 | 712 | |
250/20 | 3,5 | 164 | 208 | 250 | 148 | 188 | 300 | 132 | 168 | 376 | 116 | 148 | 468 | 102 | 130 | 576 | 92 | 117 | 724 |
7,5 | 146 | 186 | 222 | 132 | 168 | 268 | 116 | 148 | 332 | 102 | 130 | 408 | 92 | 113 | 516 | 82 | 104 | 648 | |
16 | 128 | 165 | 195 | 116 | 148 | 236 | 102 | 130 | 292 | 92 | 117 | 364 | 82 | 104 | 456 | 72 | 92 | 568 | |
300/22 | 3,5 | 153 | 162 | 212 | 138 | 146 | 256 | 122 | 130 | 320 | 109 | 116 | 400 | 97 | 102 | 496 | 86 | 90 | 616 |
7,5 | 135 | 144 | 189 | 122 | 130 | 228 | 109 | 116 | 288 | 97 | 102 | 352 | 87 | 90 | 436 | 77 | 82 | 560 | |
16 | 120 | 129 | 169 | 109 | 116 | 204 | 97 | 102 | 252 | 86 | 90 | 312 | 77 | 82 | 392 | 69 | 73 | 496 | |
350/94 | 3,5 | 153 | 139 | 200 | 138 | 125 | 240 | 122 | 111 | 300 | 1099 | 99 | 376 | 97 | 88 | 464 | 86 | 78 | 580 |
7,5 | 135 | 123 | 179 | 192 | 111 | 216 | 109 | 99 | 268 | 97 | 88 | 332 | 87 | 78 | 412 | 77 | 70 | 520 | |
16 | 120 | 110 | 160 | 109 | 99 | 192 | 97 | 88 | 240 | 86 | 78 | 396 | 77 | 70 | 368 | 68 | 62 | 464 | |
400/28 | 3,5 | 136 | 109 | 182 | 123 | 98 | 220 | 110 | 87 | 276 | 98 | 78 | 340 | 86 | 67 | 424 | 78 | 62 | 536 |
7,5 | 122 | 97 | 163 | 110 | 87 | 196 | 98 | 78 | 244 | 86 | 67 | 304 | 78 | 62 | 380 | 67 | 55 | 480 | |
16 | 108 | 86 | 143 | 98 | 78 | 172 | 86 | 67 | 216 | 78 | 62 | 272 | 67 | 55 | 340 | 61 | 48 | 416 | |
РЕЖИМЫ РЕЗАНИЯ Чугун серый | Фрезы торцовые с пластинками ВК6 | |||||
Карта 53, лист 2 | ||||||
ПОПРАВОЧНЫЕ КОЭФФИЦИЕНТЫ НА РЕЖИМЫ РЕЗАНИЯ ДЛЯ ИЗМЕНЕННЫХ УСЛОВИЙ РАБОТЫ В ЗАВИСИМОСТИ ОТ: | ||||||
1) | Твердости чугуна | Группы твердости чугуна HB | 143 - 229 | 170 - 255 | 197 - 269 | |
Коэффициент Kv = Kn = Ksм | 1,0 | 0,89 | 0,79 | |||
2) | Состояния обрабатываемой поверхности | Коэффициент Kv = Kn = Ksм | Без корки | С коркой | ||
1,0 | 0,8 | |||||
3) | Отношения ширины фрезерования к диаметру фрезы | B/D фр | До 0,45 | 0,45 - 0,8 | Св. 0,8 | |
Коэффициент Kv = Kn = Ksм | 1,13 | 1,0 | 0,89 | |||
4) | Главного угла в плане | Главный угол в плане | 90 | 60 | 45 | |
Коэффициент Ksz | Коэффициент Ksz | 1,0 | 1,0 | |||
Kv = Kn (с учетом увеличения подачи) | 0,95 | 1,0 | 1,1 | |||
Ksм | 0,65 | 1,0 | 1,1 | |||
Чугун серый | Фрезы торцовые с пластинками твердого сплава | ||||||||||||||||||||||||||||
Карта 54, лист 1 | |||||||||||||||||||||||||||||
Группы твердости чугуна HB | Глубина резания t, мм | ||||||||||||||||||||||||||||
До 229 | Св. 229 | ||||||||||||||||||||||||||||
Ширина фрезерования B, мм, до | |||||||||||||||||||||||||||||
35 | - | 1,0 | 1,2 | 1,5 | 1,8 | 2,2 | 2,7 | 3,3 | 4,0 | 5,0 | 6,0 | 7,3 | 9,0 | 11 | 13 | - | - | - | - | - | - | - | - | - | - | - | - | - | - |
42 | 35 | - | 1,0 | 1,2 | 1,5 | 1,8 | 2,2 | 2,7 | 3,3 | 4,0 | 5,0 | 6,0 | 7,3 | 9,0 | 11 | 13 | - | - | - | - | - | - | - | - | - | - | - | - | |
50 | 42 | - | - | 1,0 | 1,2 | 1,5 | 1,8 | 2,2 | 2,7 | 3,3 | 4,0 | 5,0 | 6,0 | 7,3 | 9,0 | 11 | 13 | - | - | - | - | - | - | - | - | - | - | - | - |
60 | 50 | - | - | - | 1,0 | 1,2 | 1,5 | 1,8 | 2,2 | 2,7 | 3,3 | 4,0 | 5,0 | 6,0 | 7,3 | 9,0 | 11 | 13 | - | - | - | - | - | - | - | - | - | - | - |
70 | 60 | - | - | - | - | 1,0 | 1,2 | 1.5 | 1,8 | 2,2 | 2,7 | 3,3 | 4,0 | 5,0 | 6,0 | 7,3 | 9,0 | 11 | 13 | - | - | - | - | - | - | - | - | - | - |
85 | 70 | - | - | - | - | - | 1,0 | 1,2 | 1,5 | 1,8 | 2,2 | 2,7 | 3,3 | 4,0 | 5,0 | 6,0 | 7,3 | 9,0 | 11 | 13 | - | - | - | - | - | - | - | - | - |
100 | 85 | - | - | - | - | - | - | 1,0 | 1,2 | 1,5 | 1,8 | 2,2 | 2,7 | 3,3 | 4,0 | 5,0 | 6,0 | 7,3 | 9,0 | 11 | 13 | - | - | - | - | - | - | - | - |
120 | 100 | - | - | - | - | - | - | - | 1,0 | 1,2 | 1,5 | 1,8 | 2,2 | 2,7 | 3,3 | 4,0 | 5,0 | 6,0 | 7,3 | 9,0 | 11 | 13 | - | - | - | - | - | - | - |
145 | 120 | - | - | - | - | - | - | - | - | 1,0 | 1,2 | 1,5 | 1,8 | 2,2 | 2,7 | 3,3 | 4,0 | 5,0 | 6,0 | 7,3 | 9,0 | 11 | 13 | - | - | - | - | - | - |
170 | 145 | - | - | - | - | - | - | - | - | - | 1,0 | 1,2 | 1,5 | 1,8 | 2,2 | 2,7 | 3,3 | 4,0 | 5,0 | 6,0 | 7,3 | 9,0 | 11 | 13 | - | - | - | - | - |
205 | 170 | - | - | - | - | - | - | - | - | - | - | 1,0 | 1,2 | 1,9 | 1,8 | 2,2 | 2,7 | 3,3 | 4,0 | 5,0 | 6,0 | 7,3 | 9,0 | 11 | 13 | - | - | - | - |
245 | 205 | - | - | - | - | - | - | - | - | - | - | - | 1,0 | 1,2 | 1,5 | 1,8 | 2,2 | 2,7 | 3,3 | 4,0 | 5,0 | 6,0 | 7,3 | 9,0 | 11 | 13 | - | - | - |
295 | 245 | - | - | - | - | - | - | - | - | - | - | - | - | 1,0 | 1,2 | 1,5 | 1,8 | 2,2 | 2,7 | 3,3 | 4,0 | 5,0 | 6,0 | 7,3 | 9,0 | 11 | 13 | - | - |
- | 295 | - | - | - | - | - | - | - | - | - | - | - | - | - | 1,0 | 1,2 | 1,5 | 1,8 | 2,2 | 2.7 | 3,3 | 4,0 | 5,0 | 6,0 | 7,3 | 9,0 | 11 | 13 | - |
а | б | в | г | д | е | ж | з | и | к | л | м | н | о | п | р | с | т | у | ф | х | ц | ч | ш | щ | э | ю | я | ||
МОЩНОСТЬ ПОТРЕБНАЯ НА РЕЗАНИЕ Чугун серый | Фрезы торцевые с пластинками твердого сплава | ||||||||||||||||||||||||||||||
Карта 54, лист 2 | |||||||||||||||||||||||||||||||
Подача на один зуб фрезы Sz, мм/зуб (для всех диаметров фрез) | Мощность резания N, кВт | ||||||||||||||||||||||||||||||
0,13 | 0,25 | 0,5 | 1,0 | ||||||||||||||||||||||||||||
Минутная подача Sм, мм/мин., до | |||||||||||||||||||||||||||||||
- | - | - | 160 | - | - | - | - | - | - | - | - | - | - | - | - | 1,1 | 1,3 | 1,6 | 1,9 | 2,3 | 2,7 | 3,3 | 3,8 | 4,6 | 5,5 | 6,6 | 7,8 | 9,4 | 11,0 | 13,3 | 15,9 |
- | - | 100 | 100 | - | - | - | - | - | - | - | - | - | - | - | 1,1 | 1,3 | 1,6 | 1,9 | 2,3 | 2,7 | 3,3 | 3,8 | 4,6 | 5,5 | 6,6 | 7,8 | 9,4 | 11,0 | 13,3 | 15,9 | 19,0 |
160 | 160 | 190 | 230 | - | - | - | - | - | - | - | - | - | - | 1,1 | 1,3 | 1,6 | 1,9 | 2,3 | 2,7 | 3,3 | 3,8 | 4,6 | 5,5 | 6,6 | 7,8 | 9,4 | 11,0 | 13,3 | 15,9 | 19,0 | 22,5 |
160 | 190 | 230 | 270 | - | - | - | - | - | - | - | - | - | 1,1 | 1,3 | 1,6 | 1,9 | 2,3 | 2,7 | 3,3 | 3,8 | 4,6 | 5,5 | 6,6 | 7,8 | 9,4 | 11,0 | 13,3 | 15,9 | 19,0 | 22,5 | 27,0 |
190 | 230 | 270 | 325 | - | - | - | - | - | - | - | - | 1,1 | 1,3 | 1,6 | 1,9 | 2,3 | 2,7 | 3,3 | 3,8 | 4,6 | 5,5 | 6,6 | 7,8 | 9,4 | 11,0 | 13,3 | 15,9 | 19,0 | 22,5 | 27,0 | - |
230 | 270 | 325 | 385 | - | - | - | - | - | - | - | 1,1 | 1,3 | 1,6 | 1,9 | 2,3 | 2,7 | 3,3 | 3,8 | 4,6 | 5,5 | 6,6 | 7,8 | 9,4 | 11,0 | 13,3 | 15,9 | 19,0 | 22,5 | 27,0 | - | - |
270 | 325 | 385 | 460 | - | - | - | - | - | - | - | 1,3 | 1,6 | 1,9 | 2,3 | 2,7 | 3,3 | 3,8 | 4,6 | 5,5 | 6,6 | 7,8 | 9,4 | 11,0 | 13,3 | 15,9 | 19,0 | 22,5 | 27,0 | - | - | - |
325 | 385 | 460 | 550 | - | - | - | - | - | 1,1 | 1,3 | 1,6 | 1,9 | 2,3 | 2,7 | 3,3 | 3,8 | 4,6 | 5,5 | 6,6 | 7,8 | 9,4 | 11,0 | 13,3 | 15,9 | 19,0 | 22,5 | 27,0 | - | - | - | - |
385 | 460 | 550 | 660 | - | - | - | - | 1,1 | 1,3 | 1,6 | 1,9 | 2,3 | 2,7 | 3,3 | 3,8 | 4,6 | 5,5 | 6,6 | 7,8 | 9,4 | 11,0 | 13,3 | 15,9 | 19,0 | 22,5 | 27,0 | - | - | - | - | - |
460 | 550 | 660 | 790 | - | - | - | 1,1 | 1,3 | 1,6 | 1,9 | 2,3 | 2,7 | 3,3 | 3,8 | 4,6 | 5,5 | 6,6 | 7,8 | 9,4 | 11,0 | 13,0 | 15,9 | 19,0 | 22,5 | 27,0 | - | - | - | - | - | - |
550 | 660 | 790 | 940 | - | - | 1,1 | 1,3 | 1,6 | 1,9 | 2,3 | 2,7 | 3,3 | 3,8 | 4,6 | 5,5 | 6,6 | 7,8 | 9,4 | 11,0 | 13,0 | 15,9 | 19,0 | 22,5 | 27,0 | - | - | - | - | - | - | - |
660 | 790 | 940 | 1120 | - | 1,1 | 1,3 | 1,6 | 1,9 | 2,3 | 2,7 | 3,3 | 3,8 | 4,6 | 5,5 | 6,6 | 7,8 | 9,4 | 11,0 | 13,0 | 15,9 | 19,0 | 22,5 | 27,0 | - | - | - | - | - | - | - | - |
790 | 940 | 1120 | - | 1,1 | 1,3 | 1,6 | 1,9 | 2,3 | 2,7 | 3,3 | 3,8 | 4,6 | 5,5 | 6,6 | 7,8 | 9,4 | 11,0 | 13,0 | 15,9 | 19,0 | 22,5 | 27,0 | - | - | - | - | - | - | - | - | - |
940 | 1120 | - | - | 1,3 | 1,6 | 1,9 | 2,3 | 2,7 | 3,3 | 3,8 | 4,6 | 5,5 | 6,6 | 7,8 | 9,4 | 11,0 | 13,0 | 15,9 | 19,0 | 22,5 | 27,0 | - | - | - | - | - | - | - | - | - | - |
1120 | - | - | - | 1,6 | 1,9 | 2.3 | 2,7 | 3,3 | 3,8 | 4,6 | 5,5 | 6,6 | 7,8 | 9,4 | 11,0 | 13,0 | 15,9 | 19,0 | 22,5 | 27,0 | - | - | - | - | - | - | - | - | - | - | - |
а | б | в | г | д | е | ж | з | и | к | л | м | н | о | п | р | с | т | у | ф | х | ц | ч | ш | щ | э | ю | я | ||||
Главный угол в плане | 60 | 75 | 90 |
Коэффициент KN | 1,0 | 1,06 | 1,14 |
Сталь конструкционная углеродистая Работа с охлаждением | Фрезы торцовые из стали Р18 | |||||||||||||||||||
Карта 55, лист 1 | ||||||||||||||||||||
Фрезы | D/Z | t, мм, до | Подача на один зуб фрезы Sz, мм/зуб, до | |||||||||||||||||
0,03 | 0,05 | 0,1 | 0,13 | 0,18 | 0,24 | |||||||||||||||
Режимы резания | ||||||||||||||||||||
V | n | Sм | V | n | Sм | V | n | Sм | V | n | Sм | V | n | Sм | V | n | Sм | |||
Цельные | 40/12 | 3 | 44 | 347 | 96 | 39 | 309 | 153 | 35 | 276 | 248 | 31 | 244 | 340 | 27 | 217 | 403 | 24,5 | 192 | 484 |
10 | 40 | 312 | 86 | 35 | 278 | 137 | 32 | 248 | 223 | 28 | 220 | 305 | 25 | 194,5 | 362 | 21,5 | 173 | 436 | ||
60/10 | 3 | 42 | 227 | 52 | 37,5 | 200 | 82 | 33,5 | 179 | 134 | 30 | 160 | 186 | 27 | 142 | 219 | 24 | 126 | 265 | |
10 | 38 | 206 | 46 | 33,5 | 180 | 74 | 30,5 | 160 | 121 | 27 | 144 | 168 | 24 | 128 | 197 | 21,5 | 114 | 240 | ||
60/16 | 3 | 41 | 218 | 81 | 37 | 194 | 128 | 32,5 | 173 | 207 | 29 | 153 | 284 | 25,5 | 136 | 337 | 23 | 121 | 405 | |
10 | 37 | 197 | 72 | 33 | 176 | 115 | 29 | 156 | 178 | 25,5 | 138 | 256 | 23,0 | 122 | 302 | 21 | 109 | 365 | ||
3 | 41,5 | 176 | 73 | 36,5 | 155 | 115 | 32,5 | 138 | 187 | 29,2 | 123 | 257 | 26 | 110 | 306 | 23 | 97 | 365 | ||
10 | 37,5 | 160 | 65 | 33 | 140 | 104 | 28 | 125 | 168 | 26,5 | 110 | 160 | 23 | 98 | 276 | 21 | 87 | 328 | ||
Со вставными ножами | 75/10 | 3 | 43,5 | 186 | 43 | 39 | 166 | 69 | 35 | 147 | 110 | 31,0 | 131 | 152 | 27 | 116 | 179 | - | - | - |
10 | 37,5 | 164 | 38 | 34,5 | 146 | 61 | 32 | 130 | 97,5 | 27 | 113,5 | 135 | 24 | 102 | 158 | - | - | - | ||
90/10 | 3 | 44 | 157 | 36 | 39,5 | 140 | 57,5 | 35 | 125 | 93,5 | 31,5 | 111 | 129 | 28 | 98 | 153 | - | - | - | |
10 | 39 | 139 | 32 | 35 | 124 | 51 | 31 | 110 | 86 | 28 | 98 | 113,5 | 25 | 87 | 135 | - | - | - | ||
110/12 | 3 | 43,5 | 127 | 35,5 | 39 | 113,5 | 57 | 35 | 101,5 | 92 | 31,5 | 91 | 127 | 28 | 81 | 150 | 25 | 72 | 181 | |
10 | 37,0 | 113 | 31 | 34 | 101 | 50 | 31 | 89,5 | 81,5 | 28 | 81 | 112 | 25 | 71 | 133 | 21,5 | 64 | 160 | ||
150/16 | 3 | 44 | 94 | 35 | 39,5 | 84 | 56 | 35,5 | 75 | 90 | 31,5 | 67 | 125 | 28 | 59 | 146 | 25 | 53 | 177,5 | |
10 | 37 | 84 | 31 | 34 | 74 | 49,5 | 31 | 66 | 80 | 28,0 | 60 | 110 | 25 | 53 | 129,5 | 21,5 | 46 | 157 | ||
200/20 | 3 | 42 | 67 | 31 | 37,5 | 60 | 49,5 | 33,5 | 53,5 | 81 | 30 | 48 | 111 | 27 | 42 | 131 | 23,5 | 37,5 | 157,5 | |
10 | 37 | 59 | 27,5 | 33,5 | 53 | 44 | 29,5 | 47 | 72 | 26 | 42 | 98 | 24 | 37,5 | 116 | 21 | 33,5 | 139 | ||
225/22 | 3 | 42,5 | 60 | 30,5 | 38 | 53,5 | 49 | 33 | 47 | 77.5 | 29 | 41,5 | 106 | 26 | 37,5 | 128 | 23,5 | 33,5 | 155 | |
10 | 37 | 53 | 27 | 33,5 | 47 | 43 | 28 | 41,5 | 69 | 25,5 | 37 | 94 | 23 | 33,5 | 113,5 | 21 | 29,5 | 137,5 | ||
РЕЖИМЫ РЕЗАНИЯ Сталь конструкционная углеродистая Работа с охлаждением | Фрезы торцовые из стали Р18 | |||||||||||||||||||||||||||||||
Карта 55, лист 2 | ||||||||||||||||||||||||||||||||
ПОПРАВОЧНЫЕ КОЭФФИЦИЕНТЫ НА РЕЖИМЫ РЕЗАНИЯ ДЛЯ ИЗМЕНЕННЫХ УСЛОВИЙ РАБОТЫ В ЗАВИСИМОСТИ ОТ: | ||||||||||||||||||||||||||||||||
1) Группы и механическая характеристика стали | Группы стали | Углеродистые (С < 0,6%) | Хромоникелевые | Углеродистые труднообрабатываемые (С > 0,6%), хромистые, хромоникелевольфрамовые, инструментальные | Хромомарганцовистые, хромокремнистые, хромокремнистомарганцовые и близкие к ним | Автоматные | Жаропрочные | |||||||||||||||||||||||||
Типовые марки стали | 10, 15,20, 25 | 30, 35, 4 | 45, 50 | 12Х2ННЗА | 12Х2Н4А | 20ХНМ | 40ХНМА | 30Х, 35Х, 38ХА, 40Х | 15Х, 20Х | 45Г2, 50Г | 35ХГС | 18ХГТ | 30ХГТ | А12, А20 | А30 | А40Г | Х18Н9Т (ЭЯ1Т) | |||||||||||||||
Предел прочности | 56 | 51 - 75 | 61 - 83 | 56 - 75 | 56 - 75 | 61 - 83 | 75 - 98 | 97 - 110 | 102 - 116 | 53 - 74 | 61 - 86 | 53 - 80 | 67 - 91 | 54 - 72 | 60 - 76 | 72 - 89 | 89 - 100 | 100 - 117 | 48 - 63 | 60 - 80 | 80 - 94 | 94 - 100 | 56 - 82 | 94 - 113 | 113 - 134 | 49 - 62 | 56 - 65 | - | - | - | - | |
Твердость HB | 156 | 143 - 207 | 170 - 229 | 207 - 369 | 136 - 207 | 170 - 229 | 207 - 269 | 269 - 302 | 285 - 321 | 156 - 207 | 179 - 255 | 156 - 207 | 197 - 269 | 156 - 207 | 170 - 217 | 207 - 255 | 255 - 285 | 285 - 331 | 137 - 179 | 170 - 229 | 229 - 269 | 269 - 286 | 170 - 241 | 269 - 321 | 321 - 375 | 149 - 187 | 170 - 197 | - | - | - | - | |
Коэффициенты - Kv = Kn = KSм | 1,35 | 1,0 | 0,9 | 0,7 | 1,2 | 1,0 | 0,8 | 0,55 | 0,5 | 0,75 | 0,6 | 0,8 | 0,55 | 0,85 | 0,8 | 0,65 | 0,55 | 0,4 | 1,0 | 0,55 | 0,55 | 0,5 | 0,6 | 0,35 | 0,25 | 0,9 | 0,6 | 1,2 | 1,1 | 1,0 | 0,75 | |
2) Состояния поверхности заготовки | Поверхность | Без корки и прокат | С коркой | |||||||||||||||||||||||||||||
Поковка или штамповка | Отливка | |||||||||||||||||||||||||||||||
Коэффициенты | 1,0 | 0,9 | 0,8 | |||||||||||||||||||||||||||||
3) Ширины фрезерования | Ширина фрезерования | < 0,4 | > 0,4 | |||||||||||||||||||||||||||||
Коэффициенты | 1,12 | 1,0 | ||||||||||||||||||||||||||||||
4) Главного угла в плане | Главный угол в плане | 90 | 60 | 45 | 30 | |||||||||||||||||||||||||||
Коэффициенты | 0,85 | 1,0 | 1,05 | 1,18 | ||||||||||||||||||||||||||||
5) Вида обработки | Вид обработки | Черная ![]() | Чистовая ![]() | |||||||||||||||||||||||||||||
Коэффициенты | 1,0 | 0,8 | ||||||||||||||||||||||||||||||
Сталь | Фрезы торцовые из стали Р18 | |||||||||||||||||||
Карта 56 | ||||||||||||||||||||
Подача на зуб фрезы Sz, мм/зуб | Глубина резания t, мм, до | |||||||||||||||||||
До 0,12 | Св. 0,12 | |||||||||||||||||||
Ширина фрезерования, B, мм, до | ||||||||||||||||||||
- | 40 | 3 | 4 | 5 | 6 | 7 | 8 | 10 | - | - | - | - | - | - | - | - | - | - | - | - |
40 | 47 | - | 3 | 4 | 5 | 6 | 7 | 8 | 10 | - | - | - | - | - | - | - | - | - | - | - |
47 | 55 | - | - | 3 | 4 | 5 | 6 | 7 | 8 | 10 | - | - | - | - | - | - | - | - | - | - |
55 | 65 | - | - | - | 3 | 4 | 5 | 6 | 7 | 8 | 10 | - | - | - | - | - | - | - | - | - |
65 | 76 | - | - | - | - | 3 | 4 | 5 | 6 | 7 | 8 | 10 | - | - | - | - | - | - | - | - |
76 | 89 | - | - | - | - | - | 3 | 4 | 5 | 6 | 7 | 8 | 10 | - | - | - | - | - | - | - |
89 | 105 | - | - | - | - | - | - | 3 | 4 | 5 | 6 | 7 | 8 | 10 | - | - | - | - | - | - |
105 | 123 | - | - | - | - | - | - | - | 3 | 4 | 5 | 6 | 7 | 8 | 10 | - | - | - | - | - |
123 | 145 | - | - | - | - | - | - | - | - | 3 | 4 | 5 | 6 | 7 | 8 | 10 | - | - | - | - |
145 | 170 | - | - | - | - | - | - | - | - | - | 3 | 4 | 5 | 6 | 7 | 8 | 10 | - | - | - |
170 | 200 | - | - | - | - | - | - | - | - | - | - | 3 | 4 | 0 | 6 | 7 | 8 | 10 | - | - |
200 | 235 | - | - | - | - | - | - | - | - | - | - | - | 3 | 4 | 5 | 6 | 7 | 8 | 10 | - |
235 | - | - | - | - | - | - | - | - | - | - | - | - | - | 3 | 4 | 5 | 6 | 7 | 8 | 10 |
Минутная подача Sм, мм/мин., до | Мощность резания N, кВт | ||||||||||||||||||
42 | - | - | - | - | - | - | - | - | - | - | 1,2 | 1,5 | 1,7 | 2,1 | 2,5 | 3,0 | 3,6 | 4,3 | 5,1 |
50 | - | - | - | - | - | - | - | - | 1.2 | 1,5 | 1,7 | 2,1 | 2,5 | 3,0 | 3,6 | 4,3 | 5,1 | 6,1 | |
60 | - | - | - | - | - | - | - | - | 1,2 | 1,5 | 1,7 | 2,1 | 2,5 | 3,0 | 3,6 | 4,3 | 5,1 | 6,1 | 7,3 |
70 | - | - | - | - | - | - | - | 1,2 | 1,5 | 1,7 | 2,1 | 2,5 | 3,0 | 3,6 | 4,3 | 5,1 | 6,1 | 7,3 | 8,7 |
86 | - | - | - | - | - | - | 1,2 | 1,5 | 1,7 | 2,1 | 2,5 | 3,0 | 3,6 | 4,3 | 5,1 | 6,1 | 7,3 | 8,7 | 10,4 |
102 | - | - | - | - | - | 1,2 | 1,5 | 1,7 | 2,1 | 2,5 | 3,0 | 3,6 | 4,3 | 5,1 | 6,1 | 7,3 | 8,7 | 10,4 | 12,1 |
122 | - | - | - | - | 1,2 | 1,5 | 1,7 | 2,1 | 2,5 | 3,0 | 3,6 | 4,3 | 5,1 | 6,1 | 7,3 | 8,7 | 10,4 | 12,1 | 14,8 |
145 | - | - | - | 1,2 | 1,5 | 1.7 | 2,1 | 2,5 | 3,0 | 3,6 | 4,3 | 5,1 | 6,1 | 7,3 | 8,7 | 10,4 | 12,1 | 14,8 | 17,7 |
174 | - | - | 1,2 | 1,5 | 1,7 | 2,1 | 2,5 | 3,0 | 3,6 | 4,3 | 5,1 | 6,1 | 7,3 | 8,7 | 10,4 | 12,1 | 14,8 | 17,7 | - |
205 | - | 1,2 | 1,5 | 1,7 | 2,1 | 2,5 | 3,0 | 3,6 | 4,3 | 5,1 | 6,1 | 7,3 | 8,7 | 10,4 | 12,1 | 14,8 | 17,7 | - | - |
250 | 1,2 | 1,5 | 1,7 | 2,1 | 2,5 | 3,0 | 3,6 | 4,3 | 5,1 | 6,1 | 7,3 | 8,7 | 10,4 | 12,1 | 14,8 | 17,7 | - | - | - |
300 | 1,5 | 1,7 | 2,1 | 2,5 | 3,0 | 3,6 | 4,3 | 5,1 | 6,1 | 7,3 | 8,7 | 10,4 | 12,1 | 14,8 | 17,7 | - | - | - | - |
355 | 1,7 | 2,1 | 2,5 | 3,0 | 3,6 | 4,3 | 5,1 | 6,1 | 7,3 | 8,7 | 10,4 | 12,1 | 14,8 | 17,7 | - | - | - | - | - |
Предел прочности при растяжении | До 55 | 55 - 100 | Св. 100 |
Твердость HB | До 160 | 160 - 285 | Св. 285 |
Коэффициент KN | 0,84 | 1,0 | 1,20 |
Медные и алюминиевые сплавы | Фрезеры торцовые из стали Р18 | |||||||||||||||||||
Карта 57, лист 1 | ||||||||||||||||||||
Фрезы | D/Z | t, мм, до | Подача на один зуб фрезы Sz, мм/зуб, до | |||||||||||||||||
0,03 | 0,05 | 0,10 | 0,13 | 0,18 | 0,24 | |||||||||||||||
Режимы резания | ||||||||||||||||||||
V | n | Sм | V | n | Sм | V | n | Sм | V | n | Sм | V | n | Sм | V | n | Sм | |||
Цельные | 40 -- 12 | 3 | 102 | 816 | 225 | 92 | 733 | 360 | 82 | 650 | 586 | 72 | 576 | 790 | 64 | 512 | 952 | - | - | - |
10 | 92 | 730 | 202 | 82 | 649 | 318 | 73 | 580 | 522 | 64 | 512 | 715 | 57,5 | 456 | 848 | - | - | - | ||
60 -- 16 | 3 | 102 | 539 | 124 | 89,5 | 477 | 196 | 79 | 421 | 317 | 70 | 376 | 437 | 63 | 334 | 520 | 56 | 296 | 621,5 | |
10 | 89,5 | 477 | 109 | 79 | 420 | 173 | 70 | 376 | 282 | 63 | 336 | 384 | 56 | 297,5 | 461,5 | 49,5 | 265,5 | 558 | ||
76 -- 18 | 3 | 97 | 412 | 171 | 85 | 360 | 266 | 77 | 326 | 441 | 69 | 291 | 608 | 61 | 257 | 720 | 53,5 | 229 | 864 | |
10 | 87 | 370 | 153 | 77 | 326 | 241 | 69 | 291 | 393 | 61 | 259 | 541 | 54 | 230 | 644 | 53,5 | 203 | 768 | ||
75 -- 10 | 3 | 100 | 430 | 99 | 90 | 385 | 158 | 81 | 344 | 257 | 73 | 308 | 351 | 64 | 273,5 | 424 | 57 | 242 | 507 | |
10 | 91 | 389 | 89 | 81,5 | 348 | 142 | 73 | 310 | 232 | 65 | 276 | 314 | 57,5 | 243 | 377 | 51 | 217 | 456 | ||
Со вставными ножами | 90 -- 10 | 3 | 104 | 369 | 84 | 93 | 330 | 135 | 83 | 294 | 221 | 74 | 262 | 299 | 65,5 | 232 | 360 | 57,5 | 205 | 430 |
10 | 93 | 329 | 75,5 | 83 | 294 | 121 | 74 | 262 | 197 | 65,5 | 233 | 266 | 58 | 206 | 300 | 52 | 183 | 384 | ||
110 -- 12 | 3 | 104 | 301 | 82,5 | 93 | 269 | 132 | 83 | 240 | 216 | 74 | 215 | 291 | 65,5 | 190 | 360 | 58 | 168 | 424 | |
10 | 92 | 266 | 73 | 82 | 238 | 117 | 73,5 | 213 | 192 | 66 | 192 | 263 | 58 | 170 | 315 | 52 | 151 | 381,5 | ||
150 -- 16 | 3 | 105 | 222 | 81 | 93,5 | 198 | 130 | 83 | 176 | 211 | 74 | 158 | 285 | 65,5 | 139 | 345 | 58 | 124 | 416 | |
10 | 93 | 197 | 72 | 83 | 176 | 115 | 74 | 158 | 190 | 66 | 141 | 253 | 58 | 124 | 307 | 52 | 111 | 373 | ||
200 -- 20 | 3 | 98 | 158 | 72 | 88 | 141 | 115 | 79 | 126 | 190 | 70 | 113 | 258 | 63 | 101 | 313 | 56 | 89 | 373 | |
10 | 88 | 141 | 64 | 79 | 126 | 103 | 70 | 113 | 170 | 63 | 101 | 230 | 56 | 89 | 275 | 49,5 | 79 | 332 | ||
225 -- 22 | 3 | 100 | 141 | 64 | 89,5 | 126 | 113,5 | 78 | 111 | 184 | 712 | 101 | 253 | 62 | 89 | 302 | 56 | 79 | 365 | |
10 | 88 | 126 | 70,5 | 79 | 113 | 101,5 | 70 | 99 | 164 | 61,5 | 87 | 219 | 56 | 79 | 270 | 49,5 | 70 | 325 | ||
РЕЖИМЫ РЕЗАНИЯ Медные и алюминиевые сплавы | Фрезы торцовые из стали Р18 | ||||||||||
Карта 57, лист 2 | |||||||||||
ПОПРАВОЧНЫЕ КОЭФФИЦИЕНТЫ НА РЕЖИМЫ РЕЗАНИЯ ДЛЯ ИЗМЕНЕННЫХ УСЛОВИЙ РАБОТЫ В ЗАВИСИМОСТИ ОТ: | |||||||||||
1) Группы сплавов | Группа | Медные сплавы | Алюминиевые сплавы | ||||||||
Гетерогенные | Свинцовистые при основной гетерогенной структуре | Гомогенные | Сплавы с со держанием свинца < 10% при основной гомогенной структуре | Медь | Сплавы с содержанием свинца > 15% | Силумин и литейные сплавы НВ >= 65; дуралюмин НВ >= 100 | Силумин и литейные сплавы НВ <= 100; дуралюмин НВ <= 100 | Дуралюмин | |||
высокой твердости | средней твердости | ||||||||||
Коэффициент Kv = Kn = Ksм | 0,7 | 1,0 | 1,7 | 2,0 | 4,0 | 8,0 | 1,2 | 1,5 | 1,8 | 2,2 | |
2) Состояния поверхности заготовки | Поверхность | Без корки | С коркой | ||||||||
Коэффициент Kv = Kn = KSм | 1,0 | 0,9 | |||||||||
3) Ширины фрезерования | B/D фр | < 0,4 | < 0,4 | ||||||||
Коэффициент Kv = Kn = KSм | 1,12 | 1,0 | |||||||||
4) Главного угла в плане | Главный угол в плане | 90 | 60 | 45 | |||||||
Коэффициент Kv = Kn = KSм | 0,89 | 1,0 | 1,05 | ||||||||
5) Вид обработки | Вид обработки | Черновая ![]() | Чистовая ![]() | ||||||||
Коэффициент Kv = Kn = Ksм | 1,0 | 0,8 | |||||||||
Медные и алюминиевые сплавы | Фрезы торцовые из стали Р18 | |||||||||||||||||||
Карта 58 | ||||||||||||||||||||
Подача на зуб фрезы, мм/зуб | Глубина резания t, мм, до | |||||||||||||||||||
До 0,12 | Св. 0,12 | |||||||||||||||||||
Ширина фрезерования B, мм, до | ||||||||||||||||||||
- | 40 | 3 | 4 | 5 | 6 | 7 | 8 | 10 | - | - | - | - | - | - | - | - | - | - | - | - |
40 | 47 | - | 3 | 4 | 5 | 6 | 7 | 8 | 10 | - | - | - | - | - | - | - | - | - | - | - |
47 | 55 | - | - | 3 | 4 | 5 | 6 | 7 | 8 | 10 | - | - | - | - | - | - | - | - | - | - |
55 | 65 | - | - | - | 3 | 4 | 5 | 6 | 7 | 8 | 10 | - | - | - | - | - | - | - | - | - |
65 | 76 | - | - | - | - | 3 | 4 | 5 | 6 | 7 | 8 | 10 | - | - | - | - | - | - | - | - |
70 | 89 | - | - | - | - | - | 3 | 4 | 5 | 6 | 7 | 8 | 10 | - | - | - | - | - | - | - |
89 | 105 | - | - | - | - | - | - | 3 | 4 | 5 | 6 | 7 | 8 | 10 | - | - | - | - | - | - |
105 | 123 | - | - | - | - | - | - | - | 3 | 4 | 5 | 6 | 7 | 8 | 10 | - | - | - | - | - |
123 | 145 | - | - | - | - | - | - | - | - | 3 | 4 | 5 | 6 | 7 | 8 | 10 | - | - | - | - |
145 | 170 | - | - | - | - | - | - | - | - | - | 3 | 4 | 5 | 6 | 7 | 8 | 10 | - | - | - |
170 | 200 | - | - | - | - | - | - | - | - | - | - | 3 | 4 | 5 | 6 | 7 | 8 | 10 | - | - |
200 | 235 | - | - | - | - | - | - | - | - | - | - | - | 3 | 4 | 5 | 6 | 7 | 8 | 10 | - |
235 | - | - | - | - | - | - | - | - | - | - | - | - | - | 3 | 4 | 5 | 6 | 7 | 8 | 10 |
Минутная подача Sм, мм/мин. | Мощность резания N, кВт | ||||||||||||||||||
86 | - | - | - | - | - | - | - | - | - | - | 1,1 | 1.3 | 1,6 | 1,9 | 2,3 | 2,7 | 3,3 | 3,9 | 4,6 |
102 | - | - | - | - | - | - | - | - | - | 1,1 | 1,3 | 1,6 | 1,9 | 2,3 | 2,7 | 3,3 | 3,9 | 4,6 | 5,5 |
122 | - | - | - | - | - | - | - | - | 1,1 | 1,3 | 1,6 | 1,9 | 2,3 | 2,7 | 3,3 | 3,9 | 4,6 | 5,5 | 6,6 |
145 | - | - | - | - | - | - | - | 1,1 | 1,3 | 1,6 | 1,9 | 2,3 | 2,7 | 3,3 | 3,9 | 4,6 | 5,5 | 6,6 | 7,9 |
174 | - | - | - | - | - | - | 1,1 | 1,3 | 1,6 | 1,9 | 2,3 | 2,7 | 3,3 | 3,9 | 4,6 | 5,5 | 6,6 | 7,9 | 9,4 |
205 | - | - | - | - | - | 1,1 | 1,3 | 1,6 | 1,9 | 2,3 | 2,7 | 3,3 | 3,9 | 4,6 | 5,5 | 6,6 | 7,9 | 9,4 | 11,2 |
250 | - | - | - | - | 1,1 | 1,3 | 1,6 | 1,9 | 2,3 | 2,7 | 3,3 | 3,9 | 4,6 | 5,5 | 6,6 | 7,9 | 9,4 | 11,2 | 13,4 |
300 | - | - | - | 1,1 | 1,3 | 1,6 | 1,9 | 2,3 | 2,7 | 3,3 | 3,9 | 4,6 | 5,5 | 6,6 | 7,9 | 9,4 | 11,2 | 13,4 | 16 |
355 | - | - | 1,1 | 1,3 | 1,6 | 1,9 | 2,3 | 2,7 | 3,3 | 3,9 | 4,6 | 5,5 | 6,6 | 7,9 | 9,4 | 11,2 | 13,4 | 16 | - |
420 | - | 1,1 | 1,3 | 1,6 | 1,9 | 2,3 | 2,7 | 3,3 | 3,9 | 4,6 | 5,5 | 6,6 | 7,9 | 9,4 | 11,2 | 13,4 | 16 | - | - |
500 | 1,1 | 1,3 | 1,6 | 1,9 | 2,3 | 2,7 | 3,3 | 3,9 | 4,6 | 5,5 | 6,6 | 7,9 | 9,4 | 11,2 | 13,4 | 16 | - | - | - |
600 | 1,3 | 1,6 | 1,9 | 2,3 | 2,7 | 3,3 | 3,9 | 4,6 | 5,5 | 6,6 | 7,9 | 9,4 | 11,2 | 13,4 | 16 | - | - | - | - |
ПОПРАВОЧНЫЕ КОЭФФИЦИЕНТЫ НА МОЩНОСТЬ В ЗАВИСИМОСТИ ОТ ОБРАБАТЫВАЕМОГО СПЛАВА | |||||||||||||||||||
Сплав | Медные сплавы | Алюминиевые сплавы | |||||||||||||||||
Поправочный коэффициент KN | 1,0 | 1,25 | |||||||||||||||||
Фрезерование плоскостей, уступов, пазов | Фрезы концевые | |||||||||
Карта 59 | ||||||||||
Обрабатываемые материалы | Фрезы | Глубина резания или глубина паза, мм, до | ||||||||
D, мм | Z | 5 | 10 | 15 | 20 | 30 | ||||
Подача на зуб Sz, мм/зуб | ||||||||||
Сталь конструкционная углеродистая, жаропрочная | 8 | 5 | 0,02 - 0,015 | 0,018 - 0,012 | - | - | - | |||
12 | 5 | 0,035 - 0,025 | 0,03 - 0,02 | 0,015 - 0,010 | - | - | ||||
16 | 4 | 0,04 | 0,04 - 0,03 | 0,04 - 0,03 | - | - | ||||
3 | 0,05 | 0,05 - 0,04 | 0,05 - 0,04 | - | - | |||||
20 | 5 | 0,07 - 0,04 | 0,07 - 0,04 | 0,07 - 0,04 | 0,04 - 0,025 | - | ||||
3 | 0,09 - 0,05 | 0,09 - 0,05 | 0,08 - 0,05 | 0,05 - 0,03 | ||||||
25 | 5 | 0,09 - 0,05 | 0,09 - 0,05 | 0,08 - 0,05 | 0,06 - 0,04 | 0,04 - 0,03 | ||||
3 | 0,12 - 0,08 | 0,12 - 0,08 | 0,10 - 0,07 | 0,06 - 0,04 | 0,05 - 0,03 | |||||
32 | 6 | 0,12 - 0,07 | 0,12 - 0,09 | 0,09 - 0,06 | 0,07 - 0,05 | 0,05 - 0,04 | ||||
4 | 0,15 - 0,1 | 0,14 - 0,10 | 0,10 - 0,07 | 0,08 - 0,06 | 0,06 - 0,04 | |||||
40 | 6 | 0,14 - 0,08 | 0,13 - 0,08 | 0,12 - 0,08 | 0,10 - 0,07 | 0,08 - 0,06 | ||||
4 | 0,18 - 0,12 | 0,14 - 0,10 | 0,13 - 0,09 | 0,12 - 0,08 | 0,09 - 0,07 | |||||
50 | 6 | 0,15 - 0,10 | 0,13 - 0,10 | 0,12 - 0,08 | 0,12 - 0,08 | 0,09 - 0,06 | ||||
4 | 0,20 - 0,14 | 0,18 - 0,13 | 0,15 - 0,10 | 0,14 - 0,09 | 0,10 - 0,07 | |||||
Чугун, медные и алюминиевые сплавы | 8 | 5 | 0,025 - 0,02 | 0,02 - 0,015 | - | - | - | |||
12 | 5 | 0,05 - 0,04 | 0,035 - 0,02 | 0,02 - 0,015 | - | - | ||||
16 | 4 | 0,08 - 0,06 | 0,07 - 0,05 | 0,05 - 0,03 | - | - | ||||
3 | 0,11 - 0,08 | 0,09 - 0,06 | 0,08 - 0,05 | |||||||
20 | 5 | 0,14 - 0,09 | 0,12 - 0,08 | 0,08 - 0,06 | 0,05 - 0,04 | - | ||||
3 | 0,16 - 0,10 | 0,14 - 0,10 | 0,11 - 0,07 | 0,07 - 0,05 | ||||||
25 | 5 | 0,12 - 0,08 | 0,14 - 0,10 | 0,10 - 0,08 | 0,07 - 0,05 | 0,06 - 0,04 | ||||
3 | 0,15 - 0,12 | 0,18 - 0,13 | 0,14 - 0,10 | 0,10 - 0,08 | 0,07 - 0,06 | |||||
32 | 6 | 0,15 - 0,10 | 0,15 - 0,12 | 0,12 - 0,09 | 0,10 - 0,08 | 0,07 - 0,05 | ||||
4 | 0,20 - 0,14 | 0,18 - 0,15 | 0,14 - 0,10 | 0,12 - 0,09 | 0,08 - 0,07 | |||||
40 | 6 | 0,18 - 0,12 | 0,18 - 0,10 | 0,15 - 0,12 | 0,12 - 0,09 | 0,10 - 0,08 | ||||
4 | 0,24 - 0,16 | 0,20 - 0,14 | 0,18 - 0,15 | 0,14 - 0,10 | 0,12 - 0,09 | |||||
50 | 6 | 0,20 - 0,12 | 0,20 - 0,15 | 0,18 - 0,15 | 0,15 - 0,12 | 0,12 - 0,09 | ||||
4 | 0,24 - 0,18 | 0,23 - 0,17 | 0,20 - 0,14 | 0,18 - 0,15 | 0,14 - 0,10 | |||||
ПОПРАВОЧНЫЕ КОЭФФИЦИЕНТЫ НА ПОДАЧУ В ЗАВИСИМОСТИ ОТ: | ||||||||||
1. Отношения фактического числа зубьев к нормативному | 0,5 | 0,7 | 1,0 | 1,5 | 2,0 | |||||
Коэффициент Ksz | 1,5 | 1,3 | 1,0 | 0,7 | 0,6 | |||||
2. Шероховатости поверхности | ![]() | ![]() | ![]() | 2,5 | ||||||
Коэффициент Ksz | 1,5 | 1,0 | 0,6 | 0,4 | ||||||
Фрезерование плоскостей, уступов, пазов Сталь конструкционная, углеродистая, жаропрочная | Фрезы концевые из стали Р18 | ||||||||||||||||||||
Карта 60, лист 1 | |||||||||||||||||||||
D, мм, до | Z | B, мм, до | t, мм, до | Подача на один зуб фрезы Sz, мм/зуб, до | |||||||||||||||||
0,05 | 0,07 | 0,10 | 0,15 | 0,21 | 0,27 | ||||||||||||||||
Режимы резания | |||||||||||||||||||||
V | n | Sм | V | n | Sм | V | n | Sм | V | n | Sм | V | n | Sм | V | n | Sм | ||||
8 | 3 - 4 | 12 | 3 | 27 | 1296 | 204 | 25 | 1197 | 275 | - | - | - | - | - | - | - | - | - | - | - | - |
5 | 23 | 1090 | 171 | 21,2 | 1007 | 228 | - | - | - | - | - | - | - | - | - | - | - | - | |||
8 | 20 | 945 | 149 | 18,3 | 875 | 199 | - | - | - | - | - | - | - | - | - | - | - | - | |||
12 | 3 - 4 | 18 | 3 | 30 | 965 | 152 | 28,0 | 888 | 199 | 26 | 831 | 261 | - | - | - | - | - | - | - | - | - |
5 | 25,3 | 835 | 128 | 23,3 | 745 | 170 | 2 | 698 | 219 | - | - | - | - | - | - | - | - | - | |||
8 | 22 | 703 | 110 | 20,3 | 645 | 147 | 19 | 508 | 190 | - | - | - | - | - | - | - | - | - | |||
12 | 19,3 | 617 | 97 | 17,8 | 565 | 128 | 16,7 | 530 | 165 | - | - | - | - | - | - | - | - | - | |||
16 | 3 - 4 | 24 | 3 | 32 | 731 | 115 | 29,5 | 674 | 152 | 27,7 | 631 | 198 | 25,2 | 571 | 271 | - | - | - | - | - | - |
5 | 26,8 | 612 | 95 | 24,8 | 565 | 128 | 23 | 527 | 166 | 21,2 | 484 | 228 | - | - | - | - | - | - | |||
8 | 23,4 | 530 | 84 | 21,5 | 494 | 111 | 20 | 460 | 144 | 18,4 | 415 | 198 | - | - | - | - | - | - | |||
12 | 20,5 | 465 | 73 | 19 | 432 | 97 | 17,5 | 403 | 127 | 16 | 370 | 173 | - | - | - | - | - | - | |||
16 | 18,5 | 420 | 66 | 17,2 | 389 | 89 | 16 | 365 | 115 | 14,6 | 330 | 157 | - | - | - | - | - | - | |||
20 | 3 - 4 | 30 | 3 | 35,2 | 620 | 100 | 32,5 | 580 | 131 | 30,4 | 540 | 169 | 21,7 | 489 | 230 | - | - | - | - | - | - |
5 | 29,5 | 520 | 84 | 27 | 485 | 110 | 25,4 | 450 | 141 | 23,2 | 418 | 195 | - | - | - | - | - | - | |||
8 | 25,5 | 445 | 72 | 23,8 | 420 | 95 | 22 | 394 | 123 | 20 | 360 | 169 | - | - | - | - | - | - | |||
12 | 22,5 | 400 | 63 | 20,8 | 370 | 84 | 19,5 | 340 | 108 | 17,7 | 313 | 148 | - | - | - | - | - | - | |||
16 | 19 | 335 | 54 | 17,5 | 313 | 71 | 16,4 | 294 | 91 | 15 | 265 | 125 | - | - | - | - | - | - | |||
20 | 19 | 335 | 54 | 17,5 | 313 | 71 | 16,4 | 294 | 91 | 15 | 265 | 125 | - | - | - | - | - | - | |||
РЕЖИМЫ РЕЗАНИЯ Фрезерование плоскостей, уступов, пазов Сталь конструкционная, углеродистая, жаропрочная | Фрезы концевые из стали Р18 | ||||||||||||||||||||
Карта 60, лист 2 | |||||||||||||||||||||
D, мм, до | Z | B, мм | t, мм, до | Подача на один зуб фрезы Sz, мм/зуб, до | |||||||||||||||||
0,05 | 0,07 | 0,10 | 0,15 | 0,21 | 0,27 | ||||||||||||||||
Режимы резания | |||||||||||||||||||||
V | n | Sм | V | n | Sм | V | n | Sм | V | n | Sм | V | n | Sм | V | n | Sм | ||||
27 | 4 - 6 | 30 | 3 | 38 | 517 | 116 | 35,1 | 475 | 154 | 33 | 447 | 199 | 29,9 | 409 | 274 | 27,9 | 380 | 367 | - | - | - |
5 | 32 | 432 | 97 | 29,4 | 399 | 129 | 27,6 | 375 | 167 | 25,1 | 342 | 230 | 23,5 | 318 | 308 | - | - | - | |||
8 | 28 | 380 | 84 | 25,7 | 347 | 115 | 24 | 323 | 145 | 21,9 | 295 | 199 | 20,3 | 276 | 268 | - | - | - | |||
12 | 24,5 | 332 | 74 | 22,5 | 304 | 99 | 21 | 285 | 128 | 19,1 | 261 | 175 | 17,9 | 234 | 234 | - | - | - | |||
16 | 22 | 299 | 67 | 20,3 | 276 | 89 | 19 | 257 | 116 | 17,3 | 238 | 158 | 16,1 | 219 | 212 | - | - | - | |||
20 | 20,5 | 280 | 63 | 19 | 257 | 84 | 17,8 | 237 | 107 | 16,2 | 219 | 147 | 15,1 | 204 | 198 | - | - | - | |||
27 | 18,6 | 251 | 57 | 17,2 | 233 | 76 | 16,1 | 219 | 98 | 14,7 | 199 | 134 | - | - | - | - | - | - | |||
36 | 6 - 8 | 30 | 3 | 42,3 | 428 | 135 | 39 | 394 | 180 | 36,5 | 371 | 232 | 33,2 | 336 | 308 | 31 | 312 | 427 | - | - | - |
5 | 34,9 | 361 | 113 | 32,7 | 333 | 151 | 30,6 | 314 | 195 | 27,9 | 285 | 282 | 26 | 266 | 358 | - | - | - | |||
8 | 30,8 | 314 | 99 | 28,5 | 290 | 131 | 26,6 | 271 | 169 | 24,2 | 252 | 224 | 22,6 | 228 | 314 | - | - | - | |||
12 | 27,1 | 276 | 86 | 25 | 252 | 115 | 23,4 | 247 | 148 | 21,3 | 218 | 196 | 19,8 | 199 | 273 | - | - | - | |||
16 | 24,4 | 247 | 78 | 22,5 | 228 | 105 | 21,1 | 214 | 134 | 19,3 | 195 | 178 | 17,9 | 180 | 247 | - | - | - | |||
20 | 22,8 | 233 | 73 | 21 | 214 | 97 | 19,7 | 200 | 124 | 17,9 | 185 | 166 | 16,7 | 171 | 230 | - | - | - | |||
27 | 20,7 | 204 | 67 | 19 | 190 | 88 | 17,9 | 181 | 111 | 16,2 | 161 | 147 | - | - | - | - | - | - | |||
36 | 19 | 190 | 61 | 17,5 | 181 | 81 | 16,3 | 166 | 105 | 14,9 | 152 | 138 | - | - | - | - | - | - | |||
50 | 3 | 48,4 | 365 | 115 | 44,2 | 337 | 152 | 41,4 | 313 | 198 | 38,0 | 290 | 281 | 36,2 | 266 | 356 | 33,4 | 251 | 451 | ||
5 | 40,4 | 306 | 90 | 37,2 | 285 | 127 | 34,8 | 266 | 166 | 31,8 | 242 | 228 | 29,6 | 223 | 299 | 28,0 | 213 | 380 | |||
8 | 35 | 266 | 84 | 32,2 | 247 | 111 | 30,1 | 228 | 245 | 27,6 | 209 | 198 | 25,7 | 195 | 260 | 24,3 | 185 | 330 | |||
12 | 30,8 | 238 | 74 | 28,4 | 233 | 97 | 26,6 | 199 | 127 | 24,3 | 185 | 174 | 22,6 | 171 | 228 | 21,4 | 161 | 289 | |||
16 | 27,8 | 214 | 66,5 | 25,6 | 194 | 88,4 | 24 | 181 | 115 | 22,0 | 166 | 157 | 20,4 | 156 | 206 | 19,3 | 147 | 262 | |||
20 | 26 | 199 | 62,6 | 23,8 | 181 | 82,5 | 22,3 | 171 | 107 | 20,5 | 156 | 146 | 19,0 | 142 | 192 | 18,0 | 136 | 243 | |||
27 | 23,6 | 180 | 56 | 21,6 | 166 | 74 | 20,3 | 152 | 97 | 18,6 | 142 | 133 | 17,3 | 131 | 176 | 16,3 | 123 | 220 | |||
36 | 21,6 | 166 | 52,2 | 19,9 | 150 | 68,5 | 18,7 | 141 | 89 | 17,1 | 129 | 122 | 15,8 | 119 | 159 | 14,9 | 114 | 203 | |||
РЕЖИМЫ РЕЗАНИЯ Фрезерование плоскостей, уступов, пазов Сталь конструкционная, углеродистая, жаропрочная | Фрезы концевые | |||||||||
Карта 60, лист 3 | ||||||||||
ПОПРАВОЧНЫЕ КОЭФФИЦИЕНТЫ НА РЕЖИМЫ РЕЗАНИЯ ДЛЯ ИЗМЕНЕННЫХ УСЛОВИЙ РАБОТЫ В ЗАВИСИМОСТИ ОТ: | ||||||||||
1) Состояния обрабатываемой поверхности | Поверхность | Без корки и прокат | Поковка или штамповка | Отливка | ||||||
Коэффициент Kv = Kn = Ksм | 1,0 | 0,85 | 0,8 | |||||||
2) Вида обрабатываемой поверхности | Поверхность | Плоскость, уступ | Сложная криволинейная | Паз, колодец, радиус сопряжения | ||||||
Коэффициент Kv = Kn = Ksм | 1,0 | 0,9 | 0,65 | |||||||
3) Марки обрабатываемого материала | Марки сталей | Стали конструкционные, углеродистые | Х18Н9Т (Х18НТОТ; ЭЯ1Т); Х18Н9М | 1Х17Н2 (ЭН268) | Х179АНЧ (ЭН878); 20ХЗМВФ (ЭН415) | ВТЗ-1 | ||||
Коэффициент Kv = Kn = Ksм | 1,0 | 0,8 | 0,7 | 0,45 | 0,30 | |||||
4) Марки режущей части инструмента | Марки инструмента | Р18 | Р12Ф4К5, Р18Ф2 | Р9К5, Р9К10, Р18Ф2К8М | ||||||
Коэффициент Kv = Kn = Ksм | 1,0 | 1,15 | 1,3 | |||||||
5) Отношения фактической ширины фрезерования к нормативной Bф/Bк | Bф/Bп | 0,2 | 0,5 | 1,0 | 0,2 | 3,0 | ||||
Коэффициент Kv = Kn = Ksм | 1,5 | 1,2 | 1,0 | 0,85 | 0,75 | |||||
Фрезерование плоскостей, уступов, пазов Сталь | Фрезы концевые из стали Р18 | |||||||||||||
Карта 61 | ||||||||||||||
Подача на один зуб фрезы Sz, мм/зуб | Глубина резания t, мм, до | |||||||||||||
0,05 - 0,09 | 0,1 - 0,16 | 0,17 - 0,30 | ||||||||||||
Ширина фрезерования B, мм, до | ||||||||||||||
- | - | 12 | 8 | 10 | 12 | 15 | 18 | 21 | 25 | - | - | - | - | - |
- | 12 | 14,5 | 6,5 | 8 | 10 | 12 | 15 | 18 | 21 | 25 | - | - | - | - |
12 | 14,5 | 17 | 5,3 | 6,5 | 8 | 10 | 12 | 15 | 18 | 21 | 25 | - | - | - |
14,5 | 17 | 21 | 4,3 | 5,3 | 6,5 | 8 | 10 | 12 | 15 | 18 | 21 | 25 | - | - |
17 | 21 | 25 | 3,5 | 4,3 | 5,3 | 6,5 | 8 | 10 | 12 | 15 | 18 | 21 | 25 | - |
21 | 25 | 30 | 2,9 | 3,5 | 4,3 | 5,3 | 6,5 | 8 | 10 | 12 | 15 | 18 | 21 | 25 |
25 | 30 | 35 | - | 2,9 | 3,5 | 4,3 | 5,3 | 6,5 | 8 | 10 | 12 | 15 | 18 | 21 |
30 | 35 | - | - | - | 2,9 | 3,5 | 4,3 | 5,3 | 6,5 | 8 | 10 | 13 | 15 | 18 |
35 | - | - | - | - | - | 2,9 | 3,5 | 4,3 | 5,3 | 6,5 | 8 | 10 | 12 | 15 |
Минутная подача Sм, мм/мин., до | Мощность резания N, квт | |||||||||||||
45 | - | - | - | - | - | - | 0,6 | 0,8 | 0,9 | 1,1 | 1,3 | 1,5 | ||
54 | - | - | - | - | - | 0,6 | 0,8 | 0,9 | 1,1 | 1,3 | 1,5 | 1,8 | ||
65 | - | - | - | - | 0,6 | 0,8 | 0,9 | 1,1 | 1,3 | 1,5 | 1,8 | 2,2 | ||
78 | - | - | - | 0,6 | 0,8 | 0,9 | 1,1 | 1,3 | 1,5 | 1,8 | 2,2 | 2,6 | ||
93 | - | - | 0,6 | 0,8 | 0,9 | 1,1 | 1,3 | 1,5 | 1,8 | 2,2 | 2,6 | 3,1 | ||
110 | - | 0,6 | 0,8 | 0,9 | 1,1 | 1,3 | 1,5 | 1,8 | 2,2 | 2,6 | 3,1 | 3,7 | ||
132 | 0,6 | 0,8 | 0,9 | 1,1 | 1,3 | 1,5 | 1,8 | 2,2 | 2,6 | 3,1 | 3,7 | 4,4 | ||
157 | 0,8 | 0,9 | 1,1 | 1,3 | 1,5 | 1,8 | 2,2 | 2,6 | 3,1 | 3,7 | 4,4 | 5,3 | ||
188 | 0,9 | 1,1 | 13 | 1,5 | 1,8 | 2,2 | 2,6 | 3,1 | 3,7 | 4,4 | 5,3 | 6,3 | ||
225 | 1,1 | 1,3 | 1,5 | 1,8 | 2,2 | 2,6 | 3,1 | 3,7 | 4,4 | 5,3 | 6,3 | 7,5 | ||
265 | 1,3 | 1,5 | 1,8 | 2,2 | 2,6 | 3,1 | 3,7 | 4,4 | 5,3 | 6,3 | 7,5 | 9,0 | ||
320 | 1,5 | 1,8 | 2,2 | 2,6 | 3,1 | 3,7 | 4,4 | 5,3 | 6,3 | 7,5 | 9,0 | - | ||
380 | 1,8 | 2,2 | 2,6 | 3,1 | 3,7 | 4,4 | 5,3 | 6,3 | 7,5 | 9,0 | - | - | ||
455 | 2,2 | 2,6 | 3,1 | 3,7 | 4,4 | 5,3 | 6,3 | 7,5 | 9,0 | - | - | - | ||
1) Предела прочности стали при растяжении | До 55 | 55 - 100 | Св. 100 |
2) Твердости HB | До 160 | 160 - 285 | Св. 285 |
Коэффициент KN | 0,84 | 1,0 | 1,2 |
Фрезерование плоскостей, уступов, пазов Чугун серый | Фрезы концевые из стали Р18 | ||||||||||||||||||||
Карта 62, лист 1 | |||||||||||||||||||||
D, мм, до | Z | B, мм, до | t, мм, до | Подача на один зуб фрезы Sz, мм/зуб, до | |||||||||||||||||
0,05 | 0,07 | 0,10 | 0,13 | 0,18 | 0,24 | ||||||||||||||||
Режимы резания | |||||||||||||||||||||
V | n | Sм | V | n | Sм | V | n | Sм | V | n | Sм | V | n | Sм | V | n | Sм | ||||
16 | 4 - 5 | 3,5 | 3,5 | 39 | 772 | 144 | 37 | 727 | 183 | 34,5 | 688 | 231 | 33 | 646 | 294 | - | - | - | - | - | - |
5,5 | 32,5 | 643 | 120 | 30 | 605 | 152 | 28 | 573 | 192 | 27,5 | 538 | 245 | - | - | - | - | - | - | |||
8 | 27 | 535 | 100 | 25 | 504 | 127 | 23,5 | 478 | 160 | 23 | 448 | 205 | - | - | - | - | - | - | |||
12 | 22,5 | 450 | 84 | 21 | 420 | 106 | 19,5 | 400 | 134 | - | - | - | - | - | - | - | - | - | |||
17 | 19 | 375 | 70 | 17,5 | 350 | 88 | - | - | - | - | - | - | - | - | - | - | - | - | |||
20 | 5 - 6 | 3,5 | 43 | 686 | 158 | 41 | 646 | 200 | 38,5 | 607 | 255 | 36 | 575 | 321 | 34 | 542 | 406 | - | - | - | |
5,5 | 35 | 558 | 130 | 33 | 526 | 164 | 31 | 496 | 208 | 30 | 467 | 263 | 27,5 | 440 | 337 | - | - | - | |||
8 | 29 | 465 | 108 | 27,5 | 438 | 137 | 26 | 413 | 173 | 25 | 390 | 220 | 23 | 366 | 280 | - | - | - | |||
12 | 24,5 | 388 | 90 | 23 | 365 | 114 | 22 | 345 | 145 | 21 | 325 | 183 | 19,2 | 305 | 235 | - | - | - | |||
17 | 20,5 | 325 | 75 | 19,2 | 305 | 95 | 18 | 288 | 120 | 17,5 | 270 | 153 | - | - | - | - | - | - | |||
25 | 5 | 20 - 30 | 3,5 | 50,5 | 640 | 149 | 47 | 603 | 189 | 45 | 568 | 238 | 42 | 536 | 302 | 39,5 | 505 | 383 | 37,5 | 476 | 486 |
5,5 | 41 | 535 | 122 | 39 | 495 | 154 | 37 | 468 | 197 | 34,5 | 440 | 248 | 33 | 414 | 315 | 31 | 391 | 398 | |||
8 | 34 | 437 | 102 | 32 | 412 | 128 | 31 | 390 | 164 | 29 | 366 | 206 | 27 | 345 | 262 | 26 | 326 | 331 | |||
12 | 28,3 | 364 | 85 | 26,7 | 343 | 106 | 26 | 325 | 136 | 24,2 | 305 | 172 | 22,5 | 287 | 218 | 21,5 | 272 | 275 | |||
17 | 23,6 | 303 | 71 | 22 | 286 | 89 | 21,5 | 270 | 114 | 20 | 254 | 143 | 18,7 | 240 | 182 | - | - | - | |||
24 | 19,5 | 253 | 60 | 18,5 | 238 | 74 | 18 | 225 | 95 | 17 | 212 | 120 | - | - | - | - | - | - | |||
32 | 6 | 3,5 | 42,5 | 505 | 140 | 48 | 476 | 178 | 45 | 448 | 226 | 42,5 | 423 | 285 | 40 | 398 | 361,5 | 37,5 | 376 | 457 | |
5,5 | 41,5 | 414 | 115 | 39 | 391 | 145 | 37 | 368 | 185 | 35 | 347 | 234 | 33 | 327 | 297 | 31 | 309 | 376 | |||
8 | 34 | 345 | 95,8 | 32 | 326 | 121 | 31 | 306 | 154 | 29 | 289 | 195 | 27 | 272 | 247 | 26 | 257 | 313 | |||
12 | 28,3 | 287 | 80 | 26,6 | 271 | 100 | 26 | 255 | 128 | 24 | 241 | 162 | 22,5 | 226 | 205 | 21,5 | 214 | 260 | |||
17 | 23,6 | 239 | 66,5 | 22 | 226 | 84 | 21,5 | 212 | 106 | 20 | 200 | 135 | 18,7 | 188 | 171 | - | - | - | |||
24 | 20 | 199 | 55 | 18,5 | 188 | 70 | 18 | 177 | 89 | 17 | 166 | 112 | - | - | - | - | - | - | |||
РЕЖИМЫ РЕЗАНИЯ Фрезерование плоскостей, уступов, пазов Чугун серый | Фрезы концевые из стали Р18 | ||||||||||||||||||||
Карта 62, лист 2 | |||||||||||||||||||||
D, мм, до | Z | B, мм | t, мм, до | Подача на один зуб фрезы Sz, мм/зуб, до | |||||||||||||||||
0,05 | 0,07 | 0,10 | 0,13 | 0,18 | 0,24 | ||||||||||||||||
Режимы резания | |||||||||||||||||||||
V | n | Sм | V | n | Sм | V | n | Sм | V | n | Sм | V | n | Sм | V | n | Sм | ||||
40 | 6 | 20 - 30 | 3,5 | 59 | 471 | 132 | 57 | 452 | 167 | 53 | 420 | 211 | 50 | 394 | 269 | 46 | 372 | 841 | 44 | 350 | 431 |
5,5 | 49 | 387 | 109 | 45,5 | 365 | 137 | 43 | 344 | 174 | 41 | 324 | 221 | 38,5 | 305 | 280 | 36 | 288 | 354 | |||
8 | 40 | 317 | 89 | 37,5 | 299 | 113 | 35,5 | 283 | 142 | 33,5 | 266 | 181 | 31,5 | 251 | 229 | 29,5 | 237 | 291 | |||
12 | 33,3 | 264 | 74 | 31,2 | 249 | 94 | 30 | 236 | 118 | 28 | 222 | 150 | 26 | 209 | 191 | 24,5 | 197 | 242 | |||
17 | 27,7 | 220 | 62 | 26 | 207 | 78,5 | 24,7 | 196 | 98 | 23 | 185 | 125 | 21,5 | 174 | 159 | 20,5 | 164 | 202 | |||
24 | 23 | 183 | 51 | 21,5 | 173 | 65 | 20,5 | 163 | 82 | 19,4 | 154 | 105 | 18 | 145 | 132 | 17 | 137 | 168 | |||
34 | 19 | 152 | 43 | 18 | 144 | 54 | 17 | 136 | 68 | 16,1 | 128 | 87 | - | - | - | - | - | - | |||
50 | 6 | 3,5 | 65 | 414 | 112 | 61,5 | 391 | 146 | 57,5 | 367 | 184 | 54 | 347 | 234 | 51 | 327 | 297 | 49 | 309 | 376 | |
5,5 | 53 | 337 | 93 | 49,5 | 317 | 118 | 47 | 299 | 150 | 44 | 282 | 190 | 41,5 | 266 | 241 | 39,5 | 251 | 305 | |||
8 | 43 | 277 | 77 | 41 | 261 | 98 | 39 | 246 | 124 | 36,5 | 232 | 157 | 34,5 | 218 | 200 | 32 | 205 | 253 | |||
12 | 36 | 23 | 64 | 34 | 217 | 81 | 32 | 205 | 103 | 50 | 193 | 131 | 28,7 | 181 | 166 | 26 | 171 | 211 | |||
17 | 30 | 192 | 53 | 28,3 | 180 | 67 | 26,6 | 170 | 86 | 55 | 160 | 109 | 24 | 150 | 158 | 22 | 142 | 175 | |||
24 | 25 | 160 | 44,5 | 23,5 | 150 | 56 | 22 | 142 | 71 | 21 | 134 | 91 | 20 | 125 | 115 | 18 | 118 | 146 | |||
34 | 21 | 133 | 37 | 19,6 | 125 | 47 | 18,5 | 118 | 60 | 17,3 | 111 | 75 | 16,5 | 105 | 96 | 15 | 98 | 122 | |||
РЕЖИМЫ РЕЗАНИЯ Фрезерование плоскостей, уступов, пазов Чугун серый | Фрезы концевые из стали Р18 | ||||||
Карта 62, лист 3 | |||||||
ПОПРАВОЧНЫЕ КОЭФФИЦИЕНТЫ НА РЕЖИМЫ РЕЗАНИЯ ДЛЯ ИЗМЕНЕННЫХ УСЛОВИЙ РАБОТЫ В ЗАВИСИМОСТИ ОТ: | |||||||
1) Твердости чугуна | Группа твердости HB | 143 - 229 | 170 - 225 | 197 - 269 | |||
Коэффициент Kv = Kn = Ksм | 1,0 | 0,9 | 0,8 | ||||
2) Состояния обрабатываемой поверхности | Поверхность | Без корки | С коркой | ||||
Коэффициент Kv = Kn = Ksм | 1,0 | 0,75 | |||||
3) Отношения фактической ширины фрезерования к нормативной Bф/Bн | 0,2 | 0,5 | 1,0 | 2,0 | 3,0 | ||
Коэффициент Kv = Kn = Ksм | 1,5 | 1,2 | 1,0 | 0,85 | 0,75 | ||
4) Вида обрабатываемой поверхности | Плоскость, уступ | Сложная криволинейная поверхность | Паз, колодец, радиус сопряжения | ||||
Коэффициент | 1,0 | 0,9 | 0,85 | ||||
Фрезерование плоскостей, уступов, пазов Чугун серый | Фрезы концевые из стали Р18 | |||||||||||||
Карта 63 | ||||||||||||||
Подача на один зуб Sz, мм/зуб | Глубина резания t, мм, до | |||||||||||||
0,04 - 0,066 | 0,067 - 0,11 | 0,12 - 0,18 | 0,19 - 0,30 | |||||||||||
Ширина фрезерования В, мм, до | ||||||||||||||
- | - | 14,5 | 6,5 | 8,0 | 10,0 | 12 | 15 | 18 | 21 | 25 | - | - | - | - |
- | - | 17 | 5,3 | 6,5 | 8,0 | 10 | 12 | 15 | 18 | 21 | 25 | - | - | - |
- | 14,5 | 21 | 4,3 | 5,3 | 6,5 | 8 | 10 | 12 | 15 | 18 | 21 | 25 | - | - |
14,5 | 17 | 25 | 3,5 | 4,3 | 5,3 | 6,5 | 8 | 10 | 12 | 15 | 18 | 21 | 25 | - |
17 | 21 | 30 | 2,9 | 3,5 | 4,3 | 5,3 | 6,5 | 8 | 10 | 12 | 15 | 18 | 21 | 25 |
21 | 25 | 35 | - | 2,9 | 3,5 | 4,3 | 5,3 | 6,5 | 8 | 10 | 12 | 15 | 18 | 21 |
25 | 30 | 35 | - | - | 2,9 | 3,5 | 4,3 | 5,3 | 6 | 8 | 10 | 12 | 15 | 18 |
30 | 35 | - | - | - | - | 2,9 | 3,5 | 4,3 | 5,3 | 6,5 | 8 | 10 | 12 | 15 |
35 | - | - | - | - | - | - | 2,9 | 3,3 | 4,3 | 5,3 | 6,5 | 8 | 10 | 12 |
Минутная подача Sм, мм/мин., до | Мощность резания N, квт | |||||||||||||
45 | - | - | - | - | - | - | - | - | - | - | 0,6 | 0,8 | ||
54 | - | - | - | - | - | - | - | - | - | 0,6 | 0,8 | 0,9 | ||
65 | - | - | - | - | - | - | - | - | 0,6 | 0,8 | 0,9 | 1,1 | ||
78 | - | - | - | - | - | - | - | 0,6 | 0,8 | 0,9 | 1,1 | 1,3 | ||
93 | - | - | - | - | - | - | 0,6 | 0,8 | 0,9 | 1,1 | 1,3 | 1,6 | ||
110 | - | - | - | - | - | 0,6 | 0,8 | 0,9 | 1,1 | 1,3 | 1,6 | 1,9 | ||
132 | - | - | - | - | 0,6 | 0,8 | 0,9 | 1,1 | 1,3 | 1,6 | 1,9 | 2,2 | ||
157 | - | - | - | 0,6 | 0,8 | 0,9 | 1,1 | 1,3 | 1,6 | 1,9 | 2,2 | 2,7 | ||
188 | - | - | 0,6 | 0,8 | 0,9 | 1,1 | 1,3 | 1,6 | 1,9 | 2,2 | 2,7 | 3,2 | ||
225 | - | 0,6 | 0,8 | 0,9 | 1,1 | 1,3 | 1,6 | 1,9 | 2,2 | 2,7 | 3,2 | 3,8 | ||
265 | 0,6 | 0,8 | 0,9 | 1,1 | 1,3 | 1,6 | 1,9 | 2,2 | 2,7 | 3,2 | 3,8 | 4,6 | ||
320 | 0,8 | 0 9 | 1,1 | 1,3 | 1,6 | 1,9 | 2,2 | 2,7 | 3,2 | 3,8 | 4,6 | 5,4 | ||
380 | 0,9 | 1,1 | 1,3 | 1,6 | 1,9 | 2,2 | 2,7 | 3,2 | 3,8 | 4,6 | 5,4 | 6,5 | ||
455 | 1,1 | 1,3 | 1,6 | 1,9 | 2,2 | 2,7 | 3,2 | 3,8 | 4,6 | 5,4 | 6,5 | 7,8 | ||
540 | 1,3 | 1,6 | 1,9 | 2,2 | 2,7 | 3,2 | 3,8 | 4,6 | 5,4 | 6,5 | 7,8 | 9,3 | ||
650 | 1,6 | 1,9 | 2,2 | 2,7 | 3,2 | 3,8 | 4,6 | 5,4 | 6,5 | 7,8 | 9,3 | 11 | ||
780 | 1,9 | 2,2 | 2,7 | 3,2 | 3,8 | 4,6 | 5,4 | 6,5 | 7,8 | 9,3 | 11 | 13 | ||
ПОПРАВОЧНЫЕ КОЭФФИЦИЕНТЫ НА МОЩНОСТЬ В ЗАВИСИМОСТИ ОТ ТВЕРДОСТИ ЧУГУНА | ||||||||||||||
Твердость HB | До 229 | Св. 229 | ||||||||||||
Коэффициент | 1,0 | 1,20 | ||||||||||||
Фрезерование плоскостей, уступов, пазов Медные и алюминиевые сплавы | Фрезы концевые из стали Р18 | |||||||||||||||||||||||
Карта 64, лист 1 | ||||||||||||||||||||||||
D, мм, до | Z | B, мм | t, мм, до | Подача на один зуб фрезы Sz, мм/зуб, до | ||||||||||||||||||||
0,05 | 0,07 | 0,10 | 0,13 | 0,18 | 0,27 | 0,40 | ||||||||||||||||||
Режимы резания | ||||||||||||||||||||||||
V | n | Sм | V | n | Sм | V | n | Sм | V | n | Sм | V | n | Sм | V | n | Sм | V | n | Sм | ||||
8 | 3 | 8 | 3,5 | 82 | 3980 | 536 | 77 | 3700 | 720 | 72 | 3460 | 940 | 63 | 3190 | - | - | - | - | - | - | - | - | - | - |
5 | 75 | 3590 | 482 | 69 | 3320 | 650 | 64 | 3130 | 845 | 59 | 2880 | 1090 | - | - | - | - | - | - | - | - | - | |||
8 | 65 | 3130 | 420 | 61 | 2910 | 570 | 57 | 2745 | 740 | - | - | - | - | - | - | - | - | - | - | - | - | |||
12 | 3 | 12 | 3,5 | 96 | 3060 | 413 | 89 | 2850 | 555 | 83 | 2660 | 720 | 76 | 2458 | 935 | 74 | 2350 | 1160 | - | - | - | - | - | - |
5 | 86 | 2755 | 372 | 81 | 2565 | 501 | 75 | 2400 | 647 | 69 | 2210 | 840 | 66 | 2120 | 1040 | - | - | - | - | - | - | |||
8 | 76 | 2420 | 326 | 70 | 2240 | 437 | 65 | 2100 | 570 | 59 | 1930 | 741 | - | - | - | - | - | - | - | - | - | |||
18 | 3 | 18 | 3,5 | 110 | 2330 | 315 | 103 | 2185 | 423 | 95 | 2040 | 551 | 89 | 1920 | 715 | 84 | 1800 | 883 | - | - | - | - | - | - |
5 | 98 | 2090 | 284 | 92 | 1955 | 382 | 86 | 1830 | 494 | 80 | 1730 | 642 | 76 | 1624 | 805 | - | - | - | - | - | - | |||
8 | 87 | 1840 | 248 | 80 | 1729 | 334 | 76 | 1615 | 434 | 71 | 1520 | 564 | 67 | 1425 | 707 | - | - | - | - | - | - | |||
12 | 76 | 1630 | 220 | 72 | 1520 | 296 | 67 | 1135 | 384 | 62 | 1350 | 495 | 59 | 1260 | 625 | - | - | - | - | - | - | |||
27 | 3 - 4 | 27 | 3,5 | 126 | 1790 | 242 | 116 | 1653 | 375 | 110 | 1558 | 489 | 103 | 1470 | 635 | 97 | 1365 | 788 | 89 | 1273 | 1090 | - | - | - |
5 | 115 | 1610 | 218 | 104 | 1490 | 338 | 99 | 1395 | 440 | 93 | 1310 | 570 | 87 | 1235 | 710 | 81 | 1140 | 978 | - | - | - | |||
8 | 100 | 1415 | 1900 | 92 | 1300 | 296 | 86 | 1225 | 385 | 81 | 1150 | 500 | 76 | 1083 | 622 | 70 | 1007 | 855 | - | - | - | |||
12 | 89 | 1250 | 169 | 81 | 1150 | 262 | 77 | 1090 | 342 | 72 | 1023 | 444 | 67 | 950 | 552 | 63 | 893 | 764 | - | - | - | |||
18 | 79 | 1110 | 150 | 72 | 1025 | 232 | 67 | 960 | 302 | 63 | 900 | 390 | 60 | 845 | 489 | - | - | - | - | - | - | |||
40 | 3 - 4 | 40 | 3,5 | - | - | - | 130 | 1270 | 288 | 126 | 1197 | 375 | 118 | 1123 | 487 | 111 | 1054 | 608 | 103 | 978 | 836 | 95 | 902 | 1140 |
5 | - | - | - | 116 | 1145 | 260 | 114 | 1073 | 338 | 107 | 1010 | 435 | 101 | 950 | 546 | 92 | 878 | 750 | 85 | 812 | 1026 | |||
8 | - | - | - | 103 | 1000 | 227 | 99 | 950 | 298 | 93 | 892 | 385 | 87 | 836 | 482 | 82 | 769 | 660 | 75 | 712 | 902 | |||
12 | - | - | - | 91 | 885 | 201 | 87 | 840 | 264 | 81 | 788 | 340 | 78 | 741 | 426 | 72 | 684 | 588 | 64 | 614 | 777 | |||
18 | - | - | - | 80 | 788 | 178 | 78 | 740 | 233 | 73 | 695 | 300 | 68 | 655 | 378 | 63 | 607 | 518 | - | - | - | |||
27 | - | - | - | 71 | 703 | 140 | 67 | 648 | 202 | 63 | 608 | 260 | 60 | 570 | 329 | - | - | - | - | - | - | |||
РЕЖИМЫ РЕЗАНИЯ Фрезерование плоскостей, уступов, пазов Медные и алюминиевые сплавы | Фрезы концевые из стали Р18 | |||||||||||||||||||||||
Карта 64, лист 2 | ||||||||||||||||||||||||
D, мм, до | Z | B, мм | t, мм, до | Подача на один зуб фрезы Sz, мм/зуб, до | ||||||||||||||||||||
0,05 | 0,07 | 0,10 | 0,13 | 0,18 | 0,27 | 0,40 | ||||||||||||||||||
Режимы резания | ||||||||||||||||||||||||
V | n | Sм | V | n | Sм | V | n | Sм | V | n | Sм | V | n | Sм | V | n | Sм | V | n | Sм | ||||
60 | 3 - 4 | 60 | 3,5 | - | - | - | - | - | - | 144 | 921 | 290 | 135 | 864 | 370 | 128 | 817 | 555 | 119 | 755 | 646 | 109 | 698 | 879 |
5 | - | - | - | - | - | - | 130 | 826 | 261 | 122 | 775 | 335 | 116 | 740 | 413 | 106 | 679 | 581 | 99 | 627 | 790 | |||
8 | - | - | - | - | - | - | 115 | 727 | 230 | 107 | 682 | 297 | 102 | 648 | 361 | 93 | 598 | 513 | 86 | 550 | 693 | |||
12 | - | - | - | - | - | - | 101 | 641 | 202 | 94 | 602 | 260 | 89 | 5,70 | 323 | 82 | 527 | 452 | 76 | 487 | 617 | |||
18 | - | - | - | - | - | - | 91 | 570 | 179 | 85 | 535 | 230 | 79 | 505 | 285 | 73 | 470 | 389 | 67 | 435 | 543 | |||
27 | - | - | - | - | - | - | 78 | 498 | 157 | 73 | 467 | 202 | 69 | 442 | 249 | 64 | 406 | 351 | - | - | - | |||
40 | - | - | - | - | - | - | 69 | 442 | 140 | 65 | 415 | 180 | 61 | 390 | 221 | 57 | 365 | 310 | - | - | - | |||
РЕЖИМЫ РЕЗАНИЯ Фрезерование плоскостей, уступов, пазов Медные и алюминиевые сплавы | Фрезы концевые из стали Р18 | |||||||||||
Карта 64, лист 3 | ||||||||||||
ПОПРАВОЧНЫЕ КОЭФФИЦИЕНТЫ НА РЕЖИМЫ РЕЗАНИЯ ДЛЯ ИЗМЕНЕННЫХ УСЛОВИЙ РАБОТЫ В ЗАВИСИМОСТИ ОТ: | ||||||||||||
1) Группы медных сплавов | Группа | Гетерогенные сплавы | Свинцовистые сплавы при основной гетерогенной структуре | Гомогенные сплавы | Сплавы с содержанием свинца 10% при основной гомогенной структуре | Медь | Сплавы с содержанием свинца 15% | |||||
высокой твердости | средней твердости | |||||||||||
Коэффициент Kv = Kn = Ksм | 0,7 | 1,0 | 1,7 | 2,0 | 4,0 | 8,0 | 12,0 | |||||
2) Группы алюминиевых сплавов | Группа | Силумин и литейные сплавы ![]() HB >= 65; дуралюмин ![]() HB >= 100 | Силумин и литейные сплавы ![]() HB <= 65; дуралюмин ![]() HB <= 100 | Дуралюмин ![]() | ||||||||
Коэффициент Kv = Kn = Ksм | 1,5 | 1,8 | 2,2 | |||||||||
3) Состояния обрабатываемой поверхности | Поверхность | Без корки | С коркой | |||||||||
Коэффициент Kv = Kn = Ksм | 1,0 | HB <= 200 | HB >= 200 | |||||||||
0,9 | 0,95 | |||||||||||
4) Вида обрабатываемой поверхности | Поверхность | Плоскость, уступ | Сложная криволинейная поверхность | Паз, колодец, радиус сопряжения | ||||||||
Коэффициент | 1,0 | 0,9 | 0,85 | |||||||||
5) Отношения фактической ширины фрезерования к нормативной Bф/Bн | Bф/Bн | 0,5 | 1,0 | 3 | 5 | |||||||
Коэффициент Kv = Kn = Ksм | 1,1 | 1,0 | 0,9 | 0,85 | ||||||||
Фрезерование плоскостей, уступов, пазов Медные и алюминиевые сплавы | Фрезы концевые из стали Р18 | |||||||||||||
Карта 65 | ||||||||||||||
Подача на один зуб фрезы Sz, мм/зуб | Глубина резания t, мм, до | |||||||||||||
0,05 - 0,09 | 0,1 - 0,16 | 0,17 - 0,4 | ||||||||||||
Ширина фрезерования B, мм, до | ||||||||||||||
- | - | 21 | 5,3 | 6,5 | 8 | 10 | 12 | 15 | 18 | 21 | 25 | 30 | - | - |
- | 21 | 25 | 4,3 | 5,3 | 6,5 | 8 | 10 | 12 | 15 | 18 | 21 | 25 | 30 | - |
21 | 25 | 30 | 3,5 | 4,3 | 5,3 | 6,5 | 8 | 10 | 12 | 15 | 18 | 21 | 25 | 30 |
25 | 30 | 35 | 2,9 | 3,5 | 4,3 | 5,3 | 6,5 | 8 | 10 | 12 | 15 | 18 | 21 | 25 |
30 | 35 | 42 | - | 2,9 | 3,5 | 4,3 | 5,3 | 0,5 | 8 | 10 | 12 | 15 | 18 | 21 |
35 | 42 | 50 | - | - | 2,9 | 3,5 | 4,3 | 5,3 | 6,5 | 8 | 10 | 12 | 15 | 18 |
42 | 50 | 60 | - | - | - | 2,9 | 3,5 | 4,3 | 5,3 | 6,5 | 8 | 10 | 12 | 15 |
50 | 60 | - | - | - | - | - | 2,9 | 3,5 | 4,3 | 5,3 | 6,5 | 8 | 10 | 12 |
60 | - | - | - | - | - | - | - | 2,9 | 3,5 | 4,3 | 5,3 | 6,5 | 8 | 10 |
Минутная подача Sм, мм/мин., до | Мощность резания N, квт | |||||||||||||
188 | - | - | - | - | - | - | 1,0 | 1,2 | 1,4 | 1,7 | 2,0 | 2,4 | ||
225 | - | - | - | - | - | 1,0 | 1,2 | 1,4 | 1,7 | 2,0 | 2,4 | 2,8 | ||
265 | - | - | - | - | 1,0 | 1,2 | 1,4 | 1,7 | 2,0 | 2,4 | 2,8 | 3,4 | ||
320 | - | - | - | 1,0 | 1,2 | 1,4 | 1,7 | 2,0 | 2,4 | 2,8 | 3,4 | 4,0 | ||
380 | - | - | 1,0 | 1,2 | 1,4 | 1,7 | 2,0 | 2, 4 | 2,8 | 3,4 | 4,0 | 4,8 | ||
455 | - | 1,0 | 1,2 | 1,4 | 1,7 | 2,0 | 2,4 | 2,8 | 3,4 | 4,0 | 4,8 | 5,8 | ||
540 | 1,0 | 1,2 | 1,4 | 1,7 | 2,0 | 2,4 | 2,8 | 3,4 | 4,0 | 4,8 | 5,8 | 6,9 | ||
650 | 1,2 | 1,4 | 1,7 | 2,0 | 2,4 | 2,8 | 3 4 | 4,0 | 4,8 | 5,8 | 6,9 | 8,2 | ||
780 | 1,4 | 1,7 | 2,0 | 2,4 | 2,8 | 3,4 | 4,0 | 4,8 | 5,8 | 6,9 | 8,2 | 9,8 | ||
930 | 1,7 | 2,0 | 2,4 | 2,8 | 3,4 | 4,0 | 4,8 | 5,8 | 6,9 | 8,2 | 9,8 | 11,7 | ||
100 | 2,0 | 2,4 | 2,8 | 3,4 | 4,0 | 4,8 | 5,8 | 6,9 | 8,2 | 9,8 | 11,7 | 14 | ||
ПОПРАВОЧНЫЕ КОЭФФИЦИЕНТЫ НА МОЩНОСТЬ РЕЗАНИЯ В ЗАВИСИМОСТИ ОТ СПЛАВА | ||||||||||||||
Сплав | Медные сплавы | Алюминиевые сплавы | ||||||||||||
Коэффициент | 1,0 | 1,25 | ||||||||||||
Фрезерование плоскостей, уступов, пазов Сталь конструкционная углеродистая | Фрезы концевые Т15К6 | |||||||||||||||||||||||
Карта 66, лист 1 | ||||||||||||||||||||||||
D, мм, до | Z | B, мм, до | t, мм, до | Подача на один зуб фрезы Sz, мм/зуб, до | ||||||||||||||||||||
0,03 | 0,04 | 0,050 | 0,07 | 0,10 | 0,15 | 0,22 | ||||||||||||||||||
Режимы резания | ||||||||||||||||||||||||
V | n | Sм | V | n | Sм | V | n | Sм | V | n | Sм | V | n | Sм | V | n | Sм | V | n | Sм | ||||
25 | 3 - 4 | 20 | 3 | 122 | 1857 | 176 | 103 | 1563 | 202 | 92 | 1406 | 220 | 78 | 1178 | 268 | 66 | 993 | 313 | 54 | 822 | 378 | - | - | - |
5 | 112 | 1700 | 161 | 92 | 1406 | 182 | 85 | 1287 | 202 | 72 | 1083 | 246 | 59,6 | 903 | 288 | 49,5 | 746 | 348 | - | - | - | |||
7 | 103 | 1563 | 147 | 85 | 1287 | 167 | 78 | 1178 | 186 | 66 | 993 | 226 | 54 | 822 | 263 | 45 | 679 | 319 | - | - | - | |||
10 | 92 | 1406 | 136 | 78 | 1178 | 153 | 72 | 1083 | 170 | 59,6 | 903 | 207 | 49,5 | 746 | 241 | 41 | 617 | 292 | - | - | - | |||
15 | 85 | 1287 | 123 | 72 | 1083 | 141 | 66 | 993 | 156 | 54 | 820 | 190 | 45 | 679 | 222 | 37 | 560 | 270 | - | - | - | |||
35 | 3 - 4 | 30 | 3 | - | - | - | 106 | 1135 | 146 | 97 | 1031 | 162 | 80 | 855 | 193 | 68 | 720 | 226 | 57 | 607 | 285 | 48,5 | 503 | 350 |
5 | - | - | - | 97 | 1030 | 135 | 88 | 931 | 146 | 74 | 785 | 178 | 62 | 665 | 209 | 52 | 555 | 262 | 43 | 460 | 320 | |||
7 | - | - | - | 88 | 931 | 120 | 80 | 865 | 135 | 68 | 722 | 164 | 57 | 607 | 191 | 47,5 | 503 | 241 | 39 | 418 | 286 | |||
10 | - | - | - | 80 | 865 | 111 | 74 | 784 | 122 | 62 | 665 | 151 | 52 | 555 | 174 | 43 | 460 | 220 | 36 | 380 | 272 | |||
15 | - | - | - | 74 | 784 | 102 | 68 | 720 | 113 | 57 | 607 | 134 | 47,5 | 503 | 160 | 39 | 418 | 203 | 33 | 348 | 250 | |||
25 | - | - | - | 68 | 720 | 93 | 62 | 665 | 104 | 52 | 555 | 126 | 43 | 460 | 147 | 36 | 380 | 186 | 29,4 | 314 | 229 | |||
РЕЖИМЫ РЕЗАНИЯ Фрезерование плоскостей, уступов, пазов Сталь конструкционная углеродистая | Фрезы концевые Т15К6 | |||||||||||||||||||||||
Карта 66, лист 2 | ||||||||||||||||||||||||
D, мм, до | Z | B, мм, до | t, мм, до | Подача на один зуб фрезы Sz, мм/зуб, до | ||||||||||||||||||||
0,03 | 0,04 | 0,050 | 0,07 | 0,10 | 0,15 | 0,22 | ||||||||||||||||||
Режимы резания | ||||||||||||||||||||||||
V | n | Sм | V | n | Sм | V | n | Sм | V | n | Sм | V | n | Sм | V | n | Sм | V | n | Sм | ||||
50 | 4 - 6 | 40 | 3 | - | - | - | - | - | - | 104 | 708 | 160 | 78 | 590 | 192 | 65 | 490 | 221 | 54 | 413 | 278 | 46 | 347 | 350 |
5 | - | - | - | - | - | - | 86 | 645 | 185 | 71 | 540 | 176 | 59 | 450 | 203 | 50 | 380 | 256 | 42 | 314 | 320 | |||
7 | - | - | - | - | - | - | 78 | 590 | 137 | 65 | 490 | 159 | 54 | 410 | 186 | 46 | 316 | 234 | 38 | 284 | 295 | |||
10 | - | - | - | - | - | - | 71 | 540 | 125 | 59 | 450 | 146 | 50 | 380 | 171 | 42 | 314 | 220 | 34 | 260 | 270 | |||
15 | - | - | - | - | - | - | 65 | 490 | 114 | 54 | 410 | 134 | 46 | 346 | 157 | 38 | 284 | 193 | 31 | 237 | 247 | |||
25 | - | - | - | - | - | - | 59 | 450 | 104 | 50 | 380 | 123 | 42 | 314 | 144 | 34 | 260 | 182 | 28 | 218 | 226 | |||
35 | - | - | - | - | - | - | 54 | 410 | 93 | 46 | 346 | 113 | 38 | 284 | 132 | 31 | 237 | 167 | 26 | 199 | 209 | |||
РЕЖИМЫ РЕЗАНИЯ Фрезерование плоскостей, уступов, пазов Сталь конструкционная углеродистая | Фрезы концевые Т15К6 | ||||||||
Карта 66, лист 3 | |||||||||
ПОПРАВОЧНЫЕ КОЭФФИЦИЕНТЫ НА РЕЖИМЫ РЕЗАНИЯ ДЛЯ ИЗМЕНЕННЫХ УСЛОВИЙ РАБОТЫ В ЗАВИСИМОСТИ ОТ: | |||||||||
1) Предела прочности при растяжении | 52 - 69 | 70 - 90 | 100 - 120 | 3) Отношения фактической ширины фрезерования к нормативной Bф/Bн | 0,2 | 0,5 | 1,0 | 2,0 | 3,0 |
Коэффициент Kv, Kn, Ksм | 1,2 | 1,0 | 0,8 | Коэффициент Kv, Kn, Ksм | 1,5 | 1,2 | 1,0 | 0,85 | 0,75 |
2) Вида обрабатываемой поверхности | Плоскость, уступ | Сложная криволинейная поверхность | Паз, колодец, радиус сопряжения | 4) Состояния поверхности | Без корки | С коркой | |||
Коэффициент Kv, Kn, Ksм | 1,0 | 0,90 | 0,85 | Коэффициент Kv, Kn, Ksм | 1,0 | 0,9 | |||
Фрезерование плоскостей, уступов, пазов. Сталь | Фрезы концевые из твердого сплава Т15К6 | ||||||||||||||||||||||||||
Карта 67, лист 1 | |||||||||||||||||||||||||||
Обрабатываемый материал - сталь | Глубина резания t, мм, до | ||||||||||||||||||||||||||
Тип и размер фрезы в мм | |||||||||||||||||||||||||||
Фрезы с коронками | Фрезы с напаянными пластинками | ||||||||||||||||||||||||||
D = 10 - 22 | D = 10 - 30 | D = 40 - 50 | |||||||||||||||||||||||||
Ширина фрезерования B, мм, до | |||||||||||||||||||||||||||
5,0 | - | - | 4,0 | 5,0 | 6,0 | 7,5 | 9,3 | 11,5 | 14 | 17 | 21 | 26 | 34 | - | - | - | - | - | - | - | - | - | - | - | - | - | - |
6,0 | 5,0 | - | 3,3 | 4,0 | 5,0 | 6,0 | 7,5 | 9,3 | 11,5 | 14 | 17 | 21 | 26 | 34 | - | - | - | - | - | - | - | - | - | - | - | - | - |
7,0 | 6,0 | 5,0 | 2,6 | 3,3 | 4,0 | 5,0 | 6,0 | 7,5 | 9,3 | 11,5 | 14 | 17 | 21 | 26 | 34 | - | - | - | - | - | - | - | - | - | - | - | - |
8,4 | 7,0 | 6,0 | 2,1 | 2,6 | 3,3 | 4,0 | 5,0 | 6,0 | 7,5 | 9,3 | 11,5 | 14 | 17 | 21 | 26 | 34 | - | - | - | - | - | - | - | - | - | - | - |
10 | 8,4 | 7,0 | 1,7 | 2,1 | 2,6 | 3,3 | 4,0 | 5,0 | 6,0 | 7,5 | 9,3 | 11,5 | 14 | 17 | 21 | 26 | 34 | - | - | - | - | - | - | - | - | - | - |
12 | 10 | 8,4 | 1,4 | 1,7 | 2,1 | 2,6 | 3,3 | 4,0 | 5,0 | 6,0 | 7,5 | 9,3 | 11,5 | 14 | 47 | 21 | 26 | 34 | - | - | - | - | - | - | - | - | - |
14 | 12 | 10 | 1,1 | 1,4 | 1,7 | 2,1 | 2,6 | 3,3 | 4,0 | 5,0 | 6,0 | 7,5 | 9,3 | 11 | 14 | 17 | 21 | 26 | 34 | - | - | - | - | - | - | - | - |
17 | 14 | 12 | - | 1,1 | 1,4 | 1,7 | 2,1 | 2,6 | 3,3 | 4,0 | 5,0 | 6,0 | 7,5 | 9,3 | 11,5 | 14 | 17 | 21 | 20 | 34 | - | - | - | - | - | - | - |
20 | 17 | 14 | - | - | 1,1 | 1,4 | 1,7 | 2,1 | 2,6 | 3,3 | 4,0 | 5,0 | 6,0 | 7,5 | 9,3 | 11,5 | 14 | 17 | 21 | 26 | 34 | - | - | - | - | - | - |
- | 20 | 17 | - | - | - | 1,1 | 1,4 | 1,7 | 2,1 | 2,6 | 3,3 | 4,0 | 5,0 | 6,0 | 7,5 | 9,3 | 11,5 | 14 | 17 | 21 | 26 | 34 | - | - | - | - | - |
- | 24 | 20 | - | - | - | - | 1,1 | 1,4 | 1,7 | 2,1 | 2,6 | 3,3 | 4,0 | 5,0 | 6,0 | 7,5 | 9,3 | 11,5 | 14 | 17 | 21 | 26 | 34 | - | - | - | - |
- | 29 | 24 | - | - | - | - | - | 1,1 | 1,4 | 1,7 | 2,1 | 2,6 | 3,3 | 4,0 | 5,0 | 6,0 | 7,5 | 9,3 | 11 | 14 | 17 | 21 | 26 | 34 | - | - | - |
- | 35 | 29 | - | - | - | - | - | - | 1,1 | 1,4 | 1,7 | 2,1 | 2,6 | 3,3 | 4,0 | 5,0 | 6,0 | 7,5 | 9,3 | 11,5 | 14 | 17 | 21 | 26 | 34 | - | - |
- | 40 | 35 | - | - | - | - | - | - | - | 1,1 | 1,4 | 1,7 | 2,1 | 2,6 | 3,3 | 4,0 | 5,0 | 6,0 | 7,5 | 9,3 | 11,5 | 14 | 17 | 21 | 26 | 34 | - |
- | 50 | 40 | - | - | - | - | - | - | - | - | 1,1 | 1,4 | 1,7 | 2,1 | 2,6 | 3,3 | 4,0 | 5,0 | 6,0 | 7,5 | 9,3 | 11,5 | 14 | 17 | 21 | 26 | 34 |
- | 60 | 50 | - | - | - | - | - | - | - | - | - | 1,1 | 1,4 | 1,7 | 2,1 | 2,6 | 3,3 | 4,0 | 5,0 | 6,0 | 7,5 | 9,3 | 11,5 | 14 | 17 | 21 | 26 |
- | - | 60 | - | - | - | - | - | - | - | - | - | - | 1,1 | 1,4 | 1,7 | 2,1 | 2,6 | 3,3 | 4,0 | 5,0 | 6,0 | 7,5 | 9,3 | 1,5 | 14 | 17 | 21 |
- | - | 70 | - | - | - | - | - | - | - | - | - | - | - | 1,1 | 1,4 | 1,7 | 2,1 | 2,6 | 3,3 | 4,0 | 5,0 | 6,6 | 7,5 | 9,3 | 11,5 | 14 | 17 |
Подача на один зуб фрезы Sz, мм/зуб, до | Мощность резания N, кВт | ||||||||||||||||||||||||||||
0,03 | 0,05 | 0,08 | 0,13 | 0,20 | |||||||||||||||||||||||||
Минутная подача Sм, мм/мин., до | |||||||||||||||||||||||||||||
- | - | 112 | 130 | 153 | - | - | - | - | - | - | - | - | - | - | - | - | - | - | 0,9 | 1,1 | 1,3 | 1,5 | 1,8 | 2,2 | 2,6 | 3,1 | 3,7 | 4,4 | 5,3 |
- | 112 | 130 | 153 | 178 | - | - | - | - | - | - | - | - | - | - | - | - | - | 0,9 | 1,1 | 1,5 | 1,5 | 1,8 | 2,2 | 2,6 | 3,1 | 3,7 | 4,4 | 5,3 | 6,3 |
112 | 130 | 153 | 178 | 210 | - | - | - | - | - | - | - | - | - | - | - | - | 0,9 | 1,1 | 1,3 | 1,5 | 1,8 | 2,2 | 2,6 | 3,1 | 3,7 | 4,4 | 5,3 | 6,3 | 7,5 |
130 | 153 | 178 | 210 | 245 | - | - | - | - | - | - | - | - | - | - | - | 0,9 | 1,1 | 1,3 | 1,5 | 1,8 | 2,2 | 2,6 | 3,1 | 3,7 | 4,4 | 5,3 | 6,3 | 7,5 | 9,0 |
153 | 178 | 210 | 245 | 285 | - | - | - | - | - | - | - | - | - | - | 0,9 | 1,1 | 1,3 | 1,5 | 1,8 | 2,2 | 2,6 | 3,1 | 3,7 | 4,4 | 5,3 | 6,3 | 7,5 | 9,0 | 10,7 |
178 | 210 | 245 | 285 | 335 | - | - | - | - | - | - | - | - | - | 0,9 | 1,1 | 1,3 | 1,5 | 1,8 | 2,2 | 2,6 | 3,1 | 3,7 | 4,4 | 5,3 | 6,3 | 7,5 | 9,0 | 10,7 | 12,8 |
210 | 245 | 285 | 335 | 390 | - | - | - | - | - | - | - | - | 0,9 | 1,1 | 1,3 | 1,5 | 1,8 | 2,2 | 2,6 | 3,1 | 3,7 | 4,4 | 5,1 | 6,3 | 7,5 | 9,0 | 10,7 | 12,8 | 15,3 |
245 | 285 | 335 | 390 | 460 | - | - | - | - | - | - | - | 0,9 | 1,1 | 1,3 | 1,5 | 1,8 | 2,2 | 2,6 | 3,1 | 3,7 | 4,4 | 5,3 | 6,1 | 7,5 | 9,0 | 10,7 | 12,8 | 15,3 | 18,2 |
285 | 335 | 390 | 460 | 540 | - | - | - | - | - | - | 0,9 | 1,1 | 1.3 | 1,5 | 1,8 | 2,2 | 2,6 | 3,1 | 3,7 | 4,4 | 5,3 | 6,3 | 7,5 | 9,0 | 10,7 | 12,8 | 15,3 | 18,2 | 22 |
335 | 390 | 460 | 540 | 630 | - | - | - | - | - | 0,9 | 1,1 | 1,3 | 1,5 | 1,8 | 2,5 | 2,6 | 3,1 | 3,7 | 4,4 | 5,3 | 6,3 | 7,5 | 9,0 | 10,7 | 12,8 | 15,3 | 18,2 | 22 | - |
390 | 460 | 540 | 630 | 730 | - | - | - | - | 0,9 | 1,1 | 1,3 | 1,5 | 1,5 | 2,2 | 2,6 | 3,1 | 3,7 | 4,4 | 5,3 | 6,3 | 7,5 | 9,0 | 10,7 | 12,8 | 15,3 | 18,2 | 22 | - | - |
460 | 540 | 630 | 730 | 860 | - | - | - | 0,9 | 1,1 | 1,3 | 1,5 | 1,8 | 2,2 | 2,6 | 3,1 | 3,7 | 4,4 | 5,3 | 6,3 | 7,5 | 9,0 | 10,7 | 12,3 | 15,3 | 18,2 | 22 | - | - | - |
Фрезы цилиндрические | ||
Карта 68 | ||
Мощность станка (фрезерной головки) в квт | Обрабатываемый материал | |
Сталь | Чугун и медные сплавы | |
Подача на зуб Sz, мм/зуб | ||
Св. 10 | 0,3 - 0,4 | 0,4 - 0,6 |
5 - 10 | 0,12 - 0,2 | 0,2 - 0,3 |
До 5 | 0,1 - 0,15 | 0,12 - 0,2 |
1) Материал режущей части инструмента | Быстрорежущая сталь | Твердый сплав | ||
Коэффициент Ksz | 1,0 | 0,8 | ||
2) Шероховатости поверхности | ![]() | ![]() | Ra >= 2,5 | |
Коэффициент Ksz | 1,0 | 0,5 | 0,3 | |
3) Вида фрезы | С круглым зубом и вставными ножами | С мелким зубом | ||
Коэффициент Ksz | 1,0 | 0,5 | ||
Сталь конструкционная углеродистая или легированная | Фрезы цилиндрические | ||||||||||||||||||||
Карта 69, лист 1 | |||||||||||||||||||||
D/Z | B, мм | t, мм, до | Подача на один зуб фрезы Sz, мм/зуб, до | ||||||||||||||||||
0,05 | 0,1 | 0,13 | 0,18 | 0,24 | 0,33 | ||||||||||||||||
Режимы резания | |||||||||||||||||||||
V | n | Sм | V | n | Sм | V | n | Sм | V | n | Sм | V | n | Sм | V | n | Sм | ||||
Фрезы со вставными ножами | 90/8 | 40 - 50 | 3 | 51 | 183 | 61 | 46 | 163 | 97 | 41 | 147 | 136 | 37 | 131 | 162 | 33 | 115 | 193 | - | - | - |
5 | 44 | 157 | 44 | 40 | 140 | 84 | 36 | 128 | 118 | 32 | 113 | 140 | 28 | 99 | 167 | - | - | - | |||
8 | 38,5 | 137 | 39 | 34 | 121 | 72,5 | 31,5 | 111 | 103 | 27,5 | 122 | 24 | 86 | 146 | 146 | - | - | - | |||
110/10 | 50 - 70 | 3 | 47 | 136 | 56 | 42 | 121 | 91 | 37,5 | 109 | 127 | 34 | 97,5 | 151 | 29,5 | 86 | 181 | 26 | 76,5 | 215 | |
5 | 40,5 | 117 | 49 | 36 | 104 | 78 | 32,5 | 94,5 | 109 | 29 | 84 | 131 | 25,5 | 74 | 156 | 23 | 66 | 185 | |||
8 | 35 | 101 | 42 | 31 | 90 | 67,5 | 28 | 81 | 94 | 25 | 72 | 112 | 22 | 64 | 134 | 20 | 57 | 159 | |||
13 | 31 | 88,5 | 37 | 27 | 79 | 59 | 25 | 71 | 82,5 | 22 | 63 | 99 | 19,5 | 56 | 118 | 17 | 50 | 141 | |||
130/10 | 70 - 90 | 3 | 48,5 | 119 | 49,5 | 43 | 106 | 79 | 39,5 | 96,5 | 112 | 34,5 | 85 | 132 | 31 | 75 | 157 | 27 | 67 | 188 | |
5 | 42 | 102 | 42 | 37 | 90,5 | 67,5 | 33 | 82 | 95 | 29,5 | 73 | 113 | 26 | 64,5 | 136 | 23,5 | 58 | 161 | |||
8 | 36 | 88 | 36,5 | 32 | 78 | 58,5 | 29 | 71,5 | 83 | 26 | 63 | 98 | 23 | 55,5 | 116 | 20,5 | 50 | 140 | |||
13 | 31,5 | 77,5 | 32 | 28 | 69 | 51,5 | 24,5 | 62,3 | 72 | 22,5 | 55 | 85 | 20 | 48,5 | 102 | 18 | 43,3 | 122 | |||
150/12 | 90 - 120 | 3 | 54,5 | 115 | 58 | 48,5 | 103 | 93 | 44 | 94 | 131 | 39 | 83 | 155 | 34 | 73 | 185 | 31 | 65,5 | 219 | |
5 | 47 | 100 | 50 | 41,5 | 88,5 | 80 | 38 | 81 | 112 | 34 | 71,5 | 133 | 30 | 63 | 159 | 26,5 | 56 | 189 | |||
8 | 41 | 86 | 43 | 36 | 77 | 69 | 33 | 70 | 98 | 29 | 61,5 | 115 | 26 | 54,5 | 138 | 22,5 | 48,5 | 163 | |||
13 | 35 | 74,5 | 37 | 31,5 | 67 | 59 | 28,5 | 61 | 85 | 25,5 | 54 | 100 | 22 | 47 | 119 | 20 | 42 | 142 | |||
РЕЖИМЫ РЕЗАНИЯ Сталь конструкционная углеродистая или легированная | Фрезы цилиндрические | ||||||||||||||||||||
Карта 69, лист 2 | |||||||||||||||||||||
D/Z | B, мм | t, мм, до | Подача на один зуб фрезы Sz, мм/зуб, до | ||||||||||||||||||
0,05 | 0,1 | 0,13 | 0,18 | 0,24 | 0,33 | ||||||||||||||||
Режимы резания | |||||||||||||||||||||
V | n | Sм | V | n | Sм | V | n | Sм | V | n | Sм | V | n | Sм | V | n | Sм | ||||
Фрезы с мелким зубом | 40/12 | 40 - 50 | 18 | 43 | 346 | 172 | 39 | 312 | 275 | 35 | 272 | 383 | - | - | - | - | - | - | - | - | - |
3 | 37 | 294 | 146 | 33 | 261 | 236 | 30 | 238 | 330 | - | - | - | - | - | - | - | - | - | |||
5 | 32 | 254 | 126 | 29 | 227 | 202 | 26 | 204 | 284 | - | - | - | - | - | - | - | - | - | |||
60/16 | 50 - 70 | 1,8 | 50 | 267 | 177 | 45 | 238 | 284 | 41 | 216 | 400 | - | - | - | - | - | - | - | - | - | |
3 | 43 | 230 | 153 | 38 | 204 | 244 | 35 | 187 | 345 | - | - | - | - | - | - | - | - | - | |||
5 | 37 | 196 | 130 | 33 | 174 | 208 | 30 | 158 | 293 | - | - | - | - | - | - | - | - | - | |||
8 | 32 | 170 | 113 | 29 | 151 | 180 | 26 | 139 | 256 | - | - | - | - | - | - | - | - | - | |||
75/18 | 50 - 70 | 1,8 | 47 | 201 | 149 | 42 | 178 | 240 | 240 | 28,5 | 340 | - | - | - | - | - | - | - | - | - | |
3 | 40 | 172 | 129 | 36 | 154 | 205 | 32 | 138 | 290 | - | - | - | - | - | - | - | - | - | |||
5 | 35 | 148 | 112 | 31 | 132 | 178 | 28 | 120 | 250 | - | - | - | - | - | - | - | - | - | |||
8 | 30 | 129 | 95 | 27 | 114 | 154 | 24,5 | 104 | 216 | - | - | - | - | - | - | - | - | - | |||
РЕЖИМЫ РЕЗАНИЯ Сталь конструкционная углеродистая или легированная | Фрезы цилиндрические | ||||
Карта 69, лист 3 | |||||
ПОПРАВОЧНЫЕ КОЭФФИЦИЕНТЫ НА РЕЖИМЫ РЕЗАНИЯ ДЛЯ ИЗМЕНЕННЫХ УСЛОВИЙ РАБОТЫ В ЗАВИСИМОСТИ ОТ: | |||||
1) Состояния поверхности заготовки | Поверхность | Без корки | С коркой | ||
Коэффициент Kv = Kn = Ksм | 1,0 | 0,9 | |||
2) Вида обработки | Вид обработки | Черновая ![]() | Чистовая ![]() | ||
Коэффициент Kv = Kn = Ksм | 1,0 | 0,8 | |||
3) Группы обрабатываемого материала | Обрабатываемый материал | Сталь конструкционная углеродистая | Сталь жаропрочная | ||
Коэффициент Kv = Kn = Ksм | 1,0 | 0,8 | |||
4) Отношения фактической ширины фрезерования к нормативной | Bф/Bц | 0,2 | 0,4 | 1 | 2 |
Коэффициент Kv = Kn = Ksм | 1,2 | 1,1 | 1,0 | 0,9 | |
5) Материала инструмента | Материал | Быстрорежущая сталь (Р18) | Твердый сплав (Т15К6) | ||
Коэффициент Kv = Kn = Ksм | 1,0 | 4,5 | |||
Сталь | Фрезы цилиндрические | ||||||||||||||||||
Карта 70 | |||||||||||||||||||
Подача на один зуб фрезы Sz, мм/зуб, до | Глубина резания t, мм, до | ||||||||||||||||||
0,05 - 0,09 | 0,10 - 0,17 | 0,18 - 0,32 | 0,33 - 0,6 | ||||||||||||||||
Ширина фрезерования B, мм, до | |||||||||||||||||||
- | - | - | 41 | 3,5 | 4,5 | 5,5 | 6,5 | 8 | 10 | 12 | - | - | - | - | - | - | - | - | - |
- | - | 41 | 49 | - | 3,5 | 4,5 | 5,5 | 6,5 | 8 | 10 | 12 | - | - | - | - | - | - | - | - |
- | 41 | 49 | 59 | - | - | 3,5 | 4,5 | 5,5 | 6,5 | 8 | 10 | 12 | - | - | - | - | - | - | - |
41 | 49 | 59 | 70 | - | - | - | 3,5 | 4,5 | 5,5 | 6,5 | 8 | 10 | 12 | - | - | - | - | - | - |
49 | 59 | 70 | 84 | - | - | - | - | 3,5 | 4,5 | 5,5 | 6,5 | 8 | 10 | 12 | - | - | - | - | - |
59 | 70 | 84 | 100 | - | - | - | - | - | 3,5 | 4,5 | 5,5 | 6,5 | 8 | 10 | 12 | - | - | - | - |
70 | 84 | 100 | 120 | - | - | - | - | - | - | 3,5 | 4,5 | 5,5 | 6,5 | 8 | 10 | 12 | - | - | - |
84 | 100 | 120 | - | - | - | - | - | - | - | - | 3,5 | 4,5 | 5,5 | 6,5 | 8 | 10 | 12 | - | - |
100 | 120 | - | - | - | - | - | - | - | - | - | - | 3,5 | 4,5 | 5,5 | 6,5 | 8 | 10 | 12 | - |
120 | - | - | - | - | - | - | - | - | - | - | - | - | 3,5 | 4,5 | 5,5 | 6,5 | 8 | 10 | 12 |
Минутная подача Sм, мм/мин., до | Мощность резания N, кВт | ||||||||||||||||
42 | - | - | - | - | - | - | 0,9 | 1,1 | 1,3 | 1,5 | 1,8 | 2,2 | 2,6 | 3,1 | 3,8 | 4,5 | |
50 | - | - | - | - | - | 0,9 | 1,1 | 1,3 | 1,5 | 1,8 | 2,2 | 2,6 | 3,1 | 3,8 | 4,5 | 5,3 | |
60 | - | - | - | - | 0,9 | 1,1 | 1,3 | 1,5 | 1,8 | 2,2 | 2,6 | 3,1 | 3,8 | 4,5 | 5,3 | 6,4 | |
71 | - | - | - | 0,9 | 1,1 | 1,3 | 1,5 | 1,8 | 2,2 | 2,6 | 3,1 | 3,8 | 4,5 | 5,3 | 6,4 | 7,6 | |
85 | - | - | 0,9 | 1,1 | 1,3 | 1,5 | 1,8 | 2,2 | 2,6 | 3,1 | 3,8 | 4,5 | 5,3 | 6,4 | 7,6 | 9,1 | |
101 | - | 0,9 | 1,1 | 1,3 | 1,5 | 1,8 | 2,2 | 2,6 | 3,1 | 3,8 | 4,5 | 5,3 | 6,4 | 7,6 | 9,1 | 11 | |
121 | 0,9 | 1,1 | 1,3 | 1,5 | 1,8 | 2,2 | 2,6 | 3,1 | 3,8 | 4,5 | 5,3 | 6,4 | 7,6 | 9,1 | 11 | 13 | |
144 | 1,1 | 1,3 | 1,5 | 1,8 | 2,2 | 2,6 | 3,1 | 3,8 | 4,5 | 5,3 | 6,4 | 7,6 | 9,1 | 11 | 13 | 15,5 | |
172 | 1,3 | 1,5 | 1,8 | 2,2 | 2,6 | 3,1 | 3,8 | 4,5 | 5,3 | 6,4 | 7,6 | 9,1 | 11 | 13 | 15,5 | 18,5 | |
205 | 1,5 | 1,8 | 2,2 | 2,6 | 3,1 | 3,8 | 4,5 | 5,3 | 6,4 | 7,6 | 9,1 | 11 | 13 | 15,5 | 18,5 | - | |
245 | 1,8 | 2,2 | 2,6 | 3,1 | 3,8 | 4,5 | 5,3 | 6,4 | 7,6 | 9,1 | 11 | 13 | 15,5 | 18,5 | - | - | |
295 | 2,2 | 2,6 | 3,1 | 3,8 | 4,5 | 5,3 | 6,4 | 7,6 | 9,1 | 11 | 13 | 15,5 | 18,5 | - | - | - | |
350 | 2,6 | 3,1 | 3,6 | 3,8 | 4,5 | 5,3 | 6,4 | 7,6 | 9,1 | 13 | 15,5 | 18,5 | - | - | - | - | |
420 | 3,1 | 3,8 | 4,5 | 5,3 | 6,4 | 7,6 | 9,1 | 11 | 13 | 15,5 | 18,5 | - | - | - | - | - | |
500 | 3,8 | 4,5 | 5,3 | 6,4 | 7,6 | 9,1 | 11 | 13 | 15,5 | 18,5 | - | - | - | - | - | - | |
ПОПРАВОЧНЫЕ КОЭФФИЦИЕНТЫ НА МОЩНОСТЬ В ЗАВИСИМОСТИ ОТ ПРЕДЕЛА ПРОЧНОСТИ СТАЛИ | |||||||||||||||||
Предел прочности при растяжении, кг/мм2 | До 55 | 55 - 100 | Св. 100 | ||||||||||||||
Твердость HB | До 160 | 160 - 285 | Св. 285 | ||||||||||||||
Коэффициент | 0,84 | 1,0 | 1,2 | ||||||||||||||
Чугун серый | Фрезы цилиндрические | ||||||||||||||||||||
Карта 71, лист 1 | |||||||||||||||||||||
Фрезы со вставными ножами | D/Z | B, мм | t, мм, до | Подача на один зуб Sz, мм/зуб, до | |||||||||||||||||
0,06 | 0,15 | 0,2 | 0,27 | 0,36 | 0,49 | ||||||||||||||||
Режимы резания | |||||||||||||||||||||
V | n | Sм | V | n | Sм | V | n | Sм | V | n | Sм | V | n | Sм | V | n | Sм | ||||
90/8 | 40 - 70 | 2,8 | 61 | 215 | 69 | 51 | 181 | 134 | 42,5 | 150 | 210 | 36 | 128 | 238 | - | - | - | - | - | - | |
3,9 | 50,5 | 179 | 57,5 | 42,5 | 150 | 115 | 35,5 | 126 | 176 | 30 | 106 | 198 | - | - | - | - | - | - | |||
5,5 | 42,5 | 151 | 48 | 35,5 | 126 | 97 | 30 | 106 | 147 | 25 | 90 | 166 | - | - | - | - | - | - | |||
8 | 36 | 127 | 40 | 30 | 106 | 82 | 25 | 89 | 122 | 21 | 75 | 140 | - | - | - | - | - | - | |||
110/10 | 2,8 | 65 | 189 | 73 | 54,5 | 158 | 152 | 45 | 131 | 229 | 38 | 111 | 259 | 32 | 93 | 291 | - | - | - | ||
3,9 | 54,5 | 158 | 63 | 45,5 | 133 | 126 | 48 | 110 | 192 | 32,5 | 94 | 218 | 27 | 78 | 246 | - | - | - | |||
5,6 | 45,5 | 133 | 53 | 38,5 | 111 | 107 | 32 | 93 | 162 | 27 | 78 | 182 | 23 | 66 | 206 | - | - | - | |||
8 | 38,5 | 111 | 44 | 32 | 93 | 89 | 27 | 78 | 135 | 23 | 65,5 | 153 | 18 | 55 | 173 | - | - | - | |||
11,5 | 32 | 94 | 37,5 | 27 | 78 | 75 | 22,5 | 65 | 113 | 19 | 55 | 129 | 16 | 46 | 145 | - | - | - | |||
130/10 | 2,8 | 73,5 | 180 | 72 | 62 | 151 | 145 | 51 | 125 | 218 | 43 | 106 | 236 | 365 | 89 | 276 | 30,5 | 74 | 314 | ||
3,9 | 62 | 150 | 60 | 51 | 126 | 122 | 42,5 | 105 | 182 | 36,5 | 89 | 205 | 30,5 | 74 | 234 | 25,5 | 62 | 262 | |||
5,6 | 52 | 127 | 50,5 | 43 | 106 | 102 | 36 | 88 | 153 | 31 | 76 | 176 | 25,5 | 63 | 198 | 21 | 52 | 219 | |||
8 | 43 | 106 | 42,5 | 36 | 99 | 85 | 30 | 73,5 | 128 | 25,5 | 62 | 146 | 21 | 52 | 163 | 18 | 44 | 185 | |||
11,5 | 36 | 88 | 35 | 30,5 | 74,5 | 71 | 25,5 | 62 | 109 | 21 | 52 | 121 | 19 | 44 | 138 | 15 | 37 | 155 | |||
16 | 30,5 | 74,5 | 30 | 25,5 | 62 | 60 | 21 | 52 | 90 | 18 | 44 | 102 | 15 | 37 | 115 | 13 | 31 | 131 | |||
150/20 | 2,8 | 78 | 164 | 65 | 138 | 158 | 54 | 114 | 114 | 240 | 45,5 | 98 | 272 | 38 | 82 | 307 | 32 | 68 | 344 | ||
3,9 | 65 | 138 | 66 | 54,5 | 116 | 134 | 45 | 96 | 200 | 38 | 82 | 229 | 32 | 68 | 258 | 27 | 58 | 290 | |||
5,6 | 54,5 | 115 | 55 | 45,5 | 97 | 111 | 38 | 81 | 168 | 32 | 68 | 190 | 27 | 58 | 215 | 23 | 48 | 242 | |||
8 | 45,5 | 97 | 46,5 | 38 | 82 | 94 | 32 | 68 | 142 | 27 | 58 | 162 | 23 | 48 | 181 | 19 | 41 | 205 | |||
11,5 | 38 | 81 | 38,5 | 32 | 68 | 78 | 27 | 58 | 120 | 23 | 48 | 137 | 19 | 40 | 150 | 16 | 34 | 170 | |||
16 | 32 | 68 | 33 | 27 | 57 | 66 | 22,5 | 47 | 98 | 19 | 40 | 112 | 16 | 34 | 126 | 13 | 28 | 142 | |||
Фрезы с мелким зубом | 40/12 | 40 - 70 | 2 | 40 | 318 | 153 | 34 | 267 | 307 | - | - | - | - | - | - | - | - | - | - | - | - |
2,8 | 34 | 266 | 128 | 28 | 223 | 256 | - | - | - | - | - | - | - | - | - | - | - | - | |||
3,9 | 28 | 223 | 107 | 23,5 | 188 | 216 | - | - | - | - | - | - | - | - | - | - | - | - | |||
5,6 | 23,5 | 187 | 97 | 20 | 157 | 181 | - | - | - | - | - | - | - | - | - | - | - | - | |||
60/16 | 2,0 | 49 | 261 | 166 | 42 | 219 | 338 | - | - | - | - | - | - | - | - | - | - | - | - | ||
2,8 | 41 | 218 | 140 | 34,5 | 183 | 282 | - | - | - | - | - | - | - | - | - | - | - | - | |||
3,9 | 34,5 | 182 | 116 | 29 | 153 | 234 | - | - | - | - | - | - | - | - | - | - | - | - | |||
5,6 | 29 | 153 | 98 | 24 | 128 | 197 | - | - | - | - | - | - | - | - | - | - | - | - | |||
8,0 | 24 | 126 | 81 | 20 | 106 | 163 | - | - | - | - | - | - | - | - | - | - | - | - | |||
75/18 | 2,0 | 50,5 | 214 | 154 | 42,5 | 179 | 310 | - | - | - | - | - | - | - | - | - | - | - | - | ||
2,8 | 42,5 | 179 | 130 | 35 | 150 | 258 | - | - | - | - | - | - | - | - | - | - | - | - | |||
3,9 | 35 | 150 | 107 | 29 | 125 | 216 | - | - | - | - | - | - | - | - | - | - | - | - | |||
5,6 | 29 | 125 | 90 | 25 | 105 | 181 | - | - | - | - | - | - | - | - | - | - | - | - | |||
8,0 | 24,5 | 103 | 74 | 20 | 87 | 150 | - | - | - | - | - | - | - | - | - | - | - | - | |||
РЕЖИМЫ РЕЗАНИЯ Чугун серый | Фрезы цилиндрические | ||||||
Карта 71, лист 2 | |||||||
ПОПРАВОЧНЫЕ КОЭФФИЦИЕНТЫ НА РЕЖИМЫ РЕЗАНИЯ ДЛЯ ИЗМЕНЕННЫХ УСЛОВИЙ РАБОТЫ В ЗАВИСИМОСТИ ОТ: | |||||||
1) Твердости чугуна | Группа твердости HB | 143 - 229 | 170 - 225 | 197 - 269 | |||
Коэффициент Kv = Kn = Ksм | 1,0 | 0,9 | 0,8 | ||||
2) Состояния поверхности заготовки | Поверхность | Без корки | С коркой | ||||
Коэффициент Kv = Kn = Ksм | 1,0 | 0,8 | |||||
3) Вида обработки | Вид обработки | Черновая ![]() | Чистовая ![]() | ||||
Коэффициент Kv = Kn = Ksм | 1,0 | 0,8 | |||||
4) Отношения фактической ширины фрезерования к нормативной | Bф/Bн | 0,2 | 0,4 | 1 | 2 | ||
Коэффициент Kv = Kn = Ksм | 1,2 | 1,1 | 1,0 | 0,9 | |||
5) Материала инструмента | Материал инструмента | Быстрорежущая сталь (Р18) | Твердый сплав (ВК6) | ||||
Коэффициент Kv = Kn = Ksм | 1,0 | 4,5 | |||||
Чугун серый | Фрезы цилиндрические | ||||||||||||||||||
Карта 72, лист 1 | |||||||||||||||||||
Подача на один зуб фрезы Sz, мм/зуб, до | Глубина резания t, мм, до | ||||||||||||||||||
0,08 - 0,13 | 0,14 - 0,22 | 0,23 - 0,36 | 0,37 - 0,6 | ||||||||||||||||
Ширина фрезерования B, мм, до | |||||||||||||||||||
- | - | - | 41 | 2,8 | 3,5 | 4,5 | 5,5 | 6,5 | 8 | 10 | 12 | - | - | - | - | - | - | - | - |
- | - | 41 | 49 | 2,2 | 2,8 | 3,5 | 4,5 | 5,5 | 6,5 | 8 | 10 | 12 | - | - | - | - | - | - | - |
- | 41 | 49 | 59 | 1,7 | 2,2 | 2,8 | 3,5 | 4,5 | 5,5 | 6,5 | 8 | 10 | 12 | - | - | - | - | - | - |
41 | 49 | 59 | 70 | - | 1,7 | 2,2 | 2,8 | 3,5 | 4,5 | 5,5 | 6,5 | 8 | 10 | 12 | - | - | - | - | - |
49 | 59 | 70 | 84 | - | - | 1,7 | 2,2 | 2,8 | 3,5 | 4,5 | 5,5 | 6,5 | 8 | 10 | 12 | - | - | - | - |
59 | 70 | 84 | 100 | - | - | - | 1,7 | 2,2 | 2,8 | 3,5 | 4,5 | 5,5 | 6,5 | 8 | 10 | 12 | - | - | - |
70 | 84 | 100 | - | - | - | - | - | 1,7 | 2,2 | 2,8 | 3,5 | 4,5 | 5,5 | 6,5 | 8 | 10 | 12 | - | - |
84 | 100 | - | - | - | - | - | - | - | 1,7 | 2,2 | 2,8 | 3,5 | 4,5 | 5,5 | 6,5 | 8 | 10 | 12 | - |
100 | - | - | - | - | - | - | - | - | - | 1,7 | 2,2 | 2,8 | 3,5 | 4,5 | 5,5 | 6,5 | 8 | 10 | 12 |
МОЩНОСТЬ ПОТРЕБНАЯ НА РЕЗАНИЕ Чугун серый | Фрезы цилиндрические | |||||||||||||||
Карта 72, лист 2 | ||||||||||||||||
Минутная подача Sм, мм/мин., до | Мощность резания N, квт | |||||||||||||||
60 | - | - | - | - | - | - | - | 0,8 | 0,9 | 1,1 | 1,3 | 1,6 | 1,9 | 2,2 | 2,7 | 3,2 |
71 | - | - | - | - | - | - | 0,8 | 0,9 | 1,1 | 1,3 | 1,6 | 1,9 | 2,2 | 2,7 | 3,2 | 3,8 |
85 | - | - | - | - | - | 0,8 | 0,9 | 1,1 | 1,3 | 1,6 | 1,9 | 2,2 | 2,7 | 3,2 | 3,2 | 4,5 |
101 | - | - | - | - | 0,8 | 0,9 | 1,1 | 1,3 | 1,6 | 1,9 | 2,2 | 2,7 | 3,2 | 3,8 | 4,5 | 5,4 |
121 | - | - | - | 0,8 | 0,9 | 1,1 | 1,3 | 1,6 | 1,9 | 2,2 | 2,7 | 3,2 | 3,8 | 4,5 | 5,4 | 6,4 |
144 | - | - | 0,8 | 0,9 | 1,1 | 1,3 | 1,6 | 1,9 | 2,2 | 2,7 | 3,2 | 3,8 | 4,5 | 5,4 | 6,4 | 7,7 |
172 | - | 0,8 | 0,9 | 1,1 | 1,3 | 1,6 | 1,9 | 2,2 | 2,7 | 3,2 | 3,8 | 4,5 | 5,4 | 6,4 | 7,7 | 9,2 |
205 | 0,8 | 0,9 | 1,1 | 1,3 | 1,6 | 1,9 | 2,2 | 2,7 | 3,2 | 3,8 | 4,5 | 5,4 | 6,4 | 7,7 | 9,2 | 11 |
245 | 0,9 | 1,1 | 1,3 | 1,6 | 1,9 | 2,2 | 2,7 | 3,2 | 3,8 | 4,5 | 5,4 | 6,4 | 7,7 | 9,2 | 11 | 13,2 |
295 | 1,1 | 1,3 | 1,6 | 1,9 | 2,2 | 2,7 | 3,2 | 3,8 | 4,5 | 5,4 | 6,4 | 7,7 | 9,2 | 11 | 13,2 | 15,8 |
350 | 1,3 | 1,6 | 1,9 | 2,2 | 2,7 | 3,2 | 3,8 | 4,5 | 5,4 | 6,4 | 7,7 | 9,2 | 11 | 13,2 | 15,8 | - |
420 | 1,6 | 1,9 | 2,2 | 2,7 | 3,2 | 3,8 | 4,5 | 5,4 | 6,4 | 7,7 | 9,2 | 11 | 13,2 | 15,8 | - | - |
500 | 1,9 | 2,2 | 2,7 | 3,2 | 3,8 | 4,5 | 5,4 | 6,4 | 7,7 | 9,2 | 11 | 13,2 | 15,8 | - | - | - |
600 | 2,2 | 2,7 | 3,2 | 3,8 | 4,5 | 5,4 | 6,4 | 7,7 | 9,2 | 11 | 13,2 | 15,8 | - | - | - | - |
710 | 2,7 | 3,2 | 3,8 | 4,5 | 5,4 | 6,4 | 7,7 | 9,2 | 11 | 13,2 | 15,8 | - | - | - | - | - |
850 | 3,2 | 3,8 | 4,5 | 5,4 | 6,4 | 7,7 | 9,2 | 11 | 13,2 | 15,8 | - | - | - | - | - | - |
1010 | 3,8 | 4,5 | 5,4 | 6,4 | 7,7 | 9,2 | 11 | 13,2 | 15,8 | - | - | - | - | - | - | - |
ПОПРАВОЧНЫЕ КОЭФФИЦИЕНТЫ НА МОЩНОСТЬ В ЗАВИСИМОСТИ ОТ ТВЕРДОСТИ ЧУГУНА | ||||||||||||||||
Твердость HB | До 229 | Св. 229 | ||||||||||||||
Коэффициент KN | 1,0 | 1,2 | ||||||||||||||
Медные сплавы | Фрезы цилиндрические из стали Р18 | ||||||||||||||||||||
Карта 73, лист 1 | |||||||||||||||||||||
Фрезы со вставными ножами | D/Z | B, мм | t, мм, до | Подача на один зуб Sz, мм/зуб, до | |||||||||||||||||
0,05 | 0,10 | 0,13 | 0,18 | 0,24 | 0,33 | ||||||||||||||||
Режимы резания | |||||||||||||||||||||
V | n | Sм | V | n | Sм | V | n | Sм | V | n | Sм | V | n | Sм | V | n | Sм | ||||
90/8 | 40 - 50 | 3 | 110 | 388 | 128 | 98 | 346 | 207 | 88 | 313 | 290 | 78 | 277 | 344 | 70 | 245 | 412 | - | - | - | |
5 | 98 | 334 | 110 | 84 | 297 | 179 | 76 | 269 | 250 | 67 | 238 | 296 | 59 | 211 | 354 | - | - | - | |||
8 | 81 | 287 | 95 | 73 | 256 | 154 | 66 | 232 | 215 | 58 | 205 | 254 | 51 | 182 | 305 | - | - | - | |||
110/10 | 50 - 70 | 3 | 108 | 313 | 129 | 96 | 279 | 209 | 88 | 253 | 77 | 244 | 347 | 69 | 199 | 418 | 61 | 61 | 177 | 495 | |
5 | 93 | 268 | 111 | 82 | 239 | 180 | 75 | 216 | 250 | 66 | 192 | 298 | 58 | 170 | 356 | 52 | 150 | 423 | |||
8 | 80 | 234 | 96 | 71 | 207 | 156 | 64 | 188 | 219 | 57 | 165 | 256 | 51 | 147 | 310 | 45 | 130 | 364 | |||
13 | 70 | 202 | 83 | 62 | 179 | 135 | 56 | 162 | 188 | 49 | 143 | 221 | 43 | 126 | 265 | 39 | 113 | 317 | |||
130/10 | 70 - 90 | 3 | 116 | 283 | 116 | 103 | 253 | 190 | 93 | 228 | 265 | 83 | 202 | 313 | 74 | 180 | 377 | 65 | 159 | 445 | |
5 | 99 | 243 | 100 | 88 | 216 | 164 | 79 | 195 | 227 | 70 | 173 | 270 | 62 | 153 | 321 | 56 | 136 | 381 | |||
8 | 86 | 210 | 86 | 76 | 187 | 141 | 69 | 168 | 195 | 61 | 149 | 232 | 54 | 132 | 278 | 48 | 117 | 330 | |||
13 | 74 | 183 | 75 | 66 | 163 | 122 | 61 | 148 | 171 | 53 | 131 | 202 | 48 | 117 | 245 | 42 | 103 | 289 | |||
150/12 | 90 - 120 | 3 | 120 | 254 | 125 | 106 | 226 | 204 | 97 | 205 | 285 | 85 | 181 | 336 | 76 | 161 | 405 | 67 | 142 | 480 | |
5 | 103 | 218 | 108 | 91 | 194 | 175 | 82 | 175 | 243 | 74 | 156 | 290 | 65 | 137 | 348 | 57 | 122 | 411 | |||
8 | 89 | 188 | 94 | 79 | 168 | 151 | 71 | 152 | 212 | 63 | 134 | 250 | 56 | 118 | 300 | 50 | 106 | 355 | |||
13 | 78 | 164 | 82 | 67 | 146 | 132 | 62 | 132 | 183 | 55 | 117 | 218 | 49 | 104 | 262 | 43 | 92 | 310 | |||
РЕЖИМЫ РЕЗАНИЯ Медные сплавы | Фрезы цилиндрические из стали Р18 | ||||||||||||||||||||
Карта 73, лист 2 | |||||||||||||||||||||
Фрезы с мелким зубом | D/Z | B, мм | t, мм, до | Подача на один зуб Sz, мм/зуб, до | |||||||||||||||||
0,05 | 0,10 | 0,13 | 0,18 | 0,24 | 0,33 | ||||||||||||||||
Режимы резания | |||||||||||||||||||||
V | n | Sм | V | n | Sм | V | n | Sм | V | n | Sм | V | n | Sм | V | n | Sм | ||||
40/12 | 40 - 50 | 1,8 | 96 | 766 | 379 | 85 | 680 | 613 | 77 | 616 | 859 | - | - | - | - | - | - | - | - | - | |
3 | 82 | 655 | 324 | 73 | 583 | 525 | 66 | 527 | 735 | - | - | - | - | - | - | - | - | - | |||
5 | 70 | 562 | 278 | 63 | 501 | 452 | 57 | 454 | 632 | - | - | - | - | - | - | - | - | - | |||
60/16 | 50 - 70 | 1,8 | 100 | 536 | 3<...>8 | 88 | 469 | 562 | 80 | 426 | 789 | 71 | 377 | 934 | - | - | - | - | - | - | |
3 | 85 | 452 | 299 | 75 | 402 | 482 | 69 | 365 | 668 | 61 | 323 | 801 | - | - | - | - | - | - | |||
5 | 73 | 388 | 256 | 65 | 345 | 413 | 59 | 314 | 580 | 52 | 277 | 685 | - | - | - | - | - | - | |||
8 | 62 | 337 | 222 | 56 | 300 | 359 | 51 | 271 | 503 | 45 | 241 | 599 | - | - | - | - | - | - | |||
75/18 | 1,8 | 96 | 410 | 306 | 86 | 365 | 491 | 77 | 329 | 678 | 69 | 291 | 814 | - | - | - | - | - | - | ||
3 | 83 | 350 | 261 | 73 | 311 | 419 | 66 | 282 | 588 | 58 | 250 | 699 | - | - | - | - | - | - | |||
5 | 71 | 301 | 223 | 63 | 268 | 360 | 57 | 242 | 507 | 50 | 214 | 598 | - | - | - | - | - | - | |||
8 | 62 | 261 | 194 | 54 | 232 | 313 | 50 | 110 | 440 | 43 | 186 | 520 | - | - | - | - | - | - | |||
РЕЖИМЫ РЕЗАНИЯ Медные сплавы | Фрезы цилиндрические из стали Р18 | |||||||
Карта 73, лист 3 | ||||||||
ПОПРАВОЧНЫЕ КОЭФФИЦИЕНТЫ НА РЕЖИМЫ РЕЗАНИЯ ДЛЯ ИЗМЕНЕННЫХ УСЛОВИЙ РАБОТЫ В ЗАВИСИМОСТИ ОТ: | ||||||||
1) Группы медных сплавов | Группы сплавов | Гетерогенные сплавы | Свинцовистые сплавы при основной гетерогенной структуре | Гомогенные сплавы | Сплавы с содержанием свинца < 100% при основной гомогенной структуре | Медь | Сплавы с содержанием свинца > 15% | |
высокой твердости | средней твердости | |||||||
Коэффициент Kv = Kn = Ksм | 0,7 | 1,0 | 1,7 | 2,0 | 4,0 | 8,0 | 12,0 | |
2) Состояния поверхности заготовки | Поверхность | Без корки | С коркой | |||||
Коэффициент Kv = Kn = Ksм | 1,0 | 0,9 | ||||||
3) Вида обработки | Вид обработки | Черновая ![]() | Чистовая ![]() | |||||
Коэффициент Kv = Kn = Ksм | 1,0 | 0,8 | ||||||
4) Отношения фактической ширины фрезерования к нормативной | Bф/Bн | 0,2 | 0,4 | 1 | 2 | |||
Коэффициент Kv = Kn = Ksм | 1,2 | 1,1 | 1,0 | 0,9 | ||||
Медные сплавы | Фрезы цилиндрические из стали Р18 | |||||||||||||||||
Карта 74 | ||||||||||||||||||
Подача на один зуб фрезы Sz, мм/зуб, до | Глубина резания t, мм, до | |||||||||||||||||
0,06 - 0,11 | 0,12 - 0,23 | 0,24 - 0,42 | 0,43 - 0,8 | |||||||||||||||
Ширина фрезерования B, мм, до | ||||||||||||||||||
- | - | - | 41 | 3,5 | 4,5 | 5,5 | 6,5 | 8 | 10 | 12 | - | - | - | - | - | - | - | - |
- | - | 41 | 49 | - | 3,5 | 4,5 | 5,5 | 6,5 | 8 | 10 | 12 | - | - | - | - | - | - | - |
- | 41 | 49 | 59 | - | - | 3,5 | 4,5 | 5,5 | 6,5 | 8 | 10 | 12 | - | - | - | - | - | - |
41 | 49 | 59 | 70 | - | - | - | 3,5 | 4,5 | 5,5 | 6,5 | 8 | 10 | 12 | - | - | - | - | - |
49 | 59 | 70 | 84 | - | - | - | - | 3,5 | 4,5 | 5,5 | 6,5 | 8 | 10 | 12 | - | - | - | - |
59 | 70 | 84 | 100 | - | - | - | - | - | 3,5 | 4,5 | 5,5 | 6,5 | 8 | 10 | 12 | - | - | - |
70 | 84 | 100 | - | - | - | - | - | - | - | 3,5 | 4,5 | 5,5 | 6,5 | 8 | 10 | 12 | - | - |
84 | 100 | - | - | - | - | - | - | - | - | - | 3,5 | 4,5 | 5,5 | 6,5 | 8 | 10 | 12 | - |
100 | - | - | - | - | - | - | - | - | - | - | - | 3,5 | 4,5 | 5,5 | 6,5 | 8 | 10 | 12 |
Минутная подача Sм, мм/мин., до | Мощность резания N, квт | ||||||||||||||
71 | - | - | - | - | - | - | 0,5 | 0,6 | 0,7 | 0,8 | 1,0 | 1,1 | 1,4 | 1,6 | 2,0 |
85 | - | - | - | - | - | 0,5 | 0,6 | 0,7 | 0,8 | 1,0 | 1,1 | 1,4 | 1,6 | 2,0 | 2,3 |
101 | - | - | - | - | 0,5 | 0,6 | 0,7 | 0,8 | 1,0 | 1,1 | 1,4 | 1,6 | 2,0 | 2,3 | 2,8 |
121 | - | - | - | 0,5 | 0,6 | 0,7 | 0,8 | 1,0 | 1,1 | 1,4 | 1,6 | 2,0 | 2,3 | 2,8 | 3,3 |
144 | - | - | 0,5 | 0,6 | 0,7 | 0,8 | 1,0 | 1,1 | 1,4 | 1,6 | 2,0 | 2,3 | 2,8 | 3,3 | 4,0 |
172 | - | 0,5 | 0,6 | 0,7 | 0,8 | 1,0 | 1,1 | 1,4 | 1,6 | 2,0 | 2,3 | 2,8 | 3,3 | 4,0 | - |
205 | 0,5 | 0,6 | 0,7 | 0,8 | 1,0 | 1,1 | 1,4 | 1,6 | 2,0 | 2,3 | 2,8 | 3,3 | 4,0 | - | - |
245 | 0,6 | 0,7 | 0,8 | 1,0 | 1,1 | 1,4 | 1,6 | 2,0 | 2,3 | 2,8 | 3,3 | 4,0 | - | - | - |
295 | 0,7 | 0,8 | 1,0 | 1,1 | 1,4 | 1,6 | 2,0 | 2,3 | 2,8 | 3,3 | 4,0 | - | - | - | - |
350 | 0,8 | 1,0 | 1,1 | 1,4 | 1,6 | 2,0 | 2,3 | 2,8 | 3,3 | 4,0 | - | - | - | - | - |
420 | 1,0 | 1,1 | 1,4 | 1,6 | 2,0 | 2,3 | 2,8 | 3,3 | 4,0 | - | - | - | - | - | - |
500 | 1,1 | 1,4 | 1,6 | 2,0 | 2,3 | 2,8 | 3,3 | 4,0 | - | - | - | - | - | - | - |
600 | 1,4 | 1,6 | 2,0 | 2,3 | 2,8 | 3,3 | 4,0 | - | - | - | - | - | - | - | - |
710 | 1,6 | 2,0 | 2,3 | 2,8 | 3,3 | 4,0 | - | - | - | - | - | - | - | - | - |
850 | 2,0 | 2,3 | 2,8 | 3,3 | 4,0 | - | - | - | - | - | - | - | - | - | - |
Фрезерные станки | ||||||||||
Карта 75, лист 1 | ||||||||||
Характеристика элементов технологической системы | Габаритные размеры деталей и инструментов | |||||||||
Детали | типа панели, кронштейна, пояса, фитинга, фланца, профиля, стрингера, траверсы, лонжерона, шпангоута | Габаритные размеры деталей | ||||||||
а) типа тела вращения: | б) сложной конфигурации: | |||||||||
Dmax = 250 - 1500 мм; Lmax = Bmax = Hmax = 200 - 600 мм | Lmax = 300 - 2000 мм; Bmax = 150 - 600 мм; Hmax = 70 - 250 мм | |||||||||
Приспособления | вакуумный стол, планки для крепления деталей на столе станка, жесткие или подвижные опоры, пневматические и гидравлические зажимы | Диаметр фрезы, мм, до | Отношение вылета к диаметру инструмента l/d, до | |||||||
10 | 1,5 | 2 | 2,5 | 3 | 3,5 | 4 | 4,5 | 5 | ||
15 | 2 | 2,5 | 3 | 3,5 | 4 | 4,5 | 5 | 6 | ||
Станки | ФП7; ФП9, ПФП-1, ПФП-5 площадь стола >= 3000 x 500 мм2 Nдв = 10 - 25 квт | 25 | 2,5 | 3 | 3,5 | 4 | 4,5 | 5 | 6 | - |
40 | 3 | 3,5 | 4 | 4,5 | 5 | 6 | - | - | ||
60 | 3,5 | 4 | 4,5 | 5 | - | - | - | - | ||
Св. 60 | - | 2 | - | - | - | - | - | - | ||
Инструменты | концевые, торцевые, цилиндрические и фасонные фрезы при консольном закреплении | Группы обрабатываемых материалов | Коэффициенты | |||||||
Коэффициент Ksz | ||||||||||
Углеродистые конструкционные и легированные стали, высокопрочные, жаропрочные стали и сплавы | 1,2 | 1 | 0,9 | 0,8 | 0,7 | 0,6 | 0,5 | 0,4 | ||
Коэффициент Kv | ||||||||||
Титановые сплавы | 1,1 | 1 | 0,9 | 0,75 | 0,62 | 0,5 | 0,42 | 0,35 | ||
Коэффициент Ksz | ||||||||||
Алюминиевые сплавы | 1,1 | 1 | 0,92 | 0,85 | 0,8 | 0,75 | ||||
Коэффициент Kv | ||||||||||
Медные сплавы | 1,1 | 1 | 0,9 | 0,8 | 0,75 | 0,7 | ||||
Фрезерные станки | |||||||||
Карта 75, лист 2 | |||||||||
Характеристика элементов технологической системы | Габаритные размеры деталей и инструментов | ||||||||
Детали | типа кронштейна, рычага, стрингера, профиля, фитинга, балки, шпангоута, корпуса, фланца, вилки | а) типа тела вращения: | б) сложной конфигурации: | ||||||
Dmax = 120 - 250 мм; Lmax = Bmax = Hmax = 70 - 200 мм | Lmax = 200 - 2000 мм; Bmax = Hmax = 50 - 300 мм; hmax = 10 - 15 мм | ||||||||
Приспособления | Диаметр фрезы D, мм, до | Отношение вылета к диаметру инструмента l/d, до | |||||||
тиски, планки для крепления детали на столе станка, специальные приспособления для крепления деталей болтами, прихватами, крышками и т.д., приспособления на поворотном столе | 10 | 1,5 | 2 | 2,5 | 3 | 3,5 | 4 | 4,5 | |
15 | 2 | 2,5 | 3 | 3,5 | 4 | 4,5 | 5 | ||
25 | 2,5 | 3 | 3,5 | 4 | 4,5 | 5 | 6 | ||
40 | 3 | 3,5 | 4 | 4,5 | 5 | 6 | - | ||
60 | 3,5 | 4 | 4,5 | - | - | - | - | ||
Св. 60 | - | 2 | - | - | - | - | - | ||
Станки | Группы обрабатываемых материалов | Коэффициенты | |||||||
6Н13ГН-1; 6Н13ФЗ-1; 6Н13ГЭ-2; ФП-4; ФП4-С2; ФП-17 площадь стола >= 1600 x 400 мм2 Nдв >= 7 квт | Коэффициент Ksz | ||||||||
Углеродистые конструкционные и легированные стали, высокопрочные, жаропрочные стали и сплавы | 1 | 0,9 | 0,8 | 0,7 | 0,6 | 0,5 | 0,4 | ||
Коэффициент Kv | |||||||||
Инструменты | концевые, торцовые, цилиндрические и фасонные фрезы при консольном закреплении | Титановые сплавы | 1 | 0,9 | 0,75 | 0,62 | 0,5 | 0,42 | 0,35 |
Коэффициент Ksz | |||||||||
Алюминиевые сплавы | 1 | 0,92 | 0,85 | 0,8 | 0,75 | ||||
Коэффициент Kv | |||||||||
Медные сплавы | 1 | 0,9 | 0,8 | 0,75 | 0,7 | ||||
ПОПРАВОЧНЫЕ КОЭФФИЦИЕНТЫ НА ПОДАЧУ НА ЗУБ Sz И СКОРОСТЬ РЕЗАНИЯ V В ЗАВИСИМОСТИ ОТ КОНСТРУКТИВНЫХ ФОРМ, РАЗМЕРОВ, СПОСОБОВ КРЕПЛЕНИЯ ДЕТАЛЕЙ И ИНСТРУМЕНТОВ НА СТАНКЕ И ДР. ТЕХНОЛОГИЧЕСКИХ УСЛОВИЙ ОБРАБОТКИ | Фрезерные станки | |||||||
Карта 75, лист 3 | ||||||||
Характеристика элементов технологической системы | Размеры деталей и инструментов | |||||||
Детали | типа кронштейна, лабиринта, диска, профиля, стрингера, фитинга, сектора, лопатки, шпангоута, качалки | Размеры деталей | ||||||
а) типа тела вращения: | б) сложной конфигурации: | |||||||
Приспособления | 3 - 4-кулачковые патроны, оправки, цанговые патроны, центра с делительной головкой, планки для крепления детали на столе станка, специальные приспособления | Dmax = 30 - 120 мм; Lmax = Bmax = Hmax = 50 - 100 мм | Lmax = 200 - 1500 мм; Bmax = 150 - 500 мм; Hmax = 40 - 150 мм; hmax = 5 - 8 мм | |||||
Диаметр фрезы D, мм, до | Отношение вылета к диаметру инструмента l/d, до | |||||||
10 | 1,5 | 2 | 2,5 | 3 | 3,5 | 4 | ||
15 | 2 | 2,5 | 3 | 3,5 | 4 | 4,5 | ||
Станки | 6Н13ГН-1; 6Н13ФЗ-1; 6Н13ГЭ-2; ФП-4; ФП4-С2; ФП-17 площадь стола >= 1600 x 400 мм2 Nдв >= 7 квт | 25 | 2,5 | 3 | 3,5 | 4 | 4,5 | 5 |
40 | 3 | 3,5 | 4 | 4,5 | 5 | 6 | ||
60 | 3,5 | 4 | 4,5 | 5 | 6 | 7 | ||
св. 60 | - | 2 | - | - | - | - | ||
Инструменты | концевые, торцевые, цилиндрические и фасонные фрезы при консольном закреплении | Группа обрабатываемых материалов | Коэффициенты | |||||
Коэффициент Ksz | ||||||||
Углеродистые конструкционные и легированные стали, высокопрочные, жаропрочные стали и сплавы | 0,9 | 0,8 | 0,7 | 0,6 | 0,5 | 0,4 | ||
Коэффициент Kv | ||||||||
Титановые сплавы | 0,9 | 0,75 | 0,62 | 0,5 | 0,42 | 0,35 | ||
Коэффициент Ksz | ||||||||
Алюминиевые сплавы | 0,92 | 0,85 | 0,8 | 0,75 | ||||
Коэффициент Kv | ||||||||
Медные сплавы | 0,92 | 0,8 | 0,75 | 0,7 | ||||
ПОПРАВОЧНЫЕ КОЭФФИЦИЕНТЫ НА ПОДАЧУ НА ЗУБ Sz И СКОРОСТЬ РЕЗАНИЯ V В ЗАВИСИМОСТИ ОТ КОНСТРУКТИВНЫХ ФОРМ, РАЗМЕРОВ, СПОСОБОВ КРЕПЛЕНИЯ ДЕТАЛЕЙ И ИНСТРУМЕНТОВ НА СТАНКЕ И ДР. ТЕХНОЛОГИЧЕСКИХ УСЛОВИЙ ОБРАБОТКИ | Фрезерные станки | |||||||
Карта 75, лист 4 | ||||||||
Характеристика элементов технологической системы | Габаритные размеры деталей и инструментов | |||||||
Детали | типа корпуса, фланца, крышки, кольца, кронштейна, рычага, серьги, опоры, качалки, стойки, фитинка, кулисы, профиля | Габаритные размеры деталей | ||||||
а) типа тела вращения: | б) сложной конфигурации | |||||||
Dmax <= 30 мм; Lmax = Bmax = Hmax = 20 - 40 мм | Lmax = 20 - 100 мм; Bmax = 15 - 30 мм; Hmax = 20 - 50 мм; hmax = 3 - 5 мм | |||||||
Приспособления | тиски, 3 - 4-кулачковые патроны, оправки, цанговые зажимы, специальные приспособления | Диаметр фрезы D, мм, до | Отношение вылета к диаметру инструмента l/d, до | |||||
10 | 1,5 | 2 | 2,5 | 3 | 3,5 | 4 | ||
15 | 2 | 2,5 | 3 | 3,5 | 4 | 4,5 | ||
25 | 2,5 | 3 | 3,5 | 4 | 4,5 | 5 | ||
40 | 3 | 3,5 | 4 | 4,5 | 5 | - | ||
60 | 3,5 | 4 | 4,5 | 5 | - | - | ||
Св. 60 | - | 1,5 | - | - | - | - | ||
Станки | 6М13ГН-1; 6Н1ЗФЗ-1, 6Н13ГЭ-2; ЛФ-66. площадь стола >= 800 x 320 мм2 Nдв >= 2,8 квт | Группы обрабатываемых материалов | Коэффициенты | |||||
Коэффициент Ksz | ||||||||
Углеродистые конструкционные и легированные стали, высокопрочные, жаропрочные стали и сплавы | 0,8 | 0,7 | 0,6 | 0,5 | 0,4 | 0,3 | ||
Коэффициент Kv | ||||||||
Инструменты | концевые, торцовые, цилиндрические и фасонные фрезы при консольном закреплении | Титановые сплавы | 0,75 | 0,62 | 0,5 | 0,42 | 0,35 | 0,3 |
Коэффициент Ksz | ||||||||
Алюминиевые сплавы | 0,85 | 0,8 | 0,75 | 0,7 | ||||
Коэффициент Kv | ||||||||
Медные сплавы | 0,8 | 0,75 | 0,7 | 0,65 | ||||
Карта 76 | ||||||||
Типы фрез | Материал режущей части | Обрабатываемый материал | Отношение фактического периода стойкости к нормативному Tф/Tн | |||||
0,5 | 1,0 | 1,5 | 2,0 | 3,0 | 4,0 | |||
Коэффициент Kтv = Kтп = Kтsм | ||||||||
Фрезы торцовые | Твердый сплав | Сталь углеродистая конструкционная | 1,15 | 1,0 | 0,9 | 0,85 | 0,8 | 0,75 |
Чугуны и жаропрочные стали и сплавы | 1,2 | 1,0 | 0,9 | 0,8 | 0,7 | 0,65 | ||
Быстрорежущая сталь | Сталь углеродистая конструкционная, жаропрочная и медные сплавы | 1,15 | 1,0 | 0,9 | 0,85 | 0,8 | 0,75 | |
Фрезы цилиндрические | Твердый сплав | Сталь углеродистая конструкционная | 1,25 | 1,0 | 0,9 | 0,8 | 0,7 | 0,6 |
Чугун | 1,34 | 1,0 | 0,9 | 0,75 | 0,6 | 0,5 | ||
Быстрорежущая сталь | Сталь углеродистая конструкционная, чугуны и медные сплавы, жаропрочные стали и сплавы | 1,25 | 1,0 | 0,9 | 0,85 | 0,7 | 0,65 | |
Фрезы концевые | Твердый сплав | Сталь углеродистая конструкционная | 1,25 | 1,0 | 0,85 | 0,75 | 0,65 | 0,6 |
Быстрорежущая сталь | Стали, чугуны жаропрочные стали и медные сплавы | 1,25 | 1,0 | 0,9 | 0,8 | 0,7 | 0,6 | |
Токарные, сверлильные и фрезерные станки | |||||||
Карта 77 | |||||||
Вид обработки | Режущий инструмент | Обрабатываемый материал | Техническое обслуживание станков | ||||
рабочим-оператором | наладчиком | ||||||
Количество обслуживаемых станков | |||||||
2 - 3 | 4 - 5 | 6 - 8 | 4 - 5 | 6 - 8 | |||
Коэффициент на скорость резания | |||||||
Точение | Резцы твердосплавные | Сталь, чугун | 0,89 | 0,84 | 0,80 | 0,97 | 0,94 |
Резцы Р18 | Сталь | 0,93 | 0,90 | 0,88 | 0,98 | 0,96 | |
Сверление | Сверла спиральные Р18 | Сталь | 0,89 | 0,84 | 0,80 | 0,97 | 0,94 |
Чугун | 0,93 | 0,90 | 0,88 | 0,98 | 0,95 | ||
Фрезерование | Фрезы торцевые твердосплавные | Сталь | 0,89 | 0,84 | 0,80 | 0,97 | 0,94 |
Чугун | 0,83 | 0,76 | 0,70 | 0,91 | 0,90 | ||
Фрезы цилиндрические Р18 | Сталь | 0,83 | 0,75 | 0,70 | 0,94 | 0,90 | |
Чугун | 0,86 | 0,80 | 0,76 | 0,96 | 0,92 | ||
Токарные, сверлильные и фрезерные станки | |||||||
Карта 78 | |||||||
Техническое обслуживание станков осуществляется | Количество обслуживаемых станков | ||||||
2 | 3 | 4 | 5 | 6 | 7 | 8 | |
Коэффициент на стойкость инструмента | |||||||
Рабочим-оператором | 1,4 | 1,9 | 2,2 | 2,6 | 2,9 | 3,1 | |
Наладчиком | 1,0 | 1,0 | 1,1 | 1,2 | 1,3 | 1,4 | |
Поправочные коэффициенты | ||||||||||
Карта 79 | ||||||||||
Количество станков, обслуживаемых одним рабочим-оператором | Коэффициент занятости рабочего на операции | |||||||||
0,05 | 0,10 | 0,15 | 0,20 | 0,25 | 0,30 | 0,35 | 0,40 | 0,45 | 0,50 | |
Коэффициент совпадения | ||||||||||
2 | 1,01 | 1,01 | 1,02 | 1,04 | 1,06 | 1,09 | 1,12 | 1,16 | 1,20 | 1,25 |
3 | 1,01 | 1,02 | 1,05 | 1,10 | 1,15 | 1,20 | - | - | - | - |
4 | 1,02 | 1,04 | 1,10 | 1,16 | - | - | - | - | - | - |
5 | 1,03 | 1,04 | 0,15 | - | - | - | - | - | - | - |
6 | 1,04 | 1,07 | - | - | - | - | - | - | - | - |
7 | 1,07 | 1,12 | - | - | - | - | - | - | - | - |
8 | 1,09 | - | - | - | - | - | - | - | - | - |
Поправочные коэффициенты | ||||||
Карта 80 | ||||||
Количество станков, обслуживаемых одним рабочим-оператором | ||||||
2 | 3 | 4 | 5 | 6 | 7 | 8 |
Коэффициент изменения штучного времени | ||||||
0,65 | 0,48 | 0,39 | 0,35 | 0,32 | 0,30 | 0,29 |
Резцы | |||||||||||
Приложение 1 | |||||||||||
Группа наладки | Характеристика группы | Число инструментов в наладке, до | |||||||||
3 | 5 | 8 | 10 | 15 | 20 | св. 60 | |||||
Период стойкости T, мин. | |||||||||||
Наладки с равномерной загрузкой инструментов | Диаметры обтачиваемых поверхностей отличаются не более чем в 1 - 2 раза; количество фасонных и подрезных резцов - не более 20% от общего количества инструментов наладки | 120 | 150 | 300 | 350 | 400 | - | - | |||
Средние наладки по равномерности загрузки инструментов | Все наладки, не относящиеся к 1-й и 3-й группам | 100 | 120 | 150 | 180 | 230 | 260 | 300 | |||
Наладки с большой разницей по загрузке инструментов | Диаметры обтачиваемых поверхностей отличаются более чем в 2 раза; количество фасонных и других малонагруженных инструментов составляет свыше 50% от общего количества инструментов наладки | 70 | 90 | 110 | 130 | 150 | 170 | 180 | |||
ПОПРАВОЧНЫЕ КОЭФФИЦИЕНТЫ НА СКОРОСТЬ РЕЗАНИЯ В ЗАВИСИМОСТИ ОТ ПЕРИОДА СТОЙКОСТИ | |||||||||||
Стойкость инструмента T, мин. | 30 | 60 | 90 | 120 | 180 | 240 | |||||
Коэффициент Кv | 1,35 | 1,2 | 1,1 | 1,0 | 0,9 | 0,85 | |||||
Сверла, зенкеры, развертки | ||||||||||
Приложение 2 | ||||||||||
Вид обработки | Обрабатываемый материал | Материал режущей части инструмента | Диаметр сверла D, мм, до | |||||||
5 | 10 | 20 | 30 | 40 | 50 | 60 | 80 | |||
Период стойкости T, мин. | ||||||||||
Сверление и рассверливание | Сталь конструкционная и легированная | Быстрорежущая сталь | 15 | 25 | 45 | 50 | 70 | 90 | 110 | - |
Чугун серый, медные и алюминиевые сплавы | 20 | 35 | 60 | 75 | 110 | 140 | 170 | - | ||
Чугун серый, медные и алюминиевые сплавы | Твердый сплав | - | 40 | 60 | 75 | - | - | - | - | |
Зенкерование | Сталь конструкционная, чугун серый, медные и алюминиевые сплавы | Быстрорежущая сталь, твердый сплав | - | - | 30 | 40 | 50 | 60 | 80 | 100 |
Развертывание | Сталь конструкционная и легированная | Быстрорежущая сталь | - | - | 40 | 80 | 120 | |||
Твердый сплав | - | 20 | 30 | 50 | 70 | 90 | 110 | 140 | ||
Чугун серый, медные и алюминиевые сплавы | Быстрорежущая сталь | - | - | 60 | 120 | 180 | ||||
Твердый сплав | - | - | 45 | 75 | 105 | 135 | 165 | 210 | ||
Фрезы | |||||||||
Приложение 3 | |||||||||
Материал для инструмента | Тип фрезы | Диаметр фрезы D, мм, до | |||||||
50 | 75 | 100 | 150 | 200 | 300 | 400 | 500 | ||
Период стойкости Tм, мин. | |||||||||
Быстрорежущая сталь | Торцовые цилиндрические | 100 | 110 | 130 | 170 | 250 | 300 | 400 | 500 |
100 | 170 | 280 | 400 | - | - | - | - | ||
Твердый сплав | Торцовые | - | 90 | 120 | 200 | 300 | 500 | 600 | 800 |
Фрезы | ||||||
Приложение 4 | ||||||
Тип фрез | Диаметр фрезы D, мм, до | Фрезы с пластинками твердого сплава | Фрезы из стали Р18 | |||
Сталь | Чугун | Сталь | Чугун | Медные сплавы | ||
Принятый период стойкости Tм, мин. | ||||||
Фрезы торцовые | 40 | - | - | 120 | - | 120 |
70 | - | - | 180 | - | 180 | |
75 | - | 120 | 180 | - | 180 | |
90 | 180 | 120 | 180 | - | 180 | |
110 | 180 | 180 | 180 | - | 180 | |
150 | 180 | 180 | 180 | - | 180 | |
200 | 240 | 180 | 240 | - | 240 | |
250 | 240 | 240 | 240 | - | 240 | |
300 | 300 | 300 | - | - | - | |
400 | 420 | 420 | - | - | - | |
Фрезы цилиндрические с мелким зубом | 60 | - | - | 120 | 120 | 120 |
75 | - | - | 180 | 180 | 18 | |
Фрезы цилиндрические со вставными ножами | 90 - 120 | 180 | 180 | - | - | - |
70 - 150 | - | - | 180 | 180 | 180 | |
Фрезы концевые | 20 | 120 | - | - | - | - |
25 | 90 | - | 60 | 60 | 60 | |
40 | 120 | - | 90 | 90 | 90 | |
60 | 180 | - | 120 | 120 | 120 | |
Резцы | |||||||||||
Приложение 5, лист 1 | |||||||||||
1. Обработка одним резцом ![]() | |||||||||||
Тип резцов и характер обработки | Способ врезания | Угол резца в плане | Глубина резания t, мм | ||||||||
1 | 2 | 4 | 6 | 8 | 10 | 12 | 16 | 20 | |||
Врезание и перебег инструмента, мм, до | |||||||||||
Резцы проходные, подрезные и расточные | - | 45 | 2 | 3,5 | 6 | 8 | 11 | 13 | 17 | 18 | 24 |
60 | 2 | 2,5 | 4 | 5 | 7 | 8 | 9 | 11 | 16 | ||
75 | 2 | 2,5 | 3 | 4 | 5 | 6 | 6 | 7 | 10 | ||
90 | 3 - 5 | ||||||||||
Резцы отрезные и прорезные | - | - | 2 - 5 | ||||||||
Врезание прямое | Врезание косое | Врезание радиальное | ||
![]() | ![]() | ![]() |
ВЕЛИЧИНЫ ВРЕЗАНИЯ И ПЕРЕБЕГА ИНСТРУМЕНТА | Резцы | ||||||||||||
Приложение 5, лист 2 | |||||||||||||
Тип резцов и характер обработки | Способ врезания | Угол резца в плане | Глубина резания t, мм | ||||||||||
1 | 2 | 4 | 6 | 8 | 10 | 12 | 16 | 20 | |||||
Врезание и перебег инструмента, мм, до | |||||||||||||
Резцы проходные. Поверхность заготовки обработанная или из проката | Точение на проход | Прямое, а также косое при свободном резании | 45 | 4 | 5 | 7 | 9 | 11 | 13 | - | - | - | |
60 | 4 | 4 | 6 | 7 | 8 | 9 | 10 | 12 | - | ||||
90 | 2,5 | 2,5 | 2,5 | 3 | 3 | 3 | 3 | 3 | - | ||||
Косое при несвободном резании под углом | 20 | 45 - 90 | 6 | 8 | 12 | 17 | 20 | 25 | 30 | 34 | - | ||
30 | 6 | 7 | 11 | 15 | 18 | 21 | 25 | 30 | - | ||||
Точение в упор | Прямое, а также косое при свободном резании | 45 | 2 | 3 | 5 | 7 | 9 | 12 | - | - | - | ||
60 | 2 | 2 | 4 | 6 | 7 | 8 | 9 | 11 | - | ||||
90 | 1 | 1 | 1 | 1,5 | 1,5 | 1,5 | 1,5 | 1,5 | - | ||||
Косое при несвободном резании под углом | 26 | 45 - 90 | 4 | 6 | 10 | 15 | 18 | 23 | 28 | 32 | - | ||
30 | 4 | 5 | 9 | 13 | 16 | 19 | 23 | 28 | - | ||||
Добавлять при обточке поверхности | Из штамповки | 1 | 1 | 2 | - | ||||||||
Из отливки, поковки | 1 | 2 | 3 | - | |||||||||
ВЕЛИЧИНЫ ВРЕЗАНИЯ И ПЕРЕБЕГА ИНСТРУМЕНТА | Инструменты для обработки отверстий | |||||||||||
Приложение 5, лист 3 | ||||||||||||
![]() | ![]() | |||||||||||
Характер обработки | Диаметр инструмента, мм, до | |||||||||||
3 | 5 | 10 | 15 | 20 | 25 | 30 | 40 | 50 | 60 и более | |||
Врезание и перебег l1, мм | ||||||||||||
Сверление на проход сверлами | с одинарной заточкой | 2 | 2,5 | 5 | 6 | 8 | 10 | 12 | 15 | 18 | 23 | |
с двойной заточкой | - | - | 6 | 8 | 10 | 15 | 16 | 18 | 22 | 27 | ||
Сверление в упор | 1,5 | 2 | 4 | 6 | 7 | 9 | 11 | 14 | 17 | 21 | ||
ВЕЛИЧИНЫ ВРЕЗАНИЯ И ПЕРЕБЕГА ИНСТРУМЕНТА | Инструменты для обработки отверстий | ||||||||||||
Приложение 5, лист 4 | |||||||||||||
Характер обработки | Диаметр инструмента, мм, до | ||||||||||||
3 | 5 | 10 | 15 | 20 | 25 | 30 | 40 | 50 | 60 и более | ||||
Врезание и перебег l1, мм | |||||||||||||
Рассверливание при глубине резания t, мм, до | 5 | - | - | - | 4 | 4 | 5 | 5 | 5 | 6 | 6 | ||
10 | - | - | - | - | 7 | 8 | 8 | 8 | 9 | 9 | |||
15 | - | - | - | - | - | - | 11 | 11 | 12 | 12 | |||
20 | - | - | - | - | - | - | - | 14 | 15 | 15 | |||
30 | - | - | - | - | - | - | - | - | 18 | 18 | |||
Зенкерование | на проход в упор | Глубина резания t, мм, до | 1 | - | - | - | 3 | 3 | 3 | 4 | 4 | 5 | 5 |
3 | - | - | - | 5 | 5 | 5 | 6 | 6 | 7 | 7 | |||
5 | - | - | - | - | 7 | 7 | 8 | 8 | 9 | 9 | |||
10 | - | - | - | - | 12 | 13 | 13 | 14 | 15 | 15 | |||
в упор | - | - | - | - | 2 | 2 | 2 | 3 | 3 | 4 | 4 | ||
Развертывание цилиндрических отверстий | на проход | - | 8 | 9 | 15 | 18 | 19 | 19 | 24 | 25 | 26 | ||
- | 2 | 3 | 3 | 3 | 3 | 4 | 4 | 4 | 5 | ||||
Развертывание конических отверстий | 1 | 1 | 1 | 1 | 1 | 1 | 1 | 1,5 | 1,5 | 1,5 | |||
Центрование отверстий | 1 - 2 | 2 | - | - | - | - | - | - | - | - | |||
Зенкерование коническими зенковками | 0,5 | 0,5 | 1 | 1 | 1 | 1 | 1 | 1,5 | 1,5 | 1,5 | |||
Зенкование и цекование облицовочными инструментами | - | 0,5 | 1 | 1 | 1 | 1 | 1 | 1,5 | 1,5 | 1,5 | |||
ВЕЛИЧИНЫ ВРЕЗАНИЯ И ПЕРЕБЕГА ИНСТРУМЕНТА | Фрезы цилиндрические и концевые | |||||||||||||
Приложение 5, лист 5 | ||||||||||||||
![]() | ||||||||||||||
Глубина резания t, мм | Диаметр фрезы, мм | |||||||||||||
10 | 16 | 20 | 25 | 32 | 40 | 50 | 63 | 80 | 100 | 125 | 160 | 200 | 250 | |
Врезание и перебег l1, мм | ||||||||||||||
0,5 | 3 | 4 | 4 | 5 | 5,5 | 6,5 | 7 | 8 | 9 | 10 | 12 | 12 | 14 | 15 |
1,0 | 4 | 5 | 5,5 | 6,5 | 7 | 8,5 | 9 | 10 | 11 | 13 | 15 | 16 | 18 | 20 |
1,5 | 4,5 | 5,5 | 6,5 | 7,5 | 8,5 | 9,5 | 11 | 12 | 13 | 15 | 17 | 19 | 21 | 23 |
2 | 5 | 6,5 | 7 | 8,5 | 9,5 | 11 | 12 | 14 | 15 | 17 | 19 | 21 | 24 | 26 |
3 | 5,5 | 7,5 | 8 | 9,5 | 11 | 13 | 14 | 16 | 18 | 20 | 22 | 25 | 27 | 31 |
4 | 6 | 8 | 9 | 11 | 12 | 14 | 16 | 18 | 20 | 23 | 26 | 29 | 32 | 35 |
5 | - | 8,5 | 9,5 | 12 | 13 | 15 | 17 | 20 | 22 | 25 | 28 | 31 | 35 | 39 |
6 | - | - | 10 | 12 | 14 | 16 | 18 | 21 | 24 | 27 | 30 | 34 | 38 | 42 |
7 | - | - | 11 | 13 | 15 | 17 | 19 | 22 | 25 | 29 | 32 | 36 | 41 | 45 |
8 | - | - | - | 13 | 15 | 18 | 20 | 24 | 27 | 30 | 34 | 38 | 43 | 48 |
9 | - | - | - | - | 16 | 19 | 26 | 255 | 28 | 32 | 35 | 40 | 46 | 51 |
ВЕЛИЧИНЫ ВРЕЗАНИЯ И ПЕРЕБЕГА ИНСТРУМЕНТА | Фрезы цилиндрические и концевые | |||||||||||||
Приложение 5, лист 6 | ||||||||||||||
Глубина резания t, мм | Диаметр фрезы, мм | |||||||||||||
10 | 16 | 20 | 25 | 32 | 40 | 50 | 63 | 80 | 100 | 125 | 160 | 200 | 250 | |
Врезание и перебег l1, мм | ||||||||||||||
10 | - | - | - | - | 16 | 19 | 22 | 26 | 29 | 33 | 38 | 42 | 48 | 53 |
11 | - | - | - | - | - | 20 | 23 | 27 | 30 | 34 | 39 | 44 | 50 | 55 |
12 | - | - | - | - | - | 20 | 23 | 27 | 31 | 35 | 40 | 46 | 52 | 58 |
13 | - | - | - | - | - | 21 | 24 | 28 | 32 | 37 | 42 | 47 | 53 | 60 |
14 | - | - | - | - | - | - | 24 | 29 | 33 | 38 | 43 | 49 | 55 | 62 |
15 | - | - | - | - | - | - | 25 | 29 | 34 | 39 | 44 | 50 | 57 | 63 |
13 | - | - | - | - | - | - | 25 | 30 | 35 | 40 | 45 | 52 | 58 | 65 |
18 | - | - | - | - | - | - | - | 31 | 36 | 42 | 47 | 54 | 61 | 69 |
20 | - | - | - | - | - | - | - | 32 | 38 | 43 | 50 | 57 | 64 | 72 |
22 | - | - | - | - | - | - | - | 33 | 39 | 44 | 51 | 59 | 67 | 75 |
25 | - | - | - | - | - | - | - | - | 40 | 46 | 54 | 62 | 70 | 78 |
28 | - | - | - | - | - | - | - | - | 41 | 48 | 56 | 65 | 74 | 83 |
30 | - | - | - | - | - | - | - | - | - | 49 | 57 | 66 | 76 | 85 |
35 | - | - | - | - | - | - | - | - | - | 51 | 60 | 70 | 80 | 91 |
40 | - | - | - | - | - | - | - | - | - | - | 62 | 73 | 84 | 96 |
50 | - | - | - | - | - | - | - | - | - | - | - | 78 | 91 | 104 |
60 | - | - | - | - | - | - | - | - | - | - | - | 81 | 96 | 111 |
ВЕЛИЧИНЫ ВРЕЗАНИЯ И ПЕРЕБЕГА ИНСТРУМЕНТА | Фрезы торцовые и концевые (для пазов) | |||||||||||||||
Приложение 5, лист 7 | ||||||||||||||||
Схема установки фрезы | ||||||||||||||||
1. Симметричная | 2. Смещенная | |||||||||||||||
![]() | ![]() | |||||||||||||||
Установка фрезы | Ширина фрезерования или ширина паза B, мм | Диаметр фрезы, мм | ||||||||||||||
16 | 20 | 25 | 32 | 40 | 50 | 63 | 80 | 100 | 125 | 160 | 200 | 250 | 320 | 400 | ||
Врезание и перебег l1, мм | ||||||||||||||||
Симметричн. | 10 | 3,0 | 2,5 | 2,5 | 2,5 | - | - | - | - | - | - | - | - | - | - | - |
15 | - | 4,5 | 4 | 3,5 | 3,5 | 3,5 | 3,5 | 3,5 | - | - | - | - | - | - | - | |
20 | - | - | 6,5 | 5 | 4,5 | 4,0 | 4,0 | 4,0 | 4,0 | - | - | - | - | - | - | |
25 | - | - | - | 7,5 | 6,0 | 5,0 | 5,0 | 5,0 | 5,0 | 5,0 | - | - | - | - | - | |
30 | - | - | - | 12 | 8,5 | 7 | 6,5 | 5,5 | 5,5 | 5,5 | - | - | - | - | - | |
40 | - | - | - | - | - | 12 | 10 | 8 | 7,5 | 6,5 | - | - | - | - | - | |
ВЕЛИЧИНЫ ВРЕЗАНИЯ И ПЕРЕБЕГА ИНСТРУМЕНТА | Фрезы торцовые и концевые (для пазов) | |||||||||||||||
Приложение 5, лист 8 | ||||||||||||||||
Установка фрезы | Ширина фрезерования или ширина паза B, мм | Диаметр фрезы, мм | ||||||||||||||
16 | 20 | 25 | 32 | 40 | 50 | 63 | 80 | 100 | 125 | 160 | 200 | 250 | 320 | 400 | ||
Врезание и перебег l1, мм | ||||||||||||||||
Симметричная | 60 | - | - | - | - | - | - | 25 | 13 | 13 | 11 | 9,5 | 8,5 | 7,5 | - | - |
80 | - | - | - | - | - | - | - | - | 23 | 18 | 15 | 13 | 11 | 10 | - | |
100 | - | - | - | - | - | - | - | - | - | 29 | 21 | 18 | 15 | 13 | 12 | |
120 | - | - | - | - | - | - | - | - | - | 49 | 31 | 24 | 20 | 17 | 14 | |
140 | - | - | - | - | - | - | - | - | - | - | 45 | 33 | 29 | 22 | 18 | |
160 | - | - | - | - | - | - | - | - | - | - | - | 44 | 33 | 27 | 24 | |
180 | - | - | - | - | - | - | - | - | - | - | - | 61 | 43 | 33 | 26 | |
200 | - | - | - | - | - | - | - | - | - | - | - | - | 54 | 40 | 32 | |
220 | - | - | - | - | - | - | - | - | - | - | - | - | 70 | 49 | 38 | |
240 | - | - | - | - | - | - | - | - | - | - | - | - | 94 | 61 | 45 | |
260 | - | - | - | - | - | - | - | - | - | - | - | - | - | 72 | 53 | |
280 | - | - | - | - | - | - | - | - | - | - | - | - | - | 88 | 62 | |
300 | - | - | - | - | - | - | - | - | - | - | - | - | - | 109 | 73 | |
320 | - | - | - | - | - | - | - | - | - | - | - | - | - | - | 83 | |
340 | - | - | - | - | - | - | - | - | - | - | - | - | - | - | 100 | |
Смещенная | В > 0,3 | - | - | - | - | - | - | - | - | 33 | 42 | 52 | 65 | 80 | 103 | 127 |
В <= 0,3 | - | - | - | - | - | - | - | - | 31 | 38 | 48 | 60 | 74 | 94 | 117 | |
ВЕЛИЧИНЫ ВРЕЗАНИЯ И ПЕРЕБЕГА ИНСТРУМЕНТА | Резьбонарезной инструмент | |||
Приложение 5, лист 9 | ||||
Режущий инструмент и характер обработки | Врезание и перебег l1, мм | |||
Резцы резьбовые | На станках с полуавтоматическим циклом | ![]() | (3 - 4) | |
На токарно-винторезных станках | на проход | (5 - 8) | ||
в упор | (3 - 4) | |||
На токарных станках вихревым методом | (1,5 - 4) | |||
Метчики машинные | На проход | ![]() | Длина наборной части: 3 - 6 ниток; 1 - 2 калибрующие нитки | |
В упор | (2,5 - 3) | |||