Главная // Актуальные документы // МетодикаСПРАВКА
Источник публикации
Екатеринбург, 2013
Примечание к документу
Документ утратил силу в связи с изданием СТО МИ 2606-2018, утв. и введенной в действие Приказом ЗАО "Промбезопасность" от 01.02.2018 N 14.
Взамен СТО МВИ 2606-2008.
Название документа
"СТО МИ 2606-2013. Стандарт организации. Методика измерений массовых концентраций (объемных долей) оксида углерода, оксидов азота, диоксида серы, сероводорода, формальдегида, акролеина в воздухе рабочей зоны, промышленных выбросах индикаторным (линейно-колористическим) методом с применением газоопределителей химических типа ГХ-Е"
(утв. и введена в действие Приказом ЗАО "Промбезопасность" от 15.04.2013 N 18)
"СТО МИ 2606-2013. Стандарт организации. Методика измерений массовых концентраций (объемных долей) оксида углерода, оксидов азота, диоксида серы, сероводорода, формальдегида, акролеина в воздухе рабочей зоны, промышленных выбросах индикаторным (линейно-колористическим) методом с применением газоопределителей химических типа ГХ-Е"
(утв. и введена в действие Приказом ЗАО "Промбезопасность" от 15.04.2013 N 18)
Директор
ЗАО "Промбезопасность"
А.Ю.СОЗИНОВ
Приказ
от 15 апреля 2013 г. N 18
СТАНДАРТ ОРГАНИЗАЦИИ
МЕТОДИКА ИЗМЕРЕНИЙ
МАССОВЫХ КОНЦЕНТРАЦИЙ (ОБЪЕМНЫХ ДОЛЕЙ) ОКСИДА УГЛЕРОДА,
ОКСИДОВ АЗОТА, ДИОКСИДА СЕРЫ, СЕРОВОДОРОДА, ФОРМАЛЬДЕГИДА,
АКРОЛЕИНА В ВОЗДУХЕ РАБОЧЕЙ ЗОНЫ, ПРОМЫШЛЕННЫХ ВЫБРОСАХ
ИНДИКАТОРНЫМ (ЛИНЕЙНО-КОЛОРИСТИЧЕСКИМ) МЕТОДОМ
С ПРИМЕНЕНИЕМ ГАЗООПРЕДЕЛИТЕЛЕЙ ХИМИЧЕСКИХ ТИПА ГХ-Е
СТО МИ 2606-2013
1. | Разработана Закрытое акционерное общество "ПРОМБЕЗОПАСНОСТЬ" (ЗАО "ПРОМБЕЗОПАСНОСТЬ"). |
2. | Аттестована Федеральное государственное унитарное предприятие "Уральский научно-исследовательский институт метрологии" (ФГУП "УНИИМ"). Свидетельство об аттестации N 222.0086/01.00258/2013 от 15.04.2013 г. |
3. | Утверждена и введена в действие Приказ N 18 от 15.04.2013 г. |
4. | Взамен СТО МВИ 2606-2008. |
1. Назначение и область применения
1.1. Настоящий документ устанавливает методику измерений массовых концентраций (объемных долей) оксида углерода, оксидов азота, диоксида серы, сероводорода, формальдегида, акролеина в воздухе рабочей зоны, промышленных выбросах индикаторным (линейно-колористическим) методом с применением газоопределителей химических типа ГХ-Е в диапазонах измерений, регламентированных в таблице 1.
Таблица 1
Диапазоны измерений определяемых компонентов
Обозначения газоопределителей химических и трубок индикаторных | Наименование определяемого компонента | Диапазон измерений, массовая концентрация, мг/м3 | Диапазон измерений, объемная доля, % |
ГХ-Е CO-0,25 | Оксид углерода | От 5,8 до 2900 вкл. | От 0,0005 до 0,25 вкл. |
ГХ-Е CO-5 | Оксид углерода | От 2900 до 58000 вкл. | От 0,25 до 5,0 вкл. |
ГХ-Е NO + NO2-0,005 | Оксиды азота | От 1,9 до 96 вкл. | От 0,0001 до 0,005 вкл. |
ГХ-Е SO2-0,007 | Диоксид серы | От 5,3 до 190 вкл. | От 0,0002 до 0,007 вкл. |
ГХ-Е H2S-0,0066 | Сероводород | От 4,3 до 93 вкл. | От 0,0003 до 0,0066 вкл. |
ГХ-Е CH2O-1,5 | Формальдегид | От 0,25 до 1,5 вкл. | От 0,00002 до 0,00012 вкл. |
ГХ-Е C3H4O-1,0 | Акролеин | От 0,1 до 1,0 вкл. | От 0,0000043 до 0,000043 вкл. |
1.2. Определению оксида углерода (II) не мешают оксид углерода (IV), метан, водород, сероводород, диоксид серы, оксиды азота. Тяжелые углеводороды (пропан, бутан) оказывают влияние на результат измерений. В этом случае индикаторные трубки CO-0,25 и CO-5 используют в комплекте с защитным патроном ТП, который поставляется по индивидуальным запросам потребителей.
Определению суммы оксидов азота не мешают метан, оксиды углерода, сероводород, аммиак до 100 мг/дм3, акролеин до 0,2 мг/дм3, диоксид серы до 300 мг/дм3.
Определению диоксида серы не мешают метан, оксиды углерода, оксиды азота.
Определению сероводорода не мешают оксиды углерода, метан, азот, диоксид серы, оксиды азота, аммиак.
Определению формальдегида не мешают оксиды углерода, оксиды азота, диоксид серы, сероводород, акролеин.
Определению акролеина не мешают аммиак, оксиды углерода, оксиды азота, кетоны.
1.3. Данная методика предназначена для применения на предприятиях МЧС России, топливно-энергетического комплекса, химической и других отраслей промышленности, в санитарных, экологических и аналитических лабораториях.
В настоящей методике измерений использованы ссылки на следующие документы: |
ГОСТ 5496-78 Трубки резиновые технические. Технические условия. |
|
ГОСТ 112-78 Термометры метеорологические стеклянные. Технические условия. |
|
РД 52.04.59-85 Охрана природы. Атмосфера. Требования к точности контроля промышленных выбросов. Методические указания. |
РМГ 60-2003 ГСИ. Смеси аттестованные. Общие требования к разработке. |
ТУ 4321-002-16625682-2010 Газоопределители химические и трубки индикаторные ГХ-Е. Технические условия. |
ТУ 4215-002-16625682-2008 Аспираторы сильфонные АМ-5П. Технические условия. |
ТУ 6-16-2596-01 Смеси газовые поверочные - стандартные образцы состава первого и второго разряда. Технические условия. |
ТУ 4211-307-57888324-2009 Термометры электронные. Технические условия. |
ТУ 25.1607.054-85 Психрометры аспирационные МВ-4. Технические условия. |
ТУ 25-1894.003-90 Секундомеры механические. Технические условия. |
МОГ 00.000.ПС Мешок для отбора и хранения проб газа. Паспорт. |
НПУ 00.000.ПС Насос ручной. Паспорт. |
ТГЗ 00.000.ПС Трубка газозаборная с конденсатосборником. Паспорт. |
МРТУ 42964-64 Зажим медицинский. |
Измерения массовых концентраций (объемных долей) определяемых компонентов в воздухе рабочей зоны, промышленных выбросах проводят индикаторным (линейно-колористическим) методом.
Метод основан на измерении длины слоя индикаторной массы, изменившего окраску в результате его взаимодействия с определяемым компонентом при просасывании исследуемой газовой среды через индикаторную трубку (при помощи аспиратора). Длина окрашенного слоя в индикаторной трубке зависит от содержания вредного компонента в газовой среде.
4. Требования к показателям точности измерений
4.1. Нормы погрешности измерений
В соответствии с
Приказом Министерства здравоохранения и социального развития Российской Федерации от 9 сентября 2011 г. N 1034н "Об утверждении перечня измерений, относящихся к сфере государственного регулирования обеспечения единства измерений и производимых при выполнении работ по обеспечению безопасных условий и охраны труда, в том числе на опасных производственных объектах, и обязательных метрологических требований к ним, в том числе показателей точности" предельно допустимая погрешность измерений массовой концентрации вредных веществ в воздухе рабочей зоны не должна превышать +/- 25% при единичных измерениях (при однократном отборе проб).
В соответствии с
РД 52.04.59-85 погрешность измерений концентрации загрязняющего вещества в промышленных выбросах лабораторными и экспрессными методами не должна превышать +/- 25% во всем диапазоне измеряемых концентраций.
4.2. Приписанные характеристики погрешности измерений
Методика измерений обеспечивает получение результатов измерений в диапазонах измерений определяемых компонентов, регламентированных в
таблице 1, с погрешностью, не превышающей значений, приведенных в таблице 2.
Таблица 2
Границы относительной погрешности
Наименование определяемого компонента | Диапазон измерений, массовая концентрация, мг/м3 | Диапазон измерений, объемная доля, % | Границы относительной погрешности при доверительной вероятности P = 0,95,  , % |
Оксид углерода | от 5,8 до 2900 вкл. | от 0,0005 до 0,25 вкл. | 25 |
Оксид углерода | от 2900 до 58000 вкл. | от 0,25 до 5,0 вкл. | 25 |
Оксиды азота | от 1,9 до 96 вкл. | от 0,0001 до 0,005 вкл. | 25 |
Диоксид серы | от 5,3 до 190 вкл. | от 0,0002 до 0,007 вкл. | 25 |
Сероводород | от 4,3 до 93 вкл. | от 0,0003 до 0,0066 вкл. | 25 |
Формальдегид | от 0,25 до 1,5 вкл. | от 0,00002 до 0,00012 вкл. | 25 |
Акролеин | от 0,1 до 1,0 вкл. | от 0,0000043 до 0,000043 вкл. | 25 |
Значения показателя точности методики используют при:
- оформлении результатов измерений, выдаваемых лабораторией;
- проверке квалификации лабораторий;
- оценке возможности использования результатов измерений при реализации методики измерений в конкретной лаборатории.
5. Требования к средствам измерений, вспомогательным
устройствам, материалам и реактивам
При выполнении измерений применяют следующие средства измерений (СИ), вспомогательные устройства, материалы и поверочные газовые смеси:
- | Газоопределитель химический типа ГХ-Е, зарегистрирован в Госреестре СИ РФ, допущенных к применению в Российской Федерации, под N 14975-10, состоит из: | по ТУ 4321-002-16625682-2010 |
| индикаторных трубок: CO-0,25 (оксид углерода); CO-5 (оксид углерода); NO + NO2-0,005 (оксиды азота); H2S-0,0066 (сероводород); SO2-0,007 (диоксид серы); CH2O-1,5 (формальдегид); C3H4O-1,0 (акролеин); | по ТУ 4321-002-16625682-2010 |
| и аспиратора сильфонного типа АМ-5П, зарегистрированного в Госреестре СИ РФ под N 39098-08 (Объем просасываемой пробы газовой среды за один рабочий ход аспиратора - 100 см3, основная приведенная погрешность аспиратора +/- 5%, негерметичность аспиратора не более 2,5 см3). | по ТУ 4215-002-16625682-2008 |
- | Поверочные газовые смеси (ПГС) с аттестованными значениями массовых концентраций (объемных долей) определяемых компонентов в регламентированных диапазонах измерений, с погрешностями аттестованных значений, не превышающими 8%. | по ТУ 6-16-2596-01 |
- | Аттестованные газовые смеси с аттестованными значениями массовых концентраций (объемных долей) определяемых компонентов в регламентированных диапазонах измерений, с погрешностями аттестованных значений, не превышающими 12%. | |
- | Термометр метеорологический стеклянный, диапазон измерений (-20 - 50) °C, предел допускаемой погрешности +/- 0,5 °C. | |
- | Термометр электронный ТГО 2-МП, диапазон измерений (45 - 100) °C, предел допускаемой погрешности +/- 0,5 °C. | по ТУ 4211-307-57888324-2009 |
- | Барометр-анероид типа БАММ-1, диапазон измерений (800 - 1060) гПа, предел допускаемой погрешности +/- 2 гПа. | |
- | Психрометр аспирационный МВ-4М, диапазон измерений (10 - 100)%, предел допускаемой погрешности +/- 2% (при относительной влажности (70 - 80)%). | по ТУ 25.1607.054-85 |
- | Секундомер СОСпр-2б-2, диапазон измерений (0 - 60) с, (0 - 60) мин, класс точности 2. | по ТУ 25-1894.003-90 |
- | Мешок из полимерной пленки для отбора и хранения проб газовой среды, объем 12 л, конструкция ООО НПП "Анкон", г. Пермь. | по МОГ 00.000.ПС |
- | Насос ручной, конструкция ООО НПП "Анкон", г. Пермь. | по НПУ.00.000.ПС |
- | Трубка газозаборная с конденсатосборником, конструкция ООО НПП "Анкон", г. Пермь. | по ТГЗ 00.000.ПС |
- | Трубка резиновая техническая. | |
- | Зажим медицинский. | по МРТУ 42964-64 |
Примечание. Допускается использование других средств измерений и вспомогательного оборудования с метрологическими и техническими характеристиками, не хуже указанных.
6. Требования безопасности, охраны окружающей среды
При выполнении измерений массовых концентраций (объемных долей) определяемых компонентов в воздухе рабочей зоны (промышленных выбросах) индикаторным (линейно-колористическим) методом с применением газоопределителей химических и трубок индикаторных ГХ-Е соблюдают следующие требования:
6.1. Запаянные концы индикаторных трубок отламывают осторожно, чтобы избежать порезов и попадания стекла в глаза. При подключении трубки к аспиратору и при отсоединении от аспиратора трубку необходимо держать как можно ближе к концу, вставляемому в гнездо аспиратора, избегая при этом сильного нажима на трубку и сдавливания ее руками.
6.2. В местах, где предполагается наличие токсичных газов с содержанием выше уровня предельно допустимых концентраций, измерения следует проводить, предварительно включившись в изолирующий защитный дыхательный аппарат (респиратор, самоспасатель).
6.3. При выполнении измерений газоопределителем следует сделать вначале один ход аспиратора (одно сжатие-раскрытие сильфона аспиратора). Если окраска в трубке достигла второго деления шкалы или превысила его, то дальнейшее измерение следует прекратить и немедленно выйти в безопасное место или включиться в изолирующий защитный дыхательный аппарат.
6.4. При попадании индикаторной массы на открытые участки кожи следует стряхнуть крупинки и промыть кожу под струей воды.
6.5. Использованные индикаторные трубки укладывают в отдельные коробки и сдают лицу, ответственному за их учет, хранение и утилизацию.
6.6. Использованные индикаторные трубки дробят и выбрасывают в контейнеры твердых бытовых отходов. При дроблении стеклянной трубки соблюдают следующие меры предосторожности:
- дробление производят с использованием защитного экрана;
- работающие надевают защитные халаты, очки, перчатки.
7. Требования к квалификации операторов
К выполнению измерений допускают лиц, ознакомленных с эксплуатационной документацией на газоопределители химические и трубки индикаторные ГХ-Е, изучивших настоящую методику и технику индикаторного метода измерений содержания вредных веществ в воздухе рабочей зоны (промышленных выбросах), а также прошедших инструктаж по технике безопасности.
8. Требования к условиям измерений
8.1. При выполнении измерений соблюдают следующие условия: |
Атмосферное давление | от 84,0 до 106,7 кПа |
Относительная влажность воздуха рабочей зоны (промышленных выбросов) | от 30% до 80% |
8.2. Температура воздуха рабочей зоны (промышленных выбросов) перед газоопределителем конкретной модификации должна быть в пределах: |
ГХ-Е CO-0,25 | от плюс 5 °C до плюс 35 °C; |
ГХ-Е CO-5 | от минус 10 °C до плюс 50 °C; |
ГХ-Е NO + NO2-0,005; ГХ-Е SO2-0,007 | от плюс 5 °C до плюс 35 °C; |
ГХ-Е H2S-0,0066 | от плюс 5 °C до плюс 35 °C; |
ГХ-Е CH2O-1,5; ГХ-Е C3H4O-1,0 | от минус 5 °C до плюс 35 °C. |
Если температура воздуха рабочей зоны (промышленных выбросов) выходит за пределы указанного диапазона, то пробу, отобранную в мешок из полимерной пленки в соответствии с
9.9, выдерживают при температуре окружающего воздуха (20 +/- 5) °C от 40 до 60 минут и далее выполняют измерения.
8.3. При отборе проб промышленных выбросов из газохода в мешок из полимерной пленки с помощью трубки газозаборной с конденсатосборником можно отбирать анализируемые пробы с температурой не более 100 °C.
9. Подготовка к выполнению измерений
При подготовке к выполнению измерений проводят следующие работы:
9.1. Проверяют наличие оттиска поверительного клейма на корпусе средств измерений или в эксплуатационной документации или наличие свидетельств о поверке средств измерений (их составных частей).
9.2. Проверяют герметичность аспиратора.
В гнездо аспиратора вставляют невскрытую индикаторную трубку и сжимают сильфон до упора. Аспиратор считают герметичным, если по истечении 1 минуты высота сжатого сильфона практически не изменилась (определяют визуально).
9.3. Проверяют герметичность ручного насоса.
Для проверки герметичности ручного насоса нагнетательный штуцер насоса подсоединяют через резиновую трубку к аспиратору. Откачивают воздух и сжимают сильфон аспиратора. Насос считают герметичным, если сильфон не раскрывается в течение двух минут (определяют визуально).
9.4. Проверяют герметичность трубки газозаборной с конденсатосборником.
Для проверки герметичности трубки газозаборной с конденсатосборником заглушают отверстие для входа исследуемой газовой смеси. К выходному отверстию подсоединяют аспиратор, откачивают воздух из трубки газозаборной с конденсатосборником и сжимают сильфон аспиратора. Трубку газозаборную с конденсатосборником считают герметичной, если сильфон аспиратора не раскрывается в течение двух минут (определяют визуально).
9.5. Проверяют герметичность мешка из полимерной пленки.
Из мешка откачивают остатки воздуха аспиратором и сжимают сильфон аспиратора. Мешок считают герметичным, если сильфон не раскрывается в течение двух минут (определяют визуально).
9.6. Подготавливают аспиратор к проведению измерений.
Делают 2 - 3 холостых хода сильфоном аспиратора для продувки клапана (резко сжимают сильфон, а затем отпускают).
9.7. Подготавливают газозаборный тракт для отбора проб и проведения измерений в соответствии со схемой, приведенной на
рисунке 1 Приложения А.
Перед отбором проб и проведением измерений газозаборный тракт промывают десятикратным объемом исследуемого воздуха рабочей зоны (промышленных выбросов) с помощью аспиратора, подсоединенного к тройнику термометра (без индикаторной трубки). Перед отсоединением аспиратора тракт герметизируют с помощью зажима.
9.8. Подготавливают мешки к отбору проб.
Мешки из полимерной пленки перед началом отбора пробы промывают примерно пятью дм3 исследуемого воздуха рабочей зоны (промышленных выбросов), заполнив ими мешок и откачав их из мешка с помощью ручного насоса.
9.9. Отбор проб воздуха рабочей зоны (промышленных выбросов) в мешки из полимерной пленки.
Отбор проб воздуха рабочей зоны (промышленных выбросов) в мешки из полимерной пленки проводят согласно схеме, приведенной на
рисунке 2 Приложения А.
К газозаборному тракту, подготовленному согласно
9.7, подсоединяют ручной насос, а к выходному штуцеру насоса подсоединяют мешок, подготовленный согласно
9.8, и отбирают в мешок пробу до заполнения его на
2/
3 объема (определяется визуально). Мешок отсоединяют, герметизируют с помощью зажима и перемешивают отобранную пробу путем сминания мешка.
9.10. Подготовка индикаторных трубок
9.10.1. Проверяют срок годности индикаторных трубок.
9.10.2. Проверяют наличие оттиска поверительного клейма на коробке для трубок.
9.10.3. Определяют визуально отсутствие внешних повреждений трубок.
10. Порядок выполнения измерений
При выполнении измерений массовых концентраций (объемных долей) определяемых компонентов в воздухе рабочей зоны (промышленных выбросах) выполняют следующие операции:
10.1. Вынимают из коробки индикаторную трубку с обозначением определяемого компонента и отламывают оба конца трубки с помощью отверстия в подвеске аспиратора так, чтобы не нарушить положения фильтр-прокладок и слоя индикаторной массы.
10.2. Вставляют индикаторную трубку в гнездо аспиратора стрелкой к аспиратору.
10.3. При анализе промышленных выбросов непосредственно из газохода свободный конец индикаторной трубки подсоединяют к газозаборному тракту, подготовленному согласно
9.7, в соответствии со схемой, приведенной на
рисунке 3 Приложения А.
10.4. Если проба воздуха рабочей зоны (промышленных выбросов) была отобрана в мешок из полимерной пленки, подсоединяют свободный конец индикаторной трубки к мешку.
10.5. Быстро сжимают одной или двумя руками сильфон аспиратора до упора, а затем отпускают, аспиратор раскрывается до полного натяжения цепочек и резкого смещения рычага, открывающего клапан. При раскрытии сильфона свободно удерживают аспиратор за крышку большим и указательным пальцами.
Если после одного хода (сжатия-раскрытия) аспиратора (100 см3 аспирированного через индикаторную трубку воздуха рабочей зоны, промышленных выбросов) окраска в индикаторной трубке не появилась или не достигла второго деления шкалы, то для газоопределителей и индикаторных трубок CO-0,25 (для измерений по шкале n = 10); NO + NO2-0,005; H2S-0,0066; SO2-0,007; CH2O-1,5 делают еще девять сжатий сильфона аспиратора, при этом общий объем аспирированного через индикаторную трубку воздуха рабочей зоны (промышленных выбросов) составит 1000 см3.
Для газоопределителей и индикаторных трубок CO-0,25 (для измерений по шкале n = 1) и CO-5 делают одно сжатие сильфона аспиратора, при этом количество аспирированного через индикаторную трубку воздуха рабочей зоны (промышленных выбросов) составит 100 см3.
10.6. Отсоединяют индикаторную трубку и через 1 - 2 минуты определяют массовую концентрацию (объемную долю) определяемого компонента по градуировочной шкале индикаторной трубки, берут то ее значение, которое соответствует границе изменившего окраску слоя.
Если граница окрашенной части неровная, берут среднее значение длины прореагировавшего слоя.
При необходимости уточнения результата измерений, например при смещении индикаторной массы относительно начала шкалы (в пределах нормы), прикладывают индикаторную трубку к шкале, имеющейся на коробке, совмещают начало окрашенного слоя с начальным делением шкалы.
10.7. Индикаторную трубку для определения массовой концентрации (объемной доли) акролеина (C3H4O-1,0) используют в комплекте с диазотирующим патроном (ДП).
Для измерения индикаторной трубкой массовой концентрации (объемной доли) акролеина следует отломить оба конца индикаторной трубки и вставить ее в гнездо аспиратора (стрелкой к аспиратору) через короткий переходник. Затем вскрывают ДП и присоединяют его к индикаторной трубке с помощью длинного переходника стрелкой к трубке. Производят просасывание аспиратором через ДП и индикаторную трубку 100 см3 воздуха рабочей зоны (одно сжатие сильфона аспиратора) и отсоединяют ДП. После этого производят просасывание через индикаторную трубку 1000 см3 исследуемого воздуха рабочей зоны или промышленных выбросов (десять сжатий сильфона аспиратора) и не ранее, чем через 5 минут измеряют длину окрашенного слоя.
10.8. После измерений массовой концентрации (объемной доли) определяемых компонентов в воздухе рабочей зоны (промышленных выбросах) проводят 2 - 3 холостых хода аспиратора для удаления из сильфона содержащихся там воздуха рабочей зоны или промышленных выбросов.
10.9. Параллельно с измерениями массовых концентраций (объемных долей) определяемых компонентов в воздухе рабочей зоны (промышленных выбросах) измеряют:
- атмосферное давление;
- влажность воздуха рабочей зоны (промышленных выбросов);
- температуру воздуха рабочей зоны (промышленных выбросов).
11. Обработка результатов измерений
11.1. Массовую концентрацию (объемную долю) оксида углерода (с применением индикаторной трубки CO-0,25) определяют по формулам:
11.1.1. При n = 1 (число ходов аспиратора) и объеме аспирированного через индикаторную трубку воздуха рабочей зоны (промышленных выбросов) V = 100 см3:

, (1)

, (2)
где | Cоб | - | объемная доля оксида углерода в анализируемом воздухе рабочей зоны (промышленных выбросах), %; |
| Cмас | - | массовая концентрация оксида углерода в анализируемом воздухе рабочей зоны (промышленных выбросах), мг/м3; |
| У | - | отсчет показаний по шкале индикаторной трубки; |
| Кмас | - | |
11.1.2. При n = 10 и объеме аспирированного через индикаторную трубку воздуха рабочей зоны (промышленных выбросов) V = 1000 см3:

, (3)

, (4)
11.2. Массовую концентрацию (объемную долю) оксида углерода (с применением индикаторной трубки CO-5) определяют по формулам (n = 1, V = 100 см3):
Соб = У, (5)
Смас = У x Кмас, (6)
11.3. Массовую концентрацию (объемную долю) оксидов азота (с применением индикаторной трубки NO + NO2-0,005), диоксида серы (с применением индикаторной трубки SO2-0,007), сероводорода (с применением индикаторной трубки H2S-0,0066) определяют по формулам (n = 10, V = 1000 см3):

, (7)

, (8)
где | Cоб | - | объемная доля определяемого компонента в анализируемом воздухе рабочей зоны (промышленных выбросах), %; |
| Смас | - | массовая концентрация определяемого компонента в анализируемом воздухе рабочей зоны (промышленных выбросах), мг/м3; |
| Кмас | - | |
11.4. Массовую концентрацию (объемную долю) акролеина (с применением индикаторной трубки C3H4O-1,0) и формальдегида (с применением индикаторной трубки CH2O-1,5) определяют по формулам (n = 10, V = 1000 см3):
Смас = У, (9)
где К
об - коэффициент пересчета для определяемого компонента
(Приложение Б).
11.5. Массовую концентрацию (объемную долю) определяемого компонента в воздухе рабочей зоны при нормальных условиях находят по формуле:

, (11)
где | С | - | массовая концентрация (объемная доля) определяемого компонента при нормальных условиях, мг/м3 (%); |
| Сизм | - | массовая концентрация (объемная доля) определяемого компонента, рассчитанная по формулам (1) - (10), мг/м 3 (%); |
| Кр.з. | - | коэффициент, зависящий от атмосферного давления и температуры воздуха рабочей зоны в момент измерений. |
Коэффициент Кр.з. рассчитывают по формуле:

, (12)
где | Ризм | - | атмосферное давление в момент измерений, кПа; |
| tизм | - | температура воздуха рабочей зоны в момент измерений, °C. |
11.6. Массовую концентрацию (объемную долю) определяемого компонента в промышленных выбросах при нормальных условиях находят по формуле:

, (13)
где | Кпр.в. | - | коэффициент, зависящий от атмосферного давления и температуры промышленных выбросов в момент измерений. |
Коэффициент Кпр.в. рассчитывают по формуле:

, (14)
где | Ризм | - | атмосферное давление в момент измерений, кПа; |
| tизм | - | температура промышленных выбросов в момент измерений, °C. |
Примечание. Допускается при предоставлении результатов измерений Заказчику на месте измерений не корректировать результаты измерений по
формулам (11) -
(14).
12. Оформление результатов измерений
Результаты измерений регистрируют в протоколе измерений, который оформляют в соответствии с
ГОСТ ИСО/МЭК 17025-2009.
Результаты измерений массовых концентраций (объемных долей) определяемых компонентов в воздухе рабочей зоны (промышленных выбросах), C, мг/м3 (%), представляют (при подтвержденном в лаборатории соответствии аналитической процедуры требованиям настоящего документа) в виде:

, при P = 0,95, (15)
где | C | - | результат измерений массовой концентрации (объемной доли) определяемого компонента в воздухе рабочей зоны (промышленных выбросах), полученный в соответствии с процедурами разделов 10, 11, мг/м 3 (%); |
| | - | абсолютная погрешность измерений массовой концентрации (объемной доли) определяемого компонента в воздухе рабочей зоны (промышленных выбросах), мг/м3 (%). |

вычисляют по формуле:

, (16)
где | | - | относительная погрешность измерений массовой концентрации (объемной доли) определяемого компонента в воздухе рабочей зоны (промышленных выбросах) по таблице 2, %. |
Допустимо результат измерений представлять в виде:

, при P = 0,95, (17)
при условии

, где

- значение показателя точности измерений (доверительные границы абсолютной погрешности измерений), установленное при реализации настоящей методики в лаборатории и обеспечиваемое контролем стабильности результатов измерений, мг/м
3 (%):

. (18)
Значение

может быть приведено в Протоколе установленных показателей качества результатов измерений при реализации методики измерений в лаборатории.
Примечание. Числовые значения результата измерений оканчиваются цифрой того же разряда, что и значение показателя точности методики измерений (абсолютной погрешности измерений содержания определяемого компонента с числом значащих цифр не более двух).
13. Контроль качества результатов измерений при
реализации методики в лаборатории
13.1. Контроль качества результатов измерений при реализации методики в лаборатории предусматривает:
- оперативный контроль процедуры измерений;
- контроль стабильности результатов измерений (на основе контроля стабильности среднеквадратического отклонения внутрилабораторной прецизионности, погрешности).
13.2. Оперативный контроль процедуры измерений проводят на основе контроля погрешности с использованием образцов для контроля (ОК).
В качестве ОК используют ПГС (или аттестованные газовые смеси по
РМГ 60-2003) с аттестованными значениями массовых концентраций (объемных долей) определяемых компонентов в регламентированных диапазонах измерений. Контроль погрешности осуществляют путем сравнения результата отдельно взятой контрольной процедуры К
к, с нормативом контроля К.
Результат контрольной процедуры Кк, рассчитывают по формуле:
Кк = С - Сок, (19)
где | С | - | результат измерений содержания определяемого компонента в ОК, мг/м3 (%); |
| Сок | - | аттестованное значение ОК (содержание определяемого компонента в ПГС или аттестованной газовой смеси), мг/м3 (%). |
Норматив контроля К рассчитывают по формуле:

, (20)
где | | - | значение характеристики погрешности результатов измерений, соответствующее содержанию определяемого компонента в ПГС (аттестованной газовой смеси), мг/м3 (%), рассчитанное по формуле: |

. (21)
Результат контрольной процедуры признают удовлетворительным при выполнении условия:
|Кк| <= К. (22)
При невыполнении условия (22) контрольную процедуру повторяют. При повторном невыполнении условия (22) выясняют причины, приводящие к неудовлетворительным результатам, и устраняют их.
13.3. Периодичность оперативного контроля процедуры измерений, а также реализуемые процедуры контроля стабильности результатов выполняемых измерений регламентируют во внутренних документах лаборатории.
(рекомендуемое)
Схема газозаборного тракта
1 - трубка газозаборная с конденсатосборником;
2 - резиновая трубка;
3 - тройник термометра;
4 - зажим;
5 - резиновая трубка;
6 - индикаторная трубка;
7 - аспиратор
Схема отбора проб воздуха рабочей зоны (промышленных
выбросов) в мешок из полимерной пленки
1 - газоход;
2 - трубка газозаборная с конденсатосборником;
3 - резиновая трубка;
4 - тройник термометра;
5 - насос ручной;
6 - резиновая трубка;
7 - зажим;
8 - мешок из полимерной пленки
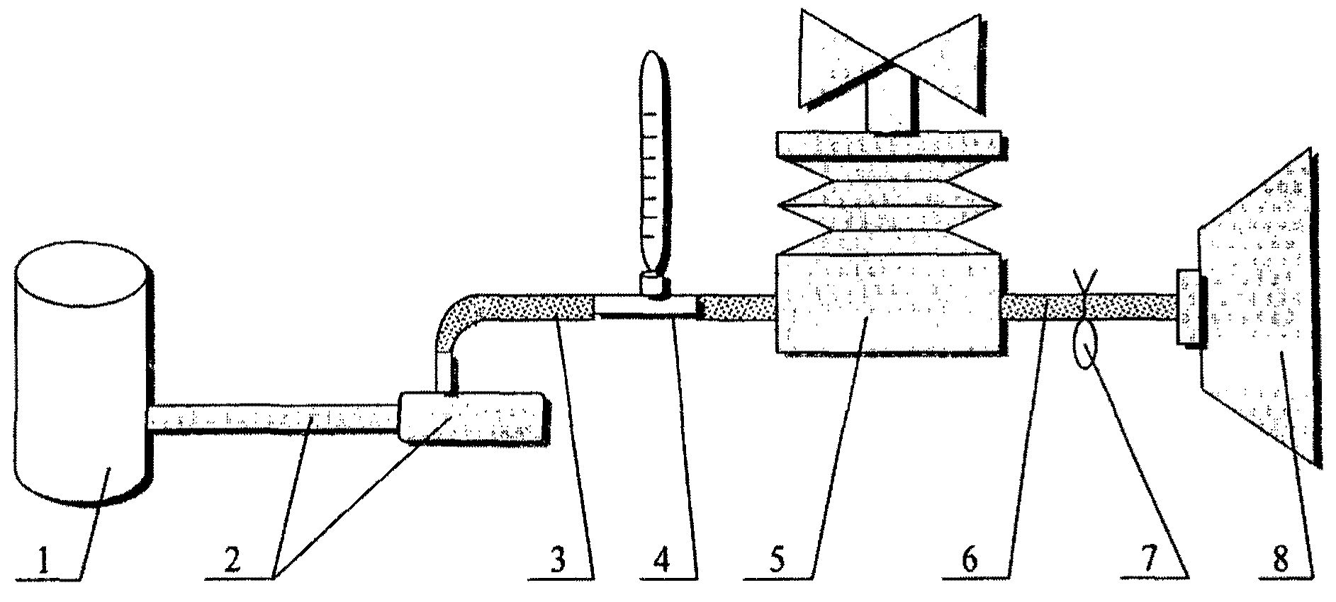
Схема отбора проб промышленных выбросов из газохода
1 - газоход;
2 - трубка газозаборная с конденсатосборником;
3 - резиновая трубка;
4 - тройник термометра;
5 - зажим;
6 - резиновая трубка;
7 - индикаторная трубка;
8 - аспиратор
(обязательное)
КОЭФФИЦИЕНТЫ ПЕРЕСЧЕТА ОБЪЕМНОЙ ДОЛИ В МАССОВУЮ
КОНЦЕНТРАЦИЮ (И НАОБОРОТ)
Наименование компонента | Молекулярная масса, а.е.м. | Коэффициенты пересчета при анализе воздуха рабочей зоны | Коэффициенты пересчета при анализе промышленных выбросов |
% в мг/м3 Кмас | мг/м3 в % Коб | % в мг/м3 Кмас | мг/м3 в % Коб |
Оксид углерода | 28 | 11670 | 0,000086 | 12500 | 0,000080 |
Оксиды азота (в пересчете на NO2) | 46 | 19200 | 0,000052 | 20540 | 0,000049 |
Сероводород | 34 | 14170 | 0,000070 | 15180 | 0,000066 |
Диоксид серы | 64 | 26670 | 0,000037 | 28570 | 0,000035 |
Формальдегид | 30 | 12500 | 0,000080 | 13400 | 0,000075 |
Акролеин | 56 | 23330 | 0,000043 | 25000 | 0,000040 |
Уравнения связи:
Смас = Соб x Кмас, (23)
где | Смас | - | массовая концентрация определяемого компонента, мг/м3; |
| Соб | - | объемная доля определяемого компонента, %; |
| Кмас | - | коэффициент пересчета объемных долей в массовую концентрацию. |
Соб = Смас x Коб, (24)
где | Коб | - | коэффициент пересчета массовой концентрации в объемные доли. |