Главная // Актуальные документы // МетодикаСПРАВКА
Источник публикации
М., 1989
Примечание к документу
Документ
введен в действие с 01.11.1989.
Взамен МИ 333-83.
Название документа
"МИ 1997-89. Рекомендация. Государственная система обеспечения единства измерений. Преобразователи давления измерительные. Методика поверки"
(утв. ВНИИМС 20.06.1989)
"МИ 1997-89. Рекомендация. Государственная система обеспечения единства измерений. Преобразователи давления измерительные. Методика поверки"
(утв. ВНИИМС 20.06.1989)
Зам. директора ВНИИМС
В.В.ГОРБАТЮК
20 июня 1989 года
РЕКОМЕНДАЦИЯ
ГОСУДАРСТВЕННАЯ СИСТЕМА ОБЕСПЕЧЕНИЯ ЕДИНСТВА ИЗМЕРЕНИЙ
ПРЕОБРАЗОВАТЕЛИ ДАВЛЕНИЯ ИЗМЕРИТЕЛЬНЫЕ
МЕТОДИКА ПОВЕРКИ
МИ 1997-89
Группа Т88.4
Взамен
МИ 333-83
Дата введения
1 ноября 1989 года
1. Разработана Московским производственным объединением "Манометр" и Всесоюзным научно-исследовательским институтом метрологии, испытаний и стандартизации в приборостроении (ВНИИМИСП).
Исполнители:
С.И. Мильман, канд. техн. наук, и М.А. Головашкин, канд. техн. наук (руководители темы).
2. Утверждена зам. директора ВНИИМС 20.06.89 г.
3. Зарегистрирована ВНИИМС 14.06.89 г. под номером МИ 1997-89.
Настоящая рекомендация распространяется на измерительные преобразователи типа "Сапфир", выпускаемые по ГОСТ 22530-85 и предназначенные для непрерывного преобразования избыточного давления (далее - давления), разряжения, избыточного давления-разрежения, абсолютного давления и разности давлений в унифицированный токовый сигнал, в том числе на преобразователи разности давлений, используемые для измерений расхода и уровня. Рекомендация устанавливает методику их первичной и периодической поверок.
Допускается применять данную рекомендацию для поверки других измерительных преобразователей (датчиков), если это предусмотрено НТД на эти изделия.
Основные нормативно-технические характеристики преобразователей:
Верхние пределы измерений:
избыточного давления от 0,06 кPa до 1000 МPa;
разрежения от 0,06 до 100 кPa;
избыточного давления-разрежения от минус 0,125 - плюс 0,125 кPa до минус 0,1 - плюс 2,4 МPa;
абсолютного давления от 2,5 кPa до 16 МPa;
разности давлений от 0,06 кPa до 16 МPa.
Предельные значения выходных сигналов 0-5, 0-20, 4-20, 5-0, 20-0 и 20-4 мА.
Преобразователи разности давлений имеют линейно возрастающую или линейно убывающую характеристику выходного сигнала, остальные преобразователи - линейно возрастающую.
Пределы допускаемой основной погрешности от +/- 0,2 до +/- 1,5%. Межповерочный интервал установлен в эксплуатационной документации на преобразователь конкретного типа.
1.1. При проведении первичной и периодической поверок должны быть выполнены следующие операции:
Определение основной погрешности преобразователя -
п. 5.3.
Определение вариации выходного сигнала преобразователя -
п. 5.4.
Примечание. Первичную ведомственную поверку совмещают с приемкой ОТК, если представитель ОТК, осуществляющий приемку, имеет право ведомственной поверки. В этом случае при наличии на предприятии Госприемки или других видов специальной приемки первичную поверку проводит ОТК при предъявительских испытаниях.
2.1. При проведении поверки применяют средства, указанные в табл. 1.
Наименование средства поверки и обозначение НТД | Основные метрологические и технические характеристики средства поверки |
Манометр абсолютного давления МПА-15 | Пределы допускаемой основной погрешности +/- 6,65 Pa в диапазоне 0 - 2·104 Pa; +/- 13,3 Pa в диапазоне 2·104 - 1,33·10 Pa; +/- 0,01% от действительного значения измеряемого давления в диапазоне 1,33·105 - 4·105 Pa |
Микроманометр МКМ-4 | Класс точности 0,01. Диапазон измерений 0,1 - 4,0 кPa |
Микроманометр МКВ-250 | Пределы измерения 0 - 2,5 кPa. Абсолютная погрешность +/- 0,5 Pa |
Манометр грузопоршневой МП-2,5 I и II-го разрядов по ГОСТ 8291-83 | Предел допускаемой основной погрешности +/- 0,02; +/- 0,05% от измеряемого давления в диапазоне измерений от 25 кPa до 0,25 МPa |
Мановакуумметр грузопоршневой МВП-2,5 по ГОСТ 8291-83 | Пределы измерения избыточного давления 0 - 0,25 МPa; вакуумметрического давления 0 - 0,1 МPa, предел допускаемой основной погрешности: +/- 5 Pa при давлении (избыточном или вакуумметрическом) 0 - 0,01 МPa; +/- 0,05% от измеряемого значения при давлении свыше 0,01 МPa |
Манометр грузопоршневой МП-6 I и II-го разрядов по ГОСТ 8291-83 | Предел допускаемой основной погрешности +/- 0,02, +/- 0,05% от измеряемого давления в диапазоне измерений от 0,06 до 0,6 МPa |
Манометр грузопоршневой МП-60 I и II-го разрядов | Предел допускаемой основной погрешности +/- 0,02; +/- 0,05% от измеряемого давления в диапазоне измерений от 0,6 до 6 МPa |
Манометр грузопоршневой МП-600 I и II-го разрядов по ГОСТ 8291-83 | Предел допускаемой основной погрешности +/- 0,02; +/- 0,05% от измеряемого давления в диапазоне измерений от 6 до 60 МPa |
Манометр грузопоршневой МП-2500 II-го разряда по ГОСТ 8291-83 | Предел допускаемой основной погрешности +/- 0,05% от измеряемого давления в диапазоне измерений от 25 до 250 МPa |
Установка УПВД МП-1000 | Классы точности 0,1 и 0,2. Верхний предел измерений 1000 МPa |
Преобразователи давления измерительные электрические ИПД | Предел допускаемой основной погрешности +/- 0,1; +/- 0,15; +/- 0,25% для пределов измерений 0 - 1 и 0 - 1,6 кPa. Предел допускаемой основной погрешности +/- 0,6; +/- 0,1; +/- 0,15% для пределов измерений от 0 - 2,5 кPa до 0 - 16 МPa |
Комплекс для измерения давления цифровой ИПДЦ | Предел допускаемой основной погрешности +/- 0,05; +/- 0,06%. Пределы измерений от 1 кPa до 16 МPa |
Автоматизированный задатчик избыточного давления "Воздух-250" | Верхние пределы измерений разности давлений 10...250 Pa; предел допускаемой основной погрешности +/- (0,2 - 0,4) Pa. Верхние пределы измерения избыточного давления 400 - 2500 Pa; предел допускаемой основной погрешности +/- (0,1 - 0,2)% от номинального значения выходного сигнала |
Автоматизированный задатчик избыточного давления "Воздух-1,6" | Верхние пределы измерений 1...160 кPa; предел допускаемой основной погрешности +/- 0,02%; +/- 0,05% от действительного значения измеряемого параметра |
Автоматизированный задатчик избыточного давления "Воздух-2,5" | Верхние пределы измерений 25...250 кPa; предел допускаемой основной погрешности +/- 0,02%; +/- 0,05% от действительного значения измеряемого параметра |
Автоматизированный задатчик избыточного давления "Воздух-6,3" | Верхние пределы измерений 63...630 кPa; предел допускаемой основной погрешности +/- 0,02%; +/- 0,05% от действительного значения измеряемого параметра |
Барометр М 67 | Пределы измерений 610 - 900 mmHg Погрешность измерения +/- 0,8 mmHg |
Вакуумметр теплоэлектрический ВТБ-1 | Пределы измерений 2·10-3 mmHg - 750 mmHg |
Образцовая катушка сопротивления Р 331 | Класс точности 0,01. Сопротивление  |
Магазин сопротивлений Р 33 по ГОСТ 23737-79 | Класс точности 0,2. Сопротивление до  |
Магазин сопротивлений Р 4831 | Класс точности 0,02/2·10-6. Сопротивление до  |
Цифровой вольтметр Щ 1516 | Класс точности 0,015. Верхний предел измерений 5 V |
Потенциометр постоянного тока Р 363-1 | Класс точности 0,001. Верхний предел измерений 2,121111 V |
Вольтметр универсальный Щ 31 | Предел допускаемой основной погрешности +/- 0,015% при измерении тока 5 mA |
| | ИС МЕГАНОРМ: примечание. Взамен ГОСТ 8711-78 Постановлением Госстандарта России от 10.03.1995 N 182 с 1 января 1996 года введен в действие ГОСТ 8711-93. | |
|
Миллиамперметр постоянного тока по ГОСТ 8711-78 | Классы точности 0,1 и 0,2. Верхний предел измерении 30 mA |
Блок питания 22БП-36 | Напряжение постоянного тока (36 +/- 0,72) V |
Источник постоянного тока Б5-8 | Наибольшее значение напряжения 50 V. Допускаемые отклонения +/- 0,5% от установленного значения |
| | ИС МЕГАНОРМ: примечание. ГОСТ 215-73 утратил силу с 1 апреля 1989 года ("ИУС", N 4, 1989). Постановлением Госстандарта СССР от 30.03.1990 N 691 с 1 января 1991 года введен в действие ГОСТ 28498-90. | |
|
Термометр ртутный стеклянный лабораторный по ГОСТ 215-73 | Предел измерений 0 - 55 °C. Цена деления шкалы 0,1 °C. Предел допускаемой погрешности +/- 0,2 °C |
Манометр МТИ и вакуумметр ВТИ для точных измерений | Классы точности 0,6 и 1. Пределы измерений от 0 - 0,1 до 0 - 160 МPa |
Разделительный сосуд | |
| |
Газовый баллонный редуктор по ГОСТ 6268-78 | |
Запорные игольчатые вентили по ГОСТ 23230-78 | |
Фланец | |
2.2. Образцовые средства измерений, применяемые при поверке (далее - образцовые СИ), должны быть поверены или аттестованы и иметь действующие свидетельства о поверке или аттестации. Вспомогательные средства измерения должны иметь действующее свидетельство о поверке или клеймо, удостоверяющее ее проведение.
2.3. Допускается применять средства поверки, не предусмотренные перечнем, приведенным в
табл. 1, при условии обеспечения ими условий и проведения поверки в соответствии с
разд. 4 и
5.
3. ТРЕБОВАНИЯ БЕЗОПАСНОСТИ
3.1. При проведении поверки должны быть соблюдены требования безопасности по ОСТ 25-997-82 для изделий, относящихся к классу 01 по
ГОСТ 12.2.007.0-75, и требования по безопасности эксплуатации применяемых средств поверки, указанных в НТД на эти средства.
4. УСЛОВИЯ ПОВЕРКИ И ПОДГОТОВКА К НЕЙ
4.1. При проведении поверки должны быть соблюдены следующие условия:
1) температура окружающего воздуха 23 +/- 2 °C;
2) относительная влажность окружающего воздуха от 30 до 80%;
3) давление в помещении, где проводят поверку (далее - атмосферное давление), от 84 до 106,7 кPa (от 630 до 800 mmHg);
4) колебания давления окружающего воздуха, влияющие на результаты сравнения выходного сигнала поверяемого преобразователя и соединенного с ним образцового СИ, должны отсутствовать; в случаях, когда это позволяет конструкция поверяемого преобразователя и образцового СИ (например, для преобразователей разности давления), влияние этих колебаний может быть существенно уменьшено, для чего камеры поверяемого преобразователя и образцового СИ, соединяющие с атмосферой, следует соединить между собой. Импульсную линию, через которую подают измеряемое давление, допускается соединять с дополнительными емкостями, вместимость каждой из которых должна находиться в пределах от 1 до 50 l. Влияние колебаний давления окружающего воздуха может быть также снижено при использовании образцовых задатчиков с опорным давлением;
5) Вибрация, тряска, удары, наклоны и магнитные поля, кроме земного, влияющие на работу преобразователя, должны отсутствовать;
6) напряжение питания постоянного тока (36 +/- 0,72) V;
Пульсация напряжения не должна превышать +/- 0,5% значения напряжения питания.
7) сопротивление нагрузки

- при поверке преобразователей с предельными значениями выходного сигнала 0 и 20 или 4 и 20 mA;

- при поверке преобразователей с предельными значениями выходного сигнала 0 и 5 mA;
8) рабочая среда для преобразователей с верхними пределами до 2,5 МPa включительно - воздух или нейтральный газ, более 2,5 МPa - жидкость;
Примечание. Допускается использовать жидкость - при поверке преобразователей с верхними пределами измерений от 0,4 до 2,5 МPa при условии обеспечения тщательного заполнения системы жидкостью; воздух или нейтральный газ - при поверке преобразователей с верхним пределом измерений от 2,5 до 60 МPa.
9) при поверке преобразователей разности давления значение измеряемого параметра устанавливают при сообщении минусовой камеры с атмосферой и подаче соответствующего избыточного давления в плюсовую камеру преобразователей разности давлений. При поверке преобразователей этих видов на малые пределы измерения следует руководствоваться условиями "4" настоящего пункта. При использовании в качестве образцовых СИ задатчиков с опорным давлением следует подавать в минусовую камеру опорное давление.
4.2. Перед проведением поверки должны быть выполнены следующие подготовительные работы.
Преобразователи должны быть выдержаны при температуре, указанной в
п. 4.1, не менее 3 h, если время выдержки не указано в техническом описании и инструкции по эксплуатации;
выдержка преобразователя перед началом испытаний после включения питания должна быть не менее 0,5 h;
преобразователи должны быть установлены в рабочее положение с соблюдением указаний технического описания и инструкции по эксплуатации;
система, состоящая из соединительных линий, образцовых СИ и вспомогательных средств для задания и передачи измеряемого параметра при необходимости
(п. 5.2.4 п/п. 2) должна быть проверена на герметичность в соответствии с п.п. 4.2.1 -
4.2.4.
4.2.1. Проверка герметичности системы для поверки преобразователей давления, разности давлений, разрежения с верхними пределами измерений менее 100 кPa, абсолютного давления с верхними пределами измерения более 0,25 МPa проводится при значениях давления или разрежения, равных верхнему пределу измерений поверяемого преобразователя.
Проверку герметичности системы для поверки преобразователей давления-разрежения проводят при давлении, равном верхнему пределу измерений избыточного давления.
Проверку герметичности системы для поверки преобразователей разрежения с верхним пределом измерений 100 кPa проводят при разрежении, равном 0,9 - 0,95 значения атмосферного давления.
Примечание. Проверку герметичности системы для поверки преобразователей абсолютного давления с верхними пределами измерения менее 0,25 МPa проводят при давлениях и методах, изложенных в
п. 4.2.3.
4.2.2. При проверке герметичности системы, предназначенной для поверки преобразователей, указанных в
п. 4.2.1, на место поверяемого преобразователя устанавливают преобразователь, герметичность которого проверена, или любое другое средство измерений, имеющее погрешность (приведенную к значениям давления, указанным в
п. 4.2.1) не более 2,5% и позволяющее заметить изменение давления 0,5% заданного значения давления.
Создают давление, указанное в
п. 4.2.1, и отключают источник давления. Если в качестве образцового СИ применяют грузопоршневой манометр, его колонку и пресс также отключают.
Систему считают герметичной, если после трехминутной выдержки под давлением, равном верхнему пределу измерений, в течение последующих 2 min в ней не наблюдают падение давления (разрежения).
Допускается изменение давления (разрежения), обусловленное изменением температуры окружающего воздуха и изменением температуры измеряемой среды, которое не должно превышать значений, указанных в табл. 2. Суммарное время выдержки под давлением может быть увеличено до 15 min, а изменение давления за последние 5 min также не должно превышать значений, указанных в табл. 2.
Таблица 2
Верхний предел измерений | Допускаемое изменение температуры в процессе проверки, °C | Допускаемое изменение давления при проверке, % верхнего предела измерения |
кPa | МPa |
пневматическим давлением | гидравлическим давлением |
От 0,06 до 0,25 | | +/- 0,5 | +/- 60 | - |
От 0,4 до 0,63 | | +/- 30 | - |
От 1,0 до 1,6 | | +/- 18 | - |
От 2,5 до 4,0 | | +/- 8 | - |
От 6,3 до 10 | | +/- 3,5 | - |
От 16 до 25 | | +/- 1,2 | - |
| От 0,03 до 0,5 | +/- 1,0 | +/- 0,6 | - |
| От 0,6 до 2,5 От 4 до 6 | - | +/- 10 |
| От 10 и более | - | +/- 5 |
Примечание. При меньшем изменении температуры допускаемое изменение давления пропорционально уменьшается.
4.2.3. Проверку герметичности системы, предназначенной для проверки преобразователей абсолютного давления с верхними пределами измерений 0,25 МPa и менее, осуществляют следующим образом.
В системе с вакуумметром для измерения малых абсолютных давлений создают давление не более 0,07 кPa, Предварительно на место подключаемого преобразователя устанавливают средство измерений, отвечающее тем же требованиям, что и при проверке по
п. 4.2.2. Поддерживают указанное давление в течение 2 - 3 min. Отключают устройство, создающее абсолютное давление, и, при необходимости, образцовое СИ (колонки грузопоршневого манометра). После выдержки системы в течение 3 min изменение давления не должно превышать 0,5% верхнего предела измерений поверяемого преобразователя.
4.2.4. Если система предназначена для поверки преобразователей с разными значениями верхних пределов измерений, проверку герметичности рекомендуют проводить при давлении (разрежении), соответствующем наибольшему из этих значений.
При внешнем осмотре должно быть установлено соответствие преобразователей следующим требованиям:
- преобразователь должен иметь паспорт или документ, его заменяющий; при периодической поверке допускается вместо паспорта представлять документ с указанием предела измерения, предельных значений выходного сигнала, требуемого предела допускаемой основной погрешности и номера, присвоенного предприятием-изготовителем. Справка должна быть подписана метрологической службой предприятия, эксплуатирующего преобразователь;
- на преобразователе должна быть табличка с маркировкой, соответствующей паспорту или документу, его заменяющему;
- должна быть обеспечена возможность снятия крышки, закрывающей устройство регулировки нуля, клеммы контроля и колодку внешних соединений;
- резьбы на присоединительных элементах не должны иметь сорванных ниток.
5.2.1. При опробовании проверяют работоспособность преобразователя, функционирование корректора нуля, герметичность преобразователя.
5.2.2. Работоспособность преобразователя проверяют, изменяя измеряемое давление от нижнего предельного значения до верхнего.
При этом должно наблюдаться изменение выходного сигнала.
Для преобразователей давления-разрежения работоспособность проверяют только при избыточном давлении, для преобразователей разрежения с верхним пределом измерений 100 кPa - при изменении разрежения до значения, равного не менее чем 0,9 атмосферного давления.
5.2.3. Функционирование корректора нуля проверяют, задав одно (любое) значение измеряемого давления. Корректор нуля поворачивают по часовой стрелке. При этом должно наблюдаться изменение выходного сигнала. Затем корректор нуля поворачивают против часовой стрелки. При этом должно наблюдаться изменение выходного сигнала в противоположную сторону.
| | ИС МЕГАНОРМ: примечание. В официальном тексте документа, видимо, допущена опечатка: пункт 5.8.8 в тексте документа отсутствует. | |
5.2.4. Проверку герметичности преобразователя рекомендуется совмещать с операцией определения основной погрешности (п. 5.8.8).
Методика проверки герметичности преобразователя аналогична методике проверки герметичности системы (
п.п. 4.2.1 -
4.2.4) со следующими особенностями:
1) изменение давления или разрежения определяют по изменению выходного сигнала поверяемого преобразователя, включенного в систему
(п. 4.2.2);
2) в случае обнаружения негерметичности системы с поверяемым преобразователем следует проверить отдельно систему и преобразователь;
3) проверку герметичности преобразователей разности давлений при поверке не проводят.
5.3. Определение основной погрешности
5.3.1. Основную погрешность определяют следующими способами:
1) по образцовому СИ на входе преобразователя устанавливают измеряемый параметр, равный номинальному, а по другому образцовому СИ измеряют значение выходного сигнала;
2) по образцовому СИ на выходе преобразователя устанавливают расчетное значение выходного сигнала, соответствующее номинальному значению измеряемого параметра, а по другому образцовому СИ измеряют значение этого параметра на входе преобразователя;
3) сравнением выходных сигналов проверяемого и образцового преобразователей.
5.3.2. Схема включения преобразователей для измерения выходного сигнала при проведении поверки по способам 1 и 2
(п. 5.3.1) приведена в
Приложениях 1 -
4, по способу 3 - в
Приложениях 5 -
7. Схемы включения образцовых средств измерения давления приведены в
Приложениях 8 -
10.
При использовании автоматизированных задатчиков давления их включение осуществляют в соответствии с эксплуатационной документацией на эти задатчики.
5.3.3. Устанавливают следующие критерии достоверности поверки:
PbaM - наибольшая вероятность ошибочно признанного годным любого в действительности дефектного экземпляра преобразователя;

- отношение наибольшего возможного модуля основной погрешности экземпляра преобразователя, который может быть ошибочно признан годным, к пределу допускаемой основной погрешности.
Допускаемые значения критериев достоверности поверки принимают равными:
P
baM = 0,20;

5.3.4. Устанавливают следующие параметры поверки:
m - число проверяемых точек в диапазоне изменений, m >= 3;
n - число наблюдений при экспериментальном определении значений погрешности в каждой из проверяемых точек при прямом и обратном ходах, n = 1;

- абсолютное значение отношения контрольного допуска к пределу допускаемой основной погрешности;

- отношение предела допускаемого значения погрешности образцовых СИ, применяемых при поверке, к пределу допускаемого значения основной погрешности поверяемого преобразователя.
Значения

и

принимают равными в соответствии с принятыми критериями достоверности поверки по табл. 3
п. 5.3.5.
Таблица 3
Параметры и критерии достоверности поверки
| 0,2 | 0,25 | 0,33 | 0,4 | 0,5 |
| 0,94 | 0,93 | 0,91 | 0,82 | 0,70 |
PbaM | 0,20 | 0,20 | 0,20 | 0,10 | 0,05 |
| 1,14 | 1,18 | 1,24 | 1,22 | 1,20 |
Примечание.
Табл. 3 составлена в соответствии с принятыми в
п. 5.3.3 критериями достоверности поверки согласно
МИ 187-86 "ГСИ. Критерии достоверности и параметры методик поверки" и
МИ 188-86 "ГСИ. Установление значений параметров методик поверки".
5.3.5. Выбор образцовых средств для определения основной погрешности поверяемых преобразователей осуществляют исходя из технических возможностей и технико-экономических предпосылок с учетом критериев достоверности поверки
п. 5.3.3 и
таблицы 3.
5.3.6. При выборе образцовых средств для определения погрешности поверяемого преобразователя должны быть соблюдены следующие условия:
1) при поверке по способам 1 и 2
(п. 5.3.1) и определении значений выходного сигнала в mA

, (1)
где

- предел допускаемой абсолютной погрешности образцового прибора, контролирующего входной параметр при давлении или разрежении, равном верхнему пределу измерений поверяемого преобразователя, кPa, МPa;
Pmax - верхний предел измерений (или диапазон измерений для преобразователей "Сапфир-22ДИВ" поверяемого преобразователя, кPa; МPa;

- предел допускаемой абсолютной погрешности образцового прибора, контролирующего выходной сигнал, при верхнем предельном значении выходного сигнала поверяемого преобразователя, mA;
Imax, I0 - соответственно верхнее и нижнее предельные значения выходного сигнала, mA;
Примечание. I0 = 0 - для преобразователей с выходными сигналами 0-5, 5-0 и 0-20, 20-0 mA; I0 = 4 mA - для преобразователей с выходными сигналами 4-20, 20-4 mA.

- предел допускаемой основной погрешности поверяемого преобразователя, % нормирующего значения.
За нормирующее значение принимают: для преобразователей "Сапфир-22ДИВ" - сумму абсолютных значений верхних пределов измерений избыточного давления и разрежения; для остальных преобразователей - верхний предел измерений выходного параметра;
2) при поверке по способам 1 и 2
(п. 5.3.1) и определении значений выходного сигнала в mV по падению напряжения на образцовое сопротивлении

, (2)
где

- предел допускаемой абсолютной погрешности образцового прибора, контролирующего выходной сигнал, при верхнем предельном значении выходного сигнала поверяемого преобразователя, mV;
Umax, U0 - соответственно верхнее и нижнее предельные значения выходного сигнала, определяемые по формулам:
Umax = Imax·Rоб, U0 = I0·Rоб, mV;

- предел допускаемой абсолютной погрешности образцового сопротивления;
R
об - значение образцового сопротивления,

;
3) при поверке по способу 3
(п. 5.3.1) и использовании образцового преобразователя, имеющего выходной сигнал в виде напряжения постоянного тока

, (3)
где

- предел допускаемой основной погрешности образцового преобразователя, % от нормирующего значения поверяемого преобразователя;

- предел допускаемой абсолютной погрешности прибора, на котором осуществляют сравнение выходных сигналов образцового и поверяемого преобразователей, mV.
4) при поверке по способу 3
(п. 5.3.1) и использовании образцового преобразователя, имеющего токовый выходной сигнал

, (4)
где

- предел допускаемой абсолютной погрешности прибора, на котором осуществляют сравнение выходных сигналов образцового и поверяемого преобразователей, mA;
Примечание. Если средство для контроля разности выходных сигналов поверяемого и образцового преобразователей обеспечивает по абсолютному значению погрешности измерения этой разности менее

, то

или

принимают равным нулю.
5.3.7. Расчетные значения выходного сигнала доверяемого преобразователя в микроамперах для заданного номинального значения измеряемого параметра P в килопаскалях или мегапаскалях определяют по формулам
для преобразователей давления-разрежения при измерении избыточного давления

, (5)
при измерении разрежения

, (6)
для остальных преобразователей с возрастающей характеристикой выходного сигнала

, (7)
для преобразователей разности давлений "Сапфир-22ДД" с убывающей характеристикой выходного сигнала

, (8)
где Pmax - верхний предел измерений для преобразователей избыточного давления, разрежения и абсолютного давления, кPa, МPa;
Pраз. max - верхний предел разрежения для преобразователей давления-разрежения, кPa, МPa;
Pизб. max - верхний предел измерений избыточного давления для преобразователей давления-разрежения, кPa, МПа.
Расчетные значения выходного сигнала Up, выраженные в напряжении постоянного тока, определяют по формуле
Up = Ip·Rоб, mV. (9)
5.3.8. Перед определением основной погрешности должны быть соблюдены требования
п. 4.2 и, в случае необходимости, откорректировано значение выходного сигнала, соответствующее нижнему предельному значению измеряемого параметра, указанному в табл. 4. Эта корректировка проводится после подачи и сброса измеряемого параметра, равного:
- для преобразователей давления-разрежения - 50 - 100% верхнего предела измерений избыточного давления;
- для преобразователей абсолютного давления после выдержки их в пределах от 0 до 10% верхнего предела измерений;
- для остальных преобразователей - 80 - 100% верхнего предела измерений.
Таблица 4
Наименование преобразователя | Выходной сигнал, соответствующий нижнему предельному значению измеряемого параметра, mA |
0 и 20 | 4 и 20 | 0 и 5 |
Преобразователи абсолютного давления, избыточного давления, разрежения, разности давлений с возрастающей характеристикой выходного сигнала и гидростатического давления | 0 | 4 | 0 |
Преобразователи разности давления с убывающей характеристикой выходного сигнала | 20 | 20 | 5 |
Преобразователи давления-разрежения с равными по абсолютному значению верхними пределами измерений избыточного давления и разрежения | 10 | 12 | 2,5 |
Преобразователи давления-разрежения с верхними пределами измерений избыточного давления | | | |
кPa | МPa | | | |
60 | | 12,5 | 14,0 | 3,125 |
150 | | 8,0 | 10,4 | 2,0 |
| 0,3 | 5,0 | 8,0 | 1,25 |
| 0,5 | 3,333 | 6,667 | 0,833 |
| 0,9 | 2,0 | 5,6 | 0,5 |
| 1,5 | 1,25 | 5,0 | 0,312 |
| 2,4 | 0,8 | 4,64 | 0,2 |
При периодической поверке в случае совмещения проверки герметичности с подачей давления (разрежения) перед корректировкой выходного сигнала выдержка проводится при давлении (разрежении) в соответствии с
п. 4.2.2.
Установку выходного сигнала следует провести с наибольшей возможной точностью, обеспечиваемой устройством корректора и разрешающей способностью образцовых СИ. Погрешность установки (без учета погрешности контрольных средств) более 0,2 предела допускаемой основной погрешности поверяемого преобразователя не допускается.
5.3.9. Основную погрешность определяют при пяти значениях измеряемой величины, достаточно равномерно распределенных в диапазоне измерений, в том числе при значениях измеряемой величины, соответствующих нижнему и верхнему предельным значениям выходного сигнала. Интервал между значениями измеряемой величины не должен превышать 30% диапазона измерений.
Основную погрешность определяют при значении измеряемой величины, полученной при приближении к нему как от меньших значений к большим, так и от больших к меньшим (при прямом и обратном ходе). При поверке способом 3
(п. 5.3.1) значения измеряемого параметра, при которых определяют погрешности при обратном ходе, могут отличаться от значений при прямом ходе не более чем на 5%.
Перед поверкой при обратном ходе преобразователь выдерживают в течение 1 min под воздействием верхнего предельного значения измеряемого параметра, соответствующего предельному значению выходного сигнала.
Допускается выдержку преобразователей давления-разрежения проводить только на верхнем пределе измерений избыточного давления.
При периодической поверке основную погрешность определяют в два цикла: до корректировки диапазона изменения выходного сигнала (калибровки) и после корректировки диапазона. Допускается второй цикл не проводить, если основная погрешность

.
При поверке преобразователей с верхним пределом измерений разрежения 0,1 МPa, если атмосферное давление равно или менее 0,1 МPa, максимальное разрежение допускается устанавливать равным 0,90 - 0,95P
б, где P
б - атмосферное давление. Расчетное значение выходного сигнала при этом разрежении определяют по
формулам (5) и
(6). P
б следует привести к тем единицам, в которых выражено P.
Примечание. 1 mmHg = 0,0001333 МPa.
Основную погрешность преобразователей абсолютного давления с верхним пределом измерений выше 0,25 МPa следует определять в соответствии с пп. 5.3.10 и
5.3.11. Допускается по методике п. 5.3.10 определять основную погрешность преобразователей абсолютного давления с верхними пределами измерений от 0,1 до 0,25 МPa.
5.3.10. Определение основной погрешности преобразователей абсолютного давления с верхними пределами измерений выше 0,25 до 2,5 МPa включительно следует проводить с использованием образцовых СИ разрежения и давления (например, МВП-2,5; МП-6 и МП-60).
В этом случае преобразователь поверяют на точках: при разрежении в пределах 0,90 - 0,95Pб, при значениях избыточного давления Pизб. max, определяемого по формуле (10),
и при трех промежуточных значениях давления
Pизб. max = Pабс. max - A, (10)
где Pабс. max - верхний предел измерений абсолютного давления, равный Pmax, МPa;
A = 0,1 МПа.
Расчетные значения выходного сигнала Ip при задании разрежения определяют по формуле

, (11)
где абсолютная погрешность определения Pб не должна превышать

,
Pраз. - значение задаваемого разрежения.
Pб и Pраз. должно быть выражено в тех же единицах, что и Pабс. max.
Расчетное значение выходного сигнала Ip при задании избыточного давления определяют по формуле

, (12)
где Pизб. - значение задаваемого избыточного давления, МPa.
Перед поверкой корректором нуля устанавливают выходной сигнал на расчетное значение, соответствующее разрежению в пределах 0,90 - 0,95P
б. Расчетное значение выходного сигнала определяют по
формуле (11).
Если значение атмосферного давления находится в пределах 0,093 - 0,102 МPa (700 - 770 mmHg), допускается расчетное значение выходного сигнала определять по формулам:
при задании разрежения

, (13)
при задании избыточного давления

, (14)
где

.
В остальном следует руководствоваться
п. 5.3.8.
5.3.11. Определение основной погрешности преобразователей абсолютного давления с верхними пределами измерений свыше 2,5 МPa следует проводить с использованием образцовых СИ избыточного давления следующим образом:
1) корректором нуля при атмосферном давлении установить значение выходного сигнала, равное I0;
2) провести поверку при прямом и обратном ходе, задавая избыточное давление, численно равное абсолютному давлению, с соблюдением условий, изложенных в
п. 5.3.8;
3) после определения основной погрешности при атмосферном давлении корректором нуля установить значение выходного сигнала Iрн

, (15)
где К = 0,1 МPa.
5.3.12. Основную погрешность

в % нормирующего значения вычисляют по формулам:

, (16)

, (17)
где I - действительное значение выходного сигнала при измерении на выходе тока, mA;
U - действительное значение выходного сигнала при измерении на выходе падения напряжения на образцовом сопротивлении, mV;
при поверке по способу 2
(п. 5.3.1) для преобразователей давления-разрежения

, (18)
для остальных преобразователей

, (19)
где Pн - номинальное значение измеряемого параметра, кPa, МPa;
Pд - действительное значение измеряемого параметра, кPa, МPa;

, (20)
где Un - показание СИ, измеряющего разность выходных сигналов поверяемого и образцового преобразователей, mV.
Вычисление

проводят с точностью до второго знака после запятой.
Преобразователь признают годным при первичной поверке, если во всех проверяемых точках основная погрешность

.
Преобразователь признают негодным при первичной поверке, если хотя бы в одной точке основная погрешность

.
Преобразователь признают годным при периодической поверке, если во всех проверяемых точках при первом или втором цикле определения основной погрешности

.
Преобразователь признают негодным при периодической поверке, если хотя бы в одной точке при первом цикле определения основной погрешности

или при втором цикле

,
5.3.13. Допускается вместо определения действительных значений погрешности устанавливать соответствие ее предельно допускаемым значениям.
5.4. Определение вариации
5.4.1. Вариацию выходного сигнала определяют при каждом проверяемом значении измеряемого параметра, кроме значений, соответствующих нижнему и верхнему пределам измерений, по показаниям, полученным при определении основной погрешности
(п. 5.3.1).
5.4.2. Вариацию выходного сигнала

в % нормирующего значения вычисляют по формулам:

, (21)
или

, (22)
где I и I' - действительные значения выходного сигнала на одной и той же точке при измерении на выходе тока соответственно при прямом и обратном ходе, mA;
U и U' - действительные значения выходного сигнала на одной и той же точке при измерении на выходе падения напряжения на образцовом сопротивлении, соответственно при прямом и обратном ходе, mV;
для способа 2

, (23)
где P
н и

- действительные значения измеряемого параметра на одной и той же точке соответственно при прямом и обратном ходе, кPa, МPa;
для способа 3

, (24)
где

и

- основная погрешность преобразователя, соответственно при прямом и обратном ходе, % нормирующего значения.
Допускается использовать формулу (24) для определения вариации выходного сигнала по способам 1 и 2.
Значения

, полученные по
формулам (21 - 24), не должны превышать предела ее допускаемого значения.
5.4.3. Вариацию выходного сигнала преобразователей не определяют, если предел допускаемого ее значения менее 0,5 предела допускаемой основной погрешности.
5.4.4. Допускается вместо определения действительного значения вариации осуществлять контроль соответствия ее предельно допускаемым значениям.
6. ОФОРМЛЕНИЕ РЕЗУЛЬТАТОВ ПОВЕРКИ
6.1. Положительные результаты первичной поверки измерительных преобразователей давления оформляют записью в паспорте (раздел "Свидетельство о приемке"), заверенной поверителем и удостоверенной оттиском клейма.
6.2. Положительные результаты периодической государственной поверки измерительных преобразователей давления оформляют выдачей свидетельства о государственной поверке.
6.3. Положительные результаты периодической ведомственной поверки оформляют в порядке, установленном ведомственной метрологической службой.
6.4. При отрицательных результатах поверки измерительные преобразователи давления бракуют. При периодической государственной поверке выдают извещение о непригодности.
МПО "Манометр"
Главный инженер С.М.АНТОНОВ
Начальник отдела
стандартизации А.А.АЛЕКСЕЕВ
Главный конструктор С.И.МИЛЬМАН
Ведущие инженеры А.Л.ВАЙНШТЕЙН
О.В.ЛАВРЕНЕНКОВА
ВНИИМИСП М.А.ГОЛОВАШКИН
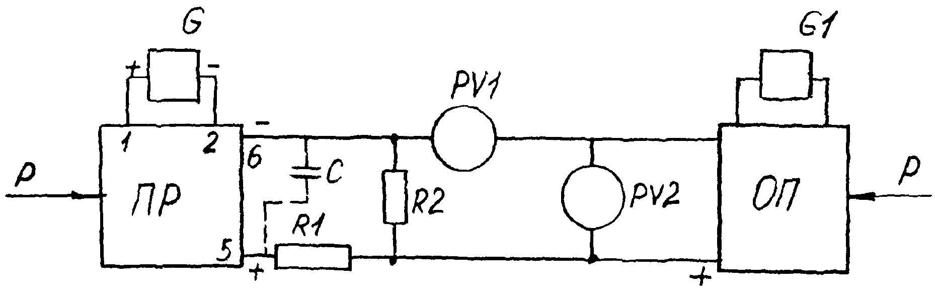
Обязательное
Схема включения преобразователя с выходным сигналом 0-5 mA, или 0-20 mA, или 5-0 mA, или 20-0 mA при измерении выходного сигнала по падению напряжения на образцовом сопротивлении
ПР - поверяемый преобразователь.
G - источник питания постоянного тока (например, Б5-8, 22БП-36).
R1 - резистор (например, типа МЛТ) или магазин сопротивлений (например, Р 33).
R2 - образцовое сопротивление (например, магазин сопротивлений Р 4831; образцовая катушка сопротивления Р 331).
RV - шаровой вольтметр (например, Щ 1516) или потенциометр (например, Р 363).
P - измеряемый параметр (варианты подключения средств для задания и (или) определения (контроля) измеряемого параметра приведены в
Приложениях 8 -
10).
C - конденсатор емкости от 6 до 15 нФ и от 15 до 40 нФ для преобразователей с верхним предельным значением выходного сигнала 5 и 20 mA, соответственно.
Примечания. 1. Сумма значений сопротивлений R1 + R2 должна соответствовать значениям сопротивления нагрузки, указанным в
п. 4.1; значение сопротивления 2 выбирают из условия получения необходимой точности измерения напряжения с учетом характеристик цифрового вольтметра или потенциометра PV.
2. Конденсатор C допускается не устанавливать.
Обязательное
Схема включения преобразователя с выходным сигналом 0-5 mA или 0-20 mA, или 5-0 mA, или 20-0 mA при измерении выходного сигнала по миллиамперметру
PJ - миллиамперметр (например, Щ 31).
Примечание. R1 должно соответствовать значениям сопротивления нагрузки, указанным в
п. 4.1.
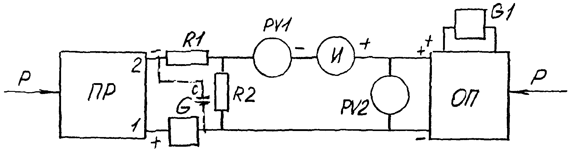
Обязательное
Схемы включения преобразователя с выходным сигналом 4-20 mA или 20-4 mA при измерении выходного сигнала по падению напряжения на образцовом сопротивлении
а)
б)
а) - подключение сопротивления нагрузки к клеммам 5 и 6.
б) - включение сопротивления нагрузки последовательно с источником питания.
Примечание. Для преобразователей "Сапфир-22Ex" использование схемы а) не допускается.
Обязательное
Схемы включения преобразователя с выходным сигналом 4-20 mA или 20-4 mA при измерении выходного сигнала миллиамперметром
а)
б)
а) - подключение образцового сопротивления нагрузки к клеммам 5 и 6.
б) - включение образцового сопротивления нагрузки последовательно с источником питания.
Примечание. Для преобразователей "Сапфир-22Ex" использование схемы а) не допускается.
Обязательное
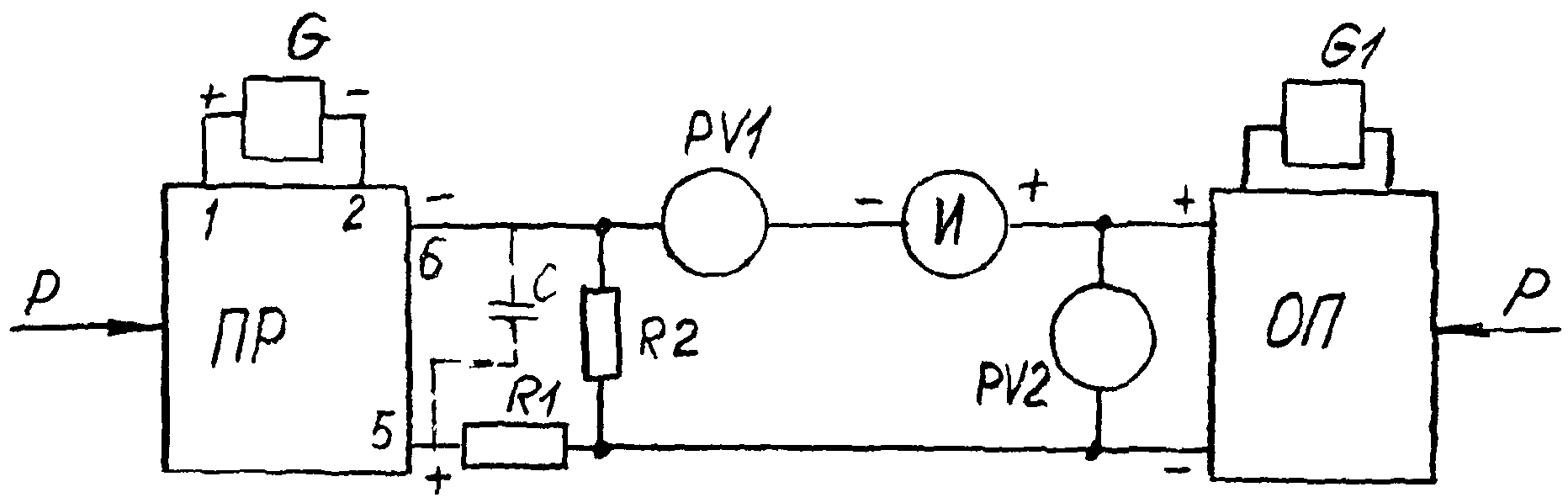
Схемы включения преобразователей с выходными сигналами 0-5 mA, 0-20 mA, 5-0 mA, 20-0 mA при сравнении выходных сигналов поверяемого и образцового преобразователей
а)
б)
а) - при одинаковом характере изменения выходного сигнала поверяемого и образцового преобразователя (или возрастающий или убывающий).
б) - при убывающей характеристике поверяемого и возрастающей характеристике образцового преобразователей.
ОП - образцовый преобразователь давления и (или) разряжения с выходным сигналом в виде напряжения постоянного тока (например, преобразователь ИПД). В качестве ОП может быть использован образцовый преобразователь с токовым выходным сигналом с подключенным к нему образцовым сопротивлением.
RV1 и RV2 - вольтметры с входным сопротивлением

для измерения разности выходных сигналов и для измерения выходного сигнала ОП (контроля давления или разряжения), например, вольтметр Щ 1516. Погрешность измерения давления или разряжения должна быть не ниже 1% верхнего предела измерений или суммы верхних пределов измерений. Допускается вместо RV1 и RV2 использовать один вольтметр с переключением его для соответствующих измерений, при этом на месте второго вольтметра должен быть предусмотрен разрыв цепи.
И - источник опорного напряжения (например, потенциометр Р-363-1); значение опорного напряжения должно быть равно значению выходного сигнала ОП при значении давления, равном верхнему пределу измерения.
G и G1 - независимые источники питания.
R1 и R2 - то же, что и в
Приложении 1; значение R2 должно равняться отношению диапазона изменения выходного сигнала ОП к соответствующему ему номинальному диапазону изменения выходного сигнала ПР.
Обязательное
Схема включения преобразователей с выходным сигналом 4-20 mA при сравнении выходных сигналов поверяемого и образцового преобразователей
а)
б)
а) - подключение сопротивления нагрузки (R1 + R2) к клеммам 5 и 6.
б) - включение сопротивления нагрузки (R1 + R2) последовательно с источником питания.
И - источник опорного напряжения (например, потенциометр Р-363-1). Значение опорного напряжения должно быть равно 0,25 диапазона изменения выходного сигнала ОП при изменении измеряемого параметра от нуля до верхнего предела измерения, если нижнее предельное значение выходного сигнала ОП равно нулю.
Если нижнее предельное значение выходного сигнала ОП составляет 0,2 его верхнего предельного значения, то источник И не устанавливают и вместо него предусматривают перемычку.
Примечание. Для преобразователей "Сапфир-22Ex" использование схемы а) не допускается.
Обязательное
Схема включения преобразователей с выходным сигналом 20-4 mA при сравнении выходных сигналов поверяемого и образцового преобразователей
а)
б)
а) - подключение сопротивления нагрузки (R1 + R2) к клеммам 5 и 6;
б) - включение сопротивления нагрузки (R1 + R2) последовательно с источником питания;
И - образцовый источник опорного напряжения (например, потенциометр Р-363-1).
Значение опорного напряжения должно быть равно 1,25 диапазона измерения выходного сигнала ОП при изменении измеряемого параметра от нуля до верхнего предела измерения (если нижнее предельное значение выходного сигнала ОП равно нулю).
Примечание. Для преобразователей "Сапфир-22Ex" использование схемы а) не допускается.
Обязательное
Общая схема подключения образцового СИ давления или разряжения и источника этих параметров к поверяемому преобразователю
P - измеряемый параметр (давление или разрежение);
ОР - образцовое средство давления и (или) разрежения;
ПР - поверяемый преобразователь;
ИР - источник давления и (или) разрежения;
C - дополнительные емкости вместимостью от 1 до 50 l;
В - вакуумметр для измерения малых абсолютных давлений (например, вакуумметр теплоэлектрический ВТБ-1) образцовым СИ не является и рекомендуют только в схемах поверки преобразователей абсолютного давления с верхним пределом измерений 0,25 МPa и менее.
Примечание. Схема не распространяется на случаи использования в качестве образцовых СИ автоматизированных задатчиков давления, а также на системы с опорным давлением и последовательным включением нескольких ОР.
Обязательное
Схема подключения к преобразователю, для которого рабочей средой при поверке должен быть газ грузопоршневого манометра, предназначенного для передачи давления жидкостью
P и P' - измеряемое давление и давление под поршнем МП (как правило P = P');
ИРГ - источник давления газа (например, баллон со сжатым азотом и редуктор);
ПР - поверяемый преобразователь;
РГЖ - разделительный сосуд (газ-жидкость);
МП - измерительная колонка грузопоршневого манометра (например, МП6, МП60, МП600);
УПЖ - устройства для подкачки жидкости с целью поддержания ее уровня в разделительном сосуде. Уровень жидкости в разделительном сосуде должен находиться на уровне в плоскости торца поршня МП. Если это не соблюдается, то P /= P', и должна вводиться поправка P на разность этих уровней.

, а

("+" если уровень в сосуде ниже торца поршня, "-" если выше). Если

, то его не учитывают.
Обязательное
Схема подключения к поверяемому преобразователю образцовых задатчиков давления и (или) разрежения
ОЗР - образцовый задатчик давления и (или) разрежения (например, "Воздух-250");
ПР - поверяемый преобразователь;
P' = P + Pоп. Если опорное давление Pоп = 0, то P' = P, где P - измеряемое давление.
Примечание. Линия опорного давления может отсутствовать.