Главная // Актуальные документы // МетодикаСПРАВКА
Источник публикации
М.: Стройиздат, 1983
Примечание к документу
Название документа
"Рекомендации по методике расчета, проектированию и применению панельных и кирпичных стен с различными видами облицовок"
"Рекомендации по методике расчета, проектированию и применению панельных и кирпичных стен с различными видами облицовок"
ПО МЕТОДИКЕ РАСЧЕТА, ПРОЕКТИРОВАНИЮ И ПРИМЕНЕНИЮ
ПАНЕЛЬНЫХ И КИРПИЧНЫХ СТЕН С РАЗЛИЧНЫМИ ВИДАМИ ОБЛИЦОВОК
Рекомендовано к изданию решением секции крупнопанельных и каменных конструкций Научно-технического совета ЦНИИСК им. В.А. Кучеренко.
Разработаны к главе
СНиП по проектированию каменных и армокаменных конструкций.
Содержат рекомендации по проектированию, расчету и применению наружных стен из кирпича, панелей и крупных блоков, облицованных различными фасадными изделиями из керамики, стекла, природного камня и бетона.
Для инженерно-технических работников проектных и строительных организаций, домостроительных комбинатов, заводов железобетонных изделий.
Табл. 7, ил. 14.
Разработаны ЦНИИСК им. В.А. Кучеренко (кандидатами техн. наук С.А. Воробьевой, В.А. Камейко, инж. Э.Д. Багаевой) при участии Моспроект-I, Моспроект-II и Бескудниковского комбината строительных материалов и конструкций N 1.
В составлении примеров расчета стен с облицовками принимала участие инж. Л.А. Массальская.
1.1. Рекомендации содержат указания по проектированию, расчету и применению наружных стен из кирпича, панелей и крупных блоков, облицованных различными фасадными изделиями из керамики, стекла, природного камня и бетона.
1.2. Рекомендации предназначены для использования при проектировании стен из однослойных панелей и крупных блоков из легких бетонов на пористых заполнителях, многослойных панелей из тяжелого бетона и вибрированной кладки, стен из кирпича, керамических камней и других штучных материалов.
1.3. В Рекомендациях рассматриваются методы отделки стен в процессе изготовления в заводских условиях, при их возведении и по готовым стенам.
1.4. Выбор конструктивного решения стены с облицовкой и способа ее крепления производится с учетом действующих нормативных документов и указаний, приведенных в настоящих Рекомендациях
1.5. Конструкции стен должны быть запроектированы так, чтобы в период эксплуатации между облицовкой и стеной не происходило накопления влаги.
1.6. При особых условиях эксплуатации зданий (влажность помещений более 60%, агрессивная среда, сейсмические воздействия) должны учитываться дополнительные требования соответствующих глав СНиП и специальных инструкций.
2. МАТЕРИАЛЫ ДЛЯ ОБЛИЦОВКИ
ОБЩИЕ ТРЕБОВАНИЯ
ОБЛИЦОВОЧНЫЙ КИРПИЧ И КЕРАМИЧЕСКИЕ ЩЕЛЕВЫЕ КАМНИ (ВИД I)
2.1. Для облицовки стен из штучных материалов применяют керамические лицевые камни и кирпич (полнотелые и пустотелые)
(ГОСТ 7484-78).
Для облицовки также допускается применение отборного силикатного кирпича и камня (ГОСТ 379-79) (рис. 1).
Рис. 1. Виды облицовок
I: а - лицевой кирпич; б - керамический камень;
II - коврово-мозаичная керамическая плитка;
III - керамическая крупноразмерная плитка;
IV - коврово-мозаичная стеклянная плитка;
V - бетонная фасадная плита
2.2. Лицевой кирпич и керамические камни выпускаются следующих марок по прочности: 75, 100, 125, 150, 200, 250, 300, с морозостойкостью Мрз 25, Мрз 35 и Мрз 50.
2.3. Лицевые силикатные изделия должны иметь марку по прочности: кирпич - не менее 125 и камни - не менее 100. Морозостойкость лицевых изделий должна быть не менее Мрз 25.
КЕРАМИЧЕСКИЕ ОБЛИЦОВОЧНЫЕ ПЛИТКИ (ВИДЫ II и III)
2.4. Для облицовки наружных стеновых панелей и блоков в процессе их изготовления в заводских условиях применяются коврово-мозаичные керамические плитки размером 48 x 48 x 4 мм (вид II) и более крупные плитки, по размером не более 300 x 140 x 10 мм (вид III).
Для облицовки готовых кирпичных стен применяются керамические плитки высотой не более 150 мм.
| | ИС МЕГАНОРМ: примечание. Взамен ГОСТ 13996-77 Постановлением Госстандарта СССР от 28.06.1984 N 97 с 1 января 1985 года введен в действие ГОСТ 13996-84. | |
2.5. Технические характеристики керамических фасадных плиток должны удовлетворять требованиям ГОСТ 13996-77 "Плитки керамические фасадные и ковры из них".
Фасадные плитки выпускаются с глазурованной и неглазурованной поверхностью. Водопоглощение плиток не должно быть более 10%.
2.6. Плитки размером более 48 x 48 x 4 мм должны иметь на тыльной стороне рифления или выемки в форме "ласточкина хвоста", необходимые для увеличения прочности их соединения с раствором или бетоном.
2.7. Плитки размером более 150 x 75 x 7 мм поставляются заводами-изготовителями в специальной упаковке и при изготовлении изделия укладываются в форму поштучно.
Плитки размером 150 x 75 x 7 мм и менее должны поставляться в коврах. Плитки наклеиваются в ковры со швами по их периметру. При плитках размером 48 x 48 x 4 мм и менее ширина швов между плитками принимается 4 мм, при плитках размером более 48 x 48 x 4 мм, но не более 150 x 75 x 7 мм ширина швов между плитками принимается 7 мм.
Размеры ковров должны соответствовать размерам изделий и согласовываться с заказчиком.
2.8. Допускается применять для облицовки панелей и блоков ковры с произвольной укладкой мелких плиток или боя (тип "брекчия"). Плотность укладки плиток должна быть не более 0,7 - 0,8 общей площади лицевой стороны панели.
ОБЛИЦОВОЧНЫЕ ПЛИТКИ ИЗ СТЕКЛА (ВИД IV)
2.9. Технические характеристики стеклянных плиток, применяемых для облицовки стеновых панелей, должны удовлетворять требованиям ГОСТ 17057-80 "Плитки стеклянные облицовочные и ковры из них".
2.10. Стеклянные плитки имеют размер 22,3 x 22,3 мм по лицевой поверхности и поставляются заводами-изготовителями в коврах Плитки наклеиваются на бумагу со швами шириной не менее 4 мм (по лицевой поверхности).
ОБЛИЦОВОЧНЫЕ ПЛИТЫ ИЗ ПРИРОДНОГО КАМНЯ (ВИД VI)
2.11. В зависимости от физико-механических свойств камня рекомендуется применять следующие его породы для облицовок отдельных частей зданий:
цоколь - гранит, габбро, лабрадорит, диабаз;
поле стены - мрамор, травертин, известняк плотный, доломит;
отдельно стоящие конструкции (ограждения балконов, парапеты, и др.) - гранит и мрамор марки не менее 600.
2.12. Выбор породы природного камня для облицовочных работ должен производиться с учетом следующих нормативных документов:
главы
СНиП по проектированию каменных и армокаменных конструкций;
ГОСТ 9479-76 "Блоки из природного камня для производства облицовочных изделий;
| | ИС МЕГАНОРМ: примечание. Взамен ГОСТ 9480-77 Постановлением Госстроя СССР от 07.04.1989 N 63 с 1 января 1990 года введен в действие ГОСТ 9480-89. | |
ГОСТ 9480-77 "Плиты облицовочные пиленые из природного камня".
2.13. Технические характеристики плит из природного камня, применяемого для облицовки стен, должны удовлетворять следующим требованиям:
а) для мрамора, травертина:
прочность на сжатие - не менее 600 кгс/см2; морозостойкость - не менее Мрз 25; коэффициент размягчения - не менее 0,9;
б) для плотных известняков, доломита: прочность на сжатие - не менее 200 кгс/см2, морозостойкость - не менее Мрз 25; коэффициент размягчения - не менее 0,7.
2.14. Облицовочные плиты изготавливаются путем распиливания блоков.
В зависимости от степени обработки различают плиты с зеркальной, лощеной, шлифованной, пиленой, точечной, бороздчатой, рифленой поверхностями.
2.15. Плиты следует изготавливать толщиной 12, 25, 30, 40, 50 и 60 мм. Наибольший размер плит (ширина или высота) не должен превышать 600 мм.
БЕТОННЫЕ ФАСАДНЫЕ ПЛИТЫ (ВИД V)
2.16. Бетонные фасадные плиты, применяемые для облицовки стен зданий, изготавливаются плоскими, с ребрами на тыльной поверхности или Г-образной формы. Плиты могут быть однослойными или двухслойными, армированными и неармированными. В двухслойных плитах толщина лицевого слоя должна быть не менее 15 мм.
2.17. Плиты изготавливаются из тяжелого или силикатного бетона марки не менее M200. Технические характеристики плит должны отвечать требованиям
ГОСТ 6927-74 "Плиты бетонные фасадные".
2.18. Размеры плит нестандартизированы, определяются проектом и техническими условиями их изготовления.
При изготовлении плит из тяжелого цементного бетона их толщина должна быть не менее 30 мм, из силикатного бетона - не менее 40 мм. Плиты из тяжелых цементных и силикатных бетонов, применяемые для облицовки кирпичных стен в процессе их возведения с креплением к стенам прокладными рядами плит, должны иметь толщину, кратную толщине кирпича, применяемого для кладки. В случае применения для облицовки Г-образных плит толщина закладной части плиты также должна быть кратной толщине кирпича.
2.19. Армирование плит производится сварными сетками, удовлетворяющими требованиям
ГОСТ 10922-75.
Анкеры и крепежные петли выполняются из коррозионностойкой стали типа 10Х14АГ15 по
ГОСТ 5632-72*.
2.20. Лицевая поверхность плит может иметь гладкую фактуру, получаемую формованием и шлифованием, или рифленую, получаемую механической обработкой.
3. РЕКОМЕНДАЦИИ ПО ПРОЕКТИРОВАНИЮ СТЕН С ОБЛИЦОВКАМИ
ВЫБОР ВИДА ОБЛИЦОВКИ И СПОСОБА ЕЕ КРЕПЛЕНИЯ
3.1. При выборе вида облицовки стен зданий необходимо руководствоваться следующими правилами:
облицовка должна отвечать архитектурным требованиям, создавать достаточное разнообразие и выразительность оформления фасадов зданий;
при выбранном виде облицовки и способе ее крепления к стене должна обеспечиваться необходимая надежность ее совместной работы с материалом стены в период эксплуатации здания;
выбранный вид облицовки следует обосновать экономическими соображениями.
Классификация рекомендуемых видов облицовки и способов ее крепления в зависимости от конструктивных решений стен приведена в табл. 1.
Таблица 1
Типы стен | Конструктивное решение стен | Виды облицовок | Допускаемые способы крепления облицовок |
а) Стены из панелей и крупных блоков |
Однослойные из легких бетонов, объемной массой не менее 800 кг/м3 | Несущие | Керамические коврово-мозаичные плитки - вид II | На растворе |
Керамические плитки - вид III | То же |
Коврово-мозаичные стеклянные плитки - вид IV | " |
Самонесущие и навесные | Виды II, III, IV | На растворе или непосредственно к бетону |
Вид VI | На растворе и анкерах |
Навесные | Плиты из природного камня - вид VI | На растворе или непосредственно к бетону <*> |
Трехслойные из тяжелого бетона | Несущие, самонесущие, навесные | Виды II, III, IV | На растворе или непосредственно к бетону |
Вид V | На растворе и анкерах |
Навесные | Вид VI | На растворе или к бетону <*> |
Трехслойные из вибрированной кладки | То же | Виды II, III, IV | На растворе |
Навесные | Вид VI | На растворе и анкерах |
б) Стены из штучных материалов (кирпича, камней и мелких блоков) |
Стены из кирпича и керамических камней | Несущие и самонесущие | Лицевой кирпич и керамические камни - вид I | Тычковыми рядами облицовочного камня при возведении стен |
Вид VI | На анкерах при возведении стен |
Бетонные плиты - вид V | Прокладными рядами плит - при возведении стен; на анкерах - при возведении стен или по готовым стенам |
Виды II, III | На растворе по готовым стенам |
Вид VI | На растворе и анкерах по готовым стенам |
Стены из мелких бетонных блоков и блоков из природного камня | То же | Вид I | Тычковыми рядами облицовки при возведении стен |
Вид V | На растворе и анкерах при возведении стен и по готовым стенам |
--------------------------------
<*> Крепление на растворе или непосредственно к бетону допускается только для травертина при толщине плит до 12 мм.
3.2. Крепление облицовок к стенам может производиться:
при помощи связи облицовочного слоя с материалом стены специальными прокладными рядами из материала облицовки, заходящими в стену (тычковые ряды при облицовке лицевым кирпичом или прокладные ряды из плит при облицовке плитами);
на слое раствора и анкерах;
на слое раствора или непосредственно к бетону.
3.3. Облицовка панельных и блочных стен из бетона и вибрированной кладки, как правило, выполняется в заводских условиях.
Крепление облицовочных плит непосредственно к бетону допускается только для панелей из тяжелого бетона и легкого бетона, изготовляемого с применением кварцевого песка.
3.4. При выполнении стен из штучных материалов (кирпича, керамических, бетонных или природных камней и мелких блоков) облицовка может быть выполнена при возведении стен или по готовой стене.
СТЕНЫ ИЗ ПАНЕЛЕЙ И КРУПНЫХ БЛОКОВ
3.5. Для облицовки бетонных однослойных и трехслойных панелей, бетонных блоков и панелей из виброкирпича независимо от их конструктивного решения допускается применять коврово-мозаичные керамические (вид II) и стеклянные (вид IV) плитки. Плитки крепятся к панелям и блокам при их изготовлении в заводских условиях по технологии формования изделий "лицом вниз", как правило, на промежуточном слое цементно-песчаного раствора. Толщина слоя раствора 15 - 20 мм, проектная марка указывается на чертежах и должна быть:
для навесных стеновых панелей - не менее 100;
для панелей и блоков в несущих и самонесущих стенах - 150.
Примечания: 1. Крепление коврово-мозаичных плиток непосредственно к бетону допускается производить при изготовлении панелей из тяжелого бетона или керамзитобетона на кварцевом песке.
2. В обоих случаях изготовление изделий должно производиться с вибрированием на вибростоле, прочность растворной части бетона должна удовлетворять рекомендациям, изложенным в настоящем пункте к слою раствора.
3.6. При проектировании стен, облицованных коврово-мозаичной плиткой, необходимо учитывать, что плитка поставляется наклеенной в ковры с шириной швов между ними не менее 4 мм.
3.7. Для облицовки панельных и блочных бетонных стен допускается применять керамические плитки более крупных размеров (вид III). При этом в случае облицовки несущих стен высота плиток не должна превышать 150 мм, самонесущих и навесных - 300 мм (при площади плитки не более 0,05 м2). Для облицовки виброкирпичных панелей при всех конструктивных решениях стен применение плиток высотой более 150 мм не допускается.
3.8. Крупные керамические плитки могут укладываться по высоте изделия вертикально (наибольшим размером) и горизонтально. В последнем случае обеспечивается более надежная совместная работа облицовки со стеной в условиях эксплуатации.
Плитки допускается раскладывать по фасаду с перевязкой и без перевязки швов.
3.9. Крупные керамические плитки крепятся на слое раствора. Крепление непосредственно к бетону допускается:
при изготовлении панелей и блоков из тяжелого бетона для всех типов конструктивных решений стен;
при изготовлении панелей и блоков из легкого бетона на кварцевом песке для навесных конструкций стен.
В обоих случаях обязательно соблюдать рекомендации
примеч. 2 к п. 3.5.
3.10. Облицовка однослойных панелей и блоков из легкого бетона в заводских условиях плитами из природного камня допускается только при самонесущих и навесных конструкциях стен; трехслойных панелей из тяжелого бетона - при всех конструктивных решениях стен. Размеры плит из природного камня должны быть не более 400 x 600 мм.
3.11. Крепление плит из природного камня к бетонным панелям и блокам в заводских условиях при несущих и самонесущих конструкциях стен допускается только на растворе и анкерах, при навесных конструкциях разрешается крепление на растворе. Марка раствора должна быть не ниже 100.
В случае изготовления навесных панелей из тяжелого бетона или легкого на кварцевом песке крепление плит допускается производить непосредственно к бетону.
Крепление только на растворе или непосредственно к бетону допускается для плит из травертина при толщине не более 12 мм.
3.12. Облицовочные плиты из природного камня в заводских условиях крепятся к бетону на анкерах из нержавеющей стали диаметром не менее 4 мм. Типы анкеров и их установка даны на рис. 2 и
3.
Рис. 2. Шаблоны для анкеров
Позиция | Диаметр сечения, мм | Длина, мм | Количество | Общая длина, м | Общая масса, кг | Материал | Наименование |
марка | ГОСТ |
а | 4 | 260 | 1 | 0,3 | 0,03 | 12Х3 | | АС-1 |
б | 4 | 368 | 1 | 0,4 | 0,04 | 12Х13 | | АС-2 |
в | 4 | 280 | 1 | 0,3 | 0,03 | 12Х13 | | АС-3 |
г | 4 | 192 | 2 | 0,4 | 0,04 | 12Х13 | | АС-4 |
| 92 | 1 | 0,04 | 0,01 |
Рис. 3. Установка анкера АС
1 - анкер АС; 2 - ось анкера; 3 - раствор на белом
цементе; 4 - облицовочный камень; 5 - каркас
Анкеры устанавливаются из расчета один анкер на площадь плиты не более 0,1 м2, но не реже чем через 30 см по высоте плиты.
Глубина заделки анкера в плите не менее 15 мм. Отверстия в плите для заделки анкеров должны иметь диаметр на 2 мм больше диаметра анкера.
3.13. Облицовку панелей из легкого бетона плитами из природного камня допускается применять при условии, если марка бетона не ниже M50.
3.14. Облицовка плитами из природного камня несущих конструкций однослойных панельных стен из легкого бетона допускается только при условии установки облицовки на относе от стены в специальных креплениях.
Толщина плит при этом должна быть не менее 30 мм. Размеры плит по фасаду принимаются в зависимости от технологических возможностей их выпиливания и архитектурных требований.
3.15. В проекте должны указываться напряжение среза по контакту облицовки с раствором или бетоном при расчетных нагрузках в стене

и предельная прочность их соединений

, которую должен обеспечивать завод по результатам испытаний контрольных образцов в соответствии с
разд. 5 настоящих Рекомендаций.
СТЕНЫ ИЗ ШТУЧНЫХ МАТЕРИАЛОВ
3.16. Для облицовки стен, выполняемых из штучных материалов, применяются лицевой кирпич и керамические камни, керамические и бетонные плиты, плиты из природного камня.
3.17. Марка облицовочного материала должна быть, как правило, на одну ступень выше марки материала основной кладки, но не ниже марки 75.
3.18. Для стен, выполняемых из силикатного кирпича и глиняного полусухого прессования, применение в качестве облицовки Г-образных облицовочных плит не допускается.
3.19. При облицовке стен лицевым кирпичом перевязка лицевой и основной кладки стены осуществляется по многорядной системе.
Тычковые ряды, перевязывающие облицовку с кладкой из кирпича толщиной 65 мм, располагаются через пять ложковых рядов при облицовке полнотелым и три ложковых ряда при облицовке пустотелым кирпичом. При кладке из кирпича толщиной 88 мм тычковые ряды лицевого кирпича располагаются через четыре ряда и при кладке из керамических камней толщиной 138 мм - через три ложковых ряда кладки (рис. 4).
Рис. 4. Кладка из кирпича или керамических
камней совместно с лицевым кирпичом
а - из кирпича толщиной 65 мм; б - из кирпича толщиной
88 мм; в - из керамических камней; 1 - лицевой кирпич
(при облицовке пустотелым кирпичом - перевязка тычковым
рядом через три лотковых); 2 - кирпич обыкновенный
толщиной 65 мм; 3 - то же, толщиной 88 мм;
4 - керамические пустотелые камни
3.20. Лицевая кладка из керамических камней перевязывается с основной кладкой из кирпича толщиной 65 мм через шесть рядов кирпичной кладки или через три ряда камней при кладке из керамических камней толщиной 138 мм (рис. 5).
Рис. 5. Кладка из кирпича или керамических камней
совместно с лицевыми керамическими камнями
а - кладка стены из кирпича; б - кладка стены
из керамических камней; 1 - лицевые керамические камни;
2 - кирпич толщиной 65 мм; 3 - стеновые керамические камни
3.21. Рекомендуется, как правило, производить перевязку лицевой и основной кладки сплошными тычковыми рядами.
3.22. По фасаду облицовка может укладываться с перевязкой и без перевязки вертикальных швов. В последнем случае отсутствие перевязки вертикальных швов в лицевом слое должно учитываться в расчете специальным коэффициентом (см.
п. 4.7).
3.23. Облицовка Г-образными плитами перевязывается с основной кладкой заделкой в нее закладной части плиты на глубину не менее 75 мм.
3.24. Облицовка плоскими бетонными плитами при установке одновременно с кладкой перевязывается с ней прокладными рядами плит, располагаемыми после каждого ряда плит по фасаду (рис. 6). Толщина плит принимается в этом случае равной высоте ряда кирпича, высота - не более 300 мм.
Рис. 6. Кладка из кирпича, облицованная плоскими
плитами с прокладными рядами из тех же плит
а - из кирпича толщиной 65 мм; б - из кирпича толщиной
88 мм; 1 - плоские плиты; 2 - прокладной ряд из плит
3.25. При установке плоских бетонных плит в процессе кладки на гибких связях (анкерах) они могут приниматься и более крупных размеров. Размеры плит в этом случае устанавливаются исходя из технологических условий их изготовления и архитектурных требований. При проектировании стен с облицовкой такими плитами является обязательным их опирание в уровне каждого этажа на специальные Г-образные элементы, заделанные в кладку, или на железобетонные пояса. Под опорной плитой или поясом на толщину облицовочной плиты оставляется компенсационный шов толщиной 20 - 25 мм, который заполняется мягкой прокладкой и с наружной стороны расшивается гидроизоляционной мастикой. Вертикальный шов между плитой и стеной следует заполнять раствором (рис. 7).
Рис. 7. Кладка стен из кирпича или камней
с облицовкой фасадными бетонными плитами
1 - анкеры

B-1-оцинкованные;
2 - петли

B1;
3 - фасадная плита; 4 - расшивка швов; 5 - Г-образная плита
3.26. Стены из штучных материалов в процессе их возведения допускается облицовывать плитами из природного камня. Плиты могут крепиться вплотную к стене на растворе и анкерах и на относе от стены в специальных креплениях.
В случае установки плит из природного камня вплотную к стене их крепление производится в соответствии с
пп. 3.25 и 3.27 Рекомендаций. Крепление плит к теплоизоляционным слоям не допускается.
3.27. Анкеры для крепления плит должны изготавливаться из нержавеющей стали диаметром не менее 4 мм. Количество анкеров принимается из расчета: один анкер на площадь плиты не более 0,1 м2. Типы анкеров выбираются в зависимости от конструктивного решения стены. Анкеры закрепляются в горизонтальных или вертикальных швах кладки. Глубина заведения анкера в стену не менее 120 мм. На каждой плите устанавливается не менее двух анкеров.
3.28. Применение плоских плит для облицовки кладки в процессе ее возведения с креплением только на растворе не допускается.
3.29. Применение плоских плит с креплением на растворе допускается только по готовым стенам в зданиях не выше девяти этажей при выполнении стен из глиняного кирпича и керамических камней и не выше пяти этажей при выполнении стен из силикатного кирпича или глиняного полусухого прессования. При этом высота облицовочных плиток должна быть не более 150 мм при кладке из глиняного кирпича и не более 65 мм при кладке из силикатного кирпича.
Установка облицовочных плиток на растворе по готовым стенам допускается только через 6 мес после возведения стен на всю высоту и достижения нагрузки на стену не менее 85% проектной. Применение облицовок по готовым стенам допускается только как исключение при соответствующем экономическом обосновании (рис. 8).
Рис. 8. Облицовка кладки прислонными
плитками с креплением на растворе
а, б - стен из кирпича; в - стен из керамических камней;
1 - керамические плитки; 2 - раствор для крепления плитки;
3 - керамические камни; 4 - кирпич
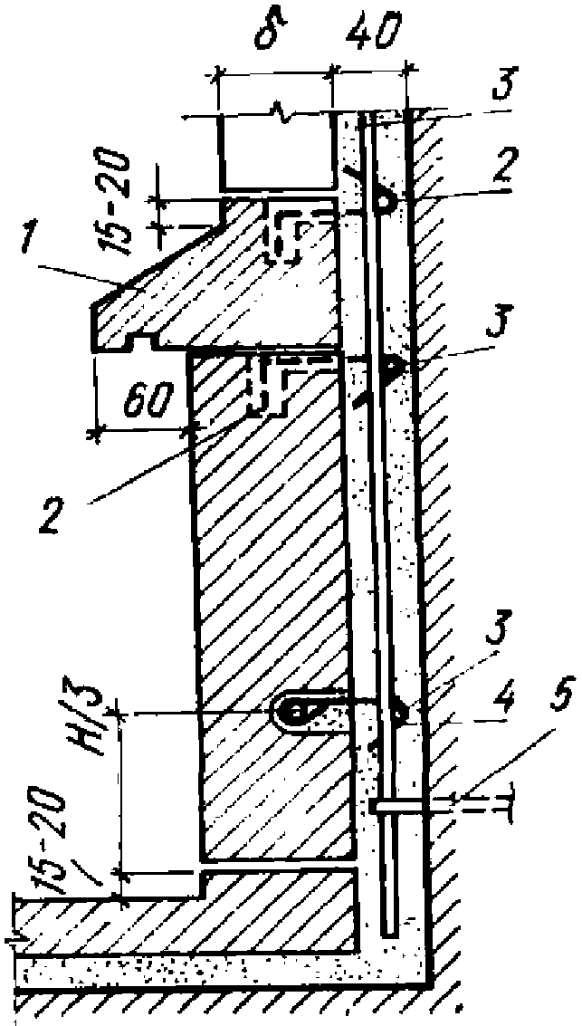
3.30. Облицовка готовых кирпичных стен может быть выполнена плитами из природного камня. Плиты в этом случае крепятся анкерами к арматурным сеткам или рабочим стержням, которые закрепляются к петлям из нержавеющей стали, заделанным в горизонтальные швы кладки при ее возведении. Петли выполняются из стали диаметром 6 - 8 мм, а рабочие стержни - из стали диаметром 10 - 12 мм. Примеры крепления облицовки показаны на
рис. 9 -
13.
Примечание. Детали крепления облицовки см. Справочник архитектуры, т. XIV, "Облицовка зданий естественным камнем" и "Пособие по проектированию жилых и гражданских зданий", раздел 2, серия 4, Управление Моспроект-I и Моспроект-II, 1976.
Рис. 9. Узел крепления плит из природного камня в цоколе
1 - кордонный камень; 2 - анкер;
3 - рабочая арматура; 4 - крюк; 5 - петля
Рис. 10. Узлы крепления плит
из природного камня по полю стены
1 - опорный ряд плит; 2 - монтажная деталь;
3 - рабочая арматура; 4 - крюки; 5 - петля;
6 - ЗД - конструкции; 7 - мастика
Рис. 11. Узел крепления нижнего ряда
плит из природного камня над цоколем
1 - анкер; 2 - крюк; 3 - рабочая арматура; 4 - петля
Рис. 12. Узел крепления плит
из природного камня в уровне перемычки
1 - рабочая арматура; 2 - монтажная деталь
(по проекту); 3 - крюк; 4 - перемычка; 5 - петля
Рис. 13. Узел крепления плит
из природного камня при выступах в стенах
1 - рабочая арматура; 2 - крюк; 3 - опорный ряд;
4 - осадочный шов; 5 - мастика; 6 - петля
3.31. При облицовке плитами из природного камня устройство швов и конструкция всех выступающих частей здания должны исключать попадание за облицовку воды.
Для этого необходимо:
горизонтальные накрывочные камни парапетов, ограждения балконов выполнять из твердых пород. Поверхность верхней грани должна иметь уклон 3 - 4° или перепад отметок по вертикали не менее 15 мм. Устройство капельника в накрывочной плите обязательно;
вертикальные швы между накрывочными камнями тщательно загерметизировать, для этого их ширина принимается не менее 10 мм;
все выступающие детали выполнять из камня твердых пород (карнизы, пояса и др.) и делать уклон наружу для стока воды и капельник;
в случае выполнения выступающих деталей из камня средней твердости (мрамора, травертина, известняка) делать металлическое покрытие из меди, цинка или оцинкованного железа.
3.32. Размеры облицовочных плит должны быть по длине и ширине кратными 10 мм, толщина плит принимается в зависимости от принятого конструктивного решения стены и способа крепления плит. Толщина швов между плитами назначается в зависимости от фактуры плит (шлифования, бугристая и др.) в пределах от 1,5 до 10 мм.
3.33. Для облицовки цоколя выше гидроизоляции рекомендуется применять сплошной лицевой кирпич пластического прессования, плиты из тяжелого цементного бетона и природного камня твердых пород.
3.34. Ширина простенков, выполняемых из штучных материалов, с облицовкой должна быть кратной 1/2 кирпича или согласованной с размерами элементов облицовки.
3.35. В целях повышения несущей способности облицованной кладки допускается ее армирование сетками.
В случаях армирования облицованной кладки сетки, как правило, должны укладываться по всему сечению стены, включая облицовку (за исключением облицовки плитами толщиной 40 мм и менее).
3.36. В случае армирования кладки, облицованной Г-образными или плоскими плитами, перевязанными с кладкой прокладными рядами из тех же плит, арматурные сетки рекомендуется укладывать только в уровне расположения рядов кладки, где осуществляется ее связь с облицовкой (под закладной частью плиты или под прокладным рядом).
3.37. В простенках многоэтажных зданий, облицованных различными фасадными материалами с жестким соединением облицовки и кладки, во всех этажах, где расчетная несущая способность используется более чем на 90%, должно предусматриваться конструктивное армирование. Сетки из стали диаметром 4 мм с ячейками размером не более 150 x 150 мм укладываются в третях высоты простенка, но не реже чем через 1 м.
3.38. При наличии наружных обрезов в стенах с облицовкой во избежание среза облицовки на участке кладки, примыкающем к обрезу, рекомендуется не менее чем в двух швах через два ряда кладки укладывать арматурные сетки из стали

с ячейками не менее 80 x 80 мм. Сетки укладываются по всему сечению стены, включая облицовку, начиная с третьего ряда кладки после выступа.
3.39. В простенках многоэтажных зданий, возводимых при отрицательных температурах, конструктивное армирование кладки с облицовкой применяется во всех этажах, кроме тех, где расчетная несущая способность используется не более чем на 50%. При этом в случае облицовки лицевым кирпичом и керамическими камнями конструктивная арматура укладывается в соответствии с
п. 3.37.
При облицовке плитами, жестко связанными с кладкой, аналогичные сетки укладываются в швы кладки под прокладным рядом плит через три ряда плит по высоте стены.
4. ПРАВИЛА РАСЧЕТА СТЕН С ОБЛИЦОВКАМИ
4.1. Стены с облицовками рассчитываются по правилам
раздела "Многослойные стены" главы СНиП по проектированию каменных и армокаменных конструкций. Вследствие различной жесткости облицовки и основного слоя стены их несущая способность при совместной работе полностью не используется, что при расчете стен с облицовками учитывается введением в расчетные формулы коэффициентов условий работы.
4.2. При расчете стен с облицовками по несущей способности различаются следующие случаи:
а) слой облицовки жестко связывается со стеной в процессе ее возведения тычковыми рядами камней, прокладными рядами плит, слоем раствора или какими-либо другими способами, которые могут рассматриваться как жесткие. При жестком соединении облицовки с материалом стены расчет производится с учетом их разной прочности и деформируемости при совместной работе в стене;
б) слой облицовки связан со стеной в процессе ее возведения гибкими связями. В этом случае каждый слой рассчитывается раздельно на воспринимаемые им нагрузки; нагрузки от покрытий и перекрытий передаются только на внутренний слой;
в) слой облицовки жестко крепится к стене (на растворе и анкерах) после ее возведения. В этом случае расчет стены производится как однослойной без учета облицовки.
4.3. При толщине облицовочного слоя 40 мм и более, жестко связанного со стеной, расчет производится по сечению, приведенному к одному материалу. При приведении сечения толщина слоя принимается фактической, а ширина слоев (по длине стены) изменяется пропорционально отношениям расчетных сопротивлений и коэффициентам использования прочности слоев по формуле

, (1)
где bпр - приведенная ширина слоя; b - фактическая ширина слоя; R и m - расчетное сопротивление и коэффициент использования прочности слоя, к которому приводится сечение; Ri и mi - расчетное сопротивление и коэффициент использования прочности любого другого слоя стены.
При толщине облицовочного слоя менее 40 мм, жестко связанного с материалом стены, принимается

.
При многослойных стенах с аналогичными облицовками сечения других слоев по
формуле (1) приводятся к материалу основного несущего слоя.
4.4. Коэффициенты использования прочности слоев
m и
mi, определенные на основании экспериментальных данных, приведены в
табл. 2 и
3, в случае отсутствия таковых они могут быть определены по характеристикам жесткости слоев по формулам:
а) если деформируемость кладки

больше, чем облицовки

, то прочность кладки не может быть использована полностью без разрушения облицовки, в этом случае:
для облицовки mо = 1, для кладки

, (2)
где eA - основание натурального логарифма.
Материал облицовочного слоя | Материал стены |
керамические камни | глиняный кирпич пластического прессования | силикатный кирпич | глиняный кирпич полусухого прессования |
mi | m | mi | m | mi | m | mi | m |
Лицевой кирпич пластического прессования толщиной 65 мм | 0,8 | 1 | 1 | 0,9 | 1 | 0,6 | 1 | 0,65 |
Лицевые керамические камни со щелевидными пустотами толщиной 138 мм | 1 | 0,9 | 1 | 0,8 | 0,85 | 0,6 | 1 | 0,5 |
Крупноразмерные плиты из силикатного бетона | 0,6 | 0,8 | 0,6 | 0,7 | 0,7 | 0,6 | 0,9 | 0,6 |
Силикатный кирпич | 0,6 | 0,85 | 0,6 | 1 | 1 | 1 | 1 | 0,8 |
Силикатные камни толщиной 138 мм | 0,9 | 1,0 | 0,8 | 1 | 1 | 0,8 | 1 | 0,7 |
Крупноразмерные плиты из тяжелого цементного бетона | 1 | 0,9 | 1,0 | 0,9 | 1 | 0,75 | 1 | 0,65 |
Типы облицовочных плит | m при материале стены |
легкий бетон | тяжелый бетон | виброкирпичная кладка |
Керамические коврово-мозаичные плитки | 0,9 | 1 | 0,8 |
Стеклянные коврово-мозаичные плитки | 0,9 | 1 | 0,8 |
Крупноразмерные керамические плитки | 0,85 | 0,9 | 0,7 |
Крупные плиты из природного камня | 0,75 | 0,85 | - |

; (3)

.
б) если деформируемость облицовки

больше, чем кладки

, то прочность облицовки не может быть использована полностью, в этом случае:
для кладки mк = 1, для облицовки

; (4)

. (5)
4.5. Характеристики деформаций

и

в
формулах (2) -
(6) для материалов стены и облицовки принимаются по табл. 4.
Таблица 4
Вид стенового или облицовочного материала | Характеристики деформаций при прочности раствора  |
200 - 25 | 10 | 4 | 2 |
1. | Крупные блоки и плиты, изготовленные из тяжелого и крупнопористого бетона на заполнителях и тяжелых горных пород | | | | |
2. | Из камней и плит, изготовленных из тяжелого бетона и тяжелых горных пород | | | | |
3. | Из крупных блоков и плит, изготовленных из бетона на легких заполнителях, плотного силикатного бетона и из легких горных пород | | | | |
4. | Кладка из керамических пустотелых камней | | | | |
5. | Кладка из кирпича глиняного пластического прессования | | | | |
6. | Кладка из глиняного кирпича полусухого прессования | | | | |
7. | Кладка из силикатного кирпича | | | | |
4.6. Полные деформации слоев при напряжении

с учетом ползучести определяются по формуле

, (6)
где

- для кладки из керамических пустотелых камней (
h = 138 мм);

- для кладки из глиняного кирпича полусухого и пластического прессования;

- для кладки из крупных блоков, камней, плит, изготовленных из тяжелого бетона;

- для кладки из силикатного кирпича, легкобетонных и силикатных блоков и плит;

- для кладки из крупных блоков и камней, изготовленных из автоклавного ячеистого бетона.
4.7. Расчет стен с облицовками следует производить по
СНиП по проектированию каменных и армокаменных конструкций по
формулам (10) -
(13). В формулах принимается: площадь приведенного сечения
Fпр, площадь сжатой части приведенного сечения
Fпр.сж и расчетное сопротивление слоя, к которому приводится сечение с учетом коэффициента использования его прочности
mR.
Коэффициенты продольного изгиба

,

и коэффициент
mдл следует определять по указаниям
разд. 4 главы СНиП по проектированию каменных и армокаменных конструкций для материала стены.
Коэффициенты
m принимаются по
табл. 2 и
3 Рекомендаций.
В многослойных стенах, где одним из слоев является облицовка, m для несущего слоя, к которому приводится сечение, принимается наименьшее для случаев совместной его работы с граничащими слоями.
В случае отсутствия перевязки вертикальных швов в облицовке из керамических камней или лицевого кирпича к расчетному сопротивлению кладки вводится дополнительный коэффициент условия работы, равный 0,9. Эксцентриситет всех усилий определяется по отношению центра тяжести приведенного сечения. Величины эксцентриситета
e0 > 0,25
y в сторону облицовки не допускается (
y - расстояние от центра тяжести до края приведенного сечения в сторону эксцентриситета). При эксцентриситете нагрузки в сторону облицовки принимается коэффициент

. При эксцентриситете, направленном в сторону внутренней грани стены

, но не меньше 0,1
y расчет производится как однослойного сечения без учета коэффициентов, приведенных в
табл. 2.
4.8. При гибких связях облицовки со стеной каждый слой рассчитывается отдельно. При этом коэффициент

при расчете слоев принимается для условной толщины, равной сумме толщин конструктивных слоев, умноженной на коэффициент 0,7, и для приведенной упругой характеристики

, определяемой

, (7)
где

- упругие характеристики конструктивных слоев;
hi - толщины слоев.
4.9. Расчет панельных стен с облицовкой прислонными плитами с креплением на слое раствора или на растворе и анкерах по несущей способности производится по правилам расчета однослойных стен с введением в расчетные формулы коэффициента
m <= 1, учитывающего условия совместной работы облицовки с материалом стены. Величины коэффициентов
m, определенные на основании экспериментальных данных для различных видов облицовочных плит, приведены в
табл. 3 Рекомендаций.
4.10. Кроме расчета стен на сжатие, облицованных прислонными плитами, обязательным является расчет прочности соединения облицовки с материалом стены.
Необходимая прочность крепления обеспечивается, если выполняется условие

, (8)
где

- суммарное напряжение среза в соединении облицовки с материалом стен при расчетных усилиях в стене;
Rср - расчетное сопротивление срезу.
Величины расчетных сопротивлений срезу соединения различных видов облицовочных плит с материалом стены, определенные на основании статистической обработки экспериментальных данных, приведены в табл. 5.
Типы облицовочных плит | Величина R, кгс/см2, при материале стены |
легкий или тяжелый бетон | виброкирпичная кладка |
Керамические коврово-мозаичные плиты | 6 | 1 |
Стеклянные коврово-мозаичные плитки | 5,5 | 1 |
Крупноразмерные керамические плитки | 2,7 | - |
Крупные плиты из природного камня | 1,8 | - |
4.11. Величина

определяется по формуле

, (9)
где b - ширина сечения;

; (10)

; (11)

; (12)

; (13)

; (14)

, (15)
где

- коэффициент жесткости соединения облицовки со стеной. Для всех видов плоских облицовочных плит с креплением к стене на растворе или растворе и анкерах рекомендуется принимать:
при бетонных стенах

;
при кирпичных стенах

;
E1,
F1,
I1 - модуль упругости, площадь и момент инерции стены;
E2,
F2,
I2 - то же, для слоя облицовки;

,

- коэффициенты ползучести материала стены и облицовки;
v - расстояние между геометрическими осями слоев (облицовки и стены);

,

- коэффициенты усадки материала стены и облицовки;

,

- напряжения сжатия в слоях от расчетных усилий в стене;

,

- коэффициенты линейного расширения материалов слоев;

,

- расчетные перепады температур в течение годового цикла;

,

,

,

- напряжения среза на единицу длины соответственно вследствие неодинаковой загрузки слоев, ползучести и усадки материалов, температурных воздействий.
Модули упругости принимаются в соответствии с действующими нормативными документами.
Для слоев облицовки рекомендуется принимать:
для мрамора E0 = 3·105 кгс/см2;
для травертина E0 = 2·105 кгс/см2;
для керамики E0 = 2·105 кгс/см2.
4.12. Характеристики деформаций слоев при расчете по
формулам (8) -
(13) принимаются по табл. 6
Таблица 6
Вид материала | Характеристики деформации |
| | |
Облицовочный слой из керамических плит: | | | |
вид II | 2,2 | 0 | 0,5·10-5 |
вид III | 1,8 | 0 | 0,75·10-5 |
Облицовочный слой из стеклянной мозаичной плитки | 0 | 0 | 0,4·10-5 |
Облицовочный слой из естественного камня | 0 | 0 | 0,6·10-5 |
Тяжелый бетон | 1,8 | 25·10-5 | 1·10-5 |
Керамзитобетон | 2,5 | 35·10-5 | 1·10-5 |
4.13. Если
условие (8) не удовлетворяется, то облицовка будет отслаиваться от стены. В этом случае она может удерживаться на анкерах, если возможна их установка (плиты из природного камня).
В этом случае производится расчет анкеров.
При шаге анкеров по высоте стены h наибольшее усилие среза на один анкер определяется по формуле

, (16)
где
h - шаг анкеров по высоте стены;
n - количество анкеров в ряду (по ширине стены);

- напряжение среза при расчетной нагрузке в стене.
Величина

при расчете анкеров определяется по
формулам (9) -
(15), в которых величина коэффициента жесткости связей определяется по формуле

, (17)
где d - диаметр анкера; nа - количество ветвей анкера; n - количество анкеров в ряду по ширине.
4.14. При допущении появления трещин по контакту облицовки со стеной и расчете их соединения только по прочности анкеров должны быть предусмотрены конструктивные мероприятия по герметизации швов между облицовочными плитами и стыков между панелями от проникновения через них влаги между облицовочными плитами и стеной.
В случае невозможности осуществления таких мероприятий должно быть изменено конструктивное решение крепления облицовки.
5. ТЕХНОЛОГИЯ ОБЛИЦОВОЧНЫХ РАБОТ, ТРЕБОВАНИЯ К ОТДЕЛКЕ.
МЕТОДЫ КОНТРОЛЯ ПРОЧНОСТИ
ОБЛИЦОВКА БЕТОННЫХ ПАНЕЛЕЙ И БЛОКОВ В ЗАВОДСКИХ УСЛОВИЯХ
5.1. Панели с облицовкой плоскими плитами изготавливаются в металлических формах при технологии формования изделий фасадной стороной вниз.
5.2. Изготовление однослойных панелей производится в следующей последовательности. Дно металлической формы тщательно очищается и на него укладываются облицовочные плитки или ковры из них. В случае применения в качестве облицовки природного камня дно формы закрывается полиэтиленовой пленкой. Эти мероприятия предохранят в дальнейшем облицовку от изменения цвета (побурения, подтеков, ржавчины). Указания об этом следует приводить на чертежах облицовки в разделе технических условий.
Тыльную поверхность облицовки очищают от пыли и других видов загрязнений. После этого на облицовку устанавливают арматурные каркасы и в случае необходимости анкеры.
Принятая форма анкеров и направления отверстий для их заделки должны обеспечивать их устойчивое положение во время бетонирования.
В случае применения для облицовки плит из природного камня перед укладкой бетона раствором на белом цементе производится затирка швов между плитами.
При изготовлении панелей из керамзитобетона и других легких цементных бетонов за исключением случая, оговоренного в
п. 5.3, на облицовку укладывается слой цементно-песчаного раствора толщиной 15 - 20 мм.
По слою раствора (или облицовки) укладывается бетон и производится вибрирование изделия.
Разница во времени между укладкой слоя раствора и бетона не должна быть более 30 мин.
5.3. Изготовление слоистых панелей производится в последовательности, указанной в
п. 5.2, за исключением того, что по облицовке сначала укладывается слой бетона на мелком заполнителе, затем утеплитель и снова слой бетона.
5.4. Перед укладкой ковров с плиткой производится их подбор по размерам и расцветке и укрупнение на специальных постах. Размеры ковров должны быть увязаны с размерами лицевой поверхности изделий.
Укрупнение ковров производится путем их склеивания до необходимых размеров полосами бумаги. Допускается отделка плиткой вертикальных поверхностей изделий небольшой площади (торцевые грани панелей и блоков). При этом ковры из плиток или отдельные плитки должны приклеиваться к бортам формы.
Для склеивания ковров при укрупнении и приклеивании их к вертикальным поверхностям формы применяется костный клей по ГОСТ 2067-71 или другой клей, обеспечивающий прочность приклейки, легко смывающийся после укладки плиток и не дающий после пропарки на поверхности плиток несмывающихся пятен.
При укрупнении ковров должны совмещаться вертикальные и горизонтальные швы между плитками.
5.5. После укладки укрупненных ковров в форму обеспечивается их фиксация на поддоне путем склеивания укрупненных ковров в один ковер на все изделие. Допускается фиксировать ковры в форме и другими методами, в частности приклеиванием ковров по их периметру ко дну формы.
5.6. Для обеспечения проектного положения арматуры рекомендуется применять бетонные или пластмассовые фиксаторы.
5.7. При водопоглощении облицовочных керамических плиток более 10% их необходимо увлажнять перед укладкой на них раствора. Во избежание размокания ковров и отклеивания плитки от бумаги увлажнение следует производить не более чем за 5 мин до укладки раствора или бетона.
5.8. Вибрирование изделий с облицовкой плиткой рекомендуется производить, как правило, на виброплощадках. Продолжительность вибрирования должна составлять не менее 30 с.
5.9. Выдержка изделий до тепловлажностной обработки и тепловлажностная обработка производятся в соответствии с принятыми на заводе режимами, обеспечивающими необходимую отпускную прочность изделий.
5.10. После тепловлажностной обработки панели устанавливаются на пост очистки изделия от бумаги, клея и наплывов раствора.
Очистку рекомендуется производить сразу, пока изделие не остыло и не подсохло. Для очистки от бумаги и клея фасадная поверхность изделия увлажняется теплой водой и обрабатывается механическими вращающимися капроновыми щетками или резиновыми валиками.
Перед транспортировкой на склад в зимнее время изделие должно выдерживаться в цехе в течение 3 - 4 ч.
5.11. Изделия, имеющие поврежденные участки, подвергаются ремонту. Плитки разбитые, сдвинутые или издающие при простукивании глухой звук, заменяются новыми. Ремонт поврежденных участков облицовки рекомендуется производить путем замены новыми плитками с креплением на полимерцементном растворе состава 1:3 (цемент:песок) с введением 20 - 30% поливинилацетатной эмульсии от массы цемента.
5.12. Внешний вид отделки должен соответствовать требованиям стандарта на изделие и изделию-эталону, утвержденному заказчиком.
На облицованной поверхности не допускаются жирные и ржавые пятна, наплывы раствора.
Швы между плитками должны быть полностью заполнены раствором.
5.13. Раствор, укладываемый на облицовочную плитку в качестве подстилающего слоя, должен удовлетворять требованиям
п. 3.5 Рекомендаций.
5.14. Отпускная прочность раствора должна постоянно контролироваться заводом и составлять через 7 сут после изготовления изделий не менее 70% его проектной марки. При этом завод-изготовитель обязан гарантировать достижение раствором его проектной марки в возрасте 28 суток.
5.15. Прочность сцепления плиток с растворами и бетонами в возрасте 28 сут после изготовления должна быть по результатам испытания контрольных образцов не менее указанной в табл. 7.
Виды облицовочных плит | Конструктивные решения стен | Прочность сцепления R, кгс/см2, в зависимости от способа крепления |
с раствором или бетоном | на растворе и анкерах |
Коврово-мозаичные керамические плитки | I | 10 | - |
II | 8 | - |
Коврово-мозаичные стеклянные плитки | I | 15 | - |
II | 10 | - |
Крупноразмерные керамические плитки | II | 20 | - |
Плиты из мрамора | II | 8 | 8 |
Плиты из травертина и других известняковых пород | II | 12 | 12 |
Примечания: 1. Для коврово-мозаичных плиток в таблице даны требуемые величины R при отрыве плиток, для остальных - при срезе.
2. I - несущие конструкции стен; II - навесные и самонесущие.
5.16. Морозостойкость отделочного слоя изделий должна быть не менее Мрз 50 при толщине плиток 4 мм и не менее Мрз 35 для других видов облицовочных плиток.
Примечание. Для северных районов страны требования к отделочному слою из плиток должны соответствовать требованиям главы
СНиП по проектированию каменных и армокаменных конструкций.
При проведении контрольных испытаний образцы после указанного числа циклов замораживания и оттаивания не должны иметь признаков разрушения: появления глухого звука при простукивании плиток, выкрошивания ребер, трещин. Потеря прочности сцепления не должна превышать 25% прочности эталонных образцов.
5.17. Предприятие - изготовитель изделий должно не реже одного раза в месяц, а также при изменении применяемых материалов или технологии изготовления производить проверку прочности сцепления плиток с раствором или бетоном.
5.18. Проверка прочности сцепления проводится на пяти образцах, отвечающих требованиям государственных стандартов на изделия и настоящих Рекомендаций.
Методика определения прочности сцепления в зависимости от вида облицовочных плиток дана в прил. 6.
5.19. Контроль прочности раствора производится испытанием образцов-кубов на сжатие в соответствии с ГОСТ 5802-78 "Растворы строительные. Методы испытаний".
| | ИС МЕГАНОРМ: примечание. Взамен ГОСТ 7025-78 Постановлением Госстроя СССР от 12.02.1991 N 5 с 1 июля 1991 года введен в действие ГОСТ 7025-91. | |
5.20. Испытание облицовочного слоя на морозостойкость должно производиться заводом-изготовителем не реже одного раза в 6 мес. Испытанию на морозостойкость подвергаются 10 образцов размером не менее 10 x 10 x 10 см, которые выпиливаются из более крупных образцов размером по фасаду не менее 400 x 400 мм, изготовленных по технологии, принятой для основных изделий. Испытание на морозостойкость проводится на пяти образцах в возрасте 28 сут после изготовления по методике ГОСТ 7025-78. Другие пять образцов являются эталонами и хранятся в условиях нормальной влажности и положительной температуры. После испытания на замораживание и оттаивание на всех десяти образцах определяется прочность сцепления плиток с раствором, бетоном.
5.21. При изготовлении изделий должны осуществляться следующие виды контроля:
контроль качества применяемых материалов;
пооперационный контроль за соблюдением технологии изготовления изделий;
контроль качества изделий.
5.22. Прием изделий производится партиями. Размер партии определяется стандартом или техническими условиями на выпускаемый вид изделия.
5.23. Потребитель имеет право производить контрольно-выборочную проверку соответствия изделий требованиям стандарта. При контрольной проверке от каждой партии отбирают образцы в количестве 5%, но не менее 5 шт. На отобранных образцах проверяется внешний вид отделки, состояние прочности сцепления плиток с бетоном. Последнее осуществляется простукиванием облицовки легким молоточком или проведением контрольных отрывов плитки (в случае коврово-мозаичных плиток) по
методике прил. 6.
5.24. Если при проверке отобранных образцов окажется хотя бы одно изделие, не отвечающее требованиям стандарта, то проводится повторная проверка удвоенного количества образцов или поштучная проверка изделий.
ОБЛИЦОВКА ВИБРОКИРПИЧНЫХ ПАНЕЛЕЙ В ЗАВОДСКИХ УСЛОВИЯХ
5.25. Виброкирпичные наружные стеновые панели, облицованные керамической плиткой или лицевым кирпичом (камнем), изготавливают в горизонтальном положении по заводской технологии фасадной стороной вниз.
5.26. Порядок изготовления панелей, облицованных ковровой керамикой, принимается следующий:
дно формы тщательно очищается (но не смазывается маслом), на дно формы раскладываются ковры, заранее укрупненные на специальных постах и подобранные по размерам и цвету.
При водопоглощении плиток более 10% их необходимо увлажнять перед укладкой раствора.
Укрупненные ковры крепятся к дну формы во избежание их сдвижки во время вибрации, затем устанавливаются арматурные каркасы и по коврам расстилается растворный слой толщиной 15 - 20 мм.
По раствору раскладывается кирпич с соблюдением между кирпичами швов 10 - 12 мм. По кирпичу расстилается раствор слоем 20 - 25 мм и производится вибрирование. По раствору укладываются плиты утеплителя и по верху плит ряд кирпичей и арматурная сетка и снова расстилается раствор. Вибрация верхнего слоя производится виброрейкой.
5.27. Изготовление панелей с облицовкой лицевым кирпичом (камнем) следует производить в горизонтальном положении в форме, дно которой представляет собой матрицу с ячейками для раскладки кирпичей (камней). Ребра ячеек матрицы обеспечивают расшивку швов в облицовке панелей.
Размеры ячейки матрицы принимаются на 2 мм больше стандартного размера кирпича (камня). Высота ребер матрицы назначается в зависимости от способа заделки зазоров между кирпичом (камнем) и ребрами матрицы и должна быть не менее 5 мм.
5.28. Заделку зазоров между кирпичом и ребрами матрицы рекомендуется производить двумя способами:
первый способ - укладка фигурных вкладышей из пористой резины вплотную в ячейку;
второй способ - заполнение зазоров сухим мелким песком.
5.29. При первом способе заделки зазоров увеличивается высота ребер матрицы и кирпич (камень) укладывается непосредственно на вкладыш.
При втором способе - вначале укладывается в матрицу кирпич, а затем заполняются зазоры сухим сеяным песком.
5.30. Перед укладкой в форму кирпич смачивается водой.
5.31. При изготовлении виброкирпичных панелей с облицовкой рекомендуется применять цементно-песчаные растворы марок 100 - 150. Консистенция раствора должна быть 8 - 12 см.
5.32. Толщину швов между лицевым кирпичом, керамическим камнем рекомендуется принимать 10 - 12 мм.
5.33. Швы между лицевым кирпичом (камнем) должны быть заполнены раствором и расшиты.
5.34. Уплотнение раствора рекомендуется производить на виброплощадках, вибронасадками и виброрейками с частотой колебания 2800 - 3000 в мин. Продолжительность вибрации 30 - 40 с.
5.35. Выдержка изделий до тепловлажностной обработки и тепловлажностная обработка производятся в соответствии с принятым на заводе режимом, обеспечивающим необходимую отпускную прочность изделия.
5.36. Прочность соединения облицовки с виброкирпичной кладкой контролируется по испытаниям контрольных кирпичных призм, которые изготавливаются по технологии панелей с облицовкой нижней стороны плиткой и испытываются на сжатие, и специальных образцов с облицовкой, которые испытываются на отрыв облицовочной плитки.
При испытании контрольных кирпичных призм на сжатие отслаивание облицовочных плит не должно происходить при нагрузке менее 0,75 от разрушающей, прочность соединения плит при отрыве их от раствора должна быть не менее указанной в
табл. 7.
Методика испытания контрольных образцов на отрыв плитки приведена в прил. 6.
ОБЛИЦОВКА СТЕН ИЗ ШТУЧНЫХ МАТЕРИАЛОВ
В ПРОЦЕССЕ ИХ ВОЗВЕДЕНИЯ
5.37. Облицовка стен в процессе их возведения производится лицевыми керамическими камнями и кирпичом, бетонными плоскими и Г-образными плитами и плитами из природного камня.
5.38. В случае облицовки стен лицевыми керамическими камнями, кирпичом, закладными бетонными плитами их укладка производится одновременно с кирпичной кладкой на том же растворе. Облицовка жестко соединяется с кладкой тычковыми рядами или закладной частью плиты.
5.39. При облицовке плоскими бетонными плитами или плитами из природного камня их крепление производится на анкерах, которые заделываются в горизонтальные швы кладки в процессе возведения стены.
5.40. При облицовке плитами одновременно с кладкой стены сначала укладывается опорный ряд облицовки. Последующие ряды могут устанавливаться двумя способами:
при толщине плит более 60 мм облицовочный ряд ставится раньше, чем делается кладка на высоту ряда облицовки;
при толщине плит менее 60 мм сначала ведется кладка на высоту ряда плиты, затем устанавливается облицовочная плита.
В последнем случае затруднена заделка анкеров в швы кладки. Установка тонких плит до возведения стены возможна только в случае установки специальных крепежных приспособлений, удерживающих плиты в вертикальном положении. Не допускается опережать установку облицовочных плит любой толщины по сравнению с кладкой стены более чем на два ряда плит.
5.41. Облицовочные плиты могут устанавливаться с растворными швами по контуру плит или вплотную друг к другу. В последнем случае является обязательной шлифовка торцовых граней плит.
5.42. Вертикальный шов между плитами и стеной в процессе возведения стены заполняется раствором или в случае установки облицовки на относе от стены оставляется незаполненным. Заполнение вертикального шва делается в несколько приемов: первый раз раствор заливается на высоту 0,1 м, последующие - на высоту трети плиты. Перед заливкой вертикального шва между облицовкой и стеной горизонтальные и вертикальные швы между плитами тщательно конопатятся.
5.43. Растворы, применяемые для облицовочных работ, не должны образовывать высолов на поверхности облицовки. Для светлых пород камня следует применять раствор на белом портландцементе.
5.44. Кладку с облицовкой керамическими материалами и бетонными плитами при отрицательной температуре следует, как правило, производить на растворах с химическими добавками и в отдельных случаях при обогреве стены в процессе ее возведения. При облицовке плитами из природного камня применение химических добавок в растворе при производстве работ в зимних условиях не рекомендуется. Работы следует вести в этом случае с применением метода обогрева. Применение метода замораживания допускается в виде исключения только для зданий не выше пяти этажей при облицовке конструктивно перевязанной с кладкой и имеющей высоту, равную или меньшую высоты ряда основной кладки (при облицовке лицевым кирпичом, кладки из обыкновенного кирпича и керамических камней и лицевыми керамическими камнями кладки из керамических камней).
5.45. Работы по облицовке производятся в соответствии с проектом, в котором должны быть указаны раскладка плит и камней, способы крепления угловых и перемычечных плит.
В проекте должен быть указан вид кирпича для кладки стены. Замена на строительстве одного вида кирпича другим или изменение вида облицовки без согласования с проектной организацией не допускается.
ОБЛИЦОВКА ПО ГОТОВОЙ ПОВЕРХНОСТИ СТЕНЫ
5.46. Стены под последующую облицовку прислонными облицовочными плитками с креплением их на растворе должны выполняться впустошовку. В противном случае перед облицовкой стен необходимо делать насечку глубиной не менее 3 мм.
5.47. Облицовку плитами вплотную к стене и креплением на обычном растворе разрешается производить при устойчивой положительной температуре не ниже +6 °C.
При облицовке плитами из природного камня с креплением на растворе и анкерах допускается применение метода обогрева.
5.48. Перед производством облицовочных работ стены очищаются от загрязнения, увлажняются и провешиваются. В случае искривления стен производится их выравнивание нанесением слоя раствора. Общая толщина слоя раствора, нанесенного на стену для крепления облицовки, не должна превышать 20 мм. В случае нанесения более толстого слоя раствора, что может быть связано с необходимостью выравнивания стены, его следует делать по сетке, закрепленной в стене штырями.
5.49. Крепление облицовочных плиток к стене на растворе может производиться двумя способами.
При первом способе выравнивающий слой раствора наносится на стену и не ранее чем через сутки по этому слою раствора крепится плитка. На плитку наносится слой пластичного раствора горкой или ровным слоем на поверхности плитки, отступая от краев на 10 - 15 мм, после чего она прижимается с легким пристукиванием к поверхности стены. При втором способе раствор наносится только на плитку горкой или ровным слоем и она прижимается к стене с пристукиванием легким молотком. Плитки в обоих случаях устанавливаются на клинья или специальные рейки, обеспечивающие вертикальность положения плиток. После затвердевания раствора клинья вынимаются и производится расшивка швов между плитками.
6. РЕКОМЕНДАЦИИ ПО РЕМОНТУ ОБЛИЦОВКИ
РЕМОНТ ФАСАДОВ ЗДАНИЙ, ОБЛИЦОВАННЫХ ПЛИТАМИ
6.1. При ремонте фасадов, облицованных плитами толщиной 30 мм и менее, производится удаление всех треснувших и "бухтящих" плит и замена их слоем штукатурки или новыми плитами с креплением их на растворе.
6.2. При удалении пустотелых плит типа МК является обязательным удаление и их задних стенок.
6.3. В случае выпадения отдельных плит их замена новыми может производиться с креплением к стене на растворе. Перед нанесением слоя раствора поверхность очищается от кусков старых плит и раствора и смачивается водой.
6.4. Для крепления плит рекомендуется применять цементно-песчаные растворы марок 100 - 150. При выпадении плит на значительных участках более целесообразно их заменять штукатурным слоем, который рекомендуется наносить по сетке, закрепленной к металлическим штырям, заделанным в стену в специально просверленные отверстия.
6.5. Штукатурные слои должны окрашиваться под цвет облицовки и расшиваться под размер облицовочных плит.
6.6. При выпадении крупных бетонных плит, крепление которых производилось к стене гибкими связями, или при отслаивании силикатных и бетонных плит толщиной более 30 мм, жестко связанных со стеной прокладными рядами, они могут быть заменены слоем штукатурного раствора (
пп. 6.4 и
6.5) или новыми плитами, закрепление которых к стене следует производить штырями по методу закрепления облицовки из керамических камней, описанному ниже.
РЕМОНТ ФАСАДОВ ЗДАНИЙ, ОБЛИЦОВАННЫХ
КЕРАМИЧЕСКИМИ КАМНЯМИ ИЛИ ЛИЦЕВЫМ КИРПИЧОМ
6.7. Облицовочный слой из керамических камней или лицевого кирпича в случае его отслоения может быть закреплен к стене стальными штырями, заменен новым слоем облицовки или слоем бетона. В каждом отдельном случае способ ремонта облицовки выбирается в зависимости от степени ее разрушения и величины напряжения в стене, определенного без учета слоя облицовки.
6.8. При наличии трещин между облицовкой и кладкой до 20 мм и перенапряжении кладки не более 20% облицовка крепится к стене стальными стержнями из арматуры периодического профиля диаметром 10 - 12 мм. Связи устанавливаются в отверстиях, которые просверливаются в стене с шагом 60 - 80 см по горизонтали и 60 см (в тычковом ряде облицовки) по вертикали. Отверстия диаметром 30 мм просверливаются под углом 30° к горизонтали, глубина заделки стержня 360 - 400 мм. Перед установкой стержней отверстия промываются водой и заполняются с помощью ручного насоса пластичным цементным раствором. Зазоры между кладкой и облицовкой не ранее чем через 7 сут после установки стержней подвергаются цементации, которая производится нагнетанием в трещину цементного молока при давлении не более 2 атм. Трещины со стороны откосов за 2 - 3 дня до цементации заделываются раствором.
6.9. При наличии в облицовочных камнях вертикальных трещин и при ширине трещины между облицовкой и стеной более 20 мм облицовочный слой следует удалить и заменить его новым слоем из аналогичных облицовочных камней или слоем армированного бетона. Крепление нового облицовочного слоя производится к стене согласно рекомендациям, приведенным в
п. 6.8.
6.10. В случае значительного перенапряжения кладки при отслаивании облицовки (более 20%) и наличии в кладке трещин следует производить усиление простенков обоймами.
ПРИМЕР РАСЧЕТА СТЕНЫ ИЗ КЕРАМЗИТОБЕТОНА,
ОБЛИЦОВАННОЙ КРУПНОРАЗМЕРНОЙ КЕРАМИЧЕСКОЙ ПЛИТКОЙ
Продольные наружные стены запроектированы несущими, расчетная нагрузка 37 тс/м приложена по оси сечения.
Стены выполнены из керамзитобетона марки M75 с облицовкой керамическими плитками размером 94 x 297 мм. Плиты уложены по высоте панели вертикально (297 мм - высота). Высота этажа принята равной 3 м.
При расчете принимаем следующие характеристики: начальный модуль упругости керамзитобетона E1 = 60·103 кгс/см2, то же, слоя облицовки E2 = 200·103 кгс/см2.
Расчетное сопротивление сжатия бетона марки M75 - по
табл. 13 СНиП II-21-75 "Бетонные и железобетонные конструкции"
Rпр = 35 кгс/см
2.
Расчет на сжатие
N <= kRпрFб.
При расчете стен с облицовкой принимается
R =
mRпр, здесь
m - коэффициент условий работы, принимаемый по
табл. 3 настоящих Рекомендаций, равный 0,85

,

- коэффициент, определяемый по формуле
где Nкр - условная критическая сила, определяемая по формуле

.
В формуле принято:
kдл - коэффициент, учитывающий влияние длительного действия нагрузки на прогиб элемента в предельном состоянии, равный

,
где принято

,
(табл. 30), тогда
kдл = 2;
l0 - определяется по
табл. 31 и в нашем случае равно высоте этажа - 3 м;
t - коэффициент, принимаемый равным
e0/
h, но не менее величины

;

.
Тогда

;

;
N = 1·0,85·35·3058 = 91 тс.
Предельное усилие (расчетная несущая способность) в сечении, равное 91 тс, больше расчетного усилия в стене, равного 37 тс и, следовательно, прочность стены достаточна.
Расчет прочности соединения облицовки с бетоном
Необходимая прочность соединения обеспечивается, если выполняется условие

.
Величина

определяется по формуле

,
Во всех расчетах индекс 1 присвоен слою бетона, индекс 2 - слою облицовки.
Коэффициент жесткости связи

рекомендуется принимать 9·10
3 кгс/см
2.
В расчете принято:
а) для слоя бетона

;

;
б) для слоя облицовки

;

.
Расстояние между осями слоев v = 16,5 см.

;

.
Определяем напряжения в слоях от вертикальных усилий

.
Облицовка непосредственно не загружена и

.

;

;

;

.
Принимаем

,

.
По
табл. 5 расчетная величина сопротивления срезу для случая крепления плит к керамзитобетону

.
Следовательно, в этом случае не обеспечивается необходимая надежность соединения облицовки со стеной.
ПРИМЕР РАСЧЕТА ПАНЕЛЬНОЙ СТЕНЫ,
ОБЛИЦОВАННОЙ ПЛИТАМИ ПРИРОДНОГО КАМНЯ
Продольные наружные стены запроектированы самонесущими, максимальная нагрузка на метр длины стены в нижнем этаже N = 10 тс/м.
Стены толщиной 34 см выполняются из керамзитобетона марки M75 с облицовкой плитками мрамора толщиной 20 мм с креплением непосредственно к стене на растворе и анкерах.
Высота этажа 3 м, ширина расчетного сечения стены b = 100 мм. Расчет производится для климатического района Москвы.
Расчетные перепады температур приняты равными:

,

.
Расчет стены по прочности производится по аналогии с примером
прил. 1.
Расчет прочности соединения облицовки с бетоном
Необходимая прочность соединения облицовки с материалом стены удовлетворяется, если выполняется условие

.
В расчете приняты следующие характеристики:
1) керамзитобетон

;

;
2) облицовочный слой из мрамора

;

;
v = 17 см.

;

.

.
Нагрузка передается только на слой бетона, облицовка непосредственно не загружается, поэтому

.

;

;

;

;

.

.
По
табл. 5 расчетное сопротивление срезу плит из мрамора при креплении к керамзитобетону будет равно
Rср = 1,8 кгс/см
2,

.
В период эксплуатации стен появляются трещины по контакту облицовки со стеной и плиты будут удерживаться только на анкерах, поэтому следует произвести расчет прочности анкеров.
Расчет соединения облицовки со стеной по прочности анкеров
Для облицовки приняты плиты размером 400 x 600 мм. Из условия
п. 4.14. Рекомендаций анкеры диаметром 4 мм установлены с шагом 200 мм по высоте плиты (и стены) и на ширину простенка 100 см приходится 2,5 анкера. Определим коэффициент жесткости анкерных связей

;

;

.
В связи с тем, что величина

пропорциональна

, при связях только на анкерах

.
При шаге анкеров h = 20 см наибольшее усилие среза, приходящееся на анкер, равно

.
Если при принятом диаметре и марке стали для анкеров это усилие больше, чем может воспринять один анкер, то их количество или диаметр должны быть увеличены.
ПРИМЕР РАСЧЕТА КИРПИЧНОЙ СТЕНЫ
С ОБЛИЦОВКОЙ КЕРАМИЧЕСКИМИ КАМНЯМИ
Размеры простенка: ширина 90 см, толщина 51 см; высота этажа H = 300 см. Простенок выполнен из глиняного кирпича пластического прессования марки 100 на растворе марки 75, облицовка из лицевых керамических камней марки 125 на том же растворе. Высота ряда облицовки равна двум рядам кладки (140 мм), толщина слоя облицовки 120 мм.
Продольная сила в сечении равна 50 тс, изгибающий момент M = 2 тс·м и направлен в сторону слоя облицовки.
По
табл. 2 СНиП по проектированию каменных и армокаменных конструкций для кладки из кирпича марки 100 на растворе марки 75 расчетное сопротивление
R = 17 кгс/см
2 и для слоя облицовки из камня марки 125 на том же растворе
R = 19 кгс/см
2.
Расчет по несущей способности производится по
формуле (13) главы СНиП по проектированию каменных и армокаменных конструкций. Согласно
табл. 2 Рекомендаций
mi = 1,
m = 0,8.
Определяем приведенную площадь сечения. Ширина слоя кладки остается равной 90 см. Приведенная ширина слоя облицовки по
формуле (1) равна

;
Fпр = 126·12 + 90·39 = 5022 см2.
По графику прил. 5 "Руководства по проектированию каменных и армокаменных конструкций" находим положение центра тяжести приведенного сечения

;

.
Эксцентриситет приложения усилия

.
При эксцентриситете в сторону полки, что имеет место в нашем случае, по формуле прил. 6 "Руководства по проектированию каменных и армокаменных конструкций" вычисляем x
Тогда высота сжатой зоны сечения
hс = 22,9 + 19,8 = 42,7 см;
Fпр.с = 126·12 + 90(43,7 - 12) = 4275 см2.
Далее определяем

и

по
табл. 18 СНиП по проектированию каменных и армокаменных конструкций для полной и сжатой части сечения:
для приведенного сечения

;
Iпр = 0,069·126·513 = 115·104 см4,

,

;

;
для сжатой части приведенного сечения

;

;

;

.

.
Коэффициент mдл принимается равным 1.
Согласно
п. 4.7 Рекомендаций

принимается равным 1.

.
Расчетная несущая способность сечения равна 56 тс, что больше расчетного усилия в стене, равного 50 тс и, следовательно, прочность простенка достаточна.
ОПРЕДЕЛЕНИЕ РАСЧЕТНЫХ ПЕРЕПАДОВ ТЕМПЕРАТУР
1. Расчетный перепад температур определяется как разница средних температур стены или облицовки для января и июля, вычисленных с учетом колебаний температуры наружного и внутреннего воздуха солнечной реакции и относительной влажности воздуха

. (1)
2. Средние температуры

для стен с облицовками определяются как для многослойных сечений с учетом указаний "Пособия по расчету крупнопанельных зданий Выпуск 4. Расчет конструкций крупнопанельных зданий на температурные воздействия" (М., 1976).
Средняя температура

слоя вычисляется по формуле

; (2)

,
где

- коэффициенты теплопроводности слоев по
СНиП II-3-79, "Строительная теплотехника";
hi - толщина слоя;

- приведенная температура наружного воздуха

; (3)

; (4)

- коэффициент поглощения радиации, для серой поверхности

, для белой поверхности

;

- приведенная температура внутреннего воздуха

; (5)

; (6)

- нормативная температура внутреннего воздуха;

- расчетная амплитуда суточных колебаний температуры наружного воздуха;

- средняя амплитуда суточных колебаний, принимается по СНиП II-А.6-72 "Строительная климатология и геофизика" (табл. 2) в половинном размере от указанной величины;

и

- наибольшая и наименьшая средняя температура за сутки принимается по СНиП II-А.6-72 (табл. 1).
ПРИМЕР ОПРЕДЕЛЕНИЯ РАСЧЕТНЫХ ПЕРЕПАДОВ
ТЕМПЕРАТУР В СТЕНОВОЙ ПАНЕЛИ С ОБЛИЦОВКОЙ
Расчет производится для климатического района Москвы (см.
прил. 4).
Расчетные перепады температур определяются для стеновой панели из керамзитобетона с облицовкой светлым природным камнем. Толщина панели - 340 мм, толщина облицовки - 20 мм, толщина внутреннего отделочного слоя из цементно-песчаного раствора - 20 мм; коэффициент солнечной радиации для светлой стены

.
Температура наружного воздуха:
в июле

;
в январе

.
Амплитуда суточных колебаний температур:
в июле

;
в январе

.
Aсут принимается равным:
в июле
Aсут = 5,2 + 3 = 8,2 °C;
в январе
Aсут = 3,1 + 3 = 6,1 °C.
Нормативная температура внутреннего воздуха зимой

.
1. Приведенная температура наружного воздуха определяется по
формулам (3) и
(4) прил. 4.
в июле

;
в январе

.
2. Приведенная температура внутреннего воздуха по
формулам (5) и
(6) прил. 4 равна:
в июле

;
в январе

.
Первый слой внутренний

;

.
Первый слой не имеет контакта с облицовкой, поэтому температура для него не определяется.
Слой керамзитобетона

рассматривается условно, как три (2-, 3- и 4-го) слоя по 0,1 м

.

.
Четвертый слой:
в июле

;
в январе

.
Пятый слой (облицовка)

;

;

;
в июле

;
в январе

.
Вычисляем годовые перепады температур по
формуле (1) прил. 4:
облицовки

;
керамзитобетона

.
МЕТОДИКА ОПРЕДЕЛЕНИЯ ПРОЧНОСТИ КРЕПЛЕНИЯ ОБЛИЦОВКИ
К СТЕНОВЫМ ПАНЕЛЯМ И БЛОКАМ
1. Определение прочности нормального сцепления облицовочных плиток размером не более 48 x 48 мм с материалом стены рекомендуется с помощью прибора, разработанного ЭКБ ЦНИИСК им. Кучеренко Госстроя СССР. Для измерения усилия отрыва рекомендуется динамометр марки ДПУ-02/1 с предельной нагрузкой 200 кгс.
Вышеуказанным прибором отрыв плиток можно производить как в вертикальном, так и в горизонтальном положении панелей, блоков стены.
Испытание проводится в следующей последовательности:
приклеивается стальная пластина с нарезным отверстием в центре к облицовочной плитке;
в отверстие пластины ввинчивается стержень, который через шарниры соединяется с динамометром.
Отрыв плитки производится с помощью усилия, вызываемое вращением махового колеса прибора.
Размеры металлической пластины по длине и ширине должны быть на 1 мм меньше облицовочной плитки, толщина 8 - 10 мм.
Приклеивание металлических пластин производится на эпоксидном клее. Испытание на отрыв плиток производится спустя двое суток.
Прочность нормального сцепления плитки определяется по формуле

,
где P - усилие по динамометру в момент отрыва, кгс; F - площадь плитки, см2.
2. Определение прочности сцепления облицовочных плит толщиной 10 мм и более с материалом стены производится испытанием на срез облицовки по ее контакту с раствором. Испытывается не менее 8 образцов размером 15 x 15 x 20 см, выпиленных из фрагментов панелей.
Испытания проводятся по схеме, приведенной на рис. 14.
Рис. 14. Схема испытания на срез облицовочного слоя
1 - облицовочная плита; 2 - металлическая распределительная
плита;
3 - катки

;
4 - бетон;
5 - металлическая плита
Сопротивление срезу

определяется как среднее из восьми образцов по формуле

,
где P - нагрузка при срезе; Fср - площадь среза.