Главная // Актуальные документы // МетодикаСПРАВКА
Источник публикации
М., 2018
Примечание к документу
Текст документа приведен в соответствии с публикацией на сайте http://rosavtodor.ru по состоянию на 11.01.2019.
Документ рекомендован к применению с 29 декабря 2018 года
Распоряжением Росавтодора от 29.12.2018 N 4646-р.
Название документа
"ОДМ 218.2.098-2018. Отраслевой дорожный методический документ. Методические рекомендации по применению преднапрягаемой однородной системы укрепления склонов на основе стальной сети из высокопрочной (> 1770 Н/мм2) проволоки"
(издан на основании Распоряжения Росавтодора от 29.12.2018 N 4646-р)
"ОДМ 218.2.098-2018. Отраслевой дорожный методический документ. Методические рекомендации по применению преднапрягаемой однородной системы укрепления склонов на основе стальной сети из высокопрочной (> 1770 Н/мм2) проволоки"
(издан на основании Распоряжения Росавтодора от 29.12.2018 N 4646-р)
дорожного агентства
от 29 декабря 2018 г. N 4646-р
ОТРАСЛЕВОЙ ДОРОЖНЫЙ МЕТОДИЧЕСКИЙ ДОКУМЕНТ
МЕТОДИЧЕСКИЕ РЕКОМЕНДАЦИИ
ПО ПРИМЕНЕНИЮ ПРЕДНАПРЯГАЕМОЙ ОДНОРОДНОЙ СИСТЕМЫ
УКРЕПЛЕНИЯ СКЛОНОВ НА ОСНОВЕ СТАЛЬНОЙ СЕТИ
ИЗ ВЫСОКОПРОЧНОЙ (> 1770 Н/мм2) ПРОВОЛОКИ
ОДМ 218.2.098-2018
1 РАЗРАБОТАН обществом с ограниченной ответственностью "НТЦ ГеоПроект" (ООО "НТЦ ГеоПроект"), обществом с ограниченной ответственностью "ГЕОБРУГГ" (ООО "ГЕОБРУГГ)
2 Руководитель работ - доктор техн. наук, профессор Маций С.И. Документ разработали к.т.н. Баринов А.Ю., Рябухин А.К., инж. Лесной В.А., Маркович М.С., Пазухина Е.Г., Рослик В.П., Сухляева Л.А.
3 ВНЕСЕН Управлением научно-технических исследований и информационного обеспечения, Управлением строительства и эксплуатации автомобильных дорог Федерального дорожного агентства
4 ИЗДАН на основании
распоряжения Федерального дорожного агентства от 29.12.2018 N 4646-р
5 ИМЕЕТ РЕКОМЕНДАТЕЛЬНЫЙ ХАРАКТЕР
6 ВВЕДЕН ВПЕРВЫЕ
1.1 Настоящий отраслевой дорожный методический документ "Методические рекомендации по применению преднапрягаемой однородной системы укрепления склонов на основе стальной сети из высокопрочной (> 1770 Н/мм2) проволоки" (далее - методический документ) является документом рекомендательного характера.
1.2 Настоящий методический документ разработан в целях обеспечения нормативной базы рекомендациями по расчетам, проектированию и выполнению строительно-монтажных работ по устройству системы укрепления склонов, прилегающих к автомобильной дороге, на основе стальной сети, из высокопрочной (> 1770 Н/мм2) проволоки.
1.3 В настоящем методическом документе представлены основные требования к исходным данным для проектирования, приведены указания по выбору конструктивных решений, условиям применения, положения по проектированию и методике расчета системы укрепления склонов.
1.4 Методический документ разработан для применения в области инженерных изысканий, проектирования и устройства системы укрепления склонов для обеспечения надежной эксплуатации автомобильных дорог на участках развития опасных геологических и инженерно-геологических процессов и явлений.
В настоящем методическом документе использованы ссылки на следующие нормативные документы:
ГОСТ 19912-2012 Грунты. Методы полевых испытаний статическим и динамическим зондированием
ГОСТ 27751-2014 Надежность строительных конструкций и оснований. Основные положения
ГОСТ 31937-2011 Здания и сооружения. Правила обследования и мониторинга технического состояния
ГОСТ 32960-2014 Дороги автомобильные общего пользования. Нормативные нагрузки, расчетные схемы нагружения
ГОСТ 52748-2007 Дороги автомобильные общего пользования. Нормативные нагрузки, расчетные схемы нагружения и габариты приближения
| | ИС МЕГАНОРМ: примечание. В официальном тексте документа, видимо, допущена опечатка: стандарт "Надежность строительных конструкций и оснований. Основные положения" имеет номер ГОСТ 27751-2014, а не ГОСТ Р 27751-2014. | |
ГОСТ Р 27751-2014 Надежность строительных конструкций и оснований. Основные положения
СП 47.13330.2016 "СНиП 11-02-96 Инженерные изыскания для строительства. Основные положения"
СП 116.13330.2012 "СНиП 22-02-2003 Инженерная защита территорий, зданий и сооружений от опасных геологических процессов. Основные положения".
При пользовании настоящими рекомендациями целесообразно проверить действие ссылочных стандартов (сводов правил и/или классификаторов) в информационной системе общего пользования - на официальном сайте федерального органа исполнительной власти в сфере стандартизации в сети Интернет или по ежегодно издаваемому информационному указателю "Национальные стандарты", который опубликован по состоянию на 1 января текущего года, и по выпускам ежемесячно издаваемого информационного указателя "Национальные стандарты" за текущий год. Если заменен ссылочный стандарт (документ), на который дана недатированная ссылка, то рекомендуется использовать действующую версию этого стандарта (документа) с учетом всех внесенных в данную версию изменений. Если заменен ссылочный стандарт (документ), на который дана датированная ссылка, то рекомендуется использовать версию этого стандарта (документа) с указанным выше годом утверждения (принятия). Если после утверждения настоящего стандарта в ссылочный стандарт (документ), на который дана датированная ссылка, внесено изменение, затрагивающее положение, на которое дана ссылка, то это положение рекомендуется применять без учета данного изменения. Если ссылочный стандарт (документ) отменен без замены, то положение, в котором дана ссылка на него, рекомендуется применять в части, не затрагивающей эту ссылку.
В настоящем методическом документе применены следующие термины с соответствующими определениями:
3.1 активные системы укрепления склона и защиты от камнепадов вида нагель-сеть: Строительная система, состоящая из сети (основной компонент), прижимных зубчатых пластин, нагелей, канатов и соединительных компонентов;
3.2 активная противообвальная защита: Комплекс мер, направленных на предупреждение развития скально-обвальных процессов;
3.3 анкер: Деталь или устройство механическим или химическим способом закрепляющаяся в несущем основании и удерживающая канат;
3.4 выветривание: Процесс физического разрушения и химического разложения горных пород под влиянием колебаний температуры, замерзания и оттаивания воды;
3.5 диаметр ячейки проволочной сети (или сети из канатов спиральной свивки) Di (в мм): Диаметр Di (в мм) окружности, вписанной в ромбовидную ячейку;
3.6 закрепление грунтов: Мероприятия по повышению несущей способности грунтов, уменьшению интенсивности их выветривания путем инъекции специальных растворов;
3.7 канаты: Натяжные элементы для усиления контуров сети;
3.8 нагели: Несущие элементы, которые передают нагрузку от сетки через прижимную зубчатую пластину на основание грунта;
3.9 обвал: Отрыв масс горных пород от склонов и их падение вниз под влиянием силы тяжести с опрокидыванием и перекатыванием без воздействия воды;
3.10 прижимные зубчатые пластины: Специальный ромбовидный конструктивный элемент, который служит для крепления сети к грунтовым или скальным нагелям;
3.11 проволочная сеть (или сеть спиральной свивки): Несущий элемент, действующий как поверхность;
3.12 скобы: Элементы, которые служат для соединения рулонов проволочной сети;
3.13 скрепки: Элементы, которые служат для соединения рулонов проволочной сети;
3.14 улавливающие сооружения: Сооружения, предназначенные для перехватывания продуктов обвалов, вывалов, осыпей перед защищаемым объектом.
4.1 Настоящий документ распространяется на активные системы укрепления склона и защиты от камнепадов вида нагель-сеть, которые должны быть собраны из одной или нескольких идентичных функциональных панелей, расположенных последовательно, что позволяет регулировать расстояние между нагелями по горизонтали и вертикали и их длину с учетом конкретных проектных требований. Активные системы укрепления склона и защиты от камнепадов вида нагель-сеть изготовлены из стальной сети и служат для предотвращения и контроля скатывания и падения горных пород со склонов и укрепления неустойчивых склонов.
4.2 Системы укрепления склонов предназначены для обеспечения безопасной эксплуатации участков автомобильных дорог, подверженных воздействию скально-обвальных процессов.
4.3 В процессе расчета и конструирования сооружений с использованием систем укрепления склонов следует руководствоваться указаниями соответствующих разделов норм, сводов правил, инструкций и иных действующих нормативных документов (см.
раздел 2), а также требованиями настоящего методического документа.
4.4 Системы укрепления склонов могут применяться как элементы вновь возводимых в качестве самостоятельных удерживающих и защитных сооружений, так и для усиления существующих конструкций инженерной защиты автомобильных дорог.
4.5 Проектирование противообвальных сооружений осуществляется на основе исследований деформации склона по механизму смещения, масштабности проявлений, цикличности и причин развития обвальных процессов в конкретных инженерно-геологических условиях с учетом прогноза их изменения в период строительства и эксплуатации объекта.
4.6 Использование средств противообвальной защиты экономически и технически целесообразно при объемах обвальных процессов до нескольких тысяч кубических метров. На участках крупных обвальных проявлений в объемах, превышающих десятки тысяч кубических метров, как правило, целесообразно осуществлять вынос объектов из зоны вероятного воздействия.
4.7 На участках развития обвальных процессов должны быть предусмотрены мероприятия по геотехническому мониторингу с целью контроля состояния сооружений, склонов, обвалоопасных участков, прогноза развития опасных геологических процессов и их своевременного предупреждения. В зависимости от конкретных геотехнических условий участка, принятых методов противообвальной защиты, уровня ответственности сооружений определяются виды, состав, сроки и объемы геотехнического мониторинга в соответствии с рекомендациями
раздела 8.
4.8 Инженерные изыскания для разработки проекта противооползневых и противообвальных мероприятий выполняются по заданию проектной организации в соответствии с требованиями
СП 116.13330 "СНиП 22-02-2003 Инженерная защита территорий, зданий и сооружений от опасных геологических процессов. Основные положения",
СП 47.13330 "СНиП 11-02-96 Инженерные изыскания для строительства. Основные положения".
СП 11-102-97 "Инженерно-экологические изыскания для строительства",
СП 11-103-97 "Инженерно-гидрометеорологические изыскания для строительства", СП 11-104-97 "Инженерно-геодезические изыскания для строительства",
СП 11-105-97 "Инженерно-геологические изыскания для строительства. Часть II. Правила производства работ в районах развития опасных геологических и инженерно-геологических процессов", а также государственных стандартов по инженерным изысканиям и исследованиям грунтов для строительства. Состав, содержание и детальность материалов инженерных изысканий определяются масштабом графических материалов в соответствии с указаниями
СП 116.13330 "СНиП 22-02-2003 Инженерная защита территорий, зданий и сооружений от опасных геологических процессов. Основные положения".
4.9 Проектируемые противообвальные мероприятия должны обеспечивать:
- предотвращение, устранение или снижение до допустимого уровня отрицательных воздействий на защищаемые территории, здания и сооружения;
- наиболее полное использование местных строительных материалов и природных ресурсов;
- производство работ методами, исключающими возможность появления новых или активизацию действующих оползневых и обвальный процессов;
- сохранение заповедных зон, ландшафтов, исторических объектов, памятников и т.д.;
- надлежащее эстетическое и экологическое оформление сооружений;
- при необходимости - мониторинг состояния защищаемых объектов и сооружений инженерной защиты.
4.10 Эффективность принятых проектных решений определяется на основании оценки риска развития склоновых процессов с учетом предотвращенных потерь (экономического ущерба и социальных потерь) в соответствии с указаниями
СП 116.13330 "СНиП 22-02-2003 Инженерная защита территорий, зданий и сооружений от опасных геологических процессов. Основные положения".
4.11 Уровень ответственности (класс) противообвальных сооружений назначается в соответствии с уровнем ответственности или классом защищаемых объектов. При расположении на защищаемой территории объектов различных уровней ответственности уровень ответственности сооружений инженерной защиты должен, как правило, соответствовать уровню ответственности большинства защищаемых объектов. При этом отдельные объекты с повышенным уровнем ответственности могут иметь локальную защиту. Классы таких объектов и их локальной защиты должны соответствовать друг другу.
4.12 Если технико-экономическим обоснованием установлена нецелесообразность локальной защиты, то класс инженерной защиты территории устанавливается по объектам наиболее высокого класса.
4.13 Нагрузки и воздействия, учитываемые в расчетах сооружений инженерной защиты, коэффициенты надежности, возможные сочетания нагрузок следует принимать в соответствии с требованиями
СП 20.13330 "СНиП 2.01.07-85* Нагрузки и воздействия".
4.14 При проектировании противообвальных сооружений на берегах водоемов и водотоков необходимо комплексное решение инженерной защиты с учетом необходимых мероприятий берегозащиты, в связи с чем следует дополнительно соблюдать требования
СП 116.13330 "СНиП 22-02-2003 Инженерная защита территорий, зданий и сооружений от опасных геологических процессов. Основные положения" и соответствующих разделов норм гидротехнического строительства.
4.15 В особо сложных инженерно-геологических, гидрогеологических и экологических условиях в рамках разработки проекта противообвальной защиты необходимо предусматривать экспериментальные, модельные исследования и выполнение опытно-производственных работ, оговариваемые в техническом задании на проектирование.
4.16 Проектная документация для сооружений противообвальной защиты должна отвечать требованиям охраны окружающей среды и при необходимости включать разработку комплекса мероприятий, предусматривающих непревышение допустимого уровня антропогенного вмешательства в природную среду и гарантирующих предотвращение развития в ней негативных процессов.
5 Требования к исходным данным для проектирования
5.1 Исходные данные должны включать все необходимые сведения о состоянии склона или откоса для проектирования эффективной защиты автомобильной дороги от влияния на нее опасных геологических и инженерно-геологических процессов. Необходимые сведения для проектирования определяются по результатам выполнения комплекса инженерных изысканий (геодезических, геологических, гидрометеорологических, экологических).
5.2 Инженерные изыскания должны обеспечивать надежные данные о современном состоянии, а также содержать прогноз изменения инженерно-геологических, гидрологических, геокриологических и экологических условий на расчетный срок с учетом природных и техногенных факторов, а также территориальную оценку (районирование) территории по порогам геологической безопасности и рекомендации по выбору принципиальных направлений инженерной защиты.
5.3 Программа, состав и объемы инженерно-геологических изысканий устанавливаются согласно требованиям
СП 11-105 "Инженерно-геологические изыскания для строительства. Часть II. Правила производства работ в районах развития опасных геологических и инженерно-геологических процессов" в зависимости от типа склоновых процессов, стадии (фазы) развития и масштабности проявления.
5.4 Состав и методы исследования оползнеопасных и обвалоопасных территорий и участков включают:
- сбор, обработку и анализ материалов изысканий предыдущих лет на исследуемой и прилегающих территориях;
- сбор, дешифровку и анализ материалов аэро- и космосъемки, выполненные в различные периоды времени;
- маршрутные наблюдения (рекогносцировочные и в процессе оползневой съемки);
- проходку горных выработок (буровых скважин, шурфов, дудок и в особых случаях - штолен);
- геофизические исследования;
- полевые исследования грунтов, в том числе, методом сбрасывания камней на участках обвалоопасных склонов;
- гидрогеологические исследования, в том числе опытно-фильтрационные работы;
- стационарные наблюдения за оползневыми и обвальными проявлениями, которые в зависимости от типа склонового процесса, стадии развития, масштабности проявления, защищаемых объектов и т.п. могут включать:
- наблюдения за оползневыми подвижками с использованием поверхностных и глубинных реперов, марок и датчиков;
- наблюдения за изменением напряженного состояния, порового давления и влажности грунтов;
- режимные наблюдения за подземными водами, как одного из основных факторов оползнеобразования;
- наблюдения за процессами выветривания горных пород, слагающих оползне-, осыпе- и обвалоопасные склоны;
- гидрометеорологические наблюдения за факторами оползнеобразования, в том числе за переработкой берегов на водоемах и водотоках, поверхностным стоком и другими метеорологическими и климатическими явлениями, влияющими на образование или активизацию склоновых процессов;
- лабораторные исследования грунтов и подземных вод;
- камеральную обработку комплексных инженерно-геологических изысканий, материалы которой должны дополнительно включать расчетную оценку устойчивости склонов с учетом возможного развития склоновых процессов, размеров исследуемой территории, сложности и степени изученности ее инженерно-геологических условий и стадии проектирования, а также конструктивных особенностей и уровня ответственности проектируемых зданий и сооружений.
5.5 Основной целью выполнения инженерных изысканий является определение фактической геологической ситуации на прилегающих к автомобильной дороге склонах и откосах с установлением необходимых параметров состояния грунтов (физические и механические свойства, коэффициент устойчивости и т.д.).
5.6 Задачами инженерных изысканий является сбор необходимых параметров для проектирования, определение условий строительства и эксплуатации, обоснование принятых технических решений для обеспечения устойчивости прилегающих к автомобильной дороге склонов и откосов.
5.7 Границы производства инженерных изысканий определяются по материалам рекогносцировочных обследований и уточняются при последующих исследованиях. Также рекогносцировочные обследования рекомендуется выполнять для прилегающих к защищаемой автомобильной дороге участков.
5.8 Состав инженерных изысканий, методы выполнения и объемы отдельных видов работ устанавливаются программой инженерных изысканий, разработанной на основе задания застройщика или технического заказчика.
Для определения состава и объемов инженерных изысканий необходимо идентифицировать уровень ответственности проектируемого объекта капитального строительства и определить категории сложности инженерно-геологических условий.
5.9 Инженерно-геодезические изыскания следует выполнять в соответствии с требованиями
[5] для получения топографо-геодезических планов и поперечных профилей исследуемого участка, как правило, в масштабах от 1:500 до 1:2000.
5.10 При инженерно-геологических изысканиях горные выработки рекомендуется располагать в границах проектируемого сооружения, а при одинаковых грунтовых условиях не далее 5 м от нее.
Глубина инженерно-геологических выработок должна быть не менее чем на 5 м ниже проектируемой глубины заложения нижних концов нагелей при их рядовом расположении.
5.11 При инженерно-геологических изысканиях для проектирования систем укрепления склонов рекомендуется выполнение статического и динамического зондирования грунтов согласно
ГОСТ 19912-2012 "Грунты. Методы полевых испытаний статическим и динамическим зондированием".
5.12 Инженерно-гидрометеорологические изыскания следует проводить согласно требованиям
[4] в целях определения гидрогеологического состояния участка изысканий, климатических условий, метеорологических характеристик, а также влияния строительства систем укрепления склонов на указанные характеристики.
5.13 Инженерно-экологические изыскания выполняются в соответствии с требованиями
[6] с целью получения исходных данных для оценки воздействия на окружающую среду, предотвращения или снижения неблагоприятных последствий строительства сооружений из систем укрепления склонов на автомобильных дорогах.
5.14 По результатам сбора и обработки материалов изысканий и исследований прошлых лет в техническом отчете представляется анализ:
- опыта эксплуатации исследуемой и других трасс автомобильных дорог, эффективности мероприятий инженерной защиты на участках с аналогичными инженерно-геологическими условиями;
- причин возникновения чрезвычайных ситуаций, вызванных активизацией склоновых процессов, а также отказов сооружений инженерной защиты;
- влияния природных и техногенных факторов на функционирование автомобильной дороги;
- изменения влияния отдельных факторов развития склоновых процессов при дальнейшей эксплуатации автомобильной дороги, в том числе, при строительстве сооружений инженерной защиты;
- динамики развития склонового процесса по отношению к исследуемому участку автомобильной дороги.
На основе анализа материалов изысканий и исследований прошлых лет приводится характеристика степени изученности инженерно-геологических условий территории и оценка возможности использования имеющихся материалов для решения соответствующих задач различных видов градостроительной деятельности. Определяются принципиальные вопросы и необходимый комплекс дальнейших инженерно-геологических изысканий на исследуемом участке автомобильной дороги.
5.15 Для обеспечения надежности оценок и прогнозов устойчивости склонов математическое моделирование следует выполнять с использованием различных методов расчета и моделей грунта.
5.16 По результатам изысканий должно быть выполнено районирование (зонирование) территории по степени опасности склоновых процессов, а также прогнозирование возможных негативных последствий обвальных и оползневых смещений - затопление территорий при возникновении обвально-оползневых запруд, образование ударной волны при быстром смещении обвально-оползневых масс в водоемы, загрязнение подземных и поверхностных вод, иногда - атмосферы (при разрушении оползнями или обвалами экологически опасных объектов).
5.17 В районах распространения карстов, многолетнемерзлых грунтов, в сейсмически опасных районах, в районах распространения специфических грунтов, на подрабатываемых территориях объемы и состав инженерно-геологических изысканий дополняются согласно требованиям соответствующих нормативных документов.
6 Конструктивно-технологические решения
6.1 Описание строительного изделия
6.1.1 Активные системы укрепления склона вида нагель-сеть состоят из
(Рисунок 1):
- поверхностных компонентов
(Рисунок 2), которые воспринимают возникающие движущие силы и передают их через зубчатую прижимную пластину системы или проволочные канаты на нагели или анкеры, и затем на основание грунта;
- грунтовых/скальных нагелей - это элементы, воспринимающие растяжение или сдвиг, и передающие приложенную нагрузку от сети к основанию грунта через прижимную зубчатую пластину;
- дополнительные отдельные детали, которые позволяют сильнее зафиксировать сетку на основании грунта, посредством закрепления и усиления краев сети.
Рисунок 1 - Пример активной системы укрепления
склона нагель-сеть
Рисунок 2 - Сеть из стальной проволоки
Рулоны проволочной сети соединяются с помощью скрепок (см. Рисунок 3 и
4), рулоны сети из канатов спиральной свивки соединяются с помощью скоб (см. Рисунок 3 б).
а) соединения рулонов проволочной сети,
б) соединения рулонов сети
Рисунок 3 - Соединения сети
Рисунок 4 - Образец скрепки
6.1.2 Проволочные сети и сети из канатов спиральной свивки могут быть изготовлены из проволоки с антикоррозионным покрытием из цветных металлов (Zn95/Al5 или другие) с экструдированным органическим покрытием или из нержавеющей стали.
Характеристики систем укрепления склонов указаны в таблице 1.
Таблица 1
Характеристики систем укрепления склонов
Деталь | Компонент | Функция |
Поверхностные компоненты | Сеть из стальной проволоки. Элементы для соединения панелей проволочной сети. Дополнительная сеть (опция для систем защиты от камнепадов): с меньшими отверстиями, обычно изготавливается из мягкой стали. | Поглощают силы, возникающие в результате скольжения, и передают их на грунт через прижимную зубчатую пластину или канаты, которые крепятся к нагелям или анкерам. Передают поперечное растягивающее усилие сети, снижая деформацию при нагрузке. Защищают от проскальзывания мелких частиц сквозь отверстия в сетке. |
Грунтовые/скальные нагели | Соответствующие главные нагели (с гайками). | Служат в качестве элементов, воспринимающих растяжение или сдвиг и передают нагрузку на основание грунта. |
Прижимные зубчатые пластины | Прижимные зубчатые пластины системы | Обеспечивают контакт между сетью и нагелем и передают нагрузку от сети на нагель. |
Дополнительные отдельные детали | Короткие промежуточные нагели с пластинами, контурные проволочные канаты, анкеры для канатов спиральной свивки. | Служат для более надежного крепления сети к основанию грунта и соответственно фиксации и укрепления краев сети. |
6.1.3 Сети можно разделить на группы (для целей проектирования) по прочности на растяжение
ZR по падению склона и прочности на срез
PR и/или удлинению при испытании на продольное разрывное усилие

в соответствии с Таблицами 2 и
3.
6.1.4 Зубчатые металлические пластины оцинкованы горячим способом или изготовлены из нержавеющей стали.
Таблица 2
Группы сеток по разрывному усилию и прочности на срез
Группа | Прочность на срез PR на верхней грани зубчатых прижимных пластин, кН | Прочность на растяжение по падению склона ZR, кН |
1 | PR > 135 | ZR > 50 |
2 | 80 < PR <= 135 | 29 < ZR <= 50 |
3 | 50 < PR <= 80 | 19 < ZR <= 29 |
4 | 25 < PR <= 50 | 4 < ZR <= 19 |
5 | 0 < PR <= 25 | 0 < ZR <= 4 |
Таблица 3
Группы сеток по относительному продольному удлинению
Класс | |
A | <= 6 |
B | 6 - 10 |
C | 10 - 14 |
D | > 14 |
|
6.2 Информация о целевом назначении строительного изделия
6.2.1 Активные системы укрепления склона и защиты от камнепадов вида нагель-сеть предназначены для:
- укрепления крутых склонов из неуплотненного грунта и скальных пород и предотвращения разрушения камней и блоков в обломочных, рыхлых или выветрелых горных породах (система укрепления склона);
- укрепления скальных склонов, отрогов, выступов или отдельных участков рыхлой породы (система защиты от камнепадов);
- система защиты для применения в сфере безопасности, например, в местах ожидаемого ударного воздействия объектов.
6.2.2 Срок службы системы укрепления склона составляет 50 лет для категории коррозионной активности
C2 из цветных металлов и органическим покрытием, при установке в эксплуатацию и при испытаниях на прочность в соответствии с
п. 7.2.5 настоящего документа. Кроме того, для проволоки с покрытием из цветных металлов и проволоки с покрытием из цветных металлов и органическим покрытием количество часов службы при экспонировании составляет 1000.
6.2.3 Реальный срок службы при нормальных условиях эксплуатации может быть значительно дольше при отсутствии серьезного ухудшения качественных характеристик, затрагивающих основные эксплуатационные требования.
7 Основные характеристики, методики и критерии оценки
7.1 Основные характеристики изделия
В Таблице 4 показано, как оцениваются качественные показатели активных систем укрепления склона и защиты от камнепадов вида нагель-сеть в зависимости от их основных характеристик.
Таблица 4
Основные характеристики изделия
и критерии оценки качественных показателей изделия
в зависимости от его основных характеристик
N | Основная характеристика | Метод оценки | Способ определения эксплуатационных параметров изделия (уровень, класс, описание) |
Основные эксплуатационные требования 1: Механическое сопротивление и устойчивость |
1 | Рулон проволочной сетки: | | |
Число ячеек в поперечном направлении | nq (шт./м) |
Число ячеек в продольном направлении | ni (шт./м) |
Поперечная длина ячейки | x (мм) |
Продольная длина ячейки | y (мм) |
Угол ячейки | e (°) |
Общая высота проволочной сетки/сетки из канатов спиральной свивки | htot (мм) |
Просвет проволочной сетки/сетки из канатов спиральной свивки | hi (мм) |
Ширина рулона | bRoll (м) |
Длина рулона | lRoll (м) |
Ячейка сети | Di (мм) |
2 | Характеристики прижимной зубчатой пластины: | | |
Прочность на изгиб | Msk (в кНм) |
3 | Несущая способность системы: | | |
Разрывное усилие и удлинение проволочной сетки | Zk (кН/м)  (%) |
Прочность при растяжении по падению склона | ZR (кН) |
Прочность на продавливание | DR (кН) |
Прочность на срез в направлении нагеля | PR (кН) |
4 | Прочность соединительных элементов | | zck (кН/м) |
5 | Прочность: | | |
Испытание образцов проволоки в нейтральном солевом тумане Зубчатая пластина, оцинкованная горячим способом | <= 5% ржавчины |
7.2 Методы и критерии оценки качественных показателей изделия с учетом его основных характеристик
7.2.1
Размеры рулона проволочной сети, ячейки сети, размеры соединительных скрепок. Размеры рулонов проволочной сети
(Рисунок 4) и сети из канатов спиральной свивки
(Рисунок 4): количество ячеек в поперечном направлении в
nq (в шт./м), количество ячеек в продольном направлении в
ni (в шт./м), поперечная длина ячейки
x (в мм), продольная длина ячейки
y (в мм), угол ячейки (в градусах), общая высота сети
htot (в мм), просвет сети
hi (в мм), ширина рулона
bRoll (в м), длина рулона
lRoll (в м), отверстие ячейки
Di (в мм) должны измеряться штангенциркулем и/или измерительной лентой не менее чем на трех образцах. Должны быть указаны каждый номинальный размер и его допуск, а также количество ячеек в обоих направлениях.
| | ИС МЕГАНОРМ: примечание. В официальном тексте документа, видимо, допущена опечатка: имеется в виду пункт 7.2.2, а не 7.1.2. | |
7.1.2
Характеристики прижимной зубчатой пластины: прочность на изгиб. Прочность на изгиб зубчатой пластины
Msk (в кНм) определяется нормативной прочностью на изгиб. Процедура испытания прочности на изгиб описана в
Приложении А к данному документу. 5% квантиль изгибающего момента, измеренного в серии испытаний (не менее трех результатов испытаний
zi (
i >= 3)), должен быть рассчитан для нормального распределения и известного коэффициента вариации и значения
kn в зависимости от количества испытаний.
7.2.3
Несущая способность системы: разрывное усилие и удлинение сети, прочность на растяжение по падению склона, прочность на продавливание, прочность на срез. Разрывное усилие и удлинение сети определяются нормативным разрывным усилием
zk (в кН/м) и соответствующим средним значением максимального удлинения

(в %) проволочной сети. Процедура испытания разрывного усилия проволочной сети описана в
Приложении Б к данному документу. 5% квантиль разрывного усилия, измеренного в серии испытаний (не менее трех результатов испытаний
zi (
i >= 3)), должен быть рассчитан для нормального распределения и известного коэффициента вариации и значения
kn в зависимости от количества испытаний. Нормативное значение
zk (в кН/м) и среднее значение максимального удлинения

(в %).
7.2.3.1 Минимальное значение прочности на растяжение по падению склона
ZR (в кН) (полученное по результатам не менее чем двух измерений при проведении испытания в соответствии с
Приложением В к данному документу).
7.2.3.2 Минимальное значение прочности на продавливание
DR (в кН) и прочности на срез в направлении нагеля
PR (в кН) (полученные по результатам не менее чем двух измерений при проведении испытания в соответствии с
Приложением Г к данному документу) для сочетания сети с зубчатой пластиной.
7.2.3.3 Прочность на срез
PR должна быть проверена с помощью полномасштабного испытания в соответствии с
Приложением Д к данному документу путем сравнения измеренных сил среза
PRtest с прочностью на срез
PR. Разница между результатами двух методов (
Приложения Г и
Д) не должна превышать +/- 20%.
7.2.4
Прочность соединительных элементов. Прочность соединительного элемента должна оцениваться на основе прочности на растяжение сети в поперечном направлении (фактическое направление нагрузки, действующей на соединительные элементы).
| | ИС МЕГАНОРМ: примечание. Текст дан в соответствии с официальным текстом документа. | |
Для каждого сочетания проволочной - типа соединения должны проводиться испытания по крайней мере трех образцов в соответствии с
Приложением Е. 5% квантиль разрывного усилия, измеренного в серии испытаний (не менее трех результатов испытаний
zi (
i >= 3)), для нормального распределения и известного коэффициента вариации и значения
kn в зависимости от количества испытаний.
7.2.5
Прочность: Испытание в нейтральном солевом тумане при обычном уровне конденсации влаги образцов проволоки с покрытием из цветных металлов и проволоки с покрытием из цветных металлов и органическим покрытием. Испытание образцов проволоки в нейтральном солевом тумане должно производиться в соответствии со стандартом
ISO 9227. Для образцов с покрытием из цинково-алюминиевого сплава и цинково-алюминиевого сплава с органическим покрытием должно быть указано количество часов воздействия, после которого каждый образец имеет не более 5% темно-коричневой ржавчины. Образцы с органическим покрытием должны оцениваться без удаления органического покрытия.
7.2.5.1 Зубчатые пластины также должны быть защищены от коррозии.
7.2.5.2 Не требуется проводить испытания на прочность изделий из нержавеющей стали.
8 Геотехнический мониторинг
8.1 На участках развития обвальных процессов рекомендуется предусматривать мероприятия по геотехническому мониторингу. Состав мероприятий и его вид следует назначать с учетом уровня ответственности объекта, степени опасности оползневых и скальных склонов, применяемых средств противооползневой и противообвальной защиты, а также местных условий площадки.
8.2 Геотехнический мониторинг обязательно следует выполнять:
- при уровне ответственности сооружения КС-3;
- на особо опасных участках развития склоновых процессов (степень опасности определяется в соответствии с
СП 116.13330);
- в случае применения средств противообвальной защиты с использованием новых или сложных конструктивно-технологических решений и материалов.
8.3 Под геотехническим мониторингом понимается система наблюдений и контроля, реализуемая в целях:
- обеспечения безопасной эксплуатации защищаемых и прилегающих объектов;
- обеспечения безопасности населения;
- своевременного выявления отклонений в строящихся или существующих сооружениях от проектных данных;
- своевременного выявления, предупреждения и прогнозирования развития опасных геологических процессов;
- управления природными рисками;
- оценки эффективности методов расчета и проектных решений.
8.4 Мониторинг обвалоопасных участков позволяет:
- своевременно обеспечить мероприятия по ликвидации последствий развития обвальных процессов;
- оценить эффективность и соответствие принятых укрепительных мероприятий условиям площадки;
- оперативно укрепить дополнительные участки при необходимости;
- зафиксировать развитие перемещений неустойчивых участков, принять предупредительные меры по их принудительному обрушению с соблюдением требований техники безопасности;
- определить комплекс мер по повышению эффективности реализованных мероприятий.
8.5 Виды геотехнического мониторинга классифицируются:
- по форме представления информации в течение времени (периодический и непрерывный);
- по наблюдаемому объекту (мониторинг склоновых процессов и мониторинг сооружений).
8.6 При периодическом мониторинге измерения необходимых параметров осуществляются специалистами непосредственно на участке через определенные промежутки времени. Периодичность измерений устанавливается программой и может изменяться в процессе ведения мониторинга.
8.7 При непрерывном мониторинге в автономном режиме выполняется сбор, обработка, накопление и передача информации о состоянии склона и сооружения в исполнительную организацию непрерывно или с минимальными интервалами времени для принятия оперативных решений.
8.8 Мониторинг склоновых процессов включает в себя систему режимных наблюдений за изменением состояния склонов и развитием опасных геологических процессов (оползни, эрозии, обвалы, т.п.).
8.9 Мониторинг склоновых процессов выполняется на обвалоопасных склонах как в естественном состоянии, так и с реализованными мероприятиями противооползневой и противообвальной защиты (смонтированными покровными сетями, выполненным пневмонабрызгом, агролесомелиоративными мероприятиями и др.). Мониторинг склоновых процессов, как правило, предусматривают периодическим, с применением средств визуального и инструментального контроля.
8.10 Мониторинг сооружений включает в себя все виды наблюдений за состоянием конструкций противообвальных сооружений, в т.ч. измерение деформаций сооружений (осадки, крены, горизонтальные смещения и др.), фиксацию и наблюдение дефектов и повреждений (трещины, коррозия, разрывы сеток и тросов и т.п.), измерение усилий в анкерах и т.п.
8.11 Мониторинг сооружений выполняется в соответствии с рекомендациями по мониторингу соответствующих типов сооружений и предусматривается как периодическим, с применением средств визуального и инструментального контроля, так и непрерывным, с применением автоматизированных систем.
8.13 Визуальный контроль при мониторинге склоновых процессов и техническом мониторинге предусматривает регулярные обследования и фотофиксацию с последующим сопоставлением состояния участков и сооружений во времени. Фотофиксация выполняется с фиксированных точек, расположение которых определяется в рамках рекогносцировочного обследования. Точки фотофиксации назначаются исходя из необходимости получения фотоматериалов:
- обзорных, с общим изображением наблюдаемого склона, сооружения;
- детальных, с изображениями состояния неукрепленных участков, участков с противооползневыми и противообвальными сооружениями (анкерных конструкций, покровных сеток, покрытия из пневмонабрызга, субстрата и корневой системы насаждений), общего их состояния, отдельных конструкций и повреждений в них.
8.14 Инструментальный контроль при мониторинге склоновых процессов и техническом мониторинге предусматривает:
- геодезический контроль перемещений склонов и сооружений (также может применяться сплошное лазерное сканирование участков);
- определений перемещений, раскрытия трещин в сооружениях и скальных массивов с применением трещиномеров, монтируемых на характерных участках;
- определение наклона сооружений, крупных скальных отдельностей с применением наклономеров, монтируемых на их поверхности;
- определение величины нагрузок и возникающих напряжений в конструкциях сооружений.
8.15 Срок службы измерительных приборов, устанавливаемых на объекте мониторинга, должен быть не менее длительности проведения работ по мониторингу. Измерение каждого параметра рекомендуется осуществлять не менее чем двумя датчиками, приборами или другими средствами измерения.
8.16 При изменении внешних условий окружающей среды необходимо обеспечить стабильность параметров измерительных устройств. При этом следует вносить поправки в результаты измерений в зависимости от изменения температуры, влажности воздуха и других факторов.
8.17 Визуальный и инструментальный мониторинг рекомендуется выполнять до начала и во время строительства - ежемесячно, затем в течение одного года - не реже одного раза в месяц, при установлении устойчивого состояния склона - не реже двух раз в год.
8.18 В отдельных, труднодоступных участках, а также на участках повышенного риска обвальных явлений рекомендуется выполнять непрерывный мониторинг. Непрерывный мониторинг, как правило, следует предусматривать для гибких улавливающих и пропускающих сооружений. Для выполнения непрерывного мониторинга применяются автоматизированные системы мониторинга.
8.19 В составе автоматизированных систем обычно применяют датчики, фиксирующие:
- изменения геометрии конструкций (удлинение тросов, изменение наклона стоек, их перемещение и пр.);
- изменение нагрузок на конструкцию (рост усилий в тросах, анкерах, фиксируемый непосредственно динамометрами, тензометрический контроль напряженно-деформированных состояний в элементах);
- срабатывание контрольных механизмов (страховочные кольца и пр.).
8.20 Принципы работы автоматизированной системы мониторинга заключается в сборе и отправке в диспетчерский пункт значений наблюдаемых параметров или сигналов о превышении заданных пороговых значений. На основании полученной информации эксплуатирующей организацией принимаются соответствующие решения.
8.21 Автоматизированные комплексы следует, как правило, предусматривать с автономным питанием и значительным периодом межсервисного обслуживания. Элементы автоматизированной системы должны быть снабжены защитой от механических повреждений, а также предусматривать решения по защите от ложных срабатываний. При проектировании следует отдавать предпочтение решениям, обеспечивающим многократное повторное применение после срабатывания.
8.22 Для сбора метеорологических и климатических комплексов рекомендуется предусматривать автономные метеорологические станции. Как правило, применяются датчики измерения температуры, количества и периодичности осадков (термометры, плювиометры и плювиографы).
8.23 При вводе в эксплуатацию автоматизированных систем мониторинга следует проводить их пусконаладку и проверку работоспособности с подготовкой исполнительных актов в присутствии специалистов эксплуатирующей организации.
8.24 Мониторинг обвалоопасных участков и противообвальных сооружений следует выполнять с привлечением специализированных организаций. Первичный сбор данных по состоянию опасных участков и защитных сооружений допускается передавать, с обязательным прохождением специализированной подготовки, непосредственно специалистам эксплуатирующих организаций.
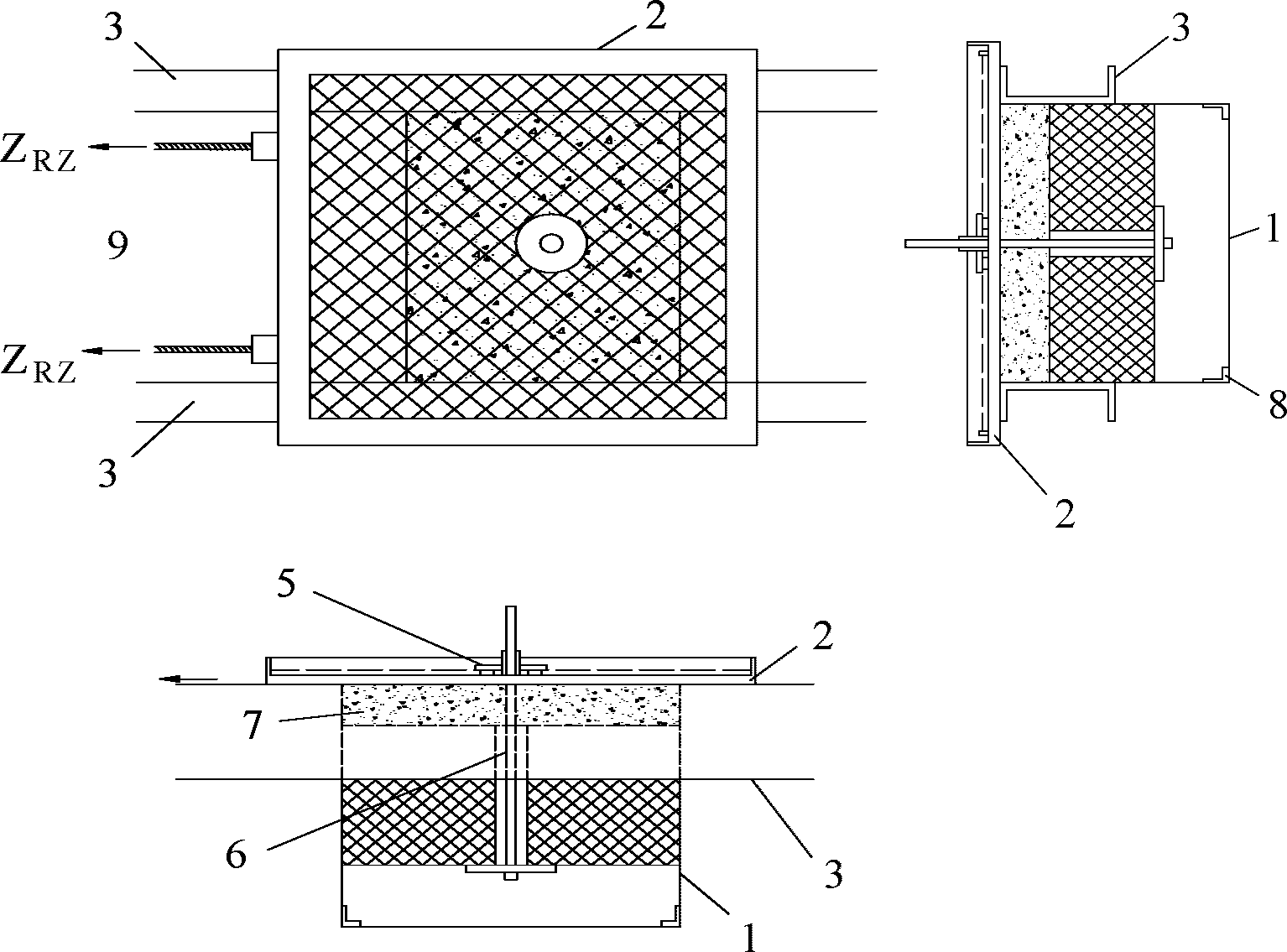
ИСПЫТАНИЯ ПРИЖИМНЫХ ЗУБЧАТЫХ ПЛАСТИН НА ИЗГИБ
А1 Предмет испытания
Целью данного испытания является определение прочности на изгиб в продольном направлении зубчатой пластины Msp.
А2 Контрольный образец
Образцы зубчатых пластин должны отражать особенности материала и геометрии изделий.
А3 Методика испытаний
Испытание должно выполняться при трехточечном изгибе (в продольном направлении зубчатой пластины). Образец размещается на двух опорных штифтах, установленных на заданном расстоянии друг от друга, а третий нагрузочный штифт передает нагрузку с постоянной интенсивностью до момента повреждения образца
(рисунок А.1). Повреждение образца - это состояние, когда приложенная нагрузка не может быть увеличена. На протяжении всего испытания необходимо регистрировать действующие силы. Следует использовать оборудование для испытаний (универсальную машину для испытаний). Необходимо регулярно производить калибровку датчика напряжений. Диапазон измерения должен соответствовать предполагаемой нагрузке. Максимальный изгибающий момент в центре зубчатой пластины
Msp рассчитывается с учетом фактического расположения оборудования во время испытания.
Рисунок А.1 - Схематическое тестовое устройство
А4 Протокол испытаний
Помимо прочего, протокол испытаний должен обязательно содержать следующую информацию:
- Название лаборатории и имя оператора, производившего испытания;
- Характеристики машины для испытаний и ссылку на ее сертификат калибровки;
- Расположение оборудования во время испытания, в первую очередь расстояние между опорными штифтами;
- Дата проведения испытания;
- Идентификационные данные испытываемого образца зубчатой пластины (поставщик и особенности обработки поверхности, зависящие от материала, размеры и т.д.);
- Фотографии, документирующие процесс испытания;
- Результаты - максимальная сила F и соответствующий максимальный изгибающий момент Msp.
ИСПЫТАНИЯ НА РАСТЯЖЕНИЕ ПРОВОЛОЧНОЙ СЕТИ/СЕТИ
ИЗ КАНАТОВ СПИРАЛЬНОЙ СВИВКИ
Б.1 Предмет испытания
Целью этого испытания является определение разрывного усилия проволочной сети zi в продольном направлении.
Б.2 Контрольный образец
| | ИС МЕГАНОРМ: примечание. Текст дан в соответствии с официальным текстом документа. | |
Образцы проволочной должны отражать особенности материала и геометрии изделий. Край испытываемого образца должен быть обработан таким же образом, как и при производстве проволочной сети. Для проволочной сети ширина (измерение перпендикулярное направлению приложения нагрузки) образца должна составлять не менее 10 повторов рисунка сети, а длина должна составлять не менее 5 повторов рисунка сети. Для сети из канатов спиральной свивки ширина (измерение перпендикулярное направлению приложения нагрузки) образца должна составлять не менее 5 повторов рисунка сети, а длина должна составлять не менее 3 повторов рисунка сети.
Б.3 Испытательный стенд
Оборудование для испытания состоит из тяговой машины (в соотв. со стандартом ISO 7500-1, класс A и жестких стальных балок (A и B, см.
Рисунок Б.1), на которых закрепляется образец.
Б.4 Процедура испытания
Во время испытаний нагрузка должна прикладываться в продольном направлении сети. Машина должна захватывать проволоку таким образом, чтобы повреждение проволоки возникало на расстоянии не менее одного повтора рисунка сети от точек захвата. Если возникает повреждение захвата, образец должен быть отбракован и не должен быть включен в отчет об испытании. Испытание проводится для трех образцов с успешными прогонами. Образец фиксируется через все отверстия со всех четырех сторон, в продольных и поперечных точках фиксации. Крепление образца в продольном направлении поддерживает форму образца в поперечном направлении, обеспечивая тем самым равномерное распределение нагрузки, создаваемое жесткой поперечной балкой B, см.
Рисунок Б.1.
Крепления должны свободно, без какого-либо трения, вращаться вокруг оси, перпендикулярной плоскости испытываемой сети, чтобы обеспечить равномерное смещение образца в продольном направлении. Крепежные болты, удерживающие сетку, должны иметь диаметр, составляющий 10 - 35% отверстия сети (Di).
Захваты могут оставаться незатянутыми до тех пор, пока не будет приложена предварительная нагрузка, чтобы обеспечить прижатие проволоки. Сначала следует приложить предварительную нагрузку, составляющую 3% от указанного минимального разрывного усилия. Затем прикладывается нагрузка P с равномерной скоростью от 80 до 90 мм/мин. Нагрузка должна равномерно действовать до тех пор, пока не произойдет первый разрыв отдельной проволоки или не возникнут другие повреждения системы. Удлинение сети следует измерять непрерывно с помощью подходящего измерительного устройства с точностью до 1 мм.
Б.5 Протокол испытаний
Протокол испытаний должен содержать следующие сведения:
- Подробное и точное описание всех трех образцов: конструкция проволочной сети, размер сети, характеристики компонентов (диаметр проволоки, разрывное усилие проволоки);
- Дата проведения испытания;
- Контрольный орган;
- Номинальные размеры b и l испытываемого образца, количество повторов рисунка в обоих направлениях;
- Исходные размеры испытываемого образца;
- Описание аппаратуры для испытаний;
- Диаграмма "нагрузка-удлинение", см.
Рисунок Б.2 (нагрузка, выраженная через разрывное усилие);
- Описание характера повреждений;
- Удлинение

измеренное при 80% от
zk;
- Максимальное разрывное усилие z = Pmax/b в кН/м, где Pmax - разрывная нагрузка и b - номинальная ширина установленного образца (расстояние от центра до центра между продольными креплениями).
Рисунок Б.1 - Схема размещения оборудования
во время испытания
Рисунок Б.2 - Диаграмма удлинения под действием нагрузки
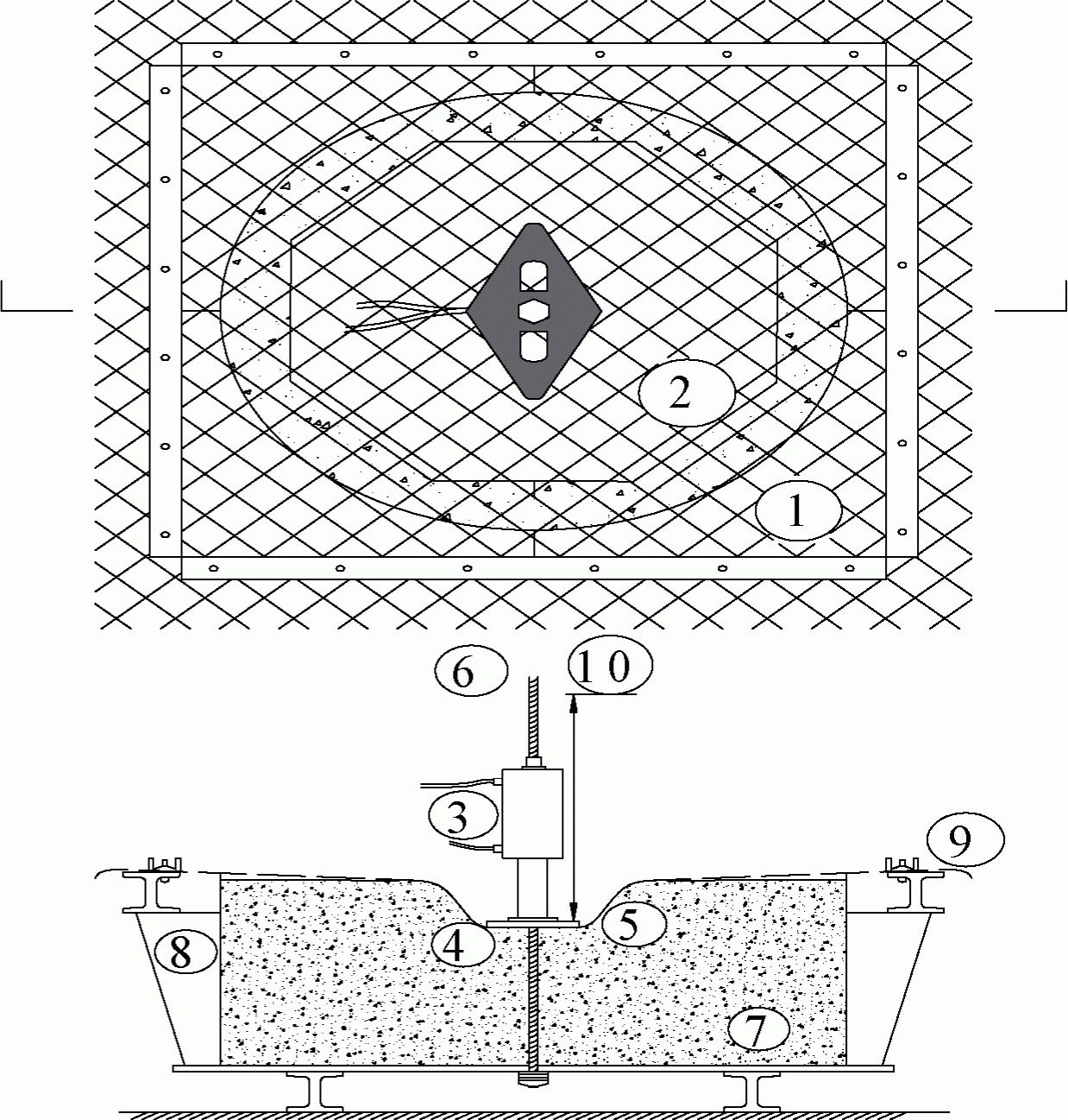
ИСПЫТАНИЯ ПРОЧНОСТИ НА НАТЯЖЕНИЕ ПО ПАДЕНИЮ СКЛОНА
В.1 Предмет испытания
Целью испытания является определение прочности на натяжение по падению склона ZR, которая может быть передана через сетку на зубчатую пластину и, следовательно, на нагель.
В.2 Контрольный образец
Образцы проволочной сети должны отражать особенности материала и геометрии изделий. Следует использовать сетку в сочетании с зубчатой пластиной.
Край испытываемого образца должен быть обработан таким же образом, как и при производстве проволочной сети. Ширина образца проволочной сети должна составлять не менее 21 повторов рисунка сети, а длина должна составлять не менее 10 повторов рисунка сети. Ширина образца сети из канатов спиральной свивки должна составлять не менее 12 повторов рисунка сети, а длина должна составлять не менее 5 повторов рисунка сети.
В.3 Испытательное оборудование
| | ИС МЕГАНОРМ: примечание. В официальном тексте документа, видимо, допущена опечатка: рисунок В.1 отсутствует. | |
Испытательная установка состоит из металлического контейнера 1 (Рисунок В.1), который жестко закреплен, например, с помощью двух
U-образных секций (3,
Рисунок В.2) и квадратной металлической рамы 2 (Рисунок В.1), в которой зажата исследуемая сеть 4 (Рисунок В.1).
Металлический контейнер заполнен грунтом таким образом, что поверхность слоя грунта находится заподлицо с верхним краем металлического контейнера. Нагель расположен в центре металлического контейнера. Исследуемая сеть удерживается зубчатой пластиной, которая притянута к подложке с помощью гайки.
В.4 Процедура испытания
Устройство натяжения каната 9 (Рисунок В.1) тянет за две скобки, закрепленные на раме. Центральная часть зажатой в раме сети удерживается с помощью зубчатой пластины. Силы ZR/2, прикладываются к скобам на раме и затем передаются на сетку, и локально передаются на нагель. Силы ZR/2 непрерывно регистрируются датчиками напряжений (которые регулярно калибруются). Испытание заканчивается, после того как сеть рвется в месте расположения зубчатой пластины.
1) металлический контейнер, 2) квадратная металлическая
рама, 3) крепежные U-образные секции, 4) исследуемая сеть,
5) прижимная зубчатая пластина, 6) нагель, 7) грунт,
8) жесткая фиксация нижней части нагеля,
9) система натяжения каната
| | ИС МЕГАНОРМ: примечание. Нумерация рисунков дана в соответствии с официальным текстом документа. | |
Рисунок В.2 - Испытательная установка
В.5 Протокол испытаний
Протокол испытаний должен содержать следующие сведения:
- Подробное и точное описание испытываемого образца: конструкция проволочной сети, размер сети, характеристики компонентов (диаметр проволоки, разрывное усилие проволоки);
- Номинальные размеры испытываемого образца;
- Тип прижимной зубчатой пластины;
- Описание используемого грунта;
- Дата проведения испытания;
- Контрольный орган;
- Описание повреждений;
- Максимальная сила ZR при повреждении сети.
ИСПЫТАНИЯ ДЛЯ ОПРЕДЕЛЕНИЯ ПРОЧНОСТИ НА ПРОДАВЛИВАНИЕ
Г.1 Предмет испытания
Цель данного испытания - определить прочность на продавливание проволочной сети DR в направлении нагеля.
Г.2 Контрольный образец
Образцы проволочной сети должны отражать особенности материала и геометрии изделий. Испытываемый образец должен состоять из панелей размером 200 x 200 см.
Г.3 Испытательное оборудование
Испытательная установка
(Рисунок Г.1) представляет собой круглый стальной контейнер, который полностью заполнен грунтовым материалом. Заполненный стальной контейнер обрамлен жесткой рамой из четырех стальных секций (например, секции, с ребрами жесткости, приваренными к внешней поверхности контейнера). Испытываемая сеть закреплена на жесткой раме. Испытываемый нагель расположен в центре контейнера. Зубчатая пластина и соответственно проволочная сеть прижаты к грунту и заглублены в нее.
Г.4 Процедура испытания
Контейнер заполняется подготовленным грунтовым материалом, а затем умеренно уплотняется. Во время испытания регистрируются сила давления и соответствующее смещение по вертикали.
Необходимо производить регулярную калибровку устройства для измерения нагрузки.
Чтобы определить чистую несущую способность зубчатой пластины системы с учетом используемой подложки, зубчатую пластину вдавливают в грунт без сети с помощью гидравлического пресса до возникновения повреждения (среза) с соответствующей вертикальной силой
VoG (
Рисунок Г.2 а). Сила
VoG передается непосредственно на подложку по зубчатой пластине.
Если проводится аналогичное испытание, но с участием сети, вертикальная сила может дополнительно увеличиваться на определенное значение

до значения
VmG до тех пор, пока подложка не будет срезана. Разность

передается по сетке в поперечном направлении посредством давления и сил трения действующих на твердый грунт. Таким образом, примерная величина
VoG, снова непосредственно передается через зубчатую пластину на подложку.
1) проволочная сеть, 2) нетканый геотекстиль,
3) гидравлический пресс, 4) прижимная зубчатая пластина,
5) распределительная пластина, 6) нагель, 7) грунт,
8) круглый металлический контейнер, 9) стальная рама,
10) точка отсчета высоты
Рисунок Г.1 - Испытательная установка
а) давление без сети, б) давление с сеткой
Рисунок Г.2 - Этапы испытания
Для определения прочности на продавливание сети (деформации от давления в направлении нагеля) DR учитываются соответствующие дифференциальные силы (исключается влияние грунта).
Следовательно, сила DR зависит от самой проволочной сети.
Соответственно, используются следующие выражения:

,
.
Предполагается, что прочность сети на срез в направлении нагеля по подъему склона под действием зубчатой пластины PR равна половине прочности на продавливание сети под действием деформационного давления в направлении нагеля DR.
PR = DR/2.
Г.5 Протокол испытаний
Протокол испытаний должен содержать следующие сведения:
- Подробное и точное описание испытываемого образца: конструкция проволочной сети, размер проволочной сети, характеристики компонентов;
- Номинальные размеры испытываемого образца;
- Тип (чертеж) используемой зубчатой пластины;
- Описание используемого грунта;
- Дата проведения испытания;
- Контрольный орган;
- Вертикальное смещение при повреждении и соответствующая приложенная нагрузка;
- Нагрузка - диаграмма вертикального смещения;
- Максимальные значения сил VoG, Vmg и DR.
КРУПНОМАСШТАБНЫЕ ПОЛЕВЫЕ ИСПЫТАНИЯ АКТИВНЫХ СИСТЕМ
УКРЕПЛЕНИЯ СКЛОНА И ЗАЩИТЫ ОТ КАМНЕПАДОВ ВИДА НАГЕЛЬ-СЕТЬ
Д.1 Предмет испытания
Целью данного испытания является анализ и улучшение понимания несущей способности системы в максимально реалистичных условиях, а также исследование и подтверждение теоретического модельного подхода, используемого в расчетах, основополагающих допущений в реальных условиях и проведение воспроизводимых лабораторных испытаний. В рамках данного испытания также можно проверить силы, действующие на нагели.
Д.2 Контрольный образец
Образцы активной системы укрепления грунта должны отражать особенности материала и геометрии изделий. Состояние грунта должно быть как можно более подходящим для целей сравнения. Испытательная установка должна быть как можно больше, чтобы избежать граничных эффектов в модельном испытании. В рамках данной испытательной установки необходимо смоделировать реальный выход пласта на дневную поверхность поврежденного склона.
Д.3 Испытательное оборудование
Испытательное устройство состоит из жесткой стальной рамы, которая может вращаться вокруг одной из граней.
| | ИС МЕГАНОРМ: примечание. Текст дан в соответствии с официальным текстом документа. | |
Необходимо использовать стальную раму с размерами не менее 13 x 15 м, которая может быть заполнена грунтовым материалом на площади 10 x 12 м, толщина слоя должна составлять не менее 1,2 м. Испытываемая проволочная сеть помещается на поверхность слоя грунта, а зубчатые пластины крепятся на раму и фиксируются их гайками на анкерах.
Сеть должна быть пришита к верхним и нижним несущим канатам и привинчена к вертикальным сторонам рамы с помощью стальных U-образных профилей, чтобы создать покрытие, неподвижное в поперечном направлении. Используемые нагели следует рассматривать как не подверженные изгибу в местах соединения с рамой.
Различные углы наклона рамы сканируются с помощью лазерного устройства. Для определения наклона стальной рамы используются маятник и автоматический инклинометр. В качестве средств для ориентирования и опорных точек используются белые шарики/конусы или другие метки совместно с различными зеркалами.
Потенциометр каната можно использовать для измерения смещений верхнего среднего нагеля. Кроме того, датчики напряжений должны использоваться для определения сил в верхних и нижних несущих канатах.
Датчики деформаций (см.
Рисунок Д.1) используются для определения (на основе измеренных деформаций) нормальных и изгибающих сил на выбранных нагелях. Положение датчиков деформации зависит от установки для испытаний и длины нагеля.
Также необходимо определить смещение всех нагелей с помощью подробного лазерного сканирования с идентифицируемыми метками (например, белые шарики/конусы) на их оголовках.
Также регистрируются выпучивания сети (деформированная форма сети). Кроме того, следует измерить силы, действующие на верхние и нижние несущие канаты, см.
Рисунок Д.2.
Все испытательное оборудование должно быть откалибровано и должно иметь такой диапазон измерений, который охватывает ожидаемые результаты измерений.
Рисунок Д.1 - Положение датчиков деформации на нагелях
Рисунок Д.2 - Испытательная установка
Д.4 Процедура и результаты испытания
При подъеме краном наклон рамы может меняться от 0° до 85°.
Поверхность, на которой расположены оголовки нагелей и стальные рамы, должна быть сначала отсканирована в горизонтальном положении, чтобы служить эталонным уровнем. Сканирование повторяется после изменения наклона на 5°.
Датчики с красной маркировкой предназначены для измерения нормальных сил на нагелях. По результатам измерений деформаций в горизонтальном и вертикальном направлениях могут быть рассчитаны изгибающие моменты, действующие на нагели по горизонтали и вертикали.
Сопротивление сдвига PR определяется как нормальная сила в нагелях, в момент повреждения первой проволоки в проволочной сетке независимо от наклона рамы.
Д.5 Протокол испытаний
Протокол испытаний должен содержать следующие сведения:
- Подробное и точное описание испытываемого образца: конструкция проволочной сети, размер проволочной сети, характеристики компонентов;
- Тип используемой прижимной зубчатой пластины;
- Типы используемых нагелей и схему их расположения;
- Описание грунта;
- Дата проведения испытания;
- Изображения лазерного сканирования, демонстрирующие деформацию системы при разных углах наклона;
- Измеренные силы, воздействующие на канаты в каждом из наклонных положений;
- Деформации, измеренные датчиками на нагелях в каждом из наклонных положений и соответствующие расчетные нормальные силы, и изгибающие моменты в обоих направлениях;
- Сдвигающая сила PRtest и соответствующий уклон.
ИСПЫТАНИЙ СОЕДИНИТЕЛЬНЫХ ЭЛЕМЕНТОВ
Е.1 Предмет испытания
Цель испытания состоит в том, чтобы определить, что соединительные элементы между панелями проволочной сети способны передавать полную силу растяжения сети в поперечном направлении.
Е.2 Контрольный образец
Образцы проволочной сети должны отражать особенности материала и геометрии изделий. Край испытываемого образца должен быть обработан таким же образом, как и при производстве проволочной сети. Образец состоит из двух отдельных панелей одинакового размера, которые скреплены вместе с помощью соединительных элементов, поэтому само соединение расположено в середине готового образца.
Ширина и длина образца для испытаний должны составлять приблизительно 1 x 1 м. Соединительные элементы (число, тип) необходимо установить в соответствии с указаниями производителя активной системы укрепления грунта.
Е.3 Испытательный стенд
Устройство для испытания состоит из тяговой машины и жестких стальных балок (см.
Рисунок Б.1), на которых закрепляется образец.
Е.4 Процедура испытания
Испытания должны проводиться с нагрузкой, прикладываемой в поперечном направлении проволочной сети (см. также
Рисунок 1), для которой испытываются соединения сети. Соединения должны проверяться в поперечном направлении (перпендикулярно проволочной сетке). Образец фиксируется во всех отверстиях со всех четырех сторон, в продольных и поперечных точках фиксации. Крепление образца со всех четырех сторон поддерживает форму образца в поперечном/продольном направлении, обеспечивая тем самым равномерное распределение нагрузки, создаваемое жесткой балкой B, см.
Рисунок Б.1.
Крепления должны свободно вращаться вокруг оси, перпендикулярной плоскости испытываемой сети, без какого-либо трения, чтобы обеспечить ее равномерное смещение.
Захваты могут оставаться незатянутыми до тех пор, пока не будет приложена предварительная нагрузка, чтобы обеспечить заглубление проволоки. Сначала следует приложить предварительную нагрузку, составляющую 3% от указанного минимального временного сопротивления разрыву. Затем прикладывается нагрузка P с равномерной скоростью от 80 до 90 мм/мин. Затем нагрузка должна подаваться равномерно, пока не произойдет первый разрыв или повреждение отдельного соединительного элемента или всего соединения.
Если перед отдельным элементом соединения возникнет какое-либо повреждение сети или будет повреждено все соединение, испытание не может быть принято, и соединение не может считаться удовлетворительным.
Е.5 Протокол испытаний
Протокол испытаний должен содержать следующие сведения:
- Подробное и точное описание испытываемого образца: конструкция проволочной сети, размер сети, характеристики компонентов, характеристики соединительных элементов и способ крепления;
- Дата проведения испытания;
- Контрольный орган;
- Номинальные размеры b и l испытываемого образца, количество повторений в обоих направлениях и соединение;
- Исходные размеры испытываемого образца;
- Описание аппаратуры для испытаний;
- Описание характера повреждений;
- Максимальное усилие при разрыве Pmax и соответствующее разрывное усилие zc = Pmax/b.
[1] | | Инженерно-геологические изыскания для строительства. Общие правила производства работ. |
[2] | | Инженерно-геологические изыскания для строительства. Правила производства работ в районах развития опасных геологических и инженерно-геологических процессов. |
[3] | | Инженерно-геологические изыскания для строительства. Правила производства геофизических исследований. |
| | Инженерно-гидрометеорологические изыскания для строительства. |
| СП 11-104-97 | Инженерно-геодезические изыскания для строительства. |
| | Инженерно-экологические изыскания для строительства. |
[7] | | "СНиП 2.01.07-85* Нагрузки и воздействия" |
[8] | | "СНиП 2.02.01-83* Основания зданий и сооружений" |
[9] | | "СНиП 2.05.02-85* Автомобильные дороги" |
[10] | | "СНиП 3.02.01-87 Земляные сооружения, основания и фундаменты" |
[11] | | "СНиП 11-02-96 Инженерные изыскания для строительства. Основные положения" |
[12] | | "СНиП 12-01-2004 Организация строительства" |
[13] | | "СНиП 3.03.01-87 Несущие и ограждающие конструкции" |
[14] | | "СНиП 3.07.01-85 Гидротехнические сооружения речные" |
| | Рекомендации по мониторингу и обследованию подпорных стен и удерживающих сооружений на оползневых участках автомобильных дорог. |
| | Рекомендации по проектированию и расчету противообвальных сооружений на автомобильных дорогах. |
[17] | | Справочник геотехника. Основания, фундаменты и подземные сооружения/Под общей редакцией В.А. Ильичева, Р.А. Мангушева. - М.: Изд-во АСВ, 2016. - 1040 с. |
Руководитель
организации-разработчика
ООО "НТЦ ГеоПроект"
Директор
С.И.МАЦИЙ