Главная // Актуальные документы // Методические указанияСПРАВКА
Источник публикации
М., ЦРИА "Морфлот", 1981. Сборник "Методические указания на определение вредных веществ в воздухе. Выпуски с 1 по 5".
Примечание к документу
Название документа
"Методические указания на турбидиметрическое определение аэрозоля серной кислоты в воздухе"
(утв. Минздравом СССР 18.04.1977 N 1641-77)
"Методические указания на турбидиметрическое определение аэрозоля серной кислоты в воздухе"
(утв. Минздравом СССР 18.04.1977 N 1641-77)
Заместитель Главного государственного
санитарного врача СССР
А.И.ЗАИЧЕНКО
18 апреля 1977 г. N 1641-77
МЕТОДИЧЕСКИЕ УКАЗАНИЯ
НА ТУРБИДИМЕТРИЧЕСКОЕ ОПРЕДЕЛЕНИЕ АЭРОЗОЛЯ
СЕРНОЙ КИСЛОТЫ В ВОЗДУХЕ
Методические указания подготовлены сотрудниками лаборатории санитарно-химических методов исследования Института гигиены труда и профзаболеваний АМН СССР.
Настоящие Методические указания распространяются на определение содержания вредных веществ в воздухе промышленных помещений при санитарном контроле и имеют ту же юридическую силу, что и Технические условия.
Редакционная коллегия: Г.С. Павловская и В.Г. Овечкин.
1. Определение основано на реакции серной кислоты с хлоридом бария.
2. Предел обнаружения 4 мкг серной кислоты в анализируемом объеме.
3. Предел обнаружения в воздухе 0,5 мг/м3 (расчетная).
4. Определению мешают сульфаты; сернистый газ не мешает определению.
5. Предельно допустимая концентрация серной кислоты в воздухе 1 мг/м3.
II. РЕАКТИВЫ И АППАРАТУРА
6. Применяемые реактивы и растворы.
Калий сернокислый, ГОСТ 4145-65.
Стандартный раствор готовят растворением 0,1776 г сернокислого калия в мерной колбе вместимостью 1 л в воде, свободной от сульфат-иона. 1 мл раствора соответствует 100 мкг/мл серной кислоты.
Барий хлористый, МРТУ 6-09-4905-68, 5%-ный раствор.
Спирт этиловый, ГОСТ 5963-67.
| | ИС МЕГАНОРМ: примечание. Взамен ГОСТ 10164-62 Постановлением Госстандарта CCCР от 24.01.1975 N 168 с 1 января 1976 года введен в действие ГОСТ 10164-75. | |
Этиленгликоль, ГОСТ 10164-62.
Соляная кислота, ГОСТ 3118-67, 0,3%-ный раствор.
Составной реактив. Готовят смешением трех объемов этиленгликоля с одним объемом 5%-ного раствора хлорида бария и тремя объемами этилового спирта. Величину pH смеси доводят 0,3%-ным раствором соляной кислоты до 2,5 - 2,8 (проверяют на pH-метре). Составной реактив готовят за два дня до употребления; годен к применению в течение 2 мес.
7. Применяемые посуда и приборы.
Аспирационное устройство.
Патроны для фильтров (см.
рис. 1 и
2).
Пробирки колориметрические плоскодонные из бесцветного стекла, высота 120 мм, внутренний диаметр 15 мм.
Пипетки,
ГОСТ 20292-74, вместимостью 1, 2, 5 и 10 мл с делениями на 0,01 и 0,1 мл.
Фотоэлектрический колориметр-нефелометр.
pH-метр.
8. Воздух аспирируют через фильтр АФА-В-10 со скоростью 5 - 10 л/мин. Для определения 1/2 ПДК следует отобрать 30 л воздуха.
9. Фильтр с пробой помещают в стакан, наносят на фильтр 1 мл этилового спирта и промывают его дважды по 6 мл горячей водой, свободной от сульфатов. Фильтр тщательно отжимают стеклянной палочкой, промывные растворы соединяют вместе и измеряют объем. Дополнительно проверяют полноту отмывания. Для этого берут 3 мл воды, обрабатывают фильтр и промывную воду сливают в чистую пробирку, в которую вносят 2 мл составного реактива. К 3 мл пробы добавляют 2 мл составного реактива и осторожно перемешивают, избегая образования воздушных пузырьков. Через 5 мин определяют интенсивность помутнения раствора в кюветах с толщиной слоя 1 см при длине волны 365 нм по сравнению с контролем. Содержание серной кислоты устанавливают по калибровочному графику. Для построения калибровочного графика готовят шкалу стандартов согласно табл. 31.
Таблица 31
Шкала стандартов
N стандарта | Стандартный раствор, мл | Вода дистиллированная, мл | Содержание серной кислоты, мкг |
1 | 0 | 3 | 0 |
2 | 0,04 | 2,96 | 4,0 |
3 | 0,06 | 2,94 | 6,0 |
4 | 0,08 | 2,92 | 8,0 |
5 | 0,10 | 2,90 | 10,0 |
6 | 0,20 | 2,80 | 20,0 |
7 | 0,40 | 2,60 | 40,0 |
8 | 0,60 | 2,40 | 60,0 |
Все пробирки шкалы обрабатывают аналогично пробам, измеряют оптическую плотность и строят график. Шкалой стандартов можно пользоваться для визуального определения, в этом случае ее готовят в колориметрических пробирках одновременно с пробами.
Концентрацию серной кислоты в мг/м3 воздуха X вычисляют по формуле:
где G - количество серной кислоты, найденное в анализируемом объеме пробы, мкг;

- общий объем пробы, мл;
V - объем пробы, взятый для анализа, мл;

- объем воздуха, взятый для анализа, приведенный к стандартным условиям по формуле (см.
Приложение), л.
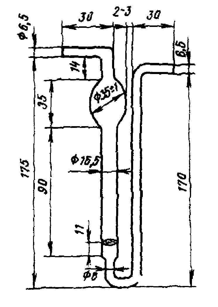
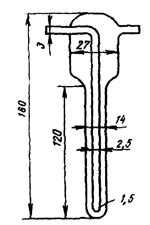
Рис. 1. Аллонж открытый (патрон для фильтра):
а - корпус; б - гайка; 1 - накатка
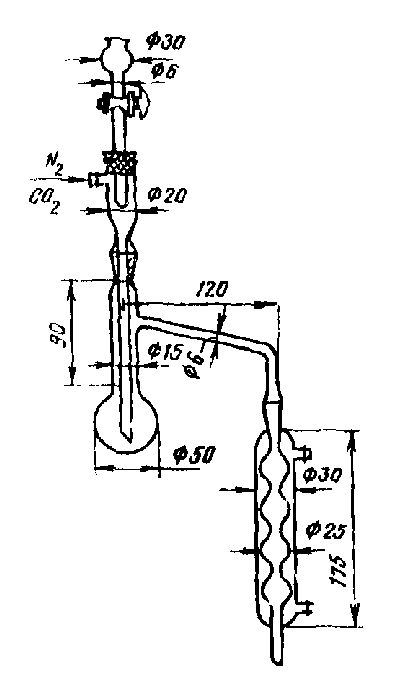
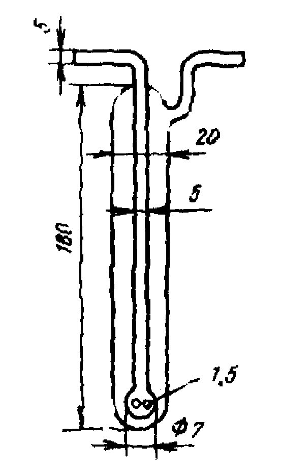
Рис. 2. Крышка закрытого аллонжа
Рис. 3. Поглотительный прибор с пористой пластинкой
Рис. 4. Прибор для получения мышьяковистого водорода:
1 - пробирка с пришлифованной пробкой; 2 - делительная
воронка; 3 - индикаторная трубка Бальской
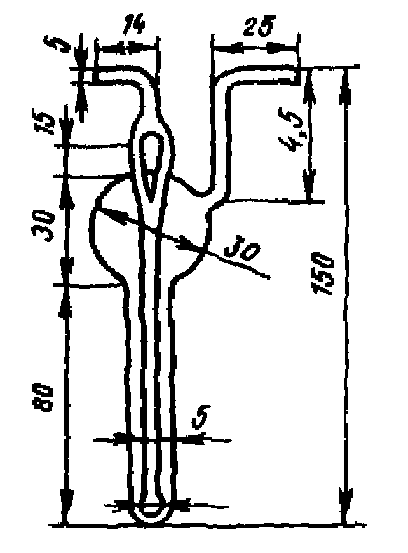
Рис. 5. Трубка стеклянная гофрированная
Рис. 6. Поглотительный прибор Яворовской
Рис. 7. Схема отбора проб воздуха на тетраэтилсвинец
Рис. 8. Микроприбор для перегонки трихлорсилана
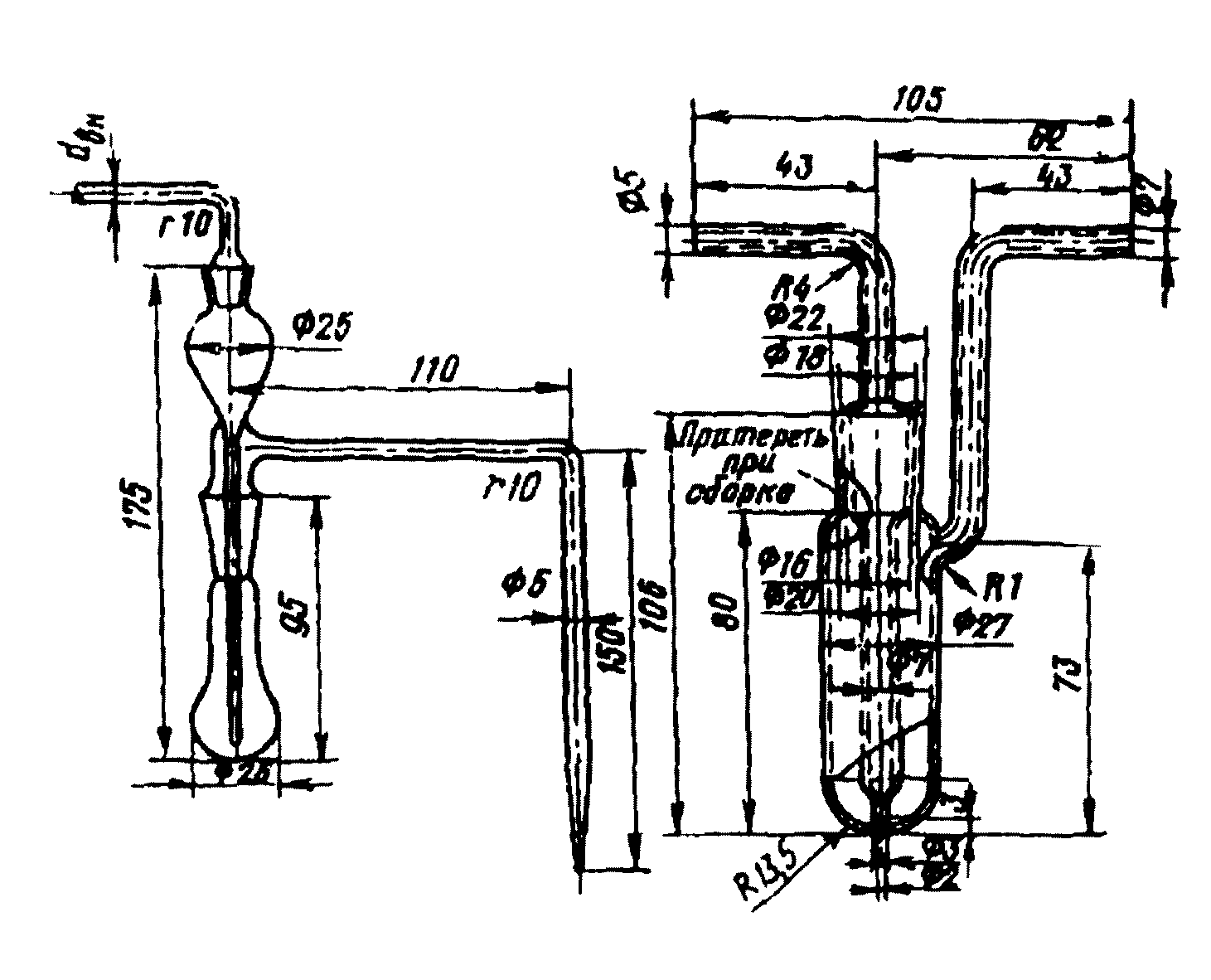
Рис. 9. Поглотительный прибор Зайцева
Рис. 10. Поглотительный прибор Рихтера
Рис. 11. Поглотительный прибор Петри
Рис. 12. Поглотительный прибор Полежаева
Рис. 13. Колба из тугоплавкого стекла
Рис. 14. Прибор для перегонки с водяным паром
Рис. 15. Прибор для дистилляции
Рис 16. Приборы для разрушения хлорорганических
ядохимикатов
Рис. 17. Установка для определения хлорорганических
инсектицидов:
1 - склянка Тищенко с серной кислотой; 2 - поглотитель
с натронной известью; 3 - прибор для разрушения
хлорорганических инсектицидов; 4 - термометр;
5 - парафиновая баня; 6 - электрическая плитка;
7 - пробирка-приемник
Рис. 18. Схема отбора проб пыли методом внешней
фильтрации:
1 - воздуховод; 2 - пылеотборная трубка; 3 - аллонж
с фильтром; 4 - ротаметр; 5 - аспиратор
Рис. 19. Схема отбора проб пыли методом внутренней
фильтрации:
1 - воздуховод; 2 - аллонж с фильтром; 3 - металлическая
трубка; 4 - ротаметр; 5 - аспиратор
РАСЧЕТ КОНЦЕНТРАЦИИ ВРЕДНОГО ВЕЩЕСТВА В ВОЗДУХЕ
В соответствии с требованиями ГОСТ 12.1.005-76 объем воздуха, аспирированного при отборе проб, приводят к стандартным условиям: температуре 20 °C и барометрическому давлению 101,33 кПа (760 мм рт. ст.) по формуле:
где

- объем воздуха, измеренный при t °C и давлении 101,33 кПа.
Для упрощения расчетов пользуются коэффициентами K
(Приложение 3), вычисленными для температур в пределах от 6 до 40 °C и давлений от 97,33 до 104,0 кПа (730 - 780 мм рт. ст).
В сборниках ТУ, некоторых МУ и во многих практических руководствах по санитарной химии в составе приложений имеются таблицы коэффициентов пересчета объема воздуха к нормальным условиям (0 °C и 101,33 кПа).
Численные значения коэффициентов в этих таблицах приведены с точностью до четвертого знака для температур от 5 до 40 °C с интервалом в 1° и давлений от 730 до 780 мм рт. ст. с интервалом в 2 мм рт. ст.
Однако нет практической надобности в столь многозначных и слишком подробных таблицах, так как максимальная погрешность четырехзначных коэффициентов составляет всего лишь +/- 0,006%. Согласно ГОСТ 12.1.005-76 погрешность измерения объема воздуха не должна превышать +/- 10%, поэтому точность коэффициентов пересчета на уровне +/- 1% следует считать вполне достаточной.
КОЭФФИЦИЕНТЫ K ДЛЯ ПРИВЕДЕНИЯ ОБЪЕМА ВОЗДУХА К СТАНДАРТНЫМ
УСЛОВИЯМ
t °C | Давление P, кПа/мм рт. ст. |
97,33/730 | 98,66/740 | 100/750 | 101,33/760 | 102,7/770 | 104/780 |
6 | 1,009 | 1,023 | 1,036 | 1,050 | 1,064 | 2,078 |
8 | 1,002 | 1,015 | 1,029 | 1,043 | 1,560 | 1,070 |
10 | 0,994 | 1,008 | 1,022 | 1,035 | 1,049 | 1,063 |
12 | 0,987 | 1,001 | 1,015 | 1,028 | 1,042 | 1,055 |
14 | 0,981 | 0,994 | 1,007 | 1,021 | 1,034 | 1,048 |
16 | 0,974 | 0,987 | 1,001 | 1,014 | 1,027 | 1,040 |
18 | 0,967 | 0,980 | 0,994 | 1,007 | 1,020 | 1,033 |
20 | 0,961 | 0,974 | 0,987 | 1,000 | 1,013 | 1,026 |
22 | 0,954 | 0,967 | 0,980 | 0,993 | 1,006 | 1,019 |
24 | 0,948 | 0,961 | 0,974 | 0,987 | 1,000 | 1,012 |
26 | 0,941 | 0,954 | 0,967 | 0,980 | 0,993 | 1,006 |
28 | 0,935 | 0,948 | 0,961 | 0,973 | 0,986 | 0,999 |
30 | 0,929 | 0,942 | 0,954 | 0,967 | 0,980 | 0,992 |
32 | 0,923 | 0,935 | 0,948 | 0,961 | 0,973 | 0,986 |
34 | 0,917 | 0,929 | 0,942 | 0,954 | 0,967 | 0,979 |
36 | 0,911 | 0,923 | 0,936 | 0,948 | 0,961 | 0,973 |
38 | 0,905 | 0,917 | 0,930 | 0,942 | 0,955 | 0,967 |
40 | 0,899 | 0,911 | 0,924 | 0,936 | 0,948 | 0,961 |
Искомый коэффициент K, пользуясь упрощенной таблицей, находят в соответствии со следующей схемой:
где

- поправка на температуру;

- поправка на давление.
1. Численное значение давления P, путем исключения единиц, округляют до целого числа, кратного десяти

2. В графе P находят коэффициент, соответствующий заданной температуре. Если цифра °C нечетная, то выписывают значение коэффициента при температуре t +1 (ближайшее снизу число) и увеличивают его третий знак на 3 единицы (т.е. прибавляют 0,003).
3. Поправку на

определяют по таблице пропорциональных частей, приведенной (снизу) основной таблицы.
Примеры. Требуется определить коэффициент K для следующих параметров окружающей среды:
N п/п | t °C | | | | | K |
| 18 | 750 | 750 + 0 | 0,994 + 0 | 0,000 | 0,994 |
| 5 | 788 | 780 + 8 | 1,078 + 0,003 | 0,010 | 1,091 |
| 23 | 743 | 740 + 3 | 0,961 + 0,003 | 0,004 | 0,968 |
| 29 | 732 | 730 + 2 | 0,929 + 0,003 | 0,003 | 0,935 |
| 22 | 781 | 780 + 1 | 1,019 + 0 | 0,001 | 1,020 |
В
первом примере значение искомого коэффициента берется непосредственно из таблицы. В тех случаях, когда цифра t °С нечетна (
примеры 2,
3 и
4), выписывают

, соответствующий

и температуре (t + 1) °C, и прибавляют к нему 0,003.
Поправку на излишек единиц

определяют по вспомогательной таблице (их значения вписаны в графу

).
Величину коэффициента K определяют как сумму поправок на температуру и давление и

(графа K).
В
примере 5 ввиду четности цифры t °C поправка на температуру отсутствует.