Главная // Актуальные документы // Методические указанияСПРАВКА
Источник публикации
М., ЦРИА "Морфлот", 1981. Сборник "Методические указания на определение вредных веществ в воздухе. Выпуски с 1 по 5".
Примечание к документу
Название документа
"Методические указания на фотометрическое определение хлора в воздухе"
(утв. Минздравом СССР 18.04.1977 N 1644а-77)
"Методические указания на фотометрическое определение хлора в воздухе"
(утв. Минздравом СССР 18.04.1977 N 1644а-77)
Заместитель Главного
государственного
санитарного врача СССР
А.И.ЗАИЧЕНКО
18 апреля 1977 г. N 1644а-77
МЕТОДИЧЕСКИЕ УКАЗАНИЯ
НА ФОТОМЕТРИЧЕСКОЕ ОПРЕДЕЛЕНИЕ ХЛОРА В ВОЗДУХЕ
Методические указания подготовлены сотрудниками лаборатории санитарно-химических методов исследования Института гигиены труда и профзаболеваний АМН СССР.
Настоящие Методические указания распространяются на определение содержания вредных веществ в воздухе промышленных помещений при санитарном контроле и имеют ту же юридическую силу, что и Технические условия.
Редакционная коллегия: Г.С. Павловская и В.Г. Овечкин.
1. Определение основано на превращении хлора в циангалогенид и образовании полиметинового красителя.
2. Предел обнаружения 0,2 мкг хлора в анализируемом объеме раствора.
3. Предел обнаружения в воздухе 0,1 мг/м3.
4. Аммиак, йод, галоидуглеводороды, спирты, органические кислоты, хлористый водород, окислы азота (до 5 мг/м3), озон (до 0,6 мг/м3) не мешают определению. Циангалогениды и бром мешают определению.
5. Предельно допустимая концентрация хлора в воздухе - 1 мг/м3.
II. Реактивы и аппаратура
6. Применяемые реактивы и растворы
Раствор комплексного цианида цинка. Смешивают 5 мл раствора, содержащего 220 мг цианида натрия (или 280 мг цианида калия) с 5 мл раствора сернокислого цинка с содержанием 640 мг. Хранится более 1 года. Полученную суспензию с концентрацией 22 мг/мл в пересчете на NaCN тщательно взбалтывают и готовят разбавлением водой растворы N 2 и 3, содержащие 15 - 20 и 1,5 - 2 мг/мл в пересчете на цианид натрия.
Стандартный раствор хлора: точную навеску хлорамина Б или Т (20 - 25 мг) растворяют в воде в мерной колбе на 100 мл. Вносят 10 мл раствора в колбу, добавляют 2 мл 10%-ного раствора йодистого калия и выделившийся хлор оттитровывают из микробюретки 0,05 н. раствором тиосульфата натрия до слабо-желтой окраски раствора. Приливают 1 мл 1%-ного раствора крахмала и титруют раствором тиосульфата натрия до обесцвечивания (1 мл 0,05 н. раствора тиосульфата натрия соответствует 1,78 мг хлора). Последующим разведением водой готовят стандартные растворы N 2 и 3, содержащие 10 - 2 мкг/мл и сохраняющиеся в течение 8 - 6 ч соответственно.
Хлорамин Б, МРТУ 6-09-3177-66, или ТУ-11-П-44-69, ч.
| | ИС МЕГАНОРМ: примечание. Постановлением Госстандарта СССР от 23.11.1977 N 2742 введен в действие ГОСТ 4174-77. | |
Цинк сернокислый, ГОСТ 4174-48, х.ч.
Натрий цианистый, МРТУ 6-09-69, ч.д.а., или калий цианистый.
Пиридин, ГОСТ 2747-67. Кипятят 1 ч с обратным холодильником над кристаллической щелочью. Сливают с осадка и перегоняют. Отбирают фракцию при 114 - 116 °C. Хранят в закрытой стеклянной посуде в темном месте.
| | ИС МЕГАНОРМ: примечание. Постановлением Госстандарта СССР от 05.12.1978 N 3247 с 1 января 1980 года введен в действие ГОСТ 5819-78. | |
Анилин, ГОСТ 5819-51. Окрашенный продукт перегоняют.
Составной реагент. Смешивают пиридин, ледяную уксусную кислоту и анилин в соотношении 10:5:1.
Безаммиачная вода. Дистиллированную воду перегоняют в присутствии серной кислоты и перманганата калия. Все реактивы готовят на безаммиачной воде.
7. Применяемые посуда и приборы
Аспирационное устройство.
Поглотительные приборы Зайцева, малые и обычные (см.
рис. 9).
Пробирки колориметрические плоскодонные из бесцветного стекла с делениями на 1 мл, высотой 120 мм, диаметром 15 мм.
Пипетки,
ГОСТ 20292-74, вместимостью 1, 5, 10 мл с делениями соответственно 0,01 и 0,1 мл.
Цилиндр мерный на 100 мл.
Микробюретка вместимостью 2 - 5 мл с ценой деления соответственно 0,01 и 0,02 мл.
Спектрофотометр или фотоэлектроколориметр.
8. Аспирируют не более 4 л воздуха со скоростью 0,3 - 0,5 л/мин через малый поглотительный прибор Зайцева, содержащий 1 мл раствора комплексного цианида цинка с концентрацией 1,5 - 2 мг/мл в пересчете на NaCN, и обычный поглотительный прибор Зайцева с 2 мл составного реагента. При действии прямого солнечного света прибор с составным реагентом помещают в футляр из черной бумаги. Таким же способом защищают от света отобранные пробы, сохраняющиеся 3 ч.
9. Содержимое поглотительного прибора с составным реагентом переносят в колориметрическую пробирку, прибор промывают водой и доводят объем смеси до 4 мл. Раствор фотометрируют через 15 мин и не позднее 3 ч после отбора пробы при 480 - 495 нм в кювете 10 мм. Компенсирующей жидкостью служит раствор холостой пробы. Содержание хлора определяют по калибровочному графику. Для построения калибровочного графика готовят стандартную шкалу согласно
табл. 36.
Концентрацию хлора в воздухе X, мг/м3, вычисляют по формуле:
где G - количество хлора, найденное в анализируемом объеме раствора, мкг;
V1 - общий объем пробы, мл;
V - объем пробы, взятый для анализа, мл;
| | ИС МЕГАНОРМ: примечание. В официальном тексте документа, видимо, допущена опечатка: имеется в виду Приложение 2. | |
V
20 - объем воздуха, взятый для анализа и приведенный к нормальным условиям по формуле (см.
Приложение), л.
| | ИС МЕГАНОРМ: примечание. Нумерация таблиц дана в соответствии с официальным текстом документа. | |
Таблица 36
N стандарта | Стандартный раствор N 3, мл | Стандартный раствор N 2, мл | Раствор цианида цинка N 2, мл | Составной реагент, мл | Вода дистиллированная, мл | Содержание хлора, мкг |
1 | 0 | - | 0,1 | 2,0 | 1,9 | 0 |
2 | 0,1 | - | 0,1 | 2,0 | 1,8 | 0,2 |
3 | 0,2 | - | 0,1 | 2,0 | 1,7 | 0,4 |
4 | 0,3 | - | 0,1 | 2,0 | 1,6 | 0,6 |
5 | - | 0,1 | 0,1 | 2,0 | 1,8 | 1,0 |
6 | - | 0,2 | 0,1 | 2,0 | 1,7 | 2,0 |
7 | - | 0,3 | 0,1 | 2,0 | 1,6 | 3,0 |
8 | - | 0,4 | 0,1 | 2,0 | 1,5 | 4,0 |
9 | - | 0,6 | 0,1 | 2,0 | 1,3 | 6,0 |
Рис. 1. Аллонж открытый (патрон для фильтра):
а - корпус; б - гайка; 1 - накатка
Рис. 2. Крышка закрытого аллонжа
Рис. 3. Поглотительный прибор с пористой пластинкой
Рис. 4. Прибор для получения мышьяковистого водорода:
1 - пробирка с пришлифованной пробкой; 2 - делительная
воронка; 3 - индикаторная трубка Бальской
Рис. 5. Трубка стеклянная гофрированная
Рис. 6. Поглотительный прибор Яворовской
Рис. 7. Схема отбора проб воздуха на тетраэтилсвинец
Рис. 8. Микроприбор для перегонки трихлорсилана
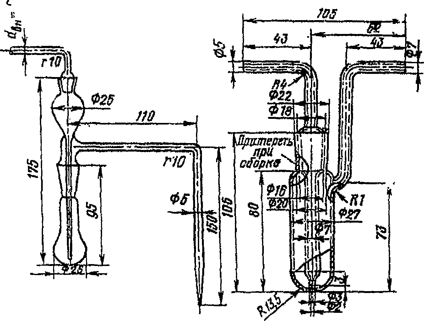
Рис. 9. Поглотительный прибор Зайцева
Рис. 10. Поглотительный прибор Рихтера
Рис. 11. Поглотительный прибор Петри
Рис. 12. Поглотительный прибор Полежаева
Рис. 13. Колба из тугоплавкого стекла
Рис. 14. Прибор для перегонки с водяным паром
Рис. 15. Прибор для дистилляции
Рис. 16. Приборы для разрушения
хлорорганических ядохимикатов
Рис. 17. Установка для определения
хлорорганических инсектицидов:
1 - склянка Тищенко с серной кислотой; 2 - поглотитель
с натронной известью; 3 - прибор для разрушения
хлорорганических инсектицидов; 4 - термометр;
5 - парафиновая баня; 6 - электрическая плитка;
7 - пробирка-приемник
Рис. 18. Схема отбора проб пыли методом внешней фильтрации:
1 - воздуховод; 2 - пылеотборная трубка;
3 - аллонж с фильтром; 4 - ротаметр;
5 - аспиратор
Рис. 19. Схема отбора проб пыли методом
внутренней фильтрации:
1 - воздуховод; 2 - аллонж с фильтром;
3 - металлическая трубка; 4 - ротаметр; 5 - аспиратор
РАСЧЕТ КОНЦЕНТРАЦИИ ВРЕДНОГО ВЕЩЕСТВА В ВОЗДУХЕ
| | ИС МЕГАНОРМ: примечание. Взамен ГОСТ 12.1.005-76 Постановлением Госстандарта СССР от 29.09.1988 N 3388 с 1 января 1989 года введен в действие ГОСТ 12.1.005-88. | |
В соответствии с требованиями ГОСТ 12.1.005-76 объем воздуха, аспирированного при отборе проб, приводят к стандартным условиям: температуре 20 °C и барометрическому давлению 101,33 кПа (760 мм рт. ст.) по формуле:
где Vt - объем воздуха, измеренный при t °C и давлении 101,33 кПа.
Для упрощения расчетов пользуются коэффициентами K
(Приложение 3), вычисленными для температур в пределах от 6 до 40 °C и давлений от 97,33 до 104,0 кПа (730 - 780 мм рт. ст.).
В сборниках ТУ, некоторых МУ и во многих практических руководствах по санитарной химии в составе приложений имеются таблицы коэффициентов пересчета объема воздуха к нормальным условиям (0 °C и 101,33 кПа).
Численные значения коэффициентов в этих таблицах приведены с точностью до четвертого знака для температур от 5 до 40 °C с интервалом в 1° и давлений от 730 до 780 мм рт. ст. с интервалом в 2 мм рт. ст.
Однако нет практической надобности в столь многозначных и слишком подробных таблицах, так как максимальная погрешность четырехзначных коэффициентов составляет всего лишь +/- 0,006%. Согласно ГОСТ 12.1.005-76 погрешность измерения объема воздуха не должна превышать +/- 10%, поэтому точность коэффициентов пересчета на уровне +/- 1% следует считать вполне достаточной.
КОЭФФИЦИЕНТЫ K ДЛЯ ПРИВЕДЕНИЯ ОБЪЕМА ВОЗДУХА
К СТАНДАРТНЫМ УСЛОВИЯМ
t °C | Давление P, кПа/мм рт. ст. |
97,33/730 | 98,66/740 | 100/750 | 101,33/760 | 102,7/770 | 104/780 |
6 | 1,009 | 1,023 | 1,036 | 1,050 | 1,064 | 1,078 |
8 | 1,002 | 1,015 | 1,029 | 1,043 | 1,560 | 1,070 |
10 | 0,994 | 1,008 | 1,022 | 1,035 | 1,049 | 1,063 |
12 | 0,987 | 1,001 | 1,015 | 1,028 | 1,042 | 1,055 |
14 | 0,981 | 0,994 | 1,007 | 1,021 | 1,034 | 1,048 |
16 | 0,974 | 0,987 | 1,001 | 1,014 | 1,027 | 1,040 |
18 | 0,967 | 0,980 | 0,994 | 1,007 | 1,020 | 1,033 |
20 | 0,961 | 0,974 | 0,987 | 1,000 | 1,013 | 1,026 |
22 | 0,954 | 0,967 | 0,980 | 0,993 | 1,006 | 1,019 |
24 | 0,948 | 0,961 | 0,974 | 0,987 | 1,000 | 1,012 |
26 | 0,941 | 0,954 | 0,967 | 0,980 | 0,993 | 1,006 |
28 | 0,935 | 0,948 | 0,961 | 0,973 | 0,986 | 0,999 |
30 | 0,929 | 0,942 | 0,954 | 0,967 | 0,980 | 0,992 |
32 | 0,923 | 0,935 | 0,948 | 0,961 | 0,973 | 0,986 |
34 | 0,917 | 0,929 | 0,942 | 0,954 | 0,967 | 0,979 |
36 | 0,911 | 0,923 | 0,936 | 0,948 | 0,961 | 0,973 |
38 | 0,905 | 0,917 | 0,930 | 0,942 | 0,955 | 0,967 |
40 | 0,899 | 0,911 | 0,924 | 0,936 | 0,948 | 0,961 |
Искомый коэффициент K, пользуясь упрощенной таблицей, находят в соответствии со следующей схемой:
где

- поправка на температуру;

- поправка на давление.
1. Численное значение давления P, путем исключения единиц, округляют до целого числа, кратного десяти (Pтабл)
2. В графе P находят коэффициент, соответствующий заданной температуре. Если цифра °C нечетная, то выписывают значение коэффициента при температуре t + 1 (ближайшее снизу число) и увеличивают его третий знак на 3 единицы (т.е. прибавляют 0,003).
3. Поправку на

определяют по таблице пропорциональных частей, приведенной (снизу) основной таблицы.
Примеры. Требуется определить коэффициент K для следующих параметров окружающей среды:
N п/п | t, °C | P, мм рт. ст. | | | | K |
1 | 18 | 750 | 750 + 0 | 0,994 + 0 | 0,000 | 0,994 |
| 5 | 788 | 780 + 8 | 1,078 + 0,003 | 0,010 | 1,091 |
| 23 | 743 | 740 + 3 | 0,961 + 0,003 | 0,004 | 0,968 |
| 29 | 732 | 730 + 2 | 0,929 + 0,003 | 0,003 | 0,935 |
| 22 | 781 | 780 + 1 | 1,019 + 0 | 0,001 | 1,020 |
В первом примере значение искомого коэффициента берется непосредственно из таблицы. В тех случаях, когда цифра t °C нечетна (
примеры 2,
3 и
4), выписывают K
табл, соответствующий P
табл и температуре (t + 1) °C и прибавляют к нему 0,003.
Поправку на излишек единиц

определяют по вспомогательной таблице (их значения вписаны в графу

).
Величину коэффициента K определяют как сумму поправок на температуру и давление и Kтабл (графа K).
В
примере 5 ввиду четности цифры t °C поправка на температуру отсутствует.