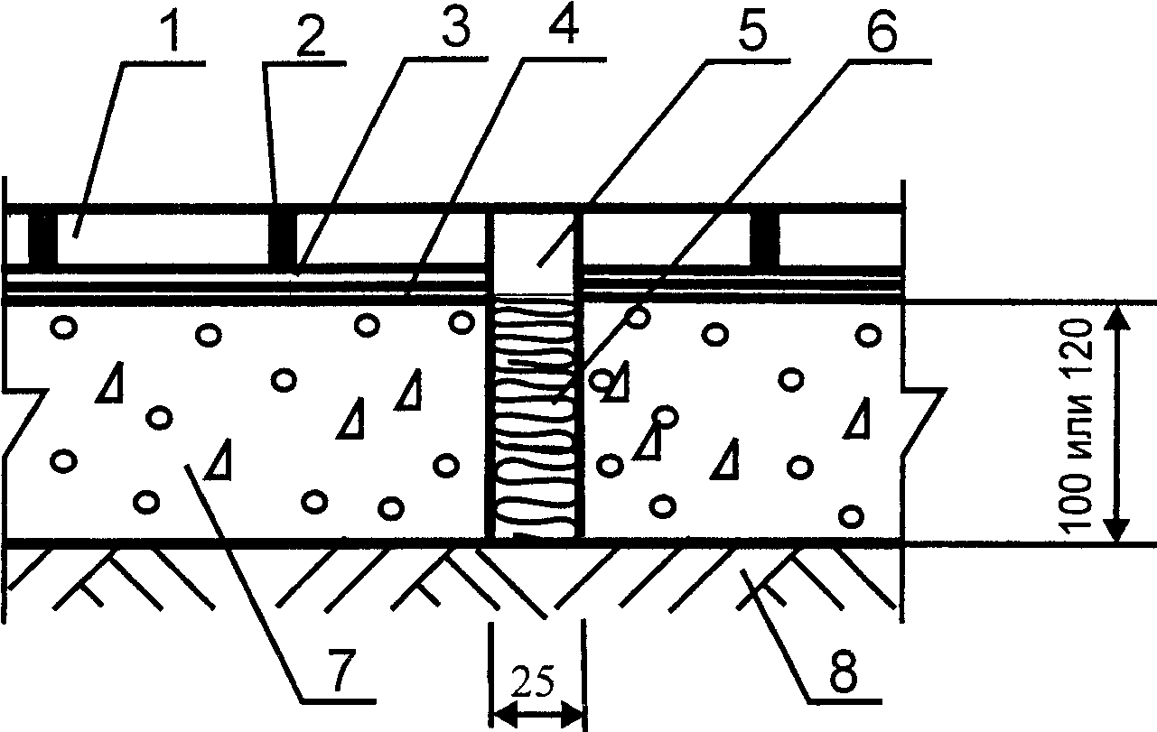
. Кромки стыкуемых полотнищ линолеума в помещениях классов 100 и 1000 должны быть сварены. Класс бетона | Составляющие, мас.ч. | Характеристики щебня | ||||
Вода | Портландцемент или глино- земистый цемент марки 400 | Крупно- или средне- зернистый песок | Щебень или гравий крупностью до 15 мм | % износа | Предел прочности при сжатии, МПа | |
В22,5 | 0,5 | 1 | 1,4 | 2,4 | 40 | 80 |
В30 | 0,4 | 1 | 1 | 1,7 | 45 | 100 |
Марка саморазравнивающейся композиции | Предел прочности при сжатии после 28 сут. воздушной выдержки, МПа, не менее | Рекомендуемая толщина слоя, мм |
Ceresit CN 69 (ТУ 5745-007-58239148) | 18 | От 3 до 15 |
Ceresit CN 76 (ТУ 5745-007-58239148) | 40 | От 4 до 50 |
Thomsit DD (ТУ 5745-001-58239148) | 22 | От 0,5 до 5 |
Thomsit DX (ТУ 5745-001-58239148) | 30 | От 0,5 до 10 |











Материал | Тол- щина дель- та, м | Индекс снижения приве- денного уровня ударного шума, дБ | Коэффициент теплопро- водности, Вт/(м x °C) | Коэффици- ент терми- ческого сопротив- ления, м2 x °C/Вт | Коэффициент теплоусвое- ния, Вт/(м2 x °C) |
TF 302 Thomsit-Floor | 0,002 | 16 | 0,060 | 0,033 | 1,42 |
TF 303 E Thomsit-Floor Elast | 0,003 | 17 | 0,080 | 0,038 | 1,64 |
TF 305 T Thomsit-Floor Supertex | 0,005 | 19 | 0,080 | 0,063 | 1,64 |
TF 403 Thomsit-Floor Elast Comfort | 0,003 | 25 | 0,050 | 0,060 | 1,30 |
TF 404 Thomsit-Floor Tex Comfort | 0,004 | 27 | 0,074 | 0,052 | 1,58 |
Тип гидроизоляции | Количество слоев | Схема | Слои пола |
Гидроизоляция от сточных вод и других жидкостей | 1 - покрытие; 2 - прослойка; 3 - гидроизоляция; 4 - стяжка; 5 - подстилающий слой; 6 - плита перекрытия; 7 - грунтовое основание (уплотненное) | ||
Оклеечная из битумных или битумно-полимерных материалов | ![]() | ||
Оклеечная из эластомерных пленок | ![]() | ||
Гидроизоляция от капиллярного поднятия грунтовых вод | |||
Наливная из щебня или гравия, пролитого битумом | ![]() | ||
Асфальтовая из асфальтобетона | ![]() | ||
Оклеечная из битумных или битумно-полимерных материалов | ![]() |
Название | Стойкость |
Ацетон | - |
Этиловый спирт, 100%-ный | - |
Этиловый спирт, 10%-ный раствор | О |
Сульфат аммония, насыщенный раствор | + |
Аммиак, 25%-ный раствор | + |
Аммиак, 10%-ный раствор | + |
Хлорид аммония, 10%-ный раствор | + |
Нитрат аммония, 50%-ный раствор | + |
Фосфат аммония, насыщенный раствор | + |
Фосфат аммония, насыщенный раствор | + |
Сульфат аммония, 20%-ный раствор | + |
Кислота из аккумулятора | О |
Бензин | О |
Пиво | + |
Борная кислота | + |
Тормозная жидкость | + |
Бутиловый спирт | + |
Хлорид кальция, насыщенный раствор | + |
Сульфат кальция, насыщенный раствор | + |
Кока-кола | + |
Дизельное топливо | + |
Хлорид железа, насыщенный раствор | + |
Сульфат железа, насыщенный раствор | + |
Ледяная уксусная кислота | - |
Нефть | + |
Уксусная кислота, 10%-ный раствор | + |
Фосфорная кислота, 10%-ный раствор | О |
Азотная кислота, 10%-ный раствор | О |
Азотная кислота, 5%-ный раствор | О |
Соляная кислота, 20%-ный раствор | О |
Соляная кислота, 5%-ный раствор | О |
Бассейновая вода | + |
Вода | + |
Винная кислота, 25%-ный раствор | + |
Глицерин | + |
Гликоль | + |
Мазут | + |
Гидроокись калия, 50%-ный раствор | + |
Гидроокись калия, 10%-ный раствор | + |
Карбонат калия, насыщенный раствор | + |
Нитрат калия, насыщенный раствор | + |
Сульфат калия, насыщенный раствор | + |
Известковое молоко, насыщенный раствор | + |
Керосин | + |
Хлористый натрий, насыщенный раствор | + |
Сульфат меди, насыщенный раствор | + |
Хлорид магния, насыщенный раствор | + |
Сульфат магния, насыщенный раствор | + |
Морская вода | + |
Молочная кислота, 3%-ный раствор | О |
Минеральное масло | + |
Бисульфат натрия, насыщенный раствор | + |
Гидроокись натрия, 20%-ный раствор | + |
Гидроокись натрия, 50%-ный раствор | + |
Фосфат натрия, насыщенный раствор | + |
Сульфат натрия, насыщенный раствор | + |
Нитрорастворитель | - |
Карбонат натрия, 50%-ный раствор | + |
Щавелевая кислота, насыщенный раствор | + |
Серная кислота, 35%-ный раствор | О |
Серная кислота, 5%-ный раствор | + |
Пищевое масло | + |
Шпиндельное масло | + |
Уайт-спирит | + |
Толуол | О |
Ксилол | - |
Лимонная кислота, 30% | + |
Примечание. "+" - стоек; "О" - ограниченно стоек; "-" - нестоек. | |

Поз. | Наименование | Расход | Примечание |
1 | Лаковое покрытие | Конструкции лаковых покрытий, расход материалов и технология нанесения в соответствии с инструкцией фирмы-производителя | |
2 | Паркет штучный | 1,02 м2/м2 | |
3 | Водно-диспер- сионный клей Thomsit P 618 | 1000 - 1400 г/м2 | Применяется для шпунтованного паркета из любых пород дерева, нешпунтованного паркета из стабильных пород дерева и нешпунтованного паркета из любых пород дерева при формате планок, не превышающем 250 x 50 мм. Экологически безопасен. Наносится зубчатым шпателем |
Растворный клей Thomsit P 600 | 1200 - 1600 г/м2 | Применяется для шпунтованного и нешпунтованного паркета из любых пород дерева. Содержит раствори- тель. Наносится зубчатым шпателем | |
Полиуретановый двухкомпонент- ный клей Thomsit P 625 | 1000 - 1400 г/м2 | Применяется для шпунтованного и нешпунтованного паркета из любых пород дерева. Экологически безопа- сен. Наносится зубчатым шпателем | |
4 | Водно-дисперси- онная грунтовка Thomsit R 777 | 300 г/м2 | Наносится кистью или валиком на очищенную поверхность бетонного основания |
Водно-дисперси- онная грунтовка Thomsit R 766 | 150 г/м2 | Наносится кистью или валиком на очищенную поверхность бетонного основания. Разбавляется водой в соотношении 1:1 | |
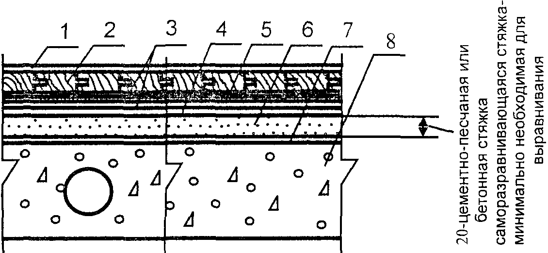
5 | Бетонное осно- вание из бетона класса В22,5 | 0,10 м3/м2 | |
6 | Грунт основания |

Поз. | Наименование | Расход | Примечание |
1 | Лаковое покрытие | Конструкции лаковых покрытий, расход материалов и технология нанесения в соответствии с инструкцией фирмы-производителя | |
2 | Паркет штучный | 1,02 м2/м2 | |
3 | Водно-дисперси- онный клей Thomsit P 618 | 1000 - 1400 г/м2 | Применяется для шпунтованного паркета из любых пород дерева, нешпунтованного паркета из стабильных пород дерева и нешпунтованного паркета из любых пород дерева при формате планок, не превышающем 250 x 50 мм. Экологически безопасен. Наносится зубчатым шпателем |
Растворный клей Thomsit P 600 | 1200 - 1600 г/м2 | Применяется для шпунтованного и нешпунтованного паркета из любых пород дерева. Содержит раствори- тель. Наносится зубчатым шпателем | |
Полиуретановый двухкомпонентный клей Thomsit P 625 | 1000 - 1400 г/м2 | Применяется для шпунтованного и нешпунтованного паркета из любых пород дерева. Экологически безопа- сен. Наносится зубчатым шпателем | |
4 | Водно-дисперси- онная грунтовка Thomsit R 777 | 300 г/м2 | Наносится кистью или валиком на очищенную поверхность бетонного основания |
Водно-дисперси- онная грунтовка Thomsit R 766 | 150 г/м2 | Наносится кистью или валиком на очищенную поверхность бетонного основания. Разбавляется водой в соотношении 1:1 | |
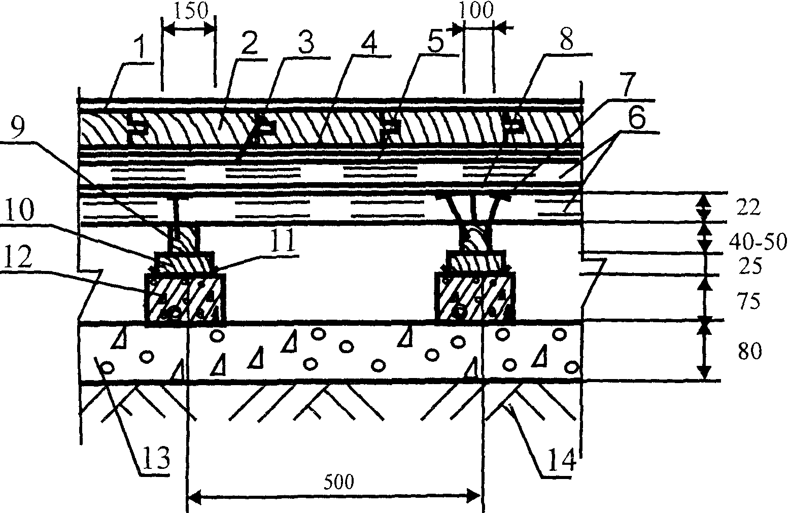
5 | Бетонное осно- вание из бетона класса В22,5 | 0,10 м3/м2 | |
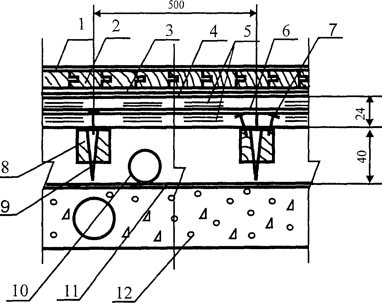
6 | Наливная гидроизоляция - щебень или гра- вий, пропитанные битумом | Щебень или гравий - 0,04 - 0,05 м3/м2, битум - по факту | |
7 | Грунт основания |

Поз. | Наименование | Расход | Примечание |
1 | Лаковое покрытие | Конструкции лаковых покрытий, расход материалов и технология нанесения в соответствии с инструкцией фирмы-производителя | |
2 | Паркет штучный | 1,02 м2/м2 | |
3 | Водно-дисперси- онный клей Thomsit P 618 | 1000 - 1400 г/м2 | Применяется для шпунтованного паркета из любых пород дерева, нешпунтованного паркета из стабильных пород дерева и нешпунтованного паркета из любых пород дерева при формате планок, не превышающем 250 x 50 мм. Экологически безопасен. Наносится зубчатым шпателем |
Растворный клей Thomsit P 600 | 1200 - 1600 г/м2 | Применяется для шпунтованного и нешпунтованного паркета из любых пород дерева. Содержит раствори- тель. Наносится зубчатым шпателем | |
Полиуретановый двухкомпонентный клей Thomsit P 625 | 1000 - 1400 г/м2 | Применяется для шпунтованного и нешпунтованного паркета из любых пород дерева. Экологически безопа- сен. Наносится зубчатым шпателем | |
4 | Водно-дисперси- онная грунтовка Thomsit R 777 | 300 г/м2 | Наносится кистью или валиком на очищенную поверхность бетонного основания |
Водно-дисперси- онная грунтовка Thomsit R 766 | 150 г/м2 | Наносится кистью или валиком на очищенную поверхность бетонного основания. Разбавляется водой в соотношении 1:1 | |
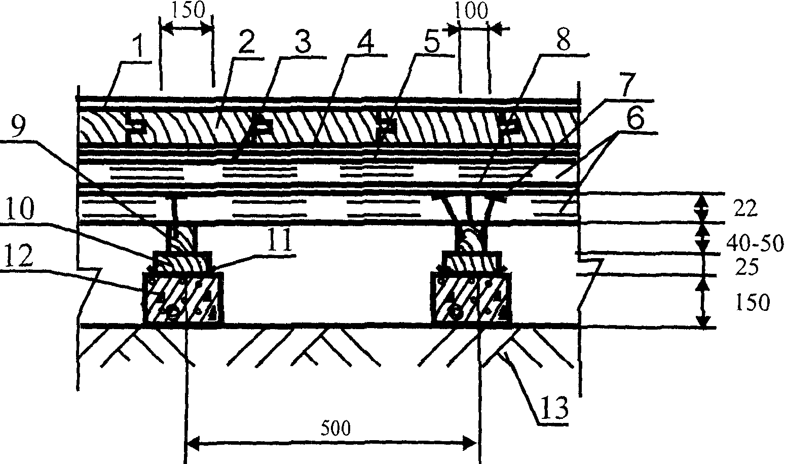
5 | Бетонное осно- вание из бетона класса В22,5 | 0,10 м3/м2 | |
6 | Рулонная гидроизоляция | 1,02 м2/м2 | |
Обмазочная гидроизоляция на основе жест- кой гидроизо- лирующей массы Ceresit CR 65 | 3 - 5 кг/м2 | ||
7 | Стяжка из цементно-песча- ного раствора марки М150 | 0,05 м3/м2 | |
8 | Грунт основания |

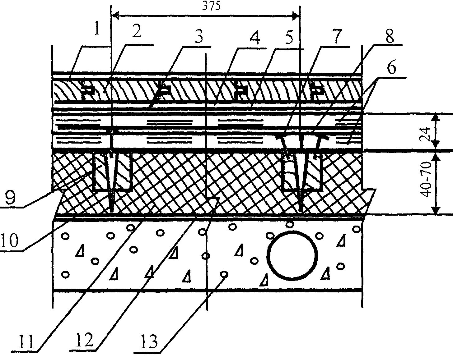
Поз. | Наименование | Расход | Примечание |
1 | Лаковое покрытие | Конструкции лаковых покрытий, расход материалов и технология нанесения в соответствии с инструкцией фирмы-производителя | |
2 | Паркет штучный | 1,02 м2/м2 | |
3 | Водно-дисперси- онный клей Thomsit P 618 | 1000 - 1400 г/м2 | Применяется для шпунтованного паркета из любых пород дерева, нешпунтованного паркета из стабильных пород дерева и нешпунтованного паркета из любых пород дерева при формате планок, не превышающем 250 x 50 мм. Экологически безопасен. Наносится зубчатым шпателем |
Растворный клей Thomsit P 600 | 1200 - 1600 г/м2 | Применяется для шпунтованного и нешпунтованного паркета из любых пород дерева. Содержит раствори- тель. Наносится зубчатым шпателем | |
Полиуретановый двухкомпонентный клей Thomsit P 625 | 1000 - 1400 г/м2 | Применяется для шпунтованного и нешпунтованного паркета из любых пород дерева. Экологически безопа- сен. Наносится зубчатым шпателем | |
4 | Водно-дисперси- онная грунтовка Thomsit R 777 | 300 г/м2 бетонная стяжка 100 г/м2 цементно- песчаная стяжка | Наносится кистью или валиком на очищенную поверхность бетонной или цементно-песчаной стяжки. При нанесении на цементно-песчаную стяжку разбавляется водой в соотношении 1:1 |
Водно-дисперси- онная грунтовка Thomsit R 766 | 150 г/м2 бетонная стяжка 40 г/м2 цементно- песчаная стяжка | Наносится кистью или валиком на очищенную поверхность бетонной или цементно-песчаной стяжки. При нанесении на бетонную стяжку разбавляется водой в соотношении 1:1, на цементно-песчаную стяжку - в соотношении 1:4 | |
5 | Полимерцементная саморазравнива- ющаяся стяжка марки Thomsit DX | 1,5 кг/м2 | Наносится шпателем слоем толщиной от 0,5 до 10 мм. Расход - на 1 мм слоя. Предел прочности при сжатии после 28 суток выдержки не менее 30 МПа |
Полимерцементная саморазравнива- ющаяся стяжка марки Ceresit CN 76 | 2,0 кг/м2 | Наносится шпателем слоем толщиной от 4 до 50 мм. Расход - на 1 мм слоя. Предел прочности при сжатии после 28 суток выдержки не менее 40 МПа | |
Полимерцементная стяжка марки Ceresit CN 83 | 2,0 кг/м2 | Наносится шпателем слоем толщиной от 5 до 35 мм. Расход - на 1 мм слоя. Ускоренный набор прочностных характеристик. Предел прочности при сжатии после 1 суток выдержки не менее 13 МПа, после 28 суток выдержки - не менее 35 МПа | |
Полимерцементная стяжка марки Ceresit CN 178 | 2,0 кг/м2 | Наносится шпателем слоем толщиной от 5 до 80 мм. Расход - на 1 мм слоя. Предел прочности при сжатии после 28 суток выдержки не менее 25 МПа | |
Стяжка из цементно-песча- ного раствора марки М150 | 0,02 м3/м2 | ||
Стяжка из бето- на класса В12,5 | 0,02 м3/м2 | ||
6 | Водно-дисперси- онная грунтовка Ceresit CT 17 | 0,1 - 0,2 г/м2 | Наносится кистью или валиком на очищенную поверхность бетонного основания |
Водно-дисперси- онная грунтовка Ceresit CN 94 | 40 г/м2 | Наносится клетью или валиком на очищенную поверхность бетонного основания. Разбавляется водой в соотношении 1:3 | |
Водно-дисперси- онная грунтовка Thomsit R 777 | 300 г/м2 | Наносится кистью или валиком на очищенную поверхность бетонного основания | |
Водно-дисперси- онная грунтовка Thomsit R 766 | 150 г/м2 | Наносится кистью или валиком на очищенную поверхность бетонного основания. Разбавляется водой в соотношении 1:1 | |
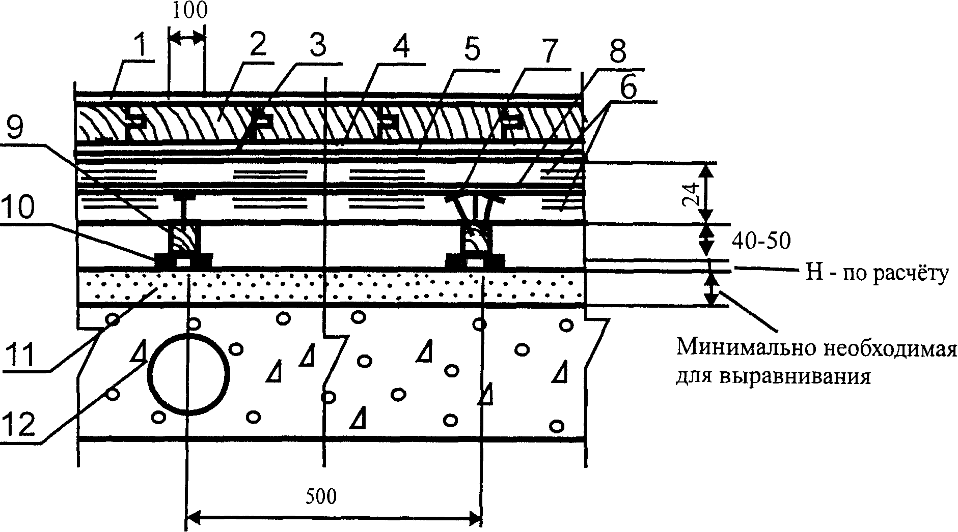
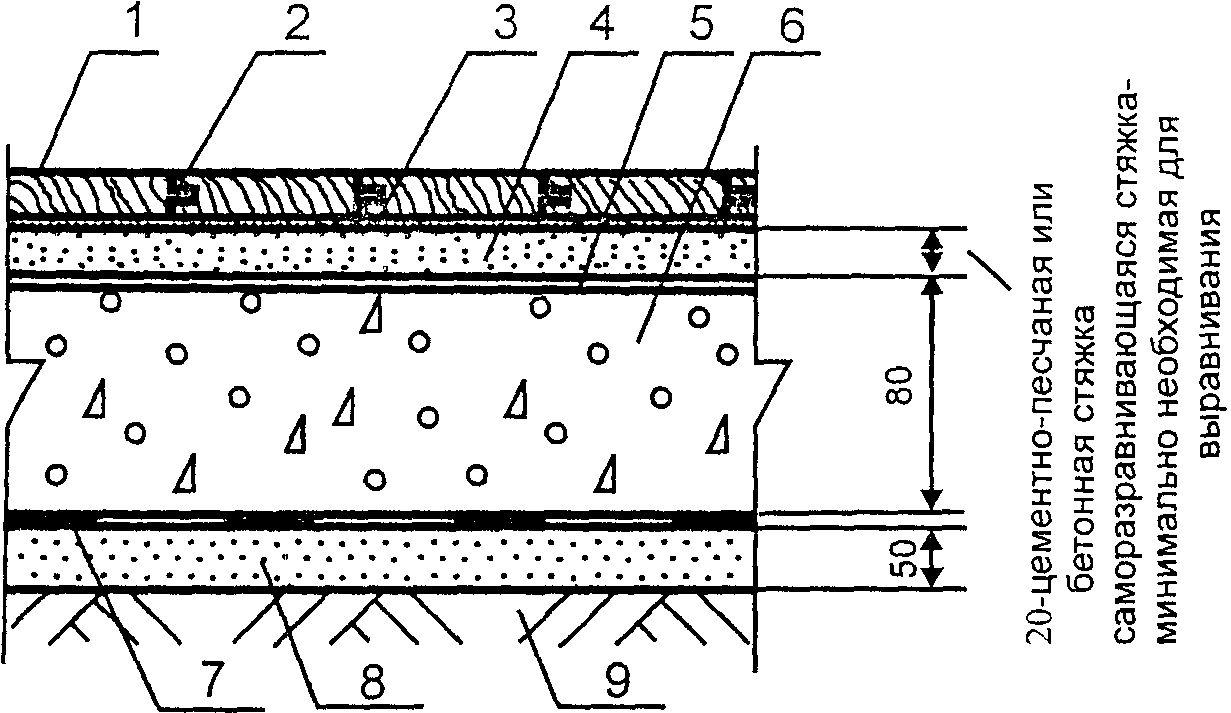
7 | Бетонное осно- вание из бетона класса В22,5 | 0,08 м3/м2 | |
8 | Грунт основания |

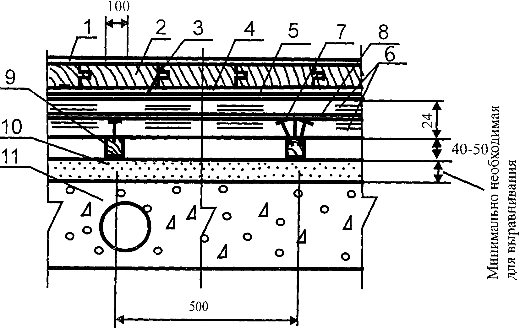
Поз. | Наименование | Расход | Примечание |
1 | Лаковое покрытие | Конструкции лаковых покрытий, расход материалов и технология нанесения в соответствии с инструкцией фирмы-производителя | |
2 | Паркет штучный | 1,02 м2/м2 | |
3 | Водно-дисперси- онный клей Thomsit P 618 | 1000 - 1400 г/м2 | Применяется для шпунтованного паркета из любых пород дерева, нешпунтованного паркета из стабильных пород дерева и нешпунтованного паркета из любых пород дерева при формате планок, не превышающем 250 x 50 мм. Экологически безопасен. Наносится зубчатым шпателем |
Растворный клей Thomsit P 600 | 1200 - 1600 г/м2 | Применяется для шпунтованного и нешпунтованного паркета из любых пород дерева. Содержит раствори- тель. Наносится зубчатым шпателем | |
Полиуретановый двухкомпонентный клей Thomsit P 625 | 1000 - 1400 г/м2 | Применяется для шпунтованного и нешпунтованного паркета из любых пород дерева. Экологически безопа- сен. Наносится зубчатым шпателем | |
4 | Водно-дисперси- онная грунтовка Thomsit R 777 | 300 г/м2 бетонная стяжка 100 г/м2 цементно- песчаная стяжка | Наносится кистью или валиком на очищенную поверхность бетонной или цементно-песчаной стяжки. При нанесении на цементно-песчаную стяжку разбавляется водой в соотношении 1:1 |
Водно-дисперси- онная грунтовка Thomsit R 766 | 150 г/м2 бетонная стяжка 40 г/м2 цементно- песчаная стяжка | Наносится кистью или валиком на очищенную поверхность бетонной или цементно-песчаной стяжки. При нанесении на бетонную стяжку разбавляется водой в соотношении 1:1, на цементно-песчаную стяжку - в соотношении 1:4 | |
5 | Стяжка из цементно-песча- ного раствора марки М150 | Расход материала определяется толщиной стяжки, которая должна превышать на 15 - 20 мм диаметр трубы | |
Стяжка из бетона класса В12,5 | Расход материала определяется толщиной стяжки, которая должна превышать на 15 - 20 мм диаметр трубы | ||
Полимерцементная стяжка марки Ceresit CN 178 | Расход материала определяется толщиной стяжки, которая должна превышать на 15 - 20 мм диаметр трубы | ||
Полимерцемент- ная стяжка марки Ceresit CN 83 | Расход материала определяется толщиной стяжки, которая должна превышать на 15 - 20 мм диаметр трубы, но не должна превышать 35 мм | ||
6 | Труба | ||
7 | Водно-дисперси- онная грунтовка Ceresit CT 17 | 0,1 - 0,2 л/м2 | Наносятся кистью или валиком на очищенную поверхность бетонного основания |
Водно-дисперси- онная грунтовка Ceresit CN 94 | 40 г/м2 | Наносятся кистью или валиком на очищенную поверхность бетонного основания. Разбавляется водой в соотношении 1:3 | |
Водно-дисперси- онная грунтовка Thomsit R 777 | 300 г/м2 | Наносятся кистью или валиком на очищенную поверхность бетонного основания | |
Водно-дисперси- онная грунтовка Thomsit R 766 | 150 г/м2 | Наносятся кистью или валиком на очищенную поверхность бетонного основания. Разбавляется водой в соотношении 1:1 | |
8 | Бетонное осно- вание из бетона класса В22,5 | 0,08 м3/м2 | |
9 | Грунт основания |

Поз. | Наименование | Расход | Примечание |
1 | Лаковое покрытие | Конструкции лаковых покрытий, расход материалов и технология нанесения в соответствии с инструкцией фирмы-производителя | |
2 | Паркет штучный шпунтованный | 1,02 м2/м2 | |
3 | Водно-дисперси- онный клей Thomsit P 618 | 1000 - 1200 г/м2 на один слой | Применяется для паркета из любых пород дерева. Экологически безопа- сен. Наносится зубчатым шпателем |
Растворный клей Thomsit P 600 | 1200 - 1600 г/м2 на один слой | Применяется для паркета из любых пород дерева. Содержит раствори- тель. Наносится зубчатым шпателем | |
Полиуретановый двухкомпонентный клей Thomsit P 625 | 1000 - 1200 г/м2 на один слой | Применяется для паркета из любых пород дерева. Экологически безопа- сен. Наносится зубчатым шпателем | |
4 | Упругая прослойка | 1,02 м2/м2 | |
5 | Водно-дисперси- онная грунтовка Thomsit R 766 | 40 г/м2 | Наносится кистью или валиком на очищенную поверхность стяжки. Разбавляется водой в соотношении 1:4 |
6 | Крупноформатный гипсоволокнистый лист | 1,02 м2/м2 | |
7 | Водно-дисперси- онный клей | 1000 - 1200 г/м 40 - 50 г/п.м. | |
8 | Сборная стяжка из готовых элементов из гипсоволок- нистых листов | 1,02 м2/м2 | |
9 | Кварцевый песок | По факту | Расход - минимально необходимый для выравнивания поверхности нижележащего слоя |
10 | Пароизоляция - полиэтиленовая пленка | 1,15 м2/м2 | |
11 | Бетонное осно- вание из бетона класса В22,5 | 0,08 м3/м2 | |
12 | Грунт основания |

Поз. | Наименование | Расход | Примечание |
1 | Лаковое покрытие | Конструкции лаковых покрытий, расход материалов и технология нанесения в соответствии с инструкцией фирмы-производителя | |
2 | Паркет штучный шпунтованный | 1,02 м2/м2 | |
3 | Водно-дисперси- онный клей Thomsit P 618 | 1000 - 1200 г/м2 на один слой | Применяется для паркета из любых пород дерева. Экологически безопа- сен. Наносится зубчатым шпателем |
Растворный клей Thomsit P 600 | 1200 - 1600 г/м2 на один слой | Применяется для паркета из любых пород дерева. Содержит раствори- тель. Наносится зубчатым шпателем | |
Полиуретановый двухкомпонентный клей Thomsit P 625 | 1000 - 1200 г/м2 на один слой | Применяется для паркета из любых пород дерева. Экологически безопа- сен. Наносится зубчатым шпателем | |
4 | Упругая прослойка | 1,02 м2/м2 | |
5 | Водно-дисперси- онная грунтовка Thomsit R 766 | 150 г/м2 | Наносится кистью или валиком на очищенную поверхность стяжки. Разбавляется водой в соотношении 1:4 |
6 | Крупноформатный гипсоволокнистый лист | 1,02 м2/м2 | |
7 | Водно-дисперси- онный клей | 1000 - 1200 г/м2 40 - 50 г/п.м. | |
8 | Сборная стяжка из готовых элементов из гипсоволокнистых листов | 1,02 м2/м2 | |
9 | Кварцевый песок | По факту | Расход - минимально необходимый для выравнивания поверхности нижележащего слоя |
10 | Труба | ||
11 | Обкладка трубы пористо-волок- нистыми матами | По факту | |
12 | Защитный метал- лический кожух | ||
13 | Дюбель разжимной | ||
14 | Пароизоляция - полиэтиленовая пленка | 1,15 м2/м2 | |
15 | Бетонное осно- вание из бетона класса В22,5 | 0,08 м3/м2 | |
16 | Грунт основания |

Поз. | Наименование | Расход | Примечание |
1 | Лаковое покрытие | Конструкции лаковых покрытий, расход материалов и технология нанесения в соответствии с инструкцией фирмы-производителя | |
2 | Паркет штучный | 1,02 м2/м2 | |
3 | Водно-дисперси- онный клей Thomsit P 618 | 1000 - 1400 г/м2 | Применяется для шпунтованного паркета из любых пород дерева, нешпунтованного паркета из стабильных пород дерева и нешпунтованного паркета из любых пород дерева при формате планок, не превышающем 250 x 50 мм. Экологически безопасен. Наносится зубчатым шпателем |
Растворный клей Thomsit P 600 | 1200 - 1600 г/м2 | Применяется для шпунтованного и нешпунтованного паркета из любых пород дерева. Содержит раствори- тель. Наносится зубчатым шпателем | |
Полиуретановый двухкомпонентный клей Thomsit P 625 | 1000 - 1400 г/м2 | Применяется для шпунтованного и нешпунтованного паркета из любых пород дерева. Экологически безопа- сен. Наносится зубчатым шпателем | |
4 | Водно-дисперси- онная грунтовка Thomsit R 766 | 40 г/м2 | Наносится кистью или валиком на очищенную поверхность стяжки. Раз- бавляется водой в соотношении 1:4 |
5 | Сборная стяжка из ДСП | 1,02 м2/м2 | |
6 | Растворный клей Thomsit P 600 | 40 - 50 г/п.м. | |
7 | Пароизоляция - пергамин | 1,15 м2/м2 | |
8 | Кварцевый песок | По факту | Расход - минимально необходимый для выравнивания поверхности нижележащего слоя |
9 | Бетонное осно- вание из бетона класса В22,5 | 0,08 м3/м2 | |
10 | Грунт основания |

Поз. | Наименование | Расход | Примечание |
1 | Лаковое покрытие | Конструкции лаковых покрытий, расход материалов и технология нанесения в соответствии с инструкцией фирмы-производителя | |
2 | Паркет штучный | 1,02 м2/м2 | |
3 | Водно-дисперси- онный клей Thomsit P 618 | 1000 - 1400 г/м2 | Применяется для шпунтованного паркета из любых пород дерева, нешпунтованного паркета из стабильных пород дерева и нешпунтованного паркета из любых пород дерева при формате планок, не превышающем 250 x 50 мм. Экологически безопасен. Наносится зубчатым шпателем |
Растворный клей Thomsit P 600 | 1200 - 1600 г/м2 | Применяется для шпунтованного и нешпунтованного паркета из любых пород дерева. Содержит растворитель. Наносится зубчатым шпателем | |
Полиуретановый двухкомпонентный клей Thomsit P 625 | 1000 - 1400 г/м2 | Применяется для шпунтованного и нешпунтованного паркета из любых пород дерева. Экологически безопа- сен. Наносится зубчатым шпателем | |
4 | Водно-дисперси- онная грунтовка Thomsit R 766 | 40 г/м2 | Наносится валиком на очищенную поверхность сборной стяжки. Раз- бавляется водой в соотношении 1:4 |
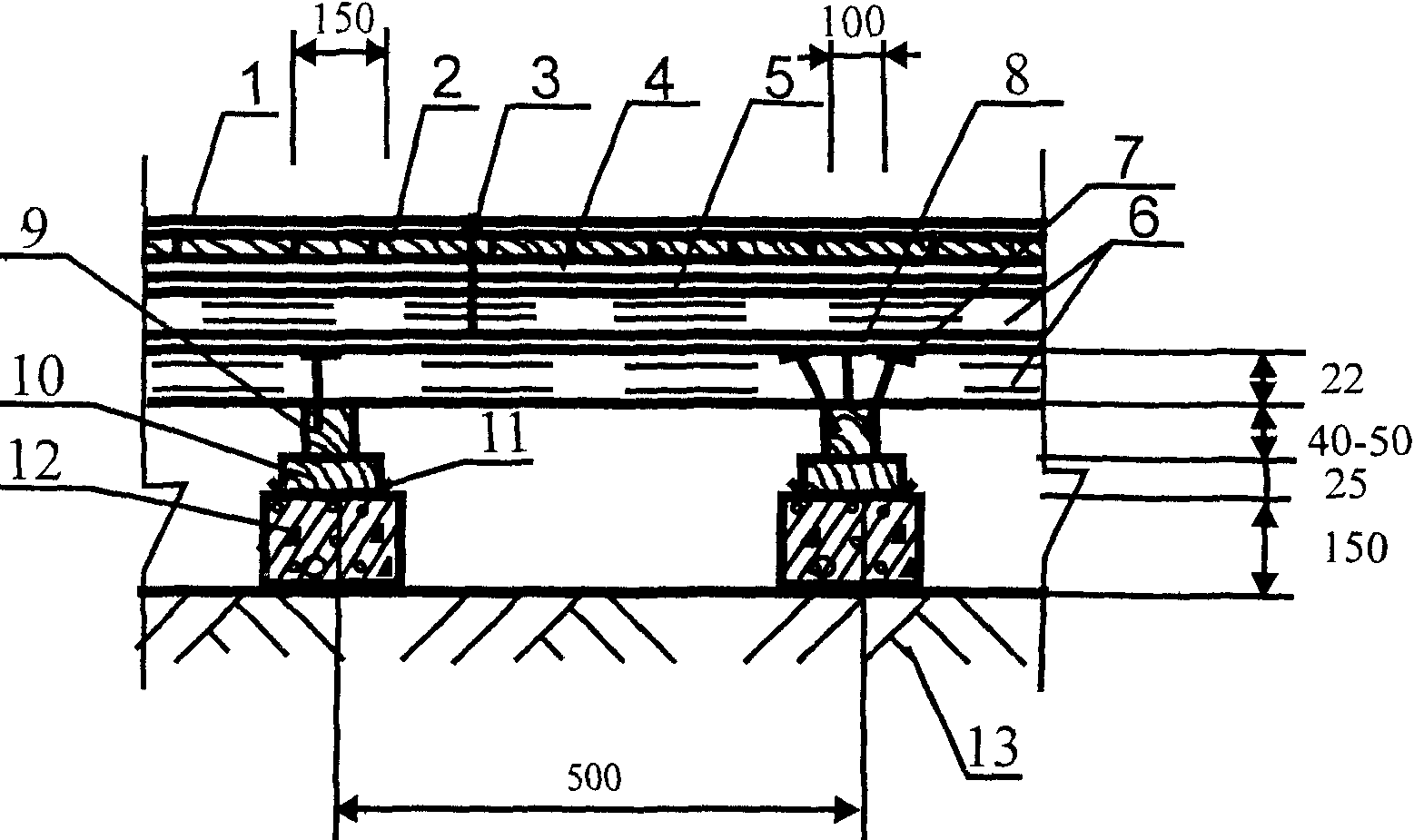
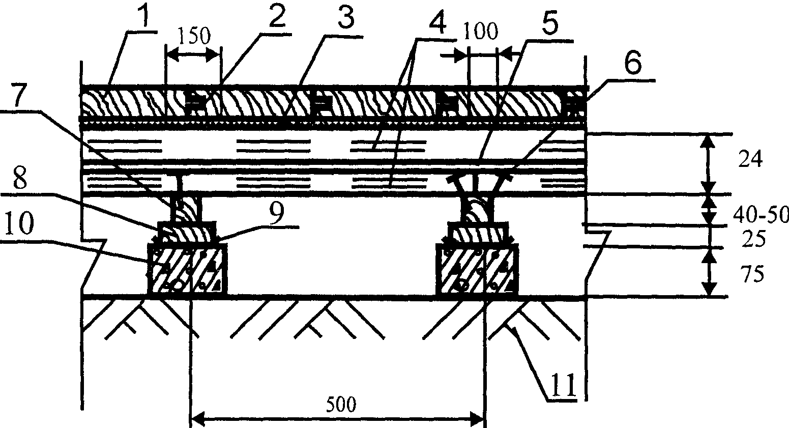
5 | Сборная стяжка из фанеры | 2,04 м2/м2 | |
6 | Растворный клей Thomsit P 600 | 1200 - 1600 г/м2 | Содержит растворитель. Наносится зубчатым шпателем |
7 | Закрепление саморезами | Шаг между саморезами 300 мм, по кромке листов - 150 мм | |
8 | Лага регулируемая | Согласно инструкции | Монтаж лаг осуществляется в соответствии с инструкцией фирмы-производителя |
9 | Болт-стойка | Согласно инструкции | Установка болт-стоек осуществляется в соответствии с инструкцией фирмы-производителя |
10 | Труба | ||
11 | Пароизоляция - полиэтиленовая пленка | 1,15 м2/м2 | |
12 | Бетонное осно- вание из бетона класса В22,5 | 0,08 м3/м2 | |
13 | Грунт основания |

Поз. | Наименование | Расход | Примечание |
1 | Лаковое покрытие | Конструкции лаковых покрытий, расход материалов и технология нанесения в соответствии с инструкцией фирмы-производителя | |
2 | Паркет штучный | 1,02 м2/м2 | |
3 | Водно-дисперси- онный клей Thomsit P 618 | 1000 - 1400 г/м2 | Применяется для шпунтованного паркета из любых пород дерева, нешпунтованного паркета из стабильных пород дерева и нешпунтованного паркета из любых пород дерева при формате планок, не превышающем 250 x 50 мм. Экологически безопасен. Наносится зубчатым шпателем |
Растворный клей Thomsit P 600 | 1200 - 1600 г/м2 | Применяется для шпунтованного и нешпунтованного паркета из любых пород дерева. Содержит раствори- тель. Наносится зубчатым шпателем | |
Полиуретановый двухкомпонентный клей Thomsit P 625 | 1000 - 1400 г/м2 | Применяется для шпунтованного и нешпунтованного паркета из любых пород дерева. Экологически безопа- сен. Наносится зубчатым шпателем | |
4 | Водно-дисперси- онная грунтовка Thomsit R 766 | 40 г/м2 | Наносится валиком на очищенную поверхность сборной стяжки. Раз- бавляется водой в соотношении 1:4 |
5 | Сборная стяжка из фанеры | 2,04 м2/м2 | |
6 | Растворный клей Thomsit P 600 | 1200 - 1600 г/м2 | Содержит растворитель. Наносится зубчатым шпателем |
7 | Закрепление саморезами | Шаг между саморезами 300 мм, по кромке листов - 150 мм | |
8 | Лага обыкновенная | 0,004 - 0,005 м3/п.м. | |
9 | Деревянная прокладка | 0,0006 м3/столбик | |
10 | Рулонная гидроизоляция | 0,05 м2/столбик | |
11 | Кирпичный или бетонный столбик | 0,0017 м3/стол- бик | |
12 | Бетонное осно- вание из бетона класса В22,5 | 0,08 м3/м2 | |
13 | Грунт основания |

Поз. | Наименование | Расход | Примечание |
1 | Лаковое покрытие | Конструкции лаковых покрытий, расход материалов и технология нанесения в соответствии с инструкцией фирмы-производителя | |
2 | Паркет штучный | 1,02 м2/м2 | |
3 | Водно-дисперси- онный клей Thomsit P 618 | 1000 - 1400 г/м2 | Применяется для шпунтованного паркета из любых пород дерева, нешпунтованного паркета из стабильных пород дерева и нешпунтованного паркета из любых пород дерева при формате планок, не превышающем 250 x 50 мм. Экологически безопасен. Наносится зубчатым шпателем |
Растворный клей Thomsit P 600 | 1200 - 1600 г/м2 | Применяется для шпунтованного и нешпунтованного паркета из любых пород дерева. Содержит растворитель. Наносится зубчатым шпателем | |
Полиуретановый двухкомпонентный клей Thomsit P 625 | 1000 - 1400 г/м2 | Применяется для шпунтованного и нешпунтованного паркета из любых пород дерева. Экологически безопасен. Наносится зубчатым шпателем | |
4 | Водно-дисперси- онная грунтовка Thomsit R 766 | 40 г/м2 | Наносится валиком на очищенную поверхность сборной стяжки. Разбавляется водой в соотношении 1:4 |
5 | Сборная стяжка из фанеры | 2,04 м2/м2 | |
6 | Растворный клей Thomsit P 600 | 1200 - 1600 г/м2 | Содержит растворитель. Наносится зубчатым шпателем |
7 | Закрепление саморезами | Шаг между саморезами 300 мм, по кромке листов - 150 мм | |
8 | Лага обыкновенная | 0,004 - 0,005 м3/п.м. | |
9 | Деревянная прокладка | 0,0006 м3/столбик | |
10 | Рулонная гидроизоляция | 0,05 м2/столбик | |
11 | Кирпичный или бетонный столбик | 0,0034 м3/столбик | |
12 | Грунт основания |

Поз. | Наименование | Расход | Примечание |
1 | Лаковое покрытие | Конструкции лаковых покрытий, расход материалов и технология нанесения в соответствии с инструкцией фирмы-производителя | |
2 | Паркет штучный | 1,02 м2/м2 | |
3 | Водно-дисперси- онный клей Thomsit P 618 | 1000 - 1400 г/м2 | Применяется для шпунтованного паркета из любых пород дерева, нешпунтованного паркета из стабильных пород дерева и нешпунтованного паркета из любых пород дерева при формате планок, не превышающем 250 x 50 мм. Экологически безопасен. Наносится зубчатым шпателем |
Растворный клей Thomsit P 600 | 1200 - 1600 г/м2 | Применяется для шпунтованного и нешпунтованного паркета из любых пород дерева. Содержит растворитель. Наносится зубчатым шпателем | |
Полиуретановый двухкомпонентный клей Thomsit P 625 | 1000 - 1400 г/м2 | Применяется для шпунтованного и нешпунтованного паркета из любых пород дерева. Экологически безопа- сен. Наносится зубчатым шпателем | |
4 | Водно-дисперси- онная грунтовка Thomsit R 777 | 300 г/м2 | Наносится кистью или валиком на очищенную поверхность бетонного основания |
Водно-дисперси- онная грунтовка Thomsit R 766 | 150 г/м2 | Наносится кистью или валиком на очищенную поверхность бетонного основания. Разбавляется водой в соотношении 1:1 | |
5 | Сплошная или многопустотная плита перекры- тия с ровной поверхностью |

Поз. | Наименование | Расход | Примечание |
1 | Лаковое покрытие | Конструкции лаковых покрытий, расход материалов и технология нанесения в соответствии с инструкцией фирмы-производителя | |
2 | Паркет штучный | 1,02 м2/м2 | |
3 | Водно-дисперси- онный клей Thomsit P 618 | 1000 - 1400 г/м2 | Применяется для шпунтованного паркета из любых пород дерева, нешпунтованного паркета из стабильных пород дерева и нешпунтованного паркета из любых пород дерева при формате планок, не превышающем 250 x 50 мм. Экологически безопасен. Наносится зубчатым шпателем |
Растворный клей Thomsit P 600 | 1200 - 1600 г/м2 | Применяется для шпунтованного и нешпунтованного паркета из любых пород дерева. Содержит раствори- тель. Наносится зубчатым шпателем | |
Полиуретановый двухкомпонентный клей Thomsit P 625 | 1000 - 1400 г/м2 | Применяется для шпунтованного и нешпунтованного паркета из любых пород дерева. Экологически безопа- сен. Наносится зубчатым шпателем | |
4 | Водно-дисперси- онная грунтовка Thomsit R 777 | 300 г/м2 бетонная стяжка 100 г/м2 цементно- песчаная стяжка | Наносится кистью или валиком на очищенную поверхность бетонной или цементно-песчаной стяжки. При нанесении на цементно-песчаную стяжку разбавляется водой в соотношении 1:1 |
Водно-дисперси- онная грунтовка Thomsit R 766 | 150 г/м2 бетонная стяжка 40 г/м2 цементно- песчаная стяжка | Наносится кистью или валиком на очищенную поверхность бетонной или цементно-песчаной стяжки. При нанесении на бетонную стяжку разбавляется водой в соотношении 1:1, на цементно-песчаную стяжку - в соотношении 1:4 | |
5 | Полимерцементная саморазравнива- ющаяся стяжка марки Thomsit DX | 1,5 кг/м2 | Наносится шпателем слоем толщиной от 0,5 до 10 мм. Расход - на 1 мм слоя. Предел прочности при сжатии после 28 суток выдержки не менее 30 МПа |
Полимерцементная саморазравнива- ющаяся стяжка марки Ceresit CN 76 | 2,0 кг/м2 | Наносится шпателем слоем толщиной от 4 до 50 мм. Расход - на 1 мм слоя. Предел прочности при сжатии после 28 суток выдержки не менее 40 МПа | |
Полимерцементная стяжка марки Ceresit CN 83 | 2,0 кг/м2 | Наносится шпателем слоем толщиной от 5 до 35 мм. Расход - на 1 мм слоя. Ускоренный набор прочностных характеристик. Предел прочности при сжатии после 1 суток выдержки не менее 13 МПа, после 28 суток выдержки - не менее 35 МПа | |
Полимерцементная стяжка марки Ceresit CN 178 | 2,0 кг/м2 | Наносится шпателем слоем толщиной от 5 до 80 мм. Расход - на 1 мм слоя. Предел прочности при сжатии после 28 суток выдержки не менее 25 МПа | |
Стяжка из цементно-песча- ного раствора марки М150 | 0,02 м3/м2 | ||
Стяжка из бето- на класса В12,5 | 0,02 м3/м2 | ||
6 | Водно-дисперси- онная грунтовка Ceresit CT 17 | 0,1 - 0,2 г/м2 | Наносится кистью или валиком на очищенную поверхность бетонного основания |
Водно-дисперси- онная грунтовка Ceresit CN 94 | 40 г/м2 | Наносится кистью или валиком на очищенную поверхность бетонного основания. Разбавляется водой в соотношении 1:3 | |
Водно-дисперси- онная грунтовка Thomsit R 777 | 300 г/м2 | Наносится кистью или валиком на очищенную поверхность бетонного основания | |
Водно-дисперси- онная грунтовка Thomsit R 766 | 150 г/м2 | Наносится кистью или валиком на очищенную поверхность бетонного основания. Разбавляется водой в соотношении 1:1 | |
7 | Сплошная или многопустотная плита перекры- тия с неровной поверхностью |

Поз. | Наименование | Расход | Примечание |
1 | Лаковое покрытие | Конструкции лаковых покрытий, расход материалов и технология нанесения в соответствии с инструкцией фирмы-производителя | |
2 | Паркет штучный | 1,02 м2/м2 | |
3 | Водно-дисперси- онный клей Thomsit P 618 | 1000 - 1400 г/м2 | Применяется для шпунтованного паркета из любых пород дерева, нешпунтованного паркета из стабильных пород дерева и нешпунтованного паркета из любых пород дерева при формате планок, не превышающем 250 x 50 мм. Экологически безопасен. Наносится зубчатым шпателем |
Растворный клей Thomsit P 600 | 1200 - 1600 г/м2 | Применяется для шпунтованного и нешпунтованного паркета из любых пород дерева. Содержит растворитель. Наносится зубчатым шпателем | |
Полиуретановый двухкомпонентный клей Thomsit P 625 | 1000 - 1400 г/м2 | Применяется для шпунтованного и нешпунтованного паркета из любых пород дерева. Экологически безопа- сен. Наносится зубчатым шпателем | |
4 | Водно-дисперси- онная грунтовка Thomsit R 777 | 300 г/м2 бетонная стяжка 100 г/м2 цементно- песчаная стяжка | Наносится кистью или валиком на очищенную поверхность бетонной или цементно-песчаной стяжки. При нанесении на цементно-песчаную стяжку разбавляется водой в соотношении 1:1 |
Водно-дисперси- онная грунтовка Thomsit R 766 | 150 г/м2 бетонная стяжка 40 г/м2 цементно- песчаная стяжка | Наносится кистью или валиком на очищенную поверхность бетонной или цементно-песчаной стяжки. При нанесении на бетонную стяжку разбавляется водой в соотношении 1:1, на цементно-песчаную стяжку - в соотношении 1:4 | |
5 | Стяжка из цементно-песча- ного раствора марки М150 | Расход материала определяется толщиной стяжки, которая должна превышать на 15 - 20 мм диаметр трубы | |
Стяжка из бетона класса В12,5 | Расход материала определяется толщиной стяжки, которая должна превышать на 15 - 20 мм диаметр трубы | ||
Полимерцемент- ная стяжка марки Ceresit CN 178 | Расход материала определяется толщиной стяжки, которая должна превышать на 15 - 20 мм диаметр трубы | ||
Полимерцемент- ная стяжка марки Ceresit CN 83 | Расход материала определяется толщиной стяжки, которая должна превышать на 15 - 20 мм диаметр трубы, но не должна превышать 35 мм | ||
6 | Труба | ||
7 | Водно-дисперси- онная грунтовка Ceresit CT 17 | 0,1 - 0,2 г/м2 | Наносится кистью или валиком на очищенную поверхность бетонного основания |
Водно-дисперси- онная грунтовка Ceresit CN 94 | 40 г/м2 | Наносится кистью или валиком на очищенную поверхность бетонного основания. Разбавляется водой в соотношении 1:3 | |
Водно-дисперси- онная грунтовка Thomsit R 777 | 300 г/м2 | Наносится кистью или валиком на очищенную поверхность бетонного основания | |
Водно-дисперси- онная грунтовка Thomsit R 766 | 150 г/м2 | Наносится кистью или валиком на очищенную поверхность бетонного основания. Разбавляется водой в соотношении 1:1 | |
8 | Сплошная или многопустотная плита перекрытия |

Поз. | Наименование | Расход | Примечание |
1 | Лаковое покрытие | Конструкции лаковых покрытий, расход материалов и технология нанесения в соответствии с инструкцией фирмы-производителя | |
2 | Паркет штучный | 1,02 м2/м2 | |
3 | Водно-дисперси- онный клей Thomsit P 618 | 1000 - 1400 г/м2 | Применяется для шпунтованного паркета из любых пород дерева, нешпунтованного паркета из стабильных пород дерева и нешпунтованного паркета из любых пород дерева при формате планок, не превышающем 250 x 50 мм. Экологически безопасен. Наносится зубчатым шпателем |
Растворный клей Thomsit P 600 | 1200 - 1600 г/м2 | Применяется для шпунтованного и нешпунтованного паркета из любых пород дерева. Содержит раствори- тель. Наносится зубчатым шпателем | |
Полиуретановый двухкомпонентный клей Thomsit P 625 | 1000 - 1400 г/м2 | Применяется для шпунтованного и нешпунтованного паркета из любых пород дерева. Экологически безопа- сен. Наносится зубчатым шпателем | |
4 | Водно-дисперси- онная грунтовка Thomsit R 777 | 300 г/м2 бетонная стяжка 100 г/м2 цементно- песчаная стяжка | Наносится кистью или валиком на очищенную поверхность бетонной или цементно-песчаной стяжки. При нанесении на цементно-песчаную стяжку разбавляется водой в соотношении 1:1 |
Водно-дисперси- онная грунтовка Thomsit R 766 | 150 г/м2 бетонная стяжка 40 г/м2 цементно- песчаная стяжка | Наносится кистью или валиком на очищенную поверхность бетонной или цементно-песчаной стяжки. При нанесении на бетонную стяжку разбавляется водой в соотношении 1:1, на цементно-песчаную стяжку - в соотношении 1:4 | |
5 | Стяжка из цементно-песча- ного раствора марки М150 | 0,04 м3/м2 | |
Стяжка из бетона класса В12,5 | 0,04 м3/м2 | ||
Полимерцементная стяжка марки Ceresit CN 178 | 0,04 м3/м2 | ||
6 | Полиэтиленовая пленка | 1,15 м2/м2 | |
7 | Тепло- и звукоизоляция из кварцевого или керамзитового песка | Толщина слоя и расход материалов назначаются в соответствии с расчетами по параметрам тепло- и звукоизоляции | |
8 | Сплошная или многопустотная плита перекрытия |

Поз. | Наименование | Расход | Примечание |
1 | Лаковое покрытие | Конструкции лаковых покрытий, расход материалов и технология нанесения в соответствии с инструкцией фирмы-производителя | |
2 | Паркет штучный | 1,02 м2/м2 | |
3 | Водно-дисперси- онный клей Thomsit P 618 | 1000 - 1400 г/м2 | Применяется для шпунтованного паркета из любых пород дерева, нешпунтованного паркета из стабильных пород дерева и нешпунтованного паркета из любых пород дерева при формате планок, не превышающем 250 x 50 мм. Экологически безопасен. Наносится зубчатым шпателем |
Растворный клей Thomsit P 600 | 1200 - 1600 г/м2 | Применяется для шпунтованного и нешпунтованного паркета из любых пород дерева. Содержит раствори- тель. Наносится зубчатым шпателем | |
Полиуретановый двухкомпонентный клей Thomsit P 625 | 1000 - 1400 г/м2 | Применяется для шпунтованного и нешпунтованного паркета из любых пород дерева. Экологически безопасен. Наносится зубчатым шпателем | |
4 | Водно-дисперси- онная грунтовка Thomsit R 777 | 300 г/м2 бетонная стяжка 100 г/м2 цементно- песчаная стяжка | Наносится кистью или валиком на очищенную поверхность бетонной или цементно-песчаной стяжки. При нанесении на цементно-песчаную стяжку разбавляется водой в соотношении 1:1 |
Водно-дисперси- онная грунтовка Thomsit R 766 | 150 г/м2 бетонная стяжка 40 г/м2 цементно- песчаная стяжка | Наносится кистью или валиком на очищенную поверхность бетонной или цементно-песчаной стяжки. При нанесении на бетонную стяжку разбавляется водой в соотношении 1:1, на цементно-песчаную стяжку - в соотношении 1:4 | |
5 | Стяжка из цементно-песча- ного раствора марки М150 | 0,04 м3/м2 | |
Стяжка из бетона класса В12,5 | 0,04 м3/м2 | ||
Полимерцементная стяжка марки Ceresit CN 178 | 0,04 м3/м2 | ||
6 | Полиэтиленовая пленка | 1,15 м2/м2 | |
7 | Тепло- и звуко- изоляция из плит или матов | Толщина слоя и расход материалов назначаются в соответствии с расчетами по параметрам тепло- и звукоизоляции | |
8 | Сплошная или многопустотная плита перекрытия |

Поз. | Наименование | Расход | Примечание |
1 | Лаковое покрытие | Конструкции лаковых покрытий, расход материалов и технология нанесения в соответствии с инструкцией фирмы-производителя | |
2 | Паркет штучный | 1,02 м2/м2 | |
3 | Водно-дисперси- онный клей Thomsit P 618 | 1000 - 1400 г/м2 на один слой | Применяется для шпунтованного паркета из любых пород дерева, нешпунтованного паркета из стабильных пород дерева и нешпунтованного паркета из любых пород дерева при формате планок, не превышающем 250 x 50 мм. Экологически безопасен. Наносится зубчатым шпателем |
Растворный клей Thomsit P 600 | 1200 - 1600 г/м2 на один слой | Применяется для шпунтованного и нешпунтованного паркета из любых пород дерева. Содержит раствори- тель. Наносится зубчатым шпателем | |
Полиуретановый двухкомпонентный клей Thomsit P 625 | 1000 - 1400 г/м2 на один слой | Применяется для шпунтованного и нешпунтованного паркета из любых пород дерева. Экологически безопа- сен. Наносится зубчатым шпателем | |
4 | Водно-дисперси- онная грунтовка Thomsit R 777 | 300 г/м2 бетонная стяжка 100 г/м2 цементно- песчаная стяжка | Наносится кистью или валиком на очищенную поверхность бетонной или цементно-песчаной стяжки. При нанесении на цементно-песчаную стяжку разбавляется водой в соотношении 1:1 |
Водно-дисперси- онная грунтовка Thomsit R 766 | 150 г/м2 бетонная стяжка 40 г/м2 цементно- песчаная стяжка | Наносится кистью или валиком на очищенную поверхность бетонной или цементно-песчаной стяжки. При нанесении на бетонную стяжку разбавляется водой в соотношении 1:1, на цементно-песчаную стяжку - в соотношении 1:4 | |
5 | Упругая тепло- и звукоизолиру- ющая прослойка | Выбор толщины прослойки (количество слоев рулонного материала) осуществляется с учетом теплофизических расчетов по параметрам теплоусвоения и звукоизоляции | |
6 | Полимерцементная саморазравнива- ющаяся стяжка марки Ceresit CN 69 | 1,8 кг/м2 | Наносится шпателем слоем толщиной от 3 до 15 мм. Расход - на 1 мм слоя. Предел прочности при сжатии после 28 суток выдержки не менее 18 МПа |
Полимерцементная саморазравнива- ющаяся стяжка марки Thomsit DD | 1,5 кг/м2 | Наносится шпателем слоем толщиной от 0,5 до 5 мм. Расход - на 1 мм слоя. Предел прочности при сжатии после 28 суток выдержки не менее 22 МПа | |
Полимерцементная саморазравнива- ющаяся стяжка марки Thomsit DX | 1,5 кг/м2 | Наносится шпателем слоем толщиной от 0,5 до 10 мм. Расход - на 1 мм слоя. Предел прочности при сжатии после 28 суток выдержки не менее 30 МПа | |
Полимерцементная стяжка марки Ceresit CN 83 | 2,0 кг/м2 | Наносится шпателем слоем толщиной от 5 до 35 мм. Расход - на 1 мм слоя. Ускоренный набор прочностных характеристик. Предел прочности при сжатии после 1 суток выдержки не менее 13 МПа, после 28 суток выдержки - не менее 35 МПа | |
Полимерцементная стяжка марки Ceresit CN 178 | 2,0 кг/м2 | Наносится шпателем слоем толщиной от 5 до 80 мм. Расход - на 1 мм слоя. Предел прочности при сжатии после 28 суток выдержки не менее 25 МПа | |
Стяжка из цементно-песча- ного раствора марки М150 | 0,02 м3/м2 | ||
Стяжка из бетона класса В12,5 | 0,02 м3/м2 | ||
7 | Водно-дисперси- онная грунтовка Ceresit CT 17 | 0,1 - 0,2 л/м2 | Наносится кистью или валиком на очищенную поверхность бетонного основания |
Водно-дисперси- онная грунтовка Ceresit CN 94 | 40 л/м2 | Наносится кистью или валиком на очищенную поверхность бетонного основания. Разбавляется водой в соотношении 1:3 | |
Водно-дисперси- онная грунтовка Thomsit R 777 | 300 г/м2 | Наносится кистью или валиком на очищенную поверхность бетонного основания | |
Водно-дисперси- онная грунтовка Thomsit R 766 | 150 г/м2 | Наносится кистью или валиком на очищенную поверхность бетонного основания. Разбавляется водой в соотношении 1:1 | |
8 | Сплошная или многопустотная плита перекрытия с неровной поверхностью |

Поз. | Наименование | Расход | Примечание |
1 | Лаковое покрытие | Конструкции лаковых покрытий, расход материалов и технология нанесения в соответствии с инструкцией фирмы-производителя | |
2 | Паркет штучный шпунтованный | 1,02 м2/м2 | |
3 | Водно-дисперси- онный клей Thomsit P 618 | 1000 - 1200 г/м2 на один слой | Применяется для паркета из любых пород дерева. Экологически безопа- сен. Наносится зубчатым шпателем |
Растворный клей Thomsit P 600 | 1200 - 1600 г/м2 на один слой | Применяется для паркета из любых пород дерева. Содержит раствори- тель. Наносится зубчатым шпателем | |
Полиуретановый двухкомпонентный клей Thomsit P 625 | 1000 - 1200 г/м2 на один слой | Применяется для паркета из любых пород дерева. Экологически безопа- сен. Наносится зубчатым шпателем | |
4 | Упругая прослойка | 1,02 м2/м2 | |
5 | Водно-дисперси- онная грунтовка Thomsit R 766 | 40 г/м2 | Наносится кистью или валиком на очищенную поверхность стяжки. Раз- бавляется водой в соотношении 1:4 |
6 | Крупноформатный гипсоволокнистый лист | 1,02 м2/м2 | |
7 | Водно-дисперси- онный клей | 1000 - 1200 г/м2 40 - 50 г/п.м. | |
8 | Сборная стяжка из готовых элементов из гипсоволок- нистых листов | 1,02 м2/м2 | |
9 | Кварцевый песок | По факту | Расход - минимально необходимый для выравнивания поверхности нижележащего слоя |
10 | Пароизоляция - полиэтиленовая пленка | 1,15 м2/м2 | |
11 | Сплошная или многопустотная плита перекрытия |

Поз. | Наименование | Расход | Примечание |
1 | Лаковое покрытие | Конструкции лаковых покрытий, расход материалов и технология нанесения в соответствии с инструкцией фирмы-производителя | |
2 | Паркет штучный шпунтованный | 1,02 м2/м2 | |
3 | Водно-дисперси- онный клей Thomsit P 618 | 1000 - 1200 г/м2 на один слой | Применяется для паркета из любых пород дерева. Экологически безопа- сен. Наносится зубчатым шпателем |
Растворный клей Thomsit P 600 | 1200 - 1600 г/м2 на один слой | Применяется для паркета из любых пород дерева. Содержит раствори- тель. Наносится зубчатым шпателем | |
Полиуретановый двухкомпонентный клей Thomsit P 625 | 1000 - 1200 г/м2 на один слой | Применяется для паркета из любых пород дерева. Экологически безопа- сен. Наносится зубчатым шпателем | |
4 | Упругая прослойка | 1,02 м2/м2 | |
5 | Водно-дисперси- онная грунтовка Thomsit R 766 | 40 г/м2 | Наносится кистью или валиком на очищенную поверхность стяжки. Раз- бавляется водой в соотношении 1:4 |
6 | Крупноформатный гипсоволокнистый лист | 1,02 м2/м2 | |
7 | Водно-дисперси- онный клей | 1000 - 1200 г/м2 40 - 50 г/п.м. | |
8 | Сборная стяжка из готовых элементов из гипсоволокнистых листов | 1,02 м2/м2 | |
9 | Тепло- и звукоизоляция из кварцевого или керамзито- вого песка | Толщина слоя и расход материалов назначаются в соответствии с расчетами по параметрам тепло- и звукоизоляции | |
10 | Пароизоляция - полиэтиленовая пленка | 1,15 м2/м2 | |
11 | Сплошная или многопустотная плита перекрытия |

Поз. | Наименование | Расход | Примечание |
1 | Лаковое покрытие | Конструкции лаковых покрытий, расход материалов и технология нанесения в соответствии с инструкцией фирмы-производителя | |
2 | Паркет штучный шпунтованный | 1,02 м2/м2 | |
3 | Водно-дисперси- онный клей Thomsit P 618 | 1000 - 1200 г/м2 на один слой | Применяется для паркета из любых пород дерева. Экологически безопа- сен. Наносится зубчатым шпателем |
Растворный клей Thomsit P 600 | 1200 - 1600 г/м2 на один слой | Применяется для паркета из любых пород дерева. Содержит раствори- тель. Наносится зубчатым шпателем | |
Полиуретановый двухкомпонентный клей Thomsit P 625 | 1000 - 1200 г/м2 на один слой | Применяется для паркета из любых пород дерева. Экологически безопа- сен. Наносится зубчатым шпателем | |
4 | Упругая прослойка | 1,02 м2/м2 | |
5 | Водно-дисперси- онная грунтовка Thomsit R 766 | 40 г/м2 | Наносится кистью или валиком на очищенную поверхность стяжки. Раз- бавляется водой в соотношении 1:4 |
6 | Крупноформатный гипсоволокнистый лист | 1,02 м2/м2 | |
7 | Водно-дисперси- онный клей | 1000 - 1200 г/м2 40 - 50 г/п.м. | |
8 | Сборная стяжка из готовых эле- ментов из гипсо- волокнистых листов | 1,02 м2/м2 | |
9 | Тепло- и звуко- изоляция из плит или матов | Толщина слоя и расход материалов назначаются в соответствии с расчетами по параметрам тепло- и звукоизоляции | |
10 | Пароизоляция - полиэтиленовая пленка | 1,15 м2/м2 | |
11 | Сплошная или многопустотная плита перекрытия |

Поз. | Наименование | Расход | Примечание |
1 | Лаковое покрытие | Конструкции лаковых покрытий, расход материалов и технология нанесения в соответствии с инструкцией фирмы-производителя | |
2 | Паркет штучный шпунтованный | 1,02 м2/м2 | |
3 | Водно-дисперси- онный клей Thomsit P 618 | 1000 - 1200 г/м2 на один слой | Применяется для паркета из любых пород дерева. Экологически безопа- сен. Наносится зубчатым шпателем |
Растворный клей Thomsit P 600 | 1200 - 1600 г/м2 на один слой | Применяется для паркета из любых пород дерева. Содержит раствори- тель. Наносится зубчатым шпателем | |
Полиуретановый двухкомпонентный клей Thomsit P 625 | 1000 - 1200 г/м2 на один слой | Применяется для паркета из любых пород дерева. Экологически безопа- сен. Наносится зубчатым шпателем | |
4 | Упругая прослойка | 1,02 м2/м2 | |
5 | Водно-дисперси- онная грунтовка Thomsit R 766 | 40 г/м2 | Наносится кистью или валиком на очищенную поверхность стяжки. Разбавляется водой в соотношении 1:4 |
6 | Крупноформатный гипсоволокнистый лист | 1,02 м2/м2 | |
7 | Водно-дисперси- онный клей | 1000 - 1200 г/м2 40 - 50 г/п.м. | |
8 | Сборная стяжка из готовых элементов из гипсоволок- нистых листов | 1,02 м2/м2 | |
9 | Тепло- и звукоизоляция из кварцевого или керамзито- вого песка | По расчету | Толщина слоя и расход материалов назначаются в соответствии с расчетами по параметрам тепло- и звукоизоляции, но не менее высоты короба H + 15 |
10 | Труба | ||
11 | Обкладка трубы пористо-волок- нистыми матами | По факту | |
12 | Защитный метал- лический кожух | ||
13 | Дюбель разжимной | ||
14 | Пароизоляция - полиэтиленовая пленка | 1,15 м2/м2 | |
15 | Сплошная или многопустотная плита перекрытия с неровной поверхностью |

Поз. | Наименование | Расход | Примечание |
1 | Лаковое покрытие | Конструкции лаковых покрытий, расход материалов и технология нанесения в соответствии с инструкцией фирмы-производителя | |
2 | Паркет штучный шпунтованный | 1,02 м2/м2 | |
3 | Водно-дисперси- онный клей Thomsit P 618 | 1000 - 1200 г/м2 на один слой | Применяется для паркета из любых пород дерева. Экологически безопа- сен. Наносится зубчатым шпателем |
Растворный клей Thomsit P 600 | 1200 - 1600 г/м2 на один слой | Применяется для паркета из любых пород дерева. Содержит раствори- тель. Наносится зубчатым шпателем | |
Полиуретановый двухкомпонентный клей Thomsit P 625 | 1000 - 1200 г/м2 на один слой | Применяется для паркета из любых пород дерева. Экологически безопа- сен. Наносится зубчатым шпателем | |
4 | Упругая прослойка | 1,02 м2/м2 | |
5 | Водно-дисперси- онная грунтовка Thomsit R 766 | 40 г/м2 | Наносится кистью или валиком на очищенную поверхность стяжки. Раз- бавляется водой в соотношении 1:4 |
6 | Крупноформатный гипсоволокнистый лист | 1,02 м2/м2 | |
7 | Водно-дисперси- онный клей | 1000 - 1200 г/м 40 - 50 г/п.м. | |
8 | Сборная стяжка из готовых элементов из гипсоволокнистых листов | 1,02 м2/м2 | |
9 | Тепло- и звуко- изоляция из плит или матов | По расчету | Толщина слоя и расход материалов назначаются в соответствии с расчетами по параметрам тепло- и звукоизоляции, но не менее высоты короба H + 15 |
10 | Труба | ||
11 | Обкладка трубы пористо-волок- нистыми матами | По факту | |
12 | Защитный метал- лический кожух | ||
13 | Дюбель разжимной | ||
14 | Пароизоляция - полиэтиленовая пленка | 1,15 м2/м2 | |
15 | Сплошная или многопустотная плита перекрытия с неровной поверхностью |

Поз. | Наименование | Расход | Примечание |
1 | Лаковое покрытие | Конструкции лаковых покрытий, расход материалов и технология нанесения в соответствии с инструкцией фирмы-производителя | |
2 | Паркет штучный | 1,02 м2/м2 | |
3 | Водно-дисперси- онный клей Thomsit P 618 | 1000 - 1400 г/м2 | Применяется для шпунтованного паркета из любых пород дерева, нешпунтованного паркета из стабильных пород дерева и нешпун- тованного паркета из любых пород дерева при формате планок, не превышающем 250 x 50 мм. Экологически безопасен. Наносится зубчатым шпателем |
Растворный клей Thomsit P 600 | 1200 - 1600 г/м2 | Применяется для шпунтованного и нешпунтованного паркета из любых пород дерева. Содержит растворитель. Наносится зубчатым шпателем слоем | |
Полиуретановый двухкомпонентный клей Thomsit P 625 | 1000 - 1400 г/м2 | Применяется для шпунтованного и нешпунтованного паркета из любых пород дерева. Экологически безопа- сен. Наносится зубчатым шпателем | |
4 | Водно-дисперси- онная грунтовка Thomsit R 766 | 40 г/м2 | Наносится кистью или валиком на очищенную поверхность стяжки. Раз- бавляется водой в соотношении 1:4 |
5 | Сборная стяжка из ДСП | 1,02 м2/м2 | |
6 | Растворный клей Thomsit P 600 | 40 - 50 г/п.м. | |
7 | Пароизоляция - пергамин | 1,15 м2/м2 | |
8 | Кварцевый песок | По факту | Расход - минимально необходимый для выравнивания поверхности нижележащего слоя |
9 | Сплошная или многопустотная плита перекрытия с неровной поверхностью |

Поз. | Наименование | Расход | Примечание |
1 | Лаковое покрытие | Конструкции лаковых покрытий, расход материалов и технология нанесения в соответствии с инструкцией фирмы-производителя | |
2 | Паркет штучный | 1,02 м2/м2 | |
3 | Водно-дисперси- онный клей Thomsit P 618 | 1000 - 1400 г/м2 | Применяется для шпунтованного паркета из любых пород дерева, нешпунтованного паркета из стабильных пород дерева и нешпунтованного паркета из любых пород дерева при формате планок, не превышающем 250 x 50 мм. Экологически безопасен. Наносится зубчатым шпателем |
Растворный клей Thomsit P 600 | 1200 - 1600 г/м2 | Применяется для шпунтованного и нешпунтованного паркета из любых пород дерева. Содержит растворитель. Наносится зубчатым шпателем слоем | |
Полиуретановый двухкомпонентный клей Thomsit P 625 | 1000 - 1400 г/м2 | Применяется для шпунтованного и нешпунтованного паркета из любых пород дерева. Экологически безопа- сен. Наносится зубчатым шпателем | |
4 | Водно-дисперси- онная грунтовка Thomsit R 766 | 40 г/м2 | Наносится кистью или валиком на очищенную поверхность стяжки. Раз- бавляется водой в соотношении 1:4 |
5 | Сборная стяжка из ДСП | 1,02 м2/м2 | |
6 | Растворный клей Thomsit P 600 | 40 - 50 г/п.м. | |
7 | Пароизоляция - пергамин | 1,15 м2/м2 | |
8 | Тепло- и звуко- изоляция из плит или матов | Толщина слоя и расход материалов назначаются в соответствии с расчетами по параметрам тепло- и звукоизоляции | |
9 | Выравнивающая шпаклевка | По факту | |
10 | Сплошное или многопустотное междуэтажное железобетонное перекрытие с неровной поверхностью |

Поз. | Наименование | Расход | Примечание |
1 | Лаковое покрытие | Конструкции лаковых покрытий, расход материалов и технология нанесения в соответствии с инструкцией фирмы-производителя | |
2 | Паркет штучный | 1,02 м2/м2 | |
3 | Водно-дисперси- онный клей Thomsit P 618 | 1000 - 1400 г/м2 | Применяется для шпунтованного паркета из любых пород дерева, нешпунтованного паркета из стабильных пород дерева и нешпунтованного паркета из любых пород дерева при формате планок, не превышающем 250 x 50 мм. Экологически безопасен. Наносится зубчатым шпателем |
Растворный клей Thomsit P 600 | 1200 - 1600 г/м2 | Применяется для шпунтованного и нешпунтованного паркета из любых пород дерева. Содержит раствори- тель. Наносится зубчатым шпателем | |
Полиуретановый двухкомпонентный клей Thomsit P 625 | 1000 - 1400 г/м2 | Применяется для шпунтованного и нешпунтованного паркета из любых пород дерева. Экологически безопа- сен. Наносится зубчатым шпателем | |
4 | Водно-дисперси- онная грунтовка Thomsit R 766 | 40 г/м2 | Наносится валиком на очищенную поверхность сборной стяжки. Раз- бавляется водой в соотношении 1:4 |
5 | Сборная стяжка из фанеры | 2,04 м2/м2 | |
6 | Растворный клей Thomsit P 600 | 1200 - 1600 г/м2 | |
7 | Закрепление саморезами | Шаг между саморезами 300 мм, по кромке листов - 150 мм | |
8 | Лага регулируемая | Согласно инструкции | Монтаж лаг осуществляется в соответствии с инструкцией фирмы-производителя |
9 | Болт-стойка | Согласно инструкции | Установка болт-стоек осуществляется в соответствии с инструкцией фирмы-производителя |
10 | Труба | ||
11 | Пароизоляция - полиэтиленовая пленка | 1,15 м2/м2 | |
12 | Сплошное или многопустотное междуэтажное железобетонное перекрытие |

Поз. | Наименование | Расход | Примечание |
1 | Лаковое покрытие | Конструкции лаковых покрытий, расход материалов и технология нанесения в соответствии с инструкцией фирмы-производителя | |
2 | Паркет штучный | 1,02 м2/м2 | |
3 | Водно-дисперси- онный клей Thomsit P 618 | 1000 - 1400 г/м2 | Применяется для шпунтованного паркета из любых пород дерева, нешпунтованного паркета из стабильных пород дерева и нешпунтованного паркета из любых пород дерева при формате планок, не превышающем 250 x 50 мм. Экологически безопасен. Наносится зубчатым шпателем |
Растворный клей Thomsit P 600 | 1200 - 1600 г/м2 | Применяется для шпунтованного и нешпунтованного паркета из любых пород дерева. Содержит растворитель. Наносится зубчатым шпателем слоем | |
Полиуретановый двухкомпонентный клей Thomsit P 625 | 1000 - 1400 г/м2 | Применяется для шпунтованного и нешпунтованного паркета из любых пород дерева. Экологически безопа- сен. Наносится зубчатым шпателем | |
4 | Водно-дисперси- онная грунтовка Thomsit R 766 | 40 г/м2 | Наносится валиком на очищенную поверхность сборной стяжки. Раз- бавляется водой в соотношении 1:4 |
5 | Сборная стяжка из фанеры | 2,04 м2/м2 | |
6 | Растворный клей Thomsit P 600 | 1200 - 1600 г/м2 | Содержит растворитель. Наносится зубчатым шпателем |
7 | Закрепление саморезами | Шаг между саморезами 300 мм, по кромке листов - 150 мм | |
8 | Лага регулируемая | Согласно инструкции | Монтаж лаг осуществляется в соответствии с инструкцией фирмы-производителя |
9 | Болт-стойка | Согласно инструкции | Установка болт-стоек осуществляется в соответствии с инструкцией фирмы-производителя |
10 | Тепло- и звуко- изоляция из плит или матов | Толщина слоя и расход материалов назначаются в соответствии с расчетами по параметрам тепло- и звукоизоляции | |
11 | Пароизоляция - полиэтиленовая пленка | 1,15 м2/м2 | |
12 | Сплошное или многопустотное междуэтажное железобетонное перекрытие |

Поз. | Наименование | Расход | Примечание |
1 | Лаковое покрытие | Конструкции лаковых покрытий, расход материалов и технология нанесения в соответствии с инструкцией фирмы-производителя | |
2 | Паркет штучный | 1,02 м2/м2 | |
3 | Водно-дисперси- онный клей Thomsit P 618 | 1000 - 1400 г/м2 | Применяется для шпунтованного паркета из любых пород дерева, нешпунтованного паркета из стабильных пород дерева и нешпунтованного паркета из любых пород дерева при формате планок, не превышающем 250 x 50 мм. Экологически безопасен. Наносится зубчатым шпателем |
Растворный клей Thomsit P 600 | 1200 - 1600 г/м2 | Применяется для шпунтованного и нешпунтованного паркета из любых пород дерева. Содержит растворитель. Наносится зубчатым шпателем | |
Полиуретановый двухкомпонентный клей Thomsit P 625 | 1000 - 1400 г/м2 | Применяется для шпунтованного и нешпунтованного паркета из любых пород дерева. Экологически безопасен. Наносится зубчатым шпателем | |
4 | Водно-дисперси- онная грунтовка Thomsit R 766 | 40 г/м2 | Наносится валиком на очищенную поверхность сборной стяжки. Разбавляется водой в соотношении 1:4 |
5 | Сборная стяжка из фанеры | 2,04 м2/м2 | |
6 | Растворный клей Thomsit P 600 | 1200 - 1600 г/м2 | Содержит растворитель. Наносится зубчатым шпателем |
7 | Закрепление саморезами | Шаг между саморезами 300 мм, по кромке листов - 150 мм | |
8 | Лага обыкновенная | 0,004 - 0,005 м2/п.м. | Шаг между лагами 300 мм в помещениях административных зданий, 600 мм - в жилых помещениях |
9 | Кварцевый песок | По факту | Расход - минимально необходимый для выравнивания поверхности нижележащего слоя |
10 | Сплошное или многопустотное междуэтажное железобетонное перекрытие с неровной поверхностью |

Поз. | Наименование | Расход | Примечание |
1 | Лаковое покрытие | Конструкции лаковых покрытий, расход материалов и технология нанесения в соответствии с инструкцией фирмы-производителя | |
2 | Паркет штучный | 1,02 м2/м2 | |
3 | Водно-дисперси- онный клей Thomsit P 618 | 1000 - 1400 г/м2 | Применяется для шпунтованного паркета из любых пород дерева, нешпунтованного паркета из стабильных пород дерева и нешпунтованного паркета из любых пород дерева при формате планок, не превышающем 250 x 50 мм. Экологически безопасен. Наносится зубчатым шпателем |
Растворный клей Thomsit P 600 | 1200 - 1600 г/м2 | Применяется для шпунтованного и нешпунтованного паркета из любых пород дерева. Содержит растворитель. Наносится зубчатым шпателем | |
Полиуретановый двухкомпонентный клей Thomsit P 625 | 1000 - 1400 г/м2 | Применяется для шпунтованного и нешпунтованного паркета из любых пород дерева. Экологически безопасен. Наносится зубчатым шпателем | |
4 | Водно-дисперси- онная грунтовка Thomsit R 766 | 40 г/м2 | Наносится валиком на очищенную поверхность сборной стяжки. Разбавляется водой в соотношении 1:4 |
5 | Сборная стяжка из фанеры | 2,04 м2/м2 | |
6 | Растворный клей Thomsit P 600 | 1200 - 1600 г/м2 | Содержит растворитель. Наносится зубчатым шпателем |
7 | Закрепление саморезами | Шаг между саморезами 300 мм, по кромке листов - 150 мм | |
8 | Лага обыкновенная | 0,004 - 0,005 м3/п.м. | Шаг между лагами 300 мм в помещениях административных зданий, 600 мм - в жилых помещениях |
9 | Звукоизолирующая прокладка | 0,15 м2/п.м. | Материал и толщина звукоизолирующей прокладки назначаются в соответствии с расчетами по параметрам звукоизоляции |
10 | Кварцевый песок | По факту | Расход - минимально необходимый для выравнивания поверхности нижележащего слоя |
11 | Сплошное или многопустотное междуэтажное железобетонное перекрытие с неровной поверхностью |

Поз. | Наименование | Расход | Примечание |
1 | Лаковое покрытие | Конструкции лаковых покрытий, расход материалов и технология нанесения в соответствии с инструкцией фирмы-производителя | |
2 | Массивная доска | 1,02 м2/м2 | |
3 | Саморез | ||
4 | Полиуретановый двухкомпонентный клей Thomsit P 625 | 1000 - 1400 г/м2 на один слой | Не содержит органический растворитель. Наносится зубчатым шпателем |
5 | Водно-дисперси- онная грунтовка Thomsit R 766 | 40 г/м2 | Наносится валиком на очищенную поверхность сборной стяжки. Раз- бавляется водой в соотношении 1:4 |
6 | Сборная стяжка из фанеры | 2,04 м2/м2 | |
7 | Закрепление шурупами или дюбелями | Шаг между шурупами или дюбелями 300 мм, по кромке листа - 150 мм | |
8 | Растворный клей Thomsit P 600 | 1200 - 1600 г/м2 | Содержит растворитель. Наносится зубчатым шпателем |
9 | Водно-дисперси- онная грунтовка Thomsit R 777 | 300 г/м2 бетонная стяжка 100 г/м2 цементно- песчаная стяжка | Наносится кистью или валиком на очищенную поверхность бетонной или цементно-песчаной стяжки. При нанесении на цементно-песчаную стяжку разбавляется водой в соотношении 1:1 |
Водно-дисперси- онная грунтовка Thomsit R 766 | 150 г/м2 бетонная стяжка 40 г/м2 цементно- песчаная стяжка | Наносится кистью или валиком на очищенную поверхность бетонной или цементно-песчаной стяжки. При нанесении на бетонную стяжку разбавляется водой в соотношении 1:1, на цементно-песчаную стяжку - в соотношении 1:4 | |
10 | Полимерцементная саморазравнива- ющаяся стяжка марки Ceresit CN 69 | 1,8 кг/м2 | Наносится шпателем слоем толщиной от 3 до 15 мм. Расход - на 1 мм слоя. Предел прочности при сжатии после 28 суток выдержки не менее 18 МПа |
Полимерцементная саморазравнива- ющаяся стяжка марки Thomsit DD | 1,5 кг/м2 | Наносится шпателем слоем толщиной от 0,5 до 5 мм. Расход - на 1 мм слоя. Предел прочности при сжатии после 28 суток выдержки не менее 22 МПа | |
Полимерцемент- ная саморазрав- нивающаяся стяжка марки Thomsit DX | 1,5 кг/м2 | Наносится шпателем слоем толщиной от 0,5 до 10 мм. Расход - на 1 мм слоя. Предел прочности при сжатии после 28 суток выдержки не менее 30 МПа | |
Полимерцементная стяжка марки Ceresit CN 178 | 2,0 кг/м2 | Наносится шпателем слоем толщиной от 5 до 80 мм. Расход - на 1 мм слоя. Предел прочности при сжатии после 28 суток выдержки не менее 25 МПа | |
Стяжка из цементно-песча- ного раствора марки М150 | 0,02 м3/м2 | ||
Стяжка из бетона класса В12,5 | 0,02 м3/м2 | ||
11 | Водно-дисперси- онная грунтовка Ceresit CT 17 | 0,1 - 0,2 л/м2 | Наносится кистью или валиком на очищенную поверхность бетонного основания |
Водно-дисперси- онная грунтовка Ceresit CN 94 | 40 г/м2 | Наносится кистью или валиком на очищенную поверхность бетонного основания. Разбавляется водой в соотношении 1:3 | |
Водно-дисперси- онная грунтовка Thomsit R 777 | 300 г/м2 | Наносятся кистью или валиком на очищенную поверхность бетонного основания | |
Водно-дисперси- онная грунтовка Thomsit R 766 | 150 г/м2 | Наносится кистью или валиком на очищенную поверхность бетонного основания. Разбавляется водой в соотношении 1:1 | |
12 | Бетонное осно- вание из бетона класса В22,5 | 0,08 м3/м2 | |
13 | Грунт основания |

Поз. | Наименование | Расход | Примечание |
1 | Лаковое покрытие | Конструкции лаковых покрытий, расход материалов и технология нанесения в соответствии с инструкцией фирмы-производителя | |
2 | Массивная доска | 1,02 м2/м2 | |
3 | Саморез | ||
4 | Полиуретановый двухкомпонентный клей Thomsit P 625 | 1000 - 1400 г/м2 на один слой | Не содержит органический растворитель. Наносится зубчатым шпателем |
5 | Водно-дисперси- онная грунтовка Thomsit R 766 | 40 г/м2 | Наносится валиком на очищенную поверхность сборной стяжки. Разбавляется водой в соотношении 1:4 |
6 | Сборная стяжка из фанеры | 2,04 м2/м2 | |
7 | Закрепление шурупами или дюбелями | Шаг между шурупами или дюбелями 300 мм, по кромке листа - 150 мм | |
8 | Растворный клей Thomsit P 600 | 1200 - 1600 г/м2 | Содержит растворитель. Наносится зубчатым шпателем |
9 | Водно-дисперси- онная грунтовка Thomsit R 777 | 300 г/м2 бетонная стяжка 100 г/м2 цементно- песчаная стяжка | Наносится кистью или валиком на очищенную поверхность бетонной или цементно-песчаной стяжки. При нанесении на цементно- песчаную стяжку разбавляется водой в соотношении 1:1 |
Водно-дисперси- онная грунтовка Thomsit R 766 | 150 г/м2 бетонная стяжка 40 г/м2 цементно- песчаная стяжка | Наносится кистью или валиком на очищенную поверхность бетонной или цементно-песчаной стяжки. При нанесении на бетонную стяжку разбавляется водой в соотношении 1:1, на цементно- песчаную стяжку - в соотношении 1:4 | |
10 | Полимерцементная саморазравнива- ющаяся стяжка марки Ceresit CN 69 | 1,8 кг/м2 | Наносится шпателем слоем тол- щиной от 3 до 15 мм. Расход - на 1 мм слоя. Предел прочности при сжатии после 28 суток выдержки не менее 18 МПа |
Полимерцемент- ная саморазрав- нивающаяся стяжка марки Thomsit DD | 1,5 кг/м2 | Наносится шпателем слоем тол- щиной от 0,5 до 5 мм. Расход - на 1 мм слоя. Предел прочности при сжатии после 28 суток выдержки не менее 22 МПа | |
Полимерцементная саморазравнива- ющаяся стяжка марки Thomsit DX | 1,5 кг/м2 | Наносится шпателем слоем тол- шиной от 0,5 до 10 мм. Расход - на 1 мм слоя. Предел прочности при сжатии после 28 суток выдержки не менее 30 МПа | |
Полимерцементная стяжка марки Ceresit CN 178 | 2,0 кг/м2 | Наносится шпателем слоем тол- щиной от 5 до 80 мм. Расход - на 1 мм слоя. Предел прочности при сжатии после 28 суток выдержки не менее 25 МПа | |
Стяжка из цементно-песча- ного раствора марки М150 | 0,02 м3/м2 | ||
Стяжка из бетона класса В12,5 | 0,02 м3/м2 | ||
11 | Водно-дисперси- онная грунтовка Ceresit CT 17 | 0,1 - 0,2 л/м2 | Наносится кистью или валиком на очищенную поверхность бетонного основания |
Водно-дисперси- онная грунтовка Ceresit CN 94 | 40 г/м2 | Наносится кистью или валиком на очищенную поверхность бетонного основания. Разбавляется водой в соотношении 1:3 | |
Водно-дисперси- онная грунтовка Thomsit R 777 | 300 г/м2 | Наносится кистью или валиком на очищенную поверхность бетонного основания | |
Водно-дисперси- онная грунтовка Thomsit R 766 | 150 г/м2 | Наносится кистью или валиком на очищенную поверхность бетонного основания. Разбавляется водой в соотношении 1:1 | |
12 | Бетонное осно- вание из бетона класса В22,5 | 0,08 м3/м2 | |
13 | Наливная гидро- изоляция - щебень или гравий, пропи- танные битумом | Щебень или гравий - 0,04 - 0,05 м3/м2, битум - по факту | |
14 | Грунт основания |

Поз. | Наименование | Расход | Примечание |
1 | Лаковое покрытие | Конструкции лаковых покрытий, расход материалов и технология нанесения в соответствии с инструкцией фирмы-производителя | |
2 | Массивная доска | 1,02 м2/м2 | |
3 | Саморез | ||
4 | Полиуретановый двухкомпонентный клей Thomsit P 625 | 1000 - 1400 г/м2 на один слой | Не содержит органический растворитель. Наносится зубчатым шпателем |
5 | Водно-дисперси- онная грунтовка Thomsit R 766 | 40 г/м2 | Наносится валиком на очищенную поверхность сборной стяжки. Раз- бавляется водой в соотношении 1:4 |
6 | Сборная стяжка из фанеры | 2,04 м2/м2 | |
7 | Закрепление шурупами или дюбелями | Шаг между шурупами или дюбелями 300 мм, по кромке листа - 150 мм | |
8 | Растворный клей Thomsit P 600 | 1200 - 1600 г/м2 | Содержит растворитель. Наносится зубчатым шпателем |
9 | Водно-дисперси- онная грунтовка Thomsit R 777 | 300 г/м2 бетонная стяжка 100 г/м2 цементно- песчаная стяжка | Наносится кистью или валиком на очищенную поверхность бетонной или цементно-песчаной стяжки. При нанесении на цементно-песчаную стяжку разбавляется водой в соотношении 1:1 |
Водно-дисперси- онная грунтовка Thomsit R 766 | 150 г/м2 бетонная стяжка 40 г/м2 цементно- песчаная стяжка | Наносится кистью или валиком на очищенную поверхность бетонной или цементно-песчаной стяжки. При нанесении на бетонную стяжку разбавляется водой в соотношении 1:1, на цементно-песчаную стяжку - в соотношении 1:4 | |
10 | Полимерцементная саморазравнива- ющаяся стяжка марки Ceresit CN 69 | 1,8 кг/м2 | Наносится шпателем слоем толщиной от 3 до 15 мм. Расход - на 1 мм слоя. Предел прочности при сжатии после 28 суток выдержки не менее 18 МПа |
Полимерцементная саморазравнива- ющаяся стяжка марки Thomsit DD | 1,5 кг/м2 | Наносится шпателем слоем толщиной от 0,5 до 5 мм. Расход - на 1 мм слоя. Предел прочности при сжатии после 28 суток выдержки не менее 22 МПа | |
Полимерцементная саморазравнива- ющаяся стяжка марки Thomsit DX | 1,5 кг/м2 | Наносится шпателем слоем толщиной от 0,5 до 10 мм. Расход - на 1 мм слоя. Предел прочности при сжатии после 28 суток выдержки не менее 30 МПа | |
Полимерцементная стяжка марки Ceresit CN 178 | 2,0 кг/м2 | Наносится шпателем слоем толщиной от 5 до 80 мм. Расход - на 1 мм слоя. Предел прочности при сжатии после 28 суток выдержки не менее 25 МПа | |
Стяжка из цементно-песча- ного раствора марки М150 | 0,02 м3/м2 | ||
Стяжка из бетона класса В12,5 | 0,02 м3/м2 | ||
11 | Водно-дисперси- онная грунтовка Ceresit CT 17 | 0,1 - 0,2 л/м2 | Наносится кистью или валиком на очищенную поверхность бетонного основания |
Водно-дисперси- онная грунтовка Ceresit CN 94 | 40 г/м2 | Наносится кистью или валиком на очищенную поверхность бетонного основания. Разбавляется водой в соотношении 1:3 | |
Водно-дисперси- онная грунтовка Thomsit R 777 | 300 г/м2 | Наносится кистью или валиком на очищенную поверхность бетонного основания | |
Водно-дисперси- онная грунтовка Thomsit R 766 | 150 г/м2 | Наносится кистью или валиком на очищенную поверхность бетонного основания. Разбавляется водой в соотношении 1:1 | |
12 | Бетонное осно- вание из бетона класса В22,5 | 0,08 м3/м2 | |
13 | Рулонная гидроизоляция | 1,02 м2/м2 | |
Обмазочная гидроизоляция на основе жесткой гидроизолирующей массы Ceresit CR 65 | 3 - 5 кг/м2 | ||
14 | Стяжка из цементно- песчаного раствора М150 | 0,05 м3/м2 | |
15 | Грунт основания |

Поз. | Наименование | Расход | Примечание |
1 | Лаковое покрытие | Конструкции лаковых покрытий, расход материалов и технология нанесения в соответствии с инструкцией фирмы-производителя | |
2 | Массивная доска | 1,02 м2/м2 | |
3 | Саморез | ||
4 | Полиуретановый двухкомпонентный клей Thomsit P 625 | 1000 - 1400 г/м2 на один слой | Не содержит органический растворитель. Наносится зубчатым шпателем |
5 | Водно-дисперси- онная грунтовка Thomsit R 766 | 40 г/м2 | Наносится кистью или валиком на очищенную поверхность сборной стяжки. Разбавляется водой в соотношении 1:4 |
6 | Сборная стяжка из фанеры | 2,04 м2/м2 | |
7 | Закрепление шурупами или дюбелями | Шаг между шурупами или дюбелями 300 мм, по кромке листа - 150 мм | |
8 | Растворный клей Thomsit P 600 | 1200 - 1600 г/м2 | Содержит растворитель. Наносится зубчатым шпателем |
9 | Водно-дисперси- онная грунтовка Thomsit R 777 | 300 г/м2 бетонная стяжка 100 г/м2 цементно- песчаная стяжка | Наносится кистью или валиком на очищенную поверхность бетонной или цементно-песчаной стяжки. При нанесении на цементно-песчаную стяжку разбавляется водой в соотношении 1:1 |
Водно-дисперси- онная грунтовка Thomsit R 766 | 150 г/м2 бетонная стяжка 40 г/м2 цементно- песчаная стяжка | Наносится кистью или валиком на очищенную поверхность бетонной или цементно-песчаной стяжки. При нанесении на бетонную стяжку разбавляется водой в соотношении 1:1, на цементно-песчаную стяжку - в соотношении 1:4 | |
10 | Стяжка из цементно-песча- ного раствора марки М150 | Расход материала определяется толщиной стяжки, которая должна превышать на 15 - 20 мм диаметр трубы | |
Стяжка из бетона класса В12,5 | Расход материала определяется толщиной стяжки, которая должна превышать на 15 - 20 мм диаметр трубы | ||
Полимерцементная стяжка марки Ceresit CN 178 | Расход материала определяется толщиной стяжки, которая должна превышать на 15 - 20 мм диаметр трубы | ||
Полимерцементная стяжка марки Ceresit CN 83 | Расход материала определяется толщиной стяжки, которая должна превышать на 15 - 20 мм диаметр трубы, но не должна превышать 35 мм | ||
11 | Труба | ||
12 | Водно-дисперси- онная грунтовка Ceresit CT 17 | 0,1 - 0,2 л/м2 | Наносится кистью или валиком на очищенную поверхность бетонного основания |
Водно-дисперси- онная грунтовка Ceresit CN 94 | 40 г/м2 | Наносится кистью или валиком на очищенную поверхность бетонного основания. Разбавляется водой в соотношении 1:3 | |
Водно-дисперси- онная грунтовка Thomsit R 777 | 300 г/м2 | Наносится кистью или валиком на очищенную поверхность бетонного основания | |
Водно-дисперси- онная грунтовка Thomsit R 766 | 150 г/м2 | Наносится кистью или валиком на очищенную поверхность бетонного основания. Разбавляется водой в соотношении 1:1 | |
13 | Бетонное осно- вание из бетона класса В22,5 | 0,08 м3/м2 | |
14 | Грунт основания |

Поз. | Наименование | Расход | Примечание |
1 | Лаковое покрытие | Конструкции лаковых покрытий, расход материалов и технология нанесения в соответствии с инструкцией фирмы-производителя | |
2 | Массивная доска | 1,02 м2/м2 | |
3 | Саморез | ||
4 | Полиуретановый двухкомпонентный клей Thomsit P 625 | 1000 - 1400 г/м2 | Не содержит органический растворитель. Наносится зубчатым шпателем |
5 | Водно-дисперси- онная грунтовка Thomsit R 766 | 40 г/м2 | Наносится валиком на очищенную поверхность сборной стяжки. Раз- бавляется водой в соотношении 1:4 |
6 | Сборная стяжка из ДСП | 1,02 м2/м2 | |
7 | Растворный клей Thomsit P 600 | 40 - 50 г/п.м. | |
8 | Пароизоляция - пергамин | 1,15 м2/м2 | |
9 | Кварцевый песок | По факту | Расход - минимально необходимый для выравнивания поверхности нижележащего слоя |
10 | Бетонное осно- вание из бетона класса В22,5 | 0,08 м3/м2 | |
11 | Грунт основания |

Поз. | Наименование | Расход | Примечание |
1 | Лаковое покрытие | Конструкции лаковых покрытий, расход материалов и технология нанесения в соответствии с инструкцией фирмы-производителя | |
2 | Массивная доска | 1,02 м2/м2 | |
3 | Саморез | ||
4 | Полиуретановый двухкомпонентный клей Thomsit P 625 | 1000 - 1400 г/м2 | Не содержит органический растворитель. Наносится зубчатым шпателем |
5 | Водно-дисперси- онная грунтовка Thomsit R 766 | 40 г/м2 | Наносится валиком на очищенную поверхность сборной стяжки. Раз- бавляется водой в соотношении 1:4 |
6 | Сборная стяжка из фанеры | 2,04 м2/м2 | |
7 | Закрепление шурупами или дюбелями | Шаг между шурупами или дюбелями 300 мм, по кромке листа - 150 мм | |
8 | Растворный клей Thomsit P 600 | 1200 - 1600 г/м2 | Содержит растворитель. Наносится зубчатым шпателем |
9 | Лага регулируемая | Согласно инструкции | Монтаж лаг осуществляется в соответствии с инструкцией фирмы-производителя |
10 | Болт-стойка | Согласно инструкции | Установка болт-стоек осуществляется в соответствии с инструкцией фирмы-производителя |
11 | Труба | ||
12 | Пароизоляция - полиэтиленовая пленка | 1,15 м2/м2 | |
13 | Бетонное осно- вание из бетона класса В22,5 | 0,08 м3/м2 | |
14 | Грунт основания |

Поз. | Наименование | Расход | Примечание |
1 | Лаковое покрытие | Конструкции лаковых покрытий, расход материалов и технология нанесения в соответствии с инструкцией фирмы-производителя | |
2 | Массивная доска | 1,02 м2/м2 | |
3 | Саморез | ||
4 | Полиуретановый двухкомпонентный клей Thomsit P 625 | 1000 - 1400 г/м2 | Не содержит органический растворитель. Наносится зубчатым шпателем |
5 | Водно-дисперси- онная грунтовка Thomsit R 766 | 40 г/м2 | Наносится валиком на очищенную поверхность сборной стяжки. Разбавляется водой в соотношении 1:4 |
6 | Сборная стяжка из фанеры | 2,04 м2/м2 | |
7 | Закрепление шурупами или дюбелями | Шаг между шурупами или дюбелями 300 мм, по кромке листа - 150 мм | |
8 | Растворный клей Thomsit P 600 | 1200 - 1600 г/м2 | Содержит растворитель. Наносится зубчатым шпателем |
9 | Лага обыкновенная | 0,004 - 0,005 м3/п.м. | |
10 | Деревянная прокладка | 0,0006 м3/столбик | |
11 | Рулонная гидроизоляция | 0,05 м2/столбик | |
12 | Кирпичный или бетонный столбик | 0,0017 м3/столбик | |
13 | Бетонное осно- вание из бетона класса В22,5 | 0,08 м3/м2 | |
14 | Грунт основания |

Поз. | Наименование | Расход | Примечание |
1 | Лаковое покрытие | Конструкции лаковых покрытий, расход материалов и технология нанесения в соответствии с инструкцией фирмы-производителя | |
2 | Массивная доска | 1,02 м2/м2 | |
3 | Саморез | ||
4 | Полиуретановый двухкомпонентный клей Thomsit P 625 | 1000 - 1400 г/м2 | Не содержит органический растворитель. Наносится зубчатым шпателем |
5 | Водно-дисперси- онная грунтовка Thomsit R 766 | 40 г/м2 | Наносится валиком на очищенную поверхность сборной стяжки. Разбавляется водой в соотношении 1:4 |
6 | Сборная стяжка из фанеры | 2,04 м2/м2 | |
7 | Закрепление шурупами или дюбелями | Шаг между шурупами или дюбелями 300 мм, по кромке листа - 150 мм | |
8 | Растворный клей Thomsit P 600 | 1200 - 1600 г/м2 | Содержит растворитель. Наносится зубчатым шпателем |
9 | Лага обыкновенная | 0,004 - 0,005 м3/п.м. | |
10 | Деревянная прокладка | 0,0006 м3/столбик | |
11 | Рулонная гидроизоляция | 0,05 м2/столбик | |
12 | Кирпичный или бетонный столбик | 0,0034 м3/столбик | |
13 | Грунт основания |

Поз. | Наименование | Расход | Примечание |
1 | Лаковое покрытие | Конструкции лаковых покрытий, расход материалов и технология нанесения в соответствии с инструкцией фирмы-производителя | |
2 | Массивная доска | 1,02 м2/м2 | |
3 | Саморез | ||
4 | Полиуретановый двухкомпонентный клей Thomsit P 625 | 1000 - 1400 г/м2 на один слой | Не содержит органический растворитель. Наносится зубчатым шпателем |
5 | Водно-дисперси- онная грунтовка Thomsit R 766 | 40 г/м2 | Наносится валиком на очищенную поверхность сборной стяжки. Раз- бавляется водой в соотношении 1:4 |
6 | Сборная стяжка из фанеры | 2,04 м2/м2 | |
7 | Закрепление шурупами или дюбелями | Шаг между шурупами или дюбелями 300 мм, по кромке листа - 150 мм | |
8 | Растворный клей Thomsit P 600 | 1200 - 1600 г/м2 | Содержит растворитель. Наносится зубчатым шпателем |
9 | Водно-дисперси- онная грунтовка Thomsit R 777 | 300 г/м2 бетонная стяжка 100 г/м2 цементно- песчаная стяжка | Наносится кистью или валиком на очищенную поверхность бетонной или цементно-песчаной стяжки. При нанесении на цементно-песчаную стяжку разбавляется водой в соотношении 1:1 |
Водно-дисперси- онная грунтовка Thomsit R 766 | 150 г/м2 бетонная стяжка 40 г/м2 цементно- песчаная стяжка | Наносится кистью или валиком на очищенную поверхность бетонной или цементно-песчаной стяжки. При нанесении на бетонную стяжку разбавляется водой в соотношении 1:1, на цементно-песчаную стяжку - в соотношении 1:4 | |
10 | Полимерцемент- ная саморазрав- нивающаяся стяжка марки Ceresit CN 69 | 1,8 кг/м2 | Наносится шпателем слоем толщиной от 3 до 15 мм. Расход - на 1 мм слоя. Предел прочности при сжатии после 28 суток выдержки не менее 18 МПа |
Полимерцементная саморазравнива- ющаяся стяжка марки Thomsit DD | 1,5 кг/м2 | Наносится шпателем слоем толщиной от 0,5 до 5 мм. Расход - на 1 мм слоя. Предел прочности при сжатии после 28 суток выдержки не менее 22 МПа | |
Полимерцементная саморазравнива- ющаяся стяжка марки Thomsit DX | 1,5 кг/м2 | Наносится шпателем слоем толщиной от 0,5 до 10 мм. Расход - на 1 мм слоя. Предел прочности при сжатии после 28 суток выдержки не менее 30 МПа | |
Полимерцементная стяжка марки Ceresit CN 178 | 2,0 кг/м2 | Наносится шпателем слоем толщиной от 5 до 80 мм. Расход - на 1 мм слоя. Предел прочности при сжатии после 28 суток выдержки не менее 25 МПа | |
Стяжка из цементно-песча- ного раствора марки М150 | 0,02 м3/м2 | ||
Стяжка из бетона класса В12,5 | 0,02 м3/м2 | ||
11 | Водно-дисперси- онная грунтовка Ceresit CT 17 | 0,1 - 0,2 л/м2 | Наносится кистью или валиком на очищенную поверхность бетонного основания |
Водно-дисперси- онная грунтовка Ceresit CN 94 | 40 г/м2 | Наносится кистью или валиком на очищенную поверхность бетонного основания. Разбавляется водой в соотношении 1:3 | |
Водно-дисперси- онная грунтовка Thomsit R 777 | 300 г/м2 | Наносится кистью или валиком на очищенную поверхность бетонного основания | |
Водно-дисперси- онная грунтовка Thomsit R 766 | 150 г/м2 | Наносится кистью или валиком на очищенную поверхность бетонного основания. Разбавляется водой в соотношении 1:1 | |
12 | Сплошное или многопустотное междуэтажное железобетонное перекрытие |

Поз. | Наименование | Расход | Примечание |
1 | Лаковое покрытие | Конструкции лаковых покрытий, расход материалов и технология нанесения в соответствии с инструкцией фирмы-производителя | |
2 | Массивная доска | 1,02 м2/м2 | |
3 | Саморез | ||
4 | Полиуретановый двухкомпонентный клей Thomsit P 625 | 1000 - 1400 г/м2 на один слой | Не содержит органический растворитель. Наносится зубчатым шпателем |
5 | Водно-дисперси- онная грунтовка Thomsit R 766 | 40 г/м2 | Наносится кистью или валиком на очищенную поверхность сборной стяжки. Разбавляется водой в соотношении 1:4 |
6 | Сборная стяжка из фанеры | 2,04 м2/м2 | |
7 | Закрепление шурупами или дюбелями | Шаг между шурупами или дюбелями 300 мм, по кромке листа - 150 мм | |
8 | Растворный клей Thomsit P 600 | 1200 - 1600 г/м2 | Содержит растворитель. Наносится зубчатым шпателем |
9 | Водно-дисперси- онная грунтовка Thomsit R 777 | 300 г/м2 бетонная стяжка 100 г/м2 цементно- песчаная стяжка | Наносится кистью или валиком на очищенную поверхность бетонной или цементно-песчаной стяжки. При нанесении на цементно-песчаную стяжку разбавляется водой в соотношении 1:1 |
Водно-дисперси- онная грунтовка Thomsit R 766 | 150 г/м2 бетонная стяжка 40 г/м2 цементно- песчаная стяжка | Наносится кистью или валиком на очищенную поверхность бетонной или цементно-песчаной стяжки. При нанесении на бетонную стяжку разбавляется водой в соотношении 1:1, на цементно-песчаную стяжку - в соотношении 1:4 | |
10 | Стяжка из цементно-песча- ного раствора марки М150 | Расход материала определяется толщиной стяжки, которая должна превышать на 15 - 20 мм диаметр трубы | |
Стяжка из бетона класса В12,5 | Расход материала определяется толщиной стяжки, которая должна превышать на 15 - 20 мм диаметр трубы | ||
Полимерцементная стяжка марки Ceresit CN 178 | Расход материала определяется толщиной стяжки, которая должна превышать на 15 - 20 мм диаметр трубы | ||
Полимерцементная стяжка марки Ceresit CN 83 | Расход материала определяется толщиной стяжки, которая должна превышать на 15 - 20 мм диаметр трубы, но не должна превышать 35 мм | ||
11 | Труба | ||
12 | Водно-дисперси- онная грунтовка Ceresit CT 17 | 0,1 - 0,2 л/м2 | Наносится кистью или валиком на очищенную поверхность бетонного основания |
Водно-дисперси- онная грунтовка Ceresit CN 94 | 40 г/м2 | Наносится кистью или валиком на очищенную поверхность бетонного основания. Разбавляется водой в соотношении 1:3 | |
Водно-дисперси- онная грунтовка Thomsit R 777 | 300 г/м2 | Наносится кистью или валиком на очищенную поверхность бетонного основания | |
Водно-дисперси- онная грунтовка Thomsit R 766 | 150 г/м2 | Наносится кистью или валиком на очищенную поверхность бетонного основания. Разбавляется водой в соотношении 1:1 | |
13 | Сплошное или многопустотное междуэтажное железобетонное перекрытие |

Поз. | Наименование | Расход | Примечание |
1 | Лаковое покрытие | Конструкции лаковых покрытий, расход материалов и технология нанесения в соответствии с инструкцией фирмы-производителя | |
2 | Массивная доска | 1,02 м2/м2 | |
3 | Саморез | ||
4 | Полиуретановый двухкомпонентный клей Thomsit P 625 | 1000 - 1400 г/м2 на один слой | Не содержит органический растворитель. Наносится зубчатым шпателем |
5 | Водно-дисперси- онная грунтовка Thomsit R 766 | 40 г/м2 | Наносится кистью или валиком на очищенную поверхность сборной стяжки. Разбавляется водой в соотношении 1:4 |
6 | Сборная стяжка из фанеры | 2,04 м2/м2 | |
7 | Закрепление шурупами или дюбелями | Шаг между шурупами или дюбелями 300 мм, по кромке листа - 150 мм | |
8 | Растворный клей Thomsit P 600 | 1200 - 1600 г/м2 | Содержит растворитель. Наносится зубчатым шпателем |
9 | Водно-дисперси- онная грунтовка Thomsit R 777 | 300 г/м2 бетонная стяжка 100 г/м2 цементно- песчаная стяжка | Наносится кистью или валиком на очищенную поверхность бетонной или цементно-песчаной стяжки. При нанесении на цементно-песчаную стяжку разбавляется водой в соотношении 1:1 |
Водно-дисперси- онная грунтовка Thomsit R 766 | 150 г/м2 бетонная стяжка 40 г/м2 цементно- песчаная стяжка | Наносится кистью или валиком на очищенную поверхность бетонной или цементно-песчаной стяжки. При нанесении на бетонную стяжку разбавляется водой в соотношении 1:1, на цементно-песчаную стяжку - в соотношении 1:4 | |
10 | Стяжка из цементно-песча- ного раствора марки М150 | 0,04 м3/м2 | |
Стяжка из бетона класса В12,5 | 0,04 м3/м2 | ||
Полимерцементная стяжка марки Ceresit CN 178 | 0,04 м3/м2 | ||
11 | Полиэтиленовая пленка | 1,15 м3/м2 | |
12 | Тепло- и звукоизоляция из кварцевого или керамзитового песка | Толщина слоя и расход материалов назначаются в соответствии с расчетами по параметрам тепло- и звукоизоляции | |
13 | Сплошная или многопустотная плита перекрытия |

Поз. | Наименование | Расход | Примечание |
1 | Лаковое покрытие | Конструкции лаковых покрытий, расход материалов и технология нанесения в соответствии с инструкцией фирмы-производителя | |
2 | Массивная доска | 1,02 м2/м2 | |
3 | Саморез | ||
4 | Полиуретановый двухкомпонентный клей Thomsit P 625 | 1000 - 1400 г/м2 на один слой | Не содержит органический растворитель. Наносится зубчатым шпателем |
5 | Водно-дисперси- онная грунтовка Thomsit R 766 | 40 г/м2 | Наносится кистью или валиком на очищенную поверхность сборной стяжки. Разбавляется водой в соотношении 1:4 |
6 | Сборная стяжка из фанеры | 2,04 м2/м2 | |
7 | Закрепление шурупами или дюбелями | Шаг между шурупами или дюбелями 300 мм, по кромке листа - 150 мм | |
8 | Растворный клей Thomsit P 600 | 1200 - 1600 г/м2 | Содержит растворитель. Наносится зубчатым шпателем |
9 | Водно-дисперси- онная грунтовка Thomsit R 777 | 300 г/м2 бетонная стяжка 100 г/м2 цементно- песчаная стяжка | Наносится кистью или валиком на очищенную поверхность бетонной или цементно-песчаной стяжки. При нанесении на цементно-песчаную стяжку разбавляется водой в соотношении 1:1 |
Водно-дисперси- онная грунтовка Thomsit R 766 | 150 г/м2 бетонная стяжка 40 г/м2 цементно- песчаная стяжка | Наносится кистью или валиком на очищенную поверхность бетонной или цементно-песчаной стяжки. При нанесении на бетонную стяжку разбавляется водой в соотношении 1:1, на цементно-песчаную стяжку - в соотношении 1:4 | |
10 | Стяжка из цементно-песча- ного раствора марки М150 | 0,04 м3/м2 | |
Стяжка из бетона класса В12,5 | 0,04 м3/м2 | ||
Полимерцементная стяжка марки Ceresit CN 178 | 0,04 м3/м2 | ||
11 | Полиэтиленовая пленка | 1,15 м3/м2 | |
12 | Тепло- и звукоизоляция из плит или матов | Толщина слоя и расход материалов назначаются в соответствии с расчетами по параметрам тепло- и звукоизоляции | |
13 | Сплошная или многопустотная плита перекрытия |

Поз. | Наименование | Расход | Примечание |
1 | Лаковое покрытие | Конструкции лаковых покрытий, расход материалов и технология нанесения в соответствии с инструкцией фирмы-производителя | |
2 | Массивная доска | 1,02 м2/м2 | |
3 | Саморез | ||
4 | Полиуретановый двухкомпонентный клей Thomsit P 625 | 1000 - 1400 г/м2 | Не содержит органический растворитель. Наносится зубчатым шпателем |
5 | Водно-дисперси- онная грунтовка Thomsit R 766 | 40 г/м2 | Наносится валиком на очищенную поверхность сборной стяжки. Раз- бавляется водой в соотношении 1:4 |
6 | Сборная стяжка из ДСП | 1,02 м2/м2 | |
7 | Растворный клей Thomsit P 600 | 40 - 50 г/п.м. | |
8 | Пароизоляция - пергамин | 1,15 м2/м2 | |
9 | Кварцевый песок | По факту | Расход - минимально необходимый для выравнивания поверхности нижележащего слоя |
10 | Сплошное или многопустотное междуэтажное железобетонное перекрытие |

Поз. | Наименование | Расход | Примечание |
1 | Лаковое покрытие | Конструкции лаковых покрытий, расход материалов и технология нанесения в соответствии с инструкцией фирмы-производителя | |
2 | Массивная доска | 1,02 м2/м2 | |
3 | Саморез | ||
4 | Полиуретановый двухкомпонентный клей Thomsit P 625 | 1000 - 1400 г/м2 | Не содержит органический растворитель. Наносится зубчатым шпателем |
5 | Водно-дисперси- онная грунтовка Thomsit R 766 | 40 г/м2 | Наносится валиком на очищенную поверхность сборной стяжки. Раз- бавляется водой в соотношении 1:4 |
6 | Сборная стяжка из ДСП | 1,02 м2/м2 | |
7 | Растворный клей Thomsit P 600 | 40 - 50 г/п.м. | |
8 | Пароизоляция - пергамин | 1,15 м2/м2 | |
9 | Тепло- и звуко- изоляция из плит или матов | Толщина слоя и расход материалов назначаются в соответствии с расчетами по параметрам тепло- и звукоизоляции | |
10 | Выравнивающая шпаклевка | По факту | |
11 | Сплошное или многопустотное междуэтажное железобетонное перекрытие с неровной поверхностью |

Поз. | Наименование | Расход | Примечание |
1 | Лаковое покрытие | Конструкции лаковых покрытий, расход материалов и технология нанесения в соответствии с инструкцией фирмы-производителя | |
2 | Массивная доска | 1,02 м2/м2 | |
3 | Саморез | ||
4 | Полиуретановый двухкомпонентный клей Thomsit P 625 | 1000 - 1400 г/м2 | Не содержит органический растворитель. Наносится зубчатым шпателем |
5 | Водно-дисперси- онная грунтовка Thomsit R 766 | 40 г/м2 | Наносится валиком на очищенную поверхность сборной стяжки. Раз- бавляется водой в соотношении 1:4 |
6 | Сборная стяжка из фанеры | 2,04 м2/м2 | |
7 | Закрепление шурупами или дюбелями | Шаг между шурупами или дюбелями 300 мм, по кромке листа - 150 мм | |
8 | Растворный клей Thomsit P 600 | 1200 - 1600 г/м2 | Содержит растворитель. Наносится зубчатым шпателем |
9 | Лага регулируемая | Согласно инструкции | Монтаж лаг осуществляется в соответствии с инструкцией фирмы-производителя |
10 | Болт-стойка | Согласно инструкции | Установка болт-стоек осуществляется в соответствии с инструкцией фирмы-производителя |
11 | Труба | ||
12 | Пароизоляция - полиэтиленовая пленка | 1,15 м2/м2 | |
13 | Сплошное или многопустотное междуэтажное железобетонное перекрытие |

Поз. | Наименование | Расход | Примечание |
1 | Лаковое покрытие | Конструкции лаковых покрытий, расход материалов и технология нанесения в соответствии с инструкцией фирмы-производителя | |
2 | Массивная доска | 1,02 м2/м2 | |
3 | Саморез | ||
4 | Полиуретановый двухкомпонентный клей Thomsit P 625 | 1000 - 1400 г/м2 | Не содержит органический растворитель. Наносится зубчатым шпателем |
5 | Водно-дисперси- онная грунтовка Thomsit R 766 | 40 г/м2 | Наносится валиком на очищенную поверхность сборной стяжки. Раз- бавляется водой в соотношении 1:4 |
6 | Сборная стяжка из фанеры | 2,04 м2/м2 | |
7 | Закрепление шурупами или дюбелями | Шаг между шурупами или дюбелями 300 мм, по кромке листа - 150 мм | |
8 | Растворный клей Thomsit P 600 | 1200 - 1600 г/м2 | Содержит растворитель. Наносится зубчатым шпателем |
9 | Лага регулируемая | Согласно инструкции | Монтаж лаг осуществляется в соответствии с инструкцией фирмы-производителя |
10 | Болт-стойка | Согласно инструкции | Установка болт-стоек осуществляется в соответствии с инструкцией фирмы-производителя |
11 | Тепло- и звукоизоляция из плит или матов | Толщина слоя и расход материалов назначаются в соответствии с расчетами по параметрам тепло- и звукоизоляции | |
12 | Пароизоляция - полиэтиленовая пленка | 1,15 м2/м2 | |
13 | Сплошное или многопустотное междуэтажное железобетонное перекрытие |

Поз. | Наименование | Расход | Примечание |
1 | Лаковое покрытие | Конструкции лаковых покрытий, расход материалов и технология нанесения в соответствии с инструкцией фирмы-производителя | |
2 | Массивная доска | 1,02 м2/м2 | |
3 | Саморез | ||
4 | Полиуретановый двухкомпонентный клей Thomsit P 625 | 1000 - 1400 г/м2 | Не содержит органический растворитель. Наносится зубчатым шпателем |
5 | Водно-дисперси- онная грунтовка Thomsit R 766 | 40 г/м2 | Наносится валиком на очищенную поверхность сборной стяжки. Разбавляется водой в соотношении 1:4 |
6 | Сборная стяжка из фанеры | 2,04 м2/м2 | |
7 | Закрепление шурупами или дюбелями | Шаг между шурупами или дюбелями 300 мм, по кромке листа - 150 мм | |
8 | Растворный клей Thomsit P 600 | 1200 - 1600 г/м2 | Содержит растворитель. Наносится зубчатым шпателем |
9 | Лага обыкновенная | 0,004 - 0,005 м3/п.м. | |
10 | Кварцевый песок | По факту | Расход - минимально необходимый для выравнивания поверхности нижележащего слоя |
11 | Сплошное или многопустотное междуэтажное железобетонное перекрытие с неровной поверхностью |

Поз. | Наименование | Расход | Примечание |
1 | Лаковое покрытие | Конструкции лаковых покрытий, расход материалов и технология нанесения в соответствии с инструкцией фирмы-производителя | |
2 | Массивная доска | 1,02 м2/м2 | |
3 | Саморез | ||
4 | Полиуретановый двухкомпонентный клей Thomsit P 625 | 1000 - 1400 г/м2 | Не содержит органический растворитель. Наносится зубчатым шпателем |
5 | Водно-дисперси- онная грунтовка Thomsit R 766 | 40 г/м2 | Наносится валиком на очищенную поверхность сборной стяжки. Разбавляется водой в соотношении 1:4 |
6 | Сборная стяжка из фанеры | 2,04 м2/м2 | |
7 | Закрепление шурупами или дюбелями | Шаг между шурупами или дюбелями 300 мм, по кромке листа - 150 мм | |
8 | Растворный клей Thomsit P 600 | 1200 - 1600 г/м2 | Содержит растворитель. Наносится зубчатым шпателем |
9 | Лага обыкновенная | 0,004 - 0,005 м3/п.м. | |
10 | Звукоизолирующая прокладка | 0,15 м2/п.м. | Материал и толщина звукоизолирующей прокладки назначаются в соответствии с расчетами по параметрам звукоизоляции |
11 | Кварцевый песок | По факту | Расход - минимально необходимый для выравнивания поверхности нижележащего слоя |
12 | Сплошное или многопустотное междуэтажное железобетонное перекрытие с неровной поверхностью |

Поз. | Наименование | Расход | Примечание |
1 | Лаковое покрытие | Конструкции лаковых покрытий, расход материалов и технология нанесения в соответствии с инструкцией фирмы-производителя | |
2 | Наборный паркет из различных пород дерева (паркетный ковер) | 1,02 м2/м2 | |
3 | Мелкий гвоздь | ||
4 | Водно-дисперси- онный клей Thomsit P 618 | 1000 - 1400 г/м2 на один слой | Применяется для мозаичного паркета из любых пород дерева. Не содержит органический растворитель. Наносится зубчатым шпателем |
Растворный клей Thomsit P 600 | 1200 - 1600 г/м2 на один слой | Применяется для паркета из любых пород дерева. Содержит раствори- тель. Наносится зубчатым шпателем | |
Полиуретановый двухкомпонентный клей Thomsit P 625 | 1000 - 1400 г/м2 на один слой | Применяется для паркета из любых пород дерева. Не содержит органический растворитель. Наносится зубчатым шпателем слоем толщиной не более 1 мм | |
5 | Водно-дисперси- онная грунтовка Thomsit R 766 | 40 г/м2 | Наносится валиком на очищенную поверхность сборной стяжки. Раз- бавляется водой в соотношении 1:4 |
6 | Сборная стяжка из фанеры | 2,04 м2/м2 | |
7 | Закрепление шурупами или дюбелями | Шаг между шурупами или дюбелями 300 мм, по кромке листа - 150 мм | |
8 | Растворный клей Thomsit P 600 | 1200 - 1600 г/м2 | Содержит растворитель. Наносится зубчатым шпателем |
9 | Водно-дисперси- онная грунтовка Thomsit R 777 | 300 г/м2 бетонная стяжка 100 г/м2 цементно- песчаная стяжка | Наносится кистью или валиком на очищенную поверхность бетонной или цементно-песчаной стяжки. При нанесении на цементно-песчаную стяжку разбавляется водой в соотношении 1:1 |
Водно-дисперси- онная грунтовка Thomsit R 766 | 150 г/м2 бетонная стяжка 40 г/м2 цементно- песчаная стяжка | Наносится кистью или валиком на очищенную поверхность бетонной или цементно-песчаной стяжки. При нанесении на бетонную стяжку разбавляется водой в соотношении 1:1, на цементно-песчаную стяжку - в соотношении 1:4 | |
10 | Полимерцементная саморазравнива- ющаяся стяжка марки Ceresit CN 69 | 1,8 кг/м2 | Наносится шпателем слоем толщиной от 3 до 15 мм. Расход - на 1 мм слоя. Предел прочности при сжатии после 28 суток выдержки не менее 18 МПа |
Полимерцементная саморазравнива- ющаяся стяжка марки Thomsit DD | 1,5 кг/м2 | Наносится шпателем слоем толщиной от 0,5 до 5 мм. Расход - на 1 мм слоя. Предел прочности при сжатии после 28 суток выдержки не менее 22 МПа | |
Полимерцементная саморазравнива- ющаяся стяжка марки Thomsit DX | 1,5 кг/м2 | Наносится шпателем слоем толщиной от 0,5 до 10 мм. Расход - на 1 мм слоя. Предел прочности при сжатии после 28 суток выдержки не менее 30 МПа | |
Полимерцементная стяжка марки Ceresit CN 178 | 2,0 кг/м2 | Наносится шпателем слоем толщиной от 5 до 80 мм. Расход - на 1 мм слоя. Предел прочности при сжатии после 28 суток выдержки не менее 25 МПа | |
Стяжка из цементно-песча- ного раствора марки М150 | 0,02 м3/м2 | ||
Стяжка из бетона класса В12,5 | 0,02 м3/м2 | ||
11 | Водно-дисперси- онная грунтовка Ceresit CT 17 | 0,1 - 0,2 л/м2 | Наносится кистью или валиком на очищенную поверхность бетонного основания |
Водно-дисперси- онная грунтовка Ceresit CN 94 | 40 г/м2 | Наносится кистью или валиком на очищенную поверхность бетонного основания. Разбавляется водой в соотношении 1:3 | |
Водно-дисперси- онная грунтовка Thomsit R 777 | 300 г/м2 | Наносится кистью или валиком на очищенную поверхность бетонного основания | |
Водно-дисперси- онная грунтовка Thomsit R 766 | 150 г/м2 | Наносится кистью или валиком на очищенную поверхность бетонного основания. Разбавляется водой в соотношении 1:1 | |
12 | Бетонное осно- вание из бетона класса В22,5 | 0,08 м3/м2 | |
13 | Грунт основания |

Поз. | Наименование | Расход | Примечание |
1 | Лаковое покрытие | Конструкции лаковых покрытий, расход материалов и технология нанесения в соответствии с инструкцией фирмы-производителя | |
2 | Наборный паркет из различных пород дерева (паркетный ковер) | 1,02 м2/м2 | |
3 | Мелкий гвоздь | ||
4 | Водно-дисперси- онный клей Thomsit P 618 | 1000 - 1400 г/м2 на один слой | Применяется для мозаичного паркета из любых пород дерева. Не содержит органический растворитель. Наносится зубчатым шпателем |
Растворный клей Thomsit P 600 | 1200 - 1600 г/м2 на один слой | Применяется для паркета из любых пород дерева. Содержит раствори- тель. Наносится зубчатым шпателем | |
Полиуретановый двухкомпонентный клей Thomsit P 625 | 1000 - 1400 г/м2 на один слой | Применяется для паркета из любых пород дерева. Не содержит органический растворитель. Наносится зубчатым шпателем слоем толщиной не более 1 мм | |
5 | Водно-дисперси- онная грунтовка Thomsit R 766 | 40 г/м2 | Наносится валиком на очищенную поверхность сборной стяжки. Раз- бавляется водой в соотношении 1:4 |
6 | Сборная стяжка из фанеры | 2,04 м2/м2 | |
7 | Закрепление шурупами или дюбелями | Шаг между шурупами или дюбелями 300 мм, по кромке листа - 150 мм | |
8 | Растворный клей Thomsit P 600 | 1200 - 1600 г/м2 | Содержит растворитель. Наносится зубчатым шпателем |
9 | Водно-дисперси- онная грунтовка Thomsit R 777 | 300 г/м2 бетонная стяжка 100 г/м2 цементно- песчаная стяжка | Наносится кистью или валиком на очищенную поверхность бетонной или цементно-песчаной стяжки. При нанесении на цементно-песчаную стяжку разбавляется водой в соотношении 1:1 |
Водно-дисперси- онная грунтовка Thomsit R 766 | 150 г/м2 бетонная стяжка 40 г/м2 цементно- песчаная стяжка | Наносится кистью или валиком на очищенную поверхность бетонной или цементно-песчаной стяжки. При нанесении на бетонную стяжку разбавляется водой в соотношении 1:1, на цементно-песчаную стяжку - в соотношении 1:4 | |
10 | Полимерцементная саморазравнива- ющаяся стяжка марки Ceresit CN 69 | 1,8 кг/м2 | Наносится шпателем слоем толщиной от 3 до 15 мм. Расход - на 1 мм слоя. Предел прочности при сжатии после 28 суток выдержки не менее 18 МПа |
Полимерцементная саморазравнива- ющаяся стяжка марки Thomsit DD | 1,5 кг/м2 | Наносится шпателем слоем толщиной от 0,5 до 5 мм. Расход - на 1 мм слоя. Предел прочности при сжатии после 28 суток выдержки не менее 22 МПа | |
Полимерцементная саморазравнива- ющаяся стяжка марки Thomsit DX | 1,5 кг/м2 | Наносится шпателем слоем толщиной от 0,5 до 10 мм. Расход - на 1 мм слоя. Предел прочности при сжатии после 28 суток выдержки не менее 30 МПа | |
Полимерцементная стяжка марки Ceresit CN 178 | 2,0 кг/м2 | Наносится шпателем слоем толщиной от 5 до 80 мм. Расход - на 1 мм слоя. Предел прочности при сжатии после 28 суток выдержки не менее 25 МПа | |
Стяжка из цементно-песча- ного раствора марки М150 | 0,02 м3/м2 | ||
Стяжка из бетона класса В12,5 | 0,02 м3/м2 | ||
11 | Водно-дисперси- онная грунтовка Ceresit CT 17 | 0,1 - 0,2 л/м2 | Наносится кистью или валиком на очищенную поверхность бетонного основания |
Водно-дисперси- онная грунтовка Ceresit CN 94 | 40 г/м2 | Наносится кистью или валиком на очищенную поверхность бетонного основания. Разбавляется водой в соотношении 1:3 | |
Водно-дисперси- онная грунтовка Thomsit R 777 | 300 г/м2 | Наносится кистью или валиком на очищенную поверхность бетонного основания | |
Водно-дисперси- онная грунтовка Thomsit R 766 | 150 г/м2 | Наносится кистью или валиком на очищенную поверхность бетонного основания. Разбавляется водой в соотношении 1:1 | |
12 | Бетонное осно- вание из бетона класса В22,5 | 0,08 м3/м2 | |
13 | Наливная гидро- изоляция - щебень или гра- вий, пропитанные битумом | Щебень или гравий - 0,04 - 0,05 м3/м2, битум - по факту | |
14 | Грунт основания |

Поз. | Наименование | Расход | Примечание |
1 | Лаковое покрытие | Конструкции лаковых покрытий, расход материалов и технология нанесения в соответствии с инструкцией фирмы-производителя | |
2 | Наборный паркет из различных пород дерева (паркетный ковер) | 1,02 м2/м2 | |
3 | Мелкий гвоздь | ||
4 | Водно-дисперси- онный клей Thomsit P 618 | 1000 - 1400 г/м2 на один слой | Применяется для мозаичного паркета из любых пород дерева. Не содержит органический растворитель. Наносится зубчатым шпателем |
Растворный клей Thomsit P 600 | 1200 - 1600 г/м2 на один слой | Применяется для паркета из любых пород дерева. Содержит раствори- тель. Наносится зубчатым шпателем | |
Полиуретановый двухкомпонентный клей Thomsit P 625 | 1000 - 1400 г/м2 на один слой | Применяется для паркета из любых пород дерева. Не содержит органический растворитель. Наносится зубчатым шпателем слоем толщиной не более 1 мм | |
5 | Водно-дисперси- онная грунтовка Thomsit R 766 | 40 г/м2 | Наносится валиком на очищенную поверхность сборной стяжки. Раз- бавляется водой в соотношении 1:4 |
6 | Сборная стяжка из фанеры | 2,04 м2/м2 | |
7 | Закрепление шурупами или дюбелями | Шаг между шурупами или дюбелями 300 мм, по кромке листа - 150 мм | |
8 | Растворный клей Thomsit P 600 | 1200 - 1600 г/м2 | Содержит растворитель. Наносится зубчатым шпателем |
9 | Водно-дисперси- онная грунтовка Thomsit R 777 | 300 г/м2 бетонная стяжка 100 г/м2 цементно- песчаная стяжка | Наносится кистью или валиком на очищенную поверхность бетонной или цементно-песчаной стяжки. При нанесении на цементно-песчаную стяжку разбавляется водой в соотношении 1:1 |
Водно-дисперси- онная грунтовка Thomsit R 766 | 150 г/м2 бетонная стяжка 40 г/м2 цементно- песчаная стяжка | Наносится кистью или валиком на очищенную поверхность бетонной или цементно-песчаной стяжки. При нанесении на бетонную стяжку разбавляется водой в соотношении 1:1, на цементно-песчаную стяжку - в соотношении 1:4 | |
10 | Полимерцементная саморазравнива- ющаяся стяжка марки Ceresit CN 69 | 1,8 кг/м2 | Наносится шпателем слоем толщиной от 3 до 15 мм. Расход - на 1 мм слоя. Предел прочности при сжатии после 28 суток выдержки не менее 18 МПа |
Полимерцементная саморазравнива- ющаяся стяжка марки Thomsit DD | 1,5 кг/м2 | Наносится шпателем слоем толщиной от 0,5 до 5 мм. Расход - на 1 мм слоя. Предел прочности при сжатии после 28 суток выдержки не менее 22 МПа | |
Полимерцементная саморазравнива- ющаяся стяжка марки Thomsit DX | 1,5 кг/м2 | Наносится шпателем слоем толщиной от 0,5 до 10 мм. Расход - на 1 мм слоя. Предел прочности при сжатии после 28 суток выдержки не менее 30 МПа | |
Полимерцементная стяжка марки Ceresit CN 178 | 2,0 кг/м2 | Наносится шпателем слоем толщиной от 5 до 80 мм. Расход - на 1 мм слоя. Предел прочности при сжатии после 28 суток выдержки не менее 25 МПа | |
Стяжка из цементно-песча- ного раствора марки М150 | 0,02 м3/м2 | ||
Стяжка из бетона класса В12,5 | 0,02 м3/м2 | ||
11 | Водно-дисперси- онная грунтовка Ceresit CT 17 | 0,1 - 0,2 л/м2 | Наносится кистью или валиком на очищенную поверхность бетонного основания |
Водно-дисперси- онная грунтовка Ceresit CN 94 | 40 г/м2 | Наносится кистью или валиком на очищенную поверхность бетонного основания. Разбавляется водой в соотношении 1:3 | |
Водно-дисперси- онная грунтовка Thomsit R 777 | 300 г/м2 | Наносится кистью или валиком на очищенную поверхность бетонного основания | |
Водно-дисперси- онная грунтовка Thomsit R 766 | 150 г/м2 | Наносится кистью или валиком на очищенную поверхность бетонного основания. Разбавляется водой в соотношении 1:1 | |
12 | Бетонное осно- вание из бетона класса В22,5 | 0,08 м3/м2 | |
13 | Рулонная гидроизоляция | 1,02 м2/м2 | |
Обмазочная гидроизоляция на основе жесткой гидроизолирующей массы Ceresit CR 65 | 3 - 5 кг/м2 | ||
14 | Стяжка из цементно- песчаного раствора М150 | 0,05 м3/м2 | |
15 | Грунт основания |

Поз. | Наименование | Расход | Примечание |
1 | Лаковое покрытие | Конструкции лаковых покрытий, расход материалов и технология нанесения в соответствии с инструкцией фирмы-производителя | |
2 | Наборный паркет из различных пород дерева (паркетный ковер) | 1,02 м2/м2 | |
3 | Мелкий гвоздь | ||
4 | Водно-дисперси- онный клей Thomsit P 618 | 1000 - 1400 г/м2 на один слой | Применяется для мозаичного паркета из любых пород дерева. Не содержит органический растворитель. Наносится зубчатым шпателем |
Растворный клей Thomsit P 600 | 1200 - 1600 г/м2 на один слой | Применяется для паркета из любых пород дерева. Содержит раствори- тель. Наносится зубчатым шпателем | |
Полиуретановый двухкомпонентный клей Thomsit P 625 | 1000 - 1400 г/м2 на один слой | Применяется для паркета из любых пород дерева. Не содержит органический растворитель. Наносится зубчатым шпателем слоем толщиной не более 1 мм | |
5 | Водно-дисперси- онная грунтовка Thomsit R 766 | 40 г/м2 | Наносится кистью или валиком на очищенную поверхность сборной стяжки. Разбавляется водой в соотношении 1:4 |
6 | Сборная стяжка из фанеры | 2,04 м2/м2 | |
7 | Закрепление шурупами или дюбелями | Шаг между шурупами или дюбелями 300 мм, по кромке листа - 150 мм | |
8 | Растворный клей Thomsit P 600 | 1200 - 1600 г/м2 | Содержит растворитель. Наносится зубчатым шпателем |
9 | Водно-дисперси- онная грунтовка Thomsit R 777 | 300 г/м2 бетонная стяжка 100 г/м2 цементно- песчаная стяжка | Наносится кистью или валиком на очищенную поверхность бетонной или цементно-песчаной стяжки. При нанесении на цементно-песчаную стяжку разбавляется водой в соотношении 1:1 |
Водно-дисперси- онная грунтовка Thomsit R 766 | 150 г/м2 бетонная стяжка 40 г/м2 цементно- песчаная стяжка | Наносится кистью или валиком на очищенную поверхность бетонной или цементно-песчаной стяжки. При нанесении на бетонную стяжку разбавляется водой в соотношении 1:1, на цементно-песчаную стяжку - в соотношении 1:4 | |
10 | Стяжка из цементно-песча- ного раствора марки М150 | Расход материала определяется толщиной стяжки, которая должна превышать на 15 - 20 мм диаметр трубы | |
Стяжка из бетона класса В12,5 | Расход материала определяется толщиной стяжки, которая должна превышать на 15 - 20 мм диаметр трубы | ||
Полимерцементная стяжка марки Ceresit CN 178 | Расход материала определяется толщиной стяжки, которая должна превышать на 15 - 20 мм диаметр трубы | ||
Полимерцементная стяжка марки Ceresit CN 83 | Расход материала определяется толщиной стяжки, которая должна превышать на 15 - 20 мм диаметр трубы, но не должна превышать 35 мм | ||
11 | Труба | ||
12 | Водно-дисперси- онная грунтовка Ceresit CT 17 | 0,1 - 0,2 л/м2 | Наносится кистью или валиком на очищенную поверхность бетонного основания |
Водно-дисперси- онная грунтовка Ceresit CN 94 | 40 г/м2 | Наносится кистью или валиком на очищенную поверхность бетонного основания. Разбавляется водой в соотношении 1:3 | |
Водно-дисперси- онная грунтовка Thomsit R 777 | 300 г/м2 | Наносится кистью или валиком на очищенную поверхность бетонного основания | |
Водно-дисперси- онная грунтовка Thomsit R 766 | 150 г/м2 | Наносится кистью или валиком на очищенную поверхность бетонного основания. Разбавляется водой в соотношении 1:1 | |
13 | Бетонное осно- вание из бетона класса В22,5 | 0,08 м3/м2 | |
14 | Грунт основания |

Поз. | Наименование | Расход | Примечание |
1 | Лаковое покрытие | Конструкции лаковых покрытий, расход материалов и технология нанесения в соответствии с инструкцией фирмы-производителя | |
2 | Наборный паркет из различных пород дерева (паркетный ковер) | 1,02 м2/м2 | |
3 | Мелкий гвоздь | ||
4 | Водно-дисперси- онный клей Thomsit R 618 | 1000 - 1400 г/м2 | Применяется для мозаичного паркета из любых пород дерева. Не содержит органический растворитель. Наносится зубчатым шпателем |
Растворный клей Thomsit P 600 | 1200 - 1600 г/м2 | Применяется для паркета из любых пород дерева. Содержит раствори- тель. Наносится зубчатым шпателем | |
Полиуретановый двухкомпонентный клей Thomsit P 625 | 1000 - 1400 г/м2 | Применяется для паркета из любых пород дерева. Не содержит органический растворитель. Наносится зубчатым шпателем слоем толщиной не более 1 мм | |
5 | Водно-дисперси- онная грунтовка Thomsit R 766 | 40 г/м2 | Наносится валиком на очищенную поверхность сборной стяжки. Раз- бавляется водой в соотношении 1:4 |
6 | Сборная стяжка из ДСП | 1,02 м2/м2 | |
7 | Растворный клей Thomsit P 600 | 40 - 50 г/п.м. | |
8 | Пароизоляция - пергамин | 1,15 м2/м2 | |
9 | Кварцевый песок | По факту | Расход - минимально необходимый для выравнивания поверхности нижележащего слоя |
10 | Бетонное осно- вание из бетона класса В22,5 | 0,08 м3/м2 | |
11 | Грунт основания |

Поз. | Наименование | Расход | Примечание |
1 | Лаковое покрытие | Конструкции лаковых покрытий, расход материалов и технология нанесения в соответствии с инструкцией фирмы-производителя | |
2 | Наборный паркет из различных пород дерева (паркетный ковер) | 1,02 м2/м2 | |
3 | Мелкий гвоздь | ||
4 | Водно-дисперси- онный клей Thomsit R 618 | 1000 - 1400 г/м2 | Применяется для мозаичного паркета из любых пород дерева. Не содержит органический растворитель. Наносится зубчатым шпателем |
Растворный клей Thomsit P 600 | 1200 - 1600 г/м2 | Применяется для паркета из любых пород дерева. Содержит раствори- тель. Наносится зубчатым шпателем | |
Полиуретановый двухкомпонентный клей Thomsit P 625 | 1000 - 1400 г/м2 | Применяется для паркета из любых пород дерева. Не содержит органический растворитель. Наносится зубчатым шпателем слоем толщиной не более 1 мм | |
5 | Водно-дисперси- онная грунтовка Thomsit R 766 | 40 г/м2 | Наносится валиком на очищенную поверхность сборной стяжки. Раз- бавляется водой в соотношении 1:4 |
6 | Сборная стяжка из фанеры | 2,04 м2/м2 | Шаг между шурупами или дюбелями 300 мм, по кромке листа - 150 мм |
7 | Закрепление шурупами или дюбелями | Содержит растворитель. Наносится зубчатым шпателем | |
8 | Растворный клей Thomsit P 600 | 1200 - 1600 г/м2 | Монтаж лаг осуществляется в соответствии с инструкцией фирмы-производителя |
9 | Лага регулируемая | Согласно инструкции | Установка болт-стоек осуществляется в соответствии с инструкцией фирмы-производителя |
10 | Болт-стойка | Согласно инструкции | |
11 | Труба | ||
12 | Пароизоляция - полиэтиленовая пленка | 1,15 м2/м2 | |
13 | Бетонное осно- вание из бетона класса В22,5 | 0,08 м3/м2 | |
14 | Грунт основания |

Поз. | Наименование | Расход | Примечание |
1 | Лаковое покрытие | Конструкции лаковых покрытий, расход материалов и технология нанесения в соответствии с инструкцией фирмы-производителя | |
2 | Наборный паркет из различных пород дерева (паркетный ковер) | 1,02 м2/м2 | |
3 | Мелкий гвоздь | ||
4 | Водно-дисперси- онный клей Thomsit R 618 | 1000 - 1400 г/м2 | Применяется для мозаичного паркета из любых пород дерева. Не содержит органический растворитель. Наносится зубчатым шпателем |
Растворный клей Thomsit P 600 | 1200 - 1600 г/м2 | Применяется для паркета из любых пород дерева. Содержит растворитель. Наносится зубчатым шпателем | |
Полиуретановый двухкомпонентный клей Thomsit P 625 | 1000 - 1400 г/м2 | Применяется для паркета из любых пород дерева. Не содержит органический растворитель. Наносится зубчатым шпателем слоем толщиной не более 1 мм | |
5 | Водно-дисперси- онная грунтовка Thomsit R 766 | 40 г/м2 | Наносится валиком на очищенную поверхность сборной стяжки. Разбавляется водой в соотношении 1:4 |
6 | Сборная стяжка из фанеры | 2,04 м2/м2 | |
7 | Закрепление шурупами или дюбелями | Шаг между шурупами или дюбелями 300 мм, по кромке листа - 150 мм | |
8 | Растворный клей Thomsit P 600 | 1200 - 1600 г/м2 | Содержит растворитель. Наносится зубчатым шпателем |
9 | Лага обыкновенная | 0,004 - 0,005 м3/п.м. | |
10 | Деревянная прокладка | 0,0006 м3/столбик | |
11 | Рулонная гидроизоляция | 0,05 м2/столбик | |
12 | Кирпичный или бетонный столбик | 0,0017 м3/столбик | |
13 | Бетонное осно- вание из бетона класса В22,5 | 0,08 м3/м2 | |
14 | Грунт основания |

Поз. | Наименование | Расход | Примечание |
1 | Лаковое покрытие | Конструкции лаковых покрытий, расход материалов и технология нанесения в соответствии с инструкцией фирмы-производителя | |
2 | Наборный паркет из различных пород дерева (паркетный ковер) | 1,02 м2/м2 | |
3 | Мелкий гвоздь | ||
4 | Водно-дисперси- онный клей Thomsit R 618 | 1000 - 1400 г/м2 | Применяется для мозаичного паркета из любых пород дерева. Не содержит органический растворитель. Наносится зубчатым шпателем |
Растворный клей Thomsit P 600 | 1200 - 1600 г/м2 | Применяется для паркета из любых пород дерева. Содержит растворитель. Наносится зубчатым шпателем | |
Полиуретановый двухкомпонентный клей Thomsit P 625 | 1000 - 1400 г/м2 | Применяется для паркета из любых пород дерева. Не содержит органический растворитель. Наносится зубчатым шпателем слоем толщиной не более 1 мм | |
5 | Водно-дисперси- онная грунтовка Thomsit R 766 | 40 г/м2 | Наносится валиком на очищенную поверхность сборной стяжки. Разбавляется водой в соотношении 1:4 |
6 | Сборная стяжка из фанеры | 2,04 м2/м2 | |
7 | Закрепление шурупами или дюбелями | Шаг между шурупами или дюбелями 300 мм, по кромке листа - 150 мм | |
8 | Растворный клей Thomsit P 600 | 1200 - 1600 г/м2 | Содержит растворитель. Наносится зубчатым шпателем |
9 | Лага обыкновенная | 0,004 - 0,005 м3/п.м. | |
10 | Деревянная прокладка | 0,0006 м3/столбик | |
11 | Рулонная гидроизоляция | 0,05 м2/столбик | |
12 | Кирпичный или бетонный столбик | 0,0034 м3/столбик | |
13 | Грунт основания | 0,08 м3/м2 |

Поз. | Наименование | Расход | Примечание |
1 | Лаковое покрытие | Конструкции лаковых покрытий, расход материалов и технология нанесения в соответствии с инструкцией фирмы-производителя | |
2 | Наборный паркет из различных пород дерева (паркетный ковер) | 1,02 м2/м2 | |
3 | Мелкий гвоздь | ||
4 | Водно-дисперси- онный клей Thomsit P 618 | 1000 - 1400 г/м2 на один слой | Применяется для мозаичного паркета из любых пород дерева. Не содержит органический растворитель. Наносится зубчатым шпателем |
Растворный клей Thomsit P 600 | 1200 - 1600 г/м2 на один слой | Применяется для паркета из любых пород дерева. Содержит раствори- тель. Наносится зубчатым шпателем | |
Полиуретановый двухкомпонентный клей Thomsit P 625 | 1000 - 1400 г/м2 на один слой | Применяется для паркета из любых пород дерева. Не содержит органический растворитель. Наносится зубчатым шпателем слоем толщиной не более 1 мм | |
5 | Водно-дисперси- онная грунтовка Thomsit R 766 | 40 г/м2 | Наносится валиком на очищенную поверхность сборной стяжки. Раз- бавляется водой в соотношении 1:4 |
6 | Сборная стяжка из фанеры | 2,04 м2/м2 | |
7 | Закрепление шурупами или дюбелями | Шаг между шурупами или дюбелями 300 мм, по кромке листа - 150 мм | |
8 | Растворный клей Thomsit P 600 | 1200 - 1600 г/м2 | Содержит растворитель. Наносится зубчатым шпателем |
9 | Водно-дисперси- онная грунтовка Thomsit R 777 | 300 г/м2 бетонная стяжка 100 г/м2 цементно- песчаная стяжка | Наносится кистью или валиком на очищенную поверхность бетонной или цементно-песчаной стяжки. При нанесении на цементно-песчаную стяжку разбавляется водой в соотношении 1:1 |
Водно-дисперси- онная грунтовка Thomsit R 766 | 150 г/м2 бетонная стяжка 40 г/м2 цементно- песчаная стяжка | Наносится кистью или валиком на очищенную поверхность бетонной или цементно-песчаной стяжки. При нанесении на бетонную стяжку разбавляется водой в соотношении 1:1, на цементно-песчаную стяжку - в соотношении 1:4 | |
10 | Полимерцементная саморазравниваю- щаяся стяжка марки Ceresit CN 69 | 1,8 кг/м2 | Наносится шпателем слоем толщиной от 3 до 15 мм. Расход - на 1 мм слоя. Предел прочности при сжатии после 28 суток выдержки не менее 18 МПа |
Полимерцементная саморазравнива- ющаяся стяжка марки Thomsit DD | 1,5 кг/м2 | Наносится шпателем слоем толщиной от 0,5 до 5 мм. Расход - на 1 мм слоя. Предел прочности при сжатии после 28 суток выдержки не менее 22 МПа | |
Полимерцементная саморазравнива- ющаяся стяжка марки Thomsit DX | 1,5 кг/м2 | Наносится шпателем слоем толщиной от 0,5 до 10 мм. Расход - на 1 мм слоя. Предел прочности при сжатии после 28 суток выдержки не менее 30 МПа | |
Полимерцементная стяжка марки Ceresit CN 178 | 2,0 кг/м2 | Наносится шпателем слоем толщиной от 5 до 80 мм. Расход - на 1 мм слоя. Предел прочности при сжатии после 28 суток выдержки не менее 25 МПа | |
Стяжка из цементно-песча- ного раствора марки М150 | 0,02 м3/м2 | ||
Стяжка из бетона класса В12,5 | 0,02 м3/м2 | ||
11 | Водно-дисперси- онная грунтовка Ceresit CT 17 | 0,1 - 0,2 л/м2 | Наносится кистью или валиком на очищенную поверхность бетонного основания |
Водно-дисперси- онная грунтовка Ceresit CN 94 | 40 г/м2 | Наносится кистью или валиком на очищенную поверхность бетонного основания. Разбавляется водой в соотношении 1:3 | |
Водно-дисперси- онная грунтовка Thomsit R 777 | 300 г/м2 | Наносится кистью или валиком на очищенную поверхность бетонного основания | |
Водно-дисперси- онная грунтовка Thomsit R 766 | 150 г/м2 | Наносится кистью или валиком на очищенную поверхность бетонного основания. Разбавляется водой в соотношении 1:1 | |
12 | Сплошное или многопустотное междуэтажное железобетонное перекрытие |

Поз. | Наименование | Расход | Примечание |
1 | Лаковое покрытие | Конструкции лаковых покрытий, расход материалов и технология нанесения в соответствии с инструкцией фирмы-производителя | |
2 | Наборный паркет из различных пород дерева (паркетный ковер) | 1,02 м2/м2 | |
3 | Мелкий гвоздь | ||
4 | Водно-дисперси- онный клей Thomsit P 618 | 1000 - 1400 г/м2 на один слой | Применяется для мозаичного паркета из любых пород дерева. Не содержит органический растворитель. Наносится зубчатым шпателем |
Растворный клей Thomsit P 600 | 1200 - 1600 г/м2 на один слой | Применяется для паркета из любых пород дерева. Содержит раствори- тель. Наносится зубчатым шпателем | |
Полиуретановый двухкомпонентный клей Thomsit P 625 | 1000 - 1400 г/м2 на один слой | Применяется для паркета из любых пород дерева. Не содержит органический растворитель. Наносится зубчатым шпателем слоем толщиной не более 1 мм | |
5 | Водно-дисперси- онная грунтовка Thomsit R 766 | 40 г/м2 | Наносится кистью или валиком на очищенную поверхность сборной стяжки. Разбавляется водой в соотношении 1:4 |
6 | Сборная стяжка из фанеры | 2,04 м2/м2 | |
7 | Закрепление шурупами или дюбелями | Шаг между шурупами или дюбелями 300 мм, по кромке листа - 150 мм | |
8 | Растворный клей Thomsit P 600 | 1200 - 1600 г/м2 | Содержит растворитель. Наносится зубчатым шпателем |
9 | Водно-дисперси- онная грунтовка Thomsit R 777 | 300 г/м2 бетонная стяжка 100 г/м2 цементно- песчаная стяжка | Наносится кистью или валиком на очищенную поверхность бетонной или цементно-песчаной стяжки. При нанесении на цементно-песчаную стяжку разбавляется водой в соотношении 1:1 |
Водно-дисперси- онная грунтовка Thomsit R 766 | 150 г/м2 бетонная стяжка 40 г/м2 цементно- песчаная стяжка | Наносится кистью или валиком на очищенную поверхность бетонной или цементно-песчаной стяжки. При нанесении на бетонную стяжку разбавляется водой в соотношении 1:1, на цементно-песчаную стяжку - в соотношении 1:4 | |
10 | Стяжка из цементно-песча- ного раствора марки М150 | Расход материала определяется толщиной стяжки, которая должна превышать на 15 - 20 мм диаметр трубы | |
Стяжка из бетона класса В12,5 | Расход материала определяется толщиной стяжки, которая должна превышать на 15 - 20 мм диаметр трубы | ||
Полимерцементная стяжка марки Ceresit CN 178 | Расход материала определяется толщиной стяжки, которая должна превышать на 15 - 20 мм диаметр трубы | ||
Полимерцементная стяжка марки Ceresit CN 83 | Расход материала определяется толщиной стяжки, которая должна превышать на 15 - 20 мм диаметр трубы, но не должна превышать 35 мм | ||
11 | Труба | ||
12 | Водно-дисперси- онная грунтовка Ceresit CT 17 | 0,1 - 0,2 л/м2 | Наносится кистью или валиком на очищенную поверхность бетонного основания |
Водно-дисперси- онная грунтовка Ceresit CN 94 | 40 г/м2 | Наносится кистью или валиком на очищенную поверхность бетонного основания. Разбавляется водой в соотношении 1:3 | |
Водно-дисперси- онная грунтовка Thomsit R 777 | 300 г/м2 | Наносится кистью или валиком на очищенную поверхность бетонного основания | |
Водно-дисперси- онная грунтовка Thomsit R 766 | 150 г/м2 | Наносится кистью или валиком на очищенную поверхность бетонного основания. Разбавляется водой в соотношении 1:1 | |
12 | Сплошное или многопустотное междуэтажное железобетонное перекрытие |

Поз. | Наименование | Расход | Примечание |
1 | Лаковое покрытие | Конструкции лаковых покрытий, расход материалов и технология нанесения в соответствии с инструкцией фирмы-производителя | |
2 | Наборный паркет из различных пород дерева (паркетный ковер) | 1,02 м2/м2 | |
3 | Мелкий гвоздь | ||
4 | Водно-дисперси- онный клей Thomsit P 618 | 1000 - 1400 г/м2 на один слой | Применяется для мозаичного паркета из любых пород дерева. Не содержит органический растворитель. Наносится зубчатым шпателем |
Растворный клей Thomsit P 600 | 1200 - 1600 г/м2 на один слой | Применяется для паркета из любых пород дерева. Содержит раствори- тель. Наносится зубчатым шпателем | |
Полиуретановый двухкомпонентный клей Thomsit P 625 | 1000 - 1400 г/м2 на один слой | Применяется для паркета из любых пород дерева. Не содержит органический растворитель. Наносится зубчатым шпателем слоем толщиной не более 1 мм | |
5 | Водно-дисперси- онная грунтовка Thomsit R 766 | 40 г/м2 | Наносится кистью или валиком на очищенную поверхность сборной стяжки. Разбавляется водой в соотношении 1:4 |
6 | Сборная стяжка из фанеры | 2,04 м2/м2 | |
7 | Закрепление шурупами или дюбелями | Шаг между шурупами или дюбелями 300 мм, по кромке листа - 150 мм | |
8 | Растворный клей Thomsit P 600 | 1200 - 1600 г/м2 | Содержит растворитель. Наносится зубчатым шпателем |
9 | Водно-дисперси- онная грунтовка Thomsit R 777 | 300 г/м2 бетонная стяжка 100 г/м2 цементно- песчаная стяжка | Наносится кистью или валиком на очищенную поверхность бетонной или цементно-песчаной стяжки. При нанесении на цементно-песчаную стяжку разбавляется водой в соотношении 1:1 |
Водно-дисперси- онная грунтовка Thomsit R 766 | 150 г/м2 бетонная стяжка 40 г/м2 цементно- песчаная стяжка | Наносится кистью или валиком на очищенную поверхность бетонной или цементно-песчаной стяжки. При нанесении на бетонную стяжку разбавляется водой в соотношении 1:1, на цементно-песчаную стяжку - в соотношении 1:4 | |
10 | Стяжка из цементно-песча- ного раствора марки М150 | 0,04 м3/м2 | |
Стяжка из бетона класса В12,5 | 0,04 м3/м2 | ||
Полимерцемент- ная стяжка марки Ceresit CN 178 | 0,04 м3/м2 | ||
11 | Полиэтиленовая пленка | 1,15 м3/м2 | |
12 | Тепло- и звукоизоляция из кварцевого или керамзитового песка | Толщина слоя и расход материалов назначаются в соответствии с расчетами по параметрам тепло- и звукоизоляции | |
13 | Сплошная или многопустотная плита перекрытия |

Поз. | Наименование | Расход | Примечание |
1 | Лаковое покрытие | Конструкции лаковых покрытий, расход материалов и технология нанесения в соответствии с инструкцией фирмы-производителя | |
2 | Наборный паркет из различных пород дерева (паркетный ковер) | 1,02 м2/м2 | |
3 | Мелкий гвоздь | ||
4 | Водно-дисперси- онный клей Thomsit P 618 | 1000 - 1400 г/м2 на один слой | Применяется для мозаичного паркета из любых пород дерева. Не содержит органический растворитель. Наносится зубчатым шпателем |
Растворный клей Thomsit P 600 | 1200 - 1600 г/м2 на один слой | Применяется для паркета из любых пород дерева. Содержит раствори- тель. Наносится зубчатым шпателем | |
Полиуретановый двухкомпонентный клей Thomsit P 625 | 1000 - 1400 г/м2 на один слой | Применяется для паркета из любых пород дерева. Не содержит органический растворитель. Наносится зубчатым шпателем слоем толщиной не более 1 мм | |
5 | Водно-дисперси- онная грунтовка Thomsit R 766 | 40 г/м2 | Наносится кистью или валиком на очищенную поверхность сборной стяжки. Разбавляется водой в соотношении 1:4 |
6 | Сборная стяжка из фанеры | 2,04 м2/м2 | |
7 | Закрепление шурупами или дюбелями | Шаг между шурупами или дюбелями 300 мм, по кромке листа - 150 мм | |
8 | Растворный клей Thomsit P 600 | 1200 - 1600 г/м2 | Содержит растворитель. Наносится зубчатым шпателем |
9 | Водно-дисперси- онная грунтовка Thomsit R 777 | 300 г/м2 бетонная стяжка 100 г/м2 цементно- песчаная стяжка | Наносится кистью или валиком на очищенную поверхность бетонной или цементно-песчаной стяжки. При нанесении на цементно-песчаную стяжку разбавляется водой в соотношении 1:1 |
Водно-дисперси- онная грунтовка Thomsit R 766 | 150 г/м2 бетонная стяжка 40 г/м2 цементно- песчаная стяжка | Наносится кистью или валиком на очищенную поверхность бетонной или цементно-песчаной стяжки. При нанесении на бетонную стяжку разбавляется водой в соотношении 1:1, на цементно-песчаную стяжку - в соотношении 1:4 | |
10 | Стяжка из цементно-песча- ного раствора марки М150 | 0,04 м3/м2 | |
Стяжка из бетона класса В12,5 | 0,04 м3/м2 | ||
Полимерцементная стяжка марки Ceresit CN 178 | 0,04 м3/м2 | ||
11 | Полиэтиленовая пленка | 1,15 м3/м2 | |
12 | Тепло- и звукоизоляция из плит или матов | Толщина слоя и расход материалов назначаются в соответствии с расчетами по параметрам тепло- и звукоизоляции | |
13 | Сплошная или многопустотная плита перекрытия |

Поз. | Наименование | Расход | Примечание |
1 | Лаковое покрытие | Конструкции лаковых покрытий, расход материалов и технология нанесения в соответствии с инструкцией фирмы-производителя | |
2 | Наборный паркет из различных пород дерева (паркетный ковер) | 1,02 м2/м2 | |
3 | Мелкий гвоздь | ||
4 | Водно-дисперси- онный клей Thomsit P 618 | 1000 - 1400 г/м2 | Применяется для мозаичного паркета из любых пород дерева. Не содержит органический растворитель. Наносится зубчатым шпателем |
Растворный клей Thomsit P 600 | 1200 - 1600 г/м2 | Применяется для паркета из любых пород дерева. Содержит раствори- тель. Наносится зубчатым шпателем | |
Полиуретановый двухкомпонентный клей Thomsit P 625 | 1000 - 1400 г/м2 | Применяется для паркета из любых пород дерева. Не содержит органический растворитель. Наносится зубчатым шпателем слоем толщиной не более 1 мм | |
5 | Водно-дисперси- онная грунтовка Thomsit R 766 | 40 г/м2 | Наносится валиком на очищенную поверхность сборной стяжки. Раз- бавляется водой в соотношении 1:4 |
6 | Сборная стяжка из ДСП | 1,02 м2/м2 | |
7 | Растворный клей Thomsit P 600 | 40 - 50 г/п.м. | |
8 | Пароизоляция - пергамин | 1,15 м2/м2 | |
9 | Кварцевый песок | По факту | Расход - минимально необходимый для выравнивания поверхности нижележащего слоя |
10 | Сплошное или многопустотное междуэтажное железобетонное перекрытие |

Поз. | Наименование | Расход | Примечание |
1 | Лаковое покрытие | Конструкции лаковых покрытий, расход материалов и технология нанесения в соответствии с инструкцией фирмы-производителя | |
2 | Наборный паркет из различных пород дерева (паркетный ковер) | 1,02 м2/м2 | |
3 | Мелкий гвоздь | ||
4 | Водно-дисперси- онный клей Thomsit P 618 | 1000 - 1400 г/м2 | Применяется для мозаичного паркета из любых пород дерева. Не содержит органический растворитель. Наносится зубчатым шпателем |
Растворный клей Thomsit P 600 | 1200 - 1600 г/м2 | Применяется для паркета из любых пород дерева. Содержит растворитель. Наносится зубчатым шпателем | |
Полиуретановый двухкомпонентный клей Thomsit P 625 | 1000 - 1400 г/м2 | Применяется для паркета из любых пород дерева. Не содержит органический растворитель. Наносится зубчатым шпателем слоем толщиной не более 1 мм | |
5 | Водно-дисперси- онная грунтовка Thomsit R 766 | 40 г/м2 | Наносится валиком на очищенную поверхность сборной стяжки. Разбавляется водой в соотношении 1:4 |
6 | Сборная стяжка из ДСП | 1,02 м2/м2 | |
7 | Растворный клей Thomsit P 600 | 40 - 50 г/п.м. | |
8 | Пароизоляция - пергамин | 1,15 м2/м2 | |
9 | Тепло- и звукоизоляция из плит или матов | Толщина слоя и расход матери- алов назначаются в соответст- вии с расчетами по параметрам тепло- и звукоизоляции | |
10 | Сплошное или многопустотное междуэтажное железобетонное перекрытие |

Поз. | Наименование | Расход | Примечание |
1 | Лаковое покрытие | Конструкции лаковых покрытий, расход материалов и технология нанесения в соответствии с инструкцией фирмы-производителя | |
2 | Наборный паркет из различных пород дерева (паркетный ковер) | 1,02 м2/м2 | |
3 | Мелкий гвоздь | ||
4 | Водно-дисперси- онный клей Thomsit P 618 | 1000 - 1400 г/м2 | Применяется для мозаичного паркета из любых пород дерева. Не содержит органический растворитель. Наносится зубчатым шпателем |
Растворный клей Thomsit P 600 | 1200 - 1600 г/м2 | Применяется для паркета из любых пород дерева. Содержит раствори- тель. Наносится зубчатым шпателем | |
Полиуретановый двухкомпонентный клей Thomsit P 625 | 1000 - 1400 г/м2 | Применяется для паркета из любых пород дерева. Не содержит органический растворитель. Наносится зубчатым шпателем слоем толщиной не более 1 мм | |
5 | Водно-дисперси- онная грунтовка Thomsit R 766 | 40 г/м2 | Наносится валиком на очищенную поверхность сборной стяжки. Раз- бавляется водой в соотношении 1:4 |
6 | Сборная стяжка из фанеры | 2,04 м2/м2 | |
7 | Закрепление шурупами или дюбелями | Шаг между шурупами или дюбелями 300 мм, по кромке листа - 150 мм | |
8 | Растворный клей Thomsit P 600 | 1200 - 1600 г/м2 | Содержит растворитель. Наносится зубчатым шпателем |
9 | Лага регулируемая | Согласно инструкции | Монтаж лаг осуществляется в соответствии с инструкцией фирмы-производителя |
10 | Болт-стойка | Согласно инструкции | Установка болт-стоек осуществляется в соответствии с инструкцией фирмы-производителя |
11 | Труба | ||
12 | Пароизоляция - полиэтиленовая пленка | 1,15 м2/м2 | |
13 | Сплошное или многопустотное междуэтажное железобетонное перекрытие |

Поз. | Наименование | Расход | Примечание |
1 | Лаковое покрытие | Конструкции лаковых покрытий, расход материалов и технология нанесения в соответствии с инструкцией фирмы-производителя | |
2 | Наборный паркет из различных пород дерева (паркетный ковер) | 1,02 м2/м2 | |
3 | Мелкий гвоздь | ||
4 | Водно-дисперси- онный клей Thomsit P 618 | 1000 - 1400 г/м2 | Применяется для мозаичного паркета из любых пород дерева. Не содержит органический растворитель. Наносится зубчатым шпателем |
Растворный клей Thomsit P 600 | 1200 - 1600 г/м2 | Применяется для паркета из любых пород дерева. Содержит раствори- тель. Наносится зубчатым шпателем | |
Полиуретановый двухкомпонентный клей Thomsit P 625 | 1000 - 1400 г/м2 | Применяется для паркета из любых пород дерева. Не содержит органический растворитель. Наносится зубчатым шпателем слоем толщиной не более 1 мм | |
5 | Водно-дисперси- онная грунтовка Thomsit R 766 | 40 г/м2 | Наносится валиком на очищенную поверхность сборной стяжки. Раз- бавляется водой в соотношении 1:4 |
6 | Сборная стяжка из фанеры | 2,04 м2/м2 | |
7 | Закрепление шурупами или дюбелями | Шаг между шурупами или дюбелями 300 мм, по кромке листа - 150 мм | |
8 | Растворный клей Thomsit P 600 | 1200 - 1600 г/м2 | Содержит растворитель. Наносится зубчатым шпателем |
9 | Лага регулируемая | Согласно инструкции | Монтаж лаг осуществляется в соответствии с инструкцией фирмы-производителя |
10 | Болт-стойка | Согласно инструкции | Установка болт-стоек осуществляется в соответствии с инструкцией фирмы-производителя |
11 | Тепло- и звукоизоляция из плит или матов | Толщина слоя и расход материалов назначаются в соответствии с расчетами по параметрам тепло- и звукоизоляции | |
12 | Пароизоляция - полиэтиленовая пленка | 1,15 м2/м2 | |
13 | Сплошное или многопустотное междуэтажное железобетонное перекрытие |

Поз. | Наименование | Расход | Примечание |
1 | Лаковое покрытие | Конструкции лаковых покрытий, расход материалов и технология нанесения в соответствии с инструкцией фирмы-производителя | |
2 | Наборный паркет из различных пород дерева (паркетный ковер) | 1,02 м2/м2 | |
3 | Мелкий гвоздь | ||
4 | Водно-дисперси- онный клей Thomsit P 618 | 1000 - 1400 г/м2 | Применяется для мозаичного паркета из любых пород дерева. Не содержит органический растворитель. Наносится зубчатым шпателем |
Растворный клей Thomsit P 600 | 1200 - 1600 г/м2 | Применяется для паркета из любых пород дерева. Содержит растворитель. Наносится зубчатым шпателем | |
Полиуретановый двухкомпонентный клей Thomsit P 625 | 1000 - 1400 г/м2 | Применяется для паркета из любых пород дерева. Не содержит органический растворитель. Наносится зубчатым шпателем слоем толщиной не более 1 мм | |
5 | Водно-дисперси- онная грунтовка Thomsit R 766 | 40 г/м2 | Наносится валиком на очищенную поверхность сборной стяжки. Разбавляется водой в соотношении 1:4 |
6 | Сборная стяжка из фанеры | 2,04 м2/м2 | |
7 | Закрепление шурупами или дюбелями | Шаг между шурупами или дюбелями 300 мм, по кромке листа - 150 мм | |
8 | Растворный клей Thomsit P 600 | 1200 - 1600 г/м2 | Содержит растворитель. Наносится зубчатым шпателем |
9 | Лага обыкновенная | 0,004 - 0,005 м3/п.м. | |
10 | Кварцевый песок | По факту | Расход - минимально необходимый для выравнивания поверхности нижележащего слоя |
11 | Сплошное или многопустотное междуэтажное железобетонное перекрытие с неровной поверхностью |

Поз. | Наименование | Расход | Примечание |
1 | Лаковое покрытие | Конструкции лаковых покрытий, расход материалов и технология нанесения в соответствии с инструкцией фирмы-производителя | |
2 | Наборный паркет из различных пород дерева (паркетный ковер) | 1,02 м2/м2 | |
3 | Мелкий гвоздь | ||
4 | Водно-дисперси- онный клей Thomsit P 618 | 1000 - 1400 г/м2 | Применяется для мозаичного паркета из любых пород дерева. Не содержит органический растворитель. Наносится зубчатым шпателем |
Растворный клей Thomsit P 600 | 1200 - 1600 г/м2 | Применяется для паркета из любых пород дерева. Содержит растворитель. Наносится зубчатым шпателем | |
Полиуретановый двухкомпонентный клей Thomsit P 625 | 1000 - 1400 г/м2 | Применяется для паркета из любых пород дерева. Не содержит органический растворитель. Наносится зубчатым шпателем слоем толщиной не более 1 мм | |
5 | Водно-дисперси- онная грунтовка Thomsit R 766 | 40 г/м2 | Наносится валиком на очищенную поверхность сборной стяжки. Разбавляется водой в соотношении 1:4 |
6 | Сборная стяжка из фанеры | 2,04 м2/м2 | |
7 | Закрепление шурупами или дюбелями | Шаг между шурупами или дюбелями 300 мм, по кромке листа - 150 мм | |
8 | Растворный клей Thomsit P 600 | 1200 - 1600 г/м2 | Содержит растворитель. Наносится зубчатым шпателем |
9 | Лага обыкновенная | 0,004 - 0,005 м3/п.м. | |
10 | Звукоизолирующая прокладка | 0,15 м2/п.м. | Материал и толщина звукоизолирующей прокладки назначаются в соответствии с расчетами по параметрам звукоизоляции |
11 | Кварцевый песок | По факту | Расход - минимально необходимый для выравнивания поверхности нижележащего слоя |
12 | Сплошное или многопустотное междуэтажное железобетонное перекрытие с неровной поверхностью |

Поз. | Наименование | Расход | Примечание |
1 | Паркетные доски, ламинат | 1,02 м2/м2 | |
2 | Водно-дисперси- онный клей Thomsit P 640 | 25 г/п.м. | |
3 | Стандартная пенополиэтилено- вая подложка | 1 м2/м2 | |
4 | Полимерцементная саморазравнива- ющаяся стяжка марки Ceresit CN 69 | 1,8 кг/м2 | Наносится шпателем слоем толщиной от 3 до 15 мм. Расход - на 1 мм слоя. Предел прочности при сжатии после 28 суток выдержки не менее 18 МПа |
Полимерцементная саморазравнива- ющаяся стяжка марки Thomsit DD | 1,5 кг/м2 | Наносится шпателем слоем толщиной от 0,5 до 5 мм. Расход - на 1 мм слоя. Предел прочности при сжатии после 28 суток выдержки не менее 22 МПа | |
Полимерцементная саморазравнива- ющаяся стяжка марки Thomsit DX | 1,5 кг/м2 | Наносится шпателем слоем толщиной от 0,5 до 10 мм. Расход - на 1 мм слоя. Предел прочности при сжатии после 28 суток выдержки не менее 30 МПа | |
Полимерцементная стяжка марки Ceresit CN 178 | 2,0 кг/м2 | Наносится шпателем слоем толщиной от 5 до 80 мм. Расход - на 1 мм слоя. Предел прочности при сжатии после 28 суток выдержки не менее 25 МПа | |
Стяжка из цементно-песча- ного раствора марки М150 | 0,02 м3/м2 | ||
Стяжка из бетона класса В12,5 | 0,02 м3/м2 | ||
5 | Водно-дисперси- онная грунтовка Ceresit CT 17 | 0,1 - 0,2 л/м2 | Наносится кистью или валиком на очищенную поверхность бетонного основания |
Водно-дисперси- онная грунтовка Ceresit CN 94 | 40 г/м2 | Наносится кистью или валиком на очищенную поверхность бетонного основания. Разбавляется водой в соотношении 1:3 | |
Водно-дисперси- онная грунтовка Thomsit R 777 | 300 г/м2 | Наносится кистью или валиком на очищенную поверхность бетонного основания | |
Водно-дисперси- онная грунтовка Thomsit R 766 | 150 г/м2 | Наносится кистью или валиком на очищенную поверхность бетонного основания. Разбавляется водой в соотношении 1:1 | |
6 | Бетонное осно- вание из бетона класса В22,5 | 0,08 м3/м2 | |
7 | Грунт основания |

Поз. | Наименование | Расход | Примечание |
1 | Паркетные доски, ламинат | 1,02 м2/м2 | |
2 | Водно-дисперси- онный клей Thomsit P 640 | 25 г/п.м. | |
3 | Стандартная пенополиэтиле- новая подложка | 1 м2/м2 | |
4 | Полимерцементная саморазравнива- ющаяся стяжка марки Ceresit CN 69 | 1,8 кг/м2 | Наносится шпателем слоем толщиной от 3 до 15 мм. Расход - на 1 мм слоя. Предел прочности при сжатии после 28 суток выдержки не менее 18 МПа |
Полимерцементная саморазравнива- ющаяся стяжка марки Thomsit DD | 1,5 кг/м2 | Наносится шпателем слоем толщиной от 0,5 до 5 мм. Расход - на 1 мм слоя. Предел прочности при сжатии после 28 суток выдержки не менее 22 МПа | |
Полимерцементная саморазравнива- ющаяся стяжка марки Thomsit DX | 1,5 кг/м2 | Наносится шпателем слоем толщиной от 0,5 до 10 мм. Расход - на 1 мм слоя. Предел прочности при сжатии после 28 суток выдержки не менее 30 МПа | |
Полимерцементная стяжка марки Ceresit CN 178 | 2,0 кг/м2 | Наносится шпателем слоем толщиной от 5 до 80 мм. Расход - на 1 мм слоя. Предел прочности при сжатии после 28 суток выдержки не менее 25 МПа | |
Стяжка из цементно-песча- ного раствора марки М150 | 0,02 м3/м2 | ||
Стяжка из бетона класса В12,5 | 0,02 м3/м2 | ||
5 | Водно-дисперси- онная грунтовка Ceresit CT 17 | 0,1 - 0,2 л/м2 | Наносится кистью или валиком на очищенную поверхность бетонного основания |
Водно-дисперси- онная грунтовка Ceresit CN 94 | 40 г/м2 | Наносится кистью или валиком на очищенную поверхность бетонного основания. Разбавляется водой в соотношении 1:3 | |
Водно-дисперси- онная грунтовка Thomsit R 777 | 300 г/м2 | Наносится кистью или валиком на очищенную поверхность бетонного основания | |
Водно-дисперси- онная грунтовка Thomsit R 766 | 150 г/м2 | Наносится кистью или валиком на очищенную поверхность бетонного основания. Разбавляется водой в соотношении 1:1 | |
6 | Бетонное осно- вание из бетона класса В22,5 | 0,08 м3/м2 | |
7 | Наливная гидроизоляция - щебень или гравий, пропи- танные битумом | Щебень или гравий - 0,04 - 0,05 м3/м2, битум - по факту | |
8 | Грунт основания |

Поз. | Наименование | Расход | Примечание |
1 | Паркетные доски, ламинат | 1,02 м2/м2 | |
2 | Водно-дисперси- онный клей Thomsit P 640 | 25 г/п.м. | |
3 | Стандартная пенополиэтиле- новая подложка | 1 м2/м2 | |
4 | Полимерцементная саморазравнива- ющаяся стяжка марки Ceresit CN 69 | 1,8 кг/м2 | Наносится шпателем слоем толщиной от 3 до 15 мм. Расход - на 1 мм слоя. Предел прочности при сжатии после 28 суток выдержки не менее 18 МПа |
Полимерцементная саморазравнива- ющаяся стяжка марки Thomsit DD | 1,5 кг/м2 | Наносится шпателем слоем толщиной от 0,5 до 5 мм. Расход - на 1 мм слоя. Предел прочности при сжатии после 28 суток выдержки не менее 22 МПа | |
Полимерцементная саморазравнива- ющаяся стяжка марки Thomsit DX | 1,5 кг/м2 | Наносится шпателем слоем толщиной от 0,5 до 10 мм. Расход - на 1 мм слоя. Предел прочности при сжатии после 28 суток выдержки не менее 30 МПа | |
Полимерцементная стяжка марки Ceresit CN 178 | 2,0 кг/м2 | Наносится шпателем слоем толщиной от 5 до 80 мм. Расход - на 1 мм слоя. Предел прочности при сжатии после 28 суток выдержки не менее 25 МПа | |
Стяжка из цементно-песча- ного раствора марки М150 | 0,02 м3/м2 | ||
Стяжка из бетона класса В12,5 | 0,02 м3/м2 | ||
5 | Водно-дисперси- онная грунтовка Ceresit CT 17 | 0,1 - 0,2 л/м2 | Наносится кистью или валиком на очищенную поверхность бетонного основания |
Водно-дисперси- онная грунтовка Ceresit CN 94 | 40 г/м2 | Наносится кистью или валиком на очищенную поверхность бетонного основания. Разбавляется водой в соотношении 1:3 | |
Водно-дисперси- онная грунтовка Thomsit R 777 | 300 г/м2 | Наносится кистью или валиком на очищенную поверхность бетонного основания | |
Водно-дисперси- онная грунтовка Thomsit R 766 | 150 г/м2 | Наносится кистью или валиком на очищенную поверхность бетонного основания. Разбавляется водой в соотношении 1:1 | |
6 | Бетонное осно- вание из бетона класса В22,5 | 0,08 м3/м2 | |
7 | Рулонная гидроизоляция | 1,02 м2/м2 | |
Обмазочная гидроизоляция на основе жесткой гидро- изолирующей массы Ceresit CR 65 | 3 - 5 кг/м2 | ||
8 | Стяжка из цементно- песчаного раствора М150 | 0,05 м3/м2 | |
9 | Грунт основания |

Поз. | Наименование | Расход | Примечание |
1 | Паркетные доски, ламинат | 1,02 м2/м2 | |
2 | Водно-дисперси- онный клей Thomsit P 640 | 25 г/п.м. | |
3 | Стандартная пенополиэтиле- новая подложка | 1 м2/м2 | |
4 | Стяжка из цементно-песча- ного раствора марки М150 | Расход материала определяется толщиной стяжки, которая должна превышать на 15 - 20 мм диаметр трубы | |
Стяжка из бетона класса В12,5 | Расход материала определяется толщиной стяжки, которая должна превышать на 15 - 20 мм диаметр трубы | ||
Полимерцементная стяжка марки Ceresit CN 178 | Расход материала определяется толщиной стяжки, которая должна превышать на 15 - 20 мм диаметр трубы | ||
Полимерцементная стяжка марки Ceresit CN 83 | Расход материала определяется толщиной стяжки, которая должна превышать на 15 - 20 мм диаметр трубы, но не должна превышать 35 мм | ||
5 | Труба | ||
6 | Водно-дисперси- онная грунтовка Ceresit CT 17 | 0,1 - 0,2 л/м2 | Наносится кистью или валиком на очищенную поверхность бетонного основания |
Водно-дисперси- онная грунтовка Ceresit CN 94 | 40 г/м2 | Наносится кистью или валиком на очищенную поверхность бетонного основания. Разбавляется водой в соотношении 1:3 | |
Водно-дисперси- онная грунтовка Thomsit R 777 | 300 г/м2 | Наносится кистью или валиком на очищенную поверхность бетонного основания | |
Водно-дисперси- онная грунтовка Thomsit R 766 | 150 г/м2 | Наносится кистью или валиком на очищенную поверхность бетонного основания. Разбавляется водой в соотношении 1:1 | |
7 | Бетонное осно- вание из бетона класса В22,5 | 0,08 м3/м2 | |
8 | Грунт основания |

Поз. | Наименование | Расход | Примечание |
1 | Паркетные доски, ламинат | 1,02 м2/м2 | |
2 | Водно-дисперсионный клей Thomsit P 640 | 25 г/п.м. | |
3 | Стандартная пенополиэтиленовая подложка | 1 м2/м2 | |
4 | Сборная стяжка из готовых элементов из гипсоволокнистых листов | 1,02 м2/м2 | |
5 | Водно-дисперсионный клей | 40 - 50 г/п.м. | |
6 | Кварцевый песок | По факту | Расход - минимально необходимый для выравнивания поверхности нижележащего слоя |
7 | Пароизоляция - полиэтиленовая пленка | 1,15 м2/м2 | |
8 | Бетонное основание из бетона класса В22,5 | 0,08 м3/м2 | |
9 | Грунт основания |

Поз. | Наименование | Расход | Примечание |
1 | Паркетные доски, ламинат | 1,02 м2/м2 | |
2 | Водно-дисперсионный клей Thomsit P 640 | 25 г/п.м. | |
3 | Стандартная пенополи- этиленовая подложка | 1 м2/м2 | |
4 | Сборная стяжка из готовых элементов из гипсоволокнистых листов | 1,02 м2/м2 | |
5 | Водно-дисперсионный клей | 40 - 50 г/п.м. | |
6 | Кварцевый песок | По расчету | Толщина слоя засыпки должна превышать на 15 - 20 мм высоту кожуха |
7 | Труба | ||
8 | Обкладка трубы пористо-волокнистыми матами | По факту | |
9 | Защитный металлический кожух | ||
10 | Дюбель разжимной | ||
11 | Пароизоляция - полиэтиленовая пленка | 1,15 м2/м2 | |
12 | Бетонное основание из бетона класса В22,5 | 0,08 м3/м2 | |
13 | Грунт основания |

Поз. | Наименование | Расход | Примечание |
1 | Паркетные доски, ламинат | 1,02 м2/м2 | |
2 | Водно-дисперсионный клей Thomsit P 640 | 25 г/п.м. | |
3 | Стандартная пенополи- этиленовая подложка | 1 м2/м2 | |
4 | Сборная стяжка из ДСП | 1,02 м2/м2 | |
5 | Растворный клей Thomsit P 600 | 40 - 50 г/п.м. | |
6 | Пароизоляция - пергамин | 1,15 м2/м2 | |
7 | Кварцевый песок | По факту | Расход - минимально необходимый для выравнивания поверхности нижележащего слоя |
8 | Бетонное основание из бетона класса В22,5 | 0,08 м3/м2 | |
9 | Грунт основания |

Поз. | Наименование | Расход | Примечание |
1 | Паркетные доски, ламинат | 1,02 м2/м2 | |
2 | Водно-дисперсионный клей Thomsit P 640 | 25 г/п.м. | |
3 | Стандартная пенополи- этиленовая подложка | 1 м2/м2 | |
4 | Сборная стяжка из фанеры | 2,04 м2/м2 | |
5 | Растворный клей Thomsit P 600 | 1200 - 1600 г/м2 | Содержит растворитель. Наносится зубчатым шпателем |
6 | Закрепление саморезами | Шаг между саморезами 300 мм, по кромке листов - 150 мм | |
7 | Лага регулируемая | Согласно инструкции | Монтаж лаг осуществляется в соответствии с инструкцией фирмы-производителя |
8 | Болт-стойка | Согласно инструкции | Установка болт-стоек осуществляется в соответствии с инструкцией фирмы-производителя |
9 | Труба | ||
10 | Пароизоляция - полиэтиленовая пленка | 1,15 м2/м2 | |
11 | Бетонное основание из бетона класса В22,5 | 0,08 м3/м2 | |
12 | Грунт основания |

Поз. | Наименование | Расход | Примечание |
1 | Паркетные доски, ламинат | 1,02 м2/м2 | |
2 | Водно-дисперсионный клей Thomsit P 640 | 25 г/п.м. | |
3 | Стандартная пенополи- этиленовая подложка | 1 м2/м2 | |
4 | Сборная стяжка из фанеры | 2,04 м2/м2 | |
5 | Растворный клей Thomsit P 600 | 1200 - 1600 г/м2 | Содержит растворитель. Наносится зубчатым шпателем |
6 | Закрепление саморезами | Шаг между саморезами 300 мм, по кромке листов - 150 мм | |
7 | Лага обыкновенная | 0,004 - 0,005 м3/п.м. | |
8 | Деревянная прокладка | 0,0006 м3/столбик | |
9 | Рулонная гидроизоляция | 0,05 м2/столбик | |
10 | Кирпичный или бетонный столбик | 0,0017 м3/столбик | |
11 | Бетонное основание из бетона класса В22,5 | 0,08 м3/м2 | |
12 | Грунт основания |

Поз. | Наименование | Расход | Примечание |
1 | Паркетные доски, ламинат | 1,02 м2/м2 | |
2 | Водно-дисперсионный клей Thomsit P 640 | 25 г/п.м. | |
3 | Стандартная пенополи- этиленовая подложка | 1 м2/м2 | |
4 | Сборная стяжка из фанеры | 2,04 м2/м2 | |
5 | Растворный клей Thomsit P 600 | 1200 - 1600 г/м2 | Содержит растворитель. Наносится зубчатым шпателем |
6 | Закрепление саморезами | Шаг между саморезами 300 мм, по кромке листов - 150 мм | |
7 | Лага обыкновенная | 0,004 - 0,005 м3/п.м. | |
8 | Деревянная прокладка | 0,0006 м3/столбик | |
9 | Рулонная гидроизоляция | 0,05 м2/столбик | |
10 | Кирпичный или бетонный столбик | 0,0034 м3/столбик | |
11 | Грунт основания |

Поз. | Наименование | Расход | Примечание |
1 | Паркетные доски, ламинат | 1,02 м2/м2 | |
2 | Водно-дисперси- онный клей Thomsit P 640 | 25 г/п.м. | |
3 | Стандартная пенополиэтиле- новая подложка | 1 м2/м2 | |
4 | Полимерцементная саморазравнива- ющаяся стяжка марки Ceresit CN 69 | 1,8 кг/м2 | Наносится шпателем слоем толщиной от 3 до 15 мм. Расход - на 1 мм слоя. Предел прочности при сжатии после 28 суток выдержки не менее 18 МПа |
Полимерцементная саморазравнива- ющаяся стяжка марки Thomsit DD | 1,5 кг/м2 | Наносится шпателем слоем толщиной от 0,5 до 5 мм. Расход - на 1 мм слоя. Предел прочности при сжатии после 28 суток выдержки не менее 22 МПа | |
Полимерцементная саморазравнива- ющаяся стяжка марки Thomsit DX | 1,5 кг/м2 | Наносится шпателем слоем толщиной от 0,5 до 10 мм. Расход - на 1 мм слоя. Предел прочности при сжатии после 28 суток выдержки не менее 30 МПа | |
Полимерцементная стяжка марки Ceresit CN 178 | 2,0 кг/м2 | Наносится шпателем слоем толщиной от 5 до 80 мм. Расход - на 1 мм слоя. Предел прочности при сжатии после 28 суток выдержки не менее 25 МПа | |
Стяжка из цементно-песча- ного раствора марки М150 | 0,02 м3/м2 | ||
Стяжка из бетона класса В12,5 | 0,02 м3/м2 | ||
5 | Водно-дисперси- онная грунтовка Ceresit CT 17 | 0,1 - 0,2 л/м2 | Наносится кистью или валиком на очищенную поверхность бетонного основания |
Водно-дисперси- онная грунтовка Ceresit CN 94 | 40 г/м2 | Наносится кистью или валиком на очищенную поверхность бетонного основания. Разбавляется водой в соотношении 1:3 | |
Водно-дисперси- онная грунтовка Thomsit R 777 | 300 г/м2 | Наносится кистью или валиком на очищенную поверхность бетонного основания | |
Водно-дисперси- онная грунтовка Thomsit R 766 | 150 г/м2 | Наносится кистью или валиком на очищенную поверхность бетонного основания. Разбавляется водой в соотношении 1:1 | |
6 | Сплошная или многопустотная плита перекрытия |

Поз. | Наименование | Расход | Примечание |
1 | Паркетные доски, ламинат | 1,02 м2/м2 | |
2 | Водно-дисперси- онный клей Thomsit P 640 | 25 г/п.м. | |
3 | Стандартная пенополиэтиле- новая подложка | 1 м2/м2 | |
4 | Стяжка из цементно-песча- ного раствора марки М150 | Расход материала определяется толщиной стяжки, которая должна превышать на 15 - 20 мм диаметр трубы | |
Стяжка из бетона класса В12,5 | Расход материала определяется толщиной стяжки, которая должна превышать на 15 - 20 мм диаметр трубы | ||
Полимерцементная стяжка марки Ceresit CN 178 | Расход материала определяется толщиной стяжки, которая должна превышать на 15 - 20 мм диаметр трубы | ||
Полимерцементная стяжка марки Ceresit CN 83 | Расход материала определяется толщиной стяжки, которая должна превышать на 15 - 20 мм диаметр трубы, но не должна превышать 35 мм | ||
5 | Труба | ||
6 | Водно-дисперси- онная грунтовка Ceresit CT 17 | 0,1 - 0,2 л/м2 | Наносится кистью или валиком на очищенную поверхность бетонного основания |
Водно-дисперси- онная грунтовка Ceresit CN 94 | 40 г/м2 | Наносится кистью или валиком на очищенную поверхность бетонного основания. Разбавляется водой в соотношении 1:3 | |
Водно-дисперси- онная грунтовка Thomsit R 777 | 300 г/м2 | Наносится кистью или валиком на очищенную поверхность бетонного основания | |
Водно-дисперси- онная грунтовка Thomsit R 766 | 150 г/м2 | Наносится кистью или валиком на очищенную поверхность бетонного основания. Разбавляется водой в соотношении 1:1 | |
7 | Сплошная или многопустотная плита перекрытия |

Поз. | Наименование | Расход | Примечание |
1 | Паркетные доски, ламинат | 1,02 м2/м2 | |
2 | Водно-дисперсионный клей Thomsit P 640 | 25 г/п.м. | |
3 | Стандартная пенополи- этиленовая подложка | 1 м2/м2 | |
4 | Стяжка из цементно- песчаного раствора марки М150 | 0,04 м3/м2 | |
Стяжка из бетона класса В12,5 | 0,04 м3/м2 | ||
Полимерцементная стяжка марки Ceresit CN 178 | 0,04 м3/м2 | ||
5 | Полиэтиленовая пленка | 1,15 м2/м2 | |
6 | Тепло- и звукоизоляция из кварцевого или керамзитового песка | Толщина слоя и расход материалов назначаются в соответствии с расчетами по параметрам тепло- и звукоизоляции | |
7 | Сплошная или многопустотная плита перекрытия |

Поз. | Наименование | Расход | Примечание |
1 | Паркетные доски, ламинат | 1,02 м2/м2 | |
2 | Водно-дисперсионный клей Thomsit P 640 | 25 г/п.м. | |
3 | Стандартная пенопо- лиэтиленовая подложка | 1 м2/м2 | |
4 | Стяжка из цементно- песчаного раствора марки М150 | 0,04 м3/м2 | |
Стяжка из бетона класса В12,5 | 0,04 м3/м2 | ||
Полимерцементная стяжка марки Ceresit CN 178 | 0,04 м3/м2 | ||
5 | Полиэтиленовая пленка | 1,15 м2/м2 | |
6 | Тепло- и звукоизоляция из плит или матов | Толщина слоя и расход материалов назначаются в соответствии с расчетами по параметрам тепло- и звукоизоляции | |
7 | Сплошная или многопустотная плита перекрытия |

Поз. | Наименование | Расход | Примечание |
1 | Паркетные доски, ламинат | 1,02 м2/м2 | |
2 | Водно-дисперсионный клей Thomsit P 640 | 25 г/п.м. | |
3 | Стандартная пенополиэтиленовая подложка | Выбор толщины прослойки (количество слоев рулонного материала) осуществляется с учетом теплофизических расчетов по параметрам теплоусвоения и звукоизоляции | |
4 | Полимерцементная саморазравнивающаяся стяжка марки Ceresit CN 69 | 1,8 кг/м2 | Наносится шпателем слоем толщиной от 3 до 15 мм. Расход - на 1 мм слоя. Предел прочности при сжатии после 28 суток выдержки не менее 18 МПа |
Полимерцементная саморазравнивающаяся стяжка марки Thomsit DD | 1,5 кг/м2 | Наносится шпателем слоем тол- щиной от 0,5 до 5 мм. Расход - на 1 мм слоя. Предел прочности при сжатии после 28 суток выдержки не менее 22 МПа | |
Полимерцементная саморазравнивающаяся стяжка марки Thomsit DX | 1,5 кг/м2 | Наносится шпателем слоем тол- щиной от 0,5 до 10 мм. Расход - на 1 мм слоя. Предел прочности при сжатии после 28 суток выдержки не менее 30 МПа | |
Полимерцементная стяжка марки Ceresit CN 178 | 2,0 кг/м2 | Наносится шпателем слоем тол- щиной от 5 до 80 мм. Расход - на 1 мм слоя. Предел прочности при сжатии после 28 суток выдержки не менее 25 МПа | |
Стяжка из цементно- песчаного раствора марки М150 | 0,02 м3/м2 | ||
Стяжка из бетона класса В12,5 | 0,02 м3/м2 | ||
5 | Водно-дисперсионная грунтовка Ceresit CT 17 | 0,1 - 0,2 л/м2 | Наносится кистью или валиком на очищенную поверхность бетонного основания |
Водно-дисперсионная грунтовка Ceresit CN 94 | 40 г/м2 | Наносится кистью или валиком на очищенную поверхность бетонного основания. Разбавляется водой в соотношении 1:3 | |
Водно-дисперсионная грунтовка Thomsit R 777 | 300 г/м2 | Наносится кистью или валиком на очищенную поверхность бетонного основания | |
Водно-дисперсионная грунтовка Thomsit R 766 | 150 г/м2 | Наносится кистью или валиком на очищенную поверхность бетонного основания. Разбавляется водой в соотношении 1:1 | |
6 | Сплошная или многопустотная плита перекрытия |

Поз. | Наименование | Расход | Примечание |
1 | Паркетные доски, ламинат | 1,02 м2/м2 | |
2 | Водно-дисперсионный клей Thomsit P 640 | 25 г/п.м. | |
3 | Стандартная пенополи- этиленовая подложка | 1 м2/м2 | |
4 | Сборная стяжка из готовых элементов из гипсоволокнистых листов | 1,02 м2/м2 | |
5 | Водно-дисперсионный клей | 40 - 50 г/п.м. | |
6 | Кварцевый песок | По факту | |
7 | Пароизоляция - полиэтиленовая пленка | 1,15 м2/м2 | Расход - минимально необходимый для выравнивания поверхности нижележащего слоя |
8 | Сплошная или многопустотная плита перекрытия |

Поз. | Наименование | Расход | Примечание |
1 | Паркетные доски, ламинат | 1,02 м2/м2 | |
2 | Водно-дисперсионный клей Thomsit P 640 | 25 г/п.м. | |
3 | Стандартная пенополи- этиленовая подложка | 1 м2/м2 | |
4 | Сборная стяжка из готовых элементов из гипсоволокнистых листов | 1,02 м2/м2 | |
5 | Водно-дисперсионный клей | 40 - 50 г/п.м. | |
6 | Тепло- и звукоизоляция из кварцевого или керамзитового песка | Толщина слоя и расход матери- алов назначаются в соответст- вии с расчетами по параметрам тепло- и звукоизоляции | |
7 | Пароизоляция - полиэтиленовая пленка | 1,15 м2/м2 | Расход - минимально необходимый для выравнивания поверхности нижележащего слоя |
8 | Сплошная или многопустотная плита перекрытия |

Поз. | Наименование | Расход | Примечание |
1 | Паркетные доски, ламинат | 1,02 м2/м2 | |
2 | Водно-дисперсионный клей Thomsit P 640 | 25 г/п.м. | |
3 | Стандартная пенополи- этиленовая подложка | 1 м2/м2 | |
4 | Сборная стяжка из готовых элементов из гипсоволокнистых листов | 1,02 м2/м2 | |
5 | Водно-дисперсионный клей | 40 - 50 г/п.м. | |
6 | Тепло- и звукоизоляция из плит или матов | Толщина слоя и расход матери- алов назначаются в соответст- вии с расчетами по параметрам тепло- и звукоизоляции | |
7 | Пароизоляция - полиэтиленовая пленка | 1,15 м2/м2 | Расход - минимально необходимый для выравнивания поверхности нижележащего слоя |
8 | Сплошная или многопустотная плита перекрытия |

Поз. | Наименование | Расход | Примечание |
1 | Паркетные доски, ламинат | 1,02 м2/м2 | |
2 | Водно-дисперсионный клей Thomsit P 640 | 25 г/п.м. | |
3 | Стандартная пенополи- этиленовая подложка | 1 м2/м2 | |
4 | Сборная стяжка из готовых элементов из гипсоволокнистых листов | 1,02 м2/м2 | |
5 | Водно-дисперсионный клей | 40 - 50 г/п.м. | |
6 | Тепло- и звукоизоли- рующая засыпка из кварцевого или керамзитового песка | По расчету | Толщина слоя и расход матери- алов назначаются в соответст- вии с расчетами по параметрам тепло- и звукоизоляции, но не менее высоты кожуха H + 15 |
7 | Труба | ||
8 | Обкладка трубы пористо-волокнистыми матами | По факту | |
9 | Защитный металлический кожух | ||
10 | Дюбель разжимной | ||
11 | Пароизоляция - полиэтиленовая пленка | 1,15 м2/м2 | |
12 | Сплошная или многопустотная плита перекрытия |

Поз. | Наименование | Расход | Примечание |
1 | Паркетные доски, ламинат | 1,02 м2/м2 | |
2 | Водно-дисперсионный клей Thomsit P 640 | 25 г/п.м. | |
3 | Стандартная пенополи- этиленовая подложка | 1 м2/м2 | |
4 | Сборная стяжка из готовых элементов из гипсоволокнистых листов | 1,02 м2/м2 | |
5 | Водно-дисперсионный клей | 40 - 50 г/п.м. | |
6 | Тепло- и звукоизоляция из плит или матов | По расчету | Толщина слоя и расход матери- алов назначаются в соответст- вии с расчетами по параметрам тепло- и звукоизоляции, но не менее высоты кожуха H + 15 |
7 | Труба | ||
8 | Обкладка трубы пористо-волокнистыми матами | По факту | |
9 | Защитный металлический кожух | ||
10 | Дюбель разжимной | ||
11 | Пароизоляция - полиэтиленовая пленка | 1,15 м2/м2 | |
12 | Сплошная или многопустотная плита перекрытия |

Поз. | Наименование | Расход | Примечание |
1 | Паркетные доски, ламинат | 1,02 м2/м2 | |
2 | Водно-дисперсионный клей Thomsit P 640 | 25 г/п.м. | |
3 | Стандартная пенополи- этиленовая подложка | 1 м2/м2 | |
4 | Сборная стяжка из ДСП | 1,02 м2/м2 | |
5 | Растворный клей Thomsit P 600 | 40 - 50 г/п.м. | |
6 | Пароизоляция - пергамин | 1,15 м2/м2 | |
7 | Кварцевый или керамзитовый песок | По факту | Расход - минимально необходимый для выравнивания поверхности нижележащего слоя |
8 | Сплошная или многопустотная плита перекрытия |

Поз. | Наименование | Расход | Примечание |
1 | Паркетные доски, ламинат | 1,02 м2/м2 | |
2 | Водно-дисперсионный клей Thomsit P 640 | 25 г/п.м. | |
3 | Стандартная пенополи- этиленовая подложка | 1 м2/м2 | |
4 | Сборная стяжка из ДСП | 1,02 м2/м2 | |
5 | Растворный клей Thomsit P 600 | 40 - 50 г/п.м. | |
6 | Полиэтиленовая пленка | 1,15 м2/м2 | Применяется при использовании для создания теплозвукоизоля- ционного слоя полистирольных плит для предотвращения скрипа |
7 | Тепло- и звукоизоляция из плит или матов | Толщина слоя и расход матери- алов назначаются в соответст- вии с расчетами по параметрам тепло- и звукоизоляции | |
8 | Выравнивающая шпаклевка | По факту | |
9 | Сплошное или много- пустотное междуэтажное железобетонное перекрытие с неровной поверхностью |

Поз. | Наименование | Расход | Примечание |
1 | Паркетные доски, ламинат | 1,02 м2/м2 | |
2 | Водно-дисперсионный клей Thomsit P 640 | 25 г/п.м. | |
3 | Стандартная пенополи- этиленовая подложка | 1 м2/м2 | |
4 | Сборная стяжка из фанеры | 2,04 м2/м2 | |
5 | Закрепление шурупами или дюбелями | Шаг между шурупами или дюбелями 300 мм, по кромке листа - 150 мм | |
6 | Растворный клей Thomsit P 600 | 1200 - 1600 г/м2 | Содержит растворитель. Наносится зубчатым шпателем |
7 | Лага регулируемая | Согласно инструкции | Монтаж лаг осуществляется в соответствии с инструкцией фирмы-производителя |
8 | Болт-стойка | Согласно инструкции | Установка болт-стоек осуществляется в соответствии с инструкцией фирмы-производителя |
9 | Труба | ||
10 | Пароизоляция - полиэтиленовая пленка | 1,15 м2/м2 | |
11 | Сплошное или много- пустотное междуэтажное железобетонное перекрытие |

Поз. | Наименование | Расход | Примечание |
1 | Паркетные доски, ламинат | 1,02 м2/м2 | |
2 | Водно-дисперсион- ный клей Thomsit P 640 | 25 г/п.м. | |
3 | Стандартная пенополиэтиленовая подложка | 1 м2/м2 | |
4 | Сборная стяжка из фанеры | 2,04 м2/м2 | |
5 | Закрепление шуру- пами или дюбелями | Шаг между шурупами или дюбелями 300 мм, по кромке листа - 150 мм | |
6 | Растворный клей Thomsit P 600 | 1200 - 1600 г/м2 | Содержит растворитель. Наносится зубчатым шпателем |
7 | Лага регулируемая | Согласно инструкции | Монтаж лаг осуществляется в соответствии с инструкцией фирмы-производителя |
8 | Болт-стойка | Согласно инструкции | Установка болт-стоек осуществляется в соответствии с инструкцией фирмы-производителя |
9 | Тепло- и звукоизоляция из плит или матов | Толщина слоя и расход материалов назначаются в соответствии с расчетами по параметрам тепло- и звукоизоляции | |
10 | Пароизоляция - полиэтиленовая пленка | 1,15 м2/м2 | |
11 | Сплошное или многопустотное междуэтажное железобетонное перекрытие |

Поз. | Наименование | Расход | Примечание |
1 | Паркетные доски, ламинат | 1,02 м2/м2 | |
2 | Водно-дисперси- онный клей Thomsit P 640 | 25 г/п.м. | |
3 | Стандартная пенополиэтилено- вая подложка | 1 м2/м2 | |
4 | Сборная стяжка из фанеры | 2,04 м2/м2 | |
5 | Закрепление шурупами или дюбелями | Шаг между шурупами или дюбелями 300 мм, по кромке листа - 150 мм | |
6 | Растворный клей Thomsit P 600 | 1200 - 1600 г/м2 | Содержит растворитель. Наносится зубчатым шпателем |
7 | Лага обыкновенная | 0,004 - 0,005 м3/п.м. | |
8 | Кварцевый песок | По факту | Расход - минимально необходимый для выравнивания поверхности нижележащего слоя |
9 | Сплошное или многопустотное междуэтажное железобетонное перекрытие с неровной поверхностью |

Поз. | Наименование | Расход | Примечание |
1 | Паркетные доски, ламинат | 1,02 м2/м2 | |
2 | Водно-дисперси- онный клей Thomsit P 640 | 25 г/п.м. | |
3 | Стандартная пенополиэтилено- вая подложка | 1 м2/м2 | |
4 | Сборная стяжка из фанеры | 2,04 м2/м2 | |
5 | Закрепление шурупами или дюбелями | Шаг между шурупами или дюбелями 300 мм, по кромке листа - 150 мм | |
6 | Растворный клей Thomsit P 600 | 1200 - 1600 г/м2 | Содержит растворитель. Наносится зубчатым шпателем |
7 | Лага обыкновенная | 0,004 - 0,005 м3/п.м. | |
8 | Звукоизолирующая прокладка | 0,15 м2/п.м. | Материал и толщина звукоизо- лирующей прокладки назначают- ся в соответствии с расчетами по параметрам звукоизоляции |
9 | Кварцевый песок | По факту | Расход - минимально необходимый для выравнивания поверхности нижележащего слоя |
10 | Сплошное или многопустотное междуэтажное железобетонное перекрытие с неровной поверхностью |

Поз. | Наименование | Расход | Примечание |
1 | Линолеум поливинилхлоридный и алкидный, плитки или ковры из синтетических волокон, резиновые плитки | 1,02 м2/м2 | |
2 | Водно-дисперсионный клей Thomsit UK 400 | 350 - 550 г/м2 | Применяется для гетерогенных и гомогенных ПВХ покрытий в рулонах и плитках и всех видов текстильных покрытий (кроме модульной ковровой плитки, покрытий с полиуретановой осно- вой и покрытий из натурального волокна). Не содержит органические растворители. Наносится зубчатым шпателем |
Водно-дисперсионный клей Thomsit K 188E | 150 - 300 г/м2 | Применяется для гетерогенных и гомогенных ПВХ покрытий в рулонах и плитках, текстильных покрытий с полимерной основой, каучуковых покрытий толщиной до 2,5 мм. Не содержит органические растворители. Наносится зубчатым шпателем | |
Растворный клей Thomsit K 172 | 250 - 350 г/м2 | Применяется для гетерогенных и гомогенных ПВХ покрытий в рулонах и плитках, всех видов текстильных покрытий (кроме модульной ковровой плитки и покрытий с основой из вспенен- ного латекса), натурального линолеума, каучуковых покрытий с гладкой изнанкой. Содержит органические растворители. Наносится зубчатым шпателем | |
Полиуретановый двухкомпонентный клей Thomsit R 710 | 300 - 1200 г/м2 | Применяется для каучуковых и поливинилхлоридных плиток. Не содержит органические растворители. Наносится зубчатым шпателем | |
Водно-дисперсионный клей Thomsit L 240D | 450 г/м2 | Применяется для покрытий из натурального (алкидного) линоле- ума. Не содержит растворитель. Наносится зубчатым шпателем | |
3 | Водно-дисперсионная грунтовка Thomsit R 777 | 300 г/м2 бетонная стяжка 100 г/м2 цементно- песчаная стяжка | Наносится кистью или валиком на очищенную поверхность бетонной или цементно-песчаной стяжки. При нанесении на цементно- песчаную стяжку разбавляется водой в соотношении 1:1 |
Водно-дисперсионная грунтовка Thomsit R 766 | 150 г/м2 бетонная стяжка 40 г/м2 цементно- песчаная стяжка | Наносится кистью или валиком на очищенную поверхность бетонной или цементно-песчаной стяжки. При нанесении на бетонную стяжку разбавляется водой в соотношении 1:1, на цементно-песчаную стяжку - в соотношении 1:4 | |
4 | Полимерцементная саморазравнива- ющаяся стяжка марки Ceresit CN 69 | 1,8 кг/м2 | Наносится шпателем слоем толщиной от 3 до 15 мм. Расход - на 1 мм слоя. Предел прочности при сжатии после 28 суток выдержки не менее 18 МПа |
Полимерцементная саморазравнива- ющаяся стяжка марки Ceresit CN 76 | 2,0 кг/м2 | Наносится шпателем слоем толщиной от 4 до 50 мм. Расход - на 1 мм слоя. Предел прочности при сжатии после 28 суток выдержки не менее 40 МПа | |
Полимерцементная саморазравнива- ющаяся стяжка марки Thomsit DD | 1,5 кг/м2 | Наносится шпателем слоем тол- щиной от 0,5 до 5 мм. Расход - на 1 мм слоя. Предел прочности при сжатии после 28 суток выдержки не менее 22 МПа | |
Полимерцементная саморазравнива- ющаяся стяжка марки Thomsit DX | 1,5 кг/м2 | Наносится шпателем слоем толщиной от 0,5 до 10 мм. Расход - на 1 мм слоя. Предел прочности при сжатии после 28 суток выдержки не менее 30 МПа | |
Полимерцементная стяжка марки Ceresit CN 178 | 2,0 кг/м2 | Наносится шпателем слоем толщиной от 5 до 80 мм. Расход - на 1 мм слоя. Предел прочности при сжатии после 28 суток выдержки не менее 25 МПа | |
Стяжка из цементно- песчаного раствора марки М150 | 0,02 м3/м2 | ||
Стяжка из бетона класса В12,5 | 0,02 м3/м2 | ||
5 | Водно-дисперсионная грунтовка Ceresit CT 17 | 0,1 - 0,2 л/м2 | Наносится кистью или валиком на очищенную поверхность бетонного основания |
Водно-дисперсионная грунтовка Ceresit CN 94 | 40 г/м2 | Наносится кистью или валиком на очищенную поверхность бетонного основания. Разбавляется водой в соотношении 1:3 | |
Водно-дисперсионная грунтовка Thomsit R 777 | 300 г/м2 | Наносится кистью или валиком на очищенную поверхность бетонного основания | |
Водно-дисперсионная грунтовка Thomsit R 766 | 150 г/м2 | Наносится кистью или валиком на очищенную поверхность бетонного основания. Разбавляется водой в соотношении 1:1 | |
6 | Бетонное основание из бетона класса В22,5 | 0,08 м3/м2 | |
7 | Грунт основания |

Поз. | Наименование | Расход | Примечание |
1 | Линолеум поливинилхлоридный и алкидный, плитки или ковры из синтетических волокон, резиновые плитки | 1,02 м2/м2 | |
2 | Водно-дисперсионный клей Thomsit UK 400 | 350 - 550 г/м2 | Применяется для гетерогенных и гомогенных ПВХ покрытий в рулонах и плитках и всех видов текстильных покрытий (кроме модульной ковровой плитки, покрытий с полиуретановой осно- вой и покрытий из натурального волокна). Не содержит органические растворители. Наносится зубчатым шпателем |
Водно-дисперсионный клей Thomsit K 188E | 150 - 300 г/м2 | Применяется для гетерогенных и гомогенных ПВХ покрытий в рулонах и плитках, текстильных покрытий с полимерной основой, каучуковых покрытий толщиной до 2,5 мм. Не содержит органические растворители. Наносится зубчатым шпателем | |
Растворный клей Thomsit K 172 | 250 - 350 г/м2 | Применяется для гетерогенных и гомогенных ПВХ покрытий в рулонах и плитках, всех видов текстильных покрытий (кроме модульной ковровой плитки и покрытий с основой из вспенен- ного латекса), натурального линолеума, каучуковых покрытий с гладкой изнанкой. Содержит органические растворители. Наносится зубчатым шпателем | |
Полиуретановый двухкомпонентный клей Thomsit R 710 | 300 - 1200 г/м2 | Применяется для каучуковых и поливинилхлоридных плиток. Не содержит органические растворители. Наносится зубчатым шпателем | |
Водно-дисперсионный клей Thomsit L 240D | 450 г/м2 | Применяется для покрытий из натурального (алкидного) линоле- ума. Не содержит растворитель. Наносится зубчатым шпателем | |
3 | Водно-дисперсионная грунтовка Thomsit R 777 | 300 г/м2 бетонная стяжка 100 г/м2 цементно- песчаная стяжка | Наносится кистью или валиком на очищенную поверхность бетонной или цементно-песчаной стяжки. При нанесении на цементно- песчаную стяжку разбавляется водой в соотношении 1:1 |
Водно-дисперсионная грунтовка Thomsit R 766 | 150 г/м2 бетонная стяжка 40 г/м2 цементно- песчаная стяжка | Наносится кистью или валиком на очищенную поверхность бетонной или цементно-песчаной стяжки. При нанесении на бетонную стяжку разбавляется водой в соотношении 1:1, на цементно-песчаную стяжку - в соотношении 1:4 | |
4 | Полимерцементная саморазравниваю- щаяся стяжка марки Ceresit CN 69 | 1,8 кг/м2 | Наносится шпателем слоем толщиной от 3 до 15 мм. Расход - на 1 мм слоя. Предел прочности при сжатии после 28 суток выдержки не менее 18 МПа |
Полимерцементная саморазравниваю- щаяся стяжка марки Ceresit CN 76 | 2,0 кг/м2 | Наносится шпателем слоем толщиной от 4 до 50 мм. Расход - на 1 мм слоя. Предел прочности при сжатии после 28 суток выдержки не менее 40 МПа | |
Полимерцементная саморазравниваю- щаяся стяжка марки Thomsit DD | 1,5 кг/м2 | Наносится шпателем слоем толщиной от 0,5 до 5 мм. Расход - на 1 мм слоя. Предел прочности при сжатии после 28 суток выдержки не менее 22 МПа | |
Полимерцементная саморазравниваю- щаяся стяжка марки Thomsit DX | 1,5 кг/м2 | Наносится шпателем слоем тол- щиной от 0,5 до 10 мм. Расход - на 1 мм слоя. Предел прочности при сжатии после 28 суток выдержки не менее 30 МПа | |
Полимерцементная стяжка марки Ceresit CN 178 | 2,0 кг/м2 | Наносится шпателем слоем толщиной от 5 до 80 мм. Расход - на 1 мм слоя. Предел прочности при сжатии после 28 суток выдержки не менее 25 МПа | |
Стяжка из цементно- песчаного раствора марки М150 | 0,02 м3/м2 | ||
Стяжка из бетона класса В12,5 | 0,02 м3/м2 | ||
5 | Водно-дисперсионная грунтовка Ceresit CT 17 | 0,1 - 0,2 л/м2 | Наносится кистью или валиком на очищенную поверхность бетонного основания |
Водно-дисперсионная грунтовка Ceresit CN 94 | 40 г/м2 | Наносится кистью или валиком на очищенную поверхность бетонного основания. Разбавляется водой в соотношении 1:3 | |
Водно-дисперсионная грунтовка Thomsit R 777 | 300 г/м2 | Наносится кистью или валиком на очищенную поверхность бетонного основания | |
Водно-дисперсионная грунтовка Thomsit R 766 | 150 г/м2 | Наносится кистью или валиком на очищенную поверхность бетонного основания. Разбавляется водой в соотношении 1:1 | |
6 | Бетонное основание из бетона класса В22,5 | 0,08 м3/м2 | |
7 | Наливная гидроизоляция - щебень или гравий, пропитанный битумом | Щебень или гравий - 0,04 - 0,05 м/м, битум - по факту | |
8 | Грунт основания |

Поз. | Наименование | Расход | Примечание |
1 | Линолеум поливинилхлоридный и алкидный, плитки или ковры из синтетических волокон, резиновые плитки | 1,02 м2/м2 | |
2 | Водно-дисперсионный клей Thomsit UK 400 | 350 - 550 г/м2 | Применяется для гетерогенных и гомогенных ПВХ покрытий в рулонах и плитках и всех видов текстильных покрытий (кроме модульной ковровой плитки, покрытий с полиуретановой осно- вой и покрытий из натурального волокна). Не содержит органические растворители. Наносится зубчатым шпателем |
Водно-дисперсионный клей Thomsit K 188E | 150 - 300 г/м2 | Применяется для гетерогенных и гомогенных ПВХ покрытий в рулонах и плитках, текстильных покрытий с полимерной основой, каучуковых покрытий толщиной до 2,5 мм. Не содержит органические растворители. Наносится зубчатым шпателем | |
Растворный клей Thomsit K 172 | 250 - 350 г/м2 | Применяется для гетерогенных и гомогенных ПВХ покрытий в рулонах и плитках, всех видов текстильных покрытий (кроме модульной ковровой плитки и покрытий с основой из вспенен- ного латекса), натурального линолеума, каучуковых покрытий с гладкой изнанкой. Содержит органические растворители. Наносится зубчатым шпателем | |
Полиуретановый двухкомпонентный клей Thomsit R 710 | 300 - 1200 г/м2 | Применяется для каучуковых и поливинилхлоридных плиток. Не содержит органические растворители. Наносится зубчатым шпателем | |
Водно-дисперсионный клей Thomsit L 240D | 450 г/м2 | Применяется для покрытий из натурального (алкидного) линоле- ума. Не содержит растворитель. Наносится зубчатым шпателем | |
3 | Водно-дисперсионная грунтовка Thomsit R 777 | 300 г/м2 бетонная стяжка 100 г/м2 цементно- песчаная стяжка | Наносится кистью или валиком на очищенную поверхность бетонной или цементно-песчаной стяжки. При нанесении на цементно- песчаную стяжку разбавляется водой в соотношении 1:1 |
Водно-дисперсионная грунтовка Thomsit R 766 | 150 г/м2 бетонная стяжка 40 г/м2 цементно- песчаная стяжка | Наносится кистью или валиком на очищенную поверхность бетонной или цементно-песчаной стяжки. При нанесении на бетонную стяжку разбавляется водой в соотношении 1:1, на цементно-песчаную стяжку - в соотношении 1:4 | |
4 | Полимерцементная саморазравниваю- щаяся стяжка марки Ceresit CN 69 | 1,8 кг/м2 | Наносится шпателем слоем толщиной от 3 до 15 мм. Расход - на 1 мм слоя. Предел прочности при сжатии после 28 суток выдержки не менее 18 МПа |
Полимерцементная саморазравниваю- щаяся стяжка марки Ceresit CN 76 | 2,0 кг/м2 | Наносится шпателем слоем толщиной от 4 до 50 мм. Расход - на 1 мм слоя. Предел прочности при сжатии после 28 суток выдержки не менее 40 МПа | |
Полимерцементная саморазравниваю- щаяся стяжка марки Thomsit DD | 1,5 кг/м2 | Наносится шпателем слоем тол- щиной от 0,5 до 5 мм. Расход - на 1 мм слоя. Предел прочности при сжатии после 28 суток выдержки не менее 22 МПа | |
Полимерцементная саморазравниваю- щаяся стяжка марки Thomsit DX | 1,5 кг/м2 | Наносится шпателем слоем тол- щиной от 0,5 до 10 мм. Расход - на 1 мм слоя. Предел прочности при сжатии после 28 суток выдержки не менее 30 МПа | |
Полимерцементная стяжка марки Ceresit CN 178 | 2,0 кг/м2 | Наносится шпателем слоем толщиной от 5 до 80 мм. Расход - на 1 мм слоя. Предел прочности при сжатии после 28 суток выдержки не менее 25 МПа | |
Стяжка из цементно- песчаного раствора марки М150 | 0,02 м3/м2 | ||
Стяжка из бетона класса В12,5 | 0,02 м3/м2 | ||
5 | Водно-дисперсионная грунтовка Ceresit CT 17 | 0,1 - 0,2 л/м2 | Наносится кистью или валиком на очищенную поверхность бетонного основания |
Водно-дисперсионная грунтовка Ceresit CN 94 | 40 г/м2 | Наносится кистью или валиком на очищенную поверхность бетонного основания. Разбавляется водой в соотношении 1:3 | |
Водно-дисперсионная грунтовка Thomsit R 777 | 300 г/м2 | Наносится кистью или валиком на очищенную поверхность бетонного основания | |
Водно-дисперсионная грунтовка Thomsit R 766 | 150 г/м2 | Наносится кистью или валиком на очищенную поверхность бетонного основания. Разбавляется водой в соотношении 1:1 | |
6 | Бетонное основание из бетона класса В22,5 | 0,08 м3/м2 | |
7 | Рулонная гидроизоляция | 1,02 м2/м2 | |
Обмазочная гидро- изоляция на основе жесткой гидроизо- лирующей массы Ceresit CR 65 | 3 - 5 кг/м2 | ||
8 | Стяжка из цементно- песчаного раствора М150 | 0,05 м3/м2 | |
9 | Грунт основания |

Поз. | Наименование | Расход | Примечание |
1 | Линолеум поливинилхлоридный и алкидный, плитки или ковры из синтетических волокон, резиновые плитки | 1,02 м2/м2 | |
2 | Водно-дисперсионный клей Thomsit UK 400 | 350 - 550 г/м2 | Применяется для гетерогенных и гомогенных ПВХ покрытий в рулонах и плитках и всех видов текстильных покрытий (кроме модульной ковровой плитки, покрытий с полиуретановой осно- вой и покрытий из натурального волокна). Не содержит органические растворители. Наносится зубчатым шпателем |
Водно-дисперсионный клей Thomsit K 188E | 150 - 300 г/м2 | Применяется для гетерогенных и гомогенных ПВХ покрытий в рулонах и плитках, текстильных покрытий с полимерной основой, каучуковых покрытий толщиной до 2,5 мм. Не содержит органические растворители. Наносится зубчатым шпателем | |
Растворный клей Thomsit K 172 | 250 - 350 г/м2 | Применяется для гетерогенных и гомогенных ПВХ покрытий в рулонах и плитках, всех видов текстильных покрытий (кроме модульной ковровой плитки и покрытий с основой из вспененно- го латекса), натурального линолеума, каучуковых покрытий с гладкой изнанкой. Содержит органические растворители. Наносится зубчатым шпателем | |
Полиуретановый двухкомпонентный клей Thomsit R 710 | 300 - 1200 г/м2 | Применяется для каучуковых и поливинилхлоридных плиток. Не содержит органические растворители. Наносится зубчатым шпателем | |
Водно-дисперсионный клей Thomsit L 240D | 450 г/м2 | Применяется для покрытий из натурального (алкидного) линоле- ума. Не содержит растворитель. Наносится зубчатым шпателем | |
3 | Водно-дисперсионная грунтовка Thomsit R 777 | 300 г/м2 бетонная стяжка 100 г/м2 цементно- песчаная стяжка | Наносится кистью или валиком на очищенную поверхность бетонной или цементно-песчаной стяжки. При нанесении на цементно- песчаную стяжку разбавляется водой в соотношении 1:1 |
Водно-дисперсионная грунтовка Thomsit R 766 | 150 г/м2 бетонная стяжка 40 г/м2 цементно- песчаная стяжка | Наносится кистью или валиком на очищенную поверхность бетонной или цементно-песчаной стяжки. При нанесении на бетонную стяжку разбавляется водой в соотношении 1:1, на цементно-песчаную стяжку - в соотношении 1:4 | |
4 | Стяжка из цементно- песчаного раствора марки М150 | Расход материала определяется толщиной стяжки, которая должна превышать на 15 - 20 мм диаметр трубы | |
Стяжка из бетона класса В12,5 | Расход материала определяется толщиной стяжки, которая должна превышать на 15 - 20 мм диаметр трубы | ||
Полимерцементная стяжка марки Ceresit CN 178 | Расход материала определяется толщиной стяжки, которая должна превышать на 15 - 20 мм диаметр трубы | ||
Полимерцементная стяжка марки Ceresit CN 83 | Расход материала определяется толщиной стяжки, которая должна превышать на 15 - 20 мм диаметр трубы, но не должна превышать 35 мм | ||
5 | Труба | ||
6 | Водно-дисперсионная грунтовка Ceresit CT 17 | 0,1 - 0,2 л/м2 | Наносится кистью или валиком на очищенную поверхность бетонного основания |
Водно-дисперсионная грунтовка Ceresit CN 94 | 40 г/м2 | Наносится кистью или валиком на очищенную поверхность бетонного основания. Разбавляется водой в соотношении 1:3 | |
Водно-дисперсионная грунтовка Thomsit R 777 | 300 г/м2 | Наносится кистью или валиком на очищенную поверхность бетонного основания | |
Водно-дисперсионная грунтовка Thomsit R 766 | 150 г/м2 | Наносится кистью или валиком на очищенную поверхность бетонного основания. Разбавляется водой в соотношении 1:1 | |
7 | Бетонное основание из бетона класса В22,5 | 0,08 м3/м2 | |
8 | Грунт основания |

Поз. | Наименование | Расход | Примечание |
1 | Линолеум поливинилхлоридный и алкидный, плитки или ковры из синтетических волокон, резиновые плитки | 1,02 м2/м2 | |
2 | Водно-дисперсионный клей Thomsit UK 400 | 350 - 550 г/м2 | Применяется для гетерогенных и гомогенных ПВХ покрытий в рулонах и плитках и всех видов текстильных покрытий (кроме модульной ковровой плитки, покрытий с полиуретановой осно- вой и покрытий из натурального волокна). Не содержит органические растворители. Наносится зубчатым шпателем |
Водно-дисперсионный клей Thomsit K 188E | 150 - 300 г/м2 | Применяется для гетерогенных и гомогенных ПВХ покрытий в рулонах и плитках, текстильных покрытий с полимерной основой, каучуковых покрытий толщиной до 2,5 мм. Не содержит органические растворители. Наносится зубчатым шпателем | |
Растворный клей Thomsit K 172 | 250 - 350 г/м2 | Применяется для гетерогенных и гомогенных ПВХ покрытий в рулонах и плитках, всех видов текстильных покрытий (кроме модульной ковровой плитки и покрытий с основой из вспенен- ного латекса), натурального линолеума, каучуковых покрытий с гладкой изнанкой. Содержит органические растворители. Наносится зубчатым шпателем | |
Полиуретановый двухкомпонентный клей Thomsit R 710 | 300 - 1200 г/м2 | Применяется для каучуковых и поливинилхлоридных плиток. Не содержит органические растворители. Наносится зубчатым шпателем | |
Водно-дисперсионный клей Thomsit L 240D | 450 г/м2 | Применяется для покрытий из натурального (алкидного) линоле- ума. Не содержит растворитель. Наносится зубчатым шпателем | |
3 | Водно-дисперсионная грунтовка Thomsit R 766 | 40 г/м2 | Наносится кистью или валиком на очищенную поверхность стяжки. Разбавляется водой в соотношении 1:4 |
4 | Сборная стяжка из готовых элементов из гипсоволокнис- тых листов | 1,02 м2/м2 | |
5 | Водно-дисперсионный клей | 40 - 50 г/п.м. | |
6 | Кварцевый песок | По факту | Расход - минимально необходимый для выравнивания поверхности нижележащего слоя |
7 | Пароизоляция - полиэтиленовая пленка | 1,15 м2/м2 | |
8 | Бетонное основание из бетона класса В22,5 | 0,08 м3/м2 | |
9 | Грунт основания |

Поз. | Наименование | Расход | Примечание |
1 | Линолеум поливинилхлоридный и алкидный, плитки или ковры из синте- тических волокон, резиновые плитки | 1,02 м2/м2 | |
2 | Водно-дисперсионный клей Thomsit UK 400 | 350 - 550 г/м2 | Применяется для гетерогенных и гомогенных ПВХ покрытий в рулонах и плитках и всех видов текстильных покрытий (кроме модульной ковровой плитки, покрытий с полиуретановой осно- вой и покрытий из натурального волокна). Не содержит органические растворители. Наносится зубчатым шпателем |
Водно-дисперсионный клей Thomsit K 188E | 150 - 300 г/м2 | Применяется для гетерогенных и гомогенных ПВХ покрытий в рулонах и плитках, текстильных покрытий с полимерной основой, каучуковых покрытий толщиной до 2,5 мм. Не содержит органические растворители. Наносится зубчатым шпателем | |
Растворный клей Thomsit K 172 | 250 - 350 г/м2 | Применяется для гетерогенных и гомогенных ПВХ покрытий в рулонах и плитках, всех видов текстильных покрытий (кроме модульной ковровой плитки и покрытий с основой из вспенен- ного латекса), натурального линолеума, каучуковых покрытий с гладкой изнанкой. Содержит органические растворители. Наносится зубчатым шпателем | |
Полиуретановый двухкомпонентный клей Thomsit R 710 | 300 - 1200 г/м2 | Применяется для каучуковых и поливинилхлоридных плиток. Не содержит органические растворители. Наносится зубчатым шпателем | |
Водно-дисперсионный клей Thomsit L 240D | 450 г/м2 | Применяется для покрытий из натурального (алкидного) линоле- ума. Не содержит растворитель. Наносится зубчатым шпателем | |
3 | Водно-дисперсионная грунтовка Thomsit R 766 | 40 г/м2 | Наносится кистью или валиком на очищенную поверхность стяжки. Разбавляется водой в соотношении 1:4 |
4 | Сборная стяжка из готовых элементов из гипсоволокнистых листов | 1,02 м2/м2 | |
5 | Водно-дисперсионный клей | 40 - 50 г/п.м. | |
6 | Кварцевый песок | По расчету | Толщина слоя засыпки должна превышать на 15 - 20 мм высоту кожуха |
7 | Труба | ||
8 | Обкладка трубы пористо- волокнистыми матами | По факту | |
9 | Защитный металли- ческий кожух | ||
10 | Дюбель разжимной | ||
11 | Пароизоляция - полиэтиленовая пленка | 1,15 м2/м2 | |
12 | Бетонное основание из бетона класса В22,5 | 0,08 м3/м2 | |
13 | Грунт основания |

Поз. | Наименование | Расход | Примечание |
1 | Линолеум поливинилхлоридный и алкидный, плитки или ковры из синтетических волокон, резиновые плитки | 1,02 м2/м2 | |
2 | Водно-дисперсионный клей Thomsit UK 400 | 350 - 550 г/м2 | Применяется для гетерогенных и гомогенных ПВХ покрытий в рулонах и плитках и всех видов текстильных покрытий (кроме модульной ковровой плитки, покрытий с полиуретановой осно- вой и покрытий из натурального волокна). Не содержит органические растворители. Наносится зубчатым шпателем |
Водно-дисперсионный клей Thomsit K 188E | 150 - 300 г/м2 | Применяется для гетерогенных и гомогенных ПВХ покрытий в рулонах и плитках, текстильных покрытий с полимерной основой, каучуковых покрытий толщиной до 2,5 мм. Не содержит органические растворители. Наносится зубчатым шпателем | |
Растворный клей Thomsit K 172 | 250 - 350 г/м2 | Применяется для гетерогенных и гомогенных ПВХ покрытий в рулонах и плитках, всех видов текстильных покрытий (кроме модульной ковровой плитки и покрытий с основой из вспенен- ного латекса), натурального линолеума, каучуковых покрытий с гладкой изнанкой. Содержит органические растворители. Наносится зубчатым шпателем | |
Полиуретановый двухкомпонентный клей Thomsit R 710 | 300 - 1200 г/м2 | Применяется для каучуковых и поливинилхлоридных плиток. Не содержит органические растворители. Наносится зубчатым шпателем | |
Водно-дисперсионный клей Thomsit L 240D | 450 г/м2 | Применяется для покрытий из натурального (алкидного) линоле- ума. Не содержит растворитель. Наносится зубчатым шпателем | |
3 | Водно-дисперсионная грунтовка Thomsit R 766 | 40 г/м2 | Наносится кистью или валиком на очищенную поверхность стяжки. Разбавляется водой в соотношении 1:4 |
4 | Сборная стяжка из ДСП | 1,02 м2/м2 | |
5 | Растворный клей Thomsit P 600 | 40 - 50 г/п.м. | |
6 | Пароизоляция - пергамин | 1,15 м2/м2 | |
7 | Кварцевый песок | По факту | Расход - минимально необходимый для выравнивания поверхности нижележащего слоя |
8 | Бетонное основание из бетона класса В22,5 | 0,08 м3/м2 | |
9 | Грунт основания |

Поз. | Наименование | Расход | Примечание |
1 | Линолеум поливинилхлоридный и алкидный, плитки или ковры из синтетических волокон, резиновые плитки | 1,02 м2/м2 | |
2 | Водно-дисперсионный клей Thomsit UK 400 | 350 - 550 г/м2 | Применяется для гетерогенных и гомогенных ПВХ покрытий в рулонах и плитках и всех видов текстильных покрытий (кроме модульной ковровой плитки, покрытий с полиуретановой осно- вой и покрытий из натурального волокна). Не содержит органические растворители. Наносится зубчатым шпателем |
Водно-дисперсионный клей Thomsit K 188E | 150 - 300 г/м2 | Применяется для гетерогенных и гомогенных ПВХ покрытий в рулонах и плитках, текстильных покрытий с полимерной основой, каучуковых покрытий толщиной до 2,5 мм. Не содержит органические растворители. Наносится зубчатым шпателем | |
Растворный клей Thomsit K 172 | 250 - 350 г/м2 | Применяется для гетерогенных и гомогенных ПВХ покрытий в рулонах и плитках, всех видов текстильных покрытий (кроме модульной ковровой плитки и покрытий с основой из вспенен- ного латекса), натурального линолеума, каучуковых покрытий с гладкой изнанкой. Содержит органические растворители. Наносится зубчатым шпателем | |
Полиуретановый двухкомпонентный клей Thomsit R 710 | 300 - 1200 г/м2 | Применяется для каучуковых и поливинилхлоридных плиток. Не содержит органические растворители. Наносится зубчатым шпателем | |
Водно-дисперсионный клей Thomsit L 240D | 450 г/м2 | Применяется для покрытий из натурального (алкидного) линолеума. Не содержит растворитель. Наносится зубчатым шпателем | |
3 | Водно-дисперсионная грунтовка Thomsit R 766 | 40 г/м2 | Наносится валиком на очищенную поверхность сборной стяжки. Разбавляется водой в соотношении 1:4 |
4 | Сборная стяжка из фанеры | 2,04 м2/м2 | |
5 | Растворный клей Thomsit P 600 | 1200 - 1600 г/м2 | Содержит растворитель. Наносится зубчатым шпателем |
6 | Закрепление саморезами | Шаг между саморезами 300 мм, по кромке листов - 150 мм | |
7 | Лага регулируемая | Согласно инструкции | Монтаж лаг осуществляется в соответствии с инструкцией фирмы-производителя |
8 | Болт-стойка | Согласно инструкции | Установка болт-стоек осуществляется в соответствии с инструкцией фирмы-производителя |
9 | Труба | ||
10 | Пароизоляция - полиэтиленовая пленка | 1,15 м2/м2 | |
11 | Бетонное основание из бетона класса В22,5 | 0,08 м3/м2 | |
12 | Грунт основания |

Поз. | Наименование | Расход | Примечание |
1 | Линолеум поливинилхлоридный и алкидный, плитки или ковры из синтетических волокон, резиновые плитки | 1,02 м2/м2 | |
2 | Водно-дисперсионный клей Thomsit UK 400 | 350 - 550 г/м2 | Применяется для гетерогенных и гомогенных ПВХ покрытий в рулонах и плитках и всех видов текстильных покрытий (кроме модульной ковровой плитки, покрытий с полиуретановой основой и покрытий из натурального волокна). Не содержит ор- ганические растворители. Наносится зубчатым шпателем |
Водно-дисперсионный клей Thomsit K 188E | 150 - 300 г/м2 | Применяется для гетерогенных и гомогенных ПВХ покрытий в рулонах и плитках, текстильных по- крытий с полимерной осно- вой, каучуковых покрытий толщиной до 2,5 мм. Не содержит органические растворители. Наносится зубчатым шпателем | |
Растворный клей Thomsit K 172 | 250 - 350 г/м2 | Применяется для гетерогенных и гомогенных ПВХ покрытий в рулонах и плитках, всех видов текстильных покрытий (кроме модульной ковровой плитки и покрытий с осно- вой из вспененного латек- са), натурального линоле- ума, каучуковых покрытий с гладкой изнанкой. Содержит органические растворители. Наносится зубчатым шпателем | |
Полиуретановый двухкомпонентный клей Thomsit R 710 | 300 - 1200 г/м2 | Применяется для каучуко- вых и поливинилхлоридных плиток. Не содержит органические растворители. Наносится зубчатым шпателем | |
Водно-дисперсионный клей Thomsit L 240D | 450 г/м2 | Применяется для покрытий из натурального (алкидно- го) линолеума. Не содер- жит растворитель. Нано- сится зубчатым шпателем | |
3 | Водно-дисперсионная грунтовка Thomsit R 766 | 40 г/м2 | Наносится валиком на очи- щенную поверхность сбор- ной стяжки. Разбавляется водой в соотношении 1:4 |
4 | Сборная стяжка из фанеры | 2,04 м2/м2 | |
5 | Растворный клей Thomsit P 600 | 1200 - 1600 г/м2 | Содержит растворитель. Наносится зубчатым шпателем |
6 | Закрепление саморезами | Шаг между саморезами 300 мм, по кромке листов - 150 мм | |
7 | Лага обыкновенная | 0,004 - 0,005 м3/п.м. | |
8 | Деревянная прокладка | 0,0006 м3/столбик | |
9 | Рулонная гидроизоляция | 0,05 м2/столбик | |
10 | Кирпичный или бетонный столбик | 0,0017 м3/столбик | |
11 | Бетонное основание из бетона класса В22,5 | 0,08 м3/м2 | |
12 | Грунт основания |

Поз. | Наименование | Расход | Примечание |
1 | Линолеум поливинилхлоридный и алкидный, плитки или ковры из синтетических волокон, резиновые плитки | 1,02 м2/м2 | |
2 | Водно-дисперсионный клей Thomsit UK 400 | 350 - 550 г/м2 | Применяется для гетерогенных и гомогенных ПВХ покрытий в рулонах и плитках и всех видов текстильных покрытий (кроме модульной ковровой плитки, покрытий с полиуретановой основой и покрытий из натурального волокна). Не содержит органические растворители. Наносится зубчатым шпателем |
Водно-дисперсионный клей Thomsit K 188E | 150 - 300 г/м2 | Применяется для гетероген- ных и гомогенных ПВХ по- крытий в рулонах и плитках текстильных покрытий с полимерной основой, каучуковых покрытий толщиной до 2,5 мм. Не содержит органические растворители. Наносится зубчатым шпателем | |
Растворный клей Thomsit K 172 | 250 - 350 г/м2 | Применяется для гетерогенных и гомогенных ПВХ покрытий в рулонах и плитках, всех видов текстильных покрытий (кроме модульной ковровой плитки и покрытий с основой из вспененного латекса), натурального линолеума, каучуковых по- крытий с гладкой изнанкой. Содержит органические растворители. Наносится зубчатым шпателем | |
Полиуретановый двухкомпонентный клей Thomsit R 710 | 300 - 1200 г/м2 | Применяется для каучуковых и поливинилхлоридных плиток. Не содержит органические растворители. Наносится зубчатым шпателем | |
Водно-дисперсионный клей Thomsit L 240D | 450 г/м2 | Применяется для покрытий из натурального (алкидного) линолеума. Не содержит растворитель. Наносится зубчатым шпателем | |
3 | Водно-дисперси- онная грунтовка Thomsit R 766 | 40 г/м2 | Наносится валиком на очи- щенную поверхность сборной стяжки. Разбавляется водой в соотношении 1:4 |
4 | Сборная стяжка из фанеры | 2,04 м2/м2 | |
5 | Растворный клей Thomsit P 600 | 1200 - 1600 г/м2 | Содержит растворитель. Наносится зубчатым шпателем |
6 | Закрепление саморезами | Шаг между саморезами 300 мм, по кромке листов - 150 мм | |
7 | Лага обыкновенная | 0,004 - 0,005 м3/п.м. | |
8 | Деревянная прокладка | 0,0006 м3/столбик | |
9 | Рулонная гидроизоляция | 0,05 м2/столбик | |
10 | Кирпичный или бетонный столбик | 0,0034 м3/столбик | |
11 | Грунт основания |

Поз. | Наименование | Расход | Примечание |
1 | Линолеум поливинилхлоридный и алкидный, плитки или ковры из синтетических волокон, резиновые плитки | 1,02 м2/м2 | |
2 | Водно-дисперсионный клей Thomsit UK 400 | 350 - 550 г/м2 | Применяется для гетерогенных и гомогенных ПВХ покрытий в рулонах и плитках и всех видов текстильных покрытий (кроме модульной ковровой плитки, покрытий с полиуретановой осно- вой и покрытий из натурального волокна). Не содержит органические растворители. Наносится зубчатым шпателем |
Водно-дисперсионный клей Thomsit K 188E | 150 - 300 г/м2 | Применяется для гетерогенных и гомогенных ПВХ покрытий в рулонах и плитках, текстильных покрытий с полимерной основой, каучуковых покрытий толщиной до 2,5 мм. Не содержит органические растворители. Наносится зубчатым шпателем | |
Растворный клей Thomsit K 172 | 250 - 350 г/м2 | Применяется для гетерогенных и гомогенных ПВХ покрытий в рулонах и плитках, всех видов текстильных покрытий (кроме модульной ковровой плитки и покрытий с основой из вспенен- ного латекса), натурального линолеума, каучуковых покрытий с гладкой изнанкой. Содержит органические растворители. Наносится зубчатым шпателем | |
Полиуретановый двухкомпонентный клей Thomsit R 710 | 300 - 1200 г/м2 | Применяется для каучуковых и поливинилхлоридных плиток. Не содержит органические растворители. Наносится зубчатым шпателем | |
Водно-дисперсионный клей Thomsit L 240D | 450 г/м2 | Применяется для покрытий из натурального (алкидного) линоле- ума. Не содержит растворитель. Наносится зубчатым шпателем | |
3 | Водно-дисперсионная грунтовка Thomsit R 777 | 300 г/м2 бетонная стяжка 100 г/м2 цементно- песчаная стяжка | Наносится кистью или валиком на очищенную поверхность бетонной или цементно-песчаной стяжки. При нанесении на цементно- песчаную стяжку разбавляется водой в соотношении 1:1 |
Водно-дисперсионная грунтовка Thomsit R 766 | 150 г/м2 бетонная стяжка 40 г/м2 цементно- песчаная стяжка | Наносится кистью или валиком на очищенную поверхность бетонной или цементно-песчаной стяжки. При нанесении на бетонную стяжку разбавляется водой в соотношении 1:1, на цементно-песчаную стяжку - в соотношении 1:4 | |
4 | Полимерцементная саморазравниваю- щаяся стяжка марки Ceresit CN 69 | 1,8 кг/м2 | Наносится шпателем слоем толщиной от 3 до 15 мм. Расход - на 1 мм слоя. Предел прочности при сжатии после 28 суток выдержки не менее 18 МПа |
Полимерцементная саморазравниваю- щаяся стяжка марки Ceresit CN 76 | 2,0 кг/м2 | Наносится шпателем слоем толщиной от 4 до 50 мм. Расход - на 1 мм слоя. Предел прочности при сжатии после 28 суток выдержки не менее 40 МПа | |
Полимерцементная саморазравниваю- щаяся стяжка марки Thomsit DD | 1,5 кг/м2 | Наносится шпателем слоем тол- щиной от 0,5 до 5 мм. Расход - на 1 мм слоя. Предел прочности при сжатии после 28 суток выдержки не менее 22 МПа | |
Полимерцементная саморазравниваю- щаяся стяжка марки Thomsit DX | 1,5 кг/м2 | Наносится шпателем слоем тол- щиной от 0,5 до 10 мм. Расход - на 1 мм слоя. Предел прочности при сжатии после 28 суток выдержки не менее 30 МПа | |
Полимерцементная стяжка марки Ceresit CN 178 | 2,0 кг/м2 | Наносится шпателем слоем толщиной от 5 до 80 мм. Расход - на 1 мм слоя. Предел прочности при сжатии после 28 суток выдержки не менее 25 МПа | |
Стяжка из цементно- песчаного раствора марки М150 | 0,02 м3/м2 | ||
Стяжка из бетона класса В12,5 | 0,02 м3/м2 | ||
5 | Водно-дисперсионная грунтовка Ceresit CT 17 | 0,1 - 0,2 л/м2 | Наносится кистью или валиком на очищенную поверхность бетонного основания |
Водно-дисперсионная грунтовка Ceresit CN 94 | 40 г/м2 | Наносится кистью или валиком на очищенную поверхность бетонного основания. Разбавляется водой в соотношении 1:3 | |
Водно-дисперсионная грунтовка Thomsit R 777 | 300 г/м2 | Наносится кистью или валиком на очищенную поверхность бетонного основания | |
Водно-дисперсионная грунтовка Thomsit R 766 | 150 г/м2 | Наносится кистью или валиком на очищенную поверхность бетонного основания. Разбавляется водой в соотношении 1:1 | |
6 | Сплошная или многопустотная плита перекрытия |

Поз. | Наименование | Расход | Примечание |
1 | Линолеум поливинилхлоридный и алкидный, плитки или ковры из синтетических волокон, резиновые плитки | 1,02 м2/м2 | |
2 | Водно-дисперсионный клей Thomsit UK 400 | 350 - 550 г/м2 | Применяется для гетерогенных и гомогенных ПВХ покрытий в рулонах и плитках и всех видов текстильных покрытий (кроме модульной ковровой плитки, покрытий с полиуретановой осно- вой и покрытий из натурального волокна). Не содержит органические растворители. Наносится зубчатым шпателем |
Водно-дисперсионный клей Thomsit K 188Е | 150 - 300 г/м2 | Применяется для гетерогенных и гомогенных ПВХ покрытий в рулонах и плитках, текстильных покрытий с полимерной основой, каучуковых покрытий толщиной до 2,5 мм. Не содержит органические растворители. Наносится зубчатым шпателем | |
Растворный клей Thomsit K 172 | 250 - 350 г/м2 | Применяется для гетерогенных и гомогенных ПВХ покрытий в рулонах и плитках, всех видов текстильных покрытий (кроме модульной ковровой плитки и покрытий с основой из вспенен- ного латекса), натурального линолеума, каучуковых покрытий с гладкой изнанкой. Содержит органические растворители. Наносится зубчатым шпателем | |
Полиуретановый двухкомпонентный клей Thomsit R 710 | 300 - 1200 г/м2 | Применяется для каучуковых и поливинилхлоридных плиток. Не содержит органические растворители. Наносится зубчатым шпателем | |
Водно-дисперсионный клей Thomsit L 240D | 450 г/м2 | Применяется для покрытий из натурального (алкидного) линоле- ума. Не содержит растворитель. Наносится зубчатым шпателем | |
3 | Водно-дисперсионная грунтовка Thomsit R 777 | 300 г/м2 бетонная стяжка 100 г/м2 цементно- песчаная стяжка | Наносится кистью или валиком на очищенную поверхность бетонной или цементно-песчаной стяжки. При нанесении на цементно- песчаную стяжку разбавляется водой в соотношении 1:1 |
Водно-дисперсионная грунтовка Thomsit R 766 | 150 г/м2 бетонная стяжка 40 г/м2 цементно- песчаная стяжка | Наносится кистью или валиком на очищенную поверхность бетонной или цементно-песчаной стяжки. При нанесении на бетонную стяжку разбавляется водой в соотношении 1:1, на цементно-песчаную стяжку - в соотношении 1:4 | |
4 | Стяжка из цементно- песчаного раствора марки М150 | Расход материала определяется толщиной стяжки, которая должна превышать на 15 - 20 мм диаметр трубы | |
Стяжка из бетона класса В12,5 | Расход материала определяется толщиной стяжки, которая должна превышать на 15 - 20 мм диаметр трубы | ||
Полимерцементная стяжка марки Ceresit CN 178 | Расход материала определяется толщиной стяжки, которая должна превышать на 15 - 20 мм диаметр трубы | ||
Полимерцементная стяжка марки Ceresit CN 83 | Расход материала определяется толщиной стяжки, которая должна превышать на 15 - 20 мм диаметр трубы, но не должна превышать 35 мм | ||
5 | Труба | ||
6 | Водно-дисперсионная грунтовка Ceresit CT 17 | 0,1 - 0,2 л/м2 | Наносится кистью или валиком на очищенную поверхность бетонного основания |
Водно-дисперсионная грунтовка Ceresit CN 94 | 40 г/м2 | Наносится кистью или валиком на очищенную поверхность бетонного основания. Разбавляется водой в соотношении 1:3 | |
Водно-дисперсионная грунтовка Thomsit R 777 | 300 г/м2 | Наносится кистью или валиком на очищенную поверхность бетонного основания | |
Водно-дисперсионная грунтовка Thomsit R 766 | 150 г/м2 | Наносится кистью или валиком на очищенную поверхность бетонного основания. Разбавляется водой в соотношении 1:1 | |
7 | Сплошная или многопустотная плита перекрытия |

Поз. | Наименование | Расход | Примечание |
1 | Линолеум поливинилхлоридный и алкидный, плитки или ковры из синтетических волокон, резиновые плитки | 1,02 м2/м2 | |
2 | Водно-дисперсионный клей Thomsit UK 400 | 350 - 550 г/м2 | Применяется для гетерогенных и гомогенных ПВХ покрытий в рулонах и плитках и всех видов текстильных покрытий (кроме модульной ковровой плитки, покрытий с полиуретановой осно- вой и покрытий из натурального волокна). Не содержит органические растворители. Наносится зубчатым шпателем |
Водно-дисперсионный клей Thomsit K 188E | 150 - 300 г/м2 | Применяется для гетерогенных и гомогенных ПВХ покрытий в рулонах и плитках, текстильных покрытий с полимерной основой, каучуковых покрытий толщиной до 2,5 мм. Не содержит органические растворители. Наносится зубчатым шпателем | |
Растворный клей Thomsit K 172 | 250 - 350 г/м2 | Применяется для гетерогенных и гомогенных ПВХ покрытий в рулонах и плитках, всех видов текстильных покрытий (кроме модульной ковровой плитки и покрытий с основой из вспенен- ного латекса), натурального линолеума, каучуковых покрытий с гладкой изнанкой. Содержит органические растворители. Наносится зубчатым шпателем | |
Полиуретановый двухкомпонентный клей Thomsit R 710 | 300 - 1200 г/м2 | Применяется для каучуковых и поливинилхлоридных плиток. Не содержит органические растворители. Наносится зубчатым шпателем | |
Водно-дисперсионный клей Thomsit L 240D | 450 г/м2 | Применяется для покрытий из натурального (алкидного) линоле- ума. Не содержит растворитель. Наносится зубчатым шпателем | |
3 | Водно-дисперсионная грунтовка Thomsit R 777 | 300 г/м2 бетонная стяжка 100 г/м2 цементно- песчаная стяжка | Наносится кистью или валиком на очищенную поверхность бетонной или цементно-песчаной стяжки. При нанесении на цементно- песчаную стяжку разбавляется водой в соотношении 1:1 |
Водно-дисперсионная грунтовка Thomsit R 766 | 150 г/м2 бетонная стяжка 40 г/м2 цементно- песчаная стяжка | Наносится кистью или валиком на очищенную поверхность бетонной или цементно-песчаной стяжки. При нанесении на бетонную стяжку разбавляется водой в соотношении 1:1, на цементно-песчаную стяжку - в соотношении 1:4 | |
4 | Стяжка из цементно- песчаного раствора марки М150 | 0,04 м3/м2 | |
Стяжка из бетона класса В12,5 | 0,04 м3/м2 | ||
Полимерцементная стяжка марки Ceresit CN 178 | 0,04 м3/м2 | ||
5 | Полиэтиленовая пленка | 1,15 м2/м2 | |
6 | Тепло- и звукоизо- ляция из кварцевого или керамзитового песка | Толщина слоя и расход материалов назначаются в соответствии с расчетами по параметрам тепло- и звукоизоляции | |
7 | Сплошная или многопустотная плита перекрытия |

Поз. | Наименование | Расход | Примечание |
1 | Линолеум поливинилхлоридный и алкидный, плитки или ковры из синтетических волокон, резиновые плитки | 1,02 м2/м2 | |
2 | Водно-дисперсионный клей Thomsit UK 400 | 350 - 550 г/м2 | Применяется для гетерогенных и гомогенных ПВХ покрытий в рулонах и плитках и всех видов текстильных покрытий (кроме модульной ковровой плитки, покрытий с полиуретановой осно- вой и покрытий из натурального волокна). Не содержит органические растворители. Наносится зубчатым шпателем |
Водно-дисперсионный клей Thomsit K 188E | 150 - 300 г/м2 | Применяется для гетерогенных и гомогенных ПВХ покрытий в рулонах и плитках текстильных покрытий с полимерной основой, каучуковых покрытий толщиной до 2,5 мм. Не содержит органические растворители. Наносится зубчатым шпателем | |
Растворный клей Thomsit K 172 | 250 - 350 г/м2 | Применяется для гетерогенных и гомогенных ПВХ покрытий в рулонах и плитках, всех видов текстильных покрытий (кроме модульной ковровой плитки и покрытий с основой из вспенен- ного латекса), натурального линолеума, каучуковых покрытий с гладкой изнанкой. Содержит органические растворители. Наносится зубчатым шпателем | |
Полиуретановый двухкомпонентный клей Thomsit R 710 | 300 - 1200 г/м2 | Применяется для каучуковых и поливинилхлоридных плиток. Не содержит органические растворители. Наносится зубчатым шпателем | |
Водно-дисперсионный клей Thomsit L 240D | 450 г/м2 | Применяется для покрытий из натурального (алкидного) линоле- ума. Не содержит растворитель. Наносится зубчатым шпателем | |
3 | Водно-дисперсионная грунтовка Thomsit R 777 | 300 г/м2 бетонная стяжка 100 г/м2 цементно- песчаная стяжка | Наносится кистью или валиком на очищенную поверхность бетонной или цементно-песчаной стяжки. При нанесении на цементно- песчаную стяжку разбавляется водой в соотношении 1:1 |
Водно-дисперсионная грунтовка Thomsit R 766 | 150 г/м2 бетонная стяжка 40 г/м2 цементно- песчаная стяжка | Наносится кистью или валиком на очищенную поверхность бетонной или цементно-песчаной стяжки. При нанесении на бетонную стяжку разбавляется водой в соотношении 1:1, на цементно-песчаную стяжку - в соотношении 1:4 | |
4 | Стяжка из цементно- песчаного раствора марки М150 | 0,04 м3/м2 | |
Стяжка из бетона класса В12,5 | 0,04 м3/м2 | ||
Полимерцементная стяжка марки Ceresit CN 178 | 0,04 м3/м2 | ||
5 | Полиэтиленовая пленка | 1,15 м2/м2 | |
6 | Тепло- и звукоизоляция из плит или матов | Толщина слоя и расход материалов назначаются в соответствии с расчетами по параметрам тепло- и звукоизоляции | |
7 | Сплошная или многопустотная плита перекрытия |


Поз. | Наименование | Расход | Примечание |
1 | Линолеум поливинилхлоридный и алкидный, плитки или ковры из синтетических волокон, резиновые плитки | 1,02 м2/м2 | |
2 | Водно-дисперсионный клей Thomsit UK 400 | 350 - 550 г/м2 | Применяется для гетерогенных и гомогенных ПВХ покрытий в рулонах и плитках и всех видов текстильных покрытий (кроме модульной ковровой плитки, покрытий с полиуретановой осно- вой и покрытий из натурального волокна). Не содержит органические растворители. Наносится зубчатым шпателем |
Водно-дисперсионный клей Thomsit K 188E | 150 - 300 г/м2 | Применяется для гетерогенных и гомогенных ПВХ покрытий в рулонах и плитках, текстильных покрытий с полимерной основой, каучуковых покрытий толщиной до 2,5 мм. Не содержит органические растворители. Наносится зубчатым шпателем | |
Растворный клей Thomsit K 172 | 250 - 350 г/м2 | Применяется для гетерогенных и гомогенных ПВХ покрытий в рулонах и плитках, всех видов текстильных покрытий (кроме модульной ковровой плитки и покрытий с основой из вспенен- ного латекса), натурального линолеума, каучуковых покрытий с гладкой изнанкой. Содержит органические растворители. Наносится зубчатым шпателем | |
Полиуретановый двухкомпонентный клей Thomsit R 710 | 300 - 1200 г/м2 | Применяется для каучуковых и поливинилхлоридных плиток. Не содержит органические растворители. Наносится зубчатым шпателем | |
Водно-дисперсионный клей Thomsit L 240D | 450 г/м2 | Применяется для покрытий из натурального (алкидного) линоле- ума. Не содержит растворитель. Наносится зубчатым шпателем | |
3 | Водно-дисперсионная грунтовка Thomsit R 766 | 40 г/м2 | Наносится кистью или валиком на очищенную поверхность стяжки. Разбавляется водой в соотношении 1:4 |
4 | Сборная стяжка из готовых элементов из гипсоволокнистых листов | 1,02 м2/м2 | |
5 | Водно-дисперсионный клей | 40 - 50 г/п.м. | |
6 | Кварцевый песок | По факту | Расход - минимально необходимый для выравнивания поверхности нижележащего слоя |
7 | Пароизоляция - полиэтиленовая пленка | 1,15 м2/м2 | |
8 | Сплошная или многопустотная плита перекрытия |

Поз. | Наименование | Расход | Примечание |
1 | Линолеум поливинилхлоридный и алкидный, плитки или ковры из синтетических волокон, резиновые плитки | 1,02 м2/м2 | |
2 | Водно-дисперсионный клей Thomsit UK 400 | 350 - 550 г/м2 | Применяется для гетерогенных и гомогенных ПВХ покрытий в рулонах и плитках и всех видов текстильных покрытий (кроме модульной ковровой плитки, покрытий с полиуретановой осно- вой и покрытий из натурального волокна). Не содержит органические растворители. Наносится зубчатым шпателем |
Водно-дисперсионный клей Thomsit K 188E | 150 - 300 г/м2 | Применяется для гетерогенных и гомогенных ПВХ покрытий в рулонах и плитках, текстильных покрытий с полимерной основой, каучуковых покрытий толщиной до 2,5 мм. Не содержит органические растворители. Наносится зубчатым шпателем | |
Растворный клей Thomsit K 172 | 250 - 350 г/м2 | Применяется для гетерогенных и гомогенных ПВХ покрытий в рулонах и плитках, всех видов текстильных покрытий (кроме модульной ковровой плитки и покрытий с основой из вспенен- ного латекса), натурального линолеума, каучуковых покрытий с гладкой изнанкой. Содержит органические растворители. Наносится зубчатым шпателем | |
Полиуретановый двухкомпонентный клей Thomsit R 710 | 300 - 1200 г/м2 | Применяется для каучуковых и поливинилхлоридных плиток. Не содержит органические растворители. Наносится зубчатым шпателем | |
Водно-дисперсионный клей Thomsit L 240D | 450 г/м2 | Применяется для покрытий из натурального (алкидного) линоле- ума. Не содержит растворитель. Наносится зубчатым шпателем | |
3 | Водно-дисперсионная грунтовка Thomsit R 766 | 40 г/м2 | Наносится кистью или валиком на очищенную поверхность стяжки. Разбавляется водой в соотношении 1:4 |
4 | Сборная стяжка из готовых элементов из гипсоволокнистых листов | 1,02 м2/м2 | |
5 | Водно-дисперсионный клей | 40 - 50 г/п.м. | |
6 | Тепло- и звукоизоляция из кварцевого или керамзитового песка | Толщина слоя и расход материалов назначаются в соответствии с расчетами по параметрам тепло- и звукоизоляции | |
7 | Пароизоляция - полиэтиленовая пленка | 1,15 м2/м2 | |
8 | Сплошная или многопустотная плита перекрытия |

Поз. | Наименование | Расход | Примечание |
1 | Линолеум поливинилхлоридный и алкидный, плитки или ковры из синтетических волокон, резиновые плитки | 1,02 м2/м2 | |
2 | Водно-дисперсионный клей Thomsit UK 400 | 350 - 550 г/м2 | Применяется для гетерогенных и гомогенных ПВХ покрытий в рулонах и плитках и всех видов текстильных покрытий (кроме модульной ковровой плитки, покрытий с полиуретановой осно- вой и покрытий из натурального волокна). Не содержит органические растворители. Наносится зубчатым шпателем |
Водно-дисперсионный клей Thomsit K 188E | 150 - 300 г/м2 | Применяется для гетерогенных и гомогенных ПВХ покрытий в рулонах и плитках, текстильных покрытий с полимерной основой, каучуковых покрытий толщиной до 2,5 мм. Не содержит органические растворители. Наносится зубчатым шпателем | |
Растворный клей Thomsit K 172 | 250 - 350 г/м2 | Применяется для гетерогенных и гомогенных ПВХ покрытий в рулонах и плитках, всех видов текстильных покрытий (кроме модульной ковровой плитки и покрытий с основой из вспенен- ного латекса), натурального линолеума, каучуковых покрытий с гладкой изнанкой. Содержит органические растворители. Наносится зубчатым шпателем | |
Полиуретановый двухкомпонентный клей Thomsit R 710 | 300 - 1200 г/м2 | Применяется для каучуковых и поливинилхлоридных плиток. Не содержит органические растворители. Наносится зубчатым шпателем | |
Водно-дисперсионный клей Thomsit L 240D | 450 г/м2 | Применяется для покрытий из натурального (алкидного) линоле- ума. Не содержит растворитель. Наносится зубчатым шпателем | |
3 | Водно-дисперсионная грунтовка Thomsit R 766 | 40 г/м2 | Наносится кистью или валиком на очищенную поверхность стяжки. Разбавляется водой в соотношении 1:4 |
4 | Сборная стяжка из готовых элементов из гипсоволокнистых листов | 1,02 м2/м2 | |
5 | Водно-дисперсионный клей | 40 - 50 г/п.м. | |
6 | Тепло- и звукоизоляция из плит или матов | Толщина слоя и расход материалов назначаются в соответствии с расчетами по параметрам тепло- и звукоизоляции | |
7 | Пароизоляция - полиэтиленовая пленка | 1,15 м2/м2 | |
8 | Сплошная или многопустотная плита перекрытия |

Поз. | Наименование | Расход | Примечание |
1 | Линолеум поливинилхлоридный и алкидный, плитки или ковры из синтетических волокон, резиновые плитки | 1,02 м2/м2 | |
2 | Водно-дисперсионный клей Thomsit UK 400 | 350 - 550 г/м2 | Применяется для гетерогенных и гомогенных ПВХ покрытий в рулонах и плитках и всех видов текстильных покрытий (кроме модульной ковровой плитки, покрытий с полиуретановой осно- вой и покрытий из натурального волокна). Не содержит органические растворители. Наносится зубчатым шпателем |
Водно-дисперсионный клей Thomsit K 188E | 150 - 300 г/м2 | Применяется для гетерогенных и гомогенных ПВХ покрытий в рулонах и плитках, текстильных покрытий с полимерной основой, каучуковых покрытий толщиной до 2,5 мм. Не содержит органические растворители. Наносится зубчатым шпателем | |
Растворный клей Thomsit K 172 | 250 - 350 г/м2 | Применяется для гетерогенных и гомогенных ПВХ покрытий в рулонах и плитках, всех видов текстильных покрытий (кроме модульной ковровой плитки и покрытий с основой из вспенен- ного латекса), натурального линолеума, каучуковых покрытий с гладкой изнанкой. Содержит органические растворители. Наносится зубчатым шпателем | |
Полиуретановый двухкомпонентный клей Thomsit R 710 | 300 - 1200 г/м2 | Применяется для каучуковых и поливинилхлоридных плиток. Не содержит органические растворители. Наносится зубчатым шпателем | |
Водно-дисперсионный клей Thomsit L 240D | 450 г/м2 | Применяется для покрытий из натурального (алкидного) линоле- ума. Не содержит растворитель. Наносится зубчатым шпателем | |
3 | Водно-дисперсионная грунтовка Thomsit R 766 | 40 г/м2 | Наносится кистью или валиком на очищенную поверхность стяжки. Разбавляется водой в соотношении 1:4 |
4 | Сборная стяжка из готовых элементов из гипсоволокнистых листов | 1,02 м2/м2 | |
5 | Водно-дисперсионный клей | 40 - 50 г/п.м. | |
6 | Тепло-звукоизоли- рующая засыпка из кварцевого или керамзитового песка | По расчету | Толщина слоя и расход материалов назначаются в соответствии с расчетами по параметрам тепло- и звукоизоляции, но не менее высоты кожуха H + 15 |
7 | Труба | ||
8 | Обкладка трубы пористо- волокнистыми матами | По факту | |
9 | Защитный металли- ческий кожух | ||
10 | Дюбель разжимной | ||
11 | Пароизоляция - полиэтиленовая пленка | 1,15 м2/м2 | |
12 | Сплошная или многопустотная плита перекрытия |

Поз. | Наименование | Расход | Примечание |
1 | Линолеум поливинилхлоридный и алкидный, плитки или ковры из синтетических волокон, резиновые плитки | 1,02 м2/м2 | |
2 | Водно-дисперсионный клей Thomsit UK 400 | 350 - 550 г/м2 | Применяется для гетерогенных и гомогенных ПВХ покрытий в рулонах и плитках и всех видов текстильных покрытий (кроме модульной ковровой плитки, покрытий с полиуретановой осно- вой и покрытий из натурального волокна). Не содержит органические растворители. Наносится зубчатым шпателем |
Водно-дисперсионный клей Thomsit K 188E | 150 - 300 г/м2 | Применяется для гетерогенных и гомогенных ПВХ покрытий в рулонах и плитках, текстильных покрытий с полимерной основой, каучуковых покрытий толщиной до 2,5 мм. Не содержит органические растворители. Наносится зубчатым шпателем | |
Растворный клей Thomsit K 172 | 250 - 350 г/м2 | Применяется для гетерогенных и гомогенных ПВХ покрытий в рулонах и плитках, всех видов текстильных покрытий (кроме модульной ковровой плитки и покрытий с основой из вспенен- ного латекса), натурального линолеума, каучуковых покрытий с гладкой изнанкой. Содержит органические растворители. Наносится зубчатым шпателем | |
Полиуретановый двухкомпонентный клей Thomsit R 710 | 300 - 1200 г/м2 | Применяется для каучуковых и поливинилхлоридных плиток. Не содержит органические растворители. Наносится зубчатым шпателем | |
Водно-дисперсионный клей Thomsit L 240D | 450 г/м2 | Применяется для покрытий из натурального (алкидного) линоле- ума. Не содержит растворитель. Наносится зубчатым шпателем | |
3 | Водно-дисперсионная грунтовка Thomsit R 766 | 40 г/м2 | Наносится кистью или валиком на очищенную поверхность стяжки. Разбавляется водой в соотношении 1:4 |
4 | Сборная стяжка из готовых элементов из гипсоволокнистых листов | 1,02 м2/м2 | |
5 | Водно-дисперсионный клей | 40 - 50 г/п.м. | |
6 | Тепло-звукоизоли- рующая засыпка из кварцевого или керамзитового песка | По расчету | Толщина слоя и расход материалов назначаются в соответствии с расчетами по параметрам тепло- и звукоизоляции, но не менее высоты кожуха H + 15 |
7 | Труба | ||
8 | Обкладка трубы пористо- волокнистыми матами | По факту | |
9 | Защитный металли- ческий кожух | ||
10 | Дюбель разжимной | ||
11 | Пароизоляция - полиэтиленовая пленка | 1,15 м2/м2 | |
12 | Сплошная или многопустотная плита перекрытия |

Поз. | Наименование | Расход | Примечание |
1 | Линолеум поливинилхлоридный и алкидный, плитки или ковры из синтетических волокон, резиновые плитки | 1,02 м2/м2 | |
2 | Водно-дисперсионный клей Thomsit UK 400 | 350 - 550 г/м2 | Применяется для гетерогенных и гомогенных ПВХ покрытий в рулонах и плитках и всех видов текстильных покрытий (кроме модульной ковровой плитки, покрытий с полиуретановой осно- вой и покрытий из натурального волокна). Не содержит органические растворители. Наносится зубчатым шпателем |
Водно-дисперсионный клей Thomsit K 188E | 150 - 300 г/м2 | Применяется для гетерогенных и гомогенных ПВХ покрытий в рулонах и плитках, текстильных покрытий с полимерной основой, каучуковых покрытий толщиной до 2,5 мм. Не содержит органические растворители. Наносится зубчатым шпателем | |
Растворный клей Thomsit K 172 | 250 - 350 г/м2 | Применяется для гетерогенных и гомогенных ПВХ покрытий в рулонах и плитках, всех видов текстильных покрытий (кроме модульной ковровой плитки и покрытий с основой из вспенен- ного латекса), натурального линолеума, каучуковых покрытий с гладкой изнанкой. Содержит органические растворители. Наносится зубчатым шпателем | |
Полиуретановый двухкомпонентный клей Thomsit R 710 | 300 - 1200 г/м2 | Применяется для каучуковых и поливинилхлоридных плиток. Не содержит органические растворители. Наносится зубчатым шпателем | |
Водно-дисперсионный клей Thomsit L 240D | 450 г/м2 | Применяется для покрытий из натурального (алкидного) линоле- ума. Не содержит растворитель. Наносится зубчатым шпателем | |
3 | Водно-дисперсионная грунтовка Thomsit R 766 | 40 г/м2 | Наносится кистью или валиком на очищенную поверхность стяжки. Разбавляется водой в соотношении 1:4 |
4 | Сборная стяжка из ДСП | 1,02 м2/м2 | |
5 | Растворный клей Thomsit P 600 | 40 - 50 г/п.м. | |
6 | Пароизоляция - пергамин | 1,15 м2/м2 | |
7 | Кварцевый песок | По факту | Расход - минимально необходимый для выравнивания поверхности нижележащего слоя |
8 | Сплошное или многопустотное междуэтажное железобетонное перекрытие |

Поз. | Наименование | Расход | Примечание |
1 | Линолеум поливинилхлоридный и алкидный, плитки или ковры из синтетических волокон, резиновые плитки | 1,02 м2/м2 | |
2 | Водно-дисперсионный клей Thomsit UK 400 | 350 - 550 г/м2 | Применяется для гетерогенных и гомогенных ПВХ покрытий в рулонах и плитках и всех видов текстильных покрытий (кроме модульной ковровой плитки, покрытий с полиуретановой осно- вой и покрытий из натурального волокна). Не содержит органические растворители. Наносится зубчатым шпателем |
Водно-дисперсионный клей Thomsit K 188E | 150 - 300 г/м2 | Применяется для гетерогенных и гомогенных ПВХ покрытий в рулонах и плитках, текстильных покрытий с полимерной основой, каучуковых покрытий толщиной до 2,5 мм. Не содержит органические растворители. Наносится зубчатым шпателем | |
Растворный клей Thomsit K 172 | 250 - 350 г/м2 | Применяется для гетерогенных и гомогенных ПВХ покрытий в рулонах и плитках, всех видов текстильных покрытий (кроме модульной ковровой плитки и покрытий с основой из вспенен- ного латекса), натурального линолеума, каучуковых покрытий с гладкой изнанкой. Содержит органические растворители. Наносится зубчатым шпателем | |
Полиуретановый двухкомпонентный клей Thomsit R 710 | 300 - 1200 г/м2 | Применяется для каучуковых и поливинилхлоридных плиток. Не содержит органические растворители. Наносится зубчатым шпателем | |
Водно-дисперсионный клей Thomsit L 240D | 450 г/м2 | Применяется для покрытий из натурального (алкидного) линоле- ума. Не содержит растворитель. Наносится зубчатым шпателем | |
3 | Водно-дисперсионная грунтовка Thomsit R 766 | 40 г/м2 | Наносится кистью или валиком на очищенную поверхность стяжки. Разбавляется водой в соотношении 1:4 |
4 | Сборная стяжка из ДСП | 1,02 м2/м2 | |
5 | Растворный клей Thomsit P 600 | 40 - 50 г/п.м. | |
6 | Полиэтиленовая пленка | 1,15 м2/м2 | |
7 | Тепло-звукоизоляция из плит или матов | Толщина слоя и расход материалов назначаются в соответствии с расчетами по параметрам тепло- и звукоизоляции | |
8 | Бетонное основание из бетона класса В22,5 | 0,08 м3/м2 | |
9 | Грунт основания |

Поз. | Наименование | Расход | Примечание |
1 | Линолеум поливинил- хлоридный и алкид- ный, плитки или ковры из синтети- ческих волокон, резиновые плитки | 1,02 м2/м2 | |
2 | Водно-дисперсионный клей Thomsit UK 400 | 350 - 550 г/м2 | Применяется для гетерогенных и гомогенных ПВХ покрытий в рулонах и плитках и всех видов текстильных покрытий (кроме модульной ковровой плитки, покрытий с полиуретановой осно- вой и покрытий из натурального волокна). Не содержит органические растворители. Наносится зубчатым шпателем |
Водно-дисперсионный клей Thomsit K 188E | 150 - 300 г/м2 | Применяется для гетерогенных и гомогенных ПВХ покрытий в рулонах и плитках, текстильных покрытий с полимерной основой, каучуковых покрытий толщиной до 2,5 мм. Не содержит органические растворители. Наносится зубчатым шпателем | |
Растворный клей Thomsit K 172 | 250 - 350 г/м2 | Применяется для гетерогенных и гомогенных ПВХ покрытий в рулонах и плитках, всех видов текстильных покрытий (кроме модульной ковровой плитки и покрытий с основой из вспенен- ного латекса), натурального линолеума, каучуковых покрытий с гладкой изнанкой. Содержит органические растворители. Наносится зубчатым шпателем | |
Полиуретановый двухкомпонентный клей Thomsit R 710 | 300 - 1200 г/м2 | Применяется для каучуковых и поливинилхлоридных плиток. Не содержит органические растворители. Наносится зубчатым шпателем | |
Водно-дисперсионный клей Thomsit L 240D | 450 г/м2 | Применяется для покрытий из натурального (алкидного) линолеума. Не содержит растворитель. Наносится зубчатым шпателем | |
3 | Водно-дисперсионная грунтовка Thomsit R 766 | 40 г/м2 | Наносится валиком на очищенную поверхность сборной стяжки. Разбавляется водой в соотношении 1:4 |
4 | Сборная стяжка из фанеры | 2,04 м2/м2 | |
5 | Растворный клей Thomsit P 600 | 1200 - 1600 г/м2 | Содержит растворитель. Наносится зубчатым шпателем |
6 | Закрепление саморезами | Шаг между саморезами 300 мм, по кромке листов - 150 мм | |
7 | Лага регулируемая | Согласно инструкции | Монтаж лаг осуществляется в соответствии с инструкцией фирмы-производителя |
8 | Болт-стойка | Согласно инструкции | Установка болт-стоек осуществляется в соответствии с инструкцией фирмы-производителя |
9 | Труба | ||
10 | Пароизоляция - полиэтиленовая пленка | 1,15 м2/м2 | |
11 | Сплошное или многопустотное междуэтажное железобетонное перекрытие |

Поз. | Наименование | Расход | Примечание |
1 | Линолеум поливинилхлоридный и алкидный, плитки или ковры из синтетических волокон, резиновые плитки | 1,02 м2/м2 | |
2 | Водно-дисперсионный клей Thomsit UK 400 | 350 - 550 г/м2 | Применяется для гетерогенных и гомогенных ПВХ покрытий в рулонах и плитках и всех видов текстильных покрытий (кроме модульной ковровой плитки, покрытий с полиуретановой основой и покрытий из нату- рального волокна). Не содержит органические растворители. Наносится зубчатым шпателем |
Водно-дисперсионный клей Thomsit K 188E | 150 - 300 г/м2 | Применяется для гетерогенных и гомогенных ПВХ покрытий в рулонах и плитках, текстильных покрытий с полимерной основой, каучуковых покрытий толщиной до 2,5 мм. Не содержит органические растворители. Наносится зубчатым шпателем | |
Растворный клей Thomsit K 172 | 250 - 350 г/м2 | Применяется для гетерогенных и гомогенных ПВХ покрытий в рулонах и плитках, всех видов текстильных покрытий (кроме модульной ковровой плитки и покрытий с основой из вспенен- ного латекса), натурального линолеума, каучуковых покрытий с гладкой изнанкой. Содержит органические растворители. Наносится зубчатым шпателем | |
Полиуретановый двухкомпонентный клей Thomsit R 710 | 300 - 1200 г/м2 | Применяется для каучуковых и поливинилхлоридных плиток. Не содержит органические растворители. Наносится зубчатым шпателем | |
Водно-дисперсионный клей Thomsit L 240D | 450 г/м2 | Применяется для покрытий из натурального (алкидного) линолеума. Не содержит растворитель. Наносится зубчатым шпателем | |
3 | Водно-дисперсионная грунтовка Thomsit R 766 | 40 г/м2 | Наносится валиком на очищенную поверхность сборной стяжки. Разбавляется водой в соотношении 1:4 |
4 | Сборная стяжка из фанеры | 2,04 м2/м2 | |
5 | Растворный клей Thomsit P 600 | 1200 - 1600 г/м2 | Содержит растворитель. Наносится зубчатым шпателем |
6 | Закрепление саморезами | Шаг между саморезами 300 мм, по кромке листов - 150 мм | |
7 | Лага регулируемая | Согласно инструкции | Монтаж лаг осуществляется в соответствии с инструкцией фирмы-производителя |
8 | Болт-стойка | Согласно инструкции | Установка болт-стоек осуществляется в соответствии с инструкцией фирмы-производителя |
9 | Тепло- и звукоизоляция из плит или матов | Толщина слоя и расход материалов назначаются в соответствии с расчетами по параметрам тепло- и звукоизоляции | |
10 | Пароизоляция - полиэтиленовая пленка | 1,15 м2/м2 | |
11 | Сплошное или многопустотное междуэтажное железобетонное перекрытие |

Поз. | Наименование | Расход | Примечание |
1 | Линолеум поливинилхлоридный и алкидный, плитки или ковры из синтетических волокон, резиновые плитки | 1,02 м2/м2 | |
2 | Водно-дисперсионный клей Thomsit UK 400 | 350 - 550 г/м2 | Применяется для гетерогенных и гомогенных ПВХ покрытий в рулонах и плитках и всех видов текстильных покрытий (кроме модульной ковровой плитки, покрытий с полиуретановой основой и покрытий из натурального волокна). Не содержит органические растворители. Наносится зубчатым шпателем |
Водно-дисперсионный клей Thomsit K 188E | 150 - 300 г/м2 | Применяется для гетерогенных и гомогенных ПВХ покрытий в рулонах и плитках, текстильных покрытий с полимерной основой, каучуковых покрытий толщиной до 2,5 мм. Не содержит органические растворители. Наносится зубчатым шпателем | |
Растворный клей Thomsit K 172 | 250 - 350 г/м2 | Применяется для гетерогенных и гомогенных ПВХ покрытий в рулонах и плитках, всех видов текстильных покрытий (кроме модульной ковровой плитки и покрытий с основой из вспененного латекса), натурального линолеума, каучуковых покрытий с гладкой изнан- кой. Содержит органические растворители. Наносится зубчатым шпателем | |
Полиуретановый двухкомпонентный клей Thomsit R 710 | 300 - 1200 г/м2 | Применяется для каучуковых и поливинилхлоридных плиток. Не содержит органические растворители. Наносится зубчатым шпателем | |
Водно-дисперсионный клей Thomsit L 240D | 450 г/м2 | Применяется для покрытий из натурального (алкидного) линолеума. Не содержит растворитель. Наносится зубчатым шпателем | |
3 | Водно-дисперсион- ная грунтовка Thomsit R 766 | 40 г/м2 | Наносится валиком на очищенную поверхность сборной стяжки. Разбавляется водой в соотношении 1:4 |
4 | Сборная стяжка из фанеры | 2,04 м2/м2 | |
5 | Растворный клей Thomsit P 600 | 1200 - 1600 г/м2 | Содержит растворитель. Наносится зубчатым шпателем |
6 | Закрепление саморезами | Шаг между саморезами 300 мм, по кромке листов - 150 мм | |
7 | Лага обыкновенная | 0,004 - 0,005 м3/п.м. | Шаг между лагами 300 мм в помещениях администра- тивных зданий, 600 мм - в жилых помещениях |
8 | Кварцевый песок | По факту | Расход - минимально необходимый для выравнивания поверхности нижележащего слоя |
9 | Сплошное или многопустотное междуэтажное железобетонное перекрытие с неровной поверхностью |

Поз. | Наименование | Расход | Примечание |
1 | Линолеум поливинилхлоридный и алкидный, плитки или ковры из синтетических волокон, резиновые плитки | 1,02 м2/м2 | |
2 | Водно-дисперсионный клей Thomsit UK 400 | 350 - 550 г/м2 | Применяется для гетерогенных и гомогенных ПВХ покрытий в рулонах и плитках и всех видов текстильных покрытий (кроме модульной ковровой плитки, покрытий с полиуретановой основой и покрытий из натурального волокна). Не содержит органические растворители. Наносится зубчатым шпателем |
Водно-дисперсионный клей Thomsit K 188E | 150 - 300 г/м2 | Применяется для гетерогенных и гомогенных ПВХ покрытий в рулонах и плитках, текстильных по- крытий с полимерной осно- вой, каучуковых покрытий толщиной до 2,5 мм. Не содержит органические растворители. Наносится зубчатым шпателем | |
Растворный клей Thomsit K 172 | 250 - 350 г/м2 | Применяется для гетерогенных и гомогенных ПВХ покрытий в рулонах и плитках, всех видов текстильных покрытий (кроме модульной ковровой плитки и покрытий с основой из вспененного латекса), натурального линолеума, каучуковых покрытий с гладкой изнанкой. Содержит органические растворители. Наносится зубчатым шпателем | |
Полиуретановый двухкомпонентный клей Thomsit R 710 | 300 - 1200 г/м2 | Применяется для каучуковых и поливинилхлоридных плиток. Не содержит органические растворители. Наносится зубчатым шпателем | |
Водно-дисперсионный клей Thomsit L 240D | 450 г/м2 | Применяется для покрытий из натурального (алкидного) линолеума. Не содержит растворитель. Наносится зубчатым шпателем | |
3 | Водно-дисперсионная грунтовка Thomsit R 766 | 40 г/м2 | Наносится валиком на очищенную поверхность сборной стяжки. Разбавляется водой в соотношении 1:4 |
4 | Сборная стяжка из фанеры | 2,04 м2/м2 | |
5 | Растворный клей Thomsit P 600 | 1200 - 1600 г/м2 | Содержит растворитель. Наносится зубчатым шпателем |
6 | Закрепление саморезами | Шаг между саморезами 300 мм, по кромке листов - 150 мм | |
7 | Лага обыкновенная | 0,004 - 0,005 м3/п.м. | Шаг между лагами 300 мм в помещениях администра- тивных зданий, 600 мм - в жилых помещениях |
8 | Звукоизолирующая прокладка | 0,15 м2/п.м. | Материал и толщина звукоизолирующей прокладки назначаются в соответствии с расчетами по параметрам звукоизоляции |
9 | Кварцевый песок | По факту | Расход - минимально необходимый для выравнивания поверхности нижележащего слоя |
10 | Сплошное или многопустотное междуэтажное железобетонное перекрытие с неровной поверхностью |

Поз. | Наименование | Расход | Примечание |
1 | Линолеум поливинил- хлоридный антистатический, резиновые антиста- тические покрытия, антистатические текстильные покрытия | 1,02 м2/м2 | |
2 | Токопроводящий водно-дисперсионный клей Thomsit K 112 | 300 - 350 г/м2 | Применяется для антистатических ПВХ покрытий в рулонах и плитках, каучуковых покрытий в рулонах |
Токопроводящий водно-дисперсионный клей Thomsit T 412 | 380 - 450 г/м2 | Применяется для антистатических текстильных покрытий | |
3 | Токопроводящая водно-дисперсионная грунтовка Thomsit R 762 | 100 - 150 г/м2 | Наносится поролоновым валиком на очищенную поверхность стяжки |
4 | Медная или углеграфитовая лента | По факту | Создается электроотводящий контур, наклеивая ленту по периметру помещения, а также вдоль и поперек помещения с шагом не более 3 м. Электроотводящий контур должен быть присоединен к системе заземления здания |
5 | Полимерцементная саморазравниваю- щаяся стяжка марки Ceresit CN 69 | 1,8 кг/м2 | Наносится шпателем слоем толщиной от 3 до 15 мм. Расход - на 1 мм слоя. Предел прочности при сжатии после 28 суток выдержки не менее 18 МПа |
Полимерцементная саморазравниваю- щаяся стяжка марки Ceresit CN 76 | 2,0 кг/м2 | Наносится шпателем слоем толщиной от 4 до 50 мм. Расход - на 1 мм слоя. Предел прочности при сжатии после 28 суток выдержки не менее 40 МПа | |
Полимерцементная саморазравниваю- щаяся стяжка марки Thomsit DD | 1,5 кг/м2 | Наносится шпателем слоем тол- щиной от 0,5 до 5 мм. Расход - на 1 мм слоя. Предел прочности при сжатии после 28 суток выдержки не менее 22 МПа | |
Полимерцементная саморазравниваю- щаяся стяжка марки Thomsit DX | 1,5 кг/м2 | Наносится шпателем слоем тол- щиной от 0,5 до 10 мм. Расход - на 1 мм слоя. Предел прочности при сжатии после 28 суток выдержки не менее 30 МПа | |
Полимерцементная стяжка марки Ceresit CN 178 | 2,0 кг/м2 | Наносится шпателем слоем толщиной от 5 до 80 мм. Расход - на 1 мм слоя. Предел прочности при сжатии после 28 суток выдержки не менее 25 МПа | |
Стяжка из цементно- песчаного раствора марки М150 | 0,02 м3/м2 | ||
Стяжка из бетона класса В12,5 | 0,02 м3/м2 | ||
6 | Водно-дисперсионная грунтовка Ceresit CT 17 | 0,1 - 0,2 л/м2 | Наносится кистью или валиком на очищенную поверхность бетонного основания |
Водно-дисперсионная грунтовка Ceresit CN 94 | 20 - 120 г/м2 | Наносится кистью или валиком на очищенную поверхность бетонного основания. Разбавляется водой в соотношении 1:3 | |
Водно-дисперсионная грунтовка Thomsit R 777 | 300 г/м2 | Наносится кистью или валиком на очищенную поверхность бетонного основания | |
Водно-дисперсионная грунтовка Thomsit R 766 | 150 г/м2 | Наносится кистью или валиком на очищенную поверхность бетонного основания. Разбавляется водой в соотношении 1:1 | |
7 | Бетонное основание из бетона класса В22,5 | 0,08 м3/м2 | |
8 | Грунт основания |

Поз. | Наименование | Расход | Примечание |
1 | Линолеум поливинилхлоридный антистатический, резиновые антиста- тические покрытия, антистатические текстильные покрытия | 1,02 м2/м2 | |
2 | Токопроводящий водно-дисперсионный клей Thomsit K 112 | 300 - 350 г/м2 | Применяется для антистатических ПВХ покрытий в рулонах и плитках, каучуковых покрытий в рулонах |
Токопроводящий водно-дисперсионный клей Thomsit T 412 | 380 - 450 г/м2 | Применяется для антистатических текстильных покрытий | |
3 | Токопроводящая водно-дисперсионная грунтовка Thomsit R 762 | 100 - 150 г/м2 | Наносится поролоновым валиком на очищенную поверхность стяжки |
4 | Медная или углеграфитовая лента | По факту | Создается электроотводящий контур, наклеивая ленту по периметру помещения, а также вдоль и поперек помещения с шагом не более 3 м. Электроотводящий контур должен быть присоединен к системе заземления здания |
5 | Полимерцементная саморазравниваю- щаяся стяжка марки Ceresit CN 69 | 1,8 кг/м2 | Наносится шпателем слоем тол- щиной от 3 до 15 мм. Расход - на 1 мм слоя. Предел прочности при сжатии после 28 суток выдержки не менее 18 МПа |
Полимерцементная саморазравниваю- щаяся стяжка марки Ceresit CN 76 | 2,0 кг/м2 | Наносится шпателем слоем тол- щиной от 4 до 50 мм. Расход - на 1 мм слоя. Предел прочности при сжатии после 28 суток выдержки не менее 40 МПа | |
Полимерцементная саморазравниваю- щаяся стяжка марки Thomsit DD | 1,5 кг/м2 | Наносится шпателем слоем тол- щиной от 0,5 до 5 мм. Расход - на 1 мм слоя. Предел прочности при сжатии после 28 суток выдержки не менее 22 МПа | |
Полимерцементная саморазравниваю- щаяся стяжка марки Thomsit DX | 1,5 кг/м2 | Наносится шпателем слоем тол- щиной от 0,5 до 10 мм. Расход - на 1 мм слоя. Предел прочности при сжатии после 28 суток выдержки не менее 30 МПа | |
Полимерцементная стяжка марки Ceresit CN 178 | 2,0 кг/м2 | Наносится шпателем слоем тол- щиной от 5 до 80 мм. Расход - на 1 мм слоя. Предел прочности при сжатии после 28 суток выдержки не менее 25 МПа | |
Стяжка из цементно- песчаного раствора марки М150 | 0,02 м3/м2 | ||
Стяжка из бетона класса В12,5 | 0,02 м3/м2 | ||
6 | Водно-дисперсионная грунтовка Ceresit CT 17 | 0,1 - 0,2 л/м2 | Наносится кистью или валиком на очищенную поверхность бетонного основания |
Водно-дисперсионная грунтовка Ceresit CN 94 | 20 - 120 г/м2 | Наносится кистью или валиком на очищенную поверхность бетонного основания. Разбавляется водой в соотношении 1:3 | |
Водно-дисперсионная грунтовка Thomsit R 777 | 300 г/м2 | Наносится кистью или валиком на очищенную поверхность бетонного основания | |
Водно-дисперсионная грунтовка Thomsit R 766 | 150 г/м2 | Наносится кистью или валиком на очищенную поверхность бетонного основания. Разбавляется водой в соотношении 1:1 | |
7 | Бетонное основание из бетона класса В22,5 | 0,08 м3/м2 | |
8 | Наливная гидроизоляция - щебень или гравий, пропитанные битумом | Щебень или гравий - 0,04 - 0,05 м/м, битум - по факту | |
9 | Грунт основания |

Поз. | Наименование | Расход | Примечание |
1 | Линолеум поливинилхлоридный антистатический, резиновые антиста- тические покрытия, антистатические текстильные покрытия | 1,02 м2/м2 | |
2 | Токопроводящий водно-дисперсионный клей Thomsit K 112 | 300 - 350 г/м2 | Применяется для антистатических ПВХ покрытий в рулонах и плитках, каучуковых покрытий в рулонах |
Токопроводящий водно-дисперсионный клей Thomsit T 412 | 380 - 450 г/м2 | Применяется для антистатических текстильных покрытий | |
3 | Токопроводящая водно-дисперсионная грунтовка Thomsit R 762 | 100 - 150 г/м2 | Наносится поролоновым валиком на очищенную поверхность стяжки |
4 | Медная или углеграфитовая лента | По факту | Создается электроотводящий контур, наклеивая ленту по периметру помещения, а также вдоль и поперек помещения с шагом не более 3 м. Электроотводящий контур должен быть присоединен к системе заземления здания |
5 | Полимерцементная саморазравниваю- щаяся стяжка марки Ceresit CN 69 | 1,8 кг/м2 | Наносится шпателем слоем толщиной от 3 до 15 мм. Расход - на 1 мм слоя. Предел прочности при сжатии после 28 суток выдержки не менее 18 МПа |
Полимерцементная саморазравниваю- щаяся стяжка марки Ceresit CN 76 | 2,0 кг/м2 | Наносится шпателем слоем толщиной от 4 до 50 мм. Расход - на 1 мм слоя. Предел прочности при сжатии после 28 суток выдержки не менее 40 МПа | |
Полимерцементная саморазравниваю- щаяся стяжка марки Thomsit DD | 1,5 кг/м2 | Наносится шпателем слоем тол- щиной от 0,5 до 5 мм. Расход - на 1 мм слоя. Предел прочности при сжатии после 28 суток выдержки не менее 22 МПа | |
Полимерцементная саморазравниваю- щаяся стяжка марки Thomsit DX | 1,5 кг/м2 | Наносится шпателем слоем тол- щиной от 0,5 до 10 мм. Расход - на 1 мм слоя. Предел прочности при сжатии после 28 суток выдержки не менее 30 МПа | |
Полимерцементная стяжка марки Ceresit CN 178 | 2,0 кг/м2 | Наносится шпателем слоем тол- щиной от 5 до 80 мм. Расход - на 1 мм слоя. Предел прочности при сжатии после 28 суток выдержки не менее 25 МПа | |
Стяжка из цементно- песчаного раствора марки М150 | 0,02 м3/м2 | ||
Стяжка из бетона класса В12,5 | 0,02 м3/м2 | ||
6 | Водно-дисперсионная грунтовка Ceresit CT 17 | 0,1 - 0,2 л/м2 | Наносится кистью или валиком на очищенную поверхность бетонного основания |
Водно-дисперсионная грунтовка Ceresit CN 94 | 20 - 120 г/м2 | Наносится кистью или валиком на очищенную поверхность бетонного основания. Разбавляется водой в соотношении 1:3 | |
Водно-дисперсионная грунтовка Thomsit R 777 | 300 г/м2 | Наносится кистью или валиком на очищенную поверхность бетонного основания | |
Водно-дисперсионная грунтовка Thomsit R 766 | 150 г/м2 | Наносится кистью или валиком на очищенную поверхность бетонного основания. Разбавляется водой в соотношении 1:1 | |
7 | Бетонное основание из бетона класса В22,5 | 0,08 м3/м2 | |
8 | Рулонная гидроизоляция | 1,02 м2/м2 | |
Обмазочная гидроизоляция на основе эластичной гидроизолирующей массы Ceresit CR 66 | 3 - 5 кг/м2 | ||
9 | Стяжка из цементно- песчаного раствора марки М150 | 0,05 м3/м2 | |
10 | Грунт основания |

Поз. | Наименование | Расход | Примечание |
1 | Линолеум поливинилхлоридный антистатический, резиновые антиста- тические покрытия, антистатические текстильные покрытия | 1,02 м2/м2 | |
2 | Токопроводящий водно-дисперсионный клей Thomsit K 112 | 300 - 350 г/м2 | Применяется для антистатических ПВХ покрытий в рулонах и плитках, каучуковых покрытий в рулонах |
Токопроводящий водно-дисперсионный клей Thomsit T 412 | 380 - 450 г/м2 | Применяется для антистатических текстильных покрытий | |
3 | Токопроводящая водно-дисперсионная грунтовка Thomsit R 762 | 100 - 150 г/м2 | Наносится поролоновым валиком на очищенную поверхность стяжки |
4 | Медная или углеграфитовая лента | По факту | Создается электроотводящий контур, наклеивая ленту по периметру помещения, а также вдоль и поперек помещения с шагом не более 3 м. Электроотводящий контур должен быть присоединен к системе заземления здания |
5 | Стяжка из цементно- песчаного раствора марки М150 | Расход материала определяется толщиной стяжки, которая должна превышать на 15 - 20 мм диаметр трубы | |
Стяжка из бетона класса В12,5 | Расход материала определяется толщиной стяжки, которая должна превышать на 15 - 20 мм диаметр трубы | ||
Полимерцементная стяжка марки Ceresit CN 178 | Расход материала определяется толщиной стяжки, которая должна превышать на 15 - 20 мм диаметр трубы | ||
Полимерцементная стяжка марки Ceresit CN 83 | Расход материала определяется толщиной стяжки, которая должна превышать на 15 - 20 мм диаметр трубы, но не должна превышать 35 мм | ||
6 | Труба | ||
7 | Водно-дисперсионная грунтовка Ceresit CT 17 | 0,1 - 0,2 л/м2 | Наносится кистью или валиком на очищенную поверхность бетонного основания |
Водно-дисперсионная грунтовка Ceresit CN 94 | 40 г/м2 | Наносится кистью или валиком на очищенную поверхность бетонного основания. Разбавляется водой в соотношении 1:3 | |
Водно-дисперсионная грунтовка Thomsit R 777 | 300 г/м2 | Наносится кистью или валиком на очищенную поверхность бетонного основания | |
Водно-дисперсионная грунтовка Thomsit R 766 | 150 г/м2 | Наносится кистью или валиком на очищенную поверхность бетонного основания. Разбавляется водой в соотношении 1:1 | |
8 | Бетонное основание из бетона класса В22,5 | 0,08 м3/м2 | |
9 | Грунт основания |

Поз. | Наименование | Расход | Примечание |
1 | Линолеум поливинилхлоридный антистатический, резиновые антиста- тические покрытия, антистатические текстильные покрытия | 1,02 м2/м2 | |
2 | Токопроводящий водно-дисперсионный клей Thomsit K 112 | 300 - 350 г/м2 | Применяется для антистатических ПВХ покрытий в рулонах и плитках, каучуковых покрытий в рулонах |
Токопроводящий водно-дисперсионный клей Thomsit T 412 | 380 - 450 г/м2 | Применяется для антистатических текстильных покрытий | |
3 | Токопроводящая водно-дисперсионная грунтовка Thomsit R 762 | 100 - 150 г/м2 | Наносится поролоновым валиком на очищенную поверхность стяжки |
4 | Медная или углеграфитовая лента | По факту | Создается электроотводящий контур, наклеивая ленту по периметру помещения, а также вдоль и поперек помещения с шагом не более 3 м. Электроотводящий контур должен быть присоединен к системе заземления здания |
5 | Полимерцементная саморазравниваю- щаяся стяжка марки Ceresit CN 69 | 1,8 кг/м2 | Наносится шпателем слоем тол- щиной от 3 до 15 мм. Расход - на 1 мм слоя. Предел прочности при сжатии после 28 суток выдержки не менее 18 МПа |
Полимерцементная саморазравниваю- щаяся стяжка марки Ceresit CN 76 | 2,0 кг/м2 | Наносится шпателем слоем толщиной от 4 до 50 мм. Расход - на 1 мм слоя. Предел прочности при сжатии после 28 суток выдержки не менее 40 МПа | |
Полимерцементная саморазравниваю- щаяся стяжка марки Thomsit DD | 1,5 кг/м2 | Наносится шпателем слоем тол- щиной от 0,5 до 5 мм. Расход - на 1 мм слоя. Предел прочности при сжатии после 28 суток выдержки не менее 22 МПа | |
Полимерцементная саморазравниваю- щаяся стяжка марки Thomsit DX | 1,5 кг/м2 | Наносится шпателем слоем тол- щиной от 0,5 до 10 мм. Расход - на 1 мм слоя. Предел прочности при сжатии после 28 суток выдержки не менее 30 МПа | |
Полимерцементная стяжка марки Ceresit CN 178 | 2,0 кг/м2 | Наносится шпателем слоем толщиной от 5 до 80 мм. Расход - на 1 мм слоя. Предел прочности при сжатии после 28 суток выдержки не менее 25 МПа | |
Стяжка из цементно- песчаного раствора марки М150 | 0,02 м3/м2 | ||
Стяжка из бетона класса В12,5 | 0,02 м3/м2 | ||
6 | Водно-дисперсионная грунтовка Ceresit CT 17 | 0,1 - 0,2 л/м2 | Наносится кистью или валиком на очищенную поверхность бетонного основания |
Водно-дисперсионная грунтовка Ceresit CN 94 | 20 - 120 г/м2 | Наносится кистью или валиком на очищенную поверхность бетонного основания. Разбавляется водой в соотношении 1:3 | |
Водно-дисперсионная грунтовка Thomsit R 777 | 300 г/м2 | Наносится кистью или валиком на очищенную поверхность бетонного основания | |
Водно-дисперсионная грунтовка Thomsit R 766 | 150 г/м2 | Наносится кистью или валиком на очищенную поверхность бетонного основания. Разбавляется водой в соотношении 1:1 | |
7 | Сплошная или многопустотная плита перекрытия |

Поз. | Наименование | Расход | Примечание |
1 | Линолеум поливинилхлоридный антистатический, резиновые антиста- тические покрытия, антистатические текстильные покрытия | 1,02 м2/м2 | |
2 | Токопроводящий водно-дисперсионный клей Thomsit K 112 | 300 - 350 г/м2 | Применяется для антистатических ПВХ покрытий в рулонах и плитках, каучуковых покрытий в рулонах |
Токопроводящий водно-дисперсионный клей Thomsit T 412 | 380 - 450 г/м2 | Применяется для антистатических текстильных покрытий | |
3 | Токопроводящая водно-дисперсионная грунтовка Thomsit R 762 | 100 - 150 г/м2 | Наносится поролоновым валиком на очищенную поверхность стяжки |
4 | Медная или углеграфитовая лента | По факту | Создается электроотводящий контур, наклеивая ленту по периметру помещения, а также вдоль и поперек помещения с шагом не более 3 м. Электроотводящий контур должен быть присоединен к системе заземления здания |
5 | Стяжка из цементно- песчаного раствора марки М150 | Расход материала определяется толщиной стяжки, которая должна превышать на 15 - 20 мм диаметр трубы | |
Стяжка из бетона класса В12,5 | Расход материала определяется толщиной стяжки, которая должна превышать на 15 - 20 мм диаметр трубы | ||
Полимерцементная стяжка марки Ceresit CN 178 | Расход материала определяется толщиной стяжки, которая должна превышать на 15 - 20 мм диаметр трубы | ||
Полимерцементная стяжка марки Ceresit CN 83 | Расход материала определяется толщиной стяжки, которая должна превышать на 15 - 20 мм диаметр трубы, но не должна превышать 35 мм | ||
6 | Труба | ||
7 | Водно-дисперсионная грунтовка Ceresit CT 17 | 0,1 - 0,2 л/м2 | Наносится кистью или валиком на очищенную поверхность бетонного основания |
Водно-дисперсионная грунтовка Ceresit CN 94 | 40 г/м2 | Наносится кистью или валиком на очищенную поверхность бетонного основания. Разбавляется водой в соотношении 1:3 | |
Водно-дисперсионная грунтовка Thomsit R 777 | 300 г/м2 | Наносится кистью или валиком на очищенную поверхность бетонного основания | |
Водно-дисперсионная грунтовка Thomsit R 766 | 150 г/м2 | Наносится кистью или валиком на очищенную поверхность бетонного основания. Разбавляется водой в соотношении 1:1 | |
8 | Сплошная или многопустотная плита перекрытия |

Поз. | Наименование | Расход | Примечание |
1 | Линолеум поливинилхлоридный антистатический, резиновые антиста- тические покрытия, антистатические текстильные покрытия | 1,02 м2/м2 | |
2 | Токопроводящий водно-дисперсионный клей Thomsit K 112 | 300 - 350 г/м2 | Применяется для антистатических ПВХ покрытий в рулонах и плитках, каучуковых покрытий в рулонах |
Токопроводящий водно-дисперсионный клей Thomsit T 412 | 380 - 450 г/м2 | Применяется для антистатических текстильных покрытий | |
3 | Токопроводящая водно-дисперсионная грунтовка Thomsit R 762 | 100 - 150 г/м2 | Наносится поролоновым валиком на очищенную поверхность стяжки |
4 | Медная или углеграфитовая лента | По факту | Создается электроотводящий контур, наклеивая ленту по периметру помещения, а также вдоль и поперек помещения с шагом не более 3 м. Электроотводящий контур должен быть присоединен к системе заземления здания |
5 | Стяжка из цементно- песчаного раствора марки М150 | 0,04 м3/м2 | |
Стяжка из бетона класса В12,5 | 0,04 м3/м2 | ||
Полимерцементная стяжка марки Ceresit CN 178 | 0,04 м3/м2 | ||
6 | Полиэтиленовая пленка | 1,15 м2/м2 | |
7 | Тепло- и звукоизо- лирующая засыпка из кварцевого или керамзитового песка | Толщина слоя и расход материалов назначаются в соответствии с расчетами по параметрам тепло- и звукоизоляции | |
8 | Сплошная или многопустотная плита перекрытия |

Поз. | Наименование | Расход | Примечание |
1 | Линолеум поливинилхлоридный антистатический, резиновые антиста- тические покрытия, антистатические текстильные покрытия | 1,02 м2/м2 | |
2 | Токопроводящий водно-дисперсионный клей Thomsit K 112 | 300 - 350 г/м2 | Применяется для антистатических ПВХ покрытий в рулонах и плитках, каучуковых покрытий в рулонах |
Токопроводящий водно-дисперсионный клей Thomsit T 412 | 380 - 450 г/м2 | Применяется для антистатических текстильных покрытий | |
3 | Токопроводящая водно-дисперсионная грунтовка Thomsit R 762 | 100 - 150 г/м2 | Наносится поролоновым валиком на очищенную поверхность стяжки |
4 | Медная или углеграфитовая лента | По факту | Создается электроотводящий контур, наклеивая ленту по периметру помещения, а также вдоль и поперек помещения с шагом не более 3 м. Электроотводящий контур должен быть присоединен к системе заземления здания |
5 | Стяжка из цементно- песчаного раствора марки М150 | 0,04 м3/м2 | |
Стяжка из бетона класса В12,5 | 0,04 м3/м2 | ||
Полимерцементная стяжка марки Ceresit CN 178 | 0,04 м3/м2 | ||
6 | Полиэтиленовая пленка | 1,15 м2/м2 | |
7 | Тепло- и звукоизоляция из плит или матов | Толщина слоя и расход материалов назначаются в соответствии с расчетами по параметрам тепло- и звукоизоляции | |
8 | Сплошная или многопустотная плита перекрытия |

Поз. | Наименование | Расход | Примечание |
1 | Керамические плитки, керамогранитные плиты и плиты из природного камня | ||
2 | Затирка Ceresit CE 33 Super | 0,4 - 0,7 кг/м2 | Применяется для затирки узких швов в покрытиях из керамических, стеклянных и каменных плиток, 25 цветов |
Затирка Ceresit CE 35 Super | 0,4 - 1,2 кг/м2 | Применяется для затирки широких швов в покрытиях из керамических, стеклянных и каменных плиток, 5 цветов | |
Затирка Ceresit CE 42 | 0,2 - 0,6 кг/м2 | Применяется для затирки швов в покрытиях из мраморных плиток, 4 цвета | |
Затирка Ceresit CE 43 | 0,6 - 1,2 кг/м2 | Применяется для затирки швов в покрытиях из керамических, стеклянных и каменных плиток, 11 цветов. Повышенная эластичность и водоотталкивающие свойства | |
3 | Клей Ceresit CM 9 | 2,0 - 4,2 кг/м2 | Применяется для изготовления покрытий полов из керамической плитки в отапливаемых помещениях |
Клей Ceresit CM 11 | 1,7 - 4,2 кг/м2 | Применяется для изготовления покрытий полов из керамической плитки и плиток из натурального и искусственного камня с водопоглощением не менее 1% и размером до 30 x 30 см в отапливаемых и неотапливаемых помещениях, а также на открытых балконах, террасах и т.д. При введении в клей эластификатора Ceresit CC 83 может применяться для укладки керамогранитных плит | |
Клей Ceresit CM 14 | 2,4 - 4,2 кг/м2 | Применяется для изготовления покрытий полов из керамической плитки и плиток из натурального и искусственного камня с водопоглощением не менее 1% и размером до 30 x 30 см в отапливаемых и неотапливаемых помещениях, а также на открытых балконах, террасах и т.д. При введении в клей эластификатора Ceresit CC 83 может применяться для укладки керамогранитных плит. Ускоренный набор прочностных характеристик | |
Клей Ceresit CM 115 | 2,5 - 4,4 кг/м2 | Применяется для изготовления покрытий полов из мраморных плит в отапливаемых и неотапливаемых помещениях, а также на открытых балконах, террасах и т.д. | |
Клей Ceresit CM 15 | 2,5 - 4,4 кг/м2 | Применяется для изготовления покрытий полов из мраморных плит в отапливаемых и неотапливаемых помещениях, а также на открытых балконах, террасах и т.д. Ускоренный набор прочностных характеристик | |
Клей Ceresit CM 19 | 2,4 - 6,0 кг/м2 | Применяется для изготовления покрытий полов из крупноформатных плит из природного и искусственного камня, керамики и керамогранита в отапливаемых и неотапливаемых помещениях, а также на открытых балконах, террасах и т.д. | |
Клей Ceresit CM 117 | 1,8 - 4,7 кг/м2 | Применяется для изготовления покрытий полов из любых видов плит в отапливаемых и неотапливаемых помещениях, а также на открытых балконах, террасах и т.д. | |
Клей Ceresit CM 17 | 1,5 - 3,2 кг/м2 | Применяется для изготовления покрытий полов из любых видов плит в отапливаемых и неотапливаемых помещениях, а также на открытых балконах, террасах и т.д. Повышенная эластичность | |
4 | Водно-дисперсионная грунтовка Ceresit CT 17 | 0,1 - 0,2 кг/м2 | Наносится кистью или валиком на очищенную поверхность бетонного основания |
Водно-дисперсионная грунтовка Ceresit CN 94 | 40 г/м2 | Наносится кистью или валиком на очищенную поверхность бетонного основания. Разбавляется водой в соотношении 1:3 | |
5 | Бетонное основание из бетона класса В22,5 | 0,10 м3/м2 или 0,12 м3/м2 | |
6 | Грунт основания |

Поз. | Наименование | Расход | Примечание |
1 | Керамические плитки, керамогранитные плиты и плиты из природного камня | ||
2 | Затирка Ceresit CE 33 Super | 0,4 - 0,7 кг/м2 | Применяется для затирки узких швов в покрытиях из керамических, стеклянных и каменных плиток, 25 цветов |
Затирка Ceresit CE 35 Super | 0,4 - 1,2 кг/м2 | Применяется для затирки широких швов в покрытиях из керамических, стеклянных и каменных плиток, 5 цветов | |
Затирка Ceresit CE 42 | 0,2 - 0,6 кг/м2 | Применяется для затирки швов в покрытиях из мраморных плиток, 4 цвета | |
Затирка Ceresit CE 43 | 0,6 - 1,2 кг/м2 | Применяется для затирки швов в покрытиях из керамических, стеклянных и каменных плиток, 11 цветов. Повышенная эластичность и водоотталкивающие свойства | |
3 | Клей Ceresit CM 9 | 2,0 - 4,2 кг/м2 | Применяется для изготовления покрытий полов из керамической плитки в отапливаемых помещениях |
Клей Ceresit CM 11 | 1,7 - 4,2 кг/м2 | Применяется для изготовления покрытий полов из керамической плитки и плиток из натурального и искусственного камня с водопоглощением не менее 1% и размером до 30 x 30 см в отапливаемых и неотапливаемых помещениях, а также на открытых балконах, террасах и т.д. При введении в клей эластификатора Ceresit CC 83 может применяться для укладки керамогранитных плит | |
Клей Ceresit CM 14 | 2,4 - 4,2 кг/м2 | Применяется для изготовления покрытий полов из керамической плитки и плиток из натурального и искусственного камня с водопоглощением не менее 1% и размером до 30 x 30 см в отапливаемых и неотапливаемых помещениях, а также на открытых балконах, террасах и т.д. При введении в клей эластификатора Ceresit CC 83 может применяться для укладки керамогранитных плит. Ускоренный набор прочностных характеристик | |
Клей Ceresit CM 115 | 2,5 - 4,4 кг/м2 | Применяется для изготовления покрытий полов из мраморных плит в отапливаемых и неотапливаемых помещениях, а также на открытых балконах, террасах и т.д. | |
Клей Ceresit CM 15 | 2,5 - 4,4 кг/м2 | Применяется для изготовления покрытий полов из мраморных плит в отапливаемых и неотапливаемых помещениях, а также на открытых балконах, террасах и т.д. Ускоренный набор прочностных характеристик | |
Клей Ceresit CM 19 | 2,4 - 6,0 кг/м2 | Применяется для изготовления покрытий полов из крупно- форматных плит из природного и искусственного камня, керамики и керамогранита в отапливаемых и неотапливаемых помещениях, а также на открытых балконах, террасах и т.д. | |
Клей Ceresit CM 117 | 1,8 - 4,7 кг/м2 | Применяется для изготовления покрытий полов из любых видов плит в отапливаемых и неотапливаемых помещениях, а также на открытых балконах, террасах и т.д. | |
Клей Ceresit CM 17 | 1,5 - 3,2 кг/м2 | Применяется для изготовления покрытий полов из любых видов плит в отапливаемых и неотапливаемых помещениях, а также на открытых балконах, террасах и т.д. Повышенная эластичность | |
4 | Водно-дисперсионная грунтовка Ceresit CT 17 | 0,1 - 0,2 кг/м2 | Наносится кистью или валиком на очищенную поверхность бетонного основания |
Водно-дисперсионная грунтовка Ceresit CN 94 | 40 г/м2 | Наносится кистью или валиком на очищенную поверхность бетонного основания. Разбавляется водой в соотношении 1:3 | |
5 | Бетонное основание из бетона класса В22,5 | 0,10 м3/м2 или 0,12 м3/м2 | |
6 | Наливная гидроизоляция - щебень или гравий, пропитанные битумом | Щебень или гравий - 0,04 - 0,05 м3/м2 битум - по факту | |
7 | Грунт основания |

Поз. | Наименование | Расход | Примечание |
1 | Керамические плитки, керамогранитные плиты и плиты из природного камня | ||
2 | Затирка Ceresit CE 33 Super | 0,4 - 0,7 кг/м2 | Применяется для затирки узких швов в покрытиях из керамических, стеклянных и каменных плиток, 25 цветов |
Затирка Ceresit CE 35 Super | 0,4 - 1,2 кг/м2 | Применяется для затирки широких швов в покрытиях из керамических, стеклянных и каменных плиток, 5 цветов | |
Затирка Ceresit CE 42 | 0,2 - 0,6 кг/м2 | Применяется для затирки швов в покрытиях из мраморных плиток, 4 цвета | |
Затирка Ceresit CE 43 | 0,6 - 1,2 кг/м2 | Применяется для затирки швов в покрытиях из керамических, стеклянных и каменных плиток, 11 цветов. Повышенная эластичность и водоотталкивающие свойства | |
3 | Клей Ceresit CM 9 | 2,0 - 4,2 кг/м2 | Применяется для изготовления покрытий полов из керамической плитки в отапливаемых помещениях |
Клей Ceresit CM 11 | 1,7 - 4,2 кг/м2 | Применяется для изготовления покрытий полов из керамической плитки и плиток из натурального и искусственного камня с водопоглощением не менее 1% и размером до 30 x 30 см в отапливаемых и неотапливаемых помещениях, а также на открытых балконах, террасах и т.д. При введении в клей эластификатора Ceresit CC 83 может применяться для укладки керамогранитных плит | |
Клей Ceresit CM 14 | 2,4 - 4,2 кг/м2 | Применяется для изготовления покрытий полов из керамической плитки и плиток из натурального и искусственного камня с водопоглощением не менее 1% и размером до 30 x 30 см в отапливаемых и неотапливаемых помещениях, а также на открытых балконах, террасах и т.д. При введении в клей эластификатора Ceresit CC 83 может применяться для укладки керамогранитных плит. Ускоренный набор прочностных характеристик | |
Клей Ceresit CM 115 | 2,5 - 4,4 кг/м2 | Применяется для изготовления покрытий полов из мраморных плит в отапливаемых и неотапли- ваемых помещениях, а также на открытых балконах, террасах и т.д. | |
Клей Ceresit CM 15 | 2,5 - 4,4 кг/м2 | Применяется для изготовления покрытий полов из мраморных плит в отапливаемых и неотапливаемых помещениях, а также на открытых балконах, террасах и т.д. Ускоренный набор прочностных характеристик | |
Клей Ceresit CM 19 | 2,4 - 6,0 кг/м2 | Применяется для изготовления покрытий полов из крупноформатных плит из природного и искусственного камня, керамики и керамогранита в отапливаемых и неотапливаемых помещениях, а также на открытых балконах, террасах и т.д. | |
Клей Ceresit CM 117 | 1,8 - 4,7 кг/м2 | Применяется для изготовления покрытий полов из любых видов плит в отапливаемых и неотапливаемых помещениях, а также на открытых балконах, террасах и т.д. | |
Клей Ceresit CM 17 | 1,5 - 3,2 кг/м2 | Применяется для изготовления покрытий полов из любых видов плит в отапливаемых и неотапливаемых помещениях, а также на открытых балконах, террасах и т.д. Повышенная эластичность | |
4 | Водно-дисперсионная грунтовка Ceresit CT 17 | 0,1 - 0,2 кг/м2 | Наносится кистью или валиком на очищенную поверхность бетонного основания |
Водно-дисперсионная грунтовка Ceresit CN 94 | 40 г/м2 | Наносится кистью или валиком на очищенную поверхность бетонного основания. Разбавляется водой в соотношении 1:3 | |
5 | Бетонное основание из бетона класса В22,5 | 0,10 м3/м2 или 0,12 м3/м2 | |
6 | Рулонная гидроизоляция | 1,02 м2/м2 | |
Обмазочная гидроизоляция на основе жесткой гидроизолирующей массы Ceresit CR 65 | 3 - 5 кг/м2 | ||
7 | Стяжка из цементно- песчаного раствора марки М150 | 0,05 м3/м2 | |
8 | Грунт основания |

Поз. | Наименование | Расход | Примечание |
1 | Керамические плитки, керамогранитные плиты и плиты из природного камня | ||
2 | Затирка Ceresit CE 33 Super | 0,4 - 0,7 кг/м2 | Применяется для затирки узких швов в покрытиях из керамических, стеклянных и каменных плиток, 25 цветов |
Затирка Ceresit CE 35 Super | 0,4 - 1,2 кг/м2 | Применяется для затирки широких швов в покрытиях из керамических, стеклянных и каменных плиток, 5 цветов | |
Затирка Ceresit CE 42 | 0,2 - 0,6 кг/м2 | Применяется для затирки швов в покрытиях из мраморных плиток, 4 цвета | |
Затирка Ceresit CE 43 | 0,6 - 1,2 кг/м2 | Применяется для затирки швов в покрытиях из керамических, стеклянных и каменных плиток, 11 цветов. Повышенная эластичность и водоотталкивающие свойства | |
3 | Клей Ceresit CM 9 | 2,0 - 4,2 кг/м2 | Применяется для изготовления покрытий полов из керамической плитки в отапливаемых помещениях |
Клей Ceresit CM 11 | 1,7 - 4,2 кг/м2 | Применяется для изготовления покрытий полов из керамической плитки и плиток из натурального и искусственного камня с водопоглощением не менее 1% и размером до 30 x 30 см в отапливаемых и неотапливаемых помещениях, а также на открытых балконах, террасах и т.д. При введении в клей эластификатора Ceresit CC 83 может применяться для укладки керамогранитных плит | |
Клей Ceresit CM 14 | 2,4 - 4,2 кг/м2 | Применяется для изготовления покрытий полов из керамической плитки и плиток из натурального и искусственного камня с водопоглощением не менее 1% и размером до 30 x 30 см в отапливаемых и неотапливаемых помещениях, а также на открытых балконах, террасах и т.д. При введении в клей эластификатора Ceresit CC 83 может применяться для укладки керамогранитных плит. Ускоренный набор прочностных характеристик | |
Клей Ceresit CM 115 | 2,5 - 4,4 кг/м2 | Применяется для изготовления покрытий полов из мраморных плит в отапливаемых и неотапливаемых помещениях, а также на открытых балконах, террасах и т.д. | |
Клей Ceresit CM 15 | 2,5 - 4,4 кг/м2 | Применяется для изготовления покрытий полов из мраморных плит в отапливаемых и неотапливаемых помещениях, а также на открытых балконах, террасах и т.д. Ускоренный набор прочностных характеристик | |
Клей Ceresit CM 19 | 2,4 - 6,0 кг/м2 | Применяется для изготовления покрытий полов из крупноформатных плит из природного и искусственного камня, керамики и керамогранита в отапливаемых и неотапливаемых помещениях, а также на открытых балконах, террасах и т.д. | |
Клей Ceresit CM 117 | 1,8 - 4,7 кг/м2 | Применяется для изготовления покрытий полов из любых видов плит в отапливаемых и неотапливаемых помещениях, а также на открытых балконах, террасах и т.д. | |
Клей Ceresit CM 17 | 1,5 - 3,2 кг/м2 | Применяется для изготовления покрытий полов из любых видов плит в отапливаемых и неотапливаемых помещениях, а также на открытых балконах, террасах и т.д. Повышенная эластичность | |
4 | Обмазочная гидроизоляция на основе жесткой гидроизолирующей массы Ceresit CR 65 | 3 - 5 кг/м2 | Наносится кистью или шпателем на очищенную поверхность бетонного основания за два-три прохода |
5 | Бетонное основание из бетона класса В22,5 | 0,10 м3/м2 или 0,12 м3/м2 | |
6 | Грунт основания |

Поз. | Наименование | Расход | Примечание |
1 | Керамические плитки, керамогранитные плиты и плиты из природного камня | ||
2 | Затирка Ceresit CE 33 Super | 0,4 - 0,7 кг/м2 | Применяется для затирки узких швов в покрытиях из керамических, стеклянных и каменных плиток, 25 цветов |
Затирка Ceresit CE 35 Super | 0,4 - 1,2 кг/м2 | Применяется для затирки широких швов в покрытиях из керамических, стеклянных и каменных плиток, 5 цветов | |
Затирка Ceresit CE 42 | 0,2 - 0,6 кг/м2 | Применяется для затирки швов в покрытиях из мраморных плиток, 4 цвета | |
Затирка Ceresit CE 43 | 0,6 - 1,2 кг/м2 | Применяется для затирки швов в покрытиях из керамических, стеклянных и каменных плиток, 11 цветов. Повышенная эластичность и водоотталкивающие свойства | |
3 | Клей Ceresit CM 9 | 2,0 - 4,2 кг/м2 | Применяется для изготовления покрытий полов из керамической плитки в отапливаемых помещениях |
Клей Ceresit CM 11 | 1,7 - 4,2 кг/м2 | Применяется для изготовления покрытий полов из керамической плитки и плиток из натурального и искусственного камня с водопоглощением не менее 1% и размером до 30 x 30 см в отапливаемых и неотапливаемых помещениях, а также на открытых балконах, террасах и т.д. При введении в клей эластификатора Ceresit CC 83 может применяться для укладки керамогранитных плит | |
Клей Ceresit CM 14 | 2,4 - 4,2 кг/м2 | Применяется для изготовления покрытий полов из керамической плитки и плиток из натурального и искусственного камня с водопоглощением не менее 1% и размером до 30 x 30 см в отапливаемых и неотапливаемых помещениях, а также на открытых балконах, террасах и т.д. При введении в клей эластификатора Ceresit CC 83 может применяться для укладки керамогранитных плит. Ускоренный набор прочностных характеристик | |
Клей Ceresit CM 115 | 2,5 - 4,4 кг/м2 | Применяется для изготовления покрытий полов из мраморных плит в отапливаемых и неотапливаемых помещениях, а также на открытых балконах, террасах и т.д. | |
Клей Ceresit CM 15 | 2,5 - 4,4 кг/м2 | Применяется для изготовления покрытий полов из мраморных плит в отапливаемых и неотапливаемых помещениях, а также на открытых балконах, террасах и т.д. Ускоренный набор прочностных характеристик | |
Клей Ceresit CM 19 | 2,4 - 6,0 кг/м2 | Применяется для изготовления покрытий полов из крупноформат- ных плит из природного и искусственного камня, керамики и керамогранита в отапливаемых и неотапливаемых помещениях, а также на открытых балконах, террасах и т.д. | |
Клей Ceresit CM 117 | 1,8 - 4,7 кг/м2 | Применяется для изготовления покрытий полов из любых видов плит в отапливаемых и неотапливаемых помещениях, а также на открытых балконах, террасах и т.д. | |
Клей Ceresit CM 17 | 1,5 - 3,2 кг/м2 | Применяется для изготовления покрытий полов из любых видов плит в отапливаемых и неотапливаемых помещениях, а также на открытых балконах, террасах и т.д. Повышенная эластичность | |
4 | Водно-дисперсионная грунтовка Ceresit CT 17 | 0,1 - 0,2 кг/м2 | Наносится кистью или валиком на очищенную поверхность бетонной стяжки |
Водно-дисперсионная грунтовка Ceresit CN 94 | 40 г/м2 | Наносится кистью или валиком на очищенную поверхность бетонной стяжки. Разбавляется водой в соотношении 1:3 | |
5 | Полимерцементная саморазравнивающаяся стяжка марки Ceresit CN 69 | 1,8 кг/м2 | Наносится шпателем слоем толщиной от 3 до 15 мм. Расход - на 1 мм слоя. Предел проч- ности при сжатии после 28 суток выдержки не менее 18 МПа |
Полимерцементная саморазравнивающаяся стяжка марки Ceresit CN 76 | 2,0 кг/м2 | Наносится шпателем слоем тол- щиной от 4 до 50 мм. Расход - на 1 мм слоя. Предел прочности при сжатии после 28 суток выдержки не менее 40 МПа | |
Полимерцементная стяжка марки Ceresit CN 83 | 2,0 кг/м2 | Наносится шпателем слоем тол- щиной от 5 до 35 мм. Расход - на 1 мм слоя. Ускоренный набор прочностных характеристик. Предел прочности при сжатии после 1 суток выдержки не менее 13 МПа, после 28 суток выдержки - не менее 35 МПа | |
Полимерцементная стяжка марки Ceresit CN 178 | 2,0 кг/м2 | Наносится шпателем слоем тол- щиной от 5 до 80 мм. Расход - на 1 мм слоя. Предел прочности при сжатии после 28 суток выдержки не менее 25 МПа | |
Стяжка из цементно- песчаного раствора марки М150 | 0,02 м3/м2 | ||
Стяжка из бетона класса В12,5 | 0,02 м3/м2 | ||
6 | Водно-дисперсионная грунтовка Ceresit CT 17 | 0,1 - 0,2 кг/м2 | Наносится кистью или валиком на очищенную поверхность бетонного основания |
Водно-дисперсионная грунтовка Ceresit CN 94 | 40 г/м2 | Наносится кистью или валиком на очищенную поверхность бетонного основания. Разбавляется водой в соотношении 1:3 | |
7 | Бетонное основание из бетона класса В22,5 | 0,8 м3/м2 или 0,10 м3/м2 | |
8 | Грунт основания |

Поз. | Наименование | Расход | Примечание |
1 | Керамические плитки, керамогранитные плиты и плиты из природного камня | ||
2 | Затирка Ceresit CE 33 Super | 0,4 - 0,7 кг/м2 | Применяется для затирки узких швов в покрытиях из керамических, стеклянных и каменных плиток, 25 цветов |
Затирка Ceresit CE 35 Super | 0,2 - 1,2 кг/м2 | Применяется для затирки широких швов в покрытиях из керамических, стеклянных и каменных плиток, 5 цветов | |
Затирка Ceresit CE 42 | 0,4 - 0,6 кг/м2 | Применяется для затирки швов в покрытиях из мраморных плиток, 4 цвета | |
Затирка Ceresit CE 43 | 0,6 - 1,2 кг/м2 | Применяется для затирки швов в покрытиях из керамических, стеклянных и каменных плиток, 11 цветов. Повышенная эластичность и водоотталкивающие свойства | |
3 | Клей Ceresit CM 9 | 2,0 - 4,2 кг/м2 | Применяется для изготовления покрытий полов из керамической плитки в отапливаемых помещениях |
Клей Ceresit CM 11 | 1,7 - 4,2 кг/м2 | Применяется для изготовления покрытий полов из керамической плитки и плиток из натурального и искусственного камня с водопоглощением не менее 1% и размером до 30 x 30 см в отапливаемых и неотапливаемых помещениях, а также на открытых балконах, террасах и т.д. При введении в клей эластификатора Ceresit CC 83 может применяться для укладки керамогранитных плит | |
Клей Ceresit CM 14 | 2,4 - 4,2 кг/м2 | Применяется для изготовления покрытий полов из керамической плитки и плиток из натурального и искусственного камня с водопоглощением не менее 1% и размером до 30 x 30 см в отапливаемых и неотапливаемых помещениях, а также на открытых балконах, террасах и т.д. При введении в клей эластификатора Ceresit CC 83 может применяться для укладки керамогранитных плит. Ускоренный набор прочностных характеристик | |
Клей Ceresit CM 115 | 2,5 - 4,4 кг/м2 | Применяется для изготовления покрытий полов из мраморных плит в отапливаемых и неотапливаемых помещениях, а также на открытых балконах, террасах и т.д. | |
Клей Ceresit CM 15 | 2,5 - 4,4 кг/м2 | Применяется для изготовления покрытий полов из мраморных плит в отапливаемых и неотапливаемых помещениях, а также на открытых балконах, террасах и т.д. Ускоренный набор прочностных характеристик | |
Клей Ceresit CM 19 | 2,4 - 6,0 кг/м2 | Применяется для изготовления покрытий полов из крупноформат- ных плит из природного и искусственного камня, керамики и керамогранита в отапливаемых и неотапливаемых помещениях, а также на открытых балконах, террасах и т.д. | |
Клей Ceresit CM 117 | 1,8 - 4,7 кг/м2 | Применяется для изготовления покрытий полов из любых видов плит в отапливаемых и неотапливаемых помещениях, а также на открытых балконах, террасах и т.д. | |
Клей Ceresit CM 17 | 1,5 - 3,2 кг/м2 | Применяется для изготовления покрытий полов из любых видов плит в отапливаемых и неотапливаемых помещениях, а также на открытых балконах, террасах и т.д. Повышенная эластичность | |
4 | Водно-дисперсионная грунтовка Ceresit CT 17 | 0,1 - 0,2 кг/м2 | Наносится кистью или валиком на очищенную поверхность бетонной или цементно-песчаной стяжки |
Водно-дисперсионная грунтовка Ceresit CN 94 | 40 - 50 г/м2 | Наносится кистью или валиком на очищенную поверхность бетонной или цементно-песчаной стяжки. Разбавляется водой в соотношении 1:3 | |
5 | Стяжка из цементно- песчаного раствора марки М150 | Расход материала определяется толщиной стяжки, которая должна превышать на 15 - 20 мм диаметр трубы | |
Стяжка из бетона класса В12,5 | Расход материала определяется толщиной стяжки, которая должна превышать на 15 - 20 мм диаметр трубы | ||
Полимерцементная стяжка марки Ceresit CN 178 | Расход материала определяется толщиной стяжки, которая должна превышать на 15 - 20 мм диаметр трубы | ||
Полимерцементная стяжка марки Ceresit CN 83 | Расход материала определяется толщиной стяжки, которая должна превышать на 15 - 20 мм диаметр трубы, но не должна превышать 35 мм | ||
6 | Труба | ||
7 | Водно-дисперсионная грунтовка Ceresit CT 17 | 0,1 - 0,2 кг/м2 | Наносится кистью или валиком на очищенную поверхность бетонного основания |
Водно-дисперсионная грунтовка Ceresit CN 94 | 40 г/м2 | Наносится кистью или валиком на очищенную поверхность бетонного основания. Разбавляется водой в соотношении 1:3 | |
8 | Бетонное основание из бетона класса В22,5 | 0,8 м3/м2 или 0,10 м3/м2 | |
9 | Грунт основания |

Поз. | Наименование | Расход | Примечание |
1 | Керамические плитки, керамогранитные плиты и плиты из природного камня | ||
2 | Затирка Ceresit CE 33 Super | 0,4 - 0,7 кг/м2 | Применяется для затирки узких швов в покрытиях из керамических, стеклянных и каменных плиток, 25 цветов |
Затирка Ceresit CE 35 Super | 0,2 - 1,2 кг/м2 | Применяется для затирки широких швов в покрытиях из керамических, стеклянных и каменных плиток, 5 цветов | |
Затирка Ceresit CE 42 | 0,4 - 0,6 кг/м2 | Применяется для затирки швов в покрытиях из мраморных плиток, 4 цвета | |
Затирка Ceresit CE 43 | 0,6 - 1,2 кг/м2 | Применяется для затирки швов в покрытиях из керамических, стеклянных и каменных плиток, 11 цветов. Повышенная эластичность и водоотталкивающие свойства | |
3 | Клей Ceresit CM 9 | 2,0 - 4,4 кг/м2 | Применяется для изготовления покрытий полов из керамической плитки в отапливаемых помещениях |
Клей Ceresit CM 11 | 1,7 - 4,4 кг/м2 | Применяется для изготовления покрытий полов из керамической плитки и плиток из натурального и искусственного камня с водопоглощением не менее 1% и размером до 30 x 30 см в отапливаемых и неотапливаемых помещениях, а также на открытых балконах, террасах и т.д. При введении в клей эластификатора Ceresit CC 83 может применяться для укладки керамогранитных плит | |
Клей Ceresit CM 14 | 2,4 - 4,4 кг/м2 | Применяется для изготовления покрытий полов из керамической плитки и плиток из натурального и искусственного камня с водопоглощением не менее 1% и размером до 30 x 30 см в отапливаемых и неотапливаемых помещениях, а также на открытых балконах, террасах и т.д. При введении в клей эластификатора Ceresit CC 83 может применяться для укладки керамогранитных плит. Ускоренный набор прочностных характеристик | |
Клей Ceresit CM 115 | 2,5 - 4,4 кг/м2 | Применяется для изготовления покрытий полов из мраморных плит в отапливаемых и неотапливаемых помещениях, а также на открытых балконах, террасах и т.д. | |
Клей Ceresit CM 15 | 2,5 - 4,4 кг/м2 | Применяется для изготовления покрытий полов из мраморных плит в отапливаемых и неотапливаемых помещениях, а также на открытых балконах, террасах и т.д. Ускоренный набор прочностных характеристик | |
Клей Ceresit CM 19 | 2,4 - 6,0 кг/м2 | Применяется для изготовления покрытий полов из крупноформатных плит из природного и искусственного камня, керамики и керамогранита в отапливаемых и неотапливаемых помещениях, а также на открытых балконах, террасах и т.д. | |
Клей Ceresit CM 117 | 1,8 - 4,7 кг/м2 | Применяется для изготовления покрытий полов из любых видов плит в отапливаемых и неотапливаемых помещениях, а также на открытых балконах, террасах и т.д. | |
Клей Ceresit CM 17 | 1,5 - 3,2 кг/м2 | Применяется для изготовления покрытий полов из любых видов плит в отапливаемых и неотапливаемых помещениях, а также на открытых балконах, террасах и т.д. Повышенная эластичность | |
4 | Водно-дисперсионная грунтовка Ceresit CT 17 | 0,1 - 0,2 кг/м2 | Наносится кистью или валиком на очищенную поверхность бетонной или цементно-песчаной стяжки |
Водно-дисперсионная грунтовка Ceresit CN 94 | 40 - 50 г/м2 | Наносится кистью или валиком на очищенную поверхность бетонной или цементно-песчаной стяжки. Разбавляется водой в соотношении 1:3 | |
5 | Полимерцементная саморазравнивающаяся стяжка марки Ceresit CN 76 (с песком) | 2,0 кг/м2 | Наносится шпателем. Расход - на 1 мм слоя. Предел прочности при сжатии после 28 суток выдержки не менее 40 МПа |
Полимерцементная стяжка марки Ceresit CN 83 | 2,0 кг/м2 | Наносится шпателем. Расход - на 1 мм слоя. Ускоренный набор прочностных характеристик. Предел прочности при сжатии после 1 суток выдержки не менее 13 МПа, после 28 суток выдержки - не менее 35 МПа | |
Полимерцементная стяжка марки Ceresit CN 178 | 2,0 кг/м2 | Наносится шпателем. Расход - на 1 мм слоя. Предел прочности при сжатии после 28 суток выдержки не менее 25 МПа | |
Стяжка из цементно- песчаного раствора марки М150 | 0,02 м3/м2 | ||
Стяжка из бетона класса В12,5 | 0,02 м3/м2 | ||
6 | Рулонная гидроизоляция | 1,02 м2/м2 | |
Обмазочная гидроизоляция на основе жесткой гидроизолирующей массы Ceresit CR 65 | 3 - 5 кг/м2 | ||
Обмазочная гидроизоляция на основе эластичной гидроизолирующей массы Ceresit CR 166 | 3 - 5 кг/м2 | ||
7 | Бетонное основание из бетона класса В22,5 | 0,8 м3/м2 или 0,10 м3/м2 | |
8 | Грунт основания |

Поз. | Наименование | Расход | Примечание |
1 | Керамические плитки, керамогранитные плиты и плиты из природного камня | ||
2 | Затирка Ceresit CE 35 Super + эластификатор Ceresit CC 83 | 0,4 - 1,2 кг/м2 | Применяется для затирки широких швов в покрытиях из керамических, стеклянных и каменных плиток, 5 цветов |
Затирка Ceresit CE 43 | 0,6 - 1,2 кг/м2 | Применяется для затирки швов в покрытиях из керамических, стеклянных и каменных плиток, 11 цветов. Повышенная эластичность и водоотталкивающие свойства | |
3 | Клей Ceresit CM 11 + эластификатор Ceresit CC 83 | 1,7 - 4,2 кг/м2 | Применяется для изготовления покрытий полов из керамической плитки и плиток из натураль- ного и искусственного камня с водопоглощением не менее 1% и размером до 30 x 30 см |
Клей Ceresit CM 14 + эластификатор Ceresit CC 83 | 2,4 - 4,2 кг/м2 | Применяется для изготовления покрытий полов из керамической плитки и плиток из натураль- ного и искусственного камня с водопоглощением не менее 1% и размером до 30 x 30 см. Ускоренный набор прочностных характеристик | |
Клей Ceresit CM 115 + эластификатор Ceresit СС 83 | 2,5 - 4,4 кг/м2 | Применяется для изготовления покрытий полов из мраморных плит | |
Клей Ceresit CM 15 + эластификатор Ceresit CC 83 | 2,5 - 4,4 кг/м2 | Применяется для изготовления покрытий полов из мраморных плит. Ускоренный набор прочностных характеристик | |
Клей Ceresit CM 19 | 2,6 - 6,0 кг/м2 | Применяется для изготовления покрытий полов из крупнофор- матных плит из природного и искусственного камня, керамики и керамогранита | |
Клей Ceresit CM 117 + эластификатор Ceresit CC 83 | 1,8 - 4,7 кг/м2 | Применяется для изготовления покрытий полов из любых видов плит | |
Клей Ceresit CM 17 | 1,5 - 3,2 кг/м2 | Применяется для изготовления покрытий полов из любых видов плит | |
4 | Водно-дисперсионная грунтовка Ceresit CT 17 | 0,1 - 0,2 кг/м2 | Наносится кистью или валиком на очищенную поверхность бетонной стяжки |
Водно-дисперсионная грунтовка Ceresit CN 94 | 50 г/м2 | Наносится кистью или валиком на очищенную поверхность бетонной стяжки. Разбавляется водой в соотношении 1:3 | |
5 | Сборная стяжка из готовых элементов из гипсоволокнистых листов | 1,02 м2/м2 | |
6 | Водно-дисперсионный клей | 40 - 50 г/п.м. | |
7 | Кварцевый песок | По факту | Расход - минимально необходимый для выравнивания поверхности нижележащего слоя |
8 | Пароизоляция - полиэтиленовая пленка | 1,15 м2/м2 | |
9 | Бетонное основание из бетона класса В22,5 | 0,08 м3/м2 | |
10 | Грунт основания |

Поз. | Наименование | Расход | Примечание |
1 | Керамические плитки, керамогранитные плиты и плиты из природного камня | ||
2 | Затирка Ceresit CE 35 Super + эластификатор Ceresit CC 83 | 0,4 - 1,2 кг/м2 | Применяется для затирки широких швов в покрытиях из керамических, стеклянных и каменных плиток, 5 цветов |
Затирка Ceresit CE 43 | 0,6 - 1,2 кг/м2 | Применяется для затирки швов в покрытиях из керамических, стеклянных и каменных плиток, 11 цветов. Повышенная эластичность и водоотталкивающие свойства | |
3 | Клей Ceresit CM 11 + эластификатор Ceresit CC 83 | 1,7 - 4,2 кг/м2 | Применяется для изготовления покрытий полов из керамической плитки и плиток из натураль- ного и искусственного камня с водопоглощением не менее 1% и размером до 30 x 30 см |
Клей Ceresit CM 14 + эластификатор Ceresit CC 83 | 2,4 - 4,2 кг/м2 | Применяется для изготовления покрытий полов из керамической плитки и плиток из натураль- ного и искусственного камня с водопоглощением не менее 1% и размером до 30 x 30 см. Ускоренный набор прочностных характеристик | |
Клей Ceresit CM 115 + эластификатор Ceresit CC 83 | 2,5 - 4,4 кг/м2 | Применяется для изготовления покрытий полов из мраморных плит | |
Клей Ceresit CM 15 + эластификатор Ceresit CC 83 | 2,5 - 4,4 кг/м2 | Применяется для изготовления покрытий полов из мраморных плит. Ускоренный набор прочностных характеристик | |
Клей Ceresit CM 19 | 2,6 - 6,0 кг/м2 | Применяется для изготовления покрытий полов из крупнофор- матных плит из природного и искусственного камня, керамики и керамогранита | |
Клей Ceresit CM 117 + эластификатор Ceresit CC 83 | 1,8 - 4,7 кг/м2 | Применяется для изготовления покрытий полов из любых видов плит | |
Клей Ceresit CM 17 | 1,5 - 3,2 кг/м2 | Применяется для изготовления покрытий полов из любых видов плит | |
4 | Водно-дисперсионная грунтовка Ceresit CT 17 | 0,1 - 0,2 кг/м2 | Наносится кистью или валиком на очищенную поверхность бетонной стяжки |
Водно-дисперсионная грунтовка Ceresit CN 94 | 50 г/м2 | Наносится кистью или валиком на очищенную поверхность бетонной стяжки. Разбавляется водой в соотношении 1:3 | |
5 | Сборная стяжка из готовых элементов из гипсоволокнистых листов | 1,02 м2/м2 | |
6 | Водно-дисперсионный клей | 40 - 50 г/п.м. | |
7 | Кварцевый песок | По расчету | Толщина слоя засыпки должна превышать на 15 - 20 мм высоту защитного кожуха |
8 | Труба | ||
9 | Обкладка трубы пористо-волокнистыми матами | По факту | |
10 | Защитный металлический кожух | ||
11 | Дюбель разжимной | ||
12 | Пароизоляция - полиэтиленовая пленка | 1,15 м2/м2 | |
13 | Бетонное основание из бетона класса В22,5 | 0,08 м3/м2 | |
14 | Грунт основания |

Поз. | Наименование | Расход | Примечание |
1 | Керамические плитки, керамогранитные плиты и плиты из природного камня | ||
2 | Затирка Ceresit CE 35 Super + эластификатор Ceresit CC 83 | 0,4 - 1,2 кг/м2 | Применяется для затирки широких швов в покрытиях из керамических, стеклянных и каменных плиток, 5 цветов |
Затирка Ceresit CE 43 | 0,6 - 1,2 кг/м2 | Применяется для затирки швов в покрытиях из керамических, стеклянных и каменных плиток, 11 цветов. Повышенная эластичность и водоотталкивающие свойства | |
3 | Клей Ceresit CM 11 + эластификатор Ceresit CC 83 | 1,7 - 4,2 кг/м2 | Применяется для изготовления покрытий полов из керамической плитки и плиток из натураль- ного и искусственного камня с водопоглощением не менее 1% и размером до 30 x 30 см |
Клей Ceresit CM 14 + эластификатор Ceresit CC 83 | 2,4 - 4,2 кг/м2 | Применяется для изготовления покрытий полов из керамической плитки и плиток из натураль- ного и искусственного камня с водопоглощением не менее 1% и размером до 30 x 30 см. Ускоренный набор прочностных характеристик | |
Клей Ceresit CM 115 + эластификатор Ceresit CC 83 | 2,5 - 4,4 кг/м2 | Применяется для изготовления покрытий полов из мраморных плит | |
Клей Ceresit CM 15 + эластификатор Ceresit CC 83 | 2,5 - 4,4 кг/м2 | Применяется для изготовления покрытий полов из мраморных плит. Ускоренный набор прочностных характеристик | |
Клей Ceresit CM 19 | 2,6 - 6,0 кг/м2 | Применяется для изготовления покрытий полов из крупнофор- матных плит из природного и искусственного камня, керамики и керамогранита | |
Клей Ceresit CM 117 + эластификатор Ceresit CC 83 | 1,8 - 4,7 кг/м2 | Применяется для изготовления покрытий полов из любых видов плит | |
Клей Ceresit CM 17 | 1,5 - 3,2 кг/м2 | Применяется для изготовления покрытий полов из любых видов плит | |
4 | Водно-дисперсионная грунтовка Ceresit CT 17 | 0,1 - 0,2 кг/м2 | Наносится кистью или валиком на очищенную поверхность бетонной стяжки |
Водно-дисперсионная грунтовка Ceresit CN 94 | 40 - 50 г/м2 | Наносится кистью или валиком на очищенную поверхность бетонной стяжки. Разбавляется водой в соотношении 1:3 | |
5 | Деформационный шов, расшитый герметиком | По факту | Швы нарезаются в продольном и поперечном направлении с шагом не более 6 м. Глубина деформационного шва - не менее 2/3 толщины стяжки. Расшивка швов герметиком осуществляется после достижения стяжкой воздушно-сухого состояния |
6 | Стяжка из цементно- песчаного раствора на основе полимерцемента марки Ceresit CN 85 и сухого кварцевого песка в соотношении 1:4 - 5, армирован- ная металлической сеткой с ячейками 50 x 50 x 2 | 3,7 кг/м2 | Расход - на 1 мм слоя. При использовании для обогрева электронагревательных элементов армирующая сетка должна быть присоединена к системе заземления здания |
Стяжка из выравни- вающей смеси марки Ceresit CN 178, армированная металлической сеткой с ячейками 50 x 50 x 2 | 2,0 кг/м2 | Расход - на 1 мм слоя. При использовании для обогрева электронагревательных элементов армирующая сетка должна быть присоединена к системе заземления здания | |
7 | Электрокабель или трубы | Шаг между нагревательными элементами устанавливается при теплотехническом расчете исходя из достижения на поверхности покрытия температуры +23 °C | |
8 | Тепло- и звукоизоляция из плит или матов | Толщина слоя и расход материалов назначаются в соответствии с расчетами по параметрам тепло- и звукоизоляции | |
9 | Рулонная гидроизоляция | 1,02 м2/м2 | |
10 | Бетонное основание из бетона класса В22,5 | 0,08 м3/м2 | |
11 | Грунт основания |

Поз. | Наименование | Расход | Примечание |
1 | Керамические плитки, керамогранитные плиты и плиты из природного камня | ||
2 | Затирка Ceresit CE 33 Super | 0,4 - 0,7 кг/м2 | Применяется для затирки узких швов в покрытиях из керамических, стеклянных и каменных плиток, 25 цветов |
Затирка Ceresit CE 35 Super | 0,4 - 1,2 кг/м2 | Применяется для затирки широких швов в покрытиях из керамических, стеклянных и каменных плиток, 5 цветов | |
Затирка Ceresit CE 42 | 0,2 - 0,6 кг/м2 | Применяется для затирки швов в покрытиях из мраморных плиток, 4 цвета | |
Затирка Ceresit CE 43 | 0,6 - 1,2 кг/м2 | Применяется для затирки швов в покрытиях из керамических, стеклянных и каменных плиток, 11 цветов. Повышенная эластичность и водоотталкивающие свойства | |
3 | Клей Ceresit CM 9 | 2,0 - 4,2 кг/м2 | Применяется для изготовления покрытий полов из керамической плитки в отапливаемых помещениях |
Клей Ceresit CM 11 | 1,7 - 4,2 кг/м2 | Применяется для изготовления покрытий полов из керамической плитки и плиток из натурального и искусственного камня с водопоглощением не менее 1% и размером до 30 x 30 см в отапливаемых и неотапливаемых помещениях, а также на открытых балконах, террасах и т.д. При введении в клей эластификатора Ceresit CC 83 может применяться для укладки керамогранитных плит | |
Клей Ceresit CM 14 | 2,4 - 4,2 кг/м2 | Применяется для изготовления покрытий полов из керамической плитки и плиток из натурального и искусственного камня с водопоглощением не менее 1% и размером до 30 x 30 см в отапливаемых и неотапливаемых помещениях, а также на открытых балконах, террасах и т.д. При введении в клей эластификатора Ceresit CC 83 может применяться для укладки керамогранитных плит. Ускоренный набор прочностных характеристик | |
Клей Ceresit CM 115 | 2,5 - 4,4 кг/м2 | Применяется для изготовления покрытий полов из мраморных плит в отапливаемых и неотапливаемых помещениях, а также на открытых балконах, террасах и т.д. | |
Клей Ceresit CM 15 | 2,5 - 4,4 кг/м2 | Применяется для изготовления покрытий полов из мраморных плит в отапливаемых и неотапливаемых помещениях, а также на открытых балконах, террасах и т.д. Ускоренный набор прочностных характеристик | |
Клей Ceresit CM 19 | 2,4 - 6,0 кг/м2 | Применяется для изготовления покрытий полов из крупноформатных плит из природного и искусственного камня, керамики и керамогранита в отапливаемых и неотапливаемых помещениях, а также на открытых балконах, террасах и т.д. | |
Клей Ceresit CM 117 | 1,8 - 4,7 кг/м2 | Применяется для изготовления покрытий полов из любых видов плит в отапливаемых и неотапливаемых помещениях, а также на открытых балконах, террасах и т.д. | |
Клей Ceresit CM 17 | 1,5 - 3,2 кг/м2 | Применяется для изготовления покрытий полов из любых видов плит в отапливаемых и неотапливаемых помещениях, а также на открытых балконах, террасах и т.д. Повышенная эластичность | |
4 | Водно-дисперсионная грунтовка Ceresit CT 17 | 0,1 - 0,2 кг/м2 | Наносится кистью или валиком на очищенную поверхность бетонного основания |
Водно-дисперсионная грунтовка Ceresit CN 94 | 40 г/м2 | Наносится кистью или валиком на очищенную поверхность бетонного основания. Разбавляется водой в соотношении 1:3 | |
5 | Сплошная или многопустотная плита перекрытия с ровной поверхностью |

Поз. | Наименование | Расход | Примечание |
1 | Керамические плитки, керамогранитные плиты и плиты из природного камня | ||
2 | Затирка Ceresit CE 33 Super | 0,4 - 0,7 кг/м2 | Применяется для затирки узких швов в покрытиях из керамических, стеклянных и каменных плиток, 25 цветов |
Затирка Ceresit CE 35 Super | 0,4 - 1,2 кг/м2 | Применяется для затирки широких швов в покрытиях из керамических, стеклянных и каменных плиток, 5 цветов | |
Затирка Ceresit CE 42 | 0,2 - 0,6 кг/м2 | Применяется для затирки швов в покрытиях из мраморных плиток, 4 цвета | |
Затирка Ceresit CE 43 | 0,6 - 1,2 кг/м2 | Применяется для затирки швов в покрытиях из керамических, стеклянных и каменных плиток, 11 цветов. Повышенная эластичность и водоотталкивающие свойства | |
3 | Клей Ceresit CM 9 | 2,0 - 4,2 кг/м2 | Применяется для изготовления покрытий полов из керамической плитки в отапливаемых помещениях |
Клей Ceresit CM 11 | 1,7 - 4,2 кг/м2 | Применяется для изготовления покрытий полов из керамической плитки и плиток из натурального и искусственного камня с водопоглощением не менее 1% и размером до 30 x 30 см в отапливаемых и неотапливаемых помещениях, а также на открытых балконах, террасах и т.д. При введении в клей эластификатора Ceresit CC 83 может применяться для укладки керамогранитных плит | |
Клей Ceresit CM 14 | 2,4 - 4,2 кг/м2 | Применяется для изготовления покрытий полов из керамической плитки и плиток из натурального и искусственного камня с водопоглощением не менее 1% и размером до 30 x 30 см в отапливаемых и неотапливаемых помещениях, а также на открытых балконах, террасах и т.д. При введении в клей эластификатора Ceresit CC 83 может применяться для укладки керамогранитных плит. Ускоренный набор прочностных характеристик | |
Клей Ceresit CM 115 | 2,5 - 4,4 кг/м2 | Применяется для изготовления покрытий полов из мраморных плит в отапливаемых и неотапливаемых помещениях, а также на открытых балконах, террасах и т.д. | |
Клей Ceresit CM 15 | 2,5 - 4,4 кг/м2 | Применяется для изготовления покрытий полов из мраморных плит в отапливаемых и неотапливаемых помещениях, а также на открытых балконах, террасах и т.д. Ускоренный набор прочностных характеристик | |
Клей Ceresit CM 19 | 2,4 - 6,0 кг/м2 | Применяется для изготовления покрытий полов из крупноформатных плит из природного и искусственного камня, керамики и керамогранита в отапливаемых и неотапливаемых помещениях, а также на открытых балконах, террасах и т.д. | |
Клей Ceresit CM 117 | 1,8 - 4,7 кг/м2 | Применяется для изготовления покрытий полов из любых видов плит в отапливаемых и неотапливаемых помещениях, а также на открытых балконах, террасах и т.д. | |
Клей Ceresit CM 17 | 1,5 - 3,2 кг/м2 | Применяется для изготовления покрытий полов из любых видов плит в отапливаемых и неотапливаемых помещениях, а также на открытых балконах, террасах и т.д. Повышенная эластичность | |
4 | Обмазочная гидроизоляция на основе жесткой гидроизолирующей массы Ceresit CR 65 | 3 - 5 кг/м2 | Наносится кистью или шпателем на очищенную поверхность бетонного основания за два-три прохода |
5 | Сплошная или многопустотная плита перекрытия с ровной поверхностью |

Поз. | Наименование | Расход | Примечание |
1 | Керамические плитки, керамогранитные плиты и плиты из природного камня | ||
2 | Затирка Ceresit CE 33 Super | 0,4 - 0,7 кг/м2 | Применяется для затирки узких швов в покрытиях из керамических, стеклянных и каменных плиток, 25 цветов |
Затирка Ceresit CE 35 Super | 0,4 - 1,2 кг/м2 | Применяется для затирки широких швов в покрытиях из керамических, стеклянных и каменных плиток, 5 цветов | |
Затирка Ceresit CE 42 | 0,2 - 0,6 кг/м2 | Применяется для затирки швов в покрытиях из мраморных плиток, 4 цвета | |
Затирка Ceresit CE 43 | 0,6 - 1,2 кг/м2 | Применяется для затирки швов в покрытиях из керамических, стеклянных и каменных плиток, 11 цветов. Повышенная эластичность и водоотталкивающие свойства | |
3 | Клей Ceresit CM 9 | 2,0 - 4,2 кг/м2 | Применяется для изготовления покрытий полов из керамической плитки в отапливаемых помещениях |
Клей Ceresit CM 11 | 1,7 - 4,2 кг/м2 | Применяется для изготовления покрытий полов из керамической плитки и плиток из натурального и искусственного камня с водопоглощением не менее 1% и размером до 30 x 30 см в отапливаемых и неотапливаемых помещениях, а также на открытых балконах, террасах и т.д. При введении в клей эластификатора Ceresit CC 83 может применяться для укладки керамогранитных плит | |
Клей Ceresit CM 14 | 2,4 - 4,2 кг/м2 | Применяется для изготовления покрытий полов из керамической плитки и плиток из натурального и искусственного камня с водопоглощением не менее 1% и размером до 30 x 30 см в отапливаемых и неотапливаемых помещениях, а также на открытых балконах, террасах и т.д. При введении в клей эластификатора Ceresit CC 83 может применяться для укладки керамогранитных плит. Ускоренный набор прочностных характеристик | |
Клей Ceresit CM 115 | 2,5 - 4,4 кг/м2 | Применяется для изготовления покрытий полов из мраморных плит в отапливаемых и неотапливаемых помещениях, а также на открытых балконах, террасах и т.д. | |
Клей Ceresit CM 15 | 2,5 - 4,4 кг/м2 | Применяется для изготовления покрытий полов из мраморных плит в отапливаемых и неотапливаемых помещениях, а также на открытых балконах, террасах и т.д. Ускоренный набор прочностных характеристик | |
Клей Ceresit CM 19 | 2,4 - 6,0 кг/м2 | Применяется для изготовления покрытий полов из крупноформатных плит из природного и искусственного камня, керамики и керамогранита в отапливаемых и неотапливаемых помещениях, а также на открытых балконах, террасах и т.д. | |
Клей Ceresit CM 117 | 1,8 - 4,7 кг/м2 | Применяется для изготовления покрытий полов из любых видов плит в отапливаемых и неотапливаемых помещениях, а также на открытых балконах, террасах и т.д. | |
Клей Ceresit CM 17 | 1,5 - 3,2 кг/м2 | Применяется для изготовления покрытий полов из любых видов плит в отапливаемых и неотапливаемых помещениях, а также на открытых балконах, террасах и т.д. Повышенная эластичность | |
4 | Водно-дисперсионная грунтовка Ceresit CT 17 | 0,1 - 0,2 кг/м2 | Наносится кистью или валиком на очищенную поверхность бетонной стяжки |
Водно-дисперсионная грунтовка Ceresit CN 94 | 50 г/м2 | Наносится кистью или валиком на очищенную поверхность бетонной стяжки. Разбавляется водой в соотношении 1:3 | |
5 | Полимерцементная саморазравнивающаяся стяжка марки Ceresit CN 69 | 1,8 кг/м2 | Наносится шпателем слоем тол- щиной от 3 до 15 мм. Расход - на 1 мм слоя. Предел прочности при сжатии после 28 суток выдержки не менее 18 МПа |
Полимерцементная саморазравнивающаяся стяжка марки Ceresit CN 76 | 2,0 кг/м2 | Наносится шпателем слоем тол- щиной от 4 до 50 мм. Расход - на 1 мм слоя. Предел прочности при сжатии после 28 суток выдержки не менее 40 МПа | |
Полимерцементная стяжка марки Ceresit CN 83 | 2,0 кг/м2 | Наносится шпателем слоем тол- щиной от 5 до 35 мм. Расход - на 1 мм слоя. Ускоренный набор прочностных характеристик. Предел прочности при сжатии после 1 суток выдержки не менее 13 МПа, после 28 суток выдержки - не менее 35 МПа | |
Полимерцементная стяжка марки Ceresit CN 178 | 2,0 кг/м2 | Наносится шпателем слоем тол- щиной от 5 до 80 мм. Расход - на 1 мм слоя. Предел прочности при сжатии после 28 суток выдержки не менее 25 МПа | |
Стяжка из цементно- песчаного раствора марки М150 | 0,02 м3/м2 | ||
Стяжка из бетона класса В12,5 | 0,02 м3/м2 | ||
6 | Водно-дисперсионная грунтовка Ceresit CT 17 | 0,1 - 0,2 кг/м2 | Наносится кистью или валиком на очищенную поверхность бетонного основания |
Водно-дисперсионная грунтовка Ceresit CN 94 | 40 г/м2 | Наносится кистью или валиком на очищенную поверхность бетонного основания. Разбавляется водой в соотношении 1:3 | |
7 | Сплошная или многопустотная плита перекрытия с неровной поверхностью |

Поз. | Наименование | Расход | Примечание |
1 | Керамические плитки, керамогранитные плиты и плиты из природного камня | ||
2 | Затирка Ceresit CE 33 Super | 0,4 - 0,7 кг/м2 | Применяется для затирки узких швов в покрытиях из керамических, стеклянных и каменных плиток, 25 цветов |
Затирка Ceresit CE 35 Super | 0,4 - 1,2 кг/м2 | Применяется для затирки широких швов в покрытиях из керамических, стеклянных и каменных плиток, 5 цветов | |
Затирка Ceresit CE 42 | 0,2 - 0,6 кг/м2 | Применяется для затирки швов в покрытиях из мраморных плиток, 4 цвета | |
Затирка Ceresit CE 43 | 0,6 - 1,2 кг/м2 | Применяется для затирки швов в покрытиях из керамических, стеклянных и каменных плиток, 11 цветов. Повышенная эластичность и водоотталкивающие свойства | |
3 | Клей Ceresit CM 9 | 2,0 - 4,2 кг/м2 | Применяется для изготовления покрытий полов из керамической плитки в отапливаемых помещениях |
Клей Ceresit CM 11 | 1,7 - 4,2 кг/м2 | Применяется для изготовления покрытий полов из керамической плитки и плиток из натурального и искусственного камня с водопоглощением не менее 1% и размером до 30 x 30 см в отапливаемых и неотапливаемых помещениях, а также на открытых балконах, террасах и т.д. При введении в клей эластификатора Ceresit CC 83 может применяться для укладки керамогранитных плит | |
Клей Ceresit CM 14 | 2,4 - 4,2 кг/м2 | Применяется для изготовления покрытий полов из керамической плитки и плиток из натурального и искусственного камня с водопоглощением не менее 1% и размером до 30 x 30 см в отапливаемых и неотапливаемых помещениях, а также на открытых балконах, террасах и т.д. При введении в клей эластификатора Ceresit CC 83 может применяться для укладки керамогранитных плит. Ускоренный набор прочностных характеристик | |
Клей Ceresit CM 115 | 2,5 - 4,4 кг/м2 | Применяется для изготовления покрытий полов из мраморных плит в отапливаемых и неотапливаемых помещениях, а также на открытых балконах, террасах и т.д. | |
Клей Ceresit CM 15 | 2,5 - 4,4 кг/м2 | Применяется для изготовления покрытий полов из мраморных плит в отапливаемых и неотапливаемых помещениях, а также на открытых балконах, террасах и т.д. Ускоренный набор прочностных характеристик | |
Клей Ceresit CM 19 | 2,4 - 6,0 кг/м2 | Применяется для изготовления покрытий полов из крупноформатных плит из природного и искусственного камня, керамики и керамогранита в отапливаемых и неотапливаемых помещениях, а также на открытых балконах, террасах и т.д. | |
Клей Ceresit CM 117 | 1,8 - 4,7 кг/м2 | Применяется для изготовления покрытий полов из любых видов плит в отапливаемых и неотапливаемых помещениях, а также на открытых балконах, террасах и т.д. | |
Клей Ceresit CM 17 | 1,5 - 3,2 кг/м2 | Применяется для изготовления покрытий полов из любых видов плит в отапливаемых и неотапливаемых помещениях, а также на открытых балконах, террасах и т.д. Повышенная эластичность | |
4 | Водно-дисперсионная грунтовка Ceresit CT 17 | 0,1 - 0,2 кг/м2 | Наносится кистью или валиком на очищенную поверхность бетонной или цементно-песчаной стяжки |
Водно-дисперсионная грунтовка Ceresit CN 94 | 40 - 50 г/м2 | Наносится кистью или валиком на очищенную поверхность бетонной или цементно-песчаной стяжки. Разбавляется водой в соотношении 1:3 | |
5 | Стяжка из цементно- песчаного раствора марки М150 | Расход материала определяется толщиной стяжки, которая должна превышать на 15 - 20 мм диаметр трубы | |
Стяжка из бетона класса В12,5 | Расход материала определяется толщиной стяжки, которая должна превышать на 15 - 20 мм диаметр трубы | ||
Полимерцементная стяжка марки Ceresit CN 178 | Расход материала определяется толщиной стяжки, которая должна превышать на 15 - 20 мм диаметр трубы | ||
Полимерцементная стяжка марки Ceresit CN 83 | Расход материала определяется толщиной стяжки, которая должна превышать на 15 - 20 мм диаметр трубы, но не должна превышать 35 мм | ||
6 | Труба | ||
7 | Водно-дисперсионная грунтовка Ceresit CT 17 | 0,1 - 0,2 кг/м2 | Наносится кистью или валиком на очищенную поверхность бетонного основания |
Водно-дисперсионная грунтовка Ceresit CN 94 | 40 г/м2 | Наносится кистью или валиком на очищенную поверхность бетонного основания. Разбавляется водой в соотношении 1:3 | |
8 | Сплошная или многопустотная плита перекрытия |

Поз. | Наименование | Расход | Примечание |
1 | Керамические плитки, керамогранитные плиты и плиты из природного камня | ||
2 | Затирка Ceresit CE 33 Super | 0,4 - 0,7 кг/м2 | Применяется для затирки узких швов в покрытиях из керамических, стеклянных и каменных плиток, 25 цветов |
Затирка Ceresit CE 35 Super | 0,4 - 1,2 кг/м2 | Применяется для затирки широких швов в покрытиях из керамических, стеклянных и каменных плиток, 5 цветов | |
Затирка Ceresit CE 42 | 0,2 - 0,6 кг/м2 | Применяется для затирки швов в покрытиях из мраморных плиток, 4 цвета | |
Затирка Ceresit CE 43 | 0,6 - 1,2 кг/м2 | Применяется для затирки швов в покрытиях из керамических, стеклянных и каменных плиток, 11 цветов. Повышенная эластичность и водоотталкивающие свойства | |
3 | Клей Ceresit CM 9 | 2,0 - 4,2 кг/м2 | Применяется для изготовления покрытий полов из керамической плитки в отапливаемых помещениях |
Клей Ceresit CM 11 | 1,7 - 4,2 кг/м2 | Применяется для изготовления покрытий полов из керамической плитки и плиток из натурального и искусственного камня с водопоглощением не менее 1% и размером до 30 x 30 см в отапливаемых и неотапливаемых помещениях, а также на открытых балконах, террасах и т.д. При введении в клей эластификатора Ceresit CC 83 может применяться для укладки керамогранитных плит | |
Клей Ceresit CM 14 | 2,4 - 4,2 кг/м2 | Применяется для изготовления покрытий полов из керамической плитки и плиток из натурального и искусственного камня с водопоглощением не менее 1% и размером до 30 x 30 см в отапливаемых и неотапливаемых помещениях, а также на открытых балконах, террасах и т.д. При введении в клей эластификатора Ceresit CC 83 может применяться для укладки керамогранитных плит. Ускоренный набор прочностных характеристик | |
Клей Ceresit CM 115 | 2,5 - 4,4 кг/м2 | Применяется для изготовления покрытий полов из мраморных плит в отапливаемых и неотапливаемых помещениях, а также на открытых балконах, террасах и т.д. | |
Клей Ceresit CM 15 | 2,5 - 4,4 кг/м2 | Применяется для изготовления покрытий полов из мраморных плит в отапливаемых и неотапливаемых помещениях, а также на открытых балконах, террасах и т.д. Ускоренный набор прочностных характеристик | |
Клей Ceresit CM 19 | 2,4 - 6,0 кг/м2 | Применяется для изготовления покрытий полов из крупноформатных плит из природного и искусственного камня, керамики и керамогранита в отапливаемых и неотапливаемых помещениях, а также на открытых балконах, террасах и т.д. | |
Клей Ceresit CM 117 | 1,8 - 4,7 кг/м2 | Применяется для изготовления покрытий полов из любых видов плит в отапливаемых и неотапливаемых помещениях, а также на открытых балконах, террасах и т.д. | |
Клей Ceresit CM 17 | 1,5 - 3,2 кг/м2 | Применяется для изготовления покрытий полов из любых видов плит в отапливаемых и неотапливаемых помещениях, а также на открытых балконах, террасах и т.д. Повышенная эластичность | |
4 | Водно-дисперсионная грунтовка Ceresit CT 17 | 0,1 - 0,2 кг/м2 | Наносится кистью или валиком на очищенную поверхность бетонной или цементно-песчаной стяжки |
Водно-дисперсионная грунтовка Ceresit CN 94 | 40 - 50 г/м2 | Наносится кистью или валиком на очищенную поверхность бетонной или цементно-песчаной стяжки. Разбавляется водой в соотношении 1:3 | |
5 | Полимерцементная саморазравнивающаяся стяжка марки Ceresit CN 76 + песок | 2,0 кг/м2 | Наносится шпателем. Расход - на 1 мм слоя. Предел прочности при сжатии после 28 суток выдержки не менее 40 МПа |
Полимерцементная стяжка марки Ceresit CN 83 | 2,0 кг/м2 | Наносится шпателем. Расход - на 1 мм слоя. Ускоренный набор прочностных характеристик. Предел прочности при сжатии после 1 суток выдержки не менее 13 МПа, после 28 суток выдержки - не менее 35 МПа | |
Полимерцементная стяжка марки Ceresit CN 178 | 2,0 кг/м2 | Наносится шпателем. Расход - на 1 мм слоя. Предел прочности при сжатии после 28 суток выдержки не менее 25 МПа | |
Стяжка из цементно- песчаного раствора марки М150 | 0,02 м3/м2 | ||
Стяжка из бетона класса В12,5 | 0,02 м3/м2 | ||
6 | Рулонная гидроизоляция | 1,02 м2/м2 | |
Обмазочная гидроизоляция на основе жесткой гидроизолирующей массы Ceresit CR 65 | 3 - 5 кг/м2 | ||
Обмазочная гидроизоляция на основе эластичной гидроизолирующей массы Ceresit CR 166 | 3 - 5 кг/м2 | ||
7 | Сплошная или многопустотная плита перекрытия с ровной поверхностью |

Поз. | Наименование | Расход | Примечание |
1 | Керамические плитки, керамогранитные плиты и плиты из природного камня | ||
2 | Затирка Ceresit CE 33 Super | 0,4 - 0,7 кг/м2 | Применяется для затирки узких швов в покрытиях из керамических, стеклянных и каменных плиток, 25 цветов |
Затирка Ceresit CE 35 Super | 0,4 - 1,2 кг/м2 | Применяется для затирки широких швов в покрытиях из керамических, стеклянных и каменных плиток, 5 цветов | |
Затирка Ceresit CE 42 | 0,2 - 0,6 кг/м2 | Применяется для затирки швов в покрытиях из мраморных плиток, 4 цвета | |
Затирка Ceresit CE 43 | 0,6 - 1,2 кг/м2 | Применяется для затирки швов в покрытиях из керамических, стеклянных и каменных плиток, 11 цветов. Повышенная эластичность и водоотталкивающие свойства | |
3 | Клей Ceresit CM 9 | 2,0 - 4,2 кг/м2 | Применяется для изготовления покрытий полов из керамической плитки в отапливаемых помещениях |
Клей Ceresit CM 11 | 1,7 - 4,2 кг/м2 | Применяется для изготовления покрытий полов из керамической плитки и плиток из натурального и искусственного камня с водопоглощением не менее 1% и размером до 30 x 30 см в отапливаемых и неотапливаемых помещениях, а также на открытых балконах, террасах и т.д. При введении в клей эластификатора Ceresit CC 83 может применяться для укладки керамогранитных плит | |
Клей Ceresit CM 14 | 2,4 - 4,2 кг/м2 | Применяется для изготовления покрытий полов из керамической плитки и плиток из натурального и искусственного камня с водопоглощением не менее 1% и размером до 30 x 30 см в отапливаемых и неотапливаемых помещениях, а также на открытых балконах, террасах и т.д. При введении в клей эластификатора Ceresit CC 83 может применяться для укладки керамогранитных плит. Ускоренный набор прочностных характеристик | |
Клей Ceresit CM 115 | 2,5 - 4,4 кг/м2 | Применяется для изготовления покрытий полов из мраморных плит в отапливаемых и неотапливаемых помещениях, а также на открытых балконах, террасах и т.д. | |
Клей Ceresit CM 15 | 2,5 - 4,4 кг/м2 | Применяется для изготовления покрытий полов из мраморных плит в отапливаемых и неотапливаемых помещениях, а также на открытых балконах, террасах и т.д. Ускоренный набор прочностных характеристик | |
Клей Ceresit CM 19 | 2,4 - 6,0 кг/м2 | Применяется для изготовления покрытий полов из крупноформатных плит из природного и искусственного камня, керамики и керамогранита в отапливаемых и неотапливаемых помещениях, а также на открытых балконах, террасах и т.д. | |
Клей Ceresit CM 117 | 1,8 - 4,7 кг/м2 | Применяется для изготовления покрытий полов из любых видов плит в отапливаемых и неотапливаемых помещениях, а также на открытых балконах, террасах и т.д. | |
Клей Ceresit CM 17 | 1,5 - 3,2 кг/м2 | Применяется для изготовления покрытий полов из любых видов плит в отапливаемых и неотапливаемых помещениях, а также на открытых балконах, террасах и т.д. Повышенная эластичность | |
4 | Водно-дисперсионная грунтовка Ceresit CT 17 | 0,1 - 0,2 кг/м2 | Наносится кистью или валиком на очищенную поверхность бетонной или цементно-песчаной стяжки |
Водно-дисперсионная грунтовка Ceresit CN 94 | 40 - 50 г/м2 | Наносится кистью или валиком на очищенную поверхность бетонной или цементно-песчаной стяжки. Разбавляется водой в соотношении 1:3 | |
5 | Стяжка из цементно- песчаного раствора марки М150 | 0,04 м3/м2 | |
Стяжка из бетона класса В12,5 | 0,04 м3/м2 | ||
Полимерцементная стяжка марки Ceresit CN 178 | 0,04 м3/м2 | ||
6 | Полиэтиленовая пленка | 0,15 м2/м2 | |
7 | Тепло- и звукоизоляция из кварцевого или керамзитового песка | Толщина слоя и расход материа- лов назначаются в соответствии с расчетами по параметрам тепло- и звукоизоляции | |
8 | Сплошная или многопустотная плита перекрытия |

Поз. | Наименование | Расход | Примечание |
1 | Керамические плитки, керамогранитные плиты и плиты из природного камня | ||
2 | Затирка Ceresit CE 33 Super | 0,4 - 0,7 кг/м2 | Применяется для затирки узких швов в покрытиях из керамических, стеклянных и каменных плиток, 25 цветов |
Затирка Ceresit CE 35 Super | 0,4 - 1,2 кг/м2 | Применяется для затирки широких швов в покрытиях из керамических, стеклянных и каменных плиток, 5 цветов | |
Затирка Ceresit CE 42 | 0,2 - 0,6 кг/м2 | Применяется для затирки швов в покрытиях из мраморных плиток, 4 цвета | |
Затирка Ceresit CE 43 | 0,6 - 1,2 кг/м2 | Применяется для затирки швов в покрытиях из керамических, стеклянных и каменных плиток, 11 цветов. Повышенная эластичность и водоотталкивающие свойства | |
3 | Клей Ceresit CM 9 | 2,0 - 4,2 кг/м2 | Применяется для изготовления покрытий полов из керамической плитки в отапливаемых помещениях |
Клей Ceresit CM 11 | 1,7 - 4,2 кг/м2 | Применяется для изготовления покрытий полов из керамической плитки и плиток из натурального и искусственного камня с водопоглощением не менее 1% и размером до 30 x 30 см в отапливаемых и неотапливаемых помещениях, а также на открытых балконах, террасах и т.д. При введении в клей эластификатора Ceresit CC 83 может применяться для укладки керамогранитных плит | |
Клей Ceresit CM 14 | 2,4 - 4,2 кг/м2 | Применяется для изготовления покрытий полов из керамической плитки и плиток из натурального и искусственного камня с водопоглощением не менее 1% и размером до 30 x 30 см в отапливаемых и неотапливаемых помещениях, а также на открытых балконах, террасах и т.д. При введении в клей эластификатора Ceresit CC 83 может применяться для укладки керамогранитных плит. Ускоренный набор прочностных характеристик | |
Клей Ceresit CM 115 | 2,5 - 4,4 кг/м2 | Применяется для изготовления покрытий полов из мраморных плит в отапливаемых и неотапливаемых помещениях, а также на открытых балконах, террасах и т.д. | |
Клей Ceresit CM 15 | 2,5 - 4,4 кг/м2 | Применяется для изготовления покрытий полов из мраморных плит в отапливаемых и неотапливаемых помещениях, а также на открытых балконах, террасах и т.д. Ускоренный набор прочностных характеристик | |
Клей Ceresit CM 19 | 2,4 - 6,0 кг/м2 | Применяется для изготовления покрытий полов из крупноформатных плит из природного и искусственного камня, керамики и керамогранита в отапливаемых и неотапливаемых помещениях, а также на открытых балконах, террасах и т.д. | |
Клей Ceresit CM 117 | 1,8 - 4,7 кг/м2 | Применяется для изготовления покрытий полов из любых видов плит в отапливаемых и неотапливаемых помещениях, а также на открытых балконах, террасах и т.д. | |
Клей Ceresit CM 17 | 1,5 - 3,2 кг/м2 | Применяется для изготовления покрытий полов из любых видов плит в отапливаемых и неотапливаемых помещениях, а также на открытых балконах, террасах и т.д. Повышенная эластичность | |
4 | Водно-дисперсионная грунтовка Ceresit CT 17 | 0,1 - 0,2 кг/м2 | Наносится кистью или валиком на очищенную поверхность бетонной или цементно-песчаной стяжки |
Водно-дисперсионная грунтовка Ceresit CN 94 | 40 - 50 г/м2 | Наносится кистью или валиком на очищенную поверхность бетонной или цементно-песчаной стяжки. Разбавляется водой в соотношении 1:3 | |
5 | Стяжка из цементно- песчаного раствора марки М150 | 0,04 м3/м2 | |
Стяжка из бетона класса В12,5 | 0,04 м3/м2 | ||
Полимерцементная стяжка марки Ceresit CN 178 | 0,04 м3/м2 | ||
6 | Полиэтиленовая пленка | 1,15 м2/м2 | |
7 | Тепло- и звукоизоляция из плит или матов | Толщина слоя и расход материа- лов назначаются в соответствии с расчетами по параметрам тепло- и звукоизоляции | |
8 | Сплошная или многопустотная плита перекрытия |

Поз. | Наименование | Расход | Примечание |
1 | Керамические плитки, керамогранитные плиты и плиты из природного камня | ||
2 | Затирка Ceresit CE 35 Super + эластификатор Ceresit CC 83 | 0,4 - 1,2 кг/м2 | Применяется для затирки широких швов в покрытиях из керамических, стеклянных и каменных плиток, 5 цветов |
Затирка Ceresit CE 43 | 0,6 - 1,2 кг/м2 | Применяется для затирки швов в покрытиях из керамических, стеклянных и каменных плиток, 11 цветов. Повышенная эластичность и водоотталкивающие свойства | |
3 | Клей Ceresit CM 11 + эластификатор Ceresit CC 83 | 1,7 - 4,2 кг/м2 | Применяется для изготовления покрытий полов из керамической плитки и плиток из натураль- ного и искусственного камня с водопоглощением не менее 1% и размером до 30 x 30 см |
Клей Ceresit CM 14 + эластификатор Ceresit CC 83 | 2,4 - 4,2 кг/м2 | Применяется для изготовления покрытий полов из керамической плитки и плиток из натураль- ного и искусственного камня с водопоглощением не менее 1% и размером до 30 x 30 см. Ускоренный набор прочностных характеристик | |
Клей Ceresit CM 115 + эластификатор Ceresit CC 83 | 2,5 - 4,4 кг/м2 | Применяется для изготовления покрытий полов из мраморных плит | |
Клей Ceresit CM 15 + эластификатор Ceresit CC 83 | 2,5 - 4,4 кг/м2 | Применяется для изготовления покрытий полов из мраморных плит. Ускоренный набор прочностных характеристик | |
Клей Ceresit CM 19 | 2,6 - 6,0 кг/м2 | Применяется для изготовления покрытий полов из крупнофор- матных плит из природного и искусственного камня, керамики и керамогранита | |
Клей Ceresit CM 117 + эластификатор Ceresit CC 83 | 1,8 - 4,7 кг/м2 | Применяется для изготовления покрытий полов из любых видов плит | |
Клей Ceresit CM 17 | 1,5 - 3,2 кг/м2 | Применяется для изготовления покрытий полов из любых видов плит | |
4 | Водно-дисперсионная грунтовка Ceresit CT 17 | 0,1 - 0,2 кг/м2 | Наносится кистью или валиком на очищенную поверхность сборной стяжки |
Водно-дисперсионная грунтовка Ceresit CN 94 | 50 г/м2 | Наносится кистью или валиком на очищенную поверхность сборной стяжки. Разбавляется водой в соотношении 1:3 | |
5 | Сборная стяжка из готовых элементов из гипсоволокнистых листов | 1,02 м2/м2 | |
6 | Водно-дисперсионный клей | 40 - 50 г/п.м. | |
7 | Кварцевый песок | По факту | Расход - минимально необходи- мый для выравнивания поверхности нижележащего слоя |
8 | Пароизоляция - полиэтиленовая пленка | 1,15 м2/м2 | |
9 | Сплошная или много- пустотная плита пе- рекрытия с неровной поверхностью |

Поз. | Наименование | Расход | Примечание |
1 | Керамические плитки, керамогранитные плиты и плиты из природного камня | ||
2 | Затирка Ceresit CE 35 Super + эластификатор Ceresit CC 83 | 0,4 - 1,2 кг/м2 | Применяется для затирки широких швов в покрытиях из керамических, стеклянных и каменных плиток, 5 цветов |
Затирка Ceresit CE 43 | 0,6 - 1,2 кг/м2 | Применяется для затирки швов в покрытиях из керамических, стеклянных и каменных плиток, 11 цветов. Повышенная эластичность и водоотталкивающие свойства | |
3 | Клей Ceresit CM 11 + эластификатор Ceresit CC 83 | 1,7 - 4,2 кг/м2 | Применяется для изготовления покрытий полов из керамической плитки и плиток из натураль- ного и искусственного камня с водопоглощением не менее 1% и размером до 30 x 30 см |
Клей Ceresit CM 14 + эластификатор Ceresit CC 83 | 2,4 - 4,2 кг/м2 | Применяется для изготовления покрытий полов из керамической плитки и плиток из натураль- ного и искусственного камня с водопоглощением не менее 1% и размером до 30 x 30 см. Ускоренный набор прочностных характеристик | |
Клей Ceresit CM 115 + эластификатор Ceresit CC 83 | 2,5 - 4,4 кг/м2 | Применяется для изготовления покрытий полов из мраморных плит | |
Клей Ceresit CM 15 + эластификатор Ceresit CC 83 | 2,5 - 4,4 кг/м2 | Применяется для изготовления покрытий полов из мраморных плит. Ускоренный набор прочностных характеристик | |
Клей Ceresit CM 19 | 2,6 - 6,0 кг/м2 | Применяется для изготовления покрытий полов из крупнофор- матных плит из природного и искусственного камня, керамики и керамогранита | |
Клей Ceresit CM 117 + эластификатор Ceresit CC 83 | 1,8 - 4,7 кг/м2 | Применяется для изготовления покрытий полов из любых видов плит | |
Клей Ceresit CM 17 | 1,5 - 3,2 кг/м2 | Применяется для изготовления покрытий полов из любых видов плит | |
4 | Водно-дисперсионная грунтовка Ceresit CT 17 | 0,1 - 0,2 кг/м2 | Наносится кистью или валиком на очищенную поверхность сборной стяжки |
Водно-дисперсионная грунтовка Ceresit CN 94 | 50 г/м2 | Наносится кистью или валиком на очищенную поверхность сборной стяжки. Разбавляется водой в соотношении 1:3 | |
5 | Сборная стяжка из готовых элементов из гипсоволокнистых листов | 1,02 м2/м2 | |
6 | Водно-дисперсионный клей | 40 - 50 г/п.м. | |
7 | Тепло- и звукоизоляция из кварцевого или керамзитового песка | Толщина слоя и расход материа- лов назначаются в соответствии с расчетами по параметрам тепло- и звукоизоляции | |
8 | Пароизоляция - полиэтиленовая пленка | 1,15 м2/м2 | |
9 | Сплошная или много- пустотная плита перекрытия с не- ровной поверхностью |

Поз. | Наименование | Расход | Примечание |
1 | Керамические плитки, керамогранитные плиты и плиты из природного камня | ||
2 | Затирка Сеresit CE 35 Super + эластификатор Ceresit CC 83 | 0,4 - 1,2 кг/м2 | Применяется для затирки широких швов в покрытиях из керамических, стеклянных и каменных плиток, 5 цветов |
Затирка Ceresit CE 43 | 0,6 - 1,2 кг/м2 | Применяется для затирки швов в покрытиях из керамических, стеклянных и каменных плиток, 11 цветов. Повышенная эластичность и водоотталкивающие свойства | |
3 | Клей Ceresit CM 11 + эластификатор Ceresit CC 83 | 1,7 - 4,2 кг/м2 | Применяется для изготовления покрытий полов из керамической плитки и плиток из натураль- ного и искусственного камня с водопоглощением не менее 1% и размером до 30 x 30 см |
Клей Ceresit CM 14 + эластификатор Ceresit CC 83 | 2,4 - 4,2 кг/м2 | Применяется для изготовления покрытий полов из керамической плитки и плиток из натураль- ного и искусственного камня с водопоглощением не менее 1% и размером до 30 x 30 см. Ускоренный набор прочностных характеристик | |
Клей Ceresit CM 115 + эластификатор Ceresit CC 83 | 2,5 - 4,4 кг/м2 | Применяется для изготовления покрытий полов из мраморных плит | |
Клей Ceresit CM 15 + эластификатор Ceresit CC 83 | 2,5 - 4,4 кг/м2 | Применяется для изготовления покрытий полов из мраморных плит. Ускоренный набор прочностных характеристик | |
Клей Ceresit CM 19 | 2,6 - 6,0 кг/м2 | Применяется для изготовления покрытий полов из крупнофор- матных плит из природного и искусственного камня, керамики и керамогранита | |
Клей Ceresit CM 117 + эластификатор Ceresit CC 83 | 1,8 - 4,7 кг/м2 | Применяется для изготовления покрытий полов из любых видов плит | |
Клей Ceresit CM 17 | 1,5 - 3,2 кг/м2 | Применяется для изготовления покрытий полов из любых видов плит | |
4 | Водно-дисперсионная грунтовка Ceresit CT 17 | 0,1 - 0,2 кг/м2 | Наносится кистью или валиком на очищенную поверхность сборной стяжки |
Водно-дисперсионная грунтовка Ceresit CN 94 | 50 г/м2 | Наносится кистью или валиком на очищенную поверхность сборной стяжки. Разбавляется водой в соотношении 1:3 | |
5 | Сборная стяжка из готовых элементов из гипсоволокнистых листов | 1,02 м2/м2 | |
6 | Водно-дисперсионный клей | 40 - 50 г/п.м. | |
7 | Тепло- и звукоизоляция из плит или матов | Толщина слоя и расход материа- лов назначаются в соответствии с расчетами по параметрам тепло- и звукоизоляции | |
8 | Пароизоляция - полиэтиленовая пленка | 1,15 м2/м2 | |
9 | Сплошная или много- пустотная плита пе- рекрытия с неровной поверхностью |

Поз. | Наименование | Расход | Примечание |
1 | Керамические плитки, керамогранитные плиты и плиты из природного камня | ||
2 | Затирка Ceresit CE 35 Super + эластификатор Ceresit CC 83 | 0,4 - 1,2 кг/м2 | Применяется для затирки широких швов в покрытиях из керамических, стеклянных и каменных плиток, 5 цветов |
Затирка Ceresit CE 43 | 0,6 - 1,2 кг/м2 | Применяется для затирки швов в покрытиях из керамических, стеклянных и каменных плиток, 11 цветов. Повышенная эластичность и водоотталкивающие свойства | |
3 | Клей Ceresit CM 11 + эластификатор Ceresit CC 83 | 1,7 - 4,2 кг/м2 | Применяется для изготовления покрытий полов из керамической плитки и плиток из натураль- ного и искусственного камня с водопоглощением не менее 1% и размером до 30 x 30 см |
Клей Ceresit CM 14 + эластификатор Ceresit CC 83 | 2,4 - 4,2 кг/м2 | Применяется для изготовления покрытий полов из керамической плитки и плиток из натураль- ного и искусственного камня с водопоглощением не менее 1% и размером до 30 x 30 см. Ускоренный набор прочностных характеристик | |
Клей Ceresit CM 115 + эластификатор Ceresit CC 83 | 2,5 - 4,4 кг/м2 | Применяется для изготовления покрытий полов из мраморных плит | |
Клей Ceresit CM 15 + эластификатор Ceresit CC 83 | 2,5 - 4,4 кг/м2 | Применяется для изготовления покрытий полов из мраморных плит. Ускоренный набор прочностных характеристик | |
Клей Ceresit CM 19 | 2,6 - 6,0 кг/м2 | Применяется для изготовления покрытий полов из крупнофор- матных плит из природного и искусственного камня, керамики и керамогранита | |
Клей Ceresit CM 117 + эластификатор Ceresit CC 83 | 1,8 - 4,7 кг/м2 | Применяется для изготовления покрытий полов из любых видов плит | |
Клей Ceresit CM 17 | 1,5 - 3,2 кг/м2 | Применяется для изготовления покрытий полов из любых видов плит | |
4 | Водно-дисперсионная грунтовка Ceresit CT 17 | 0,1 - 0,2 кг/м2 | Наносится кистью или валиком на очищенную поверхность сборной стяжки |
Водно-дисперсионная грунтовка Ceresit CN 94 | 50 г/м2 | Наносится кистью или валиком на очищенную поверхность сборной стяжки. Разбавляется водой в соотношении 1:3 | |
5 | Сборная стяжка из готовых элементов из гипсоволокнистых листов | 1,02 м2/м2 | |
6 | Водно-дисперсионный клей | 40 - 50 г/п.м. | |
7 | Тепло- и звукоизо- лирующая засыпка из кварцевого или керамзитового песка | По расчету | Толщина слоя и расход материа- лов назначаются в соответствии с расчетами по параметрам тепло- и звукоизоляции, но не менее высоты короба H + 15 |
8 | Труба | По факту | |
9 | Обкладка трубы пористо-волокнистыми матами | ||
10 | Защитный металлический кожух | ||
11 | Дюбель разжимной | 1,15 м2/м2 | |
12 | Пароизоляция - полиэтиленовая пленка | ||
13 | Сплошная или многопустотная плита перекрытия |

Поз. | Наименование | Расход | Примечание |
1 | Керамические плитки, керамогранитные плиты и плиты из природного камня | ||
2 | Затирка Ceresit CE 35 Super + эластификатор Ceresit CC 83 | 0,4 - 1,2 кг/м2 | Применяется для затирки широких швов в покрытиях из керамических, стеклянных и каменных плиток, 5 цветов |
Затирка Ceresit CE 43 | 0,6 - 1,2 кг/м2 | Применяется для затирки швов в покрытиях из керамических, стеклянных и каменных плиток, 11 цветов. Повышенная эластичность и водоотталкивающие свойства | |
3 | Клей Ceresit CM 11 + эластификатор Ceresit CC 83 | 1,7 - 4,2 кг/м2 | Применяется для изготовления покрытий полов из керамической плитки и плиток из натураль- ного и искусственного камня с водопоглощением не менее 1% и размером до 30 x 30 см |
Клей Ceresit CM 14 + эластификатор Ceresit CC 83 | 2,4 - 4,2 кг/м2 | Применяется для изготовления покрытий полов из керамической плитки и плиток из натураль- ного и искусственного камня с водопоглощением не менее 1% и размером до 30 x 30 см. Ускоренный набор прочностных характеристик | |
Клей Ceresit CM 115 + эластификатор Ceresit CC 83 | 2,5 - 4,4 кг/м2 | Применяется для изготовления покрытий полов из мраморных плит | |
Клей Ceresit CM 15 + эластификатор Ceresit CC 83 | 2,5 - 4,4 кг/м2 | Применяется для изготовления покрытий полов из мраморных плит. Ускоренный набор прочностных характеристик | |
Клей Ceresit CM 19 | 2,6 - 6,0 кг/м2 | Применяется для изготовления покрытий полов из крупнофор- матных плит из природного и искусственного камня, керамики и керамогранита | |
Клей Ceresit CM 117 + эластификатор Ceresit CC 83 | 1,8 - 4,7 кг/м2 | Применяется для изготовления покрытий полов из любых видов плит | |
Клей Ceresit CM 17 | 1,5 - 3,2 кг/м2 | Применяется для изготовления покрытий полов из любых видов плит | |
4 | Водно-дисперсионная грунтовка Ceresit CT 17 | 0,1 - 0,2 кг/м2 | Наносится кистью или валиком на очищенную поверхность сборной стяжки |
Водно-дисперсионная грунтовка Ceresit CN 94 | 50 г/м2 | Наносится кистью или валиком на очищенную поверхность сборной стяжки. Разбавляется водой в соотношении 1:3 | |
5 | Сборная стяжка из готовых элементов из гипсоволокнистых листов | 1,02 м2/м2 | |
6 | Водно-дисперсионный клей | 40 - 50 г/п.м. | |
7 | Тепло- и звукоизоляция из плит или матов | По расчету | Толщина слоя и расход материа- лов назначаются в соответствии с расчетами по параметрам тепло- и звукоизоляции, но не менее высоты короба H + 15 |
8 | Труба | ||
9 | Обкладка трубы пористо-волокнистыми матами | По факту | |
10 | Защитный металлический кожух | ||
11 | Дюбель разжимной | ||
12 | Пароизоляция - полиэтиленовая пленка | 1,15 м2/м2 | |
13 | Сплошная или многопустотная плита перекрытия |

Поз. | Наименование | Расход | Примечание |
1 | Керамические плитки, керамогранитные плиты и плиты из природного камня | ||
2 | Затирка Ceresit CE 35 Super + эластификатор Ceresit CC 83 | 0,4 - 1,2 кг/м2 | Применяется для затирки широких швов в покрытиях из керамических, стеклянных и каменных плиток, 5 цветов |
Затирка Ceresit CE 43 | 0,6 - 1,2 кг/м2 | Применяется для затирки швов в покрытиях из керамических, стеклянных и каменных плиток, 11 цветов. Повышенная эластичность и водоотталкивающие свойства | |
3 | Клей Ceresit CM 11 + эластификатор Ceresit CC 83 | 1,7 - 4,2 кг/м2 | Применяется для изготовления покрытий полов из керамической плитки и плиток из натураль- ного и искусственного камня с водопоглощением не менее 1% и размером до 30 x 30 см |
Клей Ceresit CM 14 + эластификатор Ceresit CC 83 | 2,4 - 4,2 кг/м2 | Применяется для изготовления покрытий полов из керамической плитки и плиток из натураль- ного и искусственного камня с водопоглощением не менее 1% и размером до 30 x 30 см. Ускоренный набор прочностных характеристик | |
Клей Ceresit CM 115 + эластификатор Ceresit CC 83 | 2,5 - 4,4 кг/м2 | Применяется для изготовления покрытий полов из мраморных плит | |
Клей Ceresit CM 15 + эластификатор Ceresit CC 83 | 2,5 - 4,4 кг/м2 | Применяется для изготовления покрытий полов из мраморных плит. Ускоренный набор прочностных характеристик | |
Клей Ceresit CM 19 | 2,6 - 6,0 кг/м2 | Применяется для изготовления покрытий полов из крупнофор- матных плит из природного и искусственного камня, керамики и керамогранита | |
Клей Ceresit CM 117 + эластификатор Ceresit CC 83 | 1,8 - 4,7 кг/м2 | Применяется для изготовления покрытий полов из любых видов плит | |
Клей Ceresit CM 17 | 1,5 - 3,2 кг/м2 | Применяется для изготовления покрытий полов из любых видов плит | |
4 | Водно-дисперсионная грунтовка Ceresit CT 17 | 0,1 - 0,2 кг/м2 | Наносится кистью или валиком на очищенную поверхность стяжки |
Водно-дисперсионная грунтовка Ceresit CN 94 | 40 - 50 г/м2 | Наносится кистью или валиком на очищенную поверхность стяжки. Разбавляется водой в соотношении 1:3 | |
5 | Деформационный шов, расшитый герметиком | По факту | Швы нарезаются в продольном и поперечном направлении с шагом не более 6 м. Глубина деформационного шва - не менее 2/3 толщины стяжки. Расшивка швов герметиком осуществляется после достижения стяжкой воздушно-сухого состояния |
6 | Стяжка из цементно- песчаного раствора на основе полимерцемента марки Ceresit CN 85 и сухого кварцевого песка в соотношении 1:4 - 5, армированная металлической сеткой с ячейками 50 x 50 x 2 | 3,7 кг/м2 | Расход - на 1 мм слоя. При использовании для обогрева электронагревательных элементов армирующая сетка должна быть присоединена к системе заземления здания |
Стяжка из выравнивающей смеси марки Ceresit CN 178, армированная металлической сеткой с ячейками 50 x 50 x 2 | 2,0 кг/м2 | Расход - на 1 мм слоя. При использовании для обогрева электронагревательных элементов армирующая сетка должна быть присоединена к системе заземления здания | |
7 | Электрокабель или трубы | Шаг между нагревательными элементами устанавливается при теплотехническом расчете, исходя из достижения на поверхности покрытия температуры +23 °C | |
8 | Тепло- и звукоизоляция из плит или матов | Толщина слоя и расход материа- лов назначаются в соответствии с расчетами по параметрам тепло- и звукоизоляции | |
9 | Рулонная гидроизоляция | 1,02 м2/м2 | |
10 | Сплошная или многопустотная плита перекрытия |

Поз. | Наименование | Расход | Примечание |
1 | Керамические кисло- тостойкие плитки | ||
2 | Затирка Ceresit CE 48 | 0,8 - 1,9 кг/м2 | Применяется для заполнения швов в покрытиях из керамической кислотостойкой плитки |
3 | Клей Ceresit CU 22 | 1,9 - 3,4 кг/м2 | Применяется для изготовления покрытий полов из керамической плитки в отапливаемых и неотапливаемых помещениях, а также на открытых площадках |
4 | Клей Ceresit CU 22 + 15% песка | По факту | Расшивка трещин и шпаклевка выбоин в бетонном основании |
5 | Бетонное основание из бетона класса В22,5 | 0,12 м3/м2 | |
6 | Грунт основания |

Поз. | Наименование | Расход | Примечание |
1 | Керамические кисло- тостойкие плитки | ||
2 | Затирка Ceresit CE 48 | 0,8 - 1,9 кг/м2 | Применяется для заполнения швов в покрытиях из керами- ческой кислотостойкой плитки |
3 | Клей Ceresit CU 22 | 1,9 - 3,4 кг/м2 | Применяется для изготовления покрытий полов из керамичес- кой плитки в отапливаемых и неотапливаемых помещениях, а также на открытых площадках |
4 | Клей Ceresit CU 22 + 15% песка | По факту | Расшивка трещин и шпаклевка выбоин в бетонном основании |
5 | Бетонное основание из бетона класса В22,5 | 0,12 м3/м2 | |
6 | Наливная гидроизо- ляция - щебень или гравий, пропитанные битумом | Щебень или гравий - 0,04 - 0,05 м3/м2, битум - по факту | |
7 | Грунт основания |

Поз. | Наименование | Расход | Примечание |
1 | Керамические кисло- тостойкие плитки | ||
2 | Затирка Ceresit CE 48 | 0,8 - 1,9 кг/м2 | Применяется для заполнения швов в покрытиях из керамической кислотостойкой плитки |
3 | Клей Ceresit CU 22 | 1,9 - 3,4 кг/м2 | Применяется для изготовления покрытий полов из керамической плитки в отапливаемых и неотапливаемых помещениях, а также на открытых площадках |
4 | Клей Ceresit CU 22 + 15% песка | По факту | Расшивка трещин и шпаклевка выбоин в бетонном основании |
5 | Бетонное основание из бетона класса В22,5 | 0,12 м3/м2 | |
6 | Рулонная гидроизоляция | 1,02 м2/м2 | |
Обмазочная гидро- изоляция на основе жесткой гидроизо- лирующей массы Ceresit CR 65 | 3 - 5 кг/м2 | ||
7 | Стяжка из цементно- песчаного раствора марки М150 | 0,05 м3/м2 | |
8 | Грунт основания |

Поз. | Наименование | Расход | Примечание |
1 | Керамические кисло- тостойкие плитки | ||
2 | Затирка Ceresit CE 48 | 0,8 - 1,9 кг/м2 | Применяется для заполнения швов в покрытиях из керамической кислотостойкой плитки |
3 | Клей Ceresit CU 22 | 1,9 - 3,4 кг/м2 | Применяется для изготовления покрытий полов из керамической плитки в отапливаемых и неотапливаемых помещениях, а также на открытых площадках |
4 | Стяжка из цементно- песчаного раствора марки М150 | 0,02 м3/м2 | |
Стяжка из бетона класса В12,5 | 0,02 м3/м2 | ||
Полимерцементная стяжка марки Ceresit CN 178 | 2,0 кг/м2 | Расход - на 1 мм слоя. Предел прочности при сжатии после 28 суток выдержки не менее 25 МПа | |
Полимерцементная стяжка марки Ceresit CN 83 | 2,0 кг/м2 | Расход - на 1 мм слоя. Ускорен- ный набор прочностных характе- ристик. Предел прочности при сжатии после 1 суток выдержки не менее 13 МПа, после 28 суток выдержки не менее 35 МПа | |
Полимерцементная саморазравниваю- щаяся стяжка марки Ceresit CN 76 + песок | 2,0 кг/м2 | Расход - на 1 мм слоя. Предел прочности при сжатии после 28 суток выдержки не менее 40 МПа | |
5 | Водно-дисперсионная грунтовка Ceresit CT 17 | 0,1 - 0,2 кг/м2 | Наносится кистью или валиком на очищенную поверхность бетонного основания |
Водно-дисперсионная грунтовка Ceresit CT 94 | 40 г/м2 | Наносится кистью или валиком на очищенную поверхность бетонного основания. Разбавляется водой в соотношении 1:3 | |
6 | Бетонное основание из бетона класса В22,5 | 0,10 м3/м2 | |
7 | Грунт основания |

Поз. | Наименование | Расход | Примечание |
1 | Керамические кисло- тостойкие плитки | ||
2 | Затирка Ceresit CE 48 | 0,9 - 1,9 кг/м2 | Применяется для заполнения швов в покрытиях из керамической кислотостойкой плитки |
3 | Клей Ceresit CU 22 | 1,9 - 3,4 кг/м2 | Применяется для изготовления покрытий полов из керамической плитки в отапливаемых и неотапливаемых помещениях, а также на открытых площадках |
4 | Эластичная эпоксидная гидроизоляция Ceresit CE 49 | 1,3 кг/м2 | Наносится щеткой, кистью или валиком не менее двух слоев. Толщина каждого слоя не менее 1 мм. Расход - на 1 мм |
5 | Эпоксидная грунтовка Ceresit CE 50 | 0,2 - 0,3 кг/м2 | Наносится кистью или валиком на очищенную поверхность выравнивающей стяжки |
6 | Стяжка из цементно- песчаного раствора марки М150 | 0,02 м3/м2 | |
Стяжка из бетона класса В12,5 | 0,02 м3/м2 | ||
Полимерцементная стяжка марки Ceresit CN 178 | 2,0 кг/м2 | Расход - на 1 мм слоя. Предел прочности при сжатии после 28 суток выдержки не менее 25 МПа | |
Полимерцементная стяжка марки Ceresit CN 83 | 2,0 кг/м2 | Расход - на 1 мм слоя. Ускорен- ный набор прочностных характе- ристик. Предел прочности при сжатии после 1 суток выдержки не менее 13 МПа, после 28 суток выдержки не менее 35 МПа | |
Полимерцементная саморазравниваю- щаяся стяжка марки Ceresit CN 76 + песок | 2,0 кг/м2 | Расход - на 1 мм слоя. Предел прочности при сжатии после 28 суток выдержки не менее 40 МПа | |
7 | Водно-дисперсионная грунтовка Ceresit CT 17 | 0,1 - 0,2 кг/м2 | Наносится кистью или валиком на очищенную поверхность бетонного основания |
Водно-дисперсионная грунтовка Ceresit CT 94 | 40 г/м2 | Наносится кистью или валиком на очищенную поверхность бетонного основания. Разбавляется водой в соотношении 1:3 | |
8 | Бетонное основание из бетона класса В22,5 | 0,10 м3/м2 | |
9 | Грунт основания |

Поз. | Наименование | Расход | Примечание |
1 | Керамические кисло- тостойкие плитки | ||
2 | Затирка Ceresit CE 48 | 0,8 - 1,9 кг/м2 | Применяется для заполнения швов в покрытиях из керами- ческой кислотостойкой плитки |
3 | Клей Ceresit CU 22 | 1,9 - 3,4 кг/м2 | Применяется для изготовления покрытий полов из керамичес- кой плитки в отапливаемых и неотапливаемых помещениях, а также на открытых площадках |
4 | Эластичная эпоксидная гидроизоляция Ceresit CE 49 | 1,3 кг/м2 | Наносится щеткой, кистью или валиком не менее двух слоев. Толщина каждого слоя не менее 1 мм. Расход - на 1 мм |
5 | Эпоксидная грунтовка Ceresit CE 50 | 0,2 - 0,3 кг/м2 | Наносится кистью или валиком на очищенную поверхность выравнивающей стяжки |
6 | Стяжка из цементно- песчаного раствора марки М150 | 0,02 м3/м2 | |
Стяжка из бетона класса В12,5 | 0,02 м3/м2 | ||
Полимерцементная стяжка марки Ceresit CN 178 | 2,0 кг/м2 | Расход - на 1 мм слоя. Предел прочности при сжатии после 28 суток выдержки не менее 25 МПа | |
Полимерцементная стяжка марки Ceresit CN 83 | 2,0 кг/м2 | Расход - на 1 мм слоя. Ускоренный набор прочностных характеристик. Предел прочности при сжатии после 1 суток выдержки не менее 13 МПа, после 28 суток выдержки не менее 35 МПа | |
Полимерцементная саморазравниваю- щаяся стяжка марки Ceresit CN 76 + песок | 2,0 кг/м2 | Расход - на 1 мм слоя. Предел прочности при сжатии после 28 суток выдержки не менее 40 МПа | |
7 | Водно-дисперсионная грунтовка Ceresit CT 17 | 0,1 - 0,2 кг/м2 | Наносится кистью или валиком на очищенную поверхность бетонного основания |
Водно-дисперсионная грунтовка Ceresit CT 94 | 40 г/м2 | Наносится кистью или валиком на очищенную поверхность бе- тонного основания. Разбавля- ется водой в соотношении 1:3 | |
8 | Бетонное основание из бетона класса В22,5 | 0,10 м3/м2 | |
9 | Наливная гидроизо- ляция - щебень или гравий, пропитанные битумом | Щебень или гравий - 0,04 - 0,05 м3/м2, битум - по факту | |
10 | Грунт основания |

Поз. | Наименование | Расход | Примечание |
1 | Керамические кисло- тостойкие плитки | ||
2 | Затирка Ceresit CE 48 | 0,8 - 1,9 кг/м2 | Применяется для заполнения швов в покрытиях из керамической кислотостойкой плитки |
3 | Клей Ceresit CU 22 | 1,9 - 3,4 кг/м2 | Применяется для изготовления покрытий полов из керамической плитки в отапливаемых и неотапливаемых помещениях, а также на открытых площадках |
4 | Стяжка из цементно- песчаного раствора марки М150 | Расход материала определяется толщиной стяжки, которая должна превышать на 15 - 20 мм диаметр трубы | |
Стяжка из бетона класса В12,5 | Расход материала определяется толщиной стяжки, которая должна превышать на 15 - 20 мм диаметр трубы | ||
Полимерцементная стяжка марки Ceresit CN 178 | Расход материала определяется толщиной стяжки, которая должна превышать на 15 - 20 мм диаметр трубы | ||
Полимерцементная стяжка марки Ceresit CN 83 | Расход материала определяется толщиной стяжки, которая должна превышать на 15 - 20 мм диаметр трубы, но не должна превышать 35 мм | ||
5 | Труба | ||
6 | Водно-дисперсионная грунтовка Ceresit CT 17 | 0,1 - 0,2 кг/м2 | Наносится кистью или валиком на очищенную поверхность бетонного основания |
Водно-дисперсионная грунтовка Ceresit CT 94 | 40 г/м2 | Наносится кистью или валиком на очищенную поверхность бетонного основания. Разбавляется водой в соотношении 1:3 | |
7 | Бетонное основание из бетона класса В22,5 | 0,10 м3/м2 | |
8 | Грунт основания |

Поз. | Наименование | Расход | Примечание |
1 | Керамические кисло- тостойкие плитки | ||
2 | Затирка Ceresit CE 48 | 0,8 - 1,9 кг/м2 | Применяется для заполнения швов в покрытиях из керамической кислотостойкой плитки |
3 | Клей Ceresit CU 22 | 1,9 - 3,4 кг/м2 | Применяется для изготовления покрытий полов из керамической плитки в отапливаемых и неотапливаемых помещениях, а также на открытых площадках |
4 | Клей Ceresit CU 22 + 15% песка | По факту | Расшивка трещин и шпаклевка выбоин в бетонном основании |
5 | Сплошная или много- пустотная плита перекрытия с ровной поверхностью |

Поз. | Наименование | Расход | Примечание |
1 | Керамические кисло- тостойкие плитки | ||
2 | Затирка Ceresit CE 48 | 0,8 - 1,9 кг/м2 | Применяется для заполнения швов в покрытиях из керамической кислотостойкой плитки |
3 | Клей Ceresit CU 22 | 1,9 - 3,4 кг/м2 | Применяется для изготовления покрытий полов из керамической плитки в отапливаемых и неотапливаемых помещениях, а также на открытых площадках |
4 | Стяжка из цементно- песчаного раствора марки М150 | 0,02 м3/м2 | |
Стяжка из бетона класса В12,5 | 0,02 м3/м2 | ||
Полимерцементная стяжка марки Ceresit CN 178 | 2,0 кг/м2 | Расход - на 1 мм слоя. Предел прочности при сжатии после 28 суток выдержки не менее 25 МПа | |
Полимерцементная стяжка марки Ceresit CN 83 | 2,0 кг/м2 | Расход - на 1 мм слоя. Ускорен- ный набор прочностных характе- ристик. Предел прочности при сжатии после 1 суток выдержки не менее 13 МПа, после 28 суток выдержки не менее 35 МПа | |
Полимерцементная саморазравниваю- щаяся стяжка марки Ceresit CN 76 + песок | 2,0 кг/м2 | Расход - на 1 мм слоя. Предел прочности при сжатии после 28 суток выдержки не менее 40 МПа | |
5 | Водно-дисперсионная грунтовка Ceresit CT 17 | 0,1 - 0,2 кг/м2 | Наносится кистью или валиком на очищенную поверхность бетонного основания |
Водно-дисперсионная грунтовка Ceresit CT 94 | 40 г/м2 | Наносится кистью или валиком на очищенную поверхность бетонного основания. Разбавляется водой в соотношении 1:3 | |
6 | Сплошная или много- пустотная плита перекрытия с не- ровной поверхностью |

Поз. | Наименование | Расход | Примечание |
1 | Керамические кисло- тостойкие плитки | ||
2 | Затирка Ceresit CE 48 | 0,8 - 1,9 кг/м2 | Применяется для заполнения швов в покрытиях из керамической кислотостойкой плитки |
3 | Клей Ceresit CU 22 | 1,9 - 3,4 кг/м2 | Применяется для изготовления покрытий полов из керамической плитки в отапливаемых и неотапливаемых помещениях, а также на открытых площадках |
4 | Эластичная эпоксидная гидроизоляция Ceresit CE 49 | 1,3 кг/м2 | Наносится щеткой, кистью или валиком не менее двух слоев. Толщина каждого слоя не менее 1 мм. Расход - на 1 мм |
5 | Эпоксидная грунтовка Ceresit CE 50 | 0,2 - 0,3 кг/м2 | Наносится кистью или валиком на очищенную поверхность выравнивающей стяжки |
6 | Стяжка из цементно- песчаного раствора марки М150 | 0,02 м3/м2 | |
Стяжка из бетона класса В12,5 | 0,02 м3/м2 | ||
Полимерцементная стяжка марки Ceresit CN 178 | 2,0 кг/м2 | Расход - на 1 мм слоя. Предел прочности при сжатии после 28 суток выдержки не менее 25 МПа | |
Полимерцементная стяжка марки Ceresit CN 83 | 2,0 кг/м2 | Расход - на 1 мм слоя. Ускорен- ный набор прочностных характе- ристик. Предел прочности при сжатии после 1 суток выдержки не менее 13 МПа, после 28 суток выдержки не менее 35 МПа | |
Полимерцементная саморазравниваю- щаяся стяжка марки Ceresit CN 76 + песок | 2,0 кг/м2 | Расход - на 1 мм слоя. Предел прочности при сжатии после 28 суток выдержки не менее 40 МПа | |
7 | Водно-дисперсионная грунтовка Ceresit CT 17 | 0,1 - 0,2 кг/м2 | Наносится кистью или валиком на очищенную поверхность бетонного основания |
Водно-дисперсионная грунтовка Ceresit CT 94 | 40 г/м2 | Наносится кистью или валиком на очищенную поверхность бетонного основания. Разбавляется водой в соотношении 1:3 | |
8 | Сплошная или много- пустотная плита перекрытия с не- ровной поверхностью |

Поз. | Наименование | Расход | Примечание |
1 | Керамические кисло- тостойкие плитки | ||
2 | Затирка Ceresit CE 48 | 0,8 - 1,9 кг/м2 | Применяется для заполнения швов в покрытиях из керамической кислотостойкой плитки |
3 | Клей Ceresit CU 22 | 1,9 - 3,4 кг/м2 | Применяется для изготовления покрытий полов из керамической плитки в отапливаемых и неотапливаемых помещениях, а также на открытых площадках |
4 | Стяжка из цементно- песчаного раствора марки М150 | Расход материала определяется толщиной стяжки, которая должна превышать на 15 - 20 мм диаметр трубы | |
Стяжка из бетона класса В12,5 | Расход материала определяется толщиной стяжки, которая должна превышать на 15 - 20 мм диаметр трубы | ||
Полимерцементная стяжка марки Ceresit CN 178 | Расход материала определяется толщиной стяжки, которая должна превышать на 15 - 20 мм диаметр трубы | ||
Полимерцементная стяжка марки Ceresit CN 83 | Расход материала определяется толщиной стяжки, которая должна превышать на 15 - 20 мм диаметр трубы, но не должна превышать 35 мм | ||
5 | Труба | ||
6 | Водно-дисперсионная грунтовка Ceresit CT 17 | 0,1 - 0,2 кг/м2 | Наносится кистью или валиком на очищенную поверхность бетонного основания |
Водно-дисперсионная грунтовка Ceresit CT 94 | 40 г/м2 | Наносится кистью или валиком на очищенную поверхность бетонного основания. Разбавляется водой в соотношении 1:3 | |
7 | Сплошная или много- пустотная плита перекрытия с не- ровной поверхностью |

Поз. | Наименование | Расход | Примечание |
1 | Керамические кисло- тостойкие плитки | ||
2 | Затирка Ceresit CE 48 | 0,8 - 1,9 кг/м2 | Применяется для заполнения швов в покрытиях из керамической кислотостойкой плитки |
3 | Клей Ceresit CU 22 | 1,9 - 3,4 кг/м2 | Применяется для изготовления покрытий полов из керамической плитки в отапливаемых и неотапливаемых помещениях, а также на открытых площадках |
4 | Стяжка из цементно- песчаного раствора марки М150 | 0,04 м3/м2 | |
Стяжка из бетона класса В12,5 | 0,04 м3/м2 | ||
Полимерцементная стяжка марки Ceresit CN 178 | 0,04 м3/м2 | ||
5 | Полиэтиленовая пленка | 1,15 м2/м2 | |
6 | Тепло- и звукоизо- ляция из кварцевого или керамзитового песка | Толщина слоя и расход материалов назначаются в соответствии с расчетами по параметрам тепло- и звукоизоляции | |
7 | Сплошная или многопустотная плита перекрытия |

Поз. | Наименование | Расход | Примечание |
1 | Керамические кисло- тостойкие плитки | ||
2 | Затирка Ceresit CE 48 | 0,8 - 1,9 кг/м2 | Применяется для заполнения швов в покрытиях из керамической кислотостойкой плитки |
3 | Клей Ceresit CU 22 | 1,9 - 3,4 кг/м2 | Применяется для изготовления покрытий полов из керамической плитки в отапливаемых и неотапливаемых помещениях, а также на открытых площадках |
4 | Стяжка из цементно- песчаного раствора марки М150 | 0,04 м3/м2 | |
Стяжка из бетона класса В12,5 | 0,04 м3/м2 | ||
Полимерцементная стяжка марки Ceresit CN 178 | 0,04 м3/м2 | ||
5 | Полиэтиленовая пленка | 1,15 м2/м2 | |
6 | Тепло- и звукоизоляция из плит или матов | Толщина слоя и расход материалов назначаются в соответствии с расчетами по параметрам тепло- и звукоизоляции | |
7 | Сплошная или многопустотная плита перекрытия |

Поз. | Наименование | Расход | Примечание |
1 | Полимерцементно- песчаное покрытие марки Ceresit CN 83 | 2,0 кг/м2 | Наносится слоем толщиной не менее 20 мм при слабой интенсивности механических воздействий и не менее 30 мм при умеренной интенсивности механических воздействий. Расход - на 1 мм слоя. Ускоренный набор прочностных характеристик. Предел прочности при сжатии после 1 суток выдержки не менее 13 МПа, после 28 суток выдержки - не менее 35 МПа |
Полимерцементно- песчаное покрытие марки Ceresit CN 178 | 2,0 кг/м2 | Наносится слоем толщиной не менее 20 мм. Применяется при слабой интенсивности механических нагрузок. Расход - на 1 мм слоя. Предел прочности при сжатии после 28 суток выдержки не менее 25 МПа | |
2 | Водно-дисперсионная грунтовка Ceresit CT 17 | 0,1 - 0,2 кг/м2 | Наносится кистью или валиком на очищенную поверхность бетонного основания |
Водно-дисперсионная грунтовка Ceresit CN 94 | 40 г/м2 | Наносится кистью или валиком на очищенную поверхность бетонного основания. Разбавляется водой в соотношении 1:3 | |
3 | Бетонное основание из бетона класса В22,5 | 0,10 м3/м2 | |
4 | Грунт основания |

Поз. | Наименование | Расход | Примечание |
1 | Полимерцементно- песчаное покрытие марки Ceresit CN 83 | 2,0 кг/м2 | Наносится слоем толщиной не менее 20 мм при слабой интенсивности механических воздействий и не менее 30 мм при умеренной интенсивности механических воздействий. Расход - на 1 мм слоя. Ускоренный набор прочностных характеристик. Предел проч- ности при сжатии после 1 суток выдержки не менее 13 МПа, после 28 суток выдержки - не менее 35 МПа |
Полимерцементно- песчаное покрытие марки Ceresit CN 178 | 2,0 кг/м2 | Наносится слоем толщиной не менее 20 мм. Применяется при слабой интенсивности механи- ческих нагрузок. Расход - на 1 мм слоя. Предел прочности при сжатии после 28 суток выдержки не менее 25 МПа | |
2 | Водно-дисперсионная грунтовка Ceresit CT 17 | 0,1 - 0,2 кг/м2 | Наносится кистью или валиком на очищенную поверхность бетонного основания |
Водно-дисперсионная грунтовка Ceresit CN 94 | 40 г/м2 | Наносится кистью или валиком на очищенную поверхность бе- тонного основания. Разбавля- ется водой в соотношении 1:3 | |
3 | Бетонное основание из бетона класса В22,5 | 0,10 м3/м2 | |
4 | Наливная гидро- изоляция - щебень или гравий, пропитанные битумом | Щебень или гравий - 0,04 - 0,05 м3/м2, битум - по факту | |
5 | Грунт основания |



Поз. | Наименование | Расход | Примечание |
1 | Полимерцементно- песчаное покрытие марки Ceresit CN 83 | Расход материала определяется толщиной стяжки, которая должна превышать на 15 - 20 мм диаметр трубы, но не должна превышать 35 мм | |
Полимерцементно- песчаное покрытие марки Ceresit CN 178 | Расход материала определяется толщиной стяжки, которая должна превышать на 15 - 20 мм диаметр трубы | ||
2 | Труба | ||
3 | Водно-дисперсионная грунтовка Ceresit CT 17 | 0,1 - 0,2 кг/м2 | Наносится кистью или валиком на очищенную поверхность бетонного основания |
Водно-дисперсионная грунтовка Ceresit CN 94 | 40 г/м2 | Наносится кистью или валиком на очищенную поверхность бетонного основания. Разбавляется водой в соотношении 1:3 | |
4 | Бетонное основание из бетона класса В22,5 | 0,10 м3/м2 | |
5 | Грунт основания |

Поз. | Наименование | Расход | Примечание |
1 | Полимерцементно- песчаное покрытие марки Ceresit CN 83 | 2,0 кг/м2 | Наносится слоем толщиной не менее 20 мм при слабой интенсивности механических воздействий и не менее 30 мм при умеренной интенсивности ме- ханических воздействий. Расход - на 1 мм слоя. Ускоренный набор прочностных характеристик. Предел прочности при сжатии после 1 суток выдержки не менее 13 МПа, после 28 суток выдержки - не менее 35 МПа |
Полимерцементно- песчаное покрытие марки Ceresit CN 178 | 2,0 кг/м2 | Наносится слоем толщиной не менее 20 мм. Применяется при слабой интенсивности механических нагрузок. Расход - на 1 мм слоя. Предел прочности при сжатии после 28 суток выдержки не менее 25 МПа | |
2 | Водно-дисперсионная грунтовка Ceresit CT 17 | 0,1 - 0,2 кг/м2 | Наносится кистью или валиком на очищенную поверхность бетонного основания |
Водно-дисперсионная грунтовка Ceresit CN 94 | 40 г/м2 | Наносится кистью или валиком на очищенную поверхность бетонного основания. Разбавляется водой в соотношении 1:3 | |
3 | Сплошная или многопустотная плита перекрытия с неровной поверхностью |

Поз. | Наименование | Расход | Примечание |
1 | Полимерцементно- песчаное покрытие марки Ceresit CN 83 | 2,0 кг/м2 | Наносится слоем толщиной не менее 20 мм при слабой интенсивности механических воздействий и не менее 30 мм при умеренной интенсивности ме- ханических воздействий. Расход - на 1 мм слоя. Ускоренный набор прочностных характеристик. Предел прочности при сжатии после 1 суток выдержки не менее 13 МПа, после 28 суток выдержки - не менее 35 МПа |
Полимерцементно- песчаное покрытие марки Ceresit CN 178 | 2,0 кг/м2 | Наносится слоем толщиной не менее 20 мм. Применяется при слабой интенсивности механических нагрузок. Расход - на 1 мм слоя. Предел прочности при сжатии после 28 суток выдержки не менее 25 МПа | |
2 | Рулонная гидроизоляция | 1,02 м2/м2 | |
Обмазочная гидро- изоляция на основе жесткой гидроизоли- рующей массы Ceresit CR 65 | 3 - 5 кг/м2 | ||
Обмазочная гидро- изоляция на основе эластичной гидро- изолирующей массы Ceresit CR 166 | 3 - 5 кг/м2 | ||
3 | Сплошная или многопустотная плита перекрытия с ровной поверхностью |

Поз. | Наименование | Расход | Примечание |
1 | Полимерцементно- песчаное покрытие марки Ceresit CN 83 | Расход материала определяется толщиной стяжки, которая должна превышать на 15 - 20 мм диаметр трубы, но не должна превышать 35 мм | |
Полимерцементно- песчаное покрытие марки Ceresit CN 178 | Расход материала определяется толщиной стяжки, которая должна превышать на 15 - 20 мм диаметр трубы | ||
2 | Труба | ||
3 | Водно-дисперсионная грунтовка Ceresit CT 17 | 0,1 - 0,2 кг/м2 | Наносится кистью или валиком на очищенную поверхность бетонного основания |
Водно-дисперсионная грунтовка Ceresit CN 94 | 40 г/м2 | Наносится кистью или валиком на очищенную поверхность бетонного основания. Разбавляется водой в соотношении 1:3 | |
4 | Сплошная или многопустотная плита перекрытия |

Поз. | Наименование | Расход | Примечание |
1 | Полимерцементно- песчаное покрытие марки Ceresit CN 178 | 2,0 кг/м2 | Расход - на 1 мм слоя. Предел прочности при сжатии после 28 суток выдержки не менее 25 МПа |
2 | Полиэтиленовая пленка | 1,15 м2/м2 | |
3 | Тепло- и звукоизоляция из кварцевого или керамзитового песка | Толщина слоя и расход материалов назначаются в соответствии с расчетами по параметрам тепло- и звукоизоляции | |
4 | Сплошная или многопустотная плита перекрытия |

Поз. | Наименование | Расход | Примечание |
1 | Полимерцементно- песчаное покрытие марки Ceresit CN 178 | 2,0 кг/м2 | Расход - на 1 мм слоя. Предел прочности при сжатии после 28 суток выдержки не менее 25 МПа |
2 | Полиэтиленовая пленка | 1,15 м2/м2 | |
3 | Тепло- и звукоизоляция из плит или матов | Толщина слоя и расход материалов назначаются в соответствии с расчетами по параметрам тепло- и звукоизоляции | |
4 | Сплошная или многопустотная плита перекрытия |

Поз. | Наименование | Расход | Примечание |
1 | Лаковое покрытие | Конструкции лаковых покрытий, расход материалов и технология нанесения в соответствии с инструкцией фирмы-производителя | |
2 | Паркет штучный | ||
3 | Клеевая прослойка | 1,02 м2/м2 | Выбор клеев следует осуществлять с учетом рекомендаций раздела "Конструктивные схемы" |
4 | Грунтовка | Выбор грунтовок следует осуществ- лять с учетом рекомендаций раздела "Конструктивные схемы" | |
5 | Выравнивающая стяжка | Выбор стяжек следует осуществлять с учетом рекомендаций раздела "Конструктивные схемы" | |
6 | Грунтовка | Выбор грунтовок следует осуществ- лять с учетом рекомендаций раздела "Конструктивные схемы" | |
7 | Бетонное основание из бетона класса В22,5 | 0,08 м3/м2 | |
8 | Прокладка из гидроизоляционного рулонного материала | 1,02 м2/м2 | |
9 | Теплоизоляция из керамзита | По расчету | Толщина слоя и расход материалов назначаются в соответствии с рас- четами по параметру теплоизоляции |
10 | Грунт основания | ||
11 | Деревянный плинтус | ||
12 | Гвоздь | ||
13 | Пробка | ||
14 | Стена |

Поз. | Наименование | Расход | Примечание |
1 | Лаковое покрытие | Конструкции лаковых покрытий, расход материалов и технология нанесения в соответствии с инструкцией фирмы- производителя | |
2 | Паркет штучный | ||
3 | Клеевая прослойка | 1,02 м2/м2 | Выбор клеев следует осуществ- лять с учетом рекомендаций раздела "Конструктивные схемы" |
4 | Грунтовка | Выбор грунтовок следует осуществлять с учетом рекомендаций раздела "Конструктивные схемы" | |
5 | Сборная стяжка из древесно-стружечных плит | 1,02 м2/м2 | |
6 | Водно-дисперсионный клей | 40 - 50 г/п.м. | |
7 | Пароизоляция - пергамин | 1,15 м2/м2 | |
8 | Кварцевый песок | По факту | |
9 | Бетонное основание из бетона класса В22,5 | 0,08 м3/м2 | Расход - минимально необходимый для выравнивания поверхности нижележащего слоя |
10 | Прокладка из гидроизоляционного рулонного материала | 1,02 м2/м2 | |
11 | Теплоизоляция из керамзита | По расчету | Толщина слоя и расход материалов назначаются в соответствии с расчетами по параметру теплоизоляции |
12 | Грунт основания | ||
13 | Деревянный плинтус | ||
14 | Саморез или шуруп | ||
15 | Стена |

Поз. | Наименование | Расход | Примечание |
1 | Лаковое покрытие | Конструкции лаковых покрытий, расход материалов и технология нанесения в соответствии с инструкцией фирмы-производителя | |
2 | Паркет штучный | 1,02 м2/м2 | |
3 | Клеевая прослойка | Выбор клеев следует осуществлять с учетом рекомендаций раздела "Конструктивные схемы" | |
4 | Грунтовка | Выбор грунтовок следует осуществлять с учетом рекомендаций раздела "Конструктивные схемы" | |
5 | Сборная стяжка из фанеры | 2,04 м2/м2 | |
6 | Растворный клей Thomsit P 600 | 1200 - 1600 г/м2 | |
7 | Закрепление саморезами | Шаг между саморезами 300 мм, по кромке листов - 150 мм | |
8 | Лага регулируемая | Согласно инструкции | Монтаж лаг осуществляется в соответствии с инструкцией фирмы-производителя |
9 | Болт-стойка | Согласно инструкции | Установка болт-стоек осуществляется в соответствии с инструкцией фирмы- производителя |
10 | Пароизоляция - полиэтиленовая пленка | 1,15 м2/м2 | |
11 | Бетонное основание из бетона класса В22,5 | 0,08 м3/м2 | |
12 | Прокладка из гидроизоляционного рулонного материала | 1,02 м2/м2 | |
13 | Теплоизоляция из керамзита | По расчету | Толщина слоя и расход материалов назначаются в соответствии с расчетами по параметру теплоизоляции |
14 | Грунт основания | ||
15 | Полимерный плинтус | ||
16 | Растворный клей Thomsit K 172 | ||
17 | Стена |

Поз. | Наименование | Расход | Примечание |
1 | Линолеум поливинил- хлоридный и алкид- ный, плитки или ковры из синтети- ческих волокон, резиновые плитки | 1,02 м2/м2 | |
2 | Клеевая прослойка | Выбор клеев следует осуществлять с учетом рекомендаций раздела "Конструктивные схемы" | |
3 | Грунтовка | Выбор грунтовок следует осуществлять с учетом рекомендаций раздела "Конструктивные схемы" | |
4 | Сборная стяжка из готовых элементов из гипсоволокнистых листов | 1,02 м2/м2 | |
5 | Водно-дисперсионный клей | 40 - 50 г/п.м. | |
6 | Кварцевый песок | По факту | Расход - минимально необходимый для выравнивания поверхности нижележащего слоя |
7 | Кромочная лента | ||
8 | Пароизоляция - полиэтиленовая пленка | 1,15 м2/м2 | |
9 | Бетонное основание из бетона класса В22,5 | 0,08 м3/м2 | |
10 | Прокладка из гидроизоляционного рулонного материала | 1,02 м2/м2 | |
11 | Теплоизоляция из керамзита | По расчету | Толщина слоя и расход материалов назначаются в соответствии с расчетами по параметру теплоизоляции |
12 | Грунт основания | ||
13 | Полимерный плинтус | ||
14 | Растворный клей Thomsit K 172 | ||
15 | Стена |

Поз. | Наименование | Расход | Примечание |
1 | Линолеум поливинилхлоридный | 1,02 м2/м2 | |
2 | Клеевая прослойка | Выбор клеев следует осуществлять с учетом рекомендаций раздела "Конструктивные схемы" | |
3 | Грунтовка | Выбор грунтовок следует осуществлять с учетом рекомендаций раздела "Конструктивные схемы" | |
4 | Растворный клей Thomsit K 172 | ||
5 | Выравнивающая стяжка | Выбор стяжек следует осуществлять с учетом рекомендаций раздела "Конструктивные схемы" | |
6 | Грунтовка | Выбор грунтовок следует осуществлять с учетом рекомендаций раздела "Конструктивные схемы" | |
7 | Бетонное основание из бетона класса В22,5 | 0,08 м3/м2 | |
8 | Прокладка из гидроизоляционного рулонного материала | 1,02 м2/м2 | |
9 | Грунт основания | ||
10 | Стена |

Поз. | Наименование | Расход | Примечание |
1 | Линолеум натуральный | 1,02 м2/м2 | |
2 | Клеевая прослойка | Выбор клеев следует осуществлять с учетом рекомендаций раздела "Конструктивные схемы" | |
3 | Грунтовка | Выбор грунтовок следует осуществлять с учетом рекомендаций раздела "Конструктивные схемы" | |
4 | Вкладыш кривизны | ||
5 | Выравнивающая стяжка | Выбор стяжек следует осуществлять с учетом рекомендаций раздела "Конструктивные схемы" | |
6 | Грунтовка | Выбор грунтовок следует осуществлять с учетом рекомендаций раздела "Конструктивные схемы" | |
7 | Бетонное основание из бетона класса В22,5 | 0,08 м3/м2 | |
8 | Прокладка из гидроизоляционного рулонного материала | 1,02 м2/м2 | |
9 | Грунт основания | ||
10 | Стена |

Поз. | Наименование | Расход | Примечание |
1 | Линолеум натуральный | 1,02 м2/м2 | |
2 | Клеевая прослойка | Выбор затирок следует осуществ- лять с учетом рекомендаций раздела "Конструктивные схемы" | |
3 | Грунтовка | Выбор клеев следует осуществлять с учетом рекомендаций раздела "Конструктивные схемы" | |
4 | Вкладыш кривизны | Выбор грунтовок следует осуществ- лять с учетом рекомендаций раздела "Конструктивные схемы" | |
5 | Выравнивающая стяжка | Выбор стяжек следует осуществлять с учетом рекомендаций раздела "Конструктивные схемы" | |
6 | Грунтовка | Выбор грунтовок следует осуществ- лять с учетом рекомендаций раздела "Конструктивные схемы" | |
7 | Бетонное основание из бетона класса В22,5 | 0,08 м3/м2 или 0,10 м3/м2 | |
8 | Прокладка из гидроизоляционного рулонного материала | 1,02 м2/м2 | |
9 | Грунт основания | ||
10 | Разделка затирочной композицией | ||
11 | Стена |

Поз. | Наименование | Расход | Примечание |
1 | Керамические плит- ки, кислотоупорная плитка, керамогранитные плиты и плиты из природного камня | 1,02 м2/м2 | |
2 | Затирка | Выбор затирок следует осуществ- лять с учетом рекомендаций раздела "Конструктивные схемы" | |
3 | Клеевая прослойка | Выбор клеев следует осуществлять с учетом рекомендаций раздела "Конструктивные схемы" | |
4 | Эластичная эпоксидная гидроизоляция Ceresit CE 49 | 1,3 кг/м2 | Применяется под покрытия полов из керамической кислотоупорной плитки. Наносится щеткой, кистью или валиком не менее двух слоев. Толщина каждого слоя не менее 1 мм. Расход - на 1 мм |
Обмазочная гидро- изоляция на основе эластичной гидро- изолирующей массы Ceresit CR 166 | 3 - 5 кг/м2 | Применяется под покрытия полов из керамической плитки, керамогранитных плит и плит из природного камня. Наносится кистью или шпателем на очищенную поверхность бетонного основания за два-три прохода | |
5 | Эпоксидная грунтовка Ceresit CE 50 | 0,2 - 0,3 кг/м2 | Наносится кистью или валиком под эластичной эпоксидной гидроизоляцией Ceresit CE 49 на очищенную поверхность выравнивающей стяжки |
6 | Уплотнительная лента Ceresit CL 52 | Вклеивается в первый слой гидроизоляционного материала и перекрывается вторым слоем | |
7 | Выравнивающая стяжка | Выбор стяжек следует осуществ- лять с учетом рекомендаций раздела "Конструктивные схемы" | |
8 | Грунтовка | Выбор грунтовок следует осущест- влять с учетом рекомендаций раздела "Конструктивные схемы" | |
9 | Бетонное основание из бетона класса В22,5 | 0,08 или 0,10 м3/м2 | |
10 | Прокладка из гидроизоляционного рулонного материала | 1,02 м2/м2 | |
11 | Грунт основания | ||
12 | Разделка затирочной композицией | ||
13 | Стена |

Поз. | Наименование | Расход | Примечание |
1 | Линолеум | 1,02 м2/м2 | |
2 | Паркет штучный | 1,02 м2/м2 | |
3 | Клеевая прослойка | Выбор клеев следует осуществлять с учетом рекомендаций раздела "Конструктивные схемы" | |
4 | Грунтовка | Выбор грунтовок следует осуществлять с учетом рекомендаций раздела "Конструктивные схемы" | |
5 | Бетонное основание из бетона класса В22,5 | 0,08 м3/м2 | |
6 | Грунт основания | ||
7 | Полимерный плинтус | ||
8 | Растворный клей Thomsit K 172 | ||
9 | Перегородка | ||
10 | Уплотняющая лента | ||
11 | Разжимной дюбель |

Поз. | Наименование | Расход | Примечание |
1 | Керамические плитки, кислотоупорная плитка, керамогра- нитные плиты и плиты из природного камня | 1,02 м2/м2 | |
2 | Затирка | Выбор затирок следует осуществлять с учетом рекомендаций раздела "Конструктивные схемы" | |
3 | Клеевая прослойка | Выбор клеев следует осуществлять с учетом рекомендаций раздела "Конструктивные схемы" | |
4 | Грунтовка | Выбор грунтовок следует осуществлять с учетом рекомендаций раздела "Конструктивные схемы" | |
5 | Герметик "Silikon universal" | ||
6 | Заполнение деформа- ционного шва забутовочным шнуром из пенополиэтилена (типа Вилотерм) или пористой резины | ||
7 | Бетонное основание из бетона класса В22,5 | 0,08 или 0,10 м3/м2 | |
8 | Грунт основания |

Поз. | Наименование | Расход | Примечание |
1 | Керамические плитки, кислотоупорная плитка, керамогра- нитные плиты и плиты из природного камня | 1,02 м2/м2 | |
2 | Затирка | Выбор затирок следует осущест- влять с учетом рекомендаций раздела "Конструктивные схемы" | |
3 | Клеевая прослойка | Выбор клеев следует осущест- влять с учетом рекомендаций раздела "Конструктивные схемы" | |
4 | Эластичная эпоксидная гидроизоляция Ceresit CE 49 | 1,3 кг/м2 | Применяется под покрытия полов из керамической кислотоупорной плитки. Наносится щеткой, кистью или валиком не менее двух слоев. Толщина каждого слоя не менее 1 мм. Расход - на 1 мм |
Обмазочная гидро- изоляция на основе эластичной гидро- изолирующей массы Ceresit CR 166 | 3 - 5 кг/м2 | Применяется под покрытия полов из керамической плитки, керамогранитных плит и плит из природного камня. Наносится кистью или шпателем на очищенную поверхность бетонного основания за два-три прохода | |
5 | Эпоксидная грунтовка Ceresit CE 50 | 0,2 - 0,3 кг/м2 | Наносится кистью или валиком под эластичной эпоксидной гидроизоляцией Ceresit CE 49 на очищенную поверхность выравнивающей стяжки |
6 | Уплотнительная лента Ceresit CL 52 | Вклеивается в первый слой гидроизоляционного материала и перекрывается вторым слоем | |
7 | Герметик "Silikon universal" | ||
8 | Заполнение деформа- ционного шва забуто- вочным шнуром из пенополиэтилена (типа Вилотерм) или пористой резины | ||
9 | Бетонное основание из бетона класса В22,5 | 0,08 или 0,10 м3/м2 | |
10 | Грунт основания |

Поз. | Наименование | Расход | Примечание |
1 | Лаковое покрытие | Конструкции лаковых покрытий, расход материалов и технология нанесения в соответствии с инструкцией фирмы-производителя | |
2 | Паркет штучный | 1,02 м2/м2 | |
3 | Клеевая прослойка | Выбор клеев следует осуществлять с учетом рекомендаций раздела "Конструктивные схемы" | |
4 | Грунтовка | Выбор грунтовок следует осущест- влять с учетом рекомендаций раздела "Конструктивные схемы" | |
5 | Сборная стяжка из древесно-стружечных плит | 1,02 м2/м2 | |
6 | Водно-дисперсионный клей | 40 - 50 г/п.м. | |
7 | Пароизоляция - пергамин | 1,15 м2/м2 | |
8 | Кварцевый песок | По факту | Расход - минимально необходимый для выравнивания поверхности нижележащего слоя |
9 | Защитный элемент фирм Folotec и Schluter system | ||
10 | Бетонное основание из бетона класса В22,5 | 0,08 м3/м2 | |
11 | Заполнение дефор- мационного шва за- бутовочным шнуром из пенополиэтилена (типа Вилотерм) или пористой резины | ||
12 | Грунт основания |

Поз. | Наименование | Расход | Примечание |
1 | Линолеум | 1,02 м2/м2 | |
2 | Клеевая прослойка | Выбор клеев следует осуществлять с учетом рекомендаций раздела "Конструктивные схемы" | |
3 | Грунтовка | Выбор грунтовок следует осуществлять с учетом рекомендаций раздела "Конструктивные схемы" | |
4 | Сборная стяжка из древесно-стружечных плит | 1,02 м2/м2 | |
5 | Водно-дисперсионный клей | 40 - 50 г/п.м. | |
6 | Пароизоляция - пергамин | 1,15 м2/м2 | |
7 | Кварцевый песок | По факту | Расход - минимально необходимый для выравнивания поверхности нижележащего слоя |
8 | Герметик "Silikon universal" | Шаг между швами не более 10 м | |
9 | Бетонное основание из бетона класса В22,5 | 0,08 м3/м2 | |
10 | Грунт основания |

Поз. | Наименование | Расход | Примечание |
1 | Линолеум | 1,02 м2/м2 | |
2 | Клеевая прослойка | Выбор клеев следует осуществлять с учетом рекомендаций раздела "Конструктивные схемы" | |
3 | Грунтовка | Выбор грунтовок следует осуществ- лять с учетом рекомендаций раздела "Конструктивные схемы" | |
4 | Сборная стяжка из древесно-стружечных плит | 1,02 м2/м2 | |
5 | Водно-дисперсионный клей | 40 - 50 г/п.м. | |
6 | Пароизоляция - пергамин | 1,15 м2/м2 | |
7 | Кварцевый песок | По факту | Расход - минимально необходимый для выравнивания поверхности нижележащего слоя |
8 | Защитный элемент фирм Garpet- Assessory-Thims | Шаг между швами не более 10 м | |
9 | Бетонное основание из бетона класса В22,5 | 0,08 м3/м2 | |
10 | Грунт основания |

Поз. | Наименование | Расход | Примечание |
1 | Линолеум | 1,02 м2/м2 | |
2 | Клеевая прослойка | Выбор клеев следует осуществлять с учетом рекомендаций раздела "Конструктивные схемы" | |
3 | Грунтовка | Выбор грунтовок следует осуществ- лять с учетом рекомендаций раздела "Конструктивные схемы" | |
4 | Сборная стяжка из древесно-стружечных плит | 1,02 м2/м2 | |
5 | Водно-дисперсионный клей | 40 - 50 г/п.м. | |
6 | Пароизоляция - пергамин | 1,15 м2/м2 | |
7 | Кварцевый песок | По факту | Расход - минимально необходимый для выравнивания поверхности нижележащего слоя |
8 | Бетонное основание из бетона класса В22,5 | 0,08 м3/м2 | |
9 | Грунт основания | ||
10 | Полимерный плинтус | ||
11 | Растворный клей Thomsit K 172 | ||
12 | Перегородка | ||
13 | Металлическая пластина | ||
14 | Шуруп | Крепление перегородки к стяжке осуществляется только с одной стороны от шва |

Поз. | Наименование | Расход | Примечание |
1 | Лаковое покрытие | Конструкции лаковых покрытий, расход материалов и технология нанесения в соответствии с инструкцией фирмы-производителя | |
2 | Паркет штучный | 1,02 м2/м2 | |
3 | Массивная доска с нанесенным в заводских условиях лаковым покрытием | 1,02 м2/м2 | |
4 | Клеевая прослойка | Выбор клеев следует осуществлять с учетом рекомендаций раздела "Конструктивные схемы" | |
5 | Грунтовка | Выбор грунтовок следует осуществлять с учетом рекомендаций раздела "Конструктивные схемы" | |
6 | Защитный элемент фирм Garpet-Assessory- Trims | ||
7 | Бетонное основание из бетона класса В22,5 | 0,08 м3/м2 | |
8 | Грунт основания |

Поз. | Наименование | Расход | Примечание |
1 | Лаковое покрытие | Конструкции лаковых покрытий, расход материалов и технология нанесения в соответствии с инструкцией фирмы-производителя | |
2 | Паркет штучный | 1,02 м2/м2 | |
3 | Линолеум | 1,02 м2/м2 | |
4 | Клеевая прослойка | Выбор клеев следует осуществлять с учетом рекомендаций раздела "Конструктивные схемы" | |
5 | Грунтовка | Выбор грунтовок следует осущест- влять с учетом рекомендаций раздела "Конструктивные схемы" | |
6 | Сборная стяжка из древесно-стружечных плит | 1,02 м2/м2 | |
7 | Защитный элемент фирмы Schluter- System | ||
8 | Водно-дисперсионный клей | 40 - 50 г/п.м. | |
9 | Пароизоляция - пергамин | 1,15 м2/м2 | |
10 | Кварцевый песок | По факту | Расход - минимально необходимый для выравнивания поверхности нижележащего слоя |
11 | Бетонное основание из бетона класса В22,5 | 0,08 м3/м2 | |
12 | Грунт основания |

Поз. | Наименование | Расход | Примечание |
1 | Линолеум | 1,02 м2/м2 | |
2 | Клеевая прослойка | Выбор клеев следует осуществлять с учетом рекомендаций раздела "Конструктивные схемы" | |
3 | Грунтовка | Выбор грунтовок следует осуществлять с учетом рекомендаций раздела "Конструктивные схемы" | |
4 | Стяжка | 0,04 м3/м2 | Выбор стяжек следует осуществлять с учетом рекомендаций раздела "Конструктивные схемы" |
5 | Звукоизолирующая прокладка | ||
6 | Полиэтиленовая пленка | 1,15 м2/м2 | |
7 | Теплозвукоизоляция из кварцевого или керамзитового песка | По расчету | Толщина слоя и расход материала назначаются в соответствии с расчетами по параметрам тепло- и звукоизоляции |
8 | Плита перекрытия | ||
9 | Деревянный плинтус | ||
10 | Гвоздь | ||
11 | Пробка | ||
12 | Стена |

Поз. | Наименование | Расход | Примечание |
1 | Линолеум | 1,02 м2/м2 | |
2 | Клеевая прослойка | Выбор клеев следует осуществлять с учетом рекомендаций раздела "Конструктивные схемы" | |
3 | Грунтовка | Выбор грунтовок следует осуществлять с учетом рекомендаций раздела "Конструктивные схемы" | |
4 | Стяжка | 0,04 м3/м2 | Выбор стяжек следует осуществлять с учетом рекомендаций раздела "Конструктивные схемы" |
5 | Звукоизолирующая прокладка | ||
6 | Полиэтиленовая пленка | 1,15 м2/м2 | |
7 | Тепло- и звукоизоляция из плит или матов | По расчету | Толщина слоя и расход материала назначаются в соответствии с расчетами по параметрам тепло- и звукоизоляции |
8 | Плита перекрытия | ||
9 | Полимерный плинтус | ||
10 | Растворный клей Thomsit K 172 | ||
11 | Стена |
ИС МЕГАНОРМ: примечание. В официальном тексте документа, видимо, допущена опечатка: имеется в виду ГОСТ Р 51829-2001, а не ГОСТ Р 51928-2007. |
N п/п | Покрытие | Предельные значения интенсивности воздействия на пол | |||||||||||||||
Воды и раст- воров нейт- раль- ной реак- ции | Мине- раль- ных масел и эмуль- сий из них | Органических растворителей | Ве- ществ жи- вот- ного про- ис- хож- дения | Растворов кислот | Растворов щелочей | ||||||||||||
Фтористо- водород- ной, крем- нефторис- товодород- ной и т.п. | Окисляющих (азотная, хлорнова- тистая, хромовая и др.) | Неокисляю- щих неор- ганических (серная, соляная и др.) | Органичес- ких | Кон- цент- ра- ция, % | Ин- тен- сив- ность | ||||||||||||
Сырой нефти и нефте- продук- тов (мазут, дизель- ное топли- во, керо- син, бензин) | Не- аро- мати- чес- ких угле- водо- родов | Кето- нов | |||||||||||||||
Кон- цент- ра- ция, % | Ин- тен- сив- ность | Кон- цент- ра- ция, % | Ин- тен- сив- ность | Кон- цент- ра- ция, % | Ин- тен- сив- ность | Кон- цент- ра- ция, % | Ин- тен- сив- ность | ||||||||||
1 | Полимерцементно- песчаное покрытие марки Ceresit CN 178 толщиной 20 мм | Боль- шая | Боль- шая | Средняя | Боль- шая | Сред- няя | Боль- шая | Не допускается | 8 | Сред- няя | |||||||
2 | Плиты природного камня извержен- ных пород (гранита и т.д.) по прослойке из цементно-песча- ного раствора | " | " | " | " | " | " | То же | 8 | " | |||||||
3 | Плиты из керамогранита | В зависимости от типа прослойки и материала расшивки швов | |||||||||||||||
4 | Керамические плитки | ||||||||||||||||
5 | Керамические кислотоупорные плитки | ||||||||||||||||
6 | Кислотоупорный кирпич плашмя | ||||||||||||||||
7 | То же, на ребро | ||||||||||||||||
8 | Штучный и наборный паркет | Не допускается | |||||||||||||||
9 | Паркетные доски | ||||||||||||||||
10 | Линолеум (в том числе антистатический) | ||||||||||||||||
11 | Плитки поливи- нилхлоридные | ||||||||||||||||
12 | Плиты резиновые | Боль- шая | Малая | Малая | Сред- няя | Сред- няя | Боль- шая | Не допускается | 20 | Сред- няя | 8 | Сред- няя | |||||
13 | Рулонное на основе химичес- ких волокон | Не допускается | |||||||||||||||
14 | Ламинат | ||||||||||||||||
, определяют в следующей последовательности:
, то показатель теплоусвоения поверхности пола вычисляют по формуле
,
,
, но тепловая инерция (n + 1)-го слоев
, то показатель теплоусвоения поверхности пола
.
.
,


.
, но
, то показатель теплоусвоения поверхности пола определяем последовательно с учетом четырех слоев пола, начиная с третьего:
;
;
.
(см. требования раздела I), пол не удовлетворяет требованиям теплоусвоения. В связи с чем вносим изменения в конструкцию пола. Предусматриваем по плите перекрытия сборную стяжку из древесно-стружечных плит толщиной 22 мм.



.
, но
, то показатель теплоусвоения поверхности пола определяем последовательно с учетом четырех слоев пола, начиная с третьего:
;
;
.
, пол удовлетворяет требованиям теплоусвоения.
при m
при m
,
. При других отношениях толщин необходимо учитывать изменение звукоизоляции
;
;
.
.
,
,
, изменяем конструкцию перекрытия или увеличиваем толщину звукоизоляционного слоя и повторяем расчет.
,
,
.
;
.
.
и
.
.
.
(таблица 2), данная конструкция перекрытия с покрытием пола из линолеума удовлетворяет нормативным требованиям для квартир категории Б (комфортабельные условия).
толщиной 16 см, сборной стяжки из ДСП
толщиной 2,2 см, линолеума на теплозвукоизолирующей подоснове толщиной 0,36 см.
.
,
находим
;
.
(таблица 2), данная конструкция пола удовлетворяет нормативным требованиям для квартир категории В (предельно допустимые условия). Марка клея | Величина прочности соединения паркета с основаниями, МПа, через 72 ч после склеивания | ||||||||
Бетон клас- са В22,5 | Бетон класса В22,5, огрун- тованный грунтовкой марки Thomsit R 777 | Бетон класса В22,5, огрун- тованный грунтовкой марки Thomsit R 766 | Стяжка марки Thomsit DX | Стяжка марки Ceresit CN 178 | Дре- весно- стру- жечная плита | Древесно- стружечная плита, огрун- тованная грунтовкой марки Thomsit R 766 | Фане- ра | Фанера, огрунтованная грунтовкой марки Thomsit R 766 | |
Thomsit P 600 | 0,95 | 1,23 <*> | 1,36 <*> | 1,07 <*> | 0,79 <*> | 0,79 | 0,80 <**> | 1,27 | 1,39 <*> |
Thomsit P 618 | 0,82 | 0,96 <*> | 1,04 <*> | 0,87 <*> | 0,71 <*> | 0,80 | 0,80 <**> | 1,18 | 1,28 <*> |
Thomsit P 625 | 1,14 <*> | 1,48 <*> | 1,63 <*> | 1,22 <*> | 0,98 <*> | 0,80 <**> | 0,81 <**> | 1,39 <*> | 1,54 <***> |
<***> Разрыв смешанный (частично по адгезионному слою клей - основание, частично по фанере). | |||||||||
Прочность торцевого шва при соединении при помощи замка, Н/см | Прочность торцевого шва, склеенного водно-дисперсионным клеем марки Thomsit P 640, Н/см |
71,98 | 137,24 |
Тип основания | Величина прочности соединения линолеума с основаниями, МПа, через 72 ч после склеивания | ||
Поливинилхлоридный линолеум | Натуральный линолеум | ||
Марка клея | |||
Thomsit K 172 | Thomsit R 710 | Thomsit L 240D | |
Бетон класса В22,5 | 0,35 <1> | 0,96 <1> | 0,48 <4> |
Бетон класса В22,5, огрунтованный грунтовкой марки Thomsit R 777 | 0,37 <1> | 0,97 <1> | 0,47 <4> |
Бетон класса В22,5, огрунтованный грунтовкой марки Thomsit R 766 | 0,36 <1> | 0,95 <1> | 0,46 <4> |
Стяжка марки Thomsit DX | 0,35 <1> | 0,96 <1> | 0,49 <4> |
Стяжка марки Ceresit CN 178 | 0,35 <1> | 0,96 <1> | 0,50 <4> |
Бетон класса В22,5 | 0,35 <1> | 0,96 <1> | 0,48 <4> |
Гипсоволокнистый лист | 0,37 <1> | 0,39 <2> | 0,41 <2> |
Гипсоволокнистый лист, огрунтованный грунтовкой марки Thomsit R 766 | 0,36 <1> | 0,40 <2> | 0,40 <2> |
Древесно-стружечная плита | 0,35 <1> | 0,78 <3> | 0,46 <4> |
Древесно-стружечная плита, огрунтованная грунтовкой марки Thomsit R 766 | 0,34 <1> | 0,80 <3> | 0,45 <4> |
Фанера | 0,35 <1> | 0,99 <1> | 0,49 <4> |
Фанера, огрунтованная грун- товкой марки Thomsit R 766 | 0,35 <1> | 0,97 <1> | 0,46 <4> |
Параметр | Ед. изм. | Величина параметра |
Прочность сцепления | МПа | 3,21 <*> |
<*> Разрыв когезионный (по бетону). | ||