Главная // Актуальные документы // ИнструкцияСПРАВКА
Источник публикации
М.: Госстрой России, ГУП ЦПП, 1999
Примечание к документу
Введен в действие с 1 января 1977 года.
Название документа
"СН 481-75. Строительные нормы. Инструкция по проектированию, монтажу и эксплуатации стеклопакетов"
(утв. Постановлением Госстроя СССР от 31.12.1975 N 250)
"СН 481-75. Строительные нормы. Инструкция по проектированию, монтажу и эксплуатации стеклопакетов"
(утв. Постановлением Госстроя СССР от 31.12.1975 N 250)
Постановлением Госстроя СССР
от 31 декабря 1975 г. N 250
СТРОИТЕЛЬНЫЕ НОРМЫ
ИНСТРУКЦИЯ
ПО ПРОЕКТИРОВАНИЮ, МОНТАЖУ И ЭКСПЛУАТАЦИИ СТЕКЛОПАКЕТОВ
СН 481-75
Срок введения в действие
1 января 1977 года
Инструкция по проектированию, монтажу и эксплуатации стеклопакетов (СН 481-75) разработана ЦНИИПромзданий при участии НИИСФ, НИИЭС Госстроя СССР, ЦНИИЭП учебных зданий, ЦНИИЭП жилища Госгражданстроя и ГИС Минстройматериалов СССР.
Редакторы: инж. Г.Н. Демьянков (Госстрой СССР), кандидаты техн. наук Ю.П. Александров и А.А. Романов, инж. В.П. Тарасов (ЦНИИПромзданий).
Внесена ЦНИИПромзданий Госстроя СССР.
1.1. Требования настоящей Инструкции должны выполняться при проектировании, монтаже и эксплуатации клееных стеклопакетов.
1.2. Стеклопакеты следует предусматривать для остекления окон, витрин и зенитных фонарей общественных, производственных и вспомогательных зданий с сухим и нормальным влажностным режимом помещений.
1.3. Стеклопакеты не допускается предусматривать для остекления световых проемов:
неотапливаемых помещений;
зданий, подверженных вибрационным воздействиям;
зданий с мостовыми кранами тяжелого и весьма тяжелого режима работы;
помещений с взрывоопасным или взрывопожароопасным производством;
зенитных фонарей производственных помещений, в которых содержание пыли и копоти в воздухе превышает 10 мг/м3, и на участках покрытий, где имеются снеговые мешки;
зданий, расположенных в районах с минимальным среднемесячным атмосферным давлением 700 мм рт. ст. и менее.
2.1. Клееные стеклопакеты предусматриваются двух- или трехслойными (с двумя или тремя стеклами) с герметичными воздушными прослойками между стеклами (
Приложение 1).
2.2. В стеклопакетах применяются следующие виды листового силикатного строительного стекла: оконное, витринное неполированное, витринное полированное, теплоотражающее, теплопоглощающее и закаленное.
Теплоотражающие и теплопоглощающие стекла должны устанавливаться в наружном слое стеклопакета.
Армированное стекло в стеклопакетах применять не допускается.
2.3. Стеклопакеты должны быть прямоугольной формы с соотношением сторон не более 5:1.
2.4. Толщина стекол в стеклопакетах определяется расчетом на прочность и должна быть не менее: 3 мм - для окон и 5 мм - для зенитных фонарей. Наружные и внутренние стекла принимаются равной толщины, в трехслойных стеклопакетах средние стекла допускается принимать меньшей толщины, чем наружные.
2.5. Толщина воздушной прослойки должна предусматриваться: 12, 15 или 18 мм - в двухслойных; 9 или 12 мм - в трехслойных стеклопакетах.
2.6. Длина и ширина стеклопакетов не должны превышать размеров, установленных соответствующими ГОСТами на стекло. Максимальные площади стеклопакетов для окон и витрин приведены в табл. 1.
Таблица 1
Стеклопакеты | Толщина воздушной прослойки, мм | Максимальная площадь стеклопакета, м 2, при толщине стекол  , мм |
3 | 4 | 5 | 6 | 7 | > 7 |
Двухслойные | 12 | 1,5 | 3,2 | 4,5 | 6 | 7 | 9 |
15 | 1,5 | 3,6 | 4,5 | 6,5 | 8 | 9 |
18 | 1,5 | 3,6 | 5 | 7 | 9 | 9 |
Трехслойные | 9 | 1,3 | 2,5 | 3,5 | 4,5 | 6 | - |
12 | 1,5 | 3,2 | 4,5 | 6 | 6 | - |
Максимальная площадь стеклопакетов для зенитных фонарей - 2 м2.
Ориентировочный вес стеклопакетов приведен в табл. 2.
Таблица 2
Стеклопакеты | Вес стеклопакета, кгс/м 2, при толщине стекол  , мм |
3 | 4 | 5 | 6 | 7 |
Двухслойные | 15,5 | 21 | 25,5 | 30 | 35 |
Трехслойные | 23,5 | 31 | 37,5 | 45 | 52,5 |
2.7. Данные о материалах прокладок, мастик и герметиков, применяемых при установке стеклопакетов в переплеты, приведены в Приложении 2.
3. ПРОЕКТИРОВАНИЕ СТЕКЛОПАКЕТОВ
3.1. Площадь и размеры световых проемов окон и зенитных фонарей со стеклопакетами следует определять в соответствии со СНиП по проектированию естественного освещения.
Общий коэффициент светопропускания окон и зенитных фонарей со стеклопакетами определяется по формуле

, (1)
где

- коэффициент светопропускания стекла;

- коэффициент, учитывающий потери света в переплетах, равный: 0,75 и 0,85 - соответственно в деревянных и металлических переплетах окон, 0,75 - в металлических переплетах зенитных фонарей;

- коэффициент, учитывающий потери света в слое загрязнения остекления;

- коэффициент, учитывающий потери света в несущих конструкциях;

- коэффициент, учитывающий потери света в солнцезащитных устройствах;

,

,

и

- определяются в соответствии со СНиП по проектированию естественного освещения;

- коэффициент, учитывающий потери света в защитной сетке зенитных фонарей, принимаемый равным 0,9.
3.2. Теплотехнические расчеты заполнений световых проемов со стеклопакетами следует выполнять в соответствии со СНиП по строительной теплотехнике.
Сопротивление теплопередаче стеклопакетов следует принимать по табл. 3.
Таблица 3
Стеклопакеты | Сопротивление теплопередаче стеклопакета R0 м2·ч·°С/ккал |
при вертикальном положении | при наклоне менее 30° к горизонту |
Двухслойный | 0,37 | 0,34 |
Трехслойный | 0,54 | 0,5 |
3.3. Двухслойные стеклопакеты допускается предусматривать для остекления окон зданий при расчетной температуре наружного воздуха (средняя наиболее холодной пятидневки) не ниже минус 40 °С, а трехслойные - не ниже минус 50 °С.
3.4. Остекление зенитных фонарей стеклопакетами следует проектировать исходя из условий отсутствия конденсата на поверхности стеклопакетов со стороны помещения. При этом коэффициент теплоотдачи внутренней поверхности остекления следует принимать равным 8,5 ккал/м2·ч·°С.
3.5. При проектировании остекления окон и зенитных фонарей не допускается предусматривать неравномерный обогрев стеклопакетов приборами системы отопления.
3.6. Показатель звукоизолирующей способности двухслойных стеклопакетов принимается равным 29 дБ, а трехслойных - 31 дБ.
3.7. Расчет стеклопакетов на прочность следует производить по расчетным нагрузкам, действующим на наружное стекло в зимних условиях эксплуатации.
Расчетная нагрузка на стекло

, кгс/м
2, определяется по формуле

, (2)
где

- расчетная нагрузка от собственного веса стекла (для зенитных фонарей);
q - расчетная ветровая нагрузка;
р - расчетная снеговая нагрузка (для зенитных фонарей);
q и р - определяются в соответствии со СНиП по нагрузкам и воздействиям;

- расчетная нагрузка от изменения температуры воздуха, определяемая согласно указаниям
п. 3.9 настоящей Инструкции;

- расчетная нагрузка от изменения атмосферного давления, определяемая согласно указаниям
п. 3.10 настоящей Инструкции;
n - коэффициент, принимаемый равным 0,55 - для двухслойных стеклопакетов, 0,36 - для трехслойных стеклопакетов со стеклами равной толщины.
При расчете стеклопакетов, имеющих площадь более 5 м
2, нагрузки

и

могут не учитываться.
3.8. При расчете стеклопакетов на прочность следует предварительно задавать толщину наружных стекол

исходя из требований табл. 1 настоящей Инструкции.
3.9 Расчетная нагрузка

, кгс/м
2, от изменения температуры воздуха определяется по формуле

, (3)
где

- нагрузка, определяемая по номограмме, приведенной на рис. 1, в зависимости от принятых значений толщины стекла

, отношения большей стороны стеклопакета к меньшей:

, площади стеклопакета F и средней температуры воздушной прослойки

;

- сумма толщин воздушных прослоек в стеклопакете, мм.
Рис. 1. Номограмма для определения

Средняя температура воздушной прослойки, соприкасающейся с наружным стеклом, определяется по формуле

, (4)
где

- расчетная температура воздуха внутри помещения, принимаемая по нормам проектирования зданий соответствующего назначения;

- расчетная зимняя температура наружного воздуха (средняя наиболее холодных суток), принимаемая в соответствии со СНиП по строительной климатологии и геофизике;

- коэффициент, принимаемый равным 0,39 - для двухслойных и 0,26 - для трехслойных стеклопакетов.
3.10. Расчетная нагрузка

, кгс/см
2, от изменения атмосферного давления определяется по формуле

, (5)
где

- нагрузка, определяемая по номограмме, приведенной на рис. 2, в зависимости от принятых значений толщины стекла

, отношения большей стороны стеклопакета к меньшей:

, площади стеклопакета F и разности атмосферного давления

.
Рис. 2. Номограмма для определения

Разность атмосферного давления определяется по формуле

, (6)
где

и

- соответственно минимальное среднемесячное атмосферное давление в месте расположения завода-изготовителя стеклопакетов и максимальное среднемесячное атмосферное давление в месте расположения проектируемого объекта, определяемые по данным метеослужбы.
Значения атмосферного давления

и

для некоторых городов СССР приведены в
Приложении 3.
3.11. Расчет прочности наружного стекла стеклопакета на изгиб производится по формуле

, (7)
где f - прогиб в центре стекла от расчетной нагрузи

, см;

- расчетное сопротивление на изгиб, кгс/см
2, принимаемое равным 150 - для оконного и витринного, 250 - для закаленного стекла.
Отношение

определяется по графику, приведенному на рис. 3, в зависимости от величины k, вычисляемой по формуле

, (8)
где E - модуль упругости стекла, равный 6,5 х

кгс/см
2.
Рис. 3. График для определения отношения

и прогиба f
наружного стекла стеклопакета
Пример расчета стеклопакета на прочность приведен в Приложении 4.
3.12. Между стеклопакетами и переплетами окон должны предусматриваться зазоры, для чего устанавливаются опорные и фиксирующие торцовые и боковые прокладки (Приложение 5,
рис. 5 и
6,а). Схемы расположения прокладок в переплетах приведены в Приложении 5,
табл. 5.
Длина опорных прокладок принимается при нагрузке от стеклопакета, приходящейся на одну прокладку:
менее 15 кгс .............. 50 мм
сверх 15 до 50 кгс ........ 100 мм
сверх 50 кгс .............. 150 мм
Зазоры между стеклопакетами и переплетом заполняются нетвердеющей мастикой.
Крепление стеклопакетов в переплетах окон и витрин допускается предусматривать также эластичными профилями, устанавливаемыми по контуру (Приложение 5,
рис. 6, б, в).
Штапики и эластичные профили должны закрывать распорную рамку стеклопакета.
3.13. Стеклопакеты, устанавливаемые в окнах и витринах, следует располагать на высоте не менее 0,2 м над уровнем пола и тротуара.
3.14. Переплеты зенитных фонарей со стеклопакетами следует, как правило, проектировать открывающимися, предусматривая возможность очистки внутренней поверхности остекления с кровли.
3.15. Стеклопакеты в зенитных фонарях должны равномерно опираться по контуру на несущие элементы фонаря через эластичные прокладки, иметь уклон не менее 5° и возвышаться над кровлей не менее чем на 250 мм.
Между торцами стеклопакетов и переплетами должны быть предусмотрены зазоры шириной 5 мм, заполняемые нетвердеющей мастикой или эластичными профилями.
С наружной стороны зазоры между стеклопакетами и переплетами должны быть герметизированы.
3.16. В зенитных фонарях со стеклопакетами следует предусматривать устройство под остеклением защитных металлических сеток с ячейками 50 х 50 мм, окрашенных в белый цвет.
4. МОНТАЖ И ЭКСПЛУАТАЦИЯ СТЕКЛОПАКЕТОВ
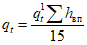
4.1. Хранить стеклопакеты перед монтажом следует в положении "на ребро" в ящиках или стеллажах в отапливаемых помещениях. Между ящиками необходимо оставлять зазоры шириной 20 мм для проветривания.
Основания стеллажей должны оклеиваться войлоком или резиной и иметь наклон 5 - 6° (Приложение 6,
рис. 7). Стеклопакеты в стеллажах устанавливаются перпендикулярно к плоскости основания.
Между стеклопакетами в местах расположения распорных рамок следует устанавливать прокладки из войлока, картона или резины. На стеллаже следует хранить стеклопакеты одинаковых размеров.
4.2. Стеклопакеты со склада к месту монтажа следует доставлять в ящиках или специальных кассетах.
4.3. Перед установкой в конструкции необходимо произвести тщательный визуальный осмотр каждого стеклопакета. Не допускается применять стеклопакеты, имеющие трещины или сколы в торцах стекол, отслоения в клеевых швах, повреждения обрамляющих рамок.
4.4. Монтаж стеклопакетов следует производить с помощью ручных вакуум-присосок или траверс, снабженных вакуум-присосками. Надежность соединения вакуум-присосок с поверхностью стекла каждый раз должна проверяться пробным подъемом стеклопакета на высоту 5 - 10 см.
Стеклопакеты необходимо переносить в вертикальном положении, углы и торцы стекол следует оберегать от ударов. Запрещается опирать стеклопакеты на углы и ставить на жесткое основание.
4.5. Монтаж стеклопакетов допускается при температуре наружного воздуха не ниже минус 15 °С.
Температура внутреннего воздуха помещений, остекленных стеклопакетами, в зимний период строительства должна быть не ниже +5 °С.
4.6. При установке стеклопакетов в переплеты и их креплении не допускаются перекосы и чрезмерное обжатие стеклопакетов штапиками или накладками.
4.7. Работы по уплотнению и герметизации стыков между стеклопакетами и переплетами следует производить непосредственно после их установки и крепления. Для нанесения нетвердеющих мастик следует использовать герметизаторы, а тиоколовых герметиков - пневматические или ручные шприцы.
Герметизируемые поверхности должны быть предварительно очищены, просушены и обезжирены негорючими веществами.
Работы по уплотнению и герметизации стыков следует производить при температуре наружного воздуха не ниже минус 15 °С в условиях, исключающих увлажнение конструкций.
4.8. При проведении электросварочных работ стеклопакеты следует защищать от попадания на них раскаленных частиц металла.
4.9. Оконные переплеты, как правило, следует заполнять стекло-пакетами в заводских условиях, а их монтаж производить непосредственно с транспортных средств.
4.10. Работы по остеклению оконных переплетов и витрин стеклопакетами (Приложение 7,
рис. 8) с использованием прокладок и нетвердеющих мастик выполняются в следующей последовательности:
подготовка стеклопакетов и комплектующих материалов (прокладок, штапиков, мастик и т.п.);
наклейка боковых и торцовых прокладок на фальцы переплета (
рис. 8, а);
нанесение на поверхность фальцев слоя нетвердеющей мастики (
рис. 8, б);
установка стеклопакета в переплет и плотное его прижатие к боковым прокладкам (
рис. 8, в);
установка в зазоры между торцами стеклопакета и переплета фиксирующих торцовых прокладок, наклейка на края стеклопакета или на штапики боковых прокладок, заполнение нетвердеющей мастикой зазоров между торцами стеклопакетов и переплетом (
рис. 8, г);
закрепление штапиков (
рис. 8, д);
заполнение нетвердеющей мастикой или герметиками зазоров между переплетом и стеклопакетом и выравнивание поверхности швов (
рис. 8, е).
4.11. Стеклопакеты должны устанавливаться в конструкции зенитных фонарей после окончания работ по устройству кровли и установки защитных сеток.
4.12. Работы по остеклению зенитных фонарей стеклопакетами выполняются в следующей последовательности:
подготовка стеклопакетов и комплектующих материалов (прокладок, мастик, накладок и т.п.);
проверка прямолинейности плоскости переплетов, подготовка и наклейка на них эластичных прокладок;
укладка стеклопакетов и проверка равномерности их опирания на переплет;
установка фиксирующих или профильных уплотнительных прокладок и заполнение стыков нетвердеющей мастикой;
установка накладок и герметизация зазоров между ними и стеклопакетами.
4.13. При производстве работ по монтажу стеклопакетов, а также при выполнении отделочных работ необходимо соблюдать меры по защите стеклопакетов от механических повреждений и загрязнений.
| | ИС МЕГАНОРМ: примечание. Взамен "Правил пожарной безопасности при производстве строительно-монтажных работ", утв. в 1968 г., введены в действие новые Правила, утв. МВД СССР 04.11.1977. | |
4.14. При монтаже стеклопакетов необходимо соблюдать правила техники безопасности, предусмотренные СНиП по технике безопасности в строительстве, а также "Правилами пожарной безопасности при производстве строительно-монтажных работ".
4.15. При монтаже стеклопакетов должны применяться инвентарные леса, подмости или подвесные люльки. Монтаж стеклопакетов с приставных лестниц не допускается.
4.16. Монтаж стеклопакетов одновременно на нескольких ярусах (один над другим) не допускается.
4.17. За состоянием стеклопакетов в процессе эксплуатации необходимо осуществлять математический контроль. Осмотр рекомендуется производить не реже двух раз в год и по результатам его составлять ведомости выявленных дефектов и разрабатывать мероприятия по их устранению.
4.18. Поврежденные стеклопакеты, имеющие трещины и пробоины, должны заменяться новыми.
4.19. Снег с поверхности стеклопакетов, установленных в зенитных фонарях, следует удалять деревянными скребками.
4.20. Стеклопакеты должны систематически очищаться от загрязнений. Периодичность очистки определяется требованиями СНиП по проектированию естественного освещения.
Рис. 4. Конструктивные решения стеклопакетов
а - общий вид; б и в - поперечные разрезы двух-
и трехслойного стеклопакетов; г и д - схемы соединения
стекол в двухслойных стеклопакетах; е и ж - схемы соединения
стекол в трехслойных стеклопакетах; 1 - стекло;
2 - воздушная прослойка; 3 - распорная рамка;
4 - клеящая и герметизирующая мастика; 5 - обрамляющая рамка
ПРОКЛАДКИ, МАСТИКИ И ГЕРМЕТИКИ, ПРИМЕНЯЕМЫЕ ПРИ УСТАНОВКЕ
СТЕКЛОПАКЕТОВ В ПЕРЕПЛЕТЫ
Опорные и фиксирующие прокладки следует предусматривать из морозостойкой резины (ТУ 38.105.376-72). Для фиксирующих торцовых и боковых прокладок предусматривают резину мягкую и средней твердости, для опорных - резину повышенной твердости. Опорные прокладки могут быть также предусмотрены из полимера "агат" (ТУ 6-05-964-72).
Для заполнения и уплотнения зазоров между стеклопакетами и переплетами следует применять нетвердеющую мастику, обладающую хорошей адгезией к стеклу и стойкостью к атмосферным воздействиям. Мастика не должна содержать минеральных и растительных масел и не должна иметь компонентов, оказывающих разрушающее воздействие на клеевые соединения стеклопакетов.
Эластичные профили для уплотнения и крепления стеклопакетов в переплетах окон могут изготавливаться из светоозоностойкой резины (ТУ 38.005.204-71), резины групп В и М (ТУ 38.105-376-72), губчатой резины (ТУ 38.005.204-71) или герметика профильного нетвердеющего "Бутэпрол-2" (ТУ 21-29-26-74).
Для уплотнения и крепления стеклопакетов в переплетах зенитных фонарей применяют губчатую резину (ТУ 38.005.204-71) толщиной 5 - 7 мм, а также герметик профильный нетвердеющий "Бутэпрол-2" (ТУ 21-29-26-74).
| | ИС МЕГАНОРМ: примечание. Взамен ГОСТ 13489-68 Постановлением Госстандарта СССР от 11.09.1979 N 3453 с 1 июля 1980 года введен в действие ГОСТ 13489-79. | |
В окнах и зенитных фонарях для герметизации стыков между стеклопакетами и переплетами следует предусматривать тиоколовые герметики марок УТ-32 (ТУ 38.105.462-72), ГС-1 (ТУ 310-64 Главмоспромстройматериалы), ТМ-0,5 (ТУ 38-3Г N 355-69) и У-30м (ГОСТ 13489-68), а также силиконовые герметики типа "Эластосил" (ТУ 6-02-655-71).
| | ИС МЕГАНОРМ: примечание. Взамен ГОСТ 3134-52 Постановлением Госстандарта СССР от 29.03.1978 N 856 с 1 января 1979 года введен в действие ГОСТ 3134-78. | |
Для наклейки резиновых прокладок и профилей применяют клей 88-НП (ТУ 38-105268-71), а прокладок "Бутэпрол-2" - уайт-спирит (ГОСТ 3134-52).
ЗНАЧЕНИЯ АТМОСФЕРНОГО ДАВЛЕНИЯ
Таблица 4
Город | Среднемесячное атмосферное давление, мм рт. ст. |
минимальное (в месте расположения завода-изготовителя), р0 | максимальное (в месте расположения проектируемого объекта), р1 |
Артемовск (Константиновка) | 745 | 762 |
Архангельск | - | 772 |
Астрахань | - | 777 |
Ашхабад | - | 752 |
Баку | - | 771 |
Вильнюс | - | 758 |
Владивосток | - | 753 |
Волгоград | - | 764 |
Воронеж | - | 761 |
Горький (Бор) | 739 | 763 |
Днепропетровск | - | 760 |
Донецк | - | 751 |
Жданов | - | 767 |
Иркутск | - | 735 |
Калининград | - | 763 |
Караганда | - | 724 |
Казань | - | 768 |
Киев | - | 757 |
Киров | - | 762 |
Кишинев | - | 763 |
Краснодар | - | 770 |
Красноярск | - | 749 |
Куйбышев | - | 766 |
Ленинград | 749 | 775 |
Львов | - | 744 |
Москва | - | 761 |
Минск | - | 764 |
Мурманск | - | 762 |
Новосибирск | - | 767 |
Норильск | - | 770 |
Одесса | - | 771 |
Омск | - | 770 |
Паланга | - | 771 |
Петрозаводск | - | 764 |
Рига | 745 | 771 |
Ростов | - | 768 |
Салават | 737 | 758 |
Саратов | 745 | 771 |
Свердловск | - | 755 |
Сочи | - | 767 |
Таллин | - | 770 |
Ташкент | - | 729 |
Тбилиси | - | 733 |
Тольятти | - | 763 |
Хабаровск | - | 760 |
Харьков | - | 761 |
Челябинск | - | 758 |
Ялта | - | 766 |
ПРИМЕР РАСЧЕТА СТЕКЛОПАКЕТА НА ПРОЧНОСТЬ
Требуется определить толщину стекол клееного двухслойного стеклопакета при следующих данных:
а) размеры стеклопакета

б) изготовитель - завод "Техстекло", Саратов;
в) район строительства - Москва;
г) назначение стеклопакета - заполнение оконных переплетов здания на высоте до 60 м;
д) расчетная температура воздуха в помещениях проектируемого здания

= +18 °С.
В соответствии с
п. 2.6 при площади стеклопакета F = 1,8 м
2 для расчетов принимается толщина стекла

= 4 мм.
Для г. Москвы расчетная ветровая нагрузка на вертикальные поверхности, расположенные на высоте 60 м над поверхностью земли, определяется по
СНиП II-6-74 "Нагрузки и воздействия".

= 27 х 1,45 х 1 х 1,2 = 47 кгс/м
2.
Определяем расчетную нагрузку от изменения температуры

. Расчетная зимняя температура наиболее холодных суток для г. Москвы

= -32 °С.
Средняя температура воздушной прослойки вычисляется по формуле
(4). Подставляя числовые значения, получим

= 0,39 х 18 - (1 - 0,39) х 32 = -12,5 °С.
При

= 4 мм; F = l,8 м
2;

= l,8 и

= -l2,5 по номограмме (см.
рис. 1) определяется значение

= 5 кгс/м
2. По формуле
(3) определяются числовые значения

= 5 кгс/м
2.
Определяем нагрузку от изменения атмосферного давления

. Минимальное среднемесячное атмосферное давление для г. Саратова

= 745 мм рт. ст., а максимальное среднемесячное атмосферное давление для г. Москвы

= 761 мм рт. ст. (
Приложение 3).
Разность атмосферного давления определяется из формулы
(6)

= 761 - 745 = 16 мм рт. ст.
При

= 16 мм рт. ст.;

= 4 мм; F = l,8 м
2 и

= 1,8 по номограмме (см.
рис. 2) определяется значение

0,95 кгс/м
2 (

= 0,95 кгс/м
2).
Расчетная нагрузка на стекло определяется по формуле
(2)

= (47 + 0) х 0,55 + 5 + 0,95 = 31,8 кгс/м
2.
По графику, приведенному на
рис. 3, определяется отношение

, для чего по формуле
(8) вычисляем коэффициент k.

.
При k = 11,2 х

= 1,3.
Прочность стекла проверяется по формуле
(7)

= 150 кгс/см
2.
Таким образом, толщина стекол в стеклопакете принимается

= 4 мм.
УСТАНОВКА СТЕКЛОПАКЕТОВ В ПЕРЕПЛЕТАХ
Рис. 5. Размещение прокладок при установке стеклопакета
в переплет
1 - стеклопакет; 2 - переплет или створка;
3 - опорная прокладка; 4 - фиксирующая торцовая прокладка;
5 - фиксирующая боковая прокладка; 6 - нетвердеющая мастика;
7 - внутреннее стекло стеклопакета
Таблица 5
Схема расположения прокладок
Закрепление створки | Опорных (О) и фиксирующих (Ф) торцовых | Фиксирующих боковых |
Глухое | | |
На средней горизонтальной оси | | |
На средней вертикальной оси | | |
Боковая подвеска | | |
Верхняя подвеска | | |
Нижняя подвеска | | |
Рис. 6. Примеры крепления и герметизации стеклопакета
в переплетах
1 - стеклопакет; 2 - переплет; 3 - опорная прокладка;
4 - фиксирующая боковая прокладка; 5 - эластичный профиль
из губчатой резины; 6 - герметик; 7 - дренажное отверстие;
8 - штапик; 9 и 10 - эластичный профиль из резины
ХРАНЕНИЕ СТЕКЛОПАКЕТОВ
Рис. 7. Стеллаж для стеклопакетов
1 - стеллаж; 2 - подкладка из войлока или резины;
3 - стеклопакеты; 4 - прокладки из войлока,
картона или резины
МОНТАЖ СТЕКЛОПАКЕТОВ
Рис. 8. Установка, крепление и уплотнение стеклопакета
в переплете
1 - переплет; 2 - фиксирующая боковая прокладка; 3 - опорная
прокладка; 4 - герметизатор; 5 - нетвердеющая мастика;
6 - стеклопакет; 7 - штапик