Главная // Актуальные документы // ГОСТ (Государственный стандарт)
СПРАВКА
Источник публикации
М.: Стандартинформ, 2014
Примечание к документу
Документ утратил силу с 01.07.2021 в связи с изданием Приказа Росстандарта от 12.11.2020 N 1061-ст. Взамен введен в действие ГОСТ IEC 62841-2-6-2020.

Документ включен в Перечень международных и региональных (межгосударственных) стандартов, а в случае их отсутствия - национальных (государственных) стандартов, в результате применения которых на добровольной основе обеспечивается соблюдение требований технического регламента Таможенного союза "О безопасности машин и оборудования" (ТР ТС 010/2011) и отдельные положения данного документа включены в Перечень международных и региональных (межгосударственных) стандартов, а в случае их отсутствия - национальных (государственных) стандартов, содержащих правила и методы исследований (испытаний) и измерений, в том числе правила отбора образцов, необходимые для применения и исполнения требований технического регламента Таможенного союза "О безопасности машин и оборудования" (ТР ТС 010/2011) и осуществления оценки соответствия объектов технического регулирования (Решение Коллегии Евразийской экономической комиссии от 09.03.2021 N 28).

Отдельные положения данного документа включены в Перечень (пункты 464, 985) стандартов, в результате применения которых на добровольной основе обеспечивается соблюдение требований технического регламента Таможенного союза "О безопасности машин и оборудования" (ТР ТС 010/2011) и в Перечень стандартов, содержащих правила и методы исследований (испытаний) и измерений, в том числе правила отбора образцов, необходимые для применения и исполнения требований технического регламента Таможенного союза "О безопасности машин и оборудования" (ТР ТС 010/2011) и осуществления оценки (подтверждения) соответствия продукции (Решение Комиссии Таможенного союза от 18.10.2011 N 823).

Документ введен в действие с 01.01.2015.

Название документа
"ГОСТ IEC 60745-2-6-2014. Межгосударственный стандарт. Машины ручные электрические. Безопасность и методы испытаний. Часть 2-6. Частные требования к молоткам и перфораторам"
(введен в действие Приказом Росстандарта от 10.07.2014 N 727-ст)

"ГОСТ IEC 60745-2-6-2014. Межгосударственный стандарт. Машины ручные электрические. Безопасность и методы испытаний. Часть 2-6. Частные требования к молоткам и перфораторам"
(введен в действие Приказом Росстандарта от 10.07.2014 N 727-ст)


Содержание


Введен в действие
Приказом Федерального
агентства по техническому
регулированию и метрологии
от 10 июля 2014 г. N 727-ст
МЕЖГОСУДАРСТВЕННЫЙ СТАНДАРТ
МАШИНЫ РУЧНЫЕ ЭЛЕКТРИЧЕСКИЕ
БЕЗОПАСНОСТЬ И МЕТОДЫ ИСПЫТАНИЙ
ЧАСТЬ 2-6
ЧАСТНЫЕ ТРЕБОВАНИЯ К МОЛОТКАМ И ПЕРФОРАТОРАМ
Hand-held motor-operated electric tools - Safety -
Part 2-6. Particular requirements for hammers
(IEC 60745-2-6:2008, IDT)
ГОСТ IEC 60745-2-6-2014
ОКП 48 3331;
МКС 25.140.20
25.140.30
Дата введения
1 января 2015 года
Предисловие
Цели, основные принципы и порядок проведения работ по межгосударственной стандартизации установлены ГОСТ 1.0-92 "Межгосударственная система стандартизации. Основные положения" и ГОСТ 1.2-2009 "Межгосударственная система стандартизации. Стандарты межгосударственные, правила и рекомендации по межгосударственной стандартизации. Правила разработки, принятия, применения, обновления и отмены".
Сведения о стандарте
1. Подготовлен Закрытым акционерным обществом "ИНТЕРСКОЛ" (ЗАО "ИНТЕРСКОЛ") на основе собственного аутентичного перевода на русский язык международного стандарта, указанного в пункте 5, Межгосударственным техническим комитетом по стандартизации МТК 262 "Инструмент механизированный и ручной".
2. Внесен Федеральным агентством по техническому регулированию и метрологии.
3. Принят Межгосударственным советом по стандартизации, метрологии и сертификации по переписке (Протокол N 67-П от 30 мая 2014 г.).
За принятие проголосовали:
Краткое наименование страны по МК (ИСО 3166) 004-97
Код страны по МК (ИСО 3166) 004-97
Сокращенное наименование национального органа по стандартизации
Армения
AM
Минэкономики Республики Армения
Беларусь
BY
Госстандарт Республики Беларусь
Киргизия
KG
Кыргызстандарт
Молдова
MD
Молдова-Стандарт
Россия
RU
Росстандарт
Таджикистан
TJ
Таджикстандарт
4. Приказом Федерального агентства по техническому регулированию и метрологии от 10 июля 2014 г. N 727-ст межгосударственный стандарт ГОСТ IEC 60745-2-6-2014 введен в действие в качестве национального стандарта Российской Федерации с 1 января 2015 г.
5. Настоящий стандарт идентичен международному стандарту IEC 60745-2-6:2008 Hand-held motor-operated electric tools - Safety - Part 2-6: Particular requirements for hammers (Инструменты ручные электромеханические. Безопасность. Часть 2-6. Дополнительные требования к молоткам).
Международный стандарт разработан техническим комитетом 116 "Безопасность ручного электрического механизированного инструмента" Межгосударственной электротехнической комиссии (IEC/TC 116 Safety of motor-operated electric tools).
Перевод с английского языка (en).
Официальные экземпляры международного стандарта, на основе которого подготовлен настоящий межгосударственный стандарт, находятся в ФГУП "СТАНДАРТИНФОРМ".
Сведения о соответствии межгосударственных стандартов ссылочным международным стандартам приведены в дополнительном Приложении ДА.
Степень соответствия - идентичная (IDT).
Настоящий межгосударственный стандарт взаимосвязан с техническими регламентами Таможенного союза ТР ТС 010/2011 "О безопасности машин и оборудования", ТР ТС 004/2011 "О безопасности низковольтного оборудования" и реализует их требования безопасности.
6. Взамен ГОСТ IEC 60745-2-6-2011.
Информация об изменениях к настоящему стандарту публикуется в ежегодном информационном указателе "Национальные стандарты", а текст изменений и поправок - в ежемесячном информационном указателе "Национальные стандарты". В случае пересмотра (замены) или отмены настоящего стандарта соответствующее уведомление будет опубликовано в ежемесячном информационном указателе "Национальные стандарты". Соответствующая информация, уведомление и тексты размещаются также в информационной системе общего пользования - на официальном сайте Федерального агентства по техническому регулированию и метрологии в сети Интернет.
Введение
Настоящий стандарт входит в комплекс стандартов, устанавливающих требования безопасности для ручных электрических машин и методы их испытаний.
Настоящий стандарт применяют совместно с ГОСТ IEC 60745-1 "Машины ручные электрические. Безопасность и методы испытаний. Часть 1. Общие требования", который идентичен международному стандарту IEC 60745-1:2006 "Электроинструменты ручные с приводом от электродвигателя. Безопасность. Часть 1. Общие требования".
Настоящий стандарт устанавливает частные требования безопасности и методы испытаний для ручных электрических молотков и перфораторов, которые дополняют, изменяют или заменяют соответствующие разделы, подразделы, пункты, таблицы и рисунки IEC 60745-1:2006.
Номера разделов, пунктов, таблиц и рисунков соответствуют приведенным в IEC 60745-2-6:2008. Пункты, дополняющие IEC 60745-1:2006, имеют соответствующую нумерацию, начиная со 101.
В настоящем стандарте методы испытаний молотков и перфораторов выделены курсивом. Изменение наименования раздела 3 вызвано необходимостью приведения в соответствие с требованиями ГОСТ 1.5-2001.
1. Область применения
По IEC 60745-1 со следующими изменениями:
1.1. Дополнение:
Настоящий стандарт распространяется на молотки и перфораторы.
2. Нормативные ссылки
По IEC 60745-1.
3. Термины и определения
По IEC 60745-1 со следующими изменениями:
Дополнение:
3.101. Молоток (hammer): машина, оборудованная встроенным ударным механизмом, эффективность работы которого не зависит от действий оператора.
3.102. Перфоратор (rotary hammer): машина, оборудованная встроенным ударным механизмом, эффективность работы которого не зависит от действий оператора, при этом рабочий шпиндель машины может совершать также вращательное движение.
3.103. Перфоратор с режимом "простого сверления" (rotary hammer with "drill onlymode"): перфоратор, рабочий шпиндель которого может вращаться при выключенном ударном механизме.
Применение на добровольной основе разделов 4 и 5 обеспечивает соблюдение требований технического регламента Таможенного союза "О безопасности машин и оборудования" (ТР ТС 010/2011) и осуществления оценки (подтверждения) соответствия продукции (Решение Комиссии Таможенного союза от 18.10.2011 N 823).
4. Общие требования
По IEC 60745-1.
5. Общие условия испытаний
По IEC 60745-1.
6. Аннулирован
7. Классификация
По IEC 60745-1.
8. Маркировка и инструкции
По IEC 60745-1 со следующими изменениями:
8.12.1.1. Дополнение:
Предупреждения по безопасности молотков:
- При работе пользуйтесь средствами защиты органов слуха. Воздействие шума может привести к потере слуха;
- При работе пользуйтесь дополнительной(ыми) рукояткой(ами), если таковая(ые) входит(ят) в комплект поставки машины. Потеря контроля над работой машины может привести к травмам;
- Удерживайте машину за изолированные поверхности захвата, так как рабочий инструмент при выполнении операции может прикоснуться к скрытой проводке или к кабелю машины. При прикосновении рабочего инструмента к находящемуся под напряжением проводу доступные металлические части ручной машины могут попасть под напряжение и вызвать поражение оператора электрическим током.
9. Защита от контакта с токоведущими частями
По IEC 60745-1.
10. Пуск
По IEC 60745-1.
11. Потребляемая мощность и ток
По IEC 60745-1.
12. Нагрев
По IEC 60745-1 со следующими изменениями:
12.4. Замена:
Машина работает в повторно-кратковременном режиме либо до установившегося температурного состояния, либо в течение 30 циклов - в зависимости от того, что наступит быстрее, причем каждый цикл состоит из периода работы длительностью 30 с и паузы длительностью 90 с, в течение которой машина находится в выключенном состоянии. В течение периода работы машина нагружается с помощью тормоза так, чтобы потребляемая мощность или потребляемый ток имели номинальные значения, при этом ударный механизм отключается или удаляется. По выбору изготовителя машина может работать непрерывно до установившегося температурного состояния. Допустимое превышение температуры, указанное для внешнего кожуха, не относится к корпусу ударного механизма.
13. Ток утечки
По IEC 60745-1.
14. Влагостойкость
По IEC 60745-1.
15. Электрическая прочность
По IEC 60745-1.
16. Защита от перегрузки трансформаторов
и соединенных с ними цепей
По IEC 60745-1.
17. Надежность
По IEC 60745-1 со следующими изменениями:
17.2. Замена:
Перфоратор с режимом "простого сверления" работает на холостом ходу с отключенным ударным механизмом в течение 12 ч при напряжении, равном 1,1 номинального значения, а затем - 12 ч при напряжении, равном 0,9 номинального значения.
Каждый рабочий цикл состоит из периода "Включено" длительностью 100 с и периода "Выключено" длительностью 20 с, причем время периода "Выключено" входит в установленное время наработки.
В процессе испытаний перфоратор устанавливают в три различных положения, время работы в каждом из которых примерно равно 4 ч (при каждом значении напряжения).
Примечание. Положение перфоратора изменяют для предотвращения чрезмерного накопления угольной пыли в его отдельных частях. Примеры положений: горизонтальное, вертикальное передней частью вверх и вертикальное передней частью вниз.
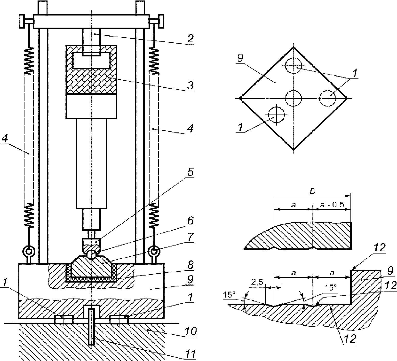
Все машины, включая перфораторы с режимом "простого сверления", устанавливают вертикально в испытательное устройство в соответствии с рисунком 103, и они работают при номинальном значении напряжения или при среднем значении диапазона номинальных напряжений в течение четырех периодов по 6 ч с перерывами между периодами работы не менее 30 мин.
Во время испытаний машины должны работать в повторно-кратковременном режиме, при этом каждый цикл состоит из работы продолжительностью 30 с и паузы продолжительностью 90 с, в течение которой машина выключена.
В процессе испытаний к машине через эластичную прокладку прикладывают осевое усилие, достаточное для обеспечения стабильной работы ударного механизма.
Если температура любой части машины превышает значение, определенное во время испытаний по 12.1, то следует проводить принудительное охлаждение или делать перерывы, длительность которых не включают в установленное время наработки.
В процессе испытаний устройства защиты от перегрузок не должны срабатывать.
Машина может включаться и выключаться с помощью другого (дополнительного) выключателя, не встроенного в машину.
В процессе испытаний допускается заменять угольные щетки, а смазку машины следует проводить так, как предусмотрено для условий нормальной эксплуатации.
Если ударный механизм во время испытаний выйдет из строя, но при этом доступные для прикосновения части не будут находиться под напряжением, ударный механизм допускается заменить на новый.
18. Ненормальный режим работы
По IEC 60745-1.
19. Механическая безопасность
По IEC 60745-1 со следующими изменениями:
Дополнение:
19.101. Конструкция ключей должна обеспечивать их легкое выпадение из зажимного патрона при отпускании.
Это требование к конструкции не исключает наличия скоб для удерживания ключа в каком-либо месте, когда он не используется. Не допускается наличие металлических скоб, закрепленных на внешнем гибком кабеле (шнуре).
Соответствие проверяют путем внешнего осмотра и проведением ручного опробования. Ключ вставляют в сверлильный патрон. Затем, не затягивая сверлильного патрона, машину поворачивают так, чтобы ключ оказался внизу. Ключ должен выпасть из патрона.
19.102. Сила, действующая на руку оператора, вызванная статическим моментом остановки (блокировки) шпинделя машины, не должна быть недопустимо большой.
Соответствие проверяется посредством следующего испытания.
Статический момент остановки или момент срабатывания муфты (MR) измеряют на заблокированном шпинделе машины, находящейся в холодном состоянии.
Машину включают при номинальном напряжении питания. Механические ступени передачи устанавливают на самую низкую частоту вращения, а электронные регуляторы частоты вращения - на наибольшую частоту вращения, т.е. выключатель машины должен быть полностью включен. Среднее значение измеренного крутящего момента не должно превышать соответствующего максимального значения (Mmax), указанного на рисунках 101 и 102.
20. Механическая прочность
По IEC 60745-1 со следующими изменениями:
20.3. Замена:
Молотки массой до 10 кг (включительно) должны выдерживать трехкратное сбрасывание на бетонную поверхность с высоты 1 м. При трехкратном сбрасывании машину испытывают в трех самых невыгодных положениях, при этом самая низкая точка машины должна быть на высоте 1 м над бетонной поверхностью. Съемные приспособления при проведении этого испытания на машину не устанавливают.
Молотки массой более 10 кг три раза опрокидывают, подвергая их ударам о бетонную поверхность. Машину испытывают с самым длинным рабочим инструментом, рекомендованным изготовителем, кроме случая, когда длина рабочего инструмента превышает 1 м. В этом случае машину испытывают с рабочим инструментом длиной 1 м. Машину располагают вертикально так, чтобы конец рабочего инструмента опирался на бетонную поверхность. Далее машину опрокидывают на бетонную поверхность в трех разных направлениях.
20.5. Замена:
Молотки считаются машинами, способными разрезать скрытую проводку или собственный кабель. Вследствие этого указанные в инструкции для оператора рукоятки и поверхности захвата должны иметь достаточную механическую прочность в целях обеспечения изоляции между поверхностью захвата и вторичным валом.
Соответствие проверяется посредством следующего испытания.
По усмотрению изготовителя отдельный образец подвергают одному удару по каждой рукоятке и по каждой рекомендованной поверхности захвата.
Молотки массой до 10 кг (включительно) подвергают сбрасыванию на бетонную поверхность с высоты 1 м.
Молотки массой более 10 кг опрокидывают, подвергая их ударам о бетонную поверхность. Машину испытывают с самым длинным рабочим инструментом, рекомендованным изготовителем, кроме случая, когда длина рабочего инструмента превышает 1 м. В этом случае машину испытывают с рабочим инструментом длиной 1 м.
После ударов проводят испытание на электрическую прочность по разделу 15 с приложением напряжения 1250 В переменного тока между касающимися фольги поверхностями захвата и вторичным валом машины.
21. Конструкция
По IEC 60745-1 со следующими изменениями:
21.18. Дополнение:
Молотки и перфораторы, работающие в ударном режиме, могут иметь стопорное устройство, позволяющее зафиксировать выключатель в положении "Включено". Стопорное устройство должно быть сконструировано так, чтобы его разблокировка осуществлялась автоматически с помощью одного движения оператора, без ослабления захвата машины.
Соответствие проверяется путем осмотра и посредством испытания вручную.
Стопорное устройство выключателя перфоратора должно располагаться вне зоны захвата или же должно иметь такую конструкцию, при которой оно не может быть случайно включено рукой оператора при работе как левой, так и правой рукой. Зона захвата - часть поверхности рукоятки машины, захватываемая рукой оператора (левой или правой), когда указательный палец этой руки находится на приводе выключателя машины.
Соответствие проверяется путем осмотра или посредством следующего испытания.
Если выключатель имеет кнопочный фиксатор, находящийся в зоне захвата, фиксатор не должен включаться из-за касания его инструментом с прямой кромкой при проведении им вперед и назад по фиксатору в любом направлении. Инструмент с прямой кромкой может быть любой подходящей длины из расчета перекрытия поверхности фиксатора и любой примыкающей к фиксатору поверхности.
22. Внутренняя проводка
По IEC 60745-1.
23. Комплектующие изделия
По IEC 60745-1.
24. Присоединение к источнику питания
и внешние гибкие шнуры
По IEC 60745-1 со следующими изменениями:
24.4. Заменить первый абзац:
Кабели питания не должны быть ниже классом, чем усиленные гибкие кабели с полихлоропреновой оболочкой (условное обозначение 60245 IEC 66) или равноценные кабели.
25. Зажимы для внешних проводников
По IEC 60745-1.
26. Заземление
По IEC 60745-1.
27. Винты и соединения
ИС МЕГАНОРМ: примечание.
Текст дан в соответствии с официальным текстом документа.
По IEC 60745-1.
По IEC 60745-1.
29. Теплостойкость, огнестойкость и стойкость к образованию
токопроводящих мостиков (трекингостойкость)
По IEC 60745-1.
30. Коррозионная стойкость
По IEC 60745-1.
31. Радиация, токсичность и подобные опасности
По IEC 60745-1.
Примечание. Приведенные размеры даны в метрах.
Рисунок 101. Машины, удерживаемые одной рукой
Примечание. Приведенные размеры даны в метрах.
Рисунок 102. Машины, удерживаемые двумя руками
1 - диски из синтетической резины или из материала
с аналогичными свойствами с твердостью по Шору A от 70
до 80, толщиной 10 мм и диаметром 75 мм, 2 - облицованная
полиамидом скоба, пригнанная к рукоятке машины, 3 - машина,
4 - механический пружинный или пневматический механизм,
создающий осевое усилие, 5 - пуансон, 6 - шар из закаленной
стали диаметром 38 мм, 7 - промежуточная плита
из закаленной стали массой M2 и диаметром D, имеющая
с нижней стороны пазы, 8 - диски из синтетической резины
или из материала с аналогичными свойствами с твердостью
по Шору A от 70 до 80, толщиной от 6 до 7 мм, плотно
пригнанного к стенкам, 9 - стальное основание массой M1
с цилиндрической выемкой, диаметр которой на 1 мм больше
диаметра промежуточной плиты, а дно которой снабжено
пазами, 10 - бетонный блок, установленный на устойчивой
поверхности, 11 - стальной стержень, препятствующий
горизонтальному смещению, 12 - шлифовальные
поверхность и кромки
Номинальная потребляемая мощность машины, Вт
Диаметр промежуточной плиты D, мм
Расстояние между центрами пазов a, мм
Масса стального фундамента M1, кг
Масса промежуточной плиты M2, кг
Общая масса пуансона и хвостовика M3, кг
До 700
100
6,5
90
1,0
0,7
Св. 700 до 1200
140
5,75
180
2,25
1,4
Св. 1200 до 1800
180
5,0
270
3,8
2,3
Св. 1800 до 2500
220
4,5
360
6,0
3,4
Примечание. Вместе с машиной допускается представлять на испытания пуансон и хвостик, если это необходимо для обеспечения работы ударного механизма. Общая масса пуансона и хвостика не должна превышать значений, указанных в таблице.
Рисунок 103. Испытательная установка
Приложение K
(обязательное)
АККУМУЛЯТОРНЫЕ МАШИНЫ И АККУМУЛЯТОРНЫЕ БАТАРЕИ
По IEC 60745-1 со следующими изменениями:
K.1. Дополнение:
При отсутствии иных указаний в данном приложении применимы все пункты настоящего стандарта.
K.8.12.1.1. Дополнение:
- Необходимо пользоваться средствами защиты органов слуха. Воздействие шума может вызывать потерю слуха.
- Необходимо пользоваться дополнительной(ыми) рукояткой(ами), если поставляются с машиной. Потеря управления может вызвать телесное повреждение.
- Следует удерживать машину за изолированные поверхности захвата, если режущий инструмент при работе может прикоснуться к скрытой проводке. При прикосновении режущего инструмента к находящемуся под напряжением проводу доступные металлические части ручной машины могут попасть под напряжение и вызвать поражение оператора электрическим током.
K.12.4. Этот подпункт настоящего стандарта неприменим.
K.17.2. Этот подпункт настоящего стандарта неприменим.
K.24.4. Этот подпункт настоящего стандарта неприменим.
Приложение L
(обязательное)
АККУМУЛЯТОРНЫЕ МАШИНЫ И АККУМУЛЯТОРНЫЕ БАТАРЕИ,
ПРЕДУСМАТРИВАЮЩИЕ ПОДКЛЮЧЕНИЕ К СЕТИ ИЛИ НЕИЗОЛИРОВАННЫМ
ИСТОЧНИКАМ ПИТАНИЯ
Аккумуляторные машины и аккумуляторные батареи, предусматривающие подключение к сети или неизолированным источникам питания
По IEC 60745-1 со следующими изменениями:
L.1. Дополнение:
При отсутствии иных указаний в данном приложении применимы все пункты настоящего стандарта.
Приложение ДА
(справочное)
СВЕДЕНИЯ О СООТВЕТСТВИИ МЕЖГОСУДАРСТВЕННЫХ СТАНДАРТОВ
ССЫЛОЧНЫМ МЕЖДУНАРОДНЫМ СТАНДАРТАМ
Таблица ДА.1
Обозначение и наименование ссылочного международного стандарта
Степень соответствия
Обозначение и наименование соответствующего межгосударственного стандарта
ИС МЕГАНОРМ: примечание.
В официальном тексте документа, видимо, допущена опечатка: стандарт имеет номер ГОСТ IEC 60745-1-2011 (IEC 60745-1:2003), а не ГОСТ IEC 60745-1-2013 (IEC 60745-1:2006).
IEC 60745-1:2006 Электроинструменты ручные с приводом от электродвигателя. Безопасность. Часть 1. Общие требования
IDT
ГОСТ IEC 60745-1-2013 Машины ручные электрические. Безопасность и методы испытаний. Часть 1. Общие требования
ИС МЕГАНОРМ: примечание.
В официальном тексте документа, видимо, допущена опечатка: стандарт имеет номер ГОСТ IEC 60245-1-2011 (IEC 60245-1:2003), а не ГОСТ IEC 60245-1-2011 (IEC 60245-1:2008).
IEC 60245-1:2008 Кабели с резиновой изоляцией на номинальное напряжение до 450/750 В включительно. Часть 1: Общие требования
IDT
ГОСТ IEC 60245-1-2011 Кабели с резиновой изоляцией на номинальное напряжение до 450/750 В включительно. Общие требования
Примечание. В настоящем стандарте использовано следующее условное обозначение степени соответствия стандартов:
IDT - идентичные стандарты.
БИБЛИОГРАФИЯ
По IEC 60745-1.