Главная // Актуальные документы // ГОСТ (Государственный стандарт)СПРАВКА
Источник публикации
М.: Стандартинформ, 2013
Примечание к документу
Документ утратил силу с 1 января 2015 года в связи с изданием
Приказа Росстандарта от 10.07.2014 N 727-ст. Взамен введен в действие
ГОСТ IEC 60745-2-6-2014.
Документ
введен в действие с 1 января 2013 года.
Название документа
"ГОСТ IEC 60745-2-6-2011. Межгосударственный стандарт. Машины ручные электрические. Безопасность и методы испытаний. Часть 2-6. Частные требования к молоткам и перфораторам"
(введен в действие Приказом Росстандарта от 13.12.2011 N 1148-ст)
"ГОСТ IEC 60745-2-6-2011. Межгосударственный стандарт. Машины ручные электрические. Безопасность и методы испытаний. Часть 2-6. Частные требования к молоткам и перфораторам"
(введен в действие Приказом Росстандарта от 13.12.2011 N 1148-ст)
агентства по техническому
регулированию и метрологии
от 13 декабря 2011 г. N 1148-ст
МЕЖГОСУДАРСТВЕННЫЙ СТАНДАРТ
МАШИНЫ РУЧНЫЕ ЭЛЕКТРИЧЕСКИЕ
БЕЗОПАСНОСТЬ И МЕТОДЫ ИСПЫТАНИЙ
ЧАСТЬ 2-6
ЧАСТНЫЕ ТРЕБОВАНИЯ К МОЛОТКАМ И ПЕРФОРАТОРАМ
Hand-held motor-operated electric tools.
Safety and test methods. Part 2-6. Particular requirements
for hammers and rotary hammers
(IEC 60745-2-6:2003, IDT)
ГОСТ IEC 60745-2-6-2011
Дата введения
1 января 2013 года
Цели, основные принципы и порядок проведения работ по межгосударственной стандартизации установлены
ГОСТ 1.0-92 "Межгосударственная система стандартизации. Основные положения" и
ГОСТ 1.2-2009 "Межгосударственная система стандартизации. Стандарты межгосударственные, правила и рекомендации по межгосударственной стандартизации. Правила разработки, принятия, применения, обновления и отмены".
1. Подготовлен Федеральным государственным унитарным предприятием "Всероссийский научно-исследовательский институт стандартизации и сертификации в машиностроении" (ВНИИНМАШ).
2. Внесен Федеральным агентством по техническому регулированию и метрологии.
3. Принят Межгосударственным советом по стандартизации, метрологии и сертификации (протокол от 29 ноября 2011 г. N 40).
За принятие стандарта проголосовали:
Краткое наименование страны по МК (ISO 3166) 004-97 | Код страны по МК (ISO 3166) 004-97 | Сокращенное наименование национального органа по стандартизации |
Беларусь | BY | Госстандарт Республики Беларусь |
Казахстан | KZ | Госстандарт Республики Казахстан |
Кыргызстан | KG | Кыргызстандарт |
Российская Федерация | RU | Росстандарт |
Таджикистан | TJ | Таджикстандарт |
Украина | UA | Минэкономразвития Украины |
4.
Приказом Федерального агентства по техническому регулированию и метрологии от 13 декабря 2011 г. N 1148-ст межгосударственный стандарт ГОСТ IEC 60745-2-6-2011 введен в действие в качестве национального стандарта Российской Федерации с 1 января 2013 г.
5. Настоящий стандарт идентичен международному стандарту IEC 60745-2-6:2003 "Hand-held motor-operated electric tools. Safety. Part 2-6: Particular requirements for hammers" (Ручные электрические инструменты с приводом от электродвигателя. Безопасность. Часть 2-6. Частные требования к молоткам).
Сведения о соответствии межгосударственных стандартов ссылочным международным стандартам приведены в дополнительном
Приложении ДА.
Степень соответствия - идентичная (IDT).
Стандарт подготовлен на основе применения ГОСТ Р МЭК 60745-2-6-2007.
6. Введен впервые.
Информация о введении в действие (прекращении действия) настоящего стандарта публикуется в указателе "Национальные стандарты".
Информация об изменениях к настоящему стандарту публикуется в указателе "Национальные стандарты", а текст этих изменений - в информационных указателях "Национальные стандарты". В случае пересмотра или отмены настоящего стандарта соответствующая информация будет опубликована в информационном указателе "Национальные стандарты".
Настоящий стандарт входит в комплекс стандартов, устанавливающих требования безопасности ручных электрических машин и методы их испытаний.
Настоящий стандарт применяют совместно с
ГОСТ IEC 60745-1-2011 "Машины ручные электрические. Безопасность и методы испытаний. Часть 1. Общие требования", идентичным международному стандарту IEC 60745-1:2003 "Ручные электрические инструменты с приводом от электродвигателя. Безопасность. Часть 1. Общие требования".
Настоящий стандарт устанавливает частные требования безопасности и методы испытаний ручных электрических молотков и перфораторов, которые дополняют, изменяют или заменяют соответствующие разделы, подразделы, пункты, таблицы и рисунки IEC 60745-1:2003.
Номера разделов, пунктов, таблиц и рисунков соответствуют приведенным в IEC 60745-2-6:2003. Пункты, дополняющие IEC 60745-1:2003, имеют нумерацию, начиная со 101.
| | ИС МЕГАНОРМ: примечание. Требования, выделенные курсивом в официальном тексте документа, в электронной версии документа выделены знаком "&". | |
В настоящем стандарте требования к методам испытаний молотков и перфораторов выделены курсивом.
По IEC 60745-1 со следующим изменением:
1.1. Дополнение
Настоящий стандарт распространяется на молотки и перфораторы (далее - машины, если требование не относится к конкретному типу).
Перечень машин, на которые распространяется настоящий стандарт, не ограничивается молотками и перфораторами.
По IEC 60745-1:2003 "Ручные электрические инструменты с приводом от электродвигателя. Безопасность. Часть 1. Общие требования".
По IEC 60745-1 со следующим изменением:
Дополнение:
3.101. молоток (hammer): Машина, оборудованная встроенным ударным механизмом, на эффективность работы которого оператор не влияет.
3.102. перфоратор (rotary hammer): Машина, оборудованная встроенным ударным механизмом, на эффективность работы которого оператор не влияет, и рабочий шпиндель которой может совершать также вращательное движение.
3.103. перфоратор с "режимом сверления" (rotary hammer with "drill only mode"): Перфоратор, рабочий шпиндель которого может вращаться при выключенном ударном механизме.
По IEC 60745-1.
5. Общие условия испытаний
По IEC 60745-1.
По IEC 60745-1.
8. Маркировка и инструкции
По IEC 60745-1 со следующим изменением:
8.12.1. Дополнение
- при работе пользуйтесь средствами защиты органов слуха. Воздействие шума может привести к потере слуха;
- при работе пользуйтесь вспомогательными рукоятками, входящими в комплект поставки машины. Потеря контроля над работой машины может привести к травме.
9. Защита от контакта с токоведущими частями
По IEC 60745-1.
По IEC 60745-1.
11. Потребляемая мощность и ток
По IEC 60745-1.
По IEC 60745-1 со следующим изменением:
12.4. Замена
&Машина работает в повторно-кратковременном режиме либо до установившегося состояния, либо в течение 30 циклов, в зависимости от того, что наступит быстрее, причем каждый цикл состоит из периода работы длительностью 30 с и паузы длительностью 90 с, в течение которой машина находится в выключенном состоянии. В течение периода работы машина нагружается с помощью тормоза так, чтобы потребляемая мощность или потребляемый ток были равны своим номинальным значениям, при этом ударный механизм отключается или удаляется. По выбору изготовителя машина может работать непрерывно до установившегося температурного состояния. Допустимое превышение температуры, указанное для внешнего кожуха, не относится к корпусу ударного механизма.&
По IEC 60745-1.
По IEC 60745-1.
15. Электрическая прочность
По IEC 60745-1.
16. Защита от перегрузки трансформаторов
и соединенных с ними цепей
По IEC 60745-1.
По IEC 60745-1 со следующим изменением:
17.2. Замена:
&Перфоратор с "режимом сверления" по
3.103 работает на холостом ходу с отключенным ударным механизмом в течение 12 ч при напряжении, равном 1,1 номинального значения, а затем - 12 ч при напряжении, равном 0,9 номинального значения.
Каждый рабочий цикл состоит из периода "включено" длительностью 100 с и периода "выключено" длительностью 20 с, причем время периода "выключено" входит в установленное время наработки.
В процессе испытаний перфоратор устанавливают в три различные положения, время работы в каждом из которых примерно равно 4 ч (при каждом значении рабочего напряжения).&
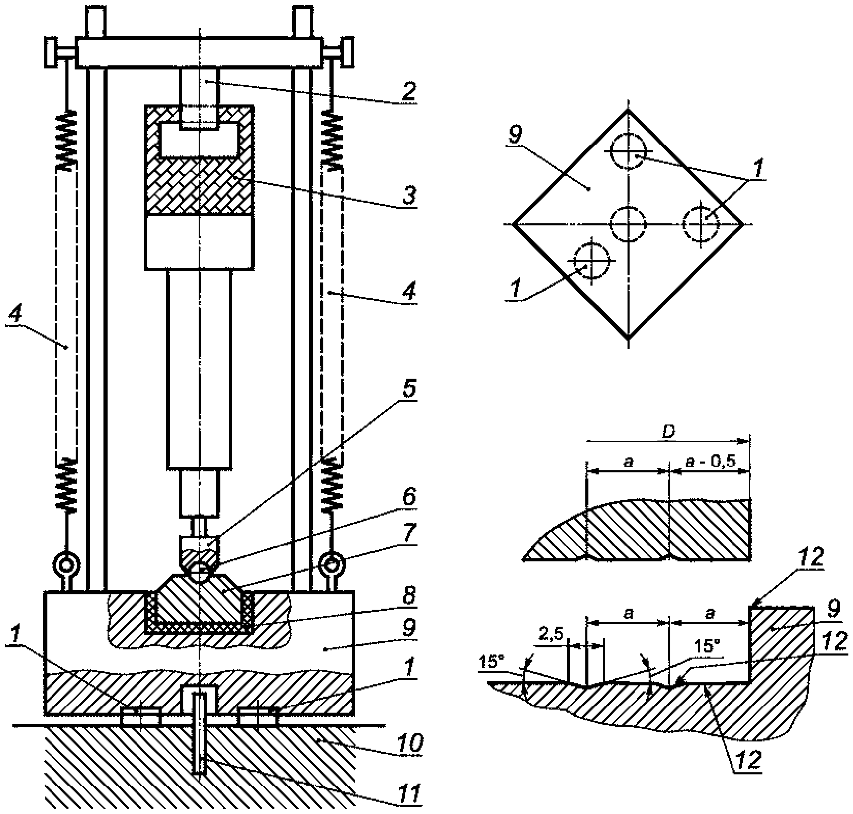
Примечание. Положение перфоратора изменяют для предотвращения чрезмерного накопления угольной пыли в его отдельных частях. Примеры положений: горизонтальное, вертикальное вверх и вертикальное вниз.
&Все машины, включая перфораторы с "режимом сверления", устанавливают вертикально в испытательное устройство в соответствии с
рисунком 103, и они работают при номинальном напряжении или при среднем значении диапазона номинальных напряжений в течение четырех периодов по 6 ч, с перерывами между периодами работы не менее 30 мин.
Во время испытаний машины должны работать в повторно-кратковременном режиме, при этом каждый цикл состоит из работы продолжительностью 30 с и паузы продолжительностью 90 с, в течение которой машина выключена.
В процессе испытаний к машине через эластичную прокладку прикладывают осевое усилие, достаточное для обеспечения стабильной работы ударного механизма.
Если температура любой части машины превышает значение, определенное во время испытаний по 12.1, то следует проводить принудительное охлаждение или перерывы, длительность которых не включают в установленное время наработки.
В процессе испытаний устройства защиты от перегрузок не должны срабатывать.
Машина может включаться и выключаться с помощью другого (дополнительного) выключателя, не встроенного в машину.
В процессе испытаний допускается заменять угольные щетки, а смазку машины следует проводить как предусмотрено для условий нормальной эксплуатации.
Если ударный механизм во время испытаний выйдет из строя, но при этом доступные для прикосновения части не будут находиться под напряжением, ударный механизм допускается заменить на новый.&
18. Ненормальный режим работы
По IEC 60745-1.
19. Механическая безопасность
По IEC 60745-1 со следующим изменением:
Дополнение
19.101. Конструкция ключей должна обеспечивать их легкое выпадение из зажимного патрона при отпускании.
Это не исключает наличия скоб для удерживания ключа в каком-либо месте, когда он не используется. Не допускается наличие металлических скоб, закрепленных на внешнем гибком кабеле (шнуре).
&Проверку проводят внешним осмотром и ручным опробованием. Ключ вставляют в сверлильный патрон. Затем, не затягивая сверлильный патрон, машину поворачивают так, чтобы ключ оказался внизу. Ключ должен выпасть из патрона.&
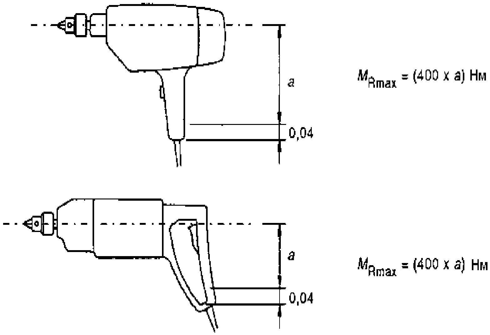
19.102. Сила, действующая на руку оператора, вызванная статическим моментом остановки (блокировки) шпинделя машины, не должна быть недопустимо большой.
&Испытание проводят следующим образом.
Статический момент остановки или момент срабатывания муфты

измеряют на блокированном шпинделе машины, находящейся в холодном состоянии.
Машину включают при номинальном напряжении питания. Механические ступени передачи устанавливают на самую низкую частоту вращения, а электронные регуляторы частоты вращения - на наибольшую частоту вращения, т.е. выключатель машины должен быть полностью включен. Среднее значение измеренного крутящего момента не должно превышать соответствующего максимального значения

, указанного на
рисунках 101 и
102.&
20. Механическая прочность
По IEC 60745-1 со следующим изменением:
20.3. Замена
&Машину массой более 10 кг три раза опрокидывают, подвергая ее ударам о бетонную поверхность. Машину испытывают с самым длинным рабочим инструментом, рекомендованным изготовителем, кроме случая, когда длина рабочего инструмента превышает 1 м. В этом случае машину испытывают с рабочим инструментом длиной 1 м.&
По IEC 60745-1 со следующим изменением:
21.18. Дополнение:
При наличии кнопки блокировки включенного положения выключателя, она должна находиться либо вне зоны охвата рукоятки, либо быть выполнена так, чтобы отсутствовала вероятность непреднамеренной разблокировки выключателя (путем нажатия на кнопку) при удержании машины как левой, так и правой рукой.
&Соответствие машины этому требованию проверяют осмотром и ручным опробованием.
Для выключателей с кнопкой блокировки включенного положения, находящейся в углублении в пределах зоны охвата рукоятки, кнопка не должна срабатывать при перемещении плоской линейки в любом возможном направлении в зоне расположения кнопки. Линейка может быть любой подходящей длины, достаточной для перекрытия кнопки и любой граничащей с ней поверхности.&
По IEC 60745-1.
23. Комплектующие изделия
По IEC 60745-1.
24. Присоединение к источнику питания и внешние гибкие шнуры
По IEC 60745-1 со следующим изменением:
24.4. Замена первого абзаца
Масса гибкого кабеля (шнура) питания должна быть не менее массы кабеля в усиленной полихлоропреновой оболочке (кодовое обозначение - 60245 IEC 66 по IEC 60245-1) или быть эквивалентна ей.
25. Зажимы для внешних проводов
По IEC 60745-1.
По IEC 60745-1.
По IEC 60745-1.
28. Пути утечки, воздушные зазоры и расстояния по изоляции
По IEC 60745-1.
29. Теплостойкость, огнестойкость и стойкость
к образованию токопроводящих мостиков
По IEC 60745-1.
30. Коррозионная стойкость
По IEC 60745-1.
31. Радиация, токсичность и подобные опасности
По IEC 60745-1.
Размеры в метрах
Рисунок 101. Машины, удерживаемые одной рукой
Размеры в метрах
Рисунок 102. Машины, удерживаемые двумя руками
1 - диски из синтетической резины
или из материала с аналогичными свойствами с твердостью
по Шору A от 70 до 80, толщиной 10 мм и диаметром 75 мм;
2 - облицованная полиамидом скоба, пригнанная к рукоятке
машины; 3 - машина; 4 - механический пружинный
или пневматический механизм, создающий осевое усилие;
5 - пуансон; 6 - шар из закаленной стали диаметром 38 мм;
7 - промежуточная плита из закаленной стали массой

и диаметром D, имеющая с нижней стороны пазы; 8 - диск
из синтетической резины или материала с аналогичными
свойствами с твердостью по Шору A от 70 до 80, толщиной
от 6 до 7 мм, плотно пригнанный к стенкам; 9 - стальное
основание массой

с цилиндрической выемкой, диаметр
которой на 1 мм больше диаметра промежуточной плиты, а дно
выемки снабжено пазами; 10 - бетонный блок, установленный
на устойчивой поверхности; 11 - стальной стержень,
препятствующий горизонтальному смещению;
12 - шлифованные поверхности и кромки
Номинальная потребляемая мощность машины, Вт | Диаметр промежуточной плиты D, мм | Расстояние между центрами пазов a, мм | Масса стального фундамента  , кг | Масса промежуточной плиты  , кг | Общая масса пуансона и хвостовика  , кг |
До 700 | 100 | 6,5 | 90 | 1,0 | 0,7 |
Св. 700 до 1200 | 140 | 5,75 | 180 | 2,25 | 1,4 |
Св. 1200 до 1800 | 180 | 5,0 | 270 | 3,8 | 2,3 |
Св. 1800 до 2500 | 220 | 4,5 | 360 | 6,0 | 3,4 |
Рисунок 103. Испытательная установка
Примечание. Вместе с машиной допускается представлять на испытание пуансон и хвостовик, если это необходимо для обеспечения работы ударного механизма. Общая масса пуансона и хвостовика не должна превышать значений, указанных в таблице.
Приложения
По IEC 60745-1 со следующими изменениями:
(обязательное)
БАТАРЕЙНЫЕ МАШИНЫ И АККУМУЛЯТОРЫ
K.1.1. Дополнение
Все пункты настоящего стандарта относятся к Приложению, если нет других указаний.
(обязательное)
БАТАРЕЙНЫЕ МАШИНЫ И АККУМУЛЯТОРЫ,
ПРЕДУСМОТРЕННЫЕ ДЛЯ ПОДСОЕДИНЕНИЯ К СЕТИ ИЛИ НЕИЗОЛИРОВАННЫМ
ИСТОЧНИКАМ ПИТАНИЯ
L.1.1. Дополнение
Все пункты настоящего стандарта относятся к Приложению, если нет других указаний.
(справочное)
СВЕДЕНИЯ О СООТВЕТСТВИИ НАЦИОНАЛЬНЫХ СТАНДАРТОВ
РОССИЙСКОЙ ФЕДЕРАЦИИ ССЫЛОЧНЫМ МЕЖДУНАРОДНЫМ СТАНДАРТАМ
Таблица 1.1
Обозначение и наименование международного стандарта | Степень соответствия | Обозначение и наименование межгосударственного стандарта |
IEC 60745-1:2003 | - | |
IEC 60245-1:1994 | - | |
<*> Соответствующий межгосударственный стандарт отсутствует. До его утверждения рекомендуется использовать перевод на русский язык данного международного стандарта. Перевод данного международного стандарта находится в Федеральном информационном фонде технических регламентов и стандартов. |
По IEC 60745-1.