
ИС МЕГАНОРМ: примечание. Постановлением Госстандарта СССР от 02.02.1994 N 160 с 1 января 1995 года введен в действие ГОСТ 1476-93. |
Обозначение фрез | Применяемость | Исполнение | D | d | L | t | Число ножей z | Обозначение фрез | Применяемость | Исполнение | D | d | L | t | Число ножей z |
3210-1701 | 1 | 80 | 22 | 40 | - | 2 | 3210-1918 | 2 | 140 | 40 | 60 | - | 4 | ||
3210-1705 | 100 | 27 | 60 | 3210-1819 | 1 | 90 | |||||||||
3210-1803 | 90 | 3210-1919 | 2 | ||||||||||||
3210-1805 | (30) | 110 | 3210-1827 | 1 | 110 | 37,0 | |||||||||
3210-1906 | 2 | 125 | 32 | 25 | 4 | 3210-1927 | 2 | ||||||||
3210-1707 | 1 | 40 | 3210-1828 | 1 | 130 | ||||||||||
3210-1757 | 2 | 3210-1829 | 170 | ||||||||||||
3210-1708 | 1 | 60 | 3210-1830 | 50 | 45,5 | ||||||||||
3210-1758 | 2 | 3210-1831 | 260 | ||||||||||||
3210-1807 | 1 | 90 | 3210-1820 | (160) | 40 | 60 | - | ||||||||
3210-1907 | 2 | 3210-1920 | 2 | ||||||||||||
3210-1808 | 1 | 110 | 3210-1821 | 1 | 110 | 37,0 | |||||||||
3210-1908 | 2 | 3210-1921 | 2 | ||||||||||||
3210-1910 | 40 | 60 | 3210-1822 | 1 | (180) | 40 | - | ||||||||
3210-1811 | 1 | 90 | 3210-1922 | 2 | |||||||||||
3210-1911 | 2 | 3210-1824 | 1 | 60 | |||||||||||
3210-1813 | 1 | 130 | 37,0 | 3210-1924 | 2 | ||||||||||
3210-1814 | 170 | 3210-1826 | 1 | 90 | |||||||||||
3210-1817 | 140 | 40 | - | 3210-1926 | 2 | ||||||||||
3210-1917 | 2 | 3210-1832 | 1 | 110 | 37,0 | ||||||||||
3210-1818 | 1 | 60 |

ИС МЕГАНОРМ: примечание. Постановлением Госстандарта СССР от 02.02.1994 N 160 с 1 января 1995 года введен в действие ГОСТ 1476-93. |
Обозначение фрез | Применяемость | L, мм |
3210-0003 | 170 | |
3210-0039 | 260 |

ИС МЕГАНОРМ: примечание. Постановлением Госстандарта СССР от 02.02.1994 N 160 с 1 января 1995 года введен в действие ГОСТ 1476-93. |
Обозначение фрез | Применяемость | D | d | L | t | Обозначение фрез | Применяемость | D | d | L | t |
3210-0108 | 140 | 40 | 170 | 37,0 | 3210-0115 | (180) | 40 | 170 | 37,0 | ||
3210-0125 | 50 | 45,5 | 3210-0127 | 45 | 41,0 | ||||||
3210-0126 | 260 | 3210-0123 | 50 | 260 | 45,5 | ||||||
3210-0113 | (180) | 40 | 130 | 37,0 |

ИС МЕГАНОРМ: примечание. Постановлением Госстандарта СССР от 02.02.1994 N 160 с 1 января 1995 года введен в действие ГОСТ 1476-93. |
Праворежущие | Леворежущие | Исполнение | L, мм | Число ножей z | ||
Обозначение фрез | Применяемость | Обозначение фрез | Применяемость | |||
3210-1243 | 3210-1244 | 1 | 90 | 4 | ||
3210-1643 | 3210-1644 | 2 | ||||
3210-1247 | 3210-1248 | 1 | 110 | |||
3210-1647 | 3210-1648 | 2 | ||||
3210-1251 | 3210-1252 | 1 | 130 | |||
3210-1253 | 3210-1254 | 6 | ||||

Обозначение фрез | Применяемость | Исполнение | L, мм | Обозначение фрез | Применяемость | Исполнение | L, мм |
3210-0607 | 1 | 40 | 3210-1011 | 2 | 60 | ||
3210-1007 | 2 | 3210-0613 | 1 | 90 | |||
3210-0611 | 1 | 60 | 3210-1013 | 2 |

Обозначение ножей | L, мм | Пластина по ГОСТ 13834-77 |
3210-1906/002 | 25 | 3001-0061 |
3210-1751/002 | 40 | 3001-0064 |
3210-1758/002 | 60 | 3001-0067 |
3210-1907/002 | 90 | 3001-0069 |
3210-1908/002 | 110 | 3001-0106 |
ИС МЕГАНОРМ: примечание. Взамен ГОСТ 13932-68 с 1 января 1982 года Постановлением Госстандарта СССР от 06.06.1980 N 2631 введен в действие ГОСТ 13932-80. |

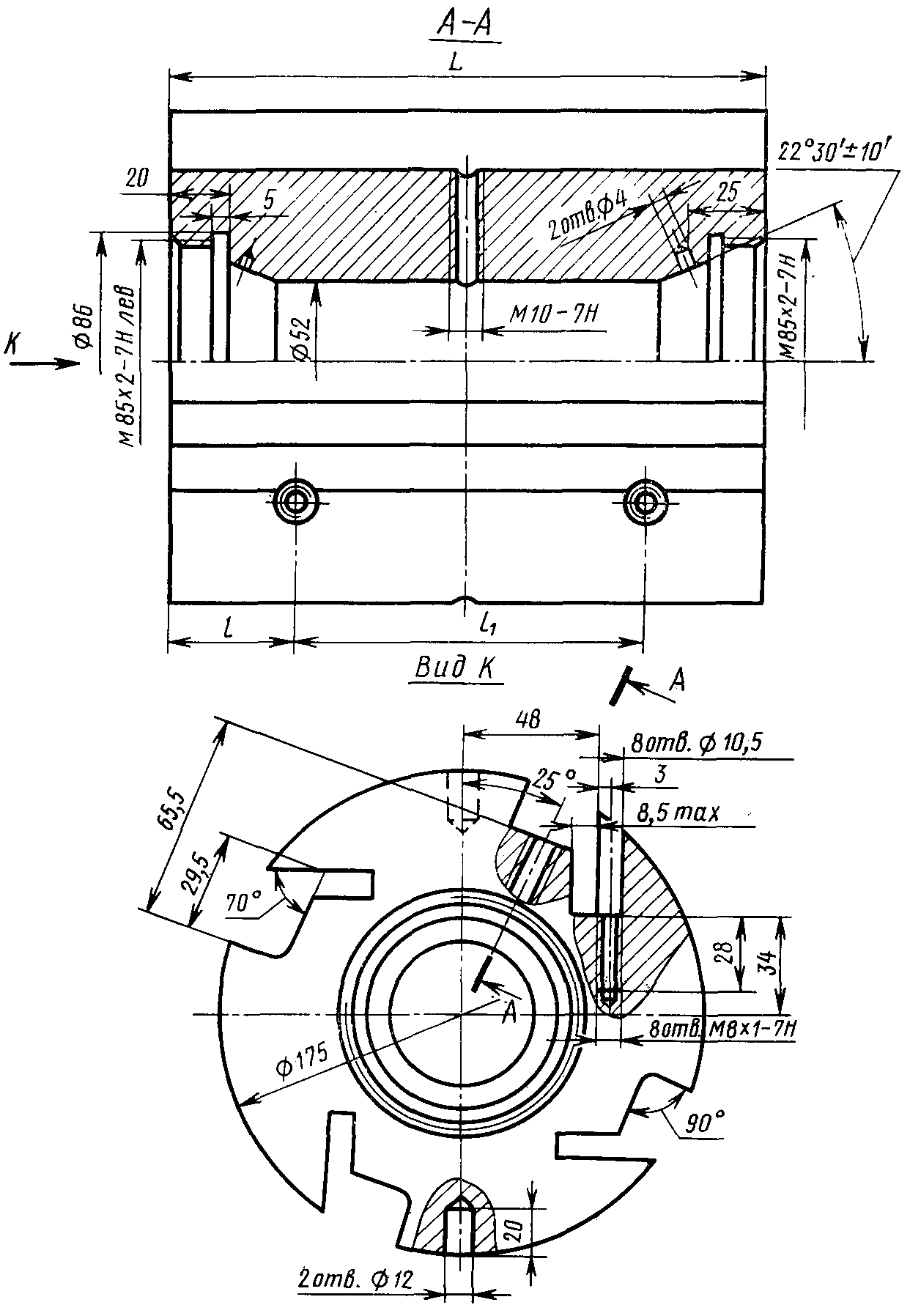
Обозначение корпусов | L | a | b | C | h | l | Число пазов | Количество отверстий в пазах n | |||||||||
3210-1701/001 | 76 | 40 | 23 | 6,0 | 16,0 | 29,5 | 17 | 24 | - | - | - | 20 | - | 12 | 16 | 2 | 2 |
3210-1705/001 | 96 | 60 | 28 | 7,5 | 26,0 | 29,5 | 21 | 29 | 15 | 30 | 15 | 30 | 4 | ||||
3210-1803/001 | 90 | 20 | 50 | 25 | 40 | ||||||||||||
3210-1805/001 | 110 | 70 | 30 | 50 | |||||||||||||
3210-1905/001 | 120 | 25 | 37 | 19,0 | 38,5 | 32,5 | 17 | 34 | 12,5 | - | 12 | 16 | 4 | ||||
3210-1707/001 | 40 | 34 | 18,0 | 29,5 | 20 | ||||||||||||
3210-1757/001 | 37 | 19,0 | 32,5 | ||||||||||||||
3210-1708/001 | 60 | 34 | 18,0 | 29,5 | 15 | 30 | 15 | 30 | 8 | ||||||||
3210-1758/001 | 37 | 19,0 | 32,5 | ||||||||||||||
3210-1910/001 | |||||||||||||||||
3210-1807/001 | 90 | 34 | 18,0 | 29,5 | 20 | 50 | 25 | 40 | |||||||||
3210-1811/001 | 42 | ||||||||||||||||
3210-1907/001 | 37 | 19,0 | 32,5 | 34 | |||||||||||||
3210-1911/001 | 42 | ||||||||||||||||
3210-1808/001 | 110 | 34 | 18,0 | 29,5 | 34 | 70 | 30 | 50 | |||||||||
3210-1908/001 | 37 | 19,0 | 32,5 | ||||||||||||||
3210-1813/001 | 130 | 34 | 18,0 | 29,5 | 42 | 12 | М10 - 7H | 98 | 35 | 60 | 35 | 60 | |||||
3210-1814/001 | 170 | 32,5 | 100 | 40 | 80 | ||||||||||||
3210-1817/001 | 135 | 40 | 38 | 17,0 | 46,0 | 29,5 | 21 | - | - | - | 20 | 30 | 12 | 16 | 4 | ||
3210-1917/001 | 41 | 25,5 | 32,5 | 17 | |||||||||||||
3210-1818/001 | 60 | 38 | 17,0 | 29,5 | 21 | 15 | 30 | 15 | 30 | 8 | |||||||
3210-1918/001 | 41 | 25,5 | 32,5 | 17 | |||||||||||||
3210-1819/001 | 90 | 38 | 17,0 | 29,5 | 21 | 20 | 50 | 25 | 40 | ||||||||
3210-1919/001 | 41 | 25,5 | 32,5 | 17 | |||||||||||||
3210-1827/001 | 110 | 38 | 17,0 | 29,5 | 21 | - | - | 70 | 30 | 50 | |||||||
3210-1927/001 | 41 | 25,5 | 32,5 | 17 | |||||||||||||
3210-1828/001 | 130 | 38 | 17,0 | 29,5 | 21 | 42 | 12 | М10 - 7H | 98 | 35 | 60 | 35 | 60 | ||||
3210-1829/001 | 170 | 100 | 40 | 80 | |||||||||||||
3210-1830/001 | 52 | ||||||||||||||||
3210-1831/001 | 260 | 40 | 180 | 50 | 160 | ||||||||||||
3210-1820/001 | 155 | 60 | 43 | 25,5 | 55,5 | 29,5 | 28 | 42 | - | - | - | 15 | 30 | 15 | 30 | ||
3210-1920/001 | 46 | 34,0 | 32,5 | 17 | |||||||||||||
3210-1821/001 | 110 | 43 | 25,0 | 29,5 | 28 | 12 | М10 - 7H | 98 | 20 | 70 | 30 | 50 | |||||
3210-1921/001 | 46 | 34,0 | 32,5 | 17 | |||||||||||||
3210-1822/001 | 175 | 40 | 48 | 34,0 | 65,5 | 29,5 | 28 | - | - | - | - | 12 | 16 | 4 | |||
3210-1922/001 | 51 | 43,0 | 32,5 | 17 | |||||||||||||
3210-1824/001 | 60 | 48 | 34,0 | 29,5 | 28 | 15 | 30 | 15 | 300 | 8 | |||||||
3210-1924/001 | 51 | 43,0 | 32,5 | 17 | |||||||||||||
3210-1826/001 | 90 | 48 | 34,0 | 29,5 | 28 | 20 | 50 | 25 | 40 | ||||||||
3210-1926/001 | 51 | 43,0 | 32,5 | 17 | |||||||||||||
3210-1832/001 | 110 | 48 | 34,0 | 29,5 | 28 | 12 | М10 - 7H | 98 | 70 | 30 | 50 |

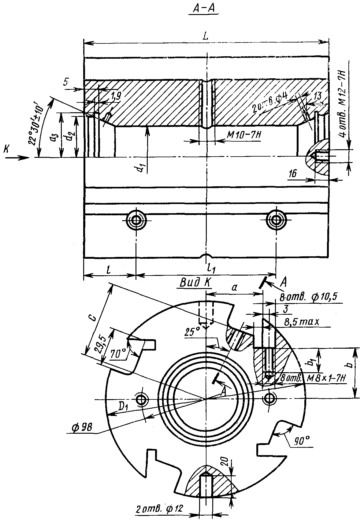
Обозначение корпуса | L | l | |
3210-0003/001 | 170 | 35 | 100 |
3210-0039/001 | 260 | 40 | 180 |

Обозначение корпуса | L | a | b | C | l | ||||||
3210-0108/001 | 135 | 170 | 38 | 17 | 46 | 21 | 42 | 58 | 61 | 35 | 100 |
3210-0125/001 | 25 | 17 | 52 | 68 | 71 | ||||||
3210-0126/001 | 260 | 40 | 180 | ||||||||
3210-0113/001 | 175 | 130 | 48 | 34 | 65 | 28 | 42 | 58 | 61 | 35 | 60 |
3210-0115/001 | 170 | 100 | |||||||||
3210-0127/001 | 47 | 68 | 71 | ||||||||
3210-0123/001 | 260 | 52 | 40 | 180 |

Обозначение корпусов | L | a | b | h | l | Количество отверстий в пазах n | ||
3210-1243/001 | 90 | 48 | 34 | 29,5 | 28 | 20 | 50 | 8 |
3210-1643/001 | 51 | 43 | 32,5 | 17 | ||||
3210-1247/001 | 110 | 48 | 34 | 29,5 | 28 | 70 | ||
3210-1647/001 | 51 | 43 | 32,5 | 17 | ||||
3210-1251/001 | 130 | 48 | 34 | 29,5 | 28 | 35 | 60 | |
3210-1253/001 | 12 |

Обозначение корпусов | L | a | b | h | l | Количество отверстий в пазах n | ||||
3210-0607/001 | 40 | 48 | 34 | 29,5 | 28 | 20 | - | 12 | 16 | 4 |
3210-1007/001 | 51 | 43 | 32,5 | 17 | ||||||
3210-0611/001 | 60 | 48 | 34 | 29,5 | 28 | 15 | 30 | 15 | 30 | 8 |
3210-1011/001 | 51 | 43 | 32,5 | 17 | ||||||
3210-0613/001 | 90 | 48 | 34 | 29,5 | 28 | 20 | 50 | 25 | 40 | |
3210-1013/001 | 51 | 43 | 32,5 | 17 |

L | l | Количество отверстий n | |
25 | 12,5 | - | 1 |
40 | 10,0 | 20 | 2 |
60 | 15,0 | 30 | |
90 | 20,0 | 50 | |
110 | 15,0 | 40 | 3 |
130 | 25,0 | ||
170 | 15,0 | 70 | |
260 | 25,0 | 4 |


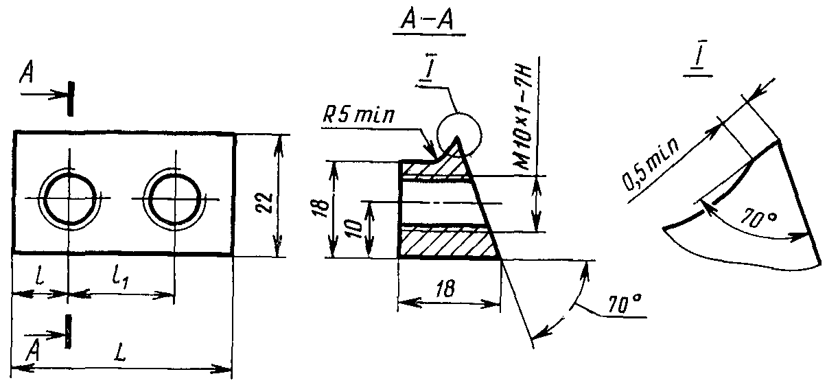
Ширина ножа | Исполнение фрез | l |
25 | 1 | 17 |
32 | 21 | |
2 | 23 | |
40 | 1 | 28 |

d | l | |
120 | 40 | 16 |
135 | 25 | |
50 | 20 | |
155 | 40 | 25 |
175 | 30 | |
45; 50 |



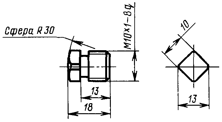
Тип фрез | d | D | l | |
3 | 40 | 56,2 | 46 | 16,5 |
45 | 66,2 | 52 | ||
2 и 3 | 50 | 56 | ||
4 | 52 | 59 | 15 |

Длина фрезы L | l | ||||
90 | 110 | 35 | 80 | 25 | 45 |
110 | 130 | 45 | 100 | 30 | 60 |
130 | 150 | 55 | 115 | 80 |

Посадочный диаметр фрез d | L | С | |||
40 | 62,3 | 21 | 54,7 | 1,30 | 28,2 |
45; 50 | 72,6 | 23 | 64,7 | 1,15 | 33,3 |
ИС МЕГАНОРМ: примечание. Постановлением Госстандарта СССР от 02.02.1994 N 160 с 1 января 1995 года введен в действие ГОСТ 1476-93. |
Обозначение фрез | Поз. 1 Корпус Кол. 1 | Поз. 2 Нож | Поз. 3 Клин | Поз. 4 Винт | Поз. 5 Винт регулировочный | Поз. 6 Винт стопорный | Поз. 7 Винт установочный по ГОСТ 1476-75 | |||||||
Обозначение | Обозначение по ГОСТ 6567-75 | Обозначение | Кол-во | Обозначение | Кол-во | Обозначение | Кол-во | Обозначение | Кол-во | Обозначение | Кол-во | Обозначение | Кол-во | |
3210-1701 | 3210-1701/001 | 2025-0172 | - | 2 | 40 | 2 | М10x1 | 4 | М8x1x17 | 2 | - | - | - | - |
3210-1705 | 3210-1705/001 | 2025-0176 | - | 60 | М8x1x21 | 4 | ||||||||
3210-1803 | 3210-1803/001 | 2025-0178 | - | 90 | ||||||||||
3210-1805 | 3210-1805/001 | 2025-0181 | - | 110 | 6 | |||||||||
3210-1906 | 3210-1906/001 | - | 3210-1906/002 | 4 | 25 | 4 | 4 | М8x1x23 | ||||||
3210-1707 | 3210-1707/001 | 2025-0175 | - | 40 | 8 | М8x1x21 | ||||||||
3210-1757 | 3210-1757/001 | - | 3210-1757/002 | М8x1x23 | ||||||||||
3210-1708 | 3210-1708/001 | 2025-0176 | - | 60 | М8x1x21 | 8 | ||||||||
3210-1758 | 3210-1758/001 | - | 3210-1758/002 | М8x1x23 | ||||||||||
3210-1807 | 3210-1807/001 | 2025-0178 | - | 90 | М8x1x21 | |||||||||
3210-1907 | 3210-1907/001 | - | 3210-1903/002 | М8x1x23 | ||||||||||
3210-1808 | 3210-1808/001 | 2025-0181 | - | 110 | 12 | М8x1x21 | ||||||||
3210-1908 | 3210-1908/001 | - | 3210-1908/002 | М8x1x23 | ||||||||||
3210-1910 | 3210-1910/001 | - | 3210-1758/002 | 60 | 8 | М10x16 | 1 | |||||||
3210-1811 | 3210-1811/001 | 2025-0178 | - | 90 | М8x1x21 | - | - | |||||||
3210-1911 | 3210-1911/001 | - | 3210-1907/002 | М8x1x23 | ||||||||||
3210-1813 | 3210-1813/001 | 2025-0182 | - | 130 | 12 | М8x1x21 | ||||||||
3210-1814 | 3210-1814/001 | 2025-0184 | - | 170 | М8x1x23 | |||||||||
3210-1817 | 3210-1817/001 | 2025-0193 | - | 40 | 8 | М8x1x28 | 4 | М10x25 | ||||||
3210-1917 | 3210-1917/001 | - | 3210-1757/002 | М8x1x23 | ||||||||||
3210-1818 | 3210-1818/001 | 2025-0194 | - | 60 | М8x1x28 | 8 | ||||||||
3210-1918 | 3210-1918/001 | - | 3210-1758/002 | М8x1x23 | ||||||||||
3210-1819 | 3210-1819/001 | 2025-0196 | - | 4 | 90 | 4 | М10x1 | М8x1x28 | ||||||
3210-1919 | 3210-1919/001 | - | 3210-1907/002 | М8x1x23 | ||||||||||
3210-1827 | 3210-1827/001 | 2025-0198 | - | 110 | 12 | М8x1x28 | ||||||||
3210-1927 | 3210-1927/001 | - | 3210-1908/002 | М8x1x23 | ||||||||||
3210-1828 | 3210-1828/001 | 2025-0199 | - | 130 | М8x1x28 | М10x25 | ||||||||
3210-1829 | 3210-1829/001 | 2025-0202 | - | 170 | ||||||||||
3210-1830 | 3210-1830/001 | 2025-0202 | - | М10x20 | ||||||||||
3210-1831 | 3210-1831/001 | 2025-0204 | - | 260 | 16 | |||||||||
3210-1820 | 3210-1820/001 | 2025-0194 | - | 60 | 8 | М10x25 | М10x12 | 1 | ||||||
3210-1920 | 3210-1920/001 | - | 3210-1758/002 | 60 | М8x1x23 | 1 | ||||||||
3210-1821 | 3210-1821/001 | 2025-0198 | - | 110 | 12 | М8x1x28 | ||||||||
3210-1921 | 3210-1921/001 | - | 3210-1908/002 | М8x1x23 | ||||||||||
3210-1822 | 3210-1822/001 | 2025-0193 | - | 40 | 8 | М8x1x28 | 4 | М10x30 | ||||||
3210-1922 | 3210-1922/001 | - | 3210-1751/002 | М8x1x23 | ||||||||||
3210-1824 | 3210-1824/001 | 2025-0194 | - | 60 | М8x1x28 | |||||||||
3210-1924 | 3210-1924/001 | - | 3210-1758/002 | М8x1x23 | 8 | |||||||||
3210-1826 | 3210-1826/001 | 2025-0196 | - | 90 | М8x1x28 | |||||||||
3210-1926 | 3210-1926/001 | - | 3210-1907/002 | М8x1x23 | ||||||||||
3210-1832 | 3210-1832/001 | 2025-0198 | - | 110 | 12 | М8x1x28 | ||||||||
Обозначение фрез | Поз. 1. Корпус Кол. 1 | Поз. 2. Нож Кол. 4 | Поз. 3. Клин Кол. 4 | Поз. 4 Винт | |
Обозначение | Обозначение по ГОСТ 6567-75 | Обозначение | Обозначение | Количество | |
3210-0003 | 3210-0003/001 | 2025-0202 | 170 | М10x1 | 12 |
3210-0039 | 3210-0039/001 | 2025-0204 | 260 | 16 | |
Обозначение фрез | Поз. 1. Корпус Кол. 1 | Поз. 2. Нож Кол. 4 | Поз. 3. Клин Кол. 4 | Поз. 4. Винт | Поз. 5. Винт регулировочный. Кол. 8 | |
Обозначение | Обозначение по ГОСТ 6567-75 | Обозначение | Обозначение | Количество | Обозначение | |
3210-0108 | 3210-0108/001 | 2025-0202 | 170 | М10x1 | 12 | М8x1x28 |
3210-0125 | 3210-0125/001 | 2025-0184 | М8x1x21 | |||
3210-0126 | 3210-0126/001 | 2025-0186 | 260 | 16 | ||
3210-0113 | 3210-0113/001 | 2025-0199 | 130 | 12 | М8x1x28 | |
3210-0115 | 3210-0115/001 | 2025-0202 | 170 | |||
3210-0127 | 3210-0127/001 | |||||
3210-0123 | 3210-0123/001 | 2025-0204 | 260 | 16 | ||
ИС МЕГАНОРМ: примечание. Постановлением Госстандарта СССР от 02.02.1994 N 160 с 1 января 1995 года введен в действие ГОСТ 1476-93. |
Обозначение фрез | Поз. 6. Винт стопорный Кол. 1 | Поз. 7. Винт установочный по ГОСТ 1476-75 | Поз. 8. Цанга укороченная Кол. 2 | Поз. 9. Кольцо упорное. Кол. 2 | |
Обозначение | Обозначение | Количество | Обозначение | Обозначение | |
3210-0108 | М10x25 | - | - | 40 | 40 |
3210-0125 | М10x20 | - | 50 | 50 | |
3210-0126 | - | ||||
3210-0113 | М10x30 | М10x12 | 1 | 40 | 40 |
3210-0115 | |||||
3210-0127 | 45 | 50 | |||
3210-0123 | 50 | ||||
Обозначение | Поз. 1. Корпус Кол. 1 | Поз. 2. Нож | Поз. 3. Клин | Поз. 4. Винт | Поз. 5. Винт регулировочный | Поз. 6. Винт стопорной | ||||||
Обозначение | Обозначение по ГОСТ 6567-75 | Обозначение | Количество | Обозначение | Количество | Обозначение | Количество | Обозначение | Количество | Обозначение | Количество | |
3210-1243 | 3210-1243/001 | 2025-0196 | - | 4 | 90 | 4 | М10x1 | 8 | М8x1x28 | 8 | М10x30 | 8 |
3210-1244 | ||||||||||||
3210-1643 | 3210-1643/001 | - | 3210-1907/002 | М8x1x13 | ||||||||
3210-1644 | ||||||||||||
3210-1247 | 3210-1247/001 | 2025-0198 | - | 40 | 12 | М8x1x28 | ||||||
3210-1248 | ||||||||||||
3210-1647 | 3210-1647/001 | - | 3210-1908/002 | М8x1x23 | ||||||||
3210-1648 | ||||||||||||
3210-1251 | 3210-1251/001 | 2025-0199 | - | 130 | М8x1x28 | |||||||
3210-1252 | ||||||||||||
3210-1253 | 3210-1253/001 | 6 | 6 | 18 | 12 | 12 | ||||||
3210-1254 | ||||||||||||
ИС МЕГАНОРМ: примечание. Постановлением Госстандарта СССР от 02.02.1994 N 160 с 1 января 1995 года введен в действие ГОСТ 1476-93. |
Обозначение фрез | Поз. 7 Винт установочный | Поз. 8 Гайка Кол. 1 | Поз. 9 Цанга Кол. 1 | |||
Обозначение по ГОСТ 1476-75 | Количество | Обозначение | Обозначение | |||
правая | левая | правая | левая | |||
3210-1243 | М10x30 | 8 | М52x1,5 | - | М52x1,5x90 | - |
3210-1244 | - | М52x1,5 лев | - | М52x1,5 лев x 90 | ||
3210-1643 | М52x1,5 | М52x1,5x90 | - | |||
3210-1644 | - | М52x1,5 лев | - | М52x1,5 лев x 90 | ||
3210-1247 | М52x1,5 | - | М52x1,5x110 | - | ||
3210-1248 | - | М52x1,5 лев | - | М52x1,5 лев x 110 | ||
3210-1647 | М52x1,5 | - | М52x1,5x110 | - | ||
3210-1648 | - | М52x1,5 лев | - | М52x1,5 лев x 110 | ||
3210-1251 | М52x1,5 | - | М52x1,5x130 | - | ||
3210-1252 | - | М52x1,5 лев | - | М52x1,5 лев x 130 | ||
3210-1253 | 12 | М52x1,5 | - | М52x1,5x130 | - | |
3210-1254 | - | М52x1,5 лев | - | М52x1,5 лев x 130 | ||
Обозначение фрез | Поз. 1. Корпус Кол. 1 | Поз. 2. Нож Кол. 4 | Поз. 3. Клин Кол. 4 | Поз. 5. Винт регулировочный | ||
Обозначение | Обозначение по ГОСТ 6567-75 | Обозначение | Обозначение | Обозначение | Количество | |
3210-0607 | 3210-0607/001 | 2025-0193 | - | 3210-1701/003 | М8x1x28 | 4 |
3210-1007 | 3210-1007/001 | - | 3210-1751/002 | М8x1x23 | ||
3210-0611 | 3210-0611/001 | 2025-0194 | - | 3210-1705/003 | М8x1x28 | 8 |
3210-1011 | 3210-1011/001 | - | 3210-1758/002 | М8x1x23 | ||
3210-0613 | 3210-0613/001 | 2025-0196 | - | 3210-1803/003 | М8x1x28 | |
3210-1013 | 3210-1013/001 | - | 3210-1907/002 | М8x1x23 | ||