Список изменяющих документов (в ред. Изменения N 1, утв. в январе 1983 г., Изменение N 2, утв. в январе 1987 г., Изменение N 3, утв. в феврале 1989 г., Изменение N 4, утв. в июле 1989 г.) |
Обозначение НТД, на который дана ссылка | Номер пункта | ||||
| |||||
ГОСТ 24717-94 | |||||
ТУ 2-034-225-87 | |||||
I группа | II группа | III группа | IV группа |
Стеновой брус размеры, мм: 600·400·250 600·300·250 | Простой фасон | Сложный фасон Брусья: влетов; протоков; простенков. | Особо сложный фасон Брусья: арок; экранов; заградительных устройств; угловые; протоков длиной свыше 1200 мм толщиной более 300 мм. |
Наименование показателя | Норма для изделий марок | ||||||||||||||
Бк-33Э | Бк-41Э | Бк-33 | Бк-37 | Бк-41 | |||||||||||
А | Б | В | А | Б | В | А | Б | В | А | Б | В | А | Б | В | |
1. Химический состав в рабочей части изделий, %: | |||||||||||||||
массовая доля ZrO2, не менее | 32,5 | 41,0 | 32,5 | 37,0 | 41,0 | ||||||||||
массовая доля SiO2, не более | 16 | 13 | 16 | 15,5 | 13 | ||||||||||
массовая доля Fe2O3, не более | 0,1 | 0,1 | 0,2 | 0,2 | 0,2 | ||||||||||
массовая доля плавней | |||||||||||||||
/Fe2O3 + TiO2 + CaO + MgO + Na2O + K2O/, не более | 1,6 | 1,5 | 2,5 | 2,5 | 2,5 | ||||||||||
в том числе Na2O, не более | 1,1 | 1,0 | 1,9 | 1,7 | 1,7 | ||||||||||
массовая доля Al2O3 | Остальное | ||||||||||||||
2. Кажущаяся плотность, кг/дм3, не менее, для изделий: | |||||||||||||||
ВП | 3,65 | 3,85 | 3,60 | 3,70 | 3,80 | ||||||||||
ПП | 3,50 | 3,70 | 3,50 | 3,60 | 3,70 | ||||||||||
ОП | 3,40 | 3,55 | 3,40 | 3,25 | 3,45 | 3,30 | 3,55 | 3,38 | |||||||
3. Открытые раковины на литниковой поверхности глубиной, мм, не более для изделий толщиной: | |||||||||||||||
до 100 мм | 20 | Не допускаются | 40 | ||||||||||||
св. 100 мм | 45 | 70 | |||||||||||||
4. Отклонение от прямого угла, мм, не более, для изделий: | |||||||||||||||
М | |||||||||||||||
размером до 250 мм | 2 | ||||||||||||||
размером св. 250 мм | 4 | ||||||||||||||
Н | 4 | ||||||||||||||
размером до 250 мм | 6 | ||||||||||||||
размеров св. 250 мм | 4 | ||||||||||||||
для сторон комплектов, мм | |||||||||||||||
5. Поверхностные посечки шириной не более 0,5 мм | Допускаются в виде сетки на площади не более 25% площади грани, соприкасающейся со стекломассой | Не регламентируются | |||||||||||||
6. Трещины шириной до 1 мм | Допускаются длиной не свыше 50% ширины каждой из смежной граней, если трещины пересекают ребро или 75% ширины поверхности, не пересекающих ребро | - | Допускаются длиной не свыше 50% ширины каждой из смежной граней, если трещины пересекают ребро или 75% ширины поверхности, не пересекающих ребро | - | Допускаются, кроме опоясывающих трещин, проходящих через две грани | ||||||||||
7. Трещины от закладных деталей шириной более 1 мм, длиной каждая более 100 мм в количестве | Не допускаются более 4 шт. | Не допускаются более 8 шт. | |||||||||||||
8. Остатки прибыли, выступающие на литниковой поверхности, высотой, мм, не более | 6 | 10 | |||||||||||||
9. Отклонение от плоскостности (выпуклость, вогнутость) шовных поверхностей изделий, изготавливаемых не в комплекте, мм, не более: | |||||||||||||||
М | 1,0 | 2,0 | 1,0 | 2,0 | 2,0 | 2,5 | 2,0 | 2,5 | 2,0 | 2,5 | |||||
Н | 2,0 | 3,0 | 2,0 | 3,0 | 3,0 | 3,0 | 3,0 | 3,0 | 3,0 | 3,0 | |||||
-5,0 | -5,0 | -5,0 | |||||||||||||
рабочих и литниковых | |||||||||||||||
сторон бруса Н | 6,0 | 12,5 | |||||||||||||
рабочих сторон М | 3,0 | - | |||||||||||||
10. Максимальная ширина шва между изделиями, входящими в состав комплектов, мм, не более | 1,0 | 2,0 | 1,0 | 2,0 | 1,5 | 2,5 | 3,0 | 1,5 | 2,5 | 3,0 | 1,5 | 2,5 | 3,0 | ||
11. Содержание стеклофазы, %, не более | 25 | 20 | 25 | 23 | 20 | ||||||||||
12. Скорость разъедания в объемных %, не более | 35 | 27 | 35 | 30 | 27 | ||||||||||
13. Сколы углов и ребер | Не допускаются более 2 шт., глубиной 28 мм на рабочей поверхности и более 3 шт. глубиной 35 мм на литниковой поверхности. Для видов А, В не допускаются более 2 шт. глубиной 40 мм на рабочей поверхности и не более 2 шт. глубиной 60 мм на литниковой поверхности. | ||||||||||||||
14. Поры на рабочей поверхности изделий, соприкасающихся со стекломассой | Допускаются не более 10 шт. диаметром не более 5 мм на 1000 мм2 поверхности | Не регламентируются | |||||||||||||
15. Разность цветовых оттенков рабочей поверхности изделия | Не допускается | Не регламентируется | |||||||||||||
16. Выделение пузырей из изделий, соприкасающихся со стекломассой шт., не более: | Не регламентируется | ||||||||||||||
диаметром более 0,1 мм | 10 | 5 | |||||||||||||
диаметром менее 0,1 мм | 50 | 25 | |||||||||||||
17. Углубления глубиной до 15 мм не более 20% площади на рабочей и литниковой гранях изделий | Не регламентируются | ||||||||||||||
18. Пригар формовочной смеси на рабочих и шовных поверхностях | Не допускается | ||||||||||||||
Объем партии, шт. | Ступени контроля | Объем одной выборки, шт. | Объем в двух выборках, шт. | Приемочное число | Браковочное число |
До 15 | Первая | 2 | 4 | 0 | 2 |
Вторая | 2 | 1 | 2 | ||
16 - 25 | Первая | 3 | 6 | 0 | 2 |
Вторая | 3 | 1 | 2 | ||
26 - 50 | Первая | 5 | 10 | 0 | 3 |
Вторая | 5 | 3 | 4 | ||
51 - 90 | Первая | 8 | 16 | 1 | 4 |
Вторая | 8 | 4 | 5 | ||
91 - 150 | Первая | 13 | 26 | 2 | 5 |
Вторая | 13 | 6 | 7 | ||
151 - 280 | Первая | 20 | 40 | 3 | 7 |
Вторая | 20 | 8 | 9 | ||
281 - 500 | Первая | 32 | 64 | 5 | 9 |
Вторая | 32 | 12 | 13 |

ИС МЕГАНОРМ: примечание. Взамен ГОСТ 24717-94 Приказом Ростехрегулирования от 30.03.2005 N 66-ст с 1 января 2006 года введен в действие ГОСТ 24717-2004. |
Термин | Определение |
1. Пригар формовочной смеси | Спекшаяся часть формовочной смеси, образующаяся на поверхности изделий и распространяющаяся в глубину изделия не более 0,5 мм вследствие взаимодействия расплава с материалом форм |
2. Шов между изделиями, входящими в комплект | Зазор между двумя соседними изделиями после их подгонки и сборки в комплект |
3. Рабочая поверхность огнеупорного изделия. Рабочая поверхность | Поверхность, обращенная к печному пространству, противоположная литниковой поверхности |
4. Литниковая поверхность огнеупорного изделия. Литниковая поверхность | Поверхность огнеупорного изделия, на которой расположено отверстие заливки расплава |
5. Открытая раковина литого огнеупорного изделия. Открытая раковина | Полость, образующаяся в литом огнеупорном изделии вследствие кристаллизации расплава |
6. Посечка огнеупорного изделия. Посечка. | Дефект на огнеупорном изделии в виде трещины шириной до 0,5 мм |
7. Отжиг литого огнеупорного изделия | Операция заключается в постепенном охлаждении изделия для частичного снятия напряжения |
8. Толщина огнеупорного изделия | Расстояние от литниковой поверхности до рабочей поверхности огнеупорного изделия |
9. Поры на рабочей поверхности | Дефект на рабочей поверхности в виде мелких углублений, образованных газовыделением при усадке расплава |
10. Углубления | Литейный дефект на рабочей и литниковой гранях, выявляющийся при механической обработке |
Длина сечений минералов в единицах делений окулярмикрометра | Общая длина сечений шлифа | ||
Корунд | Стеклофаза | Остальные минералы и пустоты | |



Чертеж | Размеры, мм | Масса, кг, при ![]() | Обозначения | |||
A | B | C | по атласу Гипростекло | по каталогу ЩЗЭПО | ||
![]() | 600 | 400 | 250 | 210 | 3228-52 ----------- ТТ1-11 | Б-1 |
600 | 300 | 250 | 158 | 3228-52 ----------- ТТ1-8 | Б-2 | |
Чертеж | Размеры, мм | Масса, кг, при ![]() | Обозначения | |||
A | B | C | по атласу Гипростекло | по каталогу ЩЗЭПО | ||
![]() | 400 | 550 | 480 | 180 | Б-42 | |
600 | 497 | 191 | Б-84 | |||
500 | 397 | 156 | 3228-52 ---------- ТТ1-21 | Б-85 | ||
400 | 297 | 121 | 3228-52 ---------- ТТ1-20 | Б-86 | ||
300 | 197 | 86 | Б-87 | |||
500 | 400 | 320 | 189 | Б-43 | ||
400 | 330 | 193 | Б-56 | |||
300 | 197 | 131 | Б-76 | |||
400 | 297 | 183 | Б-77 | |||
500 | 397 | 236 | Б-78 | |||
600 | 497 | 288 | Б-88 | |||
600 | 490 | 360 | 223 | Б-200 | ||
480 | 330 | 219 | Б-201 | |||
310 | 230 | 142 | Б-235 | |||
Чертеж | Размеры, мм | Масса, кг, при ![]() | Обозначения | |||
A | B | C | по атласу Гипростекло | по каталогу ЩЗЭПО | ||
![]() | 900 | 300 | 300 | 283 | Б-191 | |
800 | 600 | 250 | 420 | Б-12 | ||
500 | 250 | 350 | Б-182 | |||
700 | 400 | 300 | 294 | Б-189 | ||
600 | 600 | 250 | 315 | Б-13 | ||
400 | 300 | 252 | Б-3 | |||
400 | 150 | 156 | Б-231 | |||
300 | 200 | 127 | Б-248 | |||
300 | 300 | 189 | Б-187 | |||
500 | 500 | 400 | 350 | Б-186 | ||
400 | 400 | 280 | Б-7 | |||
400 | 300 | 210 | Б-6 | |||
400 | 250 | 175 | Б-269 | |||
300 | 300 | 158 | Б-5 | |||
300 | 250 | 132 | Б-4 | |||
250 | 200 | 87 | Б-17 | |||
200 | 200 | 70 | Б-16 | |||
350 | 400 | 250 | 122 | Б-285 | ||
300 | 250 | 92 | Б-284 | |||
300 | 300 | 300 | 94 | Б-179 | ||
Чертеж | Размеры, мм | Масса, кг, при ![]() | Обозначения | |||
A | B | C | по атласу Гипростекло | по каталогу ЩЗЭПО | ||
![]() | 420 | 570 | 450 | 429 | 3228-52 ----------- ТТ1-366 | Б-34 |
![]() | 250 | 330 | 270 | 158 | 3228-52 ----------- ТТ1-366 | Б-116 |
250 | 540 | 440 | 257 | 3228-52 ----------- ТТ1-339 | Б-116 "г" | |
320 | 400 | 160 | 188 | 3228-52 ----------- ТТ1-338 | Б-137 | |
320 | 600 | 360 | 322 | 3228-52 ----------- ТТ1-340 | Б-89 | |
![]() | 320 | 265 | 235 | 119 | 3228-52 ----------- ТТ1-341 | Б-115 |
![]() | 320 | 365 | 335 | 179 | 3228-52 ----------- ТТ1-342 | Б-149 |
465 | 435 | 239 | 3228-52 ----------- ТТ1-344 | Б-138 | ||
565 | 535 | 299 | 3228-52 ----------- ТТ1-346 | Б-148 | ||
665 | 635 | 359 | Б-297 | |||
![]() | 600 | 250 | 150 | 79 | Б-18 | |
170 | 90 | Б-19 | ||||
250 | 132 | Б-20 | ||||
420 | 220 | Б-122 | ||||
180 | 95 | Б-146 | ||||
160 | 84 | 3228-52 ----------- ТТ1-350 | Б-300 | |||
200 | 105 | 3228-52 ----------- ТТ1-351 | Б-206 | |||
370 | 194 | 3228-52 ----------- ТТ1-353 | Б-302 | |||
130 | 68 | 3228-52 ----------- ТТ1-349 | Б-299 | |||
![]() | 650 | 250 | 200 | 94 | Б-66 | |
400 | 200 | 148 | Б-147 | |||
![]() | 650 | 400 | 200 | 136 | Б-61 | |
200 | 200 | 68 | Б-64 | |||
250 | 200 | 85 | Б-65 | |||
![]() | 650 | 250 | 250 | 132 | 3228-52 ----------- ТТ1-368 | Б-311 |
400 | 190 | 3228-52 ----------- ТТ1-369 | Б-312 | |||
500 | 237 | 3228-52 ----------- ТТ1-370 | Б-313 | |||
![]() | 650 | 400 | 250 | 145 | 3228-52 ----------- ТТ1-371 | Б-314 |
500 | 182 | 3228-52 ----------- ТТ1-372 | Б-315 | |||
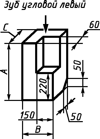
Брусья для простенков | ||||||
![]() | 380 | 240 | 300 | 96 | 3228-52 ----------- ТТ1-442 | Б-316 |
400 | 128 | 3228-52 ----------- ТТ1-443 | Б-317 | |||
430 | 300 | 172 | 3228-52 ----------- ТТ1-444 | Б-351 | ||
400 | 229 | 3228-52 ----------- ТТ1-445 | Б-352 | |||
550 | 300 | 219 | 3228-52 ----------- ТТ1-446 | Б-318 | ||
400 | 293 | 3228-52 ----------- ТТ1-447 | Б-319 | |||
![]() | 550 | 250 | 250 | 109 | 3228-52 ----------- ТТ1-448 | Б-320 |
350 | 150 | 3228-52 ----------- ТТ1-450 | Б-321 | |||
![]() | 550 | 250 | 250 | 109 | 3228-52 ----------- ТТ1-449 | Б-322 |
350 | 3228-52 ----------- ТТ1-451 | Б-323 | ||||
![]() | 550 | 200 | 250 | 79 | 3228-52 ----------- ТТ1-452 | Б-324 |
550 | 250 | 3228-52 ----------- ТТ1-453 | Б-325 | |||
200 | 200 | 57 | Б-63 | |||
250 | 97 | Б-71 | ||||
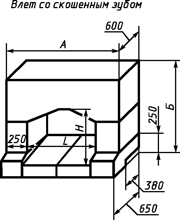
![]() | 800 | 400 | 250 | 280 | Б-274 | |
900 | 300 | 250 | 236 | Б-233 | ||
1000 | 400 | 250 | 350 | Б-106 | ||
1200 | 400 | 250 | 420 | Б-8 | ||
1200 | 300 | 250 | 315 | Б-232 | ||
800 | 300 | 300 | 252 | 3228-52 ----------- ТТ1-161 | Б-348 | |
800 | 400 | 300 | 336 | 3228-52 ----------- ТТ1-162 | Б-184 | |
800 | 500 | 300 | 420 | 3228-52 ----------- ТТ1-163 | Б-193 | |
1000 | 300 | 300 | 315 | 3228-52 ----------- ТТ1-164 | Б-178 | |
1000 | 400 | 300 | 420 | 3228-52 ----------- ТТ1-165 | Б-11 | |
1000 | 500 | 300 | 525 | 3228-52 ----------- ТТ1-166 | Б-326 | |
1100 | 400 | 300 | 462 | Б-10 | ||
1200 | 300 | 300 | 378 | 3228-52 ----------- ТТ1-168 | Б-194 | |
1200 | 400 | 300 | 504 | 3228-52 ----------- ТТ1-170 | Б-9 | |
1200 | 500 | 300 | 630 | 3228-52 ----------- ТТ1-172 | Б-349 | |
Чертеж | Размеры, мм | Обозначения | |||||
L | H | H1 | А | Б | по атласу Гипростекло | по каталогу ЩЗЭПО | |
![]() | 800 | 230 | 280 | 1300 | 800 | 3228-52 ----------- ТТ1-207 | |
350 | 400 | 920 | 3228-52 ----------- ТТ1-208 | ||||
470 | 520 | 1040 | 3228-52 ----------- ТТ1-209 | ||||
1000 | 230 | 280 | 1500 | 800 | 3228-52 ----------- ТТ1-210 | ||
350 | 400 | 920 | 3228-52 ----------- ТТ1-211 | ||||
470 | 520 | 1040 | 3228-52 ----------- ТТ1-212 | ||||
1200 | 275 | 325 | 1700 | 800 | 3228-52 ----------- ТТ1-213 | ||
395 | 445 | 920 | 3228-52 ----------- ТТ1-214 | ||||
515 | 565 | 1040 | 3228-52 ----------- ТТ1-215 | ||||
![]() | 1400 | 300 | 350 | 1900 | 800 | 3228-52 ----------- ТТ1-216 | |
420 | 470 | 920 | 3228-52 ----------- ТТ1-217 | ||||
540 | 590 | 1040 | 3228-52 ----------- ТТ1-218 | ||||
1600 | 300 | 350 | 2100 | 800 | 3228-52 ----------- ТТ1-219 | ||
420 | 470 | 920 | 3228-52 ----------- ТТ1-220 | ||||
540 | 590 | 1040 | 3228-52 ----------- ТТ1-221 | ||||
1800 | 300 | 350 | 2300 | 800 | 3228-52 ----------- ТТ1-222 | ||
420 | 470 | 920 | 3228-52 ----------- ТТ1-223 | ||||
540 | 590 | 1040 | 3228-52 ----------- ТТ1-224 | ||||
2000 | 300 | 350 | 2500 | 800 | 3228-52 ----------- ТТ1-225 | ||
420 | 470 | 920 | 3228-52 ----------- ТТ1-226 | ||||
540 | 590 | 1040 | 3228-52 ----------- ТТ1-227 | ||||
2200 | 300 | 440 | 2700 | 920 | 3228-52 ----------- ТТ1-229 | ||
510 | 560 | 1040 | 3228-52 ----------- ТТ1-230 | ||||
![]() | 800 | 330 | 1300 | 800 | 3228-52 ----------- ТТ1-231 | ||
450 | 920 | 3228-52 ----------- ТТ1-232 | |||||
570 | 1040 | 3228-52 ----------- ТТ1-233 | |||||
1000 | 330 | 1500 | 800 | 3228-52 ----------- ТТ1-234 | |||
450 | 920 | 3228-52 ----------- ТТ1-235 | |||||
570 | 1040 | 3228-52 ----------- ТТ1-236 | |||||
1200 | 375 | 1700 | 800 | 3228-52 ----------- ТТ1-237 | |||
495 | 920 | 3228-52 ----------- ТТ1-238 | |||||
615 | 1040 | 3228-52 ----------- ТТ1-239 | |||||
1400 | 400 | 1900 | 800 | 3228-52 ----------- ТТ1-240 | |||
520 | 920 | 3228-52 ----------- ТТ1-241 | |||||
640 | 1040 | 3228-52 ----------- ТТ1-242 | |||||
![]() | 1600 | 400 | 2100 | 800 | 3228-52 ----------- ТТ1-243 | ||
520 | 920 | 3228-52 ----------- ТТ1-244 | |||||
640 | 1040 | 3228-52 ----------- ТТ1-245 | |||||
1800 | 400 | 2300 | 800 | 3228-52 ----------- ТТ1-246 | |||
520 | 920 | 3228-52 ----------- ТТ1-247 | |||||
640 | 1040 | 3228-52 ----------- ТТ1-248 | |||||
2000 | 400 | 2500 | 800 | 3228-52 ----------- ТТ1-249 | |||
520 | 920 | 3228-52 ----------- ТТ1-250 | |||||
640 | 1040 | 3228-52 ----------- ТТ1-251 | |||||
2200 | 490 | 2700 | 920 | 3228-52 ----------- ТТ1-253 | |||
610 | 1040 | 3228-52 ----------- ТТ1-254 | |||||
Чертеж | Размеры, мм | Обозначения | |||
H | L | A | по атласу Гипростекло | по каталогу ЩЗЭПО | |
![]() | 800 | 600 | 100 | 3228-52 ----------- ТТ1-402 | |
800 | 100 | 3228-52 ----------- ТТ1-403 | |||
900 | 200 | 3228-52 ----------- ТТ1-404 | |||
1000 | 100 | 3228-52 ----------- ТТ1-405 | |||
1100 | 100 | 3228-52 ----------- ТТ1-406 | |||
1200 | 100 | 3228-52 ----------- ТТ1-407 | |||
1300 | 100 | 3228-52 ----------- ТТ1-408 | |||
920 | 600 | 100 | 3228-52 ----------- ТТ1-409 | ||
800 | 100 | 3228-52 ----------- ТТ1-410 | |||
900 | 200 | 3228-52 ----------- ТТ1-411 | |||
![]() | 920 | 1000 | 100 | 3228-52 ----------- ТТ1-412 | |
1100 | 100 | 3228-52 ----------- ТТ1-413 | |||
1200 | 100 | 3228-52 ----------- ТТ1-414 | |||
1300 | 100 | 3228-52 ----------- ТТ1-415 | |||
1040 | 600 | 100 | 3228-52 ----------- ТТ1-416 | ||
800 | 100 | 3228-52 ----------- ТТ1-417 | |||
900 | 200 | 3228-52 ----------- ТТ1-418 | |||
1000 | 100 | 3228-52 ----------- ТТ1-419 | |||
1100 | 100 | 3228-52 ----------- ТТ1-420 | |||
1200 | 100 | 3228-52 ----------- ТТ1-421 | |||
1300 | 100 | 3228-52 ----------- ТТ1-422 | |||
![]() | 1160 | 600 | 100 | 3228-52 ----------- ТТ1-423 | |
800 | 100 | 3228-52 ----------- ТТ1-424 | |||
900 | 200 | 3228-52 ----------- ТТ1-425 | |||
1000 | 100 | 3228-52 ----------- ТТ1-426 | |||
1100 | 100 | 3228-52 ----------- ТТ1-427 | |||
1200 | 100 | 3228-52 ----------- ТТ1-428 | |||
1300 | 100 | 3228-52 ----------- ТТ1-429 | |||
![]() | 1280 | 600 | 100 | 3228-52 ----------- ТТ1-430 | |
800 | 100 | 3228-52 ----------- ТТ1-431 | |||
900 | 200 | 3228-52 ----------- ТТ1-432 | |||
1280 | 1000 | 100 | 3228-52 ----------- ТТ1-433 | ||
1100 | 100 | 3228-52 ----------- ТТ1-434 | |||
1200 | 100 | 3228-52 ----------- ТТ1-435 | |||
1300 | 100 | 3228-52 ----------- ТТ1-436 | |||
![]() | 800 | 600 | 3228-52 ----------- ТТ1-437 | ||
920 | 3228-52 ----------- ТТ1-438 | ||||
1040 | 3228-52 ----------- ТТ1-439 | ||||
1160 | 3228-52 ----------- ТТ1-440 | ||||
1280 | 3228-52 ----------- ТТ1-441 | ||||
Чертеж | Размеры, мм | Масса, кг, при ![]() | Обозначения | ||||
L | H | h | R | по атласу Гипростекло | по каталогу ЩЗЭПО | ||
![]() | 9100 | 865 | 500 | 12420 | 8956 | 3228-52 ----------- ТТ1-472 | |
7900 | 750 | 500 | 10780 | 7882 | 3228-52 ----------- ТТ1-473 | ||
7300 | 690 | 500 | 9960 | 7338 | 3228-52 ----------- ТТ1-474 | ||
6200 | 590 | 500 | 8460 | 6355 | 3228-52 ----------- ТТ1-475 | ||
5200 | 490 | 500 | 7100 | 5463 | 3228-52 ----------- ТТ1-476 | ||
4200 | 400 | 500 | 5730 | 4567 | 3228-52 ----------- ТТ1-477 | ||
3200 | 300 | 500 | 4370 | 3673 | 3228-52 ----------- ТТ1-478 | ||
6700 | 635 | 500 | 9150 | 6805 | 3228-52 ----------- ТТ1-480 | ||
2200 | 210 | 500 | 3000 | 2775 | 3228-52 ----------- ТТ1-479 | ||
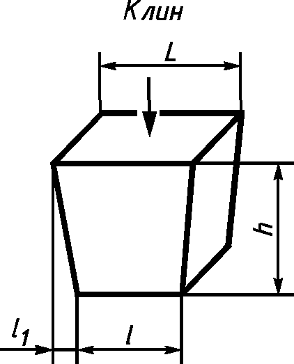
Чертеж | Размеры, мм | Масса, кг, при ![]() | Обозначения | |||||
Пролет | L | l | l1 | h | по атласу Гипростекло | по каталогу ЩЗЭПО | ||
![]() | 9100 | 462 | 444 | 9 | 500 | 396 | 3228-52 ----------- ТТ1-472 | |
7900 | 498 | 476 | 11 | 426 | 3228-52 ----------- ТТ1-473 | |||
7300 | 462 | 440 | 11 | 394 | 3228-52 ----------- ТТ1-474 | |||
6200 | 448 | 423 | 12,5 | 381 | 3228-52 ----------- ТТ1-475 | |||
5200 | 438 | 410 | 14 | 500 | 371 | 3228-52 ----------- ТТ1-476 | ||
4200 | 425 | 391 | 17 | 357 | 3228-52 ----------- ТТ1-477 | |||
3200 | 406 | 364 | 21 | 337 | 3228-52 ----------- ТТ1-478 | |||
2200 | 375 | 322 | 26,5 | 305 | 3228-52 ----------- ТТ1-479 | |||
![]() | 320 | 3228-52 ----------- ТТ1-469 | ||||||
![]() | 250 | 140 | 275 | 116 | Б-39 | |||
Чертеж | Размеры, мм | Масса, кг, при ![]() | Обозначения | |||
A | B | C | по атласу Гипростекло | по каталогу ЩЗЭПО | ||
![]() | 350 | 260 | 500 | 129 | Б-46 | |
![]() | 350 | 260 | 500 | 129 | Б-47 | |
Чертеж | Размеры, мм | Обозначения | Примечание | |||
H | h | h1 | по атласу Гипростекло | по каталогу ЩЗЭПО | ||
![]() | 8000 | 700 | 1000 | 401-1 ---------- ТТ3-17 | ||
6000 | 500 | 700 | А | |||
5200 | 500 | 700 | ТВ. 304-30 | |||
3500 | 700 | 1000 | 401-1 ---------- ТТ3-17 | 1/2 комплекса по чертежу 401-1 ---------- ТТ3-17 | ||
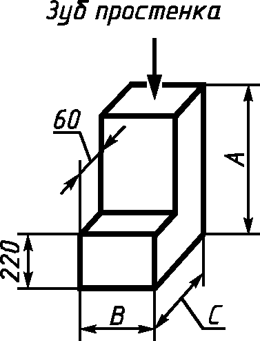
Чертеж | Размеры, мм | Масса, кг, при ![]() | Обозначения | ||||
h | A | B | C | по атласу Гипростекло | по каталогу ЩЗЭПО | ||
![]() | 500 | 460 | 370 | 363 | ТВ-010 | ||
600 | 538 | 450 | 515 | А1 | |||
700 | 530 | 460 | 606 | 401-1 ---------- ТТ3-18 | |||
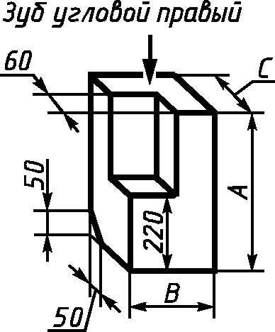
![]() | 700 | 530 | 465 | 565 | 609 | 401-1 ---------- ТТ3-19 | |
700 | 530 | 465 | 630 | 530 | 401-1 ---------- ТТ3-20 | ||
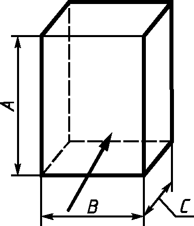
![]() | 1000 | 270 | 300 | 656 | 401-1 ---------- ТТ3-22 | ||
800 | 280 | 200 | 525 | А4 | |||
700 | 275 | 200 | 459 | ТВ-040 | |||
![]() | 500 | 600 | 500 | 394 | 3228-52 ---------- ТТ1-31 | Б-57 | |
300 | 197 | 3228-52 ---------- ТТ1-28 | Б-155 "а" | ||||
500 | 328 | 3228-52 ---------- ТТ1-30 | Б-155 | ||||
500 | 400 | 3228-52 ---------- ТТ1 | Б-58 | ||||
![]() | 1400 | 400 | 400 | 784 | 3228-52 ---------- ТТ1-177 | Б-328 | |
1200 | 672 | 3228-52 ---------- ТТ1-171 | Б-350 | ||||
1000 | 560 | Б-192 | |||||
1350 | 250 | 400 | 473 | Б-275 | |||
1400 | 300 | 400 | 588 | Б-294 | |||