Главная // Актуальные документы // ГОСТ (Государственный стандарт)СПРАВКА
Источник публикации
М.: ИПК Издательство стандартов, 1999
Примечание к документу
С 1 июля 2003 года до вступления в силу технических регламентов акты федеральных органов исполнительной власти в сфере технического регулирования носят рекомендательный характер и подлежат обязательному исполнению только в части, соответствующей целям, указанным в
пункте 1 статьи 46 Федерального закона от 27.12.2002 N 184-ФЗ.
Ограничение срока действия снято по Протоколу N 7-95 Межгосударственного совета по стандартизации, метрологии и сертификации ("ИУС", N 11, 1995).
Введен в действие с 1 января 1983 года.
Название документа
"ГОСТ 24830-81. Изделия огнеупорные бетонные. Ультразвуковой метод контроля качества"
(утв. Постановлением Госстандарта СССР от 15.06.1981 N 2940)
(ред. от 01.03.1996)
"ГОСТ 24830-81. Изделия огнеупорные бетонные. Ультразвуковой метод контроля качества"
(утв. Постановлением Госстандарта СССР от 15.06.1981 N 2940)
(ред. от 01.03.1996)
Утвержден и введен в действие
Постановлением Госстандарта СССР
от 15 июня 1981 г. N 2940.
МЕЖГОСУДАРСТВЕННЫЙ СТАНДАРТ
ИЗДЕЛИЯ ОГНЕУПОРНЫЕ БЕТОННЫЕ
УЛЬТРАЗВУКОВОЙ МЕТОД КОНТРОЛЯ КАЧЕСТВА
Concrete refractories.
Ultrasonic method of quality control
ГОСТ 24830-81
| | Список изменяющих документов (в ред. Изменения N 1, утв. в июне 1987 г., Изменения N 2, утв. в марте 1996 г.) | |
Дата введения
1 января 1983 года
1. Разработан и внесен Министерством черной металлургии СССР.
Разработчики: В.С. Турчанинов, А.И. Буракас, А.И. Узберг, В.Д. Кокшаров, Д.А. Коршунов, Г.А. Моисеев, Т.А. Вязникова, С.И. Ногин, М.И. Шлякцу, В.С. Голобородько.
2. Утвержден и введен в действие Постановлением Государственного комитета СССР по стандартам от 15.06.1981 N 2940.
Изменение N 2 принято Межгосударственным советом по стандартизации, метрологии и сертификации (Протокол N 8 от 12.10.1995).
За принятие проголосовали:
────────────────────────┬─────────────────────────────────────────
Наименование государства│ Наименование национального
│ органа по стандартизации
────────────────────────┼─────────────────────────────────────────
Республика Беларусь │Госстандарт Беларуси
Республика Казахстан │Госстандарт Республики Казахстан
Российская Федерация │Госстандарт России
Республика Таджикистан │Таджикгосстандарт
Туркменистан │Главная государственная
│инспекция Туркменистана
Украина │Госстандарт Украины
3. Введен впервые.
4. Ссылочные нормативно-технические документы
────────────────────────────────────────┬─────────────────────────
Обозначение НТД, на который дана ссылка │ Номер пункта
│
────────────────────────────────────────┼─────────────────────────
ИС МЕГАНОРМ: примечание.
Взамен ГОСТ 7502-89 Постановлением Госстандарта РФ от
27.07.1999 N 220-ст с 1 июля 2000 года введен в действие
5. Ограничение срока действия снято по Протоколу N 7-95 Межгосударственного совета по стандартизации, метрологии и сертификации (ИУС 11-95).
6. Переиздание (май 1999 г.) с Изменениями N 1, 2, утвержденными в июне 1987 г., марте 1996 г. (ИУС 10-87, 6-96).
Настоящий стандарт устанавливает ультразвуковой импульсный метод контроля качества огнеупорных бетонных изделий.
Метод основан на определении скорости распространения ультразвука в изделии, характеризующей его качество.
Стандарт не распространяется на бетонные изделия в металлических кассетах.
1.1. Для измерения времени распространения ультразвука в изделиях применяют ультразвуковые импульсные приборы типов УК-10П, УК-10ПМ, технические характеристики которых приведены в
Приложении 1.
Допускается применение других ультразвуковых импульсных приборов с электронно-лучевой трубкой или с автоматическим нормированием амплитуды первого вступления сигнала, имеющих аналогичные основные технические характеристики и комплектуемых электроакустическими преобразователями с резонансной частотой от 25 до 60 кГц.
(Измененная редакция, Изм. N 1, 2).
| | ИС МЕГАНОРМ: примечание. Взамен ГОСТ 7502-89 Постановлением Госстандарта РФ от 27.07.1999 N 220-ст с 1 июля 2000 года введен в действие ГОСТ 7502-98. | |
1.2. Для измерения базы прозвучивания применяют металлическую линейку (
ГОСТ 427), штангенциркуль (
ГОСТ 166), рулетку (ГОСТ 7502) или другой измерительный инструмент с ценой деления 1 мм.
2. ПОДГОТОВКА И ПРОВЕДЕНИЕ ИСПЫТАНИЙ
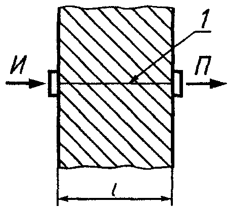
2.1. Измерение времени распространения ультразвука в изделии проводят способом сквозного соосного прозвучивания (черт. 1).
| | ИС МЕГАНОРМ: примечание. В официальном тексте документа, видимо, допущена опечатка: не указан номер чертежа. Возможно, имеется в виду чертеж 1. | |
И, П - излучающий и приемный
электроакустические преобразователи;
1 - линия прозвучивания; l - база прозвучивания
2.2. Прозвучивание изделий, изготовленных способом вибрирования и трамбования, осуществляют в направлении, перпендикулярном направлению уплотнения (укладки) бетонной смеси по минимальной базе прозвучивания изделий.
Прозвучивание литых изделий допускается проводить в любом направлении.
2.3. Количество контролируемых участков на одном изделии должно быть не менее пяти. На каждом контролируемом участке проводят одно измерение.
Контролируемые участки должны располагаться на трех уровнях, один из которых проходит через центральную часть изделия (черт. 2). Расстояние между контролируемыми участками, находящимися на одном уровне, должно быть не более 2 м (
черт. 3). Расстояние от ребра изделий до точки установки электроакустического преобразователя должно быть не менее 50 мм.

,

,

,

,

- точки установки излучающего
электроакустического преобразователя;

,

,

,

,

- точки установки приемного
электроакустического преобразователя
Черт. 2
1, 2, 3 - соответственно, верхний, средний
и нижний уровни расположения контролируемых участков
2.4. Прозвучивание армированных изделий осуществляют в направлении, перпендикулярном оси арматурного стержня.
Допускается проводить прозвучивание параллельно оси арматурного стержня, но при этом расстояние между линией прозвучивания и осью стержня должно быть не менее 100 мм.
2.5. Поверхность изделия в зонах контакта с электроакустическими преобразователями не должна иметь отслоений, раковин, выбоин диаметром более 6 мм, трещин и должна быть очищена от пыли и других загрязнений.
2.6. Для обеспечения надежного акустического контакта между поверхностями электроакустических преобразователей и контролируемого изделия наносят тонкий слой солидола
(ГОСТ 4366), технического вазелина (ГОСТ 5774) или другие вязкие материалы.
2.7. Измерение базы прозвучивания изделий с плоскопараллельными поверхностями проводят на верхней грани изделия по линии, лежащей в вертикальном сечении, проходящем через линию прозвучивания. Измерение базы прозвучивания изделий другой формы проводят непосредственно по линии прозвучивания.
2.8. База прозвучивания должна быть не менее 100 мм.
2.9. Относительная погрешность измерения базы прозвучивания не должна превышать +/- 1,0%.
2.10. Измерение времени распространения ультразвука должно проводиться при температуре поверхности изделия выше 0 °C.
2.11. Измерение времени распространения ультразвука на участках изделий проводят при нормированной амплитуде первого вступления принятого сигнала по началу его фронта.
2.12. Относительная погрешность измерений времени распространения ультразвукового импульса не должна превышать +/- 2,0%.
2.13. Результаты измерений заносят в протокол испытаний, приведенный в
Приложении 2.
2.14. Нормативное значение скорости распространения ультразвука для огнеупорных бетонных изделий определяют экспериментально в соответствии с
Приложением 3.
(Введен дополнительно, Изм. N 2).
3.1. Скорость распространения ультразвука (

) на контролируемом участке изделия, м/с, вычисляют по формуле

, (1)
где l - база прозвучивания, мм;

- время распространения ультразвука, мкс.
Результат округляют до десятков целого числа.
3.2. Относительная погрешность определения скорости распространения ультразвука на участке изделия не должна превышать +/- 2,5 %.
3.3. Среднее арифметическое значение скорости распространения ультразвука (

) в изделии, м/с, вычисляют по формуле

, (2)
где

- скорость распространения ультразвука на i-м участке, м/с;
n - количество контролируемых участков изделия.
За результат испытания принимают среднее арифметическое значение скорости распространения ультразвука, измеренной на отдельных участках изделий.
3.4. Максимальное отклонение значений скорости распространения ультразвука на контролируемых участках от среднего арифметического значения ее в изделии (

) вычисляют по формуле

. (3)
Относительное максимальное отклонение скорости распространения ультразвука (

) вычисляют по формуле

. (4)
За результат испытания принимают максимальное относительное отклонение значения скорости от среднего арифметического значения.
3.5. Среднее арифметическое значение скорости распространения ультразвука изделий каждого типоразмера в партии (

) вычисляют по формуле

, (5)
где

- скорость распространения ультразвука в j-м изделии, м/с;
m - количество проконтролированных изделий в партии.
Справочное
ТЕХНИЧЕСКИЕ ХАРАКТЕРИСТИКИ УЛЬТРАЗВУКОВЫХ ПРИБОРОВ
ТИПОВ УК-10П, УК-10ПМ
─────────────────────────────────┬─────────────────────────────────────────
Характеристика │ Значение
─────────────────────────────────┼─────────────────────────────────────────
Максимальная база │ 3
прозвучивания, м, не более │
Диапазон измерения времени │ В ручном режиме 5,3 - 5600;
распространения ультразвука, мкс │ в автоматическом режиме 1,0 - 8999
Режим измерений │ Автоматический, ручной, автоматического
│сравнения времени распространения (АСВР)
Система отсчета │ Цифровая
Электрическое питание │ Сетевое и аккумуляторное
Масса, кг │ 8
Габаритные размеры, мм │ 317 x 150 x 345
Завод-изготовитель │ Завод "Электроточприбор", г. Кишинев
(Измененная редакция, Изм. N 1, 2).
Рекомендуемое
ФОРМА ПРОТОКОЛА ОПРЕДЕЛЕНИЯ СКОРОСТИ
РАСПРОСТРАНЕНИЯ УЛЬТРАЗВУКА В ИЗДЕЛИЯХ
──────┬─────┬─────┬─────┬─────┬──────┬───────┬────────┬─────────┬───────────────┬────────────────────────────────
│ │ │ │ │ │ │ │ │ и │ и
Наиме-│Номер│Дата │Дата │Номер│База │Время │Скорость│Средняя │v - v ,│ Дельта v
нова- │пар- │изго-│испы-│конт-│про- │распро-│распро- │скорость │ узк, i узк │ и узк
ние и │тии │тов- │тания│роли-│звучи-│стране-│стране- │распро- │ │дельта v = ----------- x 100%
марка │ │ления│ │руе- │вания,│ния │ния │странения│ м/с │ узк и
изде- │ │ │ │мого │мм │ультра-│ультра- │ультра- │ │ v
лий │ │ │ │учас-│ │звука, │звука, │звука, │ │ узк
│ │ │ │тка │ │мкс │м/с │ м/с │ │
│ │ │ │ │ │ │ │ │ │
──────┼─────┼─────┼─────┼─────┼──────┼───────┼────────┼─────────┼───────────────┼────────────────────────────────
│ │ │ │ │ │ │ │ │ │
Обязательное
ОПРЕДЕЛЕНИЕ НОРМАТИВНОГО ЗНАЧЕНИЯ
СКОРОСТИ РАСПРОСТРАНЕНИЯ УЛЬТРАЗВУКА
1. Определение нормативного значения скорости распространения ультразвука проводят при ультразвуковом контроле качества огнеупорных бетонных изделий.
2. Нормативное значение скорости распространения ультразвука определяют на основании анализа проведенных испытаний огнеупорных бетонных изделий. Общее число партий n >= 100 (не менее 10 изделий от каждой партии) <*>.
--------------------------------
<*> При ограниченном объеме выпуска продукции допускается нормативное значение скорости распространения ультразвука определять на не менее 200 изделий.
За нормативное значение скорости распространения ультразвука (

), м/с, принимают нижнее значение доверительного интервала распределения Стьюдента по формуле

, (1)
где 1,96 - критерий Стьюдента при доверительной вероятности P = 95%;
n - число партий;

и S - среднее арифметическое значение скорости распространения ультразвука, м/с, и среднее квадратическое отклонение генеральной совокупности, определяют по формулам:

, (2)

, (3)
где m - число образцов в партии;

и

- среднее арифметическое значение скорости распространения ультразвука, м/с, и среднее квадратическое отклонение от партии, определяют по формулам:

, (4)

, (5)
где k - число измерений в изделии;

и

- среднее арифметическое значение скорости распространения ультразвука, м/с, и среднее квадратическое отклонение для j изделий i-й партии, определяют по формулам:

, (6)

, (7)
где f - число измерений на участке.
Значение

и

необходимо проверить на однородность по критерию Кохрена

, (8)
где

- максимальная дисперсия j-го изделия в i-й партии.
При заданном уровне значимости по таблицам находят квантиль распределения Кохрена

.
Если выполняется условие

, то в этом случае выборочные дисперсии однородны и принадлежат к одной генеральной совокупности. Дисперсии генеральной совокупности вычисляют по
формулам (3) и
(5).
3. Для рационального использования огнеупорных бетонных изделий рекомендуется производить разбраковку их по скорости распространения ультразвука на три группы:

,

,

.
К первой группе относят партии изделий, среднее значение скорости распространения ультразвука в которых более

, но менее

. Изделия таких партий подлежат поштучному контролю. Те изделия, в которых скорость распространения менее

, подлежат отбраковке или повторному испытанию, а остальные - приемке.
Ко второй группе относят партии изделий, среднее значение скорости распространения ультразвука в которых более

, но менее

. Такие партии подлежат приемке.
К третьей группе относят партии изделий, среднее значение скорости распространения ультразвука в которых более

. Такие изделия партии подлежат приемке. Эти изделия рекомендуется использовать в более ответственных участках конструкции тепловых агрегатов.
Приложение 3. (Введено дополнительно, Изм. N 2).