Главная // Актуальные документы // ГОСТ (Государственный стандарт)СПРАВКА
Источник публикации
М.: Издательство стандартов, 1992
Примечание к документу
С 1 июля 2003 года до вступления в силу технических регламентов акты федеральных органов исполнительной власти в сфере технического регулирования носят рекомендательный характер и подлежат обязательному исполнению только в части, соответствующей целям, указанным в
пункте 1 статьи 46 Федерального закона от 27.12.2002 N 184-ФЗ.
Документ
введен в действие с 1 января 1993 года.
Взамен ГОСТ 15987-79, ГОСТ 14664-77, ГОСТ 14665-77, ГОСТ 14666-79, ГОСТ 14667-79, ГОСТ 14668-79, ГОСТ 14669-79, ГОСТ 14670-77, ГОСТ 14671-77.
Название документа
"ГОСТ 15987-91 (ИСО 2730-73). Государственный стандарт Союза ССР. Рубанки деревянные. Технические условия"
(утв. и введен в действие Постановлением Госстандарта СССР от 12.12.1991 N 1939)
"ГОСТ 15987-91 (ИСО 2730-73). Государственный стандарт Союза ССР. Рубанки деревянные. Технические условия"
(утв. и введен в действие Постановлением Госстандарта СССР от 12.12.1991 N 1939)
Утвержден и введен в действие
Постановлением Комитета
стандартизации и метрологии СССР
от 12 декабря 1991 г. N 1939
ГОСУДАРСТВЕННЫЙ СТАНДАРТ СОЮЗА ССР
РУБАНКИ ДЕРЕВЯННЫЕ
ТЕХНИЧЕСКИЕ УСЛОВИЯ
Wooden bodied planes.
Specifications
ГОСТ 15987-91
(ИСО 2730-73)
Е
ОКП 48 3322 1400
Дата введения
1 января 1993 года
1. Разработан и внесен Техническим комитетом по стандартизации ТК 262 "Инструмент механизированный и ручной".
Разработчики: И.В. Амброзевич, А.Б. Писарчик, Г.М. Малаш, Э.М. Яркова.
2. Утвержден и введен в действие Постановлением Комитета стандартизации и метрологии СССР от 12.12.91 N 1939. Настоящий стандарт разработан методом прямого применения международного стандарта ИСО 2730-73 "Рубанки в деревянной колодке" с дополнительными требованиями, отражающими потребности народного хозяйства.
3. Срок проверки - 1996 г., периодичность проверки - 5 лет.
4. Взамен ГОСТ 15987-79, ГОСТ 14664-77, ГОСТ 14665-77, ГОСТ 14666-79, ГОСТ 14667-79, ГОСТ 14668-79, ГОСТ 14669-79, ГОСТ 14670-77, ГОСТ 14671-77.
5. Ссылочные нормативно-технические документы
Обозначение НТД, на который дана ссылка | Номер пункта |
| |
| |
| |
| |
| |
| |
| |
| | ИС МЕГАНОРМ: примечание. Взамен ГОСТ 1435-90 Постановлением Госстандарта России от 09.02.2001 N 64-ст с 1 сентября 2001 года введен в действие ГОСТ 1435-99. | |
|
ГОСТ 1435-90 | |
| |
| | ИС МЕГАНОРМ: примечание. Взамен ГОСТ 5950-73 Постановлением Госстандарта России от 04.06.2001 N 220-ст с 1 января 2002 года введен в действие ГОСТ 5950-2000. | |
|
ГОСТ 5950-73 | |
| |
| |
| |
| |
| |
| |
| |
| | ИС МЕГАНОРМ: примечание. Взамен ГОСТ 16588-79 Постановлением Госстандарта СССР от 28.12.1991 N 2290 с 1 января 1993 года введен в действие ГОСТ 16588-91. | |
|
ГОСТ 16588-79 | |
| |
| |
Настоящий стандарт распространяется на деревянные рубанки, предназначенные для производства столярно-плотничных работ, изготовляемые для нужд народного хозяйства и экспорта.
Требования стандарта являются обязательными.
1. ОСНОВНЫЕ ПАРАМЕТРЫ И РАЗМЕРЫ
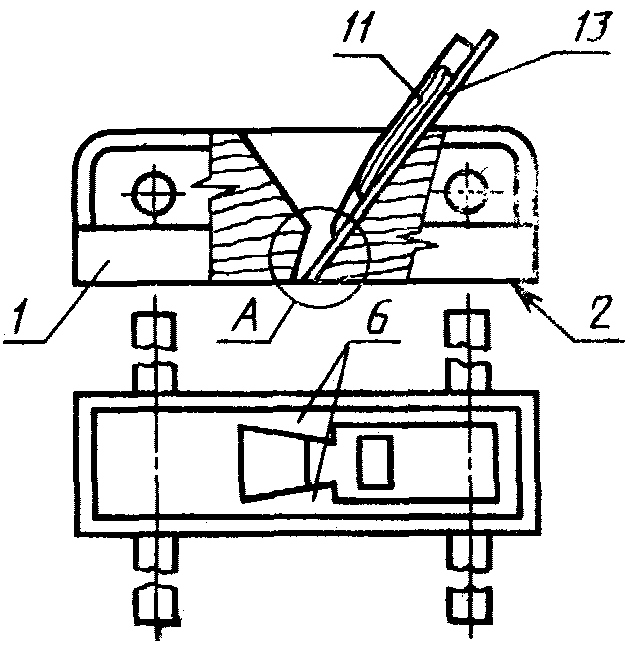
1.1. Типы и терминология основных деталей рубанков указаны на
черт. 1 -
11 и в
табл. 1.
Рубанок шерхебель
Рубанок с одиночным ножом (штапик)
<*>
Черт. 2
--------------------------------
<*> Типы рубанков, соответствующие ИСО 2730-73.
Рубанок медведка (штапик без роговой рукоятки)
<*>
Черт. 3
A
Рубанок с двойным ножом
Черт. 4
Полуфуганок (шерхебель)
<*>
Черт. 5
B
(к черт. 4 - 6)
Фуганок
Черт. 6
Рубанок цинубель (шлифтик)
<*>
Рубанок зензубель
Черт. 8
Рубанок фальцгебель
Черт. 9
Рубанок калевка
Черт. 10
Рубанок шпунтубель
мм
Номер позиции | Термины |
на русском языке | из английском языке |
1 | Колодка рубанка | Body |
2 | Подошва колодки | Sole |
3 | Нос | Nose |
4 | Пятка | Heel |
5 | Накладка колодки (коробка) | Box |
6 | Щеки | Cheeks |
7 | Проем | Mouth |
8 | Рукоятка | Handle |
9 | Предохранитель для рук | Hand protector |
10 | Роговая рукоятка | Ramshorn handle |
11 | Клин | Wedge |
12 | Зазор | Clearense |
13 | Нож | Cut iron |
14 | Стружколом | Cap iron |
1.2. Основные размеры рубанков должны соответствовать указанным на
черт. 12 -
22 и в
табл. 2 -
8.
Рубанок шерхебель
(черт. 12, табл. 2)
мм
Номинальный размер a | b Пред. откл. + 5 | c Пред. откл. +/- 2 | d | e |
Пред. откл. +/- 3 |
35 | 205 | 40 | 50 | 97 |
40 | 50 |
35 | 240 | 50 | 65 | 105 |
40 |
Рубанок с одиночным ножом (штапик)
<*>
(черт. 13, табл. 3)
Черт. 13
Таблица 3
мм
Номинальный размер a | b Пред. откл. +/- 5 | c Пред. откл. +/- 2 | d | e | f Пред. откл. + 1,5 0 |
Пред. откл. +/- 3 |
30 | 205 | 50 | 50 | 97 | - |
40 |
33* | 236 | 52 | 63 | 100 | 34,5 |
45* | 63 | 46,5 |
48* | 67 | 49,5 |
50 | 240 | 65 | 65 | 105 | - |
Рубанок медведка
(черт. 14, табл. 4)
Черт. 14
Таблица 4
мм
Номинальный размер a | b Пред. откл. +/- 5 | c Пред. откл. +/- 2 | d | e | f Пред. откл. +1,5 0 |
Пред. откл. +/- 3 |
42* | 236 | 61 | 63 | 100 | 43,5 |
45* | 63 | 46,5 |
65* | 300 | 80 | 75 | 120 | - |
Рубанок с двойным ножом
(черт. 15, табл. 5)
Черт. 15
Таблица 5
мм
Номинальный размер a | b Пред. откл. +/- 5 | c Пред. откл. +/- 2 | d | e |
Пред. откл. +/- 3 |
40 | 205 | 50 | 97 | 97 |
50 | 240 | 65 | 105 | 105 |
Полуфуганок (шерхебель)
<*>
(черт. 16, табл. 6)
Черт. 16
Таблица 6
мм
Номинальный размер a | b Пред. откл. +/- 5 | c Пред. откл. +/- 2 | d | e | f Пред. откл. +1,5 0 |
Пред. откл. +/- 3 |
42* | 530 | 61 | 63 | 224 | 43,5 |
50 | 70 | 65 | 220 | - |
51* | 530(380) | 70 | 63 | 224 | 52,5 |
57* | 530(430) | 76 | 58,5 |
Фуганок
(черт. 17, табл. 7)
Черт. 17
Таблица 7
мм
Номинальный размер a | b Пред. откл. +/- 5 | c Пред. откл. +/- 2 | d | e | f Пред. откл. +1,5 0 |
Пред. откл. +/- 3 |
51* | 600 | 72 | 75 | 250 | 52,5 |
54* | 75 | 55,5 |
57* | 78 | 58,5 |
60 | 650 | 75 | 70 | 270 | - |
65 | 80 |
Рубанок цинубель (шлифтик)
(черт. 18, табл. 8)
Черт. 18
мм
Номинальный размер a | b Пред. откл. +/- 5 | c Пред. откл. +/- 2 | d | e | f Пред. откл. +1,5 0 |
Пред. откл. +/- 3 |
50 | 200 | 65 | 65 | 104 | - |
51* | 75 | 63 | 60 | 52,5 |
Рубанок зензубель
(черт. 19)
Черт. 19
Рубанок фальцгебель
(черт. 20)
Черт. 20
Рубанок калевка
(черт. 21)
Черт. 21
Рубанок шпунтубель
(черт. 22)
2. ТЕХНИЧЕСКИЕ ТРЕБОВАНИЯ
2.1. Характеристики
2.1.1. Рубанки должны изготовляться в соответствии с требованиями настоящего стандарта по рабочим чертежам и образцам-эталонам, утвержденным в установленном порядке.
2.1.2. Основные детали рубанков должны изготовляться из следующих материалов:
колодка - из древесины двух различных пород, тщательно склеенной, с высоким показателем твердости для подошвы для уменьшения износа во время работы;
подошва колодки - из древесины граба, клена, белой акации, ясеня или бука по
ГОСТ 2695; допускается по согласованию с потребителем подошву колодки изготовлять из древесины березы;
толщина подошвы колодки должна быть не менее 12 мм с расположением волокон вдоль продольной оси колодки рубанка;
накладка колодки - из древесины, предусмотренной для изготовления подошвы колодки, и из древесины березы, ильма, береста по
ГОСТ 2695.
Колодки рубанков допускается изготовлять цельными из древесины, предусмотренной для изготовления подошвы колодки.
| | ИС МЕГАНОРМ: примечание. Взамен ГОСТ 1435-90 Постановлением Госстандарта России от 09.02.2001 N 64-ст с 1 сентября 2001 года введен в действие ГОСТ 1435-99. | |
| | ИС МЕГАНОРМ: примечание. Взамен ГОСТ 5950-73 Постановлением Госстандарта России от 04.06.2001 N 220-ст с 1 января 2002 года введен в действие ГОСТ 5950-2000. | |
Ножи - из двухслойной стали: основной слой - из стали марки 30 по
ГОСТ 1050, марок У8, У8А, У9 по ГОСТ 1435; плакирующий слой - из стали марок 9ХФ, 9Х5ВФ, Х6ВФ, 9ХС по ГОСТ 5950 или из других марок стали, не уступающих по стойкости ножам, изготовленным из сталей, указанных выше.
Допускается изготовление цельных ножей из стали марок 9ХФ, 9Х5ВФ, Х6ВФ, 9ХС по ГОСТ 5950; марок У8, У8А, У9 по ГОСТ 1435 или из других марок стали, не уступающих по стойкости ножам, изготовленным из сталей, указанных выше.
Материалы для изготовления деталей рубанков, не указанных выше, и требования к ним - в соответствии с рабочими чертежами.
2.1.3. Древесина для деталей рубанка должна быть без трещин, гнили, прорости, червоточин, хорошо высушена (содержание влаги от 10 до 12%) во избежание коробления. Остальные дефекты и пороки древесины не должны превышать норм, установленных для пиломатериалов 1-го сорта по
ГОСТ 2695.
2.1.4. Сучки не допускаются на подошве колодки, роговой рукоятке, упоре, клине, а также на боковых и торцовых поверхностях колодки и в летке на расстоянии 15 мм от рабочей поверхности.
На остальных поверхностях колодки допускаются несквозные здоровые сросшиеся сучки.
Нос рубанка не должен иметь острых углов, которые могут врезаться в поверхность, подвергаемую строганию.
2.1.5. Деревянные детали рубанков должны быть склеены водостойкими клеями. Клеевое соединение подошвы колодки с накладкой может выполняться любой конструкции - на гладкую пласть или зубчатое соединение.
Предел прочности клеевого соединения должен быть не менее 4МПа.
2.1.6. Шероховатость рабочей поверхности подошвы - не более

по
ГОСТ 7016.
2.1.7. Допуск плоскостности рабочей поверхности подошвы колодки рубанка не должен превышать:
у рубанков с двойным ножом - 0,08 мм на 100 мм длины;
у фуганков и полуфуганков - 0,1 мм на 200 мм длины;
у остальных рубанков - 0,12 мм на 100 мм длины.
2.1.8. Допуск плоскостности поверхности ножа, прилегающей к клину, - не более 0,08 мм на длине 45 мм от режущей кромки ножа.
2.1.9. Твердость цельных ножей и плакирующего слоя должна быть

на участке длиной не менее 45 мм от режущей кромки.
2.1.10. Плоскость поверхности колодки, к которой прилегает нож, должна обеспечивать его плотное прилегание. Качание ножа не допускается.
2.1.11. Клин должен обеспечивать прочное закрепление ножа и его конструкция должна способствовать легкому выходу стружки.
2.1.12. После закрепления ножа зазор между передней стенкой проема и режущей кромкой ножа должен быть, мм:
для шерхебелей и рубанков с одиночным ножом - от 0,5 до 4;
для остальных рубанков - от 0,5 до 2.
2.1.13. Поверхности деревянных деталей, за исключением подошвы колодок, внутренней поверхности проема и поверхности клина, прилегающей к ножу, должны быть покрыты светлым водостойким лаком.
Лакокрасочное покрытие должно соответствовать III классу по
ГОСТ 9.032, условия эксплуатации - УЗ по
ГОСТ 9.104.
Допускается по согласованию с потребителем пропитка деревянных деталей олифой.
2.1.14. Поверхности металлических деталей должны иметь металлические или неметаллические неорганические покрытия по
ГОСТ 9.306,
ГОСТ 9.301, группа условий эксплуатации 3 по
ГОСТ 15150.
Допускается отсутствие покрытия на поверхностях ножа, образующих режущую кромку.
2.1.15. Надежность рубанков определяется средним периодом стойкости между переточками и установленным сроком службы рубанков. Средний период стойкости должен быть не менее, мин:
для рубанков с шириной ножа 50 мм и более - 135;
" " " " " от 30 до 50 мм - 75;
" " " " " менее 30 мм - 45.
Установленный срок службы рубанков должен быть не менее 3 лет.
Критерием предельного состояния рубанка является уменьшение толщины подошвы колодки до 7 мм или достижение шероховатости рабочей поверхности подошвы колодки рубанка в результате износа

по
ГОСТ 7016 или износ задней грани режущей кромки ножа более 0,3 мм.
2.2.1. На колодке рубанка должны быть четко нанесены:
товарный знак предприятия-изготовителя или его наименование;
обозначение стандарта.
Допускается по согласованию с потребителем маркировку наносить на индивидуальной упаковке.
2.2.2. Остальные требования к маркировке и упаковке - по
ГОСТ 18088.
2.3.1. Поверхности металлических деталей рубанков, не имеющие защитно-декоративных покрытий, должны подвергаться консервации в соответствии с
ГОСТ 9.014, группа изделий IV, вариант временной противокоррозионной защиты ВЗ-1.
Срок защиты без переконсервации не менее одного года.
2.3.2. Внутренняя упаковка - ВУ-1 или ВУ-2 по
ГОСТ 9.014. Допускается другая упаковка, обеспечивающая сохранность рубанков от механических повреждений и воздействия влаги во время транспортирования и хранения.
3.1. Рубанки следует подвергать приемочному контролю и периодическим испытаниям.
3.2. Приемочный контроль должен состоять из сплошного и выборочного контроля.
Партия должна состоять из рубанков одного типоразмера, изготовленных из одного материала по одному технологическому процессу и одновременно предъявленных к приемке по одному документу.
3.3. Периодическим испытаниям на стойкость и установленный срок службы, проводимым не реже одного раза в три года, подвергают не менее 5 рубанков каждого размера, изготавливаемого на данном предприятии.
При неудовлетворительных результатах испытаний хотя бы по одному из показателей проводят повторные испытания удвоенного количества рубанков из той же партии.
| | ИС МЕГАНОРМ: примечание. В официальном тексте документа, видимо, допущена опечатка: имеется в виду п. 2.1.15, а не п. 2.15. | |
3.4. Контроль установленного срока службы
(п. 2.15) проводят в условиях подконтрольной эксплуатации, а его результаты считают удовлетворительными, если каждый испытываемый рубанок имеет срок службы не менее указанного в
п. 2.1.15.
4.1. Размеры рубанков (
пп. 1.2,
2.1.2,
2.1.12) проверяют универсальными или специальными средствами измерения, обеспечивающими требуемую точность измерения.
4.2. Внешний вид рубанков (
пп. 2.1.3 (кроме влажности),
2.1.4,
2.1.14,
2.2,
2.3) проверяют визуальным осмотром методом сравнения с образцами-эталонами, утвержденными в установленном порядке.
| | ИС МЕГАНОРМ: примечание. Взамен ГОСТ 16588-79 Постановлением Госстандарта СССР от 28.12.1991 N 2290 с 1 января 1993 года введен в действие ГОСТ 16588-91. | |
4.3. Влажность древесины
(п. 2.1.3) проверяют по ГОСТ 16588.
4.4. Предел прочности клеевого соединения подошвы с накладкой
(п. 2.1.5) проверяют по
ГОСТ 15613.1,
ГОСТ 15613.2, при этом усилие при раскалывании образца должно быть направлено вдоль волокон.
4.5. Шероховатость поверхностей деталей рубанков
(п. 2.1.6) проверяют сравнением с образцами шероховатости по
ГОСТ 9378.
4.8. Работоспособность рубанков (
п. 2.1.10,
2.1.11) проверяют строганием образца из сосновой или еловой древесины по
ГОСТ 8486 влажностью не более 22% в течение 5 мин, шириной, обеспечивающей захват стружки всей режущей кромкой ножа.
После испытания режущая кромка ножа не должна иметь видимых механических повреждений и рубанки должны быть пригодны для дальнейшей работы; смещение ножа и забивание стружкой проема не допускается.
4.9. Контроль качества лакокрасочного покрытия
(п. 2.1.13) осуществляют сравнением с образцом-эталоном, утвержденным в установленном порядке; металлических или неметаллических неорганических покрытий - по
ГОСТ 9.302.
4.10. Средний период стойкости
(п. 2.1.15) проверяют строганием образца из сосновой или еловой древесины по
ГОСТ 8486 влажностью не более 22% при выдерживании условий, указанных в
п. 2.1.15.
5. ТРАНСПОРТИРОВАНИЕ И ХРАНЕНИЕ
Требования к транспортированию и хранению - по
ГОСТ 18088.
6.1. Изготовитель должен гарантировать соответствие рубанков требованиям настоящего стандарта при соблюдении условий эксплуатации и хранения.
6.2. Гарантийный срок эксплуатации рубанков - 12 мес. со дня продажи через розничную торговую сеть, а для внерыночного потребления - со дня получения потребителем.
Справочное
СООТВЕТСТВИЕ НАСТОЯЩЕГО СТАНДАРТА
МЕЖДУНАРОДНОМУ СТАНДАРТУ ИСО 2730-73
Размеры рубанков, установленные в настоящем стандарте, полностью охватывают номенклатуру размеров рубанков по стандарту ИСО 2730-73. Размеры рубанков по стандарту ИСО 2730-73 отмечены в таблице настоящего стандарта знаком "*".
В настоящем стандарте расширена номенклатура размеров рубанков. Дополнительно включены требования к материалам, шероховатости, работоспособности, покрытию, требования к плоскостности рубанков, а также требования к приемке, методам контроля, упаковке, транспортированию и хранению рубанков.