Главная // Актуальные документы // ГОСТ (Государственный стандарт)СПРАВКА
Источник публикации
М.: Стандартинформ, 2006
Примечание к документу
Документ включен в
Перечень документов в области стандартизации, в результате применения которых на добровольной основе обеспечивается соблюдение требований технического
регламента "О безопасности машин и оборудования", утв.
Постановлением Правительства РФ от 15.09.2009 N 753 (
Приказ Росстандарта от 20.08.2010 N 3108).
Документ включен в
Перечень документов в области стандартизации, содержащих правила и методы исследований (испытаний) и измерений, в том числе правила отбора образцов, необходимые для применения и исполнения технического
регламента о безопасности машин и оборудования, а также для осуществления оценки соответствия (
Распоряжение Правительства РФ от 05.08.2010 N 1328-р).
Документ
введен в действие с 1 января 2007 года.
Название документа
"ГОСТ 31297-2005 (ИСО 8297:1994). Межгосударственный стандарт. Шум. Технический метод определения уровней звуковой мощности промышленных предприятий с множественными источниками шума для оценки уровней звукового давления в окружающей среде"
(введен в действие Приказом Ростехрегулирования от 20.07.2006 N 140-ст)
"ГОСТ 31297-2005 (ИСО 8297:1994). Межгосударственный стандарт. Шум. Технический метод определения уровней звуковой мощности промышленных предприятий с множественными источниками шума для оценки уровней звукового давления в окружающей среде"
(введен в действие Приказом Ростехрегулирования от 20.07.2006 N 140-ст)
агентства по техническому
регулированию и метрологии
от 20 июля 2006 г. N 140-ст
МЕЖГОСУДАРСТВЕННЫЙ СТАНДАРТ
ШУМ
ТЕХНИЧЕСКИЙ МЕТОД ОПРЕДЕЛЕНИЯ УРОВНЕЙ ЗВУКОВОЙ МОЩНОСТИ
ПРОМЫШЛЕННЫХ ПРЕДПРИЯТИЙ С МНОЖЕСТВЕННЫМИ ИСТОЧНИКАМИ ШУМА
ДЛЯ ОЦЕНКИ УРОВНЕЙ ЗВУКОВОГО ДАВЛЕНИЯ В ОКРУЖАЮЩЕЙ СРЕДЕ
Noise. Engineering method of determination of sound power
levels of multisource industrial plants for evaluation
of sound pressure levels in the environment
ISO 8297:1994
Acoustics. Determination of sound power levels
of multisource industrial plants for evalution of sound
pressure levels in the environment. Engineering method
(MOD)
ГОСТ 31297-2005
(ИСО 8297:1994)
Дата введения
1 января 2007 года
Цели, основные принципы и основной порядок проведения работ по межгосударственной стандартизации установлены
ГОСТ 1.0-92 "Межгосударственная система стандартизации. Основные положения" и
ГОСТ 1.2-97 "Межгосударственная система стандартизации. Стандарты межгосударственные, правила и рекомендации по межгосударственной стандартизации. Порядок разработки, принятия, применения, обновления и отмены"
Сведения о стандарте
1 ПОДГОТОВЛЕН Открытым акционерным обществом "Научно-исследовательский центр контроля и диагностики технических систем" на основе собственного аутентичного перевода стандарта, указанного в
пункте 4
2 ВНЕСЕН Федеральным агентством по техническому регулированию и метрологии
3 ПРИНЯТ Межгосударственным советом по стандартизации, метрологии и сертификации (Протокол N 28 от 9 декабря 2005 года)
За принятие проголосовали:
Краткое наименование страны по МК (ИСО 3166) 004-97 | Код страны по МК (ИСО 3166) 004-97 | Сокращенное наименование национального органа по стандартизации |
Азербайджан | AZ | Азстандарт |
Армения | AM | Министерство торговли и экономического развития Республики Армения |
Беларусь | BY | Госстандарт Республики Беларусь |
Казахстан | KZ | Госстандарт Республики Казахстан |
Кыргызстан | KG | Национальный институт стандартов и метрологии Кыргызской Республики |
Молдова | MD | Молдова-Стандарт |
Российская Федерация | RU | Федеральное агентство по техническому регулированию и метрологии |
Таджикистан | TJ | Таджикстандарт |
Туркменистан | TM | Главгосслужба "Туркменстандартлары" |
Узбекистан | UZ | Агентство "Узстандарт" |
Украина | UA | Госпотребстандарт Украины |
4 Настоящий стандарт является модифицированным по отношению к международному стандарту ИСО 8297:1994 "Акустика. Определение уровней звуковой мощности промышленных предприятий с множественными источниками шума для оценки уровней звукового давления в окружающей среде. Технический метод" (ISO 8297:1994 "Acoustics - Determination of sound power levels of multisource industrial plants for evalution of sound pressure levels in the environment - Engineering method"). При этом дополнительные слова и фразы, внесенные в текст стандарта для учета потребностей национальной экономики указанных выше государств или особенностей межгосударственной стандартизации, выделены курсивом. Оригинальный текст аутентичного перевода измененных в стандарте структурных элементов примененного международного стандарта и объяснения причин внесения технических отклонений приведены в дополнительном
приложении А
5
Приказом Федерального агентства по техническому регулированию и метрологии от 20 июля 2006 г. N 140-ст межгосударственный стандарт ГОСТ 31297-2005 (ИСО 8297:1994) введен в действие в качестве национального стандарта Российской Федерации с 1 января 2007 года
6 ВВЕДЕН ВПЕРВЫЕ
Информация о введении в действие (прекращении действия) настоящего стандарта публикуется в указателе "Национальные стандарты".
Информация об изменениях к настоящему стандарту публикуется в указателе "Национальные стандарты", а текст изменений - в информационных указателях "Национальные стандарты". В случае пересмотра или отмены настоящего стандарта соответствующая информация будет опубликована в информационном указателе "Национальные стандарты"
Настоящий стандарт устанавливает технический метод определения (измерения) уровней звуковой мощности промышленных предприятий и установок с множественными источниками шума (далее - предприятие), размеры производственных площадок которых ориентировочно составляют от 16 до 320 м. Результаты измерений используют для оценки уровней звукового давления в окружающей среде, например, по ГОСТ 31295.2.
Стандарт предназначен для акустического исследования предприятий, где основная часть оборудования работает вне помещений, например, нефтехимических установок, камнедробильных установок и каменоломен, надшахтных копров, а также предприятий, имеющих установки с непрерывным или циклическим движением, например, канатные скребковые экскаваторы или конвейеры, измерение шума которых может быть проведено по меньшей мере в течение одного рабочего цикла.
Стандарт применяют для измерений любого постоянного шума, а также непостоянного шума (широкополосного, узкополосного, с дискретными составляющими, циклически повторяющегося импульсного шума, различных сочетаний этих видов шума). Виды шума определены ГОСТ 31252 (приложение Е).
Стандарт не применяют для измерений шума при разовых выбросах звуковой энергии взрывного характера.
В настоящем стандарте использованы нормативные ссылки на следующие межгосударственные стандарты:
ГОСТ 17168-82 Фильтры электронные октавные и третьоктавные. Общие технические требования и методы испытаний (МЭК 61260:1995 "Электроакустика. Фильтры с шириной пропускания в октаву и долю октавы", NEQ)
ГОСТ 17187-81 Шумомеры. Общие технические требования и методы испытаний (МЭК 61672-1:2001 "Электроакустика. Шумомеры. Часть 1. Требования", NEQ)
ГОСТ 31252-2004 (ИСО 3740:2000) Шум машин. Руководство по выбору метода определения уровней звуковой мощности (ИСО 3740:2000 "Акустика. Определение уровней звуковой мощности источников шума. Руководство по применению основополагающих стандартов", MOD)
ГОСТ 31295.1-2005 (ИСО 9613-1:1993) Шум. Затухание звука при распространении на местности. Часть 1. Расчет поглощения звука атмосферой (ИСО 9613-1:1993 "Акустика. Затухание звука при распространении на местности. Часть 1. Расчет поглощения звука атмосферой", MOD)
ГОСТ 31295.2-2005 (ИСО 9613-2:1996) Шум. Затухание звука при распространении на местности. Часть 2. Общий метод расчета (ИСО 9613-2:1996 "Акустика. Затухание звука при распространении на местности. Часть 2. Общий метод расчета", MOD)
Примечание - При пользовании настоящим стандартом целесообразно проверить действие ссылочных стандартов на территории государства по соответствующему указателю стандартов, составленному по состоянию на 1 января текущего года, и по соответствующим информационным указателям, опубликованным в текущем году. Если ссылочный стандарт заменен (изменен), то при пользовании настоящим стандартом следует руководствоваться замененным (измененным) стандартом. Если ссылочный стандарт отменен без замены, то положение, в котором дана ссылка на него, применяется в части, не затрагивающей эту ссылку.
3. Термины, определения и обозначения
В настоящем стандарте применены следующие термины с соответствующими определениями и обозначения величин.
3.1. уровень звуковой мощности (sound power level): Уровень звуковой мощности предприятия, по которому рассчитывают уровень звукового давления в точках окружающей среды, удаленных от предприятия.
Примечания:
1. Уровень звуковой мощности равен десяти десятичным логарифмам отношения звуковой мощности предприятия к опорному значению звуковой мощности 1 пВт (10-12 Вт).
Уровень звуковой мощности указывают для определенной полосы частот, например, в октавных или третьоктавных полосах.
Уровень звуковой мощности в полосах частот обозначают
, корректированный по частотной характеристике А (далее - корректированный по А) уровень звуковой мощности - 
.
2. Уровень звуковой мощности предприятия может быть не равен сумме уровней звуковой мощности источников шума на предприятии.
3.2. уровень звукового давления (sound pressure level) Lp, дБ: Величина, определяемая как десять десятичных логарифмов отношения среднего квадрата данного звукового давления к квадрату опорного звукового давления, равного 20 мкПа.
Примечание - Уровень звукового давления указывают для определенной полосы частот, например, в октавной или третьоктавной полосе.
3.3. площадь предприятия (plant area) Sp, м2: Площадь участка, на котором размещены все источники шума предприятия.
3.4. измерительная площадь (measurement area) Sm, м2: Площадь участка, окаймленного измерительным контуром.
3.5. измерительное расстояние (measurement distance) d, м: Расстояние от точки измерений до ближайшей точки периметра предприятия.
3.6. расстояние между точками измерений (distance between measurement positions) Dm, м: Расстояние между соседними точками измерений вдоль измерительного контура.
3.7. характеристическая высота предприятия (characteristics height of the plant) H, м: Средняя высота источников шума предприятия.
3.8. эквивалентный уровень звукового давления (equivalent continuous sound pressure level) Leq, T, дБ: Усредненный по времени уровень звукового давления, равный уровню звукового давления постоянного шума, имеющего такое же среднее значение квадрата звукового давления, что и данный непостоянный шум за тот же период времени усреднения Т, равный продолжительности измерений.
Примечание - Эквивалентный уровень звукового давления
рассчитывают по формуле
,
где
- опорное звуковое давление, равное 20 мкПа;
- мгновенное звуковое давление, Па.
Другие примененные в стандарте термины - по ГОСТ 31252 (приложение Е).
Используемые в стандарте величины, кроме указанных выше, обозначены:

- среднее измерительное расстояние, м;
h - высота микрофона, м;

- высота
акустического центра k-го источника шума, м.
Если положение акустического центра неизвестно, то в качестве него принимают среднюю точку источника шума;
i - номер точки измерений;
l - длина измерительного контура, м;

- средний октавный
(третьоктавный) уровень звукового давления на измерительном контуре, дБ;

- корректированный средний октавный
(третьоктавный) уровень звукового давления на измерительном контуре, дБ;

- октавный
(третьоктавный) уровень звукового давления в
i-й точке на измерительном контуре, дБ;
n - число источников шума предприятия;
N - число точек измерений на измерительном контуре;

- опорное значение площади, м
2;

- коэффициент затухания звука в атмосфере, дБ/м;

- затухание звука в атмосфере, дБ;

- ошибка ближнего поля
(поправка, учитывающая влияние ближнего звукового поля), дБ;

- поправка, учитывающая влияние направленности микрофона, дБ;

- поправка, учитывающая влияние площади измерительной поверхности, дБ;

- угол
поворота остронаправленного микрофона
от направления на источник шума, при котором его чувствительность снижается на 3 дБ, угловые градусы (...°);

- угол между лучами из точки измерений в крайние видимые точки периметра производственной площадки предприятия, ...°.
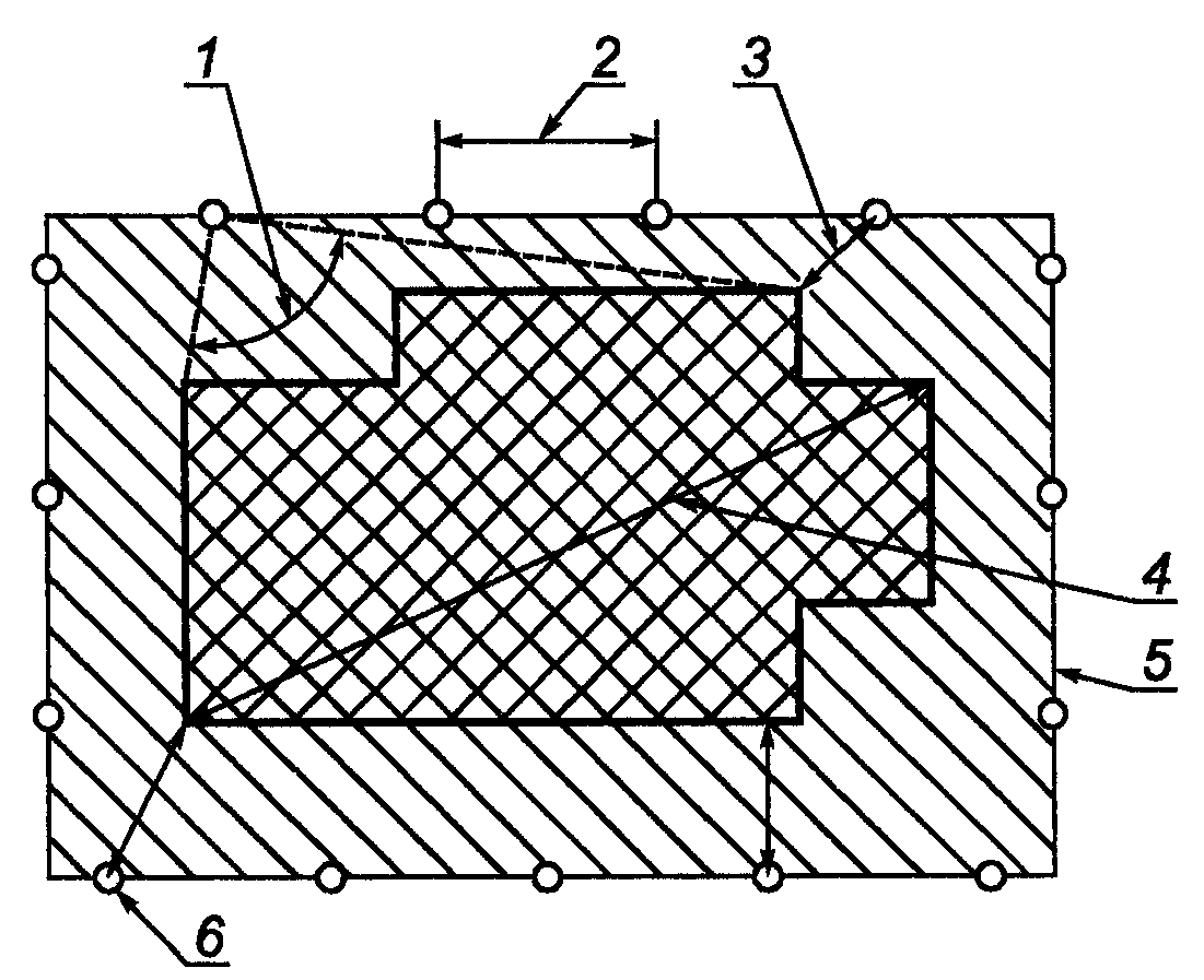
Графические пояснения величин даны на рисунке 1.
1 - угол между лучами из точки измерений в крайние видимые
точки периметра площадки предприятия; 2 - расстояние между
точками измерений; 3 - измерительное расстояние;
4 - наибольший размер площадки предприятия;
5 - измерительный контур; 6 - точка измерений

- площадь предприятия;

- измерительная площадь
Рисунок 1. Схема расположения точек измерений
на измерительном контуре
4. Неопределенность измерений
Неопределенность измерений
уровней звуковой мощности, главным образом зависящая от отношения среднего измерительного расстояния

к квадратному корню из площади предприятия

, указана в таблице 1.
Таблица 1
Неопределенность измерений
| Неопределенность измерений <1>, дБ |
0,05 | +3,0 -3,5 |
0,1 |  2,5 |
0,2 | +2,0 -2,5 |
0,5 | +1,5 -2,0 |
<1> 95%-ный доверительный интервал при однократном измерении в каждой точке измерительного контура. |
Указанная неопределенность является результатом пространственной вариации уровней звукового давления (усредненных по времени) в различных точках измерений вследствие неравномерного распределения источников шума на предприятии. Она не включает в себя неопределенность, возникающую из-за вариации звукового излучения во время измерений.
Примечание - В случаях, когда коррекции на фоновый шум не могут быть определены по
9.5.4, неопределенность измерений может быть более, чем указана в
таблице 1.
5. Общий порядок измерений
На ситуационном плане местности вокруг исследуемого промышленного предприятия строят измерительный контур возможно более простой формы согласно разделу 9 и на нем намечают равноотстоящие друг от друга точки измерений. Затем на местности проводят измерения уровней звукового давления в намеченных точках и рассчитывают средний уровень звукового давления. Согласно разделу 10, исходя из среднего уровня звукового давления и поправок на влияние площади измерительной поверхности, ближнего звукового поля, направленности микрофона и затухания звука в воздухе, рассчитывают уровень звуковой мощности предприятия.
Если на предприятии имеются источники шума, высота которых значительно превышает среднюю высоту источников шума на предприятии, то их уровни звуковой мощности определяют по соответствующим стандартам.
При измерениях должны быть, насколько это возможно, удовлетворены следующие требования:
a) вне измерительного контура не должно быть звукоотражающих поверхностей, которые могут повлиять на результаты измерений уровней звуковых давлений. Рекомендуется, чтобы звукоотражающие поверхности были на расстоянии не менее половины длины звуковой волны среднегеометрической частоты низшей полосы частот диапазона измерений;
b) уровни фонового шума должны быть по меньшей мере на 6 дБ и предпочтительно на 10 дБ ниже уровней звукового давления, измеренных при работе предприятия в каждой октавной
(третьоктавной) полосе;
c) скорость и направление ветра не должны существенно изменяться при измерениях. Рекомендуется проводить измерения при средней скорости ветра не более 5 м/с;
d) не допускаются измерения при выпадении атмосферных осадков;
e) изменение относительной влажности воздуха в процессе измерений - не более чем на 10%.
В протоколе испытаний указывают любые отступления от этих требований.
Примечания:
1. Влияние фонового шума может быть уменьшено применением остронаправленного микрофона.
2. Основными источниками фонового шума могут быть ближайшие промышленные установки, автодороги и шум природного происхождения.
Измерение октавных (третьоктавных) уровней звукового давления проводят шумомерами (при непостоянном шуме - интегрирующими шумомерами, шумоинтеграторами) класса 1 по ГОСТ 17187 или [1] с октавными (третьоктавными) полосовыми фильтрами класса 1 по ГОСТ 17168 или [2].
Примечание - Для уменьшения влияния фонового шума рекомендуется применение остронаправленного микрофона с диаграммой направленности, у которой при направлениях падения звуковой волны под углом
= +/- 30° к опорному направлению микрофона по ГОСТ 17187 (оси микрофона) чувствительность микрофона уменьшается не менее чем на 3 дБ.
Перед началом или после окончания измерений проводят акустическую калибровку измерительной системы на одной или нескольких частотах с помощью калибратора звука, имеющего погрешность не более +/- 0,3 дБ (первый класс по [3]). Допускается электрическая калибровка.
8. Режим работы предприятия
Если предприятие работает в различных режимах, то определяют уровень звуковой мощности для каждого режима. По возможности режим работы должен быть достаточно длительным и постоянным, чтобы позволить провести измерения на измерительном контуре. Если режим непостоянный, то он должен быть достаточно повторяемым при измерениях в различных точках. Продолжительность измерений должна охватывать все изменения шума при определенном режиме работы, включая повторяющиеся импульсные шумы.
9.1. Измерительный контур
9.1.1. Требования к измерительному контуру
Точки измерений должны лежать на замкнутой ломаной линии (
рисунок 1), окаймляющей площадь предприятия (на измерительном контуре), и соответствовать следующим требованиям:
a) среднее измерительное расстояние
d должно быть более 0,05

или 5 м в зависимости от того, какое значение больше. Но оно не должно быть более 0,5

или 35 м в зависимости от того, какое значение меньше.
Среднее измерительное расстояние должно быть как можно больше, насколько это позволяет
обеспечить соответствие критерию фонового шума по разделу 6, перечисление b). Отношение

следует определять с погрешностью менее +/- 30%;
b) для каждой точки измерительного контура угол между направлениями на крайние видимые точки периметра производственной площадки
(далее - площадка) предприятия должен быть не более 180° (
рисунок 1);
c) расстояние между соседними точками на измерительном контуре не должно быть более

.
9.1.2. Построение измерительного контура
Используя ситуационный план, строят измерительный контур простейшей формы (в виде прямоугольника или замкнутого многоугольника) и намечают на нем равномерно расположенные точки измерений, соблюдая требования 9.1.1. Если некоторые точки попадают в неудобные или недоступные места (например, оказываются на расстоянии от звукоотражающей поверхности меньшем, чем установлено в разделе 6, или на водной поверхности), то выбирают другие точки, возможно более близкие к первым. Если число таких точек составляет более 10% общего числа, то выбирают другой измерительный контур. Измерив на ситуационном плане измерительные расстояния
, м, рассчитывают среднее измерительное расстояние по формуле
и проверяют соответствие контура требованиям 9.1.1. В противном случае выбирают другой измерительный контур и повторяют вышеописанные действия (обычно оказывается достаточно одного уточнения очертания измерительного контура).
Окончательный выбор точек измерений проводят на местности. В протоколе испытаний указывают точки измерений, в которых не удалось соблюсти требования 9.1.1. Допускается иметь не более 10% таких точек.
9.2. Определение вспомогательных размеров
Наметив на ситуационном плане измерительный контур, определяют следующие размеры с точностью более чем +/- 5%:
a) длину измерительного контура l, м;
b) измерительную площадь

, м
2;
c) характеристическую высоту предприятия Н, м.
Характеристическую высоту предприятия Н определяют по формуле

.
Примечание - Если на предприятии 10 или более источников шума высотой менее 2 м, то средняя высота этих источников может быть принята равной 1 м и их число в вышеуказанной сумме должно быть определено с точностью +/- 10%.
В каждой точке измерений высоту
h, м, микрофона рассчитывают по формуле

или принимают равной 5 м в зависимости от того, какое из значений больше.
Если высота микрофона не может быть обеспечена в соответствии с расчетом, то устанавливают микрофон как можно выше минимальной высоты 5 м и указывают это обстоятельство в протоколе испытаний.
9.4. Направление микрофона
В каждой точке измерений опорное направление микрофона (ось микрофона) должно быть горизонтально и перпендикулярно соответствующему участку измерительного контура.
9.5. Измерение уровня звукового давления
9.5.1. Общие положения
Если предполагают, что шум постоянный, то продолжительность измерений в каждой точке должна быть достаточной, чтобы убедиться в этом по
9.5.2.
При постоянном шуме продолжительность измерений в каждой точке должна быть по меньшей мере 1 мин в каждой октавной (третьоктавной) полосе.
При непостоянном шуме или импульсном шуме применяют интегрирующие системы.
Измеряют следующие величины в каждой точке измерительного контура:
a) уровни звукового давления в октавных полосах от 63 до 4000 Гц при работе предприятия. Допускается проводить измерения в соответствующих этому диапазону третьоктавных полосах, если требуется более подробная информация о шуме предприятия.
Примечание - Дополнительные измерения могут быть выполнены в октавных полосах со среднегеометрическими частотами 31,5 и 8000 Гц;
b) уровни звукового давления фонового шума, если предприятие может быть остановлено для проведения этих измерений. Измерения фонового шума могут быть выполнены в другое время, чем измерения шума предприятия (например, ночью). Эти измерения действительны, если может быть показано, что фоновый шум остается неизменным. Измерения фонового шума могут быть также выполнены в местах, где шум предприятия незначителен.
9.5.2. Измерения шумомером
При измерениях шумомером используют временную характеристику S ("медленно"). Если вариация показаний менее 5 дБ, то шум считают постоянным и за результат измерения принимают среднее арифметическое максимального и минимального наблюденных значений. Если вариация показаний на периоде наблюдений более 5 дБ, то шум считают непостоянным и применяют интегрирующие измерительные системы.
9.5.3. Измерения интегрирующими системами
Если применяют интегрирующие системы, то за результат измерения в каждой точке принимают значение эквивалентного уровня звукового давления

, которое
при дальнейшем увеличении времени интегрирования не изменяется более чем на +/- 0,5 дБ. Результат измерения используют в качестве значения

при расчете по
10.1.
9.5.4. Коррекция на фоновый шум
Если уровень фонового шума может быть измерен, то корректируют измеренные уровни звукового давления предприятия согласно таблице 2.
Таблица 2
Коррекции на фоновый шум
Разность между уровнем звукового давления, измеренного при работе предприятия, и уровнем звукового давления фонового шума, дБ | Поправка, вычитаемая из уровня звукового давления, измеренного при работе предприятия, для исключения влияния фонового шума, дБ |
Менее 6 | Результаты измерений недействительны |
6 | 1 |
7 | 1 |
8 | 1 |
9 | 0,5 |
10 | 0,5 |
Более 10 | 0 |
Если уровень фонового шума не может быть измерен при остановленном предприятии и измеренный уровень звукового давления не может быть скорректирован, то это отмечают в протоколе испытаний и приводят оценку возможной ошибки, возникающей из-за влияния фонового шума. При этом точность технического метода не гарантирована. Результаты измерений уровней звуковой мощности без учета коррекции на фоновый шум могут быть приняты в качестве верхней оценки.
Примечание - В отдельных случаях, например, когда фоновым шумом является транспортный шум, оказывается возможным оценить его расчетом.
10. Расчет уровней звуковой мощности предприятия
Рассчитывают средний уровень звукового давления на измерительном контуре

, дБ, в каждой октавной
(третьоктавной) полосе по формуле

.
Если любое из значений

превышает среднее значение

более чем на 5 дБ, то выбирают измерительный контур с большим измерительным расстоянием. Если это неосуществимо, то заменяют все значения

, которые превышают среднее значение более чем на 5 дБ, значениями

.
Рассчитывают корректированный средний уровень звукового давления на измерительном контуре

, дБ, для каждой октавной
(третьоктавной) полосы по формуле

,
где

- октавный
(третьоктавный) уровень звукового давления в
i-й точке измерений, корректированный по
10.2.
Рассчитывают поправку

, дБ, учитывающую влияние площади измерительной поверхности, по формуле

,
где

- опорное значение площади, равное 1 м
2.
Рассчитывают поправку

, дБ, учитывающую влияние ближнего звукового поля, по формуле

.
Примечание - Если выполнены требования
9.1, то ожидаемое значение

находится в диапазоне от минус 0,9 до минус 1,9 дБ.
Рассчитывают поправку

, дБ, учитывающую влияние направленности микрофона, по формуле

.
Для ненаправленного микрофона

= 0.
Рассчитывают затухание

, дБ, вследствие поглощения звука атмосферой по формуле

.
Типовые значения

согласно
[4] указаны в таблице 3.
Таблица 3
Коэффициент затухания звука в атмосфере
Среднегеометрическая частота октавной полосы, Гц | Коэффициент затухания звука в атмосфере  , дБ/м |
31,5 | 0 |
63 | 0 |
125 | 0 |
250 | 0,001 |
500 | 0,002 |
1000 | 0,005 |
2000 | 0,01 |
4000 | 0,026 |
8000 | 0,046 |
Значения, указанные в
таблице 3, действительны при температуре 15 °C и средней относительной влажности воздуха 70%. Если атмосферные условия заметно отличаются от указанных, то используют значения коэффициента затухания, соответствующие температуре и относительной влажности воздуха во время измерений шума
по ГОСТ 31295.1 (таблица 1).
10.8. Шаг 8
Рассчитывают октавные
(третьоктавные) уровни звуковой мощности предприятия

, дБ, по формуле

.
Если выполняют
шаги 2 и
3, то заменяют

на

.
10.9. Шаг 9
Если необходимо, то рассчитывают корректированный уровень звуковой мощности

, дБ, по формуле

,
где

- поправка по характеристике А для октавной
(третьоктавной) полосы
j по ГОСТ 17187 (таблица 1).
Суммирование проводят по соответствующим октавным (третьоктавным) полосам.
11. Источники шума, высота которых значительно превышает характеристическую высоту предприятия
Если на предприятии имеются высокие источники шума и если вследствие экранирования и/или характеристик направленности этих источников их особенности не учтены
шагом 2, то их уровни звуковой мощности определяют по соответствующим стандартам,
выбираемым по ГОСТ 31252.
В протоколе должна быть сделана запись, что уровни звуковой мощности определены в соответствии с настоящим стандартом.
Протокол испытаний должен содержать следующую информацию:
a) чертеж предприятия и окружающей местности
(ситуационный план) с указанием границ предприятия, измерительного контура и точек измерений на контуре, мест расположения звукоотражающих и других объектов, в том числе известных источников фонового шума, которые могут повлиять на результаты измерений уровней звукового давления. Места расположения всех источников шума, измерения шума которых проведены согласно
разделу 11, также должны быть указаны;
b) виды шума предприятия и возможные случаи экранирования микрофонов;
c) режим работы предприятия при измерениях;
d) дату и время измерений;
e) атмосферные условия при измерениях: скорость и направление ветра, относительную влажность и температуру, облачный покров;
f) вид, марку, серийный номер и наименование изготовителя средств измерений;
h) метод калибровки;
i) высоту микрофона над землей;
j) качественную оценку близлежащих источников шума (других предприятий, автомобильных и железных дорог и т.д.), вероятно влияющих на сигнал микрофона;
k) коррекцию на фоновый шум, если ее проводили, и положения микрофонов, в которых не оказалось возможным измерить фоновый шум;
l) рассчитанные уровни звуковой мощности

и

;
m) октавные
(третьоктавные) уровни звуковой мощности источников, измерение шума которых проведено в соответствии с
разделом 11;
n) точки измерений, где не могли быть установлены микрофоны, и причины этого согласно требованиям
9.1.2;
(справочное)
ОТЛИЧИЯ НАСТОЯЩЕГО СТАНДАРТА ОТ ПРИМЕНЕННОГО
В НЕМ МЕЖДУНАРОДНОГО СТАНДАРТА ИСО 8297:1994
А.1. Из настоящего стандарта исключено введение к ИСО 8297, имеющее следующую редакцию:
"Введение
0.1. Настоящий международный стандарт устанавливает технический метод определения уровня звуковой мощности промышленных предприятий с множественными источниками шума, который имеет отношение к оценке вклада шума предприятия в шум в точках пространства вокруг предприятия. Метод заключается в измерениях уровня звукового давления на замкнутом контуре (измерительном контуре) вблизи предприятия и определении соответствующей измерительной поверхности.
Метод предназначен для крупных предприятий с большим числом источников шума при работе в любом из установленных режимов и других крупных источников шума, относительно которых можно предположить, что они излучают в основном одинаково по всем горизонтальным направлениям.
Метод, описанный в настоящем международном стандарте, согласуется с рекомендациями ИСО 2204.
0.2. Данные, полученные по настоящему стандарту, используются для следующих целей:
a) для расчета уровня звукового давления в точках вокруг предприятия, когда расстояния до них от геометрического центра площади предприятия по меньшей мере в 1,5 раза больше наибольшего размера плана предприятия (см.
рисунок 1). Совокупность всех отдельных источников шума в пределах предприятия рассматривается как точечный источник шума, расположенный в геометрическом центре площади предприятия;
b) для идентификации промышленных зон или отдельных частей зон по их вкладу в уровни звукового давления в точках окружающего пространства;
c) для сравнения различных источников (предприятия в целом или его составных частей) по уровню звуковой мощности;
d) для мониторинга звукового излучения предприятия".
Введение исключено, поскольку в ИСО 8297 не раскрывается ни один из перечисленных способов использования данных, полученных по указанному стандарту. Кроме того, ИСО 2204 отменен, а другие сведения из введения повторяются в
разделе 1 стандарта.
А.2. Раздел 1 в ИСО 8297 имеет следующую редакцию:
"1. Область применения
1.1. Общие положения
Настоящий международный стандарт устанавливает технический метод (степень 2 по ИСО 2204) определения уровней звуковой мощности крупных промышленных предприятий с множественными источниками шума, чтобы оценить уровни звукового давления в окружающей среде. Эти уровни звуковой мощности могут быть использованы в соответствующих прогностических моделях, применяемых для такой оценки.
Применение метода ограничено крупными промышленными предприятиями с множественными источниками шума (число источников не определено), которые имеют большие размеры в горизонтальной плоскости и излучают в основном равномерно по всем горизонтальным направлениям.
Уровни звукового давления измеряют в октавных полосах.
Результаты выражают в октавных уровнях звуковой мощности и, если необходимо, то корректированными по А уровнями звуковой мощности.
1.2. Типы и размеры источников шума
Метод применим для промышленных зон, где большинство оборудования работает вне помещений, например, нефтехимические установки, камнедробильные установки и каменоломни, надшахтные копры. Метод также применим, когда имеются установки с непрерывным или циклическим движением, например, канатные скребковые экскаваторы или конвейеры, измерение шума которых может быть проведено по меньшей мере в течение одного рабочего цикла.
Метод применим для промышленных предприятий, наибольший горизонтальный размер которых составляет от 16 до 320 м.
1.3. Виды шума
Настоящий международный стандарт применим к источникам, излучающим широкополосный, узкополосный шум, дискретные тоны, повторяющийся импульсный шум и комбинации шума этих видов. Шум может быть постоянным или непостоянным, но статистически стационарным. Метод не применяют для измерений шума при отдельных выбросах звуковой энергии взрывного характера.
1.4. Неопределенность измерений
Неопределенность измерений, которая главным образом зависит от отношения среднего измерительного расстояния

между измерительным контуром и границами предприятия к квадратному корню из площади предприятия

, указана в таблице 1.
Таблица 1
Неопределенность измерений, присущая методу
| Неопределенность измерений <1>, дБ |
0,05 | +3,0 -3,5 |
0,1 |  2,5 |
0,2 | +2,0 -2,5 |
0,5 | +1,5 -2,0 |
<1> 95%-ный доверительный интервал при однократном измерении. |
Указанная неопределенность является результатом пространственной вариации уровней звукового давления (усредненных по времени) в различных точках измерений вследствие неравномерного распределения источников шума на предприятии. Она не включает в себя неопределенность, возникающую из-за вариации звукового излучения во время измерений.
Примечание 1 - В случаях, когда коррекции на фоновый шум не могут быть определены по
9.5.4, неопределенность измерений может быть более, чем она указана в
таблице 1".
Структура этого раздела изменена в настоящем стандарте из-за редакционных сокращений и по причине целесообразности вынести в отдельный раздел (см.
раздел 4 стандарта) информацию о неопределенности измерений, как это принято в новейших международных стандартах, поскольку неопределенность измерений является не областью применения метода, а его метрологической характеристикой.
А.3. Из нормативных ссылок исключены ссылки: на ИСО 266:1975 "Акустика. Предпочтительные частоты для измерений", так как среднегеометрические частоты октавных и третьоктавных полос широко известны; на отмененный ИСО 1996-1:1982 "Акустика. Описание и измерение шума в окружающей среде. Часть 1. Основные величины и методики", не имеющая практического значения ссылка на который сделана в 7.1 (см.
А.7); на отмененный ИСО 2204, на ИСО 3744:1994 [ссылка на этот стандарт в ИСО 8297 дана в
10.5 только для того, чтобы определить термин "измерительная поверхность" (см.
А.8)].
Ссылки на невведенные МЭК 225:1966 (электронные фильтры), МЭК 651:1979 (шумомеры), МЭК 804:1985 (интегрирующие шумомеры), МЭК 942:1988 (калибраторы звука) или заменены ссылками на межгосударственные стандарты, или перенесены в библиографию. При этом библиографические ссылки актуализированы.
А.4. Разделы 3 "Определения" и 4 "Обозначения" ИСО 8297 объединены в
раздел 3 "Термины, определения и обозначения" в соответствии с
ГОСТ 1.5-2001 и для того, чтобы нумерация разделов стандарта, начиная с
раздела 5, не отличалась от нумерации ИСО 8297 после вынесения требований к неопределенности измерений в
раздел 4 (см.
А.2).
А.5. В
разделе 3 для представления определений терминов одной фразой дополнительная информация, содержащаяся в определениях терминов в ИСО 8297, вынесена в примечания. Указаны англоязычные эквиваленты терминов. Нумерация примечаний по всему стандарту исключена.
А.6.
Раздел 5 в ИСО 8297 имеет следующую редакцию:
"5. Принцип методики измерения
Строят замкнутую траекторию упрощенной формы (измерительный контур) согласно
разделу 9. Измеряют уровни звукового давления в равноотстоящих вдоль измерительного контура точках и рассчитывают средний уровень звукового давления. Выполняют коррекции, учитывающие влияния ближнего звукового поля, направленности микрофона, звукопоглощения воздуха (раздел 10,
шаги 5,
6 и
7). Рассчитывают поправку, учитывающую влияние площади измерительной поверхности, по площади, заключенной в контуре, длине контура и высоте микрофона (раздел 10,
шаг 4) и используют ее для релевантного определения уровня звуковой мощности.
Если на предприятии имеются высокие источники шума, то дополнительными измерениями определяют их уровни звуковой мощности".
А.7.
Раздел 7 в ИСО 8297 имеет следующую редакцию:
"7.1. Общие положения
Средства измерений должны индицировать уровень звукового давления в октавных полосах, чтобы можно было определить его среднее значение на интервале измерения. Это может быть достигнуто интегрированием на интервале, равном продолжительности измерений, как установлено ИСО 1996-1.
При возможности следует использовать интегрирующие шумомеры, соответствующие требованиям класса 1 по МЭК 804. Если шум постоянный, то применяют шумомеры класса 1 по МЭК 651.
Примечание - Применение остронаправленного микрофона позволяет уменьшить влияние фонового шума с других направлений, чем шум от предприятия.
Если применяют остронаправленный микрофон, то его диаграмма направленности должна быть такова, чтобы в каждой октавной полосе снижение чувствительности на 3 дБ происходило при повороте микрофона на угол

более +/- 30°. Коррекцию, учитывающую влияние направленности микрофона, определяют по
10.6.
7.2. Октавные фильтры
Октавные фильтры должны соответствовать МЭК 225. Среднегеометрические частоты полос должны соответствовать МЭК 266.
7.3. Калибровка
В каждой серии измерений измерительную систему калибруют на одной или нескольких частотах с помощью калибратора звука с погрешностью не более +/- 0,3 дБ (первого класса по МЭК 942). Калибратор следует поверять по меньшей мере ежегодно. Дополнительно не реже одного раза в два года измерительную систему поверяют акустической и электрической калибровкой во всем диапазоне частот измерений".
"9.1.2. Определение измерительного контура
9.1.2.1. Используя чертеж с планом предприятия или подходящую карту, предварительно намечают измерительный контур, соблюдая требования
9.1.1 a) и
9.1.1 b). Размещают точки измерений на этом контуре в соответствии с
9.1.1 c).
9.1.2.2. Измеряют на плане расстояние
d, м, от каждой точки измерений до ближайшей точки периметра предприятия и определяют среднее значение

по формуле

.
9.1.2.3. Если первоначальный измерительный контур не соответствует требованиям
9.1.1 а) и
9.1.1 b), то выбирают другой измерительный контур.
9.1.2.4. Размещают точки измерений насколько возможно равномернее по измерительному контуру. Если некоторые точки недоступны (например, если они расположены на реке или на канале) или в них проявляется акустическая неравномерность (например, из-за влияния стен или строений), то это указывают в протоколе испытаний. Если число таких точек более 10%, то выбирают другой контур.
Примечание - В общем случае достаточно одного шага итераций, чтобы в основном удовлетворить требования к измерительному контуру на плане. Дополнительные шаги выполняют по необходимости.
Окончательный выбор точек измерений осуществляют непосредственно на местности".
А.9. Первая фраза
пункта 10.4 в ИСО 8297 имеет следующую редакцию:
"10.4. Рассчитывают коррекцию, учитывающую влияние площади, в децибелах, для измерительной поверхности (как она определена в ИСО 3744) по следующей формуле".
Ссылка на ИСО 3744 исключена как не имеющая практического значения для расчета коррекции (в настоящем стандарте - поправки). Кроме того, в ИСО 3744 измерительная поверхность определена как поверхность, охватывающая источник шума, и имеет форму полусферы или прямоугольного параллелепипеда.
А.10.
Таблица 3 в ИСО 8297 имеет наименование: "Спад уровня звукового давления при свободном распространении звука вследствие звукопоглощения воздухом".
Наименование таблицы изменено, чтобы привести его в соответствие с наименованием правого столбца, которое, в свою очередь, приведено в соответствие с обозначением

(см.
раздел 3 стандарта).
А.11. Из библиографии исключена безадресная ссылка:
Stuber, В. Messermethode zur Schalleistung ausgedehnter Schallquellen, Dtsch. A.G.A., Stuttgart. 1972.pp. 241-244.
| МЭК 61672-1:2002 | Электроакустика. Шумомеры. Часть 1. Требования |
(IEC 61672-1:2002) | (Electroacoustics - Sound level meters - Part 1: Specifications) |
[2] | | Электроакустика. Фильтры с полосой пропускания в октаву и долю октавы |
(IEC 61260:1995) | (Electroacoustics - Octave-band and fractional-octave-band filters) |
| МЭК 60942:1997 | Электроакустика. Калибраторы звука |
(IEC 60942:1997) | (Electroacoustics - Sound calibrators) |
| ИСО 3891:1978 | Акустика. Методика описания авиационного шума на местности |
(ISO 3891:1978) | (Acoustics - Procedure for describing aircraft noise heard on the ground) |