Главная // Актуальные документы // ГОСТ (Государственный стандарт)СПРАВКА
Источник публикации
М.: Стандартинформ, 2008
Примечание к документу
Документ включен в
Перечень документов в области стандартизации, в результате применения которых на добровольной основе обеспечивается соблюдение требований технического
регламента "О безопасности машин и оборудования", утв.
Постановлением Правительства РФ от 15.09.2009 N 753 (
Приказ Росстандарта от 20.08.2010 N 3108).
Документ включен в
Перечень документов в области стандартизации, содержащих правила и методы исследований (испытаний) и измерений, в том числе правила отбора образцов, необходимые для применения и исполнения технического
регламента о безопасности машин и оборудования, а также для осуществления оценки соответствия (
Распоряжение Правительства РФ от 05.08.2010 N 1328-р).
Документ
введен в действие с 01.07.2008.
Взамен ГОСТ 27259-87.
Название документа
"ГОСТ 27259-2006 (ИСО 7096:2000). Межгосударственный стандарт. Вибрация. Лабораторный метод оценки вибрации, передаваемой через сиденье оператора машины. Машины землеройные"
(введен в действие Приказом Ростехрегулирования от 12.12.2007 N 371-ст)
"ГОСТ 27259-2006 (ИСО 7096:2000). Межгосударственный стандарт. Вибрация. Лабораторный метод оценки вибрации, передаваемой через сиденье оператора машины. Машины землеройные"
(введен в действие Приказом Ростехрегулирования от 12.12.2007 N 371-ст)
по техническому регулированию
и метрологии
от 12 декабря 2007 г. N 371-ст
МЕЖГОСУДАРСТВЕННЫЙ СТАНДАРТ
ВИБРАЦИЯ
ЛАБОРАТОРНЫЙ МЕТОД ОЦЕНКИ ВИБРАЦИИ,
ПЕРЕДАВАЕМОЙ ЧЕРЕЗ СИДЕНЬЕ ОПЕРАТОРА МАШИНЫ
МАШИНЫ ЗЕМЛЕРОЙНЫЕ
Vibration.
Laboratory evaluation of operator seat vibration.
Earth-moving machinery
ISO 7096:2000
Earth-moving machinery. Laboratory evaluation
of operator seat vibration
(MOD)
ГОСТ 27259-2006
(ИСО 7096:2000)
Цели, основные принципы и основной порядок проведения работ по межгосударственной стандартизации установлены
ГОСТ 1.0-92 "Межгосударственная система стандартизации. Основные положения" и
ГОСТ 1.2-97 "Межгосударственная система стандартизации. Стандарты межгосударственные, правила и рекомендации по межгосударственной стандартизации. Порядок разработки, принятия, применения, обновления и отмены"
1 ПОДГОТОВЛЕН Открытым акционерным обществом "Научно-исследовательский центр контроля и диагностики технических систем" на основе собственного аутентичного перевода стандарта, указанного в
пункте 4
2 ВНЕСЕН Межгосударственным техническим комитетом по стандартизации МТК 183 "Вибрация и удар"
3 ПРИНЯТ Межгосударственным советом по стандартизации, метрологии и сертификации (Протокол N 29 от 24 июня 2006 г.)
За принятие проголосовали:
Краткое наименование страны по МК (ИСО 3166) 004-97 | Код страны по МК (ИСО 3166) 004-97 | Сокращенное наименование национального органа по стандартизации |
Казахстан | KZ | Госстандарт Республики Казахстан |
Кыргызстан | KG | Кыргызстандарт |
Молдова | MD | Молдова-Стандарт |
Российская Федерация | RU | Федеральное агентство по техническому регулированию и метрологии |
Таджикистан | TJ | Таджикстандарт |
Туркменистан | TM | Главгосслужба "Туркменстандартлары" |
Узбекистан | UZ | Узстандарт |
4 Настоящий стандарт является модифицированным по отношению к международному стандарту ИСО 7096:2000 "Вибрация. Лабораторный метод оценки вибрации, передаваемой через сиденье оператора машины. Машины землеройные" (ISO 7096:2000 "Earth-moving machinery. Laboratory evaluation of operator seat vibration") путем внесения технических отклонений, объяснение которых приведено во введении к настоящему стандарту
Степень соответствия - модифицированная (MOD).
5
Приказом Федерального агентства по техническому регулированию и метрологии от 12 декабря 2007 г. N 371-ст межгосударственный стандарт ГОСТ 27259-2006 (ИСО 7096:2000) введен в действие в качестве национального стандарта Российской Федерации с 1 июля 2008 г.
6 ВЗАМЕН ГОСТ 27259-87
Информация о введении в действие (прекращении действия) настоящего стандарта публикуется в указателе "Национальные стандарты".
Информация об изменениях к настоящему стандарту публикуется в указателе "Национальные стандарты", а текст изменений - в информационных указателях "Национальные стандарты". В случае пересмотра или отмены настоящего стандарта соответствующая информация будет опубликована в информационном указателе "Национальные стандарты"
В процессе работы оператор землеройной машины подвергается воздействию низкочастотной вибрации, обусловленной как движением машины по неровной поверхности, так и выполняемой рабочей операцией. Сиденье оператора представляет собой последний виброизолирующий элемент на пути распространения вибрации к телу оператора. Для эффективного снижения вибрации подвеска сиденья должна быть выбрана в соответствии с динамическими характеристиками машины. Конструкционное решение сиденья и подвески представляет собой компромисс между необходимостью уменьшить механические воздействия на оператора и в то же время обеспечить его надежной опорой для уверенного управления машиной. Поэтому при выборе модели сиденья необходимо принимать во внимание все предъявляемые к нему требования.
Вибрационные характеристики сиденья, полученные в соответствии с настоящим стандартом, могут быть использованы при сравнении сидений разных конструкций от разных изготовителей, а также при определении вибрационной характеристики землеройной машины согласно соответствующему испытательному коду.
Критерии качества сиденья, установленные настоящим стандартом, соответствуют современному уровню развития техники. Они не позволяют в полной мере гарантировать защиту оператора от воздействия вибрации и удара и поэтому могут быть пересмотрены при развитии технологии конструирования подвески.
Параметры испытательных воздействий, установленные настоящим стандартом, получены по результатам обработки большого числа измерений. Эти измерения были проведены в условиях выполнения типичных рабочих операций, сопровождаемых вибрационными воздействиями максимального уровня. Методы испытаний основаны на
ГОСТ ИСО 10326-1-2002, которым установлены общие требования к испытаниям сидений транспортных средств и рабочих машин разного вида.
По сравнению с примененным международным стандартом ИСО 7096:2000 в текст настоящего стандарта внесены следующие изменения:
- добавлена ссылка на
ГОСТ 12.1.012-2004, чтобы показать место настоящего стандарта в комплексе стандартов, относящихся к вибрационной безопасности;
- ссылки на введенные международные стандарты заменены ссылками на соответствующие межгосударственные стандарты, а ссылки на не введенные на момент разработки настоящего стандарта международные стандарты ИСО 6061 и ИСО 6165 перенесены из раздела 2 в дополнительно введенный элемент "
Библиография";
- для приведения в соответствие с требованиями
ГОСТ 1.5-2001 изменена нумерация таблиц (таблица 1 стала
таблицей 4, номера всех остальных таблиц сдвинуты на единицу вниз).
Настоящий стандарт, являющийся испытательным кодом по вибрации (см.
ГОСТ 12.1.012), устанавливает лабораторный метод оценки эффективности работы подвески сиденья оператора землеройной машины (способности сиденья ослаблять передаваемую через него вибрацию в вертикальном направлении в диапазоне частот от 1 до 20 Гц). Настоящий стандарт соответствует
ГОСТ ИСО 10326-1, который устанавливает общие требования к проведению лабораторных измерений вибрации сидений транспортных средств, в том числе рабочих машин. Настоящий стандарт устанавливает также критерии приемки сидений для землеройных машин (далее - машины)
<1>.
Настоящий стандарт распространяется на следующие машины:
- самосвалы с жесткой рамой снаряженной массой свыше 4500 кг
<2>;
- самосвалы с шарнирно-сочлененной рамой;
- скреперы без амортизирующей подвески мостов или рамы
<3>;
- колесные погрузчики снаряженной массой свыше 4500 кг;
- грейдеры;
- колесные бульдозеры;
- колесные катки;
- погрузчики с обратной лопатой;
- гусеничные погрузчики;
- гусеничные бульдозеры снаряженной массой менее 50000 кг
<4>;
- мини-самосвалы снаряженной массой менее 4500 кг;
- мини-погрузчики снаряженной массой менее 4500 кг;
- погрузчики с бортовым поворотом снаряженной массой менее 4500 кг.
--------------------------------
<1> Определение классов землеройных машин по
[1].
<2> Определение снаряженной массы по
[2].
<3> Для скреперов на базе трактора с подвеской допускается использование сидений без подвески либо с подвеской с высоким демпфированием.
<4> Для гусеничных бульдозеров массой более 50000 кг использования сидений с мягкой подушкой достаточно для эффективного снижения передаваемой через них вибрации.
Каждой из перечисленных машин поставлен в соответствие спектральный класс испытательного вибрационного воздействия.
Настоящий стандарт не распространяется на следующие машины, для которых вибрация в вертикальном направлении в диапазоне частот от 1 до 20 Гц невелика и не требует снижения за счет работы подвески сиденья:
- экскаваторы, включая шагающие и канатные экскаваторы
<1>;
- траншеекопатели;
- тракторы - уплотнители закладки отходов;
- катки вальцовые;
- фрезы дорожные;
- трубоукладчики;
- финишеры;
- катки вальцовые вибрационные.
--------------------------------
<1> Для экскаваторов преобладающей является вибрация в продольном направлении (ось X).
Настоящий стандарт распространяется на сиденья машин обычных конструкций. Сиденья машин специальной конструкции могут потребовать применения других методов испытаний.
Настоящий стандарт не рассматривает вибрацию, передаваемую на тело оператора не через сиденье, а через другие области контакта с машиной (платформу, педали управления, рулевое колесо и т.д.).
В настоящем стандарте использованы нормативные ссылки на следующие межгосударственные стандарты:
ГОСТ 12.1.012-2004 Система стандартов безопасности труда. Вибрационная безопасность. Общие требования
ГОСТ ИСО 10326-1-2002 Вибрация. Оценка вибрации сидений транспортных средств по результатам лабораторных испытаний. Часть 1. Общие требования
ГОСТ 31191.1-2004 (ИСО 2631-1:1997) Вибрация и удар. Измерение общей вибрации и оценка ее воздействия на человека. Часть 1. Общие требования
ГОСТ 31194.1-2004 (ИСО 13090-1:1998) Вибрация и удар. Меры безопасности при проведении испытаний с участием людей. Общие требования
ГОСТ 31316-2006 (ИСО 5007:2003) Вибрация. Лабораторный метод оценки вибрации, передаваемой через сиденье оператора машины. Тракторы сельскохозяйственные колесные
Примечание - При пользовании настоящим стандартом целесообразно проверить действие ссылочных стандартов на территории государства по соответствующему указателю стандартов, составленному по состоянию на 1 января текущего года, и по соответствующим информационным указателям, опубликованным в текущем году. Если ссылочный стандарт заменен (изменен), то при пользовании настоящим стандартом следует руководствоваться заменяющим (измененным) стандартом. Если ссылочный стандарт отменен без замены, то положение, в котором дана ссылка на него, применяется в части, не затрагивающей эту ссылку.
3 Термины, определения, обозначения и сокращения
3.1 Термины и определения
В настоящем стандарте применены термины по
ГОСТ 24346, а также следующие термины с соответствующими определениями:
3.1.1 общая вибрация: Вибрация, воздействующая на тело сидящего оператора через его ягодицы.
3.1.2 спектральный класс вибрационного воздействия: Заданное вибрационное воздействие, определенное для группы машин с разными механическими характеристиками, но схожими параметрами вибрации в точке крепления сиденья.
3.1.3 снаряженная масса: Масса базовой машины со штатным оборудованием, порожними присоединенными устройствами, полными топливными баками и гидравлической системой с учетом массы оператора (75 кг).
3.1.4 сиденье оператора: Часть машины, предназначенная служить опорой ягодицам и спине сидящего оператора, включающая в себя систему подвески и другие механизмы (например, регулировки положения сиденья).
3.1.5 частотный анализ: Представление сигнала вибрации в виде совокупности частотных составляющих.
3.1.6 период измерений: Интервал времени, в течение которого собирают данные сигнала вибрации для последующего анализа.
3.2 Обозначения и сокращения
В настоящем стандарте применены следующие обозначения и сокращения:

- измеренное среднеквадратичное значение вертикальной составляющей ускорения на платформе (см.
рисунок 1) на частоте резонанса;

- заданное среднеквадратичное значение вертикальной составляющей ускорения на платформе (см.
рисунок 1) в диапазонах частот соответственно от

до

и от

до

;

- измеренное среднеквадратичное значение вертикальной составляющей ускорения на платформе (см.
рисунок 1) в диапазонах частот соответственно от

до

и от

до

;

- измеренное на частоте резонанса среднеквадратичное значение вертикальной составляющей ускорения на диске сиденья (см.
рисунок 1) при возбуждении вибрации на частоте резонанса;

- заданное среднеквадратичное значение вертикальной составляющей корректированного ускорения на платформе под сиденьем (см.
рисунок 1) в диапазонах частот соответственно от

до

и от

до

;

- измеренное среднеквадратичное значение вертикальной составляющей корректированного ускорения на платформе под сиденьем (см.
рисунок 1) в диапазоне частот от

до

;

- измеренное среднеквадратичное значение вертикальной составляющей корректированного ускорения на диске сиденья (см.
рисунок 1) в диапазоне частот от

до

;

- разрешение по частоте;
f - частота;

- частота резонанса;

- измеренная спектральная плотность мощности вертикальной составляющей вибрации на платформе (основании сиденья);

- заданная спектральная плотность мощности вертикальной составляющей вибрации на платформе (основании сиденья);

- нижний предел измеренной спектральной плотности мощности вертикальной составляющей вибрации на платформе (основании сиденья);

- верхний предел измеренной спектральной плотности мощности вертикальной составляющей вибрации на платформе (основании сиденья);

- значение передаточной функции на резонансе;
СПМ - спектральная плотность мощности;
с.к.з. - среднеквадратичное значение;
SEAT - коэффициент передачи сиденья;

- период выборки.
1 - спинка сиденья; 2 - подушка сиденья; 3 - диск
с закрепленным акселерометром на подушке сиденья (S);
4 - подвеска сиденья; 5 - платформа; 6 - акселерометр,
установленный на поверхности платформы (P);
7 - опора сиденья
Рисунок 1 - Положение испытателя
4.1 Заданное воздействие вибрации в вертикальном направлении, воспроизводимое лабораторным вибростендом и определяемое через спектральный класс вибрационного воздействия, сформировано в результате анализа данных, полученных в жестких, но типичных рабочих условиях применения землеройных машин. Спектр вибрационного воздействия представляет собой огибающую СПМ ускорения, полученных в наихудших (с точки зрения вибрации) условиях эксплуатации машин данного класса.
4.2 Для оценки качества сиденья используют два критерия:
- максимальный коэффициент передачи, полученный в результате испытания для определения характеристик демпфирования по
ГОСТ ИСО 10326-1.
В процессе испытаний должны быть использованы упругие упоры или другие устройства, применяемые в серийных модификациях испытуемого сиденья с целью ограничить ход подвески.
5 Условия и метод испытаний
5.1 Общие положения
На вибростенде, способном воспроизводить вибрацию в вертикальном направлении, устанавливают платформу, размеры которой близки к размерам платформы, служащей опорой сиденью оператора в машине (см.
рисунок 1).
При необходимости возбуждения вибрации, соответствующей классам EM 1 и EM 2, вибростенд должен обеспечивать воспроизведение синусоидальной вибрации с амплитудой не менее 7,5 см на частоте 2 Гц (см.
5.4.1).
5.2 Испытуемое сиденье
Испытуемое сиденье должно соответствовать серийно выпускаемым изделиям данной модели по конструкции, статическим и динамическим свойствам и другим характеристикам, которые могут оказать влияние на результат испытаний. До начала испытаний сиденья должны пройти приработку в условиях, указанных изготовителем. При отсутствии таких указаний период приработки должен составить 5000 циклов колебаний с проведением измерений через 1000 циклов.
В процессе приработки сиденье нагружают грузом массой (75 +/- 1) кг и регулируют в соответствии с инструкциями изготовителя. В отсутствие таких инструкций начальное положение сиденья устанавливают по центру хода подвески. Сиденье вместе с подвеской закрепляют на платформе вибростенда, которая в процессе испытаний воспроизводит синусоидальные колебания на частоте, близкой к собственной частоте колебаний подвески с закрепленным грузом. Размах перемещения платформы выбирают таким, чтобы вызвать перемещение подвески, составляющее приблизительно 75% ее полного хода. Для этого, как правило, достаточно, чтобы размах перемещения платформы составлял 40% полного хода подвески сиденья. Следует избегать перегрева амортизатора подвески в процессе приработки, для чего, при необходимости, используют принудительное охлаждение амортизатора.
Период приработки считают завершенным, если по результатам трех последовательных измерений коэффициент передачи сиденья в вертикальном направлении остается в пределах +/- 5%. Период между измерениями, в течение которого сиденье подвергают непрерывному воздействию синусоидальной вибрации, должен составлять не менее получаса и включать в себя не менее 1000 периодов колебаний.
Сиденье регулируют по массе испытателя в соответствии с инструкцией изготовителя. Если сиденье способно перемещаться взад-вперед, его устанавливают посередине диапазона перемещений.
Сиденья, у которых полный ход подвески не зависит от регулировки по высоте сиденья или массе испытателя, должны быть отрегулированы по центру хода подвески.
Сиденья, у которых полный ход подвески зависит от регулировки по высоте сиденья или массе испытателя, должны в процессе испытаний быть выведены в самое нижнее положение, при котором еще обеспечен полный рабочий ход подвески, указанный изготовителем.
Спинка сиденья, если конструкция допускает регулировку ее положения, должна быть установлена почти вертикально с небольшим наклоном назад (приблизительно 10° +/- 5°).
5.3 Испытатели
Испытания проводят с участием двух испытателей. Масса одного испытателя должна составлять от 52 до 55 кг, из которых не более 5 кг может приходиться на утяжеляющий пояс вокруг талии. Масса другого испытателя должна составлять от 98 до 103 кг, из которых на утяжеляющий пояс вокруг талии может приходиться не более 8 кг.
Испытатель должен располагаться на сиденье выпрямившись, в естественной позе (см.
рисунок 1), сохраняя ее в течение всего испытания.
До 10% разброса в результатах испытаний может быть обусловлено разницей в позах испытателя. Поэтому следует строго выдерживать угловые соотношения для коленей и лодыжек, указанные на
рисунке 1, и при необходимости принять меры, позволяющие изменять их положение.
5.4 Воспроизводимая вибрация
5.4.1 Испытания для оценки коэффициента передачи сиденья SEAT
Настоящий стандарт устанавливает девять спектральных классов вибрационного воздействия (EM 1 - EM 9) в целях определения коэффициента SEAT сидений машин.

.
Входное воздействие для определения
SEAT установлено в соответствии с
ГОСТ ИСО 10326-1, однако используемая функция частотной коррекции должна соответствовать
ГОСТ 31191.1. Каждый спектральный класс вибрационного воздействия (далее - спектральный класс) определен через спектральную плотность мощности,

, и с.к.з.,

, ускорения платформы в вертикальном направлении (вдоль оси
Z) <1>.
--------------------------------
<1> Настоящий стандарт не устанавливает способ получения заданной СПМ и с.к.з. ускорения, относя это к компетенции испытательной лаборатории.
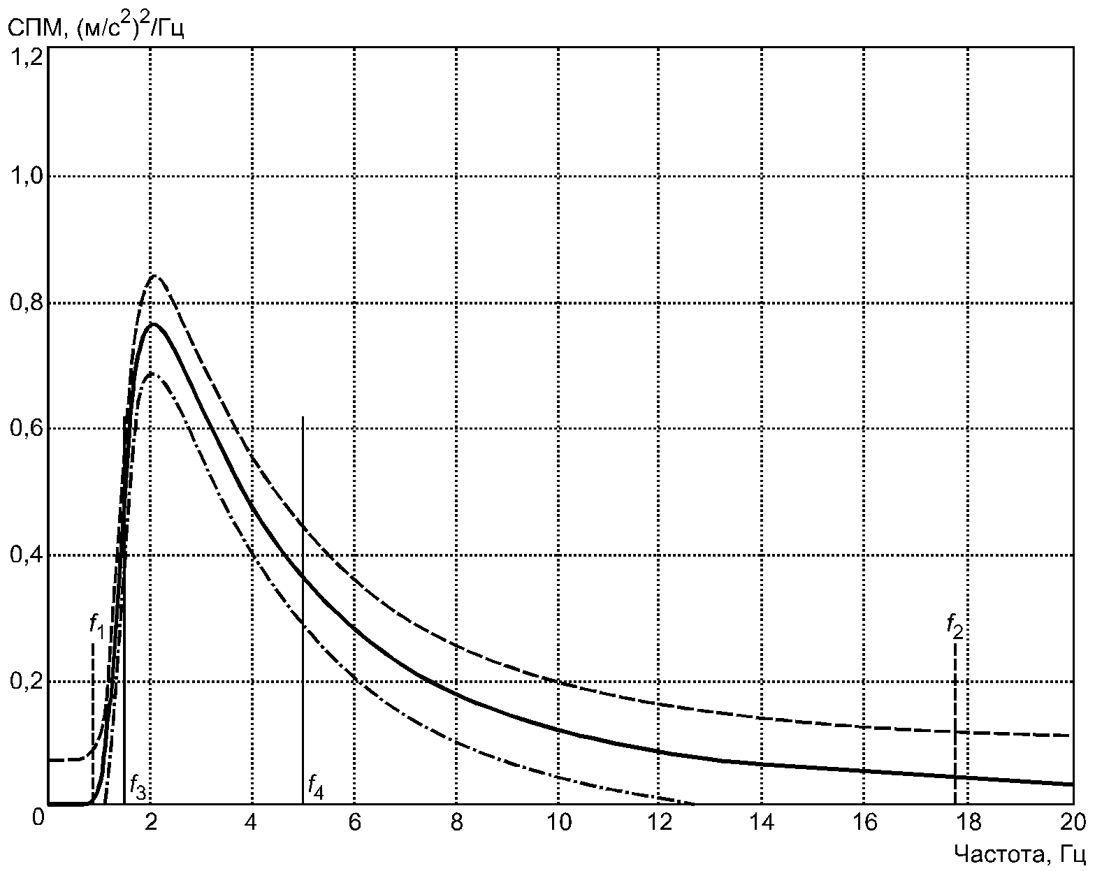
Вид СПМ для каждого спектрального класса EM 1 - EM 9 <2> показан на
рисунках 2 -
10 соответственно. Уравнения, определяющие вид СПМ ускорения на этих рисунках, приведены в
таблице 1. Кривые СПМ, определяемые этими уравнениями, являются заданными характеристиками вибрации, которая должна быть воспроизведена на платформе у основания сиденья в процессе испытаний по
5.5.2.
--------------------------------
<2> Спектральный класс EM 1 используют также для испытаний сидений сельскохозяйственных колесных тракторов класса 1 (см. ГОСТ 31316).
Рисунок 2 - СПМ для спектрального класса EM 1 (самосвал
с жесткой или шарнирно-сочлененной рамой снаряженной
массой более 4500 кг)
Рисунок 3 - СПМ для спектрального класса EM 2
(скрепер без подвески мостов или рамы)
Рисунок 4 - СПМ для спектрального класса EM 3
(колесные погрузчики массой более 4500 кг)
Рисунок 5 - СПМ для спектрального класса EM 4 (грейдеры)
Рисунок 6 - СПМ для спектрального класса EM 5 (колесные
бульдозеры, колесные катки, погрузчики с обратной лопатой)
Рисунок 7 - СПМ для спектрального класса EM 6
(гусеничные самосвалы, гусеничные бульдозеры,
гусеничные погрузчики массой менее 50000 кг)
Рисунок 8 - СПМ для спектрального класса EM 7
(мини-самосвалы массой менее 4500 кг)
Рисунок 9 - СПМ для спектрального класса EM 8
(мини-погрузчики массой менее 4500 кг)
Рисунок 10 - СПМ для спектрального класса EM 9
(погрузчики с бортовым поворотом массой менее 4500 кг)
Таблица 1
Задание спектральных классов вибрационного воздействия
Спектральный класс вибрационного воздействия | |
EM 1 | 2,82(HP24)2(LP24)2 |
EM 2 | 2,72(HP24)2(LP24)2 |
EM 3 | 1,93(HP24)2(LP24)2 |
EM 4 | 0,60(HP24)2(LP24)2 |
EM 5 | 1,11(HP24)2(LP6)2 |
EM 6 | 0,79(HP12)2(LP12)2 |
EM 7 | 9,25(HP48)2(LP48)2 |
EM 8 | 1,45(HP24)2(LP12)2 |
EM 9 | 2,10(HP24)2(LP12)2 |
(LP6) = 1/(1 + S); (LP12) = 1/(1 + 1,414S + S2); (LP24) = 1/(1 + 2,613S + 3,414S2 + 2,613S3 + S4); (LP48) = 1/(1 + 5,126S + 13,137S2 + 21,846S3 + 25,688S4 + 21,846S5 + 13,137S6 + 5,126S7 + S8); (HP12) = S/(1 + 1,414S + S2); (HP24) = S4/(1 + 2,613S + 3,414S2 + 2,613S3 + S4); (HP48) = S8/(1 + 5,126S + 13,137S2 + 21,846S3 + 25,688S4 + 21,846S5 + 13,137S6 + 5,126S7 + S8), где S = j f/ fc;  ; f - частота, Гц; fc - частота среза фильтра, Гц, как указано в таблице 2. |
Примечание - HP и LP обозначают фильтры Баттерворта, соответственно, верхних и нижних частот. |
Таблица 2
Частоты среза фильтров
Спектральный класс вибрационного воздействия | Частота среза фильтра fc, Гц |
(LP6) | (LP12) | (LP24) | (LP48) | (HP12) | (HP24) | (HP48) |
EM 1 | - | - | 2,5 | - | - | 1,5 | - |
EM 2, EM 3, EM 4 | - | - | 3,0 | - | - | 1,5 | - |
EM 5 | 3,5 | - | - | - | - | 1,5 | - |
EM 6 | - | 9,0 | - | - | 6,5 | - | - |
EM 7 | - | - | - | 3,5 | - | - | 3,0 |
EM 8 | - | 3,0 | - | - | - | 3,0 | - |
EM 9 | - | 4,0 | - | - | - | 3,5 | - |
Примечание - HP и LP обозначают фильтры Баттерворта соответственно верхних и нижних частот. Число в обозначении фильтра указывает крутизну спада характеристики (в дБ/октава). Данные настоящей таблицы полностью определяют характеристику соответствующего полосового фильтра через частоту среза и крутизну спада. |
Параметры вибрационного воздействия должны быть определены без учета составляющих, лежащих вне диапазона частот (

).
Детальное описание параметров вибрационного воздействия для реальных СПМ вибрации на платформе у основания сиденья приведено в таблице 3.
Таблица 3
Параметры возбуждаемой вибрации для различных машин
Категория машин | Спектральный класс вибрационного воздействия | Заданная СПМ вибрации в вертикальном направлении на платформе  , (м/с 2) 2/Гц (max) | Диапазон частот от f1 до f2 | Диапазон частот от f3 до f4 |
f1, f2, Гц | Заданное с.к.з. ускорения на платформе  , м/с 2 | Заданное с.к.з. корректированного ускорения на платформе  , м/с2 | f3, f4, Гц | Заданное с.к.з. ускорения на платформе  , м/с 2 | Заданное с.к.з. корректированного ускорения на платформе  , м/с 2 |
Самосвалы с жесткой или сочлененной рамой массой > 4500 кг <a> | EM 1 | 2,21 | f1 = 0,89 f2 = 11,22 | 1,71 | 1,02 | f3 = 1,50 f4 = 2,50 | 1,39 | 0,75 |
Скреперы без подвески моста (рамы) <b> | EM 2 | 2,41 | f1 = 0,89 f2 = 11,22 | 2,05 | 1,34 | f3 = 1,50 f4 = 3,00 | 1,75 | 1,04 |
Колесные погрузчики массой > 4500 кг <a> | EM 3 | 1,71 | f1 = 0,89 f2 = 11,22 | 1,73 | 1,13 | f3 = 1,50 f4 = 3,00 | 1,48 | 0,87 |
Грейдеры | EM 4 | 0,53 | f1 = 0,89 f2 = 11,22 | 0,96 | 0,63 | f3 = 1,50 f4 = 3,00 | 0,82 | 0,49 |
Колесные погрузчики, колесные катки, погрузчики с обратной лопатой | EM 5 | 0,77 | f1 = 0,89 f2 = 17,78 | 1,94 | 1,68 | f3 = 1,50 f4 = 5,00 | 1,42 | 1,11 |
Гусеничные погрузчики, гусеничные бульдозеры <c> массой < 50000 кг <a> | EM 6 | 0,34 | f1 = 0,89 f2 = 17,78 | 1,65 | 1,61 | f3 = 5,00 f4 = 12,00 | 1,39 | 1,42 |
Мини-самосвалы массой < 4500 кг <a> | EM 7 | 5,55 | f1 = 0,89 f2 = 11,22 | 2,26 | 1,89 | f3 = 2,90 f4 = 3,60 | 1,82 | 1,51 |
Мини-погрузчики массой < 4500 кг <a> | EM 8 | 0,40 | f1 = 0,89 f2 = 17,78 | 1,05 | 0,96 | f3 = 2,50 f4 = 5,00 | 0,87 | 0,77 |
Погрузчики с бортовым поворотом массой < 4500 кг <a> | EM 9 | 0,78 | f1 = 0,89 f2 = 17,78 | 1,63 | 1,59 | f3 = 3,00 f4 = 6,00 | 1,33 | 1,31 |
<b> Для скрепера с подвеской может быть использовано сиденье без подвески или с высоким демпфированием. <c> Для гусеничных бульдозеров массой свыше 50000 кг требования к сиденью будут удовлетворены при использовании сиденья с мягкой подушкой. |
Примечание - Данные значения получены на основе комплексных аналитических функций частотной коррекции (с учетом полосовой фильтрации), установленных в ГОСТ 31191.1, для шага по частоте  = 0,001 Гц. Использование другого шага дискретизации или приближенных функций частотной коррекции приведет к несколько отличным результатам. |
В соответствии с
ГОСТ ИСО 10326-1 проводят по три испытания с каждым испытателем для каждого вида входного воздействия. Время воздействия вибрации в процессе каждого испытания должно составлять не менее 180 с.
Значения SEAT, полученные в результате трех последовательных испытаний с одним испытателем, не должны отличаться от среднеарифметического этих значений более чем на +/- 5%. В противном случае испытания продолжают до тех пор, пока указанное условие не будет выполнено.
Период выборки

, с, и разрешение по частоте

, Гц, должны удовлетворять соотношениям:

;

.
5.4.2 Испытание для оценки демпфирования
Испытание для оценки демпфирования состоит из двух этапов: сначала определяют резонансную частоту подвески, после чего определяют коэффициент передачи подвески на резонансе.
Сиденье нагружают грузом массой (75 +/- 1) кг и подвергают воздействию синусоидальной вибрации в диапазоне частот, нижняя граница которого равна половине, а верхняя - удвоенному ожидаемому значению резонансной частоты подвески. При необходимости груз фиксируют на поверхности сиденья, чтобы избежать его перемещений и падения.
Для определения точного значения резонансной частоты указанный диапазон частот сканируют с постоянной скоростью или с дискретными приращениями частоты не более 0,05 Гц. При этом независимо от способа изменения частоты необходимо сначала пройти от нижней границы диапазона до верхней, а затем в обратном направлении. Продолжительность сканирования частоты должна составлять не менее 80 с, при этом поддерживают постоянный размах перемещения платформы, равный наименьшему из двух значений: 40% полного хода подвески, определенного изготовителем, или 50 мм.
Испытание на демпфирование и расчет коэффициента передачи

на резонансе выполняют в соответствии с
ГОСТ ИСО 10326-1. При этом размах перемещения платформы должен составлять 40% полного хода подвески (даже если это значение превышает 50 мм).
На резонансной частоте подвески сиденья проводят только одно испытание.
5.5 Допуски на воспроизводимую вибрацию
5.5.1 Общие положения
Испытания считают соответствующими настоящему стандарту, если выполнены требования 5.5.2 и
5.5.3.
5.5.2 Функция распределения
Строят гистограмму распределения амплитуды ускорения на платформе вибростенда по данным выборки, полученным с частотой дискретизации сигнала не менее 50 Гц, для классов ускорения, ширина которых не превышает 20% истинного с.к.з. ускорения. При этом отличие эмпирического распределения от идеального гауссовского распределения в пределах диапазона +/- 200% истинного с.к.з. ускорения не должно превышать +/- 20%, и, кроме того, в выборке не должно быть данных, превышающих (по модулю) 350% истинного с.к.з. ускорения. Здесь под истинным с.к.з. понимают значение

, указанное в
таблице 3.
5.5.3 Спектральная плотность мощности и среднеквадратичное значение
Спектральная плотность мощности ускорения, измеренная на платформе вибростенда, может быть признана соответствующей заданной СПМ

, только если удовлетворены все нижеперечисленные требования:
a) во всем диапазоне частот

выполнено соотношение

,
где

, если

;

, если

;

;
b) выполнено соотношение

;
c) выполнено соотношение

.
Допуски на

показаны на
рисунках 2 -
10. Форма

определена передаточными характеристиками фильтров, как показано в
таблице 1. Значения

и

приведены в
таблице 3.
6.1 Коэффициент SEAT
Значение коэффициента SEAT для сиденья машины заданного спектрального класса должно удовлетворять требованиям, установленным в таблице 4.
Таблица 4
Коэффициент
SEAT для разных спектральных классов
вибрационного воздействия
Спектральный класс вибрационного воздействия | Коэффициент SEAT |
EM 1 | < 1,1 |
EM 2 | < 0,9 |
EM 3 | < 1,0 |
EM 4 | < 1,1 |
EM 5 | < 0,7 |
EM 6 | < 0,7 |
EM 7 | < 0,6 |
EM 8 | < 0,8 |
EM 9 | < 0,9 |
Примечание - Хорошие (с точки зрения защиты от вибрации) сиденья должны вызывать небольшое повышение вибрации на низких частотах, но при этом существенно снижать, в зависимости от системы подвески, вибрацию в более высоком диапазоне частот. Испытания на вибрацию с СПМ, соответствующими спектральным классам EM 1 и EM 4, ограничены низкочастотным диапазоном, поскольку в случае ударных нагрузок от сиденья требуется высокое демпфирование. Это приводит к тому, что коэффициент SEAT, полученный в результате испытаний, становится близким к единице и даже несколько превышает ее.
6.2 Характеристики демпфирования
Коэффициент передачи на резонансе

вдоль вертикальной оси должен быть менее чем:
- 1,5 для спектральных классов EM 1, EM 2, EM 3, EM 4 и EM 6;
- 2,0 для спектральных классов EM 5, EM 7, EM 8 и EM 9.
Чтобы показать, что сиденье данного типа прошло испытания в соответствии с настоящим стандартом, оно должно иметь маркировку, размещенную на видном месте. Маркировка должна содержать следующие сведения:
- наименование фирмы-изготовителя и ее логотип;
- указание типа сиденья (например, номер модели);
- спектральный класс (или классы) вибрационного воздействия (например, EM 1, EM 2 и т.д.), сопровождающийся указанием "по ГОСТ 27259-2006".
В протокол испытаний включают все данные, необходимые для правильного понимания, интерпретации и применения результатов, полученных в соответствии с настоящим стандартом.
Результаты измерений должны быть сопоставлены с приемочными критериями и внесены в протокол испытаний по формам, указанным на
рисунках 11 и
12.
Рисунок 11 - Форма протокола испытаний с воспроизведением
заданной вибрации для получения оценки
коэффициента SEAT (ось Z)
Рисунок 12 - Форма протокола по результатам испытаний для
оценки расчетного значения коэффициента передачи

(испытание на демпфирование, ось Z)
В протокол испытаний должны входить следующие сведения:
a) наименование и адрес фирмы - изготовителя сиденья;
b) модель сиденья, серийный номер изделия;
c) дата проведения испытаний;
d) подробности процедуры приработки сиденья;
e) тип используемого измерительного диска: полужесткий или жесткий;
f) спектральный класс вибрационного воздействия;
g) вибрация, передаваемая на тело испытателя, при подаче заданного воздействия:
- вибрация на платформе

;
- вибрация на диске сиденья

;
- масса испытателя, кг;
- коэффициент SEAT;
h) вычисленный коэффициент передачи на резонансе и значение резонансной частоты;
i) лицо, проводившее испытания;
j) данные об испытательной лаборатории;
k) место нанесения маркировки (см.
раздел 7).
(справочное)
СВЕДЕНИЯ О СООТВЕТСТВИИ ССЫЛОЧНЫХ МЕЖДУНАРОДНЫХ СТАНДАРТОВ
МЕЖГОСУДАРСТВЕННЫМ СТАНДАРТАМ, ИСПОЛЬЗОВАННЫМ В НАСТОЯЩЕМ
СТАНДАРТЕ В КАЧЕСТВЕ НОРМАТИВНЫХ ССЫЛОК
Таблица А.1
Обозначение ссылочного межгосударственного стандарта | Обозначение и наименование ссылочного международного стандарта и условное обозначение степени его соответствия ссылочному межгосударственному стандарту |
| ИСО 8041:2005. "Воздействие вибрации на человека. Средства измерений" (IDT) |
| ИСО 10326-1:1992. "Вибрация. Лабораторный метод оценки вибрации сидений транспортных средств. Часть 1. Общие требования" (IDT) |
| ИСО 2041:1990. "Вибрация и удар. Словарь" (NEQ) |
(ИСО 2631-1:1997) | ИСО 2631-1:1997. "Вибрация и удар. Оценка воздействия общей вибрации на человека. Часть 1. Общие требования" (MOD) |
(ИСО 13090-1:1998) | ИСО 13090-1:1998. "Вибрация и удар. Меры безопасности при проведении испытаний и экспериментов с участием людей. Часть 1. Воздействие общей вибрации и повторяющихся ударов" (MOD) |
ГОСТ 31316-2006 (ИСО 5007:2003) | ИСО 5007:2003. "Тракторы сельскохозяйственные колесные. Сиденье оператора. Лабораторный метод измерения передаваемой вибрации" (MOD) |
Примечание - В настоящей таблице использованы следующие условные обозначения степени соответствия стандартов: - IDT - идентичные стандарты; - MOD - модифицированные стандарты; - NEQ - неэквивалентные стандарты. |
| ИСО 6165:1997 | Машины землеройные. Основные типы. Термины и определения |
(ISO 6165:1997) | (Earth-moving machinery. Basic types. Vocabulary) |
| ИСО 6061:1998 | Машины землеройные. Методы измерения массы машины, ее оборудования и компонентов |
(ISO 6061:1998) | (Earth-moving machinery - Methods of measuring the masses of whole machines, their equipment and components) |