Главная // Актуальные документы // ГОСТ (Государственный стандарт)СПРАВКА
Источник публикации
М.: Стандартинформ, 2014
Примечание к документу
Текст данного документа приведен с учетом
поправки, опубликованной в "ИУС", N 7, 2022.
Документ
введен в действие с 01.01.2014.
Название документа
"ГОСТ 32018-2012. Межгосударственный стандарт. Изделия строительно-дорожные из природного камня. Технические условия"
(введен в действие Приказом Росстандарта от 27.12.2012 N 2012-ст)
"ГОСТ 32018-2012. Межгосударственный стандарт. Изделия строительно-дорожные из природного камня. Технические условия"
(введен в действие Приказом Росстандарта от 27.12.2012 N 2012-ст)
агентства по техническому
регулированию и метрологии
от 27 декабря 2012 г. N 2012-ст
МЕЖГОСУДАРСТВЕННЫЙ СТАНДАРТ
ИЗДЕЛИЯ СТРОИТЕЛЬНО-ДОРОЖНЫЕ ИЗ ПРИРОДНОГО КАМНЯ
ТЕХНИЧЕСКИЕ УСЛОВИЯ
Road-construction goods of natural stone.
Specifications
(EN 1341:2001, NEQ)
(EN 1342:2001, NEQ)
(EN 1343:2001, NEQ)
(EN 14231:2003, NEQ)
ГОСТ 32018-2012
Дата введения
1 января 2014 года
Цели, основные принципы и основной порядок работ по межгосударственной стандартизации установлены
ГОСТ 1.0-92 "Межгосударственная система стандартизации. Основные положения" и
ГОСТ 1.2-2009 "Межгосударственная система стандартизации. Стандарты межгосударственные, правила и рекомендации по межгосударственной стандартизации. Правила разработки, принятия, применения, обновления и отмены".
1. Разработан Федеральным государственным унитарным предприятием "Научно-исследовательский и проектно-изыскательский институт по проблемам добычи, транспорта и переработки минерального сырья в промышленности строительных материалов" (ФГУП "ВНИПИИстромсырье").
2. Внесен Техническим комитетом ТК 465 "Строительство".
3. Принят Межгосударственной научно-технической комиссией по стандартизации, техническому нормированию и оценке соответствия в строительстве (МНТКС) (приложение E к Протоколу N 41 от 18 декабря 2012 г.).
За принятие стандарта проголосовали:
Краткое наименование страны по МК (ИСО 3166) 004-97 | Код страны по МК (ИСО 3166) 004-97 | Сокращенное наименование национального органа государственного управления строительством |
Армения | AM | Министерство градостроительства |
Киргизия | KG | Госстрой |
Молдова | MD | Министерство строительства и регионального развития |
Россия | RU | Министерство регионального развития |
Таджикистан | TJ | Агентство по строительству и архитектуре при Правительстве |
Туркмения | TM | Главгосслужба "Туркменстандартлары" |
Узбекистан | UZ | Госархитектстрой |
4. В настоящем стандарте учтены требования в части методов определения сопротивления скольжению, абразивному износу, неровностей лицевой поверхности, установленные в следующих европейских региональных стандартах:
EN 1341:2001. Slabs of natural stone for external paving - Requirements and test methods (Плиты из природного камня для мощения улиц. Технические условия и методы испытаний);
EN 1342:2001. Setts of natural stone for external paving - Requirements and test methods (Брусчатка из природного камня для мощения улиц. Технические условия и методы испытаний);
EN 1343:2001. Kerbs of natural stone for external paving - Requirements and test methods (Бордюры из природного камня для мощения улиц. Технические условия и методы испытаний);
EN 14321:2003. Natural stone test methods. Determination of the slip resistance by means of the pendulum tester (Методы испытаний природного камня. Определение сопротивления скольжению методом маятника).
Перевод с английского языка (en).
Степень соответствия - неэквивалентная (NEQ).
5.
Приказом Федерального агентства по техническому регулированию и метрологии от 27 декабря 2012 г. N 2012-ст межгосударственный стандарт ГОСТ 32018-2012 введен в действие в качестве национального стандарта Российской Федерации с 1 января 2014 г.
Информация об изменениях к настоящему стандарту публикуется в ежегодном информационном указателе "Национальные стандарты", а текст изменений и поправок - в ежемесячном информационном указателе "Национальные стандарты". В случае пересмотра (замены) или отмены настоящего стандарта соответствующее уведомление будет опубликовано в ежемесячном информационном указателе "Национальные стандарты". Соответствующая информация, уведомление и тексты размещаются также в информационной системе общего пользования - на официальном сайте Федерального агентства по техническому регулированию и метрологии в сети Интернет.
Настоящий стандарт распространяется на строительно-дорожные изделия, изготовляемые из природного камня (далее - горные породы), предназначенные для устройства покрытий на городских площадях, улицах, пешеходных зонах, трамвайных путях, въездных автомобильных дорогах, садово-парковых дорожках, а также для отделения проезжей части магистральных улиц от тротуаров, газонов, площадок остановок общественного транспорта и от полотна трамвайных путей, проезжей части дорог от разделительных полос, тротуаров на мостах и путепроводах, съездах и в тоннелях; пешеходных дорожек и тротуаров от газонов в парках, скверах и на бульварах.
Настоящий стандарт устанавливает основные виды и размеры строительно-дорожных изделий, требования к горным породам, применяемым для изготовления изделий, а также правила приемки и методы контроля качества изделий.
В настоящем стандарте использованы нормативные ссылки на следующие межгосударственные стандарты:
ГОСТ 82-70. Прокат стальной горячекатаный широкополосный универсальный. Сортамент
ГОСТ 166-89 (ИСО 3599-76). Штангенциркули. Технические условия
ГОСТ 427-75. Линейки измерительные металлические. Технические условия
ГОСТ 3647-80. Материалы шлифовальные. Классификация. Зернистость и зерновой состав. Методы контроля
ГОСТ 9479-2011. Блоки из горных пород для производства облицовочных, архитектурно-строительных, мемориальных и других изделий. Технические условия
ГОСТ 20403-75. Резина. Метод определения твердости в международных единицах (от 30 до 100 IRHD)
ГОСТ 25706-83. Лупы. Типы, основные параметры. Общие технические требования
ГОСТ 27110-86. Резина. Метод определения эластичности по отскоку на приборе типа Шоба
ГОСТ 30629-2011. Материалы и изделия облицовочные из горных пород. Методы испытаний.
Примечание. При пользовании настоящим стандартом целесообразно проверить действие ссылочных стандартов в информационной системе общего пользования - на официальном сайте Федерального агентства по техническому регулированию и метрологии в сети Интернет или по ежегодному информационному указателю "Национальные стандарты", который опубликован по состоянию на 1 января текущего года, и по выпускам ежемесячного информационного указателя "Национальные стандарты" за текущий год. Если ссылочный стандарт заменен (изменен), то при пользовании настоящим стандартом следует руководствоваться заменяющим (измененным) стандартом. Если ссылочный стандарт отменен без замены, то положение, в котором дана ссылка на него, применяется в части, не затрагивающей эту ссылку.
В настоящем стандарте применены следующие термины с соответствующими определениями:
3.1. Камни брусчатые колотые: малогабаритные объемные изделия, изготовленные с помощью скалывающего инструмента, имеющие форму усеченной пирамиды с параллельными прямоугольными верхним и нижним основаниями, перпендикулярными оси, или форму прямоугольного параллелепипеда; все поверхности изделий - колотые, за исключением лицевой поверхности, которая может быть тесаной или иметь различные фактуры.
3.2. Камни брусчатые пиленые: изделия в форме куба или прямоугольного параллелепипеда, изготовленные при раскрое заготовок режущим инструментом; все поверхности изделий - пиленые, за исключением лицевой поверхности, которая может иметь различные фактуры.
3.3. Плиты мощения: прямоплоскостные изделия квадратной или прямоугольной формы с различными фактурами лицевой поверхности, полученные при раскрое заготовок режущим инструментом.
3.4. Камни бортовые колотые: погонажные изделия прямоугольного сечения длиной, значительно превышающей их ширину и высоту, изготовленные с помощью скалывающего инструмента. Все поверхности изделия колотые, за исключением лицевых, которые могут иметь различные фактуры. В зависимости от формы колотые бортовые камни подразделяют на прямолинейные и криволинейные.
3.5. Камни бортовые пиленые: погонажные изделия прямоугольного сечения длиной, значительно превышающей их ширину и высоту, получаемые с помощью режущего инструмента. Все поверхности изделия - пиленые, за исключением лицевой грани, которая может иметь различные фактуры. В зависимости от формы пиленые бортовые камни подразделяют на прямолинейные и криволинейные.
3.6. Рабочие размеры изделий:
3.6.1. Длина: наибольший горизонтальный размер.
3.6.2. Ширина: наименьший горизонтальный размер.
3.6.3. Высота (для камней брусчатых и бортовых): вертикальный размер - расстояние между верхней и нижней поверхностями изделия.
3.6.4. Толщина (для плит мощения): вертикальный размер - расстояние между верхней (лицевой) и нижней поверхностями изделия.
3.7. Лицевые поверхности изделия: поверхности, видимые в процессе эксплуатации изделия.
3.8. Тесаная поверхность: поверхность, обработанная скарпелью или шпунтом для доведения изделия до требуемых размеров и формы.
3.9. Скос: отклонение передней лицевой поверхности бортового камня от вертикальной плоскости.
3.10. Фактический размер: размер, полученный при измерении изделия.
3.11. Номинальный размер: размер изделия, установленный изготовителем и соответствующий фактическому размеру изделия в пределах допустимых отклонений.
3.12. Ребро изделий: место пересечения двух смежных поверхностей.
3.13. Фронтальные поверхности: рабочие поверхности изделия, подверженные износу.
3.14. Сколы граней: повреждения кромок обработанных поверхностей изделий, нарушающие их первоначальную форму.
4. Технические требования
4.1. Строительно-дорожные изделия из горных пород изготовляют в соответствии с требованиями настоящего стандарта, по технологическому регламенту, утвержденному предприятием-изготовителем.
4.2. Строительно-дорожные изделия изготовляют в виде камня (брусчатого и бортового) и плит мощения.
Основные типоразмеры строительно-дорожных изделий должны соответствовать параметрам, приведенным в таблице 1.
Таблица 1
Основные типоразмеры строительно-дорожных изделий
| Тип поверхности | Форма | Размеры, мм | Радиус кривизны R, мм | Назначение изделия |
Высота (толщина) H | Ширина b | Длина l | Высота обработанной части h |
1. Брусчатые камни |
| Колотая | | 50 - 150 | 50 - 300 | 50 - 300 | - | - | Для покрытий на городских площадях, улицах, пешеходных зонах, трамвайных путях, автодорогах, садово-парковых дорожках и т.п. |
| Пиленая | | 50 - 150 | 50 - 300 | 50 - 300 | - | - | То же |
2. Плиты мощения |
ПГК | Колотая | | 50 - 100 | св. 300 - 700 | св. 300 - 700 | - | - | Для покрытий на пешеходных зонах, парковых дорожках и т.п. |
ПГП | Пиленая | | 50 - 100 | св. 300 - 700 | св. 300 - 700 | - | - | Для покрытий на городских площадях, улицах, пешеходных зонах, парковых дорожках и т.п. |
3. Бортовые колотые камни |
| Колотая для изделий с прямолинейным профилем | | 300 | 150 | 700 - 2000 | 150 | - | Для отделения проезжей части улиц и внутриквартальных проездов от тротуаров и газонов |
| 400 | 180 | 700 - 2000 | 250 | - | Для отделения проезжей части дорог от тротуаров на съездах, в тоннелях и распределительных полос |
| Колотая для изделий с прямолинейным профилем | | 200 | 100 | 700 - 2000 | 130 | - | Для отделения переходных дорожек и тротуаров от газонов |
| Колотая для изделий с прямолинейным профилем | | 200 | 80 | 700 - 2000 | - | - | Для отделения переходных дорожек и тротуаров от газонов |
| Колотая для изделий с прямолинейным профилем | | 200 | 150 | 700 - 2000 | 80 | - | Для устройства въездов с проезжей части улиц на тротуары |
| Колотая для изделий с криволинейным профилем | | 300 | 150 | 700 - 2000 | 150 | 5000 | Для отделения проезжей части улиц внутриквартальных проездов от тротуаров на закруглениях |
4. Бортовые пиленые камни |
| Пиленая для изделий с прямолинейным профилем | | 300 | 150 | 700 - 2000 | 150 | - | Для отделения проезжей части улиц и внутриквартальных проездов от тротуаров и газонов |
| 400 | 180 | 700 - 2000 | 250 | - | Для отделения проезжей части дорог от тротуаров на съездах, в тоннелях и распределительных полос |
| 600 | 200 | 700 - 2000 | 450 | - | Для отделения проезжей части дорог от тротуаров на мостах и путепроводах |
| Пиленая для изделий с прямолинейным профилем | | 200 | 100 | 700 - 2000 | 130 | - | Для отделения переходных дорожек и тротуаров от газонов |
| Пиленая для изделий с прямолинейным профилем | | 200 | 80 | 700 - 2000 | - | - | Для отделения переходных дорожек и тротуаров от газонов |
| Пиленая для изделий с прямолинейным профилем | | 200 | 150 | 700 - 2000 | 80 | - | Для устройства въездов с проезжей части улиц на тротуары |
| Пиленая для изделий с криволинейным профилем | | 300 | 150 | 700 - 2000 | 150 | 5000 | Для отделения проезжей части улиц внутриквартальных проездов от тротуаров на закруглениях |
|
Примечание. По согласованию с заказчиком допускается изготовление изделий с другими сечениями бортов, радиусами кривизны и параметрами фасок. |
4.3. Строительно-дорожные изделия в зависимости от назначения, типа поверхности и типоразмера подразделяют на марки, приведенные в
таблице 1.
Условное обозначение марки строительно-дорожного изделия должно включать в себя обозначение:
- вида изделия:

- камень брусчатый,

- камень бортовой,
П - плита мощения;
- материала, из которого изготовлено изделие:
Г - горная порода;
- типа поверхности:
К - колотая,
П - пиленая;
- профиля изделия:
К' - криволинейный для изделий с колотой поверхностью,
П' - криволинейный для изделий с пиленой поверхностью.
Обозначение изделий прямолинейного профиля указывают без индекса;
- радиуса кривизны в миллиметрах (указывают в скобках):
К'(5000),
П'(5000);
4.4. Брусчатые и бортовые камни и плиты мощения должны изготовляться из прочных горных пород, не затронутых выветриванием. Допускается изготовление бортовых камней из среднепрочных горных пород, не затронутых выветриванием. Изделия не должны иметь трещин.
Примечание. Классификация горных пород по прочности приведена в
ГОСТ 9479.
4.5. Физико-механические свойства горных пород, применяемых для изготовления строительно-дорожных изделий, должны соответствовать приведенным ниже требованиям (в скобках - значения показателя для бортовых камней):
- водопоглощение, %, не более .............................. 0,5;
- предел прочности при сжатии в сухом состоянии, МПа,
не менее ....................................................... 100 (80);
- снижение прочности при водонасыщении, %, не более ........ 25 (30);
- морозостойкость, циклы, не менее ......................... 100;
- солестойкость, %, не более ............................... 5;
- истираемость, г/см2, не более ............................ 0,5 (1,0);
- сопротивление удару, см, не менее ........................ 50 (30);
- удельная суммарная эффективность естественных
радионуклидов, Бк/кг, не более ................................. 740.
В горных породах не допускается наличие вредных и затрудняющих обработку минералов и включений.
4.6. По просьбе потребителя бортовые камни марок

,

,

,

,

и

могут изготовляться с фаской или без фаски, камни марок

,

,

,

,

,

,

,

,

,

- со скосом на вертикальной лицевой грани вместо фаски.
4.7. По согласованию с заказчиком допускается изготовление бортовых камней длиной более 2000 мм, а также менее указанной в
таблице 1, но не менее 300 мм.
По согласованию сторон допускается изготовление плит мощения длиной более 700 мм.
4.8. Проекция нижней поверхности брусчатых колотых камней должна быть меньше контура верхней поверхности. Отклонение проекции стороны верхней поверхности от нижней должно быть с каждой стороны не более 10 мм.
4.9. На боковых поверхностях брусчатых колотых камней не должно быть выступов размером, превышающим предельные отклонения от номинальных размеров, препятствующих плотному прилеганию одного камня к другому.
4.10. Виды и характеристики фактур лицевой поверхности строительно-дорожных изделий приведены в таблице 2.
Таблица 2
Виды и характеристики фактур строительно-дорожных изделий
Вид фактуры | Характеристика фактуры | Вид изделия |
Полированная | Зеркальный блеск, полное выявление цвета, рисунка и структуры камня, четкое отображение окружающих предметов, без следов предыдущей обработки | Камни бортовые |
Лощеная | Гладкая матовая, без следов предыдущей обработки | То же |
Шлифованная | Равномерно-шероховатая со следами обработки, полученными только при шлифовке, с неровностями рельефа до 0,63 мм | Брусчатые пиленые камни. Бортовые пиленые камни. Плиты мощения |
Пиленая | Неравномерно-шероховатая с высотой неровностей рельефа до 2 мм | То же |
Точечная (бучардованная) | Равномерно-шероховатая с высотой неровностей рельефа до 5 мм | Брусчатые пиленые и колотые камни. Бортовые пиленые и колотые камни. Плиты мощения |
Бороздчатая (кованая) | Неравномерно-шероховатая, образованная мелкими параллельными прерывистыми бороздками с высотой рельефа до 2 мм | Брусчатые пиленые и колотые камни. Камни бортовые пиленые и колотые |
Бугристая | Рельефная, с равномерным чередованием выступов и впадин, с высотой рельефа до 10 мм при расстоянии между соседними выступами 20 - 40 мм | Брусчатые пиленые и колотые камни. Бортовые пиленые и колотые камни. Плиты мощения |
"Скала" | Обколотая, с высотой неровностей рельефа от 40 до 60 мм, без следов инструмента | Бортовые пиленые и колотые камни |
Термообработанная | Крупно-шероховатая, со следами чешуйчатого шелушения и отслаивания от поверхности лещадных частиц размером до 30 мм и высотой рельефа до 10 мм | Камни брусчатые пиленые и колотые. Камни бортовые пиленые и колотые. Плиты мощения |
Водоструйная | Матовая, равномерно-шероховатая с выявлением структуры, цвета и рисунка камня, с высотой рельефа до 5 мм | Брусчатые пиленые камни. Бортовые пиленые камни. Плиты мощения |
Полированную, лощеную, шлифованную и пиленую фактуры относят к тонким фактурам, остальные - к грубым. Тонкие фактуры не допускаются для плит мощения и брусчатых камней, по которым возможно передвижение людей на открытом воздухе.
По просьбе потребителя (заказчика) могут быть изготовлены изделия с другими видами фактур лицевой поверхности.
4.11. В зависимости от показателей внешнего вида (см.
таблицу 8) и предельных отклонений от номинальных размеров (см. таблицы 3 и
4) строительно-дорожные изделия подразделяют на два класса.
4.12. Предельные отклонения от номинальных размеров брусчатых камней и плит мощения 1-го и 2-го классов должны соответствовать требованиям, приведенным в таблице 3.
Таблица 3
Предельные отклонения от номинальных размеров
брусчатых камней и плит мощения
Вид изделий | Предельные отклонения от номинальных размеров, мм |
по длине и ширине | по высоте (толщине) | по диагоналям | по толщине |
при толщине <= 60 мм | при толщине > 60 мм |
Брусчатые колотые камни: | | | | | |
1-го класса | +/- 10 | +/- 15 | - | - | - |
2-го класса | +/- 20 | | | |
Брусчатые пиленые камни: | | | | | |
1-го класса | +/- 3 | +/- 3 | - | - | - |
2-го класса | | +/- 5 | | | |
Плиты мощения: | | | | | |
1-го класса | +/- 2 | - | +/- 3 | +/- 2 | +/- 3 |
2-го класса | +/- 3 | | +/-6 | +/- 3 | +/- 4 |
4.13. Предельные отклонения от номинальных размеров бортовых камней должны соответствовать требованиям, приведенным в таблице 4.
Таблица 4
Предельные отклонения от номинальных
размеров бортовых камней
Наименование размера | Предельные отклонения от номинальных размеров расстояний, мм |
между двумя колотыми поверхностями камней | между обработанной и колотой поверхностями камней | между двумя обработанными поверхностями камней |
1-го класса | 2-го класса | 1-го класса | 2-го класса | 1-го класса | 2-го класса |
Ширина | +/- 10 | +/- 5 | +/- 3 |
Высота | +/- 20 | +/- 30 | +/- 20 | +/- 30 | +/- 10 | +/- 10 |
4.14. Предельные отклонения от прямолинейности ребер и плоскостности лицевой поверхности брусчатых камней и плит мощения должны соответствовать требованиям, приведенным в таблице 5.
Таблица 5
Предельные отклонения от прямолинейности ребер
и плоскостности лицевой поверхности брусчатых камней
и плит мощения
Вид изделий | Предельные отклонения, мм |
от прямолинейности ребер, примыкающих к лицевой поверхности | от плоскостности лицевой поверхности |
тонких фактур | грубых фактур | колотой | обработанной |
Камни брусчатые | +/- 3 | +/- 4 | +/- 5 | +/- 3 |
Плиты мощения | +/- 3 | +/- 4 | +/- 5 | +/- 3 |
4.15. Предельные отклонения радиуса кривизны поверхности бортовых криволинейных камней должны соответствовать требованиям, приведенным в таблице 6.
Таблица 6
Предельные отклонения радиуса кривизны поверхности
бортовых криволинейных камней
Длина шаблона, мм | Предельные отклонения радиуса кривизны поверхности, мм |
выпуклой | вогнутой |
Тонкие фактуры |
300 | 2 | 1 |
500 | 3 | 2 |
800 | 4 | 3 |
Грубые фактуры |
| | |
300 | 3 | 2 |
500 | 4 | 3 |
800 | 5 | 4 |
4.16. Предельные отклонения показателей формы бортовых камней должны соответствовать требованиям, приведенным в таблице 7.
Таблица 7
Предельные отклонения показателей формы бортовых камней
Наименование параметра | Предельные отклонения, мм |
колотых | пиленых |
Прямолинейность ребра, параллельного лицевой поверхности | +/- 6 | +/- 3 |
Прямолинейность ребра, перпендикулярного лицевой поверхности | +/- 6 | +/- 3 |
Перпендикулярность между лицевой и фронтальной поверхностями | +/- 10 | +/- 7 |
Плоскостность лицевой поверхности | +/- 10 | +/- 5 |
Перпендикулярность лицевой поверхности к торцевой | +/- 5 | +/- 5 |
4.17. Верхние поверхности изделий, предназначенных для мощения площадей и въездных автомобильных дорог, должны иметь шероховатую поверхность с выступами и впадинами высотой и глубиной не менее 2 - 3 мм, обеспечивающими сцепление шин автотранспорта с поверхностью покрытий.
4.18. Бортовые колотые камни всех марок, за исключением камней марки

, должны иметь следующие обработанные поверхности с фактурами, приведенными в
таблице 2:
- верхнюю горизонтальную поверхность по всей ширине;
- видимую часть лицевой вертикальной поверхности h (см.
таблицу 1);
- фаску между лицевыми горизонтальной и вертикальной поверхностями, выполненную под углом 45° к горизонтали;
- полоски по кромке тыльной вертикальной поверхности и кромкам торцевых поверхностей шириной 20 мм.
Остальные поверхности фактурной обработке не подвергают.
По согласованию с заказчиком бортовые камни могут изготовляться с фаской или без нее, при этом фаска и угол ее наклона могут иметь другие размеры.
4.19. Показатели внешнего вида брусчатых камней и пиленых плит мощения должны соответствовать требованиям, приведенным в таблице 8.
Таблица 8
Показатели внешнего вида брусчатых камней
и пиленых плит мощения
Наименование показателя | Значение для изделий |
Камни брусчатые пиленые | Камни бортовые | Плиты мощения |
1-го класса | 2-го класса | 1-го класса | 2-го класса | 1-го класса | 2-го класса |
Отбитые углы на верхней поверхности, шт., не более | Не допускаются | 2 | Не допускаются | 2 | Не допускаются |
Длина отбитых углов по ребру, мм, не более | Не допускается | 5 | Не допускается | 5 | Не допускается |
Сколы на ребрах лицевых поверхностей, шт., не более | 1 | 3 | 1 | 3 | Не допускаются | 2 |
Длина сколов, мм, не более | 3 | 5 | 3 | 5 | Не допускается | 5 |
4.20. Маркировка
4.20.1. На торцевой грани строительно-дорожных изделий, взятых из одной партии по 4.20.2, должны быть нанесены несмываемой краской следующие данные:

- для брусчатых камней,
ПГК, ПГП - для плит мощения,

,

,

,

,

,

,

,

,

,

- для бортовых камней;
- штамп отдела технического контроля (ОТК).
4.20.2. Число маркируемых изделий, взятых из одной партии, должно быть:
- 10 шт. - брусчатых камней;
- 10% числа изделий в партии плит мощения;
- 20% числа изделий в партии бортовых прямолинейных камней;
- каждый бортовой криволинейный камень.
5.1. Строительно-дорожные изделия должны быть приняты ОТК предприятия-изготовителя.
5.2. Приемку и поставку строительно-дорожных изделий проводят партиями. Партией считают число изделий одного вида и марки, вмещающееся в одно транспортное средство, но не менее 50 шт.
5.3. Для проверки соответствия качества строительно-дорожных изделий требованиям настоящего стандарта проводят приемочный контроль.
5.4. При приемочном контроле строительно-дорожных изделий определяют:
- геометрические размеры и форму;
- фактуру лицевой поверхности;
- качество лицевой поверхности.
5.5. Объем выборки строительно-дорожных изделий, отобранных от каждой партии для проверки их качества, приведен в таблице 9.
Таблица 9
Объем выборки при приемочном контроле
Объем партии, шт. | Объем выборки, шт. | Приемочное число, шт. | Браковочное число, шт. |
брусчатых камней | плит мощения | бортовых камней | брусчатых камней | плит мощения | бортовых камней | брусчатых камней | плит мощения | бортовых камней |
До 25 | 5 | 5 | 5 | 0 | 0 | 0 | 1 | 1 | 1 |
От 26 " 90 | 13 | 13 | 13 | 0 | 0 | 0 | 1 | 1 | 1 |
" 91 " 500 | 20 | 20 | 20 | 0 | 0 | 0 | 1 | 1 | 1 |
" 501 " 1200 | 32 | 32 | 32 | 0 | 0 | 0 | 1 | 1 | 1 |
" 1201 " 3200 | 50 | 50 | 50 | 1 | 1 | 1 | 2 | 2 | 2 |
" 3201 " 10000 | 80 | 80 | 80 | 2 | 2 | 2 | 3 | 3 | 3 |
" 10001 " 35000 | 125 | 125 | 125 | 3 | 3 | 3 | 4 | 4 | 4 |
Более 35000 | 200 | 200 | 200 | 4 | 4 | 4 | 5 | 5 | 5 |
5.6. Проверяемое изделие следует считать дефектным, если оно не удовлетворяет хотя бы по одному показателю требованиям настоящего стандарта. При этом партию дополняют изделиями без дефектов числом, равным числу выявленных бракованных изделий в процентах, без увеличения объема партии.
5.7. Партию изделий принимают, если число дефектных изделий в выборке меньше или равно приемочному числу, и не принимают, если число дефектных изделий больше или равно браковочному числу.
5.8. Партия изделий, не принятая в результате выборочного контроля, может быть разделена на несколько групп (не менее 50 изделий в группе), и для каждой группы изделий вновь проводят выборочный контроль. Группы изделий, не принятые в результате повторных проверок, принимают поштучно, при этом контролируют соответствие изделий тем требованиям, по которым партия не была принята.
5.9. Физико-механические показатели горных пород, применяемых для изготовления строительно-дорожных изделий, определяют не реже одного раза в год, а также при переходе к разработке от одной разновидности горной породы к другой.
5.10. Потребитель имеет право проводить контрольную проверку изделий, применяя при этом порядок контроля качества и методы контроля и испытаний, предусмотренные настоящим стандартом.
5.11. Предприятие-изготовитель должно сопровождать каждую партию изделий документом (паспортом) качества произвольной формы, в котором указывают:
- наименование ведомства, ассоциации, компании, в структуру которых входит предприятие-изготовитель;
- наименование и адрес предприятия-изготовителя;
- номер и дату выдачи паспорта;
- номер партии;
- вид изделия;
- наименование горной породы, из которой изготовлены изделия;
- число изделий в партии, шт.;
- дату отгрузки;
- физико-механические свойства горной породы;
- обозначение настоящего стандарта.
6.1. Размеры и правильность формы строительно-дорожных изделий проверяют с точностью до 1 мм линейкой по
ГОСТ 427 и угольниками типа УЛП, УП, УШ по
ГОСТ 3749 размерами, соответствующими размерам проверяемых изделий.
Длину криволинейных бортовых камней определяют по большему радиусу.
6.2. Отклонение от плоскостности лицевой поверхности строительно-дорожных изделий определяют, измеряя набором щупов наибольший просвет между поверхностью изделия и металлической линейкой, уложенной на поверхность изделия.
6.3. Перпендикулярность верхней горизонтальной поверхности к торцевым и лицевой вертикальной поверхностям проверяют угольником по
ГОСТ 3749.
6.4. Радиус кривизны лицевой поверхности криволинейных бортовых камней определяют линейкой по
ГОСТ 427, измеряя просвет между поверхностью изделия и приложенным к ней шаблоном.
6.5. Неровность рельефа лицевой поверхности (выступы-впадины) измеряют специальным шаблоном с игольчатым щупом (см.
Приложение А).
6.6. Физико-механические показатели горных пород, применяемых для изготовления строительно-дорожных изделий, определяют по
ГОСТ 30629.
В случае экспорта изделий по просьбе потребителя дополнительно могут определяться следующие показатели: сопротивление абразивному износу (см.
Приложение Б) и сопротивление скольжению (см.
Приложение В).
7. Хранение и транспортирование
7.1. Строительно-дорожные изделия должны храниться в штабелях по видам и маркам.
7.2. Строительно-дорожные изделия должны перевозиться в специальных контейнерах или на поддонах всеми видами транспорта в соответствии с правилами перевозки грузов, действующими на транспорте конкретного вида. Брусчатые камни допускается перевозить и хранить в других видах упаковки или навалом при соблюдении условий, исключающих их повреждение.
При транспортировании и хранении изделий должны быть приняты меры, исключающие возможность их повреждения.
7.3. Погрузку и разгрузку брусчатых камней допускается проводить сбрасыванием, если это не приводит к их повреждению.
Предприятие-изготовитель должно гарантировать соответствие поставляемых строительно-дорожных изделий требованиям настоящего стандарта при соблюдении условий транспортирования и хранения, установленных настоящим стандартом.
(рекомендуемое)
МЕТОД ИЗМЕРЕНИЯ НЕРОВНОСТЕЙ ЛИЦЕВОЙ ПОВЕРХНОСТИ
А.1. Средства измерений
Измеритель профиля с игольчатым щупом или аналогичный (см. рисунок А.1).
Рисунок А.1. Измеритель профиля
Металлическая измерительная линейка по
ГОСТ 427.
А.2. Проведение измерений
Измерение неровностей лицевой поверхности строительно-дорожных изделий проводят в следующем порядке:
а) изделие укладывают на ровную твердую плоскую поверхность;
б) иглодержатель устанавливают на ровную плоскую поверхность, иглы прожимают вниз до основания;
в) линейкой измеряют и записывают расстояние между иглами и иглодержателем в миллиметрах;
г) лицевую поверхность изделия делят на четыре участка и на одном из участков измеряют неровности рельефа измерителем профиля, прижимая иглы к поверхности изделия;
д) убирают измеритель профиля и линейкой измеряют и записывают самое высокое и самое низкое положения игл в миллиметрах;
е) рассчитывают разность между результатами измерений по
перечислению в) и результатом измерения по
перечислению г), получая максимальные и минимальные значения неровностей профиля;
ж) измерения повторяют на остальных трех участках и записывают четыре минимальных и четыре максимальных результата измерений.
(рекомендуемое)
МЕТОД ОПРЕДЕЛЕНИЯ СОПРОТИВЛЕНИЯ СКОЛЬЖЕНИЮ
Б.1. Сущность метода
Сопротивление скольжению характеризует способность поверхности горной породы препятствовать скольжению находящихся на ней предметов и зависит от рельефа поверхности, влажности, температуры и других факторов.
Для определения сопротивления скольжению горных пород применяют метод маятника, сущность которого заключается в измерении значения отклонения плеча маятника после прохождения по испытуемой поверхности резинового вкладыша маятникового прибора <*>.
--------------------------------
<*> Испытания проводят для поверхностей с неровностями рельефа менее 1 мм; перекрытие поверхности образца по ширине резинового вкладыша при фиксированной длине контакта (126 +/- 1) мм или (76 +/- 1) мм.
Б.2. Конструкция и характеристика маятникового прибора
Б.2.1. Для испытаний применяют маятниковый прибор типа TRL-тестер или аналогичный (см. рисунок Б.1).
А - стойка; Б - плита-основание; В - сектор с круглыми
шкалами 1 и 2; 3 - стрелка-указатель; 4 - плечо маятника;
5 - ползун с резиновым вкладышем; 6 - регулировочные винты;
7 - замки для фиксации образца; 8 - уровень; 9 - винт
крепления сектора к вертикальной стойке;
10 - испытуемый образец
Рисунок Б.1. Маятниковый прибор TRL-tester
для испытаний поверхности камня на сопротивление скольжению
Маятниковый прибор включает в себя:
- подпружиненный ползун с резиновым рабочим вкладышем, смонтированный на конце плеча маятника так, что расстояние от его рабочей кромки до оси плеча составляет (510 +/- 1) мм;
- регулировочные винты, обеспечивающие установку стойки прибора в строго вертикальном положении;
- плиту-основание, масса которой должна обеспечить прибору необходимую устойчивость при проведении испытаний;
- механизм подъема-опускания оси плеча маятника, обеспечивающий свободное раскачивание маятника, не касаясь ползуном поверхности образца;
- механизм удерживания и освобождения плеча маятника, обеспечивающий его свободное падение из горизонтального положения;
- стрелку-указатель длиной 300 мм, уравновешенную на оси плеча маятника и показывающую положение плеча маятника при его свободном качании и движении вдоль круглой шкалы. Масса стрелки-указателя не должна превышать 85 г. Трение в механизме стрелки-указателя должно регулироваться так, чтобы при свободном качании плеча маятника из горизонтального положения конец стрелки-указателя мог остановиться при предварительном качании плеча в точке на (10 +/- 1) мм ниже горизонтали, что соответствует нулевому значению шкалы;
- круглую шкалу 1, откалиброванную для длины скольжения маятника по плоской поверхности 126 мм и градуированную от 0 до 100 единиц с ценой деления 5 единиц;
- круглую шкалу 2, откалиброванную для длины скольжения маятника по плоской поверхности 76 мм и градуированную от 0 до 1 с ценой деления 0,05 единицы.
Б.2.2. Масса плеча маятника, включая ползун, должна быть (1,5 +/- 0,3) кг. Центр тяжести должен находиться на оси плеча на расстоянии (410 +/- 5) мм от оси качания.
Б.2.3. Ползун состоит из держателя и рабочего элемента (резинового вкладыша). В широком ползуне резиновый вкладыш имеет ширину (76,2 +/- 0,5) мм (по направлению качания), толщину (64 +/- 0,5) мм; общая масса широкого ползуна - (32 +/- 5) г. В узком ползуне резиновый вкладыш имеет ширину (31,8 +/- 0,5) мм, длину (25,4 +/- 1,0) мм, толщину (64 +/- 0,5) мм; общая масса ползуна (20 +/- 5) г.
Б.2.4. Ползун закрепляют на жесткой основе с центральной поворотной осью, смонтированной на конце плеча маятника так, что когда плечо маятника находится в нижней точке качания, выступающий край резинового вкладыша соприкасается с испытуемой поверхностью образца, при этом плоскость вкладыша находится под углом (26 +/- 3)° к испытуемой поверхности. Описанная конструкция ползуна позволяет поворачиваться ему относительно оси при качании маятника без каких-либо помех из-за неровностей испытуемой поверхности.
Б.2.5. Ползун должен быть подпружинен относительно испытуемой поверхности. При калибровке маятникового прибора статическая сила на ползуне должна быть (22,2 +/- 0,5) Н при нахождении его в нижней точке. Изменение статической силы на ползуне не должно быть более 0,2 Н на 1 мм отклонения ползуна.
Б.2.6. Начальная эластичность и твердость резинового вкладыша ползуна должны соответствовать приведенным в таблице Б.1. Вкладыш должен быть сертифицирован, при этом должны быть указаны производитель и дата его изготовления. Вкладыш бракуют, если измеренные в соответствии с
ГОСТ 20403 показатели твердости резины не соответствуют указанным в таблице Б.1, а также по истечении трехлетнего срока после изготовления.
Таблица Б.1
Характеристики резинового вкладыша
Наименование показателя | Температура, °C |
0 | 10 | 20 | 30 | 40 |
Эластичность, % <*> | 43 - 49 | 58 - 65 | 66 - 73 | 71 - 77 | 74 - 79 |
Твердость, ед. IRHD <**> | 53 - 65 | - | - | - | - |
<**> Международные единицы твердости резины по ГОСТ 20403. |
Б.2.7. Рабочая кромка резинового вкладыша должна быть прямоугольной, ровно отрезанной и не иметь загрязнений (следов абразива, масла и т.п.). Резиновый вкладыш должен храниться в темном помещении при температуре 5 °C - 20 °C.
Б.2.8. Новый вкладыш перед использованием должен быть отрезан так, чтобы минимальная ширина рабочей ударной кромки составляла 1 мм (см.
рисунок Б.3). Для получения указанной ширины маятнику задают 5 качаний по сухой поверхности с показателем трения по шкале 2 40 единиц, после чего проводят еще 20 качаний на той же поверхности, но после ее увлажнения.
а) вид сбоку
б) вид сверху
1 - шаблон; 2 - ползун; 3 - базовый край ползуна;
4 - измеренная длина скольжения; 5 - фактическая
длина скольжения
Рисунок Б.2. Схема определения длины хода ползуна
1 - резиновый вкладыш; 2 - алюминиевая основа;
3 - рабочая кромка; 4 - ширина износа
Рисунок Б.3. Схема сборки ползуна (показан
максимальный износ рабочей ударной кромки вкладыша)
Б.2.9. Резиновый вкладыш бракуют, если ширина его рабочей ударной кромки (см. рисунок Б.3) превысит 3 мм или если ее поверхность приобрела царапины, заусеницы и т.п. Вкладыш может быть перевернут на новую рабочую кромку, которую следует предварительно обработать в соответствии с
Б.2.8.
Б.3. Подготовка к испытаниям
Б.3.1. Подготовка образцов
К испытаниям подготавливают 5 образцов, выпиливая их из изделий, отобранных от конкретной партии. Образцы должны иметь форму прямоугольных плит размерами 136 x 86 мм и толщиной не менее 20 мм. В случае невозможности изготовления образцов указанного размера допускается изготовлять образцы размерами 42 x 86 мм (для проведения испытаний непосредственно на эксплуатируемом покрытии образцы не изготовляют). Фактура лицевой поверхности образцов должна соответствовать заданным условиям эксплуатации.
С помощью регулировочных винтов 6 устанавливают стойку A в вертикальное положение и поднимают сектор B с горизонтальной осью на высоту, обеспечивающую свободное качание плеча маятника 4. Регулируют фрикцион в механизме стрелки-указателя 3 так, чтобы при освобождении плеча маятника 4 и стрелки-указателя 3 из горизонтального (правого) положения стрелка-указатель установилась бы на нулевом делении шкалы 1. Устанавливают образец 10, жестко фиксируя его в зажиме (длина образца должна совпадать с траекторией скольжения резинового вкладыша ползуна 5). Затем регулируют высоту положения плеча маятника так, чтобы вкладыш ползуна 5 мог пройти по всей длине образца 10, касаясь поверхности образца всей своей шириной.
Б.4. Проведение испытаний
Б.4.1. Стрелку-указатель 3 устанавливают в исходное положение и нажатием кнопки опускают плечо маятника 4. После возвращения (обратного хода) плеча маятник следует поймать, не давая резиновому вкладышу ползуна 5 вторично пройти по поверхности скольжения образца. Записывают положение стрелки-указателя 3 (отсчет в делениях шкалы), после чего возвращают плечо маятника 4 и стрелку-указатель 3 в исходное положение.
Б.4.2. Описанную в
Б.4.1 операцию (сброс плеча маятника 4) повторяют до получения пяти положительных результатов (не более трех единиц шкалы 1 или 0,03 единицы шкалы 2). Затем сектор B поднимают, обеспечивая свободное качание маятника, проверяя положение нуля, установленное при калибровке прибора (при смещении нуля более чем на одну единицу деления шкалы регулировку прибора следует повторить в соответствии с
Б.3.2). Если испытания проводят в лабораторных условиях (на образцах горной породы), необходимо после серии испытаний в одном направлении повернуть образец на 180° и повторить испытание.
Приведенный порядок испытаний соответствует "сухим" условиям эксплуатации дорожных покрытий.
Если необходимо, по требованию потребителя определяют сопротивление скольжению для влажных условий эксплуатации дорожного покрытия, используя маятниковый прибор. В этом случае образец горной породы, предназначенный для испытаний, выдерживают в дистиллированной или деионизированной воде в течение 2 ч при температуре плюс (20 +/- 5) °C. Перед каждым испытанием поверхность образца и резинового вкладыша смачивают.
Порядок проведения испытаний аналогичен испытаниям для "сухих" условий. Испытания должны проводиться в диапазоне температур воздуха от 5 °C до 40 °C, при этом оптимальное значение температуры должно быть 20 °C. При отклонении температуры от указанного значения вводят корректирующие поправки на результат испытаний. Для температуры 10 °C поправку принимают равной минус 3 единицы шкалы прибора, для температуры 30 °C - плюс 2 единицы шкалы прибора.
Б.5. Нормируемый показатель сопротивления скольжению
Результат, полученный при испытании полированной поверхности с применением маятникового прибора типа TRL-tester с широким резиновым вкладышем, равный 35 единицам шкалы и более, свидетельствует о безопасности дорожного покрытия и принимается в качестве нормируемого показателя сопротивления скольжению.
Б.6. Отчет об испытаниях
Отчет о проведенных испытаниях должен содержать следующую информацию:
а) наименование и адрес испытательной лаборатории, место проведения испытаний, если оно не совпадает с адресом лаборатории;
б) номер и наименование настоящего стандарта;
в) описание испытуемых образцов;
г) идентификационный признак отчета (например, серийный номер) с нумерацией каждой страницы и указанием общего количества страниц в отчете;
д) наименование и адрес потребителя;
е) дату получения и испытания образцов;
ж) описание методики испытаний;
и) описание способов отбора и подготовки образцов;
к) какие-либо отклонения, дополнения или замечания к испытаниям или другую специальную информацию;
л) описание нестандартных методов, использованных в процессе испытаний;
м) описание горной породы:
- петрографическое наименование,
- коммерческое наименование камня,
- имя и адрес поставщика,
- наименование и местоположение карьера,
- элементы залегания, анизотропные свойства;
н) число и размер образцов, а также:
- среднеарифметические значения результатов испытания каждого образца,
- среднеарифметические значения результатов испытаний неполированной поверхности образца,
- ширину резинового вкладыша (76 или 31,8 мм),
- описание текстуры поверхности;
п) сведения о погрешности измерений;
р) подписи лиц, ответственных за проведение испытаний, и дату составления отчета;
с) сообщение о том, что результаты испытаний имеют отношение только к испытанным образцам;
т) заявление, что отчет не может тиражироваться без письменного разрешения испытательной лаборатории.
(рекомендуемое)
МЕТОД ОПРЕДЕЛЕНИЯ СОПРОТИВЛЕНИЯ АБРАЗИВНОМУ ИЗНОСУ
В.1. Сущность метода
Метод заключается в измерении ширины канавки, образующейся при истирании лицевой поверхности образца камня абразивным материалом при заданных условиях.
В.2. Абразивный материал
В качестве абразивного материала применяют шлифовальный порошок (далее - шлифпорошок) белого корунда (электрокорунда). Размер зерна шлифпорошка (зернистость) должен соответствовать 16 по
ГОСТ 3647. В процессе испытаний один и тот же порошок может использоваться не более трех раз.
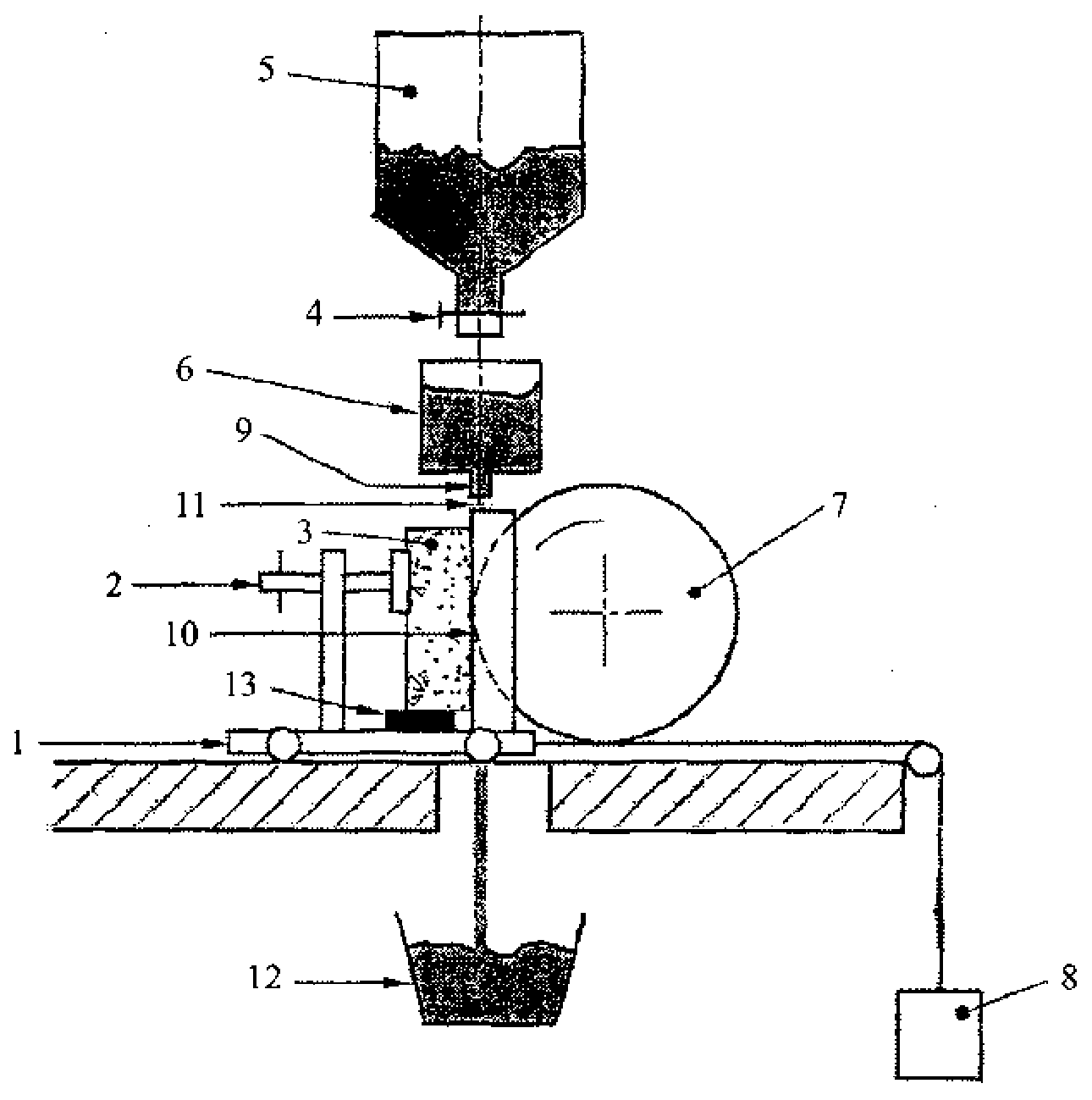
В.3. Испытательное оборудование
Установка для испытаний (см.
рисунок В.1) включает в себя:
- шлифовальный круг периферийного типа 7;
- бункер-накопитель 5 с одним или двумя контрольными вентилями 4, регулирующими поток шлифпорошка 11;
- бункер-питатель 6;
- тележку 1 с винтом 2 и клином 13 для фиксации образца камня 3;
- противовес 8, обеспечивающий подачу тележки 7 и накопителя 12 для сбора шлифпорошка;
- накопитель 12 для сбора шлифпорошка.
1 - тележка; 2 - винт для фиксации образца; 3 - образец
камня; 4 - контрольный вентиль; 5 - бункер-накопитель;
6 - бункер-питатель; 7 - шлифовальный круг; 8 - противовес;
9 - щель для подачи шлифпорошка; 10 - канавка износа;
11 - поток шлифпорошка; 12 - накопитель
шлифпорошка; 13 - клин
Рисунок В.1. Схема и принцип работы установки
для определения сопротивления абразивному износу
(привод шлифовального круга не показан)
При использовании двух контрольных вентилей первый предназначен для регулирования потока шлифпорошка и может быть зафиксирован в постоянном положении, второй вентиль - для включения и выключения подачи шлифпорошка.
Шлифовальный круг должен быть изготовлен из стали марки 45 по
ГОСТ 82. Твердость стали должна находиться в интервале 203 - 245 единиц по HRB.
Диаметр шлифовального круга - (200 +/- 1) мм, толщина - (70 +/- 1) мм. Привод круга должен обеспечивать его вращение с частотой (75 +/- 3,5) об/мин.
Тележку 1, смонтированную на подшипниках, подают на шлифовальный круг с помощью противовеса 8.
Бункер-накопитель 5 содержит в своей емкости запас шлифпорошка, поступающего в бункер-питатель 6.
Бункер-питатель цилиндрической или прямоугольной формы имеет на выходе щель длиной (45 +/- 1) мм, шириной (4 +/- 1) мм. Корпус бункера-питателя должен быть больше размера щели не менее чем на 10 мм во всех направлениях. Для бункера-питателя прямоугольной формы, скошенной к длине щели, указанные ограничения не являются обязательными (см.
рисунок В.2).
Размеры в миллиметрах
| | ИС МЕГАНОРМ: примечание. В официальном тексте документа, видимо, допущена опечатка: имеется в виду рисунок В.1, а не Б.1. | |
Рисунок В.2. Схема расположения щели в нижней части
Расстояние между щелью и осью шлифовального круга должно быть (100 +/- 5) мм, ширина потока шлифпорошка между торцом шлифовального круга и образцом должна быть 1 - 5 мм (см. рисунок В.3).
Размеры в миллиметрах
Рисунок В.3. Схема расположения щели по отношению
Интенсивность потока шлифпорошка, поступающего из бункера-питателя на шлифовальный круг, должна быть не менее 2,5 л/мин. Подача шлифпорошка должна быть постоянной, а уровень шлифпорошка в бункере-питателе должен быть не менее 25 мм (см.
рисунок В.3).
В.4. Средства измерения
Измерительная лупа, предпочтительно снабженная подсветкой, по
ГОСТ 25706.
Металлическая измерительная линейка по
ГОСТ 427.
В.5. Калибровка
Калибровку установки проводят после шлифовки 400 канавок на образцах камня или через каждые 2 мес независимо от объема проведенных испытаний, а также каждый раз при появлении нового оператора, получении новой партии шлифпорошка, замене шлифовального круга.
Перед калибровкой установки определяют плотность шлифпорошка. Бункер-питатель 6 приподнимают так, чтобы высота сброса порошка была примерно 100 мм. Сброс шлифпорошка проводят в металлическую, предварительно взвешенную емкость высотой (90 +/- 10) мм и объемом 1 л, заполнив ее до краев, после чего поверхность шлифпорошка выравнивают. Емкость со шлифпорошком взвешивают, вычитают массу емкости и определяют плотность шлифпорошка.
Затем шлифпорошок пропускают через испытательную установку в течение (60 +/- 1) с, собирая его в предварительно взвешенный накопитель шлифпорошка 12 объемом 3 л. Емкость с абразивом взвешивают, вычитают массу емкости и по определенной ранее плотности вычисляют объем шлифпорошка, прошедшего через установку за (60 +/- 1) с. Полученная скорость потока шлифпорошка должна соответствовать контрольному значению 2,5 л/мин.
Установку калибруют по контрольным показателям эталона - булонского мрамора
<*> в соответствии с требованиями
В.7, отрегулировав противовес так, чтобы после 75 оборотов круга через (60 +/- 3) с длина канавки, прошлифованной (пропиленной) в образце, была (20 +/- 0,5) мм. Массу противовеса увеличивают или уменьшают, регулируя длину канавки. Ход тележки следует регулярно контролировать, выявляя возникновение непредвиденного трения.
Канавку измеряют в соответствии с
В.8, округляя результат измерения до 0,1 мм, после чего вычисляют среднеарифметическое значение результатов трех измерений, принимаемое за показатель калибровки.
В качестве альтернативного материала при калибровке вместо булонского мрамора допускается использовать другой вид камня, если он имеет свойства, аналогичные приведенным ниже <*>.
--------------------------------
<*> Контрольные показатели булонского мрамора: длина x ширина x толщина = 5 x 5 x 5 см, две поверхности, шлифованные алмазным кругом зернистостью 100/120, класс шероховатости N 7,

(высота рельефа) = 1,6 мкм.
При каждой калибровке испытательной установки необходимо контролировать перпендикулярность опор образцов.
Канавка на контрольном образце должна быть прямоугольной с разностью между измеренными длинами CD (см.
рисунок В.4) с каждой стороны не более 0,5 мм.
При необходимости проверяют:
- перпендикулярность образца по отношению к шлифовальному кругу;
- параллельность тележки и щели бункера-питателя плоскости круга;
- равномерность подачи шлифпорошка через щель;
- возникновение непредвиденного трения в системе "тележка-противовес".
Размеры в миллиметрах
Рисунок В.4. Схема измерения канавки
В.6. Подготовка образцов
В качестве образцов для испытаний применяют готовое изделие (для брусчатых камней) или образец размерами не менее 100 x 70 мм, вырезанный из камня, с фактурой верхней поверхности, соответствующей фактуре готового изделия. От одной партии изделий отбирают не менее шести образцов.
Образцы должны быть сухими и чистыми.
Верхняя поверхность образца, подвергающаяся абразивному воздействию в процессе испытания, должна быть плоской с допустимыми отклонениями от плоскостности +/- 1 мм. Если лицевая поверхность образца имеет грубую фактуру и не соответствует указанному допуску, поверхность шлифуют до устранения крупных неровностей рельефа.
Непосредственно перед испытанием испытуемая поверхность образца должна быть очищена жесткой щеткой и покрыта краской (например, несмываемым маркером) для упрощения измерений параметров канавки.
В.7. Проведение испытаний
Бункер-накопитель заполняют сухим шлифпорошком (влажность <= 1%). Тележку откатывают от шлифовального круга и устанавливают на ней образец так, чтобы образующаяся канавка была удалена от края образца не менее чем на 15 мм.
Образец фиксируют с помощью клина так, чтобы поток шлифпорошка прошел над ним. Под шлифовальным кругом устанавливают накопитель шлифпорошка 12. Тележку со шлифпорошком подводят к шлифовальному кругу так, чтобы периферия круга соприкасалась с поверхностью образца. Открывают контрольный вентиль и одновременно включают двигатель, приводящий круг во вращение с частотой (75 +/- 3,5) об/мин. Равномерность подачи потока шлифпорошка контролируют визуально. Через (60 +/- 3) с шлифовальный круг останавливают и перекрывают поток шлифпорошка. На каждом образце проводят два испытания.
Образцы помещают под измерительную лупу с увеличением не менее

, оборудованную подсветкой. Карандашом (диаметр стержня 0,5 мм, твердость 6H или 7H) прорисовывают внешние контуры канавки по длинам

и

и измеряют их линейкой (см.
рисунок В.4). Затем прорисовывают карандашом линию AB по середине канавки перпендикулярно к ее горизонтальной оси. Рабочие концы штангенциркуля устанавливают в точки A и B, измеряя ширину канавки по ее внутреннему контуру между параллельными линиями

и

с погрешностью +/- 0,1 мм. Для калибровки измерения повторяют, отступив с каждой стороны канавки на расстояние (10 +/- 1) мм (линии CD). Измерения проводят три раза.
В.9. Результаты испытаний
Результаты испытаний корректируют, используя калибровочную поправку, и затем округляют до 0,5 мм. Калибровочную поправку определяют как разность между значением 20 и калибровочным значением, полученным при калибровке.
Пример - Калибровочное значение 19,6 мм, ширина канавки, измеренная при испытании 22 мм, откорректированный результат 22,5 + (20 - 19,6) = 22,9 мм. Результат округляют до 23 мм.
Если у образца были прошлифованы две канавки, за результат принимают большее значение показателя.
В.10. Отчет об испытаниях
Отчет об испытаниях должен содержать следующую информацию:
а) наименование и адрес испытательной лаборатории, место проведения испытаний, если оно не совпадает с адресом лаборатории;
б) номер и наименование настоящего стандарта;
в) описание испытуемых образцов;
г) идентификационный признак отчета (например, серийный номер) с нумерацией каждой страницы и указанием общего количества страниц в отчете;
д) наименование и адрес потребителя;
е) дату получения и испытаний образцов;
ж) описание методики испытаний;
и) описание способов отбора и подготовки образцов;
к) какие-либо отклонения, дополнения или замечания по методике испытаний или другую специальную информацию;
| | ИС МЕГАНОРМ: примечание. Обозначение пунктов дано в соответствии с официальным текстом документа. | |
д) описание нестандартных методов, использованных в процессе испытаний;
м) описание горной породы:
- петрографическое наименование,
- коммерческое название,
- имя и адрес поставщика,
- наименование и местоположение карьера,
- элементы залегания, анизотропные свойства;
н) число и размеры образцов, а также:
- среднеарифметические значения результатов испытаний каждого образца,
- среднеарифметические значения результатов испытаний на неполированной поверхности образца,
- ширину резинового вкладыша (76 или 31,8 мм),
- описание текстуры поверхности образца;
п) сведения о погрешности измерений;
р) подписи лиц, ответственных за проведение испытаний, и дату составления отчета;
с) сообщение, что результаты испытаний имеют отношение только к испытанным образцам;
т) заявление, что отчет не может тиражироваться без письменного разрешения испытательной лаборатории.