Главная // Актуальные документы // ГОСТ (Государственный стандарт)СПРАВКА
Источник публикации
М.: Стандартинформ, 2014
Примечание к документу
Документ утратил силу с 01.05.2021 в связи с изданием
Приказа Росстандарта от 15.09.2020 N 646-ст. Взамен введен в действие
ГОСТ ISO 445-2020.
Документ
введен в действие с 01.07.2014.
Название документа
"ГОСТ ISO 445-2013. Межгосударственный стандарт. Средства пакетирования. Поддоны. Термины и определения"
(введен в действие Приказом Росстандарта от 22.11.2013 N 1810-ст)
"ГОСТ ISO 445-2013. Межгосударственный стандарт. Средства пакетирования. Поддоны. Термины и определения"
(введен в действие Приказом Росстандарта от 22.11.2013 N 1810-ст)
по техническому регулированию
и метрологии
от 22 ноября 2013 г. N 1810-ст
МЕЖГОСУДАРСТВЕННЫЙ СТАНДАРТ
СРЕДСТВА ПАКЕТИРОВАНИЯ
ПОДДОНЫ
ТЕРМИНЫ И ОПРЕДЕЛЕНИЯ
Means for the palletization. Pallets. Terms and definitions
(ISO 445:2008, IDT)
ГОСТ ISO 445-2013
Дата введения
1 июля 2014 года
Цели, основные принципы и порядок проведения работ по межгосударственной стандартизации установлены
ГОСТ 1.0-92 "Межгосударственная система стандартизации. Основные положения" и
ГОСТ 1.2-2009 "Межгосударственная система стандартизации. Стандарты межгосударственные, правила и рекомендации по межгосударственной стандартизации. Правила разработки, принятия, применения, обновления и отмены".
1. Разработан Техническим комитетом по стандартизации ТК 223 "Упаковка" (ОАО "Научно-исследовательский и экспериментально-конструкторский институт тары и упаковки") на основе собственного аутентичного перевода на русский язык международного стандарта, указанного в
пункте 4.
2. Внесен Федеральным агентством по техническому регулированию и метрологии.
3. Принят Межгосударственным советом по стандартизации, метрологии и сертификации (протокол N 44-2013 от 14 ноября 2013 г.).
За принятие проголосовали:
Краткое наименование страны по МК (ИСО 3166) 004-97 | Код страны по МК (ИСО 3166) 004-97 | Сокращенное наименование национального органа по стандартизации |
Азербайджан | AZ | Азстандарт |
Беларусь | BY | Госстандарт Республики Беларусь |
Киргизия | KG | Кыргызстандарт |
Россия | RU | Росстандарт |
Узбекистан | UZ | Узстандарт |
4. Настоящий стандарт идентичен международному стандарту ISO 445:2008 Pallets for materials handling - Vocabulary (Поддоны для перевозки и перегрузки. Словарь). Наименование стандарта изменено относительно наименования указанного стандарта для приведения в соответствие с ГОСТ 1.5-2001
(пункт 3.6).
Международный стандарт разработан Техническим комитетом ИСО/ТК 51 "Поддоны для перевозки тарно-штучных грузов".
Перевод с английского языка (en).
Степень соответствия - идентичная (IDT).
| | ИС МЕГАНОРМ: примечание. В официальном тексте документа, видимо, допущена опечатка: технический регламент "О безопасности упаковки" имеет N ТР ТС 005/2011. | |
Настоящий стандарт разработан для обеспечения соблюдения требований технического
регламента Таможенного союза 005/3011 "О безопасности упаковки".
5.
Приказом Федерального агентства по техническому регулированию и метрологии от 22 ноября 2013 г. N 1810-ст межгосударственный стандарт ГОСТ ISO 445-2013 введен в действие в качестве национального стандарта Российской Федерации с 01 июля 2014 г.
6. Введен впервые.
Информация об изменениях к настоящему стандарту публикуется в ежегодном информационном указателе "Национальные стандарты", а текст изменений и поправок - в ежемесячном информационном указателе "Национальные стандарты". В случае пересмотра (замены) или отмены настоящего стандарта соответствующее уведомление будет опубликовано в ежемесячном информационном указателе "Национальные стандарты". Соответствующая информация, уведомление и тексты размещаются также в информационной системе общего пользования - на официальном сайте Федерального агентства по техническому регулированию и метрологии в сети Интернет.
Настоящий стандарт распространяется на средства пакетирования (далее - поддоны) и устанавливает типы, термины и определения, относящиеся к поддонам, предназначенным для транспортирования и перегрузки тарно-штучных грузов.
Стандарт также содержит
Приложение A, содержащее термины и определения, касающиеся формирования грузовых единиц, а также справочные
Приложения B и
C, содержащие алфавитные указатели терминов на русском и английском языках.
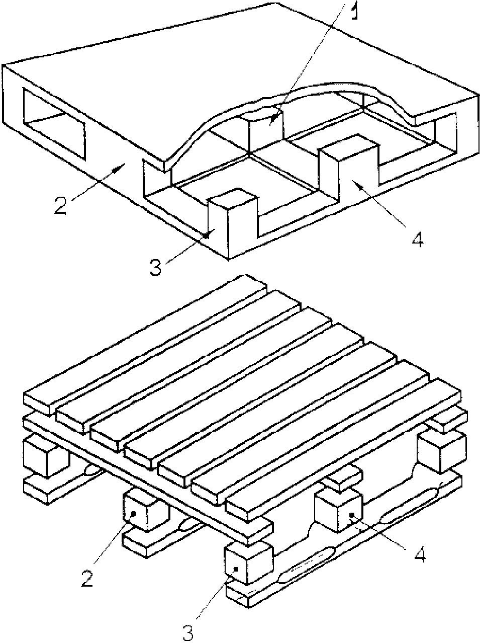
2.1. поддон (pallet): Горизонтальная площадка минимальной высоты, соответствующая способу погрузки с помощью вилочной тележки, или автопогрузчика, или другого аналогичного оборудования, используемого для укладывания на стеллажи, перегрузки и транспортирования грузов (рисунок 1).
Примечание. Поддон может быть оборудован надстройками.
Рисунок 1. Типы плоских поддонов
Рисунок 1, лист 2
2.2. номинальная нагрузка R (nominal load): Наименьшее значение безопасной нагрузки для установленных условий расположения (крепления), независимо от типа нагрузки (за исключением сосредоточенных нагрузок) (стандарт
[1], 3.4).
Примечание. Установленные условия расположения (крепления) касаются диапазонов условий применения по (
[1], 7.1). Существуют три основных способа применения поддонов:
1) транспортирование нагруженных поддонов с укладкой на стеллажи или штабелированием;
2) транспортирование нагруженных поддонов с укладкой на стеллажи и без штабелирования;
3) транспортирование нагруженных поддонов без укладки на стеллажи и без штабелирования.
2.3. сосредоточенный груз (concentrated load): Груз, размещенный на площади, составляющей менее 50% площади верхнего настила поддона.
2.4. равномерно распределенный несвязанный груз (uniformly distributed unbonded load): Груз, равномерно распределенный по всей поверхности верхнего настила поддона, при этом отдельные единицы груза не закреплены, не связаны (не соединены) между собой.
2.5. равномерно распределенный связанный груз (uniformly distributed bonded load): Груз, равномерно распределенный по всей поверхности верхнего настила поддона, при этом каждый ряд груза, уложенного в штабель, не смещается относительно другого ряда (рисунок 2).
Примечание. Например, заполненные мешки, уложенные в штабель, относятся к равномерно распределенному закрепленному грузу.
Рисунок 2. Равномерно распределенный закрепленный груз
2.6. сплошной груз (solid load): Отдельный, компактный, жесткий, однородный груз, опирающийся на несущие элементы конструкции поддона.
2.7. максимальная рабочая нагрузка (maximum working load): Наибольшая полезная нагрузка, допустимая для поддона в конкретном состоянии нагружения и крепления (опирания).
Примечание. Она зависит от типа, распределения, устройства и средств обеспечения устойчивости нагрузки и системы крепления (опирания) и может быть меньше или больше номинальной нагрузки (стандарт
[1]).
2.8. полезная нагрузка Q (payload): Нагрузка, которую выдерживает поддон при эксплуатации.
| | ИС МЕГАНОРМ: примечание. Примечание дано в соответствии с официальным текстом документа. | |
Примечание. Нагрузка может быть равна или меньше номинальной н (стандарт
[1]).
3. Плоские поддоны (Flat pallets)
3.1. плоский поддон (flat pallet): Поддон с настилом без надстроек.
3.2. однонастильный поддон (single-deck pallet): Поддон с одним настилом для размещения груза (рисунок 3).
Рисунок 3. Однонастильные поддоны
3.3. стеллаж (stillage): Площадка с двумя или четырьмя опорами и со свободным входом вилочного захвата (рисунок 4).
Примечание. В соответствии со стандартом
[2] стеллаж не может использоваться как поддон.
Рисунок 4. Стеллажи
3.4. двухнастильный поддон (double-deck pallet): Плоский поддон с верхним и нижним настилами (рисунок 5).
Рисунок 5. Двухнастильные поддоны
3.5. обратимый поддон (reversible pallet): Плоский двухнастильный поддон, каждый настил которого используют для размещения груза (рисунок 6).
Рисунок 6. Обратимые поддоны
3.6. необратимый поддон (non-reversible pallet): Плоский поддон с двойным настилом, при этом груз размещают только на одном настиле (рисунок 7).
Рисунок 7. Необратимые поддоны
3.7. двухзаходный поддон (two-way pallet): Плоский поддон, конструкция которого обеспечивает возможность ввода вилочного захвата с двух противоположных сторон (рисунок 8).
Рисунок 8. Двухзаходные поддоны
3.8. четырехзаходный поддон (four-way pallet): Плоский поддон, конструкция которого обеспечивает возможность ввода вилочного захвата с четырех сторон (рисунок 9).
Рисунок 9. Поддоны четырехзаходные
3.9. поддон частично четырехзаходный (four-way entry pallet): Плоский поддон, конструкция которого обеспечивает возможность ввода вилочного захвата с четырех и с двух сторон (рисунок 10).
Рисунок 10. Поддон с продольным вилочным захватом
(например, частично четырехзаходный поддон)
3.10. поддон упрочненный (overlap pallet): Плоский поддон, детали нижнего настила которого накладывают сверху на другие детали поддона для обеспечения дополнительной прочности (рисунок 11).
Рисунок 11. Упрочненный поддон
3.11. поддон со свободным проемом (free-entry pallet): Плоский поддон, имеющий свободные проемы, обеспечивающие возможность ввода вилочного захвата без отрыва поддона от земли (рисунок 12).
Рисунок 12. Поддон со свободным проемом
3.12. поддон с нижним настилом по периметру (perimeter-base pallet): Плоский поддон, конструкция нижнего настила которого образует раму, имеющую одну или две центральные доски (рисунок 13).
Примечание. Детали нижнего настила поддона находятся в одной плоскости.
Рисунок 13. Поддон с нижним настилом по периметру
3.13. поддон с нижним настилом по периметру с крестообразно расположенными досками (cruciform perimeter-base pallet): Плоский поддон с нижним настилом по периметру, с двумя центральными досками, расположенными взаимноперпендикулярно (рисунок 14).
Примечание. Детали нижнего настила поддона находятся в одной плоскости.
Рисунок 14. Поддоны с нижним настилом по периметру
с крестообразно расположенными досками
3.14. поддон гнездовой (nestable pallet): Плоский поддон, имеющий на верхнем настиле углубления конической формы (гнезда), которые служат опорами поддона при штабелировании. При складировании пустых поддонов конические опоры одного поддона входят в идентичные конические углубления (гнезда) другого поддона (рисунок 15).
Рисунок 15. Гнездовой поддон
3.15. асимметричный поддон (asymmetric pallet): Плоский поддон, одно- или двухнастильный плоский поддон, детали настила которого с одной стороны до центра не симметричны деталям настила противоположной стороны (рисунок 16).
Рисунок 16. Асимметричный поддон
3.16. поддон с выступающим настилом (wing pallet): Плоский поддон, у которого края верхнего и/или нижнего настилов выступают за опорные детали.
Примечание. Термин "выступ поддона" не допускается применять вместо термина "край поддона".
3.17. поддон с выступом на верхнем настиле (single-wing pallet): Плоский поддон, имеющий выступ на верхнем настиле, при этом детали нижнего настила расположены на одном уровне с продольными брусьями, шашками или продольными досками (рисунок 17).
Рисунок 17. Поддон с выступом на верхнем настиле
3.18. поддон с выступами на верхнем и нижнем настилах (double-wing pallet): Плоский поддон, имеющий выступы на верхнем и нижнем настилах, расположенные за продольными брусьями, шашками или продольными досками (рисунок 18).
Рисунок 18. Поддон с выступами на верхнем и нижнем настилах
3.19. восстановленный поддон (repaired pallet): Поддон, имеющий замененные на новые или отремонтированные детали (стандарт
[3]).
3.20. отремонтированный поддон (reassembled pallet): Поддон, имеющий отремонтированные детали, или часть деталей, или часть изготовленных вновь деталей.
4. Поддоны с надстройками (Pallets with superstructure)
4.1. Стоечные поддоны (Post pallets)
4.1.1. стоечный поддон (post pallet): Поддон со съемными или закрепленными стойками (рисунок 19).
Рисунок 19. Стоечный поддон
4.1.2. стоечный поддон с закрепленными стойками (fixed post pallet): Стоечный поддон с жестко закрепленными стойками.
4.1.3. стоечный складной поддон (collapsible post pallet): Стоечный поддон со складными стойками (рисунок 20).
Рисунок 20. Складной стоечный поддон
4.1.4. Стоечный разборный поддон (demountable post pallet): Стоечный поддон со съемными стойками (рисунок 21).
Рисунок 21. Разборный стоечный поддон
4.2. Ящичные поддоны (Box pallets)
4.2.1. ящичный поддон большой вместимости (bulk container pallet): Ящичный поддон со сплошными, решетчатыми или сетчатыми стенками (рисунок 22).
Примечание 1. Ящичный поддон может иметь крышку.
Примечание 2. Определение ящичного поддона приведено в стандарте
[11].
Рисунок 22. Ящичный поддон большой вместимости
4.2.2. складной ящичный поддон (collapsible box pallet): Ящичный поддон со сплошными, решетчатыми или сетчатыми складными стенками (рисунок 23).
Рисунок 23. Складные ящичные поддоны
4.2.3. разборный ящичный поддон (demountable box pallet): Ящичный поддон со съемными стенками (рисунок 24).
Рисунок 24. Разборный ящичный поддон
4.2.4. ящичный поддон с откидной крышкой (drop-bottom box pallet): Ящичный поддон с откидной шарнирной крышкой для обеспечения удобства выгрузки содержимого (рисунок 25).
Рисунок 25. Ящичный поддон с откидной крышкой
4.2.5. лотковый ящичный поддон (pour box pallet): Ящичный поддон, одна или несколько стенок которого расположена с наклоном для обеспечения удобства выгрузки содержимого (рисунок 26).
Рисунок 26. Лотковый ящичный поддон
4.2.6. бункерный поддон (silo pallet): Ящичный поддон с четырьмя неразборными стенками и крышкой, с запорным и разгрузочным устройствами в основании (рисунок 27).
Примечание 1. Поддон применяют для сыпучих и гранулированных грузов.
Примечание 2. Эти типы бункерных поддонов можно применять как крупнотоннажные контейнеры (IBCS). Определение контейнера (IBCS) приведено в (стандарте
[4]).
Рисунок 27. Бункерный поддон
4.2.7. поддон-резервуар (tank pallet): Ящичный поддон с четырьмя неразборными стенками и крышкой с запорным устройством. Слив груза осуществляют через сливное отверстие, расположенное в основании, или путем всасывания через крышку (рисунок 28).
Примечание 1. Поддон-резервуар применяют для транспортирования жидких и газообразных грузов.
Примечание 2. Эти типы поддонов-резервуаров можно применять как крупнотоннажные контейнеры (IBCS). Определение контейнера (IBCS) приведено в стандарте
[4].
Рисунок 28. Поддон-резервуар
4.3. Сетчатые поддоны (Cage pallets)
4.3.1. сетчатый поддон (cage pallet): Ящичный поддон с сетчатыми или решетчатыми стенками, одна или несколько стенок которого имеют шарнирные или съемные двери для доступа (рисунок 29).
Рисунок 29. Сетчатые поддоны
4.3.2. сетчатый разборный поддон (fixed cage pallet): Ящичный поддон сетчатый, стенки которого крепятся к основанию поддона (рисунок 30).
Рисунок 30. Сетчатые разборные поддоны
5. Приспособления поддона (Pallets superstructures)
5.1. съемный бортик (collar): Съемная рама со сплошными, решетчатыми или сетчатыми стенками, которую можно крепить к поддону или другому бортику для удержания груза (рисунок 31).
Примечание. Съемный бортик может быть жестким, частично или полностью складным.
Рисунок 31. Съемный бортик
5.2. устройство-преобразователь поддона (pallet converter): Конструкция, которая может быть использована для трансформации плоского поддона в ящичный или стоечный поддон (рисунок 32).
Рисунок 32. Устройство-преобразователь поддона
5.3. поддон грузоподдерживающий сетчатый (load-retention cage): Поддон, имеющий вертикальные решетчатые или сетчатые стенки, устанавливаемые на него, для поддержания груза с двух или более сторон (рисунок 33).
Рисунок 33. Грузоподдерживающий сетчатый поддон
6. Детали поддона и их характеристики
(Pallet components and features)
6.1. Настилы поддона (Decks)
6.1.1. настил поддона (deck): Верхняя или нижняя поверхности поддона.
6.1.2. верхний настил поддона (top deck): Горизонтальная поверхность, образующая площадку для размещения груза (рисунок 34).
Примечание. Площадка может быть решетчатая, покрытая досками настила, сетчатая или сплошная.
Рисунок 34. Верхний настил поддона
6.1.3. верхний настил поддона с нижними деталями (top deck sub-assembly): Верхний настил поддона, состоящий из поперечных досок настила и продольных брусьев (рисунок 35).
Рисунок 35. Верхний настил поддона с нижними деталями (мат)
6.1.4. нижний настил поддона (bottom deck): Горизонтальная поверхность поддона (сплошная или решетчатая), служащая его опорой для распределения груза (рисунок 36).
Рисунок 36. Нижние настилы поддонов
6.2. Выступы и кромки поддона (Wings and lips pallet)
6.2.1. выступ поддона (wing): Часть одного или двух настилов, выступающая за продольные брусья поддона или шашки, предназначенная для заведения захвата при поднятии поддона грузоподъемным краном (рисунок 37).
Рисунок 37. Выступы
6.2.2. горизонтальная кромка (horizontal lip): Горизонтальный выступ верхнего настила, предназначенный для крепления ограждающих приспособлений, поддерживающих груз, но не предназначенный для подъема груза (рисунок 38).
Рисунок 38. Горизонтальная кромка
6.2.3. вертикальная кромка (vertical lip): Вертикальный выступ верхнего настила, предназначенный для крепления ограждающих приспособлений, поддерживающих груз (рисунок 39).
1 - вертикальная кромка
Рисунок 39. Вертикальная кромка
6.2.4. откидная кромка (flap lip): Съемный выступ верхнего настила, предназначенный для крепления ограждающих приспособлений, поддерживающих груз (рисунок 40).
Рисунок 40. Откидная кромка
6.3. Окна (просветы и проемы) (Apertures (openings and entries))
6.3.1. просвет поддона (opening window): Окно в нижнем настиле у двухнастильного поддона для размещения колес вилочного захвата тележки, предназначенное для обеспечения их опоры на грунт (рисунок 41).
Рисунок 41. Просветы поддонов
6.3.2. проем поддона (entry): Боковое отверстие, предназначенное для захода рабочего органа погрузочного оборудования (рисунок 42).
a - проем
Рисунок 42. Проем поддона
6.3.3. свободный проем поддона (free entry): Отверстие, через которое вводят вилы вилочной тележки без отрыва поддона от земли (рисунок 43).
a - свободный проем
Рисунок 43. Свободный проем поддона
6.4. Доски настила (Deckboards)
6.4.1. доски настила (deckboards): Детали верхнего или нижнего настилов (рисунок 44).
1 - доски верхнего настила; 2 - доски нижнего настила
Рисунок 44. Доски настила
6.4.2. крайние доски (lead boards; end boards): Крайние доски настила (рисунок 45).
1 - крайняя доска
Рисунок 45. Крайние доски
6.4.3. доска проема, соединенная встык (butted lead board): Доска проема, соединенная с несколькими досками встык для обеспечения дополнительной прочности горизонтальной поверхности настила (рисунок 46).
1 - доска проема, соединенная встык
Рисунок 46. Доска проема, соединенная встык
6.5. Скосы (Chamfers)
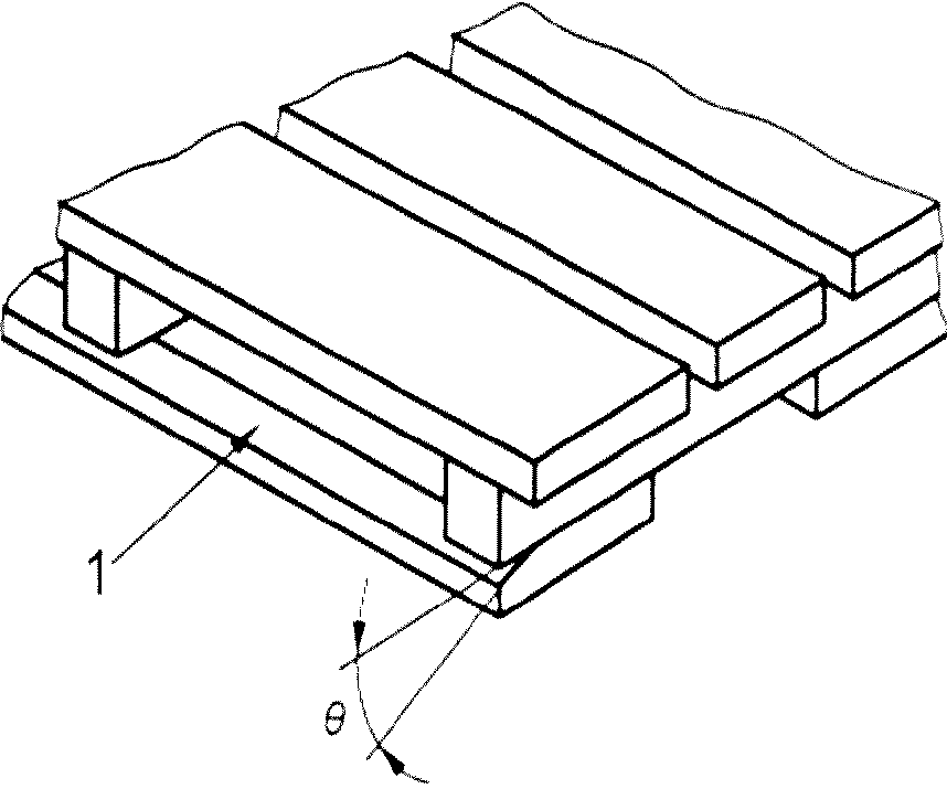
6.5.1. скос (chamfer): Фаска верхних краев нижнего настила, досок настила или нижних краев верхнего настила для обеспечения прохождения вил вилочного захвата (рисунок 47).
1 - скос
Рисунок 47. Скос
6.5.2. сплошной скос (continuous chamfer): Фаска по всей длине доски настила (рисунок 48).
1 - скос
Рисунок 48. Сплошной скос
6.5.3. частичный скос (stop chamfer): Фаска на части длины доски настила (рисунок 49).
Рисунок 49. Частичный скос
6.6. Продольные брусья (опоры) (Stringers/bearers)
6.6.1. продольные брусья (stringer; bearer): Сплошные продольные детали под верхним настилом или между верхним и нижним настилами, которые образуют проемы для прохода вил погрузчика или вилочной тележки (рисунок 50).
1 - продольный брус (опора)
Рисунок 50. Продольные брусья
6.6.2. выемка (notch): Вырез в нижнем настиле продольного бруса для прохода вилочного захвата (рисунок 51).
1 - выемка; 2 - опорная часть продольного бруса;
3 - радиус закругления; a - глубина выемки; b - длина выемки
6.6.3. длина выемки (notch length): Максимальное расстояние между двумя краями выемки, измеренное вдоль части длины продольного бруса
(рисунок 51).
6.6.4. длина опорной части продольного бруса (notch location): Наименьшее расстояние между выемками или между выемками и краем бруса
(рисунок 51).
6.6.5. глубина выемки (notch depth): Вертикальное расстояние между нижней точкой продольного бруса и верхом выемки
(рисунок 51).
6.6.6. радиус закругления выемки (notch fillet radius): Радиус закругления между вершиной и краем выемки
(рисунок 51).
6.6.7. толщина продольного бруса (stringer chord depth): Расстояние между верхней точкой выемки и верхом продольного бруса (рисунок 52).
a - толщина продольного бруса
Рисунок 52. Толщина продольного бруса
6.6.8. опорная часть продольного бруса (stringer foot): Короткая нижняя часть продольного бруса с выемкой - расстояние между выемками или между выемками и краем балки (рисунок 53).
1 - опорная часть продольного бруса
Рисунок 53. Опорная часть продольного бруса
6.6.9. центральные доски нижнего настила (centre cluster): Доски, расположенные в центре нижнего настила двухзаходного или частично четырехзаходного поддона (рисунок 54).
1 - центральные доски нижнего настила
Рисунок 54. Центральные доски нижнего настила
6.7. Шашки и детали шашек (Blocks and block assemblies)
6.7.1 шашка (block): Короткий элемент (обычно прямоугольного или круглого сечения) под верхним настилом или между верхним и нижним настилами, образующий проем в поддоне для захода вил погрузчика или вилочной тележки (рисунок 55).
1 - шашки
Рисунок 55. Шашки
6.7.2. центральная шашка (centre block): Шашка, расположенная в геометрическом центре поддона (рисунок 56).
6.7.3. торцевая средняя шашка (side middle block): Средняя крайняя шашка, расположенная на торцевой стороне поддона (рисунок 56).
6.7.4. угловая шашка (corner block): Шашка, расположенная в угловой части поддона (рисунок 56).
6.7.5. боковая средняя шашка (end middle block): Средняя крайняя шашка, расположенная на боковой стороне поддона (рисунок 56).
| | ИС МЕГАНОРМ: примечание. Нумерация рисунка дана в соответствии с официальным текстом документа. | |
1 - центральная шашка; 2 - торцевая средняя шашка;
3 - угловая шашка; 4 - боковая средняя шашка
Рисунок 6. Виды шашек
6.7.6. поперечная доска (stringer board): Горизонтальная деталь, связывающая доски настила (рисунок 57).
Рисунок 57. Поперечная доска
6.8. Стоечные поддоны (Stacking devices)
6.8.1. верхний фиксатор (upper locating part): Фиксирующее устройство в верхней части ящичных, стоечных и сетчатых поддонов, обеспечивающее устойчивость штабеля при многоярусной установке поддонов с грузом и в сложенном виде при транспортировании и хранении (рисунок 58).
1 - верхний фиксатор; 2 - опора
Рисунок 58. Фиксирующее устройство
6.8.2. опора (foot): Элемент основания ящичных, стоечных или сетчатых поддонов, обеспечивающий штабелирование (рисунок 59).
6.8.3. чашечная опора (cup foot): Опора, применяемая в стоечных или сетчатых поддонах (рисунок 59).
Примечание. Чашечная опора может быть круглой, квадратной или в виде перевернутой чашки.
Рисунок 59. Чашечная опора
6.8.4. гнездовая опора (nesting foot): Опора, расположенная на нижней стороне ящичного или сетчатого поддона (рисунок 60).
Рисунок 60. Гнездовая опора
6.8.5. коническая опора (conical foot): Опора, имеющая коническую форму, помещаемая в идентичные гнезда другого поддона (
рисунки 15 и 61).
Рисунок 61. Коническая опора
| | ИС МЕГАНОРМ: примечание. Нумерация пунктов дана в соответствии с официальным текстом документа. | |
Дополнительные элементы (Other components)
6.9.1. ребро жесткости (rib): Укрепляющий элемент, применяемый для обеспечения жесткости и прочности поддона без увеличения толщины каждой секции и предотвращающий деформацию плоской поверхности поддона (рисунок 62).
1 - решетка; 2 - ребро жесткости
Рисунок 62. Дополнительные элементы:
решетка и ребра жесткости
6.9.2. решетка (grill structure): Продольные, поперечные и диагональные пересекающие основной элемент ребра жесткости, применяемые для формирования и усиления настилов (рисунок 62).
| | ИС МЕГАНОРМ: примечание. Нумерация разделов дана в соответствии с официальным текстом документа. | |
6. Составные части поддона (Pallet fittings)
7.1. двери (gate): Стенка или часть стенки ящичного или сетчатого поддона, которая может быть шарнирной или съемной, для обеспечения доступа к грузу.
7.2. крышка (lid): Деталь для закрывания ящичного и стоечного поддонов или бортика поддона (рисунок 63).
Рисунок 63. Крышка
7.3. стойка (post): Вертикальная деталь стоечного поддона, закрепленная или съемная и предназначенная для восприятия нагрузки при штабелировании поддонов (рисунок 64).
1 - стойка
Рисунок 64. Стойка
7.4. поперечина (rail): Горизонтальная деталь стоечного поддона, соединяющая стойки поддона, жестко закрепленная или съемная (рисунок 65).
Рисунок 65. Поперечина
7.5. скоба (brace): Диагональная деталь, применяемая для увеличения жесткости в ящичном или стоечном поддоне.
7.6. дверной крючок (gate hook): Деталь L-образной или прямоугольной формы, применяемая для закрывания поперечин или дверей в ящичных и стоечных поддонах (рисунок 66).
Рисунок 66. Дверной крючок
7.7. петля (gate bracket): Деталь, имеющая форму скобы, в которую вставляют дверной крючок.
7.8. дверной болт (gate bolt): Дополнительное устройство безопасности, применяемое для предотвращения перемещения двери или для сборки деталей разборного ящичного поддона.
| | ИС МЕГАНОРМ: примечание. Нумерация разделов дана в соответствии с официальным текстом документа. | |
7. Механические крепежные элементы (Mechanical fasteners)
8.1. Гвозди (Nails)
8.1.1. гвоздь (nail): Прямой стержень, изготовленный из металла круглого или квадратного сечения с острием и головкой на тупом конце (рисунок 67).
a - длина; b - диаметр
1 - головка; 2 - насечки в виде небольших канавок;
3 - гладкая поверхность гвоздя; 4 - острие;
5 - винтовая часть
Рисунок 67. Гвозди
8.1.2. простой гвоздь (plain nail): Гвоздь, имеющий гладкий и недеформированный стержень между головкой и острием.
8.1.3. заклепочный гвоздь (clinch nail): Гвоздь, специально предназначенный для того, чтобы его можно было вставить острием, вбить и расклепать.
8.1.4. винтовой гвоздь (threaded nail): Гвоздь, имеющий винтовую нарезку для обеспечения увеличения сопротивления при его удалении.
8.1.5. выпуклый гвоздь (helically threaded; screw nail): Гвоздь, имеющий выпуклую нарезку со средним углом профиля, при этом выпуклая (расширяющаяся) часть приблизительно равна нижней.
8.1.6. кольцевой гвоздь (ring nail; annularly threaded nail): Нарезной гвоздь, имеющий на нарезной части составную кольцеобразную резьбу, образующую окружность.
8.1.7. гвоздь с перемычками (interrupted thread nail): Нарезной гвоздь, имеющий между двумя резьбовыми участками участки без резьбы, позволяющие прикреплять проволоку или полимерную ленту.
8.1.8. колючий гвоздь (barbed nail): Гвоздь, имеющий резьбу в виде повторяющихся зубцов и гребней, которые могут быть симметричными или несимметричными.
8.1.9. крученный гвоздь (twisted nail): Гвоздь, имеющий проволочные квадратные секции с винтовой рифлей (выемкой) по всей длине стержня.
8.1.10. скрепленный гвоздь (collated nail): Гвоздь, временно свободно удерживаемый с помощью проволоки или ленты, для подачи в автоматические, пневматические или электрические гвоздезабивные инструменты.
8.1.11. рифленый гвоздь (fluted nail): Круглый гвоздь с гребнями, параллельными стержню гвоздя.
8.2. Другие крепежные элементы (Other fasteners)
8.2.1. скоба (staple): Круглый или квадратный проволочный элемент U-образной формы с двумя остроконечными прямоугольными ножками одинаковой длины, соединенными спинкой.
8.2.2. скрепка (stitch): Элемент, который формируется как точечный или сосредоточенный из проволоки, намотанной на катушку.
8.2.3. шуруп (screw): Прямой, небольших размеров элемент, с конусообразным остроконечным стержнем, с резьбой вдоль стержня и щелью или другим углублением в головке для облегчения ввинчивания.
8.2.4. болт (bolt): Элемент крепежа с круглой резьбой и с четырех- или шестигранной головкой.
Примечание. Болт применяют с гайкой и шайбой.
8.2.5. укрепленный болт (coach bolt): Болт с четырехгранной или другой формы шайбой под головкой, предохраняющей вращение болта при ввинчивании (рисунок 68).
Рисунок 68. Укрепленный болт
8.2.6. заклепка поддона (pallet rivet): Пустотелая трубчатая заклепка с большой головкой, которая от давления молотка приобретает колоколообразный конец (рисунок 69).
Примечание. Заклепку поддона часто применяют для сложных поддонов, где "блоки" трубчатые или из листовой стали.
Рисунок 69. Заклепка поддона
8.2.7. застежка рифленая (corrugated fastener): Застежка из листовой стали с рифлеными складками шириной приблизительно 5 мм и обрезным краем (рисунок 70).
Примечание. Рифленые застежки применяют в основном для предотвращения трещин.
Рисунок 70. Рифленая застежка
8.2.8. соединительная металлическая пластина (metal connector plate): Металлическая пластина с выступающими зубцами, применяемая для соединения двух элементов поддона или для восстановления поврежденных элементов поддона (рисунок 71).
Рисунок 71. Соединительная металлическая пластина
8.2.9. скрепляющая застежка (snap fitting): С помощью скрепок осуществляют присоединение двух элементов поддона друг к другу.
9. Назначение поддонов (Pallet usage)
9.1. одноразовый поддон (one-trip pallet): Поддон, предназначенный для одноразового применения.
9.2. многооборотный поддон (reusable pallet): Поддон, предназначенный для многократного применения.
9.3. поддон внутреннего обращения (captive pallet): Поддон, применяемый одним предприятием или в одной ограниченной сфере обращения.
9.4. обменный поддон (exchange pallet): Поддон, подлежащий обмену на идентичный поддон на основе взаимной договоренности.
9.5. резервный поддон (pool pallet): Обменный или инвентарный поддон в системе обращения.
Примечание. Инвентарный поддон остается в собственности третьей части потребителей.
9.6. поддон-платформа (slave pallet): Жесткий поддон или платформа, состоящая из единой толстой панели, применяемые для пакетирования грузов на складах или в производственных помещениях.
10. Размеры поддонов (Dimensions of pallets)
10.1. Общие размеры (General dimensions)
10.1.1. размер поддона (pallet size): Номинальный размер поддона, определяющий длину, ширину и высоту поддона (рисунок 72).
Примечание. При указании размеров поддона приводят длину, ширину и высоту (l x w x h).
Примечание. Размеры поддонов указывают в миллиметрах.
10.2. Размеры плоских поддонов (Dimensions flat pallets)
10.2.1. длина l (length): Габаритный размер настила по направлению продольных брусьев или досок.
Примечание 1. В квадратных поддонах при отсутствии продольных брусьев или досок длину и ширину поддона определяет изготовитель.
Примечание 2. В квадратных поддонах при отсутствии продольных брусьев или со сплошным настилом длину поддона определяют размером настила.
10.2.2. ширина w (width): Габаритный размер поддона перпендикулярный к длине.
10.2.3. высота h (height): Габаритный размер поддона перпендикулярный к горизонтальной плоскости, определенной осями длины и ширины.
10.2.4. торцевая стенка (end): Вертикальная поверхность поддона, расположенная по ширине поддона.
10.2.5. боковая стенка (side): Вертикальная поверхность поддона, расположенная по длине поддона.
10.3. Размеры ящичных поддонов (Dimensions pallets with superstructure) (рисунок 72)
10.3.1. длина (length): Габаритный размер длинной стороны или стороны с дверью для обеспечения доступа.
10.3.2. ширина w (width): Габаритный размер поддона, перпендикулярный длине.
10.3.3. высота h (height): Габаритный размер поддона, перпендикулярный к горизонтальной плоскости, определяемой осями длины и ширины, включая опору.
l - длина поддона; w - ширина поддона; h - высота поддона
Рисунок 72. Условные обозначения размеров поддонов
(справочное)
касающиеся формирования грузовых единиц
A.1. Общие термины (General terms)
A.1.1. грузовая единица (unit load): Одна или более транспортных упаковок или других единиц груза, объединенных средствами пакетирования.
A.2. Штабелирование (Stacking)
A.2.1. штабелирование (stacking): Размещение поддонов с единицами грузов один на другой без помощи промежуточных полок или стеллажей.
A.2.2. штабель (stack): Вертикальная колонна из правильно сложенных рядов грузовых единиц.
A.2.3. укладка штабелей блоками (block stacking): Установка штабелей на плоскости рядами с минимальным рабочим проходом между ними (рисунок A.1).
Примечание. Горизонтальный проход между штабелями должен быть достаточным для перемещения грузовых единиц с помощью автопогрузчика.
Рисунок A.1. Блок штабелей
A.2.4. высота штабеля (количество ярусов грузовых единиц в штабеле) (stack height): Число грузовых единиц в штабеле, включая находящийся на земле.
Примечание. Высота штабеля определяется количеством грузовых единиц, которое оптимально для данного вида хранения.
A.2.5. ширина блока (block width): Расстояние, определяющее размер блока сложенных грузовых единиц, измеренное слева направо.
A.2.6. глубина блока (block depth): Расстояние, определяющее размер блока сложенных грузовых единиц, измеренное по всей длине блока.
A.3. Складирование (Racking)
A.3.1. складирование (racking): Размещение единиц грузов на автономных (передвижных) стеллажах или консольных стеллажах со свободными безопорными пролетами.
A.3.2. укладка грузовых единиц по длине (RAL) (racked across length): Укладка грузовых единиц на продольные брусья или продольные доски (RAS) таким образом, чтобы продольные брусья, продольные доски и нижний настил воспринимали всю нагрузку (рисунок A.2).
1 - четырехзаходный поддон со свободным заходом;
2 - поддон с продольной выемкой; a - сторона загрузки
Рисунок A.2. Укладка грузовых единиц по длине (RAL)
A.3.3. укладка грузовых единиц по ширине (RAW) (racked across width): Укладка на доски настила (RAD) таким образом, чтобы доски настила и нижний настил воспринимали всю нагрузку (рисунок A.3).
1 - четырехзаходный поддон со свободным заходом;
2 - поддон с продольной выемкой; a - сторона загрузки
Рисунок A.3. Укладка грузовых единиц по ширине (RAW)
A.4. Фиксация груза (Load stabilization)
A.4.1. мягкая прокладка или подкладной лист (layer pad): Лист обычно из бумаги или картона, помещаемый между одним или более слоями единиц груза для обеспечения устойчивости штабеля.
A.4.2. термоусадочная пленка (shrink wrap): Пленка из полиэтилена, полипропилена и других полимеров, обладающая свойствами усадки. Усадка пленки происходит при нагревании.
Применяется для укрытия грузовых единиц на поддоне с целью обеспечения большей устойчивости штабеля и обеспечения безопасности.
A.4.3. растягивающаяся пленка (stretch wrap): Эластичная пленка из модифицированного полиэтилена, применяемая для скрепления тарно-штучных грузов на поддоне методом спиральной навивки в один или несколько слоев, при этом нагревание не требуется.
A.4.4. обвязка (strapping): Гибкая лента из полимерного материала или металла, обычно плоская или круглого поперечного сечения, применяемая для скрепления грузов на поддоне.
A.4.5. антискользящие вставка или вкладыш (anti-slip inserts): Несколько вставок или лента для увеличения силы трения между поддоном, грузом и погрузочно-разгрузочным устройством (рисунок A.4).
1 - антискользящая вставка; 2 - антискользящая лента
Рисунок A.4. Антискользящие вставки и ленты
A.4.6. антискользящая лента (non-skid tape): Лента, применяемая для предотвращения скольжения поддона.
(справочное)
терминов на русском языке
антискользящая вставка или вкладыш | |
антискользящая лента | |
боковая стенка | |
болт | |
вертикальная кромка | |
верхний настил поддона | |
верхний настил поддона с нижними деталями | |
верхний фиксатор | |
выемка | |
высота h | |
выступ поддона | |
высота штабеля | |
гвоздь | |
гвоздь винтовой | |
гвоздь выпуклый | |
гвоздь заклепочный | |
гвоздь кольцевой | |
гвоздь колючий | |
гвоздь крученный | |
гвоздь простой | |
гвоздь рифленый | |
гвоздь с перемычками | |
гвоздь скрепленный | |
глубина блока | |
глубина выемки | |
гнездовая опора | |
горизонтальная кромка | |
грузовая единица | |
двери | |
дверной болт | |
дверной крючок | |
длина l | |
длина выемки | |
длина опорной части продольной бруса | |
доски настила | |
доска проема, соединенная встык | |
заклепка поддона | |
застежка рифленая | |
коническая опора | |
крайние доски | |
крышка | |
максимальная рабочая нагрузка | |
мягкая прокладка или подкладной лист | |
настил поддона | |
нижний настил поддона | |
номинальная нагрузка | |
обвязка | |
опора | |
опорная часть продольного бруса | |
откидная кромка | |
петля | |
поддон | |
поддон асимметричный | |
поддон бункерный | |
поддон восстановленный | |
поддон внутреннего обращения | |
поддон гнездовой | |
поддон двухзаходный | |
поддон двухнастильный | |
поддон многооборотный | |
поддон необратимый | |
поддон обменный | |
поддон обратимый | |
поддон однонастильный | |
поддон одноразовый | |
поддон отремонтированный | |
поддон плоский | |
поддон-платформа | |
поддон резервный | |
поддон с выступающим настилом | |
поддон с выступами на верхнем и нижнем настилах | |
поддон с выступами на верхнем настиле | |
поддон с нижним настилом по периметру | |
поддон с нижним настилом по периметру с крестообразно расположенными досками | |
поддон-резервуар | |
поддон со свободным проемом | |
поддон сетчатый | |
поддон сетчатый грузоподдерживающий | |
поддон сетчатый разборный | |
поддон стоечный | |
поддон стоечный разборный | |
поддон стоечный с закрепленными стойками | |
поддон стоечный складной | |
поддон лотковый ящичный | |
поддон разборный ящичный | |
поддон складной ящичный | |
поддон упрочненный | |
поддон частично четырехзаходный | |
поддон четырехзаходный | |
поддон ящичный большой вместимости | |
поддон ящичный с откидной крышкой | |
полезная нагрузка Q | |
поперечина | |
поперечная доска | |
проем поддона | |
продольные брусья | |
просвет поддона | |
равномерно распределенный несвязанный груз | |
равномерно распределенный связанный груз | |
радиус закругления выемки | |
размер поддона | |
растягивающаяся пленка | |
ребро жесткости | |
решетка | |
свободный проем поддона | |
скоба | |
скос | |
скрепка | |
скрепляющая застежка | |
соединительная металлическая пластина | |
сосредоточенный груз | |
сплошной груз | |
сплошной скос | |
стеллаж | |
складирование | |
стойка | |
съемный бортик | |
термоусадочная пленка | |
толщина продольного бруса | |
торцевая стенка | |
укладка грузовых единиц по длине (RAL) | |
укладка грузовых единиц по ширине (RAW) | |
укладка штабелей блоками | |
укрепленный болт | |
устройство-преобразователь поддона | |
центральные доски нижнего настила | |
частичный скос | |
чашечная опора | |
шашка | |
шашка боковая средняя | |
шашка торцовая средняя | |
шашка угловая | |
шашка центральная | |
ширина W | |
ширина блока | |
штабелирование | |
штабель | |
шуруп | |
(информационное)
эквивалентов терминов на английском языке
annularly threaded nail | |
anti-slip inserts | |
asymmetric pallet | |
barbed nail | |
bearer | |
block | |
block depth | |
block stacking | |
block width | |
bolt | |
bottom deck | |
box pallet | |
brace | |
bulk container pallet | |
butted lead board | |
cage pallet | |
captive pallet | |
centre block | |
centre cluster | |
chamfer | |
clinch nail | |
coach bolt | |
collapsible box pallet | |
collapsible post pallet | |
collar | |
collated nail | |
concentrated load | |
conical foot | |
continuous chamfer | |
corner block | |
corrugated fastener | |
cruciform perimeter-base pallet | |
cup foot | |
deck | |
deck board | |
demountable box pallet | |
demountable post pallet | |
disposable pallet | |
double-deck pallet | |
double-wing pallet | |
end | |
end boards | |
end middle block | |
entry | |
exchange pallet | |
fixed box pallet | |
fixed cage pallet | |
fixed post pallet | |
flap lip | |
flat pallet | |
fluted nail | |
foot | |
four-way entry pallet | |
four-way pallet | |
free entry | |
free entry pallet | |
gate | |
gate bolt | |
gate bracket | |
gate hook | |
grill structure | |
height | |
| | ИС МЕГАНОРМ: примечание. В официальном тексте документа, видимо, допущена опечатка: абзац "helically threaded nail..." приведен дважды. | |
|
helically threaded nail | |
helically threaded nail | |
horizontal lip | |
interrupted thread rail | |
layer pad | |
lead board | |
length | |
lid | |
load-retention cage | |
maximum working load | |
metal connector plate | |
nail | |
nestable pallet | |
nesting foot | |
nominal load | |
non-reversible pallet | |
non-skid pallet | |
notch | |
notch depth | |
notch fillet radius | |
notch length | |
notch location | |
one-trip pallet | |
opening | |
overlap pallet | |
pallet | |
pallet converter | |
pallet rivet | |
pallet size | |
partial four-way entry pallet | |
partial four-way pallet | |
payload | |
perimeter-base pallet | |
plain nail | |
pool pallet | |
post | |
post pallet | |
pour box pallet | |
racked across deckboards (RAD) | |
racked across length (RAL) | |
rail | |
racked across width (RAW) | |
racking | |
reassembled pallet | |
repaired pallet | |
reusable pallet | |
reversible pallet | |
rib | |
ring nail | |
screw | |
screw nail | |
shrink wrap | |
side | |
side middle block | |
silo pallet | |
single-deck pallet | |
single-wing pallet | |
slave pallet | |
snap fitting | |
solid load | |
stack | |
stack height | |
stacking | |
stacking devices | |
staple | |
stillage | |
stitch | |
stop chamfer | |
strapping | |
stretch wrap | |
stringer | |
stringer chord depth | |
stringer foot | |
stringer board | |
tank pallet | |
threaded nail | |
top deck | |
top deck mat | |
two-way pallet | |
two-way entry pallet | |
uniformly distributed bonded load | |
uniformly distributed unbonded load | |
unit load | |
upper locating part | |
vertical lip | |
width | |
window | |
wing | |
wing pallet | |
| Поддоны для грузоопераций. Плоские поддоны. Часть 2. Требования к характеристикам и выбор испытаний |
| Тележки с поддоном. Основные измерения |
| Ремонт плоских деревянных поддонов |
| Контейнеры средней грузоподъемности для насыпных неопасных грузов. Терминология |
[5] ISO 15629:2002 | Поддоны для перевозки и погрузки-разгрузки. Качество крепежных средств для сборки новых и ремонта используемых плоских деревянных поддонов |
[6] ISO 3676:1983 | Упаковка. Размеры тарно-штучных грузов |
[7] ISO 5053 | Силовые индустриальные грузовики. Терминология |
[8] ISO 6780:2003 | Поддоны плоские для межконтинентальной перевозки материалов. Основные размеры и допуски |
[9] ISO 8611-1:2004 | Поддоны для грузоопераций. Плоские поддоны. Часть 1. Методы испытаний |
[10] EN 844-1 | Круглая и распиленная древесина. Терминология. Часть 1. Общие термины, характерные для круглой и распиленной древесины |
| Цилиндрические контейнеры. Часть 1. Терминология |
[12] ASME MH1.1.2 | Поддоны, листы и другие основания для грузовой единицы. Термины и определения, покрывающие поддоны и связанные структуры |