Главная // Актуальные документы // ГОСТ (Государственный стандарт)СПРАВКА
Источник публикации
М.: Стандартинформ, 2014
Примечание к документу
Документ утратил силу с 1 января 2019 года в связи с изданием
Приказа Росстандарта от 31.10.2018 N 898-ст. Взамен введен в действие
ГОСТ ISO 2719-2017.
Документ включен в Перечень стандартов (
пункты 115,
163,
209 и
321), содержащих правила и методы исследований (испытаний) и измерений, в том числе правила отбора образцов, необходимые для применения и исполнения требований технического
регламента Таможенного союза "О требованиях к автомобильному и авиационному бензину, дизельному и судовому топливу, топливу для реактивных двигателей и мазуту" (ТР ТС 013/2011) и осуществления оценки соответствия объектов технического регулирования (
Решение Комиссии Таможенного союза от 18.10.2011 N 826).
Документ
введен в действие с 1 января 2015 года.
Название документа
"ГОСТ ISO 2719-2013. Межгосударственный стандарт. Нефтепродукты. Методы определения температуры вспышки в закрытом тигле Пенски-Мартенса"
(введен в действие Приказом Росстандарта от 22.11.2013 N 724-ст)
"ГОСТ ISO 2719-2013. Межгосударственный стандарт. Нефтепродукты. Методы определения температуры вспышки в закрытом тигле Пенски-Мартенса"
(введен в действие Приказом Росстандарта от 22.11.2013 N 724-ст)
по техническому регулированию
и метрологии
от 22 ноября 2013 г. N 724-ст
МЕЖГОСУДАРСТВЕННЫЙ СТАНДАРТ
НЕФТЕПРОДУКТЫ
МЕТОДЫ ОПРЕДЕЛЕНИЯ ТЕМПЕРАТУРЫ ВСПЫШКИ
В ЗАКРЫТОМ ТИГЛЕ ПЕНСКИ-МАРТЕНСА
Petroleum products. Methods for determination
of flash point in Pensky-Martens closed cup
(ISO 2719:2002, IDT)
ГОСТ ISO 2719-2013
Дата введения
1 января 2015 года
Цели, основные принципы и порядок проведения работ по межгосударственной стандартизации установлены
ГОСТ 1.0-92 "Межгосударственная система стандартизации. Основные положения" и
ГОСТ 1.2-2009 "Межгосударственная система стандартизации. Стандарты межгосударственные, правила и рекомендации по межгосударственной стандартизации. Правила разработки, принятия, применения, обновления и отмены"
1 ПОДГОТОВЛЕН Федеральным государственным унитарным предприятием "Всероссийский научно-исследовательский центр стандартизации, информации и сертификации сырья, материалов и веществ" (ФГУП "ВНИЦСМВ") на основе собственного аутентичного перевода на русский язык стандарта, указанного в
пункте 4 стандарта, который выполнен ОАО "ВНИИ НП"
2 ВНЕСЕН Федеральным агентством по техническому регулированию и метрологии
3 ПРИНЯТ Межгосударственным советом по стандартизации, метрологии и сертификации (протокол от 5 ноября 2013 г. N 61-П)
За принятие проголосовали:
Краткое наименование страны по МК (ИСО 3166) 004-97 | Код страны по МК (ИСО 3166) 004-97 | Сокращенное наименование национального органа по стандартизации |
Азербайджан | AZ | Азстандарт |
Казахстан | KZ | Госстандарт Республики Казахстан |
Киргизия | KG | Кыргызстандарт |
Молдова | MD | Молдова-Стандарт |
Россия | RU | Росстандарт |
Украина | UA | Минэкономразвития Украины |
4 Настоящий стандарт идентичен международному стандарту ISO 2719:2002 Determination of flash point - Pensky-Martens closed cup method (Определение температуры вспышки. Метод Пенски-Мартенса в закрытом тигле).
| | ИС МЕГАНОРМ: примечание. В официальном тексте документа, видимо, допущена опечатка: стандарт имеет номер ГОСТ Р ЕН ИСО 2719-2008, а не ГОСТ Р ЕН ИСО 2719-2002. | |
Настоящий стандарт разработан на основе
ГОСТ Р ЕН ИСО 2719-2002 "Нефтепродукты. Методы определения температуры вспышки в закрытом тигле Пенски-Мартенса".
Стандарт ISO 2719:2002 разработан Комитетом ISO/TC 28 "Нефтепродукты и смазочные материалы".
Перевод с английского языка (en).
Официальные экземпляры международного стандарта, на основе которого подготовлен настоящий межгосударственный стандарт, и международных стандартов, на которые даны ссылки, имеются в Федеральном информационном фонде технических регламентов и стандартов.
Сведения о соответствии межгосударственных стандартов ссылочным международным стандартам приведены в дополнительном
приложении ДА.
Степень соответствия - идентичная (IDT)
5
Приказом Федерального агентства по техническому регулированию и метрологии от 22 ноября 2013 г. N 724-ст межгосударственный стандарт ГОСТ ISO 2719-2013 введен в действие в качестве национального стандарта Российской Федерации с 1 января 2015 г.
6 ВВЕДЕН ВПЕРВЫЕ
7 ПЕРЕИЗДАНИЕ. Июнь 2014 г.
Информация об изменениях к настоящему стандарту публикуется в ежегодном информационном указателе "Национальные стандарты", а текст изменений и поправок - в ежемесячном информационном указателе "Национальные стандарты". В случае пересмотра (замены) или отмены настоящего стандарта соответствующее уведомление будет опубликовано в ежемесячном информационном указателе "Национальные стандарты". Соответствующая информация, уведомление и тексты размещаются также в информационной системе общего пользования - на официальном сайте Федерального агентства по техническому регулированию и метрологии в сети Интернет
Предупреждение - В настоящем стандарте не предусмотрено рассмотрение всех вопросов обеспечения безопасности, связанных с его применением. Пользователь настоящего стандарта несет ответственность за установление соответствующих правил по технике безопасности и охране здоровья, а также определяет целесообразность применения законодательных ограничений перед его использованием.
1.1 Настоящий стандарт устанавливает два метода (A и B) определения температуры вспышки горючих жидкостей, жидкостей, содержащих суспендированные твердые вещества, жидкостей, склонных к образованию пленки на поверхности в условиях испытания, и других жидкостей в аппарате Пенски-Мартенса с закрытым тиглем. Методы распространяются на жидкости, температура вспышки которых выше 40 °C.
Примечание 1 - Обычно испытание технических керосинов с температурой вспышки выше 40 °C проводят по стандарту
[8], но можно провести их испытания и по настоящему стандарту. Испытания неиспользованных смазочных масел обычно проводят по стандарту
[5].
1.2 Метод A применяют для определения температуры вспышки лаков и красок, которые не образуют пленку на поверхности, товарных смазочных масел и других нефтепродуктов, для которых не пригоден метод B.
1.3 Метод B применяют для определения температуры вспышки остаточных жидких топлив, разжиженных битумов, отработанных смазочных масел, жидкостей, склонных к образованию пленки на поверхности; жидкостей, содержащих суспендированные твердые вещества, и высоковязких жидких продуктов, таких как растворы полимеров и клейкие вещества.
Примечание 2 - Для сравнения температур вспышки неиспользованных и отработанных смазочных масел в рамках программы исследований смазочных материалов можно провести испытания отработанных смазочных масел по методу A. Однако данные по прецизионности для таких продуктов установлены только для метода B.
1.4 Настоящий стандарт не распространяется на лаки на водной основе и жидкости, содержащие следы низкокипящих веществ.
Примечание 3 - Испытания лаков на водной основе проводят по стандарту
[6]. Жидкости, содержащие следы низкокипящих веществ, можно испытать по стандарту
[4] или стандарту
[6].
Примечание 4 - Данные по прецизионности действительны только для интервалов температур вспышки, приведенных в
разделе 13.
Для применения настоящего стандарта необходимы следующие ссылочные документы. Для датированных ссылок применяют только указанное издание ссылочного документа, для недатированных ссылок применяют последнее издание ссылочного документа (включая все его изменения).
ISO 1513:1992 Paints and varnishes - Examination and preparation of samples for testing (Лаки и краски. Проверка и приготовление образцов для испытания)
ISO 3170:2004 Petroleum liquids - Manual sampling (Нефтепродукты жидкие. Ручной отбор проб)
ISO 3171:1988 Petroleum liquids - Automatic pipeline sampling (Нефтепродукты жидкие. Автоматический отбор проб из трубопровода)
ISO 15528:2000 Paints, varnishes and raw materials for paints and varnishes - Sampling (Лаки, краски и сырье для лаков и красок. Отбор проб)
В настоящем стандарте применен следующий термин с соответствующим определением:
3.1 температура вспышки (flash point): Минимальная температура, при которой происходит воспламенение паров образца от пламени в установленных условиях испытания при барометрическом давлении 101,3 кПа, при этом пламя распространяется по всей поверхности образца.
В испытательный тигель аппарата Пенски-Мартенса помещают испытуемый образец и нагревают таким образом, чтобы при непрерывном перемешивании происходило постоянное повышение температуры. Источник зажигания опускают через равномерные интервалы времени через отверстие в крышке тигля, одновременно с этим перемешивание прекращают. Самую низкую температуру, при которой источник зажигания вызывает возгорание паров испытуемого образца нефтепродукта, а пламя распространяется по поверхности жидкости, регистрируют как температуру вспышки при фактическом барометрическом давлении. Эту температуру с помощью уравнения приводят к стандартному атмосферному давлению.
5.1 Растворитель для удаления остатков образца из тигля и с крышки.
Примечание - Выбор растворителя зависит от растворимости остатка предварительно испытанного нефтепродукта. Для удаления маслянистых остатков можно использовать низкокипящие ароматические растворители (не содержащие бензол); для смолообразных остатков эффективными могут быть смеси растворителей, например толуол-ацетон-метанол.
6.1 Аппарат Пенски-Мартенса для определения температуры вспышки в закрытом тигле
(приложение B).
Если для испытания применяют автоматическое оборудование, следует убедиться, что полученные результаты находятся в пределах прецизионности настоящего метода и размеры испытательного тигля и крышки соответствуют техническим требованиям, приведенным в
приложении B. Кроме того, следует убедиться, что выполнены все инструкции изготовителя по регулировке и эксплуатации при применении автоматического испытательного оборудования.
Примечание - В некоторых случаях при использовании электрического источника зажигания результаты могут отличаться от полученных при использовании запальника в качестве источника зажигания. Кроме того, применение электрических источников зажигания может привести к нестабильным результатам.
В спорных случаях арбитражным является ручное определение температуры вспышки с применением пламенного запала в качестве источника зажигания.
6.2 Термометры для низких, средних и высоких диапазонов температур, характеристики которых приведены в
приложении C. Перед началом измерений выбирают термометр в соответствии с предполагаемой температурой вспышки.
Примечание - Можно использовать другие устройства для измерения температуры при условии, что они соответствуют требованиям точности и дают такие же показания, что и термометры, приведенные в
приложении C.
6.3 Барометры с погрешностью до 0,1 кПа. Не следует применять барометры, предварительно откорректированные на давление над уровнем моря, которые используют на метеорологических станциях и в аэропортах.
6.4 Нагревательная баня или термостат, обеспечивающий поддержание температуры при нагревании образца с точностью +/- 5 °C. Термостат должен быть оснащен системой вентиляции и сконструирован таким образом, чтобы не вызывать воспламенение огнеопасных паров, которые могут образовываться при нагревании образца.
Рекомендуется конструкция термостата во взрывобезопасном исполнении.
7.1 Установка аппарата
Аппарат для определения температуры вспышки
(6.1) устанавливают на ровной, устойчивой поверхности в помещении без сквозняка.
Примечание 1 - Если сквозняка невозможно избежать, аппарат защищают экраном со всех сторон.
Примечание 2 - Если испытуемые образцы выделяют ядовитые пары, испытательный аппарат должен быть установлен в вытяжном шкафу с регулируемым потоком отходящего воздуха. Поток отходящего воздуха регулируют таким образом, чтобы пары отводились, не создавая вихревых потоков воздуха над тиглем.
7.2 Очистка испытательного тигля
Испытательный тигель и крышку, включая комплектующие, моют соответствующим растворителем
(5.1) для удаления любых следов смолы или остаточных продуктов, оставшихся от предыдущего испытания. Затем тигель сушат потоком чистого воздуха для полного удаления используемого растворителя.
7.3 Сборка испытательного аппарата
Тигель, крышку и другие детали проверяют на наличие повреждений или отложений. Аппарат собирают в соответствии с
приложением B.
7.4 Проверка испытательного аппарата
7.4.1 Правильность работы испытательного аппарата проверяют не реже одного раза в год испытанием сертифицированного стандартного материала (CRM) по методу A. Полученный результат должен быть равен или отличаться от значения CRM не более чем

, где
R - воспроизводимость метода
(таблица 3).
Рекомендуется проводить более частые проверки, используя вторичные рабочие стандарты (SWS)
(5.2).
В
приложении A приведена рекомендуемая процедура для проверки испытательного аппарата с использованием CRM и SWS, а также приготовление SWS.
7.4.2 Значения, полученные во время проверки, не могут быть использованы ни для определения отклонения (смещения), ни для любой корректировки температур вспышки, впоследствии определяемых с использованием испытательного аппарата.
8.1 Если не установлено иное, отбор проб проводят по ISO 15528, ISO 3170, ISO 3171 или эквивалентным национальным стандартам.
8.2 Пробу помещают в герметичные контейнеры, подходящие для отбираемого материала. Для обеспечения безопасности следует убедиться, что контейнер для пробы заполнен только на 85% - 95% вместимости.
8.3 Пробы хранят в условиях, при которых потери от испарения и повышение давления минимальны. Следует избегать хранения проб при температуре выше 30 °C.
9.1 Нефтепродукты
9.1.1 Отбор проб для испытания
Отбор проб для испытания проводят при температуре не менее чем на 28 °C ниже ожидаемой температуры вспышки. Если до испытания образец должен находиться на хранении, следует убедиться, что контейнер заполнен более чем на 50% его вместимости
(примечание к 10.1).
9.1.2 Пробы, содержащие нерастворенную воду
Если проба содержит нерастворенную воду, перед перемешиванием ее следует отделить от воды.
Присутствие воды может влиять на результаты определения температуры вспышки. Для некоторых жидких топлив и смазочных масел пробу не всегда можно отделить от свободной воды. В таких случаях вода должна быть физически отделена от пробы нефтепродукта или, если это невозможно, испытание пробы проводят по стандарту
[6].
9.1.3 Пробы жидкие при температуре окружающей среды
Перед отбором пробы для испытания образец перемешивают вручную осторожным встряхиванием, следя за тем, чтобы минимизировать потери низкокипящих компонентов, а далее действуют в соответствии с
разделом 10.
9.1.4 Пробы полутвердые или твердые при температуре окружающей среды
Контейнер с пробой нагревают в нагревательной бане или термостате
(6.4) в течение 30 мин при температуре (30 +/- 5) °C или при более высокой температуре, не превышающей ожидаемую температуру вспышки на 28 °C. Если проба не становится полностью жидкой через 30 мин, то ее предварительное нагревание продолжают по мере необходимости дополнительными периодами по 30 мин. Следует избегать перегрева пробы, что может привести к потере низкокипящих компонентов. Далее после осторожного перемешивания поступают в соответствии с
разделом 10.
9.2 Краски и лаки
Подготовку проб проводят по ISO 1513.
10.1 Общие положения
Примечание - Результаты определения температуры вспышки могут быть искажены, если контейнер заполнен пробой менее чем на 50% его вместимости.
Следует быть внимательным при испытании образцов мазута, содержащих значительное количество воды, так как нагревание таких образцов может вызвать их вспенивание и выброс из испытательного тигля.
10.2.1 По барометру
(6.3) записывают давление окружающей среды около аппарата во время испытания.
Примечание - Нет необходимости корректировать давление окружающей среды на 0 °C, хотя некоторые барометры выполняют эту корректировку автоматически.
10.2.2 Испытательный тигель заполняют образцом
(7.3) до метки. Тигель закрывают крышкой и помещают в нагревательную камеру. Убеждаются, что он расположен нормально и запирающий механизм зафиксирован, затем помещают термометр
(6.2). Зажигают запальное пламя и регулируют, чтобы его диаметр был в пределах от 3 до 4 мм, или включают альтернативный источник запального пламени. Зажигают нагревательное пламя (нагревательную горелку) или включают электрический нагреватель и нагревают с такой скоростью, чтобы температура испытуемого образца, фиксируемая термометром, повышалась на 5 °C - 6 °C в минуту; эту скорость нагревания поддерживают в течение всего испытания.
Перемешивают испытуемый образец сверху вниз со скоростью от 90 до 120 об/мин.
10.2.3 Если ожидаемая температура вспышки испытуемого образца не выше 110 °C, первое испытание пламенем проводят при достижении температуры испытуемой пробы на (23 +/- 5) °C ниже ожидаемой температуры вспышки и далее с интервалами 1 °C. Перемешивание прерывают и проводят зажигание, запуская механизм, расположенный на крышке, который управляет заслонкой и запальным устройством таким образом, что пламя опускается в паровое пространство тигля в течение 0,5 с, остается в нижнем положении 1 с и быстро возвращается в верхнее положение.
10.2.4 Если ожидаемая температура вспышки выше 110 °C, первое испытание пламенем проводят при достижении температуры испытуемого образца на (23 +/- 5) °C ниже ожидаемой температуры вспышки и далее с интервалами 2 °C. Перемешивание прерывают и проводят зажигание, запуская расположенный на крышке механизм, который управляет заслонкой и зажигательным устройством таким образом, что пламя опускается в паровое пространство тигля в течение 0,5 с, остается в нижнем положении 1 с и быстро возвращается в верхнее положение.
10.2.5 Если температура вспышки испытуемого продукта неизвестна, то проводят предварительное испытание при подходящей исходной температуре. Первое поджигание проводят при температуре на 5 °C выше исходной температуры, затем действуют в соответствии с процедурой, приведенной в
10.2.3 или
10.2.4.
10.2.6 В качестве наблюдаемой температуры вспышки записывают температуру испытуемого образца по показанию термометра в то время, когда пламя запального устройства вызывает четко выраженную вспышку внутри испытательного тигля.
Температуру вспышки не следует путать с голубоватым ореолом, который иногда окружает источник зажигания перед тем, как он вызывает вспышку.
10.2.7 Если температура, при которой наблюдается вспышка, отличается менее чем на 18 °C и более чем на 28 °C от температуры, при которой было проведено первое применение источника зажигания, результат считают недействительным. В этом случае испытание повторяют с другой порцией образца, а температуру, при которой зажигательное устройство вводят впервые, подбирают таким образом, чтобы был получен достоверный результат, следовательно, температура вспышки должна быть на 18 °C - 28 °C выше температуры, при которой проводилось первое испытание пламенем.
10.3 Метод B
10.3.1 Записывают давление окружающей среды по барометру
(6.3) вблизи аппарата во время испытания (см.
примечание к 10.2.1).
10.3.2 Помещают испытуемый образец в испытательный тигель
(7.3) до метки. Тигель закрывают крышкой и помещают в нагревательную камеру. Убеждаются, что он расположен нормально и зафиксирован, и затем вставляют термометр
(6.2). Зажигают пламя и устанавливают диаметр запального пламени в пределах от 3 до 4 мм либо включают альтернативный источник зажигания. Затем осуществляют нагревание, поджигая нагревательное пламя или включая электрический нагреватель, чтобы температура испытуемого образца, фиксируемая термометром, поднималась со скоростью от 1 °C до 1,5 °C в минуту; эту скорость нагревания сохраняют во время всего испытания. Испытуемый образец перемешивают сверху вниз со скоростью (250 +/- 10) об/мин.
10.3.3 Выполняют испытание согласно
10.2.3 -
10.2.7, за исключением требований по скорости нагревания и скорости перемешивания, приведенных в
10.3.2.
11.1 Пересчет показаний барометрического давления
Если барометрическое давление измерено в единицах, отличных от килопаскалей, то его пересчитывают по одному из следующих выражений:
значение в гектопаскалях x 0,1 = значение в килопаскалях;
значение в миллибарах x 0,1 = значение в килопаскалях;
значение в миллиметрах ртутного столба x 1,333 = значение в килопаскалях.
11.2 Пересчет наблюдаемой температуры вспышки на стандартное атмосферное давление
Температуру вспышки Tс, с поправкой на стандартное атмосферное давление 101,3 кПа, рассчитывают по формуле
Tс = Tо + 0,25 (101,3 - p), (1)
где Tо - температура вспышки при барометрическом давлении окружающей среды, °C;
p - барометрическое давление окружающей среды, кПа.
Примечание - Эта формула действительна только для барометрического давления в диапазоне от 98,0 до 104,7 кПа.
Записывают температуру вспышки с поправкой на стандартное атмосферное давление, округляя до 0,5 °C.
13.1 Общие положения
Прецизионность, определенная статистической оценкой результатов межлабораторных испытаний по стандарту
[7], приведена в
13.2 и
13.3.
13.2 Повторяемость (сходимость)
r
Расхождение между двумя результатами испытаний, полученными одним оператором на одной и той же аппаратуре при постоянных условиях на идентичном испытуемом материале при нормальном и правильном выполнении метода испытания в течение длительного времени, может превышать значения, приведенные в
таблицах 1 и
2, только в одном случае из двадцати.
Таблица 1
Повторяемость для метода A
В градусах Цельсия
Материал (нефтепродукт) | Диапазон температуры вспышки | Повторяемость r |
Краски и лаки | - | 1,5 |
Дистилляты и свежие смазочные масла | От 40 до 250 включ. | |
<a> X - среднеарифметическое значение сравниваемых результатов испытания. |
Таблица 2
Повторяемость для метода B
В градусах Цельсия
Материал (нефтепродукт) | Диапазон температуры вспышки | Повторяемость r |
Остаточные топлива и разжиженные битумы | От 40 до 110 | 2,0 |
Отработанные смазочные масла | От 170 до 210 | |
Жидкости, склонные к образованию пленки на поверхности; жидкости с суспендированными твердыми материалами; высоковязкие продукты | - | |
<a> Данные, полученные для одного образца дизельного моторного топлива, испытанного в 20 лабораториях. <b> Данные по прецизионности были определены Комитетом ASTM D-1. |
Расхождение между двумя независимыми результатами испытаний, полученными разными операторами, работающими в разных лабораториях, на идентичном испытуемом материале при нормальном и правильном выполнении метода испытаний в течение длительного времени, может превышать значения, приведенные в
таблицах 3 и
4, только в одном случае из двадцати.
Таблица 3
Воспроизводимость для метода A
В градусах Цельсия
Материал (нефтепродукт) | Диапазон температуры вспышки | Воспроизводимость R |
Краски и лаки | - | - |
Дистилляты и свежие смазочные масла | От 40 до 250 | |
<a> X - среднеарифметическое значение сравниваемых результатов испытания. |
Таблица 4
Воспроизводимость для метода B
В градусах Цельсия
Материал (нефтепродукт) | Диапазон температуры вспышки | Воспроизводимость R |
Остаточные топлива и разжиженные битумы | От 40 до 110 | 6,0 |
Отработанные смазочные масла | От 170 до 210 | |
Жидкости, склонные к образованию поверхностной пленки; жидкости с суспендированными твердыми веществами; высоковязкие продукты | - | |
<a> Данные получены для одного образца дизельного моторного топлива, испытанного в 20 лабораториях. <b> Прецизионность установлена Комитетом ASTM D-1. |
Протокол испытаний должен содержать:
a) обозначение настоящего стандарта и примененную процедуру;
b) тип и полную идентификацию испытуемого образца;
c) температуру предварительного подогрева и время подогрева, если он применялся
(9.1.4);
d) барометрическое давление вблизи испытательного аппарата (
10.2.1 и
10.3.1);
f) любое отклонение от установленной процедуры испытания;
g) дату проведения испытания.
(справочное)
A.1 Общие положения
В настоящем приложении изложены процедура приготовления вторичных рабочих стандартов (SWS) и метод для контрольной проверки с использованием SWS и сертифицированного стандартного материала (CRM).
Функционирование аппарата (ручного или автоматического) следует регулярно проверять с использованием CRM, приготовленного по стандартам
[2] и
[3], или SWS, приготовленных в соответствии с одной из процедур, приведенных в
A.2.2. Функционирование аппарата должно быть оценено по стандартам
[1] и
[7].
Оценка результата испытания проводится с 95%-ной доверительной вероятностью.
A.2 Стандарты для контрольной проверки
A.2.1 CRM - стабильный индивидуальный углеводород или другое стабильное вещество, температура вспышки которого определена по стандартам
[2] и
[3] в ходе специальных межлабораторных испытаний по определению сертифицированного значения, характерного для настоящего метода.
A.2.2 SWS - стабильный нефтепродукт или индивидуальный углеводород, или другое стабильное вещество, температура вспышки которого была определена:
a) испытанием представительных образцов не менее трех раз, с использованием аппаратуры, которая предварительно была проверена с использованием CRM, с последующим статистическим анализом полученных результатов, исключая любые выпадающие из них результаты и вычисляя среднеарифметическое значение полученных результатов;
b) проведением межлабораторной программы испытаний по настоящему методу, в которой принимают участие не менее трех лабораторий, выполняющих параллельные испытания представительных образцов. Окончательное значение температуры вспышки должно быть вычислено после проведения статистического анализа результатов, полученных при межлабораторных испытаниях.
SWS хранят в контейнерах, позволяющих сохранить их чистоту, защищенных от прямых солнечных лучей, при температуре не выше 10 °C.
A.3 Проведение испытаний
A.3.1 Выбирают CRM или SWS, температура вспышки которых попадает в диапазон температур, определенный с использованием рассматриваемого аппарата.
CRM и SWS выбирают таким образом, чтобы их температура вспышки находилась в пределах интервала, измеренного с помощью прибора. Приблизительные значения температуры вспышки приведены в
таблице A.1.
Таблица A.1
Приблизительные значения температуры вспышки углеводородов
в закрытом тигле
Углеводород | Номинальная температура вспышки, °C |
Декан | 53 |
Ундекан | 68 |
Додекан | 84 |
Тетрадекан | 109 |
Гексадекан | 134 |
Для того чтобы охватить по возможности большую часть используемого диапазона температур, рекомендуется применять два CRM или SWS. Кроме того, рекомендуется провести повторные испытания с применением аликвот CRM или SWS.
A.3.2 Для новой аппаратуры и не менее одного раза в год для работающей аппаратуры выполняют контрольные проверки по
10.2 с использованием CRM
(A.2.1).
A.3.3 При промежуточной проверке по
10.2 для контроля используют SWS
(A.2.2).
A.3.4 Полученные результаты корректируют на барометрическое давление в соответствии с
11.2. В окончательный отчет записывают откорректированный результат с точностью до 0,1 °C.
A.4 Обработка результатов испытаний
A.4.1 Общая информация
Сравнивают откорректированный результат с сертифицированным значением температуры вспышки CRM или известной температурой вспышки SWS.
В формулах, приведенных в
A.4.1.1 и
A.4.1.2, предусмотрено, что воспроизводимость была оценена по стандарту
[7], а сертифицированное значение температуры вспышки CRM или заданное значение температуры вспышки SWS было определено с использованием процедур по руководству
[3], и его неопределенность мала по сравнению со стандартным отклонением настоящего метода испытания и, следовательно, мала по сравнению со значением воспроизводимости
R настоящего метода испытания.
A.4.1.1 Единичное испытание
Для единичного испытания, проведенного с использованием CRM или SWS, разность между единичным результатом и сертифицированным значением температуры вспышки CRM или обозначенным значением температуры вспышки SWS должна находиться в пределах следующего допуска

, (A.1)
где x - результат испытания;

- сертифицированное значение температуры вспышки CRM или обозначенное значение температуры вспышки SWS;
R - воспроизводимость настоящего метода испытания.
A.4.1.2 Многократные испытания
Если ряд повторных испытаний n проведен с использованием CRM или SWS, разность между средним значением n результатов и сертифицированным значением CRM или обозначенным значением SWS должна находиться в пределах следующего допуска

, (A.2)
где

- среднеарифметическое значение результатов испытания;

- сертифицированное значение температуры вспышки CRM или обозначенное значение температуры вспышки SWS;
R1 - рассчитывают по формуле

, (A.3)
где r - повторяемость настоящего метода испытания;
n - количество повторных испытаний, выполненных с использованием CRM или SWS.
A.4.2 Если результат испытания находится в пределах установленного допуска, это должно быть записано.
A.4.3 Если результат испытания находится вне пределов требуемого допуска, а для контрольной проверки аппаратуры был использован SWS, это записывают и повторяют испытание с использованием CRM. Если в этом случае результат испытания находится в пределах установленного допуска, это также записывают.
A.4.4 Если результат испытания все еще находится вне пределов требуемого допуска, проверяют испытательную аппаратуру и убеждаются в том, что она соответствует требованиям спецификации. Если не установлены очевидные несоответствия, выполняют еще одну контрольную проверку с использованием CRM. Если результат испытания находится в пределах установленного допуска, это записывают. Если результат испытания все еще находится вне пределов требуемого допуска, то аппаратуру отправляют изготовителю для тщательной проверки.
(обязательное)
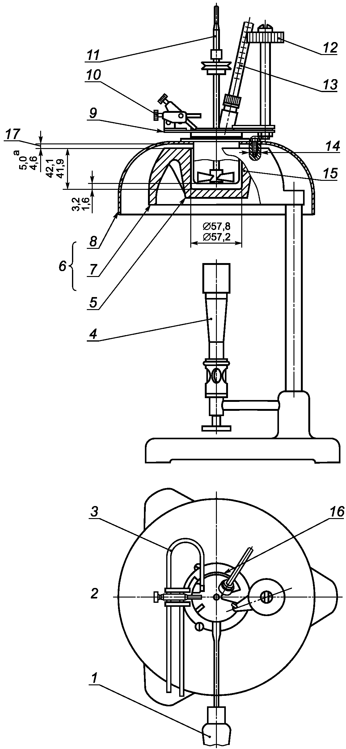
АППАРАТ ПЕНСКИ-МАРТЕНСА С ЗАКРЫТЫМ ТИГЛЕМ
B.1 Общая информация
В настоящем приложении приведено описание аппарата, работающего в ручном режиме, нагреваемого газом или электронагревателем и оснащенного источником зажигания с применением пламени. Аппарат состоит из испытательного тигля, крышки со вспомогательным приспособлением и нагревательной камеры, представленных в
разделах B.2 -
B.4. На
рисунке B.1 приведен типичный аппарат с газовым нагревателем.
1 - ручка (не обязательна); 2 - передняя часть;
3 - запальник; 4 - обогреватель: газовая горелка или
электроэлемент (на рисунке приведена горелка);
5 - металлическая стенка воздушной бани, окружающей тигель,
толщиной не менее 6,5 мм; 6 - нагревательная камера;
7 - воздушная баня; 8 - колпак; 9 - крышка;
10 - зажигательное устройство; 11 - гибкий вал;
12 - рукоятка, приводящая в движение заслонку;
13 - термометр; 14 - втулка диаметром не более 9,5 мм;
15 - тигель; 16 - заслонка; 17 - воздушный зазор
Примечание - Крышка устанавливается поворотом влево или вправо.
Рисунок B.1 - Аппарат Пенски-Мартенса с закрытым тиглем
с газовым нагревателем
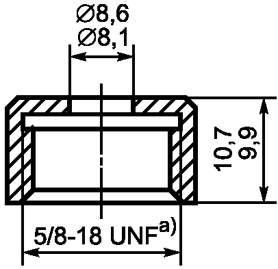
Испытательный тигель из латуни или другого нержавеющего металла с аналогичной теплопроводностью, форма и размеры которого должны соответствовать приведенным на
рисунке B.2. Фланец должен быть оснащен приспособлениями для фиксации положения тигля в нагревательной камере. Ручка, прикрепленная к фланцу тигля, является желательным приспособлением. Она не должна быть настолько тяжелой, чтобы опрокидывать тигель.
1 - метка наполнения
Рисунок B.2 - Испытательный тигель
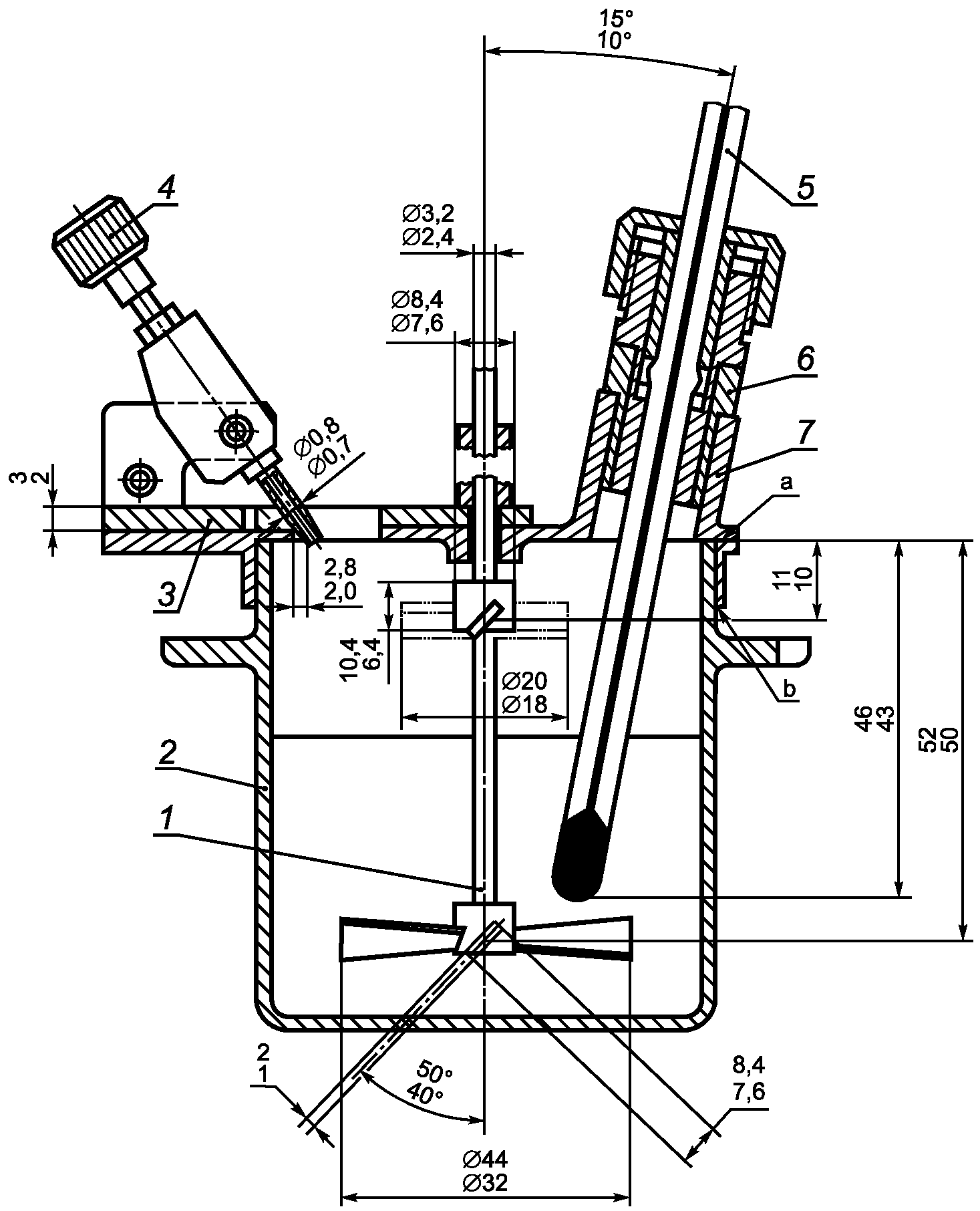
B.3 Крышка с комплектующими
B.3.1 Крышка должна включать нижеперечисленные элементы.
B.3.2 Крышка из латуни или другого нержавеющего металла аналогичной проводимости, имеющая бортик, выступающий вниз почти до фланца тигля, как показано на
рисунке B.3. Зазор между бортиком и наружной поверхностью тигля не должен превышать 0,36 мм в диаметре. Необходимо предусмотреть установочное или запорное устройство или и то, и другое, соединяющееся с соответствующим приспособлением на тигле. В крышке имеются три отверстия A, B и C, показанные на
рисунке B.3. Верхний край тигля должен плотно соприкасаться с внутренней поверхностью крышки по всей ее окружности.

B.3.3 Заслонка из латуни толщиной приблизительно 2,4 мм, перемещающаяся в плоскости верхней поверхности крышки, как показано на
рисунке B.4. Заслонка должна иметь такую форму и быть установлена таким образом, чтобы она поворачивалась в горизонтальной плоскости на оси в центре крышки между двумя упорами, при этом, когда она находится в одном крайнем положении, отверстия в крышке A, B и C должны быть полностью закрыты, а когда она находится в другом крайнем положении, эти отверстия должны быть полностью открыты. Заслонка приводится в действие пружинным механизмом, сконструированным таким образом, что в неработающем состоянии заслонка точно закрывает все три отверстия. Если заслонка переводится в другое крайнее положение, три отверстия в крышке должны быть полностью открыты, а наконечник устройства для зажигания
(B.3.4) должен быть полностью опущен.
a - край тигля должен соприкасаться с поверхностью крышки
по всей окружности, b - зазор, равный не более 0,36 мм
1 - мешалка; 2 - испытательный тигель; 3 - заслонка;
4 - устройство для поджигания испытуемого образца;
5 - термометр; 6 - адаптер (переходная муфта); 7 - крышка
Рисунок B.4 - Тигель с крышкой
B.3.4 Устройство для зажигания, которое должно иметь наконечник с отверстием диаметром от 0,7 до 0,8 мм (см.
рисунок B.4). Наконечник должен быть изготовлен из нержавеющей стали или другого подходящего материала. Устройство для зажигания должно быть оснащено перемещающим механизмом, который при "открытом" положении заслонки опускает наконечник таким образом, что центр его отверстия располагается между плоскостями верхней и нижней поверхностей крышки, в точке на радиусе, проходящем через центр самого большого отверстия A
(рисунок B.3).
Примечание - В хорошо просматриваемом месте крышки может быть закреплен изготовленный из подходящего материала шарик-шаблон, размеры которого соответствуют размерам испытательного пламени (от 3 до 4 мм).
B.3.5 Запальник для автоматического зажигания испытательного пламени. Наконечник запальника должен иметь отверстие диаметром от 0,7 до 0,8 мм.
B.3.6 Перемешивающее устройство, смонтированное в центре крышки
(рисунок B.4), имеющее две двухлопастные металлические крыльчатки. Нижняя крыльчатка должна иметь приблизительно 38 мм между кончиками лопастей, каждая из двух ее лопастей должна иметь ширину 8 мм и быть установлена под углом 45°. Верхняя крыльчатка должна иметь приблизительно 19 мм между кончиками лопастей, каждая из двух ее лопастей должна иметь ширину 8 мм и быть установлена под углом 45°. Обе крыльчатки располагаются на валу мешалки таким образом, что если смотреть снизу, то лопасти одной крыльчатки располагаются на направлениях 0° и 180°, а лопасти другой - на направлениях 90° и 270°.
Примечание - Вал мешалки соединяют с двигателем с использованием гибкого вала или соответствующего комплекта шкивов, при этом перемешивание должно осуществляться сверху вниз.
B.4 Нагревательная камера и колпак
Тепло подводят к испытательному тиглю с помощью специальной нагревательной камеры, которая эквивалентна воздушной бане. Нагревательная камера должна состоять из воздушной бани и колпака, на который опирается фланец испытательного тигля.
Внутреннее пространство воздушной бани должно иметь цилиндрическую форму и соответствовать размерам, приведенным на
рисунке B.1. Металлический корпус воздушной бани должен нагреваться газовым пламенем или наружным электронагревателем, или элементом электросопротивления. В любом случае наружная поверхность корпуса воздушной бани не должна деформироваться при температурах, которым она будет подвергаться во время испытаний.
Если воздушная баня нагревается газовым пламенем или металлическим электрообогревателем, то она должна быть сконструирована таким образом, чтобы температура дна и стенок нагреваемой конструкции была приблизительно одинаковой. Для этого толщина дна и стенок должна быть не менее 6 мм. Если воздушная баня нагревается газовым пламенем, то конструкция корпуса должна быть такой, чтобы продукты сгорания не могли подниматься вверх и контактировать с испытательным тиглем.
Если воздушная баня оснащена элементом электросопротивления, то он должен быть сконструирован таким образом, чтобы все части внутренней поверхности воздушной бани нагревались равномерно. Стенки и дно воздушной бани должны иметь толщину не менее 6 мм.
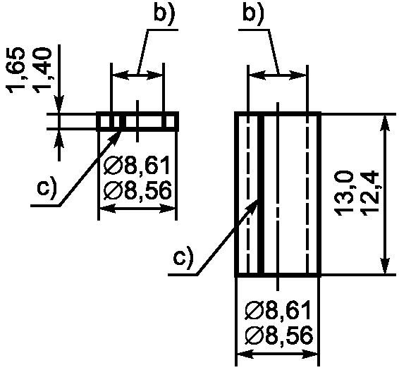
Верхний металлический колпак должен быть установлен так, чтобы между ним и воздушной баней был воздушный зазор. Колпак должен быть прикреплен к воздушной бане тремя болтами с использованием распорных втулок. Втулки должны быть выполнены так, чтобы обеспечить воздушный зазор (4,8 +/- 0,2) мм, а их диаметр не должен быть более 9,5 мм.
(обязательное)
Таблица C.1
Требования к термометрам
Параметр | Низкое значение температуры | Среднее значение температуры | Высокое значение температуры |
Диапазон, °C | От -5 до +100 | От 20 до 150 | От 90 до 370 |
Глубина погружения, мм | 57 | 57 | 57 |
Градуировки: | | | |
цена деления, °C | 0,5 | 1 | 2 |
длинная линия у каждого деления, °C | 1 и 5 | 5 | 10 |
Оцифровка у каждого деления, °C | 5 | 5 | 20 |
Погрешность шкалы, °C, не более | 0,5 | 1 | 1 - до 260 °C 2 - св. 260 °C |
Расширительный резервуар допускает нагревание до, °C | 160 | 200 | 370 |
Общая длина, мм | От 282 до 295 | От 282 до 295 | От 282 до 295 |
Внешний диаметр капилляра, мм | 6,0 - 7,0 | 6,0 - 7,0 | 6,0 - 7,0 |
Длина резервуара, мм | 9 - 13 | 9 - 13 | 7 - 10 |
Диаметр резервуара, мм | Не менее 5,5 и не более наружного диаметра капилляра | Не менее 5,5 и не более наружного диаметра капилляра | Не менее 5,5 и не более наружного диаметра капилляра |
Расстояние от основания резервуара до начала шкалы, мм, при | 0 °C: от 85 до 95 | 20 °C: от 85 до 95 | 90 °C: от 80 до 90 |
Длина градуировки, мм | От 140 до 175 | От 140 до 180 | От 145 до 180 |
Расширение внешнего диаметра капилляра: | | | |
диаметр, мм | От 7,5 до 8,5 | От 7,5 до 8,5 | От 7,5 до 8,5 |
длина, мм | От 2,5 до 5,0 | От 2,5 до 5,0 | От 2,5 до 5,0 |
расстояние от основания расширения до основания резервуара, мм | От 64 до 66 | От 64 до 66 | От 64 до 66 |
Примечания 1 Указанным выше требованиям соответствуют термометры типа IP 15C/ASTM 9C, IP 16C/ASTM 10C, IP 101 C и ASTM 88C. 2 Приложение D содержит описание адаптера для низкотемпературных термометров. |
(справочное)
АДАПТЕРЫ ДЛЯ НИЗКОТЕМПЕРАТУРНЫХ ТЕРМОМЕТРОВ
D.1 Общие положения
Низкотемпературные термометры иногда оснащены металлической манжетой с установочным кольцом для испытательного тигля Тага (стандарт
[9]). Для применения в установочном кольце большего диаметра аппарата Пенски-Мартенса можно использовать адаптер (переходную муфту)
(рисунок D.1).
a - Адаптер (переходная муфта) (латунь)
b - Зажимная гайка (нержавеющая сталь)
c - Уплотнительные кольца (мягкий алюминий)
d - Манжета (нержавеющая сталь)
--------------------------------
<a> Или эквивалентный.
<b> В соответствии с диаметром расширения внешнего диаметра капилляра.
<c> Прорезь.
1 - зажимная гайка; 2, 4 - уплотнительные кольца (мягкий
алюминий); 3 - манжета; 5 - адаптер (переходная муфта)
Рисунок D.1 - Размеры адаптера (переходной муфты)
для термометра, уплотнительных колец и манжеты
D.2 Контрольный шаблон
Длину расширения внешнего диаметра капилляра и расстояние от основания расширения до основания шарика термометра можно измерить контрольным шаблоном, приведенным на
рисунке D.2.
Рисунок D.2 - Контрольный шаблон для проверки расширения
внешнего диаметра капилляра термометра
| ISO Guide 33:1989 | Uses if certified reference materials (Руководство по использованию стандартных образцов) |
| ISO Guide 34:2000 | General requirements for the competence of reference material producers (Общие требования к компетенции изготовителей стандартных образцов) |
| ISO Guide 35:1989 | Certification of reference materials - General and statistical principles (Руководство сертификации стандартных образцов. Общие и статистические принципы) |
| ISO 1523:2002 | Determination of flash point - Closed cup equilibrium method (Определение температуры вспышки. Метод в закрытом тигле в равновесных условиях) |
| ISO 2592:2000 | Determination of flash and fire points - Cleveland open cup method (Определение температуры вспышки и воспламенения. Метод Кливленда в закрытом тигле) |
| ISO 3679:2004 | Determination of flash point - Rapid equilibrium closed cup method (Определение температуры вспышки. Экспресс-метод в закрытом тигле) |
| ISO 4259:1992 | Petroleum products - Determination and application of precision data in relation to methods of test (Нефтепродукты. Определение и применение прецизионности методов испытания) |
| ISO 13736:1997 | Petroleum products and other liquids - Determination of flash point - Abel closed cup method (Нефтепродукты и другие жидкости. Определение температуры вспышки. Метод Абеля в закрытом тигле) |
| ASTM D 56-10 | Standard test method for flash point by Tag closed tester (Стандартный метод определения температуры вспышки в закрытом тигле Тага) |
(справочное)
СВЕДЕНИЯ О СООТВЕТСТВИИ МЕЖГОСУДАРСТВЕННЫХ СТАНДАРТОВ
ССЫЛОЧНЫМ МЕЖДУНАРОДНЫМ СТАНДАРТАМ
Таблица ДА.1
Обозначение и наименование международного стандарта | Степень соответствия | Обозначение и наименование межгосударственного стандарта |
ISO 1513:1992 Лаки и краски. Проверка и приготовление образцов для испытания | - | |
ISO 3170:2004 Нефтепродукты жидкие. Ручной отбор проб | NEQ | |
ISO 3171:1988 Нефтепродукты жидкие. Автоматический отбор проб из трубопровода | NEQ | |
ISO 15528:2000 Лаки, краски и сырье для лаков и красок. Отбор проб | - | |
<*> Соответствующий межгосударственный стандарт отсутствует. До его утверждения рекомендуется использовать перевод на русский язык данного международного стандарта. Перевод данного международного стандарта находится в Федеральном информационном фонде технических регламентов и стандартов. |