Главная // Актуальные документы // ГОСТ (Государственный стандарт)
СПРАВКА
Источник публикации
М.: ИПК Издательство стандартов, 2000
Примечание к документу
С 1 июля 2003 года до вступления в силу технических регламентов акты федеральных органов исполнительной власти в сфере технического регулирования носят рекомендательный характер и подлежат обязательному исполнению только в части, соответствующей целям, указанным в пункте 1 статьи 46 Федерального закона от 27.12.2002 N 184-ФЗ.

Документ введен в действие с 1 января 1976 года.
Название документа
"ГОСТ 20851.4-75*. Межгосударственный стандарт. Удобрения минеральные. Методы определения воды"
(введен Постановлением Госстандарта СССР от 22.05.1975 N 1373)
(ред. от 01.06.1988)


"ГОСТ 20851.4-75*. Межгосударственный стандарт. Удобрения минеральные. Методы определения воды"
(введен Постановлением Госстандарта СССР от 22.05.1975 N 1373)
(ред. от 01.06.1988)


Содержание


Введен
Постановлением Государственного
комитета стандартов
Совета Министров СССР
от 22 мая 1975 г. N 1373
МЕЖГОСУДАРСТВЕННЫЙ СТАНДАРТ
УДОБРЕНИЯ МИНЕРАЛЬНЫЕ
МЕТОДЫ ОПРЕДЕЛЕНИЯ ВОДЫ
Mineral fertilizers. Methods for determination of water
ГОСТ 20851.4-75*
Список изменяющих документов
(в ред. Изменения N 1, утв. в феврале 1980 г.,
Изменения N 2, утв. в июне 1986 г.,
Изменения N 3, утв. в июне 1988 г.)
Группа Л19
ОКСТУ 2180
Постановлением Государственного комитета стандартов Совета Министров СССР от 22 мая 1975 г. N 1373 дата введения установлена
1 января 1976 года
Ограничение срока действия снято по протоколу N 7-95 Межгосударственного Совета по стандартизации, метрологии и сертификации (ИУС 11-95)
Издание (май 2000 г.) с Изменениями N 1, 2, 3, утвержденными в феврале 1980 г., июне 1986 г., июне 1988 г. (ИУС 3-80, 10-86, 9-88)
Настоящий стандарт распространяется на минеральные удобрения, содержащие от 0,1% до 12% воды, и устанавливает следующие методы определения воды:
метод определения гигроскопической и общей воды высушиванием в сушильном шкафу;
метод определения гигроскопической и общей воды высушиванием при помощи прибора с зеркальной инфракрасной лампой;
объемный метод определения общей и гигроскопической воды реактивом Фишера или йод-ацетатным раствором;
динамический хроматографический метод определения гигроскопической воды;
диэлькометрический метод определения гигроскопической воды.
1. МЕТОД ОПРЕДЕЛЕНИЯ ГИГРОСКОПИЧЕСКОЙ И ОБЩЕЙ ВОДЫ
ВЫСУШИВАНИЕМ В СУШИЛЬНОМ ШКАФУ
1.1. Средства измерений, оборудование и посуда
Шкаф сушильный с погрешностью регулирования температуры до +/- 2,5 °C.
Эксикатор по ГОСТ 25336-82, заполненный хлористым кальцием по НД, предварительно прокаленным при температуре 250 - 300 °C в течение 1 - 2 ч, или активной окисью алюминия по ГОСТ 8136-85, или силикагелем по ГОСТ 3956-76.
Бюкса СН диаметром 32 - 68 мм и высотой 50 мм и СВ диаметром 30 - 40 мм и высотой 50 - 65 мм по ГОСТ 25336-82 или кювета алюминиевая диаметром 32 - 60 мм и высотой 5 - 40 мм.
ИС МЕГАНОРМ: примечание.
Взамен ГОСТ 24104-88 Постановлением Госстандарта России от 26.10.2001 N 439-ст с 1 июля 2002 года введен в действие ГОСТ 24104-2001.
Весы лабораторные по ГОСТ 24104-88 2-го класса точности или аналогичного типа с погрешностью взвешивания не более 0,0002 г.
ИС МЕГАНОРМ: примечание.
Взамен ГОСТ 7328-82 Постановлением Госстандарта России от 26.10.2001 N 438-ст с 1 июля 2002 года введен в действие ГОСТ 7328-2001.
Набор гирь по ГОСТ 7328-82.
1.2. Проведение анализа
2 - 5 г удобрения помещают в бюксу или кювету, предварительно высушенные до постоянной массы, и взвешивают (результат взвешивания в граммах записывают с точностью до четвертого десятичного знака).
Бюксу или кювету с удобрением помещают в термостат и сушат с открытой крышкой в течение 3 ч, аммиачную селитру сушат 2 ч. Затем бюксу или кювету закрывают и охлаждают в эксикаторе, выдерживая перед взвешиванием не менее 30 мин.
Температура, поддерживаемая в термостате при сушке различных удобрений, приведена в табл. 1.
Таблица 1
Наименование удобрения
Температура сушки, °C
Диаммонийфосфат, диаммонитрофоска
60 - 65
Карбамид (мочевина), сульфат аммония, аммофос, нитрофоска, нитроаммофоска, нитроаммофос
65 - 70
Сложносмешанные удобрения, суперфосфат, простой аммонизированный и двойной суперфосфат
75 - 80
Аммиачная селитра, хлористый калий, сернокислый калий, простой суперфосфат, 40%-ная калийная смешанная соль, преципитат удобрительный, фосфоритная мука
100 - 105
Калимагнезия, калийно-магниевый концентрат, калий сернокислый
200 - 250 <*>
--------------------------------
<*> Определяется общая вода.
Примечание. Условия определения воды уточняются в стандартах на конкретные продукты, не включенные в табл. 1.
1.3. Обработка результатов
Массовую долю воды (X) в процентах вычисляют по формуле
где m - масса бюксы (кюветы) с пробой до высушивания, г;
m1 - масса бюксы (кюветы) с пробой после высушивания, г;
m2 - масса навески, г.
За результат анализа принимают среднее арифметическое двух (для карбамида - трех) параллельных определений, допускаемые расхождения между которыми при доверительной вероятности P = 0,95 не должны превышать:
0,05% - при массовой доле воды до 0,5%;
0,2% - при массовой доле воды свыше 0,5% до 2%;
0,4% - при массовой доле воды свыше 2% до 6%;
0,8% - при массовой доле воды свыше 6% до 12%.
1.1 - 1.3. (Измененная редакция, Изм. N 2).
2. МЕТОД ОПРЕДЕЛЕНИЯ ГИГРОСКОПИЧЕСКОЙ И ОБЩЕЙ ВОДЫ
ВЫСУШИВАНИЕМ ПРИ ПОМОЩИ ПРИБОРА С ЗЕРКАЛЬНОЙ
ИНФРАКРАСНОЙ ЛАМПОЙ
2.1. Средства измерений, оборудование и посуда
Лампа термоизлучательная инфракрасная ИКЗ-220-500 по НД, закрепленная на штативе или вмонтированная в кожух из жести; приборы ИЛ-ЗМ, 062 М или аналогичные приборы с использованием инфракрасной лампы.
ИС МЕГАНОРМ: примечание.
Взамен ГОСТ 24104-88 Постановлением Госстандарта России от 26.10.2001 N 439-ст с 1 июля 2002 года введен в действие ГОСТ 24104-2001.
Весы лабораторные по ГОСТ 24104-88 2-го класса точности или аналогичного типа с погрешностью взвешивания не более 0,0002 г.
ИС МЕГАНОРМ: примечание.
Взамен ГОСТ 7328-82 Постановлением Госстандарта России от 26.10.2001 N 438-ст с 1 июля 2002 года введен в действие ГОСТ 7328-2001.
Набор гирь по ГОСТ 7328-82.
Мешалка магнитная ММ-2.
Преобразователь термоэлектрический хромель-копелевый типа ТХК-0379-01 или аналогичного типа.
Термометр лабораторный с ценой деления не более 1 °C.
2.2. Проведение анализа
2 - 5 г удобрения помещают в бюксу или кювету, предварительно высушенную до постоянной массы, закрывают крышкой или стеклом и взвешивают (результат взвешивания в граммах записывают с точностью до четвертого десятичного знака). Открытую бюксу или кювету с навеской удобрения ставят под лампу на стол, покрытый асбестом, и высушивают в течение 30 мин (сложные удобрения и аммонизированный суперфосфат - 20 мин) при условиях, указанных в табл. 2. Температуру сушки определяют ртутным термометром, который помещают на стол под центр лампы.
Таблица 2
Наименование удобрения
Температура сушки, °C
Карбамид (мочевина)
65 - 70
Суперфосфаты и сложные удобрения
75 - 80
Однокомпонентные калийные удобрения
200 - 350 <*>
--------------------------------
<*> Определяется общая вода.
Бюксу (кювету) покрывают крышкой (стеклом), выдерживают в эксикаторе не менее 30 мин и взвешивают.
При определении воды в однокомпонентных калийных удобрениях подготовленную к анализу навеску ставят сушить под лампу, предварительно прогретую в течение 30 мин. В течение 5 мин пробу сушат при температуре 220 - 250 °C, затем расстояние от лампы до бюксы (кюветы) уменьшают до 50 мм (температура 350 °C) и сушат пробу еще 10 мин. Температуру сушки контролируют перед каждой серией определений с помощью термопары хромель-копель, конец которой помещают на высушиваемый продукт под центр лампы.
По окончании сушки бюксу (кювету) покрывают крышкой (стеклом) и ставят на 5 мин для охлаждения на магнитную мешалку, подключая только кольцеобразный канал для охлаждения проточной водопроводной водой или любую другую охлаждающую поверхность (допускается охлаждение пробы в эксикаторе). Охлажденную бюксу (кювету) с навеской взвешивают (результат взвешивания в граммах записывают с точностью до четвертого десятичного знака).
2.3. Обработка результатов
Массовую долю воды (X1) в процентах вычисляют по формуле
где m - масса бюксы (кюветы) с навеской до высушивания, г;
m1 - масса бюксы (кюветы) с навеской после высушивания, г;
m2 - масса навески, г.
За результат анализа принимают среднее арифметическое двух (для карбамида - трех) параллельных определений, допускаемые расхождения между которыми при доверительной вероятности P = 0,95 не должны превышать:
0,1% - при массовой доле воды до 1%;
0,3% - при массовой доле воды свыше 1% до 4%;
0,5% - при массовой доле воды свыше 4% до 12%.
2.1 - 2.3. (Измененная редакция, Изм. N 2).
Разд. 3. (Исключен, Изм. N 2).
4. ОПРЕДЕЛЕНИЕ ВОДЫ ПО МЕТОДУ КАРЛА ФИШЕРА
4.1. Определение воды по методу Карла Фишера проводится по ГОСТ 14870-77.
(Измененная редакция, Изм. N 2).
4.2 - 4.4.3. (Исключены, Изм. N 2).
5. ДИНАМИЧЕСКИЙ ХРОМАТОГРАФИЧЕСКИЙ МЕТОД
ОПРЕДЕЛЕНИЯ ГИГРОСКОПИЧЕСКОЙ ВОДЫ
5.1. Сущность метода
Сущность метода заключается в выдувании воды из образца потоком газа-носителя и измерении дифференциальным способом содержания воды в потоке газа с помощью детектора теплопроводности.
5.2. Средства измерений, оборудование и посуда
Хроматограф с детектором теплопроводности по ГОСТ 26703-93 типа ЛХМ-8 Мд, модель 1 или другие хроматографы с детектором теплопроводности.
Трубка (U-образная (черт. 3).
Кран стеклянный четырехходовой (черт. 4).
Термометр лабораторный типа ТЛ-2 с диапазоном измерения от 0 до 150 °C или другой аналогичный с ценой деления 1 °C.
Электроплитка с переменной мощностью или лабораторный терморегулятор.
ИС МЕГАНОРМ: примечание.
Взамен ГОСТ 24104-88 Постановлением Госстандарта России от 26.10.2001 N 439-ст с 1 июля 2002 года введен в действие ГОСТ 24104-2001.
Весы лабораторные по ГОСТ 24104-88 2-го класса точности или аналогичного типа с погрешностью взвешивания не более 0,0002 г.
ИС МЕГАНОРМ: примечание.
Взамен ГОСТ 7328-82 Постановлением Госстандарта России от 26.10.2001 N 438-ст с 1 июля 2002 года введен в действие ГОСТ 7328-2001.
Набор гирь по ГОСТ 7328-82.
(Измененная редакция, Изм. N 3).
5.3. Градуировка прибора
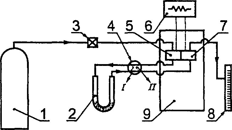
Включение хроматографа на схеме установки (см. черт. 2) осуществляется в соответствии с инструкцией, прилагаемой к прибору (хроматографические колонки из схемы исключаются и заменяются металлическим капилляром из комплекта прибора).
Схема установки
1 - баллон с газом-носителем; 2 - U-образная трубка;
3 - вентиль тонкой регулировки; 4 - четырехходовой кран;
5 - сравнительная ячейка детектора; 6 - самописец;
7 - измерительная ячейка детектора; 8 - измеритель
скорости газа-носителя; 9 - термостат
Черт. 2 <*>
--------------------------------
<*> Черт. 1. (Исключен, Изм. N 2).
U-образная трубка
Черт. 3
Четырехходовой кран
Черт. 4
В сухую U-образную трубку помещают 0,001 - 0,01 см3 дистиллированной воды, которую вводят с помощью жидкостного микрошприца, прилагаемого к хроматографу. Трубки подсоединяют резиновым шлангом встык на четырехходовом кране в схему хроматографа, между сравнительной и измерительной ячейками детектора. Кран (см. черт. 4) находится в положении I. При повороте крана в положение II подключают поток газа-носителя и выдувают имеющийся в трубке воздух, при этом перо самописца отходит вправо. По возвращении пера влево кран переводят в положение I, помещают трубку в стакан с водой, предварительно нагретой до 60 - 85 °C (в зависимости от вида удобрения); опять открывают кран в положение II. Определение считают законченным по возвращении пера самописца на нулевую линию.
Участок диаграммной ленты, очерченный нулевой линией и кинетической кривой, вырезают и взвешивают (результат взвешивания в граммах записывают с точностью до четвертого десятичного знака) или определяют площадь под кривой с помощью интегратора.
Градуировку прибора следует проводить не реже одного раза в 5 сут.
5.4. Проведение анализа
0,3 - 1 г удобрения взвешивают в сухой U-образной трубке (результат взвешивания в граммах записывают с точностью до четвертого десятичного знака).
Последующие операции выдувания воды из образца проводят так же, как при градуировке прибора.
5.5. Обработка результатов
Массовую долю воды в удобрениях (X5) в процентах вычисляют по формуле
где m1 - масса вырезанной диаграммной ленты по кривой анализируемого образца (или показания интегратора), г;
m2 - масса воды, введенная в трубку при калибровке, г;
m3 - масса вырезанной диаграммной ленты по кривой, полученная при калибровке прибора, г (или показания интегратора при калибровке);
m4 - масса навески удобрения, г.
За результат анализа принимают среднее арифметическое двух параллельных определений, допускаемые расхождения между которыми не должны превышать 0,06% для удобрений с влажностью до 1% и 0,3% для удобрений с влажностью до 4% при доверительной вероятности P = 0,95.
5.2 - 5.5. (Измененная редакция, Изм. N 2).
6. ДИЭЛЬКОМЕТРИЧЕСКИЙ И СВЧ МЕТОДЫ ОПРЕДЕЛЕНИЯ
ГИГРОСКОПИЧЕСКОЙ ВОДЫ
6.1. Сущность методов
Методы основаны на измерении электрической емкости датчика, пропорциональной изменению диэлектрической постоянной, или измерении зависимости диэлектрических потерь исследуемого вещества от содержания воды.
6.2. Средства измерений, оборудование и посуда
Лабораторный влагомер "Фосфор", предназначенный для определения воды в нитроаммофоске и аммофосе.
Влагомеры "Калий" и "Фосфор-К" для определения воды в хлористом калии.
Эксикатор по ГОСТ 25336-82, заполненный осушителем.
Кислота серная по ГОСТ 4204-77 плотностью 1,84 г/см3.
6.3. Градуировка прибора
Для градуировки влагомера "Калий" готовят серию образцов анализируемого удобрения с различной влажностью. Для этого образцы удобрения выдерживают в эксикаторах над водными растворами серной кислоты с разной концентрацией.
Для приготовления растворов серной кислоты в колбы, содержащие по 100 см3 воды каждая, приливают 10, 20, 30, 40, 60, 80 см3 серной кислоты плотностью 1,84 г/см3.
Часть массы каждого образца используют для определения воды методом высушивания по разд. 1, другую часть - для определения показаний прибора в соответствии с инструкцией по эксплуатации.
По полученным данным градуируется шкала прибора.
Измерение на влагомерах "Фосфор" и "Фосфор-K" проводят без предварительной градуировки прибора согласно инструкциям по эксплуатации.
6.4. Проведение анализа
Пробу удобрения насыпают в кювету, которую помещают в ячейку первичного преобразователя, включают уплотняющее устройство.
Затем включают прибор и по шкале или цифровому табло определяют массовую долю воды в анализируемом продукте.
За результат анализа принимают среднее арифметическое двух параллельных определений, допускаемые расхождения между которыми не должны превышать 0,5% при доверительной вероятности P = 0,95.
6.1 - 6.4. (Измененная редакция, Изм. N 2).