Главная // Актуальные документы // ГОСТ (Государственный стандарт)
СПРАВКА
Источник публикации
М.: ИПК Издательство стандартов, 1995
Примечание к документу
С 01.07.2003 до вступления в силу технических регламентов акты федеральных органов исполнительной власти в сфере технического регулирования носят рекомендательный характер и подлежат обязательному исполнению только в части, соответствующей целям, указанным в п. 1 ст. 46 Федерального закона от 27.12.2002 N 184-ФЗ.

Документ введен в действие с 01.01.1995.

Взамен ГОСТ 4.314-85, ГОСТ 27344-87 в части механических карандашей и ГОСТ 19445-80.
Название документа
"ГОСТ 19445-93 (ИСО 9177-1-89). Межгосударственный стандарт. Механические карандаши. Часть 1. Классификация, размеры, технические требования и испытания"
(введен в действие Постановлением Госстандарта России от 02.06.1994 N 160)

"ГОСТ 19445-93 (ИСО 9177-1-89). Межгосударственный стандарт. Механические карандаши. Часть 1. Классификация, размеры, технические требования и испытания"
(введен в действие Постановлением Госстандарта России от 02.06.1994 N 160)


Содержание


Введен в действие Постановлением
Комитета Российской Федерации
по стандартизации, метрологии
и сертификации
от 2 июня 1994 г. N 160
МЕЖГОСУДАРСТВЕННЫЙ СТАНДАРТ
МЕХАНИЧЕСКИЕ КАРАНДАШИ
ЧАСТЬ 1
КЛАССИФИКАЦИЯ, РАЗМЕРЫ, ТЕХНИЧЕСКИЕ ТРЕБОВАНИЯ
И ИСПЫТАНИЯ
Mechanical pencils. Part 1. Classification, dimensions,
performance requirements and testing
ГОСТ 19445-93
(ИСО 9177-1-89)
Группа У32
ОКП 42 6140
Дата введения
1 января 1995 года
Предисловие
1 РАЗРАБОТАН Госстандартом России
ВНЕСЕН Техническим секретариатом Межгосударственного Совета по стандартизации, метрологии и сертификации
2 ПРИНЯТ Межгосударственным Советом по стандартизации, метрологии и сертификации 21 октября 1993 г.
За принятие проголосовали:
Наименование государства
Наименование национального органа стандартизации
Республика Беларусь
Белстандарт
Кыргызская Республика
Кыргызстандарт
Республика Молдова
Госдепартамент Молдовастандарт
Российская Федерация
Госстандарт России
Республика Таджикистан
Таджикгосстандарт
Туркменистан
Туркменглавгосинспекция
3 Постановлением Комитета Российской Федерации по стандартизации, метрологии и сертификации от 02.06.94 N 160 межгосударственный стандарт ГОСТ 19445-93 введен в действие непосредственно в качестве государственного стандарта Российской Федерации с 01.01.95
4 ВЗАМЕН ГОСТ 4.314-85, ГОСТ 27344-87 в части механических карандашей и ГОСТ 19445-80
ИНФОРМАЦИОННЫЕ ДАННЫЕ
ССЫЛОЧНЫЕ НОРМАТИВНО-ТЕХНИЧЕСКИЕ ДОКУМЕНТЫ
Обозначение НТД, на который дана ссылка
Номер раздела, пункта, приложения
Приложение п. 1.8
Приложение п. 2.14
Приложение п. 2.7
Приложение пп. 1.11, 2.5
Приложение п. 2.3
Приложение п. 2.4
1. ОБЛАСТЬ ПРИМЕНЕНИЯ
Настоящий стандарт устанавливает классификацию, размеры, технические требования и испытания механических карандашей, используемых для черчения и рисования.
Требования разд. 6, 7 настоящего стандарта и пп. 1.1 - 1.3, 1.5 приложения являются обязательными, другие требования - рекомендуемые.
Дополнительные требования, отражающие потребности народного хозяйства, приведены в приложении.
2. ССЫЛКИ
ГОСТ 2.303 "ЕСКД. Линии".
ГОСТ 2.305 "ЕСКД. Изображения, виды, разрезы, сечения".
ГОСТ 2.306 "ЕСКД. Обозначения графических материалов и правила их нанесения на чертежах".
ГОСТ Р 50249 "Механические карандаши. Часть 2. Черные грифели. Классификация и размеры".
3. ОПРЕДЕЛЕНИЕ
Механический карандаш - ручной инструмент для черчения и письма, в котором закреплен и может заменяться грифель.
4. КЛАССИФИКАЦИЯ
По типу механизма (см. табл. 1) и номинальному диаметру (см. табл. 2).
Для классификации и определения размеров грифелей (диаметр и длина) см. ГОСТ Р 50249.
Таблица 1
Классификация по типу механизма
Механизм
Буквенное обозначение типа
Описание
Соответствующий чертеж
Цангового типа
F <1>;
Механический карандаш, в котором выдвижение грифеля из трубки обеспечивается при нажатии на выдвижной механизм
L <2>;
МК 1 <3>
Винтового типа
S;
МК 2 <3>
Механический карандаш, в котором выдвижение грифеля из трубки обеспечивается при повороте выдвижного механизма
--------------------------------
<1> Полимерные грифели с номинальным диаметром 0,35 - 1 мм.
<2> Керамические грифели с диаметром 2 мм (см. ГОСТ Р 50249).
<3> Для механических карандашей, используемых для народного хозяйства.
5. РАЗМЕРЫ
5.1. Номинальный диаметр
Номинальный диаметр механических карандашей, соответствующий номинальному диаметру грифелей, должен соответствовать значениям, приведенным в табл. 2.
Таблица 2
Номинальный диаметр
мм
Толщина линии
Диаметр грифеля
Номинальный диаметр
Диаметр и допуск грифеля механического карандаша см. ГОСТ Р 50249
0,25 <1>
-
-
0,35
0,35 <2>
0,5
0,5
0,7
0,7
1,0
1,0 <2>
1,4 <1>
-
-
2,0
2,0
2,0 +/- 0,05
2,2 <3>
2,2 <3>
2,2 +/- 0,05 <3>
--------------------------------
<1> В настоящее время размеры не используются.
<2> В практике до сих пор применяют маркировку или наклейки на механические карандаши и коробки 0,3 и 0,9, что соответствует новым стандартизованным обозначениям 0,35 и 1.
<3> Для механических карандашей, используемых для народного хозяйства.
5.2. Внутренний диаметр трубчатой направляющей (для механических карандашей типа F и S).
Внутренний диаметр трубчатой направляющей механических карандашей типа F и S должен соответствовать значениям, приведенным в табл. 3. Имеется в виду внутренний диаметр трубчатой направляющей, из которой извлекается грифель.
Таблица 3
Внутренний диаметр трубчатой направляющей (тип F и S)
мм
Номинальный диаметр
Размеры и допуски на внутренний диаметр трубчатой направляющей
0,35
0,5
0,7
1,0
Минимальная длина трубчатой направляющей - 3 мм.
5.3. Внешний диаметр внутренней направляющей.
Внешний диаметр внутренней направляющей, соответствующий ширине прорези шаблона, должен соответствовать значениям, приведенным в табл. 4.
Таблица 4
Внешний диаметр трубчатой направляющей
мм
Номинальный диаметр
Размеры и допуски на внешний диаметр трубчатой направляющей
0,35
0,5
0,7
1,0
6. ТЕХНИЧЕСКИЕ ТРЕБОВАНИЯ
6.1. Общее
Механические карандаши должны быть испытаны в соответствии с разд. 7 и удовлетворять требованиям пп. 6.2 и 6.3 (в зависимости от типа механизма).
6.2. Усилие удержания грифеля в рабочем положении (для механических карандашей типа F и L).
По условиям испытаний, приведенным в разд. 7.2, грифель не должен смещаться в корпусе, скользить через зажимной патрон (цангу).
6.3. Положение грифеля относительно винтовой поверхности (спирали) (для механических карандашей типа S).
По условиям испытаний, приведенным в разд. 7.3, грифель не должен смещаться в корпус (втягиваться) более чем на 0,7 мм.
7. ИСПЫТАНИЯ
7.1. Общее
Механический карандаш должен быть испытан на смещение грифеля относительно корпуса при отсутствии воздействия на механизм выдвижения и при приложении к нему усилия в соответствии с пп. 7.2 и 7.3 (в зависимости от типа механизма).
7.2. Усилие удержания грифеля в рабочем положении (для механических карандашей типов F и L).
Помещают карандаш вертикально с грифелем, выдвинутым приблизительно на 1 мм. Прикладывают вертикально нагрузку на сжатие 5Н для номинального диаметра 0,35 мм и 8Н для номинального диаметра 0,5 мм и более.
7.3. Положение грифеля относительно винтовой поверхности (спирали) (для механических карандашей типа S).
Помещают карандаш вертикально и поворачивают корпус до тех пор, пока не появится грифель длиной не менее 2,5 мм.
Затем поворачивают корпус в противоположном направлении до тех пор, пока длина грифеля не станет 1,3 мм. Прикладывают вертикальную нагрузку 4Н к грифелю.
8. ОБОЗНАЧЕНИЕ
Обозначение механического карандаша должно состоять из следующих элементов в указанной последовательности:
а) "механический карандаш";
б) буква, обозначающая тип, т.е. F, L, МК1 <*> или МК2 <*>;
--------------------------------
<*> Буквенное обозначение механических карандашей, используемых для потребностей народного хозяйства.
в) номинальный диаметр в мм.
Обозначение указывается на корпусе механического карандаша и должно быть четким. При отсутствии свободного места указывают только данную часть стандарта, т.е. ГОСТ Р 50250.
Примеры условного обозначения:
Механический карандаш типа F, МК1 <*>, соответствующий требованиям ГОСТ Р 50250 с номинальным диаметром 0,5 мм, должен иметь следующее обозначение:
Механический карандаш ГОСТ 19445-93-F, МК 1 <*> -0,5
--------------------------------
<*> Буквенное обозначение механических карандашей, используемых для потребностей народного хозяйства.
Механический карандаш типа 1, МК 1 <*>, соответствующий требованиям ГОСТ Р 50250 с номинальным диаметром 2 мм, должен иметь следующее обозначение:
Механический карандаш ГОСТ 19445-93-L, МК 1 <*> -2
Механический карандаш типа S, МК 2 <*>, соответствующий требованиям ГОСТ Р 50250 с номинальным диаметром 0,7 мм, должен иметь следующее обозначение:
Механический карандаш ГОСТ 19445-93-S, МК 2 <*> -0,7
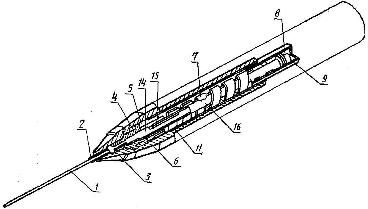
Механический карандаш цанговый с дозированной подачей типа F
Грифель в рабочем положении
Грифель при заправке
1 - трубчатая направляющая; 2 - фиксатор (держатель)
грифеля; 3 - металлический наконечник; 4 - зажимной патрон
(цанга); 5 - кольцо (обод) зажимного патрона;
6 - соединительная втулка; 7 - пружина; 8 - трубка
для грифеля; 9 - грифель; 10 - корпус; 11 - держатель;
12 - прочищающая шпилька; 13 - ластик; 14 - манжета
для установки ластика; 15 - кнопка приведения
в действие механизма выдвижения
Черт. 1
Механический карандаш цангового типа L
Грифель в рабочем положении
Грифель при заправке
1 - металлический наконечник; 2 - зажимной патрон (цанга);
3 - трубка для грифеля; 4 - корпус; 5 - кнопка приведения
в действие механизма выдвижения нажатием; 6 - пружина;
7 - держатель; 8 - грифель
Черт. 2
Механический карандаш винтового типа S
Грифель в рабочем положении
Грифель при заправке
1 - грифель; 2 - трубчатая направляющая; 3 - металлический
наконечник; 4 - соединительная втулка; 5 - втулка (вкладыш);
6 - нижний корпус (нижняя часть корпуса); 7 - винтовая
поверхность (спираль); 8 - упор (фиксатор) спирали;
9 - кожух спирали; 10 - держатель (оправка) гильзы;
11 - гильза; 12 - верхний корпус (верхняя часть корпуса);
13 - манжета для установки ластика; 14 - трубка для грифеля
(с трубчатой направляющей); 15 - выталкиватель;
16 - трубка с прорезью; 17 - ластик
Черт. 3
Приложение
Рекомендуемое
ДОПОЛНИТЕЛЬНЫЕ ТРЕБОВАНИЯ К МЕХАНИЧЕСКИМ КАРАНДАШАМ,
ИСПОЛЬЗУЕМЫМ ДЛЯ ПОТРЕБНОСТЕЙ НАРОДНОГО ХОЗЯЙСТВА
1. Технические требования
1.1. Гамма-процентный ресурс механизма выдвижения в циклах в зависимости от материала, используемого для изготовления механических карандашей, устанавливается в нормативно-технической документации на карандаши конкретных моделей.
Циклом работы карандашей считается выдвижение и возврат грифеля в исходное положение.
1.2. Гамма-процентный ресурс металлического держателя, определяемый числом отгибов, должен быть не менее 17000.
1.3. Конструкция карандаша должна обеспечивать замену и удаление остатков грифеля.
1.4. При свободном падении карандаша без грифеля с высоты 1 м на деревянную поверхность толщиной не менее 0,03 м не должно быть разрушений деталей карандаша, препятствующих его использованию по назначению.
1.5. Прочность на изгиб карандашей должна быть не менее 50 Н.
1.6. Соединения деталей карандаша не должны разрушаться при приложении статического усилия не более 50 Н и крутящего момента не более 1 Н·м.
1.7. Внешний вид карандаша должен соответствовать образцу-эталону, утвержденному в установленном порядке.
1.8. Наружные металлические детали карандашей должны изготовляться из коррозионно-стойких металлов и (или) иметь защитно-декоративное покрытие по ГОСТ 9.301. Материал, вид и толщина покрытия устанавливаются в нормативно-технической документации на карандаши конкретных моделей.
1.9. За один ход механизма выдвижения карандашей типов F и S должно обеспечиваться выдвижение грифеля на величину не менее диаметра грифеля.
1.10. Транспортирование карандашей по условиям хранения 4 (Ж2) - по ГОСТ 15150. Карандаши в упаковке должны выдерживать воздействие транспортной тряски с частотой 80 - 120 ударов в минуту с ускорением 30 м/с2.
1.11. Хранение карандашей по условиям хранения I (Л) - по ГОСТ 15150.
1.12. Срок сохраняемости карандашей не менее 12 мес. с исходным грифелем или набором грифелей.
2. Методы испытаний
2.1. Карандаши подвергаются приемосдаточным, периодическим, типовым испытаниям.
Программы испытаний, кроме периодических, устанавливаются нормативно-технической документацией на карандаши конкретных типов.
2.2. Периодические испытания карандашей следует проводить на образцах из числа выдержавших приемосдаточные испытания, не реже одного раза в 3 мес., при этом карандаши должны быть проверены на соответствие всем требованиям настоящего стандарта.
Допускается проверку карандашей на транспортирование производить не реже одного раза в год.
2.3. Приемосдаточные, периодические, типовые испытания следует проводить статистическим методом по ГОСТ 18242.
2.4. Карандаши на контроль предъявляют партиями. Партией считают карандаши одного типа, одной модификации, оформленные одним документом.
Карандаши для контроля следует отбирать из партии методом наибольшей объективности в соответствии с требованиями ГОСТ 18321.
Приемочные уровни дефектности, объемы партий и выборок устанавливают в нормативно-технической документации на карандаши конкретных моделей.
2.5. Испытания карандашей, предусмотренные настоящим стандартом, следует проводить при нормальных условиях по ГОСТ 15150.
2.6. Гамма-процентный ресурс механизма выдвижения грифеля (п. 1.1) следует проверять на стенде, обеспечивающем работу карандаша в соответствии с требованиями настоящего стандарта.
2.7. Гамма-процентный ресурс держателя (п. 1.2) проверяют на стенде, обеспечивающем отгиб держателя на величину (2,5 +/- 0,5) мм с частотой (60 +/- 5) отгибов в минуту. После выработки гамма-процентного ресурса между держателем и крышкой или корпусом помещают лист писчей бумаги формата А4 по ГОСТ 6656. При этом лист не должен выпадать из-под держателя.
2.8. Проверку карандаша на соответствие требованиям п. 1.3 следует выполнять заменой грифеля.
2.9. Пригодность карандаша к использованию после падения в соответствии с требованиями п. 1.4 определяется сбрасыванием испытываемого образца с высоты (1 +/- 0,05) м боковой поверхностью и последующим визуальным осмотром на отсутствие разрушений. Признаками разрушения являются трещины и сколы.
2.10. Прочность на изгиб (п. 1.5) следует проверять на приборе (приспособлении), обеспечивающем приложение к карандашу статической нагрузки (50 +/- 0,5) Н в местах соединений. Продолжительность приложения нагрузки от 10 до 15 с.
2.11. Качество соединений корпусных деталей (п. 1.6) следует проверять на приборах (приспособлениях), обеспечивающих приложение к испытываемым сборочным единицам статического осевого усилия (50 +/- 0,5) Н и крутящего момента (1,0 +/- 0,1) Н·м, при этом не должно наблюдаться смещение деталей относительно друг друга. Продолжительность приложения усилия - от 10 до 15 с.
2.12. Испытание на транспортирование проводится на стенде, имитирующем транспортирование, при частоте 80 - 120 ударов в минуту с ускорением 30 м/с2 в течение 2 ч с последующей проверкой испытываемых образцов по программе периодических испытаний.
Карандаши на стенде размещают в транспортной таре.
2.13. Проверку внешнего вида карандаша на соответствие требованиям п. 1.7 осуществляют сравнением с образцом-эталоном визуальным осмотром.
2.14. Проверка применения коррозионно-стойких металлов и при приемосдаточных испытаниях требований к защитно-декоративным покрытиям производится визуальным сравнением с образцом-эталоном.
При периодических испытаниях проверка требований к защитно-декоративным покрытиям по ГОСТ 9.302.
2.15. Проверку выдвижения грифеля за один ход механизма выдвижения карандашей типов F и S проводят измерением величины выступания грифеля мерительным инструментом.