Главная // Актуальные документы // ГОСТ (Государственный стандарт)СПРАВКА
Источник публикации
М.: ИПК Издательство стандартов, 2001
Примечание к документу
С 01.07.2003 до вступления в силу технических регламентов акты федеральных органов исполнительной власти в сфере технического регулирования носят рекомендательный характер и подлежат обязательному исполнению только в части, соответствующей целям, указанным в
п. 1 ст. 46 Федерального закона от 27.12.2002 N 184-ФЗ.
Ограничение срока действия снято Постановлением Госстандарта России от 09.09.1992 N 1143.
Документ
введен в действие с 01.01.1975.
Название документа
"ГОСТ 19295-73. Межгосударственный стандарт. Смазки пластичные. Метод определения механической стабильности"
(утв. и введен в действие Постановлением Госстандарта СССР от 25.12.1973 N 2779)
(ред. от 01.10.1994)
"ГОСТ 19295-73. Межгосударственный стандарт. Смазки пластичные. Метод определения механической стабильности"
(утв. и введен в действие Постановлением Госстандарта СССР от 25.12.1973 N 2779)
(ред. от 01.10.1994)
Утвержден и введен в действие
Постановлением
Государственного комитета стандартов
Совета Министров СССР
от 25 декабря 1973 г. N 2779
МЕЖГОСУДАРСТВЕННЫЙ СТАНДАРТ
СМАЗКИ ПЛАСТИЧНЫЕ
МЕТОД ОПРЕДЕЛЕНИЯ МЕХАНИЧЕСКОЙ СТАБИЛЬНОСТИ
Lubricating greases. Method of mechanical
stability determination
ГОСТ 19295-73
| | Список изменяющих документов (в ред. Изменения N 1, введенного Постановлением Госстандарта СССР от 28.04.1979 N 1603, Изменения N 2, введенного Постановлением Госстандарта СССР от 10.07.1984 N 2469, Изменения N 3, утв. в апреле 1987 г., Изменения N 4, утв. Постановлением Госстандарта СССР от 21.02.1990 N 251, Изменения N 5, утв. в октябре 1994 г.) | |
Дата введения
1 января 1975 года
1. РАЗРАБОТАН И ВНЕСЕН Министерством нефтеперерабатывающей и нефтехимической промышленности СССР
2. УТВЕРЖДЕН И ВВЕДЕН В ДЕЙСТВИЕ Постановлением Государственного комитета стандартов Совета Министров СССР от 25.12.73 N 2779
3. ССЫЛОЧНЫЕ НОРМАТИВНО-ТЕХНИЧЕСКИЕ ДОКУМЕНТЫ
Обозначение НТД на который дана ссылка | Номер пункта |
| |
| |
| |
| |
ГОСТ 24104-88 | |
4. Ограничение срока действия снято Постановлением Госстандарта от 09.09.92 N 1143
5. ИЗДАНИЕ (январь 2001 г.) с Изменениями N 1, 2, 3, 4, 5, утвержденными в апреле 1979 г., июле 1984 г., апреле 1987 г., феврале 1990 г., октябре 1994 г. (ИУС 6-79, 11-84, 7-87, 5-90, 4-95)
Настоящий стандарт распространяется на пластичные смазки и устанавливает метод определения механической стабильности, которая выражается индексом разрушения (Kр), характеризующим степень разрушения смазки при ее интенсивном деформировании и индексом тиксотропного восстановления (Kв), характеризующим степень тиксотропного восстановления смазки.
Сущность метода заключается в определении изменения предела прочности на разрыв в результате интенсивного деформирования смазки в зазоре между ротором и статором тиксометра и при последующем тиксотропном восстановлении.
1.1. При определении механической стабильности пластичных смазок применяют:
тиксометр (см. приложение,
черт. 3) с пределом измерения от 50 до 7500 Па (от 0,5 до 75 гс/см
2);
мешалку для перемешивания смазки, представляющую собой полый стальной цилиндр внутренним диаметром 40 мм и высотой 60 мм со съемными крышками. Через верхнюю крышку в цилиндр вставлен поршень с 38 отверстиями диаметром 3 мм. Допускается использовать мешалку с цилиндрическим вкладышем, уменьшающим ее объем в два раза. Мешалка может быть оборудована приспособлением для облегчения перемешивания;
чашечки стальные или стеклянные диаметром от 30 до 50 мм с высотой бортика 2 - 3 мм (10 шт.). На чашечках должна быть указана (травлением, электрографическим или иным способом) их масса с погрешностью не более 0,01 г; масса чашечек должна проверяться не реже чем раз в два месяца;
термостат типа ТС-15 или другого типа, обеспечивающий термостатирование от 15 до 80 °C с погрешностью не более 1 °C;
весы лабораторные общего назначения с пределом взвешивания 200 г, не ниже 2-го класса точности;
секундомер;
трубку резиновую по
ГОСТ 5496 с внутренним диаметром 4,5 - 6,0 мм, толщиной стенки 3 мм и длиной около 1000 мм для подключения к термостату;
шпатель;
ершик диаметром 3 мм;
растворитель нефтяной - нефрас С 50/170 по
ГОСТ 8505 или бензин-растворитель для резиновой промышленности;
спирт этиловый синтетический технический или спирт этиловый технический по
ГОСТ 17299;
смесь спиртотолуольная 1:4.
(Измененная редакция, Изм. N 2, 3, 4, 5).
2. ПОДГОТОВКА К ИСПЫТАНИЮ
2.1. Перед испытанием смазка должна быть выдержана при 15 - 25 °C не менее 2 ч.
Если это предусмотрено в технических требованиях, смазку перед заправкой в аппарат перемешивают в мешалке при температуре окружающего воздуха (от 15 до 25 °C). Для этого цилиндр мешалки шпателем заполняют смазкой, не допуская образования пустот (контроль визуальный). Надев на цилиндр верхнюю и нижнюю крышки, смазку перемешивают, сообщив поршню количество ходов, установленное в технических требованиях на смазку. Поршень мешалки поднимают вверх, снимают крышки и извлекают смазку.
2.2. Перед испытанием все детали тиксометра, соприкасающиеся со смазкой, чашечки, трубки тиксотропного восстановления промывают нефрасом, а труднорастворимых смазок - спиртотолуольной смесью и высушивают на воздухе.
(Измененная редакция, Изм. N 2, 4).
2.3 Устанавливают статор
17 (черт. 3) на корпус
2 и закрепляют гайкой
21. Проверяют положение толкателя
14. Он должен быть вывернут на расстояние не менее 32 мм.
2.4. Заполняют подготовленной к испытаниям смазкой стакан 16. Устанавливают стакан 16 с поршнем 15 и смазкой в статор 17 и подводят толкатель 14 к поршню 15 до касания толкателя с поршнем
2.5. Устанавливают фиксатор 12 и соединяют штуцеры 26 статора с термостатом резиновыми трубками. Термостат должен обеспечивать температуру испытания, указанную в нормативно-техническом документе на смазку. Температуру смазки в зоне испытания измеряют термопарами, устанавливаемыми в отверстия статора вместо пробок 27.
2.3 - 2.5. (Измененная редакция, Изм. N 4).
3.1. Определение предела прочности на разрыв исходной, неразрушенной смазки.
3.1.1. Снимают колпачок 20 с капилляра 18 и навинчивают его на капилляр 19. Включают электродвигатель 4, который через винтовую передачу (винт 9, втулка-гайка 10) и толкатель 14 перемещает поршень 15, выдавливающий смазку через капилляр 18.
Столбик смазки, выходящий из капилляра, разрывается около обреза капилляра в тот момент, когда его масса превзойдет предел прочности на разрыв исходной (неразрушенной) смазки.
(Измененная редакция, Изм. N 4).
3.1.2. Оторвавшиеся столбики смазки собирают в две чашечки в каждую от двух до восьми столбиков с тем, чтобы их общая масса была не менее 0,3 г. Если разрыв произошел по дефектному, визуально выявленному воздушному пузырьку, широкой трещине и т.п., столбик отбрасывают. Если масса одного оторвавшегося столбика превышает 0,5 г, в каждую чашечку собирают по одному столбику смазки.
3.2. Определение предела прочности на разрыв смазки после ее интенсивного деформирования.
3.2.1. Снимают колпачок с капилляра 19, навинчивают его на капилляр 18.
3.2.2. Затем включают последовательно электродвигатель
3, который вращает ротор
6, и электродвигатель
4, приводящий в движение поршень
15. При этом смазка, разрушившись между вращающимся ротором и статором, будет выдавливаться через капилляр
19.
Условно принимается, что смазка поступает на обрез капилляра непосредственно после выхода из зоны интенсивного деформирования между ротором и статором.
(Измененная редакция, Изм. N 4).
3.2.3. Далее испытание проводят по
п. 3.1.2.
3.3. Определение предела прочности на разрыв смазки после ее интенсивного разрушения и длительного тиксотропного восстановления.
3.3.1. Снимают колпачок с капилляра
19, навинчивают его на капилляр
18. Навинчивают на капилляр
19 трубку тиксотропного восстановления. Далее испытание проводят по
п. 3.2.2.
3.3.2. Смазка, поступающая из капилляра 19, заполняет трубку тиксотропного восстановления, выходит из нижнего капилляра этой трубки и разрывается около обреза капилляра в тот момент, когда масса столбика смазки превзойдет предел прочности на разрыв разрушенной и тиксотропно восстановившейся смазки. Время заполнения смазкой трубки тиксотропного восстановления составляет примерно 3 мин.
Далее испытание продолжают так, как описано в
п. 3.1.2.
3.3.3. Для определения предела прочности смазки после разрушения и более длительного тиксотропного восстановления, определение проводят по
п. 3.3.1. После заполнения смазкой трубки тиксотропного восстановления ее отсоединяют от капилляра
19 и хранят в защищенном от света месте. Затем трубку со смазкой навинчивают на капилляр
18.
Предел прочности на разрыв определяют по
п. 3.1. Необходимо следить, чтобы измерение было закончено до начала выхода свежей неразрушенной смазки, используемой для выдавливания испытуемой смазки из трубки тиксотропного восстановления.
Время тиксотропного восстановления, составляющее 3 мин, 30 мин или 3 сут, устанавливают в технических требованиях на смазку.
3.3.1 - 3.3.3. (Измененная редакция, Изм. N 4).
4.1. Чашечки с собранными столбиками смазки взвешивают с погрешностью не более 0,01 г и определяют среднеарифметическое значение массы одного столбика смазки в обеих чашечках.
Если масса смазки в каждой из двух чашечек отличается от среднеарифметического двух определений массы более чем на +/- 10%, испытание повторяют.
4.2. Предел прочности на разрыв испытуемой смазки

в паскалях (Па) вычисляют по формуле

;
в гс/см2, по формуле

,
где m - среднеарифметическое значение массы оторвавшегося столбика смазки, г;
d - диаметр капилляра, измеряется с погрешностью не более 0,001 см.
Результаты расчета округляют и записывают в виде двух значащих цифр, например 3,2 гс/см2; 18 гс/см2.
4.3. Индекс разрушения (Kр) в процентах вычисляют по формуле

,
где

- предел прочности на разрыв исходной (неразрушенной) смазки, Па или гс/см
2;

- предел прочности на разрыв смазки после разрушения, Па или гс/см
2.
4.1 - 4.3. (Измененная редакция, Изм. N 3).
4.4. Индекс тиксотропного восстановления смазки (Kв) в процентах вычисляют по формуле

,
где

- предел прочности на разрыв смазки после разрушения и тиксотропного восстановления, Па или гс/см
2.
Время восстановления указывается у индекса Kв в скобках. Например Kв (30 мин) = 50,0%, Kв (3 сут) = 70%.
(Измененная редакция, Изм. N 1, 3).
4.5. Индексы Kр и Kв могут выражаться положительным и отрицательным числом в зависимости от характера тиксотропных превращений смазки.
4.6. За результат испытания принимают среднеарифметическое результатов двух параллельных определений.
(Измененная редакция, Изм. N 4).
5.1. Сходимость.
Два результата определений предела прочности, полученные одним исполнителем, признаются достоверными (с 95%-ной доверительной вероятностью), если расхождение между ними не превышает:
- для разрушенной смазки - 34 Па;
- для исходной смазки - значения, определенного по графику (
черт. 1, кривая
1) для большего результата;
- для восстановленной смазки - значения, определенного по графику (
черт. 2, кривая
1) для большего результата.
5.2. Воспроизводимость
Два результата испытаний предела прочности, полученные в двух разных лабораториях, признаются достоверными (с 95%-ной доверительной вероятностью), если расхождение между ними не превышает:
- для разрушенной смазки - 184 Па;
- для исходной смазки - значения, определенного по графику (
черт. 1, кривая
2) для большего результата;
- для восстановленной смазки - значения, определенного по графику (
черт. 2, кривая
2) для большего результата.
Раздел 5. (Введен дополнительно, Изм. N 4).
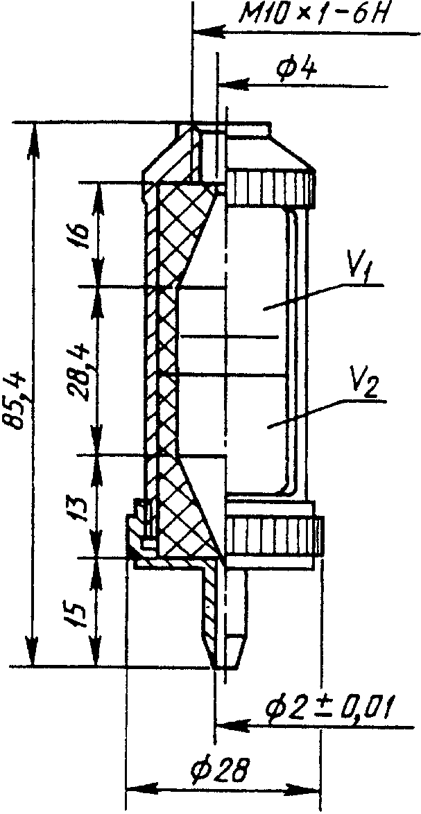
Справочное
ОПИСАНИЕ ОСНОВНЫХ ДЕТАЛЕЙ ТИКСОМЕТРА
Тиксометр
(черт. 3), в котором смазка разрушается в зазоре между ротором и статором при постоянной скорости деформации 6000 с
-1 и температуре 20 °C в течение 100 с, состоит из:
- массивной плиты 1, на которой закреплен корпус 2, являющийся основной несущей частью тиксометра;
- асинхронного двигателя 3 типа 4АЛМ56В4У3, укрепленного на корпусе 2;
- цилиндрического ротора 6 диаметром (41,000 + 0,039) мм и рабочей длиной (60,0 +/- 0,5) мм, укрепленного на двух подшипниках качения и приводимого во вращение от вала электродвигателя с частотой вращения 1370 мин-1 через эластичную муфту 5, двух сальниковых уплотнений 7, расположенных на валу, и манжета 8, исключающих выход смазки из зоны разрушения;
- синхронного электродвигателя 4 типа СД-54, который служит для подачи смазки в капилляр или в зазор между статором и ротором;
- винта 9, который вращаясь от электродвигателя 4, перемещает втулку-гайку 10 по направляющей 11. Направляющая 11 имеет паз, в который устанавливается фиксатор 12;
- толкателя 14, перемещение которого ограничивается кнопкой 13, которая отрегулирована на ход 32 мм;
- статора 17, представляющего собой полый цилиндр с внутренним диаметром (42,000 +/- 0,039) мм, прикрепленного к корпусу 2 с помощью быстрозажимной гайки 21. Коаксиальный зазор между статором и ротором (1,00 +/- 0,04) мм.
Биение ротора по отношению к статору не должно превышать +/- 0,05 мм;
- стакана 16 с поршнем 15. Скорость перемещения поршня внутри стакана (3,9 +/- 0,2) 10-5 м/с, что обеспечивает расход смазки (0,0415 +/- 0,0030) см3/с;
- капилляров 18 и 19, диаметром (2,00 +/- 0,01) мм и длиной (20,0 +/- 0,5) мм, ввинченных снизу в тело статора;
- нижнего и верхнего штуцеров 26, расположенных в статоре 17 для подвода и отвода термостатирующей жидкости;
- ампулы уровня 24, установленной на плите 1 тиксометра, которая позволяет определять вертикальность положения капилляров 18 и 19;
- ножек-винтов 25, с помощью которых производят установку тиксометра по уровню;
- термопар, устанавливаемых в отверстия статора для контроля температуры в зоне испытания;
- трубок тиксотропного восстановления из органического стекла, объемом (7,0 +/- 0,2) см
3 (черт. 4).
Конструкция, размеры деталей, частота вращения ротора, скорость перемещения поршня должны обеспечивать следующие характеристики тиксометра.
Скорость деформации смазки (D), с-1, в цилиндрическом коаксиальном зазоре между ротором и статором в пределах (6000 +/- 200) с-1 вычисляют по формуле

,
где dр - диаметр ротора, см;
dс - диаметр статора, см;
n - частота вращения, мин-1.
Время (t), с, движения смазки по зазору между ротором и статором в пределах (95 +/- 5) с вычисляют по формуле

,
где l - длина ротора, см;
Q - расход смазки, см3/с.
Время тиксотропного восстановления смазки после выхода ее из зоны интенсивного деформирования между ротором и статором до момента появления ее у обреза капилляра должно составлять примерно 3 с.
Скорость нагружения смазки (vн), г/см2·с, в пределах (1,20 +/- 0,05) г/см2 с, при плотности 0,9 г/см3 вычисляют по формуле

,
где d - диаметр капилляра, см.
График зависимости сходимости и воспроизводимости метода
от предела прочности исходной смазки
1 - сходимость, 2 - воспроизводимость
Черт. 1
График зависимости сходимости и воспроизводимости метода
от предела прочности восстановленной смазки
1 - сходимость, 2 - воспроизводимость
Черт. 2
Черт. 3
Трубка тиксотропного восстановления
Черт. 4
ПРИЛОЖЕНИЕ. (Измененная редакция, Изм. N 4).
УДК 621.892.001.4:006.354 | |